| Международный университет природы,
общества и человека «Дубна»
Кафедра системного анализа и управления
Курсовая работа
по теории и технологии проектирования
на тему:
«Проектирование и реализация автоматизированной базы данных для учета продукции на складе НПФ «Микротехнология»
Выполнили:
студентка гр. 3011 Архипкина Евгения Алексеевна
студентка гр. 3011 Калинкина Евгения Анатольевна
Руководители:
проф. Мазный Геннадий Леонидович
ст. преподаватель Савватеева Татьяна Петровна
Дубна, 2005
Оглавление
Введение. 3
Постановка задачи. 3
Цель. 3
Исходные данные. 3
Априорные модельные представления. 4
Способ решения. 4
Ожидаемый результат. 4
Критерии оценки результата. 5
Логическая модель задачи. 5
Гипертекст. 5
Предконтекстная диаграмма. 6
Контекстная диаграмма. 7
Физическая модель системы.. 8
Детализация процессов. 8
Диаграмма «сущность-связь». 11
Словарь данных. 12
Словарь проекта. 13
Спецификации процессов. 14
Реализация. 18
Заключение. 22
Литература. 23
Введение
С ростом объемов производства проблема синхронизации деятельности служб предприятия становится крайне актуальной. Решение этой проблемы возможно либо путем дополнительного набора квалифицированных кадров для управления процессом подготовки и сопровождения производства, либо путем внедрения средств автоматизации и специализированных программных продуктов, обеспечивающих автоматизацию процессов планирования деятельности, учета текущих, постоянно изменяющихся складских запасов покупных комплектующих изделий, материалов и узлов, деталей собственного производства, влияющих на сроки выполнения работ. Внедрение достижений современных информационных технологий в процессы управления производством является наиболее эффективным методом решения насущных проблем.
Итак, в наше время использование информационных технологий стало неотъемлемой частью современной жизни. Жизненно важными становятся разработка и внедрение различного рода информационных систем, которые позволяют организации или фирме экономно тратить время и деньги.
Постановка задачи
Целью данного проекта является повышение эффективности текущего учета, планирования производственных запасов и расчета ежедневного дефицита покупных комплектующих электрорадиоэлементов (ЭРЭ) в производстве изделий микроэлектроники на малом предприятии путем создания интегрированной базы данных.
Забиваем Сайты В ТОП КУВАЛДОЙ - Уникальные возможности от SeoHammer
Каждая ссылка анализируется по трем пакетам оценки: SEO, Трафик и SMM.
SeoHammer делает продвижение сайта прозрачным и простым занятием.
Ссылки, вечные ссылки, статьи, упоминания, пресс-релизы - используйте по максимуму потенциал SeoHammer для продвижения вашего сайта.
Что умеет делать SeoHammer
— Продвижение в один клик, интеллектуальный подбор запросов, покупка самых лучших ссылок с высокой степенью качества у лучших бирж ссылок.
— Регулярная проверка качества ссылок по более чем 100 показателям и ежедневный пересчет показателей качества проекта.
— Все известные форматы ссылок: арендные ссылки, вечные ссылки, публикации (упоминания, мнения, отзывы, статьи, пресс-релизы).
— SeoHammer покажет, где рост или падение, а также запросы, на которые нужно обратить внимание.
SeoHammer еще предоставляет технологию Буст, она ускоряет продвижение в десятки раз,
а первые результаты появляются уже в течение первых 7 дней.
Зарегистрироваться и Начать продвижение
Исходными данными для решения поставленной задачи являются:
- общая информация о структуре предприятия;
- описание деятельности специалиста (менеджера) планово-диспетчерской Службы предприятия в условиях реального производства при подготовке производства и комплектного обеспечения производственных подразделений необходимыми для выполнения конкретных заказов (контрактов) покупными комплектующими ЭРЭ;
- примеры расчетов, оформление которых необходимо при выполнении задачи обеспечения производства требуемыми комплектующими ЭРЭ.
Построенная модель автоматизированной программы расчета (АПР) «Расчет потребности и дефицита в комплектующих ЭРЭ в действующем производстве» должна отражать существенные стороны деятельности специалиста планово-диспетчерской Службы малого предприятия и автоматизировать процессы, выполняемые им. АПР должна содержать компьютерное приложение, реализующее следующие процессы:
- формирование требуемого по контракту наличия ЭРЭ (заявки потребности в ЭРЭ);
- ввод и редактирование текущей информации в базе данных складских запасов ЭРЭ;
- формирование справки по дефициту ЭРЭ и заявки на обеспечение покрытия дефицита;
- обработка данных по срокам закрытия дефицита (поставки недостающих ЭРЭ) и определение финансовых затрат на приобретение этих комплектующих ЭРЭ;
- формирование оперативной справки по комплектованию заказа (номенклатура ЭРЭ, сроки поставки, финансовые затраты на их приобретение).
Более подробное описание априорных представлений содержится далее в тексте работы.
Средством для достижения поставленной цели явилась автоматизация процессов текущего учета, планирования производственных запасов и расчета ежедневного дефицита покупных комплектующих.
Разработка автоматизированной программы расчета (АПР) производилась при помощи CASE
-приложений HAT
Ó 1994 University of Hawaii
. Проектирование логической модели базы данных: ERWin
4.0 Computer Associates International
, Inc
. Реализация базы данных: Microsoft
Ò Access
2000. Разработка компьютерного приложения: среда разработки Borland Delphi Enterprise
6.0.
Спроектированная и реализованная авторами база данных наличия покупных ЭРЭ на складе предприятия; программа расчета, автоматизирующая процессы подготовки ежедневных оперативных справок по обеспечению выполнения текущих заказов и покрытия дефицита необходимых ЭРЭ, также разработанная и реализованная авторами.
Сервис онлайн-записи на собственном Telegram-боте
Попробуйте сервис онлайн-записи VisitTime на основе вашего собственного Telegram-бота:
— Разгрузит мастера, специалиста или компанию;
— Позволит гибко управлять расписанием и загрузкой;
— Разошлет оповещения о новых услугах или акциях;
— Позволит принять оплату на карту/кошелек/счет;
— Позволит записываться на групповые и персональные посещения;
— Поможет получить от клиента отзывы о визите к вам;
— Включает в себя сервис чаевых.
Для новых пользователей первый месяц бесплатно.
Зарегистрироваться в сервисе
Будем считать, что цель работы достигнута, если будут выполнены следующие критерии:
- среднее время подготовки и обработки ежедневных данных по наличию ЭРЭ и представления справок по комплектному обеспечению комплектующими текущих заказов производства сократится в 10 раз (на 80 %), т.е. составит не более 1 часа;
- среднее время сокращения производственного цикла по изготовлению каждого из выполняемых малым предприятием заказов не менее, чем на 2 суток (30%), в результате чего возрастает оборачиваемость затраченных на производство продукции средств.
Логическая модель задачи
На начальном этапе разработки автоматизированной программы (АПР) «Расчет потребности и дефицита в комплектующих ЭРЭ в действующем производстве» была проанализирована деятельность специалиста предприятия и построена логическая модель функционирования программы.
Линейный текст, полученный в результате анализа требований Заказчика, был преобразован в приложении НАТ
в гипертекст, связанный с диаграммами потоков данных. Полученный гипертекст приведен ниже.
НПФ «Микротехнология»
Предприятие занимается разработкой и производством изделий микроэлектроники.
Учет при закупке комплектующих
, складском хранении, производстве продукции и её продаже — деятельность, требующая ведения соответствующей документации в организации. Занимаясь подобного рода работой, сотрудники НПФ «Микротехнология»
используют огромное количество бумажной документации, создаваемой в процессе работы на самом предприятии.
Взаимодействие с другими организациями
У предприятия есть связи с заказчиками
, которые делают заказы
на изготовление изделий микроэлектроники. Также у предприятия есть связи с поставщиками
, которые снабжают предприятие комплектующими
для реализации заказов.
Структура учётной деятельности, процессы
Учётная деятельность представляет собой слежение за процессами закупки
, хранения
, производства
, продажи
, а также бухгалтерский учёт
.
Процесс закупки
начинается с подачи запроса
в бухгалтерию
о наличии средств. Из бухгалтерии
приходит ответ на запрос
и, если необходимые средства есть в наличии, то деньги
. Затем происходит процесс получения от поставщика информации о комплектующих
и отправления ему информации по заказу
и денег
(соответствующей оплаты), после чего компания НПФ «Микротехнология» получает в свое распоряжение закупаемые комплектующие
.
После этого следуют процессы хранения
и производства
. Закупленные комплектующие
поступают для хранения
на склад; со склада комплектующие
извлекаются на производство
готовой продукции (микроузлов). Также со склада извлекается необходимое количество готового товара
для продажи
. Произведённый товар
возвращается для хранения
на склад либо этот товар
сразу идёт на продажу.
За процессами хранения
и производства
следует процесс продажи
. От покупателя приходит информация по заказу
и деньги
. Затем деньги
поступают в бухгалтерию
, после чего покупателю отгружается требуемое количество товара
.
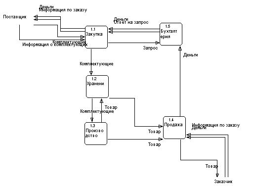
На основе анализа существующей системы обработки заказов была построена предконтекстная диаграмма потоков данных, отражающая сложившуюся на сегодняшний день ситуацию. Она содержит в себе два уровня (рис. 1 и 2).

Рис. 1.
Предконтекстная диаграмма (первый уровень)
Рис. 2.
Предконтекстная диаграмма (второй уровень)
Контекстная диаграмма отражает информационные потоки между системой и внешними сущностями, с которыми она должна быть связана, моделирует систему наиболее общим образом.
Был создан новый проект, отражающий функционирование новой, автоматизированной информационной системы. DFD
контекстного уровня отражает взаимодействие информационной системы с внешними сущностями — организациями, клиентами и другими подразделениями.

Рис. 3.
Контекстная диаграмма
Физическая модель системы
Осуществляется декомпозиция контекстной DFD
: каждый процесс детализируется с помощью DFD
нижнего уровня. Построены DFD
первого, второго и третьего уровня.
DFD
первого уровня
, представленная на рис. 4, строится как декомпозиция процесса «АСУ Складского отдела предприятия», который присутствует на контекстной диаграмме. Также на диаграмме представлены следующие процессы: «Закупка», «Бухгалтерия», «Хранение», «Продажа», «Производство».

Рис. 4.
DFD
первого уровня
На диаграмме второго уровня
представлены режимы работы АСУ, а именно режимы: «Закупки», «Текущее состояние», «Режим произведенных продаж».
Рис. 5.
DFD второго уровня
В режиме «Закупки» происходят процессы: «Определение количества денег», «Оформление заявки» и «Определение количества комплектующих» (см. рис. 6). Для расчета финансовых затрат на приобретение комплектующих ЭРЭ делается запрос в хранилище данных — к таблице Incoming
базы данных. В эту же таблицу заносится информация о поставках. Для получения информации о комплектующих ЭРЭ делается запрос к таблице Elements
.

Рис. 6.
DFD
третьего уровня (режим «Закупки»)
В режиме «Текущее состояние» происходят процессы: «Определение количества комплектующих», «Заявка на производство», «Определение количества готовой продукции», «Заявка на продажу» (см. рис. 7). Для определения наличия готовой продукции на складе производится запрос к таблице базы данных Details
, информация о заказах на продажу готовой продукции хранится в таблице Orders
.

Рис. 7.
DFD
третьего уровня (режим «Текущее состояние»)
ERD
-диаграмма (диаграмма «сущность-связь») предназначена для разработки моделей данных и обеспечивает стандартный способ определения данных и отношений между ними. С помощью ERD
осуществляется детализация хранилищ данных проектируемой системы, а также документируются сущности системы и способы их взаимодействия, включая идентификацию объектов, важных для предметной области (сущностей), свойств этих объектов (атрибутов) и их отношений с другими объектами (связей).

Рис. 8.
Диаграмма «Сущность-связь»
Словарь данных представляет собой определенным образом организованный список всех элементов данной системы с их точными определениями, что дает возможность различным категориям пользователей иметь общее понимание всех входных и выходных потоков и компонентов хранилищ.
<Ele
> Комплектующие
<Rcd
>АСУ
<Rcd
>Администратор
<Rcd
>Поставщик
<Rcd
>Заказчик
{Flw
}Деньги
{Flw
}Заказ
{Flw
}Запрос
{Flw
}Заявка на производство
{Flw
}Информация о балансе
{Flw
}Информация о готов. продукции
{Flw
}Информация о закупках
{Flw
}Информация о комплектующих
{Flw
}Информация о микроузлах
{Flw
}Информация о поставке
{Flw
}Информация о продажах
{Flw
}Информация о стоимости
{Flw
}Информация о товаре
{Flw
}Информация по заказу
{Flw
}Комплектующие
{Flw
}Ответ на запрос
{Flw
}Отчет о продажах
{Flw
}Товар
{Str
}Details
{Str
}Elements
{Str
}Incoming
{Str
}Orders
Словарь проекта является хранилищем, которое содержит ссылки на все графические объекты DFD
.
<DF
>Деньги
<DF
>Заказ
<DF
>Запрос
<DF
>Заявка на производство
<DF
>Информация о балансе
<DF
>Информация о готов. продукции
<DF
>Информация о закупках
<DF
>Информация о комплектующих
<DF
>Информация о микроузлах
<DF
>Информация о поставке
<DF
>Информация о продажах
<DF
>Информация о стоимости
<DF
>Информация о товаре
<DF
>Информация по заказу
<DF
>Комплектующие
<DF
>Ответ
<DF
>Ответ на запрос
<DF
>Отчет о продажах
<DF
>Товар
<EXT
>Бухгалтерия
<EXT
>Заказчик
<EXT
>Поставщик
<PRO
>АСУ
<PRO
>АСУ складского отдела предприятия
<PRO
>Бухгалтерия
<PRO
>Закупка
<PRO
>Заявка на продажу
<PRO
>Заявка на производство
<PRO
>Определение кол-ва гот. продукции
<PRO
>Определение кол-ва денег
<PRO
>Определение кол-ва комплект.
<PRO
>НПФ «Микротехнология»
<PRO
>Продажа
<PRO
>Производство
<PRO
>Хранение
<PRO
>Режим «Закупки»
<PRO
>Режим «Текущее состояние»
<PRO
>Режим произведенных продаж
<PRO
>Оформление заявки
<STR>Details
<STR>Elements
<STR>Incoming
<STR>Orders
При отсутствии необходимости детализации процессов с помощью DFD
для описания их функционирования используются спецификации процессов. Для описания спецификаций процессов использован структурированный естественный язык, а также визуальный язык проектирования — Flow
-форма (рис. 9) и диаграмма Насси-Шнейдермана (рис. 10).
Спецификация процесса 1.7.1.2
(ОПРЕДЕЛЕНИЕ КОЛИЧЕСТВА ДЕНЕГ)
@ВХОД=ЗАПРОС на оформление заявки
@ВХОД=ИНФОРМАЦИЯ О БАЛАНСЕ из бухгалтерии
@ВХОД=ИНФОРМАЦИЯ О СТОИМОСТИ из базы данных
@ВЫХОД=ЗАПРОС в бухгалтерию
@ВЫХОД=ОТВЕТ на формирование заказа
@ВЫХОД=ЗАПРОС в базу данных
@СПЕЦПРОЦ 1.7.1.2 ОПРЕДЕЛЕНИЕ КОЛИЧЕСТВА ДЕНЕГ
ЕСЛИ получен ЗАПРОС на оформление заявки ТО
ВЫПОЛНИТЬ ЗАПРОС в базу данных И
ЕСЛИ получена ИНФОРМАЦИЯ О СТОИМОСТИ из базы данных ТО
ВЫПОЛНИТЬ ЗАПРОС в бухгалтерию И
ЕСЛИ получена ИНФОРМАЦИЯ О БАЛАНСЕ из бухгалтерии ТО
ВЫПОЛНИТЬ ОТВЕТ о состоянии средств
КОНЕЦЕСЛИ
КОНЕЦЕСЛИ
КОНЕЦЕСЛИ
@КОНЕЦ СПЕЦИФИКАЦИИ ПРОЦЕССА 1.7.1.2
Спецификация процесса 1.7.1.1
(ОПРЕДЕЛЕНИЕ КОЛИЧЕСТВА КОМПЛЕКТУЮЩИХ)
@ВХОД=ЗАПРОС на оформление заявки
@ВХОД=ОТВЕТ из базы данных
@ВЫХОД=ЗАПРОС в базу данных
@ВЫХОД=ОТВЕТ на оформление заявки
@СПЕЦПРОЦ 1.7.1.1 ОПРЕДЕЛЕНИЕ КОЛИЧЕСТВА КОМПЛЕКТУЮЩИХ
ЕСЛИ получен ЗАПРОС на оформление заявки ТО
ВЫПОЛНИТЬ ЗАПРОС в базу данных И
ЕСЛИ получен ОТВЕТ из базы данных ТО
ВЫПОЛНИТЬ ОТВЕТ о наличии комплектующих
КОНЕЦЕСЛИ
КОНЕЦЕСЛИ
@КОНЕЦ СПЕЦИФИКАЦИИ ПРОЦЕССА 1.7.1.1
Спецификация процесса 1.7.1.3
(ОФОРМЛЕНИЕ ЗАЯВКИ)
@ВХОД=ОТВЕТ о количестве средств
@ВХОД=ОТВЕТ из хранилища
@ВХОД=ЗАПРОС из базы данных
@ВХОД=ИНФОРМАЦИЯ О КОМПЛЕКТУЮЩИХ от поставщика
@ВЫХОД=ЗАПРОС в хранилище
@ВЫХОД=ЗАПРОС о состоянии средств
@ВЫХОД=ИНФОРМАЦИЯ О ПОСТАВКЕ
@ВЫХОД=ИНФОРМАЦИЯ ПО ЗАКАЗУ
@СПЕЦПРОЦ 1.7.1.3 ФОРМИРОВАНИЕ ЗАКАЗА
ВЫПОЛНЯЕТСЯ ЗАПРОС о количестве средств
ВЫПОЛНЯЕТСЯ ЗАПРОС о количестве комплектующих на складе
ЕСЛИ получен ОТВЕТ о состоянии средств и о количестве комплектующих на складе ТО
ВЫПОЛНИТЬ передать ИНФОРМАЦИЮ ПО ЗАКАЗУ И получить ИНФОРМАЦИЮ О КОМПЛЕКТУЮЩИХ
КОНЕЦЕСЛИ
ЕСЛИ получен ЗАПРОС из базы данных ТО
ВЫПОЛНИТЬ передать ИНФОРМАЦИЮ О ПОСТАВКЕ
КОНЕЦЕСЛИ
@КОНЕЦ СПЕЦИФИКАЦИИ ПРОЦЕССА 1.7.1.3
Спецификация процесса 1.7.2.1
(ОПРЕДЕЛЕНИЕ КОЛИЧЕСТВА ГОТОВОЙ ПРОДУКЦИИ)
@ВХОД=ЗАПРОС о наличии готовой продукции
@ВХОД=ИНФОРМАЦИЯ О ГОТОВ. ПРОДУКЦИИ из базы данных
@ВЫХОД=ЗАПРОС в базу данных
@ВЫХОД=ОТВЕТ о наличии готовой продукции
@СПЕЦПРОЦ 1.7.2.1 ОПРЕДЕЛЕНИЕ КОЛИЧЕСТВА ГОТОВОЙ ПРОДУКЦИИ
ЕСЛИ получен ЗАПРОС о наличии готовой продукции ТО
ВЫПОЛНИТЬ ЗАПРОС в базу данных
ЕСЛИ получена ИНФОРМАЦИЯ О ГОТОВ. ПРОДУКЦИИ из базы данных ТО
ВЫПОЛНИТЬ ОТВЕТ о наличии готовой продукции
КОНЕЦЕСЛИ
КОНЕЦЕСЛИ
@КОНЕЦ СПЕЦИФИКАЦИИ ПРОЦЕССА 1.7.2.1
Спецификация процесса 1.7.2.2
(ЗАЯВКА НА ПРОИЗВОДСТВО)
@ВХОД=ОТВЕТ о наличии готовой продукции
@ВХОД=ОТВЕТ о наличии комплектующих
@ВЫХОД=ЗАПРОС о наличии комплектующих
@ВЫХОД=ЗАПРОС о наличии готовой продукции
@ВЫХОД=ЗАЯВКА НА ПРОИЗВОДСТВО
@СПЕЦПРОЦ 1.7.2.2 ЗАЯВКА НА ПРОИЗВОДСТВО
ВЫПОЛНИТЬ ЗАПРОС о наличии комплектующих
ВЫПОЛНИТЬ ЗАПРОС о наличии готовой продукции
ЕСЛИ получен ОТВЕТ о наличии комплектующих И получен ОТВЕТ о наличии готовой продукции ТО
ВЫПОЛНИТЬ ЗАЯВКА НА ПРОИЗВОДСТВО
КОНЕЦЕСЛИ
@КОНЕЦ СПЕЦИФИКАЦИИ ПРОЦЕССА 1.7.2.2
Спецификация процесса 1.7.2.3
(ЗАЯВКА НА ПРОДАЖУ)
@ВХОД=ОТВЕТ о наличии готовой продукции
@ВЫХОД=ИНФОРМАЦИЯ ПО ЗАКАЗУ передается в базу данных
@ВЫХОД=ИНФОРМАЦИЯ О ПРОДАЖАХ
@СПЕЦПРОЦ 1.7.2.3 ЗАЯВКА НА ПРОДАЖУ
ВЫПОЛНИТЬ передать ИНФОРМАЦИЮ ПО ЗАКАЗУ в базу данных
ЕСЛИ получен ОТВЕТ о наличии готовой продукции ТО
ВЫПОЛНИТЬ передать ИНФОРМАЦИЮ О ПРОДАЖАХ
КОНЕЦЕСЛИ
@КОНЕЦ СПЕЦИФИКАЦИИ ПРОЦЕССА 1.7.2.3
Спецификация процесса 1.7.2.4
(ОПРЕДЕЛЕНИЕ КОЛИЧЕСТВА КОМПЛЕКТУЮЩИХ)
@ВХОД=ЗАПРОС о количестве комплектующих
@ВХОД=ИНФОРМАЦИЯ О КОМПЛЕКТУЮЩИХ из базы данных
@ВЫХОД=ЗАПРОС в базу данных
@ВЫХОД=ОТВЕТ о количестве комплектующих
@СПЕЦПРОЦ 1.7.2.4 ОПРЕДЕЛЕНИЕ КОЛИЧЕСТВА КОМПЛЕКТУЮЩИХ
ЕСЛИ получен ЗАПРОС о количестве комплектующих ТО
ВЫПОЛНИТЬ ЗАПРОС в базу данных
ЕСЛИ получена ИНФОРМАЦИЯ О КОМПЛЕКТУЮЩИХ из базы данных ТО
ВЫПОЛНИТЬ ОТВЕТ о количестве комплектующих
КОНЕЦЕСЛИ
КОНЕЦЕСЛИ
@КОНЕЦ СПЕЦИФИКАЦИИ ПРОЦЕССА 1.7.2.4
Спецификация процесса 1.7.3
(РЕЖИМ ПРОИЗВЕДЕННЫХ ПРОДАЖ)
@ВХОД=ИНФОРМАЦИЯ О ПРОДАЖАХ
@ВЫХОД=ОТЧЕТ О ПРОДАЖАХ
@СПЕЦПРОЦ 1.7.3 РЕЖИМ ПРОИЗВЕДЕННЫХ ПРОДАЖ
ЕСЛИ получена ИНФОРМАЦИЯ О ПРОДАЖАХ ТО
ВЫПОЛНИТЬ ОТЧЕТ О ПРОДАЖАХ
КОНЕЦЕСЛИ
@КОНЕЦ СПЕЦИФИКАЦИИ ПРОЦЕССА 1.7.3

Рис. 9
Flow
-форма (спецификация процесса 1.7.1.1)

Рис. 10
. Диаграмма Насси-Шнейдермана (спецификация процесса 1.7.2.4)
Реализация
Реализация проекта представляет собой базу данных (логическая схема данных приведена на рис. 11) и клиент-серверное компьютерное приложение, которые в совокупности представляют собой автоматизированную программу расчета (АПР). В этой программе из описанных в физической модели процессов реализованы следующие: «Режим «Закупки», «Режим «Текущее состояние», «Определение количества денег»,»Оформление заявки», «Определение количества комплектующих», «Заявка на производство», «Определение количества готовой продукции», «Заявка на продажу».

Рис. 11.
Логическая схема данных
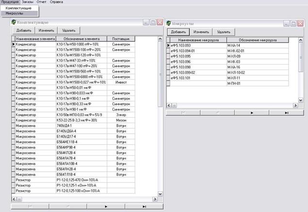
Управление приложением осуществляется при помощи главного меню программы, содержащего основные функции системы, а именно: просмотр перечня имеющихся на складе комплектующих ЭРЭ и изготавливаемых микроузлов, а также ввод и редактирование информации в базе данных складских запасов; предоставление отчетов о дефиците комплектующих ЭРЭ, о финансовых затратах на приобретение необходимых ЭРЭ; оформление поставок ЭРЭ, заказов на изготовление микроузлов и заявок на обеспечение покрытия дефицита; расчет дневной нормы выпуска микроузлов для выполнения соответствующего заказа.

Рис. 12
. Главное окно программы

Рис. 13
. Отчет о дефиците комплектующих ЭРЭ и дневном объеме выпуска микроузлов

Рис. 1
4
.
Форма оформления поставки комплектующих

Рис.15
Полученный отчет, выведенный в Excel
Заключение
Итогом данной работы служит автоматизированная программа расчета, которая позволяет автоматизировать процессы планирования и учета складских запасов покупных комплектующих изделий на складе малого предприятия, включающая в себя базу данных и компьютерное приложение, разработанные и реализованные авторами.
Данная работа отвечает требованиям заказчика и предоставляет максимально полную информацию об изделиях и их составляющих.
Литература
1. Калянов Г.Н. CASE
: структурный системный анализ. — М.: Изд-во Лори, 1996.
2. Мазный Г.Л., Савватеева Т.П. Теория и технология проектирования информационных систем. — Дубна: Международный университет природы, общества и человека «Дубна», 2003.
3. Вендров А.М. CASE
-технологии. Современные методы и средства проектирования информационных систем. — М.: Финансы и статистика, 1998.
4. Мазный Г.Л. Теория и технология проектирования. — Электронный учебник http://utc.uni-dubna.ru/~mazny/kurses/index.html.
| Автор
|
Дата
|
Подпись
|
| Архипкина Е. А.
|
| Калинкина Е. А.
|
|