| ДЕПАРТАМЕНТ ОБРАЗОВАНИЯ И НАУКИ КЕМЕРОВСКОЙ ОБЛАСТИ
ГОСУДАРСТВЕННОЕ ОБРАЗОВАТЕЛЬНОЕ УЧРЕЖДЕНИЕ
СРЕДНЕГО ПРОФЕССИОНАЛЬНОГО ОБРАЗОВАНИЯ
Кемеровский профессионально-технический колледж
Методические указания
по выполнению дипломного проекта
для специальностей 190604 «Техническое обслуживание и ремонт автомобильного транспорта», 110301 «Механизация сельского хозяйства»
Кемерово, 2008
| УДК
53 (075.32)
ББК 22.3 я 723
К-70
|
| Рассмотрено
на заседании предметно-цикловой комиссии
специальных дисциплин 190604
протокол № _____
от «_____»____________2008г
Председатель __________
|
Утверждено
заместителем директора по УР
Негадаева Н.П.
протокол методического Совета
№ __ от «__» __________ 2008г.
|
|
Одобрено учебно-методическим Советом колледжа в качестве методических указаний по выполнению дипломного проекта для специальностей 190604 «Техническое обслуживание и ремонт автомобильного транспорта», 110301 «Механизация сельского хозяйства».
Протокол № ___ от « ___ » __________ 200_ года.
Коос, А.К. Методические указания по выполнению дипломного проекта для специальностей 190604 «Техническое обслуживание и ремонт автомобильного транспорта», 110301 «Механизация сельского хозяйства» [Текст]/А.К. Коос. – Кемерово: КПТК, 2008. – 48с.
Методические указания позволяют обеспечить выполнение государственных требований к минимуму содержания и уровню подготовки выпускников по специальностям 190604 «Техническое обслуживание и ремонт автомобильного транспорта», 110301 «Механизация сельского хозяйства».
Данные методические указания предназначены для студентов ССУЗов, обучающихся по специальностям 190604 «Техническое обслуживание и ремонт автомобильного транспорта», 110301 «Механизация сельского хозяйства».
Составитель
Коос А.К., преподаватель специальных дисциплин высшей квалификационной категории ГОУ СПО КПТК
Рецензенты
Васильченко А.М., преподаватель Кем. СХИ, к.т.н.
Артемьев А.С., преподаватель спец. дисциплин Куз.ТАГИС, почетный работник СПО.
| Охраняется законами об авторских правах,
не может быть использовано
любым незаконным способом
без письменного договора
|
УДК 53 (075.32)
ББК 22.3 я 723
© КПТК, 2008
|
Содержание
| Введение……………………………………………………………………………..
|
3
|
| 1. Организация дипломного проектирования………………………......................
Забиваем Сайты В ТОП КУВАЛДОЙ - Уникальные возможности от SeoHammer
Каждая ссылка анализируется по трем пакетам оценки: SEO, Трафик и SMM.
SeoHammer делает продвижение сайта прозрачным и простым занятием.
Ссылки, вечные ссылки, статьи, упоминания, пресс-релизы - используйте по максимуму потенциал SeoHammer для продвижения вашего сайта.
Что умеет делать SeoHammer
— Продвижение в один клик, интеллектуальный подбор запросов, покупка самых лучших ссылок с высокой степенью качества у лучших бирж ссылок.
— Регулярная проверка качества ссылок по более чем 100 показателям и ежедневный пересчет показателей качества проекта.
— Все известные форматы ссылок: арендные ссылки, вечные ссылки, публикации (упоминания, мнения, отзывы, статьи, пресс-релизы).
— SeoHammer покажет, где рост или падение, а также запросы, на которые нужно обратить внимание.
SeoHammer еще предоставляет технологию Буст, она ускоряет продвижение в десятки раз,
а первые результаты появляются уже в течение первых 7 дней.
Зарегистрироваться и Начать продвижение
|
4
|
| 2. Тематика дипломного проектирования………………………...….....................
|
6
|
| 3.Основные требования к содержанию и объему дипломного проекта…………
|
8
|
| 3.1. Общие положения……………………………………………….......................
|
8
|
| 3.2. Примерная структура расчетно-пояснительной записки дипломного проекта……………………………………………………………………………….
|
8
|
| 4.Требования к расположению текстового материала в расчетно-пояснительной записке..……………………………………………………………
|
13
|
| 5. Условные обозначения в дипломном проекте……………...….………….........
|
16
|
| 6. Требования к графической части проекта …………………………...................
6.1. Спецификации ………………………………………………………………….
6.2. Оформление сборочных чертежей………………………………………..……
7. Отзыв руководителя и рецензии на дипломный проект ………………………
8. Организация защиты дипломных проектов ……………………………………
8.1. Критерии оценки дипломных проектов ………………………………...........
Перечень литературы……………………………………………………………….
Приложения………………………………………………………………………….
|
18
20
21
28
29
30
32
33
|
Введение
Целью настоящих методических указаний является оказание помощи студентам механического отделения в быстрой ориентации в большом количестве вопросов подготовки материалов, требований к содержанию, оформлению и представления выпускной квалификационной работы, т. е. дипломного проекта.
Дипломный проект является заключительным этапом изучения дисциплин и обучения студента и представляет собой его творческую, самостоятельную работу, по результатам защиты которой Государственная аттестационная комиссия принимает решение о присвоении ему квалификации техника. В процессе защиты выявляется подготовленность студента к работе в условиях современного производства, оценивается его умение применять достижения науки, техники и передового опыта при выполнении проектного задания, способность анализировать возможные варианты технических, технологических и организационных решений с учетом их экономической целесообразности. Поэтому в процессе дипломного проектирования решаются следующие задачи:
· Закрепление, систематизация и расширение теоретических и практических знаний по специальности и применение этих знаний для решения конкретных научных, технических, технологических и организационно-экономических задач;
· Развитие навыков самостоятельной работы и овладение методикой исследования при выполнении проектных заданий.
Тематика дипломных проектов должна соответствовать характеру сферы профессиональной деятельности выпускника, определённой Государственным образовательным стандартом по специальности, отражать новые достижения науки и техники, передовые приёмы и методы организации труда. Предпочтение отдаётся темам, выполняемым по заявкам производства. Особую ценность представляют дипломные проекты, содержащие результаты научно-исследовательской работы, выполненной студентом, конструкторские разработки по усовершенствованию различных машин и механизмов для механизации технологических операций.
Сервис онлайн-записи на собственном Telegram-боте
Попробуйте сервис онлайн-записи VisitTime на основе вашего собственного Telegram-бота:
— Разгрузит мастера, специалиста или компанию;
— Позволит гибко управлять расписанием и загрузкой;
— Разошлет оповещения о новых услугах или акциях;
— Позволит принять оплату на карту/кошелек/счет;
— Позволит записываться на групповые и персональные посещения;
— Поможет получить от клиента отзывы о визите к вам;
— Включает в себя сервис чаевых.
Для новых пользователей первый месяц бесплатно.
Зарегистрироваться в сервисе
Предлагаемые методические указания включают рекомендации по структуре, содержанию и оформлению дипломных проектов, организации проектирования, защите проектов на заседании ГАК.
1. Организация дипломного проектирования
Темы дипломных проектов разрабатываются на отделении примерно за 10 месяцев до начала дипломного проектирования и доводятся до сведения студентов.
Дипломные проекты, чаще всего, представляют собой сложные инженерные задачи. Их темы могут быть предложены студентам в период работы над курсовыми проектами по специальным дисциплинам (эксплуатация машинно-тракторного парка, техническое обслуживание и ремонт машин, ремонт автомобилей, техническое обслуживание автомобилей).
Студенты, распоряжением по отделению, предварительно закрепляются за преподавателями – будущими руководителями, с которыми должны обсуждать возможные темы проектов.
Тематика дипломных проектов обсуждается, утверждается на заседаниях ПЦК и представляется на одобрение и утверждение в Совет колледжа (техникума).
В соответствии с темой руководитель дипломного проекта выдает студенту задание на дипломный проект, которое утверждается председателем ПЦК, и определяет вопросы по сбору необходимого материала в период преддипломной практики.
В установленные сроки, на отделении готовится приказ о закреплении тем и руководителей дипломных проектов и о направлении дипломников на преддипломную практику.
Преддипломная практика ставит своей целью изучение предприятия, для которого ведётся проектирование. В ходе практики студенту необходимо подробно изучить производственно-хозяйственную деятельность, показатели производства, специфические особенности техники и технологий на предприятии, провести анализ показателей в соответствующей отрасли, собрать необходимые материалы для экономического анализа, технологических разработок проекта, для разработки раздела по безопасности жизнедеятельности.
Приказ об утверждении тем дипломных проектов, руководителей и рецензентов формируется в течение месяца после преддипломной практики. Руководитель дипломного проекта, как правило, назначается из числа ведущих преподавателей отделения. В порядке исключения руководителями могут быть назначены высококвалифицированные специалисты предприятий, преподаватели других учебных заведений, имеющих родственную специальность.
Руководитель оказывает студенту помощь в разработке календарного плана на весь период дипломного проектирования, рекомендует необходимую литературу, справочные материалы, проводит систематические консультации и проверяет выполнение разделов дипломного проекта.
Законченный и подписанный у консультантов дипломный проект, включающий расчётно-пояснительную записку, графический и иллюстративный материал, передаётся дипломником руководителю. После просмотра и одобрения руководитель составляет письменный отзыв и назначает дату предварительной защиты дипломного проекта.
Дипломный проект, допущенный к защите, направляется на рецензию. В случае положительной рецензии заведующий отделением направляет дипломный проект в ГАК для его защиты.
После защиты дипломный проект хранится в архиве колледжа в течение пяти лет, а затем уничтожается в присутствии комиссии, о чём составляется акт, который подписывается членами комиссии и утверждается директором.
При необходимости передачи материалов дипломных проектов предприятию, с него снимается копия и составляется акт передачи, который хранится в архиве.
2. Тематика дипломного проектирования
Тематика дипломного проектирования может быть посвящена следующим вопросам:
· Проектирование комплексной механизации производственных процессов в растениеводстве и кормопроизводстве; механизации возделывания отдельных сельскохозяйственных культур по интенсивным технологиям с разработкой или модернизацией сельскохозяйственных машин и агрегатов;
· Обоснование оптимального состава машинно-тракторного парка для конкретной машинно-технологической станции ( МТС ); уборочно-транспортного комплекса ( отряда ); размеров, технологий и средств механизации для фермерских хозяйств;
· Разработка эффективной системы хранения машин в хозяйстве; нефтехозяйства; пункта технического обслуживания; цехов и участков по производству высокоресурсных рабочих органов для сельскохозяйственных машин; технологии: изготовления, восстановления, упрочнения деталей и рабочих органов сельскохозяйственной техники в условиях цеха, участка, мастерской;
· Проектирование: ремонтной мастерской или реконструкции существующей для сельскохозяйственного предприятия или предприятий, обслуживающих сельское хозяйство; реконструкции цехов и участков по производству запасных частей, ремонту узлов и агрегатов сельскохозяйственной техники.
· Организация: проведения технического обслуживания автомобилей (автобусов) в условиях автотранспортного предприятия с разработкой пункта ТО (технологии ТО); ремонта деталей, узлов, агрегатов.
В перечень включаются темы исходя из региональных особенностей сельскохозяйственного производства и автопредприятий Кузбасса.
По своему содержанию темы дипломных проектов должны отражать современный уровень науки и техники, реальные проблемы предприятий агропромышленного комплекса, удовлетворять целям и задачам дипломного проектирования.
Тематика дипломных проектов должна соответствовать задачам профессиональной деятельности выпускников, содержащимся в Государственном образовательном стандарте, ежегодно пересматриваться и обновляться с учётом изменений в производстве, достижений науки и техники.
Основная часть тем должна быть ориентирована на конкретное направление инженерной деятельности: эксплуатационное, ремонтное, технологическое, научно-исследовательское.
Объектами проектирования могут быть реально существующие или перспективные производства, машины, технологии, устройства.
По сложным конструктивным разработкам могут быть предложены комплексные темы, которые обычно разрабатываются несколькими (от двух до трёх) выпускниками.
Выполнение дипломного проекта осуществляется в сроки, установленные графиком учебного процесса специальности. В процессе работы над дипломным проектом руководителем устанавливаются сроки представления соответствующих разделов и частей проекта, т.е. график выполнения проекта.
В процессе дипломного проектирования выпускник самостоятельно принимает все инженерно-технические решения, выполняет необходимые технико-экономические сравнения и обоснования, расчёты и конструирование. Он несёт ответственность за своевременность выполнения, качество и глубину проработки проекта, а также грамотное оформление чертежей и пояснительной записки.
3.
Основные требования к содержанию и объёму дипломного проекта
3.1 Общие положения
Дипломный проект включает в себя расчётно-пояснительную записку в объёме 50-70 страниц рукописного текста или 35-40 страниц текста компьютерной версии формата А4 и 4 листа графического материала формата А1, из которых 2 листа представляют чертежи конструкторской разработки. На остальных листах (иллюстрированных плакатах) может располагаться следующий возможный материал: план ремонтной мастерской (участка), графики, схемы, относящиеся к технологической части проекта; технологические карты на возделывание культуры или на ремонт детали (рабочего органа).
Указанный объём проекта является примерным и в зависимости от сложности проекта и необходимости более глубокой проработки его разделов может быть изменён по согласованию с руководителем проекта.
Расчётно-пояснительная записка и графическая часть проекта должны выполняться в соответствии с требованиями действующих в настоящее время нормативных документов: Единой системы конструкторской документации (ЕСКД); Международной системы единиц (СИ); Единой системы допусков и посадок (ЕСДП); Единой системы технологической подготовки производства (ЕСТПП); Системы стандартов по информационно-библиографической документации (ССИБИД); Системы стандартов безопасности труда (ССБТ); настоящих методических указаний по дипломному проектированию для студентов механического отделения КПТК.
3.2
Примерная структура расчётно-пояснительной
записки дипломного проекта
Расчётно-пояснительная записка к дипломному проекту должна раскрывать творческий замысел проекта; содержать необходимые сведения для обоснования проекта; цели и задачи проектирования; описания принятых технологических и конструкторских решений и мероприятий, методов исследований, проведённых экспериментов; соответствующие расчёты, анализ результатов, технико-экономическую оценку сравниваемых вариантов; выводы; необходимые иллюстрации (графики, эскизы, чертежи, диаграммы, схемы, фотографии) и таблицы.
Примерная общая структура расчётно-пояснительной записки дипломного проекта:
Титульный лист
Задание на дипломный проект
Аннотация
Содержание
Введение
1 Обоснование проекта
2 Технологическая часть
3 Конструкторская часть
4 Безопасность жизнедеятельности
5 Экологическая безопасность
6 Экономическая часть
Заключение
Список литературы
Приложения
Форма титульного листа РПЗ приведена в приложении 1.
Задание на дипломный проект (форма задания в приложении 2) выдаёт руководитель, который определяет круг вопросов, подлежащих разработке в соответствии с темой. Задание должно быть выдано студенту до начала преддипломной практики. Календарный план заполняется при выдаче задания с указанием сроков выполнения отдельных разделов.
Аннотация должна в кратком виде, в объёме до одной страницы, отражать цель и объект проектирования, полученные результаты и новизну, степень внедрения и область применения, данные об объёме работы, количестве разделов, иллюстраций, таблиц, приложений, использованных источников.
Содержание включает в себя только номера названия разделов и подразделов с указанием страниц. Пункты и подпункты в оглавление не включаются. Заголовок «Содержание» выполняется строчными (кроме первой заглавной) буквами. Заголовки содержания должны точно повторять заголовки в тексте. На «Содержании» внизу на первой странице помещается основная надпись по форме 2 (согласно ГОСТ 2. 104-68. ЕСКД).
Введение. Во введении обосновывается выбор темы, определяемый её актуальностью, формируются проблема и круг вопросов необходимых для её решения, определяется цель проекта и комплекс задач, подлежащих решению, для раскрытия темы, указывается объект исследования и литературные источники. Введение не включается в число разделов проекта.
Обоснование проекта составляет примерно 10% объёма расчётно-пояснительной записки. В этом разделе приводится краткая производственная характеристика предприятия, анализируется состояние производства, техники или технологий. Анализ отдельных показателей деятельности конкретных предприятий рекомендуется выполнять на базе показателей, указанных в годовых отчётах, производственных и финансовых планах и первичных документах. Результаты анализа излагаются в записке в виде таблиц с пояснениями. Для отражения динамики показателей анализ желательно проводить не менее чем за три последних года.
Вместе со специалистами предприятия устанавливаются причины выявленных недостатков и намечаются пути их
устранения.
По литературным данным выпускник проводит анализ существующих методов, технологий, способов решения аналогичных задач в России и за рубежом. В расчётно-пояснительной записке указываются ссылки на использованные источники в квадратных скобках с порядковым номером источника, приведённого в списке литературы. В результате проведённого анализа формулируются конкретные задачи проекта. Технологическая часть по объёму составляет около 30%. В зависимости от темы проекта она содержит решения основных производственно-технологических, организационно-управленческих, экспериментальных, исследовательских и проектно-технологических задач. Например, в проектах, связанных с технологией возделывания сельскохозяйственных культур, в этой части анализируются существующие технологии, разрабатывается прогрессивная технология механизированных работ, обосновывается комплекс машин и оборудования, составляется годовой план его использования, разрабатывается график технического обслуживания машинно-тракторного парка (МТП).
Если проект связан с организацией технического обслуживания и ремонта МТП, в технологической части разрабатывается прогрессивная технология диагностирования, технического обслуживания, ремонта машин, восстановления изношенных деталей; выбирается и обосновывается метрологическое обеспечение технологического процесса; рассчитывается трудоёмкость работ, численность работающих, число рабочих мест, оборудования, выполняется расчёт площадей, компоновка производственных корпусов, планировка производственных участков; обосновывается система внутреннего транспорта и энергохозяйства (электро-, тепло-, водоснабжения, отопление, вентиляция).
Конструкторская часть должна быть увязана с технологической частью проекта и направлена на инженерное решение по модернизации серийных машин и их сборочных единиц, по разработке и проектированию новых машин, устройств, стендов, приспособлений.
Разработки ведутся в направлении усовершенствования машин и механизмов на основе анализа опыта их использования и результатов исследований. Основой для данного раздела может служить патентная информация или материалы из соответствующих журналов (земледелие, техника в сельском хозяйстве, сельский механизатор, техника и оборудование для села, тракторы и сельскохозяйственные машины и др.), а также рационализаторские предложения производственников, информационные листки.
Конструкторская часть может содержать следующие чертежи: общий вид конструкции, сборочный чертёж разрабатываемого узла или приспособления, чертежи оригинальных и ответственных деталей.
Безопасность жизнедеятельности (8% по объёму). В этом разделе разрабатываются мероприятия и предложения по организации безопасной работы по приня0той технологии, машины, аппарата, стенда, по улучшению условий труда на проектируемом объекте.
Раздел включает анализ состояния охраны труда, противопожарных, санитарных условий на предприятии, инженерно-технические мероприятия по улучшению охраны труда на предприятии. В разделе должны быть изложены правила безопасной эксплуатации наиболее сложных механизмов, оборудования, указаны необходимые средства пожаротушения, оказания первой помощи и места их хранения, приведена информация по молниезащитным устройствам.
Все мероприятия должны быть увязаны с темой дипломного проекта и носить конкретный характер.
Экологическая безопасность (около 5% по объёму). В данном разделе необходимо провести анализ влияния деятельности конкретного предприятия на окружающую среду (реки, почву, атмосферу, флору, фауну, и т. д.). Особое внимание следует обратить на хранение и использование нефтепродуктов, удобрений, токсичных, радиоактивных веществ. На основе анализа разработать и предусмотреть организационные и технические мероприятия, обеспечивающие защиту окружающей среды от загрязнения, рациональное использование водных и земельных ресурсов.
Для решения этих вопросов целесообразно предусмотреть технологии, работающие по замкнутому циклу, системы хранения и утилизации отходов производства, указать современные средства экологического контроля.
Содержание раздела должно быть тесно увязано с разрабатываемой в проекте инженерной задачей.
Экономическая часть. Раздел (10% по объёму) содержит экономическое обоснование проектных предложений. Даётся сравнительный анализ проектных предложений по технико-экономическим показателям. Для этого используются типовые или наиболее совершенные технологии (устройства) из существующих. Желательно указать источники финансирования для реализации проектных предложений.
Расчёты выполняются с использованием методик определения экономической эффективности технологий и сельскохозяйственной техники и методических рекомендаций по составлению бизнес-планов, внедрения технологий и техники для сельского хозяйства и отраслей её обслуживающих.
Заключение (объёмом не более страницы) должно содержать:
-краткие основные выводы, обобщающие инженерные разработки проекта;
-оценку полноты решений задач, поставленных в проекте;
-оценку технико-экономической эффективности проекта;
-возможную область применения инженерных разработок проекта;
-техническую (народнохозяйственную, научную и т. д.) значимость выполненного проекта.
Список литературы. Библиографическое описание учебника, журнальной статьи, патента или любого другого документа – это совокупность библиографических сведений о документе, приведённых по определённым правилам, необходимых и достаточных для общей характеристики и идентификации документа.
Построение списка литературы в дипломных проектах рекомендуется осуществлять по алфавитному принципу или в порядке появления ссылок по тексту расчётно-пояснительной записки.
Содержание библиографического описания книги должны включать фамилию и инициалы автора, заглавие книги, место издания, издательство, год издания, количество страниц. Наименование места издания указывают полностью в именительном падеже, допуская сокращения только трёх городов: Москва (М.), Ленинград (Л.), Санкт-Петербург (СПб.).
При отсутствии сведений о месте изданий следует употреблять слова: Б.м. (без места). Наименование издательства приводят в именительном падеже и, при необходимости допускается сокращённая запись. При наличии двух издательств, приводят наименование обоих. Год издания обозначают арабскими цифрами, при этом слово «год» не пишется.
Содержание и правильность написания библиографических описаний приводятся в приложении.
Приложения. Приложениями могут быть формы различных документов, таблицы, программы расчётов, иллюстрации (рисунки), фотографии, распечатки ПК, спецификации, а также тексты вспомогательного характера (например, техническая характеристика, описание чего либо и т.д.). Каждое приложение должно иметь номер и заголовок. Нумерация страниц приложений и записки должна быть общей, за исключением спецификаций, которые имеют собственную нумерацию. Все приложения с их заголовками приводятся в «СОДЕРЖАНИИ» расчетно-пояснительной записки.
4. Требования к расположению текстового материала в расчётно-пояснительной записке
Расчётно-пояснительная записка оформляется на плотной (не менее 65 г/м) писчей бумаге хорошего качества. Формат бумаги А4 (297х 210) на одной стороне листа.
Текст, выполняемый рукописным способом, должен быть написан чётким разборчивым почерком, приближённым к чертёжному шрифту, высотой не менее 2,5 мм. Цифры и буквы необходимо писать черными чернилами (допускается синими), пастой или тушью.
выполняется кеглем № 14 и шрифтом Times New Roman через 1,5 интервала (ГОСТ 2.004-88).
Вписывать в текстовый материал пояснительной записки, изготовленный в компьютерной версии, отдельные слова, формулы, условные знаки ( рукописным способом ), а также выполнять иллюстрации следует черными чернилами, пастой или тушью.
Опечатки, описки и графические неточности, обнаруженные в процессе выполнения записки, допускается исправлять подчисткой или закрашиванием белой краской и нанесением на том же месте исправленного текста (графики) черными чернилами, пастой или тушью рукописным способом.
На каждом листе записки выполняется внутренняя рамка на расстоянии 20 мм от левой продольной стороны и на расстоянии 5 мм от трех остальных сторон с основной надписью для первого и последующих листов.
На одной странице записки должно располагаться 28-30 строк текста. Расположение текста слева и справа от внутренней рамки должно быть 3 …5 мм.
Текст записки делится на разделы, подразделы, а при необходимости и на пункты и подпункты (образец расположения текста, заголовков разделов и подразделов на страницах пояснительной записки представлен в приложении).
Заголовки разделов пишутся строчными буквами (кроме первой прописной) с абзацного отступа и нумеруются арабскими цифрами без точки (1, 2, 3, 4, 5, 6) в пределах всей записки. Если заголовок состоит из двух предложений, то их разделяют точкой. Переносы слов в заголовке запрещены. Каждый раздел следует начинать с новой страницы. В конце номера и названия раздела точка не ставится.
Подразделы составляют часть раздела и имеют порядковые номера в пределах каждого раздела. Номер подраздела состоит из номера раздела и номера подраздела (например, 1.2), которые разделяются точкой. Заголовок подраздела пишется строчными буквами (кроме первой прописной) с абзацного отступа. В конце второй цифры номера подраздела и названия подраздела точка не ставится.
Пункты подраздела нумеруются в пределах подраздела и состоят из номера подраздела и номера пункта (например, 1.2.1). Заголовок подраздела пишется строчными буквами (кроме первой прописной) с абзацного отступа. В конце третьей цифры номера и названия подраздела точка не ставится.
Подпункты состоят из номеров раздела, пункта и подпункта, [номера и названия подпунктов точка не ставится.
Содержащиеся внутри пунктов подпунктов перечисления требований, указаний, положений обозначают дефисом или, при необходимости ссылки в тексте на одно из перечислений, строчной буквой, после которой ставится скобка. Для дальнейшей детализации перечислений необходимо использовать арабские цифры, после которых ставится скобка (например, а), б), 1), 2) и т.д.). При ссылке на разделы, подразделы, пункты, перечисления следует указывать их порядковый номер, например, «в разд. 2», « в подразд. 2.4», « по п. 2.4.б», «…перечисление б)». Перечисления записываются со строчной буквы и в конце каждого перечисления ставят точку с запятой, а в конце последнего – точку.
Каждый подпункт, перечисление записывают с абзацного отступа (и никак из текста, в отличие от разделов, подразделов и пунктов, не выделяют).
Формулы, коэффициенты, нормативные величины должны сопровождаться ссылкой на литературный источник, порядковый номер которого указывают в квадратных скобках, например, « [8]», или « [8, с. 53, табл. 2.15]», или «По [8. с. 67] производительность выгрузного шнека должна быть на 3…8% больше, чем загрузочного», или ( при повторной ссылке на источник ) «[там же, с. 54]».
Номер формулы состоит из номера раздела и порядкового номера формулы, разделённых точкой, например, «(3.12)». Допускается сквозная нумерация формул в пределах всей записки.
Ссылку в тексте на формулу делают следующим образом: «общие затраты на изготовление конструкции определены по формуле (1.5)».
Пример оформления формул приведён в приложении.
Иллюстрации. Для пояснения текста его иллюстрируют схемами, графиками, диаграммами, фотографиями и т. п. Количество иллюстраций должно быть достаточным для пояснения излагаемого текста. Иллюстрации выполняют тушью или чёрными чернилами, пастой (допускается исполнение иллюстраций с использованием оргтехники и прикладных программ компьютеров) на бумаге пояснительной записки. Размер иллюстраций не должен превышать размеров формата А3 (297х 420 мм). Иллюстрации могут быть расположены, кА по тексту записки, так и в конце его или даны в приложении. Все иллюстрации нумеруют арабскими цифрами в пределах раздела (допускается сквозная нумерация по всему тексту расчётно-пояснительной записки). По ГОСТ 2.105-95 номер и наименование иллюстрации помещают под иллюстрацией (симметрично её формату) после пояснительных данных. Однако на практике рекомендуется (как в книгах) вначале поместить наименование иллюстрации с абзацного отступа, например, «Рисунок 1.2-Схема технологического процесса зернотуковой сеялки СЗП-4», а ниже после двоеточия пояснительные данные по левому краю текста, например, «1-рама; 2-гидроцилиндр ;» и т.д. (см. приложение).
При ссылке в тексте на рисунок следует указывать его номер, например, «показан на рисунке 1.2». Повторные ссылки на рисунки дают следующим образом: «(см. рисунок 1.2)».
Таблицы. Цифровой материал оформляют в виде таблиц и помещают сразу же после первого упоминания о ней в тексте. Таблица должна иметь свой номер и тематический заголовок.
Все таблицы, если их несколько, должны быть пронумерованы арабскими цифрами в пределах всей записки или её раздела. Заголовок таблицы выполняют строчными буквами, кроме первой прописной, и размещают рядом со словом «Таблица» (пример оформления таблицы см. в приложении)
При переносе таблицы на другой лист тематический заголовок помещают только под первой частью таблицы, а над последующими частями пишут слова «Продолжение таблицы 1.2». Шапку таблицы допускается не повторять, а вместо неё помещать только строку с нумерацией столбцов (граф).
Графы «№ п/п» и «Единицы измерения» в таблицу не включают. Ссылки на таблицы следует указывать их порядковым номером, например, «в таблице 4.12».
Расчёты в пояснительной записке выполняют по общим требованиям к текстовым документам.
Расчёт в общем случае должен содержать: наименование расчёта; цель расчёта; расчётную схему (в произвольном масштабе); исходные данные для расчёта, условия расчёта; расчёты; вывод по результатам расчёта.
Если расчёт ведётся с применением компьютера, в пояснительной записке приводятся исходные данные для расчёта, расчётные величины и формулы, конечный результат (распечатка) и выводы по результатам расчёта. Результаты расчёта помещаются в том виде, в каком они выданы компьютером, без исправлений и дополнений на формате А4 (или совпадающим по высоте А4, а линия сгиба совпадала бы с правым краем листа записки).
5. Условные обозначения в дипломном проекте
Для расчётно –пояснительной записки (в графе (2) основной надписи); ДП 00.00.00.ЗП
ДП - шифр дипломного проекта;
первая группа 00 – две последние цифры года выпуска (защиты);
вторая группа 00 – шифр специальности: 110301 «Механизация сельского хозяйства»; 190604 «Техническое обслуживание е ремонт автомобильного транспорта»;
третья группа 00 – номер раздела расчётно-пояснительной записки (01, 02, 03…..07)
Запись в графе (2) основной надписи ( «Форма 2») на содержании и основной надписи ( «Форма 2а») на последующих листах расчётно-пояснительной записки ДП.07.110301.00.ЗП – читается так: дипломный проект, выпуск 2007 года, выполнен по специальности «Механизация сельского хозяйства», записка расчётно-пояснительная.
Для чертежей общего вида, сборочного и чертежей деталей: ДП 00.00.00.00.0.00.ХХ
первая группа 00 – две последние цифры года выпуска;
вторая группа 00 – шифр специальности
третья группа 00 –номер раздела расчётно-пояснительной записки:
четвёртая группа 00.0 – первые две – номер сборочной единицы (01, 02, … 12 и т. д.); третья – номер малой сборочной единицы, входящей в основную сборочную единицу(1, 2,…,9);
пятая группа 00 – номер детали основной или малой сборочной единицы (1, 2,…, 99);
шестая группа 00 – аббревиатура вида чертежа (ВО –чертёж общего вида; СБ – сборочный чертёж.
Для иллюстрированных листов (к разделам РПЗ, кроме раздела «Конструкторская разработка»);
ДП 00.00.00.ХХ
первая группа 00 –две последние цифры года выпуска;
вторая группа 00 – шифр специальности;
третья группа 00 – номер раздела расчётно-пояснительной записки;
четвёртая группа ХХ – аббревиатура вида схемы графика и т.д.
Запись на чертежах общего вида ДП.07. 110301.03.00.0.00.ВО – читается так: дипломный проект, выпуск 2007 года, выполнен по специальности «Механизация сельского хозяйства», третий раздел РПЗ, чертёж вида общего конструкторской разработки.
Запись на чертежах основных сборочных единиц ДП.07.110301.03.02.0.00.СБ – читается так: дипломный проект, выпуск 2007 года, выполнен по специальности «Механизация сельского хозяйства», третий раздел РПЗ, чертёж основной сборочной единицы под номером 2 с вида общего конструкторской разработки.
Запись на чертежах малых сборочных единиц ДП.07.110301.03.02.1.00 - читается так: дипломный проект, выпуск 2007 года, выполнен по специальности «Механизация сельского хозяйства», третий раздел РПЗ, чертёж малой сборочной единицы под номером 1 с чертежа основной сборочной единицы под номером 2 на виде общем конструкторской разработки.
Запись на чертежах деталей ДП.07.110301.03.00.0.05 – читается так: дипломный проект, выпуск 2007 года, выполнен по специальности «Механизация сельского хозяйства», третий раздел РПЗ, чертёж детали под номером 5 с вида общего конструкторской разработки.
Запись на чертежах деталей ДП.07.110301.03.02.0.02 – читается так: дипломный проект, выпуск 2007 года, выполнен по специальности «Механизация сельского хозяйства», третий раздел РПЗ, чертёж детали под номером 2 со сборочной единицы под номером 2 с вида общего конструкторской разработки.
Другой вариант записи на чертежах деталей ДП.07.110301.03.02.1.05 – читается так: дипломный проект, выпуск 2007 года, выполнен по специальности «Механизация сельского хозяйства», третий раздел РПЗ, чертёж детали под номером 5 с малой сборочной единицы под номером 1 с чертежа основной сборочной единицы под номером 2 с вида общего конструкторской разработки.
Запись на иллюстрированном листе ДП.07.110301.02ГП – читается так: дипломный проект, выпуск 2007 года, выполнен по специальности «Механизация сельского хозяйства», иллюстрированный лист к разделу 2 РПЗ «Проектная часть», генеральный план.
Примечание: на иллюстрированных листах общий заголовок вверху не следует оформлять. Название листа указывается в графе1 основной надписи «Форма 1».
6. Требования к графической части дипломного проекта
Графический материал выполняется на чертежной бумаге формата А1 (594x841 мм) карандашом или тушью или с использованием прикладных компьютерных программ и распечаткой на множительной технике.
При выполнении чертежей толщина сплошной основной линии должна быть в пределах от 0,7 до 1,0 мм.
Масштабы при выполнении графических изображений:
1) уменьшения – 1:2; 1:2,5; 1:4; 1:5; 1:10; 1:15; 1:20;1:25;
2) увеличения – 2:1; 2,5:1; 4:1; 5:1; 10:1; 20:1; 40:1; 50:1.
Форматы: А0 (841х1189); А1 (594х841); А2 (420х594); А3 (297х420); А4 (210х297).
6.1 Формы основной надписи

Рисунок 1 – Форма 1 основной надписи

Рисунок 2 – Форма 2 основной надписи
Рисунок 3 – Форма 2а основной надписи
Форма 1 (размеры 55х185 мм) – для чертежей и иллюстративных листов).
Форма 2 (размеры 40х185 мм) – для текстовых документов (на содержании расчетно-пояснительной записки (РПЗ); на первом листе спецификации на сборочный чертеж и экспликации на общий вид конструкторской разработки).
Форма 2а (размеры 15х185 мм) – упрощенная форма для последующих листов текстовых документов (РПЗ) и графических (спецификаций, экспликаций).
Для формы 1 основной надписи на чертежах и иллюстративных листах:
В графе (1) – указывается наименование изделия (например, «Мойка корнеклубнеплодов» для чертежа общего вида; «Узел моющий» для чертежа сборочной единицы; «Вал промежуточный» для чертежа детали). Для иллюстративных листов в этой графе записывается наименование листа (например, «Технико-экономические показатели»; «Генеральный план»; «Краткая характеристика СПК «Береговой»; «Безопасность жизнедеятельности»; «Патентный обзор прототипов»; «Схема технологического процесса»; «Схема электрическая»; «Карта технологическая» и т. п.).
В графе (2) – записывается обозначение (шифр) документа (шифры см. в разделе 5 «Условные обозначения в дипломных проектах» на странице 23-24). Содержание этой графы, повернутое на 900
или 1800
, повторяется в правом верхнем или левом верхнем углу чертежа (иллюстративного листа) в зависимости от вертикального или горизонтального расположения формата (в рамке размером 14х70 мм).
В графе (3) – на чертежах деталей указывается марка и стандарт материала из которого изготовлена деталь.
Сталь 45 ГОСТ 1050-88 – сталь углеродистая качественная конструкционная по ГОСТ 1050-88 с содержанием углерода 0,45%.
- сталь горячекатаная круглая обычной точности прокатки диаметром 20 мм по ГОСТу 2590-71 марки Ст3, поставленная по техническим требованиям ГОСТа 380-88.
- труба стальная бесшовная по ГОСТу 8732-78 с внутренним диаметром 70 мм, толщиной стенки 16 мм, немерной длины, из стали марки 20 категории 1, изготовленной по группе А (ГОСТ 8734-74).
В графе (4) – указывается литер (к какой стадии относится документ). В дипломном проекте указываются две буквы ДП (дипломный проект), для чего графа на три равные части по 5 мм не делится.
В графе (5) – указывается масса изделия. В дипломных проектах допускается эту графу не заполнять при отсутствии точных данных.
В графе (6) – указывается масштаб, в котором представлен чертеж общего вида, сборочного или детали согласно рекомендуемому диапазону.
В графе (7) – указывается порядковый номер листа (от 1 до 11) из общего числа представленных к защите листов чертежей и иллюстративного материала. В случае, если общий вид или сборочный чертеж расположены на двух или трех листах (формата А1), то их порядковый номер ставится через косую линию (например, лист 4/1; лист 4/2; лист 4/3).
На листах чертежей деталей (малых сборочных единиц) на каждом чертеже ставится сверху слева на право: например, лист 5/1; лист 5/2 … лист 5/N, где N – номер последнего нижнего справа чертежа детали (малой сборочной единицы).
В графе (8) – указывается общее количество листов проекта (9, 10 или 11). В случае, если общий вид или сборочный чертеж расположены на двух или трех листах, то их общее количество ставится через косую линию (например, листов 9/1, 9/2 или листов 9/3). На листах чертежей деталей (малых сборочных единиц) на каждом чертеже ставится: листов 9.
В графе (9) – указывается сокращенное наименование колледжа (КПТК).
В графе 10 – указывается фамилия: студента-дипломника (Разраб.), руководителя (Провер.), нормо-контролера кафедры (Н.контр.), зав. кафедрой (Утв.). При необходимости указывается фамилия технического контролера (Т.контр.). На иллюстративных листах по безопасности жизнедеятельности и экономической части проекта в свободной строке между (Т.контр.) и (Н.контр.) записывается слово «Консульт.), а справа фамилия консультанта (по безопасности жизнедеятельности или экономической части). В случае, если одновременно защищаются на курсе два и более дипломников с одинаковой фамилией, то желательно каждому из них после фамилии поставить инициалы.
В графе (11) – все вышеуказанные лица ставят свои подписи.
В графе (12) – ставятся даты окончания работы над документом, проверки, утверждения.
Для формы 2 основной надписи на содержании расчетно-пояснительной записки и спецификациях (экспликациях):
В графе (1) – в основной надписи на содержании указывается тема проекта; на спецификации – наименование сборочной единицы или машины (устройства) на общем виде конструкции; в спецификации слова «Вид общий» и «Сборочный чертеж» не пишут, так как это понятно из записи в графе (2).
В графе (2) – указываются условные обозначения: расчетно-пояснительной записки (на содержании), вида общего и сборочного чертежа (на спецификации, экспликации) (см. раздел 5).
Для формы 2а основной надписи на листах РПЗ и последующих листах спецификаций, экспликаций:
В графе (2) – указываются условные обозначения: расчетно-пояснительной записки (на всех листах, кроме первого на содержании), на спецификации, экспликации (см. раздел 5).
6.1 Спецификации
На вид общий конструкторской разработки составляется экспликация, а на чертежи основных и малых сборочных единиц – спецификации.
Экспликация отличается от спецификации тем, что в ней отсутствуют графы «Формат» и «Зона».
Примеры заполнения этих документов представлены в приложении 23.
Спецификации (экспликацию) составляют на отдельных листах формата А4 по ГОСТ 2.106-96 и прикладывают в конце расчетно-пояснительной записки в виде приложения.
Спецификация сборочных единиц в дипломных проектах состоит из следующих разделов: документация, сборочные единицы, детали, стандартные изделия.
В графе «Формат» указывают обозначения формата (А1, А2, А3, А4), на котором выполнен в данном проекте этот документ (вид общий, сборочный чертеж, деталь). Для сборочных единиц и деталей, на которые не разработаны чертежи в проекте в данной графе указывают БЧ (без чертежа). Эта графа не заполняется для разделов «Документация» и «Стандартные изделия».
Графа «Зона» в учебных проектах может не заполняется.
В графе «Поз.» (позиция) указывают позиции составных частей (сборочных единиц, деталей), присвоенных им на чертежах (вид общий, сборочный чертеж). Для раздела «Документация» эта графа не заполняется.
В графе «Обозначение» для разделов «Документация» (вид общий или сборочный чертеж), «Сборочные единицы» и «Детали» указывают шифры согласно раздела 5 данных методических указаний (см. также приложение 22). Для раздела «Стандартные изделия» графа не заполняется.
В графе «Наименование» записывают краткое наименование документа (вид общий, сборочный чертеж), сборочных единиц, деталей и стандартных изделий. При двух и более слов на первое место ставят имя существительное, например: «Кольцо уплотнительное», «Вал промежуточный», «Рамка съемная» и т. д.
В графе «Кол.» (количество) указывают количество составных частей (сборочных единиц, деталей, стандартных изделий).
В графе «Примеч.» (примечание) приводят при необходимости дополнительные сведения о той или иной составной части изделия.
6.2 Оформление рабочих чертежей
6.2.1 Общие сведения
Общие требования к рабочим чертежам и требования к отдельным их разновидностям содержатся в перечне ГОСТов, представленных в приложении 19.
Следует учесть, что на чертежах общего вида (в двух или трех проекциях), проставляются номера позиций составных частей, габаритные размеры, размеры с допусками между осями валов и рабочих отверстий, расстояния от осей до базовых поверхностей устройства, а также посадки с допусками на основные сопрягаемые детали конструкции, пределы рабочих ходов подвижных элементов.
На чертеже могут быть виды, разрезы, сечения, позволяющие понять его конструкцию, взаимодействие частей и принцип работы.
На чертеже общего вида текстом указывается техническая характеристика устройства, а также технические требования на сборку, регулировку и испытания конструкции. На отдельных листах вычерчиваются отдельные узлы конструкции, а также кинематическая, электрическая и другие схемы или выполняется деталировка одного из узлов устройства.
Сборочный чертеж должен содержать:
1) изображение сборочной единицы, обеспечивающее ясное представление о взаимном расположении составных частей (сборочных единиц, деталей) изделия;
2) размеры, предельные отклонения и требования, которые необходимо выполнить или проконтролировать при сборке;
3) указания о характере соединений, если точность последних обеспечивается не предельными отклонениями, а подбором, подгонкой и т. п.;
4) указания о способе получения неразъемных соединений (клепка, клейка, сварка и т. п.);
5) номера позиций составных частей;
6) габаритные, установочные и присоединительные размеры;
7) при необходимости, изображения соседних деталей и техническая характеристика изделия.
На сборочных чертежах допускается не изображать отдельные мелкие элементы конструкции деталей (фаски, углубления, выступы, накатки, насечки, зазоры между стержнем и отверстием и т. п.).
Допускается изображать упрощенно (контурными очертаниями):
1) составные части изделия, являющиеся покупными или типовыми, а также составные части, на которые выполнены самостоятельные сборочные чертежи;
2) повторяющиеся одинаковые составные части, одна из которых показана подробно.
Порядок простановки позиций составных частей:
1) номера позиций берутся из спецификации (экспликации);
2) от каждой составной части сборочной единицы проводится выносная линия (сплошная тонкая), которая начинается точкой на ее изображении и заканчивается полкой (сплошной тонкой линией длиной 8…10 мм) для указания позиции;
3) выносные линии не должны пересекаться между собой, пересекать размерные линии и, по возможности, другие составные части;
4) полки номеров позиций располагают вне контура изображения, соблюдая графический порядок;
5) позиция составной части указывается один раз, при необходимости повторного указания позиции ее размещают на полке, выполненной двойной линией.
Сборочный чертеж несложной сборочной единицы может быть выполнен на формате А4. В этом случае (при наличии места) допускается спецификацию совместить с чертежом, располагая ее над основной надписью. В шифровке буквенное обозначение СБ в этом случае не указывается. Изделие, являющееся неразъемным соединением двух или более деталей, считается сборочной единицей и требует выполнения сборочного чертежа и спецификации (это сварные конструкции).
Рабочий чертеж детали является основным конструкторским документом детали и, следовательно, включает все необходимые данные для ее производства и контроля. Чертеж должен содержать:
1) минимум изображений детали, обеспечивающих полное и однозначное понимание ее конструкции;
2) размеры с предельными отклонениями и допуски формы и расположения поверхностей детали;
3) обозначения шероховатости поверхностей детали;
4) указания о материале, из которого выполняется деталь (в основной надписи);
5) технические требования (текстовые указания), содержащие все графически не изображаемые, но необходимые требования к готовой детали.
Технические требования:
- требования, предъявляемые к материалу заготовки, термообработке и свойствам материала готовой детали; указание заменителей материала;
- требования к качеству поверхности; указания к их отделке, покрытию;
- размеры, предельные отклонения размеров, допуски формы и взаимного расположения поверхностей.
Технические требования имеют сквозную нумерацию и располагаются над основной надписью чертежа. Каждое требование начинают с новой строки, а заголовок «Технические требования» не пишут.
6.2.2 Обозначения допусков формы и расположения поверхностей
Таблица 1 – Условные графические знаки допусков формы и расположения поверхностей
| Допуск
|
Знак
|
| Круглости
|

|
| Цилиндричности
|

|
| Соосности
|

|
| Параллельности
|

|
| Перпендикулярности
|

|
| Радиального биения
|

|
| Симметричности
|

|
| Позиционный
|

|
Базовые оси и поверхности обозначают на чертежах (см. приложение 22) равносторонним зачерненным треугольником (с высотой h = 3,5 мм), соединенным с рамкой (квадрат со стороной 2h), в которой записывают обозначение базы заглавной буквой (А, В, С, D…).
Допуск формы и расположения поверхностей при условии его обозначения на чертеже указывают в прямоугольной рамке (высотой 2h), которая вычерчивается тонкой линией, разделенной на две и более частей, в которых помещают:
в первой – знак вида допуска;
- во второй – числовое значение допуска в миллиметрах;
- в третьей (и последующих частях) – буквенное обозначение базы или буквенное обозначение поверхности, с которой связан допуск расположения.
Высота знака, числа и буквы равна h = 3,5 мм.
Рамка располагается горизонтально и соединяется с элементом, допуск формы или расположения которого хотят показать тонкой линией, оканчивающейся стрелкой.
6.2.3 Обозначения шероховатости поверхностей
В учебных проектах предпочтительным является применение параметра высоты неровностей профиля по десяти точкам – Rz
и среднего арифметического отклонения профиля - Rа
.
| а) вид обработки конструктором не устанавливается
(наиболее предпочтительный знак);
б) вид обработки, установленной конструктором с удалением слоя металла;
в) поверхности, образуемые без удаления металла (литье, ковка, прокат), а также поверхности, не обрабатываемые по данному чертежу. В этом случае числовое значение параметра не указывается
|
|
Рисунок 4 – Знаки обозначения шероховатости поверхности
На рисунке 4 высота h = 3,5 мм, а H = (1,5…2,0)h – в зависимости от объема записи.
Если вид обработки поверхности конструктор не устанавливает, то применяют знак по рисунку 4, а.
Если требуется, чтобы поверхность была образована обязательно удалением слоя материала, например точением, шлифованием, полированием и пр., применяют знак по рисунку 4, б.
Если важно, чтобы поверхность была образована без удаления слоя материала (чеканка, накатывание роликами и пр.), применяют знак по рисунку 4, в. Такой же знак применяют для обозначения шероховатости поверхностей, не обрабатываемых по данному чертежу.
Таблица 2 – Примеры нанесения шероховатости поверхности
| а) обозначение шероховатости, когда все поверхности имеют одинаковую шероховатость
|

|
| б) обозначение шероховатости, когда все поверхности, кроме указанных, имеют одинаковую шероховатость
|

|
| в) обозначение шероховатости, когда все поверхности, кроме указанных, не обрабатываются по данному чертежу
|

|
Обозначение преобладающей шероховатости показывают в правом верхнем углу поля чертежа (таблица 2,а). Толщина линий и высота знака, заключенного в скобки, такая же, как в изображении на чертеже, а перед скобкой – в 1,5 раза больше.
Если преобладающее число поверхностей не обрабатывают по данному чертежу, то шероховатость их показывают в правом верхнем углу поля чертежа (таблица 5, б и в). Рекомендации по применению параметров шероховатости приведены в приложении 15-18.
6.2.4 Правила обозначения сварных соединений
Все швы на чертеже снабжаются односторонней стрелкой, переходящей в линию-выноску, которая заканчивается полкой для обозначения шва.
В обозначение сварного шва входят: ГОСТ вида сварки; буквенно-цифровое обозначение шва; способ получения шва; размеры шва; вспомогательные условные графические знаки (см. рисунок 5)
ГОСТы на виды сварки: ГОСТ 5264 «Ручная электродуговая сварка»; ГОСТ 115830 «Автоматическая и полуавтоматическая сварка под флюсом»; ГОСТ 14806 «Дуговая сварка алюминия и алюминиевых сплавов»; ГОСТ 15164 «Электрошлаковая сварка» и др.
Виды швов: стыковые (С); угловые (У); тавровые (Т); внахлестку (Н).
В размеры шва входят: катет шва (для У, Т, Н); диаметр точки (при точечной сварке) и шаг точечного шва; длина провариваемого участка (для прерывистых швов) и шаг шва, равный сумме длины провариваемого участка и длины промежутка.
Вспомогательные условные графические знаки:
- шов выполнен по замкнутому контуру;
- шов монтажный;
- катет шва в мм;
- знак прерывистого шва или параллельных прерывистых швов с цепным расположением провариваемых участков;
- параллельные прерывистые швы с шахматным расположением провариваемых участков;
- усиление шва необходимо снять;
- наплывы и неровности обработать до плавного перехода к основному металлу;
- шов по незамкнутому контуру.
| 
а) (лицевая)
|

б) (обратная сторона)
|
| в)
|

г)
|
Рисунок 5 – Примеры обозначения сварных швов
Расшифровка условных обозначений сварных швов на рисунке 5:
а) и б)- шов выполняется при монтаже изделия; шов для сварки деталей из углеродистой стали ручной дуговой сваркой по ГОСТ 5264-80; С18 – стыковой двухсторонний шов со скосом двух кромок; знаки указывают, что усиление шва снято с обеих сторон; шероховатость поверхности шва: с лицевой стороны – Rz
80, с обратной - Rz
20;
в) – шов выполнен по замкнутому контуру; шов для сварки алюминия по ГОСТ 14806-80; Т5 – тавровый двухсторонний шахматный шов без скоса кромок; Рн
3 – ручная сварка наплавляющимся электродом в защитных газах (допускается не указывать); 6 – катет шва 6 мм; длина провариваемого участка 50 мм; шаг 100 мм;
г) – обозначение одинаковых швов.
7. Отзыв руководителя и рецензия на дипломный проект
В отзыве руководитель отмечает проявленную студентом инициативу, творческую активность, личный вклад студента в разработку оригинальных решений, степень самостоятельности при выполнении проекта, умение решать инженерные задачи, работать с технической литературой, другими источниками информации, включая компьютерные базы данных.
Проекты, выполненные по заявкам предприятий, должны иметь отзыв предприятия (заверенный печатью) с оценкой качества выполнения дипломного проекта и возможности внедрения проектных разработок в производство.
Рецензия должна содержать объективный анализ дипломного проекта и отражать следующие вопросы:
- актуальность темы проекта;
- критический анализ содержания расчетно-пояснительной записки;
- оценку качества и полноты выполнения расчетов;
- оценку качества и полноты выполнения графического материала;
- замечания и недостатки по проекту;
- мнение о возможности внедрения проектных разработок;
- заключение по проекту с его оценкой.
Внешняя рецензия заверяется печатью предприятия, на котором работает рецензент.
Если рецензия не отвечает этим требованиям, то декан вправе направить дипломный проект на повторное рецензирование.
Руководитель и автор проекта знакомятся с содержанием рецензии, чтобы последний имел возможность аргументировано ответить на замечания рецензента в процессе защиты в ГАК.
8. Организация защиты дипломных проектов
Итоговая государственная аттестация по специальности осуществляется государственной аттестационной комиссией (ГАК), в состав которой могут входить несколько экзаменационных комиссий.
ГАК возглавляет председатель, который может контролировать деятельность всех экзаменационных комиссий по соответствующей специальности, обеспечивает единство требований, предъявляемых к выпускникам.
Экзаменационные комиссии формируются из педагогического персонала отделения и приглашаемых из учреждений АПК авторитетных специалистов предприятий (организаций). Состав комиссий утверждается приказом директора колледжа.
График работы ГАК утверждается зам.директора по учебной работе по представлению заведующего отделением и доводится до общего сведения не позднее, чем за месяц до начала защиты.
Защита дипломных проектов проводится на открытых заседаниях экзаменационной комиссии с участием не менее двух третей ее состава.
К началу защиты проектов деканатом в ГАК представляются следующие документы:
- приказ о составе ГАК;
- приказ о закреплении тем дипломных проектов, руководителей и о составе рецензентов;
- критерии оценки дипломных проектов;
- списки студентов, допущенных к защите;
- справка о выполнении студентом учебного плана и полученных им оценках;
- дипломный проект;
- отзыв руководителя;
- рецензия на дипломный проект;
Рекомендуется предоставлять в комиссию другие материалы, характеризующие научную и практическую ценность выполненного проекта (изготовленные образцы, заявки и отзывы с производства, авторские свидетельства, акты о внедрении, научные статьи и т. д.).
На заседании комиссии могут присутствовать, задавать вопросы и высказывать свое мнение преподаватели, представители производства, студенты. Целесообразно присутствие руководителя проекта.
Председатель комиссии объявляет фамилию студента, тему проекта, звание и фамилию руководителя. Перед этим каждому члену экзаменационной комиссии желательно выдавать карточку, где он проставляет свою оценку за дипломный проект и записывает вопросы, заданные студенту. Вопросы заносятся в протокол заседания комиссии по каждому студенту отдельно. Протокол ведет технический секретарь комиссии, назначаемый из числа преподавателей или опытных методистов.
Примерная схема доклада выпускника: актуальность темы; характеристика предприятия; цель и задачи проекта; краткий обзор существующих решений задачи; сущность проектной разработки; содержание технологической части; конструкторской разработки; мероприятия по обеспечению безопасности жизнедеятельности и экологии; технико-экономические показатели проектных решений; выводы и предложения.
Время доклада - не более 15 мин, общее время одной защиты - до 30 мин.
При защите комплексных проектов руководитель предварительно дает о них информацию.
После доклада члены комиссии задают вопросы, позволяющие оценить качество решения инженерной задачи и уровень владения выпускником материалом, представленным в дипломном проекте.
В конце защиты зачитывают отзыв руководителя, рецензию на проект и заслушивают ответы дипломника на замечания рецензента.
После публичной защиты проектов в тот же день на закрытом заседании экзаменационной комиссии обсуждаются результаты, и выносится решение об оценке, присвоении квалификации, выдаче диплома с отличием, рекомендации к внедрению в производство работы или ее части, а также рекомендации для поступления выпускника в ВУЗ.
Решение принимается открытым голосованием простым большинством членов экзаменационной комиссии, участвующих в заседании. При равном числе голосов голос председателя является решающим. Заседание экзаменационной комиссии протоколируется в специальной книге протоколов.
После закрытого заседания экзаменационной комиссии председатель в торжественной обстановке объявляет решение о присвоении каждому выпускнику квалификации, выдаче диплома о высшем образовании и оглашает оценку за защиту проекта.
Студентам, не защищавшим дипломный проект по уважительной причине, директором колледжа может быть продлен срок обучения до следующего периода работы ГАК.
8.1 Критерии оценки дипломных проектов
Членам экзаменационной комиссии рекомендуется оценивать дипломные проекты по следующим критериям:
- соответствие содержания теме проекта;
- обоснованность выбора методов решения поставленной задачи;
- наличие и качество исследовательской части;
- оригинальность конструкторского решения;
- уровень выполнения инженерных расчетов;
- достоверность полученных результатов;
- практическая ценность работы и возможности внедрения;
- применение информационных технологий при проектировании
-качество оформления и соответствие чертежей требованиям стандартов;
- качество доклада о выполненном проекте;
- правильность и полнота ответов на вопросы;
- наличие заявки предприятия на проект.
Более высоко оцениваются проекты, направленные на решение реальных задач применительно к сельскохозяйственным предприятиям, организациям, фирмам по тематике региона, содержащие результаты НИР студента, связанные с разработкой новой техники, технологий, материалов, способов.
Рекомендуется учитывать наличие у студента знаний и умений пользоваться научными методами познания, творческого подхода к решению инженерной задачи, владения навыками находить теоретическим путем ответы на сложные вопросы производства.
Оценку «отлично» рекомендуется выставлять дипломнику, если проект выполнен на актуальную тему, разделы разработаны грамотно, инженерные решения обоснованы и подтверждены расчетами. Содержание проекта отличается новизной и оригинальностью, чертежи и пояснительная записка выполнены качественно. Дипломник сделал логичный доклад, раскрыл особенности проекта, проявил большую эрудицию, аргументировано ответил на 90... 100% вопросов, заданных членами ГАК.
Оценка «хорошо» выставляется дипломнику, если проект выполнен в соответствии с заданием, расчеты выполнены грамотно, но большинство решений типовые или их обоснование не является достаточно глубоким. При этом ошибки не носят принципиальный характер, а проект оформлен в соответствии с установленными требованиями с небольшими отклонениями. Дипломник сделал хороший доклад и правильно ответил на 70...80% вопросов, заданных членами ГАК.
Оценка «удовлетворительно» выставляется, если проект выполнен в полном объеме, но содержит недостаточно убедительное обоснование, типовые решения и существенные технические ошибки, свидетельствующие о пробелах в знаниях студента, но в целом не ставящие под сомнение его подготовку. При этом графическая часть и пояснительная записка выполнены небрежно. Дипломник не раскрыл основные положения своего проекта, ответил правильно на 50...60% вопросов, заданных членами ГАК, показал минимум теоретических и практических знаний, которые, тем не менее, позволяют выпускнику выполнять обязанности специалиста, а также самостоятельно повышать свою квалификацию.
Оценка «неудовлетворительно» выставляется, если проект содержит грубые ошибки в расчетах и принятии инженерных решений, количество и характер которых указывает на недостаточную подготовку выпускника. Доклад сделан неудовлетворительно, содержание основных разделов проекта не раскрыто; качество оформления проекта низкое, дипломник неправильно ответил на большинство вопросов, показал слабую профессиональную подготовку.
Список литературы
1. Брамнец, Н.В. Курсовое и дипломное проектирование по механизации животноводства [Текст]: 3-е изд., перераб. и доп./ Н.В. Брагинец, Д.А. Палишкин. – М.: Агропромиздат, 1991.-191с.
2. Иофинов, С.А. Курсовое и дипломное проектирование по эксплуатации машинно-тракторного парка [Текст] / С.А.Иофинов, Г.П. Лышко, Р.Ш. Хабанов. - М.: Агропромиздат, 1991-174с.
3. Методические указания по дипломному проектированию для студентов специальности 311300 «Механизация сельского хозяйства» [Текст]/ сост. В.Е.Гребенюк, Н.В. Чибряков, Ю.Н. Дементьев и др.: Кемеровский СХИ. – АНО ИПЦ «Перспектива», 2001-56с.
4. Сельскохозяйственные машины. Механизация и технология животноводства: методические указания по курсовому и дипломному проектированию [Текст] / сост. Ю.Н. Дементьев, В.Е. Гребенюк, В.И. Миленко и др.: Кемеровский ГСХИ.- АНО ИПЦ «Перспектива», 2004-74с.
5. Туревский, И.С. Дипломное проектирование автотранспортных предприятий [Текст]: учебн. пособие/ И.С. Туревский – М.: ИД «ФОРУМ»: ИНФРА-М, 2007 – 240с.
Приложение 1
2.Технологическая часть
2.1 Требования к кормам, способы и схемы их приготовления
Основные корма имеют растительное происхождение. Различают корма грубые (солома, сено, мякина), сочные (силос, бахчёвые, корнеплоды), зелёные (травы, ботва), концентрированные (зерно, жмых, сухой жом и др.)………..
2.1.1 Расчет годовой потребности в кормах
Так как кормоцех отсутствует только для молочного комплекса на 400 голов, то расчёт производим для этого поголовья.
Кормовой рацион принимаем для Сибирской зоны при производстве 8 кг молока [17]. Виды корма и его количество приведены в таблице 3.7.
Таблица 3.7 - Кормовой рацион животных
| Вид корма
|
Количество корма на голову в сутки, кг
|
| Сено бобово-злаковое
|
3
|
| Силос кукурузный
|
25
|
| Сенаж бобово-злаковый
|
9
|
| Корнеплоды
|
8
|
| Смесь концентратов
|
4,4
|
| Минеральная подкормка:
|
| соль поваренная
|
0,09
|
| фосфаты
|
0,07
|
| Итого:
|
49,56
|
2.2 Составление графика распределения кормов по выдачам
Для правильного использования кормов, входящих в рационы для животных, составляют график расхода кормов по выдачам ....................................................................................................................................................................................................................................................................................
Приложение 2
Примеры оформления рисунков
Рисунок 2.1 - График расходования кормов по часам

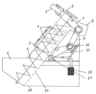
Рисунок 3.1 - Технологическая схема измельчителя ИКС-5М:
1-загрузочный бункер; 2-шнек; 3-напорная труба; 4-патрубки с распределителями; 5-редуктор; 6-цепная передача; 7, 9, 11 – клиноремённые передачи; 8 – измельчающий аппарат; 10-электродвигатель; 12-фильтр; 13-насос; 14 – сетка; 15 – ванна
Приложение 3
Примеры оформления формул
1) Общее сопротивление плуга Р определяется по формуле [8]
Р = fG + kabn + εabnv2
, (4.11)
где f - коэффициент пропорциональности ( f = 0,2...0,5 [8, с.58, табл. 2.17]);
G - сила тяжести плуга, кН;
k - удельное сопротивление почвы, кН/м2
(k=55·кН/м2
[там же, с. 59]);
а – глубина обработки, м;
b - ширина захвата корпуса плуга, м;
n - число корпусов;
ε –коэффициент, характеризующий форму лемешно-отвальной поверхности и свойства почвы, Н·с/м4
(ε =1…2·кН·с/м4
[там же, с.59]);
v - скорость движения агрегата, м/с.
2) Производительность технологической линии приготовления кормов определяем (WТ.Л
.
) по формуле (3.1) [12]
(3.1)
где Рко.
- количество необходимого корма в сутки, кг;
t - коэффициент использования времени смены (t=0,8; [12, с.58, табл. 2.6]);
t – время работы технологической линии, ч
 кг/ч
Приложение 4
Примеры производных единиц СИ, наименования которых образованы из наименований основных, дополнительных и имеющих специальные наименования единиц
| Величина
|
Единица
|
| Наименование
|
Размерность
|
| Скорость (линейная)
|
метр в секунду
|
м/с
|
| Ускорение
|
метр на секунду в квадрате
|
м/с2
|
| Частота вращения
|
секунда в минус первой степени
|
с-1
|
| Плотность
|
килограмм на кубический метр
|
кг/м3
|
| Сила, сила тяжести (вес)
|
ньютон
|
Н
|
| Момент силы, момент пары сил
|
ньютон-метр
|
Н·м
|
| Давление
|
паскаль
|
Па
|
| Нормальное напряжение
|
паскаль
|
Па
|
| Касательное напряжение
|
паскаль
|
Па
|
| Модуль продольной упругости
|
паскаль
|
Па
|
| Момент инерции
|
метр в четвертой степени
|
м4
|
| Динамическая вязкость
|
паскаль-секунда
|
Па·с
|
| Кинематическая вязкость
|
квадратный метр на секунду
|
м2
/с
|
| Работа
|
джоуль
|
Дж
|
| Мощность
|
ватт
|
Вт
|
| Температура Цельсия
|
градус Цельсия
|
°С
|
| Теплота, количество теплоты
|
джоуль
|
Дж
|
| Теплопроводность
|
ватт на метр-кельвин
|
Вт/(м·К)
|
| Теплоемкость
|
джоуль на кельвин
|
Дж/К
|
| Удельная теплоемкость
|
джоуль на килограмм-кельвин
|
Дж/(кг·К)
|
| Электрическое напряжение
|
вольт
|
В
|
| Электрическая емкость
|
фарад
|
Ф
|
| Индуктивность
|
генри
|
Гн
|
| Электрическое сопротивление
|
ом
|
Ом
|
| Активная мощность
|
ватт
|
Вт
|
| Световой поток
|
люмен
|
Лм
|
| Освещенность
|
люкс
|
Лк
|
Приложение 5
Соотношение замененных единиц с единицами СИ
| Величина
|
Заменяемая единица
|
Соотношение с единицей СИ
|
| Наименование
|
Обозначение
|
| Время
|
минута
|
мин
|
60 с
|
| час
|
ч
|
3600 с
|
| сутки
|
сут
|
86400 с
|
| Давление
|
техническая атмосфера
|
ат
|
98066,5 Па (точно)
|
| килограмм-сила на квадратный сантиметр
|
кгс/см2
|
| физическая атмосфера
|
атм
|
101325 Па
|
| миллиметр водяного столба
|
мм вод. ст.
|
9,81 Па
|
| миллиметр ртутного столба
|
мм рт. ст
|
133,332 Па
|
| Объем,
вместимость
|
литр
|
л
|
10-3 м3
|
| Частота
|
оборот в секунду
|
об/с
|
1 с-1
|
| оборот в минуту
|
об/мин
|
1/60 с-1
0,016 с-1
|
| Напряжение
|
килограмм-сила на квадратный миллиметр
|
кгс/мм2
|
9,81- 106
Па
|
| Работа, энергия
|
киловатт-час
|
кВт1
ч
|
3,6- 106
Дж
|
| ватт-час
|
Вт ч
|
3600 Дж
|
| Динамическая вязкость
|
пуаз
|
П
|
0,1 Па с
|
| Кинематическая вязкость
|
стокс
|
Ст
|
10-4
м2
/с
|
| Удельное электрическое сопротивление
|
ом-квадратный миллиметр на метр
|
Ом мм2
/м
|
10-6
Ом м
|
| Урожайность
|
центнер с одного гектара
|
ц/га
|
0,1Па
|
Приложение 6
Основные и дополнительные единицы Международной системы СИ
| Величина
|
Наименование
|
Обозначение
|
| Основные единицы
|
| Длина
|
метр
|
м
|
| Масса
|
килограмм
|
кг
|
| Время
|
секунда
|
с
|
| Сила электрического тока
|
ампер
|
А
|
| Термодинамическая температура
|
кельвин
|
К
|
| Количество вещества
|
моль
|
моль
|
| Сила света
|
кандела
|
кд
|
| Дополнительные единицы
|
| Плоский угол
|
радиан
|
рад
|
Приложение 7
Внесистемные единицы, допускаемые к применению наравне с единицами СИ
| Величина
|
Единица
|
| Наименование
|
Обозначение
|
| Масса
|
тонна
|
т
|
| Время
|
минута
|
мин
|
| час
|
ч
|
| сутки
|
сут
|
| Плоский угол
|
градус
|
…о
|
| минута
|
…´
|
| секунда
|
…´´
|
| Объем, вместимость
|
литр
|
л
|
| Наработка
|
мото-часов
|
мото-ч
|
| Трудоемкость
|
человеко-часов
|
чел.-ч
|
Приложение 8
Точность обработки и шероховатость поверхностей после различных видов обработки
| Вид обработки
|
Класс
точности
|
Квалитет
|
Класс
шерохова-тости
|
Параметр шероховатости
|
| Rz
|
Rа
|
| Зенкерование
|
3…8
|
8…15
|
3…6
|
50; 25; 12,5; 6,3;
|
12,5; 6,3; 3,2; 1,6
|
| Сверление
|
4…7
|
11…14
|
3…4
|
50; 25
|
12,5; 6,3
|
| Фрезерование цилиндрическое
|
3…7
|
8…14
|
3…7
|
50; 25; 12,5;
6,3; 4,0
|
12,5; 6,3; 3,2; 1,6; 0,80
|
| Фрезерование торцевое
|
3…7
|
8…14
|
3…8
|
50; 25; 12,5;
6,3; 4,0; 2,0
|
12,5; 6,3; 3,2; 1,6; 0,80; 0,40
|
| Строгание
|
3…7
|
8…14
|
3…8
|
То же
|
То же
|
| Растачивание
|
2…9
|
7…16
|
1…8
|
То же
|
То же
|
| Точение наружное
|
2…9
|
7…16
|
1…8
|
200; 100; 50;
25; 12,5; 6,3;
4,0; 2,0
|
50; 25;12,5; 6,3; 3,2; 1,6; 0,80; 0,40
|
| Развертывание
|
2…3
|
7…8
|
5…9
|
12,5; 6,3;
4,0; 2,0; 1,0
|
3,2; 1,6; 0,80; 0,40; 0,20
|
| Протягивание
|
2…3
|
7…8
|
5…10
|
12,5; 6,3; 4,0; 2,0; 1,0; 0,50
|
3,2; 1,6; 0,80; 0,40; 0,20; 0,10
|
| Шлифование круглое
|
2…4
|
7…11
|
4…1
|
25; 12,5; 6,3;
4,0; 2,0; 1,0; 0,25
|
6,3; 3,2; 1,6; 0,80; 0,40; 0,20; 0,10; 0,05
|
| Шлифование плоское
|
2…3
|
7…8
|
6…9
|
; 6,3;
4,0; 2,0; 1,0;
|
1,6; 0,80; 0,40; 0,20
|
| Полирование
|
1…2
|
5…6
|
7…12
|
4,0; 2,0; 1,0; 0,25; 0,125
|
0,80; 0,40; 0,20; 0,10; 0,05; 0,025
|
| Хонингование
|
1…2
|
5…6
|
8…13
|
2,0; 1,0; 0,25; 0,125; 0,063
|
0,40; 0,20; 0,10; 0,05; 0,025; 0,0125
|
| Нарезание резьбы
|
1…3
|
5…8
|
5…8
|
12,5; 6,3;
4,0; 2,0
|
3,2; 1,6; 0,80; 0,40
|
| Обработка зубьев шестерни
|
1…4
|
5…1
|
6…10
|
6,3; 4,0; 2,0;
1,0; 0,50
|
1,6; 0,80; 0,40; 0,20; 0,10
|
| Подрезка торцев
|
-
|
-
|
1…8
|
200; 100; 50;
25; 12,5; 6,3;
4,0; 2,0
|
50; 25;12,5; 6,3; 3,2; 1,6; 0,80; 0,40
|
Приложение 9
Применение параметров шероховатости Rz
| Класс
|
Величина Rz
,
мкм
|
Вид поверхности
|
Назначение
|
| 1
|
2
|
3
|
4
|
| 1
|
320; 250; 200
|
С заметными следами обработки
|
Несоприкасающиеся внешние обработанные поверхности
|
| 2
|
160; 125; 100
|
То же
|
Поверхности, находящиеся на очень близком расстоянии от смежных деталей
|
| 3
|
80; 62; 50
|
То же
|
Грубо соприкасающиеся поверхности, например, привалочные поверхности
|
| 4
|
40; 32; 25
|
С едва заметными следами обработки
|
Тщательно обработанные несоприкасающиеся поверхности
|
| 5
|
20; 16; 12,5; 10
|
То же
|
Неподвижно скрепленные, плотно пригнанные одна к другой
|
Приложение 10
Применение параметров шероховатости Rа
| Класс
|
Разряд
|
Величина Rа
,
мкм
|
Вид поверхности
|
Назначение
|
| 1
|
2
|
3
|
4
|
5
|
| 6
|
а
б
в
|
2,5
2,0
1,6
|
С едва заметными следами обработки
|
Вращающиеся или скользящие одна в другой поверхности с небольшим зазором
|
| 7
|
а
б
в
|
1,25
1,00
0,80
|
Без заметных следов обработки
|
Вращающиеся или скользящие одна в другой поверхности с минимальным зазором
|
| 8
|
а
б
в
|
0,63
0,50
0,40
|
Чистая гладкая
|
Входящие одна в другую поверхности без зазора
|
| 9
|
а
б
в
|
0,32
0,25
0,20
|
Без заметных следов обработки
|
Поверхности деталей, входящие одна в другую с минимальным зазором
|
| 10
|
а
б
в
|
0,160
0,125
0,100
|
Следы обработки можно заметить только в лупу
|
Поверхности деталей, входящие одна в другую с натягом
|
Приложение 11
Ориентировочные числовые значения параметров шероховатости
| Характеристика поверхностей
|
Rа
, мкм
|
Rz
, мкм
|
| 1
|
2
|
3
|
| Опорные поверхности оснований станин, стоек, кронштейнов и т.п., не являющихся точными сборочными базами
|
80-10
|
320-40
|
| Сверленые отверстия под болты и винты, гнезда и выемки под головки болта и винтов, нерабочая канавка, нерабочие поверхности валов и других деталей без покрытия
|
20-5
|
80-20
|
| Плоскости для плотных соединений с мягкими прокладками (резина, мягкие пластмассы, картон, асбест и др.)
|
20-2,5
|
80-10
|
| Посадочные поверхности отверстий и валов для неподвижных соединений
|
10-0,63
|
40-3,2
|
| Торцевые трущиеся поверхности для вращающихся соединений
|
2,5-0,16
|
10-0,8
|
| Рабочие поверхности зубьев зубчатых колес
|
2,5-0,63
|
10-3,2
|
| Цилиндрические и конические поверхности скольжения валов, штоков и отверстий под них; направляющие поверхности для скользящих соединений
|
0,63-0,16
|
3,2-0,8
|
| Цилиндрические поверхности золотников, плунжеров и отверстий для них в пневматических и гидравлических устройствах
|
0,63-0,04
|
3,2-0,2
|
Приложение 12
Перечень основных ГОСТов
ГОСТ 2.001-93. ЕСКД. Общие положения.
ГОСТ 2.004-88. ЕСКД. Общие требования к выполнению конструкторских и технологических документов на печатающих и графических устройствах вывода ЭВМ.
ГОСТ 2.104-68. ЕСКД. Основные надписи.
ГОСТ 2.105-95. ЕСКД. Общие требования к текстовым документам.
ГОСТ 2.106-96. ЕСКД. Текстовые документы.
ГОСТ 2.109-73. ЕСКД. Основные требования к чертежам.
ГОСТ 2.301-68. ЕСКД. Форматы.
ГОСТ 2.303-68. ЕСКД. Линии.
ГОСТ 2.304-81. ЕСКД. Шрифты чертежные.
ГОСТ 2.305-68. ЕСКД. Изображения, виды, разрезы, сечения.
ГОСТ 2.306-68. ЕСКД. Обозначения графические материалов и правила их нанесения на чертежах.
ГОСТ 2.307-68. ЕСКД. Нанесение размеров и предельных отклонений.
ГОСТ 2.308-79. ЕСКД. Указание на чертежах допусков формы и расположения поверхностей.
ГОСТ 2.309-73. ЕСКД. Обозначение шероховатости поверхностей.
ГОСТ 2..310-68. ЕСКД. Нанесение на чертежах обозначений покрытий, термической и других видов обработки.
ГОСТ 2.311-68. ЕСКД. Изображение резьбы.
ГОСТ 2.312-72. ЕСКД. Условные изображения и обозначения швов сварных соединений.
ГОСТ 2.313-82. ЕСКД. Условные изображения и обозначения неразъемных соединений.
ГОСТ 2.315-68. ЕСКД. Изображения упрощенные и условные крепежных деталей.
ГОСТ 2.316-68. ЕСКД. Правила нанесения на чертежах надписей, технических требований и таблиц.
ГОСТ 2.318-81. ЕСКД. Правила упрощенного нанесения отверстий.
ГОСТ 2.321-84. ЕСКД. Обозначения буквенные.
ГОСТ 2.401-68. ЕСКД. Правила выполнения чертежей пружин.
ГОСТ 2.402-68. ЕСКД. Условные обозначения зубчатых колес, реек, червяков и звездочек цепных передач.
ГОСТ 2.403-75. ЕСКД. Правила выполнения чертежей цилиндрических зубчатых колес.
ГОСТ 2.404-75. ЕСКД Правила выполнения чертежей зубчатых реек.
ГОСТ 2.405-75. ЕСКД Правила выполнения чертежей конических зубчатых колес.
ГОСТ 2.406-76. ЕСКД. Правила выполнения чертежей цилиндрических червяков и червячных колес.
ГОСТ 2.407-75. ЕСКД. Правила выполнения чертежей червяков и колес глобоидных передач.
ГОСТ 2.408-68. ЕСКД. Правила выполнения рабочих чертежей звездочек приводных роликовых и втулочных цепей.
ГОСТ 2.409-74. ЕСКД. Правила выполнения чертежей зубчатых (шлицевых) соединений.
ГОСТ 2.420-69. ЕСКД. Упрощенные изображения подшипников качения на сборочных чертежах.
ГОСТ 2.702-75. ЕСКД. Правила выполнения электрических схем.
ГОСТ 2.703-68. ЕСКД. Правила выполнения кинематических схем.
ГОСТ 2.704-76. ЕСКД. Правила выполнения гидравлических и пневматических схем.
ГОСТ 2.797-81. ЕСКД. Правила выполнения вакуумных схем.
ГОСТ 2789-73. Шероховатость поверхности. Параметры и характеристики.
ГОСТ 24643-81. Основные нормы взаимозаменяемости. Допуски формы и расположения поверхностей.
ГОСТ 25347-82. ЕСДП. Поля допусков и рекомендуемые посадки.
ГОСТ 25670-83. ЕСДП. Предельные отклонения, оговариваемые общей надписью.
ГОСТ 5-78Е. Текстолит и асботекстолит конструкционные. технические условия.
ГОСТ 380-88. Сталь углеродистая обыкновенного качества. Марки.
ГОСТ 1050-88. Сталь углеродистая качественная конструкци-онная. Технические условия.
ГОСТ 1215-79. Отливки из ковкого чугуна. Общие технические условия.
ГОСТ 1435-90. Сталь нелегированная инструментальная. Технические условия.
ГОСТ 2685-75. Сплавы алюминиевые литейные. Марки, технические требования и методы испытаний.
ГОСТ 2748-77. Пластины, стержни, трубки эбонитовые электрические. технические условия.
ГОСТ 2856-79. Сплавы магниевые литейные. Марки.
ГОСТ 4784-74. Алюминий и сплавы алюминиевые деформируемые. Марки.
ГОСТ 5017-74. Бронзы оловянные, обрабатываемые давлением. Марки.
ГОСТ 15527-70. Сплавы медно-цинковые (латуни), обрабатываемые давлением. Марки.
ГОСТ 15809-70Е Стекло органическое конструкционное. Технические условия.
ГОСТ 7.1-2003. ССИБИД. Библиографическое описание документа. Общие требования и правила составления.
Приложение 13
В приложении представлены в качестве образцов чертежи: вала, крышки подшипника и двухрядной звездочки.
Продолжение приложения13
Продолжение приложения 13

|