| Методические указания к лабораторным
работам со стендом
STK
500 и МК
ATMega
16
Содержание
| Введение
|
3
|
| Особенности микроконтроллера ATmega16 (ATmega16L)
|
4
|
| Работа со стендом
|
6
|
| Пример загрузки программы в стенд
|
8
|
| Лабораторная работа №1. «Изучение структуры стенда STK500
и системы команд микроконтроллера ATmega16»
|
10
|
| Лабораторная работа №2. «Система прерываний. Работа с таймером/счетчиком 0»
|
18
|
| Лабораторная работа №3. «Изучение 16 – разрядного Таймера/счетчика 1»
|
28
|
Введение
Стенд STK500 представляет собой лабораторный макет с микроконтроллером, памятью программ, памятью данных и разнообразными периферийными устройствами. Он позволяет разрабатывать и отлаживать программы, написанные на языках Си и Ассемблер.
Загрузка программы производится с персонального компьютера через последовательный порт RS-232. Макет работает от источника напряжения - 10-15 Вольт.
В лабораторных работах будет использоваться микроконтроллер фирмы ATMEL - ATmega 16.
Условные обозначения:
- Flash ROM - объем энергонезависимой памяти программ (в килобайтах);
- EEPROM - объем энергонезависимой памяти данных (в байтах);
- RAM - объем статической памяти данных (в байтах);
- External RAM - возможность подключения к микроконтроллеру дополнительной микросхемы внешней статической памяти данных (в килобайтах);
- ISP - возможность программирования микроконтроллера в системе (на целевой плате) при основном напряжении питания;
- SPM - функция самопрограммирования Flash ROM памяти микроконтроллера в системе без участия внешнего программатора;
- JTAG - встроенный JTAG - интерфейс;
- I/O (pins) - максимальное количество доступных линий ввода / вывода;
- Timer(s) 8/16 bit - количество и разрядность таймеров/счетчиков;
- USI - универсальный коммуникационный интерфейс;
- AC - аналоговый компаратор;
- ADC (channels) - количество каналов аналого-цифрового преобразования;
- Internal RC - наличие внутренней RC-цепочки для автономной работы микроконтроллера (без внешнего источника опорной частоты);
- WDT - сторожевой таймер;
- BDC - аппаратный программируемый блок защиты от сбоев при внезапном (в том числе и кратковременном) пропадании напряжения питания микроконтроллера;
- UART - асинхронный последовательный приемопередатчик;
- SPI - синхронный трехпроводной последовательный интерфейс;
- I2C - двухпроводной последовательный интерфейс;
- RTC - система реального времени;
- PWM (channels) - количество независимых каналов широтно - импульсной модуляции;
- Command Set - количество различных инструкций в системе команд микроконтроллера;
- Vcc - диапазон рабочих напряжений питания (в Вольтах);
- Clock - диапазон рабочих частот (в мегагерцах);
Особенности микроконтроллера
ATmega
16 (
ATmega
16
L
)
· 8-разрядный высокопроизводительный AVR микроконтроллер с малым потреблением.
· Прогрессивная RISC архитектура:
- 130 высокопроизводительных команд, большинство команд выполняется за один тактовый цикл;
- 32 8-разрядных рабочих регистра общего назначения;
- полностью статическая работа;
- производительность приближается к 16 MIPS (при тактовой частоте 16 МГц);
- встроенный 2-цикловый переумножитель.
· Энергонезависимая память программ и данных:
- 16 Кбайт внутренней программируемой Flash памяти (In-System Self-Programmable Flash);
- обеспечивает 1000 циклов стирания/записи;
- дополнительный сектор загрузочных кодов с независимыми битами блокировки;
- внутрисистемное программирование встроенной программой загрузки;
- обеспечен режим одновременного чтения/записи (Read-While-Write);
- 512 байт EEPROM;
- обеспечивает 100000 циклов стирания/записи;
- 1 Кбайт встроенной SRAM;
- программируемая блокировка, обеспечивающая защиту программных средств пользователя.
· Интерфейс JTAG (совместимый с IEEE 1149.1):
- возможность сканирования периферии, соответствующая стандарту JTAG;
- расширенная поддержка встроенной отладки;
- программирование через JTAG интерфейс: Flash, EEPROM памяти, перемычек и битов блокировки.
Забиваем Сайты В ТОП КУВАЛДОЙ - Уникальные возможности от SeoHammer
Каждая ссылка анализируется по трем пакетам оценки: SEO, Трафик и SMM.
SeoHammer делает продвижение сайта прозрачным и простым занятием.
Ссылки, вечные ссылки, статьи, упоминания, пресс-релизы - используйте по максимуму потенциал SeoHammer для продвижения вашего сайта.
Что умеет делать SeoHammer
— Продвижение в один клик, интеллектуальный подбор запросов, покупка самых лучших ссылок с высокой степенью качества у лучших бирж ссылок.
— Регулярная проверка качества ссылок по более чем 100 показателям и ежедневный пересчет показателей качества проекта.
— Все известные форматы ссылок: арендные ссылки, вечные ссылки, публикации (упоминания, мнения, отзывы, статьи, пресс-релизы).
— SeoHammer покажет, где рост или падение, а также запросы, на которые нужно обратить внимание.
SeoHammer еще предоставляет технологию Буст, она ускоряет продвижение в десятки раз,
а первые результаты появляются уже в течение первых 7 дней.
Зарегистрироваться и Начать продвижение
· Встроенная периферия:
- два 8-разрядных таймера/счетчика с отдельным предварительным делителем, один с режимом сравнения;
- один 16-разрядный таймер/счетчик с отдельным предварительным делителем и режимами захвата и сравнения;
- счетчик реального времени с отдельным генератором;
- четыре канала широтно-импульсного модулятора PWM;
- 8-канальный 10-разрядный аналого-цифровой преобразователь;
- 8 несимметричных каналов;
- 7 дифференциальных каналов (только в корпусе TQFP);
- 2 дифференциальных канала с программируемым усилением в 1, 10 или 200 раз (только в корпусе TQFP);
- байт-ориентированный 2-проводный последовательный интерфейс;
- программируемый последовательный USART;
- последовательный интерфейс SPI (ведущий/ведомый);
- программируемый сторожевой таймер с отдельным встроенным генератором;
- встроенный аналоговый компаратор.
· Специальные микроконтроллерные функции:
- сброс при подаче питания и программируемый детектор кратковременного снижения напряжения питания;
- встроенный калиброванный RC-генератор;
- внутренние и внешние источники прерываний;
- шесть режимов пониженного потребления: Idle, Power-save, Power-down, Standby, Extended Standby и снижения шумов ADC.
· Выводы I/O и корпуса:
- 32 программируемые линии ввода/вывода;
- 40-выводной корпус PDIP и 44-выводной корпус TQFP.
· Рабочие напряжения
2,7 - 5,5 В (ATmega16L)
4,5 - 5,5 В (ATmega16)
· Рабочая частота
0 - 8 МГц (ATmega16L)
0 - 16 МГц (ATmega16)
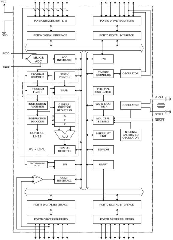
Блок- схема ATmega16:

Рисунок 1. Блок схема ATMega16
Работа со стендом
STK
500
Минимальные программные и аппаратные требования для работы с
STK500
- 486 процессор (Pentium);
- 16 MB RAM;
- 12 MB свободного места на диске (AVR Studio®);
- Windows® 95/98/2000/ME и Windows NT® 4.0;
- 115200 бод RS-232 порт (COM порт);
- 10 - 15V DC блок питания, 500 mA.

Рисунок.2. Схема подключения к ПК
Описание установки
Рисунок 3. Описание STK500
- Панель с кнопками.
- Разъем для подключения кнопок к МК.
- Разъем RS232 интерфейса (RXD, TXD).
- Разъем данные Flash – памяти(SD, SCK,/CS,SI).
- Разъем для подключения панели светодиодов.
- Панель светодиодов.
- Разъем для расширения платы.
- Разъем ISP объекта.
- 6-и штырьковый ISP разъем.
- 10-и штырьковый ISP разъем (только для внешних объектов).
- Кнопка программирования.
- Гнездо для кристалла кварца.
- Порт RS-232 для связи.
- Светодиод состояния.
- Мастер MCU.
- Порт RS-232 для программирования.
- Разъем для параллельного программирования.
- Разъем для питания.
- Кнопка включения.
- Кнопка перезагрузки МК.
- Панель для выставления параметров.
- Разъем для расширения платы.
- Гнездо для МК AVR.
- Разъемы портов ввода/вывода МК
Описание работы светодиодов

Рисунок 4. Схема включения светодиода
В STK500 используются транзистор и два резистора для поддержания постоянной яркости свечения светодиодов при любом значении напряжения питания микроконтроллера (VTG), а также для выключения светодиодов, когда VTG отсутствует. Напряжение, подаваемое на светодиод, 1.8 – 6 Вольт. Для подключения светодиодов к МК нужен 10 – жильный кабель, которым соединяются разъем панели светодиодов и разъем ввода/вывода МК.
Описание работы кнопок

Рисунок 5. Схема кнопки
На линиях портов ввода-вывода AVR-микроконтроллеров имеется возможность активизации встроенных подтягивающих резисторов к плюсу питания. Это свойство можно использовать в целях исключения внешнего подтягивающего резистора. В STK500 добавлены внешние подтягивающие резисторы 10 кОм для формирования лог. «1» на выводах SWn при отжатом состоянии кнопок. Резистор 150 Ом выполняет функцию защитного токоограничения, например, в случае ошибочной настройки линий ввода-вывода, связанных с кнопками, на вывод.
Сервис онлайн-записи на собственном Telegram-боте
Попробуйте сервис онлайн-записи VisitTime на основе вашего собственного Telegram-бота:
— Разгрузит мастера, специалиста или компанию;
— Позволит гибко управлять расписанием и загрузкой;
— Разошлет оповещения о новых услугах или акциях;
— Позволит принять оплату на карту/кошелек/счет;
— Позволит записываться на групповые и персональные посещения;
— Поможет получить от клиента отзывы о визите к вам;
— Включает в себя сервис чаевых.
Для новых пользователей первый месяц бесплатно.
Зарегистрироваться в сервисе
Загрузка программы в стенд. Работа с программным обеспечением
AVRStudio
Загрузка программы в стенд.
1. На персональном компьютере загрузить «Пуск->Atmel AVR Tools->AVRStudio».
 2. Создать новый проект, кнопки «Project->New Project».
Ввести имя проекта, нажать Finish.
Рисунок 6. AVR Studio
3. В окне редактора ввести код программы.

Рисунок 7. AVR Studio
4. Сохранить набранный файл с расширением *.ASM (*.С).
5. Откомпилировать набранную программу - кнопка «F7» на клавиатуре или нажать кнопку .
6. Возможные ошибки в программе можно просмотреть в окне «message».
7. После устранения всех ошибок, откомпилировать программу снова и записать данные файла с расширением *.НЕХ в микроконтроллер.
Для этого:
- нажать кнопку «AVR» на панели «AVRStudio toolbar», появится окно «STK500»;
- в закладке «Program» выбрать «Device» - устройство (ATmega16);
- в разделе «Flash», в поле «Input HEX File» указать расположение откомпилированного файла.

Рисунок 8. AVR Studio
При передаче данных с персонального компьютера в стенд
STK
500 данные отображаются на индикаторе стенда. Горит светодиод
Led
7,
Led
6,
Led
5..
При записи программы в МК убедитесь, что плата
STK
500 включена.
Запись новой программы возможна в любой момент времени работы загруженной программы
.
Лабораторная работа №1
Тема:
Изучение структуры стенда STK500 и системы команд микроконтроллера ATmega16.
Цель:
Изучить функциональные возможности учебно-отладочного стенда, внутреннюю структуру и систему команд МК ATmega16. Получить первичные навыки программирования МК ATmega16.
Для выполнения данной лабораторной работы нужно знать:
- Структурную схему стенда, распределение памяти, назначение основных узлов.
- Архитектуру ATmega16.
- Типы данных, синтаксис команд пересылки, арифметических команд, команд переходов.
- Организацию и программирование портов ввода/вывода.
- Что такое регистры общего назначения, как с ними работать, и для чего они нужны.
- Директивы ассемблера.
Краткие теоретические сведения
Память
В соответствии с гарвардской архитектурой память AVR-микроконтроллера разделена на две области: память данных и память программ. Кроме того, ATmega128 содержит память на EEPROM(ЭСППЗУ) для энергонезависимого хранения данных. Все три области памяти являются линейными и равномерными.
Внутрисистемно программируемая флэш-память программ ATmega16 содержит 16 кбайт внутренней внутрисистемно перепрограммируемой флэш-памяти для хранения программы. Поскольку все AVR-инструкции являются 16 или 32-разр., то флэш-память организована как 8 кбайт ´ 16. Для программной защиты флэш-память программ разделена на два сектора: сектор программы начальной загрузки и сектор прикладной программы.
Флэш-память характеризуется износостойкостью не менее 10.000 циклов запись/стирание. Программный счетчик РС у ATmega16 является 13-разр., поэтому, позволяет адресоваться к 8 кбайт памяти программ.
Таблицы констант могут располагаться в пределах всего пространства памяти программ (см. описание инструкции чтения из памяти программ).
Рисунок 9. Память программ
Первые 1120 ячеек памяти данных относятся к файлу регистров, памяти ввода/вывода и встроенному статическому ОЗУ. В первых 96 ячейках расположен файл регистров (32 ячейки) и стандартная память ввода-вывода (64 ячейки). Следующие 1024 ячейки внутренней статической ОЗУ данных.
Реализовано пять различных способов адресации для охвата всей памяти: прямая, косвенная со смещением, косвенная, косвенная с предварительным декрементом и косвенная с последующим инкрементом. Регистры R26 – R31 из файла регистров используются как регистры-указатели для косвенной адресации.
Прямая адресация позволяет адресоваться ко всей памяти данных. Косвенная адресация со смещением позволяет адресовать 63 ячейки, начиная с адреса указанного в регистрах Y или Z.
При использовании инструкции косвенной адресации с предварительным декрементом и последующим инкрементом значения адресных регистров X, Y и Z, соответственно декрементируются до или инкрементируются после выполнения инструкции.
32 рабочих регистров общего назначения, 64 регистра ввода-вывода и 1024 байт внутреннего статического ОЗУ данных в ATmega16 доступны с помощью всех этих режимов адресации.

Рисунок 10. Распределение памяти в ATMega 16
Пример записи в регистр общего назначения:
.
DEF Treg=r16 ;Присваиваем регистру общего назначения имя Treg
.CSEG
Start:
ldi Treg, 00000001b ;запись числа в «Treg» т.е. в регистр R16
ПОРТЫ ВВОДА/ВЫВОДА
Порт B
Порт B 8-разрядный двунаправленный порт.
Для обслуживания порта отведено три регистра: регистр данных PORTB ($18, $38), регистр направления данных - DDRB ($17, $37) и выводы порта B ($16, $36). Адрес выводов порта B предназначен только для чтения, в то время как регистр данных и регистр направления данных - для чтения/записи.
Все выводы порта имеют отдельно подключаемые подтягивающие резисторы. Выходы порта B могут поглощать ток до 20 мА и непосредственно управлять светодиодными индикаторами. Выводы PB0..PB7 используются как входы и замыкаются на землю, если включены внутренние подтягивающие резисторы, при этом выводы являются источниками тока (IIL
). Дополнительные функции выводов порта B приведены в таблице 16.
Таблица 1. Альтернативные функции выводов порта B
| Вывод
|
Альтернативная функция
|
| PB0
|
AIN0 (Положительный вход аналогового компаратора)
|
| PB1
|
AIN1 (Отрицательный вход аналогового компаратора)
|
| PB5
|
MOSI (Вход данных для загрузки памяти)
|
| PB6
|
MISO (Выход данных для чтения памяти)
|
| PB7
|
SCK (Вход тактовых импульсов последовательного обмена)
|
При использовании альтернативных функций выводов регистры DDRB и PORTB должны быть установлены в соответствии с описанием альтернативных функций.
РЕГИСТР ДАННЫХ ПОРТА B - PORTB
| Бит
$18
Чт./зап.
Начальн.знач.
|
7
|
6
|
5
|
4
|
3
|
2
|
1
|
0
|
|
| PORTB7
|
PORTB6
|
PORTB5
|
PORTB4
|
PORTB3
|
PORTB2
|
PORTB1
|
PORTB0
|
PORTB
|
| R/W
|
R/W
|
R/W
|
R/W
|
R/W
|
R/W
|
R/W
|
R/W
|
|
| 0
|
0
|
0
|
0
|
0
|
0
|
0
|
0
|
РЕГИСТР НАПРАВЛЕНИЯ ДАННЫХ ПОРТА
B - DDRB
| Бит
$17
Чт./зап.
Начальн.знач.
|
7
|
6
|
5
|
4
|
3
|
2
|
1
|
0
|
|
| DDB7
|
DDB6
|
DDB5
|
DDB4
|
DDB3
|
DDB2
|
DDB1
|
DDB0
|
DDRB
|
| R/W
|
R/W
|
R/W
|
R/W
|
R/W
|
R/W
|
R/W
|
R/W
|
|
| 0
|
0
|
0
|
0
|
0
|
0
|
0
|
0
|
ВЫВОДЫ ПОРТА B - PINB
| Бит
$16
Чт./зап.
Начальн.знач.
|
7
|
6
|
5
|
4
|
3
|
2
|
1
|
0
|
|
| PINB7
|
PINB6
|
PINB5
|
PINB4
|
PINB3
|
PINB2
|
PINB1
|
PINB0
|
PINB
|
| R
|
R
|
R
|
R
|
R
|
R
|
R
|
R
|
|
| Hi-Z
|
Hi-Z
|
Hi-Z
|
Hi-Z
|
Hi-Z
|
Hi-Z
|
Hi-Z
|
Hi-Z
|
PINB не является регистром, по этому адресу осуществляется доступ к физическим значениям каждого из выводов порта B. При чтении PORTB, читаются данные из регистра-защелки, при чтении PINB читаются логические значения, присутствующие на выводах порта.
Порт B, как порт ввода/вывода общего назначения
Все 8 бит порта B при использовании для ввода/вывода одинаковы.
Бит DDBn регистра DDRB выбирает направление передачи данных. Если бит установлен (1), вывод сконфигурирован как выход. Если бит сброшен (0) - вывод сконфигурирован как вход. Если PORTBn установлен и вывод сконфигурирован как вход, включается КМОП подтягивающий резистор. Для отключения резистора, PORTBn должен быть сброшен (0) или вывод должен быть сконфигурирован как выход.
АЛЬТЕРНАТИВНЫЕ ФУНКЦИИ ПОРТА B
SCK - бит 7 порта B - тактовые импульсы для записи/чтения памяти
MISO - бит 6 порта B - выход данных для чтения памяти
MOSI - бит 5 порта B - вход данных для записи памяти
OC1 - PORTB, Bit 3 - Выход совпадения. Этот вывод может быть сконфигурирован для вывода внешнего события - совпадения таймера 1. Для этого бит DDB3 должен быть установлен в 1 (вывод сконфигурирован как выход).
AIN1 - бит 1 порта B - Отрицательный вход аналогового компаратора. Если вывод сконфигурирован как вход (DDB1 сброшен) и отключен внутренний подтягивающий резистор (PB0 сброшен), то этот вывод работает как отрицательный вход встроенного аналогового компаратора.
AIN0 - бит 0 порта B - Положительный вход аналогового компаратора. Если вывод сконфигурирован как вход (DDB0 сброшен) и отключен внутренний подтягивающий резистор (PB1 сброшен), то этот вывод работает как положительный вход встроенного аналогового компаратора.
Таблица 2. Влияние DDBn на выводы порта B
| DDBn
|
PORTBn
|
Вх/Вых
|
Подт.резист
|
Комментарий
|
| 0
|
0
|
Вход
|
7Нет
|
Третье состояние (Hi-Z)
|
| 0
|
1
|
Вход
|
Да
|
PBn источник тока IIL
, если извне соединен с землей
|
| 1
|
0
|
Выход
|
Нет
|
Выход установлен в 0
|
| 1
|
1
|
Выход
|
Нет
|
Выход установлен в 1
|
n = 7,6...0 - номер вывода
Порт D
Для порта D зарезервированы 3 ячейки памяти - регистр PORTD ($12, $32), регистр направления данных - DDRD ($11, $31) и выводы порта D - PIND ($10, $30). Регистры данных и направления данных могут читаться/записываться, ячейка PIND - только для чтения.
Порт D - 7-разрядный двунаправленный порт со встроенными подтягивающими регистрами. Выходные буферы порта могут поглощать ток до 20 мА. Выводы используются, как входы и на них подан низкий уровень, они являются источниками тока IIL
, если подключены подтягивающие резисторы. Некоторые из выводов порта имеют альтернативные функции, как показано в таблице 18.
Если выводы порта используются для обслуживания альтернативных функций, они должны быть сконфигурированы на ввод/вывод в соответствии с описанием функции.
Таблица 3. Альтернативные функции порта D
| Вывод порта
|
Альтернативная функция
|
| PD0
|
RXD (вход данных UART)
|
| PD1
|
TXD (выход данных UART)
|
| PD2
|
INT0 (вход внешнего прерывания 0)
|
| PD3
|
INT1 (вход внешнего прерывания 1)
|
| PD4
|
T0 (внешний вход таймера счетчика 0)
|
| PD5
|
T1 (внешний вход таймера счетчика 1)
|
| PD6
|
ICP (вход захвата таймера счетчика 1)
|
РЕГИСТР ДАННЫХ ПОРТА
D - PORTD
| Бит
$12($32)
Чт./зап. (R/W)
Начальн.знач.
|
7
|
6
|
5
|
4
|
3
|
2
|
1
|
0
|
|
| -
|
PORTD6
|
PORTD5
|
PORTD4
|
PORTD3
|
PORTD2
|
PORTD1
|
PORTD0
|
PORTD
|
| R
|
R/W
|
R/W
|
R/W
|
R/W
|
R/W
|
R/W
|
R/W
|
|
| 0
|
0
|
0
|
0
|
0
|
0
|
0
|
0
|
РЕГИСТР НАПРАВЛЕНИЯ ДАННЫХ ПОРТА
D - DDRD
| Бит
$11($31)
Чт./зап. (R/W)
Начальн.знач.
|
7
|
6
|
5
|
4
|
3
|
2
|
1
|
0
|
|
| -
|
DDD6
|
DDD5
|
DDD4
|
DDD3
|
DDD2
|
DDD1
|
DDD0
|
DDRD
|
| R
|
R/W
|
R/W
|
R/W
|
R/W
|
R/W
|
R/W
|
R/W
|
|
| 0
|
0
|
0
|
0
|
0
|
0
|
0
|
0
|
ВЫВОДЫ ПОРТА
D - PIND
| Бит
$10 ($30)
Чт./зап. (R/W)
Начальн.знач.
|
7
|
6
|
5
|
4
|
3
|
2
|
1
|
0
|
|
| -
|
PIND6
|
PIND5
|
PIND4
|
PIND3
|
PIND2
|
PIND1
|
PIND0
|
PIND
|
| R
|
R
|
R
|
R
|
R
|
R
|
R
|
R
|
|
| 0
|
Hi-Z
|
Hi-Z
|
Hi-Z
|
Hi-Z
|
Hi-Z
|
Hi-Z
|
Hi-Z
|
PIND не является регистром, по этому адресу осуществляется доступ к физическим значениям каждого из выводов порта D. При чтении PORTD, читаются данные из регистра-защелки, при чтении PIND читаются логические значения, присутствующие на выводах порта.
Порт D, как порт ввода/вывода общего назначения
Все 7 бит порта D при использовании для ввода/вывода одинаковы.
Бит DDDn регистра DDRD выбирает направление передачи данных. Если бит установлен (1), вывод сконфигурирован как выход. Если бит сброшен (0) - вывод сконфигурирован как вход. Если PORTDn установлен и вывод сконфигурирован как вход, включается КМОП подтягивающий резистор. Для отключения резистора, PORTDn должен быть сброшен (0) или вывод должен быть сконфигурирован как выход.
Таблица 4. Влияние DDDn на выводы порта D
| DDDn
|
PORTDn
|
Вх/Вых
|
Подт.резист
|
Комментарий
|
| 0
|
0
|
Вход
|
Нет
|
Третье состояние (Hi-Z)
|
| 0
|
1
|
Вход
|
Да
|
PDn источник тока IIL
, если извне соединен с землей
|
| 1
|
0
|
Выход
|
Нет
|
Выход установлен в 0
|
| 1
|
1
|
Выход
|
Нет
|
Выход установлен в 1
|
n = 6...0 - номер вывода
Альтернативные функции порта D
ICP - Порт D, бит 6 - вход захвата таймера/счетчика 1. Подробнее см. описание таймера.
T1 - Порт D, бит 5 - тактовый вход таймера/счетчика 1. Подробнее см. описание таймера.
T0 - Порт D, бит 4 - тактовый вход таймера/счетчика 0. Подробнее см. описание таймера.
INT1 - Порт D, бит 3 - вход внешних прерываний 1. Подробнее см. описание прерываний.
INT0 - Порт D, бит 2 - вход внешних прерываний 0. Подробнее см. описание прерываний.
TXD - Порт D, бит 1 - выход передатчика UART. Если разрешена работа передатчика UART, то независимо от состояния DDRD1 этот вывод сконфигурирован как выход.
RXD - Порт D, бит 0 - выход приемника UART. Если разрешена работа приемника UART, то независимо от состояния DDRD0 этот вывод сконфигурирован как выход. Когда UART использует вывод для приема данных, единица в PORTD0 подключает встроенный подтягивающий резистор.
Пример выполнения лабораторной работы №1
В регистр r16 записывается число, например, 256 (11111111), при нажатии на клавишу SW0, расположенную на стенде, происходит уменьшение числа, записанного в r16, на 1. Вывод значения из регистра r16 отображается на панели светодиодов. Панель кнопок подключена к Gорту D, панель светодиодов к Порту B.
;***** Демонстрация использования светодиодов и кнопок в стенде STK500
.include "m16def.inc"
.def Temp =r16 ; Temporary register ;объявление регистров
.def Delay =r17 ; Delay variable 1
.def Delay2 =r18 ; Delay variable 2
;***** Инициализация панели светодиодов
RESET:
ser Temp ; Установить биты (т.е. Регистр Temp=11111111 )
out DDRB,Temp ; Настраиваем Порт B на вывод
;**** Тестируем Порт B (Вывод) и Порт D (Ввод)
LOOP:
out PORTB,temp ; Запись регистра temp в порт B
sbis PIND,0x00 ; If (Port D, pin0 == 0) Если бит 0 в порт B установлен
inc Temp ; то увеличение значения регистра temp на 1
;**** Задержка, сделана для того чтобы обновление светодиодов проходило «плавно», и по нажатию кнопки выполнялся один цикл.
; Если не использовать задержку, то возможно выполнение нескольких циклов за одно нажатие кнопки.
DLY:
dec Delay
brne DLY
dec Delay2
brne DLY
rjmp LOOP
Индивидуальные задания
1. Занести в регистр R16 двоично-десятичное число 0Х, в регистр R17 двоично-десятичное число Х0, отобразить сумму чисел на панели светодиодов в двоичном виде.
2. Занести в регистр R16 двоично-десятичное число ХХ отобразить его на панели светодиодов в двоичном виде.
3. Занести в регистр R16 двоичное число, при нажатии кнопки SW0 инвертировать его и выводить на панель светодиодов.
Порядок выполнения лабораторной работы:
- Разработать алгоритм для выполнения индивидуального задания.
- Изучить программно-отладочные средства AVRStudio
- Написать программу индивидуального задания на ПК.
- С помощью ПОС проанализировать выполнение индивидуальной программы.
5. Загрузить программу в стенд ОЭВМ. Убедиться в правильном выполнении индивидуального задания, при отрицательном результате осуществить изменение алгоритма либо программы. Повторить загрузку
программы в стенд STK500.
- Сохранить листинг правильно работающей программы.
- Показать результат выполнения программы преподавателю и ответить на контрольные вопросы.
Контрольные вопросы:
1. Время выполнения команд (понятие такта, машинного цикла).
2. Типы данных. Формат команд. Команды прямой и косвенной адресации.
3. Команды сдвига. Арифметические команды. Логические команды.
4. Регистр признаков, команды вызывающие изменение регистра признаков.
5. Команды работы со стеком, последовательность действий (команд) при работе со стеком.
6. Назначение внутренних узлов МК.
7. Назначение и работа с внутренней памятью данных МК.
8. Система прерывания ОЭВМ. Назначение портов МК.
9. Физические характеристики выходных сигналов МК.
Лабораторная работа №2
Тема:
Система прерываний. Работа с таймером/счетчиком 0
Цель:
Изучить систему прерываний МК ATmega16. Изучить работу таймера/счетчика 0.
Для выполнения данной лабораторной работы нужно знать:
- Что такое прерывание.
- Как организовано обслуживание прерываний.
- Изучить систему прерывания ATmega16, особенности опроса дискретных датчиков с механическими контактами.
- Особенности функционирования и программирования Таймера/Счетчика 0.
Краткие теоретические сведения
Система прерываний
Atmega16
Сброс и обработка прерываний
В ATmega16 предусмотрен 21 источник прерываний. Эти прерывания и сброс имеют различные векторы в области памяти программ. Каждому из прерываний присвоен отдельный бит, разрешающий данное прерывание при установке бита в 1, если бит I регистра состояния SREG разрешает общее обслуживание прерываний.
Самые младшие адреса памяти программ определены как векторы сброса и прерываний. Полный список векторов прерываний приведен в таблице 2. Этот список определяет и приоритет различных прерываний. Меньшие адреса соответствуют более высокому уровню приоритета. Самый высокий уровень у RESET (сброс), следующий приоритет у INT0 - внешнего запроса прерывания 0 и т.д.
Таблица 5. Сброс и векторы прерываний.
| Номер вектора
|
Адрес
|
Источник
|
Описание прерывания
|
| 1
|
$000
|
RESET
|
Вывод сброса и сброс от сторожевого таймера
|
| 2
|
$002
|
INT0
|
Внешнее прерывание 0
|
| 3
|
$004
|
INT1
|
Внешнее прерывание 1
|
| 4
|
$006
|
TIMER2 COMP
|
Совпадение таймера/счетчика 2
|
| 5
|
$008
|
TIMER2 OVF
|
Переполнение таймера/счетчика 2
|
| 6
|
$00A
|
TIMER1 CAPT
|
Захват таймера/счетчика 1
|
| 7
|
$00С
|
TIMER1 COMPA
|
Совпадение таймера/счетчика 1
|
| 8
|
$00E
|
TIMER1 COMPB
|
Совпадение таймера/счетчика 1
|
| 9
|
$010
|
TIMER1 OVF
|
Переполнение таймера/счетчика 1
|
| 10
|
$012
|
TIMER0 OVF
|
Переполнения таймера/счетчика 0
|
| 11
|
$014
|
SPI, STC
|
Полная последовательная передача
|
| 12
|
$016
|
USART, RXC
|
Usart, Rx complete
|
| 13
|
$018
|
USART, UDRE
|
Usart регистр данных пустой
|
| 14
|
$01A
|
USART, TXC
|
Usart, Tx complete
|
| 15
|
$01C
|
ADC
|
Аналого-цифровой преобразователь
|
| 16
|
$01E
|
EE_RDY
|
EEPROM Ready
|
| 17
|
$020
|
ANA_COMP
|
Аналоговый компаратор
|
| 18
|
$022
|
TWI
|
Двух - проводной последовательный интерфейс
|
| 19
|
$024
|
INT2
|
Внешнее прерывание 2
|
| 20
|
$026
|
TIMER0 COMP
|
Совпадение таймера/счетчика 0
|
| 21
|
$028
|
SPM_RDY
|
Загрузка программной памяти готова
|
Чаще всего используется следующая установка векторов прерываний в программе:
Адрес Метка Код Комментарий
$000 jmp RESET ; Reset Handler
$002 jmp EXT_INT0 ; IRQ0 Handler
$004 jmp EXT_INT1 ; IRQ1 Handler
$006 jmp TIM2_COMP ; Timer2 Compare Handler
$008 jmp TIM2_OVF ; Timer2 Overflow Handler
$00A jmp TIM1_CAPT ; Timer1 Capture Handler
$00C jmp TIM1_COMPA ; Timer1 CompareA Handler
$00E jmp TIM1_COMPB ; Timer1 CompareB Handler
$010 jmp TIM1_OVF ; Timer1 Overflow Handler
$012 jmp TIM0_OVF ; Timer0 Overflow Handler
$014 jmp SPI_STC ; SPI Transfer Complete Handler
$016 jmp USART_RXC ; USART RX Complete Handler
$018 jmp USART_UDRE ; UDR Empty Handler
$01A jmp USART_TXC ; USART TX Complete Handler
$01C jmp ADC ; ADC Conversion Complete Handler
$01E jmp EE_RDY ; EEPROM Ready Handler
$020 jmp ANA_COMP ; Analog Comparator Handler
$022 jmp TWSI ; Two-wire Serial Interface Handler
$024 jmp EXT_INT2 ; IRQ2 Handler
$026 jmp TIM0_COMP ; Timer0 Compare Handler
$028 jmp SPM_RDY ; Store Program Memory Ready Handler
;
$02A RESET: ldi r16,high(RAMEND ) ; Main program start
$02B out SPH,r16 ; Set Stack Pointer to top of RAM
$02C ldi r16,low(RAMEND)
$02D out SPL,r16
$02E sei ; Enable interrupts
$02F <instr> xxx
... ... ...
О
бработка прерываний
ATmega16 регистр управления прерыванием GIСR - Общий регистр управления прерывания, регулирует размещение вектора прерывания. Когда возникает прерывание, общий бит разрешения прерываний I очищается (ноль) и прерывания запрещаются. Программа пользователя может установить этот бит для разрешения прерываний. Флаг разрешения прерываний I устанавливается в 1 при выполнении команды выхода из прерывания - RETI.
Для прерываний включаемых статическими событиями (т.е. переключаемыми уровнем) (например совпадение значения счетчика/таймера 1 с регистром совпадения) флаг прерывания взводится, когда происходит событие. Если флаг прерывания очищен и присутствует условие возникновения прерывания, флаг не будет установлен, пока не произойдет следующее событие.
Когда программный счетчик устанавливается на текущий вектор прерывания для обработки прерывания, соответствующий флаг, сгенерированный прерыванием, аппаратно сбрасывается. Некоторые флаги прерывания могут быть сброшены записью логической единицы в бит соответствующий флагу.
| Бит
Чт./зап. (R/W)
Начальн. знач.
|
7
|
6
|
5
|
4
|
3
|
2
|
1
|
0
|
|
| INT1
|
INT0
|
INT2
|
-
|
-
|
-
|
IVSEL
|
IVCE
|
GICR
|
| R/W
|
R/W
|
R
|
R
|
R
|
R
|
R/W
|
R/W
|
|
| 0
|
0
|
0
|
0
|
0
|
0
|
0
|
0
|
Бит 1 - IVSEL: Выбор вектора прерывания
Когда бит IVSEL очищен (0), Векторы Прерывания установлены в начале Flash - памяти. Когда этот бит установлен (1), векторы прерывания перемещены на начало секции Загрузчика (Boot Loader) в Flash - памяти.
Бит 0 - IVCE: Векторное изменение прерывания Допустимый бит IVCE должен быть установлен в логическую 1, чтобы применить изменение бита IVSEL. IVCE ОЧИЩЕН аппаратными четырьмя циклами после того, как будет записано или когда IVSEL записан.
ОБЩИЙ РЕГИСТР ФЛАГОВ ПРЕРЫВАНИЙ -
GIFR
| Бит
$3A($5A)
Чт./зап. (R/W)
Начальн. знач.
|
7
|
6
|
5
|
4
|
3
|
2
|
1
|
0
|
|
| INTF1
|
INTF0
|
INTF2
|
-
|
-
|
-
|
-
|
-
|
GIFR
|
| R/W
|
R/W
|
R
|
R
|
R
|
R
|
R
|
R
|
|
| 0
|
0
|
0
|
0
|
0
|
0
|
0
|
0
|
Бит 7 - INTF1: Флаг внешнего прерывания 1: При возникновении на выводе INT1 события, вызывающего прерывание, INTF1 устанавливается в "1". Если установлены бит I регистра SREG и бит INT1 в GIMSK, происходит переход на вектор прерывания по адресу $004. Флаг очищается после выполнения обработчика прерывания. Кроме того, флаг можно очистить, записав в него логическую единицу.
Бит 6 - INTF0: Флаг внешнего прерывания 0: При возникновении на выводе INT0 события вызывающего прерывание, INTF0 устанавливается в "1". Если установлены бит I регистра SREG и бит INT0 в GIMSK, происходит переход на вектор прерывания по адресу $002. Флаг очищается после выполнения обработчика прерывания. Кроме того, флаг можно очистить, записав в него логическую единицу.
Бит 5 - INTF2: Флаг внешнего прерывания 0: При возникновении на выводе INT0 события вызывающего прерывание, INTF0 устанавливается в "1". Если установлены бит I регистра SREG и бит INT0 в GIMSK, происходит переход на вектор прерывания по адресу $024. Флаг очищается после выполнения обработчика прерывания. Кроме того, флаг можно очистить, записав в него логическую единицу.
Биты 4..0 - зарезервированы. В AT90S2313 эти биты зарезервированы и всегда читаются как 0.
РЕГИСТР МАСКИ ПРЕРЫВАНИЯ ОТ ТАЙМЕРОВ/СЧЕТЧИКОВ - TIMSK
| Бит
$39($59)
Чт./зап. (R/W)
Начальн.знач.
|
7
|
6
|
5
|
4
|
3
|
2
|
1
|
0
|
|
| OCIE2
|
TOIE2
|
TICIE1
|
OCIE1A
|
OCIE1B
|
TOIE1
|
OCIE0
|
TOIE0
|
TIMSK
|
| R/W
|
R/W
|
R
|
R
|
R/W
|
R
|
R/W
|
R
|
|
| 0
|
0
|
0
|
0
|
0
|
0
|
0
|
0
|
Бит 7 – OCIE2: Разрешение прерывания по совпадению таймера/счетчика 1: Если установлены бит OCIE2 и бит разрешения прерывания в регистре состояния, разрешены прерывания по совпадению таймера/счетчика 1. Прерывание (вектор $006) выполняется при равенстве таймера/счетчика 1 и регистра совпадения. В регистре флагов TIFR устанавливается ("1") флаг совпадения.
Бит 6 – TOIE2: Разрешение прерывания по переполнению таймера/счетчика 2: Если установлен этот бит и бит разрешения прерываний в регистре состояния, разрешены прерывания по переполнению таймера/счетчика 2. Соответствующее прерывание (вектор $008) выполняется при переполнении таймера/счетчика 2. В регистре флагов таймеров/счетчиков (TIFR) устанавливается флаг переполнения. Если таймер/счетчик 1 работает в режиме ШИМ, флаг переполнения устанавливается при изменении направления счета, при значении $0000.
Бит 5 - TICIE1: Разрешение прерывания по входу захвата: Если установлены бит TICIE1 и бит разрешения прерывания в регистре состояния, разрешены прерывания по входу захвата. Соответствующее прерывание (вектор $00A) выполняется по сигналу захвата на выводе 11 (PD6/ICP). В регистре флагов TIFR устанавливается ("1") флаг захвата.
Бит 4 - OCIE1A: Разрешение прерывания по совпадению таймера/счетчика 1: Если установлены бит OCIE1A и бит разрешения прерывания в регистре состояния, разрешены прерывания по совпадению таймера/счетчика 1. Прерывание (вектор $00C) выполняется при равенстве таймера/счетчика 1 и регистра совпадения. В регистре флагов TIFR устанавливается ("1") флаг совпадения.
Бит 3 - OCIE1B: Разрешение прерывания по совпадению таймера/счетчика 1: Если установлены бит OCIE1B и бит разрешения прерывания в регистре состояния, разрешены прерывания по совпадению таймера/счетчика 1. Прерывание (вектор $00E) выполняется при равенстве таймера/счетчика 1 и регистра совпадения. В регистре флагов TIFR устанавливается ("1") флаг совпадения.
Бит 2 - TOIE1: Разрешение прерывания по переполнению таймера/счетчика 1: Если установлен этот бит и бит разрешения прерываний в регистре состояния, разрешены прерывания по переполнению таймера/счетчика 1. Соответствующее прерывание (вектор $010) выполняется при переполнении таймера/счетчика 1. В регистре флагов таймеров/счетчиков (TIFR) устанавливается флаг переполнения. Если таймер/счетчик 1 работает в режиме ШИМ, флаг переполнения устанавливается при изменении направления счета, при значении $0000.
Бит 1 – OCIE0: Разрешение прерывания по совпадению таймера/счетчика 1: Если установлены бит OCIE0 и бит разрешения прерывания в регистре состояния, разрешены прерывания по совпадению таймера/счетчика 1. Прерывание (вектор $026) выполняется при равенстве таймера/счетчика 1 и регистра совпадения. В регистре флагов TIFR устанавливается ("1") флаг совпадения.
Бит 0 - TOIE0: Разрешение прерывания по переполнению таймера/счетчика 0. Если этот бит установлен в 1, и бит I в регистре состояния установлен в 1, разрешены прерывания по переполнению таймера/счетчика 0. При возникновении переполнения выполняется соответствующий вектор прерывания ($006). Флаг переполнения (TOV0) в регистре флагов прерываний (TIFR) таймеров/счетчиков устанавливается в 1.
РЕГИСТР ФЛАГОВ ПРЕРЫВАНИЙ ОТ ТАЙМЕРОВ/СЧЕТЧИКОВ – TIFR
| Бит
$38($58)
Чт./зап. (R/W)
Начальн.знач.
|
7
|
6
|
5
|
4
|
3
|
2
|
1
|
0
|
|
| OCF2
|
TOV2
|
ICF1
|
OCF1A
|
OCF1B
|
TOV1
|
OCF0
|
TOV0
|
TIFR
|
| R/W
|
R/W
|
R
|
R
|
R/W
|
R
|
R/W
|
R
|
|
| 0
|
0
|
0
|
0
|
0
|
0
|
0
|
0
|
Бит 7 - OCF2: Флаг выхода совпадения T/C2: флаг устанавливается в "1" если происходит совпадение значения таймера/счетчика 2 и данных в регистре OCR. Флаг очищается аппаратно при выполнении соответствующего вектора прерывания. Кроме того, флаг можно сбросить записав в него логическую единицу. Если установлены бит I в SREG и бит OCIE2 в TIMSK, при установке бита OCF2 выполняется прерывание.
Бит 6 – TOV2: Флаг переполнения таймера/счетчика 2: Флаг TOV2 устанавливается ("1") при переполнении таймера/счетчика 0. Флаг сбрасывается аппаратно при выполнении соответствующего вектора прерывания. Кроме того, флаг можно очистить записав в него логическую единицу. Если установлены бит I в SREG и бит TOIE2 в TIMSK, при установке бита TOV2 выполняется прерывание по переполнению таймера/счетчика 2.
Бит 5 - ICF1: флаг входа захвата 1: бит устанавливается ("1") при возникновении события захвата по входу, он индицирует, что значение таймера/счетчика 1 скопировано в регистр захвата по входу ICR1. ICF1 очищается при выполнении соответствующего вектора обработки прерывания. Кроме того, флаг можно очистить, записав в него логическую единицу.
Бит 4 - OCF1A: Флаг выхода совпадения 1А: флаг устанавливается в "1" если происходит совпадение значения таймера/счетчика 1 и данных в регистре OCR1A. Флаг очищается аппаратно при выполнении соответствующего вектора прерывания. Кроме того, флаг можно сбросить записав в него логическую единицу. Если установлены бит I в SREG и бит OCIE1A в TIMSK, при установке бита OCF1A выполняется прерывание.
Бит 3 - OCF1B: Флаг выхода совпадения 1B: флаг устанавливается в "1" если происходит совпадение значения таймера/счетчика 1 и данных в регистре OCR1B. Флаг очищается аппаратно при выполнении соответствующего вектора прерывания. Кроме того, флаг можно сбросить записав в него логическую единицу. Если установлены бит I в SREG и бит OCIE1B в TIMSK, при установке бита OCF1B выполняется прерывание.
Бит 2 - TOV1: Флаг переполнения таймера/счетчика 1: Флаг TOV1 устанавливается ("1") при возникновении переполнения таймера/счетчика 1. Флаг TOV1 сбрасывается аппаратно при выполнении соответствующего вектора обработки прерывания. Кроме того, флаг можно сбросить, записав в него логическую единицу. Если установлены бит I в SREG и бит TOIE1 в TIMSK, при установке бита TOV1 выполняется прерывание по переполнению таймера/счетчика 1. В режиме ШИМ этот бит устанавливается, когда таймер/счетчик 1 изменяет направление счета при значении $0000.
Бит 1 - OCF0: Флаг выхода совпадения T/C0: флаг устанавливается в "1" если происходит совпадение значения таймера/счетчика 2 и данных в регистре OCR. Флаг очищается аппаратно при выполнении соответствующего вектора прерывания. Кроме того, флаг можно сбросить записав в него логическую единицу. Если установлены бит I в SREG и бит OCIE0 в TIMSK, при установке бита OCF0 выполняется прерывание.
Бит 0 - TOV0: Флаг переполнения таймера счетчика 1: Флаг TOV0 устанавливается ("1") при переполнении таймера/счетчика 0. Флаг сбрасывается аппаратно при выполнении соответствующего вектора прерывания. Кроме того, флаг можно очистить записав в него логическую единицу. Если установлены бит I в SREG и бит TOIE0 в TIMSK, при установке бита TOV0 выполняется прерывание по переполнению таймера/счетчика 0.
ВНЕШНИЕ ПРЕРЫВАНИЯ
Внешние прерывания управляются выводами INT0, INT1 и INT2. Заметим, что прерывания обрабатываются даже, когда выводы сконфигурированы как выходы. Это позволяет генерировать программные прерывания. Внешние прерывания могут возникать по спадающему или нарастающему фронту, а также по низкому уровню. Это устанавливается в регистре управления процессором MCUCR. Если внешние прерывания разрешены и сконфигурированы на отработку по уровню, прерывание будет вырабатываться до тех пор, пока вывод удерживается в низком состоянии.
Управление работой внешних прерываний рассмотрено при описании регистра управления процессором MCUCR.
ВРЕМЯ РЕАКЦИИ НА ПРЕРЫВАНИЕ
Минимальное время реакции на любое из предусмотренных в процессоре прерываний - 4 периода тактовой частоты. После четырех циклов вызывается программный вектор, обрабатывающий данное прерывание. За эти 4 цикла программный счетчик (9 бит) записывается в стек, указатель стека уменьшается на 2. Программный вектор представляет собой относительный переход на подпрограмму обслуживания прерывания, и этот переход занимает 2 периода тактовой частоты. Если прерывание происходит во время выполнения команды, длящейся несколько циклов, перед вызовом прерывания завершается выполнение этой команды.
Выход из программы обслуживания прерывания занимает 4 периода тактовой частоты. За эти 4 периода из стека восстанавливается программный счетчик. После выхода из прерывания процессор всегда выполняет еще одну команду, прежде чем обслужить любое отложенное прерывание.
Заметим, что регистр состояния SREG аппаратно не обрабатывается процессором, как при вызове подпрограмм, так и при обслуживании прерываний. Если программа требует сохранения SREG, то это должно производиться программой пользователя.
ТАЙМЕР/СЧЕТЧИК
0
Таймер-счетчик 0 - модуль многофункционального одноканального 8-разрядного таймера-счетчика.
Основные отличительные особенности:
- Одноканальный счетчик
- Опциональный режим сброса таймера при совпадении (автоматическая перезагрузка)
- Широтно-импульсная модуляция без генерации ложных импульсов при записи нового порога сравнения в OCR0 (двойная буферизация) и с фазовой коррекцией
- Генератор частоты
- 10-разрядный предделитель тактовой частоты
- Генерация прерываний по переполнению и выполнения условия сравнения (TOV0 и OCF0)
- Счетчик внешних событий
Введение
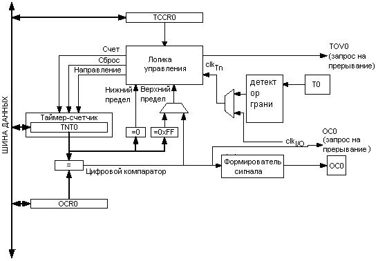
Функциональная схема 8-разр. таймера-счетчика представлена на рис. 5. Для уточнения расположения выводов см. "Расположение выводов". Связи с регистрами, к которым осуществляет доступ ЦПУ, в т.ч. биты ввода-вывода и линии ввода-вывода показаны жирной линией. Специфические для данного устройства регистры, расположение и назначение его бит приведены в "Описание регистров 8-разр. таймера-счетчика 0".
 Рисунок11. Функциональная схема 8-разр. таймера-счетчика 0
Описание регистров 8-разрядного таймера-счетчика 0
Регистр управления таймером-счетчиком 0 - TCCR0
| Разряд
|
7
|
6
|
5
|
4
|
3
|
2
|
1
|
0
|
|
| |
FOC0
|
WGM00
|
COM01
|
COM00
|
WGM01
|
CS02
|
CS01
|
CS00
|
TCCR0
|
| Чтение/запись
|
Чт.
|
Чт./Зп.
|
Чт./Зп.
|
Чт./Зп.
|
Чт./Зп.
|
Чт./Зп.
|
Чт./Зп.
|
Чт./Зп.
|
|
| Исх. значение
|
0
|
0
|
0
|
0
|
0
|
0
|
0
|
0
|
|
Разряд 7 - FOC0: Принудительная установка результата сравнения
Строб FOC0 не генерирует каких-либо прерываний, а также не вызывает сброс таймера в режиме СТС, где регистр OCR0 задает верхний предел счета.
Бит FOC0 всегда считывается как 0.
Разряд 6, 3 - WGM01:0: Режим работы таймера-счетчика 0
Данные биты определяют: алгоритм счета счетчика, источник, который задает верхний предел счета и тип генерируемых прямоугольных импульсов.
Таблица 6. Описание бит, задающих режим работы таймера-счетчика 0
| Номер режима
|
WGM01
|
WGM00
|
Наименование режима работы таймера-счетчика 0
|
Верхний предел счета
|
Условие обновления содержимого регистра OCR0
|
Условие установки флага TOV0
|
| 0
|
0
|
0
|
Нормальный
|
0xFF
|
Сразу после записи в регистр
|
Достижение максимального значения (0xFF)
|
| 1
|
0
|
1
|
ШИМ с фазовой коррекцией
|
0xFF
|
Достижение верхнего предела счета
|
Достижение минимального значения (0x00)
|
| 2
|
1
|
0
|
Сброс при совпадении
|
OCR0
|
Сразу после записи в регистр
|
Достижение максимального значения (0xFF)
|
| 3
|
1
|
1
|
Быстрый ШИМ
|
0xFF
|
Достижение верхнего предела счета
|
Достижение максимального значения (0xFF)
|
Разряд 5:4 - COM01, COM00: Режим формирования выходного сигнала
Данные биты определяют алгоритм изменения сигнала на выводе OC0.
Таблица 7. Режимы формирования выходного сигнала
в режимах работы таймера 0 без ШИМ
| COM01
|
COM00
|
Описание
|
| 0
|
0
|
Функция обычного порта ввода-вывода. OC0 отключен.
|
| 0
|
1
|
Переключение (инвертирование) OC0 при каждом совпадении
|
| 1
|
0
|
Сброс OC0 при каждом совпадении
|
| 1
|
1
|
Установка OC0 при каждом совпадении
|
В таблице 9 приведено назначение бит COM01, COM00 для режима работы таймера-счетчика 0 с быстрой ШИМ (WGM01:0).
Таблица 8. Режимы формирования выходного
сигнала в режиме таймера 0 с быстрым ШИМ(1)
| COM01
|
COM00
|
Описание
|
| 0
|
0
|
Функция обычного порта ввода-вывода. OC0 отключен.
|
| 0
|
1
|
Зарезервировано
|
| 1
|
0
|
Сброс OC0 при совпадении, установка по достижении верхнего предела (0xFF)
|
| 1
|
1
|
Установка OC0 при совпадении, сброс по достижении верхнего предела (0xFF)
|
Прим. 1: Имеется особый случай, когда OCR0 = 0xFF и COM01=1. В этом случае возникновение совпадения игнорируется, но сброс или установка по достижении верхнего предела выполняется. См. "Режим быстрой ШИМ".
В таблице 55 приведено действие бит COM01, COM00 для режима ШИМ с фазовой коррекцией, заданного с помощью бит WGM01, WGM00.
Таблица 9. Режимы формирования выходного сигнала в режиме ШИМ с фазовой коррекцией(1)
| COM01
|
COM00
|
Описание
|
| 0
|
0
|
Функция обычного порта ввода-вывода. OC0 отключен.
|
| 0
|
1
|
Зарезервировано
|
| 1
|
0
|
Сброс OC0 при совпадении во время прямого счета. Установка OC0 при совпадении во время обратного счета.
|
| 1
|
1
|
Установка OC0 при совпадении во время прямого счета. Сброс OC0 при совпадении во время обратного счета.
|
Прим. 1: Существует особый случай, когда OCR0=0xFF/0x00 и COM01=1. В этом случае OC0 всегда находится на постоянном логическом уровне 0 или 1, т.к. 0xFF и 0x00 -точки изменения направления счета и возникающее на них совпадение зачитывается только к одному из направлений счета: обратному или прямому (см. также "Режим ШИМ с фазовой коррекцией").
Разряд 2:0 - CS02:0: Настройка частоты синхронизации таймера
С помощью трех настроечных бит имеется возможность выбрать различные тактовые частоты, кратные исходной частоте синхронизации (см. табл. 56).
Таблица 10. Выбор частоты синхронизации таймера 0
| CS02
|
CS01
|
CS00
|
Описание
|
| 0
|
0
|
0
|
Нет синхронизации. Таймер-счетчик 0 оставлен.
|
| 0
|
0
|
1
|
clkT0S/1 (без предделения)
|
| 0
|
1
|
0
|
clkT0S/8 (с предделением)
|
| 0
|
1
|
1
|
clkT0S/32 (с предделением)
|
| 1
|
0
|
0
|
clkT0S/64 (с предделением)
|
| 1
|
0
|
1
|
clkT0S/128 (с предделением)
|
| 1
|
1
|
0
|
clkT0S/256 (с предделением)
|
| 1
|
1
|
1
|
clkT0S/1024 (с предделением)
|
Регистр таймера-счетчика - TCNT0
| Разряд
|
7
|
6
|
5
|
4
|
3
|
2
|
1
|
0
|
| TCNT0
|
TCNT0[7:0]
|
| Чтение/запись
|
Чт./Зп.
|
Чт./Зп.
|
Чт./Зп.
|
Чт./Зп.
|
Чт./Зп.
|
Чт./Зп.
|
Чт./Зп.
|
Чт./Зп.
|
| Исх. значение
|
0
|
0
|
0
|
0
|
0
|
0
|
0
|
0
|
Регистр таймера-счетчика характеризуется двунаправленностью доступа к 8-разрядному счетчику таймера 0. Запись в регистр TCNT0 блокирует отработку возникающего совпадения на следующем после записи такте синхронизации таймера. Изменение содержимого счетчика (TCNT0) во время счета связано с риском потери результата сравнения между TCNT0 и регистром OCR0.
Регистр порога сравнения - OCR0
| Разряд
|
7
|
6
|
5
|
4
|
3
|
2
|
1
|
0
|
| OCR0
|
OCR0[7:0]
|
| Чтение/запись
|
Чт./Зп.
|
Чт./Зп.
|
Чт./Зп.
|
Чт./Зп.
|
Чт./Зп.
|
Чт./Зп.
|
Чт./Зп.
|
Чт./Зп.
|
| Исх. значение
|
0
|
0
|
0
|
0
|
0
|
0
|
0
|
0
|
Регистр порога сравнения содержит 8-разр. значение, которое непрерывно сравнивается цифровым компаратором со значением 8-разр. счетчика (TCNT0). Факт совпадения значений может использоваться для генерации прерывания по выполнению условия сравнения или для генерации прямоугольных импульсов на выводе OC0.
Пример программы на ассемблере, использующей таймер/счетчика
.include "m16def.inc"
.def Treg = r16
.def Preg1 = r22
.cseg
.org $000 ; Установка положения в сегменте (см. тему: сброс и установку прерывания
)
rjmp start ; назначения перехода на начало программы метка «start»
.org $012 ;назначения перехода по переполнению счетчика на метку «tim»
rjmp tim
Tim:
Out DDRB, preg1
inc preg1
call inittime
reti
start:
clr preg1 ; очищаем регистр (инициализация)
sei ; разрешение прерываний установка биту 7 регистра SREG лог. 1
ldi Treg, 00000001b ;запись числа в «Treg»
out TIMSK, Treg ;запись регистра «Treg» в регистр «Timsk»
call inittime ; вызов подпрограммы «inittime»
ldi Treg, 10000101b
out TCCR0, Treg ; установка тактирования
rcall loop ; вызов «Loop»
Loop:
rjmp loop
ret
inittime:
ldi Treg, 00001111b
out TCNT0, Treg ; установка начального значения с которого начинается «отчет до переполнения»
ret
Индивидуальные задания
- Написать программу, которая увеличивает значение переменной temp, на 1 каждую секунду, и выводит результат на панель светодиодов каждую секунду.
- Написать программу, которая работает как обратный таймер, уменьшает значение переменной temp каждую секунду на 1.
- Написать программу, которая бегущую строку из светодиодов.
Порядок выполнения лабораторной работы.
1. Разработать алгоритм для выполнения индивидуального задания.
2. Разработать программу для выполнения индивидуального задания.
3. Ввести программу индивидуального задания на ПК.
4. С помощью ПОС проанализировать выполнение индивидуальной программы.
5. Загрузить программу в стенд STK500. Убедиться в правильном выполнении индивидуального задания, при отрицательном результате осуществить изменение алгоритма либо программы. Повторить загрузку.программы в стенд ОЭВМ.
6. Сохранить листинг правильно работающей программы.
7. Показать результат выполнения работы преподавателю и ответить на контрольные вопросы.
Контрольные вопросы:
1. Структура системы прерывания ATmega16.
2. Назначение, примеры применения системы прерывания.
3. Регистры управления, распределение памяти вATmega16.
4. Прерывание от таймеров, последовательного приемопередатчика
5. Аппаратное устранение дребезга контактов для схем с TTL и КМОП.
6. Программное устранение дребезга контактов.
7. Необходимость применения аппаратного либо программного устранения дребезга контактов.
8. Методы и типы частотного и временного преобразования.
9. Параметры частотного преобразования.
10. Факторы, влияющие на погрешность частотного преобразования.
11. Понятие разрешающая способность частотного преобразования.
12. Измерение периода.
13. Характеристика преобразования, нелинейность частотного преобразования.
14. Аппаратные реализации частотного и временного преобразования.
15. Примеры практического применения частотного и временного преобразования.
Лабораторная работа №3
Тема:
Изучение 16 – разрядного Таймера/счетчика 1
Цель:
Изучить функционирование и программирование таймера/счетчика 1.
Для выполнения данной лабораторной работы нужно знать:
- Структуру таймера/счетчик 1.
- Основные регистры и особенности программирования таймера/счетчик 1.
Краткие теоретические сведения
16-разрядные таймеры-счетчики предназначены для точного задания временных интервалов, генерации прямоугольных импульсов и измерения временных характеристик импульсных сигналов.
Основные отличительные особенности:
- 16-разрядные счетчики (в т.ч. возможность организации 16-разр. ШИМ) ???
- Два раздельных блока сравнения
- Двойная буферизация регистров порога сравнения (OCR)
- Один блок захвата
- Подавитель шума на входе блока захвата
- Режим сброса таймера при совпадении с порогом сравнения (автоматическая перезагрузка)
- Широтно-импульсная модуляция без генерации ложных импульсов при записи нового порога сравнения в OCR (двойная буферизация) и фазовая коррекция
- Переменный период ШИМ
- Частотный генератор
- Счетчик внешних событий
- 4 самостоятельных источников прерываний (TOV1, OCF1A, OCF1B, ICF1)
На рисунке 6 и теории, индекс “n” заменяет номер таймера-счетчика , а “x” заменяет наименование канала сравнения (A, или B). Однако при программировании необходимо использовать фактические номера и наименования. Например, для записи нового состояния таймера-счетчика 1 в программе необходимо указывать TCNT1.
Функциональная схема 16-разр. таймера-счетчика показана на рисунке 6. Если требуется конкретизировать расположение того или иного вывода см. “Расположение выводов”. Регистры ввода-вывода, а также биты или линии ввода-вывода, к которым организован доступ от ЦПУ, выделены жирной линией. Описание регистров, расположение и назначение бит данных таймеров представлены в параграфе “Описание регистров 16-разр. таймеров-счетчиков”.  Рисунок 12. Функциональная схема 16-разр. таймера-счетчика
Регистры таймер/счетчика 1
Регистр А управления таймером-счетчиком 1 – TCCR1A
| Bit
|
7
|
6
|
5
|
4
|
3
|
2
|
1
|
0
|
|
| |
COM1A1
|
COM1A0
|
COM1B1
|
COM1B0
|
FOC1A
|
FOC1B
|
WGM11
|
WGM10
|
TCCR1A
|
| Чтение/запись
|
Чт./Зп.
|
Чт./Зп.
|
Чт./Зп.
|
Чт./Зп.
|
Чт./Зп.
|
Чт./Зп.
|
Чт./Зп.
|
Чт./Зп.
|
Чт./Зп.
|
| Исх. значение
|
0
|
0
|
0
|
0
|
0
|
0
|
0
|
0
|
|
Биты 7:6
– COM1A1:0: Режим формирования выходного сигнала канала A
Биты 5:4
– COM1B1:0: Режим формирования выходного сигнала канала В
Биты COMnA1:0 и COMnB1:0 влияют на работу выводов OCnA и OCnB, соответственно. Если один или оба бита COMnA1:0 равны 1, то вывод OCnA переходит к выполнению альтернативной функции, запрещая его работу как обычного порта ввода-вывода. Аналогичные изменения происходят с выводом OCnB во время записи лог. 1 в один из битов COMnB1:0. Однако необходимо учитывать, что остается влияние на работу данных выводов со стороны регистра направления данных (DDR) и в соответствующих разрядах этого регистра должно быть задано выходное направление для выводов OCnA или OCnB.
| COMnA1/COMnB1
|
COMnA0/COMnB0
|
Описание
|
| 0
|
0
|
Нормальная работа порта, сигналы OCnA/OCnB отключены.
|
| 0
|
1
|
Переключение (инвертирование) OCnA/OCnB при совпадении.
|
| 1
|
0
|
Сброс OCnA/OCnB при совпадении (установка лог. 0).
|
| 1
|
1
|
Установка OCnA/OCnB при совпадении (установка лог. 1).
|
Биты 3:2 –
FOC
1
A
:
FOC
1
B
:
Режим формирования силы выходного сигнала.
Разряд 1:0
– WGMn1:0: Режим работы таймера-счетчика
В сочетании с битами WGM1 3:2 из регистра TCCRnB данные биты определяют алгоритм счета, источник для задания вершины счета (ВП) и тип генерируемой формы сигнала. Таймер-счетчик может работать в одном из следующих режимов: нормальный режим (счетчик), сброс таймера при совпадении (CTC) и три режима с широтно-импульсной модуляцией (ШИМ).
Регистр В управления таймером-счетчиком 1 – TCCR1B
| Разряд
|
7
|
6
|
5
|
4
|
3
|
2
|
1
|
0
|
|
| |
ICNC1
|
ICES1
|
-
|
WGM13
|
WGM12
|
CS12
|
CS11
|
CS10
|
TCCR1B
|
| Чтение/запись
|
Чт./Зп.
|
Чт./Зп.
|
Чт.
|
Чт./Зп.
|
Чт./Зп.
|
Чт./Зп.
|
Чт./Зп.
|
Чт./Зп.
|
|
| Исх. значение
|
0
|
0
|
0
|
0
|
0
|
0
|
0
|
0
|
|
Разряд 7 – ICNC1
: Подавитель шума на входе захвата
Установка данного бита (запись лог. 1) активизирует подавитель шума на входе захвата. После активизации подавителя шумов сигнал с вывода ICPn пропускается через фильтр. Логика работы фильтра состоит в определении четырех подряд равных по значению выборок и только в этом случае изменении своего выходного состояния. Следовательно, после разрешения подавления шумов сигнал с входа захвата будет задерживаться на 4 такта системной синхронизации.
Разряд 6 – ICES1:
Выбор детектируемого фронта на входе захвата
Данный бит позволяет задать, какой фронт на входе захвата ICP1 приведет к захвату состояния таймера. Если ICES1 =0, то падающий (отрицательный) фронт приводит к захвату состояния таймера, а если же ICES1 = 1, то нарастающий (положительный) фронт приводит к возникновению захвата.
Если в соответствии с установкой ICES1 возникает условие захвата, то содержимое счетчика копируется в регистр захвата ICR1. При этом также устанавливается флаг захвата ICF1, который может использоваться для генерации прерывания по захвату (если данное прерывание разрешено).
Если регистр ICR1 используется для хранения значения верхнего предела счета (см. табл. 61), то вход ICP1 отключается от соответствующего вывода микроконтроллера и функция захвата блокируется.
Разряд 5
– Зарезервированный бит
Данный бит зарезервирован для дальнейшего использования. В целях совместимости с будущими разработками рекомендуется во время записи в регистр TCCR1B в данном разряде указывать лог. 0.
Разряд 4:3 – WGM1 3:2: Режим работы таймера-счетчика
См. описание регистр TCCR1A.
Разряд 2:0 – CS12:0
: Выбор тактового источника
Данный три бита позволяют выбрать тактовый источник для таймера-счетчика.
Таблица 11. Описание бит выбора тактового источника
| CS12
|
CS11
|
CS10
|
Описание
|
| 0
|
0
|
0
|
Нет синхронизации. Таймер-счетчик остановлен.
|
| 0
|
0
|
1
|
clkI/O/1 (без предделения)
|
| 0
|
1
|
0
|
clkI/O /8 (с предделением)
|
| 0
|
1
|
1
|
clkI/O/64 (с предделением)
|
| 1
|
0
|
0
|
clkI/O/256 (с предделением)
|
| 1
|
0
|
1
|
clkI/O/1024 (с предделением)
|
| 1
|
1
|
0
|
Внешний тактовый источник с выв. T1. Синхронизация по падающему фронту.
|
| 1
|
1
|
1
|
Внешний тактовый источник с выв. T1. Синхронизация по нарастающему фронту.
|
Если для тактирования таймера выбран внешний вывод T1, то данная функция за ним сохраняется, даже при его настройке на вывод. Данная функция позволяет программно управлять счетом.
Таймер-счетчик 1 – TCNT1H и TCNT1L
| Разряд
|
7
|
6
|
5
|
4
|
3
|
2
|
1
|
0
|
|
| |
TCNT1[15:8]
|
TCNT1H
|
| |
TCNT1[7:0]
|
TCNT1L
|
| Чтение/запись
|
Зп./Чт.
|
Зп./Чт.
|
Зп./Чт.
|
Зп./Чт.
|
Зп./Чт.
|
Зп./Чт.
|
Зп./Чт.
|
Зп./Чт.
|
|
| Исх. значение
|
0
|
0
|
0
|
0
|
0
|
0
|
0
|
0
|
|
Две ячейки в области ввода-вывода (TCNT1H и TCNT1L, вместе TCNT1) дают полный доступ, как на чтение, так и на запись к 16-разрядному счетчику. В целях гарантирования одновременности чтения и записи старшего и младшего байтов этих регистров, доступ организован с использованием 8-разрядного временного регистра старшего байта (TEMP). Временный регистр является общим для всех 16-разрядных регистров таймера (см. также “Доступ к 16-разр. регистрам”).
Изменение содержимого счетчика TCNT1 во время его работы (счета) связано с риском возникновения совпадения между TCNT1 и одним из регистров OCR1x. Запись в регистр TCNT1 блокирует отработку совпадения, которое возникнет на следующем такте, для всех блоков сравнения.
Регистр сравнения 1 A – OCR1AH и OCR1AL
| Разряд
|
7
|
6
|
5
|
4
|
3
|
2
|
1
|
0
|
|
| |
OCR1A [15:8]
|
OCR1AH
|
| |
OCR1A [7:0]
|
OCR1AL
|
| Чтение/запись
|
Зп./Чт.
|
Зп./Чт.
|
Зп./Чт.
|
Зп./Чт.
|
Зп./Чт.
|
Зп./Чт.
|
Зп./Чт.
|
Зп./Чт.
|
|
| Исх. значение
|
0
|
0
|
0
|
0
|
0
|
0
|
0
|
0
|
|
Регистр сравнения 1 B – OCR1BH и OCR1BL
| Разряд
|
7
|
6
|
5
|
4
|
3
|
2
|
1
|
0
|
|
| |
OCR1B [15:8]
|
OCR1BH
|
| |
OCR1B [7:0]
|
OCR1BL
|
| Чтение/запись
|
Зп./Чт.
|
Зп./Чт.
|
Зп./Чт.
|
Зп./Чт.
|
Зп./Чт.
|
Зп./Чт.
|
Зп./Чт.
|
Зп./Чт.
|
|
| Исх. значение
|
0
|
0
|
0
|
0
|
0
|
0
|
0
|
0
|
|
В регистрах сравнения хранится 16-разр. значение, которое непрерывно сравнивается со значением счетчика (TCNTn). Возникающее совпадение может использоваться для генерации прерывания по результату сравнения и генерации прямоугольных импульсов на выводе OCnx.
Регистры сравнения являются 16-разрядными, поэтому, одновременность записи младшего и старшего байтов достигнута за счет использования 8-разр. временного регистра старшего байта (TEMP). Временный регистр является общим для всех 16-разрядных регистров таймера.
Регистр захвата 1 – ICR1H и ICR1L
| Разряд
|
7
|
6
|
5
|
4
|
3
|
2
|
1
|
0
|
|
| |
ICR1C [15:8]
|
ICR1CH
|
| |
ICR1C [7:0]
|
ICR1CL
|
| Чтение/запись
|
Зп./Чт.
|
Зп./Чт.
|
Зп./Чт.
|
Зп./Чт.
|
Зп./Чт.
|
Зп./Чт.
|
Зп./Чт.
|
Зп./Чт.
|
|
| Исх. значение
|
0
|
0
|
0
|
0
|
0
|
0
|
0
|
0
|
|
Регистры захвата обновляются содержимым соответствующего счетчика (TCNTn) при каждом определении условия захвата на входе ICPn (или альтернативно на выходе аналогового компаратора для таймера-счетчика 1).
Регистры захвата альтернативно могут использоваться для задания верхнего предела счета.
Регистры захвата также являются 16-разрядными, поэтому, одновременность записи младшего и старшего байтов достигнута за счет использования 8-разр. временного регистра старшего байта (TEMP). Временный регистр является общим для всех 16-разрядных регистров таймера.
Регистр маски прерываний таймера-счетчика – TIMSK
| Разряд
|
7
|
6
|
5
|
4
|
3
|
2
|
1
|
0
|
|
| |
OCIE2
|
TOIE2
|
TICIE1
|
OCIE1A
|
OCIE1B
|
TOIE1
|
OCIE0
|
TOIE0
|
TIMSK
|
| Чтение/запись
|
Чт./Зп.
|
Чт./Зп.
|
Чт./Зп.
|
Чт./Зп.
|
Чт./Зп.
|
Чт./Зп.
|
Чт./Зп.
|
Чт./Зп.
|
|
| Исх. значение
|
0
|
0
|
0
|
0
|
0
|
0
|
0
|
0
|
|
Прим.: Данный регистр биты управления прерываниями для нескольких таймер-счетчиков, но в данном разделе детализированы только биты таймера 1. Описание остальных бит необходимо искать при описании соответствующих таймеров.
Разряд 5 – TICIE1
: Разрешение прерывания по захвату состояния таймера-счетчика 1
Если в данный бит записана лог. 1, а также установлен флаг I в регистре статуса (активно общее разрешение прерываний), то разрешается прерывание по захвату состояния таймера-счетчика 1. Если устанавливается флаг в регистре TIFR, программа переходит на соответствующий вектор прерывания .
Разряд 4 – OCIE1A
: Разрешение прерывания по результату сравнения канала А таймера-счетчика 1
Если в данный бит записана лог. 1 и установлен флаг I в регистре статуса, то разрешается работа прерывания по результату сравнения канала A. Если устанавливается флаг OCF1A в регистре TIFR, то программа переходит на соответствующий вектор прерываний.
Разряд 3 – OCIE1В
: Разрешение прерывания по результату сравнения канала В таймера-счетчика 1
Действие аналогично предыдущему, но в отношении канала сравнения В.
Разряд 2 – TOIE1: Разрешение прерывания при переполнении таймера-счетчика 1
Если в данный бит записана лог. 1 и установлен флаг I в регистре статуса, то разрешается прерывание по переполнению таймера-счетчика 1. После этого, установка флага TOV1 в регистре TIFR приведет к переходу на соответствующий вектор прерывания.
Регистр флагов прерываний таймеров-счетчиков – TIFR
| Разряд
|
7
|
6
|
5
|
4
|
3
|
2
|
1
|
0
|
|
| |
OCF2
|
TOV2
|
ICF1
|
OCF1A
|
OCF1B
|
TOV1
|
OCF0
|
TOF0
|
TIFR
|
| Чтение/запись
|
Чт./Зп.
|
Чт./Зп.
|
Чт./Зп.
|
Чт./Зп.
|
Чт./Зп.
|
Чт./Зп.
|
Чт./Зп.
|
Чт./Зп.
|
|
| Исх. значение
|
0
|
0
|
0
|
0
|
0
|
0
|
0
|
0
|
|
Прим.: Биты данного регистра относятся к нескольким таймерам, но в данном параграфе рассматриваются биты только одного таймера. Описание остальных бит необходимо смотреть в соответствующих разделах.
Разряд 5
– ICF1: Флаг захвата состояния таймера-счетчика 1
Флаг устанавливается, если на входе ICP1 определяется условие захвата. Если регистр захвата ICR1 выбран с помощью бит WGMn3:0 в качестве источника верхнего предела счета, флаг ICF1 устанавливается по достижении верхнего предела счета.
ICF1 автоматически сбрасывается при переходе на вектор прерывания по захвату состояния таймера-счетчика. Альтернативно флаг ICF1 можно сбрасывать путем записи в него лог. 1.
Разряд 4
– OCF1A: Флаг результата сравнения канала А таймера-счетчика 1
Данный флаг устанавливается следующим тактом после совпадения значения TCNT1 с регистром А порога сравнения (OCR1A).
Обратите внимание, что строб принудительной установки результата сравнения (FOC1A) не устанавливает флаг OCF1A. Флаг OCF1A автоматически сбрасывается при переходе на соответствующий вектор прерывания.
Альтернативно, флаг OCF1A сбрасывается путем записи в него лог. 1.
Разряд 3
– OCF1B: Флаг результата сравнения канала B таймера-счетчика 1
Данный флаг действует аналогично предыдущему, но в отношении канала сравнения В.
Разряд 2
– TOV1: Флаг переполнения таймера-счетчика 1
Установка данного флага зависит от значений бит WGMn3:0. В нормальном режиме и режиме СТС флаг TOV1 устанавливается при переполнении таймера-счетчика. См. табл. 61 для изучения поведения флага TOV1 при задании других значений WGMn3:0. Флаг TOV1 автоматически сбрасывается при переходе на вектор прерывания по переполнению таймера-счетчика 1. Альтернативно флаг TOV1 сбрасывается путем записи в него лог. 1.
Пример программы на ассемблере, использующей таймер/счетчик 1
.include "m16def.inc"
.def Temp = r17
.def TemH = r20
.def TemL = r19
.cseg
.org $0
rjmp start
.org $10
rjmp tim
; ****обработка по прерыванию****
Tim:
Out PORTB, Temp
inc temp
call init
reti
; ****Задаем "счет" для таймера1 = 1сек.****
init:
cli
ldi TemH, 0b11000111
out TCNT1H, TemH
ldi TemL, 0b00000100
out TCNT1L, TemL
ret
; ****Начало главной программы****
start:
; ***инициализируем стек***
ldi TemH,high(RAMEND) ; Main program start
out SPH,TemH ; Set Stack Pointer to top of RAM
ldi TemL,low(RAMEND)
out SPL,TemL
cli
ser temp
out DDRB, temp ; set portB to output
clr temp
; ****считываем данные с порта "D" ****
Begin:
out PORTB, temp
in TemH, pind
com TemH
eor temp, TemH
clr TemH
dly:
dec TemH
brne dly
dec TemL
brne dly
sbrs temp,0x07
rjmp Begin
; ****настариваем таймер1 ( /64 /TOV1)
call init
ldi TemH, 0b00000100
out TIMSK, TemH
sei
ldi TemL, 0b00000011
out TCCR1b, TemL
loop:
cpi temp,0b00000001
breq start
rjmp loop
Индивидуальные
задания
- Написать программу, которая по нажатию на кнопку «SW1» заставляет мигать светодиоды «led1, led2,led3», все возможными комбинациями, т.е. 000, 001, ….., 111.
- Написать программу, которая плавно зажигает светодиоды.
- Написать программу, которая создает бегущую строку из светодиодов.
Порядок выполнения лабораторной работы.
- Разработать алгоритм для выполнения индивидуального задания.
- Разработать программу для выполнения индивидуального задания.
- Написать программу индивидуального задания на ПК.
- С помощью ПОС проанализировать выполнение индивидуальной программы
5. Загрузить программу в стенд STK500. Убедиться в правильном выполнении индивидуального задания, при отрицательном результате осуществить изменение алгоритма либо программы. Повторить загрузку
программы в стенд ОЭВМ
- Сохранить листинг правильно работающей программы.
- Показать результат выполнения программы преподавателю и ответить на контрольные вопросы.
Контрольные вопросы:
1. Структура системы прерывания ATmega16.
2. Назначение, примеры применения системы прерывания.
3. Регистры управления, распределение памяти в ATmega16.
4. Прерывание от таймеров, последовательного приемопередатчика
5. Аппаратное устранение дребезга контактов для схем с TTL и КМОП.
6. Программное устранение дребезга контактов.
7. Необходимость применения аппаратного либо программного устранения дребезга контактов.
8. Методы и типы частотного и временного преобразования.
9. Параметры частотного преобразования.
10. Факторы, влияющие на погрешность частотного преобразования.
11. Понятие разрешающая способность частотного преобразования.
12. Измерение периода.
13. Характеристика преобразования, нелинейность частотного преобразования.
14. Аппаратные реализации частотного и временного преобразования.
15. Примеры практического применения частотного и временного преобразования.
|