| МИНИСТЕРСТВО ОБРАЗОВАНИЯ РОССИЙСКОЙ ФЕДЕРАЦИИ
Уральский государственный технический университет
МЕХАНИКА СПЛОШНЫХ СРЕД
Методические указания к лабораторным работам № 1,2,3,4
для студентов 3-го курса физико-технического факультета
Екатеринбург
2000
УДК 532.6
Составители Б.А.Ивакин, Б.Т.Породнов
Научный редактор – проф., докт.физ.-мат. наук Б.Т.Породнов
МЕХАНИКА СПЛОШНЫХ СРЕД
:
Методические указания к лабораторным работам для студентов 3-го курса физико-технического факультета.
Даны методические указания к проведению лабораторных работ по изучению истечения газа из резервуара через сужающийся насадок и измерению коэффичиента вязкости газов методом нестационарного потока.
© Уральский государственный
технический университет, 2000
Лабораторная работа I
ОПРЕДЕЛЕНИЕ КОЭФФИЦИЕНТА ВЯЗКОСТИ ГАЗОВ МЕТОДОМ НЕСТАЦИОНАРНОГО ПОТОКА
ВВЕДЕНИЕ
Целью данной лабораторной работы является ознакомление в существующими методами измерения коэффициентов динамической вязкости газов на примере метода нестационарного потока, а также приобретение знаний и навыков в работе с вакуумным оборудованием.
I.
ТЕОРИЯ
Процессы внутреннего трения в жидкости и газах возникают в тех случаях, когда различные участки жидкости движутся с неодинаковой скоростью, и происходит необратимый перенос импульса из мест с большей скоростью в места с меньшей скоростью.
При этом в направлении, противоположном движению, действует сила (отнесенная к единице поверхности соприкосновения слоев), пропорциональная изменению скорости в направлении, перпендикулярном направлению движения (ось x)

(1.1)
Здесь коэффициент пропорциональности h есть коэффициент внутреннего трения или коэффициент динамической вязкости.
Из уравнения (1.1) следует, что величина h равна силе, которую испытывает единица поверхности одного из слоев со стороны другого слоя, если градиент скорости между ними равен единице. Коэффициент динамической вязкости в международной системе СИ имеет размерность.

Эта единица вязкости носит название ньютон-секунда на метр квадратный и представляет собой динамическую вязкость такой жидкости, в которой 1 м2
слоя испытывает силу в 1 Н при градиенте скорости 1 м/с.
Макроскопические методы термодинамики не в состоянии теоретически определить значение коэффициента вязкости, как и других коэффициентов переноса. Для того, чтобы получить такое теоретическое значение, необходимо привлечение кинетической теории, учитывающей молекулярный механизм явлений. С микроскопической точки зрения влияние одного движущегося слоя на другой состоит в следующем. В результате хаотического теплового движения молекулы из первого (допустим, движущегося с больней скоростью) слоя попадает во второй (движущийся с меньшей скоростью). Следовательно, первый слой как бы стремится ускорить второй, который, в свою очередь, стремится замедлить первый слой.
Забиваем Сайты В ТОП КУВАЛДОЙ - Уникальные возможности от SeoHammer
Каждая ссылка анализируется по трем пакетам оценки: SEO, Трафик и SMM.
SeoHammer делает продвижение сайта прозрачным и простым занятием.
Ссылки, вечные ссылки, статьи, упоминания, пресс-релизы - используйте по максимуму потенциал SeoHammer для продвижения вашего сайта.
Что умеет делать SeoHammer
— Продвижение в один клик, интеллектуальный подбор запросов, покупка самых лучших ссылок с высокой степенью качества у лучших бирж ссылок.
— Регулярная проверка качества ссылок по более чем 100 показателям и ежедневный пересчет показателей качества проекта.
— Все известные форматы ссылок: арендные ссылки, вечные ссылки, публикации (упоминания, мнения, отзывы, статьи, пресс-релизы).
— SeoHammer покажет, где рост или падение, а также запросы, на которые нужно обратить внимание.
SeoHammer еще предоставляет технологию Буст, она ускоряет продвижение в десятки раз,
а первые результаты появляются уже в течение первых 7 дней.
Зарегистрироваться и Начать продвижение
Простой вывод, основанный на использовании равновесной функции распределения скоростей и впервые выполненный Максвеллом, приводит к приближенной формуле для коэффициента внутреннего трения разреженных газов [I]
(1.2)
где n - числовая плотность молекул, м-3
; m - масса молекулы, кг; l- средняя длина свободного пробега молекул, м; Vt
- средняя тепловая скорость молекул, м/с; s0
- диаметр молекулы, м.
Из величин, определяющих h и входящих в уравнение (1.2), Vt
не эависит от давления, n - прямо пропорциональна давлению, т.к. P=nkT, где Р - давление газа, а l-обратно пропорциональна давлению. Таким образом, для разреженных газов коэффициент динамической вязкости не зависит от давления.
Далее, из (1.2) следует, что коэффициент h должен зависеть от температуры так же, как и Vt
, т.е. прямо пропорционально Т.
Приведенные соображения оказываются несправедливыми для плотных газов и жидкостей. Более того, даже для разреженных газов полученные теоретические выражения имеют ограниченную применимость. Отсюда понятна важность экспериментального определения коэффициентов вязкости. Насущная необходимость в сведениях по вязкости определяется прежде всего тем, что при расчете гидравлических сопротивлений коэффициент динамической вязкости является одним из основных параметров.
Наиболее употребляемыми методами измерений вязкости газов являются:
1) Метод капилляра.
2) Метод вращающегося цилиндра.
3) Пагод затухания колебаний диска, подвешенного в исследуемом газе.
4) Метод падения груза в исследуемом газе.
Из этих методов вполне строгое теоретическое обоснование имеет только метод капилляра,
основанный на формуле Пуазейля[1].
2. ОПИСАНИЕ ЭКСПЕРИМЕНТАЛЬНОЙ УСТАНОВКИ
.
Схема экспериментальной установки приведена на рис.2.1.
Экспериментальные установки, на которых измеряем коэффициенты динамической вязкости сред, обычно называют вискозиметрами, состоит из емкостного датчика давление 1 и двух объемов 8, соединенных капилляром 10. Чувствительным элементом является емкостной конденсатор, образованный гофрированной мембраной из бериллевой бронзы 14 и неподвижным плоским диском-электродом 13. Емкость датчика составляет ~50 пФ и включена в контур LC-генератора 16, рабочая частота которого равна ~11 МГц. Изменение емкости датчика, вызванное прогибом мембраны под действием перепада давлений, приводит к изменению частоты LC-генератора, которая регистрируется частотомером 17 типа ЧЗ-24 через промежутки времени, задаваемые кварцевым генератором, в качестве которого используется собственный генератор частотомера.
Сервис онлайн-записи на собственном Telegram-боте
Попробуйте сервис онлайн-записи VisitTime на основе вашего собственного Telegram-бота:
— Разгрузит мастера, специалиста или компанию;
— Позволит гибко управлять расписанием и загрузкой;
— Разошлет оповещения о новых услугах или акциях;
— Позволит принять оплату на карту/кошелек/счет;
— Позволит записываться на групповые и персональные посещения;
— Поможет получить от клиента отзывы о визите к вам;
— Включает в себя сервис чаевых.
Для новых пользователей первый месяц бесплатно.
Зарегистрироваться в сервисе
Стеклянный капилляр 10 вакуумно плотно закреплен в перегородку 9 между объемами 8. Для его закрытия предусмотрено запирающее устройство 7, поворотом эксцентрика 6 которого капилляр может быть открыт или закрыт. Перепад давлений на концах капилляра создается перемещением штока сильфонного устройства 13 абсолютного (или среднего) ?
Измерение давления осуществляется с помощью образцового вакуумметра 2 класса точности 0,16.
Откачка газа из установки осуществляется через вентили 3 и 5 при закрытом вентиле 11 и открытом байпасном кране 12 с помощью форвакуумного насоса 4. Напуск газа в вискозиметр производится с помощью вентиля 11 при открытом байпасном кране 12.
Схема экпериментальной установки.
 Рис. 2.1.
1-емкостной датчик давления; 2-образцовый вакумметр; 4- форвакуумный насос; 3,5,11-вентили; 7-запирающее устройство; 8-объемы с капиляром;9-перегородка; 10-капиляр; 12-байпасный кран; 13-сильфонное устройство;14-мембрана из бериллевой бронзы; 15-диск-электрод; 16-LC-генератор; 17-частотомер.
3. ВЫВОД ФОРМУЛЫ ДЛЯ ЭКСПЕРИМЕТАЛЬНОГО ОПРЕДЕЛЕНИЯ РАСХОДА ГАЗА
.
Дня определения экспериментального коэффициента динамической вязкости необходимо иметь формулу для вычисления из опытных данных расхода газа. Для этого рассмотрим баланс числа частиц в объемах V1
и V2
соединенных капилляром.
Полагаем, что объемы изменяются во времени. Это изменение объемов на величину DV вызвано прогибом мембраны емкостного датчика давления, служащего для регистрации разности давлений на концах капилляра. Рис.3.1. Принципиальная схема вискозиметра
Условие баланса числа частиц для объемов V1
и V2
можно записать в следующем виде
, . (3.1)
При малом перемещении мембраны с хорошей точностью можно принять изменение объемов DV, равным
DV=aDP,
где a - характеристика емкостного датчика, обусловленная прогибом мембраны и численно равная изменению каждого из объемов V1
и V2
при единичном перепаде давлений; S - площадь поперечного сечения капилляра; - средняя числовая плотность в капилляре; V
- средняя по сечению капилляре скорость движения газа.
Следует отметить, что наличие градиента скорости поперек капилляра приводит к эффекту скольжения. Это означает, что величина скорости в направлении движения газа вблизи стенки не будет равна нулю, предполагается, что вблизи поверхности можно выделить слой на расстояние длинны свободного пробега молекул, в котором молекулы не сталкиваются между собой. Можно полагать, что падающие на поверхность молекулы в среднем имеют некоторую тангенциальную составляющую скорости. Покидающие поверхность молекулы рассеиваются равновероятно в любую сторону по закону косинуса с нулевой ??? скоростью. Обычные средние скорости для обеих групп молекул вблизи поверхности дают некоторую скорость, которуюназывают скоростью столкновения газа на поверхности. в отличие от основного граничного условия, применяемого в механике сплошных сред для движения вблизи поверхности жидкости (газа). Точное решение этой задачи может быть проведено методами строгой кинетической теории. С учетом скорости скольжения средняя по сечению капилляра скорость равна
где R , L - радиус и длина капилляра; s - константа скольжения эту формулу называют формулой Пуазейля с учетом скольжения.
Таким образом, скорость скольжения пропорциональна средней длине свободного пробега и увеличивается с уменьшением давления. Константа скольжения близка к единице и зависит от рода газа и типа взаимодействия молекул со стенкой. В простейшем случае, когда на стенке происходит диффузное рассеяние (равновероятное во все стороны с энергией стенки),теоретическое значение s равно 1,13.
Подставляя выражение (3.2) в (3.1), учитывая связь DV с DP и вычитая из второго соотношения первое в (3.1), получим
(3.3)
Решеное уравнение (3.3), определяет зависимость перепада давлений на капилляре от времени в виде

, 
В этих формулах DP0
есть перепад давлений в момент времени, принятый за начало отсчета; t - время релаксации; Vпр
- приведенный объем; Q - объемный расход газа через капилляр при единичном перепаде давлений.
Объемный расход можно записать в следующем виде
(3.5)
Постоянная В может быть найдена, если выразить l через вязкость газа в приближении Чепмена-Энскога для модели твердых сфер (1.2) и считать газ идеальным (P=nkT). Тогда получим
 
Связь между перепадом давления DP и изменением частоты DF LC-генератора может быть установлена с помощью градуировочной характеристики емкостного датчика
(3.6)
Подставляя (3.6) в (3.4), находим
, (3.7)
где F00
- значение частоты в отсутствии перепада давлений;
F0
- значение частоты, принятой за начало отсчета (ti
=0}; Fi
- текущее значение частоты.
Формула (3.6) позволяет по известным значениям DFi
и DF0
определить величину a=1/t связанную с расходом газа согласно (3.4). Зная расход, по формуле (3.5) можно определить коэффициент вязкости исследуемого газа.
4. МЕТОДИКА ПРОВЕДЕНИЯ ЭКСПЕРИМЕНТА
4.1. Задание
4.1.1. Ознакомиться с теорией и методикой измерений расхода газа.
4.1.2. Измерить расход газа через капилляр для двух давлений (75 и 112 мм рт.ст.). Для каждого давления провести три измерения.
4.1.3. Методом наименьших квадратов вычислить расходы и определить среднее значение коэффициента вязкости предложенного газа.
4.1.4. Оценить случайную и систематическую погрешности в измерении коэффициента вязкости.
4.2. Проведение измерений
4.2.1. Измерение расхода газа
При закрытых вентилях 3 и 5 включить форвакуумный насос 4. Плавно открыть кран 3, контролируя глубину откачки по вакуумметру 2. Медленно открыть вентиль 5 (при открытом байпасном кране 12 и закрытом кране 11) и откачать систему до давления ~0,1 мм рт.ст. Затем, предварительно закрыв вентиль 3, с помощью вентиля 11 плавно напустить в систему газ до давления ~75 мм рт.ст.
После этого вискозиметр вентилями 5 и 11 отсекается от системы напуска, а капилляр закрывается с помощью запирающего устройства 7. Поворотом ручки сильфонного устройства 13 создать перепад давлений между объемами. Затем открыть капилляр и регистрировать процесс выравнивания разности давления по частотомеру. Измерение Fi
можно проводить через интервалы времени, кратные 1 с в диапазоне 1-10 с (в данном случае через 5 с). Результаты измерений занести в табл.П.2.
По полученным значениям частоты Fi
методом наименьших квадратов вычислить время релаксации по формуле (3.7) при известном значении DF0
, которое составляет ~ 20 кГц. .
Измерения провести для двух заданных давлений, причем для каждого давления провести по 3 измерения. Таким образом, получив ряд значений коэффициента вязкости, найти среднее арифметическое этой выборки и считать его истинным значением.
4.2.2. Обработка измерений
Наиболее вероятное значение расхода a=1/t дает метод наименьших квадратов

где , , 
Значение a вычисляется по известным опытным значениям yi
Далее, используя связь a с расходом, определяем величину коэффициента вязкости.
Величина и DF0
=F0
-F00
должна составлять ~20 кГц. Поэтому начальный перепад создается несколько больше ~30 ¸ 35 кГц.
Таким образом, за время уменьшения перепада давлений от 30 до 20 кГц поток газа через капилляр становится установившимся (квазистационарным). Конечное значение текущей частоты Fi
должно быть больше F00
на величину 3 ¸ 5 кГц, поскольку при значениях Fi
, близких к F00
, будет большая ошибка в измерении расхода газа. Для обработки берется 10 значений Fi
в промежутке между F0
и F00
с соблюдением вышеуказанных условий.
ЛИТЕРАТУРА
1. Гиршфельдер Д., Кертисс Ч., Борд Р. Молекулярная теория газов и жидкостей. - М.: ИЛ , 1961. - 929 c.
2. Варгафтик П.Б. Справочник по теплофизическим свойствам газов и жидкостей. - М.: ГИФМЛ, 1963. - 720 с.
3. Ландау Л.Д., Лившиц Е.М. Гидродинамика. –М.: “Наука”, 1986. –736с.
ПРИЛОЖЕНИЕ
Таблица П.1
Основные параметры вискозиметра
| №пп
|
Параметр
|
Размерность
|
Величина
|
| I
|
V
|
М3
|
(192,3±0,8)*10-6
|
| 2
|
V
|
М3
|
(198,3±0,8)*10-6
|
| 3
|
Vпр
=V1
*V2
/(V1
+V2
)
|
М3
|
(97,7±0,5)*10-6
|
| 4
|
R
|
М
|
(0,1477±0,0007)*10-3
|
| 5
|
L
|
М
|
(7,63±0,01)*10-2
|
| 6
|
A
|
См3
/мм рт.ст.
|
0,0155±0,0015
|
Таблица П.2
Текущее значение частоты Fi
(Гц) ,
при Р = , мм рт.ст., Т = К
| F00
=
|
F00
=
|
F00
=
|
| F’00
=
|
F’00
=
|
F’00
=
|
| F0
=
|
F0
=
|
F0
=
|
| №пп
|
Fi
|
Fi
|
Fi
|
| 1
|
| 2
|
| 3
|
| 10
|
Таблица П.3
Опытное значение коэффициента динамической вязкости
| №ппп
|
h 108
, H*с/м2
|
h±dh
|
Данные других авторов
|
| I
|
| 2
|
| 3
|
| 4
|
| 5
|
| 6
|
Лабораторная работа №2
БАРОЭФФЕКТ ПРИ ВЗАИМНОЙ ДИФФУЗИИ ГАЗОВ
ВВЕДЕНИЕ
Данная лабораторная работа ставит своей целью ознакомить студентов с теорией бароэффекта и его непосредственным измерением при диффузии газов через плоскую щель, а также с методикой измерения высоты щели и константы скольжения газов.
1.ТЕОРИЯ
Явление бароэффекта заключается в следующем. Если два объема, содержащих два различных газа, соединить каналом, то в результате диффузии между сосудами возникает разность давлений.
Прежде чем перейти к изложению теории бароэффекта, рассмотрим некоторые определения и соотношения из строгой кинетической теории газов [1].
1.1. Основные понятия и определения
Рассмотрим бинарную смесь газов. Абсолютную скорость молекулы i
-й компоненты смеси относительно неподвижной системы координат обозначим через .
Среднюю скорость молекул i
-й компоненты обозначим через  . Величина представляет собой некоторую макроскопическую
скорость потока компоненты i.
Средняя массовая скорость бинарной смеси газов определяется следующим образом:
 (1.1)
где mi
- масса молекулы, ni
- числовая плотность молекул i
-й компоненты смеси; - массовая плотность смеси газов.
Скорость обычно называют средней массовой скоростью
или скоростью течения смеси газов. Тепловая
(собственная
) скорость молекул i
-го сорта определяется как скорость молекулы относительно системы координат, движущейся со средней массовой скоростью , т.е.
. (1.2)
Диффузионная
скорость есть скорость потока молекул сорта i
относительно системы координат, движущейся со средней массовой скоростью , т.е.
. (1.3)
Очевидно, что диффузионная скорость есть средняя тепловая скорость. Величина представляет собой вектор плотности потока массы (диффузионный поток
) i
-й компоненты смеси газов. Из определения средней массовой (1.1) и диффузионной (1.3) скоростей следует:
,
, (1.4)
т.е. сумма диффузионных потоков компонент в смеси газов равна нулю.
Строгая кинетическая теория дает следующее выражение для диффузионного потока при отсутствии внешних сил, градиентов давления и температуры:
, (1.5)
где - коэффициент взаимной диффузии бинарной смеси газов; c
1
= n
1
/ n
,
c
2
= n
2
/ n
- числовая концентрация компоненты 1 и 2 соответственно; n
= n
1
+ n
2
- числовая плотность частиц газовой смеси; очевидно, что c
1
+ c
2
= 1.
1.2. Теория бароэффекта
| 
Рис 1.1. Принципиальная схема двух объемов, соединенных плоской щелью
|
Рассмотрим процесс диффузии газов через плоскую щель, соединяющую два сосуда с объемами V1
и V2
, которые заполнены различными газами при одинаковых температуре и давлении (рис.1.I).
В начальный момент времени в объеме V1
содержится только легкий газ с числовой плотностью n
1
и массой молекул m
1
, а в объеме V2
- только тяжелый газ с плотностью n
2
и массой молекул m
2
. Молекулы легкого газа имеют большую тепловую скорость по сравнению с молекулами тяжелого газа, поэтому они будут проникать в противоположный сосуд быстрее, чем тяжелые. В результате между сосудами возникнет разность давлений, которая вызовет компенсирующий гидродинамический поток. Величина возникающей разности давлений будет определяться соотношением гидродинамического и диффузионных потоков. В некоторый момент времени, когда оба эти потока уравновесят друг друга, полный числовой поток молекул через щель будет равен нулю, а градиент давления достигнет своего максимального значения.
Таким образом, в стационарном состоянии общий числовой
поток молекул через полное сечение щели должен быть равен нулю, т.е.
(1.6)
Первое слагаемое в (1.6) представляет собой гидродинамический поток молекул под действием возникшей разности давлений, а второй и третий - диффузиионные потоки легкого и тяжелого газов соответственно. Используя соотношение (1.5) , условие баланса (1.6) в одномерном случае может быть записано в виде
(1.7)
С другой стороны, скорость гидродинамического потока может быть вычислена по хорошо известной формуле Пуазейля. Для вывода этой формулы рассмотрим течение газа между двумя бесконечно широкими пластинками. Выделим слой газа между двумя параллельными плоскостями, расположенными на расстоянии y
и y+dy
от плоскости, проходящей посередине между пластинами (рис. 1.2). Скорости движения газа в этих плоскостях равны и + соответственно.

Рис. 1.2. К выводу формулы Пуазейля
В установившемся режиме условие равновесия между силами давления (на единицу ширины) и силами Ньютона, возникающими из-за вязкости газа, можно записать следующим образом:
(1.8)
После интегрирования (1.8) по y
находим
(1.9)
Для определения поcтоянной a
необходимо задаться граничными условиями. Наиболее часто применяемое граничное условие предполагает, что скорость газа на стенке равна нулю. Однако наличие градиента скорости, перпендикулярного стенке, и градиента концентрации вдоль стенки приводит к эффектам скольжения
. Это означает, что величина средней массовой скорости в направлении движения вблизи стенки не будет равна нулю. Точное решение этой задачи может быть проведено методами строгой кинетической теории.
Рассмотрим элементарный вывод формулы для скорости скольжения. Выделим вблизи стенки на расстоянии средней длины свободного пробега l единичную площадку, параллельную стенке. Из общей физики известно, что число молекул, пересекающих единичную площадку в том и другом направлениях за единицу времени, равно 1
/4
n
Vt
= 1
/4
n
(8kT
/pm
)1/2
. Таким образом, полный перенос импульса в направлении движения вдоль оси x
через единичную площадку запишется в виде 1
/ 4
n
Vt
- 1
/ 4
n
Vt
, где и
- средние скорости молекул, отраженных от стенки и падающих на стенку соответственно.
Этот перенос импульса эквивалентен силе, с которой газ, расположенный с отрицательной стороны площадки, действует на газ с положительной стороны. Эта сила равна ньютоновской
вязкой силе Fx
. Поэтому можно записать
(1.10)
Здесь h
- коэффициент динамической вязкости
газа.
Средняя скорость у стенки может быть принята равной Значение скорости зависит от типа взаимодействия молекул со стенкой. В простейшем случае, когда на стенке происходит диффузное рассеяние (равновероятное во все стороны с энергией стенки), а сама стенка неподвижна, средняя скорость молекул, отраженных стенкой, будет равна нулю. Поэтому скорость движения газа на расстояние l
от стенки равна =1
/2
. Эту скорость называют скоростью скольжения
газа на стенке.
Если воспользоваться кинетическим определением коэффициента динамической вязкости h
= 1
/2
nm
l
Vt
/ 1 /, то из (1.10) немедленно следует, что
(1.11)
При более строгом решении скорость скольжения определяется следующим выражением:
(1.12)
где величину s
называют константой скольжения
, которая зависит от рода газа, типа взаимодействия молекул со стенкой и является величиной положительной.
Для бинарной смеси газов в случае диффузного рассеяния молекул на стенке, используя граничное условие при y
= ± h
/2, из (1.1) и (1.11) получаем
(1.13)
С другой стороны, из (1.3) и (1.5) можно записать
(1.14)
Совместное решение (1.13) и (1.14) с учетом определения средней массовой скорости (1.1) дает скорость смеси в пристеночном слое
(1.15)
В выражении (1.15) первое слагаемое правой части называют скоростью
вязкого скольжения
, а второе - скоростью
диффузионного скольжения
; величины g
и s12
называют коэффициентами вязкого
и диффузионного
скольжения
соответственно.
Подставляя граничное условие в (1.9), с использованием (1.15) находим
Учитывая, что из (1.9) , получаем выражение для скорости с поправкой на скольжение
И, наконец, после усреднения данного выражения по высоте щели находим
(1.16)
Из (1.16) видно, что скорость вязкого скольжения (второе слагаемое в скобках) направлена по направлению гидродинамического потока, а скорость диффузионного скольжения - в противоположную сторону.
Для определения разности давлений Dp
необходимо приравнять выражения (1.16) и (1.7):
Принимая во внимание выражения для g
и s12
(1.15), полученное соотношение приведем к виду
(1.17)
Величину Dp
находим интегрированием (1.17) по длине щели:
Интеграл в правой части после несложных преобразований приводится к табличному виду
В случае, когда процесс диффузии не приводит к заметному изменению концентраций в объемах, можно считать концентрацию легкого газа при х
=l равной c
=0, а при х
=0 равной c
=1. Кроме того, считая изменение концентрации вдоль щели линейным, коэффициент динамической вязкости h
заменим на некоторый средний коэффициент (при с
=0.5).
Учитывая вышесказанное, окончательно получаем:
Полученое выражение удобнее записать через молекулярные веса компонент смеси газов в виде:
(1.18)
Здесь Dp
- измеряемый перепад давлений, Н/м2
; М1
и М2
- молекулярные веса легкого и тяжелого газов соответственно; - коэффициент динамической вязкости газовой смеси, Нс/м2
; D12
- коэффициент взаимной диффузии газов, м2
/с
; h
- высота щели, м
; R -
газовая постоянная.
1.3.Вывод формулы для расхода однокомпонентного газа
Для расчета теоретического значения величины бароэффекта необходимо знать высоту h
щели,
которую с достаточной точностью можно определить из экспериментальных данных с помощью формулы Пуазейля.
Рассмотрим систему, состоящую из двух объемов V1
и V2
, которые соединены каналом (рис.1.3).
Полагаем, что объемы изменяются со временем. Это изменение вызвано прогибом мембраны оптического манометра, служащего для измерения разности давлений между объемами (рис.2.1).
Используя уравнение состояния для идеального газа в форме pV=
(G/
m
)RT
(где G
-
количество вещества в объеме V
, m
-
молекулярный вес), условие сохранения количества молекул для объемов V
1
и V
2
можно записать в следующем виде:
| 
Рис.1.3. Принципиальная схема экспериментальной установки для определения расхода газа
|
Здесь J
- поток числа молекул через канал, соединяющий объемы, под действием разности давлений Dp=p
2
- p
1.
Разделим первое уравнение полученной системы уравнений на V
1
, а второе - на V
2
и, вычитая из первого уравнения второе, получим
(1.19)
Полагая, что изменение объемов пропорционально разности давлений, можно записать
DV
=a(p
2
-p
1
)=a
Dp
, V
1
=V
10
-
DV
, V
2
=V
20
+
DV
, J=b
Dp
,
где V
10
, V
20
- начальные значения объемов; a
- коэффициент пропорциональности; b
- поток молекул при единичном перепаде давлений.
Подставляя приведеные соотношения в уравнение (1.19), после интегрирования его по t
, находим:
. (1.20)
Здесь Dp
1
и Dp
2
есть значения разности давлений Dp
в момент времени 0 и t
; - среднее давление в системе.
Нетрудно показать, что при достаточно близких значениях V
1
и V
2
второе слагаемое правой части (1.20) будет намного меньше первого и им можно пренебречь.
Умножив (1.20) на kT
, получим формулу для объемного расхода Q
:
, (1.21)
где поправка на изменение объемов a
, значения Dp
1
и Dp
2
определяются экспериментально.
С другой стороны, умножая выражение (1.16) для средней массовой скорости с учетом вязкого скольжения на ceчение щели bh
, но, опуская cлагаемое, учитывающее диффузионное скольжение, и полагая c
=1 в определении g
(1.15) с учетом (1.12), получим теоретическую формулу для объемного расхода газа
Для того чтобы получить объемный расход для единичного перепада давлений, найденное соотношение необходимо умножить на p
, а dp/dx
заменить на Dp
/l
. Разделив на Dp
, получим
(1.22)
Если использовать кинетическое определение коэффициента динамической вязкости h
, то из (1.22) следует, что объемный расход газа можно записать в виде
i =
1, 2, ...n
,
(1.23)
Таким образом, если измерить расход газа при различных давлениях, то с помощью (1.23) можно вычислить коэффициенты и .
Наиболее вероятные значения и дает метод наименьших квадратов из условия
где и - теоретическое и экспериментальное значения расхода соответственно.
Подставляя в полученное соотношение значение из (1.23), имеем
(1.24)
Дифференцируя (1.24) по и и приравнивая частные производные нулю, получим систему уравнений для нахождения постоянных и :
(1.25)
После решения системы (1.25) из соотношения (1.23) определяем искомые величины и , из которых вычисляются высота щели h
и константа скольжения s
.
2. ОПИСАНИЕ ЭКСПЕРИМЕНТАЛЬНОЙ УСТАНОВКИ
Схема экспериментальной установки приведена на рис.2.1.
Диффузионные камеры представляют собой два латунных сосуда 1 и 2 цилиндрической формы, разделенные фланцем 3, в который впаяна щель, образованная двумя плоскими стеклянными пластинками 5. Чтобы избежать смешения газов в момент напуска, щель запирается с помощью уплотняющего устройства 4.
Камеры соединены между собой байпасной трубкой с поворотным краном 8, позволяющей выравнивать давление в системе.
Абсолютное давление в системе измеряется образцовым вакуумметром 12.
Краны 6 и 10 служат для напуска газов в диффузионные камеры.
Разность давлений, возникающая при диффузии газов через щель, регистрируется с помощью оптического манометра 13.
Откачка газа из системы осуществляется форвакуумным насосом через краны 7 и 9.
Основные параметры установки приведены в табл. П.1.
3.МЕТОДИКА ПРОВЕДЕНИЯ ЭКПЕРИМЕНТА
3.1. Задание
Ознакомиться с теорией и методикой измерения бароэффекта.
Измерить расход воздуха через щель для следующих давлений: 700, 500, 300, 200 мм рт.ст.
Определить высоту щели h
и константу скольжения s
. Оценить среднюю квадратичную ошибку в измерении h
и s
.
Измерить величину бароэффекта для предложенной пары газов при давлении 700 мм рт.ст. Провести сравнение измеренной величины бароэффекта с теоретическим значением.
3.2. Проведение измерений
3.2.1. Измерение расхода газа
| 
Рис.2.1. Схема экспериментальной установки:
1,2 - камеры; 3 - фланец; 4 - уплотняющее устройство; 5 - стеклянные пластинки; 6,10 - краны напуска газа; 7,9 - краны откачки системы; 8 - байпасный кран; 11,15 - кран отключения манометров; 12 - образцовый вакуумметр; 13 - оптический манометр
|
Проверить: закрыты ли краны 6,7,9 и 10, открыт ли байпасный кран 8. Включить форвакуумный насос. Медленно открывая краны 7 и 9, откачать систему до давления ~1 мм рт.ст. Затем, предварительно закрыв краны 7 и 9, с помощью крана 10 напустить в систему воздух до давления ~700 мм рт.ст. После этого закрыть краны 8, 11 и уплотняющее устройство 4. Медленно открывая кран 7, создать перепад давлений между камерами ~16 мм рт.ст., регистрируя его по оптическому манометру 13. После этого кран 7 закрыть и открыть уплотняющее устройство 4. Провести отсчет времени, в течение которого перепад давлений уменьшится с 14 мм рт.ст. до 6 мм рт.ст. через интервал в 2 мм рт.ст. Затем открыть кран 8 и измерить среднее давление в системе. Результаты измерений занести в табл. П.2.
Медленно открывая краны 7 и 9, установить следующее давление в системе и провести аналогичные измерения.
3.2.2. Измерение величины бароэффекта
Перед началом опыта система откачивается до давления ~1мм рт.ст. После этого закрыть байпасный кран 8, уплотняющее устройство 4 (краны 11 и 15 должны быть открыты). Затем с помощью кранов 6 и 10 одновременно напустить исследуемые газы до соответствующего давления. При напуске газов необходимо следить за тем, чтобы не было большого перепада давлений между камерами (во избежание перегрузки мембраны оптического манометра). Затем кратковременным открытием байпасного крана 8 выровнять давление в системе, после чего открыть уплотняющее устройство 4 , одновременно включить секундомер.
Перепад давлений, возникающий при диффузии газов через щель, регистрируется оптическим манометром 13. Измерить величину Dр
через интервал времени 2 мин, результаты измерений занести в табл. П.3.
Измерения считаются законченными, когда Dp
достигнет стационарного значения и не будет изменяться со временем.
3.2.3. Обработка результатов измерений
Используя полученные данные, по формуле (1.21) вычислить расход газа, принимая Dp
1
=14 мм рт. ст. и Dp
2
=6 мм рт.ст. для всех случаев. После вычисления расхода газа Q
i
методом наименьших квадратов найти постоянные a
0
и a
1
, с помощью которых вычислить высоту щели h
и константу скольжения s
. Результаты расчета привести в табл. П.4.
Для контроля необходимо построить графики зависимости ln(Dp
1
/Dp
2
) от времени (для всех случаев) и расхода газа Q
от давления p
(рис. П.1, П.2). Если графики будут прямыми линиями, то можно считать, что измерения проведены правильно.
Необходимо оценить погрешность измерения расхода газа, высоты щели и константы скольжения. Средняя квадратичная относительная ошибка для Q
согласно формуле (1.21) и табличным данным (табл. П.1) равна S
Q
»1.2%; такого же порядка составит ошибка S
Q
в методе наименьших квадратов. Поэтому можно применить обычную методику оценки погрешностей для a
0
и a
1
, используемую в методе наименьших квадратов:
Здесь Q
i
- экспериментальное значение расхода при p
i
; Q
i
b
- вычисленное значение расхода по найденным a
0
и a
1
; - среднее давление.
В качестве средней квадратичной ошибки коэффициента вязкости h
принять единицу последней значащей цифры табличных данных [2].
Измеренную величину бароэффекта сравнить с теоретическим значением, вычисленным по формуле (1.18). Величины, необходимые для расчета, найти в справочной литературе [2].
Обычно в литературе коэффициенты диффузии приведены к давлению 760 мм рт.ст. Для пересчета D
12
к давлению, при котором проводились измерения, необходимо пользоваться формулой
.
Коэффициент вязкости газа определяется из таблиц для соответствующей температуры [2].
Построить график зависимости величины бароэффекта от времени (рис.П.3). Для сравнения на рисунке указать теоретическое значение величины бароэффекта.
______________
1. Гиршфельдер Д., Кертисс Ч., Берд Р. Молекулярная теория газов и жидкостей. М.: ИЛ, 1961. 929 с .
2. Варгафтик П.Б. Справочник по теплофизическим свойствам газов и жидкостей. М: ГИФМЛ, 1963. 720 с.
ПРИЛОЖЕНИЕ
Таблица П.1
Основные геометрические параметры установки
| Камеры
|
Щель
|
| V1
106
, м3
170 1
|
V2
106
, м3
250 1
|
b
102
, м
2,063 0,001
|
l
102
, м
1,270 0,001
|
Таблица П.2
Зависимость Dр
от времени при различных давлениях
| p
i
,
мм рт.ст.
|
Dр
,
мм рт.ст.
|
14
|
12
|
10
|
8
|
6
|
| ...
|
t,с
|
...
|
...
|
...
|
...
|
...
|
Таблица П.3
Зависимость величины бароэффекта от времени
| Т
,
К
|
p
,
мм рт. ст.
|
t
,
мин
|
0
|
2
|
...
|
Dp
э
,
мм рт.ст.
|
Dp
э
,
H/м2
|
Dp
т
,
Н/м2
|
| ...
|
...
|
Dp
мм рт.ст.
|
...
|
...
|
...
|
...
|
...
|
...
|
Таблица П.4
Необходимые данные для определения h
и s по методу наименьших квадратов
| Pi
,
Н/м2
|
Qi
106
,
м3
/с
|
Pi
|

|

|

|

|
Qi
b
|
| 
|
| ao
± Sao
= , a1
± Sa1
= ,
s
± S
s= , h
± Sh
=
|

Рис. П.1. Зависимость ln(DP
1
/DP
2
) от времени t
| 
Рис. П.2. Зависимость величины бароэффекта от времени
|

Рис.П.3. Зависимость расхода воздуха от среднего давления
|
Лабораторная работа 3
ЗВУКОВАЯ ДИАФРАГМА
ВВЕДЕНИЕ
Целью настоящей работы является ознакомление с основными законами истечения газа из резервуара через сужающиеся насадки, в частности, через звуковую диафрагму, применяемую на практике для стабилизации расхода газа в трубопроводах.
I. ВЫВОД ФОРМУЛЫ ДЛЯ РАСХОДА ВОЗДУХА ЧЕРЕЗ ДИАФРЯГМУ
Газ, движущийся с большой скоростью (большие числа Рейнольдса), можно рассматривать как газ идеальный в механическом смысле, т.е. лишенным вязкости и теплопроводности. Тогда для установившегося движения для любой линии тока в пренебрежении силой тяжести справедливо уравнение Бернулли
(1.1)
где V2
/2 и h - кинетическая энергия и энтальпия единицы массы газа соответственно.
Рассмотрим истечение газа из резервуара через сужающиеся насадки (рис.1.1). Будем предполагать, что газ внутри сосуда покоится (V0
=0). При движении индивидуальной частичы вдоль линии тока из области, где газ покоится (V0
=0), в соответствии с уравнением Бернулли скорость V, увеличивается, а давление P1
уменьшается. По-видимому, скорость движения частиц газа на любой линии тока будет максимальной в самом узком месте насадки - на ее срезе в соответствии с законом неразрывности 
Найдем скорость истечения в зависимости от отношения давлений P0
/P1
. Для этого запишем уравнение Бернулли в виде
(1.2)
Для газа, идеального в термодинамическом смысле, для энтальпия единицы массы определяется по формуле:

Рис.1.1. Схема истечения газа через сужающийся насадок

где g=Cp
/Cv
- показатель адиабаты; Cp
, Cv
- удельные теплоемкости при постоянном давлении и объеме соответственно; C - скорость звука; V, r -
удельный объем и плотность газа соответственно.
Подставляя (1.3) в (1.2), находим
(1.4)
Адиабатическое движение описывается уравнением Пуассона (уравнение адиабаты)
(1.5)
Подставляя (1.5) в (1.4), получим
(1.6)
Формула (1.6) называется формулой Сан-Венана-Вентцеля. Из формулы (1.6) следует, что при P1
=P0
газ в системе покоится V1
=0, что и следовало ожидать.
По мере уменьшения давления P1
скорость V1
увеличивается и, наконец, при некотором критическом значении P1
=P*
становится скорость равной скорости звука на срезе насадки. При этом плотность и температура также примут критические значения r*
, T*
. Эту скорость называют местной скоростью звука и обозначают через C*
.
Вычислим значения V1
=C*
, P1
=P*
, r1
=r*
, T=T*
в зависимости от термодинамических параметров газа внутри сосуда. Для этого снова воспользуемся уравнением Бернулли. С учетом соотношений (1.3) можно записать:
(1.7)
Из формулы (1.7) видно, что критическая скорость зависит только от температуры покоящегося газа внутри сосуда.
Критическое давление P*
, очевидно, можно найти из формулы Сан-Венана-Вентцеля, полагая V1
=C*
. Подставляя (1.7) в (1.6), имеем
(1.8)
Если принять для воздуха g = 1,4, то получим
P*
=0.53P0
.
Таким образом, при достижения давления P1
=0.53P0
скорость истечения газа на срезе сопла будет равна скорости звука в этом сечении. Аналогично можно вычислить плотность r*
.
(1.9)
При дальнейшем уменьшении давления P1
(P1
<P*
) скорость истечения газа из насадки остается постоянной, поскольку газ, движущийся со звуковой скоростью на срезе сопла, не «чувствует» изменений давления на выходе из него, т.к. распространяющиеся со звуковой скоростью возмущения в газе, которые возникают при увеличении скорости откачки газа за насадком с помощью откачивающего насоса, вне сопла не могут проникать против течения на выходном сечении сопла.
Поэтому V1
=C*
есть максимальная скорость истечения газа из сужающейся насадки, которая зависит только от температуры газа в сосуде (см. формулу (1.7)) и не зависит от давления в нем. Из формул (1.8) и (1.9) следует, что вдоль линии тока, начинающейся в неподвижном газе, давление и плотность уменьшаются от P0
и r0
до P*
и r*
на срезе сопла, а скорость увеличивается от 0 до C*
.
Рассмотрим, как изменяется плотность потока раза вдоль линии тока. Из уравнения Бернулли следует
(1.10)
Поскольку при адиабатическом процессе энтропия единицы массы S0
постоянна, т.е. dS0
=0, из определения скорости звука следует
(1.11)
Взяв логарифмическую производную от плотности потока, получим
(1.12)
Подставляя (1.12) и (1.11) о (1.10), получим
(1.13)
Рассмотрим трубку тока. Для идеальной жидкости поверхность насадки является поверхностью трубки тока. Из уравнения непрерывности следует, что
(1.14)
Здесь S - переменное сечение трубки тока. Из (1.14) следует, что направление изменения rV и S противоположно. Поэтому если вдоль линии тока скорость движения газа увеличивается (dV>0) , то при дозвуковом движении (М<1) плотность потока rV также увеличивается, но при этом сечение трубки тока должно уменьшаться или, если трубкой тока является сужающаяся насадка (dS<0) и если скорость движения газа в насадке увеличивается, то увеличивается и плотность потока газа, достигая максимального значения в самом узком месте насадки, т.е. на ее срезе. Действительно, если бы на срезе насадки была бы достигнута скорость больше скорости звука, то плотность потока вдоль линии тока, согласно (1.13) и (1.14), уменьшилась бы.
Поэтому плотность потока на срезе сопла является максимально возможной при заданных параметрах газа внутри сосуда.
Вычислим максимальный объемный и массовый расход газа через насадок. Принимая во внимание вышеуказанное и пользуясь формулами (1.7) и (1.9), объемный расход определяется формулой
(1.15)
Массовый расход равен
(1.16)
В формулах (1.15) и (1.16) Smin
- площадь минимального сечения насадки.
Из формул (1.15) и (1.16) следует, что массовый расход газа через насадки зависит от давления и температуры газа в сосуде, тогда как объемный расход зависит только от его температуры.
Принимая для воздуха g=1,4, M=29, R=8,315*103
Дж/кмоль*K, получим .
, м3
/с (1.17)
Независимость расхода газа через сужающиеся насадки от давления P1
при P1
<P*
используется в технике и лабораторной практике для стабилизации потока газа через трубопровод. Если параметры газа перед насадкой не изменяются, а давление газа за насадкой всегда меньше критического, то как массовый, тай и объемный расходы будут оставаться постоянными при любах колебаниях давления P1
в пределах Р*
>
Р1
>О. Если же P1
сохраняется постоянным, а P0
изменяется в области P0
>P1
/0.53, то росходы и массовый и объемный также останутся постоянными.
На практике в качестве сужающегося насадка обычно применяется просто плоская диафрагма с отверстием, диаметр которой много больше толщины диафрагмы. Такое отверстие называют “идеальным” отверстием, т.к. для него можно принебречь влиянием внутренних стенок на поток газа. Если диаметр отверстия диафрагмы много меньше диаметра трубопровода, то скорость движения газа через отверстие будет много больше скорости раза в трубопроводе, и газ перед диафрагмой можно считать покоящимся. В этой случае все вышеприведенные формулы оказываются справедливыми.
2. ОПИСАНИЕ ЭКСПЕРИМЕНТАЛЬНОЙ УСТАНОВКИ
Принципиальная схема экспериментальной установки представлена на рис.2.1.

Рис.2.1. Принципиальная схема установки:
1 - Образцовый вакуумметр; 2,3,4 - камеры; 5 - ротаметр; 6 -форвакуумный насос; 7.8,9,10 - вентили; 11.12,13 - диафрагмы
Давление с одной стороны диафрагмы поддерживается равным атмосферному. С другой стороны давление изменяется с помощью форвакуумного насоса 6 и регулируется сильфонным вентилем 7. Величина давления фиксируется образцовым вакуумметром 1. Ротаметр, поставленный на входе всей системы, позволяет измерять объемный расход газа, протекающего через отверстие. При понижении давления за диафрагмой расход газа растет, но лишь до тех пор, пока давление на диафрагме не достигнет «критического» значения. При дальнейшем понижении давления за диафрагмой расход газа не изменяется и остается равным Qv max
.
3. МЕТОДИКА ПРОВЕДЕЖЯ ЭКСПЕРИМЕНТА
3.1. Задание
3.1.1. Измерить зависимость расхода от давления для трех различных диафрагм.
3.1.2. По результатам измерений построить график зависимости объемного расхода газа от разности давлений на диафрагме.
3.1.3. Из графика найти значения максимального расхода газа и критического давления за диафрагмой.
3.1.4. Рассчитать соответствующие теоретические значения объемного расхода воздуха и провести сравнение с экспериментальными данными.
3.2. Проведение измерений
Измеряемыми величинами являются температура, разность давлений на диафрагме и объемный расход воздуха через диафрагму.
3.2.1. Температура воздуха принимается равной комнатной ввиду малых (до диафрагмы) скоростей течения газа.
3.2.2. Разность давлений на диафрагме. Давление воздуха перед диафрагмой принимается равным атмосферному, поскольку скорость газа перед диафрагмой мала. Давление воздуха за диафрагмой измеряется образцовым вакуумметром 1.
3.2.3. Объемный расход воздуха. После включения форвакуумного насоса 6, слегка приоткрывая вентиль 7, установить давление после диафрагмы, равное 10 делениям шкалы вакуумметра 1. С помощью ротаметра 5 измерить расход воздуха. Излученные результаты внести в таблицу приложения. Дальнейшие измерения повторять через 10 делений шкалы вакуумметра. Аналогичные измерения произвести для других диафрагм. Результаты измерений занести в таблицу приложения.
3.3. Обработка опытных данных
По известным значениям расходов для соответствующих перепадов давления вычислить объемные расходы Qэ
i
в м3
/с. Оценить ошибку измерения xэ
i
, предполагая, что эта ошибка обусловлена систематической погрешностью измерения расхода. Результаты вычислений внести в таблицу приложения. Вычислить среднее значение в области максимума и соответствующую среднеквадратичную ошибку.
По формуле (1.17) вычислить максимальное теоретическое значение QT
и систематическую ошибку xT
. Ошибка xT
определяется ошибкой измерения площади отверстия диафрагмы, которая известна, и ошибкой измерения температуры, которая является систематической и принимается равной половине деления шкалы термометра.
Учитывал функциональную связь (1.17) между величинами, указать для рассчитываемой величины QT
значения возможной систематической и случайной (для доверительной вероятности 0,68) ошибок. Сравнить наблюдаемые расхождения между экспериментальными и теоретическими значениями расходов газов с вычисленными ошибками.
Все результаты расчетов занести в таблицу приложения.
Построить графики зависимости Qэ
1
, Qэ
2
, Qэ
3
от разности давлений на диафрагмею
ЛИТЕРАТУРА
1. Ландау Л.Д., Лифшиц Е.М. Механика сплошных сред. - М.: ГИТТЛ, 1954. - 788 с.
2. Лойцинский Л.Г. Механика жидкости и газа. - М.: Наука, 1970.- 450 c.
Лабораторная работа № 4
ИЗМЕРЕНИЕ КОЭФФИЦИЕНТА СОПРОТИВЛЕНИЯ ПРИ ТЕЧЕНИИ
ВОЗДУХА В ЦИЛИНДРИЧЕСКОЙ ТРУБКЕ
ВВЕДЕНИЕ
Цель данной лабораторной работы заключается в ознакомлении студентов с основными закономерностями и параметрами, характеризующими течение жидкостей или газов в трубах, а также в приобретении знаний и навыков, необходимых для вычисления этих параметров из экспериментальных данных.
1. ТЕОРИЯ
Жидкость (газ), протекающая по трубе, преодолевает силу трения, обусловленную вязкостью. Наличие касательных напряжений обращает в нуль скорость на стенке и тормозит вышележащие слои жидкости. В результате ее энергия уменьшается и давление падает. Разность давлений Dр
в начальном и конечном участках трубопровода принято называть сопротивлением
этого участка.
Сопротивление трубопровода непосредственно связано с мощностью N
, потребляемой для перекачки жидкости (газа), соотношением
(1.1)
где Q
- объемный расход жидкости (газа) в единицу времени. Таким образом, для определения затрачиваемой мощности необходимо знать сопротивление трубопровода.
Величина сопротивления определяется:
- кинетической энергией жидкости,
- геометрическими размерами трубопровода,
- природой жидкости и характером течения,
- состоянием стенок трубопровода.
Многочисленные эксперименты показали, что для прямолинейного го-ризонтального участка трубопровода справедлива формула [1]
(1.2)
где r
u
2
/2- кинетическая энергия единицы объема жидкости;
L/d
- отношение длины трубопровода L
к его диаметру d
;
l
- безразмерный коэффициент сопротивления.
Коэффициент сопротивления
l
является важнейшим техническим параметром в задачах прикладной гидродинамики. Он зависит от природы жидкости, характера течения в трубопроводе и состояния стенок. Характер этой зависимости может быть выявлен на основе использования законов подобия.
Стационарное изотермическое течение несжимаемой вязкой жидкости в отсутствие внешних сил описывается уравнением Навье-Стокса в виде
(1.3)
где h
- коэффициент динамической вязкости, Нс
/м
2
,
u
- вектор скорости течения жидкости, м/с
,
р
- давление, Н
/м
2
; r
- плотность, кг/м
3
.
Решение уравнения (1.3) не зависит от выбора входящих в него единиц
физических величин, которые можно представить в безразмерном виде: скорость , давление , компонента радиус-вектора (i
= 1,2,3); где и - средние значения скорости и давления, d
- характерный размер; определяют безразмерные величины. Если эти величины подставить в уравнение (1.3) и разделить на коэффициент, стоящий в левой части, то в безразмерном виде уравнение (1.3) записывается как
(1.4)
Дифференцирование в уравнении (1.4) осуществляется по безразмерным координатам xi
*
.
Подобие течений означает тождественность решений относительно безразмерных переменных. Оно имеет место при геометрическом подобии и равенстве соответствующих коэффициентов в уравнении (1.4). Безразмерный параметр называют числом Рейнольдса
Re
, а безразмерный параметр называют числом Маиевского М
, которое с точностью до показателя адиабаты совпадает с числом Маха
, определяемым отношением скорости потока u
к скорости звука . Параметры Re
и М
являются критериями динамического подобия потоков
. Таким образом, решение (1.4) оказывается зависимым от чисел Re
, M
и граничных условий.
В связи с этим для гладких горизонтальных труб в установившемся режиме движения жидкости при скоростях, значительно меньших скорости звука, коэффициент сопротивления l
зависит только от числа Рейнольдса [1]:
(1.5)
Для труб с шероховатыми стенками l
зависит также от безразмерного параметра относительной шероховатости стенок e
[2], определяемого соотношением
(1.6)
где h
- средняя высота неровностей на стенках трубы. В этом случае коэффициент сопротивления l
является функцией Re
и e
, т.е.
(1.7)
Таким образом, l
является безразмерной величиной и зависит от безразмерных критериев подобия Re
и e
.
Потери давления в трубах могут иметь место не только за счет касательных напряжений. Давление может падать и в результате действия нормальных напряжений в местных сопротивлениях: местах изгибов труб, при изменении их сечений и т.д. Местное сопротивление характеризуется коэффициентом местного сопротивления
x
и определяется по формуле
(1.8)
Значения x
для разных видов местных сопротивлений даны в справочниках. Если местные сопротивления расположены достаточно далеко друг от друга, так что их взаимным влиянием можно пренебречь, то сопротивление трубопровода определяется как сумма сопротивлений его отдельных участков, т.е.
(1.9)
В настоящей работе экспериментально исследуется зависимость коэффициента сопротивления l
гладкой трубы от числа Рейнольдса Re
. Известно, что явный вид зависимости l =f(Re)
определяется характером течения жидкости. В случае ламинарного
течения непосредственное решение уравнения Навье-Стокса для цилиндрической трубы диаметром d
дает следующую формулу для расчета сопротивления трубы длиной L
:
(1.10)
Из сравнения выражений (1.2) и (1.10) следует, что для ламинарного течения жидкости (газа) в гладкой цилиндрической трубе коэффициент сопротивления определяется по формуле
(1.11)
Обычно зависимость в форме (1.11) графически изображается в виде прямой в логарифмической системе координат
(1.12)
Уменьшение коэффициента сопротивления с увеличением числа Рейнольдса обусловлено уменьшением влияния вязкости на характер течения; при этом по своим свойствам жидкость (газ) приближается к идеальной.
Эксперименты показывают, что в режимах течения, соответствующих числам Рейнольдса больше критического
(для гладкой цилиндрической трубы Reкр
» 2300), сопротивление скачком возрастает, что соответствует реализации в трубе турбулентного
режима течения. Из экспериментальных данных известно, что характер зависимости l =f(Re)
при Re
> 2300 оказывается весьма сложным и во всем интервале изменения чисел Re
ее нельзя представить в виде
(1.13)
с постоянным для всех Re
показателем степени m
.
Существуют многочисленные эмпирические формулы для определения l
при турбулентном течении жидкости (газа) в трубе. Широко используется формула Блазиуса [3]:
(1.14)
Эта формула справедлива в диапазоне 2,3×103
< Re
<105
. Она не имеет теоретического обоснования и является приближенной. Наиболее теоретически обоснованной является формула Никурадзе
, определяющая коэффициент сопротивления, исходя из логарифмического профиля скоростей [3]:
(1.15)
Это соотношение справедливо в диапазоне чисел Рейнольдса 4×103
<Re
<3.2×106
.
2. ОПИСАНИЕ ЭКСПЕРИМЕНТАЛЬНОЙ УСТАНОВКИ
Для определения коэффициента сопротивления цилиндрической трубки заданных размеров необходимо измерить ее сопротивление Dр
при фиксированном значении расхода Q
или средней скорости .
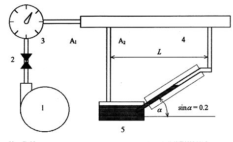
Измерения проводятся на экспериментальной установке, принципиальная схема которой представлена на рис.2.1.
Поток воздуха в цилиндрической трубке 4 диаметром d
создается с помощью воздуходувки 1. Сильфонный вентиль 2 позволяет регулировать расход газа через трубку. Измерение расхода осуществляется с помощью расходомера 3 барабанного типа. Сопротивление участка трубки длиной L
измеряется с помощью дифференциального наклонного манометра 5. Участок трубки A1
A2
имеет длину порядка двадцати диаметров и является «разгонным» участком. Опытные данные показывают, что на таких расстояниях от начального сечения трубки профиль скорости является практически сформировавшимся и остается постоянным вдоль ее длины.
Время измерения расхода воздуха регистрируется секундомером.

Рис.2.1.Принципиальная схема экспериментальной установки:
1 - воздуходувка, 2 - вентиль, 3 - расходомер, 4 - цилиндрическая трубка, 5 - наклонный манометр (рабочая жидкость — вода)
.3. МЕТОДИКА ПРОВЕДЕНИЯ ЭКСПЕРИМЕНТА
3.1. Задание
Изучить руководство по выполнению лабораторной работы и усвоить порядок ее выполнения, измерить расходы воздуха в цилиндрической трубке при различных значениях сопротивления известного участка трубки, вычислить коэффициенты сопротивления гладкой трубки в различных режимах течения и определить ошибки измерения.
3.2. Проведение измерений
3.2.1. По барометру-анероиду и ртутному термометру зарегистрировать рабочие условия измерений: давление и температуру.
3.2.2. Проверить, закрыт ли сильфонный вентиль 2. Включить воздуходувку 1. Проверить установку нулевого
показания манометра.
3.2.3. Плавно открывая вентиль 2,
установить заданное число делений на шкале наклонного манометра. Определить время
, в течение которого через трубку пройдет количество газа, указанное в табл. П.1 при заданном Dр.
3.2.4. Зарегистрировать сопротивление участка трубки при фиксированном расходе по показаниям наклонного манометра.
Измерения расхода воздуха и сопротивления провести при положениях вентиля 2, соответствующих значениям
Dр,
которые приведены в табл. П.1.
3.3.
Обработка опытных данных
3.3.1. По справочным данным определить плотность r
и коэффициент динамической вязкости воздуха h,
соответствующие рабочим условиям. Исходные данные свести в табл. П.2.
3.3.2. Вычислить среднюю скорость в трубке при различных Dр
по формуле
(3.1)
3.3.3. Вычислить числа Рейнольдса Re
для различных значений разности давлений Dр
. Пользуясь формулой (1.2), вычислить экспериментальные значения коэффициента сопротивления lэ
.
3.3.4. Определить расчетные значения коэффициентов сопротивления lт
при числах Рейнольдса, соответствующих измеренным значениям Dр.
При зна-чениях Re <
Reкр
расчеты проводить по формуле (1.11). При значениях Re > Reкр
расчеты проводить по формуле (1.13). Результаты расчетов привести в табл.П.3.
3.3.5. Сопоставить соответствующие значения измеренных и расчетных коэффициентов сопротивлений. Сравнение результатов провести на графике зависимости, представленном на рис. П. 1, в координатах
(3.2)
3.3.6. Вычислить ошибки измерения коэффициента сопротивления, полагая, что они обусловлены систематическими погрешностями s
i
измерения величин, определяющих коэффициент сопротивления. Значения s
l
указать для каждого измерения l
э
в табл. П.3. Указать также в отчете наибольшую погрешность теоретического значения коэффициента сопротивления s
l
т
, вычисленного по формулам (1.11) и (1.14) для соответствующих режимов течения.
__________________________
1. Ландау Л.Д., Лифшиц Е.М. Механика сплошных сред. М.: ГИТТЛ, 1954,788с.
2. Абрамович Г.Н. Прикладная газовая динамика. М.: ГИТТЛ, 1953.566с.
3. Фабрикант Н.Н. Аэродинамика.Т.1.М.: ГИТТЛ, 1949.610с.
ПРИЛОЖЕНИЕ
Таблица П.1
Время движения заданного объема газа
| Число делений
шкалы манометра, п
|
Dр
,
мм рт. ст.
|
Q,
дм3
|
t.
c
|
| 5
|
3
|
| 10
|
4
|
| 15
|
5
|
| 20
|
5
|
| 30
|
10
|
| 40
|
10
|
| 50
|
15
|
| 60
|
20
|
| 100
|
20
|
| 150
|
20
|
| 200
|
25
|
| 250
|
30
|
| 300
|
30
|
| 350
|
30
|
| 400
|
35
|
| 450
|
40
|
| 500
|
40
|
Таблица П.2
Рабочие условия
| Параметр
|
Обозначение
|
Размерность
|
Значение
|
| Длина трубки
|
L
|
м
|
| Диаметр трубки
|
d
|
м
|
| Атмосферное давление
|
p
|
мм рт. ст.
|
| Температура
|
Т
|
К
|
| Плотность
|
r
|
кг/м
3
|
| Коэффициент динамической
вязкости
|
h
|
Нс/м
2
|
Таблица П.3
Значения коэффициентов сопротивления
| Dр,
мм
рт.ст.
рт-ст.
|
Dр
.
Па
|
Q
,
м3
|
t
,
с
|
,
м/с
|
s
u
,
м
/с
|
Re
|
lэ
×102
|
e
l
|
l
T
×102
(1.11)
|
l
T
×102
(1.14)
|
| ...
...
|
Рис.П.1. Сравнение экспериментальных и теоретических данных:
о - эксперимент, ¾ формула (1.11), ----- формула (1.14)
|