| МИНИСТЕРСТВО СЕЛЬСКОГО ХОЗЯЙСТВА РФ
АЛТАЙСКИЙ ГОСУДАРСТВЕННЫЙ АГРАРНЫЙ УНИВЕРСИТЕТ
Кафедра: Механизации животноводства
УСТРОЙСТВО ЗАПАРНИКОВ-СМЕСИТЕЛЕЙ
И СМЕСИТЕЛЕЙ-ИЗМЕЛЬЧИТЕЛЕЙ КОРМОВ
Методические указания к лабораторной работе по курсу
«Механизация и автоматизация технологических процессов в растениеводстве и животноводстве»
Барнаул 2008
И.Я. Федоренко, д.т.н., профессор, А.К. Бец, к.т.н., доцент кафедры механизации животноводства.
Механизация измельчения сочных кормов и корнеклубнеплодов: методические указания лабораторной работе по курсу «Механизация и автоматизация технологических процессов в растениеводстве и животноводстве»/
Алтайский государственный аграрный университет, - Барнаул, 2008, - 16 с.
Методические указания к лабораторной работе по курсу «Механизация и автоматизация технологических процессов в растениеводстве и животноводстве»
предназначена для студентов зооинженерного факультета.
Указания одобрены методической комиссией института техники и агроинженерных исследований (протокол № __) от ___________ и рекомендовано к печати.
АЛТАЙСКИЙ ГОСУДАРСТВЕННЫЙ АГРАРНЫЙ УНИВЕРСИТЕТ
1. ПРОГРАММА РАБОТЫ
Продолжительность 2 ч.
1. Изучить классификацию смесителей кормов.
2. Изучить устройство и принцип действия запарников-смеситлей и смесителей-измельчителей кормов.
3. Изучить технологический процесс смешивания кормов.
Оборудование рабочего места:
плакаты по запарникам-смесителям и смесителям-измельчителям.
2. СОДЕРЖАНИЕ ОТЧЕТА
Дать краткое описание, техническую характеристику и условия применения запарников-смесителей и смесителей-измельчителей кормов.
Вычертить технологические схемы запарника-смесителя С-12 и смесителя-измельчителя ИКС-3.
3. СОДЕРЖАНИЕ РАБОТЫ-
3.1. Назначение запарников-смесителей и смесителей-измельчителей
Классификация смесителей
В настоящее время на животноводческих фермах и комплексах нашли применение кормоцеха как с периодическим, так и с непрерывным производственным процессом. Первые выполнены на базе запарников-смесителей периодического действия, вторые - на базе смесителей или смесителей-измельчителей непрерывного действия.
Очередность подачи кормов в смесители периодического действия зависит от принятого рациона и технологии. Сначала загружают те корма, которые необходимо запарить, химически и биологически обработать. После тепловой обработки в герметической емкости подача пара прекращается, а корма выдерживают в нагретом состоянии в течение некоторого времени. Затем загружают остальные компоненты рациона. Выдача готовой кормосмеси производится в виде отдельных порций, а работа таких запарников-смесителей состоит из отдельных циклов.
Забиваем Сайты В ТОП КУВАЛДОЙ - Уникальные возможности от SeoHammer
Каждая ссылка анализируется по трем пакетам оценки: SEO, Трафик и SMM.
SeoHammer делает продвижение сайта прозрачным и простым занятием.
Ссылки, вечные ссылки, статьи, упоминания, пресс-релизы - используйте по максимуму потенциал SeoHammer для продвижения вашего сайта.
Что умеет делать SeoHammer
— Продвижение в один клик, интеллектуальный подбор запросов, покупка самых лучших ссылок с высокой степенью качества у лучших бирж ссылок.
— Регулярная проверка качества ссылок по более чем 100 показателям и ежедневный пересчет показателей качества проекта.
— Все известные форматы ссылок: арендные ссылки, вечные ссылки, публикации (упоминания, мнения, отзывы, статьи, пресс-релизы).
— SeoHammer покажет, где рост или падение, а также запросы, на которые нужно обратить внимание.
SeoHammer еще предоставляет технологию Буст, она ускоряет продвижение в десятки раз,
а первые результаты появляются уже в течение первых 7 дней.
Зарегистрироваться и Начать продвижение
Таким образом, запарники-смесители, несмотря на положительные стороны (возможность проводить тепловую обработку), имеют и существенный недостаток - периодичность работы. Это требует повышенного внимания обслуживающего персонала к технологическому процессу приготовления кормосмеси.
Нарушение поточности технологического процесса отрицательно сказывается и на производительности кормоцеха, и на организации работ по раздаче кормов. Для преодоления этого недостатка в крупных кормоцехах, где число смесителей достигает 3-4, стараются сместить во времени выдачу кормосмесей отдельными смесителями, чтобы на выходе кормоцеха поток корма был более равномерным. Однако внутри кормоцеха характер приготовления кормов остается прежним, т.е. периодическим.
В кормоцехах со смесителями непрерывного действия все компоненты рациона послойно и дозировано подают на сборный транспортер, затем в смеситель, где они непрерывно в потоке смешиваются (а порой и доизмельчиваются), увлажняются питательными растворами и выгружаются в кормораздающие средства. При использовании смесителей непрерывного действия достигается высокая производительность, однако ограничены возможности повышения питательной ценности кормов, которое может быть достигнуто тепловой и химико-термической обработкой.
Необходимо отметить, что имеются кормоцеха (например, по т.п. № 802-461), в которых установлены смесители непрерывного и периодическою действия, В упомянутом кормоцехе здпарник-смеситель С-12А используется для запаривания соломы, а смешивание компонентов рациона производится в шнековом смесителе недрерывного действия С-30, установленном на выходе кормоцеха.
Выше бцло рассмотрено применение смесителей, наиболее часто встречающихся в кормоцехах для приготовления влажных кормосмесей. В целом же номенклатура и типы смесителей отличаются большим разнообразием. Их классификация приведена на рис. 1.
В данной работе мы ограничимся рассмотрением серийных смесителей, применяемых в кормоцехах для приготовления влажных кормосмесей.
Сервис онлайн-записи на собственном Telegram-боте
Попробуйте сервис онлайн-записи VisitTime на основе вашего собственного Telegram-бота:
— Разгрузит мастера, специалиста или компанию;
— Позволит гибко управлять расписанием и загрузкой;
— Разошлет оповещения о новых услугах или акциях;
— Позволит принять оплату на карту/кошелек/счет;
— Позволит записываться на групповые и персональные посещения;
— Поможет получить от клиента отзывы о визите к вам;
— Включает в себя сервис чаевых.
Для новых пользователей первый месяц бесплатно.
Зарегистрироваться в сервисе

Рис.1 Классификация смесителей кормов
3.2. Устройство и работа запарников-смесителей
На рис. 2 представлен смеситель С-12А, предназначенный для приготовления кормовых смесей влажностью 60-80% из концентрированных, грубых, сочных кормов, предварительно измельченных до 10-50 мм. Конструкция машины позволяет проводить тепловую и термо-химическую обработку кормов низкого качеству, приготавливать жидкие кормовые добавки, а также обогащать кормовые смеси мелассой, карбамидными растворами и жидкими кормовыми дрожжами.
Смеситель состоит из корпуса (рис. 2), парораспределителя 11 с переключателем пара 8, двух лопастных мешалок 14, 15, шнека выгрузного 9, выгрузной горловины с клиновой задвижкой 10, шестеренчатого привода 6, привода клиновой задвижки и включения выгрузного шнека 1. крышки смесителя 3 с загрузочным люком 5.
Мешалки имеют по 8 лопастей, размещенных на валах по винтовой линии через 45 . Мешалки вращаются в разные стороны, правая (если смотреть со стороны привода) — по часовой стрелке. Она направляет кормовую массу в сторону привода. Левая мешалка, вращаясь против часовой стрелки, направляет корм в сторону выгрузной горловины с затвором 10. Одновременно с осевым перемещением масса делает вращательное движение в плоскости лопастей, в результате чего происходит интенсивное перемешивание.
Обе мешалки приводятся в работу от одного электродвигателя через клиноременную передачу, редуктор 7 и шестерни 6. В нижней части корпуса смесителя расположен выгрузной шнек 9; сблокированный с механизмом клиновой задвижки и включающийся в работу только после полного открытия выгрузной горловины.
Система управления выгрузным шнеком состоит из рычага управления 1 (рис. 3), трех обводных валиков 8, рычажной вилки включения 6 и троса 7.
При включении шнека рычаг 1 перемещают вправо (вниз), при этом трос освобождается и пружина кулачковой полумуфты вводит его в зацепление с полумуфтой на валу шнека. При выключении шнека рычаг 1 переводят верхнее положение, трос натягивается и размыкает кулачковую муфту 5. При включенном положении муфты зазор между вершинами кулачков должен быть равен 48 см. Его регулируют упорным винтом, установленным на опоре рычажной вилки включения 6. С этой системой сблокирована система управления клиновой задвижкой 4 выгрузной горловины.
Для подъема задвижки при разгрузке смесителя и опускания ее для перекрытия выходного отверстия по окончании разгрузки действуют рычагом 2, свободно вращающимся на той же оси, на которой установлен рычаг I управления шнеком. При переводе, рычага 2 вправо (вниз) система тяг 3 закрывает задвижку. При разгрузке смесителя сначала необходимо открыть выгрузную горловину, а затем уже можно включить в работу выгрузной шнек.
Блокировка обеих систем обеспечивается наличием на рычагах 1 и 2 специальных упоров, которые не позволяют включить шнек (повернуть рычаг 1) раньше, чем будет опущен рычаг 2, т.е. до открытия выгрузной горловины.
При запаривании кормов пар в смеситель подают через распределительные трубы, расположенные вне корпуса, в его нижней части. С каждой стороны корпуса на парораспределительных трубах установлено пять муфтовых кранов, управляемых одновременно через штанги и рычаги. От кранов внутрь корпуса идут (вварены) паропроводящие патрубки с отверстиями для выхода пара в массу корма.
Вода, молочные отходы, меласса, карбамидные растворы и другие жидкие добавки вводятся в смеситель по двум трубам, расположенным в верхней части корпуса. Отверстия в трубах расположёны так, что жидкие добавки подаются в зону интенсивного перемешивания кормов между мешалками.
Сверху смеситель закрывается девятью деревянными крышками, в одной из которых устроен загрузочный люк 5 с шиберной задвижкой.
Кроме смесителя С-12А наша промышленность выпускает смеситель подобного конструктивного исполнения С-7, АПС-6, С-2, различающиеся лишь габаритами. Цифра в марке этих смесителей обозначает полезный объем смесительной камеры (м3). Показатели работы смесителей приведены в таблице.
Таблица 1.
Показатели работы смесителей периодического действия
| Наименование показателей
|
Значение показателей смесителей
|
| С-12А
|
АПС-6
|
С-2
|
С-7
|
ВКС-3М
|
| 1
|
2
|
3
|
4
|
|
6
|
| Тип рабочего органа
|
Двухвальный лопастной
|
Одноваль-ный лопастной
|
| Масса загружаемого корма в зависимости от компонентов смеси, т
|
4,6-10,6
|
1,9-5,4
|
0,8-2,6
|
2,0-2,9
|
2,8
|
| Время перемешивания компонентов, мин.
|
10-15
|
10-15- .
|
10-20
|
10-20
|
10-15
|
| Производительность за 1 ч. чистой работы, т:
без запаривания
с запариванием
|
5-9
2,6-4
|
6-8,5 1,6-2,5
|
2,1-4,4 1-1,4
|
6-8,5
2,9
|
|
Окончание таблицы
| 1
|
2
|
3
|
4
|
5
|
6
|
| Со стерилизацией пищевых отходов
|
-
|
-
|
1-U
|
-
|
1,1-4,0
|
| Влажность смеси, %
|
80
|
67-68
|
58-74
|
80
|
58-74-
|
| Объемная масса, т/м3
|
0,94
|
0,6-0,9
|
0,6-07
|
0,6-0,8
|
0,6-0,7
|
| Качество смешивания -средний коэффициент вариации, %
|
13J6-16,4
|
13,1-14,2
|
12,7-16,4
|
14Д
|
25,6-35,1
|
| Удельный расход электроэнергии, кВт т/ч.
|
0,9-1,6
|
0,4-1,3
|
0,6-1,1
|
0,9-1,6
|
0,5-1,4
|
Основные показатели работы машин были получены при приготовлении мешанок разного состава для свиней. Для получения запаренной кормосмеси в камеру смесителя сначала заливают 60-70% воды от общего расчетного количества. Затем подают пар. Вода нагревается до 90о
C. В нагретую воду загружают те компоненты, которые должны быть запарены (картофель, концентраты, грубые корма и др.).
Во время запаривания мешалки смесителя должны работать, так как находящиеся в движении корм быстрее запаривается.
Время запаривания зависит от вида и объема корма, степени его измельчения, температуры пара. После запаривания в камеры смесителей доливают воду для охлаждения и загружают другие компоненты рационов.
Корм загружают следующим образом. При работающих мешалках включают электродвигатель управления задвижкой. Шток поднимается вверх, тянет за собой задвижку и открывает разгрузочную горловину.
Варочно-смёсительный котел ВКС-ЗМ
(плакат № 6К) предназначен для варки пищевых отходов, корнеклубнеплодов и смешивания их с концентрированными кормами.
Компоненты кормов загружают в котел на 2/3 его объема при включенной мешалки (при смешивании кормов в заполненном на весь объем запарнике увеличиваются расход энергии и рабочее время процесса). После заполнения котла его герметично закрывают, открывают впускной кран и подают пар. При запаривании мешалка должна периодически вращаться.
3.3. Устройство и работа смесителей-измельчителей непрерывного действие.
Измельчитель-смеситель кормов ИСК-3
(рис. 4) предназначен для измельчения и смешивания корма. Машина состоит го ножевого ротора 5, приемной 1, рабочей II и выгрузной Ш камер, расположенных одна над другой, бункера 11, выгрузного транспортера, пакетов противорезов, зубчатых дек 3, электродвигателя 7 и клиноременной передачи 9, снабженной натяжным роликом. Для введения в обрабатываемую массу жидких добавок предусмотрено по две форсунки 4 на приемной и на выгрузной камерах. Приемная и рабочая камеры соединены откидными креплениями. В стенках рабочей камеры имеется шесть окон, в которых устанавливают пакеты ножей-противорезов и зубчатые деки. Окна закрывают с наружной стороны кожухами 12.
На рабочем органе-роторе (рис. 5) размешены ярусами ножи-измельчителя, выполняющие также роль смесителей, и молотки. В нижней части ротора, расположенной в выгрузной камере, находится двухлопастная швырялка. Ножи и молотки размещены в пазах между фланцами 2, 4, 5, установленными на шлицах головки ротора при помощи специальных болтов 11 и пальцев 3.
Пакет ножей-противорезов собран на валу 14, установленном шарнирно на основании 13, прикрепляемом болтами к корпусу рабочей камеры. Основание и кронштейн вала соединены пружиной, под воздействием которой ножи-противорезы входят в рабочую камеру через прорези в пластине и удерживаются ею в рабочем положении. При попадании в камеру посторонних включений шарнирно-пружинное крепление противорезов позволяет им отклоняться без поломки и пропускать твердые предметы.
При работе измельчителя-смесителя корма загружаются в камеру I и попадают в зону взаимодействия ножей 6 верхнего яруса с режущими элементами ротора 5, где частично измельчаются. Затем частицы кормов увлекаются на гладкий участок внутренней поверхности камеры и под действием силы тяжести по спирали несколько перемещаются вниз. На пути своего движения частицы кормов встречаются зубчатые деки 3, и их скорость уменьшается.
Ножи следующего яруса, являясь более длинными, осуществляют дополнительное измельчение и дальнейшее продвижение частиц кормов. Благодаря этому одна часть измельченных кормов приобретает скорость большую, чем другая, что способствует проникновению одних частиц кормов в массу других и эффективному их смешиванию. При выходе на гладкий участок внутренней поверхности камеры измельченные частицы кормов опять перемещаются вниз, встречая на своем пути зубчатые грани ножей 3 и режущих элементов 4 нижнего яруса, взаимодействующих между собой. В этом месте происходит окончательное измельчение частиц кормов вдоль волокон.
В процессе измельчения режущие элементы под действием силы резания постоянно колеблются, поворачиваясь на валу 14, автоматически выбирая оптимальные углы резания и обеспечивая равномерный износ режущих частей измельчителя-смесителя. При попадании в камеру 1 твердых посторонних предметов режущие элементы 6 отклоняются на большую величину, выходя за пределы внутренней поверхности камеры, обеспечивают свободное прохождение твердых предметов, предотвращая поломку режущих частей и их заклинивание.
В машину подают на смешивание предварительно измельченные компоненты, причем перед эти снимают диаметрально расположенные пластины с противорезами и устанавливают деки. При необходимости доизмельчения компонентов смеси оставляют на месте три пакета противорезов и три зубчатые деки, чередуя их в окнах рабочей камеры.
При измельчении одного вида корма или нескольких компонентов, подлежащих измельчению и смешиванию, в окнах устанавливают все шесть пакетов противорезов.
Производительность машины, работающей на смешивании, может доходить до 25 т/ч, на смешивании с частичным доизмельчением -до 5 т/ч, на измельчении,, например, соломы - до 3-4. т/ч при длине резки до 30 мм и 4-8 т/ч при длине резки до 50 мм.
Степень измельчения регулируют, изменяя число ножей на роторе, число противорезов и времянахождения продукта в рабочей камере (при помощи кольцевого шибера, установленного над швырялкой).
Машина обеспечивает смешивание силоса, соломы, корнеплодов и комбикорма со степенью равномерности 80-90%; установленная мощность двигателя 39,2 кВт; частота вращения ротора 17 с-1
; габариты машины 1600 х 1090 х 1150 мм; масса с выгрузным транспортером 2200 кг. Обслуживает измельчитель-смеситель один рабочий.
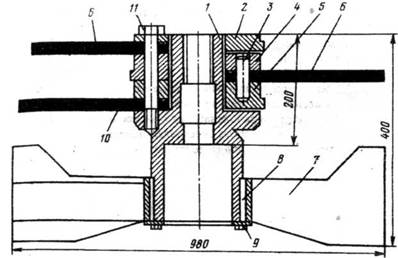
| Рис. 2. Смеситель-запарник С-12А: 1 - шток; 2 - тяга; В - крышка; 4 - задержка; 5 - люк загрузки;
6 - шестерня; 7 - привод; 8 - переключатель пара; 9 - шнек; 10 - клиновой затвор; П - парораспределитель; 12 - предохранительная сетка; 13 - вал; 14, 15 - лопастные мешалки
|
Рис. 3. Схема смесителя С-12А:
Система управления: I рычаг управления шнека; 2 - рычаг выгрузного шнека; 3 - тяга; 4 - клиновая задвижка; 5 - механизмы включения; 6 - вилка включения; 7 - трос; 8 -обводной валик

Рис. 4. Измельчитель-смеситель ИСК-3:
1 -рама; 2 - швырялка; 3 - зубчатая дека; 4 - форсунка; 5 -ротор; б - нож противореза; 7 - электродвигатель; 8 - шибер; 9 - клиноременный привод; 10 - натяжной ролик; 11 - бункер выгрузного транспортера; 12 - кожух; 13 - основание; 14 - вал; I - приемная камера; II - камера измельчения и смешивания; III - выгрузная камера

Рис. 5. Ротор измельчителя-смесителя:
1 - шлицевая головка ротора; 2, 4, 5 - шлицевые фланцы; 3 - палец; 6 - ножи; 7 - швырялка; 8 - шпонка; 9 - диск; 10 - молоток; 11 - специальный болт
Литература
1. Мельников СВ. Механизация и автоматизация животноводческих ферм. -М.: Колос, 1978. 560 с.
2. Белянчиков Н.Н.Г Смирнов А.И. Механизация животноводства и кормоприготовления. - 3-е изд., перераби доп. - М.: Агропромиздат, 1990. - 432 с.
3. Завражнов А.И., Николаев Ф.И. Механизация приготовления и хранения кормов. - М.: Агропромиздат, 1990. - 336 с.
СОДЕРЖАНИЕ
1. Программа работы 3
2. Содержание отчета 3
3. Содержание работы 3
3.1. Назначение запарников-смесителей и смесителей- измельчителей 3
Устройство и работа запарников-смесителей 5
Устройство и работа смесителей-измельчителей непрерывного действия. 9
Федоренко Иван Ярославович
Бец Анатолий Карлович
УСТРОЙСТВО ЗАПАРНИКОВ-СМЕСИТЕЛЕЙ И СМЕСИТЕЛЕЙ-ИЗМЕЛЬЧИТЕЛЕЙ КОРМОВ.
Методические указания к лабораторной работе по курсу: «Механизация и автоматизация технологических процессов в растениеводстве и животноводстве».
Редактор Л.Г. Иванова
Тех. редактор И.Ю. Александров
|