| РОССИЙСКОЕ ОТКРЫТОЕ АКЦИОНЕРНОЕ ОБЩЕСТВО ЭНЕРГЕТИКИ И ЭЛЕКТРИФИКАЦИИ "ЕЭС РОССИИ"
ДЕПАРТАМЕНТ НАУЧНО-ТЕХНИЧЕСКОЙ ПОЛИТИКИ И РАЗВИТИЯ
| Рассмотрено
на НТС ОАО РАО "ЕЭС России"
и рекомендовано в качестве отраслевых Методических указаний. Протокол № 3 от 05.02.2004 г.
|
Утверждено
ОАО РАО "ЕЭС России" 13.02.2004г.
Заместитель Председателя Правления
В.П. Воронин
|
МЕТОДИЧЕСКИЕ УКАЗАНИЯ
ПО ОПРЕДЕЛЕНИЮ ЭЛЕКТРОМАГНИТНЫХ ОБСТАНОВКИ И СОВМЕСТИМОСТИ НА ЭЛЕКТРИЧЕСКИХ СТАНЦИЯХ И ПОДСТАНЦИЯХ
Стандарт организации
СО 34.35.311-2004
УДК 621
Разработано
Московским энергетическим институтом (МЭИ ТУ), научно-производственной фирмой "Электротехника: наука и практика" (НПФ ЭЛНАП)
Исполнители:
Авторский коллектив под руководством члена-корреспондента РАН РФ, доктора техн. наук, проф. А.Ф. Дьякова в составе: Б.К. Максимов, Р.К. Борисов (МЭИ ТУ), А.В. Жуков (филиал ОАО "СО-ЦЦУ ЕЭС" ОДУ Центра), А.К. Белотелов (ОАО "Федеральная сетевая компания"), М.Н. Смирнов (НПФ ЭЛНАП)
Срок первой проверки настоящего стандарта - 2009 г., периодичность проверки - один раз в 5 лет.
Введено впервые
Настоящие Методические указания предназначены для определения электромагнитных обстановки и совместимости на электрических станциях и подстанциях в местах расположения автоматических и автоматизированных систем технологического управления (АСТУ). К ним относятся автоматизированные системы диспетчерского управления, системы автоматического регулирования напряжения, системы автоматического регулирования частоты и мощности, релейная защита и автоматика, автоматизированные системы управления технологическими процессами, системы сбора и передачи информации и автоматизированные системы коммерческого учета электроэнергии (АСДУ, АРН, АРЧМ, РЗА, АСУТП, ССПИ и АСКУЭ).
В Методических указаниях приведена расчетно-экспериментальная методика определения наибольших уровней электромагнитных помех, воздействующих на аппаратуру автоматических и автоматизированных систем технологического управления энергообъектами в процессе эксплуатации. Указана измерительная техника, применяемая при измерениях, а также используемые при расчетах программные продукты.
Настоящие Методические указания распространяются на тепловые электростанции, гидроэлектростанции, межсистемные и региональные электрические сети класса напряжения 6-750 кВ Российской Федерации.
Забиваем Сайты В ТОП КУВАЛДОЙ - Уникальные возможности от SeoHammer
Каждая ссылка анализируется по трем пакетам оценки: SEO, Трафик и SMM.
SeoHammer делает продвижение сайта прозрачным и простым занятием.
Ссылки, вечные ссылки, статьи, упоминания, пресс-релизы - используйте по максимуму потенциал SeoHammer для продвижения вашего сайта.
Что умеет делать SeoHammer
— Продвижение в один клик, интеллектуальный подбор запросов, покупка самых лучших ссылок с высокой степенью качества у лучших бирж ссылок.
— Регулярная проверка качества ссылок по более чем 100 показателям и ежедневный пересчет показателей качества проекта.
— Все известные форматы ссылок: арендные ссылки, вечные ссылки, публикации (упоминания, мнения, отзывы, статьи, пресс-релизы).
— SeoHammer покажет, где рост или падение, а также запросы, на которые нужно обратить внимание.
SeoHammer еще предоставляет технологию Буст, она ускоряет продвижение в десятки раз,
а первые результаты появляются уже в течение первых 7 дней.
Зарегистрироваться и Начать продвижение
Работы, проводимые в соответствии с Методическими указаниями, выполняет персонал специализированных организаций и испытательных электролабораторий, электростанций, электросетевых объектов, проектных, строительно-монтажных и наладочных организаций, имеющий необходимые технические средства и право на проведение соответствующих работ.
ВВЕДЕНИЕ
Методические указания по определению электромагнитных обстановки и совместимости на электрических станциях и подстанциях (далее Методические указания) разработаны в рамках научно-исследовательской и опытно-конструкторской работы "Разработка нормативных и методических документов для проектирования и эксплуатации объектов электроэнергетики на основе обеспечения электромагнитной совместимости", выполненной Московским энергетическим институтом (МЭИ ТУ) совместно с научно-производственной фирмой ЭЛНАП в период с 2001 по 2002 г. по техническому заданию РАО "ЕЭС России".
Методические указания содержат четыре главы, список рекомендуемой литературы и семь приложений.
В главе 1 изложены методические основы определения электромагнитной обстановки (ЭМО) на электрических станциях и подстанциях.
В главе 2 дано краткое описание каждого электромагнитного воздействия; определены необходимые для проведения экспериментов и расчетов исходные данные; указан порядок проведения имитационных и натурных экспериментов; рассмотрены методы обработки результатов экспериментов и проведения расчетов.
В главе 3 указаны меры безопасности при проведении экспериментальных работ, в главе 4 - периодичность проведения работ по определению ЭМО обстановки.
В приложении А приведена рекомендуемая форма рабочей программы для проведения экспериментов на энергообъекте.
В приложении Б рекомендованы формы протоколов, в которых должны заноситься результаты измерений и расчетов, а также указываются допустимые значения электромагнитных воздействий на аппаратуру АСТУ. На основании сравнения допустимых и определенных по результатам измерений и расчетов значений делают заключение о выполнении условий электромагнитной совместимости на данном энергообъекте. Если определение ЭМО проводят на этапе пред проектных изысканий, когда не определен тип аппаратуры, в протоколе указывают необходимую степень жесткости испытаний на помехоустойчивость для аппаратуры АСТУ.
Сервис онлайн-записи на собственном Telegram-боте
Попробуйте сервис онлайн-записи VisitTime на основе вашего собственного Telegram-бота:
— Разгрузит мастера, специалиста или компанию;
— Позволит гибко управлять расписанием и загрузкой;
— Разошлет оповещения о новых услугах или акциях;
— Позволит принять оплату на карту/кошелек/счет;
— Позволит записываться на групповые и персональные посещения;
— Поможет получить от клиента отзывы о визите к вам;
— Включает в себя сервис чаевых.
Для новых пользователей первый месяц бесплатно.
Зарегистрироваться в сервисе
В приложении В приведен справочный материал по видам испытаний на помехоустойчивость и значениям испытательных воздействий для различных степеней жесткости испытаний.
В приложениях Г и Е указаны основные требования к измерительным средствам, устройствам для имитации электромагнитных воздействий и программам расчета. Рекомендованы некоторые конкретные приборы, устройства и также программы, которые были апробированы при проведении работ по определению ЭМО на энергообъектах РАО "ЕЭС России".
В приложении Д даны пояснения по имитации короткого замыкания (КЗ) на шинах распределительных устройств (РУ).
В приложении Ж рекомендованы общие мероприятия по улучшению электромагнитной обстановки.
ПЕРЕЧЕНЬ ОСНОВНЫХ ОПРЕДЕЛЕНИЙ
Аппаратура
- совокупность приборов (элементов) с функциями, определенными их техническим назначением.
Естественный заземлитель
- находящиеся в соприкосновении с землей электропроводящие части коммуникаций, зданий и сооружений производственного или иного назначения, используемые для целей заземления.
Заземлитель
- проводник или совокупность металлически соединенных между собой проводников, находящихся в соприкосновении с землей.
Заземляющее устройство
- совокупность заземлителя и заземляющих проводников.
Заземляющий проводник
- проводник, соединяющий заземляемые части с заземлителем.
Излучаемая электромагнитная помеха
- электромагнитная помеха, распространяющаяся в пространстве.
Кондуктивная электромагнитная помеха
- электромагнитная помеха, распространяющаяся в проводящей среде.
Молниезащитное устройство
- система, предназначенная для защиты зданий или сооружений, оборудования и людей от воздействий молнии.
Параллельный заземленный проводник
- проводник, предназначенный для снижения уровня наведенного на кабель напряжения и токовой нагрузки в экране кабеля.
Противофазная (несимметричная) помеха
- напряжение между проводником и регламентированным эталоном, обычно землей.
Пульсации напряжения постоянного тока
- процесс периодического или случайного изменения постоянного напряжения относительно его среднего уровня в установившемся режиме работы источника, преобразователя электрической энергии или системы электроснабжения.
Разряд статического электричества
- импульсный перенос электростатического заряда между телами с разными электростатическими потенциалами при непосредственном контакте или при сближении их на некоторое, достаточно маленькое расстояние.
Синфазная (симметричная) помеха
- напряжение между любыми двумя проводниками из заданной группы активных проводников.
Устойчивость к электромагнитной помехе, помехоустойчивость
- способность технических средств сохранять заданное качество функционирования при воздействии на него регламентированных стандартами электромагнитных помех.
Уровень устойчивости к электромагнитной помехе, уровень помехоустойчивости (допустимый уровень)
- максимальный уровень электромагнитной помехи конкретного вида, воздействующей на определенное техническое средство (устройство), при котором техническое средство сохраняет заданное качество функционирования.
Экран
- устройство, используемое для уменьшения электромагнитного поля, проникающего в защищаемую область.
Электромагнитная совместимость технических средств (ЭМС ТС)
- способность технических средств (устройств) функционировать с заданным качеством в определенной электромагнитной обстановке, не создавая при этом недопустимых электромагнитных помех другим техническим средствам и недопустимых электромагнитных воздействий на биологические объекты.
Электромагнитная обстановка
- совокупность электромагнитных явлений и (или) процессов в данной области пространства и (или) данной проводящей среде в заданных частотном и временном диапазонах.
Электромагнитная помеха
- электромагнитное явление, процесс, которые ухудшают или могут ухудшить качество функционирования технических средств (устройств).
Электромагнитное воздействие
- электромагнитное явление или процесс, которые влияют или могут повлиять на технические средства (устройства) и биологические объекты.
Электромагнитное излучение от источника помехи
- явление, процесс, при котором электромагнитная энергия излучается источником помехи в пространство в виде электромагнитного поля.
Энергообъект
- совокупность электроустановок, зданий и сооружений, функционально связанных друг с другом и территориально приближенных.
Эквивалентное удельное сопротивление грунта
- значение удельного сопротивления однородного грунта, в котором заземлитель имеет то же сопротивление растеканию тока, что и в грунте многослойной структуры.
1. ОСНОВНЫЕ ПОЛОЖЕНИЯ
Методические указания предназначены для решения актуальной комплексной задачи: определения наиболее неблагоприятной ЭМО, характеризуемой наибольшими, но реально возможными электромагнитными воздействиями в местах расположения аппаратуры АСТУ; проверки электромагнитной совместимости (ЭМС) АСТУ на действующих объектах и в случае необходимости разработки предложений по улучшению ЭМО; разработки требований по классам жесткости испытаний на помехоустойчивость аппаратуры АСТУ, устанавливаемой на объектах.
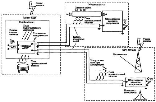
Пример, иллюстрирующий источники электромагнитных помех на электрических станциях и подстанциях, приведен на рис. 1.
Характерными источниками электромагнитных воздействий в нормальных и аварийных режимах, которые могут оказывать влияние на АСТУ, являются:
напряжения и токи промышленной частоты при КЗ на землю в распределительных устройствах напряжением выше 1 кВ;
импульсные помехи при коммутациях и КЗ в распределительных устройствах;
импульсные помехи при ударах молнии;
электромагнитные поля радиочастотного диапазона;
разряды статического электричества;
магнитные поля промышленной частоты;
импульсные магнитные поля;
помехи, связанные с возмущениями в цепях питания АСТУ постоянного и переменного тока.
Дополнительными источниками электромагнитных воздействий на электрических станциях и подстанциях, которые могут вызвать сбои в работе АСТУ, являются такие виды вспомогательного электрооборудования как мощные преобразователи, сварочные аппараты, осветительные приборы, мощные тяговые механизмы, бытовые электроприборы, электроинструмент и др.
Методические указания определяют порядок проведения измерений и расчетов, необходимых для получения количественных данных о наибольших значениях электромагнитных воздействий.
Достоверные результаты по неблагоприятной ЭМО на энергообъекте могут быть получены лишь при сочетании экспериментальных (натурные эксперименты, имитация электромагнитных воздействий) и расчетных методов.

Рис. 1. Источники электромагнитных помех:
ГЩУ - главный щит управления; ОРУ - открытое распределительной устройство
Натурные эксперименты на действующем объекте не могут воспроизвести все возможные режимы, например, КЗ на шинах распределительных устройств (РУ) или удары молнии, а натурные коммутации силового оборудования, сопровождающиеся измерениями в цепях устройств АСТУ, ограничиваются по условиям работы энергообъекта разовыми экспериментами, как правило, не экстремальными с точки зрения уровней электромагнитных воздействий.
Опыты по имитации электромагнитных воздействий позволяют экспериментально существенно расширить возможности по выявлению наибольших уровней электромагнитных, помех.
Натурные и имитационные эксперименты проводят на действующем объекте. Методика экспериментов и технические средств (например, имитаторы воздействий и измерительные приборы) предусматривают проведение работ по определению ЭМО таким образом, чтобы не нарушать нормальную работу энергообъекта и не повреждать устройства АСТУ.
Комплексное сочетание натурных экспериментов с имитацией электромагнитных воздействий и численным анализом полученных результатов позволяет получить картину наиболее неблагоприятной ЭМО.
По результатам измерений и расчетов определяют требования по помехоустойчивости устройств, устанавливаемых на энергообъекте. Если уровень электромагнитных помех (ЭМП) превышает уровень помехоустойчивости устройств, должны быть разработаны мероприятия по снижению уровня помех до допустимых значений.
2. ПРОВЕДЕНИЕ ИЗМЕРЕНИЙ И РАСЧЕТОВ ПО ОПРЕДЕЛЕНИЮ ЭМО
Методика определения ЭМО на энергообъекте включает в себя следующие основные этапы:
получение исходных данных об энергообъекте для проведения работ;
экспериментально-расчетное определение ЭМО на объекте;
определение соответствия между уровнями помехоустойчивости устройств АСТУ, установленных на объекте, и ЭМО в местах размещения этих устройств или степени жесткости испытаний на помехоустойчивость устройств, которые будут установлены на объекте.
Для проведения экспериментальных работ создают рабочую программу (приложение А). По результатам работ составляют технический отчет и оформляют протоколы результатов измерений и расчетов по всем указанным видам электромагнитных воздействий (приложение Б). В протоколах дается сопоставление возможных уровней воздействий на АСТУ с их помехоустойчивостью (приложение В) и заключение об уровне электромагнитной совместимости, а также дополнительные рекомендации по ее обеспечению в случае необходимости.
2.1. Напряжения и токи промышленной частоты при КЗ на шинах РУ
При КЗ на землю на шинах РУ в сетях с эффективно заземленной нейтралью наибольший ток промышленной частоты протекает по заземляющему устройству (ЗУ) при однофазном (двухфазном) КЗ на землю. Потенциал на ЗУ при этом распределяется неравномерно. Если значение разности потенциалов на ЗУ превысит испытательное напряжение для контрольных кабелей, подходящих к оборудованию или устройствам АСТУ, возможно обратное перекрытие изоляции кабелей или устройств. Кроме того, ток КЗ, распределяясь по заземленным оболочкам, броне и экранам кабелей, вызовет повреждение кабелей, если будут превышены допустимые по термической стойкости нагрузки.
Ток КЗ на землю на шинах РУ в общем случае складывается из тока КЗ от трансформаторов/автотрансформаторов (Т/АТ) и тока КЗ от энергосистемы (ЭС) (рис. 2). От места КЗ ток возвращается в нейтраль Т/АТ и ЭС через заземляющее устройство и непосредственно через землю.

Рис. 2. Схема растекания тока при коротком замыкании на землю

Рис. 3. Распределение потенциалов на ЗУ:
- суммарное; - от тока Т/АТ; - от тока ЭС
Если в соответствии с методом суперпозиции рассмотреть распределение потенциалов на ЗУ при протекании тока КЗ от Т/АТ и распределение потенциалов при протекании тока от ЭС, то получим суммарное распределение потенциалов (рис. 3).
В сетях с изолированной нейтралью протекание большого тока по ЗУ возможно при двойном замыкании на землю. В этом случае ток протекает от точки замыкания на землю одной фазы до точки замыкания на землю другой фазы. Распределение потенциалов на ЗУ будет аналогично тому, как при протекании тока от Т/АТ (рис. 2, 3).
Для того чтобы определить возможные уровни воздействующих на кабели АСТУ напряжений и токов при различных замыканиях на землю, проводят измерения распределения потенциалов и токов на заземляющем устройстве при имитации этих режимов.
2.1.1. Исходные данные
Исходными данными для проведения измерений и расчетов напряжений и токов, воздействующих на контрольные кабели при КЗ на землю, являются:
схема расположения оборудования с трассами прокладки кабелей цепей вторичной коммутации;
расчетные значения токов однофазного и двухфазного КЗ на каждом из РУ 110 кВ и выше и токов двойного замыкания на РУ 6-35 кВ;
удельное сопротивление грунта (геоэлектрический разрез).
2.1.2. Имитация КЗ на землю (составляющая тока КЗ промышленной частоты).
2.1.2.1. Составляют исполнительную схему заземляющего устройства в соответствии с "Методическими указаниями по контролю состояния заземляющих устройств электроустановок. РД 153-34.0-20.525-00" с помощью технических средств, указанных в приложении Г.
При составлении исполнительной схемы ЗУ особое внимание уделяют заземлению трансформаторов и автотрансформаторов, связям ЗУ зданий релейного щита (РЩ) и главного щита управления (ГЩУ) с основным заземлителем и связям между заземлителями РУ разного напряжения. Определяют все возможные связи: по проводникам заземлителя, броне, оболочкам и экранам силовых и контрольных кабелей, трубам подачи сжатого воздуха и пожаротушения и т.п. Определяют поперечное сечение проводников заземлителя при выборочном вскрытии грунта не менее, чем в трех различных местах.
2.1.2.2. На основании полученной схемы прокладки проводников заземлителя выбирают оборудование, на котором при КЗ на землю ожидается наибольший потенциал. Такими местами являются (приложение Д) оборудование, присоединенное к сетке заземлителя наиболее длинными связями; оборудование, у которого выявлено отсутствие металлосвязи с основным заземлителем; оборудование, наиболее удаленное от места установки аппаратуры АСТУ (например, от релейного щита).
2.1.2.3. Для наиболее опасных выбранных мест имитируют КЗ на корпус оборудования и измеряют распределение потенциалов по заземляющему устройству: в точке КЗ, в местах установки устройств АСТУ и в местах возможного воздействия опасного напряжения на кабели (например, на заземляющих проводниках в кабельных каналах) (рис. 4).

Рис. 4. Пример схемы проведения измерений на подстанции высокого напряжения (ВН) при имитации КЗ на землю
2.1.2.4. Имитацию КЗ проводят при помощи генератора синусоидального тока (ГСТ) и комплекта реостатов (приложение Д). Сопротивление реостатов подбирают таким, чтобы распределение токов (в процентном соотношении), протекающих по элементам заземляющего устройства (оборудования, нейтралям Т, AT), было идентичным с распределением токов при реальных КЗ.
Имитация КЗ может быть проведена без применения реостатов. В этом случае имитируют отдельно каждую составляющую тока КЗ: от каждого трансформатора (автотрансформатора) и от энергосистемы.
2.1.2.5. Если напряжение, воздействующее на изоляцию кабелей и устройств, превышает допустимое значение, имитацию КЗ проводят на каждом оборудовании, к которому подходят кабели цепей вторичной коммутации.
2.1.2.6. При имитации КЗ также измеряют токи, проходящие от оборудования в заземлитель по заземляющему проводнику, трубопроводам, металлоконструкциям и кабелям (оболочка, броня, экран).
Измерения проводят с помощью селективных к частоте ГСТ токовых клещей. Измеряют ток от ГСТ и в процентах к нему токи, проходящие по естественным и искусственным частям ЗУ.
2.1.3. Обработка результатов измерений и проведение расчетов
2.1.3.1. Значения токов и напряжений, полученные в результате имитационных измерений, пересчитывают к реальным значениям тока КЗ (приложение Д).
2.1.3.2. Результаты измерений зависят от удельного сопротивления грунта и поэтому их пересчитывают для наиболее неблагоприятных климатических условий. Измерения дополняют расчетами по расчетной программе (приложение Е). Результаты измерений используют для тестирования расчетов.
2.1.3.3. Полученную схему ЗУ вводят в расчетную программу. В программе воспроизводят имитационные воздействия, выполненные на объекте, и производят сравнение расчетов с измерениями. При расхождении расчетных и экспериментальных значений более, чем на 15%, проводят дополнительные измерения по уточнению параметров схемы ЗУ.
2.1.3.4. После достижения совпадения результатов в пределах 15% считают, что расчетная схема ЗУ соответствует реальной. Далее проводят расчеты распределения напряжений по ЗУ и токов в экранах, оболочке или броне кабелей для каждого из оборудования при удельном сопротивлении грунта, соответствующем наиболее неблагоприятным климатическим условиям.
2.1.3.5. Результаты измерений и расчетов оформляют в протоколе № 1 (приложение Б).
В случае необходимости снижения уровней воздействующих токов и напряжений промышленной частоты выбирают мероприятия, указанные в приложении Ж, после чего повторно выполняют пункты § 2.1.
2.2. Импульсные помехи при коммутациях силового
оборудования и коротких замыканиях на шинах распределительного устройства
Возникновение импульсных помех в цепях вторичной коммутации связано со следующими воздействиями в первичных цепях: КЗ на землю на шинах РУ; коммутации разъединителями, короткозамыкателями и выключателями; срабатывания разрядников.
2.2.1. Исходные данные
Исходными данными для проведения измерений и расчетов импульсных помех являются:
электрическая оперативная схема;
план расположения оборудования с трассами прокладки кабелей;
состав и расположение аппаратуры АСТУ;
электрические связи аппаратуры с силовым оборудованием (по кабельному журналу);
удельное сопротивление грунта (геоэлектрический разрез);
места заземления цепей напряжения и тока АСТУ;
сечение и высоты подвеса шин ВН на ОРУ, конструкция фазы.
2.2.2. Импульсные помехи, обусловленные увеличением потенциала заземлителя
При коммутациях (через паразитные емкости оборудования на землю) и коротких замыканиях на землю в ЗУ проходит импульсный ток высокой частоты. На оборудовании возникает скачок потенциала. Возросший потенциал с определенным коэффициентом ослабления передается по кабелям на вход устройств АСТУ.
2.2.2.1. Имитация импульсных помех
Высокочастотную (ВЧ) составляющую тока короткого замыкания имитируют при помощи генератора высокочастотных импульсов - ГВЧИ (приложение Г). Схема экспериментов приведена на рис. 5. Для измерений выбирают цепи, где ожидается наибольший уровень помех. Такими являются цепи, для которых входное сопротивление на устройствах в нормальном режиме больше 1 кОм (например, разомкнутый контакт).

Рис. 5. Схема эксперимента по определению импульсных помех при протекании высокочастотной составляющей тока КЗ
2.2.2.1.1. Генератор высокочастотных импульсов (ГВЧИ) подключают одним выходом к заземляющему проводнику оборудования на РУ, к которому подходят кабели от устройств АСТУ, а второй выход генератора заземляют на расстоянии не менее 50 м от данного оборудования.
Высокая частота обусловливает резко неравномерное распределение потенциала на ЗУ. Чем меньше удельное сопротивление грунта, тем быстрее спадает потенциал на ЗУ. При частоте 1 МГц на расстоянии 50 м от точки ввода импульсного тока потенциал падает более чем в 10 раз даже при удельном сопротивлении грунта 1 Ом×м.
Необходимое расстояние между оборудованием и местом заземления второго выхода генератора определяют по табл. 1.
Таблица 1
| Удельное сопротивление грунта r, Ом×м
|
Необходимое расстояние до места заземления второго выхода генератора, м
|
| £ 1000
|
50
|
| 1000-2000
|
60
|
| 2000-5000
|
70
|
| 5000-10000
|
80
|
| 10000-15000
|
90
|
2.2.2.1.2. В заземляющий проводник оборудования подают от ГВЧИ колебательный затухающий импульс с амплитудой от 2 до 20 А и более, декрементом колебания 3-5 и различной частотой колебаний (не менее трех значений частоты колебаний). На реальных объектах частота колебаний импульсных помех может изменяться от десятков килогерц до десятков мегагерц. Измерения при трех различных частотах позволяют установить зависимость импульсного сопротивления ЗУ оборудования и уровня импульсных помех от частоты. При пересчете к реальному значению тока используют полученную зависимость для определения импульсного сопротивления на частоте, которая наиболее близка к основной частоте высокочастотной (ВЧ) составляющей тока КЗ.
2.2.2.1.3. На входах устройств АСТУ импульсным вольтметром V или осциллографом измеряют фоновые значения помех при выключенном генераторе.
2.2.2.1.4. Включают генератор и при фиксированных амплитуде и частоте колебаний импульса тока проводят измерения импульсным вольтметром или осциллографом синфазных и противофазных помех на зажимах в месте подключения кабелей к устройствам АСТУ.
2.2.2.1.5. Одновременно с измерением помех в цепях вторичной коммутации проводят измерение потенциала на заземляющем проводнике оборудования и определяют импульсное сопротивление Z
имп.обор
растеканию тока как отношение максимальных значений напряжения и выходного тока генератора. Потенциал на заземляющем оборудовании измеряют с помощью импульсного вольтметра относительно земли на расстоянии не менее 50 м (табл. 1) в противоположном направлении от места заземления генератора.
2.2.2.1.6. Изменяют частоту колебаний импульса тока и повторяют измерения по пп. 2.2.2.1.4 и 2.2.2.1.5.
2.2.2.1.7. Допускается выбрать не менее двух образцов однотипного оборудования, например выключателей, и провести измерение импульсных помех в цепях вторичной коммутации только этого оборудования.
2.2.2.1.8. Затем рассчитывают коэффициент передачи К
перед
= U
заз.обор
/U
пом,имит
= I
имит
Z
имп.обор
/U
пом,имит
показывающий, как уменьшается амплитуда при прохождении импульса напряжения по кабелю от оборудования до устройств АСТУ. Здесь U
заз.обор
= I
имит
Z
имп.обор
- потенциал на заземляющем проводнике оборудования; I
имит
- ток от генератора при имитационных измерениях; U
пом,имит
- напряжение помехи во вторичных цепях.
2.2.2.1.9. Если расстояния от наиболее удаленного и наиболее близкого образцов выбранной группы оборудования до места установки аппаратуры АСТУ различаются более чем в 1,5 раза, К
перед
рассчитывают для наиболее близкого и наиболее удаленного образцов оборудования. В промежуточных случаях К
перед
определяют линейной интерполяцией. Для РУ, где число ячеек превышает 10, выполняют измерения и на одном-двух промежуточных образцах оборудования.
2.2.2.1.10. Измерения по пп. 2.2.2.1.1-2.2.2.1.9 проводят также для других групп оборудования и определяют К
перед
для каждой группы оборудования. Для трансформаторов напряжения, вторичные цепи которых заземляют на РУ, измерения проводят для всех образцов оборудования.
2.2.2.1.11. Для каждого образца оборудования, к которому подходят кабели от устройств АСТУ, измеряют Z
имп.обор
.
2.2.2.2. Обработка результатов измерений и проведение расчетов
Результаты измерений помех во вторичных цепях пересчитывают к наибольшему возможному значению ВЧ-составляющей тока КЗ - I
ВЧ
. Реальный ток КЗ определяют расчетом или для приближенной оценки используют данные из табл. 2.
Таблица 2
Наибольшие значения высокочастотной составляющей тока КЗ
| I
ВЧ
|
Номинальное напряжение подстанции U
ном
|
| 110
|
220
|
330
|
500
|
750
|
| Число частей шин, подходящих к месту КЗ
|
| 1
|
4
|
1
|
4
|
1
|
4
|
1
|
4
|
1
|
4
|
| 
|
0,48
|
1,9
|
0,95
|
3,8
|
1,15
|
6,2
|
2,75
|
11,0
|
4,75
|
19,0
|
| 
|
0,55
|
2,2
|
1,1
|
4,25
|
1,8
|
7,0
|
3,2
|
12,8
|
4,4
|
17,6
|
| 
|
0,88
|
3,5
|
1,8
|
7,1
|
2,2
|
8,7
|
3,3
|
15,3
|
5,4
|
21,5
|
Примечание. Здесь - амплитуда импульса тока в заземлителе при КЗ на РУ с подключенным ОПН (ограничитель перенапряжения нелинейный); и - то же при КЗ на РУ с РВ при минимальном и максимальном значениях, пробивного напряжения разрядника (разрядник вентильный).
2.2.2.2.1. Напряжение помехи при КЗ определяют как
U
пом,к
= I
ВЧ
Z
имп.обор/
К
перед
.
2.2.2.2.2. Полученное значение сравнивают с допустимым для устройств значением. Если не определен тип устройств, устанавливаемых на объекте, указывают степень жесткости испытаний на помехоустойчивость.
2.2.2.2.3. Результаты измерения импульсного сопротивления используют для определения возможности обратного перекрытия с заземления оборудования на вторичные цепи.
Перекрытие наиболее вероятно на контактах клеммника, к которому присоединены вторичные цепи оборудования. Пробивное напряжение межконтактной изоляции типовых клеммников при импульсном воздействии на частотах выше 100 кГц составляет не менее 10 кВ.
Таким образом, необходимое условие отсутствия обратною перекрытия U
заз.обор
< 10 кВ.
2.2.2.2.4. Результаты измерений и расчетов оформляют в виде протокола № 2 (приложение Б).
2.2.3. Импульсные излучаемые помехи
При коммутациях первичного оборудования и при КЗ на шинах РУ протекают импульсные токи. Электромагнитные поля от этих токов создают импульсные помехи в цепях вторичной коммутации. Наибольший уровень излучаемых помех отмечают при КЗ на шинах РУ.
2.2.3.1. Имитация импульсных излучаемых помех
2.2.3.1.1. Для каждого РУ с использованием исходных данных определяют трассы прокладки кабелей от оборудования высокого напряжения до помещений, где установлены устройства АСТУ.
2.2.3.1.2. Для всех кабельных трасс выбирают главные участки, по которым проходит основная часть кабелей. Конфигурация главного участка может быть прямолинейной или сложной, состоящей из двух отрезков (например, пересекающихся под прямым углом). Эти участки используют для имитации воздействия электромагнитного поля.
2.2.3.1.3. Если на РУ имеется несколько кабельных трасс (например, одна трасса в виде кабельного тоннеля и одна трасса в виде кабельного лотка), для измерений выбирают главные участки на каждой трассе.
2.2.3.1.4. Для проведения измерений из всех видов кабелей, проходящих по рассматриваемому участку трассы, выбирают по 1-2 образца каждой группы наиболее длинных кабелей: с экраном, без экрана, в оболочке. Кабели подбирают таким образом, чтобы в них имелись либо свободные жилы (с неповрежденной изоляцией), либо рабочие жилы, у которых нагрузка со стороны устройств имеет сопротивление более 1 кОм.
2.2.3.1.5. Вдоль кабельных трасс, по которым проложены выбранные для измерений кабели, прокладывают контрольные провода. Контрольные провода прокладывают по поверхности грунта рядом с каналом или лотком таким образом, чтобы длина провода была примерно равна длине кабеля.
2.2.3.1.6. Параллельно выбранному участку кабельной трассы (на расстоянии не менее 5 м от контрольного провода) на высоте 1-1,5 м подвешивают провод, моделирующий шины ВН. К этому проводу подключают генератор высокочастотных импульсов - ГВЧИ (рис. 6).

Рис. 6. Схема имитации излучаемых помех
2.2.3.1.7. На контрольном проводе и на выбранных кабелях при выключенном генераторе в месте установки устройств АСТУ измеряют фоновые значения напряжения помех импульсным вольтметром V.
2.2.3.1.8. Включают генератор и при фиксированных амплитуде и частоте колебаний импульса тока проводят измерения наведенных помех на контрольном проводе (U
пров
) и на выбранных кабелях (U
цепи
) импульсным вольтметром или осциллографом.
Имитационные испытания проводят на тех же частотах, что и при распространении импульсных помех по заземляющему устройству.
2.2.3.1.9. Отношение напряжения U
пров
к U
цепи
является общим коэффициентом экранирования К
экр
= U
пров
/U
цепи
, который показывает, во сколько раз по сравнению с одиночным проводом излучаемая помеха ослабляется соседними жилами в кабеле, соседними кабелями в кабельном канале, металлоконструкциями кабельного канала, экранами и оболочками кабеля. Коэффициент экранирования, являющийся характеристикой данного объекта, затем используют в расчетах.
2.2.3.1.10. Измерения проводят на всех кабелях, проходящих по данному главному участку, после чего провод - источник помех размещают параллельно другому главному участку кабельной трассы и проводят измерения на кабелях, проходящих по этому главному участку.
2.2.3.1.11. На строящемся объекте в качестве источника излучаемой помехи могут быть использованы непосредственно шины высокого напряжения. Для этого собирают рабочую схему РУ, подают питание от постороннего источника переменного или постоянного напряжения (от 200 до 1000 В) на шины, осуществляют замыкание на ЗУ и измеряют импульсные помехи в цепях вторичной коммутации. Значения амплитуды импульсных помех при реальных КЗ пропорциональны отношениям реальных напряжений к напряжениям на шинах при имитационных экспериментах.
2.2.3.2. Измерение импульсных помех при коммутациях силового оборудования
Целью измерений является определение амплитуды и спектрального состава импульсных помех в цепях измерения, управления, сигнализации и питания аппаратуры АСТУ при коммутациях силового оборудования. Измерения проводят при операциях с силовыми выключателями, разъединителями, коротко замыкателям и на РУ напряжением 6 кВ и выше.
2.2.3.2.1. Наибольшие помехи возникают при следующих коммутациях: включение/отключение шинных и линейных разъединителей на отключенный выключатель; включение/отключение силовым выключателем или обходным разъединителем обходной системы шин; включение/отключение выключателями участка ненагруженной линии, силовых автотрансформаторов, трансформаторов, шунтирующих реакторов; коммутации протяженных отрезков шин разъединителями и силовыми выключателями.
2.2.3.2.2. Регистрацию помех проводят в цепях измерения, управления, сигнализации и питания устройств АСТУ. Наибольший уровень помех следует ожидать в измерительных цепях, заземление которых выполнено на РУ, и в цепях, которые проложены по территории РУ в кабельных лотках или каналах.
2.2.3.2.3. Измерительную аппаратуру подключают по схеме общего вида (схема провод-земля, в качестве "земли" служит корпус устройств АСТУ) и схеме дифференциального типа (схема провод-провод) на панелях и в шкафах, где установлены устройства АСТУ, и проводят следующие виды измерений: осциллографирование помех; регистрацию максимальной амплитуды и числа импульсов.
2.2.3.2.4. При измерениях используют осциллографы с полосой пропускания не менее 10 МГц для объектов с открытым РУ и не менее 50 МГц для подстанций с элегазовой изоляцией. Максимальное значение импульсных помех в отдельных случаях может достигать 10-15 кВ. Чтобы исключить повреждение измерительной аппаратуры, применяют специальные делители напряжения. Питание осциллографов осуществляют либо от независимого источника (например, встроенной аккумуляторной батареи), либо от общей сети через разделительный трансформатор при наличии устройств ограничения перенапряжений.
2.2.3.2.5. Последовательность действий при измерениях следующая:
1) измерительную аппаратуру подключают к измеряемым цепям;
2) после сигнала о готовности измерительной аппаратуры производят коммутацию;
3) результаты измерений сохраняют в компьютере или памяти осциллографа;
4) выполняют повторную коммутацию;
5) пункты 2-4 повторяют до выполнения всех коммутаций;
6) измерительную аппаратуру отключают от цепей; проверяют правильность соединения цепей.
2.2.3.3. Обработка результатов измерений и расчеты
Окончательный вывод об уровне помех делают на основании расчетов. Расчеты проводят при помощи расчетной программы (приложение Е).
2.2.3.3.1. В расчетной программе собирают схему замещения для одного РУ, состоящую из следующих элементов: LC
-цепи (шины) и емкости первичного оборудования, а также LC
-цепи (контрольные провода, моделирующие кабели цепей вторичной коммутации).
2.2.3.3.2. Схему замещения собирают для одной фазы, расположенной на наименьшем расстоянии от кабельной трассы. Если конфигурация такова, что выявить ближайшую фазу к кабельной трассе на всем протяжении затруднительно, составляют схемы для каждой из наиболее близких фаз и расчеты проводят для каждой схемы.
2.2.3.3.3. Собирают исходную схему замещения для нормального режима, а затем перед расчетом каждой коммутации или КЗ ее изменяют.
2.2.3.3.4. Емкостями замещают следующее оборудование: силовые трансформаторы, трансформаторы напряжения, выключатели, трансформаторы тока.
2.2.3.3.5. В схеме замещения для данного РУ моделируют только те кабельные трассы, которые проходят по территории данного РУ. Предусматривают размещение контрольных проводов по основным кабельным трассам, по которым они прокладывались при имитационных измерениях.
2.2.3.3.6. Для расчета помех при КЗ на исходной схеме замещения задают точку КЗ и запускают программу на счет.
2.2.3.3.7. При расчете помех при коммутациях исходную нормальную схему модифицируют так, чтобы она являлась начальной схемой до коммутации, и запускают программу на счет.
2.2.3.3.8. В результате расчета определяют амлитудно-частотные характеристики напряжения на контрольных проводах в месте установки устройств АСТУ Результаты расчета сравнивают с результатами измерений. При расхождении результатов расчетов и измерений более чем на 20% уточняют расчетную схему и исходные данные для расчета (например, удельное сопротивление грунта).
2.2.3.3.9. Достаточно провести расчеты для 4-5 точек КЗ на сборных шинах и в 1-2 точках в каждой ячейке РУ Если электрическая схема не содержит сборных шин, то расчеты проводят для (1-2)×n
(n
- число силовых выключателей) точек равномерно по всему РУ. Так, если на РУ три выключателя (схема мостик), то расчеты достаточно провести для 3-6 точек (в зависимости от площади РУ) с учетом рекомендаций, приведенных выше.
2.2.3.3.10. Для нормальной оперативной схемы РУ проводят расчеты для следующих видов коммутаций: включение шинного или линейного разъединителей на отключенный силовой выключатель, подача напряжения на обходную систему шин выключателем, включение силового трансформатора (автотрансформатора) или включение ненагруженной линии выключателем, вывод в ремонт рабочей системы шин.
2.2.3.3.11. После проведения расчетов для нормальной оперативной схемы РУ проводят расчеты излучаемых помех для других возможных конфигураций первичной схемы, связанных с выводом оборудования в ремонт. Моделируют ситуации (для каждого присоединения), при которых значительно меняется конфигурация исходной схемы, например, учитывают:
выведенный в ремонт выключатель (особенно для схем с обходной системы шин);
выведенное в ремонт присоединение (линия, трансформатор, автотрансформатор);
выведенную в ремонт рабочую систему шин.
2.2.3.3.12. Для каждой схемы, отличной от нормальной оперативной, проводят расчеты помех при КЗ.
2.2.3.3.13. Для каждой основной кабельной трассы из полученных результатов расчетов выбирают наибольшие значения (для коммутаций и КЗ).
2.2.3.3.14. Результаты расчетов для контрольных проводов приводят к реальным вторичным цепям. Для этого выбирают одну из цепей. Определяют трассу, по которой проложен кабель с выбранной цепью, например, трассу № 1. Наибольшие значения излучаемых помех при КЗ или коммутациях определяют как:
U
пом.цепи
= U
контр.каб.трасса № 1
/Кэкр цепи.каб.трасса № 1
,
где U
пом.цепи
- максимально излучаемое напряжение помехи в выбранной цепи управления выключателя при КЗ или коммутациях;
U
контр.каб.трасса № 1
- максимальное излучаемое напряжение помех на контрольном проводе, проложенном по трассе № 1;
Кэкр цепи.каб.трасса № 1
- коэффициент экранирования для выбранной цепи, проложенной по трассе № 1.
2.2.3.3.15. Повторяют пункты 2.2.3.3.1-2.2.3.3.14 для других РУ.
2.2.3.3.16. Допускается применять другие методы моделирования и расчета, если они обеспечивают такую же или более высокую точность.
2.2.3.3.17. Результаты измерений и расчетов оформляют в виде протокола № 3 (приложение Б).
В случае необходимости снижения уровней воздействующих импульсных помех выбирают мероприятия, указанные в приложении Ж, после чего повторно выполняют пункты § 2.2.
2.3. Импульсные помехи при ударах молнии
При ударе молнии в объект в результате воздействия электромагнитного поля в контрольных кабелях наводятся импульсные помехи. Ток молнии, протекающий по ЗУ, создает высокий потенциал на земле и может вызвать обратные перекрытия изоляции контрольных кабелей.
2.3.1. Исходные данные
Исходными данными для определения наводимых импульсных помех и потенциалов на ЗУ являются:
план расположения оборудования и молниеотводов с трассами прокладки кабелей;
состав установленной аппаратуры АСТУ;
удельное сопротивление грунта;
схема токоотводов и заземления молниеприемников.
2.3.2. Импульсные излучаемые помехи
Импульсные излучаемые помехи определяют путем использования расчетной программы (приложение Е).
2.3.2.1. Параметры тока молнии для расчета выбирают в соответствии с рекомендациями МЭК 61312-1. При расчетах распределения потенциала на ЗУ принимают максимальное значение импульса тока Im
= 100 кА, длительность фронта импульса t
фр
= 10 мкс, длительность импульса t
и
= 300 мкс; при расчетах наведенных напряжений в кабелях принимают Im
= 25 кА, t
фр
= 0,25 мкс, t
и
= 100 мкс.
2.3.2.2. Для открытых РУ определяют напряжения, наводимые в кабелях вторичной коммутации при ударах молнии в молниеотводы, расположенные вблизи трасс прокладки кабелей.
2.3.2.3. Для зданий и сооружений определяют напряжения, наводимые в кабелях при протекании тока молнии по токоотводам молниеприемника знания. При расчетах учитывают коэффициент экранирования электромагнитного поля молнии экранированными кабелями, проложенными в кабельных каналах или коробах.
2.3.3. Импульсные помехи, связанные с увеличением потенциала заземлителя
2.3.3.1. Для определения возможного обратного перекрытия изоляции кабелей вторичных цепей проводят измерения распределения потенциалов по земле при имитации удара молнии в молниеприемник с помощью генератора импульсных токов (приложение Г).
2.3.3.2. На РУ генератор импульсов тока подключают между заземлением молниеприемника и заземленным электродом на расстоянии не менее 50 м от молниеприемника.
2.3.3.3. Измеряют потенциалы на земле вблизи кабельных каналов и лотков относительно точки, удаленной на расстояние не менее 50 м в направлении, противоположном от точки заземления генератора.
2.3.3.4. При имитации удара молнии в здания и сооружения генератор импульсов тока подключают к молниеприемнику (стержень или сетка) наверху здания и к электроду в земле на расстоянии не менее 20 м от здания.
2.3.3.5. Осуществляют имитацию удара молнии в молниеприемник и измеряют потенциалы в здании относительно точки, удаленной от здания на расстояние не менее 20 м в направлении, противоположном от точки заземления генератора.
2.3.3.6. Измерения по пп. 2.3.3.1-2.3.3.4 проводят при двух и более различных импульсах тока с временем фронта импульсов тока, отличающихся более чем в 3 раза в диапазоне от 0,25 до 10 мкс.
2.3.4. Обработка результатов измерений и расчеты
2.3.4.1. Полученные результаты измерений пересчитывают к току молнии по МЭК 61312-1. Коэффициент пересчета принимают пропорциональным отношению тока молнии к току от генератора при условии, что время фронта и длительность импульса при имитации отличались от нормируемых параметров импульса тока молнии не более, чем на 10%.
2.3.4.2. Если время фронта и длительность импульса при имитации отличались от нормируемых параметров импульса тока молнии более, чем на 10%, производят экстраполяцию результатов измерений при различных импульсах тока к нормируемым значениям времени фронта импульса.
2.3.4.3. Окончательный вывод об уровне импульсных помех делают на основании расчетов. Расчеты проводят при помощи расчетной программы (приложение Е).
2.3.4.4. Результаты расчета, проведенного для имитационных условий, сравнивают с результатами измерений. При расхождении результатов расчетов и измерений более, чем на 20% уточняют расчетную схему и исходные данные для расчета (например, удельное сопротивление грунта).
2.3.3.7. Результаты измерений и расчетов оформляют в виде протоколов № 4 и № 5 (приложение Б).
В случае необходимости снижения уровней импульсных помех от тока молнии реализуют рекомендуемые мероприятия (приложение Ж), после чего повторно выполняют пункты § 2.1.
2.4. Электромагнитные поля радиочастотного диапазона
2.4.1. Проводят измерения напряженности полей радиочастотного диапазона от 1 до 1000 МГц в местах установки устройств АСТУ.
2.4.2. Измеряют в режиме мониторинга напряженность электромагнитного поля от внешних источников.
2.4.3. Измеряют напряженности электромагнитного поля от работающих переносных и стационарных радиопередающих станций, которые используются персоналом энергообъекта.
2.4.4. Измеряют зависимость напряженности поля от расстояния до источника электромагнитного излучения и ослабление напряженности поля искусственными преградами (стены, экраны, корпуса шкафов и т.д.).
2.4.5. Результаты измерений и расчетов оформляют в виде протокола № 7 (приложение Б).
В случае необходимости ослабления электромагнитных радиочастотных полей выбирают рекомендуемые мероприятия (приложение Ж), после чего повторно выполняют пункты § 2.4.
2.5. Разряды статического электричества
Наиболее часто встречающаяся форма возникновения электростатических зарядов - электризация трением. Электризация трением проявляется, как правило, вследствие контакта тела человека с его одеждой, стулом, полом, рабочими средствами и предметами, а также при соприкосновении деталей, панелей, приборов с другими устройствами. На действующих объектах энергетики для устройств АСТУ наиболее вероятными источниками статического электричества является персонал, обслуживающий эти устройства.
Оценку наибольшего электростатического потенциала тела человека проводят путем непосредственных измерений на энергообъекте или расчетом с использованием результатов измерений на образце напольного покрытия. При этом измеряют характеристики диэлектрического покрытия пола в помещении, где установлены устройства АСТУ и оценивают диапазон изменения влажности воздуха в помещении.
| 
|

|
| Рис. 7. Зависимости потенциала зарядов статического электричества человека от относительной влажности воздуха:
А
- при движении по резиновому коврику на расстояние 6 м; С
- при движении по виниловому полу на расстояние 6 м; D
- при вставании со стула
|
Рис. 8. Схема измерений поверхностного и объемного сопротивления полимерного диэлектрика:
1
- потенциальный электрод; 2
- измерительный электрод; 3
- охранный электрод; 4
- образец полимерного диэлектрика; 5
- тераомметр Е6-13
|
2.5.1. Измерения потенциала тела человека (оператора) проводят электростатическим вольтметром. Для расширения диапазона измерений используют емкостный делитель. Потенциал, U
т.о.
, кВ, тела оператора определяют из выражения
U
т
.
о
.
= [(C
1
+ C
2
)/C
1
]UV
,
где C
1
- суммарная емкость вольтметра, соединительного кабеля и оператора (верхнего плеча делителя), мкФ;
C
2
- емкость нижнего плеча делителя, мкФ;
UV
- показания вольтметра, кВ.
2.5.2. Измеренные значения потенциала пересчитывают для наиболее неблагоприятного режима, соответствующего нижнему значению влажности воздуха (рис. 7).
2.5.3. Расчетную оценку электростатического потенциала производят на основании результатов измерений поверхностного и объемного сопротивления RS
и RV
образца напольного покрытия. Для измерений используют тераомметр и стандартные электроды, схема подключения которых представлена на рис. 8.
2.5.4. Расчет удельного поверхностного и объемного сопротивления (rS
, Ом) и (rV
,Ом×м) проводят по следующим выражениям:
,
,
где RS
- измеренное поверхностное сопротивление, Ом;
RV
- измеренное объемное сопротивление, Ом;
D
- диаметр потенциального электрода, м;
g
- зазор между потенциальным и измерительным электродами, м;
t
- толщина напольного покрытия, м (рис. 8).
2.5.5. По результатам измерений поверхностного сопротивления напольного покрытия делают приближенную оценку возможного потенциала тела человека, перемещающегося по полу, при относительной влажности не менее 60%:
| Удельное поверхностное сопротивление, Ом
|
1010
|
2×1010
|
3×1010
|
4×1010
|
| Потенциал тела человека, кВ
|
2
|
4
|
6
|
8
|
2.5.6. По результатам измерений объемного сопротивления напольного покрытия делают приближенную оценку возможного потенциала тела человека, перемещающегося по полу, при относительной влажности не более 60%:
| Удельное поверхностное сопротивление, Ом
|
2,5×108
|
5×108
|
7×108
|
109
|
| Потенциал тела человека, кВ
|
2
|
4
|
6
|
8
|
2.5.7. Результаты измерений и расчетов оформляют в виде протокола № 6 (приложение Б).
В случае необходимости дополнительной защиты от статического электричества выбирают рекомендуемые мероприятия (приложение Ж), после чего повторно выполняют пункты § 2.5.
2.6. Магнитные поля промышленной частоты
2.6.1. Непосредственные измерения напряженности магнитных полей частотой 50 Гц проводят в нормальных режимах при помощи измерителя магнитного поля в местах установки устройств АСТУ на РУ вдоль трассы прокладки кабелей.
2.6.2. Для режимов КЗ на шинах РУ уровень напряженности магнитных полей определяют расчетным путем. Рассматривают режим КЗ на шинах РУ вблизи места установки устройств АСТУ.
2.6.3. Приближенные оценки проводят по формуле Н
= I
к
/2pr
, где r
- расстояние до шин, по которым проходит ток короткого замыкания I
к
.
2.6.4. В тех случаях, когда вблизи места установки устройств АСТУ размещены реакторы или трансформаторы, измеряют напряженность магнитного поля в нормальном режиме и пересчитывают для условий протекания токов КЗ.
2.6.5. Приближенный расчет напряженности, Н
, А/м, поля, создаваемого вдоль оси реактора, выполняют по выражению
,
где r
- радиус реактора, м;
х
- расстояние по оси реактора от его центра до точки измерения, м;
I
к
- ток в реакторе, А;
n
- число витков.
2.6.6. Приближенный расчет напряженности, H
, А/м, поля, создаваемого реактором в горизонтальной плоскости на расстояниях более двух диаметров реактора, выполняют по выражению
,
где b - угол между вектором, направленным из центра реактора в точку измерений, и осью абсцисс.
2.6.7. Для нескольких реакторов искомую напряженность магнитного поля определяют методом суперпозиции напряженности полей от каждого реактора с учетов фазового сдвига токов.
2.6.8. Напряженность магнитного поля, создаваемого трансформатором, много меньше чем напряженности поля, создаваемого реактором. Магнитное поле трансформатора, в основном, сосредоточено в магнитопроводе. Воздействие магнитного поля трансформатора на АСТУ может представлять опасность лишь в непосредственней близости от трансформатора. Расчет напряженности магнитного поля вблизи трансформатора представляет сложную задачу. В этом случае определяют напряженность магнитного поля экспериментально.
2.6.9. Результаты измерений и расчетов оформляют в виде протокола № 8 (приложение Б).
В случае необходимости снижения уровней воздействующих магнитных полей промышленной частоты выбирают мероприятия, указанные в приложении Ж, после чего повторно выполняют пункты § 2.6.
2.7. Импульсные магнитные поля
2.7.1. Напряженность импульсных магнитных полей измеряют при имитации удара молнии в молниеприемник, расположенный вблизи от устройств АСТУ и при коммутациях силового оборудования.
2.7.2. Расчетные оценки импульсных магнитных полей проводят для случаев протекания тока молнии по молниеотводам или токоотводам молниеприемников зданий и сооружений, расположенным вблизи места размещения устройств АСТУ. Приближенные оценки проводят по формуле Н
= I
м
/2pr
, r
- расстояние, м, до молниеприемника или токоотвода, по которому проходит весь ток молнии I
м
, А, или его часть.
2.7.3. Результаты измерений и расчетов оформляют в виде протокола № 9 (приложение Б).
В случае необходимости снижения уровней воздействующих импульсных магнитных полей выбирают мероприятия, указанные в приложении Ж, после чего повторно выполняют пункты § 2.7.
2.8. Помехи, связанные с возмущениями в цепях питания АСТУ постоянного и переменного тока
К основным периодическим помехам в цепях постоянного тока относятся переменные составляющие напряжения (пульсации) и кондуктивные помехи радиочастотного диапазона, а в цепях питания переменного тока - гармонические составляющие напряжения. Импульсные помехи в цепях постоянного и переменного тока возникают при коммутации реле, электромагнитов, приводов силовых выключателей, автоматических выключателей.
2.8.1. Измерительную аппаратуру подключают к цепям питания по противофазной схеме (провод-провод) и, при необходимости, по синфазной схеме (провод-земля).
2.8.2. После подключения измерительной аппаратуры проводят следующие виды измерений: кратковременные измерения (осциллографирование формы сигнала помехи); длительную регистрацию (в том числе, при коммутациях силового оборудования).
2.8.3. Кратковременные измерения проводят в нормальных режимах (стационарные режимы работы силового оборудования): режим срабатывания реле; режим срабатывания автоматических выключателей в цепях питания; режим срабатывания электромагнитных приводов силовых выключателей.
2.8.4. Определяют при измерениях в стационарных режимах характеристики пульсаций или коэффициент синусоидальности переменного напряжения.
2.8.5. Проводят измерения помех, возникающих при срабатывании реле, в том числе, принудительном, например, при опробовании силовых выключателей, проверке защит. При этом помехи измеряют в тех панелях (шкафах), где срабатывают реле.
2.8.6. Проводят измерения помех при срабатывании автоматических выключателей в цепях питания при коммутациях в силовых сборках, на щите собственных нужд, щите постоянного тока. Помехи фиксируют в местах установки устройств АСТУ.
2.8.7. Проводят измерения помех в цепях оперативного тока при срабатывании электромагнитных приводов силовых выключателей в местах установки устройств АСТУ.
2.8.8. Длительную регистрацию проводят с целью определения диапазона характеристик помех в длительно существующих режимах. При данном типе измерений определяют амплитуду переменных и импульсных помех в цепях постоянного тока; гармонические составляющие и импульсные помехи в цепях переменного тока. Измерения проводят в тех же цепях, что и при кратковременной регистрации, при этом продолжительность непрерывных измерений составляет не менее одной недели.
2.8.9. Проводят анализ аварийных режимов в сети питания и определяют возможные уровни пульсаций в сети постоянного тока и наибольшее время провалов напряжения.
2.8.10. Оформляют результаты измерений и расчетов в виде протоколов № 10-12 (приложение Б).
В случае необходимости снижения уровней электромагнитных помех в цепях питания АСТУ выбирают мероприятия, указанные в приложении Ж, после чего повторно выполняют пункты § 2.8.
Для снижения уровней рекомендуют выполнить мероприятия, указанные в приложении Ж.
2.9. Помехи от вспомогательного электрооборудования
Источниками электромагнитных воздействий на электрических станциях и подстанциях, которые могут вызвать сбои в работе АСТУ, является такое вспомогательное электрооборудование, как мощные преобразователи, сварочные аппараты, осветительные приборы, мощные тяговые механизмы, бытовые электроприборы, электроинструмент и др. При работе этого оборудования на АСТУ воздействуют полевые и кондуктивные помехи (импульсные и периодические помехи).
2.9.1. Проводят непосредственные измерения напряженности магнитных полей при работе вспомогательного электрооборудования в местах установки устройств АСТУ, вдоль трассы прокладки кабелей при помощи измерителя напряженности магнитного поля.
2.9.2. Измерительную аппаратуру для регистрации импульсных и периодических помех подключают к цепям АСТУ по противофазной схеме (провод-провод) и, при необходимости, по синфазной схеме (провод-земля).
2.9.2. После подключения измерительной аппаратуры проводят следующие виды измерений: кратковременные измерения (осциллографирование формы сигнала помехи); длительную регистрацию (в том числе при коммутациях вспомогательного электрооборудования).
2.9.3. Длительную регистрацию проводят с целью определения диапазона характеристик помех в длительно существующих режимах. При данном типе измерений определяют амплитуду переменных и импульсных помех в цепях АСТУ. Измерения проводят в тех же цепях, что и при кратковременной регистрации, при этом продолжительность непрерывных измерений составляет не менее одной недели.
2.9.4. Результаты измерений и расчетов заносят в протоколы № 1-3 и 7-12 (приложение Б), указав источник электромагнитного воздействия.
2.10. Оформление результатов измерений и расчетов
2.10.1. По результатам измерений и расчетов составляют технический отчет по определению электромагнитной обстановки на энергообъекте, который утверждает руководитель предприятия.
2.10.2. Технический отчет включает:
характеристику объекта и исходные данные для проведения работ по определению электромагнитной обстановки;
результаты измерений и расчетов в виде протоколов;
анализ результатов измерений и расчетов;
заключение о электромагнитной обстановке и электромагнитной совместимости АСТУ;
рекомендации по степени жесткости испытаний устройств АСТУ и мероприятиям для улучшения ЭМО в случае необходимости.
2.10.3. В протоколах № 2-4 и 6-12 (приложение Б) в графе "Степень жесткости испытаний (или допустимый уровень воздействия)" указывают степень жесткости испытаний устройства на помехоустойчивость (для вновь проектируемых устройств) или допустимое значение данного воздействия (для выбранных или установленных устройств).
2.10.4. Степень жесткости испытаний определяют по условию: испытательный нормируемый уровень воздействия должен быть больше или равен 1,2 наибольшего измеренного или расчетного уровней воздействия. Допустимый уровень воздействия должен быть не более 0,8 испытательного нормированного уровня воздействия соответственно степени жесткости испытаний установленной (выбранной) аппаратуры.
2.10.5. В протоколе № 1 в графе "Допустимый уровень действия" указывают испытательное напряжение изоляции кабелей и устройств, а также наибольший допустимый ток по термической стойкости в броне, оболочке или экране кабеля.
2.10.6. В протоколе № 5 в графе "Допустимый уровень воздействия" указывают наименьшее значение импульсного пробивного напряжения промежутка между заземлителем и кабельным каналом.
2.10.7. В графе "Выводы" указывают, соответствует или не соответствует ЭМО помехоустойчивости данного устройства. В заключении указывают, обеспечена ли электромагнитная совместимость устройств по данному воздействию.
3. Меры безопасности при определении ЭМО
3.1. Работы по измерениям характеристик ЭМО выполняют в соответствии с действующими Межотраслевыми правилами по охране труда (правила безопасности) при эксплуатации электроустановок.
3.2. Работы по измерениям на действующих энергообъектах выполняют по нарядам в соответствии с рабочей программой (приложение А).
3.3. При имитации электромагнитных воздействий и измерениях на действующих РУ с использованием вынесенных токовых и потенциальных электродов принимают меры по защите от воздействия полного напряжения на заземлителе при стекании с него тока однофазного КЗ на землю.
3.4. При подготовке измерительных схем сначала присоединяют провод к вспомогательному электроду (токовому, потенциальному), а затем к соответствующему измерительному прибору.
4. Периодичность проведения работ по определению ЭМО
4.1. Определение ЭМО проводят на вновь строящихся объектах при пусконаладочных работах.
4.2. При техническом перевооружении действующих объектов определение ЭМО проводят в два этапа:
на этапе предпроектных изысканий;
при пусконаладочных работах.
4.3. При эксплуатации энергообъекта проверку ЭМО проводят со следующей периодичностью:
не реже 1 раза в 12 лет;
внепланово в случаях неправильной работы или повреждении устройств АСТУ из-за воздействия электромагнитных помех.
СПИСОК РЕКОМЕНДУЕМОЙ ЛИТЕРАТУРЫ
1. Электромагнитная совместимость в электроэнергетике и электротехнике /А.Ф. Дьяков, Б.К. Максимов, Р.К. Борисов, И.П. Кужекин, А.В. Жуков; Под ред. А.Ф. Дьякова. М.: Энергоатомиздат, 2003.
2. Хабигер Э. Электромагнитная совместимость. Основы ее обеспечения в технике: Пер. с нем. И.П. Кужекина /Под ред. Б.К. Максимова. М.: Энергоатомиздат, 1995.
3. Шваб А. Электромагнитная совместимость: Пер. с нем. В.Д. Мазина и С.А. Спектра. -2-е изд., перераб. и доп. /Под ред. И.П. Кужекина. М.: Энергоатомиздат, 1998.
4. Кармашев B.C. Электромагнитная совместимость технических средств: Справочник М.: Изд-во Норт, 2001.
5. Правила устройства электроустановок. -7-е изд. М.: Изд-во НЦ ЭНАС, 2002.
6. Правила технической эксплуатации электрических станций и сетей Российской Федерации. Министерство энергетики РФ. М.: ЗАО "Энергосервис", 2003.
7. Методические указания по обеспечению электромагнитной совместимости на электрических станциях и подстанциях. СИГРЭ. Рабочая группа 36.04., 1997.
8. Методические указания по контролю состояния заземляющих устройств электроустановок. РД 153-34.0-20.525-00. М.: СПО ОРГРЭС, 2000.
9. Методические указания по ограничению высокочастотных коммутационных перенапряжений и защите от них электротехнического оборудования в распределительных устройствах 110 кВ и выше. М.: ОРГРЭС, 1998.
10. Общие технические требования к микропроцессорным устройствам защиты и автоматики энергосистем. РД 34.35.310-97 РАО "ЕЭС России". М,: ОРГРЭС, 1997.
11. Методические оказания по защите вторичных цепей электрических станций и подстанций от импульсных помех. РД 34.20.116-93. РАО "ЕЭС России". М.: ОРГРЭС, 1993.
12. Руководящие указания по расчету токов короткого замыкания и выбору оборудования /Под ред. Б.Н. Неклепаева. М.: Изд-во НЦ ЭНАС, 2002.
13. Инструкция по устройству молниезащиты зданий, сооружений и промышленных коммуникаций. СО 153-34-21.122-2003. М.: Изд-во МЭИ, 2003.
14. Стандарты МЭК 61024. Молниезащита зданий и сооружений.
15. Стандарты МЭК 61312 (1-5). Защита от электромагнитного импульса молнии.
16. ГОСТ 9280-92 (МЭК 61000-4-1-92) Совместимость технических средств электромагнитная. Испытания на помехоустойчивость. Общие положения. М.: Изд-во стандартов, 1992.
17 ГОСТ 64433.3-71. Материалы электроизоляционные твердые. Методы определения электрических сопротивлений при постоянном напряжении. М.: Изд-во стандартов, 1971.
Приложение А
РАБОЧАЯ ПРОГРАММА
проведения экспериментальных работ по определению ЭМО
на_________________________
(наименование объекта)
1. Общие положения по проведению работ:
1.1. Объекты выполнения обследования электромагнитной обстановки.
1.2. Основание для проведения обследования.
1.3. Цель обследования.
2. Условия обеспечения безопасного проведения работ:
2.1. Порядок организации работ.
2.2. Лица, ответственные за проведение работ.
3. Действия персонала в аварийных ситуациях.
4. Порядок проведения работ.
| № п/п
|
Наименование работы
|
Время
|
Исполнитель
|
Контролирующее лицо
|
| 4.1
|
Обследование заземляющего устройства
|
| 4.2
|
Длительная регистрация помех
|
| 4.3
|
Измерения помех при коммутациях оборудования высокого напряжения
|
| 4.4
|
Измерения напряженности электромагнитных полей радиочастотного диапазона
|
| 4.5
|
Измерения магнитных полей промышленной частоты
|
| 4.6
|
Выполнение имитационных испытаний
|
| 4.7
|
Измерение потенциалов статического электричества
|
5. Оценка полноты выполненных работ, предусмотренных программой.
6. Оформление результатов выполненной работы.
Результаты работ представляют в виде отчета и протоколов.
Приложение Б
| _______________________________________
(наименование организации, предприятия)
_______________________________________
Лицензия № ____________________________
Действительна до _______________________
|
Заказчик __________________________
Объект ____________________________
по адресу __________________________
|
ПРОТОКОЛ № 1
Токи и напряжения промышленной частоты при коротком или двойном замыкании на землю
| № кабеля, устройство
|
Трасса кабеля
|
Место приложения воздействия
|
Расчетно-экспериментальные воздействия
|
Время воздействия, с
|
Допустимый уровень воздействия
|
Выводы
|
Рекомендации
|
| Наибольшее напряжение на кабеле или устройстве, кВ
|
Наибольший ток в экране, оболочке или броне кабеля, А
|
Наибольшее напряжение на кабеле или устройстве, кВ
|
Наибольший ток в экране, оболочке или броне кабеля, А
|
| Место измерения, расчета (ток КЗ ___ кА)
|
| Температура воздуха
|
Влажность воздуха
|
Атмосферное давление
|
| Измерения проведены приборами типа
|
Заводской номер
|
Дата поверки
|
| Расчеты проведены по программе
|
№ регистрации
|
Заключение:
| Измерения провели:
|
Должность
|
И.О. Фамилия
|
| Должность
|
И.О. Фамилия
|
| Утверждаю:
|
Должность
|
И.О. Фамилия
|
| _______________________________________
(наименование организации, предприятия)
_______________________________________
Лицензия № ____________________________
Действительна до _______________________
|
Заказчик __________________________
Объект ____________________________
по адресу __________________________
|
ПРОТОКОЛ № 2
Импульсные помехи, вызванные подъемом потенциала ЗУ
| Кабель
(вид цепей) устройство
|
Оборудование, от которого приходят цепи к устройству
|
Имитация
ВЧ-составляющей тока КЗ
|
Расчетно-экспериментальные воздействия
|
Степень жесткости испытаний,
(или допустимый уровень воздействия, кВ)
|
Выводы
|
Рекомендации
|
| Ток генератора, А
|
f
, МГц
|
Z
имп.обор
, Ом
|
К
перед
, о.е.
|
I
ВЧ
, кА
|
Наибольшее напряжение на устройстве, кВ
|
| Место измерения, расчета (РЩ, ГЩУ)
|
| Температура воздуха
|
Влажность воздуха
|
Атмосферное давление
|
| Измерения проведены приборами типа
|
Заводской номер
|
Дата поверки
|
| Расчеты проведены по программе
|
№ регистрации
|
Заключение:
| Измерения провели:
|
Должность
|
И.О. Фамилия
|
| Должность
|
И.О. Фамилия
|
| Утверждаю:
|
Должность
|
И.О. Фамилия
|
| _______________________________________
(наименование организации, предприятия)
_______________________________________
Лицензия № ____________________________
Действительна до _______________________
|
Заказчик __________________________
Объект ____________________________
по адресу __________________________
|
ПРОТОКОЛ № 3
Импульсные излучаемые помехи
| Кабель (вид цепей), устройство
|
Трасса прокладки кабеля (№ трассы)
|
Коэффициент экранирования, о.е.
|
Расчетно-экспериментальные воздействия
|
Степень жесткости испытаний, (или допустимый уровень воздействия, кВ)
|
Выводы
|
Рекомендации
|
| При коммутациях
|
При КЗ
|
| Вид коммутации
|
Наибольшее напряжение на устройстве, кВ
|
Место КЗ
|
Наибольшее напряжение на устройстве, кВ
|
| Место измерения, расчета (РЩ, ГЩУ)
|
| Импульсные помехи при натурных коммутациях и коротком замыкании
|
| № шкафа (панели)
|
Вид цепей (устройство)
|
Клеммы
|
Коммутации
|
КЗ
|
Степень жесткости испытаний, (или допустимый уровень воздействия, кВ)
|
Выводы
|
Рекомендации
|
| Вид коммутации
|
Наибольшее напряжение на устройстве, кВ
|
Место КЗ
|
Наибольшее напряжение на устройстве, кВ
|
| Температура воздуха
|
Влажность воздуха
|
Атмосферное давление
|
| Измерения проведены приборами типа
|
Заводской номер
|
Дата поверки
|
| Расчеты проведены по программе
|
№ регистрации
|
Заключение:
| Измерения провели:
|
Должность
|
И.О. Фамилия
|
| Должность
|
И.О. Фамилия
|
| Утверждаю:
|
Должность
|
И.О. Фамилия
|
| _______________________________________
(наименование организации, предприятия)
_______________________________________
Лицензия № ____________________________
Действительна до _______________________
|
Заказчик __________________________
Объект ____________________________
по адресу __________________________
|
ПРОТОКОЛ № 4
Импульсные излучаемые помехи при ударах молнии
| Кабель (вид цепей), устройство
|
Трасса прокладки кабеля (№ трассы)
|
Коэффициент экранирования, о.е.
|
Наибольшее напряжение на кабеле, кВ
|
Наибольшее напряжение на устройстве, кВ
|
Степень жесткости испытаний (или допустимый уровень воздействия, кВ)
|
Выводы
|
Рекомендации
|
| Место измерения, расчета (РЩ)
|
| Температура воздуха
|
Влажность воздуха
|
Атмосферное давление
|
| Измерения проведены приборами типа
|
Заводской номер
|
Дата поверки
|
| Расчеты проведены по программе
|
№ регистрации
|
Заключение:
| Измерения провели:
|
Должность
|
И.О. Фамилия
|
| Должность
|
И.О. Фамилия
|
| Утверждаю:
|
Должность
|
И.О. Фамилия
|
| _______________________________________
(наименование организации, предприятия)
_______________________________________
Лицензия № ____________________________
Действительна до _______________________
|
Заказчик __________________________
Объект ____________________________
по адресу __________________________
|
ПРОТОКОЛ № 5
Импульсные напряжения, воздействующие на контрольные кабели при ударах молнии
| № молниеприемника
|
Трасса прокладки кабелей
(№ трассы)
|
Ток молнии, кА
|
Длительность фронта импульса, мкс
|
Наибольшее напряжение между ЗУ и кабелем, кВ
|
Допустимый уровень воздействия, кВ
|
Выводы
|
Рекомендации
|
| Место измерения, расчета (РУ, здание, сооружение)
|
| Температура воздуха
|
Влажность воздуха
|
Атмосферное давление
|
| Измерения проведены приборами типа
|
Заводской номер
|
Дата поверки
|
| Расчеты проведены по программе
|
№ регистрации
|
Заключение:
| Измерения провели:
|
Должность
|
И.О. Фамилия
|
| Должность
|
И.О. Фамилия
|
| Утверждаю:
|
Должность
|
И.О. Фамилия
|
| _______________________________________
(наименование организации, предприятия)
_______________________________________
Лицензия № ____________________________
Действительна до _______________________
|
Заказчик __________________________
Объект ____________________________
по адресу __________________________
|
ПРОТОКОЛ № 6
Электростатический потенциал тела человека
| Помещение
|
Тип покрытия пола
|
Измерения
|
Расчетно-экспериментальное значение
|
Степень жесткости испытаний
(или допустимый уровень воздействия, кВ)
|
Выводы
|
Рекомендации
|
| Влажность, %
|
Температура, °С
|
Потенциал тела человека, кВ
|
Влажность, %
|
Температура, °С
|
Наибольший потенциал тела человека, кВ
|
| Температура воздуха
|
Влажность воздуха
|
Атмосферное давление
|
| Измерения проведены приборами типа
|
Заводской номер
|
Дата поверки
|
| Расчеты проведены по программе
|
№ регистрации
|
Заключение:
| Измерения провели:
|
Должность
|
И.О. Фамилия
|
| Должность
|
И.О. Фамилия
|
| Утверждаю:
|
Должность
|
И.О. Фамилия
|
| _______________________________________
(наименование организации, предприятия)
_______________________________________
Лицензия № ____________________________
Действительна до _______________________
|
Заказчик __________________________
Объект ____________________________
по адресу __________________________
|
ПРОТОКОЛ № 7
Электромагнитные поля радиочастотного диапазона
| Рабочее помещение
|
Частота, МГц, источник поля
|
Наибольшая напряженность, В/м
|
Степень жесткости испытаний (или допустимый уровень воздействия, В/м)
|
Выводы
|
Рекомендации
|
| Температура воздуха
|
Влажность воздуха
|
Атмосферное давление
|
| Измерения проведены приборами типа
|
Заводской номер
|
Дата поверки
|
| Расчеты проведены по программе
|
№ регистрации
|
Заключение:
| Измерения провели:
|
Должность
|
И.О. Фамилия
|
| Должность
|
И.О. Фамилия
|
| Утверждаю:
|
Должность
|
И.О. Фамилия
|
| _______________________________________
(наименование организации, предприятия)
_______________________________________
Лицензия № ____________________________
Действительна до _______________________
|
Заказчик __________________________
Объект ____________________________
по адресу __________________________
|
ПРОТОКОЛ № 8
Магнитные поля промышленной частоты
| Место измерения, расчета
|
Наибольшая напряженность, А/м
|
Степень жесткости испытаний
(или допустимый уровень воздействия, А/м)
|
Выводы
|
Рекомендации
|
| Нормальный режим (расчетный ток)
|
| Аварийный режим (расчетный ток)
|
| Температура воздуха
|
Влажность воздуха
|
Атмосферное давление
|
| Измерения проведены приборами типа
|
Заводской номер
|
Дата поверки
|
| Расчеты проведены по программе
|
№ регистрации
|
Заключение:
| Измерения провели:
|
Должность
|
И.О. Фамилия
|
| Должность
|
И.О. Фамилия
|
| Утверждаю:
|
Должность
|
И.О. Фамилия
|
| _______________________________________
(наименование организации, предприятия)
_______________________________________
Лицензия № ____________________________
Действительна до _______________________
|
Заказчик __________________________
Объект ____________________________
по адресу __________________________
|
ПРОТОКОЛ № 9
Импульсные магнитные поля
| Источник поля
|
Место измерения, расчета
|
Наибольшая напряженность, А/м
|
Степень жесткости испытаний (или допустимый уровень воздействия, А/м)
|
Выводы
|
Рекомендации
|
| Температура воздуха
|
Влажность воздуха
|
Атмосферное давление
|
| Измерения проведены приборами типа
|
Заводской номер
|
Дата поверки
|
| Расчеты проведены по программе
|
№ регистрации
|
Заключение:
| Измерения провели:
|
Должность
|
И.О. Фамилия
|
| Должность
|
И.О. Фамилия
|
| Утверждаю:
|
Должность
|
И.О. Фамилия
|
| _______________________________________
(наименование организации, предприятия)
_______________________________________
Лицензия № ____________________________
Действительна до _______________________
|
Заказчик __________________________
Объект ____________________________
по адресу __________________________
|
ПРОТОКОЛ № 10
Кондуктивные помехи радиочастотного диапазона
| Вид цепей, устройство
|
Наибольшее напряжение, В
|
Степень жесткости испытаний (или допустимый уровень воздействия, В)
|
Выводы
|
Рекомендации
|
| Место измерения
|
| Температура воздуха
|
Влажность воздуха
|
Атмосферное давление
|
| Измерения проведены приборами типа
|
Заводской номер
|
Дата поверки
|
| Расчеты проведены по программе
|
№ регистрации
|
Заключение:
| Измерения провели:
|
Должность
|
И.О. Фамилия
|
| Должность
|
И.О. Фамилия
|
| Утверждаю:
|
Должность
|
И.О. Фамилия
|
| _______________________________________
(наименование организации, предприятия)
_______________________________________
Лицензия № ____________________________
Действительна до _______________________
|
Заказчик __________________________
Объект ____________________________
по адресу __________________________
|
ПРОТОКОЛ № 11
Кондуктивные помехи в цепях постоянного оперативного тока
| Вид цепей
|
Пульсации в постоянном оперативном токе
|
Импульсные помехи в постоянном оперативном токе
|
Выводы
|
Рекомендации
|
| Наибольший уровень пульсаций, %
|
Допустимый уровень пульсаций, %
|
Наибольшее напряжение, кВ
|
Степень жесткости испытаний
(или допустимый уровень воздействия, В)
|
| Температура воздуха
|
Влажность воздуха
|
Атмосферное давление
|
| Измерения проведены приборами типа
|
Заводской номер
|
Дата поверки
|
| Расчеты проведены по программе
|
№ регистрации
|
Заключение:
| Измерения провели:
|
Должность
|
И.О. Фамилия
|
| Должность
|
И.О. Фамилия
|
| Утверждаю:
|
Должность
|
И.О. Фамилия
|
| _______________________________________
(наименование организации, предприятия)
_______________________________________
Лицензия № ____________________________
Действительна до _______________________
|
Заказчик __________________________
Объект ____________________________
по адресу __________________________
|
ПРОТОКОЛ № 12
Взаимное влияние кабелей на низкой частоте
| Кабель
(вид цепей), устройство
|
Частота, Гц
|
Наибольшее напряжение, В
|
Степень жесткости испытаний
(или допустимый уровень воздействия, В)
|
Выводы
|
Рекомендации
|
| Место измерения
|
| Температура воздуха
|
Влажность воздуха
|
Атмосферное давление
|
| Измерения проведены приборами типа
|
Заводской номер
|
Дата поверки
|
| Расчеты проведены по программе
|
№ регистрации
|
Заключение:
| Измерения провели:
|
Должность
|
И.О. Фамилия
|
| Должность
|
И.О. Фамилия
|
| Утверждаю:
|
Должность
|
И.О. Фамилия
|
Приложение В
Классификация ЭМО, классы и степени жесткости испытаний устройств на помехоустойчивость
Выбор устройств при проектировании АСТУ осуществляют с учетом электромагнитной обстановки в местах их установки.
Нормированные уровни испытательных величин должны быть равны или превышать наибольшие возможные уровни помех. Это условие необходимо соблюдать при согласовании выбора уровня нормированных испытательных воздействий (степень жесткости испытаний) и допустимой ЭМО.
Электромагнитная обстановка окружающей среды представляет совокупность электромагнитных явлений, существующих в данном месте, с широким разбросом параметров, количества, вида и интенсивности электромагнитных воздействий. Требуется классификация электромагнитных условий окружающей среды по видам и уровням воздействия, в соответствии с которой можно сформулировать требования, предъявляемые к различным устройствам в отношении электромагнитной совместимости.
Электромагнитную обстановку принято характеризовать как легкую (класс 1), средней жесткости (класс 2), жесткую (класс 3) и крайне жесткую (класс 4). В соответствии с электромагнитной обстановкой устанавливают степени жесткости испытаний технических средств (устройств) на помехоустойчивость.
Класс 1. Легкая электромагнитная обстановка:
осуществлены оптимизированные и скоординированные мероприятия по подавлению помех, защите от перенапряжений во всех цепях;
электропитание отдельных элементов устройства резервировано, силовые и сигнальные цепи выполнены раздельно;
заземление, прокладка кабелей, экранирование произведено в соответствии с требованиями электромагнитной совместимости;
климатические условия контролируются и приняты специальные меры по предотвращению разрядов статического электричества.
Класс 2. Электромагнитная обстановка средней тяжести:
цепи питания и управления частично оборудованы помехозащитными устройствами и устройствами для защиты от перенапряжений;
отсутствуют силовые выключатели, устройства для отключения конденсаторов, катушек индуктивностей;
электропитание устройств АСТУ осуществляется от сетевых стабилизаторов;
имеется тщательно выполненное заземляющее устройство;
токовые контуры разделены гальванически;
предусмотрено регулирование влажности воздуха, материалы, способные электризоваться трением, отсутствуют;
применение радиопереговорных устройств, передатчиков, запрещено.
Эта обстановка типична для диспетчерских помещений электростанций и подстанций.
Класс 3. Жесткая обстановка:
защита от перенапряжений в силовых цепях и цепях управления не предусмотрена;
повторного зажигания дуги в коммутационных аппаратах не происходит;
имеется заземляющее устройство;
провода электропитания, управления и коммутационных цепей недостаточно разделены;
кабели линий передачи данных, сигнализации, управления разделены;
относительная влажность воздуха поддерживается в определенных пределах, нет материалов, электризуемых трением;
использование переносных радиопереговорных устройств ограничено (установлены ограничения приближения к приборам на определенное расстояние).
Эта обстановка характерна для электростанций, релейных помещений подстанций.
Класс 4. Крайне жесткая обстановка:
защита в цепях управления, сигнализации и электропитания от перенапряжений отсутствует;
имеются коммутационные устройства, в аппаратах которых возможно повторное зажигание дуги;
существует неопределенность в выполнении заземляющего устройства;
нет пространственного разделения кабелей электропитания, управления;
управление и сигнализация осуществляются по общим кабелям;
допустимы любая влажность воздуха и наличие электризуемых трением материалов;
возможно неограниченное использование переносных переговорных устройств;
в непосредственной близости могут находиться мощные радиопередатчики;
вблизи могут находиться дуговые технологические устройства (электропечи, сварочные машины и т.п.).
Типичными для этого класса являются территории вблизи электростанций, открытых распределительных устройств среднего и высокого напряжений, где не предусматриваются специальные меры по обеспечению электромагнитной совместимости.
Устройства АСТУ проходят испытания на устойчивость к воздействиям электромагнитных помех в соответствии с базовым нормативно-техническим документом в области электромагнитной совместимости: ГОСТ 29280-92 (МЭК 61000-4) "Испытания на помехоустойчивость. Общие положения". В этом документе рассматриваются практически все виды испытаний. По отдельным видам испытаний (в более подробном изложении) выпущены серии ГОСТ Р 51317.4 (МЭК 61000-4), а также МЭК 255.
П.В.1. Воздействие напряжения промышленной частоты
Испытания электрической прочности изоляции (напряжение в установившемся режиме) для устройств РЗА проводят подачей напряжения (табл. П.В.1) в соответствии с МЭК 255-5.
Таблица П.В.1
Испытательные напряжения электрической прочности изоляции*
_____________
*См. приложение А МЭК 255-5.
| Номинальное напряжение установки, В
|
Испытательное напряжение, кВ
|
| N
|
Ряд А
|
Ряд В
|
Ряд С
|
| 30
|
0,6
|
0,5
|
0,5
|
1,0
|
| 60
|
0,5
|
0,5
|
1,0
|
1,0
|
| 127
|
2,0
|
0,5
|
1,0
|
1,5
|
| 250
|
2,0
|
1,0
|
1,5
|
2,0
|
| 380
|
2,0
|
1,0
|
1,5
|
2,5
|
| 500
|
2,0
|
1,5
|
2,0
|
2,5
|
| 660
|
-
|
1,5
|
2,5
|
3,0
|
| 750
|
-
|
1,5
|
3,0
|
3,0
|
| 1000
|
-
|
2,0
|
3,0
|
3,0
|
П.В.2. Импульсные помехи при коммутациях силового оборудования и коротких замыканиях на шинах распределительного устройства
На устойчивость к затухающим колебаниям (частотой 0,1 и 1 МГц) устройства испытывают в соответствии с ГОСТ 29280-92, ГОСТ Р 51317.4.12-99.
Степени жесткости испытаний приведены в табл. П.В.2.
Таблица П.В.2
Степени жесткости и нормируемые уровни испытаний при воздействии напряжением затухающих колебаний
| Степень жесткости
|
Синфазное напряжение, кВ
|
Противофазное напряжение, кВ
|
| 1
|
0,5
|
0,25
|
| 2
|
1
|
0,5
|
| 3
|
2,5
|
1
|
| Специальная
|
По согласованию между потребителем и производителем
|
В ГОСТ Р 51317.4.12-99 дополнительно предусмотрены испытания при воздействии одиночными колебательными (частота колебаний 0,1 МГц) затухающими импульсами. В этом случае вводят степень жесткости испытаний 4: синфазное напряжение 4,0 кВ и противофазное 2 кВ.
П.В.3. Импульсные помехи при ударах молнии
Испытания на устойчивость к воздействию импульсных помех оттоков молнии проводят в соответствии с ГОСТ Р 51317.4.5-99.
Степени жесткости испытаний приведены в табл. П.В.3.
Испытания изоляции устройств РЗА импульсным напряжением проводят приложением импульсного напряжения, максимальное значение которого должно быть следующим: 0; 1; 5 кВ (допуск: +0 … -10%), как указано в МЭК 255.
Таблица П.В.3
Степени жесткости н нормируемые уровни испытаний при воздействии импульсом напряжения 1/50 мкс (1,2/50 мкс)
| Степень жесткости
|
Амплитуда импульса напряжения, кВ, ±10%
|
| 1
|
0,5
|
| 2
|
1,0
|
| 3
|
2,0
|
| 4
|
4,0
|
| Специальная
|
По согласованию между производителем и потребителем
|
П.В.4. Электромагнитные поля радиочастотного диапазона
Испытания на устойчивость к излучаемым радиочастотным электромагнитным полям проводят в соответствии с ГОСТ Р 51317.4.2-99.
Требования помехоустойчивости устанавливают раздельно: при воздействии излучений от стационарных радио- и телевизионных передатчиков, радиопередатчиков подвижных объектов, от различных промышленных источников излучений; при воздействии помехоэмиссии от цифровых радиотелефонов.
Степени жесткости испытаний приведены в табл. П.В.4-П.В.6.
Таблица П.В.4
Степени жесткости и нормируемые уровни испытаний при воздействии радиочастотным электромагнитным полем в диапазоне частот от 80 до 1000 МГц
| Степень жесткости
|
Напряженность электромагнитного поля, В/м (дБ)
|
| 1
|
1 (120)
|
| 2
|
3 (130)
|
| 3
|
10 (140)
|
| 4
|
По согласованию между потребителем и производителем
|
Таблица П.В.5
Степени жесткости и нормируемые уровни испытаний при воздействии радиочастотным электромагнитным полем в диапазоне частот от 800 до 960 МГц и от 1,4 до 2 МГц
| Степень жесткости
|
Напряженность электромагнитного поля, В/м (дБ)
|
| 1
|
1 (120)
|
| 2
|
3 (130)
|
| 3
|
10 (140)
|
| 4
|
30 (150)
|
| Специальная
|
По согласованию между потребителем и производителем
|
Таблица П.В.6
Примеры степеней жесткости испытаний и соответствующих защитных расстояний
| Степень жесткости испытании
|
Напряженность поля в отсутствие модуляции, В/м
|
Максимальное среднеквадратичное значение напряженности поля, В/м
|
Защитное расстояние, м, при излучении, Вт
|
| 2 (С5М)
|
8 (О8М)
|
4 (DECT)
|
| 1
|
1
|
1,8
|
5,5
|
11
|
1,9
|
| 2
|
3
|
5,4
|
1,8
|
3,7
|
0,6
|
| 3
|
10
|
18
|
0,6
|
1,1
|
-
|
| 4
|
30
|
54
|
0,4
|
0,4
|
-
|
В табл. П.В.6 приведены примеры степеней жесткости испытаний и соответствующих защитных расстояний. Защитное расстояние представляет собой минимально допустимое расстояние между устройством и цифровым радиотелефоном, соответствующее установленной степени жесткости испытании.
П.В.5. Разряды статического электричества
Испытания на помехоустойчивость к разрядам статического электричества (ГОСТ Р 51317.4 2-99, МЭК 61000-4-2) проводят как при контактном, так и при искровом воздушном разряде непосредственно на испытуемый объект.
Применяют степени жесткости испытаний, приведенные в табл. П.В.7.
Таблица П.В.7
Степени жесткости и нормируемые уровни испытаний разрядами статического электричества
| Степень жесткости
|
Испытательное напряжение, кВ
|
| Контактный разряд
|
Воздушный разряд
|
| 1
|
2
|
2
|
| 2
|
4
|
4
|
| 3
|
6
|
8
|
| 4
|
8
|
15
|
| Специальная
|
По согласованию между потребителем и производителем
|
Сведения о влиянии относительной влажности и материалов напольных покрытий на уровень напряжения, до которого может быть заряжено тело человека, приведены в табл. П.В.8.
Таблица П.В.8
Уровни потенциала человека, обусловленные статическим электричеством при различных материалах и влажности
| Степень жесткости
|
Относительная влажность, не выше
|
Антистатический материал
|
Синтетический материал
|
Максимальное напряжение, кВ
|
| 1
|
35
|
´
|
-
|
2
|
| 2
|
10
|
´
|
-
|
4
|
| 3
|
50
|
-
|
´
|
8
|
| 4
|
10
|
-
|
´
|
15
|
П.В.6. Магнитные поля промышленной частоты
Испытания на помехоустойчивость к воздействию магнитного поля промышленной частоты проводят в соответствии ГОСТ Р 50648-94.
Степени жесткости испытаний на помехоустойчивость к магнитному полю промышленной частоты приведены в табл. П.В.9.
Таблица П.В.9
Степени жесткости
и нормируемые уровни испытаний при воздействии магнитным полем промышленной частоты
| Степень жесткости
|
Напряженность магнитного поля, А/м
|
| Магнитное поле постоянной интенсивности
|
Кратковременное магнитное поле (длительность 1-3 с)
|
| 1
|
1
|
-
|
| 2
|
3
|
-
|
| 3
|
10
|
-
|
| 4
|
30
|
300
|
| 5
|
100
|
1000
|
| Специальная
|
По согласованию между потребителем и производителем
|
П.В.7. Импульсные магнитные поля
Испытания на помехоустойчивость к импульсному магнитному полю проводят в соответствии с ГОСТ Р 50649-94.
Степени жесткости испытаний на помехоустойчивость к импульсному магнитному полю приведены в табл. П.В.10.
Таблица П.В.10
Степени жесткости и нормируемые уровни испытаний при воздействии импульсным магнитным полем
| Степень жесткости
|
Максимальная напряженность магнитного поля, А/м
|
| 1
|
-
|
| 2
|
-
|
| 3
|
100
|
| 4
|
300
|
| 5
|
1000
|
| Специальная
|
По согласованию между потребителем и производителем
|
П.В.8. Помехи, связанные с возмущениями в цепях электропитания АСТУ постоянного и переменного тока
Испытания на помехоустойчивость к помехам в цепях электропитания проводят в соответствии с ГОСТ 29280-92, Р51317.4.14-2000, Р 51317.4.11-99, Р 51317.4.28-2000 и др. Испытания проводят на помехоустойчивость к гармоникам, интергармоникам, сигналам систем телеуправления и сигнализации, колебаниям напряжения, провалам напряжения и кратковременным перерывам питания, несимметрии напряжений, изменениям частоты питания, составляющим постоянного тока в электрических сетях переменного тока.
Испытания на помехоустойчивость к импульсам напряжения 100/1300 мкс, возникающим при перегорании плавких предохранителей, проводят в соответствии с ГОСТ 29280-92.
Амплитуду испытательного импульса принимают в 1,3 раза большей, чем номинальное напряжение сети электропитания.
Испытания на помехоустойчивость к наносекундным импульсным помехам, возникающим в результате процессов коммутации, проводят в соответствии с ГОСТ 29280-92, ГОСТ Р51317.4.4-99.
Степени жесткости испытаний приведены в табл. П.В.11.
Таблица П.В.11
Степени жесткости и нормируемые уровни испытаний пачками импульсов
| Степень жесткости
|
Амплитуда импульсов выходного напряжения ненагруженного испытательного генератора, кВ
|
| Цепи силового электропитания
|
Сигнальные цепи ввода-вывода
|
| 1
|
0,5
|
0,25
|
| 2
|
1
|
0,5
|
| 3
|
2
|
1
|
| 4
|
4
|
2
|
| Специальная
|
По согласованию между потребителем и производителем
|
Испытания на помехоустойчивость к колебательным затухающим помехам частотой 100 кГц проводят в соответствии с ГОСТ Р 51317.4.12.
Применяют степени жесткости испытаний, приведенные в табл. П.В.12.
Испытания на помехоустойчивость к затухающему колебательному магнитному полю, которое возникает при коммутациях на шинах высокого напряжения выключателями и разъединителями, проводят в соответствии с ГОСТ Р 50652-94.
Таблица П.В.12
Степени жесткости и нормируемые уровни испытаний при воздействии колебательными затухающими импульсами
| Степень жесткости
|
Синфазное напряжение, кВ
|
Противофазное напряжение, кВ
|
| 1
|
0,5
|
0,25
|
| 2
|
1
|
0,5
|
| 3
|
2
|
1
|
| 4
|
4
|
2
|
| Специальная
|
По согласованию между потребителем и производителем
|
Степени жесткости испытаний на помехоустойчивость к затухающему колебательному магнитному полю даны в табл. П.В.13.
Таблица П.В.13
Степени жесткости и нормируемые уровни испытаний при воздействии затухающим колебательным магнитным полем
| Степень жесткости
|
Максимальная напряженность магнитного поля, А/м
|
| 1
|
-
|
| 2
|
-
|
| 3
|
10
|
| 4
|
30
|
| 5
|
100
|
| Специальная
|
По согласованию между потребителем и производителем
|
Испытания на устойчивость к пульсациям напряжения постоянного тока, воздействующим на порты электропитания постоянного тока, и формы испытательных напряжений установлены в ГОСТ Р 51317.4.17-2000. Жесткость испытаний определяется размахом пульсаций напряжения, выраженным в процентах от номинального напряжения электропитания постоянного тока.
Степени жесткости испытаний при воздействии помех на порт электропитания постоянного тока приведены в табл. П.В.14.
Испытания на устойчивость к кондуктивным помехам, наведенным радиочастотными электромагнитными полями в полосе частот от 150 кГц до 80 МГц, воздействующим на порты электропитания и ввода-вывода сигналов, проводят в соответствии с ГОСТ Р 51317.4.6-99.
Степени жесткости испытаний приведены в табл. П.В.15.
Таблица П.В.14
Степени жесткости испытаний при воздействии пульсаций напряжения
| Степень жесткости испытаний
|
Размах пульсаций напряжения (по отношению к номинальному напряжению электропитания), %
|
| 1
|
2
|
| 2
|
5
|
| 3
|
10
|
| 4
|
15
|
| Специальная
|
По согласованию между потребителем и производителем
|
Таблица П.В.15
Степени жесткости испытаний в полосе частот от 150 кГц до 80 МГц
| Степень жесткости испытании
|
Испытательное напряжение
|
| дБ
|
В
|
| 1
|
120
|
1
|
| 2
|
130
|
3
|
| 3
|
140
|
10
|
| Специальное
|
По согласованию между потребителем и производителем
|
Испытания на помехоустойчивость к кондуктивным помехам в полосе частот от 0 до 150 кГц проводят в соответствии с ГОСТ Р 51317.4.16-2000. Помехи, представляющие собой общие несимметричные напряжения в полосе частот от 0 до 150 кГц, наводятся в цепях релейной защиты, противоаварийной автоматики и технологического управления от близко расположенных силовых кабелей или заземляющих проводников. В зависимости от источника возникновения кондуктивные помехи, представляющие собой общие несимметричные напряжения в полосе частот от 0 до 150 кГц, подразделяют на два вида: постоянное напряжение и напряжение частотой 50 Гц; напряжение в полосе частот от 15 Гц до 150 кГц (включая гармоники основной частоты сети).
Степени жесткости испытаний на помехоустойчивость при воздействии кондуктивных помех постоянного тока на порты устройств, на частоте 50 Гц и в полосе частот от 15 Гц до 150 кГц представлены в табл. П.В. 16-П.В.18.
При испытаниях на помехоустойчивость к кратковременным помехам время воздействия помехи составляет 1 с.
Таблица П.В.16
Степени жесткости испытаний при воздействии длительных помех постоянного тока и на частоте 50 Гц
| Степень жесткости испытаний
|
Испытательное напряжение, В
|
| 1
|
1
|
| 2
|
3
|
| 3
|
10
|
| 4
|
30
|
| Специальное
|
По согласованию между потребителем и производителем
|
Таблица П.В.17
Степени жесткости испытаний на устойчивость при воздействии кратковременных помех постоянного тока и на частоте 50 Гц
| Степень жесткости испытаний
|
Испытательное напряжение, В
|
| 1
|
3
|
| 2
|
10
|
| 3
|
30
|
| 4
|
100
|
| Специальное
|
По согласованию между потребителем и производителем
|
Таблица П.В.18
Степени жесткости испытаний при воздействии длительных помех в полосе частот от 15 Гц до 150 кГц
| Степень жесткости испытаний
|
Испытательное напряжение, В в полосе частот
|
| 15-150 Гц
|
150 Гц-1,5 кГц
|
1,5-15 кГц
|
15-150 кГц
|
| 1
|
1-0,1
|
0,1
|
0,1-1
|
1
|
| 2
|
3-0,3
|
0,3
|
0,3-3
|
3
|
| 3
|
10-1
|
1
|
1-10
|
10
|
| 4
|
30-3
|
3
|
3-30
|
30
|
| Специальное
|
По согласованию между потребителем и производителем
|
Требования помехоустойчивости на частотах ниже 15 Гц не устанавливают (исключая помехи постоянного тока), так как на указанных частотах помехи не считаются существенными.
Приложение Г
Требования к техническим средствам воздействий и измерений
1. Воздействие токов и напряжений промышленной частоты
Технические средства, используемые для определения токов и напряжений промышленной частоты, воздействующих на АСТУ при КЗ на землю, должны обеспечить возможность составления реальной схемы ЗУ, имитации КЗ на землю и измерения токов и напряжений в условиях действующего энергообъекта.
Для проведения измерений при имитации КЗ на землю рекомендуется применять приборы, указанные в "Методических указаниях по контролю состояния заземляющих устройств электроустановок. РД 153-34.0-20.525-00", или приборы с аналогичными техническими характеристиками.
2. Воздействие импульсных помех
Технические средства, используемые для определения импульсных помех, воздействующих на АСТУ при коммутациях и КЗ на землю, должны обеспечить имитацию воздействия высокочастотных импульсных токов и электромагнитных полей, а также измерение импульсных токов и напряжений. Для имитаций импульсных помех может применяться генератор, обеспечивающий колебательный затухающий импульс тока с амплитудой в интервале от 2 до 20 А, декрементом колебания 3-5, с частотой колебаний в диапазоне от 0,1 до 10 МГц, с напряжением на выходе генератора не менее 500 В.
Для проведения измерений при коммутациях силового оборудования рекомендуется применять осциллографы с полосой пропускания не менее 10 МГц для объектов с ОРУ и не менее 50 МГц для объектов с КРУЭ, например осциллограф FLUKE-199. Для проведения имитаций высокочастотных воздействий может применяться измерительный комплекс ИКП-1 (НПФ ЭЛНАП, МЭИ, Москва).
3. Воздействие молнии
Технические средства, используемые для определения воздействия молнии, должны обеспечить определение схемы растекания тока молнии по устройству молниезащиты, имитацию воздействия апериодических затухающих импульсных токов и измерение импульсных токов и напряжений при имитации. Генератор импульсных токов должен обеспечить при выходном напряжении не менее 200 В импульсы тока, как минимум с двумя значениями времени фронта импульса, отличающимися более чем в 3 раза в диапазоне времени от 0,25 до 10 мкс.
Для проведения имитаций может быть рекомендован измерительный комплекс ИК-1 (НПФ ЭЛНАП, МЭИ, Москва).
4. Поля радиочастотного диапазона
Для измерения помех в радиочастотном диапазоне от 1 до 1000 МГц обычно используют перестраиваемые селективные высокочастотные вольтметры с соответствующим набором антенн.
Для сигналов вертикальной поляризации в диапазоне 26-300 МГц возможно использование биконических антенн с круговой диаграммой направленности и входным сопротивлением 50 Ом. Для сигналов с горизонтальной поляризацией используют дипольные антенны с входным сопротивлением 50 Ом. Существенным для правильных измерений является хорошее согласование антенно-фидерного тракта с вольтметром во всем диапазоне измеряемых частот. Значение коэффициента стоячей волны напряжения не должно превышать 3. Для измерения сигналов в диапазоне частот 300-1000 МГц возможно использование калиброванной измерительной антенны, рупорной измерительной антенны П-6-33 с входным сопротивлением 50 Ом.
Для сигналов с горизонтальной поляризацией используют также калиброванную широкополосную антенну в виде конического диполя ДП-3, входящую в измерительный комплекс FSM-8,5. Указанные антенны предназначены для измерения напряженности электрического компонента электромагнитного поля. Магнитный компонент поля определяют пересчетом по формуле
Н
, дБ (мкА/м) = Е
, дБ (мкВ/м)-52.
Возможность быстрого графического представления частотного спектра помех дает применение спектроанализаторов для измерений радиочастотных сигналов. Простейшим прибором этого класса является переносной спектроанализатор Protek-3200.
5. Магнитные поля промышленной частоты
Для измерения магнитного поля промышленной частоты целесообразно применять приборы, позволяющие измерять магнитные поля напряженностью от 0,01 до 1000 А/м. Могут применяться, например, приборы: ТП2-2У, МПМ-2 (ГП ВНИИФТРИ, Россия); П3-50 (СКВ РИАП, Россия); ЕТМ-1 (Wandel & Goltermann, Германия).
6. Статическое электричество
Для измерения потенциала тела человека может применяться статический вольтметр, например С 502. Для измерений удельного поверхностного и объемного сопротивлений изоляционных материалов может применяться тераомметр, например Е6-13.
7. Кондуктивные помехи радиочастотного диапазона
Для измерений кондуктивных помех радиочастотного диапазона может применяться осциллограф с полосой пропускания не менее 100 МГц, например FLUKE-199.
8. Пульсации и кондуктивные помехи в цепях питания
постоянным напряжением
Для измерений пульсаций и кондуктивных помех может применяться осциллограф с полосой пропускания не менее 10 МГц.
9. Длительные измерения
Для длительных измерений могут применяться осциллограф с полосой пропускания не менее 50 МГц и специальные регистраторы, позволяющие измерять импульсные помехи и сохранять в памяти зарегистрированные значения (например, регистратор событий FLUKE-VR-101S).
Приложение Д
Имитация короткого замыкания на землю
1. Имитация КЗ с помощью реостатов
Измерение распределения напряжения по заземлителю при имитации растекания токов КЗ через нейтрали трансформаторов проводят в соответствии со схемой рис. П.Д.1, а
(первый этап), а при имитации растекания токов в энергосистему - в соответствии со схемой рис. П.Д.1, б
(второй этап). Проведение имитации в 2 этапа связано с тем, что при одновременной имитации ток, уходящий через заземлитель в энергосистему, будет на порядок меньше, чем ток в нейтрали трансформаторов.

Рис. П.Д.1. Схема для имитации КЗ на высоковольтном оборудовании
Например, при КЗ имеется следующее распределение токов: в месте КЗ - 10 кА; нейтраль AT1 - 3 кА; нейтраль АТ2 - 3 кА, нейтраль АТ3 - 2 кА; энергосистема - 2 кА. Тогда при токе генератора I
ген
= 4 А (имитирует ток в месте КЗ) при помощи реостатов R
1, R
2 и R
3 устанавливают ток в нейтрали AT1 I
AT1
= 1,5 А, в нейтрали АТ2 I
AT2
= 1,5 А, в нейтрали АТ3 I
AT3
= 1 А.
2. Пересчет измеренных при имитации КЗ токов и напряжений к реальным значениям тока КЗ
Полученные результаты измерений пересчитывают к реальным значениям тока КЗ. Если имитация проводилась с помощью аппаратуры, которая генерирует переменный ток с частотой отличающейся от 50 Гц более чем на 20%, результаты измерений пересчитывают к частоте 50 Гц. Для пересчета используют зависимости коэффициента пересчета Kf
от сечения заземлителей S
. Напряжение на частоте 50 Гц U
50
= Uf
/ Kf
, где Uf
- измеренное напряжение на частоте f
.
Затем пересчитывают результаты измерений к реальному току КЗ. Пусть при имитации растекания части тока КЗ по нейтралям трансформаторов было получено (здесь и далее - с учетом пересчета к частоте 50 Гц) напряжение 0,3 В между РЩ и оборудованием. При имитации части тока КЗ, уходящего в энергосистему, ток генератора составил 0,15 А, напряжение 0,02 В.
При этом составляющая разности потенциалов между оборудованием и РЩ, обусловленная растеканием тока по нейтралям, при КЗ равна 600 В. Составляющая разности потенциалов от тока в энергосистему равна 266 В.
Суммарное напряжение между оборудованием и РЩ при КЗ составляет 866 В.
Это напряжение будет воздействовать на изоляцию контрольных кабелей, проложенных от рассматриваемого элемента оборудования до РЩ. Это же напряжение будет определять ток по заземленному с обеих сторон экрану кабеля от данного оборудования до РЩ.
По плану прокладки кабельных каналов или кабельному журналу определяют длину кабеля L
к
a
6
и производят расчет сопротивления экрана кабеля R
э
(индуктивным сопротивлением можно пренебречь).
Ток в экране кабеля при КЗ определяют как отношение напряжения между оборудованием и РЩ к сопротивлению экрана кабеля.
Полученный ток в экране сравнивают с допустимым значением. Допустимый ток рассчитывают по выражению:
,
где t
- время протекания тока; k
= 1 для t
< 1 с, k
= 0,8 для t
> 1 с.
Приложение Е
Требования к расчетным программам
П.Е.1. Расчет заземляющих устройств
Программы расчета заземляющих устройств должны моделировать в разветвленной трехмерной схеме заземляющего устройства с системой проводников (электродов) в воздухе, грунте и объемных заглубленных тел переходные процессы, обусловленные КЗ на землю, ударами молнии в молниеприемники и коммутациями силового оборудования. В результате расчетов должны быть определены токи и напряжения в заземляющем устройстве; сопротивление растеканию тока заземляющего устройства; напряжения прикосновения и шага; распределение потенциала в вертикальном сечении грунта и по поверхности земли.
Для проверки программы рекомендуются тестовые задачи, приведенные ниже.
При составлении тестовых задач использовались известные аналитические выражения из литературы (В.В. Бургсдорф, А.И. Якобе "Заземляющие устройства электроустановок") и результаты экспериментов, проведенных сотрудниками МЭИ и НПФ ЭЛНАП.
Далее в тексте используются следующие обозначения:
l
- длина электрода, м; r
- радиус электрода, м; s
- расстояние от электрода до поверхности земли, м; r - удельное сопротивление однородного грунта, Ом×м; r1
- удельное сопротивление верхнего слоя неоднородного грунта, Ом×м; r2
- удельное сопротивление нижнего слоя неоднородного грунта, Ом×м; h
- глубина раздела слоев, м; R
r
- сопротивление растеканию тока заземлителя, Ом.
Задача 1. Простые заземлители в однородном грунте
Таблица П.Е.1
Расчетные параметры для электрода в однородном грунте
| Расположение электрода
|
Вертикальное
|
Горизонтальное
|
| r
, м
|
0,006
|
0,006
|
| l
, м
|
5
|
5
|
| s
, м
|
0,5
|
0,5
|
| r, Ом×м
|
100
|
100
|
Расчеты по программе не должны отличаться более, чем на 5% от приведенных в табл. П.Е.2.
Таблица П.Е.2
Результаты расчета сопротивления растеканию тока
| Расположение электрода
|
Вертикальное
|
Горизонтальное
|
| R
r
, Ом
|
21,8
|
25,2
|
Задача 2. Простые заземлители в двухслойном грунте
Таблица П Е.3
Расчетные параметры для электрода в двухслойном грунте
| Расположение электрода
|
Вертикальное
|
Вертикальное
|
Вертикальное
|
| r
, м
|
0,006
|
0,006
|
0,006
|
| l
, м
|
2
|
2
|
2
|
| s
, м
|
0
|
1
|
2
|
| r1
, Ом×м
|
400
|
400
|
400
|
| r2
, Ом×м
|
100
|
100
|
100
|
| h
, м
|
2
|
2
|
2
|
Таблица П.Е.4
Результаты расчета сопротивления растеканию тока
| Расположение электрода
|
Вертикальное
|
Вертикальное
|
Вертикальное
|
| R
r
, Ом
|
190,9
|
74,98
|
49,49
|
Расчеты по программе не должны отличаться более, чем на 5% от приведенных в табл. П.Е.4.
Задача 3. Сложные заземлители в однородном грунте
Заземлители (рис. П.Е.1) с размерами в плане 40´40 м2
состоят из горизонтальных электродов радиусом 0,01 м заложенных на глубине 0,5 м и вертикальных электродов радиусом 0,01 м и длиной 5 м. Грунт однородный с удельным сопротивлением 100 Ом×м. Суммарный ток, стекающий с заземлителей в грунт, составляет 1000 А.

Рис. П.Е.1. Сложные заземлители
Таблица П.Е.5
Результаты расчета сопротивления растеканию тока
| Схема
|
6
|
7
|
8
|
| R
r
, Ом
|
1,20
|
1,12
|
1,07
|
Таблица П.Е.6
Максимальные потенциалы на поверхности грунта в центре заземлителя
| Схема
|
6
|
7
|
8
|
| Потенциал, В
|
825
|
890
|
980
|
Расчеты по программе не должны отличаться более, чем на 5% от приведенных в табл. П.Е.5, П.Е.6.
Указанным требованиям отвечает, например, программа "ОРУ-М" (НПФ ЭЛНАП, Москва).
П.Е.2. Расчет импульсных помех
Программа для расчета импульсных помех должна:
моделировать электромагнитные переходные процессы в кабельной линии, возникающие при ударе молнии в непосредственной близости от кабельной линии, при протекании импульсных токов по близлежащим тоководам, моделировать распределение потенциалов в заземляющих устройствах при протекании импульсных токов;
учитывать при моделировании волновые процессы в кабельных линиях, свойства грунта, наличие в грунте сетки заземления, коммутационные переходные процессы в близлежащих тоководах, расположение кабельной линии как в воздухе, так и в грунте, взаимное экранирование проводов в кабельных линиях, особенности включения линии на ее концах.
Погрешность результатов расчета по программе не должна превышать 20 %.
Для проверки программы ниже приведена тестовая задача.
Воздушная линия протяженностью 448 м располагается на высоте 1 м над землей. Молния ударяет в землю на расстоянии 20 м от одного из ее концов вдоль линии. Регистрировались ток молнии, вертикальная составляющая напряженности электрического поля молнии на расстоянии 500 м от места ее удара и напряжение, наведенное на воздушной линии. Соответствующие осциллограммы приведены на рис. П.Е.2, а расчет по программе на рис. П.Е.3.

Рис. П.Е.2. Осциллограммы тока молнии, напряженности электрического поля молнии и напряжения наводки на воздушной линии

Рис. П.Е.3. Расчет напряженности электрического поля молнии и напряжения наводки на воздушной линии по программе
Указанным требованиям отвечает, например, программа Interferences (НПФ ЭЛНАП, Москва).
Приложение Ж
Рекомендуемые мероприятия по улучшению ЭМО
1. Снижение уровней воздействующих токов и напряжений промышленной частоты
Если напряжения и токи промышленной частоты превышают допустимые значения, разрабатывают мероприятия по реконструкции заземляющего устройства.
1.1. Определяют те участки заземлителя, на которых происходит наибольшее падение напряжения, и в таких местах прокладывают дополнительные горизонтальные заземлители.
1.2. Для снижения потенциала на оборудовании прокладывают дополнительные проводники от оборудования к магистральным заземлителям, снизив сопротивление связи оборудования с сеткой заземляющего устройства. Наиболее эффективно сопротивление связи оборудования с заземлителем снижается при четырех параллельных связях оборудования с заземляющим устройством.
1.3. Если прокладка дополнительных горизонтальных заземлителей сетки заземляющего устройства не дает требуемого эффекта, снижают сопротивление растеканию тока всего объекта. Для этого устанавливают дополнительные вертикальные заземлители или выполняют выносной заземлитель. Установка вертикальных заземлителей эффективна только при наличии слоев грунта с низким удельным сопротивлением и при небольших размерах заземляющего устройства.
1.4. Для снижения токов в экранах, оболочках и броне кабелей прокладывают параллельно кабельной трассе дополнительные заземлители на расстоянии (0,5-1,0) м от кабельного канала или лотка.
1.5. Эффективность указанных мероприятий проверяют с помощью расчетов.
2. Снижение уровня импульсных помех
Если для какого-либо вида цепей установлено, что уровень импульсных помех при коммутациях, КЗ и ударах молнии превышает допустимые значения, для снижения помех в этих цепях проводят следующие мероприятия.
2.1. Прокладывают дополнительные проводники от оборудования к магистральным заземлителям.
2.2. Применяют экранированные кабели с заземлением экранов с обеих сторон.
2.3. Заземляют цепи напряжения на релейном щите (если это позволяют технические условия) или смещают места заземления на некоторое расстояние от оборудования высокого напряжения и порталов.
2.4. Для ограничения уровня помех на входе устройств устанавливают специальные средства ограничения перенапряжений.
2.5. Если указанные мероприятия окажутся неэффективными для снижения уровней импульсных помех от молнии, проводят реконструкцию системы молниезащиты энергообъекта.
3. Снижение уровня воздействующих электромагнитных полей
3.1. Снижение уровней электромагнитных полей радиочастотного диапазона от внешних источников и стационарных станций достигают за счет экранирования зданий или применения экранов в местах установки аппаратуры.
3.2. Если уровни электромагнитных полей от переносных радиопередающих станций превышают допустимые значения, предусматривают организационные мероприятия, исключающие использование таких станций в местах установки устройств АСТУ.
3.3. Для снижения уровня воздействия магнитного поля промышленной частоты изменяют место размещения устройств или перемещают источник магнитного поля на большее расстояние от устройств.
3.4. Если мероприятия по экранированию устройств от воздействий импульсных магнитных полей при ударах молнии окажутся неэффективными, проводят реконструкцию системы молниезащиты энергообъекта.
4. Защита от статического электричества
Если уровень потенциала тела человека превышает допустимое значение, применяют антистатическое напольное покрытие или устанавливают систему, поддерживающую соответствующую влажность воздуха в помещениях, где установлены устройства АСТУ.
5. Снижение уровня электромагнитных помех в цепях питания низкого напряжения
Для снижения уровня электромагнитных помех в цепях питания низкого напряжения до допустимых значений применяют следующие мероприятия:
5.1. Устанавливают средства ограничения перенапряжений на источниках помех (соленоидах, катушках реле).
5.2. Устанавливают средства ограничения перенапряжений на шинах постоянного тока и на шинах собственных нужд.
5.3. Применяют специальные фильтры.
5.4. Применяют отдельное питание устройств АСТУ.
Подробнее мероприятия по улучшению электромагнитной обстановки рассмотрены в рекомендованной литературе.
СОДЕРЖАНИЕ
Введение
Перечень основных определений
1. Основные положения
2. Проведение измерений и расчетов по определению ЭМО
2.1. Напряжения и токи промышленной частоты при КЗ на шинах распределительного устройства
2.1.1. Исходные данные
2.1.2. Имитация КЗ на землю (составляющая тока КЗ промышленной частоты)
2.1.3. Обработка результатов измерений и проведение расчетов
2.2. Импульсные помехи при коммутациях силового оборудования и коротких замыканиях на шинах распределительного устройства
2.2.1. Исходные данные
2.2.2. Импульсные помехи, обусловленные увеличением потенциала заземлителя
2.2.2.1. Имитация импульсных помех
2.2.2.2. Обработка результатов измерений и проведение расчетов
2.2.3. Импульсные излучаемые помехи
2.2.3.1. Имитация импульсных излучаемых помех
2.2.3.2. Измерение импульсных помех при коммутациях силового оборудования
2.2.3.3. Обработка результатов измерений и расчеты
2.3. Импульсные помехи при ударах молнии
2.3.1. Исходные данные
2.3.2. Импульсные излучаемые помехи
2.3.3. Импульсные помехи, связанные с увеличением потенциала заземлителя
2.3.4. Обработка результатов измерений и расчеты
2.4. Электромагнитные поля радиочастотного диапазона
2.5. Разряды статического электричества
2.6. Магнитные поля промышленной частоты
2.7. Импульсные магнитные поля
2.8. Помехи, связанные с возмущениями в цепях питания АСТУ постоянного и переменного тока
2.9. Помехи от вспомогательного электрооборудования
2.10. Оформление результатов измерений и расчетов
3. Меры безопасности при определении ЭМО
4. Периодичность проведения работ по определению ЭМО
Список рекомендуемой литературы
Приложение А. Рабочая программа проведения экспериментальных работ по определению ЭМО
Приложение Б. Протоколы
Приложение В. Классификация ЭМО, классы и степени жесткости испытаний устройств на помехоустойчивость
Приложение Г. Требования к техническим средствам воздействий и измерений
Приложение Д. Имитация короткого замыкания на землю
Приложение Е. Требования к расчетным программам
Приложение Ж. Рекомендуемые мероприятия по улучшению ЭМО
|