| Федеральное агентство по образованию
Государственное образовательное учреждение высшего профессионального образования
«НАЦИОНАЛЬНЫЙ ИССЛЕДОВАТЕЛЬСКИЙ
ТОМСКИЙ ПОЛИТЕХНИЧЕСКИЙ УНИВЕРСИТЕТ»
_________________________________________________
Утверждаю
Декан АВТФ
__________ С.А. Гайворонский
«___»____________2010 г.
Тришина Е.А.
ДАТЧИКИ ДАВЛЕНИЯ МЕТРАН 100
Методические указания к выполнению лабораторной работы № 4 по курсу «Основы автоматизации производственных процессов» для студентов, обучающихся по специальности 220201 «Управление и информатика в технических системах»
Издательство
Томского политехнического университета
2010
УДК 681.325.5-181.48(076.5)
ББК 32.973.26-04я73
С446
Тришина Е.А.
С446 Методические указания к выполнению лабораторной работы № 4 по курсу «Основы автоматизации производственных процессов» для студентов, обучающихся по специальности 220201 «Управление и информатика в технических системах». – Томск: Изд-во Томского политехнического университета, 2010. – 10 с.
УДК 681.325.5-181.48(076.5)
ББК 32.973.26-04я73
Методические указания рассмотрены и рекомендованы к изданию методическим семинаром кафедры автоматики и компьютерных систем АВТФ « 11 »
февраля 2010 г.
Зав. кафедрой АиКС
доктор технических наук ___________Г.П. Цапко
Председатель учебно-методической
комиссии ___________В.И. Рейзлин
Рецензент
Доцент, кандидат технических наук
В.И. Коновалов
© Тришина Е.А., 2010
© Томский политехнический университет, 2010
© Оформление. Издательство Томского
политехнического университета, 2010
СОДЕРЖАНИЕ
| 1. Назначение и характеристики датчиков давления Метран-100…
|
| 2. HART-модем………………………………………………………..
|
| 3. HART-коммуникатор………………………………………………
|
| 4. Программа H-Master……………………………………………….
|
| 5. Калибратор давления Метран-515………………………………...
|
| 6. Методика проведения поверки…………………………………….
|
| 7. Структурная схема лабораторного стенда………………………..
|
| 8. Методические указания и порядок выполнения работы………...
|
| 9. Контрольные вопросы……………………………………………..
|
| 10. Содержание отчета………………………………………………...
|
Цель работы: изучение назначения, возможностей и принципа работы датчика давления Метран-100, программы
H
-
Master
, изучение методики поверки измерительного преобразователя Метран 100 с помощью калибратора давления Метран 515 и получение практических навыков выполнения данной операции.
Забиваем Сайты В ТОП КУВАЛДОЙ - Уникальные возможности от SeoHammer
Каждая ссылка анализируется по трем пакетам оценки: SEO, Трафик и SMM.
SeoHammer делает продвижение сайта прозрачным и простым занятием.
Ссылки, вечные ссылки, статьи, упоминания, пресс-релизы - используйте по максимуму потенциал SeoHammer для продвижения вашего сайта.
Что умеет делать SeoHammer
— Продвижение в один клик, интеллектуальный подбор запросов, покупка самых лучших ссылок с высокой степенью качества у лучших бирж ссылок.
— Регулярная проверка качества ссылок по более чем 100 показателям и ежедневный пересчет показателей качества проекта.
— Все известные форматы ссылок: арендные ссылки, вечные ссылки, публикации (упоминания, мнения, отзывы, статьи, пресс-релизы).
— SeoHammer покажет, где рост или падение, а также запросы, на которые нужно обратить внимание.
SeoHammer еще предоставляет технологию Буст, она ускоряет продвижение в десятки раз,
а первые результаты появляются уже в течение первых 7 дней.
Зарегистрироваться и Начать продвижение
1. Назначение и характеристики датчиков давления Метран-100
Датчики давления Метран-100 (в дальнейшем датчики) предназначены для работы в системах автоматического контроля, регулирования и управления технологическими процессами и обеспечивают непрерывное преобразование измеряемых величин – давления избыточного, абсолютного, разрежения, давления-разряжения, разности давлений, гидростатического давления нейтральных и агрессивных сред в унифицированный токовый выходной сигнал дистанционной передачи, цифровой сигнал на базе HART-протокола и цифровой сигнал на базе интерфейса RS-485 с протоколами обмена ICP или Modbus.
Датчики Метран-100 предназначены для преобразования давления рабочих сред: жидкости, пара, газа (в том числе газообразного кислорода и кислородосодержащих газовых смесей) в унифицированный токовый выходной сигнал, цифровой сигнал на базе HART-протокола и цифровой сигнал на базе интерфейса RS-485.
Датчики предназначены для работы с вторичной регистрирующей аппаратурой, системами управления, воспринимающими стандартные сигналы постоянного тока 0-5 или 0-20 или 4-20 мА, цифрового сигнала на базе HART-протокола и цифрового сигнала на базе интерфейса RS-485.
Датчики с HART-протоколом передают информацию об измеряемой величине в цифровом виде по двухпроводной линии связи вместе с сигналом постоянного тока 4-20 мА. Этот цифровой сигнал может приниматься и обрабатываться любым устройством, поддерживающим протокол HART. Цифровой выход используется для связи датчика с портативным ручным HART-коммуникатором или с персональным компьютером через стандартный последовательный порт и дополнительный HART-модем, при этом может выполняться настройка датчика, выбор его основных параметров, перестройка диапазонов измерений, корректировка «нуля» и ряд других операций. HART-протокол допускает в системе наличия двух управляющих устройств: системы управления и ручного коммуникатора. Эти управляющие устройства имеют разные адреса и следовательно Метран-100 может распознать и выполнить команды каждого из них.
Таким образом, по двухпроводной связи передается два типа сигналов – аналоговый сигнал 4-20 мА и цифровой сигнал на базе протокола HART, который накладывается на аналоговый выходной сигнал датчика, не оказывая на него влияния.
В данной лабораторной работе используется датчик Метран-100-ДИ модели 1131 и кодом исполнения датчика МП3 (микропроцессорный со встроенным индикаторным устройством с выходным аналоговым сигналом 4-20 мА и цифровым сигналом на базе протокола HART).
Сервис онлайн-записи на собственном Telegram-боте
Попробуйте сервис онлайн-записи VisitTime на основе вашего собственного Telegram-бота:
— Разгрузит мастера, специалиста или компанию;
— Позволит гибко управлять расписанием и загрузкой;
— Разошлет оповещения о новых услугах или акциях;
— Позволит принять оплату на карту/кошелек/счет;
— Позволит записываться на групповые и персональные посещения;
— Поможет получить от клиента отзывы о визите к вам;
— Включает в себя сервис чаевых.
Для новых пользователей первый месяц бесплатно.
Зарегистрироваться в сервисе
Датчик избыточного давления Метран-100-ДИ, модель 1131 имеет следующие технические характеристики:
- максимальный верхний предел измерений или диапазон измерений, Pmax
– 40 кПа;
- минимальный верхний предел измерений или диапазон измерений, Pmin
– 1,6кПа;
- ряд верхних пределов или диапазонов измерений от Pmin
до Pmax
по ГОСТ 22520, кПа – 1,6; 2,5; 4,0; 6,0; 10; 16; 25;40
Электрическое питание датчиков Метран-100 осуществляется от источника постоянного тока напряжением 12-42 В.
Датчик состоит из преобразователей давления (в дальнейшем – сенсорный блок) и электронного преобразователя. Датчики имеют унифицированный электронный преобразователь.
Измеряемая входная величина подается в камеру сенсорного блока и преобразуется в деформацию чувствительного элемента (тензопреобразователя), вызывая при этом изменение электрического сопротивления в токовый выходной сигнал.
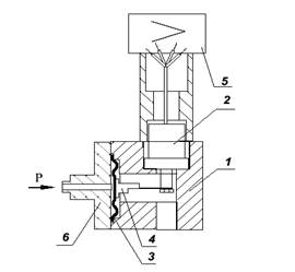
Конструкция датчика модели 1131 представлена на рисунке 1. Сенсорный блок датчика состоит из корпуса 1, рычажного тензопреобразователя 2, измерительной мембраны 3, жесткого центра со штоком 4, электронного преобразователя 5, штуцера 6.
В датчике модели 1131 измеряемое избыточное давление Р воздействует мембрану 3 и преобразуется в усилие на жестком центре, которое через шток 4 передается на рычаг тензопреобразователя 2. перемещение конца рычага вызывает деформацию измерительной мембраны тензопреобразователя. На измерительной мембране размещены тензорезисторы. Тензорезисторы соединены в мостовую схему. Деформация измерительной мембраны вызывает изменение сопротивления тензорезисторов и разбаланс мостовой схемы. Электрический сигнал, образующийся при разбалансе мостовой схемы, подается в электронный преобразователь 5. электронный преобразователь преобразует электрический сигнал от тензопреобразователя в стандартный токовый выходной сигнал.

Рисунок 1 – Модель 1131
2 HART-модем
HART-модем Метран 681 (далее модем) предназначен для согласования (связи) персонального компьютера или средств автоматизированных систем управления технологическими процессами с интеллектуальными датчиками давления Метран-100, интеллектуальными преобразователями температуры Метран-280 и другими устройствами, поддерживающими HART-протокол.
Основные технические данные модема:
· обеспечивает сопряжение стандартного персонального компьютера (IBM PC с COM-портом), имеющего программу обмена с устройствами, поддерживающими HART-протокол. Модем не вносит дополнительной погрешности в аналоговый измерительный сигнал;
· обеспечивает передачу и прием HART сигналов в соответствии с требованиями спецификации физического уровня для первичного мастера;
· сохраняет работоспособное состояние, обеспечивает обмен информацией персонального компьютера (ПК) и датчика без сбоев и искажений при воздействии магнитного поля переменного тока частотой 50 Гц, напряженностью до 400 А/м.
Основные достоинства модема:
- обеспечивает высокую надежность приема/передачи данных;
- не требует применения блока питания;
- обеспечивает возможность настройки подключенных HART-устройств из любой точки токовой цепи;
- используется с программами H-Master, HART OPC-сервер или с любым другим программным обеспечением (AMS, Rosemount Radar Master, Radar Configuration Tools, Engineering Assistant, Visual Instrument и т.д.) для настройки интеллектуальных устройств с HART-протоколом.
3 HART-коммуникатор
Коммуникатор Метран-650 (далее коммуникатор)– портативное устройство, предназначенное для считывания информации, удаленной настройки и конфигурирования интеллектуальных полевых приборов (датчиков давления Метран-150, -100, -49, Rosemount 1151, 2088, 3051С/Т, 3051S, преобразователей температуры Метран-280, Rosemount 248, 644, расходомеров Метран-360 и т.п.) поддерживающих HART-протокол.
Основные достоинства коммуникатора:
· Возможность настройки произвольных HART-приборов из любой точки токовой цепи;
· Доступ ко всем параметрам приборов;
· Диагностика прибора;
· Получение информации о приборе (номер прибора, версия прибора и т.д.).
Устройство и работа:

Рисунок 2 – Внешний вид коммуникатора
Коммуникатор, структурная схема которого приведена на рисунке 3, состоит из следующих частей:
- микроконтроллер;
- HART-модем с выходным и входным буферами;
- жидкокристаллический индикатор;
- клавиатура;
- зарядное устройство;
- автономный источник питания;
- стабилизаторы напряжения.

Рисунок 3 – Структурная схема коммуникатора
Основной частью коммуникатора является микроконтроллер, который:
- обрабатывает принятую от интеллектуальных датчиков информацию;
- управляет режимами работы всех остальных составных частей;
- следит за состоянием автономного источника питания.
Набор команд и управление режимами работы коммуникатора осуществляется при помощи мембранной клавиатуры. Информация о режимах работы коммуникатора, параметрах датчиков отображается на ЖКИ (4 строки по 20 символов в каждой). Входной сигнал HART-протокола подается на входной буфер, представляющий собой дифференциальный усилитель с единичным коэффициентом усиления. Далее сигнал поступает через фильтр на HART-модем, преобразующий частотно-модулированный сигнал в цифровой сигнал, обрабатываемый микроконтроллером.
Выходной сигнал формируется также HART-модемом, преобразующим цифровой сигнал микроконтроллера в частотно-модулированный сигнал, поступающий на выходной буфер.
Питание коммуникатора осуществляется от автономного источника питания, расположенного в отдельном отсеке корпуса. Стабилизаторы напряжения предназначены для создания нужного питания узлов схемы.
Контроллер коммуникатора запитан постоянно и переходит в режим низкого потребления при выключении коммуникатора.
4 Программа H-Master
Конфигурационная программа H-Master предназначена для настройки интеллектуальных датчиков давления Метран 150, Метран-100, Метран-49, Rosemount 3051С/T, Rosemount 3051S, Rosemount 1151 интеллектуальных преобразователей температуры Метран-280-1, Метран-280-2, Rosemount 248, преобразователей расхода Метран-300ПР, Метран-303ПР и других устройств, поддерживающих HART-протокол. Для работы программы с датчиками необходим HART-модем (например, Метран-681, Метран-682) или HART-мультиплексор Метран-670. Имеет удобный интерфейс пользователя на русском и английском языках.
H-Master позволяет выполнить:
· поиск устройств, подключенных к HART-модему или к HART-входам мультиплексора;
· поиск устройств, подключенных по RS-485 интерфейсу и поддерживающих канальный уровень HART;
· считывание переменных процесса;
· считывание информации о HART-устройстве и сенсоре;
· тест устройства;
· настройку HART устройства;
· настройку сенсора (Метран-150, Метран-100, Метран-49, Rosemount 3051С/T, Rosemount 3051S, Rosemount 1151, Метран-280-1, Метран-280-2, Rosemount 248, Метран-300ПР, Метран-303ПР);
· настройку ЦАП;
· архивирование параметров
Работа с HART-устройством ведется пользователем в главном окне программы.
После выбора нужного устройства из списка HART-устройств пользователь приступает непосредственно к работе с устройством.
Операция программы "Информация о датчике"
позволяет пользователю получить информацию:
о переменных процесса:
- текущее значение параметра;
- процент диапазона измерений;
- выходной сигнал в мА;
- верхний и нижний пределы измерений;
об устройстве:
- производитель;
- тип датчика;
- серийный номер;
- версия протокола HART и т.д.;
о сенсоре (дополнительно для поддерживаемых датчиков):
- модель;
- дата выпуска;
- исполнение по кислороду;
- код основной погрешности;
- исполнение по назначению;
- климатическое исполнение и т.д.;
Операция программы "Настройка датчика
"
позволяет пользователю настроить следующие параметры:
- единицы измерения;
- верхнюю и нижнюю границы диапазона;
- тип передаточной функции;
- время установления выходного сигнала;
- пользовательские параметры (тег, дату, номер сборки и т д.);
а также провести диагностику датчика (ПЗУ на плате АЦП, EEPROM микропроцессора, сенсора и т.д.).
Операция программы "Настройка сенсора"
обеспечивает пользователю, с использованием образцовых средств задания давления, возможности по:
- корректировке нуля;
- калибровке пределов измерений;
- чтению информации о сенсоре (серийный номер сенсора, ВПИ, НПИ сенсора и т д.).
Операция программы "Настройка ЦАП"
позволяет пользователю выполнить:
- калибровку токового выхода датчика;
- тестирование токового выхода.
Опция программы "Регистратор"
позволяет регистрировать и архивировать данные измерительного процесса.
Программа позволяет считывать, записывать в файл на диск и отображать на графике данные о токе и значения четырех динамических переменных с устройств, установленных в сети. Пользователь выбирает устройства, для которых необходимо считать данные, указывает имя файла, в который будут записываться данные, задает интервал опроса устройств, а так же указывает количество измерений, которое будет произведено и занесено в архив. Запись результатов производится в текстовый файл с разделителями (*.csv-файл), которые затем могут быть обработаны в программе Microsoft Excel. Время опроса зависит от количества опрашиваемых устройств и их быстродействия (минимальное время между измерениями составляет 1 с). Чтобы осуществлять опрос нескольких каналов мультиплексора существует режим мультиканального опроса. В этом режиме время доступа к данным устройства возрастает и занимает не менее 3 с.
Для визуального отображения информации в программе имеется возможность просмотра графика. На графике отображается следующая информация:
- наименование текущего устройства;
- список переменных, значения которых отображаются в виде графика;
- время измерения значений переменных в формате чч:мм;
- значение измеряемой величины в текущих единицах
измерения;
- график значений переменных, считанных с выбранного устройства.
Программа H-Master предоставляет пользователю возможность ознакомиться с основными функциями программы в "Демонстрационном режиме" без подключения реального устройства.
Для запуска программы необходимо выбрать меню «Пуск», далее «Программы», затем «HART Master» и пункт HARTMaster. Если программе инсталляции было указано создать ярлык программы, то для запуска программы достаточно щелкнуть мышью на ее ярлычке, расположенном на рабочем столе. При работе с программой желательно закрыть все остальные программы.
На рисунке 4 приведено главное окно программы H-Master. На рисунке введены обозначения: 1 – заголовок программы (содержит имя коммуникационного порта, к которому подключен HART модем); 2 – меню программы (содержит команды настройки и управления программой); 3 – закладки, на которых пользователь может найти элементы для получения информации о подключенных устройствах и управлении ими; 4 – статус датчика; 5 – строка состояния; 6 – ответ датчика; 7, 8 – индикация состояния связи с устройством.

Рисунок 4 – Главное окно программы H-Master
Меню команд
1.
Пункт меню «Конфигурация»
Это меню содержит команды для настройки программы.
Конфигурация
Горячая клавиша: Ctrl + P.
Используя данную команду, пользователь может произвести следующие настройки:
выбрать COM порт, к которому подключен HART-модем/HART- мультиплексор;
– установить количество знаков после запятой при выводе чисел;
– установить количество неудачных попыток, при работе с HART устройством, которые должна сделать программа перед тем как выдать сообщение об ошибке;
– установить задержку после выполнения каждой HART команды (в миллисекундах). Служит для повышения устойчивости связи;
– вкл/выкл режим показа канального уровня HART, который предоставляет возможность наблюдать за обменом с HART устройствами (нужно только для опытных пользователей);
– вкл/выкл режим протоколирования всех операций с HART устройствами в текстовый файл. Файл протокола находится в каталоге программы и называется HARTmaster.log.
Выход
Горячая клавиша: Alt + F4.
Данная команда используется для корректного завершения работы программы.
2
.
Пункт меню «Команды»
Это меню содержит команды для работы с текущим устройством:
Присвоить адрес опроса
Используется для присвоения нового адреса опроса текущему устройству.
Перезагрузка микропроцессора
Используется для перезагрузки микропроцессора текущего устройства
Количество преамбул в ответе
Всем сообщениям, передаваемым HART приборами, предшествует определенный набор символов, называемых преамбулами. HART приборы не должны передавать меньше 5 преамбул. Это дает достаточное время, для установления несущей частоты, и позволяет управляющему устройству настроить свои входные схемы для приема сообщения. Для HART приборов рекомендуется отправлять не более 20 преамбул. Данная команда используется для установки количества преамбул в ответе для текущего устройства.
Сброс флага изменения конфигурации
Используется для сброса флага изменения конфигурации текущего устройства. Флаг изменения конфигурации устанавливается при операциях записи и калибровки датчика. Этот флаг устанавливается в статусе датчика.
Демо-режим
Используется для Входа/Выхода из демо-режима
3.
Пункт меню «Помощь»
Это меню содержит команды для получения справочной информации:
Вызов справки
Горячая клавиша: F1.
Данная команда используется для вывода справки о текущей операции либо команде.
О программе
Вывод сведений о программе, ее версии и авторских правах
4.
Пункт меню «Язык»
Это меню содержит команды для выбора языка программы
Русский
- устанавливает русский язык
English
- устанавливает английский язык
После выполнения команды необходимо перезапустить программу, чтобы изменения вступили в силу. Для этого завершите работу программы, и запустите её снова
В любое время пользователю доступны сведения о текущем состоянии устройства.
1.
Возможные состояния датчика (поле «Статус датчика» рисунок 2, позиция 5):
ОК
;
Первичная переменная вне диапазона
;
Аналоговый выход ограничен
;
Аналоговый выход зафиксирован
;
Доступен дополнительный статус
- Пользователь может посмотреть дополнительную диагностическую информацию;
Холодный старт
- Выполнена первая команда после включения датчика;
Конфигурация изменена
- Предыдущие команды изменили конфигурацию устройства;
Устройство неисправно.
2.
Пользователь так же может в любое время просмотреть результаты выполнения команд в поле «Ответ датчика» (рисунок 2, позиция 8). Ниже перечислены возможные результаты выполнения команд:
Ошибок нет;
Неправильный выбор параметра;
Параметр слишком велик;
Параметр слишком мал;
Для выполнения команды не хватает данных;
Специфическая ошибка при выполнении команды;
Защита записи
- Устройство находится в режиме защиты записи;
Устройство занято
- Для выполнения команды устройству требуется дополнительное время;
Команда не реализована
.
3.
Индикаторы (рисунок 2, позиции 9 и 10) отображают процесс передачи/приема команд.
Во время связи с устройством могут возникать ошибки передачи/приема информации (ошибки связи), которые отображаются с помощью появляющихся предупреждений:
Переполнение приёмного буфера (buffer overflow)
– Длина сообщения больше приемного буфера устройства;
Ошибка контрольной суммы (checksum error)
- Контрольная сумма не соответствует приемному сообщению;
Ошибка фрагментации (framing error)
- При передаче были пропущены один или более START, PARITY, STOP биты;
Ошибка переполнения (overrun error)
- Необработанные байты сообщения были перезаписаны байтами нового сообщения;
Ошибка четности (parity error)
- Байт четности не соответствует байту контрольной суммы.
На рисунке 5 приведено главное окно программы H-Master при работе с датчиком через мультиплексор. На рисунке введены обозначения: 1 – заголовок программы (содержит имя коммуникационного порта, к которому подключен HART мультиплексор); 2 – меню программы (содержит команды настройки и управления программой); 3 – закладки, на которых пользователь может найти команды для настройки датчика; 4 – список HART устройств в сети; 5 – статус датчика; 6 – строка состояния; 7 – команда "Прочитать все каналы"; 8 – ответ датчика; 9, 10 – индикация состояния связи с устройством.

Рисунок 5 – Окно программы H-Master при работе с датчиком через мультиплексор
Настройка программы
Настройку программы требуется производить при первом запуске программы после установки на компьютер, а также при подключении HART модема к другому разъему последовательного порта. При завершении работы программа запоминает выбранные настройки и при дальнейших запусках настройка не требуется. Настройка осуществляется через команду меню «Конфигурация», пункт «Конфигурация» или одновременным нажатием клавиш Ctrl+P.

Рисунок 6 – Настройка программы
В окне «Конфигурация», внешний вид которого приведен на рисунке 6, устанавливают следующие параметры:
HART Modem
– имя порта, к которому подключен HART модем/мультиплексор (COM1, COM2, ...)
Числа
– управление отображением числовых значений (количество знаков после запятой).
Master
– параметры HART мастера:
Выбор типа мастера: первичный или вторичный
Количество попыток при ошибках.
Время предоставления линии (мс): пауза между командами, необходимая для работы второго мастера (ручной коммуникатор). Для коммуникатора М650 время предоставления линии составляет 400 мс, а для FR375 и FR275 – 75 мс. Если возникают проблемы при работе двух мастеров на линии, попробуйте изменять время предоставления линии в диапазоне от 10 до 1000мс.
Режимы работы
Показывать канальный уровень HART.
Режим журнала – протоколирование всех операций HART сети в текстовый файл. Файл протокола находится в каталоге программы и называется HARTMaster.log.
Режимы работы с сетью
Режим с сетью HART-устройств
Режим работы с сетью RS-485 устройств.
Работа с сетью RS-485
Мультиплексор, подключенный по интерфейсу RS-485, имеет HART-подобный канальный уровень.
Поиск и идентификация мультиплексоров в сети RS-485 осуществляется по уникальному адресу опроса, который может принимать значения от 0 до 15.
Для работы с сетью RS-485 устройств включите соответствующий режим в "Конфигурации" (Ctrl+P).
Работа с сетью RS-485 устройств осуществляется в главном окне программы, вкладка «Работа с сетью» (рисунок 7). На рисунке введены обозначения: 1 – список мультиплексоров в сети (отображаются мультиплексоры, подключенные к сети и осуществляется выбор текущего устройства); 2 – команда «Опросить сеть»; 3 – команда «Присвоить адрес опроса»; 4, 5 - информация обустройстве.

Рисунок 7 – Работа с сетью RS-485 устройств
Поиск мультиплексоров в сети
Текущая вкладка "Сеть".
Команда «Опросить сеть» осуществляет последовательный опрос мультиплексоров, подключенных к сети, начиная с адреса опроса 0 и до 15. Найденные мультиплексоры отображаются в списке устройств . При нахождении мультиплексора по адресу опроса 0 программа продолжает опрос, т.к. нулевой адрес опроса не означает наличие одного мультиплексора в сети. Прервать процесс опроса можно в любой момент с помощью команды «Остановить».
Работа с сетью HART устройств
В двухпроводной системе связи можно работать:
· с одним подчиненным устройством (подчиненное устройство имеет фиксированный адрес опроса, равный нулю), при этом первичная переменная может быть считана как аналоговая величина, или по цифровому каналу;
· с двумя или более HART устройствами, которые могут быть соединены вместе через один канал передачи. В такой системе каждое устройство имеет свой уникальный адрес.
HART протокол позволяет адресовать на одной паре проводов до 15-ти HART устройств. Аналоговые сигналы в этом режиме использовать нельзя, поскольку они будут просто складываться друг с другом в общем контуре. В этом случае каждое устройство устанавливает свой аналоговый выход на фиксированный уровень токового сигнала 4 мА (только питание). Идентификация устройства в сети HART устройств, осуществляется по уникальному адресу опроса, который может принимать значения от 1 до 15. Присвоение ненулевого адреса опроса фиксирует выходной аналоговый сигнал на уровне 4 мА.
Работа с сетью HART устройств осуществляется в главном окне программы, вкладка «Сеть» (рисунок 8). На рисунке введены обозначения: 1 – список HART устройств в сети (отображаются найденные устройства, и осуществляется выбор текущего устройства); 2 – команда «Опросить сеть»; 3 – команда «Присвоить адрес опроса»; 4, 5 - информация об устройстве.

Рисунок 8 – Работа с сетью HART устройств
Поиск устройств в сети при работе через модем
Текущая вкладка "Сеть".
Команда «Опросить сеть» осуществляет последовательный опрос устройств, подключенных к сети, начиная с адреса опроса 0 и до 15. Найденные устройства отображаются в списке устройств. При нахождении устройства по адресу опроса 0 программа прекращает опрос, т.к. нулевой адрес опроса подразумевает наличие только одного устройства в сети. Прервать процесс опроса можно в любой момент с помощью команды «Остановить».
Поиск устройств в сети при работе через мультиплексор
Текущая вкладка "Работа с MUX".
Поле информация о мультиплексоре содержит список каналов. Двойное нажатие левой кнопки мыши по выбранному каналу осуществляет последовательный опрос устройств, подключенных к нему, начиная с адреса опроса 0 и до 15. Найденные устройства отображаются в списке устройств. При нахождении устройства по адресу опроса 0 программа прекращает опрос, т.к. нулевой адрес опроса подразумевает наличие только одного устройства в сети. Для первичной идентификации приборов, подключенных к мультиплексору, рекомендуется опросить все каналы командой "Прочитать все каналы"
Выбор текущего устройства
В списке подключенных устройств с помощью мыши или клавиатуры выберите из списка нужное устройство. Программа автоматически считает идентификатор устройства, информацию об устройстве и запустит самотестирование устройства.
Присвоение адреса опроса
Выберите из списка необходимое устройство и выполните команду «Присвоить адрес опроса». В появившемся диалоговом окне (рисунок 9) введите новый адрес опроса (целое число от 0 до 15) и нажмите «ОК».

Рисунок 9 – Присвоение адреса опроса
Программа запишет в устройство новый адрес опроса, обновит список устройств и запустит процедуру самотестирования устройства.
Информация о датчике
Текущая вкладка «Инф. о датчике»
Информация о датчике отображается в главном окне программы, вкладка «Инф. о датчике» (рисунок 10). На рисунке введены следующие обозначения: 1 – показать соответствующую величину в отдельном окне; 2 – начать/остановить периодическое считывание переменных процесса; 3 – график токового выхода; 4 – считать дополнительную информацию о датчике; 5 – считать информацию о текущем диапазоне измерений.
Рисунок 10 – Информация о датчике
Пользователь может получить следующую информацию:
Чтение переменных процесса
Текущая вкладка "Инф. о датчике"
Первичная переменная устройства представляет собой основную переменную прибора. Первичной переменной, для датчиков Метран-100, FR-3051C и FR-3051S является давление, для датчиков Метран-280-1, Метран-280-2 и FR-248 – температура, для датчика Метран-300ПР, Метран-303ПР - расход (смотри РЭ на Метран-300ПР, Метран-303ПР). Выберите команду «Начать считывание». Программа начнет периодическое считывание текущего значения первичной переменной, процента от диапазона и токового выхода. Чтобы остановить периодическое считывание выберите команду «Остановить». Для вывода величины в отдельном окне (рисунок 11 – на примере давления) нажмите на кнопку .

Рисунок 11 – Периодическое считывание давления
Для возврата в обычный режим выберите команду «Выход».
Чтение информации о текущем диапазоне измерений
Вкладка "Инф. о датчике", команда «Прочитать». В области текущий диапазон, программа отобразит значения верхнего и нижнего пределов измерений в текущих единицах измерения.
Чтение информации об устройстве
В области "Информация о датчике " программа отобразит следующие параметры:
- производитель.
- тип устройства.
- модель датчика.
- серийный номер.
- версия протокола HART.
- версия датчика.
- физический интерфейс.
- версия программного обеспечения.
- дистрибьютор.
Чтение указанных параметров происходит автоматически при переходе на вкладку "Инф. о датчике"
Дополнительная информация
Вкладка "Инф. о датчике", комадна "Дополнительно":
Все команды HART протокола можно разделить на 3 группы: универсальные, общие и специальные. Универсальные команды поддерживаются всеми HART-совместимыми устройствами; общие применяются для широкого класса приборов. Зачастую стандартных команд протокола HART недостаточно для полноценной работы датчика, поэтому производители вынуждены разрабатывать некоторые дополнительные команды. В протоколе HART они относятся к разряду специальных и доступ к ним при помощи оборудования от стороннего производителя возможен только при поддержке этих команд, используемым оборудованием. Без поддержки этих команд, датчик воспринимается как абстрактное устройство, поддерживающее HART-протокол, независимо от его функционального назначения. При работе с датчиком, как с абстрактным устройством кнопка «Дополнительно» будет неактивна. В окне «Дополнительно» отображается информация об уникальных параметрах датчиков Метран-100, FR-3051C, FR-3051S, Метран-280-1, Метран-280-2.
Настройка датчика
Пользователь может провести диагностику устройства и настроить следующие параметры:
1.
Единицы измерения;
Настройка единиц измерения
Текущая вкладка "Настр. датчика" (рисунок 12). На рисунке введены обозначения: 1 – выбор единиц измерения; 2 – запись выбранных единиц измерения в устройство; 3 – чтение настройки единиц измерения устройства.
Определяет текущее значение единиц измерения команда «Прочитать». Для смены единиц измерения выберите из списка нужные единицы измерения и выполните команду «Записать». Синим цветом отображаются изменения, не записанные в датчик. Если подключен неизвестный датчик, в списке единиц измерения будут представлены все единицы измерения.

Рисунок 12 – Выбор единиц измерения
2.
Выходной аналоговый сигнал;
Настройка параметров выходного сигнала
Текущая вкладка "Настр. датчика":
Выберите вкладку «Выходной сигнал» (рисунок 13). На рисунке введены обозначения: 1 – значения верхней и нижней границы диапазона измерений в текущих единицах измерения; 2 – вид передаточной функции; 3 – время усреднения (установления) выходного сигнала в секундах; 4 – прочитать параметры выходного сигнала; 5 – записать параметры выходного сигнала; 6 – установка верхней границы диапазона измерений; 7 – установка нижней границы диапазона измерений.

Рисунок 13 – Настройка параметров выходного сигнала
Чтобы прочитать настройки параметров выходного аналогового сигнала, выполните команду «Прочитать».
Пользователь может изменить следующие параметры:
1. Верхнюю и нижнюю границы диапазона измерений датчика путем указания числового значения в текущих единицах измерений. Для определения прямого выходного сигнала (4…20 мА) следует указать значение верхней границы большее, чем нижней границы. Для определения инверсного выходного сигнала (20…4 мА) следует указать значение верхней границы меньшее, чем нижней границы.
2. Тип передаточной функции, путем выбора из списка.
3. Время усреднения, путем указания числового значения в секундах в диапазоне, указанном в документации на датчик.
Для записи изменений выполните команду «Записать». Синим цветом отображаются изменения, не записанные в датчик.
Так же пользователь может получить информацию о типе сигнала тревоги (нижний, верхний), состоянии режима защиты записи и состоянии монопольного режима (off – не включен, on - включен).
Внимание! Изменения вступят в силу только после выполнения команды «Записать».
Помимо прямого указания числового значения, другим способом установки границ диапазона является способ установки при помощи реального входного воздействия. В этом случае верхняя граница диапазона и нижняя граница диапазона устанавливаются отдельно друг от друга:
1. Выполните команду «Установить верхнюю границу диапазона».
2. Программа начнет периодическое считывание текущего значения первичной переменной, и будет отображать это значение в отдельном окне (рисунок 14).

Рисунок 14 – Установка верхней границы диапазона измерения
3. С помощью внешнего задатчика пользователь устанавливает нужное значение первичной переменной.
4. Затем пользователь выполняет команду «Установить» и программа определяет текущее значение первичной переменной в качестве верхней границы диапазона.
Установка нижней границы диапазона измерения (соответствия 4 мА и первичной переменной) производится аналогично.
Примечание: При установке нижней границы, диапазон измерений датчика сохраняется, т.е. верхняя граница диапазона сдвигается эквивалентно нижней. При установке верхней границы диапазона, нижняя не меняется.
3.
Пользовательские параметры.
Установка пользовательских параметров
Текущая вкладка "Настр. датчика":
Выберите вкладку «Пользовательские параметры» (рисунок 15). На рисунке введены обозначения: 1 – тэг устройства; 2 – дата в формате дд.мм.гг; 3 – описание устройства; 4 – окончательный номер сборки устройства; 5 – пользовательское сообщение; 6 – прочитать пользовательские параметры из устройства; 7 – записать пользовательские параметры в устройство.

Рисунок 15 – Установка пользовательских параметров
Для чтения значения пользовательских параметров выполните команду «Прочитать».
Пользователь может изменить следующие параметры:
· Тэг – путем указания строки из 8-ми символов.
· Дату – путем указания в формате дд.мм.гг.
· Описание – путем указания строки из 16-ти допустимых символов HART протокола.
· Окончательный номер сборки – путем указания числового значения в диапазоне от 0 до 16777215.
· Сообщение – путем указания строки из 24-х допустимых символов.
Для записи изменений выполните команду «Записать». Синим цветом отображаются изменения, не записанные в датчик.
Внимание! Изменения вступят в силу только после выполнения команды «Записать».
4.
Диагностика устройства
Текущая вкладка "Настр. датчика":
Выберите вкладку «Диагностика» (рисунок 16). На рисунке введены обозначения: 1 – индикация результата самотестирования; 2 – запуск процедуры диагностики датчика.
Для запуска процедуры тестирования датчика выполните команду «Самотестирование. После прохождения всех тестов программа выдаст сообщение о результате тестирования. Результат каждого теста отображается в виде значка определенного цвета перед соответствующим пунктом.

Для произвольного HART устройства, не имеющего специального драйвера, при прохождении теста программа выдает сообщение "ошибка #1", "ошибка #2" и т.д., без указания причины сбоя.

Рисунок 16 – Диагностика устройства
Настройка сенсора
Текущая вкладка "Настр. сенсора":
Настройка сенсора устройства производится в главном окне программы, вкладка «Настройка сенсора» (рисунок 17). На рисунке введены обозначения: 1 – значение текущего давления; 2 – начать периодическое считывание текущего значения первичной переменной; 3 – калибровка нижнего и верхнего пределов измерений; 4 – корректировка нуля; 5 – серийный номер сенсора; 6 – верхний предел измерения сенсора; 7 – нижний предел измерения сенсора; 8 – минимальный диапазон сенсора; 9– единицы измерения пределов измерения и минимального диапазона сенсора; 10 – считать информацию о сенсоре из устройства.

Рисунок 17 – Настройка сенсора
Пользователь может выполнить следующие операции по настройке сенсора:
- корректировка нуля;
- калибровка пределов измерений (только для Метран-100 и Метран-280);
- чтение информации о сенсоре.
Для удобства пользователя программа отображает следующую информацию:
1. Текущее значение первичной переменной (рисунок 17, позиция 1). Служит для контроля величины первичной переменной во время настройки сенсора. Перед выполнением операций по настройке сенсора следует выполнить команду «Начать считывание» (рисунок 17, позиция 2) для запуска периодического считывания текущего значения первичной переменной.
2. Информация о сенсоре. Дает представление о допустимых пределах настройки датчика и диапазона, исходя из характеристики чувствительного элемента датчика. Выполните команду «Прочитать» (рисунок 17, позиция 10) для обновления информации.
Корректировка нуля
Внимание! Операция корректировки нуля сенсора повлияет на калибровку сенсора.
Выберите вкладку «Корректировка нуля» (рисунок 17, позиция 4) и выполните следующие действия:
1. Выполните команду «Начать считывание» (рисунок 17, позиция 2) для запуска периодического считывания текущего значения первичной переменной.
2. Установите значение первичной переменной равное нулю. Проконтролируйте стабилизацию параметра по текущему измеряемому значению первичной переменной (рисунок 17, позиция 1).
3. Выполните команду «Начать настройку».
Примечание. Команда корректировки нуля не поддерживается ИПТ Метран – 280-1 и Метран-280-2, FR-248, Метран-300ПР, Метран-300ПР.
Калибровка пределов измерений
Текущая вкладка "Настр. сенсора":
При отсутствии специального драйвера калибровка сенсора устройства невозможна.
Калибровка пределов измерений датчиков серии Метран
Внимание! Операция калибровки пределов измерений повлияет на калибровку сенсора.
Для выполнения калибровки нижнего предела измерения выберите закладку "Калибровка НПИ" и выполните следующие действия:
1. Выполните команду "Начать считывание" для запуска периодического считывания текущего значения первичной переменной.
2. Установите значение первичной переменной, соответствующее нижнему пределу измерений.
3. Подождите стабилизации первичной переменной. По показаниям программы вы можете контролировать отклонение показаний датчика от показаний образцового прибора.
4. Введите образцовое значение НПИ в текущих единицах измерения.
5. Выполните команду "Начать настройку".
Для выполнения калибровки верхнего предела измерений выберите закладку "Калибровка ВПИ" и выполните действия, аналогичные калибровке НПИ.
Чтение информации о сенсоре
Текущая вкладка "Настр. сенсора":
Выполните команду «Прочитать» (рисунок 17, позиция 10). Программа отобразит следующую информацию о сенсоре:
- серийный номер сенсора (рисунок 17, позиция 5);
- верхний предел измерения сенсора (рисунок 17, позиция 6);
- нижний предел измерения сенсора (рисунок 17, позиция 7);
- минимальный диапазон сенсора (рисунок 17, позиция 8);
- единицы измерения пределов измерения и минимального диапазона сенсора (рисунок 17, позиция 9).
Настройка ЦАП
Текущая вкладка "Настр. ЦАП"
Настройка ЦАП осуществляется в главном окне программы, вкладка «Настр. ЦАП» (рисунок 18). На рисунке введены обозначения: 1 – калибровка токового выхода 4 мА; 2 – калибровка токового выхода 20 мА; 3 – выбор значения токового выхода 4 мА; 4 – выбор значения токового выхода 20 мА; 5 – поле для ввода произвольного значения токового выхода (от 4 до 20 мА); 6 – запуск процедуры тестирования токового выхода устройства.

Рисунок 18 – Настройка ЦАП
Пользователь может выполнить следующие операции по настройке ЦАП:
Калибровка токового выхода
Для калибровки токового выхода 4 мА выполните следующие действия:
1. Выполните команду «Настройка 4 мА» (рисунок 18, позиция 1).
Программа установит ток 4 мА.
2. Подключите контрольно-измерительное устройство.
3. В следующем окне (рисунок 19) введите показание контрольно-
измерительного устройства и выполните команду «Калибровать».

Рисунок 19 – Настройка 4 мА
4. После калибровки программа переключит устройство в режим фиксированного тока 4 мА и в следующем окне (рисунок 20) выведет для контроля текущее значение выходного тока устройства.

Рисунок 20 – Режим фиксированного тока
Для калибровки токового выхода 20 мА выполните команду «Настройка 20 мА» (рисунок 18, позиция 2) и выполните действия, аналогично калибровке токового выхода 4 мА.
Тестирование токового выхода
Для проверки токового выхода устройства выберите значение аналогового выхода (рисунок 18, позиции 3 и 4) или введите другое значение тока (рисунок 18, позиция 5) и выполните команду «Начать тест» (рисунок 18, позиция 6). Программа переключит устройство в режим фиксированного тока и в следующем окне (рисунок 20) выведет для контроля текущее значение выходного тока устройства. После этого пользователь с помощью контрольно-измерительного прибора может измерить реальное значение выходного тока устройства.
Архивирование данных
Текущая вкладка "Регистратор"
Архивирование и визуальный просмотр данных измерительного процесса возможен в главном окне программы, вкладка «Регистратор». На рисунке введены обозначения: 1 – список устройств, представленный в виде дерева; 2 – таблица данных; 3 – поле ввода имени файла архивации; 4 – поле изменения количества измерений; 5– сохранение количества измерений; 6 – обнуление счетчика считанных данных и таблицы данных, отключение режима считывания; 7 – поле ввода интервала опроса; 8 – применение введенного интервала; 9 – обновление списка устройств; 10 – включение режима мультиканального опроса; 11 – закладка управление/настройка.

Рисунок 21 – Регистрация данных и архивирование измерения
Программа позволяет считывать, записывать в файл на диск и отображать на графике данные о токе и значения четырех динамических переменных с устройств, установленных в сети.
Вкладка «Выбор устройств» позволяет выбрать список устройств, значения которых необходимо просмотреть и сохранить в файле. Устройства, установленные в сети, отображаются в виде дерева в информационном поле, расположенном в левой части формы (рисунок 21 позиция 1). Устройства отображаются после выполнения команды «Обновить список устройств» (рисунок 21 позиция 9). Данную команду необходимо выполнять каждый раз при изменении списка устройств работающих в сети и изменении адреса устройства. Выбор устройства, для которого необходимо считать и сохранить данные, выполняется путем установления галочки кликом мыши в списке устройств. В таблице данных (рисунок 21 позиция 2) отображается считанная информация текущего устройства, за определенный период времени. Для обновления информации в таблице данных необходимо кликнуть мышью по названию устройства.
Настройка архивирования данных
Текущая вкладка "Регистратор":
Вкладка «Выбор устройств»
Вкладка «Настройка»
В поле «Сохранять в файл:» (рисунок 21 позиция 3) указывают имя файла, в который будут записываться данные считанные с устройства, по умолчанию имя файла генерируется программой и содержит в себе адрес опроса, номер канала, адрес мультиплексора. Файл имеет расширение *.csv и может быть открыт программой MS Excel для просмотра.
В области «Количество измерений» (рисунок 21 позиция 4) поле «Всего:» указывают количество измерений, которое будет произведено и занесено в архив. По умолчанию количество измерений равно 100, если значение изменено, его необходимо сохранить, выполнив команду «Записать» (рисунок 21 позиция 5). В поле «В том числе уже произведено» отображается количество считанных данных. Команда «Сбросить данные» (рисунок 21 позиция 6) обнуляет счетчик считанных данных, очищает таблицу данных, отключает режим считывания для текущего устройства.
В поле «Минимальный интервал опроса» (рисунок 21 позиция 7) устанавливают интервал опроса устройства. По умолчанию опрос производится каждые 10 секунд. Время опроса зависит от количества опрашиваемых устройств и их быстродействия. Программа не может опрашивать датчики быстрее, чем они отвечают.
Команда «Изменить» (рисунок 21, позиция 8) позволяет считывать данные через установленный интервал.
На вкладке «Управление» (рисунок 21 позиция 11) кнопка «Начать периодический опрос/Остановить» позволяет включить режим регистрирования или отключить его.
Режим мультиканального опроса
Текущая вкладка "Регистратор":
Вкладка «Выбор устройств»
Мультиплексор Метран-670 позволяет обращаться только к одному каналу связи. Чтобы осуществлять опрос нескольких каналов мультиплексора, программа перед каждым обращением к устройству переключает мультиплексор на требуемый канал. Если опрашиваемые устройства подключены к разным каналам мультиплексора, необходимо выполнить команду «Войти в режим мультиканального опроса» (рисунок 21 позиция 2). В этом режиме любая другая работа с датчиком невозможна, поэтому все вкладки кроме вкладки «Регистратор», становятся недоступными. Время доступа к данным устройства возрастает и занимает не мене 3-х секунд, поскольку каждый раз при обращении к устройству добавляются команды смены номера канала мультиплексора.
График
Текущая вкладка "Регистратор":
График переменных можно увидеть на вкладке «График» (рисунок 22). На рисунке введены обозначения: 1 – наименование текущего устройства; 2 – область отображения графиков переменных; 3 – значение измеряемой переменной; 4 – список отображаемых переменных; 5 – меню списка возможных переменных, отображаемых на экране; 6–график переменной; 7- время измерения.

Рисунок 22 – График измерительного процесса.
График существует для визуального отображения информации. На графике отображается следующая информация:
- наименование текущего устройства (рисунок 22, позиция 1), выбранного на вкладке «Выбор устройств»;
- список переменных, значения которых отображаются в виде графика (рисунок 22, позиция 4);
- время измерения значений переменных в формате чч:мм (рисунок 22, позиция 7);
- значение измеряемой величины (рисунок 22, позиция 3) в текущих единицах измерения;
- график значений переменных, считанных с выбранного устройства (рисунок 22, позиция 6);
Для выбора переменных, которые будут отображаться в графике, необходимо выполнить следующие действия. Правой кнопкой мыши вызывают контекстное меню (рисунок 22, позиция 5), в котором отображается список возможных переменных. Наличие галочки около имени, указывает на то, что переменная отображается в виде графика. Удалить/установить галочку можно с помощью клика мыши.
Канальный уровень
Пользователь имеет возможность наблюдать за обменом с HART устройствами. Отображение окна «Канальный уровень HART» (рисунок 23) задается в настройках программы.

Рисунок 23 – Канальный уровень HART
Демонстрационный режим
Демонстрационный режим предназначен для ознакомления с основными функциями программы без подключения реального устройства. Программа создает виртуальное устройство после команды «Опросить сеть». Какое именно устройство будет создано, можно выбрать в меню "Список устройств". По умолчанию выбирается датчик давления Метран-100. Все операции, предназначенные для реальных устройств, будут программно эмулироваться для виртуального устройства.
Для переключения программы в демонстрационный режим в меню «Команды» выберите команду «Войти в демо-режим».
Сервисные команды
1. Перезагрузка микропроцессора
Для перезагрузки микропроцессора текущего устройства в меню «Команды» выберите команду «Перезагрузка микропроцессора».
2. Установка количества преамбул в ответе
Для установки количества преамбул в ответе для текущего устройства в меню «Команды» выберите команду «Количество преамбул в ответе». В следующем окне (рисунок 24) введите числовое значение от 5 до 20 и нажмите кнопку «ОК»

Рисунок 24 – Установка количества преамбул
3. Сброс флага изменения конфигурации
Флаг изменения конфигурации устанавливается при операциях записи и калибровки датчика. Этот флаг устанавливается в статусе датчика. Для сброса флага изменения конфигурации у текущего устройства в меню «Команды» выберите команду «Сброс флага изменения конфигурации».
3 Калибратор давления Метран-515
Калибратор предназначен для точного измерения и воспроизведения давления, напряжения и силы постоянного тока. Калибратор применяется в качестве рабочего эталона при поверке и калибровке различных средств измерений давления (СИД), в том числе и преобразователей давления унифицированными выходными электрическими сигналами, измерительных преобразователей и вторичных приборов. Обеспечивает калибровку средств измерений давления в условиях эксплуатации.
Калибратор обеспечивает выполнение следующих функций;
- включение/отключение калибратора;
- включение/отключение заряда внутреннего аккумулятора;
- включение/отключение подсветки индикатора;
- определение подключенного к калибратору модуля давления;
- выбор 9 различных единиц измерения давления;
- выбор одного из 12 диапазонов измерения давления характерных для подключенного к калибратору модуля давления;
- редактирование (с последующим сохранением в память модуля давления) пользовательских диапазонов (изменение ВПИ и единиц измерения давления);
- ввод номера, ВПИ, единиц измерения поверяемого датчика давления;
- выбор токового выходного сигнала датчика давления;
- определение погрешности измерения давления поверяемого датчика по токовому выходному сигналу;
- определение в процентах ВПИ выбранного диапазона поверяемого датчика величины измеренного давления;
- выбор коэффициента усреднения показаний калибратора (от 1 до 9);
- сигнализацию (звуковой сигнал) 10% перегрузки при превышении измеряемого давления выбранного диапазона;
- фиксацию количества перегрузок модуля перегрузок;
- фиксацию даты и значения давления максимальной перегрузки;
- обнуление (установку нуля) показаний измерения давления, тока и напряжения;
- выбор режима измерения тока или напряжения;
- выбор режима генерации тока или напряжения;
- установку значения генерируемого тока или напряжения;
- архивацию 32 протоколов поверки датчиков давления (с фиксацией даты, времени, показаний калибратора и датчика давления);
- проверку реле давления с фиксацией состояния реле и давления переключения реле;
- проверку герметичности системы со средствами измерения и задания давления.
Диапазон показаний электрических сигналов, измеряемых электронным блоком:
- постоянный ток 0 22 мА
- напряжение постоянного тока 0-1,1 В
Диапазон электрических сигналов, генерируемых электронным блоком:
- постоянный ток 0-22 мА
- напряжение постоянного тока 0-1,1 В
Нормируемый диапазон измерений и генерации:
- постоянный ток 0-20 мА
- напряжение постоянного тока 0-1 В
Пределы допускаемой основной погрешности калибратора в режиме измерения и генерации, а также число разрядов калибратора приведены в таблице 1.
Таблица 1 – Пределы допускаемой погрешности и число разрядов калибратора
| Наименование
Показателя
|
Предел допускаемой основной погрешности, не более
|
Число разрядов
индикации
|
| В режиме измерения
|
| Избыточное
давление
|
0-0;16..0-60МПа
|
±0,05%ВПИ
|
5 десятичных
разрядов
|
| 0-25кПа
|
±0,06%ВПИ
|
| 0-2,5;0-6кПа
|
±0,1%ВПИ
|
| Разряжение
|
0-25кПа…
0-100кПа
|
±0,06%ВПИ
|
| Ток
|
0-20мА
|
±(0,02%ИВ+0,001мА)
|
6 десятичных
разрядов
|
| Напряжение
|
0-1В
|
±(0,02%ИВ+0,0002В)
|
| В режиме генерации
|
| Ток
|
0-20мА
|
±(0,04%ИВ+0,001мА)
|
6 десятичных
разрядов
|
| Напряжение
|
0-1В
|
±(0,04%ИВ+0,0002В)
|
| Примечания:
1 ИВ - значение измеряемой (в режиме генерации- генерируемой)величины.
2 ВПИ – верхний предел измерений поддиапазона модуля давления.
3Основная погрешность измерений давления включает нелинейность, гистерезис и повторяемость.
4 При установки значения ВПИ поддиапазона, отличающегося от указанных в таблице 1, погрешность измерения давления принимается равной погрешности от ВПИ, ближайшего верхнего поддиапазона.
|
Предел допускаемой дополнительной погрешности измерения давления, измерений и генерации постоянного тока и напряжения постоянного тока при изменении температуры окружающего воздуха от 0 до 50°С не должен превышать половины предела допускаемой основной погрешности на каждые 10с от температуры (20±2)°С.
Электрическое питание калибратора осуществляется от поставляемого сетевого блока питания Метран-516 или от внутреннего аккумулятора.
4
Методика проведения поверки
Методика поверки, поставляемая производителем совместно с калибраторами Метран 515 и с датчиками давления предусматривает следующие условия ее проведения:
При проведение поверки должны быть соблюдены следующие условия:
- температура окружающего воздуха должна быть в пределах (20±2)°С;
- барометрическое давление должно быть в пределах 680-780 мм рт. ст.;
- относительная влажность окружающего воздуха должна быть в пределах (30-80)%;
- рабочая среда для модулей калибраторов с ВПИ до 2,5 МПа – воздух с возможным использованием разделителя сред, свыше 2,5 МПа – жидкость;
- тряска, вибрация, удары не допускаются;
- электрическое питание калибратора производить от сети переменного тока напряжением 220В и частотой 50 Гц.
Перед проведением поверки должны быть выполнены следующие подготовительные работы:
- калибратор должен быть выдержан в условиях поверки не менее 2-х часов;
- модуль давления должен быть подключен к устройству создания давления и установлен на рабочем месте в произвольном положении, положение модуля должно сохраняться неизменным в течение всей поверки;
- разъем модуля давления калибратора должен быть подключен к электронному блоку;
- определение метрологических характеристик калибратора проводить не менее чем через 15 минут после его включения.
Проведение поверки датчика давления
Перед проведением поверки датчика давления необходимо провести опробование работы калибратора и проверить герметичность пневмосистемы.
Опробование работы калибратора
При опробовании работы калибратора необходимо присоединить модуль давления к источнику давления (ИД), подключить выходы калибратора измерения электрических сигналов.
Включение калибратора производить нажатием клавиши «Питание/подсветка» на 1 секунду при этом на ЖКИ калибратора появляется основное меню:
Где символ курсора «►» означает выбор текущего пункта меню. При нажатии клавиши «Вниз» курсор «►» сместиться вниз. При нажатии клавиш «Вниз» или «Вверх» будут циклически предлагаться следующие пункты меню:
1. ИЗМЕРЕНИЕ
2. ПАМЯТЬ
3. ТЕСТ РЕЛЕ
4. ГЕРМЕТИЧНОСТЬ
5. ГЕНЕРАЦИЯ
6. АККУМУЛЯТОР
7. ОПЦИИ
8. ЕД. ИЗМЕРЕНИЯ
9. AV-МЕТР
Для быстрого перехода к необходимому режиму следует нажать цифровую клавишу, соответствующую номеру режима в основном меню.
Для входа в меню или выбранный режим нажимают клавишу «Вперед». Для возврата в предыдущее меню или для выхода из режима необходимо нажать клавишу «Назад».
Необходимо установить давление на входе модуля равное атмосферному, установить курсор в основное меню клавишами «Вверх», «Вниз» напротив пункта «ИЗМЕРЕНИЕ»:
и нажать клавишу «Вперед». На ЖКИ появится информация о максимальном давлении подключенного модуля (ВПИ):
| МАКС. ДАВЛЕНИЕ:
кПа 160.00
|
Для продолжения работы следует нажать клавишу «Вперед». В появившемся меню выбора диапазона измерений давления следует установить диапазон измерений давления, соответствующий ВПИ подключенного модуля,
и нажать клавишу «Вперед» два раза (диапазон такого сигнала выбирается по умолчанию).
Установка нуля является обязательной операцией перед измерением (поверкой) и осуществляется выбором пункта ОБНУЛИТЬ Р в режиме измерения давления.
Для обнуления показаний давления на калибраторе следует установить курсор на пункте «ОБНУЛИТЬ Р» (при помощи клавиш «Вниз» или «Вверх»)
и нажать клавишу «Вперед». При этом смещение давления («ноль» давления) заносится в энергонезависимую память и будет учитываться при сеансах работы калибратора.
Проверка герметичности
Проверку герметичности модуля давления (разрежения с верхними пределами менее 100 кПа) калибратора и системы, подавляющее давление, проводить при значениях давления (разрежения), равных ВПИ модуля.
Проверку герметичности модуля разрежения ВПИ 100 кПа и системы следует проводить при разрежении равном 0,9-0,95 значения атмосферного давления.
Необходимо создать давление (разрежение) в системе, соответствующее ВПИ модуля давления, с помощью одного из средств создания давления (разрежения), входящих в комплект калибратора. Выдержать модуль и систему при данном давлении (разрежении) 5 минут (для стабилизации термодинамических процессов).
В основном меню установить курсор напротив пункта «4. ГЕРМЕТИЧНОСТЬ»:
| ►4. ГЕРМЕТИЧНОСТЬ
5. ГЕНЕРАЦИЯ
|
и нажать клавишу «Вперед», при этом на ЖКИ появится режим выбора продолжительности теста:
| кПа 160.00
►ПРОДОЛЖИТ: 5 мин
|
Для установки продолжительности теста нажать клавишу «Вперед», изменить число минут цифровыми клавишами «Вниз» и «Вверх», и нажать клавишу «Ввод» (для сохранения выбранного времени теста). Рекомендуемое значение продолжительности теста составляет 2 минуты.
Выбрать команду «НАЧАТЬ ТЕСТ» и нажать клавишу «Вперед».
| kРa 159.98
► kPa F 160.00
|
По окончании теста на герметичность зафиксировать показания с калибратора.
| РЕЗУЛЬТАТ/ 1 мин
0.02 кПа
|
Модуль давления (разрежения) калибратора и система, подводящая давление, считается герметичной, если изменение давление по показаниям калибратора не превышает 0,1 % от ВПИ в минуту.
Проверку герметичности следует проводить на всех модулях калибратора, входящих в его комплект.
5 С
труктурная схема лабораторного стенда
Выполнение первой части лабораторной работы осуществляется на стенде, структурная схема которого приведена на рисунке 25.
Выполнение второй части лабораторной работы осуществляется на стенде, структурная схема которого приведена на рисунке 26. Поверка датчика давления
1. Поверка датчика давления
1. Собрать схему, необходимую для поверки датчика.
2. Определить значение приведенной погрешности датчика в следующих точках: 0 кПа; 10 кПа; 20 кПа.
3. Выяснить вопрос о годности датчика для проведения измерения давления.
Методические указания и порядок выполнения работы
Порядок выполнения работы следующий:
Для проведения поверки используется схема, представленная на рисунке 25.
Для сбора данной схемы достаточно соединить силиконовой трубкой вход датчика и помпу и произвести электрическое соединение калибратора и модуля давления, находящегося на помпе.
ВНИМАНИЕ
!
Помпа может создавать большое давление, которое намного превышает предел измерения датчика и при большом давлении датчик может выйти из строя. Перемещать шток помпы следует медленно и на небольшую величину. Выполнение этого пункта задания необходимо в присутствии преподавателя.
Создаваемое ручной помпой давление подается на поверяемый датчик и модуль давления калибратора. Воспринимаемое датчиком давление отображается на жидкокристаллическом индикаторе датчика. Модуль давления вырабатывает токовый сигнал, характеризующий величину давления, который поступает на вход калибратора. На основании этого сигнала в калибраторе определяется величина давления. Сравнение показаний калибратора и датчика позволяет определить погрешность датчика по показаниям. Используемый датчик кроме токового сигнала имеет цифровой. Цифровой сигнал модулируется и накладывается на токовый. Для ввода цифрового сигнала в компьютер используется HART-модем. Данный стенд предназначен для выполнения ряда работ. При выполнении настоящей работы, компьютер и HART-модем не используется.
Приведенная погрешность в каждой точке определяется как отношение разности показаний калибратора и датчика к верхнему пределу измерения.
Датчик признают годным, если на всех поверяемых точках модуль основной погрешности , выраженной в % диапазона измерения выходного сигнала, не превышает пределов допускаемых значений в соответствии с условием:
,
где
– модуль основной погрешности на всех поверяемых точках, %;
– абсолютное значение отношения контрольного допуска к пределу допускаемой основной погрешности, %;
– предел допускаемой основной погрешности поверяемого датчика, %;
Pmax
– верхний предел измерений поверяемого датчика, кПа;
P
о
– нижний предел измерений поверяемого датчика, кПа;
P
ном
– номинальное значение измеряемой величины при номинальном значении.
2. Изучение работы программы
H-Master
Задание зависит от заданного преподавателем варианта, которые представлены в таблице 2.
Таблица 2 – Задание на выполнение лабораторной работы по вариантам
| Номер варианта
|
ЗАДАНИЕ
|
| 1
|
1.Установить нижнее предельное значение выходного сигнала датчика, равное 4 мА.
2.Установить единицу измерения кПа.
3.Проверить графическое представление измеряемого давления.
|
| 2
|
1.Установить единицу измерения кПа.
2.Установить верхний предел измерения, равный 40 кПа.
3.Проверить графическое представление измеряемого давления.
|
| 3
|
1.Произвести процедуру преобразования датчика.
2.Установить нижнее предельное значение выходного сигнала датчика, равное 4 мА.
3.Проверить графическое представление измеряемого давления.
|
| 4
|
1.Произвести процедуру калибровки ВПИ диапазона датчика.
2.Установить верхний предел измерения, равный 40 кПа.
3.Проверить графическое представление измеряемого давления.
|
Методические указания и порядок выполнения работы
Порядок выполнения работы следующий:
Для изучения работы программы H-Master используется схема, представленная на рисунке 26.
1.Произвести подключение ручной помпы к датчику давления.
2.Включить компьютер и загрузить программу HART-мастер, ознакомиться с режимами работы и функциональными возможностями
3.Выполнить пункты 1 и 2 задания по методикам, описанным выше.
4.Выполнить пункт 3 задания. При выполнении данного пункта необходимо правой кнопкой мыши вызывают контекстное меню (рисунок 22, позиция 5), в котором отображается список возможных переменных. Наличие галочки около имени, указывает на то, что переменная отображается в виде графика. Удалить/установить галочку можно с помощью клика мыши. Перемещением штока ручной помпы создать постоянное давление, равное 10 кПа. Путем вращения колпачка помпы, расположенного сбоку, произвести изменение давления и убедится в адекватном изменении давления на графике
ВНИМАНИЕ
!
Помпа может создавать большое давление, которое намного превышает предел измерения датчика и при большом давлении датчик может выйти из строя. Перемещать шток помпы следует медленно и на небольшую величину. Выполнение этого пункта задания необходимо в присутствии преподавателя.
7 Содержание отчета
Отчет должен содержать:
- цель работы;
- задание на лабораторную работу;
- структурную схему лабораторного стенда;
- схему поверки датчика и результаты проведенной поверки
- ответы на контрольные вопросы;
- выводы по работе.
8 Контрольные вопросы
1.Укажите класс точности поверяемого датчика.
2.Укажите класс точности поверяемого калибратора.
3.Приведите условие, используемое для признания датчика годным для измерения.
4.Перечислите функции, выполняемые программой H-Master.
5.Для каких целей используется меню «Конфигурация»
6.Сколько датчиков может находиться в сети.
Учебное издание
Тришина Екатерина Александровна
ДАТЧИКИ ДАВЛЕНИЯ МЕТРАН 100
Методические указания к выполнению лабораторной работы № 4 по курсу «Основы автоматизации производственных процессов» для студентов, обучающихся по специальности 220201 «Управление и информатика в технических системах»
| Подписано к печати 9.04.2010. Формат 60х84/16. Бумага
«Снегурочка».
Печать Xerox. Усл. печ. л. 0,58. Уч.-изд. л. 0,53.
Заказ ХХХ. Тираж 100 экз.
|
| 
|
Томский политехнический университет
Система менеджмента качества
Томского политехнического университета сертифицирована
NATIONAL QUALITY ASSURANCE по стандарту ISO 9001:2000
|

|
| . 634050, г. Томск, пр. Ленина, 30.
|
|