| Федеральное государственное образовательное учреждение высшего
профессионального образования «Вологодская государственная
молочнохозяйственная академия имени Н.В. Верещагина»
(ФГОУ ВПО ВГМХА им. Н.В. Верещагина)
методические указания
часть 2
электропривод и электрооборудование
Молочное 2003г
Механическая характеристика двигателя постоянного тока при различных режимах загрузки и напряжении питающей сети.
Цель работы:
1. Ознакомится с устройством и работой машины постоянного тока в режиме двигателя.
2. Изучить устройство и работу шунтового, компаундного и сериесного двигателей постоянного тока, их механические характеристики.
3. Ознакомится с контрольно – измерительными приборами и регуляторами стенда.
4. По опытным данным построить механическую характеристику машины и ее рабочие характеристики.
5. Результаты расчетов и принципиальные электрические схемы занести в отчет. По результатам работы сформулировать вывод.
Основные теоретические положения.
Двигательное действие машины постоянного тока, как и любой электрической машины, основано на законе Био—Савара. На проводник, помещенный в однородное магнитное поле, индукция которого В
и по которому проходит ток I
, действует электромагнитная сила f
, значение ее при расположении проводника перпендикулярно направлению силовых линий определяется выражением:
f=Вх
*
L*
I
(1)
где: В
х
— индукция в месте расположения проводника, Тл
.
L
— длина той части проводника, которая находится в магнитном поле, м.
I
— ток, а
.
Направление действия электромагнитной силы определяется правилом левой руки (рис. 1).
Коллектор предназначен для изменения направления тока в проводах обмотки, при переходе проводников через геометрическую нейтраль (рис. 2). Покажем это на примере витка 1—2, помещенного в магнитное поле. Из рисунка 2 видно, что в положении I виток будет вращаться против направления движения часовой стрелки. В положении II виток пройдет геометрическую нейтраль по инерции, в положении III направление тока в витке изменится на противоположное благодаря коллектору. Из сопоставления положений I и III видно, что виток будет продолжать вращаться в ту же сторону, так как электромагнитный момент, действующий на виток на протяжении полного оборота, направлен в одну сторону.
Забиваем Сайты В ТОП КУВАЛДОЙ - Уникальные возможности от SeoHammer
Каждая ссылка анализируется по трем пакетам оценки: SEO, Трафик и SMM.
SeoHammer делает продвижение сайта прозрачным и простым занятием.
Ссылки, вечные ссылки, статьи, упоминания, пресс-релизы - используйте по максимуму потенциал SeoHammer для продвижения вашего сайта.
Что умеет делать SeoHammer
— Продвижение в один клик, интеллектуальный подбор запросов, покупка самых лучших ссылок с высокой степенью качества у лучших бирж ссылок.
— Регулярная проверка качества ссылок по более чем 100 показателям и ежедневный пересчет показателей качества проекта.
— Все известные форматы ссылок: арендные ссылки, вечные ссылки, публикации (упоминания, мнения, отзывы, статьи, пресс-релизы).
— SeoHammer покажет, где рост или падение, а также запросы, на которые нужно обратить внимание.
SeoHammer еще предоставляет технологию Буст, она ускоряет продвижение в десятки раз,
а первые результаты появляются уже в течение первых 7 дней.
Зарегистрироваться и Начать продвижение
Основное уравнение напряжений двигателя таково:
U - Iя
*Rя
= Ея
(2)
где: U — напряжение, приложенное к цепи якоря.
Iя
— ток якоря.
Rя
= rя
+ — полное сопротивление цепи якоря, включающее как сопротивления обмотки якоря и всех обмоток, соединенных последовательно с якорем, так и сопротивление щеточных контактов, падение напряжения в которых равно 2∆u.
Ея
— э. д. с,, индуктированная в обмотке якоря при его вращении в магнитном поле машины.
N N N N
S S S S
I II III
Рис. 1. Взаимодействие Рис. 2. К пояснению назначения кол-
проводника с током в лектора в двигателе постоянного тока.
магнитном поле полюсов.
Для изменения направления вращения двигателя изменяют направление тока в обмотке якоря или в обмотке возбуждения (знак полюсов). При одновременном изменении направления тока в обеих обмотках направление вращения не меняется.
По способу возбуждения двигатели постоянною тока, как и генераторы, подразделяются на двигатели параллельного, последовательного и смешанного возбуждения.
Двигатели параллельного и независимого возбуждения.
Схема двигателя параллельного возбуждения с пусковым реостатом приведена на рис. 3.а.
Цепь возбуждения двигателя включается непосредственно в сеть до пускового реостата, так как при пуске ток возбуждения и поток должны быть наибольшими. Реостат РВ в цепи возбуждения при этом должен быть выведен. а б
Рис.3. а
– Схема двигателя параллельного возбуждения,
б –
механические характеристики двигателя параллельного возбуждения.
Обмотка возбуждения этого двигателя может быть включена на напряжение другого источника. Независимое возбуждение расширяет возможности регулирования скорости вращения двигателя.
Как указывалось, ток якоря двигателя при установившемся вращении определяется моментом на валу и потоком полюса. Потоки полюсов в двигателе при Iв
= const можно считать постоянными: Ф = const. Следовательно, в двигателях параллельного и независимого возбуждения ток якоря пропорционален моменту на валу.
Механическая характеристика при rдоб.
= 0 и Ф = Фн
называется естественной. Прямая Ω(М) очень пологая (прямая 1 на рис. 3.б
). При нагрузках на валу в пределах до номинальной скорость двигателя уменьшается мало, на 3-7% от Ω0
, пропорционально падению напряжения на внутреннем сопротивлении якоря. Говорят, что естественная механическая характеристика этого двигателя «жесткая».
Регулировать скорость вращения двигателя параллельного возбуждения, можно двумя способами: изменяя поток Ф машины или суммарное сопротивление rяΣ
= rя
+rдоб
в цепи якоря двигателя при постоянном напряжении сети.
Полюсное регулирование
. Рассмотрим регулирование скорости изменением потока полюсов (полюсное регулирование). Cкорость вращения при холостом ходе двигателя обратно пропорциональна потоку возбуждения. Зависимость скорости вращения двигателя при холостом ходе от тока возбуждения Ω0
(IB
) при U— const определяется регулировочной характеристикой холостого хода (рис. 4.). Здесь же дана зависимость Ф0
(IВ
).
Сервис онлайн-записи на собственном Telegram-боте
Попробуйте сервис онлайн-записи VisitTime на основе вашего собственного Telegram-бота:
— Разгрузит мастера, специалиста или компанию;
— Позволит гибко управлять расписанием и загрузкой;
— Разошлет оповещения о новых услугах или акциях;
— Позволит принять оплату на карту/кошелек/счет;
— Позволит записываться на групповые и персональные посещения;
— Поможет получить от клиента отзывы о визите к вам;
— Включает в себя сервис чаевых.
Для новых пользователей первый месяц бесплатно.
Зарегистрироваться в сервисе
При значительном уменьшении тока возбуждения (особенно при обрыве цепи возбуждения) ток якоря и скорость вращения ненагруженного двигателя сильно возрастают, усиливается искрение щеток и появляется опасность механических повреждений якоря. Говорят, что двигатель «идет вразнос». Это явление недопустимо, поэтому двигатель снабжают автоматической защитой, отключающей его от сети при чрезмерном уменьшении потока (ниже 1/3ФH
). Искусственные механические характеристики двигателя при различных значениях потока возбуждения показаны на рис. 5. Рис.4. Рис.5.
Каждому значению потока соответствует новое значение Ω0
и Мп
. Такое регулирование обычно ведется «на уменьшение потока» при небольших, нагрузках, для увеличения скорости сверх номинальной. При моментах нагрузки, близких, к номинальному, с уменьшением потока ток якоря превысит номинальный, что в длительном режиме недопустимо. Заметного увеличения потока сверх номинального достигнуть не удается вследствие насыщения магнитной цепи.
Полюсное регулирование «на уменьшение потока» весьма распространено, так как оно экономично и удобно: ток возбуждения мал [Iв
≈ (1 - 5 %) Iн
], размеры регулировочного реостата и мощность потерь в нем также малы.
Реостатное регулирование
. При втором способе регулирования скорости изменением сопротивления rдоб
реостата в цепи якоря (U = const, Iв
= const) искусственные механические характеристики становятся круто падающими или «мягкими» (см. прямую 2 на рис. 3.б
). Если, например, МС
= const, U = const, то установившийся ток якоря и потребляемая мощность останутся прежними, а отдаваемая двигателем мощность Р = MΩ2
уменьшится. Такое реостатное регулирование связано с большими потерями мощности в цепи якоря. Поэтому оно применяется только для двигателей малой мощности.
Якорное регулирование.
В двигателе независимого возбуждения можно применить и третий способ регулирования скорости вращения — безреостатное изменение напряжения на якоре. Для якорного регулирования необходим отдельный источник, напряжение которого регулируется. Это осуществляется, например, и системе «генератор — двигатель» {«система Леонарда»), изображенной на рис. 6. Здесь источником регулируемого напряжения является генератор Г независимого возбуждения, вращаемый с постоянной скоростью первичным двигателем ПД, например, асинхронным или дизельным. Обмотки возбуждения генератора и двигателя Д питаются от постоянного напряжения источника И небольшой мощности, которым может быть шунтовой генератор на валу ПД или выпрямитель переменного напряжения. Вал двигателя соединен с рабочим механизмом РМ.
 |
Рис.6. Система Генератор – Двигатель. Изменять напряжение на якоре двигателя и, следовательно, регулировать его скорость можно, изменяя небольшой ток возбуждения генератора Г. Пусковой реостат в схеме не нужен, так как пуск начинается при пониженном напряжении, которое можно плавно повышать. Для реверсирования двигателя необходимо изменить направление тока возбуждения генератора.
Искусственные механические характеристики двигателя независимого возбуждения при IB
= const и различных значениях напряжения на якоре изображаются параллельными линиями (рис. 7). Рис.7.Механические характеристики двигателя в системе Г-Д.
Если дополнительно регулировать и ток возбуждения двигателя Д, то пределы плавного изменения скорости получаются очень большими Аналогичные характеристики имеют место при регулировании напряжения на якоре с помощью управляемых электронно-ионных приборов и т. п. Поэтому двигатель независимого возбуждения широко используется в схемах автоматики в качестве исполнительного двигателя с якорным регулированием.
Электрическое торможение двигателя
. Во многих случаях требуется не только быстрый пуск электродвигателя, но и его быстрый останов. Для этого двигатель переводят или в режим электромагнитного тормоза или в режим генератора. Тогда и электромагнитный момент становится тормозным:
(3)
Различают три вида торможения: противовключением, генераторное динамическое и генераторное рекуперативное.
При противовключении
направление тока в цепи вращающегося якоря изменяют на обратное, и оно совпадает с направлением э. д. с Механической характеристикой этого режима является продолжение прямой 2' в четвертом квадранте (см. рис. 3.б
). Торможение противовключением иногда применяют, например, для медленного опускания груза, для ускорения реверса. В последнем случае инерция вращающегося якоря «гасится» в режиме тормоза, якорь останавливается, а затем начинает вращаться в обратном направлении.
При генераторном динамическом торможении
отключают вращающийся якорь от сети и замыкают его на реостат (цепь возбуждения остается включенной в сеть). Возникающий генераторный электромагнитный момент тормозит вращение якоря, уменьшаясь вместе с угловой скоростью вращения. Механическая характеристика режима динамического торможения — прямая 3 во втором квадранте, проходящая через нуль (см. рис. 3.б
). Динамическое торможение широко применяется в электродвигателях.
Генераторное рекуперативное торможение
возникает, если к валу включенного в сеть двигателя приложить момент, направленный в сторону вращения якоря. Тогда скорость вращения якоря и э. д. с. Е начнут возрастать. При E>U ток якоря изменит направление и машина перейдет в режим генератора с отдачей (рекуперации) энергии в сеть. Механическая характеристика режима рекуперативного торможения — та же прямая 1' во втором квадранте, но проходящая через точку Ω0
— скорость вращения двигателя при холостом ходе (см. рис. 3.б
). Рекуперативное торможение применяется при торможении электропоезда, трамвая или троллейбуса идущего под уклон.
Двигатель последовательного возбуждения.
Схема двигателя последовательного возбуждения приведена на рис. 8. Ток якоря и ток возбуждения в этом двигателе один и тот же. Так как ток электродвигателя зависит от нагрузки на его валу, то потоки полюсов и скорость вращения якоря двигателя последовательного возбуждения резко изменяются с изменением момента.
Естественная механическая характеристика. С увеличением момента нагрузки ток двигателя увеличивается, поток возрастает, а скорость вращения падает, подчиняясь закону, близкому к гиперболическому. Мощность Р = MΩ на валу практически не изменяется. Механические характеристики такого двигателя называют «мягкими» (рис. 9). Рис. 8. Рис.9.
При холостом ходе и небольшой нагрузке ток и поток двигателя уменьшаются, а его скорость сильно возрастает—двигатель «идет вразнос», и может достигнуть «угонной» скорости, т. е. значения, опасного в отношении механической прочности якоря. Поэтому пуск и работа двигателей последовательного возбуждения вхолостую, а также соединение их с нагрузкой ременной передачей недопустимы. Исключение составляют маломощные двигатели, у которых момент от потерь при холостом ходе относительно велик.
Регулирование скорости вращения. Двигатель последовательного возбуждения особенно широко применяется как тяговый двигатель на транспорте и в крановых установках. Здесь важно, чтобы двигатель развивал максимально возможный момент при трогании с места и малых скоростях. Скорость вращения двигателей последовательного возбуждения регулируется реостатным и безреостатным изменением напряжения на зажимах двигателя и изменением потока возбуждения.
Напряжение, подводимое к двигателю, обычно изменяют с помощью реостата rдоб
в цепи якоря, хотя такое регулирование скорости так же неэкономично, как и во всех двигателях. Регулирование скорости вращения тяговых транспортных двигателей производят ступенями (7 - 10 ступеней) с помощью командо-аппарата (контролера). В каждом моторном вагоне обычно установлено несколько двигателей. Чтобы уменьшить потери при регулировании, комбинируют параллельное и последовательное включение двигателей в сеть вместе с регулировочными сопротивлениями. Регулирование скорости вращения изменением потока полюсов двигателя осуществляют шунтированием обмотки возбуждения. Это приводит к увеличению скорости.
Электрическое торможение
. В двигателях последовательного возбуждения может осуществляться динамическое торможение и торможение противовключением. Для динамического торможения двигатель отключают от сети, замыкают на реостат и двигатель оказывается в режиме генератора последовательного возбуждения.
В режим электромагнитного тормоза двигатель переходит при переключении направления тока во вращающемся якоре (или в обмотке возбуждения) на обратное. Одновременно в цепь якоря вводят реостат с rдоб
для ограничения тока. Механическими характеристиками этого режима являются продолжения характеристик двигателя в область отрицательных значений скоростей вращения (см. рис. 9).
Для возможности генераторного рекуперативного торможения тяговые двигатели электропоездов снабжают дополнительной параллельной обмоткой возбуждения.
Двигатель смешанного возбуждения.
Схема двигателя смешанного возбуждения приведена на рис. 10. Основной обмоткой считается та, которая создает не менее 70% всей н. с. машины. Последовательную обмотку включают обычно согласно с параллельной, т. е. так, чтобы их н. с. складывались. В этом случае двигатель приобретает свойства и характеристики, «средние» между свойствами двигателей параллельного и последовательного возбуждения. Рис. 10.Схема двигателя Рис.11. Характеристики двигателей
смешанного возбуждения. смешанного возбуждения.
В двигателях смешанного возбуждения, одна из обмоток является основной, другая — вспомогательной. Характеристики двигателя будут близки к тем, которые определены основной обмоткой и скорректированы действием вспомогательной обмотки. Интерес представляют следующие схемы.
1. Основная обмотка — параллельная, вспомогательная — последовательная, включенная согласно. При увеличении нагрузки усиливается действие последовательной обмотки, поскольку увеличивается результирующий поток Ф, характеристика скорости вращения будет более пологой (рис. 11, кривая 1). Пологая характеристика рациональна, например, при толчкообразной нагрузке, создавая возможность проявления действия маховых масс, что сглаживает пульсации мощности, потребляемой двигателем из сети.
2. При встречно включенной последовательной обмотке, наоборот, с ростом нагрузки магнитный поток Ф будет ослабляться и скорость вращения повышаться, становясь при нагрузке большей, чем при холостом ходе (рис. 11, кривая 2). Но работа двигателя при ослаблении магнитного потока неустойчива и обычно не практикуется.
3. Основная обмотка — последовательная, параллельная обмотка — вспомогательная. Двигателю при наличии только последовательной обмотки при малых нагрузках свойственно значительное повышение скорости вращения вплоть до разноса. Наличие вспомогательной обмотки, гарантирующей определенное значение магнитного потока, ограничивает возможное повышение скорости вращения.
Особенности двигателей и область их применения.
Особенности двигателей постоянного тока связаны со способом их возбуждения и, в частности, с постоянством или зависимостью потока полюсов от нагрузки. Двигатели параллельного и независимого возбуждения с постоянным потоком имеют «жесткую» естественную механическую характеристику: скорость их вращения почти не зависит от момента нагрузки на валу. Поэтому двигатели параллельного возбуждения применяются для привода металлорежущих станков и других механизмов. Их скорость вращения можно регулировать двумя способами. При снижении питающего напряжения возрастает ток якоря.
При необходимости глубокого и плавного регулирования скорости вращения используются двигатели независимого возбуждения, управляемые по схеме генератор - двигатель. Система Г - Д применяется как для привода самых мощных двигателей, так и исполнительных двигателей в системах автоматического управления.
В двигателях последовательного возбуждения поток полюсов зависит от нагрузки. Их механические характеристики «мягкие»: с возрастанием момента скорость вращения падает. Они используются как тяговые двигатели, где требуется, большой пусковой момент для преодоления инерции механизма и малый момент — для поддержания высокой скорости вращения. Понижение напряжения сети не влияет на вращающий момент и ток двигателя — лишь снижается его скорость вращения. Это важно для электротранспорта на подъеме. При уменьшении момента нагрузки до нуля двигатель может «пойти в разнос».
Придание двигателю смешанного возбуждения дает ему преимущества двигателей разных способов возбуждения. Тяговому двигателю с дополнительной параллельной обмоткой не угрожает «разнос». Эта обмотка обеспечивает перевод двигателя электропоезда в режим рекуперативного торможения при движении поезда по инерции, под уклон: энергия возвращается в сеть.
Дополнительная последовательная обмотка в двигателе параллельного возбуждения может или «ужесточить» или «смягчить» его механическую характеристику и увеличить пусковой момент. Двигатели смешанного возбуждения с согласным включением обмоток применяются там, где требуется значительный пусковой момент и большое ускорение: для компрессоров, насосов, строгальных станков, прокатных станов и т. п.
Порядок выполнения работы:
1. Ознакомится с контрольно – измерительными приборами и переключателями на стенде.
2. Провести 3 серии, по 10 опытов в каждой, изменяя момент сопротивления балансирной машины от 0 до максимального значения.
3. По опытным данным рассчитать характеристики машины и построить в масштабе графические зависимости: Мƒ(n), Мƒ(Iд
.
), Мƒ(Uвыпр.
), Мƒ(Рд
.
).
4. Заполнить таблицу 1 и зарисовать принципиальную электрическую схему рис.12.
5. По результатам работы оформить отчет и сформулировать вывод.
Таблица 1.
| Измерено
|
Вычислено
|
| Серия
|
№
|
Iд
(А)
|
Uд
(В)
|
Uлатра
(В)
|
F
(кг.)
|
n
(мин-1
)
|
Mд.
(Н*м)
|
Uвыпр.
(В)
|
Pд.
(Вт)
|
| 1
|
1-10
|
| 2
|
1-10
|
| 3
|
1-10
|
 Рис.12. Принципиальная электрическая схема
испытания машины постоянного тока.
 М.
М
n.
Iдв
 
М М
l=0.23м
P=U*I
Uвыпр
=Uлатр
/0.9*Kтр
.
Uвыпр.
Pд.
Аппаратура ручного управления электроприводами.
Аппаратура защиты.
Цель работы:
Практически изучить конструкции аппаратов ручного управления электроприводами. Ознакомиться со схемами их включения. Ознакомиться с конструктивными типами плавких предохранителей. Изучить принципы действия автоматических выключателей с тепловыми и электромагнитными расцепителями. Ознакомиться с различными характеристиками плавких предохранителей и автоматических выключателей.
Общие методические указания.
1.
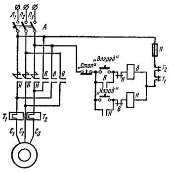
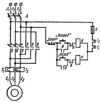
На рис. 1 показана схема реверсивного пускателя для управления трехфазным электро Рис. 1.
К реверсивному пускателю (рис. 1) подводятся три фазы сети через трехполюсной автоматический выключатель, с комбинированным расцепителем. Наличие теплового элемента обозначено знаком Т, наличие электромагнитного элемента – знаком А.
Реверсивный пускатель имеет три позиции: нулевую – 0, в этой позиции все контакты пускателя разомкнуты; позицию «Вперед», в этой позиции замкнуты контакты В, разомкнуты - Н; позицию «Назад», в этой позиции замкнуты контакты Н, разомкнуты – В.
Как видно из рис. 1, в позиции пускателя «Вперед» фазы Л1
, Л2
, Л3
сети соответственно соединяются с началами фаз двигателя С3
, С2
, С1
при этом двигатель вращается в одном направлении (вперед).
В позиции «Назад» фаза Л3
сети по-прежнему соединена с началом обмотки С1
, начала фаз С2
и С3
поменялись местами – С3
соединено с фазой Л2
, а С2
– с фазой Л3
.
При этом двигатель вращается в обратную сторону (назад) вследствие изменения направления вращения магнитного поля статора. В пускателе коммутируется 6 цепей.
2. Плавкие предохранители характеризуются следующими величинами:
Iн.предохр.
- номинальный ток предохранителя – наибольший длительно допустимый ток токоведущих частей предохранителя (губок, ножей, клемм). При этом токоведущие части предохранителя не перегреваются сверх допустимой температуры. Номинальный ток указывается в паспорте предохранителя.
Iн. вст.
– номинальный ток плавкой вставки. Это наибольший ток, который плавкая вставка может выдержать как угодно долго, не сгорая и не изменяя существенно своих свойств. Номинальный ток плавкой вставки указывается в паспорте вставки.
На заводах – изготовителях плавких вставок определяется Iн. вст.
, в этом состоит калибровка плавкой вставки.
При калибровке плавких вставок на заводах – изготовителях определяются два испытательных тока:
Imax
исп.
– максимальный испытательный ток. Это ток, при котором плавкая вставка сгорает в течение одного часа.
I min исп.
– минимальный испытательный ток. Наибольший ток, при котором плавкая вставка не сгорает в течение одного часа.
По этим двум токам определяется номинальный ток плавкой вставки из соотношений принятых для низковольтных предохранителей, например:
I min
исп
.
= (1,3 + 1,5) I н
.вст
.
(1)
I max исп.
= (1,7 + 2,0) I н.вст.
(2)
При таких соотношениях между Iн.втс.
и I max исп.
, I min исп.
откалиброванная плавкая вставка сгорает и отключает двигатель лишь в течение одного часа при перегрузках током 1,7 – 2,0 раза – не сгорает и не отключает двигатель в течение времени дольше одного часа при перегрузках током 1,3 – 1,5 раза.
Плавкая вставка, выбранная для защиты двигателя по номинальному току двигателя, по условию Iн. вст.
≥ Iн. дв.
, (например, для двигателей с реостатным пуском) не сможет защищать двигатель от малых, но длительных перегрузок током, перегрузок, по крайней мере, меньше трехкратных, четырехкратных.
Объясняется это тем, что допустимое время перегрузки двигателя током, превышающим Iн.дв.
в 1,3 – 2,0 раза значительно меньше одного часа. Так, например, при перегрузке в 1,5 раза допустимое время перегрузки согласно перегрузочной характеристике двигателя (ГОСТ 183 – 66) составляет две минуты. Отсюда вывод – плавкий предохранитель, выбранный по номинальному току двигателя, не защищает двигатель от малых перегрузок током.
Для двигателей с короткозамкнутым ротором плавкая вставка выбирается по пусковому току двигателя, который превышает номинальный ток двигателя в 5-8 раз.
Плавкая вставка, выбранная, например, по условию:
I н
. вст
.
≥ (I пуск
.
/2,5) =(( 5...8 ) I н
. вст
.
)/2,5 (3)
будет срабатывать за допустимое время лишь при токах, превышающих Iн. дв.
в 10-20 раз, т.е. при токах короткого замыкания.
На первый взгляд может показаться, что плавкую вставку можно легко сделать более чувствительной. Такой, чтобы она защищала двигатель при малых перегрузках. Для этого необходимо, чтобы I min исп.
= (1,05 + 1,1) I н. вст.
. Однако, практически сделать это нельзя. Такая вставка будет сильно нагреваться при токе I н.вст.
, будет быстро стареть и сгорать при этом токе за неопределенное время.
Таким образом, плавкий предохранитель не предназначен для защиты двигателей от перегрузки током, основное его назначение - защита двигателя от режима коротких замыканий.
Указанный выше заводской способ калибровки плавких вставок не пригоден для использования в условиях эксплуатации из – за больших трат времени.
В условиях эксплуатации необходимо пользоваться плавкими вставками заводского изготовления. И лишь в крайних случаях, при отсутствии стандартных вставок заводского изготовления можно временно поставить плавкие вставки самодельного изготовления, обязательно калиброванные следующим образом:
Берут 10-15 медных проволочек одинакового диаметра (диаметр измеряется микрометром), не имеющих каких – либо повреждений. Эти проволочки – вставки поочередно ставят в предохранитель (патрон) и сжигают различными токами, начиная с больших токов. При каждом токе вставка сгорает за определенное время, согласно защитной (время токовой) характеристике плавкой вставки Л1, Л2. Для проволочки данного диаметра, подбирают такой ток, чтобы плавкая вставка сгорала за 10с. Таким образом определяется десятисекундный ток плавления плавкой вставки I 10
. Опытным путем установлено, что номинальный ток плавкой вставки можно вычислить по формуле:
I н. вст.
= I 10
/ 2,5; (4)
3. Номинальные данные и характеристики автоматов.

15 14 13 12 11 9 8
10
1 2 3 4 5 6 7
Рис. 2. Устройство автомата серии А-3100:
1 — панель; 2 — подвижный контакт; 3 — неподвижный контакт; 4 — гибкое соединение; 5 — стальной изолированный валик; 6 — тепловой расцепитель; 7 — электромагнитный расцепитель; 5, 10, 12 — рычаги механизма управления; 9 — пружина;11 — рукоятки управления; 13, 14 - дугогасительное устройство; 15 — крышка.
U н.а.
– номинальное напряжение автоматического выключателя, соответствует наибольшему номинальному напряжению сетей, в которых разрешается применять автомат по условиям нормального гашения электрической дуги и электрической прочности изоляции.
I н.а.
– номинальный ток автомата – наибольший ток, протекание которого через автомат допустимо в течение неограниченного времени по условиям нагрева токоведущих частей автомата при стандартной температуре окружающей среды +40 0
С.
I н. расц.
– номинальный ток расцепителя – наибольший ток, протекание которого через расцептель в течение неограниченного времени не вызывает срабатывание расцепителя при нормальных условиях работы, оговоренных в паспорте автомата.
Например, для автоматов АП – 50 с регулируемой установкой теплового расцепителя. Этот ток определяется при нормированной температуре окружающей среды + 25 0
С и нормальном положении регулятора уставки.
I н. расц.
– устанавливается заводом – изготовителем, по назначениям начальных токов несрабатывания и срабатывания расцепителя, которые определяются опытным путем. Значения кратности этих токов по отношению к Iн.расц.
для автоматов серий А – 3100 с тепловым расцепителем или тепловым элементом комбинированного расцепителя приведены в таблице 1.
Таблица 1.
| Тип
авто -
мата.
|
Кратность тока по отношению к I н. расц.
|
Время (ч), в течение которого тепловой расцепитель
|
| несрабатывания
|
срабатывания
|
должен не сработать
|
должен сработать
|
| А – 3160
|
1,1
|
1,35
|
2
|
1
|
| А – 3120
|
1,1
|
1,45
|
2
|
1
|
| А – 3140
|
1,1
|
1,45
|
4
|
1
|
Начальные токи несрабатывания и срабатывания автоматов определяются испытанием автоматов на заводах при одновременной нагрузке всех полюсов с холодного состояния (при температуре окружающей среды + 25С0
) при присоединении к автомату проводов с собственным превышением температуры +40С0
при длительной нагрузке номинальным током расцепителя.
При окружающей температуре, отличающейся от +250
С при токах выше 2 х
кратного, ток срабатывания теплового элемента за тоже время изменяется следующим образом: на каждые 10 0
С увеличения окружающей температуры, уменьшается на 5 – 8%; на каждые 10 0
С уменьшения температуры, увеличивается на 4 – 7%, а начальный ток срабатывания изменяется до 10%.
Анализируя условия заводской калибровки тепловых расцепителей (элементов) можно сделать вывод, что тепловые расцепители, предназначенные для защиты двигателя от длительных перегрузок током, не могут защищать ЭД от малых по величине перегрузок равных (1,35 + 1,45) I н. расц.
и меньше, так как при выборе расцепителя обычно по условию I н.расц.
≥ I н.дв.
время срабатывания расцепителя, а значит и время отключения ЭД при перегрузке будет порядка 1 - 2 часа. Допустимое время работы ЭД при таких перегрузках значительно меньше, составляет 1,5 – 2 минуты.
Положение усугубляется у автоматов с нерегулируемой установкой тем, что автоматы с понижением температуры окружающей среды становятся менее чувствительными и время срабатывания их увеличивается.
Защитная характеристика автомата с тепловым расцепителем – зависимость времени срабатывания t срб.
автомата от тока перегрузки или от кратности тока перегрузки:
T срб.
= ƒ(I) или T срб.
= ƒ(I)/Iн.расц
(5)
I уст. тепл. расц.
– ток установки теплового расцепителя (элемента) – наибольший ток, при котором расцепитель не срабатывает при фактической температуре окружающей среды и фактическом положении регулятора.
Этот ток рассчитывается с учетом фактической температуры окружающей среды по номинальному току двигателя.
На основании этого расчета у автоматов с регулируемой установкой делается фактическая установка расцепителя, путем установки регулятора в определенном положении. В условиях эксплуатации проверку установок расцепителей начинают с определения времени срабатывания при нагрузке каждого полюса автомата в отдельности. Если время срабатывания автомата при однополюсной нагрузке отличается у полюсов более чем на 15 %, такой автомат подлежит регулировке в ремонтной мастерской.
Установка автоматов поверяется нагрузкой испытательным током, примерно равным удвоенному I н.расц.
, с поправкой на температуру окружающей среды.
При пропускании I исп.
через все полюса автомата одновременно время срабатывания автомата t срб.
должно быть:
t срб.
= t доп.
+(-) 10% t доп.
(6)
t доп.
– допустимое время срабатывания, определяется по защитной характеристике автомата при соответствующей кратности перегрузки, т.е. 2 или берется из справочников по наладке аппаратуры.
При несрабатывании автомат не должен находиться под током свыше времени t max
= 2 tдоп.
Например, для автомата А – 3163 t доп.
= (15+20)с ; t max
= 40 с.
I уст. эл. расц.
– ток установки электромагнитного расцепителя – наименьший ток, при котором срабатывает расцепитель.
Электромагнитные расцепители в установочных автоматах могут срабатывать с зависимой от тока выдержкой времени. Для этого к электромагнитному элементу пристраивается гидравлический замедлитель времени, например, в автоматах АК – 63 – МГ, АК – 50 – МГ. Такие автоматы могут осуществлять максимальную токовую защиту ЭД от перегрузок.
Большинство установочных автоматов (А – 3100, АП – 50, АЕ – 2000) имеют электромагнитные элементы с независимой от тока выдержкой времени. Они срабатывают с «отсечкой» тока (практически мгновенно), т.е. отключает защищаемую цепь за минимальное время (сотые доли секунды), определяемое быстродействием расцепителя.
Расцепители, действующие с отсечкой тока предназначены для защиты ЭД от токов короткого замыкания кратностью 10 – 15 и выше.
Ток уставки электромагнитных расцепителей и электромагнитных элементов комбинированных расцепителей имеет фиксированное значение обычно равное (9 ... 14) I н. расц.
.
4. Тепловая защита
Тепловое реле предназначено для защиты электродвигателя от длительных перегрузок. Реле срабатывает при создании 20%-ной перегрузки. От коротких замыканий тепловые реле не защищают и сами требуют такой защиты. Наиболее распространенные типы реле ТРП и ТРН. Реле состоит из электрического нагревательного элемента 1 ( рис 3), биметаллической пластины 2, контактов 5, пружин 3 и кнопки возврата 4.
Нагревательный элемент 1 представляет собой спираль из провода (ленты) с высоким удельным сопротивлением (нихром) и включенную после силовых контактов магнитного пускателя в цепь электродвигателя. Нагревательные элементы выбирают по номинальному току защищаемого электродвигателя и температуре окружающей среды. Рис.3.
При нормальной нагрузке электродвигателя нагревательный элемент и биметаллическая пластинка теплового реле не перегреваются, так как они успевают отдавать выделяющуюся теплоту в окружающую среду.
При перегрузках двигателя ток в его обмотках возрастает, нагревательный элемент теплового реле нагревает биметаллическую пластинку, которая, изгибаясь, разрывает контакты в цепи катушки магнитного пускателя. Для приведения теплового реле в состояние готовности нужно после остывания биметаллической пластины нажать кнопку возврата, расположенную на крышке магнитного пускателя.
Конструкция тепловых реле допускает регулировку установки в пределах ±25% от номинального тока нагревательных элементов. Нагревательные элементы теплового реле сменные и подбираются по номинальному току двигателя.
Недостатки теплового реле:
1. вследствие того, что постоянная времени нагрева теплового реле меньше постоянной времени нагрева двигателя, защитная характеристика реле не совпадает с перегрузочной электродвигателя. При перегрузке более 20% отключает электродвигатели раньше времени;
2. реле имеют значительный разброс во времени срабатывания;
3. на характеристики тепловых реле влияют изменения температуры окружающей среды;
4. требуют тщательной регулировки и настройки.
Выбор теплового реле и его установки
Тепловое реле надежно защищает двигатель лишь когда условия нагрева и охлаждения реле совпадают с условиями нагрева и охлаждения двигателя. Достичь этого подобия сложно и особенно при частых пусках и остановках. Поэтому тепловую защиту рекомендуется применять для двигателей, работающих в длительном режиме.
Реле выбирают из условия:
Iн.реле
≥ Iн.дв.
, (7)
где Iн.реле
– номинальный ток реле – наибольший длительный ток, который могут пропускать токоведущие части без нагрева сверх допустимой температуры. Этот ток указывается на марке реле – ТРН-10; ТРН-25; ТРН-60 и т.д.
Для данного типа реле подбирается нагревательный элемент. При длительном режиме работы и редких пусках сменный нагреватель выбирается из условия:
Iн.н.
= Iн.дв.
± (0,15…0,20) Iн.дв.
, (8)
где Iн.н.
– номинальный ток нагревателя. Указывается на нагревателе, а также приводятся данные по нагревателям для каждого типа теплового реле в справочной литературе.
Отрегулированные тепловые реле надежно защищают электродвигатели от небольших и средних перегрузок. Однако в холодном состоянии они не обеспечивают защиту электродвигателей, заклиненных и не запустившихся при обрыве фазы.
В настоящее время разработаны новые тепловые реле серий РТТ и РТЛ, которые более чувствительны к несимметричным режимам, т.е. к обрыву фазы. Три нагревательных элемента этих реле обеспечивают отключение при 20% перегрузке за 20 мин. Но при обрыве фазы это же время срабатывания будет получено при токе 0,8 Iн.
.
Программа и порядок выполнения работы.
1. Ознакомиться с конструкциями аппаратов ручного управления, имеющихся на рабочем месте в лаборатории и подготовленных для изучения (барабанный пускатель, универсальный переключатель, переключатель со звезды на треугольник).
2. Ознакомиться с конструкциями плавких предохранителей, представленных на рабочем месте в натуре и на плакатах. Записать паспортные данные 1 - 2 типов предохранителей.
3. Калибровка плавкой вставки.
Для калибровки плавкой вставки в производственных условиях берут 10…15 медных проволочек строго одинакового диаметра (диаметр измеряют микрометром), не имеющих каких либо повреждений. Поочередно их устанавливаем на патрон ПР. Переключатель QS1
включить в положение «1». Рубильник QS2
– в положение включено. При помощи «Латра» задаем какое-то начальное значение тока по амперметру PA1
. Включив QS2
«Латром» поддерживается заданное значение тока. При этом включается секундомер «С», выключающийся автоматически при перегорании вставки. Затем опыт повторяется с другой проволочкой ( рис 4).
Для проволочки данного диаметра подбирают такой ток, чтобы она перегорела за 10 с. Таким образом определяется десятисекундный ток плавкой вставки (I10
). Номинальный ток плавкой вставки может быть вычислен:
Iн.вст.
= I10
/ 2,5 (9)
При сборке схем не забывайте выключить автоматический выключатель QF.
Рис.4 Методика проведения регулировки тепловых реле.
Чтобы обеспечить точное срабатывание тепловых реле, их необходимо не только правильно выбрать, но и точно отрегулировать. При эксплуатации тепловые реле регулируют обязательно один раз в два года. Тепловые реле типа ТРН и ТРП регулируют в следующем порядке:
1. реле осматривают и проверяют, нет ли механических дефектов;
2. проверяют, соответствует ли номинальный ток нагревательных элементов реле номинальному току защищаемого электродвигателя;
3. проверяют расстояние между нагревательными элементами и биметаллическими пластинами. Если расстояние от обоих нагревательных элементов неодинаковы до пластинок, необходимо изменить положение нагревательных элементов, отпустив, а затем снова затянув винты их крепления (измеряют штангенциркулем или линейкой).
4. регулировочный эксцентрик установок теплового реле устанавливают в положение «+5»;
5. собрать схему с нагревательным элементом НЭ1
теплового реле РТ ( рис 4) и установить ток нагрузки нагревательного элемента в 1,5 раза больше номинального тока защищаемого двигателя (QS3
в положении «выключено»);
6. QS3
перевести в положение «включено», через 145 с (70 с для ТРН-10А) эксцентрик плавно поворачивают в направлении к «-5» до срабатывания теплового реле;
7. после интенсивного (12…15 мин) охлаждения теплового реле (например, настольным вентилятором) к регулировочному устройству подключают второй нагревательный НЭ2
элемент и снова устанавливают ток нагрузки 1,5Iн.
; поджатием н. Эл. Добиваются срабатывания за 145…150 с.
8. если тепловое реле будет срабатывать от обоих нагревательных элементов за 145…150 с (70…75 для ТРН-10А), то проводят окончательную его регулировку. Для этого оба нагревательных элемента соединяют последовательно и подключают к регулировочному устройству, регулировочный эксцентрик устанавливают в положение «+5»;
9. снова устанавливают ток нагрузки 1,5Iн.
И через 145 (70) с плавно поворачивают эксцентрик по направлению к «-5» до срабатывания теплового реле. После этого тепловое реле будет точно отрегулировано.
10. Если во время регулировки регулировочный эксцентрик находится в положении «+5», а ток в нагревательном элементе равен 1,5Iн.
И тепловое реле срабатывает раньше чем за 145…150 (70) с, то необходимо заменить нагревательные элементы, выбирая их по большему номинальному току. Если наоборот, при этом же токе нагрузки и положении регулировочного эксцентрика на «-5» тепловое реле не срабатывает за 145 (70) с, нагревательные элементы также необходимо заменить, только выбирать их нужно по меньшему номинальному току.
По результатам опытов оформить отчет, зарисовать электрические схемы.
Изучение магнитных пускателей и схем автоматического управления трехфазными электродвигателями с короткозамкнутым ротором.
Цель работы:
Изучить конструкции и принцип действия магнитных пускателей. Исследовать действие нулевой, минимальной и тепловой защиты магнитных пускателей. Научиться читать и изображать простейшие схемы автоматического управления электроприводами с использованием магнитных пускателей.
Методические указания.
Магнитным пускателем обычно называют совокупность электромагнитного контактора и теплового реле, включенных в общий корпус. Иногда в общий корпус помещают кроме теплового реле и другие защитные реле: реле максимального тока, реле минимального напряжения.
Магнитные пускатели предназначены для дистанционного и местного полуавтоматического управления электродвигателями и другими электроприемниками.
Основной аппарат магнитного пускателя – электромагнитный контактор – представляет собой электрический аппарат для коммутации силовых цепей низкого напряжения с приводом от электромагнита.
При изучении магнитных пускателей нужно уяснить устройство и назначение основных частей контактора: главных (силовых) контактов, блокировочных контактов, дугогасительных устройств, их разновидностей. Изучить привод контактора, состоящий из магнитной системы (сердечника и якоря) и катушки контактора.
Принцип действия контактора
состоит в том, что при подаче электропитания на катушку контактора происходит срабатывание контактора. Якорь магнитной системы притягивается к сердечнику. Это приводит к замыканию контактов и размыканию размыкающих контактов. При обесточивании катушки контактора якорь под действием собственного веса или специальных пружин отпускается, замыкающие контакты размыкаются, размыкающие контакты замыкаются.
Изучая конструкции контакторов, обратите внимание на следующее:
1. На конструктивные различия в устройстве магнитных систем контакторов переменного и постоянного тока, в частности, на наличие короткозамкнутых витков у контакторов переменного тока, постоянного тока, в частности, на наличие короткозамкнутых витков у контакторов переменного тока, на форму и конструкции силовых контактов, блок – контактов.
2. На величину растворов и провалов контактов.
Раствором контактов называют расстояние между подвижными и неподвижными контактами в отключенном состоянии контактора. Провалом контактора называют расстояние, которое пройдет подвижный контакт под действием контактной пружины, если убрать неподвижный контакт. Величины растворов и провалов и нажатия контактов нормируется заводом изготовителем, и приводятся в заводских инструкциях. В процессе эксплуатации величины провалов, растворов, нажатий должны оставаться в пределах нормы.
Магнитные пускатели помимо выполнения основной своей функции (включения и выключения электроприемников) выполняют еще важные функции защиты электропривода. В общем случае у магнитного пускателя может быть четыре вида защиты:
1.Нулевая защита –
состоит в том, что при исчезновении напряжения в сети (снижение его до нуля) магнитный пускатель отключается, а при восстановлении напряжений в сети до нормального пускатель самопроизвольно не включается. Эта защита осуществляется самим контактором при наличии блокировочной цепи, которая ставит катушку на самопитание при срабатывании контактора. Если контактор отключился при исчезновении напряжения блокировочная связь самовосстановиться не может. Нулевая защита предупреждает аварии и травмы на производстве от самопроизвольного включения двигателей при неожиданном восстановлении напряжения в сети.
2.Защита минимального напряжения (минимальная защита) –
это отключение магнитного пускателя при снижении напряжения в сети до некоторого минимального значения. При снижении напряжения в сети до некоторого минимума контактор не может удержать свой якорь и магнитный пускатель отключается. Защита минимального напряжения предохраняет двигатель от работы на сниженном напряжении, так как это может привести к увеличению тока двигателя и выходу двигателя из строя.
Контакторы переменного тока отключаются при весьма глубоких снижениях напряжения, составляющих 50 - 60 % от номинального.
При колебаниях напряжения на катушках контакторов от (+10%) до (-15%) от номинального магнитные пускатели должны работать нормально.
3.Тепловая защита –
предназначена для защиты двигателей от небольших, но длительных перегрузок по току. Перегрузки небольшие по величине, но недопустимые по длительности вызывают опасный перегрев двигателя. Осуществляется тепловая защита с помощью термобиметаллических тепловых реле, встроенных в магнитные пускатели.
Основной элемент реле – термобиметаллическая пластина – сваривается из двух пластин с различным коэффициентом линейного расширения. При нагревании такая пластина изгибается в сторону металла с меньшим коэффициентом расширения.
Для нагревании пластины пропускается ток защищаемого двигателя или непосредственно через пластину или через специальный нагреватель, расположенный рядом.
При перегрузке двигателя током термобиметаллическая пластина изгибается значительно сильнее, чем при номинальном токе и размыкает контакт в цепи катушки контактора. Благодаря этому контактор отключается и отключает защищаемый двигатель.
Термобиметаллические реле имеют падающую защиту (время - тоновую) характеристику: с увеличением тока перегрузки, время выдержки реле уменьшается. В виду значительной тепловой инерции тепловые реле не могут защищать двигатель от коротких замыканий, когда ток короткого замыкания превышает номинальный ток двигателя в 10 – 15 раз.
Основные величины, характеризующие тепловые реле:
Iн.р.
– номинальный ток реле. Это наибольший ток, который длительно выдерживают токоведущие части реле, не перегреваясь сверх допустимой температуры при температуре окружающей среды 35 0
С.
Iн.н.
– номинальный ток нагревателя. Это наибольший длительный ток, при котором реле не срабатывает при температуре окружающей среды 350
С.
Тепловые реле выбирают по условиям:
Iн.р.
>= Iн.д.
(1)
Iн.н.
=~ Iн.д.
, (2)
где :Iн.д.
– номинальный ток защищаемого двигателя.
Выбранное таким образом тепловое реле должно быть отрегулировано и настроено с учетом приблизительного равенства номинального тока нагревателя и номинального тока двигателя и с учетом температуры окружающей среды.
4.Максимальная токовая защита –
защита от кратковременного протекания токов перегрузки или токов короткого замыкания. Осуществляется максимальная токовая защита с помощью встроенных реле максимального тока. Применяется сравнительно редко в специальных пускателях, когда тепловые реле не могут защищать двигатель от перегрузки, например, при повторно – кратковременном режиме работы двигателя.
Основные технические характеристики магнитных пускателей
:
Uн.п.
– номинальное напряжение пускателя. Наибольшее напряжение, при котором может работать пускатель.
Uн.к.
– номинальное напряжение катушки контактора.
I н.п.
– номинальный длительный ток, на который рассчитаны силовые токоведущие части пускателя.
P п.
– предельно – допускаемая мощность короткозамкнутого двигателя при определенном напряжении.
Пускатель выбирают по условиям:
U н.п.
>= U н.с.
(3)
U н.к.
= U н.с.
(4)
I н.п.
>= I н.д.
(5)
P п.
>= P н.д.
, (6)
где:Uн.с.
– номинальное линейное напряжение сети
I н.д.
– номинальный ток двигателя
P н.д.
– номинальная мощность двигателя.
При заказе указывают марку пускателя (тип) и Uн.п.
, I н.п.
, P п.
, U н.к.
Коэффициент возврата электромагнитного контактора (или реле)
К – отношение параметра отпускания к параметру срабатывания реле.
Для контактора напряжения коэффициент возврата:
К= Uотп.
/Uсрб
(7)
где:
U отп.
– наибольшее напряжение на катушке, при котором отпадает якорь реле;
U срб.
– минимальное напряжение на катушке, при котором до конца втягивается якорь.
Для контактора напряжения величина “K” меньше единицы, характеризует пределы напряжения, на которые может быть настроена минимальная защита.
Схемы автоматического управления электродвигателями.
Для удобства понимания принципов автоматического управления электроприводами и практической наладки электроприводов используются развернутые схемы автоматического управления.
Развернутой схемой автоматического управления называется такая, на которой элементы одного и того же аппарата (обмотки, контакты) размещаются исключительно по принципу их функциональной связи (взаимодействию). Конструктивная связь и действительное местоположение элементов одного и того же аппарата, а также различных аппаратов на схеме не отражается.
Такие схемы удобны для понимания принципа действия, легки для чтения и начертания по сравнению со схемами совмещенными, где показываются не только функциональные связи, но и конструктивные связи элементов.
Элементы аппаратов и машин в развернутых схемах принято показывать с помощью специальных условных графических изображений (ГОСТ 2-755-74 и др. ГОСТы).
На рис. 1 показаны условные графические изображения некоторых элементов, встречающихся в схемах автоматического управления электроприводами.
Принципы начертания и чтения развернутых схем в основном сводятся к следующему:
1. Каждому аппарату в схеме присваивается буквенное обозначение, указывающее на функции данного аппарата, например:
Л – линейный контактор;
У – универсальный контактор;
Т – тормозной контактор.
При наличии в схеме двух или более однотипных аппаратов они помимо обозначения буквой нумеруются цифрой. Цифра ставится впереди буквы. Например, первый контактор (1 К), второй контактор (2 К).
Таблица 1.
| 1
2
3
4
|
Контакт выключателя и переключателя:
а) замыкающий
б) размыкающий
в) переключающий
Контакт электрического реле:
а) замыкающий
б) размыкающий
в) переключающий
Контакт контактора, пускателя, силового контроллера; блок-контакт электрического аппарата;
а) замыкающий
б) размыкающий
в) переключающий
Контакт замыкающий,
имеющий выдержку времени:
а) при замыкании
б) при размыкании
в) при замыкании и размыкании
|

|
Продолжение таблицы 1.
| 5
6
7
8
9
10
11
|
Контакт размыкающий, имеющий выдержку времени:
а) при замыкании
б) при размыкании
в) при замыкании и размыкании
Контакт с гашением. Общее обозначение:
а) замыкающий
б) размыкающий
Контакт остающийся с ручным возвратом:
а) замыкающий
б) размыкающий
Контакт неэлектрического реле (датчика, путевого выключателя, конечного выключателя и т. п.):
а) замыкающий
б) размыкающий
Кнопка с самовозвратом и замыкающим контактом
Кнопка с самовозвратом и размыкающим контактом
Кнопка с самовозвратом, одним замыкающим и одним размыкающим контактами
|

|
Продолжение таблицы 1.
| 12
13
|
Обмотка реле, контактора и магнитного пускателя. Общее обозначение
Примечания: 1. Если необходимо подчеркнуть, что реле однообмоточное, используют следующее обозначение
2. Выводы обмотки допускаются изображать по одну сторону прямоугольника
3. Если необходимо показать вид обмотки реле, используют следующие обозначения:
а) обмотка токовая
б) обмотка напряжения
4. Допускается для изображения обмоток реле, контакторов и магнитных пускателей применять следующие обозначения:
а) обмотка реле токовая последовательная
6) обмотка реле напряжения параллельная
в) обмотка контактора и магнитного пускателя
Обмотка электромагнитного реле с указанием выдержки времени:
а) с замедлением при срабатывании
б) с замедлением при отпускании
|

|
2. Все части одного и того же аппарата обязательно обозначаются одной и той же буквой. Это позволяет определить какому именно аппарату принадлежат данные контакты, катушка и т.д. Например, на схеме (рис. 2) все части контактора «Вперед» - обозначены буквой (В).
Если аппарат имеет несколько однотипных элементов, то они нумеруются порядковыми номерами. Порядковый номер элемента ставится после буквенного обозначения. Например, если контактор 1К имеет два размыкающих контакта, то они обозначаются 1К 1 и 1К 2.
3. Схема изображается в так называемом начальном положении (состоянии), когда электропитание на катушках контакторов и реле отсутствует (схема обесточена) и когда отсутствуют всякие механические воздействия на контактные системы и командоаппараты (кнопки управления не нажаты, командо - контролеры находятся в нулевом положении).
В нормальном положении замыкающие контакты находятся в разомкнутом состоянии, а размыкающие – в замкнутом состоянии.
4. Каждый зажим, соединяющий два и более провода, обозначается цифрой. Зажимы, имеющие общую точку соединения, обозначаются одной и той же цифрой.
5. Главные силовые цепи, по которым протекают силовые токи двигателей, генераторов: изображаются толстыми (жирными) линиями. Вспомогательные цепи, по которым протекают токи катушек контакторов, реле управления, реле сигнализации, блокировки и других вспомогательных элементов изображаются тонкими линиями. Толщина их примерно в два раза меньше толщины линий силовых цепей.
6.
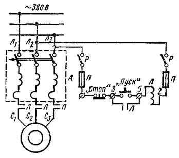
При чтении схемы последовательно рассматриваются состояния всех элементов схемы и их взаимное действие. Рис. 1.
На рис. 1 изображена развернутая схема нереверсивного магнитного пускателя, предназначенная для управления трехфазным короткозамкнутым двигателем в наладочном «толчковом» режиме. Для пускания двигателя необходимо включить рубильник и нажать кнопку «Пуск». При этом оживляется током катушка контактора Л. Ток проходит по цепи: зажим Л1
, размыкающий контакт теплового реле РТ, катушка Л, кнопки «Стоп» и «Пуск», зажим Л3
. Срабатывает контактор Л, замыкаются его силовые контакты Л2
, двигатель подключается к сети и идет в ход.
При отпускании кнопки «Пуск» цепь катушки Л размыкается, так как кнопка «Пуск» с самовозвратом. Катушка контактора Л обесточивается, якорь контактора отпадает, силовые контакты размыкаются и двигатель отключается от сети.
Такая схема удобна для осуществления пуска двигателя толчками, обычно используется при наладке электроприводов и при точном полуавтоматическом управлении подъемниками и другими механизмами.
Если в схему ввести блокировочную цепь, с блокировочным контактом Л, шунтирующим кнопку «Пуск», то получается обычная схема магнитного пускателя. В отличие от первоначального варианта схемы при нажатии кнопки «Пуск», катушка контактора Л ставится на самопитание и при отпускании кнопки «Пуск», ток проходит по цепи: зажим Л1
, размыкающий контакт теплового реле РТ, катушка Л, кнопка «Стоп», блок – контакт Л, зажим сети Л3
. Силовые контакты Л замкнуты, двигатель включен. Для нормального отключения двигателя необходимо нажать кнопку «Стоп». При этом катушка Л обесточивается, якорь контактора отпадает, размыкаются силовые контакты Л и блок – контакты Л. Аварийные отключения двигателя: при срабатывании тепловой защиты размыкается контакт теплового реле РТ в цепи катушки Л. Далее все происходит также как и при нажатии кнопки «Стоп». Эта схема обладает нулевой и минимальной защитой. Эти функции выполняются контактором. На рис. 2 приведена схема реверсивного магнитного пускателя, с помощью которого осуществляется реверсирование трехфазного электродвигателя. С помощью контактора «Вперед», обозначенного буквой В, двигатель включается в прямом направлении. С помощью контактора «Назад», обозначенного буквой Н, меняются местами два провода линии и двигатель включается в обратном направлении. В цепи катушек контакторов В и Н включена кнопочная станция с тремя кнопками: кнопкой «Стоп», которая является общей, может разрывать цепь катушек (В) и (Н). Кнопкой «Вперед», имеющей замыкающий контакт цепи катушки (В) и размыкающий контакт в цепи катушки контактора (Н). Кнопкой «Назад», имеющей также два контакта размыкающий и замыкающий. Механические связи контакторов показываются пунктирной линией. В кнопках «Вперед» и «Назад» замыкающие контакты служат для пуска двигателя соответственно вперед или назад. Размыкающие контакты этих кнопок являются блокировочными. Они запрещают (блокируют) одновременное срабатывание контакторов (В) и (Н) при случайном одновременном нажатии кнопки «Вперед» и кнопки «Назад», т.к. это привело бы к короткому замыканию силовой линии.
 |
Рис.2. Блокировка от одновременного замыкания силовых контактов «Вперед» и «Назад» иногда выполняется с помощью механических защелок или с помощью размыкающих блок – контактов самих контакторов. Реверсивный пускатель может иметь нулевую, минимальную и тепловую защиты.
ПРОГРАММА И ПОРЯДОК ВЫПОЛНЕНИЯ РАБОТЫ.
1. Изучить конструкции нереверсивных и реверсивных магнитных пускателей, представленных в натуре на лабораторном стенде, а также по плакатам.
Найти основные части контакторов и тепловых реле, указать их назначение.
ПРЕДУПРЕЖДЕНИЕ:
ЗАПРЕЩАЕТСЯ РАЗБИРАТЬ КОНТАКТОРЫ И ТЕПЛОВЫЕ РЕЛЕ, ПРЕДСТАВЛЕННЫЕ НА СТЕНДЕ В РАЗОБРАННОМ ВИДЕ.
2. Собрать схемы нереверсивного магнитного пускателя для управления короткозамкнутым двигателем и испытать их в наладочном и обыкновенном режимах работы (рис. 1).
3. Исследовать действие нулевой защиты. Напряжение снимать и восстанавливать на пускателе с помощью сетевого рубильника.
4. Исследовать действие тепловой защиты с помощью теплового реле, встроенного в нереверсивный магнитный пускатель. Убедиться, что при загрузке двигателя тормозом до номинального тока двигателя, тепловое реле не отключает двигатель, а при загрузке током больше номинального тепловое реле срабатывает и отключает электродвигатель.
ПРЕДУПРЕЖДЕНИЕ:
Согласно ГОСТ 183 – 66 нагретый асинхронный двигатель мощностью до 0,6 кВт 50% перегрузку должен выдерживать в течение 1 минуты, а двигатель мощностью более 0,6 кВт – 2 минуты. Поэтому рекомендуется при постановке опыта двигатель перегружать током не более чем в 1,5 раза по сравнению с номинальным. Время срабатывания теплового реле не должно превышать выше указанную норму. Если тепловое реле не сработало за нормированное время следует считать, что оно не правильно подобрано или отрегулировано и опыт не повторять. Изучение настройки теплового реле предусматривается в последующей лабораторной работе.
5. Исследовать действие минимальной защиты по напряжению. Собрать схему рис. 2а и, после проверки ее руководителем занятий, определить наибольшее напряжение Uопт.,
, при котором отпадает якорь контактора, и пускатель размыкает цепь двигателя. Затем определить наименьшее напряжение Uсрб.
, при котором пускатель надежно включается, втягивается якорь контактора и замыкаются силовые контакты.
ПРЕДУПРЕЖДЕНИЕ:
При определении Uотп.
и Uсрб.
имеется опасность перегрева катушки большими токами, которые возникают при воздушном зазоре в магнитопроводе контактора не равном нулю. Поэтому запрещается держать катушку под током, превышающим нормальный ток, который фиксируется миллиамперметром при номинальном напряжении на катушке и воздушном зазоре практически равен нулю.
Рекомендуется при определении Uсрб.
сначала устанавливать автотрансформатором величину напряжения в цепи катушки, а потом кратковременным нажатием кнопки «Пуск» замыкать цепь катушки, момент срабатывания контактора определять по загоранию лампы, при определении Uотп.
- постепенно снижать напряжение при нажатой кнопке «Пуск», момент срабатывания отмечать по погасанию лампы. Вычислить коэффициент возврата.
6.
Собрать схему реверсивного магнитного пускателя (рис. 3), после проверки схемы руководителем занятий, испытать ее в действии.
Проверить действие блокировки запрещающей одновременное включение контакторов (В) и (Н).
7. Подобрать по каталогу пускатель и тепловое реле для двигателя, указанного преподавателем.
8. Дать анализ результатов опытов. Составить отчет по установленной форме. В отчете обязательно привести все результаты опытов, основные схемы. Указать преимущества магнитных пускателей по сравнению с пускателями ручного управления.
Характеристики машины постоянного тока, работающей в генераторном режиме.
Цель работы:
Исследовать электрические свойства генератора постоянного тока снятием опытным путем характеристик:
1. Холостого хода.
2. Внешней.
3. Регулировочной.
Основные теоретические положения
Задача испытания генератора заключается в исследовании его электрических свойств. Испытания разделяются на типовые – более подробные при выпуске новой машины и контрольные испытания. Для нормальной эксплуатации генератора постоянного тока необходимо знать:
1. Номинальные величины, на которые рассчитана работать машина (Рн
, Iн
, Uн
, nн
, и т.д.).
2. Характеристики, выражающие зависимость между основными электрическими величинами. Такие, как характеристики холостого хода внешняя и регулировочная.
Генератор постоянного тока состоит из двух основных частей: статора (индуктора) – неподвижной части и якоря – вращаемая часть.
Статор – это станина в виде полого стального цилиндра. на внутренней поверхности которого укреплено четное число выступающих главных полюсов, собранных из изолированных друг от друга листов электротехнической стали с обмотками возбуждения постоянного тока, которые соединены так, чтобы полярность полюсов чередовалась. Таким образом, статор является индуктором.
Якорь – представляет собой вал, на котором находится барабан-сердечник, набираемый также из листовой стали. В пазы на наружной поверхности барабана укладывается обмотка якоря, представляющая собой секции соединенные последовательно через коллекторные пластины коллектора, выпрямляющие ток.
На коллектор устанавливаются неподвижные щетки (в геометрической нейтрали), которые делят обмотку якоря на параллельные ветви и соединяют ее с внешней цепью (нагрузкой).
По способу возбуждения главного магнитного поля генераторы делятся:
1. Генераторы независимого возбуждения. Обмотка возбуждения которого получает постоянный ток от независимого источника электроэнергии, благодаря чему ток возбуждения Iв не зависит от напряжения на зажимах якоря машины, а магнитный поток от нагрузки генератора.
2. Генераторы с самовозбуждением – обмотка возбуждения питается от якоря этого же генератора. В зависимости от способа включения цепи возбуждения по отношению к цепи якоря эти генераторы делятся на генераторы с параллельным (шунтовым), последовательным (сериесным) и смешанным (компаудные) возбуждением.
У генераторов параллельного возбуждения обмотка возбуждается с выводными зажимами Ш1 и Ш2 через реостат возбуждения РВ (регулировочный реостат), соединяется параллельно с цепью якоря (выводными зажимами Я1 и Я2). Ток якоря равен Iя сумме токов во внешней цепи (ток нагрузки Iн) и в цепи возбуждения Iв.
Iя = Iн + Iв (1)
Сила тока возбуждения Iв мала (0,05+ 0,01) Iя, а напряжение на зажимах цепей якорей и возбуждения одно и тоже. Следовательно, сопротивление обмотки возбуждения (rв = u / Iв) должно быть относительно велико, для чего она имеет большое число витков тонкого провода.
Характеристика холостого хода.
При вращении якоря в магнитном поле в обмотке его наводится э.д.с. сначала небольшая (за счет остаточного магнетизма), а затем при насыщении стали достигает величины:
Е=PN/ 60а (2)
Фn= Кe Фn (3)
Из формулы следует, что величина э.д.с., наводимая в обмотке якоря (параллельной ветви ее) при постоянной частоте якоря зависит только от значения магнитного потока главных полюсов или от возбуждающего его тока.
Зависимость э.д.с. якоря от тока возбуждения Е = f (Iв), снятая при отсутствии тока нагрузки Iн (холостой ход генератора – внешняя цепь отключена) и постоянной (номинальной) частота вращения ротора nн, называется характеристикой холостого хода. Она также отражает магнитные свойства машины ( Iя = Iв ).
Изменения величины тока возбуждения осуществляется регулировочным реостатом. Если число оборотов отличается от номинального, то Еn пересчитывают на Ен.
Ен = Е nн /n (4)
Внешняя характеристика – зависимость напряжения на зажимах генератора от тока нагрузки Iв ( Iв мал и Iя = Iн ) при постоянных сопротивлениях цепи возбуждения rв и частоте вращения.
При загрузке не генератор напряжение его падает.
U = E – Iя rя (5)
Причинами падения напряжения являются:
1. Увеличение падения напряжения в обмотке якоря (Iя rя);
2. Уменьшение э.д.с. Е в результате реакции якоря;
3. Уменьшение тока возбуждения Iв = u / rв при снижении напряжения в результате чего уменьшается поток, а следовательно и э.д.с. Е. Это снижение напряжения определяется: ΔU = (Uo – Uн )/uн *100%, и при номинальной нагрузке составляет 10-15% от напряжения при холостом ходе.
При дальнейшем медленном увеличении нагрузки снижение напряжения происходит так быстро, что ток достигнув наибольшего значения Iкр. (критического) Iкр. = (2 + 2,5) Iн, самопроизвольно начинает уменьшаться вместе с резким снижением напряжения от нуля. Генератор размагничивается и «сбрасывает нагрузку», переходя режим установившегося замыкания (u = 0).
Ток короткого замыкания Iкв. обычно меньше номинального тока и определяется лишь действием э.д.с. якоря, создаваемой потоком остаточного намагничивания.
При внезапном коротком замыкании эта система не успевает сработать и ток якоря может достигнуть величины (20 + 30) Iкв.
Регулировочная характеристика.
Для поддержания постоянства номинального напряжения на зажимах генератора необходимо регулировать ток возбуждения реостатом в цепи возбуждения, изменяя тем самым поток, а следовательно и величину э.д.с. Е.
Зависимость тока возбуждения от тока нагрузки Iн.Iв. = f (Iн) при постоянном напряжении (u = const) и частоте вращения (n = const) называется регулировочной характеристикой.
Проведение лабораторной работы.
1. Ознакомиться с приборами, необходимыми для производства работы, записать систему приборов, номинальные значения величин, классы точности, заводские номера.
2. Снять характеристику холостого хода. Для этого рубильником I разомкнуть внешнюю цепь. Снять характеристику холостого хода сначала при нарастающих значениях тока возбуждения. Изменение тока возбуждения производить при помощи щунтового (регулировочного) реостата. В первоначальном положении движок реостата находится на максимуме.
Для удобства расчетов рекомендуется менять ток так, чтобы э.д.с. устанавливалась (кроме первой и последней точек) 20,40,60,80,120, 140 В. Первую точку снять при Iв. = 0 (цепь возбуждения размыкается выключателем).
Все данные занести в таблицу 1. По данным опыта построить кривую Е=f(Iв.).
3. Снять внешнюю характеристику. Схема остается без изменения. Пустить в ход генератор и установить номинальное напряжение. Включить рубильник 1, нагрузить генератор до номинальной нагрузки включением ламп. Затем не меняя сопротивление цепи возбуждения и нагрузки генератора произвести регулировку частоты вращения. Частоту вращения якоря генератора изменять с шагом 200 мин-1
. Все данные занести в таблицу 2. По данным опыта построить кривую U=f(n.).
4. Снять внешнюю характеристику. Схема остается без изменения. Пустить в ход генератор и установить номинальное напряжение. Включить рубильник 1, нагрузить генератор до номинальной нагрузки включением ламп. Затем не меняя сопротивление цепи возбуждения выключая лампы уменьшить нагрузку до нуля.
Показания записать в таблицу 3. По данным опыта построить график U =f(Iн.)
5. Снять регулировочную характеристику. Схема остается без изменения. Пустив генератор, установить напряжение генератора, которое должно оставаться неизменным. Включив рубильник 1, производить нагрузку генератора (от нуля до номинального тока, включая лампы) и с помощью щунтового реостата увеличивать ток, чтобы напряжение оставалось постоянным.
Данные занести в таблицу 4, по ним построить кривую Iв. = f (Iн.)
6. Составить отчет установленной формы. Проанализировать различные схемы работы генератора (шунтового, компаундного, сериесного и с независимой обмоткой возбуждения). Проанализировать графические зависимости и сформулировать выводы.
Таблица 1.
| Шунтовый генератор.
|
| №
1-6
|
Ен (В)
|
n (мин-1
)
|
Iв (А)(Возбуждение)
|
| Компаундный генератор.
|
| №
1-6
|
Ен (В)
|
n (мин-1
)
|
Iв (А)(Возбуждение)
|
| Сериесный генератор.
|
| №
1-6
|
Ен (В)
|
n (мин-1
)
|
Iв (А)(Возбуждение)
|
| Генератор с независимой обмоткой возбуждения.
|
| №
1-6
|
Ен (В)
|
n (мин-1
)
|
Iв (А)(Возбуждение)
|
Таблица 2.
| Шунтовый генератор.
|
| №
1-10
|
Uн (В)
|
n (мин-1
)
|
Iн (А)(Нагрузки)
|
| Компаундный генератор.
|
| №
1-10
|
Uн (В)
|
n (мин-1
)
|
Iн (А)(Нагрузки)
|
| Сериесный генератор.
|
| №
1-10
|
Uн (В)
|
n (мин-1
)
|
Iн (А)(Нагрузки)
|
| Генератор с независимой обмоткой возбуждения
|
| №
1-10
|
Uн (В)
|
n (мин-1
)
|
Iн (А)(Нагрузки)
|
Таблица 3.
| Шунтовый генератор.
|
| №
1-6
|
Iв (А)(Возбуждения)
|
Iн (А)(Нагрузки)
|
n (мин-1
)
|
Uн
(В)
|
| Компаундный генератор.
|
| №
1-6
|
Iв (А)(Возбуждения)
|
Iн (А)(Нагрузки)
|
n (мин-1
)
|
Uн
(В)
|
| Сериесный генератор.
|
| №
1-6
|
Iв (А)(Возбуждения)
|
Iн (А)(Нагрузки)
|
n (мин-1
)
|
Uн
(В)
|
| Генератор с независимой обмоткой возбуждения
|
| №
1-6
|
Iв (А)(Возбуждения)
|
Iн (А)(Нагрузки)
|
n (мин-1
)
|
Uн
(В)
|
Таблица 4.
| Шунтовый генератор.
|
| №
1-6
|
Uн (В)
|
Iв (А)(Возбуждения)
|
Iн (А)(Нагрузки)
|
n (мин-1
)
|
| Компаундный генератор.
|
| №
1-6
|
Uн (В)
|
Iв (А)(Возбуждения)
|
Iн (А)(Нагрузки)
|
n (мин-1
)
|
| Сериесный генератор.
|
| №
1-6
|
Uн (В)
|
Iв (А)(Возбуждения)
|
Iн (А)(Нагрузки)
|
n (мин-1
)
|
| Генератор с независимой обмоткой возбуждения
|
| №
1-6
|
Uн (В)
|
Iв (А)(Возбуждения)
|
Iн (А)(Нагрузки)
|
n (мин-1
)
|
Исследование индукционного регулятора
Цель работы: Приобрести практические навыки по сборке схемы индукционного регулятора и получить экспериментальное подтверждение теоретическим сведениям о свойствах индукционного регулятора.
Программа работы. 1. Ознакомиться с конструкцией индукционного регулятора, записать его паспортные данные, а также данные измерительных приборов.
2. Собрать схему по рис. 1 и после проверки ее преподавателем провести опыт х. х. индукционного регулятора, при этом снять данные и построить график зависимости напряжения на выходе индукционного регулятора от угла поворота ротора; по данным опыта начертить векторную диаграмму напряжений и график зависимости U20
= f(αp).
3. Снять и построить внешнюю характеристику индукционного регулятора; определить номинальное изменение напряжения при сбросе нагрузки.
4. Составить отчет и сделать заключение о проделанной работе.
Подготовка к работе: 1. Повторить теоретический материал: устройство и принцип действия индукционного регулятора; векторная диаграмма напряжений; зависимость напряжения на выходе индукционного регулятора от угла поворота ротора; внешняя характеристика индукционного регулятора.
2. Подготовить к рабочей тетради таблицы для занесения результатов опытов и координатные сетки для построения графиков.
Порядок выполнения работы.
Основные сведения. Индукционный регулятор представляет собой заторможенную асинхронную машину с фазным ротором. При этом ротор машины заторможен посредством червячной передачи, позволяющей вращением маховика, укрепленного на червяке, плавно поворачивать ротор.
Индукционный регулятор предназначен для плавкой регулировки напряжения на схемах переменного тока. На рис. 1 представлена схема включения индукционного регулятора, на которой видно, что обмотки статора и ротора имеют автотрансформаторную связь. При этом обмотки статора разомкнуты, а обмотки ротора соединены звездой. Возможна также схема, когда разомкнутыми являются обмотки ротора.
Рис.1. Схема включения индукционного регулятора.
При включении индукционного регулятора в сеть напряжением U1
токи в обмотке ротора создают вращающееся магнитное поле, которое, сцепляясь с обмотками ротора и статора, наводит в них ЭДС Е1
и Е2
соответственно. ЭДС ротора Е1
находится в противофазе с напряжением сети и уравновешивает его: Ė1
» - U1
. ЭДС статора Ė2
взаимодействует с напряжением сети и создает на выходе индукционного регулятора напряжение (В)
U20
= U1
+ Ė2
cos a (1)
где a - угол поворота ротора относительно его положения, при котором Ė2
и U1
совпадают по фазе и напряжение U20
имеет наибольшее значение U2 наиб.
. Уравнение (1) иллюстрируется векторной диаграммой напряжений индукционного регулятора, построенного для одной фазы в режиме х. х. (рис.2 а). задаваясь значениями угла поворота a, можно по (1) определить напряжение на выходе индукционного регулятора для любого положения ротора. Так, например, при
a = 900
(cos 900
= 0) напряжение U20
= U1
, а при a = 1800
(так как cos 1800
= -1) напряжение U20
= U1
- E2
= U2 наим.
Таким образом, при повороте ротора на угол от нуля до 1800
напряжение на выходе регулятора плавно изменяется от U2 наиб.
до U2 наим.
.
Если обмотки индукционного регулятора имеют одну пару полюсов (r = 1), то геометрические градусы угла поворота ротора a соответствуют электрическим градусам поворота вектора ЭДС Ė2
. Если же обмотки регулятора многополюсные (r = 2, 4, 6 и т.д.), то один геометрический градус содержит р электрических градусов (aэл
= aгеом
р), т.е. повороту ротора на один геометрический градус соответствует поворот вектора Ė2
на р электрических градусов. Поэтому уравнение (1) справедливо лишь для двухполюсного регулятора (р = 1), а в общем случае уравнение напряжений для индуктивного регулятора имеет вид (В)
U20
=
U1
+ Ė2
cos (ar), (2)
где a - геометрический угол поворота ротора, град.
Рис.2.Векторная диаграмма напряжений (а) и
Зависимость U2
=αp (б) индукционного регулятора.
Опыт холостого хода. Собирают схему по рис. 1 и после проверки ее преподавателем замыкают рубильник 1 и включают индукционный регулятор в сеть на номинальное напряжение U1
. При этом нагрузка должна быть отключена, т.е. рубильник 2 разомкнут. Затем, поворачивая ротор, находят такое его положение, при котором принимают за исходное, т.е. считают, что угол ar = 0. Измеряют напряжение на входе регулятора U1
(вольтметр VI), ЭДС на статоре Е2
(вольтметр V2
) и напряжение на выходе регулятора U20
(вольтметр V3). Полученные значения величин должны удовлетворять уравнению U2
= U1
+ Е2
.
Затем снимают данные для построения графика U20
= ¦ (ar). С этой целью плавно поворачивают ротор и через каждые ar = 45 эл. град. угла поворота измеряют напряжение U20
на выходе регулятора. Всего делают восемь измерений, повернув ротор на (360/r) геом. град. Например, если обмотки регулятора четырехполюсные (р = 2), то напряжение U20
измеряют через каждые 45/2 = 22,5 геом. град. поворота ротора, а результирующий угол поворота ротора за весь опыт составит 360/2 = 1800
.
Полученные данные заносят в таблицу.1
Таблица 1.
| α , геометр. градус.
|
0
|
22,5
|
45
|
67,5
|
90
|
112,5
|
135
|
180
|
| αp , геометр. градус
|
0
|
45
|
90
|
135
|
180
|
225
|
270
|
360
|
| U20
(В)
|
| U2 расч.
(В)
|
По этим данным строят график U20
= ¦ (ar) для режима х. х. регулятора. На этой же координатной сетке строят график U2 расч.
– напряжение на выходе регулятора, полученное в результате расчета по (2).
Внешняя характеристика. Подключают к регулятору нагрузку (включают рубильник 2).На выходе индукционного регулятора изменяют напряжение U20
от mjn до max значения, при неизменной нагрузке. Шаг опыта 30 вольт. Показания приборов заносят в таблицу.2.
Таблица 2.
| Синхронизированый режим работы
|
| №
|
UA
|
UB
|
UC
|
IA
|
IB
|
IC
|
| 1-12
|
| Рассогласованый режим работы
|
| №
|
UA
|
UB
|
UC
|
IA
|
IB
|
IC
|
| 1-12
|
По данным таблицы 2. строят две векторных диаграммы токов и напряжений индукционного регулятора, при активной нагрузке (cos j2
= 1)
По результатам работы сформулировать выводы.
Оглавление.
Механическая характеристика двигателя постоянного тока при различных режимах загрузки и напряжении питающей сети………………………………1
Аппаратура ручного управления электроприводами. Аппаратура защиты…14
Изучение магнитных пускателей и схем автоматического управления трехфазными электродвигателями с короткозамкнутым ротором………………..27
Характеристики машины постоянного тока, работающей в генераторном режиме………………………………………………………………………………41
Исследование индукционного регулятора…………………………………….48.
|