| КГБОУ СПО
«Сосновоборский автомеханический техникум»
МЕТОДИЧЕСКИЕ УКАЗАНИЯ
по выполнению лабораторных работ
СПЕЦИАЛЬНОСТЬ: 150411 «Монтаж и техническая эксплуатация промышленного оборудования (по отраслям)»
ДИСЦИПЛИНА: Автоматизация производства
2010
| РАССМОТРЕНО
|
УТВЕРЖДАЮ
|
| |
|
| ЦК СЭД
|
Зам.директора по УР
|
| от ________________№________
|
«___»____________2009
|
| Председатель ЦК
|
____________Н.Г. Петрова
|
__________О.В. Князева
| |
Соответствует государственным требованиям к минимуму содержания и уровню подготовки выпускников по специальности 150411
|
Составитель: Пацкова Е.Г.
ПОЯСНИТЕЛЬНАЯ ЗАПИСКА
Методические указания по дисциплине «Автоматизация производства» предназначена для реализации дополнительных требований к минимуму содержания и уровню подготовки выпускников по специальности 1701 Монтаж техническая эксплуатация промышленного оборудования (по отраслям) и является дисциплиной по выбору включающей особенности регионального компонента.
В результате изучения дисциплины студент должен:
иметь представление:
- о роли и месте знаний по учебной дисциплине в сфере своей профессиональной деятельности;
- о роли автоматизации в совершенствовании технологических процессов и повышении экономической эффективности в развитии производства;
знать:
- принципы контроля и регулирования технологических процессов и оборудования с помощью технических средств автоматизации;
- принципы действия и устройство автоматизированного контроля и управления производством;
- принципы построения и назначения элементов системы конструкторской документации по автоматизации;
уметь:
- выбирать требуемые средства контроля и управления в зависимости от особенности технологического процесса;
- осуществлять монтаж первичных преобразователей и комплекса: исполнительный механизм – рабочий орган;
- читать схемы автоматизации и разбираться в них.
Учебный материал необходимо изучать в последовательности, указанной в программе. Изучая материал, обязательно ведите конспект, в котором кратко записывайте основное содержание темы, оставляя поля 40 мм для дополнений. Если при изучении материала Вы встретили затруднения, которые не можете устранить
самостоятельно, необходимо обратиться к преподавателю за консультацией.
Забиваем Сайты В ТОП КУВАЛДОЙ - Уникальные возможности от SeoHammer
Каждая ссылка анализируется по трем пакетам оценки: SEO, Трафик и SMM.
SeoHammer делает продвижение сайта прозрачным и простым занятием.
Ссылки, вечные ссылки, статьи, упоминания, пресс-релизы - используйте по максимуму потенциал SeoHammer для продвижения вашего сайта.
Что умеет делать SeoHammer
— Продвижение в один клик, интеллектуальный подбор запросов, покупка самых лучших ссылок с высокой степенью качества у лучших бирж ссылок.
— Регулярная проверка качества ссылок по более чем 100 показателям и ежедневный пересчет показателей качества проекта.
— Все известные форматы ссылок: арендные ссылки, вечные ссылки, публикации (упоминания, мнения, отзывы, статьи, пресс-релизы).
— SeoHammer покажет, где рост или падение, а также запросы, на которые нужно обратить внимание.
SeoHammer еще предоставляет технологию Буст, она ускоряет продвижение в десятки раз,
а первые результаты появляются уже в течение первых 7 дней.
Зарегистрироваться и Начать продвижение
Для проверки усвоения материала в конце каждой темы приведены вопросы для самопроверки.
Вариант лабораторной работы определяется по порядковому номеру фамилии студента в журнале.
Лабораторные работы выполняются в соответствии с нормами ЕСТД и ЕСКД в тетради от руки или при помощи средств ПЭВМ и оформляется в папку.
Вопросы для самоконтроля переписываются полностью. Ответ должен быть полным по существу и в краткой форме. На каждой странице необходимо оставлять поля 30-40 мм для замечаний преподавателя. Текстовую часть лабораторной работы необходимо снабжать рисунками, схемами и т.п.
Лабораторная работа №1
Тема: Изучение конструкции измерительных приборов
Знать:
- классификацию приборов по ГСП
- основное понятие ГСП
- виды погрешностей
Уметь:
- рассчитывать погрешности приборов
- определять по измерительному прибору род тока, количество измерительных механизмов, положение работы прибора, класс точности (ГОСТ 23217-78)
- определять общие условные обозначения (ГОСТ 23217-78)
Оборудование:
амперметр, вольтметр, электронный штангенциркуль, микрометр
Вопросы для самоконтроля
1 Перечислите приборы, которые входят в ГСП
2 Опишите виды погрешностей в ГСП
2 Кратко опишите работу индуктивных преобразователей
3 Принцип работы емкостных датчиков
4 Недостатки емкостных преобразователей
5 Что такое реохорд и, из какого материала его изготавливают?
6 Основная часть первичного преобразователя
7 Назовите чувствительный элемент емкостного преобразователя
ОСНОВНЫЕ ПОЛОЖЕНИЯ
Классификация приборов по государственной системе
Первичным преобразователем (датчиком) называют элемент, который устанавливают в технологическое оборудование и который первым воспринимает контролируемый параметр. Он преобразует измеряемые физические величины в сигналы, удобные для дальнейшей передачи в измерительные или управляющие устройства. В литейном и термическом цехах применяют те же первичные преобразователи, что и в других отраслях промышленности, поскольку измеряемыми параметрами являются температура, давление, расход, уровень, загазованность, запыленность и др.
К числу основных признаков, позволяющих классифицировать первичные преобразователи, относятся принцип действия и вид входного и выходного сигналов (рис.1).
В зависимости от принципа действия первичные преобразователи можно разделить на две группы: параметрические и генераторные.

Рисунок 1 – Классификация первичных преобразователей
Параметрические преобразователи преобразуют контролируемую величину в один из параметров электрической цепи: проводимость (сопротивление) индуктивность, емкость. Следовательно, для их работы необходимо подводить от внешнего источника электрическую энергию. К параметрическим относят следующие типы преобразователей: потенциометрические, индуктивные, емкостные, тензометрические и др.
Сервис онлайн-записи на собственном Telegram-боте
Попробуйте сервис онлайн-записи VisitTime на основе вашего собственного Telegram-бота:
— Разгрузит мастера, специалиста или компанию;
— Позволит гибко управлять расписанием и загрузкой;
— Разошлет оповещения о новых услугах или акциях;
— Позволит принять оплату на карту/кошелек/счет;
— Позволит записываться на групповые и персональные посещения;
— Поможет получить от клиента отзывы о визите к вам;
— Включает в себя сервис чаевых.
Для новых пользователей первый месяц бесплатно.
Зарегистрироваться в сервисе
В генераторных преобразователях непосредственно преобразуется неэлектрическая энергия входного сигнала в электрическую энергию, значение которой пропорционально значению контролируемого параметра. К генераторным относятся термоэлектрические (термопары), фотоэлектрические, пьезоэлектрические и тахометрические преобразователи. Они работают автономно, т. е. не нуждаются в подводе внешней электроэнергии.
По виду входного сигнала первичные преобразователи делятся на следующие группы: температуры, давления, разрежения, расхода, уровня, состава и влажности веществ, плотности, перемещения, скорости, ускорения и т. д.
По виду выходного сигнала первичные преобразователи подразделяют на несколько групп. Одна группа преобразует контролируемую величину в изменение активного сопротивления, другая — в изменение емкости, третья — в изменение индуктивности и т. д.
Любой первичный преобразователь состоит из отдельных частей. Основной частью является чувствительный элемент, а средства защиты и крепления его относятся к вспомогательным элементам.
Государственная система приборов (ГСП)
В соответствии с требованиями ГСП первичные преобразователи, применяемые для автоматизации технологических процессов на промышленных предприятиях, должны выдавать стандартные сигналы. Так, например, первичные преобразователи, выходным сигналом которых является напряжение или сила электрического тока, должны отвечать рядам напряжения: 0,1; 0,2; 0,5; 1; 5; 10; 20 В и силе тока: 1; 2; 5; 10; 20 мА. Такая унификация необходима при использовании преобразователей в автоматизированных системах управления технологическим процессом (АСУ ТП) с управляющими цифровыми ЭВМ.
Точность преобразования информации.
Любые измерения сопровождаются погрешностями:
1) случайные погрешности - имеют случайную природу и причина их неизвестна;
2) промахи - вызваны неправильными отсчетами по прибору;
3) систематические - обусловлены несовершенством методов определения, конструкции прибора.
Виды погрешностей:
1) абсолютные: ΔХ = Х - Х0
,
где Х - измеренное значение параметра, Х0
- истинное значение;
2) относительные: (выраженные в %-ах);
3) приведенные:
где Хmin
и Хmax
- минимальное и максимальное значения измеряемой величины.
Максимальная приведенная погрешность называется классом точности:
В зависимости от класса точности приборы делятся на эталонные (образцовые) и рабочие.
Конструкция описания работы потенциометрических преобразователей
Потенциометрический преобразователь преобразует перемещение чувствительного элемента (подвижного контакта) в постоянный или переменный ток вследствие изменения своего электрического сопротивления. Различают преобразователи с угловым (рис.2,а) и линейным (рис.2,6) перемещением подвижного контакта. Потенциометрический преобразователь состоит из реохорда 2 и подвижного контакта 1. При различных положениях подвижного контакта сопротивление между ним и точкой В изменяется, что вызывает изменение напряжения Uo, подаваемого от источника питания на клеммы измерительного прибора.

Рисунок 2 – Потенциометрические преобразователи
Реохорд датчика представляет собой каркас из изоляционного материала с намотанным на него в один ряд проводом. Для намотки используют проволоку без изоляции из константана, нихрома, фехраля и других сплавов с высоким омическим сопротивлением. По поверхности намотки скользит подвижный контакт.
В зависимости от конструкции реохорда различают два типа потенциометрических преобразователей: линейные и функциональные.
Линейные потенциометрические преобразователи имеют постоянные сечения каркаса, диаметр проволоки и шаг намотки.
Потенциометрические преобразователи могут включаться по схеме реостата (рис.2, а и б) или потенциометра (рис.2, в). В зависимости от схемы включения перемещение подвижного контакта преобразуется в изменение тока (при последовательном соединении) или напряжения (при включении по схеме делителя). Первая схема применяется довольно редко, так как она не обеспечивает достаточной точности преобразования, на величину которой оказывают влияние сопротивление соединительных проводов и переходного сопротивления между контактом и обмоткой реохорда.
Потенциометрические преобразователи выполняют с 20 %-ной или 100 %-ной зоной пропорциональности. Последние получили большее распространение, так как они охватывают всю шкалу измерительного прибора.
К недостаткам потенциометрических преобразователей можно отнести наличие подвижного контакта и трудности получения линейной характеристики. Однако простота конструкции и возможность отказа от усилителя компенсируют отмеченные недостатки. Потенциометрические преобразователи получили широкое распространение в схемах автоматики для преобразования механических перемещений. В литейном производстве они могут быть использованы для определения высоты встряхивания на встряхивающих формовочных машинах.
Конструкция описания работы индуктивных преобразователей
Индуктивные преобразователи применяют для преобразования малых линейных или угловых перемещений в электрические сигналы. Принцип их действия основан на зависимости индуктивного сопротивления катушки от изменения зазора в магнитопроводе, от перемещения магнитопровода в катушке или от изменения площади зазора.
Индуктивный преобразователь с подвижным якорем (изменяющимся зазором) представляет собой катушку индуктивности 3 с магнитопроводом 2 и подвижным якорем 1 (рис.3,а). Катушка индуктивности с магнитопроводом, называемая статором, закрепляется неподвижно, а якорь механически соединяется с подвижной частью объекта управления, перемещение которого необходимо преобразовать в электрический сигнал. Перемещение якоря изменяет воздушный зазор б, (входная величина преобразователя), вызывает изменение индуктивного сопротивления катушки и, как следствие этого, выходной величины тока I при постоянном напряжении Uo.

Рисунок 3 – Индуктивные преобразователи
Чувствительность индуктивных преобразователей с изменяющимся воздушным зазором уменьшается с увеличением зазора δ, поэтому их используют для измерения и контроля очень малых перемещений (до 2 мм). В таком диапазоне рабочих перемещений их чувствительность не превышает 2 мкм.
Индуктивные преобразователи с перемещающимся магнитопроводом (рис.3,б) способны измерять большие перемещения (до 50 мм).
У индуктивных преобразователей с изменяющейся площадью воздушного зазора (рис.3,в) статическая характеристика линейна только на определенном участке. Линейность нарушается, когда активное сопротивление становится сравнимым с индуктивным. Диапазоны перемещения якоря больше (до 8 мм), чем у преобразователей с изменяющимся воздушным зазором, однако чувствительность ниже.
Все перечисленные выше виды индуктивных преобразователей обладают высокой надежностью, имеют практически неограниченный срок службы и большую мощность выходного сигнала (до нескольких ватт). К недостаткам можно отнести нереверсивность статической характеристики, небольшой диапазон перемещения якоря, наличие тока холостого хода и влияние колебаний амплитуды и частоты напряжения питания.
Ёмкостные датчики
Емкостные преобразователи преобразуют неэлектрические величины (перемещение, уровень жидкости, влажность, усилие и т. д.) в изменение электрической емкости. Емкостной преобразователь является частью регулирующего или измерительного устройства с чувствительным элементом, выполненного в виде конденсатора и реагирующего на изменение измеряемого параметра технологического процесса. Чувствительный элемент емкостного преобразователя представляет собой плоский или цилиндрический конденсатор, у которого при воздействии измеряемого параметра изменяется расстояние между пластинами, площадь пластин или диэлектрическая проницаемость среды между обкладками.

Рисунок 4 – Ёмкостные преобразователи
Емкостные преобразователи с переменным расстоянием между пластинами (рис.4,а) как правило конструктивно выполняют в виде плоского конденсатора, состоящего из двух или более пластин, одна из которых закреплена, а другая механически связана с подвижной частью объекта управления. Емкостные преобразователи этого типа применяют для измерения толщины изделий, а также используют для измерения давления, усилия или вибрации.
Емкостные преобразователи с изменяемой площадью пластин выполняют как цилиндрическими (рис.4,6), так и плоскими (рис.4,а).
Цилиндрический емкостной преобразователь (рис.4,6) представляет собой два цилиндра разного диаметра, помещаемые один в другой. Емкость конденсатора зависит от осевого перемещения б внутреннего цилиндра. Преобразователи этого типа предназначаются для измерения линейных перемещений. В плоском преобразователе (рис.4,в) емкость зависит от изменения активной площади пластин при повороте одной пластины относительно другой. Такие преобразователи используют при измерении угловых перемещений.
Емкостные преобразователи с изменением диэлектрической проницаемости среды между пластинами применяют для регулирования влажности формовочной смеси и дозирования воды при ее приготовлении. При колебании уровня жидкости изменяется емкость конденсатора (рис.4,г)5 электродами которого служат корпус 1 и металлический стержень 2. Емкость такого преобразователя складывается из емкости цилиндрического конденсатора без жидкости и параллельно включенной емкости цилиндрического конденсатора с жидкостью. Емкость и чувствительность такого преобразователя увеличиваются с уменьшением отношения диаметров электродов, а также с ростом высоты цилиндра.
Емкостные преобразователи просты по устройству, обладают достаточно высокой чувствительностью, малыми размерами и массой. Однако они имеют три недостатка: мощность выходного сигнала мала, поэтому необходимо применять усилитель; при промышленной частоте электрического тока практически невозможно получить достаточную мощность, в этой связи они получают питание от источника высокой частоты (10 кГц и более); сильное влияние оказывают паразитические емкости и посторонние электрические поля, поэтому требуется тщательное экранирование как самих датчиков, так и соединительных проводов. В литейных цехах емкостные преобразователи находят применение для контроля уровня формовочной смеси в расходных бункерах при ее автоматической раздаче, для дозирования воды при приготовлении формовочной смеси в бегунах и т. д.
Ход работы
1 Ответить на контрольные вопросы
2 Подключить к источнику питания (если требуется) измерительный прибор (амперметр, вольтметр)
3 Измерить пять раз один параметр (напряжение и силу тока в цепи; один из размеров детали)
4 Рассчитать абсолютную погрешность
5 Рассчитать относительную погрешность
6 Рассчитать приведенную погрешность
7 Определить по измерительному прибору род тока, количество измерительных механизмов, положение работы прибора, класс точности (ГОСТ 23217-78)
8 Определить общие условные обозначения прибора (ГОСТ 23217-78)
9 Сделать выводы
Критерии оценки
Работа будет зачтена, если студент практически выполнил работу, ответил на все вопросы (письменно) и оформил отчет в соответствии с требованиями настоящего методического пособия.
Литература:
1 Староверов, А. Г. Основы автоматизированного производства: учеб. / А. Г. Староверов – М: изд-во Машиностроение, 1989
2 Данилов, И.А., Иванов П.М. Общая электротехника с основами электроники: учеб. / И.А. Данилов, П.М. Иванов. – М: изд-во Высшая школа, 2000
3 Головенков, С.Н., Сироткин, С.В. Основы автоматики и автоматического регулирования станков с ПУ: учеб. / С.Н. Головенков, С.В. Сироткин. – М.: изд-во Машиностроение, 1980
Лабораторная работа №2
Тема: Контроль давления гидросистем манометром
Знать:
– приборы для измерения давления
– манометры и их разновидности
Уметь:
– определять абсолютное, атмосферное и избыточное давление
Оборудование:
барометр, манометр
Вопросы для самоконтроля
1 Какие приборы давления вы знаете?
2 Принцип работы жидкостных монометров
3 Принцип работы чувствительных элементов деформационных монометров
4 Принцип работы мембранного монометра
5 С помощью каких монометров можно измерить давление в жидких и газообразных средах?
6 Для чего можно использовать монометры типа ММ?
7 Из чего состоит грузопоршневой монометр?
8 На чем основана работа деформационных манометров?
9 С помощью чего измеряется давление в манометре?
10 Определите абсолютное давление, если атмосферное равно 15 кПа, а избыточное – 35 кПа?
11 Определите вакуумметрическое давление, если атмосферное давление равно 10 кПа, а избыточное – 40 кПа?
ОСНОВНЫЕ ПОЛОЖЕНИЯ
Классификация приборов давления
При определении давления принято различать атмосферное, избыточное, абсолютное и вакуумметрическое давление.
Атмосферное давление Ратм — давление, оказываемое атмосферой на все предметы, находящиеся в ней. Так как атмосферное давление измеряется барометрами, то его принято называть барометрическим.
Избыточное давление Ризб — давление в каком-либо замкнутом объеме сверх атмосферного. Избыточное давление измеряют в основном манометрами, поэтому чаще его называют манометрическим.
Абсолютное давление Рабс - сумма атмосферного и избыточного давления, т. е. Рабс = Ратм + Ризб.
Под вакуумом (разрежением) понимают состояние газа, при котором его давление меньше атмосферного. Вакуумметрическое давление Рвак — это разность между атмосферным давлением и абсолютным давлением внутри вакуумметрической системы.
Приборы для измерения давления и разрежения классифицируют по принципу действия и по характеру измеряемой величины. Согласно первой классификации все приборы для измерения давления подразделяют на четыре группы: жидкостные, деформационные, грузопоршневые и электрические.
В жидкостных приборах измеряемое давление уравновешивается давлением столба жидкости, высота которого определяет значение давления.
Деформационные приборы — это такие приборы, в которых измеряемое давление определяется значением деформации упругих элементов различной конструкции или значением развиваемой ими силы.
В грузопоршневых приборах измеряемое давление, уравновешивается давлением, создаваемым массой поршня или дополнительного груза.
Работа электрических приборов основана на изменении электрических, свойств определенных материалов при воздействии на них внешнего давления.
По характеру измеряемой величины приборы для контроля давления или разрежения подразделяют на следующие виды: барометры (для измерения атмосферного давления), манометры (для измерения избыточного давления), дифференциальные манометры (для измерения разности давления); вакуумметры (для измерения разрежения); моновакуумметры (измеряющие небольшое избыточное давление или вакуум).
Манометры, вакуумметры и дифференциальные манометры, предназначенные для измерения небольшого давления, разрежения и разности давления газовых сред (до 40 кПа), называют напоромерами, тягомерами и тягонапоромерами.
Жидкостные манометры
Жидкостные манометры отличаются простотой устройства при относительно высокой точности измерения. Их действие основано на уравновешивании внешнего давления столбом затворной (рабочей) жидкости, в качестве которой используют ртуть, воду, трансформаторное масло или спирт.
U-образный манометр представляет собой стеклянную трубку, изогнутую в виде буквы U и заполненную затворной жидкостью так, чтобы уровень жидкости в обоих коленах находился против нулевых отметок. Один конец трубки подсоединяется к объему, в котором необходимо измерить давление Р, а второй сообщается с атмосферой. Отсчет производится по шкале. Разность уровней h определяет избыточное давление Р и плотность жидкости у.
Верхний предел измерения U-образного манометра составляет 10 кПа. при этом погрешность не превышает 2 %.
U-образные манометры используют для измерения разрежения или разности давлений. Основным недостатком U-образных манометров является необходимость снятия при каждом замере двух отсчетов. Этот недостаток частично устранен в чашечном манометре (рис. 1,6), состоящем из сосудов разного диаметра. Под действием измеряемого давления Р уровень жидкости в чашке снижается на высоту h2, значительно меньшую высоты h (диаметр чашки в несколько раз больше диаметра трубки). Разность уровней h в чашечном манометре в основном определяется перемещением мениска в тонкой трубке, так как h1 > h2.
Чашечные манометры имеют верхний предел измерения 10 кПа, а погрешность измерения составляет 0,4 ... 0,25 %.
При точных измерениях небольших избыточных давлений и разрежений применяют специальные чашечные манометры с наклонной трубкой (рис.1,в). Изменение угла наклона, а трубки позволяет при малой высоте h1 получить более точное измерение.
Жидкостные стеклянные манометры не приспособлены для записи показаний и их дистанционной передачи. Поэтому их используют, в основном, для местного контроля, а также для поверки и градуировки манометров других систем.

Рисунок 1 – Жидкостные манометры
Чувствительные элементы деформационных манометров
Работа деформационных манометров основана на уравновешивании давления среды силами, возникающими при упругой деформации специальных элементов. Деформация в виде линейных или угловых перемещений передается показывающему или регистрирующему узлу прибора. Одновременно она может быть преобразована в электрический или пневматический сигнал для дистанционной его передачи.
В качестве чувствительного элемента в этих манометрах (рис.2) используют одно- и многовитковые пружины, упругие мембраны и сильфоны.
В одно- и многовитковых пружинных манометрах (рис.2,а, б) измеряемое давление подается во внутреннюю полость через закрепленный неподвижный конец. Второй конец пружины запаивается и соединяется с показывающей системой. Пружины изготовляют из латуни и других медных сплавов, а для высоких давлений — из хромоникелевых сталей. Поперечное сечение пружины представляет собой эллипс, большая ось которого перпендикулярна к плоскости витка пружины.
При повышении давления поперечное сечение пружины «округляется», т. е. увеличивается малая ось эллипса, а угол закручивания пружины уменьшается. Шкала пружинного манометра равномерная, так как пружина работает в зоне пропорциональности между деформацией и напряжением. Перемещение свободного конца одновитковой пружины не превышает 5 ... 8 мм. Поэтому для увеличения угла поворота стрелки в манометрах применяют передаточный механизм: рычажный или зубчатый.
Манометры с одновитковой пружиной изготовляют образцовыми, контрольными и техническими: классы точности — от 0,2 до 4,0; пределы измерений 100 кПа ... 1000 МПа.
Многовитковая трубчатая пружина представляет собой последовательное соединение нескольких одновитковых пружин, благодаря чему она имеет сравнительно большое перемещение свободного конца и развивает значительные усилия. Поэтому многовитковые пружины широко применяют в регистрирующих манометрах. Последние выпускают с верхним пределом измерения до 160 МПа.
В мембранных манометрах чувствительным элементом являются упругая мембрана (рис.2,в), мягкая мембрана, например резиновая с дополнительной пружиной (рис.2,г), мембранные коробки: одинарные (рис.2,д) и двойные (рис.2,е)

Рисунок 2 – Чувствительные элементы деформационных манометров
Мембранные манометры
Мембранный манометр типа ММ (рис.3) предназначен для измерения давления до 2,5 МПа. В манометре под действием измеряемого давления мембрана 2, находящаяся в коробке 1, прогибается, перемещая шток 3, соединенный через рычаг 4 с зубчатым сектором 6. Зубчатый сектор находится в зацеплении с зубчатым колесом 8, которое через пружину 9 соединено со стрелкой 7, перемещающейся по шкале 5. Снизу у манометра предусмотрен резьбовой штуцер для установки манометра на объект измерения.
Мембранные манометры применяют, как правило, для измерения небольших давлений. Недостатками мембранных манометров являются малая чувствительность системы, трудность регулировки и изменение характеристик во времени вследствие «усталости мембраны».
Для изготовления мембран используют бронзу, латунь и хромоникелевые сплавы.

Рисунок 3 – Мембранный манометр
Технические характеристики показывающих и сигнализирующих
манометров
Давление в манометре измеряется с помощью схемы неуравновешенного моста, плечами которого являются тензорезисторы. В результате деформации мембраны под воздействием измеряемого давления возникает разбаланс моста в виде напряжения, которое с помощью встроенного в корпус манометра электронного усилителя преобразуется в электрический выходной сигнал. Верхний предел показаний манометра 40 МПа, класс точности 0,6; 1,0; 1,5. В табл. 1 приведены технические характеристики манометров, получивших наибольшее распространение.
Электрические манометры используют главным образом для измерение сверхвысоких и пульсирующих с высокой частотой давления.
Наиболее распространенным манометром этого типа является электрический дистанционный манометр МЭД. В корпусе диаметром 160 мм помещены держатель с трубчатой одновитковой пружиной, передаточный механизм и индукционная катушка. Давление Р контролируемой системы (рис. 4) подводится к трубчатой пружине 1 через радиальный штуцер и, вызывает ее деформацию, перемещает магнитопровод 3 индукционной катушки. Катушка 2 манометра и катушка вторичного прибора 4 включены по дифференциально-трансформаторной схеме. Чем больше погружен магнитопровод, тем больше напряжение проводиться во вторичной обмотке и поступает по вторичному прибору.
Тензометрические манометры имеют в качестве чувствительного элемента мембрану с наклеенными на нее тензорезисторами.

Рисунок 4 – Схема грузопоршневого монометра
Давление в манометре измеряется с помощью схемы неуравновешенного моста, плечами которого является тензорезисторы. В результате деформации мембраны под воздействием измеряемого давления возникает разбаланс моста в виде напряжения, которое с помощью встроенного в корпус манометра электронного усилителя преобразуется в электрический выходной сигнал. Верхний предел показаний манометра 40 МПа, класс точности 0,6; 1,0; 1,5. В таблице 1 приведены технические характеристики манометров' получивших наиболее распространение.
Таблица 1 – Технические характеристики показывающих и сигнализирующих манометров

Ход работы
1 Ознакомиться с основными положениями
2 Ответить на контрольные вопросы
3 Определить по измерительному прибору количество измерительных механизмов, положение работы прибора, класс точности, общие условные обозначения прибора (ГОСТ 23217-78)
4 Измерить атмосферное давление
5 Измерить избыточное давление
6 Определить абсолютное давление
Требования к отчету
Отчет должен содержать:
4.1 Тему лабораторной работы, требования к умениям и навыкам.
4.2 Ответы на контрольные вопросы (письменно).
4.3 Схемы, рисунки технических средств активного и пассивного контроля с их описанием.
4.4 Расчет абсолютного, атмосферного и избыточного давлений
4.4 Вывод.
Критерии оценки
Работа будет зачтена, если студент практически выполнил работу, ответил на все вопросы (письменно) и оформил отчет в соответствии с требованиями настоящего методического пособия.
Литература:
1 Староверов, А. Г. Основы автоматизированного производства: учеб. / А. Г. Староверов – М: изд-во Машиностроение, 1989
2 Данилов, И.А., Иванов П.М. Общая электротехника с основами электроники: учеб. / И.А. Данилов, П.М. Иванов. – М: изд-во Высшая школа, 2000
3 Головенков, С.Н., Сироткин, С.В. Основы автоматики и автоматического регулирования станков с ПУ: учеб. / С.Н. Головенков, С.В. Сироткин. – М.: изд-во Машиностроение, 1980
Лабораторная работа №3
Тема: Определение погрешности измерения температуры различными видами термометров и термопар
Знать:
– приборы измерения температуры и их виды.
ХОД РАБОТЫ
Термометры расширения
Как правило, при повышении температуры тела увеличиваются в объеме. Поэтому свойство изменять объем при нагреве или охлаждении может служить мерой его температуры. Приборы, работа которых основана на этом принципе, называют термометрами расширения; их подразделяют на три группы: жидкостные стеклянные, дилатометрические (стержневые) и биметаллические.
Принцип действия жидкостных стеклянных термометров основан на различии коэффициентов объемного расширения жидкости (термометрические вещества) и стекла, используемого для удержания жидкости. Жидкостные термометры представляют собой небольшой стеклянный (реже кварцевый) резервуар (ампулу), верхняя часть которого переходит в вертикальный капилляр.
Резервуар и частично капилляр заполнены термометрической жидкостью. Резервуар современных жидкостных термометров — вытянутый (или сплющенный) цилиндр. Диаметр капилляра выбирают в зависимости от диапазона и точности измерения температуры. Чем выше точность термометра, тем меньше диаметр капилляра.
В зависимости от диапазона измерения в качестве термометрической жидкости используют пентан (-200...+20 °С), петролейный эфир (-12О..,+25°С), этиловый спирт (-80...+70 °С), толуол (-90...+200 °С), керосин (-60...+300 °С) и ртуть (-35...+750 °С).
При контакте с контролирующей средой термометр принимает ее температуру, а термометрическая жидкость нагревается или охлаждается, изменяя свой объем, т. е. уровень в капилляре. Именно по уровню жидкости судят о температуре.
Наиболее распространены ртутные термометры, что обусловлено целым рядом причин. Во-первых, ртуть остается жидкой в диапазоне температур -35...+350 °С при нормальном давлении и до +750 °С при небольшом повышении давления (для чего капилляр заполняется азотом) и обеспечивает высокую точность измерения. Во-вторых, ртуть легко поддается очистке, ее пары в капилляре создают малое давление, она не смачивает стекло. Последнее позволяет использовать капилляры с диаметром канала до 0,1 мм. Однако по сравнению с органическими жидкостями ртуть имеет в 8 раз меньший коэффициент объемного расширения, что естественно снижает чувствительность ртутных термометров (табл. 1).
Таблица 1 – Технические характеристики стеклянных ртутных термометров типа ТТ

Для обеспечения задач позиционного регулирования и сигнализации температуры разработаны электроконтактные (ртутно-контактные) технические термометры двух типов: с постоянными контактами и подвижным верхним контактом.
Первый тип представляет собой ртутный термометр с впаянными в капилляр платиновыми контактами. Нижний (нулевой) контакт находится ниже начала шкалы, а верхний (их может быть несколько) впаян на уровне отметки шкалы, которая соответствует контролируемой температуре. В электроконтактных термометрах второго типа перемещающийся верхний контакт изготовляют из тонкой вольфрамовой проволоки. Контакт перемещают внутри капилляра с помощью постоянного магнита. Такой термометр обычно оснащается двумя шкалами: верхней - для установки контакта на заданную температуру, и нижней, по которой производится отсчет температуры.
Преимуществами жидкостных термометров являются простота их устройства и небольшая стоимость при относительно высокой точности показаний. К числу недостатков жидкостных термометров относятся значительная тепловая инерция (запаздывание показаний), невозможность автоматической регистрации и передачи на расстояние без дополнительных специальных приспособлений и низкая прочность. В литейных и термических цехах их используют только для измерения температуры воздуха цеха, температуры свободных концов термопары, для проверки приборов в лабораторных условиях, для измерения температуры охлаждающей жидкости в закалочных баках и ваннах и т. п.
Принцип действия биметаллического термометра основан на использовании разности коэффициентов линейного расширения. При изменении температуры термочувствительного элемента его свободный конец прогибается или поворачивается на определенный угол в сторону металла с меньшим коэффициентом линейного расширения.
Промышленность выпускает несколько типов биметаллических термометров, с разной формой термочувствительного элемента. На их базе разработано несколько видов малогабаритных показывающих приборов и сигнализаторов.
Схема устройства наиболее простого биметаллического термометра (преобразователя) показана на рис.1. На пластмассовом основании 5 закреплены две пластины: обыкновенная и биметаллическая 4. На биметаллической закреплен контакт 3, а на обыкновенной установлен задающий винт 2, предназначенный для изменения пределов срабатывания. Все устройство помещено в защитный кожух 1. При изменении температуры окружающей среды биметаллическая пластина 4 прогибается и замыкает контакты.

Рисунок 1 – Конструкция биметаллического термометра
Диапазон измеряемых температур с помощью биметаллических термометров +50...+400 °С. Погрешность термометров лежит в пределах ±4 %. Достоинствами термометра являются простота устройства, низкая стоимость и значительная разрывная мощность контактного устройства. К недостаткам относятся большая инерционность и гистерезисныи характер зависимости положения контактов от температуры, т. е. несовпадение температуры замыкания и размыкания контактов.
Биметаллические термометры находят применение в установках пылеулавливания и очистки технологических и вентиляционных газов в системах регулирования лабораторных термических печей, а также в системах защиты электродвигателей от перегрузок.
Манометрические термометры.
Манометрический термометр - прибор, действие которого основано на использовании зависимости между температурой и давлением термометрического вещества (газа или жидкости). Известны четыре разновидности манометрических термометров: газовые, заполненные азотом, жидкостные (ртуть); конденсационные или парожидкостные (хлористый метан и др.) и адсорбционные (углекислый газ).
Основные характеристики манометрических термометров приведены в табл.2. Конструктивно манометрический термометр (рис. 2) представляет собой герметическую систему, состоящую из металлического термобаллона 3, соединенного капиллярной трубкой 2 с манометром 1, который имеет шкалу, градуированную в градусах Цельсия.
Таблица 2 –Характеристики манометрических термометров
| 
|

Рисунок 2 – Манометрический термометр
|
В термометрах с газовым наполнителем используется физическая зависимость давления газа, заключенного в замкнутом объеме, от температуры. Эти термометры имеют низкий температурный коэффициент давления (р = Ро/273°, Па/К). Они чувствительны к изменению барометрического давления и температуры. Для уменьшения влияния барометрического давления термометр заполняют газом при давлении 1 МПа и выше.
В термометрах с жидким наполнителем используется изменение объема жидкости с изменением ее температуры. Изменение объема характеризуется коэффициентом объемного расширения.
Манометрические термометры выпускают трех видов: показывающие, регистрирующие (с ленточными и дисковыми диаграммами) и комбинированные. Первые два вида могут оснащаться электрическими контактными устройствами, предназначенными для сигнализации и позиционного регулирования. Регистрирующие приборы выпускают с электрическим или пневматическим приводом, а также с часовым механизмом. В последнем случае манометрические термометры взрывобезопасны,
Распространение манометрических термометров несколько ограничивается высокими требованиями к герметичности системы и трудностью ремонта в случае ее разгерметизации. До последнего времени в промышленности широко применяют показывающие манометрические термометры типа ЭКГ. В связи с тем, что приборы этого типа страдают рядом недостатков, их заменяют в настоящее время на приборы типа ТПГ-С (ТШ1-С), которые более совершенны. Эти приборы оснащены контактными устройствами.
Манометрические термометры применяют для контроля температуры охлаждающей воды в установках для обработки холодом; температуры воздуха, жидкого и газообразного топлива в установках для получения защитных атмосфер, используемых в термических печах и т. п.
Термоэлектрические термометры
Термоэлектрическим термометром называют устройство, состоящее из термоэлектрического преобразователя (термопары), вторичного измерительного прибора и соединительных проводов. В основе измерения температуры термоэлектрическим термометром лежит открытое в 1821 году Т. Зеебеком термоэлектрическое явление. Это явление заключается в том, что в цепи, составленной из двух соединенных между собой проводников и при наличии разности температур в точках соприкосновения (спаях) возникают две термоэлектродвижущие силы (термоЭДС).
Абсолютное значение термоЭДС промышленных термопар очень невелико (порядка нескольких милливольт), поэтому для его измерения необходимо применять достаточно чувствительные приборы.
Существует достаточно много различных материалов, которые в паре друг с другом образуют термопару. Однако практическое применение нашло ограниченное число материалов.
По характеру применяемых материалов термопары могут быть разбиты на три группы: из благородных металлов, неблагородных металлов и из металлических электродов в паре с неметаллами.
Термопары третьей группы отличаются низкой механической прочностью, но обладают весьма значительной термоЭДС, превосходящей в несколько раз термоЭДС термопар первых двух групп.
В настоящее время наиболее широкое применение получили термопары со стандартной градуировкой. В таблице 3 приведены их характеристики, а на рис.3 - градуировочные кривые.
Таблица 3 – Основные характеристики термоэлектрических термометров


Рисунок 3 – Градуировочные характеристики термопар
Для изготовления термопар чаще всего применяют электроды в виде проволоки диаметром 1,5 ... 3,2 мм для термопар из неблагородных металлов и диаметром 0,5 — для благородных. Для измерения температуры поверхности применяют ленточные термопары.
Термопары обычно изготовляют сваркой или пайкой. Так как термоэлектроды должны соприкасаться друг с другом только в рабочем конце (горячем спае), то по всей длине их изолируют друг от друга. Для внутренней изоляции отдельных электродов из неблагородных металлов применяют фарфоровые одноканальные трубочки (бусы).
Термометры сопротивления
В литейных и термических цехах для измерения температуры до 650 °С широко распространен способ, основанный на зависимости электрического сопротивления проводников и полупроводников от их температуры. Зная зависимость между сопротивлением чувствительного элемента и его температурой, можно, замеряя сопротивление, определить значение температуры с весьма высокой точностью (до 0,02 °С).
Чувствительные элементы, выполненные из металлических проводников, называют термометрами сопротивления.
Термометр сопротивления (термочувствительный элемент) представляет собой металлическую проволоку, намотанную на каркас. К материалу проволоки предъявляется ряд требований. Он должен иметь высокий температурный коэффициент для получения хорошей чувствительности, большое удельное сопротивление, определяющее его размеры, устойчивость физических свойств при значительных изменениях температуры, хорошую воспроизводимость состава, стойкость к воздействиям окружающей среды, линейность и стабильность характеристик во времени.
Лучше других указанным требованиям отвечают платина (интервал температуры +200...+1100 °С) и медь (интервал температуры - 50.. .+200 °С).
Платиновые термометры сопротивления (ТСП) изготовляют из проволоки диаметром 0,03...0,1 мм. Намотка выполняется безындукционной (бифилярной), что обеспечивает возможность включения термометра в схему, питаемую как постоянным, так и переменным током. Для каркаса платиновых термометров используют плавленый кварц или керамику на основе окиси алюминия.
Основными недостатками платины являются высокая стоимость, возможность загрязнения и охрупчивания в восстановительной среде.
К достоинствам меди в первую очередь следует отнести низкую стоимость и возможность получения очень тонкой проволоки высокой степени чистоты.
Основные параметры термометров сопротивления приведены в табл. 4.
Выходной сигнал термометров является стандартным, и каждому значению температуры соответствует строго нормированное значение сопротивления (ГОСТ 6651-84).
Таблица 4 – Технические характеристики термометров сопротивления
| Тип
|
Класс точности
|
Пределы температур, 0
С
|
Градуировка
|
Номинально сопротивление при 0
С, Ом
|
| Платиновый
|
I
|
0 – 650
-200 – 0
|
Гр.
20
Гр. 21
Гр. 22
|
10
46
100
|
| II
|
0 – 650
-200 – 0
|
Гр. 20
Гр. 21
Гр. 22
|
10
46
100
|
| Медный
|
II
|
-50 – 180
|
Гр. 23
Гр. 24
|
53
100
|
| III
|
-50 – 180
|
Гр. 23
Гр. 24
|
53
100
|
Полупроводниковые термосопротивления (ПТР) или термисторы, температурный коэффициент которых в 8—10 раз больше, чем у чистых металлов, получили широкое распространение в автоматических системах регулирования температуры. В литейном производстве их используют как переносные вспомогательные приборы для быстрого измерения температуры охлаждающихся отливок.
В зависимости от материала термисторы подразделяют на медно-марганцевые (ММТ) и кобальтомарганцевые (КМТ). Диапазон измеряемых ими температур -7О...+18О°С. Конструктивно их выполняют в виде небольших цилиндров, дисков, шайб, бусинок, помещенных в защитный металлический или стеклянный баллон.
Логометры являются приборами магнитоэлектрической системы, предназначенными для измерения соотношения двух токов - в цепях термометра и постоянного резистора.
Подвижная система логометра (рис.6) состоит из двух скрещенных под углом 15 - 20° и жестко связанных между собой рамок Rpl и Rp2.
Они изготовлены из тонкой изолированной медной проволоки и могут поворачиваться в двух керновых опорах. Магнитная система логометра подобна магнитной системе милливольтметра и отличается от нее только формой воздушного зазора между магнитопроводом 1 и полюсными наконечниками 2. В логометрах воздушный зазор уменьшается от центра полюсных наконечников к их краям, благодаря чему магнитная индукция увеличивается от центра к краям приблизительно по квадратичному закону. Подвод тока к рамкам осуществляется через спиральные пружины с малым противодействующим моментом. С помощью этих пружин обеспечивается возврат рамок и жестко связанной с ним стрелки 3 в исходное положение при отключении источника G.

Рисунок 4 – Схема электрического логометра
Рамки получают питание от одного источника: в цепь первой рамки включен постоянный резистор R1, а в цепь второй рамки — постоянный резистор R2 и переменное сопротивление термометра сопротивления Rt. Постоянные резисторы R1 и R2 изготовляют из манганина. Так как вращающие моменты Ml и М2 рамок направлены навстречу друг другу, то при их равенстве подвижная система находится в покое.
В настоящее время промышленность выпускает только показывающие логометры марок Л-64, Л-64И, Л-64-02 с градуировками Гр. 21, Гр. 22, Гр. 23, внешним сопротивлением 5 и 15 Ом и классом точности 1,5.
Уравновешенные мосты выпускают двух типов: лабораторные (с ручной компенсацией) и технические (автоматические).
Поверка автоматических логометров осуществляется с помощью образцового магазина резисторов с ценой деления 0,01 Ом. Вместо термометра сопротивления на вход прибора подключается резистор из магазина. Согласно градуировочной характеристике каждому значению шкалы прибора соответствует определенное сопротивление. Измеряя сопротивление резистора из магазина, стрелку прибора точно устанавливают на цифровой отметке шкалы. Разность между стандартным значением и сопротивлением образцового резистора из магазина определяет погрешность прибора.
Вопросы для самоконтроля
1 Принцип работы термометра расширения
2 Какие жидкости используют в термометрах расширения?
3 Принцип действия биметаллического термометра
4 В каких случаях применяют монометрические термометры?
5 Принцип действия термометра сопротивления
6 Из чего состоит термометр сопротивления?
7 Определите тип термометра сопротивления с номинальным сопротивлением 100 Ом, и пределом температур равным от – 50 до 180 0
С
8 Расшифруйте абривиатуру: ММТ и КМТ
9 Что такое термоэлектрический термометр?
10 В чем суть термоэлектрического явления?
11 Для чего применяют монометрические термометры?
Требования к отчету
Отчет должен содержать:
4.1 Тему лабораторной работы, требования к умениям и навыкам.
4.2 Ответы на контрольные вопросы (письменно).
4.3 Схемы, рисунки технических средств активного и пассивного контроля с их описанием.
4.4 Вывод.
Критерии оценки
Работа будет зачтена, если студент практически выполнил работу, ответил на все вопросы (письменно) и оформил отчет в соответствии с требованиями настоящего методического пособия
Литература:
1 Староверов, А. Г. Основы автоматизированного производства: учеб. / А. Г. Староверов – М: изд-во Машиностроение, 1989
2 Данилов, И.А., Иванов П.М. Общая электротехника с основами электроники: учеб. / И.А. Данилов, П.М. Иванов. – М: изд-во Высшая школа, 2000
3 Головенков, С.Н., Сироткин, С.В. Основы автоматики и автоматического регулирования станков с ПУ: учеб. / С.Н. Головенков, С.В. Сироткин. – М.: изд-во Машиностроение, 1980
Лабораторная работа №4
Тема: Изучение конструкции приборов расхода
Знать:
– приборы расхода, их классификацию, работу и применение
ХОД РАБОТЫ
Классификация приборов расхода, количества и уровня
Одними из наиболее важных параметров технологического процесса являются количество и расход вещества.
Если под количеством вещества подразумевается объем или масса отмеренного вещества, то под расходом понимают количество вещества, проходящего непрерывно в потоке (в трубе, на транспортере и т. д.) за единицу времени.
В системе СИ объемный расход Q измеряется в кубических метрах в секунду, а массовый М – в килограммах в секунду, иногда используют единицу – литр в секунду.
Для измерения расходов газов и жидкостей применяют приборы, называемые расходомерами.
В тех случаях, когда требуется отмерять и учитывать количество вещества, используют счетчики и весы. С их помощью ведут учет сырья и готовой продукции, электроэнергии, пара и воды.
Применяют также комбинированные приборы; в расходомеры встраивают интегрирующие (суммирующие) устройства, позволяющие вести суммарный учет вещества, израсходованного за заданный промежуток времени.
В зависимости от принципа действия приборы для измерения расхода жидкостей и газа подразделяют на расходомеры обтекания, переменного перепада давления и переменного уровня, индукционные, тахометрические и объемные.
Для измерения расхода твердых и сыпучих материалов используют механические, электрические, фотоэлектрические с радиоизотопными счетчиками весы и весы с ручной наводкой, а также автоматические порционные, платформенные и автомобильные, тензометрические и другие весы.
Для контроля уровня жидкости или сыпучего материала применяют приборы, называемые уровнемерами. Уровень жидкости или сыпучего материала – это высота границы раздела жидкости или сыпучего материала и воздуха (газа), находящегося над жидкостью или сыпучим материалом, относительно условного (нулевого) отсчета. Отсчетом измерения уровня, как правило, является резервуар или бункер, в котором измеряется уровень жидкости или сыпучего материала.
Большое разнообразие объектов измерения обусловило многообразие физических принципов и средств измерений уровня, удовлетворяющих тем или иным требованиям.
Все приборы контроля уровня можно разделить по метрологическому принципу на две группы. Первую группу приборов используют для непрерывного измерения уровня и называют уровнемерами. Приборы второй группы предназначены для сигнализации о достижении заданного (контрольного) уровня. например верхнего или нижнего. Их называют сигнализаторами уровня.
Расходометры
В соответствии с применяемыми методами приборы для измерения расхода подразделяют на расходомеры обтекания, переменного перепада давления, переменного уровня, индукционные, тахиметрические и объемные.
Из расходомеров обтекания наибольшее распространение получили расходомеры постоянного перепада давления, получившие название ротаметров. Чувствительным элементом этих приборов является поплавок (шарик), воспринимающий динамическое давление потока. Принцип действия ротаметра (рис.1) основан на том, что при движении жидкости или газа снизу вверх через конусную трубку 1 поплавок 2 поднимается (опускается) до тех пор, пока его сила тяжести не уравновесится разностью давлений до и после поплавка и выталкивающей силой. При постоянной плотности и кинематической вязкости сред значение расхода соответствует строго определенному положению поплавка.

Рисунок 1 – Ротаметры
К основным преимуществам ротаметров следует отнести простоту конструкции, значительный диапазон измерения и возможность измерения малых расходов и расходов агрессивных сред. К недостаткам относятся большая чувствительность к изменению вязкости жидкой среды при изменении температуры и невозможность измерения расхода загрязненных жидкостей, из которых выпадают осадки.
Промышленность выпускает ротаметры трех видов: показывающие, для местного контроля расхода без передачи информации (рису. 1,а); с электрической дистанционной передачей информации без местной шкалы (рис. 1,6) и с пневматической дистанционной передачей и местной шкалой показаний.
В термических и литейных цехах ротаметры применяют для измерения расхода природного газа, азота, аммиака и водорода.
Работа расходомеров переменного перепада давления основана на измерении давления, создаваемого с помощью дросселя, в зависимости от расхода среды.
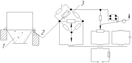
В качестве устройства для создания в трубопроводе перепада давления чаще всего используются стандартные сужающие устройства: диафрагмы (рис.2,а), сопла (рис.2,6) и трубы Вентури (рис.2,в).

Рисунок 2 – Стандартные служащие устройства расходомеров переменного перепада давления
Дифференциальные манометры, применяемые для измерения перепада давления в расходомерах, имеют неравномерную шкалу в связи с существующей квадратичной зависимостью между перепадами давления и объемным расходом.
Расходомеры переменного перепада давления получили наибольшее распространение в литейных и термических цехах.
Расходомеры переменного уровня предназначены для измерения расхода жидкости, находящейся под атмосферным давлением. Принцип действия этих расходомеров основан на зависимости уровня со свободным стоком жидкости от расхода.
В тахометрических расходомерах основным элементом является крыльчатка, вращающаяся под действием потока с угловой скоростью, пропорциональной скорости потока и, следовательно, расходу.
В последние годы весьма перспективными стали шариковые и турбинные тахометрические расходомеры. Шариковые расходомеры имеют преимущества перед турбинными в простоте конструкции и высокой эксплуатационной надежности.
В шариковом расходомере (рис.3) в качестве подвижного элемента применен шарик 3, который изготовлен из ферромагнитного материала с пластмассовым покрытием. Под действием закрученного потока шарик совершает планетарное движение, для чего используется направляющий аппарат 1, выполненный в виде многозаходного винта, помещенного в корпусе 2. При выходе из прибора поток успокаивается (сглаживается) струевыпрямителем 6, на крестовине которого закреплено ограничительное кольцо 5, удерживающее шарик.
Частота вращения шарика регистрируется индуктивным преобразователем 4, частота наводимых сигналов которого пропорциональна расходу потока, и преобразуется в сигнал постоянного тока 0 ... 5 мА.

Рисунок 3 – Шариковый расходомер
Технические характеристики некоторых видов шариковых расходомеров приведены в таблице 1.
Таблица 1 –Технические характеристики шариковых расходомеров

Счётчики жидкости и газов
В зависимости от принципа действия счетчики жидкостей и газов делят на скоростные и объемные. Принцип действия скоростных счетчиков основан на суммировании числа оборотов помещенного в поток вращающегося устройства за какой-либо отрезок времени. По конструкции их подразделяют на счетчики с вертикальной вертушкой и счетчики с винтовой вертушкой. Первые применяют для измерения малых расходов жидкостей, а вторые — для измерения больших расходов.
Скоростной счетчик типа УВК (рис.4) состоит из двух основных частей: измерителя скорости потока и счетной головки. Счетный механизм отделен от потока контролируемой жидкости специальной перегородкой 3. Под воздействием потока жидкости крыльчатка 5 приводится во вращение. Передача вращения от крыльчатки через редуктор 4 счетному механизму 1 осуществляется с помощью магнитной муфты 2, которая используется для отключения последнего.

Рисунок 4 – Скоростной счётчик типа УВК
К достоинствам скоростных счетчиков с вертикальной крыльчаткой относятся простота конструкции, небольшая потеря давления и низкая чувствительность к загрязнениям. Недостатками этих счетчиков являются нереверсивность действия, приводящая к одностороннему изнашиванию, и необходимость установки счетчика на горизонтальных участках трубопровода. Счетчики с вертикальной вертушкой применяют для измерения количества воды, подаваемой в цехи.
Объемные счетчики применяют для измерения количества чистых (без механических примесей) нейтральных и агрессивных жидкостей разной плотности и вязкости (например, воды, керосина, бензина, мазута и масел), а также газов. По конструкции их подразделяют на шестеренчатые и поршневые.
Наибольшее распространение получили счетчики с овальными шестернями (табл.2).
Таблица 2 – Технические характеристики счётчиков жидкостей и газов

Поток измеряемой жидкости, проходя через измерительную камеру, вращает находящиеся в зацеплении овальные шестерни. В зависимости от расположения шестерен относительно входа потока жидкости каждая из них попеременно является то ведущей, то ведомой (рис. 5).
Поршневые счетчики используют в литейных и термических цехах в качестве мазутомеров.

Рисунок 5 – Счётчик с овальными шестернями
Для учета объемного количества различных газов (природного, генераторного, доменного и др.) используют ротационный счетчик типа РГ (рис.6).

Рисунок 6 – Ротационный газовый счётчик
В корпусе 1 счетчика находятся два ротора 2, которые при вращении своими боковыми поверхностями соприкасаются с внутренней поверхностью корпуса. Механизм их вращения аналогичен механизму вращения овальных шестерен у описанных выше счетчиков жидкости. Выведенный из корпуса вал одного ротора связан кулачковой муфтой с валом редуктора, а через него - со счетным механизмом роликового типа.
Счётчики и весы твёрдых и сыпучих материалов
В литейных цехах необходим автоматический учет форм, движущихся на литейном конвейере, и отливок, перемещающихся на пластинчатых транспортерах или по наклонным роликовым транспортерам. Система автоматического учета в этих случаях, как правило, состоит из устройства, выдающего механический или электрический сигнал при прохождении мимо него изделия, и счетчика, суммирующего эти сигналы.
Применяемые датчики сигналов подразделяют на механические и электрические, а счетчики - на механические и электромагнитные.
Механические датчики с рычажным приводом через кинематическую передачу воздействуют на механические счетчики, установленные в непосредственной близости от датчика. Механический счетчик представляет собой набор цифровых барабанов, связанных определенным образом между собой. На каждом барабане нанесены цифры от 0 до 9, цифры первого барабана соответствуют количеству единиц, второго – количеству десятков, и т.д.
Электроконтактные датчики импульсов представляют собой путевые выключатели, которые срабатывают при прохождении литейной формы и подают электрический сигнал на электромагнитный счетчик.
Фотоэлектрические датчики основаны на явлении фотоэффекта
Радиоизотопные датчики импульсов применяют в системе учета остывания отливок и нагретых изделий. Радиоизотопные датчики содержат излучатель, испускающий поток радиоактивных лучей, и воспринимающее устройство, При прохождении между ними контролируемого предмета (отливки или изделия) часть лучей поглощается, и облучение воспринимающего устройства снижается, в результате чего на его выходе появляется электрический сигнал.
Наиболее распространенными устройствами, предназначенными для измерения количества твердых сыпучих материалов, являются весы. Различают два вида весов: порционные и конвейерные. Порционные весы используют для отвеса одного или нескольких порций заданного количества вещества. Конвейерные весы служат для непрерывного определения вещества, прошедшего за заданный промежуток времени. Такие весы называют ленточными весоизмерителями и используют для определения расхода формовочной и стержневой смеси, песка и других сыпучих материалов.
Порционные весы в зависимости от назначения и конструкции подразделяют на весы с ручной наводкой, платформенные, автомобильные, автоматические.
Весы с ручной наводкой (компарирующие) используют для взвешивания небольших количеств материалов. По конструкции их делят на гиревые, циферблатные и шкальные. Такие весы называют также рычажными. К весам с ручной наводкой относят и пружинные весы, в которых измеряемая величина определяется деформацией пружины под действием веса тела.
Платформенные и автомобильные весы предназначены для измерения массы груженых вагонов и автомобилей. Платформенные весы встраивают в железнодорожные пути, а автомобильные - у ворот цеха. Они состоят из платформы и системы противовеса (гирь). Для облегчения обслуживания такие весы оборудуют дистанционным управлением.
Автоматические порционные весы применяют для взвешивания различных формовочных материалов.
Все узлы весов размещают на раме (рис.7). На этой же раме устанавливается тарельчатый питатель, диск 5 которого приводится во вращение электродвигателем 11 через червячный редуктор 12. Формовочный материал из бункера 10 подается на вращающийся диск в питатель, откуда он снимается ножом 6 и через рукав 4 попадает в ковш 1.

Рисунок 7 – Автоматические порционные весы
Для предупреждения зависания материала и его разрыхления в питателе предусмотрен лопастной рыхлитель 9. В нижней части бункера 10 имеется окно, перекрываемое заслонкой 7 с помощью электромагнита 5. В начальный момент взвешивания окно полностью открыто. При достижении заданной массы заслонка 3 с помощью электромагнита 2 перекрывает подачу материала из рукава 4 в ковш 1, который системой рычагов связан с циферблатным прибором 13. На корпусе циферблатного прибора укреплен контакт 14 нулевого положения стрелок, а на его задней стенке - сельсин-приемник со стрелкой 15 с закрепленными на ней двумя контактами: 17 и 18. Контакт 17 предназначен для точного отвеса, контакт 18 - для грубого. Стрелка 15 устанавливается с помощью сельсина-приемника в положение, соответствующее массе навески. Масса порции задается на пульте управления путем поворота оси сельсин-датчика. Команды на управление электромагнитами 8 и 2 дает стрелка 16, которая при подходе к контактам 17 и 18 замыкает их.
Уровнемеры жидкостей и сыпучих материалов
Для контроля уровня жидкостей наибольшее распространение получили указательные стекла, поплавковые, буйковые, манометрические уровнемеры.
Наиболее простыми приборами для измерения уровня являются указательные стекла (водомеры), применяемые в паровых котлах, а также в различных емкостях для измерения уровня осветленных жидкостей. Они представляют собой стеклянную трубку с нанесенными на нее давлениями и соединенную с емкостью, в которой контролируется уровень жидкости.
Поплавковые уровнемеры широко применяют для измерения уровня разнообразных жидкостей (табл.3).
Таблица 3 – Технические характеристики поплавковых уровнемеров с пружинным управлением

Простейший уровнемер (рис. 8,а) представляет собой плавающий поплавок 1, подвешенный на гибком тросе, перекинутом через блок. На втором конце троса вне сосуда для его натяжения подвешен груз 2 с укрепленной на ней стрелкой (указателем уровня), передвигающейся вдоль рейки со шкалой 3.
Буйковые уровнемеры (табл.4) применяют в тех случаях, когда необходимо уменьшить перемещение поплавка относительно изменения уровня жидкости.
Таблица 4 – Технические характеристики буйковых уровнемеров

В буйковом уровнемере (рис.8,6) используется цилиндрический поплавок (буек) 2, закрепленный на пружине 1. Масса буйка зависит от глубины его погружения в жидкость, а жесткость пружины определяет коэффициент пропорциональности между изменением уровня и подъемом буйка. Класс точности 1,5 и 2,5.

Рисунок 8 – Схемы механических уровнемеров
Манометрические уровнемеры подразделяют, в свою очередь, на мембранные, пьезометрические и дифманометрические.
Мембранные уровнемеры предназначены для измерения уровня агрессивных сред в открытых емкостях. Они состоят из первичного преобразователя, преобразующего измеряемый параметр в пневматический сигнал, и вторичного прибора.
Принцип действия преобразователя основан на пневматической силовой компенсации. Измеряемый параметр (высота столба жидкости) воздействует на чувствительный элемент - металлическую мембрану, установленную на дне емкости, и преобразуется в усилие, которое автоматически уравновешивается усилием, развиваемым давлением воздуха в сильфоне обратной связи. Это давление является одновременно выходным сигналом датчика.
Действие пьезометрических (гидростатических) уровнемеров основано на следующем принципе. Если в емкость с жидкостью ввести вертикальную встроенную трубку, доходящую почти до дна, и подавать в нее чистый воздух, то его давление в трубке будет равно массе столба продуваемой жидкости, т. е. значению уровня.
Пьезометрические манометры применяют для контроля агрессивных жидкостей или эмульсий.
В дифманометрических уровнемерах об уровне судят по перепаду давления жидкости у дна сосуда и над ее поверхностью. Уровень жидкости этим способом можно контролировать как в открытых, так и в закрытых емкостях.
Для измерения уровня сыпучих материалов применяют емкостные, высокочастотные, радиационные, кондуктометрические, весовые и механические уровнемеры.
В последнее время промышленность освоила выпуск унифицированных высокочастотных резонансных измерителей и сигнализаторов уровня сыпучих материалов и жидкостей, работа которых основана на высокочастотном методе измерения. Эти приборы с успехом могут быть использованы в литейных цехах для измерения уровня формовочных материалов.
Радиационные уровнемеры можно применять и как уровнемеры, и как сигнализаторы уровня. В качестве первичного преобразователя контрольно-измерительной системы используют приемное устройство (детектор) радиоактивного излучения, источниками которого служат радиоактивный изотоп кобальта (церий 137).
Радиоактивные сигнализаторы уровня можно использовать также для контроля уровня расплавленного металла в плавильной печи.
Кондуктометрические уровнемеры используют для сигнализации предельных значений уровня токопроводящих материалов. Принцип действия этих сигнализаторов основан на замыкании электрической цепи первичного преобразователя материалом измеряемой среды.
Весовые уровнемеры используют для измерения уровня формовочных или шихтовых материалов в бункерах (рис.9).

Рисунок 9 – Весовой уровнемер
Для измерения уровня формовочных материалов в бункерах и уровня материалов в вагранках и других плавильных печах применяют механические нестандартные уровнемеры, к числу которых относят флажковые, зондовые и боковые сигнализаторы уровня.
Флажковый, или лопастной, сигнализатор уровня (рис.10) используют для контроля уровня смеси в бункерах.

Рисунок 10 – Флажковый сигнализатор уровня
Недостатком конструкции является снижение чувствительности датчика при налипании материала на лопасть.
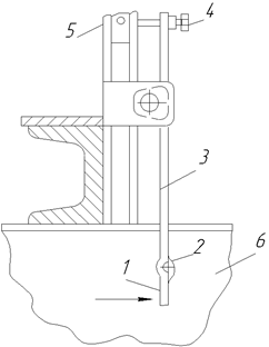
Зондовый сигнализатор уровня применяют для определения уровня шихты в вагранке. Зондовый сигнализатор (рис.11) имеет зонд 1, подвешенный на тросе, который через блок 2 соединяется с барабаном 3. Барабан приводится во вращение пневматическим цилиндром 4. С помощью электромагнитного клапана 5 в левую полость цилиндра 4 периодически подается сжатый воздух или полость соединяется с атмосферой. Во втором случае под действием веса зонд опускается и перемещает шток поршня влево. Если уровень шихты нормальный, то упор 6 штока не доходит до кнопки микропереключателя 7. При более низком уровне шихты упор нажимает на стержень микропереключателя и подается команда на загрузку очередной порции шихты в вагранку. Подъем зонда осуществляется подачей сжатого воздуха в левую полость цилиндра 4.

Рисунок 11 – Зондовый сигнализатор уровня
Боковой сигнализатор уровня работает аналогично зондовому. Щуп 1, закрепленный на штоке пневматического цилиндра 2, периодически вдвигается через отверстие в стенке вагранки. Длина хода щупа зависит от уровня шихты.
Вопросы для самоконтроля
1 Какие бывают приборы расхода, количества и уровня?
2 Принцип действия ротаметра, изобразите данный прибор
3 Принцип действия шарикового расходометра, его схема
4 Какие бывают счетчики жидкости и газов?
5 Какие бывают счетчики и весы твердых и сыпучих материалов?
6 Что означает количество вещества?
7 Как обозначают объемный расход?
8 Что такое расходомер?
9 Основные назначения счетчиков
10 Какие бывают ротаметры?
11 Какие весы используют для измерения расхода твердых и сыпучих материалов?
12 Что такое уровнемер?
13 Что такое уровень жидкости или сыпучего материала?
14 На что можно разделить приборы контроля уровня по метрологическому принципу?
15 В чем преимущество и недостатки ротаметров?
16 Изобразите трубу Вентури
17 В какой области чаще всего используются расходомеры переменного перепада давления?
18 Выберите шариковый расходомер, если его верхний предел измерения 4,0 м3
/ч
19 Выберите шариковый расходомер, если его минимальный расход 0,062 м3
/ч
20 Назовите достоинства скоростных счетчиков
21 Определите тип и наименование счётчиков жидкостей и газов, если температура измеряемой среды -40…-50 0
С
22 Определите тип и наименование счётчиков жидкостей и газов, если температура измеряемой среды 5…50 0
С, а номинальный расход 250 м3
/ч
23 Определите тип буйкового уровнемера, если температура контролируемой среды -40…100 0
С
Литература:
1 Староверов, А. Г. Основы автоматизированного производства: учеб. / А. Г. Староверов – М: изд-во Машиностроение, 1989
2 Данилов, И.А., Иванов П.М. Общая электротехника с основами электроники: учеб. / И.А. Данилов, П.М. Иванов. – М: изд-во Высшая школа, 2000
3 Головенков, С.Н., Сироткин, С.В. Основы автоматики и автоматического регулирования станков с ПУ: учеб. / С.Н. Головенков, С.В. Сироткин. – М.: изд-во Машиностроение, 1980
Лабораторная работа №5
Тема: Выбор конструкции контроля уровня
Знать:
– конструкции уровнемеров их разновидности и принцип работы
уметь:
– проанализировав, выбрать приборы для измерения и контроля уровня
ХОД РАБОТЫ
Конструкции уровнемеров разработанные для измерения уровня жидкости
Для контроля уровня жидкостей наибольшее распространение получили указательные стекла, поплавковые, буйковые, манометрические уровнемеры.
Наиболее простыми приборами для измерения уровня являются указательные стекла (водомеры), применяемые в паровых котлах, а также в различных емкостях для измерения уровня осветленных жидкостей. Они представляют собой стеклянную трубку с нанесенными на нее давлениями и соединенную с емкостью, в которой контролируется уровень жидкости.
Поплавковые уровнемеры широко применяют для измерения уровня разнообразных жидкостей.
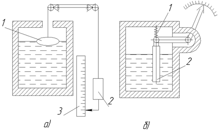
Простейший уровнемер (рис.1,а) представляет собой плавающий поплавок 1, подвешенный на гибком тросе, перекинутом через блок. На втором конце троса вне сосуда для его натяжения подвешен груз 2 с укрепленной на ней стрелкой (указателем уровня), передвигающейся вдоль рейки со шкалой 3.
Буйковые уровнемеры применяют в тех случаях, когда необходимо уменьшить перемещение поплавка относительно изменения уровня жидкости.
В буйковом уровнемере (рис. 1,6) используется цилиндрический поплавок (буек) 2, закрепленный на пружине 1. Масса буйка зависит от глубины его погружения в жидкость, а жесткость пружины определяет коэффициент пропорциональности между изменением уровня и подъемом буйка. Класс точности 1,5 и 2,5.

Рисунок 1 – Схемы механических уровнемеров
Манометрические уровнемеры подразделяют, в свою очередь, на мембранные, пьезометрические и дифманометрические.
Мембранные уровнемеры предназначены для измерения уровня агрессивных сред в открытых емкостях. Они состоят из первичного преобразователя, преобразующего измеряемый параметр в пневматический сигнал, и вторичного прибора.
Принцип действия преобразователя основан на пневматической силовой компенсации. Измеряемый параметр (высота столба жидкости) воздействует на чувствительный элемент - металлическую мембрану, установленную на дне емкости, и преобразуется в усилие, которое автоматически уравновешивается усилием, развиваемым давлением воздуха в сильфоне обратной связи. Это давление является одновременно выходным сигналом датчика.
Действие пьезометрических (гидростатических) уровнемеров основано на следующем принципе. Если в емкость с жидкостью ввести вертикальную встроенную трубку, доходящую почти до дна, и подавать в нее чистый воздух, то его давление в трубке будет равно массе столба продуваемой жидкости, т. е. значению уровня.
Пьезометрические манометры применяют для контроля агрессивных жидкостей или эмульсий.
В дифманометрических уровнемерах об уровне судят по перепаду давления жидкости у дна сосуда и над ее поверхностью. Уровень жидкости этим способом можно контролировать как в открытых, так и в закрытых емкостях.
Основные конструкции уровнемеров применяемых для контроля сыпучих материалов.
Для измерения уровня сыпучих материалов применяют емкостные, высокочастотные, радиационные, кондуктометрические, весовые и механические уровнемеры.
В последнее время промышленность освоила выпуск унифицированных высокочастотных резонансных измерителей и сигнализаторов уровня сыпучих материалов и жидкостей, работа которых основана на высокочастотном методе измерения. Эти приборы с успехом могут быть использованы в литейных цехах для измерения уровня формовочных материалов.
Радиационные уровнемеры можно применять и как уровнемеры, и как сигнализаторы уровня. В качестве первичного преобразователя контрольно-измерительной системы используют приемное устройство (детектор) радиоактивного излучения, источниками которого служат радиоактивный изотоп кобальта (церий 137).
Радиоактивные сигнализаторы уровня можно использовать также для контроля уровня расплавленного металла в плавильной печи.
Кондуктометрические уровнемеры используют для сигнализации предельных значений уровня токопроводящих материалов. Принцип действия этих сигнализаторов основан на замыкании электрической цепи первичного преобразователя материалом измеряемой среды.
Весовые уровнемеры используют для измерения уровня формовочных или шихтовых материалов в бункерах (рис.2).

Рисунок 2 – Весовой уровнемер
Для измерения уровня формовочных материалов в бункерах и уровня материалов в вагранках и других плавильных печах применяют механические нестандартные уровнемеры, к числу которых относят флажковые, зондовые и боковые сигнализаторы уровня.
Флажковый, или лопастной сигнализатор уровня (рис.3) используют для контроля уровня смеси в бункерах.

Рисунок 3 – Флажковый сигнализатор уровня
Недостатком конструкции является снижение чувствительности датчика при налипании материала на лопасть.
Техника безопасности при контроле расхода, количества и уровня
К числу мероприятий по технике безопасности при эксплуатации приборов расхода, количества и уровня относятся следующие. Основным мероприятием безопасной эксплуатации расходомеров переменного перепада является обеспечение сброса продуктов продувки в дренажные или канализационные линии, чтобы предотвратить загрязнение окружающего воздуха продуктами продувки.
Для всех приборов, счетчиков и установок, расположенных в труднодоступных для обслуживания местах, должны быть предусмотрены площадки или колодцы с лестничными хорошо освещенными подходами. Для счетчиков должны быть предусмотрены обводные линии.
Все элементы приборов, питаемые током опасного напряжения, должны быть надежно заземлены.
Основными сигнализаторами уровня, применяемыми в литейных и термических цехах, являются электрические, поэтому общими требованиями безопасной эксплуатации их являются обеспечение каждой автономной измерительной системы удобными средствами отключения питающей электрической линии при аварийных ситуациях, а также обеспечение каждого прибора средствами самостоятельной защиты от токов короткого замыкания. Корпуса, релейных блоков, к которым подводится ток опасного напряжения, должны быть надежно заземлены.
Для кондуктометрических сигнализаторов значение напряжения постоянного и переменного токов в электродной системе не должно превышать соответственно 24 и 36 В.
Радиоактивные приборы являются совершенно безопасными только в случае соблюдения всех требований эксплуатации, перечисленных в монтажно-эксплуатационной инструкции для каждого радиоактивного прибора.
Вопросы для самоконтроля
1 Из чего состоит уровнемер?
2 Какие уровнемеры Вы знаете?
3 Какие правила безопасности должны соблюдать при работе с уровнемерами?
4 Какие приборы используют для определения уровня жидкости?
5 Изобразите уровнемер и кратко опишите принцип работы прибора
6 Какие манометрические уровнемеры Вы знаете?
7 Для чего предназначаются мембранные уровнемеры?
8 Для чего предназначаются пьезометрические уровнемеры?
9 Принцип действия пьезометрического уровнемера?
10 Какие приборы применяют для измерения уровня сыпучих материалов?
11 Назовите недостатки конструкции флажкового сигнализатора уровня
12 Какие приборы относятся к весовым?
Требования к отчету
Отчет должен содержать:
4.1 Тему лабораторной работы, требования к умениям и навыкам.
4.2 Ответы на контрольные вопросы (письменно).
4.3 Схемы, рисунки технических средств активного и пассивного контроля с их описанием.
4.4 Вывод.
Критерии оценки
Работа будет зачтена, если студент практически выполнил работу, ответил на все вопросы (письменно) и оформил отчет в соответствии с требованиями настоящего методического пособия
Литература:
Староверов А.Г. «Основы автоматизации производства».
ЛАБОРАТОРНАЯ РАБОТА №6
Тема: Изучение приборов технического контроля и сигнализации
Знать:
– приборы контроля и сигнализации, их виды и структуру
уметь:
– расшифровывать марки сигнализирующих устройств
ХОД РАБОТЫ
Структура и виды систем контроля и сигнализации
В современных литейных и термических цехах число контролируемых параметров технологических процессов становится настолько большим, что оператор не в состоянии следить за показаниями приборов и делать правильные выводы из получаемой информации. В связи с этим возникла необходимость в создании систем централизованного контроля, с помощью которых можно было бы осуществлять быстродействующий последовательный опрос состояния контролируемых величин, производить простейшую обработку и регистрацию получаемой информации.
Системы автоматического контроля (САК) предназначены для контроля параметров технологических процессов, сигнализации о нарушениях их нормального протекания, а также для контроля количества или качества обрабатываемых изделий.
Система автоматического контроля (рис.1,а) представляет собой совокупность отдельных элементов, последовательно воздействующих друг на друга.
Рисунок 1 – Схема системы автоматического контроля
Изменение контролируемого параметра в объекте контроля 1 воспринимается измерительным элементом — первичным преобразователем 2, который преобразует поступивший на его вход какую-либо физическую величину А в сигнал X, способный воздействовать на исполнительный элемент 3. Результат действия Y исполнительного элемента подается на воспроизводящий элемент 4, который записывает или показывает текущее значение контролируемого параметра.
В зависимости от функции воспроизводящего элемента системы автоматического контроля подразделяются на системы: измерения, сигнализации и сортировки (система контроля готовой продукции).
В автоматических измерительных системах воспроизводящий элемент указывает или регистрирует текущее значение контролируемого параметра. Как правило, эта система представляет собой прибор, предназначенный для одного параметра (температуры, давления, запыленности и т. д.).
Автоматическая сигнализирующая система
используется для оповещения обслуживающего персонала о возникших отклонениях в контролируемом объекте путем подачи звуковых или световых сигналов. Системы автоматической сигнализации в зависимости от их назначения подразделяются на контрольные и предупредительные.
Автоматическая система сортировки
осуществляет контроль обработанных изделий по их качественным и количественным признакам.
По структуре автоматические системы измерения делят на системы с разомкнутой структурой, т. е. системы прямого преобразования (называемые также небалансными), и с замкнутой структурой, т. е. балансные системы.
Небалансные системы
(рис.1,а) основаны на непосредственном измерении выходного сигнала первичного преобразователя. Все преобразования от выходного сигнала преобразователя X до выходного сигнала Y всей системы имеют одно направление: от входа системы к выходу.
Балансные системы
(рис. 1,6) имеют замкнутую схему. В них контролируемая величина А уравновешивается известной величиной того же рода (например, напряжение уравновешивается напряжением). Выходная величина первичного преобразователя используется для компенсации (уравновешивания) входной измеряемой величины. К основной (прямой) цепи балансной системы добавляется обратная связь. В прямую цепь дополнительно вводятся элементы сравнения 5 и усиления 6. В обратную цепь входит балансирующий элемент 7, преобразующий выходной сигнал системы Хвых в компенсирующий Хк.
В зависимости от характера процесса уравновешивания во времени балансные системы делят на системы непрерывного балансирования (следящего уравновешивания) и системы периодического балансирования (развертывающего уравновешивания).
В системах непрерывного балансирования
балансирующая Хк и выходная Хвых величины непрерывно следят за изменениями входной контролируемой величины А. При неизменной входной величине А = const все элементы этих систем находятся в состоянии равновесия.
В системах периодического балансирования
уравновешивающая величина X изменяется через определенные моменты времени по заданному закону независимо от изменения значения А. Перед каждым новым циклом уравновешивания значение выходной величины сбрасывается на нуль. При А = const все элементы непрерывно работают.
По виду выходного сигнала измерительные системы подразделяют на аналоговые, в которых используются стрелочные приборы, и системы с цифровым отсчетом, получившие наибольшее распространение.
Измерительные системы с цифровым отсчётом
В настоящее время все более широкое распространение получает дискретное (цифровое) воспроизведение измеряемой величины, которая обычно является непрерывной (аналоговой) функцией времени.
В цифровых приборах измеряемая величина представляется в дискретной форме (числом), т. е. в виде окончательного результата измерения. Все бесконечное множество значений измеряемой величины в заданных пределах заменяется в цифровом приборе ограниченным рядом числовых значений, например, в четырех-декадном цифровом приборе - ограниченным рядом значений от 1 до 9999. Дискретная форма измеряемой величины обычно представляет собой определенное число электрических импульсов или их определенную комбинацию - код.
Дискретная форма представления величины по сравнению с аналоговой более удобна для визуального отсчета и регистрации, а также для передачи на расстояние. Применение приборов с цифровым отсчетом исключает субъективную погрешность отсчета.
При измерении числовое значение контролируемой величины определяется в процессе квантования. Квантованием
называется процесс преобразования непрерывных (аналоговых) величин в дискретные. Различают три вида квантования: по уровню, по времени и смешанное по уровню и по времени.
Квантованием непрерывной величины по уровню (рис.2, а) называют операцию, при которой непрерывная функция заменяется определенными дискретными значениями. Квантованием по времени (рис.2,6) называется замена непрерывной величины ее значениями, взятыми в определенные дискретные моменты времени.
В цифровых измерительных приборах измеряемая величина преобразуется в число в результате комбинированного квантования (по уровню и по времени) - цифрового кодирования (рис.2, в).

Рисунок 2 – Виды квантования сигнала
Для перехода от непрерывных значений измеряемого параметра в цифровой код автоматические измерительные приборы с цифровым выходом имеют аналого-цифровые преобразователи, осуществляющие преобразование непрерывных выходных сигналов первичных преобразователей в соответствующие им цифровые коды. Аналого-цифровой преобразователь является одним из основных узлов цифровой системы автоматического измерения.
Существующие аналого-цифровые преобразователи по конструктивному признаку делят на электромеханические и электронные, а по виду аналоговой величины — на преобразователи механических перемещений (линейных и угловых) и преобразователи электрических величин (токов, напряжений и т. д.).
Для воспроизведения показаний в цифровой форме применяют цифровые указатели (индикаторы) и регистраторы. Индикаторы выдают результаты измерений в цифровой форме для непосредственного восприятия оператором. Регистраторы воспроизводят результаты измерений также в цифровой форме и хранят их для дальнейшего непосредственного восприятия.
По принципу действия и конструктивному исполнению цифровые индикаторы выполняются в виде электромеханических устройств, цифровых ламп, электролюминесцентных знаковых элементов, устройств с подсветкой изображаемых цифр («световое табло»), электронно-лучевых трубок и др.
Цифровые индикаторы электромеханического типа представляют собой набор колес или непрерывных лент вращения, на которых нанесены изображения цифр. Эти индикаторы применяют главным образом в медленно действующих приборах, например в электрических счетчиках, массоизмерительных, приборах различного рода и др.
В индикаторах на цифровых лампах для изображения цифр применяют газоразрядные лампы. Такая лампа (рис.3) представляет собой стеклянную цилиндрическую колбу, заполненную неоном. Внутри колбы расположены десять катодов, которые выполнены из нихромовых проволочек, изогнутых в форме цифр от 0 до 9, и один сетчатый анод, охватывающий пакет катодов. При подаче напряжения на один из катодов между ним и анодом возникает тлеющий разряд, охватывающий всю поверхность катода, который начинает светиться, и очертания данной цифры становятся видимыми.

Рисунок 3 – Цифровая газоразрядная лампа
Системы централизованного контроля
Для уменьшения числа индивидуальных приборов применяют системы централизованного обегающего контроля. Основным техническим средством этих систем являются машины централизованного контроля, которые собирают, хранят и перерабатывают по определенному закону (алгоритму) информацию о ходе производственного процесса, поступающую от различных первичных преобразователей.
В этих системах показания всех приборов в форме электрических сигналов считываются в определенной последовательности обегающим устройством и перерабатываются в цифровую информацию, которая печатается в виде таблицы.
К машинам централизованного обегающего контроля можно присоединить первичные преобразователи, у которых выходной величиной является термоЭДС или изменение электрического сопротивления. Последовательное подключение к измерительному устройству машины централизованного обегающего контроля различных преобразователей требует от последних максимальной унификации выдаваемых сигналов по их виду и значению.
Рассмотрим принципы действия и типовую схему машины централизованного контроля (рис.4).

Рисунок 4 – Типовая схема устройства централизованного контроля
Основные функции, выполняемые машиной, следующие: опрос первичных преобразователей и сравнение полученных значений с заданной нормой; световая (звуковая) сигнализация и цифровая регистрация отклонений; измерение контролируемой величины и представление результатов измерения (в виде показания стрелочного прибора, цифрового указателя или записи) по запросу оператора; вычисление и анализ технико-экономических показателей, характеризующих объект контроля; цифровая регистрация измеренных и вычисленных значений параметров с заданной периодичностью, в том числе на перфокартах или магнитных лентах, для последующей обработки на вычислительной машине; цифровая регистрация значений параметров по запросу оператора.
Печатающее устройство регистрирует значения всех или определенным образом выбранных контролируемых параметров. При регистрации всех параметров машина как бы опрашивает все каналы контроля, поэтому такая печать называется опросной. Опросная печать может запускаться либо автоматически в заранее выбранные и введенные в блок управления 3 моменты времени (периодическая регистрация), либо по произвольному выбору оператора с помощью блока выбора 10. Кроме того, этот блок позволяет вызвать данный параметр на показывающий и записывающий приборы. Визуальное наблюдение за параметрами осуществляется также с помощью цифрового показывающего прибора 7, на который оператор может вызвать значение любого контролируемого параметра из аналого-цифрового преобразователя либо из вычислительного устройства.
Информация, подлежащая обработке, поступает в вычислительное устройство, которое хранит результаты обработки в своей оперативной памяти и может выдавать их по требованию на печатающее устройство или цифровой показывающий прибор.
Промышленность выпускает различные виды устройств централизованного автоматического контроля. К их числу относятся ЭЛРУ-2, МАР-1, ЗЕНИТ-1.
ЭЛРУ-2 (электронное логическое регистрирующее устройство) предназначено для автоматического централизованного измерения и цифровой регистрации на специальных бланках в виде таблиц параметров технологических процессов, а также для сигнализации при выходе этих параметров за пределы заданных значений. ЭЛРУ-2 может быть использовано для измерения и регистрации температуры, состава газовой фазы, давления, расхода и т. п. К устройству ЭЛРУ-2 может быть подключено 56 преобразователей.
МАР-1 служит для централизованного автоматического измерения и сигнализации 240 параметров и цифровой регистрации 200 параметров технологических процессов.
ЗЕНИТ-1 предназначен для измерения цифровой регистрации, сигнализации и позиционного регулирования 40 параметров технологических процессов.
МАРС-200-Р обеспечивает контроль по 200 параметрам технологических процессов и регулирование по 144 параметрам. Наиболее успешно машина работает при контроле температуры, реагируя на отклонение температуры до ±1 °С.
Дальнейшим развитием централизованного контроля являются машины, содержащие блоки математической обработки полученной информации и выдачи результатов в соответствии с законом управления. Такие машины называют управляющими вычислительными машинами (УВМ).
Системы автоматической сигнализации
Предупредительная сигнализация извещает обслуживающий персонал о различных режимах работы оборудования или о непредвиденном его выключении, вызванном неисправностью или внешними причинами. Получаемая обслуживающим персоналом информация может быть как звуковой, так и световой.
Для подачи звуковых сигналов используются сирены, звонки, гудки, зуммеры и магнитофоны с предварительно записанными сообщениями. Громкость и частота звукового сигнала должны обеспечивать его хорошую слышимость на фоне производственных шумов (уровень сигнала должен быть выше на 10 дБ общего шума). Повышенной надежностью обладают модулированные (по высоте) и прерывающиеся во времени звуки.
В качестве визуальных сигнализаторов используются световые приборы: фонари, прожекторы, табло, транспаранты с надписью, указывающие характер событий, электромеханические реле с сигнальными флажками.
Отдельные сигнализаторы могут объединяться в комплекс (на пультах управления), дающий изображение текущего состояния контролируемого объекта.
Конструкция и параметры светосигнальных устройств должны обеспечивать надежное фиксирование сигнала глазом человека. Для этого необходимо создавать такую освещенность, при которой начинает восприниматься цвет сигнала. Сигнальные цвета должны быть контрастными по отношению друг к другу и окружающему фону.
В аварийной световой сигнализации предпочтение отдается красному цвету, который лучше всего виден сквозь пыль и дым. Хорошо воспринимается мигающий свет с частотой мигания не более 10 Гц и продолжительностью не менее 0,05 с.
Для надежного обнаружения светового сигнала сигнализаторы должны располагаться в пределах 30° от нормальной оси зрения оператора.
В качестве источников света в сигнализаторах используют лампы накаливания, лампы тлеющего разряда и электролюминесцентные приборы.
Характерным примером предупредительной сигнализации в термических цехах является устройство, применяемое на селитровых ваннах. Перегрев селитры выше определенной температуры недопустим, так как может вызвать взрыв. Для предупреждения перегрева предусматривается световая и звуковая сигнализации. Сигнальная лампа и звуковой сигнал включаются по достижении максимально допустимой температуры. В литейных цехах при транспортировании и разливке жидкого металла обязательно предусматривается звуковая сигнализация. Упрощенная схема предупредительной сигнализации рольганговой печи с водоохлаждаемыми роликами показана на рис.2.

Рисунок 5 – Схема предупредительной сигнализации рольганговой печи
Если по каким-либо причинам вода недостаточно охлаждает ролики (или совсем прекратилась подача воды), приводится в действие световая и звуковая сигнализации.
Вопросы для самоконтроля
1 Какие виды систем контроля и сигнализации Вы знаете?
2 Какие бывают виды квантования сигнала?
3 Принцип работы цифровой газоразрядной лампы
4 По какой причине появилась необходимость создания систем централизованного контроля?
5 Предназначение САК
6 Зарисуйте и опишите принцип действия САК
7 Для чего используют автоматическую сигнализирующую систему?
8 За что отвечает автоматическая система сортировки?
9 Какие автоматические системы измерения Вы знаете?
10 За что отвечает небалансная система?
11 Что такое квантование?
12 Что такое квантование непрерывной величины по уровню?
13 На какие виды приборов делят аналого-цифровые преобразователи?
14 Для чего нужны цифровые указатели (индикаторы) и регистраторы?
15 Назовите основное назначение системы централизованного обегающего контроля
16 Что такое опросная печать?
17 Расшифруйте маркировку устройства ЭЛРУ-2 и опишите его предназначение
Требования к отчету
Отчет должен содержать:
4.1 Тему лабораторной работы, требования к умениям и навыкам.
4.2 Ответы на контрольные вопросы (письменно).
4.3 Схемы, рисунки технических средств активного и пассивного контроля с их описанием.
4.4 Вывод.
Критерии оценки
Работа будет зачтена, если студент практически выполнил работу, ответил на все вопросы (письменно) и оформил отчет в соответствии с требованиями настоящего методического пособия
Литература:
1 Староверов, А. Г. Основы автоматизированного производства: учеб. / А. Г. Староверов – М: изд-во Машиностроение, 1989
2 Данилов, И.А., Иванов П.М. Общая электротехника с основами электроники: учеб. / И.А. Данилов, П.М. Иванов. – М: изд-во Высшая школа, 2000
Лабораторная работа №8
Тема: Изучение работы системы управления контрольно-измерительной машины или модуля
Цель:
Познакомиться с устройствами управление; познакомиться с работой УЧПУ КИМ.
ХОД РАБОТЫ
Большинство деталей невозможно измерить в процессе резания: это технологически нежесткие детали с неплоскими поверхностями, деталь сложной формы с большим числом определяющих координатных точек и др. В этом случае информация об истинных размерах может быть получена либо на холостом ходу, либо с помощью контрольно-измерительных машин с ЧПУ.
Контрольно-измерительная машина с ЧПУ является внешним по отношению к станку оборудованием, несмотря на это она может выполнять роль своеобразного агрегата адаптивной системы управления процессом обработки.
Контрольно-измерительные машины с ЧПУ, имеющие автоматические загрузочно-разгрузочные устройства и автоматическую смену измерительных, головок, образуют модуль.
Характерным для КИМ являются три линейные оси координат с добавлением в некоторых конструкциях четвертой (повторного стола), В базовой координатной системе можно измерить деталь с пяти сторон, при некоторых методах крепления и со всех шести сторон. Сигнал отсчета координат во всех КИМ поступает от установленного в шпинделе датчика при касании его наконечника детали.
Электронная часть контрольно-измерительной системы состоит из следующих трех блоков: управления, обработки данных, представления результатов измерения.
Блок управления выполняют на микропроцессорах и располагают рядом с контрольно-измерительной системой.
Блок обработки данных выполняют на микроЭВМ: он может быть встроен в систему управления или же функционировать в дистанционном режиме с использованием ЭВМ ГПС.
Блок представления результатов измерения с периферийными устройствами различной степени сложности располагают централизованно в отдельном помещении рядом с ЭВМ ГПС.
Система управления контрольно-измерительным модулем имеет два иерархических уровня независимо от числа уровней обрабатывающих ГПС. Система ЧПУ нижнего уровня выполняет функции управления измерительной машиной, магазином измерительных головок, загрузкой паллет и передачи данных измерений УЧПУ КИМ обеспечивает также диалог "с центральной ЭВМ и работу в автономном режиме. В последнем случае УЧПУ выполняет первичную обработку результатов измерения, но некоторые функции центральной ЭВМ принимает на себя оператор.
Центральная ЭВМ выполняет следующие функции:
1. Подготовку, хранение и выдачу на нижний уровень управляющих программ
2. Сбор результатов измерений, статистический анализ данных и выдачу сведений о погрешностях обработки
3. Адаптивное изменение числа точек измерения (автоматическая коррекция УП).
При использовании контрольно-измерительной машины задача измерения и задача коррекции программы решаются с помощью информации о теоретическом профиле детали, фактической траектории относительного движения исполнительных механизмов контрольно-измерительной машины, показаниях измерительной головки.
На рис. I показана структурная схема контрольно-измерительной машины для плоских, деталей. Деталь 1 расположена на столе 2, перемещаемом по оси X исполнительным приводом 3. Корпус 4 измерительной головки перемешается вдоль оси Y двигателем 6, при этом щуп 5 контактирует с деталью. Положение стола, (XI К корпуса измерительной головки (YH) и ее щупа (Y2i) регистрируются датчиком 8. На основании этой информации в блоке 7 вычисляется размер Ri летали в точках Xi=Xici. Если в вычислительный блок ввести, информацию YI теоретического профиля соответственно тем же координатам XI=Xki5 то для этих контрольных точек может быть определена погрешность обработки.
Получаемая на КИМ информация используется для автоматического введения изменений в технологический процесс обработки.
Например, комплекс для финишной обработки червяков предусматривает специализированную КИМ для контроля этих изделий, которая измеряет погрешность обработки и позволяет ввести коррекцию (рис.2). КИМ выполнена на основе лазерного интерферометра. Сигнал лазера определяет текущую координату перемещения измерительной каретки смещающейся при вращении червяка. Эта координата сравнивается с идеальным значением.
Информация о значении погрешности в. контрольных точках в цифровом виде поступает в устройство управления, ЭВМ осуществляет работку результатов контроля.
При повышении уровня автоматизации технологического процесса должна сохраняться возможность вмешательства оператора в управление для ликвидации сбоев и воздействия при непредвиденных ситуациях. Должна быть предусмотрена возможность повторного инициирования системы -после аварийного выключения. В этом случае система располагать всей информацией, собранной в процессе работы аварийного останова, лля того, чтобы обеспечить быстрое устранение неисправности в автоматическом режиме.
Система должна обеспечить обработку информации с учетом реакции в реальном масштабе времени в аномальных условиях. Развитием КИМ является создание измерительного робота (рис.3). Робот может быть снабжен несколькими одновременно работающими, измерительными устройствами, сокращающими время проверки точности изготовления. Горизонтальное исполнение обеспечивает хороший доступ к проверяемой детали и измерение с различных сторон с помощью щупа одной конфигурации.
точность размеров деталей, шероховатость обработанных поверхностей, производительность обработки и ее себестоимость. Соответственно системы адаптивного управления подразделяют на системы предельного и оптимального управления рисунок 1. Поскольку алгоритмы адаптивного управления, учитывающие большой объем различной информации, сложны, то стало традиционным выделение отдельных контуров управления по критерию точности, производительности, стойкости инструмента, себестоимости обработки. Количество контролируемых параметров также ограничивается до минимально необходимого.
Различают контроль параметров инструмента и обрабатываемых деталей непрерывный, через короткие и длительные промежутки времени, в перерывах процесса резания, начале смены, по требованию, во время включения станка, для каждой новой партии деталей и каждой детали. Периодичность контроля зависит от вида контролируемых параметров, интенсивности их изменения и способа контроля. Например, силы резания измеряют только в процессе обработки, многие точностные параметры станков — через длительные промежутки времени, а температуру и амплитуду вибраций — непрерывно.

Рабочие поверхности режущего инструмента в процессе обработки испытывают действие высоких нагрузок и температур. Такие экстремальные условия эксплуатации инструмента вызывают более интенсивные нарушения его работоспособности, чем других элементов станка. Критерии износа, которые определяют необходимость автоматической замены инструмента на новый, зависят от характера выполняемой механообработки, режимов резания, инструментального и обрабатываемого материалов, технического состояния узлов станка, качества СОЖ-К этим критериям можно отнести:


Рисунок 3 – Плоское измерение

Рисунок 4 – Конструктивные исполнения контрольно-измерительных машин с ЧПУ:
Портально-мостовые; 1 – суппорт; 2 – пиноль; 3 – стол; 4 – датчик; 5 – стрела; 6 - вращающийся стол; 7 – стойка; 8 – мост; 9 – портал
Рисунок 5 – Структурная схема комплекса для финишной обработки червяков
1 Станок МВ-146 с программной коррекцией; 2 Лазерная контрольно-измерительная машина МС-5311; 3 Микропроцессорная система управления коррекцией; 4 Устройство управления КИМ; 5 Канал передачи программы коррекции, ЛП – линейный лазерный преобразователь, КП – круговой оптический преобразователь; У1
- У4
– Усилители преобразователей
ПЕРЕЧЕНЬ ИСПОЛЬЗУЕМОЙ ЛИТЕРАТУРЫ
1 Капустин, Н. М. Автоматизация машиностроения: учеб. / Н. М. Капустин. – М: изд-во Высшая школа, 2004
2 Черпаков, Б. И. Автоматизация и механизация производства: учеб. / Б. И. Черпаков. – М.: изд-во «Академия», 2004
3 Шандров, Б. А. Автоматизация производства (металлообработка): учеб. / Б. А. Шандров. – ИРПО: изд-во «Академия», 2002
4 Ковальчук, Е. Р. Основы автоматизации машиностроительного производства: учеб. / Е. Р. Ковальчук. – М.: Высшая школа, 1999
5 Головенков, С.Н., Сироткин, С.В. Основы автоматики и автоматического регулирования станков с ПУ: учеб. / С.Н. Головенков, С.В. Сироткин. – М.: изд-во Машиностроение, 1980
6 Шурков, В.Н. Основы автоматизации производства и ПР: учеб. / В. Н. Шурков – М: изд-во Машиностроение, 1989
7 Староверов, А. Г. Основы автоматизированного производства: учеб. / А. Г. Староверов – М: изд-во Машиностроение, 1989
8 Данилов, И.А., Иванов П.М. Общая электротехника с основами электроники: учеб. / И.А. Данилов, П.М. Иванов. – М: изд-во Высшая школа, 2000
9 Корчак, С. Н. Системы автоматизированного проектирования технологических процессов, приспособлений и режущих инструментов: учеб. / С. Н. Корчак. – М.: Машиностроение, 1988
10 Рубцов, А. А. Механизация и автоматизация производства: учеб. / А. А. Рубцов. – М.: Машиностроение, 1987
11 Иванова, Т. В. Курс лекций по механизации и автоматизации производства: учебное пособие для учащихся техникума / Т. В. Иванова. – Сосновоборск, 2000
ПЕРЕЧЕНЬ ЛАБОРАТОРНЫХ РАБОТ
| 1
2
3
4
5
6
7
|
Лабораторная работа №1
Лабораторная работа №2
Лабораторная работа №3
Лабораторная работа №4
Лабораторная работа №5
Лабораторная работа №6
Лабораторная работа №7
Лабораторная работа №8
|
Изучение конструкции измерительных приборов
Контроль давления гидросистем монометром
Определение погрешности измерения температуры различными видами термометров и термопарой
Изучение конструкции приборов расхода
Выбор приборов контроля уровня
Изучение приборов технического контроля и сигнализации
Контрольно-измерительные машины, основные методы измерения
Изучение работы системы управления контрольно-измерительной машины или модуля
|
|