| ПРОЕКТ
Система нормативных документов в строительстве
Свод правил по проектированию и строительству
АСЕПТИЧЕСКИЕ И
КОНТРОЛИРУЕМЫЕ ОБЪЕКТЫ
Проектирование, строительство,
испытания
и ввод в эксплуатацию
СП 00-000-2009
Москва
2009 г.
СП 00-000-2009
ПРЕДИСЛОВИЕ
Настоящий свод правил (далее по тексту СП) разработан в соответствии со статьёй 12 Федерального закона от 27 декабря 2002года «О техническом регулировании» (далее - Закон) стандартизация осуществляется в соответствии с принципами добровольного применения стандартов.
Одним из направлений указанного стандарта является реализация мероприятий по комплексному направлению обеспечения биологической безопасности Федеральной Целевой Программы «Национальная система химической и биологической безопасности Российской Федерации (2009 - 2013 годы)», утвержденной постановлением Правительства Российской Федерации от 27 октября 2008 года № 791 (Собрание законодательства Российской Федерации, 2008, № 44 ст. 5093).
1. РАЗРАБОТАН: Департаментом развития градостроительной деятельности Минрегиона РФ, ИП Григорьевым В.В. - руководителем ПМ «ЧП-421»,
к.т.н. Сухомудренко А.Г. - руководителем ООО
«НПП РОСЭКО».
2. ОДОБРЕН для применения:
- Департаментом развития градостроительной деятельности Минрегиона РФ,
Госстроя России 22 января 2009 года.
- Министерством промышленности и торговли Российской Федерации
(письмо № ПГ-ВС- 327, от 25.02 2009 года).
3. РАЗРАБОТАН ВПЕРВЫЕ.
СТОР 42104-2009
СОДЕРЖАНИЕ
Введение
1. Область применения
2. Нормативные ссылки
3.Термины и определения
4. Общие положения
5. Общие требования к технологическим процессам и оборудованию
6. Генеральный план
7. Объёмно-планировочные решения
8. Отопление, вентиляция, кондиционирование
Система воздуха снабжения СИЗОД
9. Внутренний водопровод и канализация и водостоки,
обработка сточных вод
10. Электроснабжение, силовое электрооборудование и электроосвещение
11. Обработка помещений.
12. Охрана окружающей среды и утилизация отходов
13. Противопожарные требования
14. Испытания инженерных систем и ограждающих строительных
конструкций асептических и контролируемых помещений
14.1. Определение потерь воздуха в воздуховодах вентиляционных
Забиваем Сайты В ТОП КУВАЛДОЙ - Уникальные возможности от SeoHammer
Каждая ссылка анализируется по трем пакетам оценки: SEO, Трафик и SMM.
SeoHammer делает продвижение сайта прозрачным и простым занятием.
Ссылки, вечные ссылки, статьи, упоминания, пресс-релизы - используйте по максимуму потенциал SeoHammer для продвижения вашего сайта.
Что умеет делать SeoHammer
— Продвижение в один клик, интеллектуальный подбор запросов, покупка самых лучших ссылок с высокой степенью качества у лучших бирж ссылок.
— Регулярная проверка качества ссылок по более чем 100 показателям и ежедневный пересчет показателей качества проекта.
— Все известные форматы ссылок: арендные ссылки, вечные ссылки, публикации (упоминания, мнения, отзывы, статьи, пресс-релизы).
— SeoHammer покажет, где рост или падение, а также запросы, на которые нужно обратить внимание.
SeoHammer еще предоставляет технологию Буст, она ускоряет продвижение в десятки раз,
а первые результаты появляются уже в течение первых 7 дней.
Зарегистрироваться и Начать продвижение
систем, обслуживающих асептические и контролируемые помещения.
14.2. Испытание воздухопроницаемости зоны герметизированного
контура ограждающих строительных конструкций асептических
и контролируемых помещений.
14.3. Замеры производительности вентиляционных систем,
обслуживающие асептические помещения и контроль
физических параметров вентиляционного воздуха - температуры,
относительной влажности, объёмной скорости воздухообмена,
скорости воздушного потока и величины избыточного давления
(разрежения) в рабочей зоне асептических и контролируемых
помещений.
14.4. Испытания эффективности работы высоко эффективных фильтров,
установленных в вентиляционной сети вент систем,
обслуживающих асептические и контролируемые помещения.
14.6. Контроль счётной концентрации аэрозольных частиц (0,3÷5 мкм)
в воздушной среде асептических и контролируемых помещениях.
14.7. Определение времени деконтаминации (самоочищения) и
скорости воздушных потоков в рабочей зоне асептического и
контролируемого чистого помещения.
15. Сроки и периодичность очередных контроля воздушной среды асептических и контролируемые помещений, их вентиляционных систем и высоко эффективных фильтров в период гарантийного срока эксплуатации.
Приложение А. Термины и их определения.
Приложение Б. . Рекомендуемый перечень помещений по группам и
классам
Приложение В. Рекомендуемый состав санитарно-бытовых помещений по
группам и классам [7]
Приложение Г. Методика контроля герметичности ограждающих
строительных конструкций асептических и контролируемых
помещений.
Приложение Д. Методика контроля аэрозольных параметров воздушной
среды асептических помещений и эффективности работы
фильтров.
Приложение Е. Рекомендуемый перечень минимального количества
приборов, оснастки, оборудования и материалов для
выполнения работ по контролю воздушной среды
асептических и контролируемых помещений и проверки
эффективности работы фильтров класса Н, установленных
в вентиляционных системах.
Приложение Ж. Техническое решение устройства
экспериментально-биологической клиники (вивария). Приложение З. Техническое решение устройства технологического блока
асептических и контролируемых помещений.
Приложение И. Техническое решение по организации равно распределённого
воздушного потока в асептических и контролируемых
помещениях
СП 00-000-2009
ВВЕДЕНИЕ.
При разработке настоящего СП были учтены требования действующих отечественных нормативных документов и рекомендации зарубежных стандартов в области проектирования, строительства, испытаний и ввода в эксплуатацию асептических и контролируемых объектов.
Сервис онлайн-записи на собственном Telegram-боте
Попробуйте сервис онлайн-записи VisitTime на основе вашего собственного Telegram-бота:
— Разгрузит мастера, специалиста или компанию;
— Позволит гибко управлять расписанием и загрузкой;
— Разошлет оповещения о новых услугах или акциях;
— Позволит принять оплату на карту/кошелек/счет;
— Позволит записываться на групповые и персональные посещения;
— Поможет получить от клиента отзывы о визите к вам;
— Включает в себя сервис чаевых.
Для новых пользователей первый месяц бесплатно.
Зарегистрироваться в сервисе
Одним из основных отличий данного СП от существующих отечественных и зарубежных стандартов - конкретизация требований биологической безопасности при проектировании, строительстве, испытании и вводе в эксплуатацию асептических и контролируемых объектов.
В СП учтены новые технические решения и разработки в указанной области.
Обоснованно расширена область требований по строительству и контролю объектов биологической безопасности для асептических и контролируемых объектов.
Введены новые разделы по охране окружающей среды и утилизации отходов, по испытаниям инженерных систем и ограждающих строительных конструкций помещений асептических и контролируемых объектов.
СП позволит повысить надёжность работы и качество создаваемых асептических контролируемых объектов, конкурентоспособность выпускаемой в них продукции, и направлены на экономию энергоресурсов потребляемых данными объектами, и способствуют повышению уровня безопасности окружающей среды и здоровья человека.
СП является дополнением к существующей нормативной документации в области проектирования и строительства.
СП 00-000-2009
1. ОБЛАСТЬ ПРИМЕНЕНИЯ
Требования настоящего Свода правил применяются при проектировании новых объектов и реконструкции действующих предприятий, зданий и сооружений организаций и учреждений фармацевтической, медицинской, микробиологической промышленности, объекты Минздравсоцразвития, Минобороны РФ, Роспотребнадзора РФ, Россельхознадзора РФ, Минпромторга РФ, Федерального медико-биологическоного агентства РФ .
Всем организациям, учреждениям и предприятиям на которых технологические процессы, пребывание людей, исследовательские работы и операции связанные с использованием биологически активных веществ и патогенных биологических агентов (ПБА), выполняющиеся в асептических контролируемых условиях, рекомендуется учитывать требования настоящего СП при создании и испытании отраслевых биологически безопасных асептических объектов.
Кроме того, организациям, учреждениям и предприятиям на которых технологические процессы связаны с контролем воздушной среды и контролем эффективностью работы фильтров по исходной концентрации механических аэрозольных частиц целесообразно использовать технические решения в данной области, нашедшие отражение в настоящем СП.
СП является дополнением к действующим строительным норма и правилам и другим нормативным документам.
СП 00-000-2009
2. НОРМАТИВНЫЕ ССЫЛКИ.
1.СНиП 11-01-95 «Инструкция о порядке разработки, согласования,
утверждения и составе проектной документации на
строительство предприятий, зданий и сооружений». 2.СНиП 2.09.02-95 «Производственные здания».
3. СНиП 2.08.02-89* «Общественные здания и сооружения».
4. СНиП 41-01-2003 «Отопление вентиляция и кондиционирование».
5. СНиП 3.05.06-85 «Электротехнические устройства»
6. СНиП 3.05.01-85 «Внутренние санитарно-технические системы».
7. СНиП 21-01-97 * «Пожарная безопасность зданий и сооружений».
8. ВСН 64-064- 88 «Инструкция по строительному проектированию
предприятий медицинской и микробиологической
промышленности».
9. ОСТ 42-510- 98 «Правила организации производство и контроля
качества лекарственных средств».
10. ГОСТ Р ИСО 51251 –99 «Фильтры очистки воздуха. Классификация.
Маркировка».
11.ГОСТ Р ИСО 14644-4- 2002 «Чистые помещения и связанные с ними
контролируемые среды. Часть 4. Проектирование,
строительство и ввод в эксплуатацию».
12. ГОСТ Р 52249-2004 «Правила производства и контроля качества
лекарственных средств».
13. ГОСТ Р 50766-95 «Помещения чистые. Классификация. Методы
аттестации. Основные требования».
14. ГОСТ Р 52539-2006 «Чистота воздуха в лечебных учреждениях. Общие
требования».
15. РДИ 42-505-00 «Инструкция. Порядок поведения контроля параметров
воздушной среды в «чистых» помещениях и методы их
измерений при производстве лекарственных средств».
16. РД-126-91 «Правила доклинической испытаний оценки безопасности
фармакологических средств (GLP)».
17.СП 1.3.2322-08 «Безопасность работы с микроорганизмами ΙΙΙ – ΙV
групп патогенности (опасности) и возбудителями
паразитарных болезней».
18. СанПиН 2.2.1/2.1.1.1031-01 «Санитарно-защитные зоны и санитарная
классификация предприятий, сооружений и новых
объектов».
19. СанПиН 2.1.3. 1375-03 «Гигиенические требования к размещению,
устройству, оборудованию и эксплуатации
больниц, родильных домов и других
лечебных стационаров».
20. СанПиН 2.1.6.1032- 01 «Гигиенические требования к обеспечению
качества атмосферного воздуха населённых мест.
21. СН 2.2.4/2.8.562-96 «Шум на рабочих местах, в помещениях жилых,
общественных зданий и на территории жилой застройки».
СП 00-000-2009
3. ТЕРМИНЫ И ОПРЕДЕЛЕНИЯ
Термины и их определения, используемые в настоящем стандарте, приведены в Приложении А.
СП 00-000-2009
4. ОБЩИЕ ПОЛОЖЕНИЯ [7, 8].
4.1. Требования настоящего СП распространяются на исследовательскую работу и производство вакцинных препаратов, имунномодуляторов, а также биологически активных веществ, полученных с использованием генно-инженерных штаммов и культур клеток и пребыванием людей в помещениях связанной с возможностью их инфицирования возбудителями заразных болезней.
4.2. Все помещения, в которых предусматривается ведение технологических процессов и работ, перечисленных в п. 4.1., связанные с использованием микроорганизмов, культур клеток тканей и продуктов их жизнедеятельности (далее по тексту БАВ), подразделяются на группы и классы.
4.2.1. а.
-Помещения группы ГΙ – помещения, в которых работа с БАВ
не производится.
4.2.1. б.
- Помещения группы ГΙΙ – помещения, в которых производится
работа с БАВ.
4.2.2. Для помещений и зон, в которых выполняются технологические операции и исследовательские работы, требующие асептических условий, устанавливаются четыре класса чистоты по загрязненности механическими и микробными частицами [7, 8]. Класс чистоты чистых помещений (далее по тексту ЧП) характеризуется максимально допустимым количеством посторонних механических частиц и микроорганизмов в воздухе помещений.
Класс чистоты асептических помещений D разделён на два подкласса:
D200)
- помещения с повышенными требованиями к воздушной
среде, т.е. допускается не более 200 жизнеспособных
микроорганизмов в 1 м3
воздуха [7, 8].
D500)
помещения в воздушной среде которых допускается не
более 500 жизнеспособных микроорганизмов в 1 м3
воздуха [7, 8].
4. 3. Классы чистоты помещений асептических объектов приведены в
таблице 1 [7, 8].
Таблица 1.
Классы чистоты помещений асептических объектов
| Класс
чистоты
помещения
|
Максимально допустимое количество частиц
в 1 м3
воздуха размером, мкм
|
Максимальное количество микроорганизмов
в 1 м3
воздуха
|
| ≥ 0,5
|
≥ 5,0
|
≥ 0,5
|
≥ 5,0
|
| Оснащённое
состояние
|
Функционирующее
состояние
|
| А*
|
3500
|
0
|
3500
|
0
|
не более 1
|
| В*
|
35000
|
0
|
0
|
10
|
| С*
|
350000
|
2000
|
3500000
|
20000
|
100
|
| D200)**
|
3500000
|
20000
|
Не
определено
|
Не
определено
|
200
|
25 х 103
|
200 - 500
|
| D500)**
|
3500000
|
20000
|
Не
определено
|
Не
определено
|
500
|
200-500
|
Примечания:
*-
Класс чистоты помещения А, В, С, обеспечивается кратностью воздухообмена, равно распределением воздушного потока в его полости, отсутствием застойных зон и определяется нормативным временем деконтаминации воздушной среды для данного класса помещения [6].
**-
в помещениях класса чистоты D200)**
с повышенными требованиями к воздушной среде допускается не более 200 жизнеспособных микроорганизмов в 1 м3
воздуха, в остальных случаях в помещениях класса чистоты D500)**
допускается не более 500 жизнеспособных микроорганизмов в 1 м3
воздуха [8]
4.4. Группы и классы чистоты помещений устанавливаются в зависимости от характера выполняемых работ.
Примерный перечень объектовых помещений по группам и классам приведен в Приложении Б.
4.5. При разработке проектов предприятий, зданий и сооружений организаций и учреждений, выполняемых в соответствии с настоящим Сводом правил должны учитываться требования действующих регламентов, норм и правил техники безопасности, пожарной безопасности и промышленной санитарии.
СП 00-000-2009
5. ОБЩИЕ ТРЕБОВАНИЯ К ТЕХНОЛОГИЧЕСКИМ ПРОЦЕССАМ И ОБОРУДОВАНИЮ[7].
5.1. При разработке проектной документации необходимо руководствоваться основными технологическими документами: исходными данными на проектирование лабораторными, технологическими и техническими регламентами производства, устанавливающими технологические средства, нормы и нормативы для осуществления процесса производства продукции, выполнения исследовательских работ и пребывания людей.
5.2. Технологические процессы, условия выполнения работ и пребывания людей должны обеспечивать выпуск качественного готового продукта и охрану здоровья людей согласно рекомендациям ГОСТ, ОСТ, СП, ВОЗ и GMP.
Режимы технологических процессов и условия выполнения работ должны обеспечивать:
- по возможности, непрерывность технологического процесса или операций;
- согласованность, безопасность и безаварийность работы всего инженерного
и технологического оборудования;
- очистку удаляемого воздуха для защиты окружающей среды от
загрязнений;
- трёх ступенчатую очистку приточного воздуха в вентиляционных
фильтрах класса очистки G (3,4); F (5, 6, 7); H (11, 13, 14);
[ГОСТ Р ИСО 51251 –99 ] соответственно, согласно требованиям
технического регламента:
- исключение контактов работающего, обслуживающего персонала и
пребывающих людей в ЧП с БАВ в процессе обслуживания оборудования,
при выполнении рабочих операций и пребывающих в них людей ;
- возможность обработки помещений, оборудования, инженерных систем,
одежды и СИЗОД (СП, п. 3.30а) в зависимости от БАВ;
5.3. Расположение технологического оборудования должно обеспечивать безопасность, удобство его обслуживания и ремонта, а также возможность его обработки дезинфицирующими растворами и отвечать требованиям пожарной безопасности.
5.4. Технологическое оборудование должно:
- соответствовать санитарно-гигиеническим требованиям;
- иметь гигиенический сертификат соответствия, т.е. возможность его
использования в асептическом (чистом) помещении данного класса
чистоты;
- быть легко стерилизуемым;
- обеспечивать возможность обработки поверхностей моющим и
дезинфицирующим растворами.
5.5. Технологическое оборудование, коммуникации и арматура для обеспечения безопасности и чистоты процессов должны быть герметичными.
Отборы проб из оборудования должны производиться в асептических условиях и исключать выделение продукта в воздух производственных помещений.
5.6. При невозможности герметизации отдельных операций или процессов, они должны, как правило, проводиться в боксах, камерах, или изолированных помещениях, оборудованных местными укрытиями, передаточными шлюзами и другими устройствами.
5.7. Технологические процессы работы с БАВ должны проводиться в отдельных помещениях, как правило, объединенных в функциональные технологические блоки.
5.8. Давление в корпусныхинженерных системах охлаждения должно быть на 0,5 Па меньше давления в объектовых сетях.
5.9. Холодильные агрегаты, обеспечивающие поддержание температуры в технологическом оборудовании, холодильных и термостатных камерах технологических блоков группы ГII, должны размещаться в помещениях группы ГI, как правило, вблизи от потребителей холода.
5.10. Мониторинговый контроль и управление технологическими процессами должны осуществляться, как правило, из операционных КИП и А. Контроль наиболее ответственных технологических параметров следует дублировать по месту.
Операторные КИП и А не должны располагаться в помещениях группы ГII.
Приборы КИП и А, арматура и уплотнительные материалы, устанавливаемые на технологических трубопроводах, должны выдерживать обработку паром и дезинфицирующими. растворами.
5.11. Воздух, удаляемый из помещений и технологического оборудования, подлежит очистке перед выбросом в атмосферу в высоко эффективных фильтрах или другими устройствами, обеспечивающими концентрацию микроорганизмов в атмосферном воздухе населенных мест не выше установленных предельно допустимых концентраций [20].
5.12. Производственные сточные воды перед сбросом в наружные сети канализации подвергаются термической обработке, согласно разделу 9.5. настоящего СП.
5.13. К технологическим трубопроводам относятся трубопроводы, предназначенные для транспортирования исходных, промежуточных, конечных продуктов и образующихся отходов, а также трубопроводы сжатого воздуха, кислорода, пара, конденсата от обработки внутренних поверхностей оборудования и трубопроводов, местные и вакуумные «воздушки», используемые в технологическом процессе.
5.14. Проектирование технологических трубопроводов должно выполняться в соответствии с СН 527-80, и требованиями настоящего СП.
5.15. Технологические трубопроводы должны прокладываться открыто на расстоянии не менее 100 мм от «чистой» поверхности строительных конструкций оборудования.
5.16. Технологические трубопроводы, используемые в технологических процесса с БАВ (от оборудования, расположенного в помещениях группы ГII и в помещениях классов чистоты А, В, С), должны выполняться из нержавеющей стали, как правило на сварке, с учетом требования прочности и коррозионной стойкости к рабочим средам и применяемым дез.растворам и оснащаться сильфонной арматурой. В случае применения фланцевых соединений, фланцы должны выполняться по ГОСТ 12820-80.
5.17. Передача жидкостей по механическим трубопроводам из помещений группы ГI в помещения ГII производится через не опорожняемые гидравлические затворы, а сжатого воздуха и газовых фракций – через высоко эффективные фильтры, при необходимости, оборудованные системами осушки воздуха (газовой фракции), располагаемые в помещениях группы ГII.
5.18. Горячие поверхности аппаратов и трубопроводов с фасонными частями, в том числе периодически пропариваемые, подлежат обязательной герметичной теплоизоляции, выдерживающую многократное воздействие дез. растворами, т.е. слабо концентрированными кислотами и щелочами.
Материалы термоизоляции должны быть механически прочными.
СП 00-000-2009
6. ГЕНЕРАЛЬНЫЙ ПЛАН[7].
6.1. Генеральный план объектов, зданий и сооружений следует проектировать в соответствии с СанПиН 2.2.1/2.1.1.1031-01
и требованиями настоящего СП.
6.2. Предприятия и объекты следует размещать с подветренной стороны с учетом преобладающего направления ветров по отношению к жилой застройке и с наветренной стороны по отношению к соседним предприятиям с источниками загрязнения атмосферного воздуха.
6.3. При размещении объектов предприятий, зданий и сооружений следует обращать особое внимание на расчетный уровень грунтовых вод с тем, чтобы отметка полов подвальных, или иных заглубленных помещений была выше максимального расчетного уровня грунтовых вод не менее, чем на 0,5 м с учетом возможности подъема уровня грунтовых вод во время эксплуатации объекта.
6.4. Для объектов, их отдельных зданий и сооружений с технологическими процессами, являющимися источниками воздействия на среду обитания человека, в зависимости от мощности, условий эксплуатации, характера и количества, выделяемых в окружающую среду токсических и пахучих веществ. А также создаваемого шума, вибрации и других вредных физических факторов.
С учётом предусматриваемых мер по уменьшению неблагоприятного влияния указанных факторов на среду обитания и здоровья человека при обеспечении соблюдения требований гигиенических нормативов и в соответствии с санитарной классификацией предприятий, производств должны устанавливаться следующие минимальные размеры санитарно-защитных зон (далее по тексту СЗЗ) [18].
Класс Ι – санитарно- защитная зона 1000 м.
Объекты и предприятия первого класса опасности:
1. Производство синтетических химико-фармацевтических и
лекарственных препаратов.
2. Предприятия, использующие в производстве микроорганизмы 1 – 2
группы патогенности.
Класс ΙΙ – санитарно- защитная зона 500 м.
Объекты и предприятия второго класса опасности:
1. Производство антибиотиков;
2. Производство ферментов различного назначения с поверхностным
способом культивирования.
Класс ΙΙΙ – санитарно- защитная зона 300 м.
Объекты и предприятия третьего класса опасности:
1. Производство пищевых дрожжей.
2. Производство биопрепаратов (трихограмм и др.) для защиты
сельскохозяйственных растений.
3. Производство средств защиты растений методом
микробиологического синтеза.
4. НИИ, предприятия микробиологического профиля.
5. Производство вакцин и сывороток
Класс ΙV – санитарно- защитная зона 100 м.
Объекты и предприятия четвёртого класса опасности:
1. Производство ферментов различного назначения с глубинным
способом культивирования.
Класс V – санитарно- защитная зона 50 м.
Объекты и предприятия пятого класса опасности:
1. Производство готовых лекарственных форм (без изготовления
составляющих).
2. Питомники для разведения и содержания животных (СЗЗ от 20м. до
150м.) (СанПиН 2.2.1/2.1.1.1031-01, Таблицы 4.3.1
6.4.1. При размещении больничных и родовспомогательных учреждений в селитебной зоне населённого пункта лечебные и палатные корпуса необходимо размещать не ближе 30 м от красной линии застройки и 30 – 50 метров от жилых зданий в зависимости от этажности зданий лечебно-профилактических учреждений [23].
6.5. Размещение зданий, сооружений и объектов на генеральных планах следует выполнять с учетом обеспечения сквозного проветривания площадок предприятий.
6.6. Корпуса ферментации следует размещать на площадках предприятий с наветренной стороны по отношению к соседним производственным корпусам.
6.7. Виварии, инсектарии и лабораторные корпуса в составе предприятий надлежит располагать по периферии площадок этих предприятий с наветренной стороны по отношению к соседним производственным корпусам.
6.8. На площадках предприятий следует предусматривать сплошную вертикальную планировку, обеспечивающую надёжный отвод поверхностных стоков в дождевую канализацию и исключающую возможность скопления на территории продуктов производства.
СП 00-000-2009
7. ОБЪЕМНО-ПЛАНИРОВОЧНЫЕ И КОНСТРУКТИВНЫЕ
РЕШЕНИЯ ОБЪЕКТОВЫХ ЗДАНИЙ [7].
7.1. Объектовые здания, сооружения и помещения следует проектировать в соответствии с существующими требованиями и указаниями настоящего СП.
7.2. Здания и сооружения независимо от категории по взрывопожарной и пожарной опасности следует проектировать не ниже II степени огнестойкости.
7.3. Объемно-планировочные решения зданий и сооружений должны обеспечивать:
- поточность процесса с кратчайшими расстояниями между технологически связанными помещениями;
- исключение пересечения людских и технологических потоков;
- максимальную группировку помещений с одинаковой степенью вредности (чистоты);
- полное соблюдение условий санитарно-гигиенического режима при входе и выходе персонала;
- соблюдение норм и правил взрывопожарной опасности.
7.4. Объектовые помещения должны объединяться в функциональные технологические блоки со своими санитарно-бытовыми помещениями и, как правило, с автономными системами инженерного обеспечения.
Помещения более высокого класса чистоты, как правило, необходимо располагать внутри помещений более низкого класса.
7.5. Не допускается примыкание помещений группы ГII, класса чистоты А, В, С и D к наружным ограждающим строительным конструкциям.
Для помещений группы ГI, класса чистоты С и D, допускается примыкание их к наружным ограждающим строительным конструкциям, при условии выполнения требований по воздуха проницаемости указанных наружных ограждающих строительных конструкций не более
G тр
= 0,23 кг/ м2
ч [7].
При давлении воздуха внутри асептического помещения
при ΔР = 50 Па.
7.6. Помещения группы ГII в сочетании с любым классом чистоты, кроме помещений обработки стоков, располагать в подвале или в цокольном этаже не допускается.
7.7. В зданиях для горизонтальной прокладки магистральных коммуникаций и размещения вытяжных вентиляционных фильтров, щитов и другого инженерного оборудования следует использовать преимущественно коридоры и технические этажи, а для прокладки вертикальных магистральных коммуникаций – шахты и ниши, к которым должен быть обеспечен удобный доступ со стороны коридоров.
7.8. Через помещения классов чистоты - А, В и С не должны проходить какие-либо инженерные коммуникации и воздуховоды.
7.9. В местах проемов, в перегородках, отделяющих помещения группы ГII класса чистоты - А, В, С от других помещений, коридоров, лестничных клеток, следует предусматривать воздушные тамбуры (предбоксники) того же класса чистоты, что и помещения группы ГII и с аналогичными требованиями к их ограждающим строительным конструкциям.
7.10. Санитарно-бытовые помещения проектируются в соответствии
со СНиП 2.09.04-87 и требованиями настоящего СП.
7.11. Гардеробные помещения предусматриваются для хранения уличной (общий гардероб), домашней и переходной одежды; переходной и технологической (второй гардероб).
7.12. Производственные помещение гардероба переходной и технологической одежды (второй гардероб) разделяется на две половины – на «грязную» и «чистую».
7.12.1. Для помещений группы ГI границей между «грязной» и «чистой»
половиной во втором гардеробе служит «барьерная скамья».
7.12.2. Для помещений группы ГII границей между «грязной» и «чистой»
половиной во втором гардеробе служит «гигиенический душ».
7.13. Состав санитарно-бытовых помещений в зависимости от группы опасности и класса чистоты помещений приведен в Приложении 2. Окончательный состав санитарно - бытовых помещений определяется проектом по исходным данным регламента и Заданию на проектирование.
7.14. В санитарно-бытовых помещениях ГII при технологических блоках должны быть выделены места сбора использованной специальной одежды и средств индивидуальной защиты органов дыхания (СИЗОД), а также инвентаря и оборудования для уборки и обработки помещений.
7.15. В составе санитарно-бытовых производственных помещений при функциональных технологических блоках должны быть предусмотрены помещения для обезвреживания использованной специальной одежды и СИЗОД и помещения подготовки к работе и раздачи специальной одежды и СИЗОД. А также разработаны требования к оборудованию этих помещений с учетом санитарных правил по её обработке.
7.16. На предприятиях для стирки, химической чистке, ремонта и восстановления специальной одежды должно предусматриваться строительство прачечной. Состав и площади помещений прачечной определяются Заданием на проектирование.
7.17. Строительные элементы внутри помещений группы Г II и помещений группы Г I класса чистоты А, В и С должны образовывать гладкие поверхности без выступающих частей. Сопряжения должны иметь закругленную форму.
- галтель сопряжения стена – пол R= (50÷75 мм);
- галтель сопряжения стена – потолок R= (25÷50 мм).
7.18. Стены, потолки и полы помещений группы Г II и помещений группы
ГI класса чистоты А, В и С должны образовывать замкнутый герметизированный контур, включающий оконные и дверные проёмы передаточные устройства, коммуникационные вводы, воздухораспределительные устройства. Для обеспечения надежной герметизации стыков всех конструктивных элементов должны применяться упругие прокладки и строительные герметики, соответствующие условиям эксплуатации стыкуемых элементов конструкций.
Требуемую воздухопроницаемость ограждающих строительных конструкций следует принимать[7]:
7.18.а. Для помещений группы Г II класса чистоты С и D
и помещений группы Г I и класса чистоты С
G тр
= 0,23 кг/ м2
ч. [7], при давлении ΔР = 50 Па.
7.18.б. Для помещений группы Г II и класса чистоты А и В и помещений
группы Г I и класса чистоты А и В
G тр
= 0,13 кг/ м2
ч. [7], при давлении ΔР = 50 Па.
Результаты данных испытаний оформляются нормативными протоколами, подписанными представителями Заказчика и Подрядчика [9].
7.19. Материалы, применяемые к отделке помещений, должны отвечать требованиям беспыльности, быть легко моющимися, устойчивыми к воздействию дезинфицирующих растворов, солнечной радиации и УФО.
7.20. Объектовые здания не должны иметь аэрационных фонарей и шахт. Окна наружного освещения в помещениях группы Г II и помещений группы Г I класса чистоты А, В и С, как правило, должны быть двойными с глухим наружным переплетом.
7.21. Двери в объектовых помещениях группы Г II и помещений группы
Г I класса чистоты А, В и С должны быть самозакрывающимися с уплотненным притвором.
7.22. В помещениях группы Г II класса чистоты А, В, С и D и помещений группы Г I и класса чистоты А, В и С, как правило, предусматривается устройство остекленных световых проемов по контуру герметизации, образуя контролируемую зону[17] .
В случае устройства остекления световых проемов, выполняющих назначение контролируемых зон, применяются окна без подоконных досок с металлическими переплетами и двойным остеклением. Расчетная нагрузка на остекление должна приниматься не менее 1600 Па/м2
. Расстояние между окнами двух смежных помещений должно быть не менее 1000 мм [7], а расстояние между остекленным световым проёмом асептического помещения и остекленным световым проёмом контура герметизации контролируемой зоны не менее 500 мм.
7.23. В помещениях группы Г II класса чистоты А, В, С и D и помещений группы Г I и класса чистоты А, В и С, как правило, предусматривается устройство герметизированных подвесных потолков.
7.23.а. Расчетная нагрузка на герметизированные подвесные потолки
должна приниматься не менее 1600 Па/м2
.
7.23.б. Сопряжение герметизированного подвесного потолка с
внутренними стенами помещений группы Г II и группы Г I
выполняется радиусным.
Радиус галтели сопряжения - 25÷50 мм.*
7.24. Деформационные швы в конструкциях зданий должны располагаться вне помещений группы Г II и Г I.
7.25. Отделочные покрытия интерьеров производственных и санитарно-бытовых помещений должны отвечать требованиям п. 4.19 настоящей Инструкции и требованиям эстетики в соответствии со СНиП 2.09.02-85.
7.26. Устройство подпольных каналов в объектовых помещениях группы Г II класса чистоты А, В, С и группы Г I класса чистоты А и В не допускается.
7.27. Гидроизоляцию пола заводить на вертикальные поверхности стен (перегородок) на величину не менее 300мм.
7.28. Отделку внутренних поверхностей помещений, оборудования, коммуникаций следует выполнять в соответствии с требованиями п. 4.19.
7.29. Строительные ограждающие конструкции должны исключать возможность проникновения в здания грызунов.
СП 00-000- 2009
8. ОТОПЛЕНИЕ, ВЕНТИЛЯЦИЯ, КОНДИЦИОНИРОВАНИЕ [7].
СИСТЕМА ВОЗДУХОСНАБЖЕНИЯ СИЗОД[7].
8.1. Отопление, вентиляция и кондиционирование.
8.1.1. Отопление, вентиляцию и кондиционирование в объектовых зданиях следует проектировать в соответствии со СНиП 41-01-2003 и требованиям настоящего стандарта.
8.1.2. Метеорологические условия в помещениях принимаются в соответствии со СНиП 2.04.05-86 и могут быть уточнены технологическим регламентом и Заданием на проектирование.
Скорость воздушного потока в рабочей зоне во всех асептических и контролируемых помещениях не должны превышать велчинуу – 0,2 м/сек
Исключение составляют проходные тоннели, камеры, местные укрытия, воздушные шлюзы помещений класса чистоты D500)
группы ГI. Допустимая скорость воздушного потока, в которых, определяется расчётом или технологическим регламентом.
8.1.3. В объектовых помещений группы Г II класса чистоты А, В, С и помещений группы Г I класса чистоты А и В система отопления не предусматривается.
В объектовых помещениях группы ГI, класса чистоты С и D и
в помещениях группы ГII, класса чистоты D , примыкающих к наружным ограждениям, отопительные приборы следует принимать из гладких стальных труб без регулирующей арматуры.
Воздухосборники и отключающую арматуру следует устанавливать вне помещений группы ГII.
8.1.4. В объектовых зданиях прокладку трубопроводов системы отопления следует предусматривать только открытой.
8.1.5. В чистых помещениях вентиляция должна обеспечивать:
- допустимые метеорологические условия;
- равно распределённость воздушного потока:
- отсутствие застойных зон
- подачу воздуха необходимого уровня чистоты в обслуживаемую зону или
рабочую зону помещений;
- локализацию вредностей в здании и внутри технологических блоков;
- очистку выбросов от системы вытяжной вентиляции, содержащих
биологически активные и вредные вещества, в высоко эффективных
фильтрах;
- экономию энергетических ресурсов при условии обеспечения условий
безопасности для находящихся в них людей и защиту окружающей среды;
- нормативную скорость воздушного потока в рабочей зоне чистого
асептического помещения не более 0,2 м/сек. [6,23].
8.1.6. Для помещений группы Г II и классов чистоты А, В, С и D должны проектироваться самостоятельные приточные и вытяжные системы вентиляции с механическим побуждением для каждого технологического блока помещений. Рециркуляция воздуха в помещениях группы Г II не допускается.
8.1.7. В помещениях технологических блоков группы Г II необходимо поддерживать отрицательное давление по отношению к давлению соседнего помещения более низкого класса чистоты.
Перепады давления воздуха между помещениями с разными классами чистоты должны быть в пределах 10÷15 Па [8].
Контролируемые зоны находятся под нормативным разрежением
10÷15 Па относительно атмосферного давления. Воздух, удаляемый из помещений группы Г II и контролируемой зоны, очищается перед выбросом в атмосферу в высоко эффективных фильтрах, согласно расчёту ПДК.
8.1.8. При расчете воздушных балансов по помещениям и подборе вентиляционного оборудования необходимо учесть расход воздуха проницания в зоны герметизированного контура помещений группы Г II и группы Г I и принимать их согласно данным п. 4.18 настоящего СП.
8.1.9. Вентиляционные воздухообмены должны определяться:
Для помещений группы Г II класса чистоты D:
- при наличии тепловыделений – их условий ассимиляции;
- при наличии местных отсосов – по величине местного отсоса, но не менее времени, необходимого для восстановления нормативной чистоты помещения [6].
Т = 600/ К
Где:
Т – время деконтаминации (восстановления) (мин.);
К – кратность воздухообмена (час-1
).
Как правило, это время указывается в исходных данных лабораторного или производственного регламента в Задании на проектирование.
Для камер класса чистоты А – кратность воздухообмена определять, принимая скорость в рабочей зоне камеры 0,45 м.сек -1
± 10% [8].
Время восстановления нормативной чистоты асептического помещения зависит от многих факторов: от способа воздуха распределения приточного воздуха, от конфигурации помещения, от расположения в нём оборудования и.т.д.
Указанное время деконтаминации рассчитывается для каждого помещения отдельно, исходя из обоснованности его величины (СП Приложение З) [6].
8.1. 10. Как правило, подача приточного воздуха должна осуществляться:
- для помещений группы Г II класса чистоты D при наличии коридора – 10% в коридор и 90% - непосредственно в помещения, а при отсутствии коридора – весь объем воздуха в помещение.*
- для помещений группы Г II класса чистоты С – непосредственно в
помещения;
- для помещений ( боксов) классов чистоты А и В – подача равно распределённого ориентированно направленного потока (СП, п. 3.27.) по схеме «сверху вниз».
8.1.11. Приточный воздух систем вентиляции объектовых зданий, имеющих помещения групп Г I Г II всех классов чистоты, следует очищать в обеспыливающих фильтрах класса очистки G3÷ G4 (кроме масляных), устанавливаемых на входе в кондиционер или в приточную камеру и дополнительно для всех групп помещений по следующей схеме установки: - для помещений класса чистоты D - G3÷ G4; F5÷ F6; H9 ÷ H10,
соответственно;*
- для помещений класса чистоты С - G3÷ G4; F5÷ F6; H11 ÷ H12,
соответственно;*
- для помещений класса чистоты В - G3÷ G4; F6÷ F7; H13 ÷ H14,
соответственно;
- для помещений (камер, боксов) класса чистоты А - G3÷ G4; F6÷ F7;
H13 ÷ H14 соответственно;
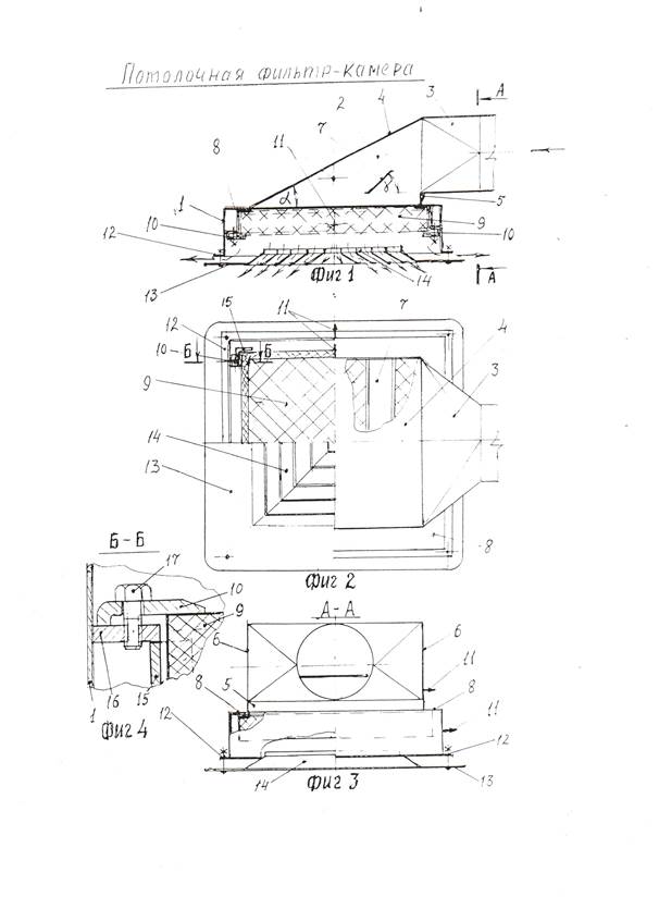
Все высоко эффективные фильтры, как правило, устанавливаются непосредственно в асептических помещениях, в камерах или в боксах.
В случае необходимости, допускается установка высоко эффективных фильтров и их фильтр – камер вне асептических помещений при условии выполнения корпуса фильтра (фильтр – камеры) и участка воздуховода от фильтра до полости чистого помещения в герметичном исполнении из нержавеющей стали. Указанный участок воздуховода и корпус фильтра (фильтр – камеры) подлежит испытанию давлением воздуха 2000 Па, при этом, потери воздуха не должны превышать величину 5,2 м3
/м2
х час.
[7, 9].
Удаляемый в атмосферу воздух из помещений группы Г II и классов чистоты А, В, С и D должен очищаться в высоко эффективных фильтрах согласно расчёту его ПДК.
8.1.12. Корпуса фильтрующих камер для высоко эффективных фильтров класса очистки H13 ÷ H14 рекомендуется выполнять из нержавеющей стали.
В обвязке фильтр - камер рекомендуется применять герметичные клапаны типа ГК, устанавливаемые на воздуховодах непосредственно перед и после фильтр - камер, для замены и обработки фильтр - камер.
8.1.13. Вентиляция санитарно-бытовых помещений проектируется в соответствии со СНиП 41-01-2003 и технологическим заданием.
Воздушные шлюзы санитарно-бытовых помещений должны обеспечиваться подачей чистого воздуха «сверху-вниз». Скорость воздуха в рабочем сечении шлюза допускается в пределах (0,3÷0,5) м.сек -1
. Чистота воздуха в воздушных шлюзах должна соответствовать классу чистоты В -
в оснащённом состоянии
(СП, п. 3.22.).
8.1.14. Для поддержания заданных перепадов давления между помещениями разных групп и классов чистоты на границе их герметизации следует устанавливать автоматические вентиляционные клапана - распределители избыточного давления, работающих в режиме обратных клапанов [19]. Их воздухопроницаемость не должна превышать величину 5.2 м3
/ м2
х час., при избыточном давлении на клапан Δ Ррасчёт.
= 2000 Па (СП, п. 8.1.17)
8.1.15. Управление работой всех вентиляционных систем следует предусматривать дистанционным, с центрального щита или пульта, устанавливаемого вне помещений группы Г II. На щите, или пульте необходимо
размещать мнемосхему с сигнализацией работы вентиляционных установок, приборы контроля перепадов давления между помещениями разных групп, положения тарелки герма- клапанов и др. Местные устройства для пуска вентиляционных установок должны располагаться у соответствующих агрегатов.
8.1.16. Для обеспечения ведения технологического процесса и создания требуемых метеорологических условий в воздухе рабочей зоны объектовых помещений, как правило, предусматривается кондиционирование воздуха.
Необходимость кондиционирования определяется в соответствии указаниями технологического регламента и исходным данным Задания на проектирование.
Центральные кондиционеры должны быть оснащены системой автоматического регулирования заданных параметров приточного воздуха
[Δ L м3
/ час; Δ t С0
; Δ P Па; Δ d гр /м3
].
8.1.17. В производственных зданиях воздуховоды вентиляционных систем и материалы для их изготовления, включая воздуховоды общеобменных систем в пределах помещений технологических блоков группы Г II, соединенных между собой по воздуху, должны выполняться согласно СНиП 41-01-2003 не ниже класса «П» (плотные) и уточняются исходными данными Задания на проектирование.
Воздуховоды от местных отсосов, участки воздуховодов в пределах фильтр- камер, транзитные воздуховоды систем вентиляции, обслуживающие помещения группы Г II всех классов чистоты, выполняются герметичными.
Герметичные воздуховоды, как правило, должны выполняться из нержавеющей стали на сварке с минимальным количеством фланцевых соединений. Фланцы к воздуховодам должны привариваться плотным сплошным швом.
Воздуха потери герметичных воздуховодов испытываются избыточным давлением воздуха 2000Па, допустимая потеря воздуха в испытуемом воздуховоде не должна превышать величину 5.2 м3
/ м2
х час. (СНиП 41-01-2003, таб. 1) [7, 9]. Определение потерь воздуха в герметичных воздуховодах вентиляционных систем, обслуживающих чистые асептические помещения и контролируемые зоны производится по методике СП (Приложение Г).
8.18. Устройство фланцевых соединений на участках герметичных воздуховодов, проходящих через помещения других групп и классов чистоты, не допускается.
8.19. Для предотвращения перетока воздуха между рабочими зонами группы помещений Г II при аварийном отключении обслуживающих их вентиляционных систем все воздуховоды, по которым может осуществиться указанный переток воздуха, оборудовать герметичными обратными клапанами.
Их воздухопроницаемость не должна превышать величину 5.2 м3
/ м2
х час., при избыточном давлении на клапан при опрокидывании работы вентиляционной системы Δ Ррасчёт
= 2000 Па [19].
8.2. Системы воздуха снабжения средств индивидуальной
защиты органов дыхания (СИЗОД[7].
8.2.1. В объектовых помещениях группы Г II всех классов чистоты в зависимости от характера проводимых работ, по технологическому заданию, может выполняться система воздуха снабжения шланговых СИЗОД .
8.2.2. Система воздуха снабжения СИЗОД должна обеспечивать непрерывную принудительную подачу нормируемого количества воздуха ко всем раздаточным постам.
8.2.3. Значение параметров воздуха, подаваемого в систему воздуха снабжения, должно соответствовать требованиям, установленным в нормативно-технической документации на конкретный тип СИЗОД.
8.2.4. Система воздуха снабжения СИЗОД должна быть обеспечена автоматическим регулированием температуры подаваемого воздуха, автоматическим регулированием и поддержанием избыточного давления, а также средствами сигнализации о работе системы.
СП 00-000-2009
9. ВНУТРЕННИЙ ВОДОПРОВОД, КАНАЛИЗАЦИЯ И
ВОДОСТОКИ, ОБРАБОТКА СТОЧНЫХ ВОД [7].
9.1. Проектирование систем внутреннего холодного и горячего водоснабжения, канализации и внутренних водостоков в объектовых зданиях следует выполнять в соответствии со СНиП 2.04.01-85 и требованиями настоящего СП.
9.2. Система внутреннего водопровода.
9.2.1. Систему внутреннего водопровода холодной и горячей воды в производственных зданиях следует принимать кольцевой для обеспечения непрерывной подачи воды. Кольцевая сеть здания должна быть присоединена к внутриплощадочной сети не менее чем двумя вводами.
9.2.2. В помещениях группы Г II и классов чистоты С и D системы холодного и горячего водопровода присоединяются к внутренним системам (Хозяйственно-питьевого, производственного, противопожарного) водоснабжения через баки разрыва струи, располагаемые на верхнем этаже в помещениях класса чистоты D.
Подача холодной и горячей воды в посещения класса А и В не предусматривается.
9.2.3. Системы холодного и горячего водопровода в помещениях группы Г II и классов чистоты С и D должны выполняться из стальных труб на сварке. При этом водопроводную арматуру следует устанавливать на резьбовых соединениях.*
9.3. Система внутренней канализации.
9.3.1.Системы канализации для помещений группы Г I и классов чистоты С и D проектируются в соответствии со СНиП 2.04.01-85.
9.3.3. Для сбора и последующей обработки бытовых и производственных сточных вод из помещений группы Г II и классов чистоты С и D система канализации проектируется исходя из следующих требований:
Система канализации должна быть герметичной, замкнутой, сообщающейся с воздухом через воздушные линии, снабженные высоко эффективными фильтрами с системой осушки удаляемого воздуха . Воздушные линии должны прокладываться с уклоном не менее 0,003 между стояками и в сторону приемной емкости без опусков.
Сброс сточных вод в систему канализации должен быть безнапорным. Непосредственное присоединение к самотечной сети оборудования, работающего под давлением или вакуумом, не допускается.
У каждого приемника сточных вод, присоединяемого к сети канализации, устанавливается гидравлический затвор. Конструкция гидравлического затвора не должна допускать его опорожнения при появлении давления или разряжения в канализационной сети.
Система канализации должна проектироваться так, чтобы исключить возможность её засорения. Отверстия в решетках трапов должны быть диаметром не более 8 мм. Отводы на сети за гидравлическими затворами должны выполняться радиусом не менее 3 диаметров. Соединение трубопроводов должно производиться под углом 450
. Соединение трубопроводов под углом более 450
запрещается. Отверстия прочисток и ревизий должны закрываться фланцевыми заглушками на прокладках из кислота щелочи стойкой резины.
Сети канализации должны проектироваться открыто, и выполняться на сварке из нержавеющей стали с учетом требования прочности к коррозионной стойкости к дез. растворам. Фасонные части, гидрозатворы, трапы, воронки и пр. также должны выполняться сварными из нержавеющей стали.
Трубопроводы сети канализации относятся к группе А категории 1 по
СН 527-80.
9.4. Внутренние водостоки.
9.4.1. Трубопроводы внутренних водостоков прокладываются через помещения группы Г I классов чистоты С и D.
9.4.2. Водоприемные воронки внутренних водостоков допускается размещать в покрытиях зданий над помещениями группы Г I и классов чистоты С и D.
9. 5. Обработка сточных вод.
9.5.1. Бытовые и производственные сточные воды из помещений группы Г II и классов чистоты С и D подлежат тепловой обработке перед сбросом в наружные сети канализации.
9.5.2. Высокотемпературные технологические стоки до поступления в сборные емкости должны охлаждаться до температуры не выше 800
С и вводиться в емкость под зеркало жидкости.
9.5.3. Термическая паровая обработка сточных вод должна осуществляться по циклическому или непрерывному принципу. Режимы тепловой обработки сточных вод выбираются в зависимости от термической устойчивости микроорганизмов-продуцентов и указываются в технологическом задании.
9.5.4. Сбор сточных вод при циклической обработке производится в емкостях. Совмещение в одной емкости приема сточных вод и процесса термической обработки не рекомендуется.
9.5.5. Сборные емкости должны быть рассчитаны на рабочее давление не менее 0,6 МПа (6 кгс/см2
). Количество устанавливаемых емкостей определяется расчетом или указывается в технологическом задании.
9.5.6. Сборные емкости должны сообщаться с воздухом через воздушные линии, снабженные высоко эффективными фильтрами тонкой очистки и оборудованные системой осушки проходящего через них воздуха.
9.5.7. Сточные воды после термической обработки перед сбросом в наружную сеть канализации подлежат охлаждению в теплообменнике до температуры не выше 400
С.
9.5.8. Контрольно-измерительные приборы и автоматика в системах обработки сточных вод должны обеспечивать:
- дистанционное (из помещений КИПиА) или автоматизированное управление работой системы;
- автоблокировку, предотвращающую выброс необработанных сточных вод в наружные сети канализации;
- световую, звуковую сигнализацию и регистрацию уровня сточных вод в сборных емкостных аппаратах при их наполнении;
- автоматическое поддержание и регистрацию давления пара, подаваемого в установки обработки сточных вод;
- автоматическое поддержание и регистрацию расхода сточных вод перед нагреванием, температура обработки и давления после выдерживателя при непрерывной обработке сточных вод;
- регистрацию температуры и экспозиции обработки при циклической обработке сточных вод.
На щите, или пульте КИП и А необходимо размещать мнемосхему с сигнализацией о работе оборудования и узлов системы обработки сточных вод.
СП 00-000-2009
10. ЭЛЕКТРОСНАБЖЕНИЕ, СИЛОВОЕ ЭЛЕКТРООБОРУДОВАНИЕИ ЭЛЕКТРООСВЕЩЕНИЕ [7].
10.1. Электроснабжение, силовое электрооборудование и электрическое освещение производственных зданий следует проектировать в соответствии со СНиП 3.05.06-85*, СНиП 23-05-95, «Правилами устройства электроустановок (ПУЭ)» и другими действующими нормативными документами, а также требованиями настоящего СП.
10.2. По степени обеспечения надежности электроснабжения электра приемники объектов и предприятий относятся к I категории по ПУЭ.
Присоединение объектов с помещениями группы Г II к сетям электроснабжения должно выполняться от трёх источников т.е.
от двух независимых источников электроснабжения и одного автономного (дизельная электростанция и.т.п.).
Присоединение объектов с помещениями группы Г I к сетям электроснабжения должно выполняться от двух независимых источников электроснабжения.
10.3. Выделение электра приемника особой группы I категории по ПУЭ производится в соответствии с заданием на проектирование.
10.4. Степень защиты электрооборудования принимается по ПУЭ зависимости от группы и класса чистоты помещений с учетом возможности обработки электрооборудования дезинфицирующими растворами по технологическому заданию. Установка УЗО во всех помещениях Г II и Г I обязательна.
10.5. Светильники аварийного освещения рекомендуется выделять из числа светильников рабочего освещения.
10.6. Нормируемая поверхность освещения при аварийном режиме работы должна составлять не менее 10% от уровня общего освещения при рабочем режиме.
10.7. Электротехническое оборудование должно устанавливаться в помещениях группы Г II на расстоянии не менее 100 мм от «чистой» поверхности строительных конструкций.
10.8. Вводы кабелей и проводов из помещений группы Г I в помещения Г II к электротехническому оборудованию должны выполняться через сальниковые устройства с последующей их герметизацией.
10.9. В помещениях группы Г II электрические сети, как правило, должны прокладываться открыто по металлическим конструкциям (сварные, или перфорированные лотки, профили и т.д.) однослойно, с расстоянием в свету между кабелями и проводами не менее 20 мм.
Допускается прокладка кабелей и проводов в обыкновенных водогазопроводных трубах (в полу или открыто) с герметизацией торцов труб и мест выхода концов труб из конструкции. Применение пластмассовых труб,
бронированных кабелей, многопроволочных тросов и многожильных гибких проводов (без оболочек) не допускается.
10.10. Установка электромонтажных конструкций (стоек, полок, лотков и т.д.) должна выполняться на расстоянии не менее 50 мм от «чистой» поверхности строительных конструкций и не менее 2 м от покрытия пола или площадок обслуживания.
10.11. Электросветильники и выключатели в помещениях Г II и Г I устанавливаются в пыле влага защищённом исполнении.
10.12. Выключатели освещения и УФО должны быть вынесены за пределы помещений группы Г II и Г I класса чистоты А, В и С.
СП 00-000-2009
11. ОБРАБОТКА ПОМЕЩЕНИЙ
11.1. В объектовых зданиях помещения группы Г I и классов чистоты А, В, С а также группы Г II всех классов чистоты подлежат гигиенической, текущей и заключительной обработке моющими дезинфицирующими растворами.
Периодичность обработки принимается в соответствии с технологическим регламентом и Заданием на проектирование.
Указанные помещения дополнительно подлежат обезвреживанию ультрафиолетовым излучением или мелкодисперсным аэрозолем 3÷6 % раствором перекиси водорода в зависимости от микроорганизмов, подлежащих обеззараживанию или группы агента-продуцента.
При гигиенической обработке производится протирка пола и поверхностей оборудования водой с добавлением раствора сульфанола.
При текущей и заключительной обработке производится мокрая уборка: протирка или обмыв пола, поверхностей стен помещений и оборудования растворами дезинфектантов и последующая за ней аэрозольная обработка воздушной среды помещения 3-6 % раствором перекиси водорода[18].
Мокрая уборка проводится при включённой вентиляции, обслуживающей данные помещения.
Аэрозольная обработка воздушной среды помещений проводится при выключённой вентиляции, обслуживающей данные помещения.
11.2. В качестве дезинфектанта используются, как правило, 3-6 % раствор
перекиси водорода, 1-3% раствор хлорамина и др.
Конкретно вид дезинфектанта должен указываться в Задании на проектирование, согласно исходным данным регламента.
11.3. Количество моющих и дезинфицирующих растворов принимается с учетом периодичности и способа обработки, а также удельных расходов.
Удельный расход моющих и дезинфицирующих растворов указан в
таблице 2.
Таблица 2
| Гигиеническая
обработка лм-2
|
Текущая
обработка
(обмыв)
лм-2
|
Заключительная
обработка
|
| Обмыв лм-2
|
Аэрозольная
обработка л/м2
|
| Удельный расход моющих и дезинфицирующих растворов
|
0,2 ÷ 0,5
|
0,2 ÷ 0,5
|
0,2 ÷ 0,5
|
0,1
|
11.4. Производственные корпуса оборудуются системой приготовления и раздачи моющих и дезинфицирующих растворов.
11.5. Объем емкостей для приготовления и хранения дезинфектантов выбирается из расчета обеспечения возможности проведения однократной заключительной обработки.
11.6. Все трубопроводы и емкости для приготовления, хранения и раздачи дезрастворов должны быть изготовлены из материалов, стойких к дезинфектантам.
11.7. При заключительной обработке помещений аэрозольная обработка воздуха растворами дезинфектанта должна производиться распылителями, или системой распылителей мелкодисперсного аэрозоля с дистанционным управлением. Выбор способа аэрозольной обработки определяется проектом.
11.8. Конструкция распылителей должна обеспечивать создание аэрозоля дезинфектантов с дисперсностью частиц не более 50 мкм, как правило, это достигается давлением очищенного сжатого воздуха, подаваемого к распылителям, в пределах 0,35÷0,5 МПа.
Аэрозольная обработка помещений проводится при отключённой вентиляции, обслуживающей данное помещение, и отсутствии людей в помещении.
Время и количество распыляемого дезинфицирующего раствора определяется
величиной влага содержания обрабатываемого воздуха помещения.
При достижении 100% относительной влажности обрабатываемого воздуха помещения, во избежание конденсации дезинфицирующего раствора на стенах и оборудовании, аэрозольная обработка помещения должна быть прекращена.
Экспозиция времени деконтаминации обработанного воздуха помещения - не менее двух часов, после чего включается вентиляция данного помещения.
Мокрую уборку помещения проводят через час после работы вентиляции.
11.9. Для обезвреживания воздуха в санитарно-бытовых помещениях, необходимо устанавливать бактерицидные облучатели стационарные или передвижные согласно исходным данным регламента и Задания на проектирование.
При необходимости, проводится аэрозольная дезобработка указанных помещений.
11.10. Обезвреживание ультрафиолетовым излучением может предусматриваться только в отсутствии людей в помещениях.
Бактерицидные облучатели должны устанавливаться на высоте не ниже 2 м от пола. Выключатели для УФО ламп следует размещать вне помещений и оборудовать сигнальной надписью «включено УФО».
СП 00-000-2009
12. ОХРАНА ОКРУЖАЮЩЕЙ СРЕДЫ И УТИЛИЗАЦИЯ
ОТХОДОВ
12.1. В соответствии с санитарной классификацией предприятий, производств, объектов и учреждений установлены минимальные размеры санитарно-защитных зон (СЗЗ) (СП п. 6.4.).
12.2. Все стоки и жидкие отходы из помещений групп Г II должны проходить
термическую обработку (СП п.п. 9.3.; 9.5.)
12.3. Твёрдые отходы из помещений групп Г II подлежат сжиганию в специально оборудованных мусоросжигательных печах.
12.4. Воздух, удаляемый из помещений групп Г II перед его выбросом в атмосферу должен пройти очистку в высоко эффективных фильтрах класса
Н10÷Н14 согласно расчёту ПДК.
Выброс очищенного воздуха осуществляется через насадки и оголовки факельного типа.
Выброс указанного воздуха через зонты и дефлекторы недопустим.
12.5 Воздух, направляемый в атмосферу через дыхательные линии из технологического оборудования, расположенного в помещениях группы
Г II, должен пройти очистку в фильтрах указанных в пункте СП 12.4., оборудованных системой осушки удаляемого технологического воздуха. Указанная система устанавливается на входе осушенного воздуха в фильтр
(СП, п. 12.4.). Система осушки удаляемого технологического воздуха должна обеспечить осушку воздуха по его влагосодержанию до величины
d ≤ 5гр/ кг удаляемого воздуха.
12.6. В асептических помещениях группы Г II и Г I и класса чистоты А, В и С
пересечение людских и материальных потоков не допускается.
12.7. Проектирование асептических объектов с помещений группы Г II класса чистоты А, В, С и D200)
необходимо выполнять исходя из основных требований:
- защита рабочей зоны асептических помещений группы Г II от воздействия на неё наружной окружающей среды;
СП 00-000-2009
13. ПРОТИВОПОЖАРНЫЕ ТРЕБОВАНИЯ [7].
13.1. Объектовые здания, сооружения и помещения в части противопожарных требований следует проектировать в соответствии со
СНиП 21-01-97 * «Пожарная безопасность зданий и сооружений»,
ППБ 01-03 «Правила пожарной безопасности в Российской Федерации»,
а также требованиям настоящего СП.
13.2. Объекты и здания помещений групп Г II Г I проектируются I или II степени огнестойкости в соответствии с требованиями СНиП 21-01-97 *.
13.3. Категория зданий, сооружений и помещений определяется в соответствии с НПБ 105-95 «Определение категорий помещений и зданий по взрыво пожарной и пожарной опасности».
Взрывоопасные помещения категории А и Б не должны входить в состав помещений группы Г II.
13.4. При разработке технологических процессов и оборудования должны применяться технические решения и предусматриваться мероприятия по предупреждению распространения возможных очагов загорания, герметизация оборудования, применение несгораемых защитных покрытий, заземление зданий и сооружений, стендовых установок электроаппаратов, устройство местных вентиляционных отсосов, локализация опасных работ в изолированных помещениях, применение автоматических средств пожаротушения и др.
13.5. Помещения хранения оперативного запаса химикатов и ЛВЖ не должны располагаться в помещениях группы Г II, в лабораторных помещениях запаса химикатов и ЛВЖ не должен превышать дневной (сменной) потребности.
13.6. На эвакуационных путях должны устанавливаться световые указатели и предусматриваться эвакуационное освещение от аварийного источника питания.
13.7. Для внутреннего пожаротушения в зданиях должны предусматриваться:
- в помещениях группы Г I – противопожарный водопровод, первичные средства пожаротушения;
- в помещениях группы Г II – огнетушители, передвижные или стационарные установки пожаротушения пенного, газового или порошкового типа, устройство противопожарного водопровода ЗАПРЕЩАЕТСЯ.
13.8. Помещения должны быть оборудованы автоматическими установками пожаротушения и пожарной сигнализации в соответствии с «Перечнем зданий и помещений предприятий и организаций медицинской и микробиологической промышленности , подлежащих оборудованию автоматической пожарной сигнализацией» и «Перечнем зданий и помещений предприятий медицинской и микробиологической промышленности , подлежащих оборудованию автоматическими средствами пожаротушения».
СП 00-000-2009
14. ИСПЫТАНИЯ ИНЖЕНЕРНЫХ СИСТЕМ И
ОГРАЖДАЮЩИХ СТРОИТЕЛЬНЫХ КОНСТРУКЦИЙ
ЧИСТЫХ ПОМЕЩЕНИЙ И КОНТРОЛИРУЕМЫХ
ЗОН
Определение потерь воздуха в воздуховодах вентиляционных
систем, испытания воздуха проницания ограждающих строительных конструкций, замеры производительности вентиляционных систем, контроль физических параметров вентиляционного воздуха, испытания эффективности работы высоко эффективных фильтров, контроль счётной концентрации аэрозольных частиц в воздушной среде чистого помещения, определение времени деконтаминации (самоочищения) чистого помещения - являются необходимыми техническими мероприятиями по валидации чистых помещений и контролируемых зон асептических объектов.
Результаты этих технических мероприятий и работ, выполненных в форме протоколов, паспортов и отчётов являются неотъемлемыми приложениями к валидационной документации указанных асептических и контролируемых помещений и зон.
14.1. Определение потерь воздуха в воздуховодах
вентиляционных систем, обслуживающих чистые
помещения и контролируемые зоны [9, 14].
14.1.1. Определение потерь воздуха в воздуховодах вентиляционных систем, обслуживающих чистые помещения и контролируемые зоны проводятся после окончания монтажа воздуховодов указанных вентиляционных систем, до окончания строительных работ в асептических и контролируемых помещениях и монтажа в них герметичных подвесных потолков.
14.1.2. Испытания указанных воздуха потерь проводят согласно методическим указаниям настоящего Свода правил (Приложение Г).
14.1.3. Результаты указанных испытаний оформляются протоколом на скрытые работы.
14.2. Испытание воздуха проницаемости
герметизированного контура ограждающих
строительных конструкций чистых
помещений и контролируемых зон [7, 14].
14.2.1 Испытание воздухопроницаемости герметизированного контура ограждающих строительных конструкций чистых помещений и контролируемых зон проводится после выполнений испытаний потерь воздуха в воздуховодах вентиляционных систем, обслуживающих помещения данного герметизированного контура ограждающих строительных конструкций. Указанные испытания проводятся по окончанию строительных работ (реконструкции, капитального ремонта) до монтажа в помещениях данного герметизированного контура и подвесных потолков.
14.2.2. Испытания указанных воздуха потерь проводят согласно методическим указаниям настоящего Свода правил (Приложение Г).
14.2.3. Результаты указанных испытаний оформляются протоколом на скрытые работы . .
14.3. Замеры производительности вентиляционных систем
и контроль физических параметров вентиляционного
воздуха в чистых помещениях, обслуживаемых
указанными системами [5,9].
14.3.1. Выполнить замеры производительности вентиляционных систем и
контроль физических параметров вентиляционного воздуха (температуры,
относительной влажности, объёмной скорости воздухообмена и
скорости воздушного потока в рабочей зоне, избыточного давления в чистых помещениях и разрежения в контролируемых зонах,
обслуживаемых данными вентиляционными системами.
После выполнения следующих технических мероприятий выполнить следующие работы:
- удалить пыль из воздуховодов и вентиляционного оборудования, с ограждающих строительных конструкций вентилируемых ими помещений;
- выполнить 7-и часовую холостую обкатку всего комплекса вентиляционного оборудования (с полным комплектом фильтров).
14.3.2. После выполнения выше указанных технических мероприятий приступить к следующему этапу испытаний.
- установить проектные воздухообмены и нормативное избыточное давление (разрежение) во всех обслуживаемых и контролируемых помещениях контура герметизации;
- измерить скорости воздушных потоков в рабочей зоне асептических помещений, в случае необходимости, приводят её в соответствие с нормативными требованиями (СП, п.п. 8.1.5; 8.1.15.);
- установить проектную температуру и относительную влажность воздуха в обслуживаемых асептических помещениях;
- замерить фактическую производительность и полное давление создаваемое вытяжной и приточной вентиляционной системой, обслуживающей блок асептических помещений данной зоны герметизации;
- замерить фактическое сопротивление всех фильтров трёх ступеней очистки подаваемого и удаляемого вентиляционного воздуха в асептические помещения;
- выполнить фактическую аксонометрическую схему вышеуказанных вентиляционных систем с указанием их фактических аэродинамических характеристик.
14.3.3. Результаты указанных пусконаладочных работ оформить техническим (валидационным) отчётом с приложением к нему паспортов на вентиляционные системы обслуживающие выше указанные асептические и контролируемые помещения [9] и свидетельства очередной поверки всех приборов, используемых для выполнения указанных работ.
14.4. Испытания эффективности работы высоко
эффективных фильтров (Н), установленных в
вентиляционных сетях приточных и вытяжных систем,
обслуживающих чистые помещения и
контролируемые зоны[6, 13].
14.4.1. Испытания эффективности работы высоко эффективных фильтров
(Н и U), установленных в вентиляционных сетях приточных и вытяжных системах, обслуживающих асептические и контролируемые помещения и зоны, провести после завершения пусконаладочных работ на указанных вентиляционных системах и помещениях (СП, п. 14.3.).
14.4.2. . Испытания эффективности работы высоко эффективных фильтров
(Н) провести согласно методике контроля настоящего СП
(Приложение Д.) [6, 13]. .
14.4.3. Результаты указанных испытаний оформить техническим отчётом.
К данному отчёту прилагается лицензия на право выполнения пусконаладочных работ по аттестации указанных вентиляционных систем и их фильтров и свидетельства очередной поверки всех приборов, используемых для выполнения указанных работ.
14.5. Контроль счётной концентрации аэрозольных
частиц в воздушной среде чистого помещения[6].
14.5.1. Контроль счётной концентрации аэрозольных частиц (0,3; 0,5 и 5,0 мкм) в воздушной среде асептического помещения выполняется после окончания работ по испытанию эффективности работы высоко эффективных фильтров (Н), обслуживающих указанное помещение (СП, п. 14.4.).
14.5.2. Контроль счётной концентрации аэрозольных частиц
(0,3; 0,5 и 5,0 мкм) в воздушной среде чистого помещения проводят согласно методике контроля настоящего СП (Приложение Д.) по нормативной исходной концентрации тестового аэрозоля [6, 13].
14.5.3. Результаты указанных испытаний оформляются техническим отчётом.
(СП, п. 14.4.3.)
14.6. Определение времени деконтаминации
(самоочищения) чистого помещения [6].
14.6.1. Выполнение работ по определению времени деконтаминации (самоочищения) чистого помещения проводятся после завершения всех испытаний и пусконаладочных работ (СП, 14.1.; 14.2.; 14.3.; 14.4.; 14.5.).
14.6.2. Работы по определению времени деконтаминации (самоочищения) чистого помещения выполняются согласно методике контроля настоящего СП (Приложение Д) и нормативной документации [6].
14..3. Результаты указанных испытаний оформляются протоколом и прилагаются к валидационной документации данного чистого помещения.
15. ПЕРЕОДИЧНОСТЬ
очередных испытаний воздушной
среды чистых помещений, их вентиляционных систем
и высокоэффективных фильтров в период
гарантийного срока эксплуатации
асептического объекта [23].
15.1 Сроки и периодичность очередных испытаний воздушной среды чистых помещений, их вентиляционных систем и высокоэффективных фильтров в период гарантийного срока эксплуатации согласно указаниям
СанПиН 5179-90 следует планировать.
15.1.1. Для помещений группы Г II и Г I класса чистоты А и В:
- вентиляционные системы, обслуживающие
рабочую чистую зону, воздушные шлюзы - ежеквартально;
- высоко эффективные фильтры - ежеквартально;
- воздушные камеры, ламинарные шкафы, боксы - ежеквартально;
151.2. Для помещений группы Г II и Г I класса чистоты С и D:
- вентиляционные системы, обслуживающие рабочую
чистую зону, воздушные шлюзы, тамбуры - один раз в полгода;
- высоко эффективные фильтры - один раз в полгода.
15.3. Для вспомогательных помещений:
- вентиляционные системы общеобменные - один раз в год.
15. 2. Испытание герметизированного контура ограждающих строительных конструкций чистых помещений проводятся:
- законченных строительством ЧП;
- после капитального и текущего ремонта чистых помещений;
- после реконструкции и переоборудования чистых помещений;
- при увеличении нормативного дисбаланса между приточным и удаляемым вентиляционным воздухом в герметизированном контуре ограждающих строительных конструкций чистых помещений более чем на 20% при обеспечении нормативного избыточного давления (разрежения) в указанных помещениях [7,9].
СП 00-000-2009
Приложение А
Термины и определения
3.1 асептическое помещение:
Помещение с нормированным содержанием в его воздушной среде аэрозольных механических частиц и микроорганизмов [7].
3.2 БАВ:
Биологические активные вещества, полученные с использованием генно-инженерных штаммов и культур клеток [7].
3.3. валидация:
Документированное подтверждение соответствия оборудования, условий производства, технологического процесса, качества продукта и готового продукта действующим регламентам и/или требованиям нормативной документации [8].
3.4 воздухопроницаемость ограждающих строительных конструкций:
Нормативная воздухопроницаемость ограждающих строительных конструкций чистых помещений при испытании их нормативным избыточным давлением воздуха 50 Па [7].
3.5 второй гардероб:
Помещение, в котором персонал может надеть или снять одежду для чистого помещения. Вход в эти помещения лишь в чистой переходной одежде и сменной обуви [8].
3.6 воздушный шлюз
: Замкнутое помещение с двумя или более дверями, расположенное между двумя или более помещениями различных классов чистоты и служащие для предотвращения проникновения механических частиц или жизнеспособных микроорганизмов в соседние помещения. Воздушный шлюз служит для перехода персонала или перемещения материалов [8].
3.7 ввод в эксплуатацию:
Действия по подготовке и переводу в эксплуатацию чистого помещения со всеми подсистемами, включая комплект документации, наличие обученного персонала, вспомогательных служб и пр. [1].
3.8 время деконтаминации:
Время восстановления счётной концентрации частиц в чистом помещении, в течение которого искусственно созданная в пределах допустимых значений нормативная концентрация аэрозольных частиц размером ≥ 0,5 мкм уменьшается в 1000 раз [6].
3.9 гардероб домашней и переходной одежды
: Помещение, в котором персонал снимает домашнюю одежду и надевает чистую переходную одежду и сменную обувь [8].
3.10 дисбаланс:
Разность расходов воздуха подаваемого в чистое помещение (зону) и удаляемого из него системами вентиляции с искусственным побуждением при этом, обеспечивая нормативные перепады давления в обслуживающих ими помещениях. Дисбаланс не должен превышать допустимую нормативную величину ± 10% [9].
3.11 загрязнение:
Любое вещество (частицы, молекулярные и биологические структуры), которое может неблагоприятно влиять на продукт или процесс [6,8].
3.12 застойная зона
: невентилируемая часть помещения (зоны), то есть невентилируемое пространство, в котором накапливаются загрязнения. (механические частицы и микроорганизмы) [9].
3.13 исходная
концентрация аэрозольных частиц
: Средне статическое количество отдельных аэрозольных частиц определённого размера в единице объёма воздуха, содержащихся в замкнутом пространстве перед испытуемыми фильтрами или приборами [6].
3.14 класс чистоты помещения:
Статус «чистой» зоны или «чистого» помещения, устанавливающий пределы содержания механических частиц определённого размера и/или жизнеспособных микроорганизмов в
1 м3
воздуха[6,8].
3.15 контролируемая зона:
Зона, построенная и эксплуатируемая таким образом, чтобы предотвратить внесение возможного загрязнения и случайное распространение жизнеспособных микроорганизмов (например, может иметь систему воздуха подготовки, соответствующей зоне D). Степень контроля зависит от свойств микроорганизмов, используемых в технологическом процессе. Как минимум такая зона должна иметь отрицательное давление по отношению к смежным помещениям и возможность эффективно удалять незначительные количества аэрозольных загрязнений [17].
3.16 колониеобразующая единица (КОЕ):
Число живых микроорганизмов, определяемое по проросшим единичным колониям на плотных питательных средах, содержащееся в определяемых объёмах исследуемых проб воздуха
[6, 10].
3.17 корреляционное уравнение Г.Л. Мотиной и Л.К. Батовой
Корреляционное уравнение о соотношении механических частиц размером
0,5 мкм и более и микроорганизмов того же размера (Y= 0,0003X-2,6) [2].
3.18 коэффициент проскока
(проницаемость):
Характеристика фильтра, равная процентному отношению концентрации аэрозольных частиц после фильтра к исходной концентрации аэрозольных частиц определённого размера до фильтра при прохождении через него нормативного, воздушного потока [6].
3.19 ламинарный поток -
поток воздуха с параллельно направленными струями (линиями тока), проходящими в одном направлении с одинаковой в поперечном сечении скоростью (Vвозд. поток
=0,45 м/сек±20%) [8].
3.20 однонаправленный поток воздуха:
поток воздуха,
проходящий в одном направлении, не имеющий в своём составе противотока [6].
3.21 не однонаправленный поток воздуха:
поток воздуха, который не соответствует определению однонаправленного потока [6].
3.22 оснащённое чистое помещение:
Состояние чистого помещения, в котором все инженерные системы помещения находятся в рабочем состоянии и обеспечивают нормативные режимы (температуру, относительную влажность, избыточное воздуха и.т.д.), технологическое оборудование установлено и работоспособно, однако персонал в рабочей зоне отсутствует [6,8].
3.23 передаточный шлюз:
Замкнутая барьерная камера с двумя дверями, расположенных между двумя помещениями различных классов чистоты
Передаточный шлюз служит для передачи через него в соседнее помещение материалов, оснастки, биксов, контейнеров и.т.д. Основная его цель - предотвращение проникновения механических частиц и микроорганизмов в чистое помещение при передаче в него материалов и изделий из соседнего помещения. При необходимости, передаточный шлюз может быть оборудован аэрозольным, ультрафиолетовым и.т.п. устройством для дезобработки выше указанных материалов и изделий [1].
3.23а Патогенные биологические агенты (ПБА):
патогенные для человека микроорганизмы (бактерии, вирусы, хламидии, риккетсии, простейшие, грибы, микоплазмы) генно-инженерно-модифицированные микроорганизмы, яды биологического происхождения (токсины), гельминты, а также материалы (включая кровь, другие биологические жидкости и экскреты организма) подозрительные на содержание перечисленных агентов [19].
3.24 приемка:
Последовательность плановых испытаний и регулировок, выполненных для ввода в эксплуатацию системы чистых помещений в соответствии с заданными требованиями [6].
3.25 Помещения группы Г1:
помещения, в которых работа с БАВ не производится. [7].
3.26 Помещения группы Г2:
помещения, в которых проводится работа
с БАВ [7].
3.27 равно распределённый ориентированно направленный воздушный поток:
Воздушный поток, состоящий из комбинации настилающихся, веерных и вертикальных воздушных струй, результирующий эффект которых - обеспечение гарантированной направленности воздушного потока сверху вниз во всей полости рабочей зоны чистого помещения с целью обеспечения нормативной скорости воздушного потока в её рабочей зоне и ликвидации в ней застойных зон [14, 16].
3.28 рециркуляция воздуха:
Подмешивание воздуха помещения к наружному воздуху и подача этой смеси в данное помещение или другие помещения; рециркуляцией не является перемешивание воздуха в пределах одного помещения, в том числе сопровождаемое нагревом (охлаждением) отопительными агрегатами (приборами) [1]
З.29 рабочая зона:
Пространство над уровнем пола или рабочей площадки высотой 2 м при выполнении работы стоя или 1.5 м – при выполнении работы, сидя в чистом помещении [1].
3.30 счётная концентрация частиц
: Средне статическое количество отдельных аэрозольных частиц определённого размера, содержащихся в единице объёма воздуха [6].
3.30а СИЗОД:
Средства индивидуальной защиты органов дыхания [7].
3.31 уровень действия:
Установленный критический уровень содержания микроорганизмов или механических частиц, требующий немедленного вмешательства и корректирующих действий, если он превышен [10].
3.32 уровень тревоги:
Установленный до критический уровень содержания микроорганизмов или механических частиц, дающий раннее предупреждение о возможном отступлений от нормальных условий. т.е. не требующий немедленного вмешательства и исправляющих действий, но который является поводом для проведения дополнительных контролей. [10].
3.33 фоновая концентрация частиц:
Средне статическое количество отдельных аэрозольных частиц определённого размера, содержащихся в наружном атмосферном воздухе. В зависимости от периода года оно может колебаться в пределах от 106
до 103
частиц (0,5- 5. мкм)
/ м3
воздуха. [1]. стерилен [6].
3.34 функционирующее чистое помещение:
Состояние чистого помещения, в котором все инженерные системы помещения и технологическое оборудование находятся в рабочем состоянии в режимах, соответствующих требованиям регламента, а так же в присутствии необходимого количества персонала, выполняющие свои производственные функции [6, 8].
3.35 частица :
Твёрдый, жидкий или многофазный объект, в то числе микроорганизм с размером от 0,005 до 100 мкм., взвешенные в воздухе частицы – аэрозоли. Размер частицы - максимальный линейный размер частицы в плоскости наблюдения оптического (электронного) микроскопа или эквивалентный диаметр частицы, определённый средствами измерения [6].
3.36 «чистая» камера
: Установка, создающая однонаправленный (ламинарный) поток воздуха с нормируемым содержанием механических частиц определённого размера. Скорость указанного ламинарного, воздушного потока в «чистой» камере находится в пределах, 0,45 м/сек±20%[8].
3. 37 чистота:
Состояние продукта, поверхности, устройства, газа, жидкости при котором загрязнения не превышают установленный для них уровень [6].
3.38 чистое (асептическое) помещение
: Помещение с чистотой воздуха, нормируемого по содержанию механических частиц определённого размера и жизнеспособных микроорганизмов. Сконструированное и используемое таким образом, чтобы свести к минимуму проникновение, распространение, образование и сохранение механических частиц и микроорганизмов внутри этого помещения [6].
СП 00-000-2009
Приложение Б
Рекомендуемый перечень помещений по группам и классам
| №№
п/п
|
Название объекта
|
Группа помещений
|
Класс
чистоты
|
ПРИМЕЧАНИЕ
|
| 1
|
2
|
3
|
4
|
5
|
| 1. Производство биопрепаратов
[7]
|
| 1.1
|
Приготовление питательных сред из естественных и синтетических источников белка
|
ГΙ
|
D500)
|
Воздухопроницаемость ограждающих строительных конструкций не проверяется
|
| 1.2
|
То же из биомассы микроорганизмов
|
ГΙΙ
|
D200)
|
Воздухопроницаемость ограждающих строительных конструкций ≤ 0,23кг/м2
час
|
| 1. 3
|
Культивирование микроорганизмов-продуцентов(бактерий, грибов, вирусов, клеток тканей и др)
|
ГΙΙ
|
D200)
|
Воздухопроницаемость ограждающих строительных конструкций ≤ 0,23кг/м2
час
(при испытуемом давлении
ΔР=50 Па)
|
| 1. 4
|
Культивирование нормальных (неонкогенных) клеток тканей животных и растений в аппаратах объёмом до 1000 л
|
ГΙΙ
|
D200)
|
Воздухопроницаемость ограждающих строительных конструкций ≤ 0,23кг/м2
час
(при испытуемом давлении
ΔР=50 Па)
|
| 1.5
|
Фасовка стерильных продуктов, содержащих живые микроорганизмы
|
ГΙΙ
|
В
|
Воздухопроницаемость ограждающих строительных конструкций ≤ 0,13кг/м2
час
(при испытуемом давлении
ΔР=50 Па)
|
| 1.6
|
Розлив стерильных растворов, фасовка в открытом виде медицинских препаратов
|
ГΙ
|
А
|
Воздухопроницаемость ограждающих строительных конструкций ≤ 0,13кг/м2
час
(при испытуемом давлении
ΔР=50 Па)
|
| 2.
Производство медицинских лекарственных средств
[7]
|
| 2.1
|
Фасовка нестерильных лекарственные средств
|
ГΙ
|
D500)
|
Воздухопроницаемость ограждающих строительных конструкций не проверяется.
|
| 2.2
|
Фасовка стерильных лекарственные средств
|
ГΙ
|
А
|
Воздухопроницаемость ограждающих строительных конструкций ≤ 0,13кг/м2
час
|
| 2.3
|
Розлив стерильных лекарственных средств химиотерапии класса
|
ГΙ
|
А
|
Воздухопроницаемость ограждающих строительных конструкций ≤ 0,13кг/м2
час
|
| 2.4
|
Розлив стерильных лекарственных средств химиотерапии
|
ГΙΙ
|
А
|
Воздухопроницаемость ограждающих строительных конструкций ≤ 0,13кг/м2
час
|
| 3. Экспериментально-биологические клиники (виварии)
(РД-126-91)
|
| 3.1
|
Помещения содержания SPF (без микробных) животных
|
ГΙ
|
С
|
Класс чистоты «С»-оснащённое состояние рабочей зоны помещения
В/проницаемость≤0,23кг/м2
час
|
| 3.2
|
Помещения содержания конвенциональных животных
|
ГΙ
|
С
|
Класс чистоты «С»-оснащённое состояние рабочей зоны помещения
В/проницаемость≤0,23кг/м2
час
|
| 3.3
|
Помещения карантинного содержания животных
|
ГΙΙ
|
С
|
Класс чистоты «С»-оснащённое состояние рабочей зоны помещения
В/проницаемость≤0,23кг/м2
час
|
| 4. Лечебные учреждения
[23] (ГОСТ Р 52539-2006)
|
| 4.1
|
Реанимационные палаты
|
ГΙ
|
С
|
Класс чистоты «С»-оснащённое состояние рабочей зоны помещения
В/проницаемость≤0,23кг/м2
час
|
| 4.2
|
Палаты новорождённых
|
ГΙ
|
В
|
Класс чистоты «В» - оснащённое состояние помещ.
В/проницаемость≤0,13кг/м2
час
|
| 4.3
|
Операционный блок
|
ГΙ
|
В
|
Класс чистоты «В» - оснащённое состояние помещ.
В/проницаемость≤0,13кг/м2
час
|
| 4.4
|
Палаты ожоговых больных
|
ГΙ
|
В
|
В/проницаемость≤0,13кг/м2
час
|
| 4.5
|
Диагностическая лаборатория для материалов подозрительные на содержание ПБА
|
ГΙΙ
|
D500)
|
Воздухопроницаемость ограждающих строительных конструкций ≤ 0,23кг/м2
час
|
| 5. Инфекционные больницы
[23] (ГОСТ Р 52539-2006)
|
| 5.1
|
Палаты больных с открытой формой туберкулёза
|
ГΙΙ
|
С
|
Класс чистоты «С»-оснащённое состояние рабочей зоны помещения
В/проницаемость≤0,23кг/м2
час
|
| 5.2
|
Палаты больных с инфекцией дифтерии
|
ГΙΙ
|
С
|
Класс чистоты «С»-оснащённое состояние рабочей зоны помещения
В/проницаемость≤0,23кг/м2
час
|
| 5.3
|
Операционный блок для инфицировано больных 3-й группы патогенности
|
ГΙΙ
|
В
|
Класс чистоты «В» -оснащённое состояние помещ.
В/проницаемость≤0,13кг/м2
час
|
|
СП 00-000-2009
Приложение В
Рекомендуемый состав санитарно-бытовых помещений по
группам и классам [7]
| Группа и класс чистоты производственных помещений
|
Группа производственных процессов
|
Гардероб домашней и переходной одежды
|
Гардероб переходной и технологической одежды
(2-й гардероб)
|
Переходной воздушный шлюз
|
Переходной тамбур
|
Умывальное помещение
|
Душевое помещение
|
Туалет
|
Помещение для одевания СИЗОД
|
Помещение для обезвреживания использованной технологической одежды и СИЗОД
|
Гардероб верхней одежды
(общий)
|
Раздаточная чистой одежды
|
Хранения грязной одежды
|
| ГΙ; А*
|
ΙVб
|
+
|
+
|
+
|
-
|
-
|
-
|
-
|
-
|
-
|
+
|
-
|
-
|
| ГΙ; В
|
ΙVб
|
+
|
+
|
+
|
-
|
-
|
-
|
-
|
-
|
-
|
+
|
-
|
-
|
| ГΙ; С
|
ΙVа
|
+
|
+
|
+
|
+
|
+
|
-
|
-
|
-
|
-
|
+
|
-
|
-
|
| ГΙ; D
|
Ιб, ΙΙΙб
|
+
|
-
|
-
|
+
|
+
|
+
|
+**
|
-
|
-
|
+
|
+
|
+
|
| ГΙΙ;А*
|
ΙΙΙа, ΙΙΙб ΙVб
|
+
|
+
|
+
|
+
|
+
|
+***
|
-
|
+
|
+
|
+
|
+
|
+
|
| ГΙΙ; В
|
ΙΙΙа, ΙΙΙб ΙVб
|
+
|
+
|
+
|
+
|
+
|
+***
|
-
|
+
|
+
|
+
|
+
|
+
|
| ГΙΙ; С
|
ΙΙΙа, ΙΙΙб ΙVб
|
+
|
+
|
+
|
+
|
+
|
+***
|
-
|
+
|
+
|
+
|
+
|
+
|
| ГΙΙ; D
|
ΙΙΙа, ΙΙΙб
|
+
|
+
|
+
|
+
|
+
|
+***
|
+**
|
+
|
+
|
+
|
+
|
+
|
Примечания:
* Отмеченные сочетания групп и классов чистоты помещений относятся к
боксовым помещениям минимального объёма.
** Входы в туалеты должны предусматриваться из помещений гардеробов
домашней и переходной одежды.
*** Гигиенический душ с термической обработкой стоков
СП 00- 000- 2009
Приложение Г
Методика контроля герметичности ограждающих строительных конструкций асептического, контролируемого помещения и воздуховодов [12].

Методика контроля герметичности ограждающих конструкций и воздуховодов основана на принципе работы устройства для контроля герметичности ограждающей поверхности чистого (асептического) и контролируемого помещения и воздуховодов [12], заключающаяся в следующем:
- воздушный насос 3 подключается к испытуемой полости ЧП 2 через присоединительный патрубок 9;
- прибор контроля избыточного давления (разрежения) воздуха 4 подключается к испытуемой полости ЧП 2 через импульсную трубку 5;
- датчик прибора контроля скорости воздушного потока 7 устанавливается внутри присоединительного патрубка 9, согласно нормативным указаниям [1] и подключается к прибору контроля скорости воздушного потока 6 через импульсную трубку 10;
- включается воздушный насос 3 и с помощью регулятора скорости 8 контролируемого воздушного потока, устанавливаем производительность воздушного насоса 3, обеспечивающую нормативное избыточное давление (разрежение) воздуха внутри испытуемой полости чистого помещения 50 Па, контролируя его величину по прибору контроля избыточного давления (разрежения) 4;
- определяем величину скорости воздушного потока внутри присоединительного патрубка 9 ( м3
/ч) по прибору контроля скорости воздушного потока 6;
- рассчитываем удельную инфильтрацию воздуха через неплотности ограждающей поверхности ЧП 1 по следующей формуле [3]:
G инф
= ΣG общ
\ Σ S оп
≤ 0,13 ÷ 0, 23 кг / м2
. ч (G тр
) [3]
При Δ Рчп
= 50 Па.
Где:
G инф
– количество инфильтрации воздуха через неплотности одного м2
ограждающей поверхности ЧП 1.
ΣG общ
- общее количество воздуха подаваемого (удаляемого) в испытуемую полость ЧП 2 воздушным насосом 3 для поддержания в ней нормативного давления воздуха, кг/ч.
Σ S оп
- общая площадь ограждающей поверхности ЧП 1, м2
.
Δ Рчп
– нормативное избыточное давление (разрежение) воздуха в испытуемой
полости ЧП 2, Па [3].
Режим разрежения при испытании на герметичность ЧП применяется в основном до начала нормативных испытаний на герметичность ограждающей поверхности ЧП 1 и используется для определения мест натекания в испытуемую полость ЧП 2 наружного воздуха через неплотности ограждающей поверхности ЧП [5]..
Разрежение в испытуемой полости ЧП может достигать величины Δ Рmax
= 500 Па, исходя из нормативных условий расчета прочности ограждающей поверхности ЧП – 1000 кг/ м2
[3].
СП 00- 000- 2009
Приложение Д
Методика контроля аэрозольных параметров воздушной среды асептических (чистых) помещений и эффективности роботы фильтров [13]

Методика контроля воздушной среды и эффективности работы фильтров основана на принципе работы устройства для контроля аэрозольных параметров «чистого» помещения [13], заключающаяся в следующим.
Включаем в работу вентилятор 2 и подаём воздух в «чистое» помещение 12, предварительно очистив его в фильтрах грубой очистки 1 и в фильтре промежуточной очистки 3. Регулирующим устройством 11 устанавливаем объёмную нормативную скорость воздухообмена и величину избыточного давления в ЧП 12 [3, 6.]. Включаем в работу генератор ИТА 4 и по импульсному трубопроводу 9 подаём исходный тестовый аэрозоль к распылителям 6. Угловым пробоотборником (УПО) 10 через ПО 7 отбираем пробы ИТА [3.], уменьшив его конценцентрацию в разбавителе 8 [10.], по показаниям САЧ 5 и умножая его на коэффициент разбавления разбавителя 8, определяем величину концентрации ИТА. Нормативная концентрация ИТА находится в прямой зависимости от класса чистоты контролируемого ЧП и находится в пределах от 3,5 х 106
до 3,5 х 108
частиц 0,5мкм / м3
воздуха [3, 6.].
При обеспечении нормативного воздухообмена[3.], избыточного давления[6.], в контролируемом ЧП 12 и нормативной концентрации ИТА в ЦСВ 13 замеряем количественную величину содержания аэрозольных частиц на уровне рабочей зоны в воздухе ЧП 12 [3, 6.]. Замеры счётной концентрации аэрозольных частиц диаметром 0,3 – 5,0 мкм счётчиком аэрозольных частиц 5 [7.]. в точках рабочей зоны ЧП выполняем согласно нормативным требованиям [3.].
В случае превышения нормативного содержания аэрозольных частиц в воздухе рабочей зоны контролируемого ЧП 12 определяем места несанкционированного поступления аэрозоля через дефекты фильтрующей поверхности ФТО15 или через неплотности фланцевого соединения ФТО и системы его крепления 15/ 14.
Целостность фильтрующей поверхности ФТО 15 и герметичность фланцевого соединения ФТО и системы его крепления 15/14 проверяем при нормативной скорости воздухообмена в ЧП 12 и нормативной концентрации ИТА.
Целостность фильтрующей поверхности ФТО 15 проверяем, сканируя поверхность ФТО 15 угловым пробоотборником 10, располагая диффузорный раструб 16 на расстоянии от поверхности ФТО – 25мм, при скорости передвижения диффузорного раструба 16 углового пробоотборника 10 относительно поверхности ФТО 15 не более 5см/сек. Результаты сканирования поверхности ФТО 15 визуально наблюдаем по показаниям САЧ 5. При обнаружении течи (повышенная концентрация аэрозоля [3.]) дефект устраняем или заменяем ФТО 15.
Герметичность фланцевого соединения ФТО 15 и системы его крепления 15/14 контролируем угловым пробоотборником 10 по показаниям САЧ 5. При выполнения данных работ используем перепад избыточного давления между ЦСВ 13 (до ФТО) и ЧП 12 (после ФТО), то есть сопротивление ФТО нормативному воздушному потоку, находящееся в пределах 100 – 600 Па.
Максимально приближаем диффузорный раструб 16 углового пробоотборника 10 к фланцевому соединению ФТО и системе его крепления 15/14 со стороны ЧП 12 сканируем его поверхность по всему периметру, при скорости перемещения диффузорного раструба 16 углового пробоотборника 10 относительно поверхности фланцевого соединения ФТО 15/14 не более 5 см/сек.
Обнаруженные течи (повышенная концентрация аэрозоля [3.]) во фланцевом соединении ФТО и системе его крепления 15/14 устраняем.
После устранения всех дефектов фильтрующих поверхностей ФТО 15 и во фланцевых соединениях ФТО и системе его крепления 15/14 проводим повторный контроль параметров воздушной среды ЧП согласно нормативным требованиям ([3, 5, 6.])
Окончательные результаты контроля аэрозольных параметров воздушной среды ЧП 12 должны соответствовать нормативным требованиям [3, 5, 6]) и выражаются формулой:
Δ n РЗ ЧП
/ N ИТА
х 100% ≤ 0,9 ÷ 0,999% в зависимости от класса чистоты ЧП
Где:
NИТА
- концентрация исходного тестового аэрозоля в ЦСВ, а/частиц д0,5мм
в 1м3
воздуха( ≥ 3,5 х 107
);
Δ n РЗ ЧП
- содержание аэрозольных частиц в рабочей зоне ЧП, а/частиц д0,5мм
в 1м3
контролируемого воздуха.
СП 00- 000- 2009
Приложение Е
Рекомендуемый перечень*
минимального количества приборов, оснастки, оборудования и материалов для выполнения работ по контролю воздушной
среды чистых помещений и проверки эффективности
работы фильтров класса Н и U, установленных в
вентиляционных системах [4, 13]
1. Портативный счетчик аэрозолей SOLAJR 3100(Al),
(0,3 – 10 мкм) 1 шт.
2. Генератор аэрозолей АТМ 230 1 шт.
3. Разбавитель DIL 554 (1 : 100) 1 шт.
4. Зонд для сканирования HEPA – фильтр 1 шт.
5. Жидкость для распыления DENS
(диэтилгексилсебацинат) 1 л.
6. Угловой пробоотборник [13]. 1 шт.
7. Термоанемометр мод. 471 1 шт.
* Тип прибора или оборудования, указанного в перечне, при необходимости, может быть заменён на аналогичный. Замена может быть проведена при условии идентичности их характеристики
СП 00- 000- 2009
Приложение Ж
Техническое решение устройства
экспериментально-биологической клиники (ЭБК) [15].

Принцип работы ЭБК следующий. Вход и выход работающего и обслуживающего персонала в помещения забарьерной зоны ЭБК осуществляется через помещения разделительных санитарно- гигиенических барьеров, включающих в себя помещения
№№ 1; 2; 3; 4; 5; 6; 7; 18; 19; 20; 22; 23; 36; 37; 38.
       Проход персонала через помещения одного из входных санпропускников выполняется в следующей последовательности- 1 3 6 7 8, проход персонала через помещения другого входного санпропускника - 1 3 22 23 25.
Выход персонала из забарьерных зон осуществляется через выходные санпропускники и выполняется в следующей последовательности, через один из них
         17А 18 19 20 4 , через другой 35 36 37 38 4 3.
Последовательность выполнения персоналом операций по переодеванию переходной и технологической одежды следующая.
В «чистой» раздевалке персонал снимает переходную одежду, садится на разделительно барьерную скамью, снимает переходную обувь, перекидывает ноги на другую сторону скамьи, переобувается в технологическую обувь, после чего, переодевается в чистую технологическую одежду.
Все «чистые» помещения и коридоры забарьерной зоны находятся под избыточным давлением и нормативом воздухообменом чистого воздуха, а «грязные» помещения и коридоры находятся под разрежением, что обеспечивает надежность чистоты помещений содержания животных и защиту окружающей среды от возможных выбросов и поступления в неё неприятных запахов.
Движение работающего персонала и материалов внутри забарьерной зоны ЭБК строго однонаправленное – из «чистых» помещений - в «грязные». Противоток не допускается.
Грязная технологическая одежда стирается в прачечной 43 и проходит стерилизацию в автоклаве 58.
Передаваемый в помещения забарьерной зоны корм, подстилка, клетки, технологическая одежда и другие материалы из складских помещений 51 предбарьерной зоны, проходят стерилизующую термическую обработку в проходных автоклавах 58 и 59, после чего передаются в помещение 13 для временного хранения трехдневной запаса. Из помещения 13 стерильный корм и другие материалы, согласно графику, передаются в помещения содержания животных и карантина через «чистый» коридор 8. В аналогичные помещения соседней забарьерной зоны стерильный корм и материалы передаётся через межзональный передаточный шлюз 24 непосрдствено в «чистый» коридор 25.
Отходы, поступающие из забарьерной зоны, подлежат сжиганию в мусоросжигательных камерах, но до этого, они хранятся на складе временного хранения отходов 50.
Все поступающие из забарьерных зон клети очищаются от отходов в помещениях 31 или 41, откуда клетки поступают на мойку в помещение 42, а необработанные отходы из них передаются в помещение 45, где они подвергаются термической обработке в установке 61. Обработанные отходы из установки 61 передают в помещение склада 50 для временного их хранения. Термически обработанные трупы животных хранятся отдельно в холодильной камере 62, установленной помещении склада 50.
Животные, поступающие в ЭБК из питомников, принимаются в помещении 53.
В «чистые» помещения карантинного содержания 11 и 29, они поступают через помещения передачи животных 12 и 28.
СП 00- 000- 2009
Приложение З
Техническое решение устройства технологического блока асептических и контролируемых помещений [21]

Принцип работы технологического блока следующий. Наружный приточный воздух от системы кондиционирования 9 направляется по воздуховодам 13 к чистым помещениям 2, 3, 4, пройдя регулировку объемной скорости в дроссель – клапанах 10. Одна его часть, пройдя тонкую очистку и равномерное воздуха распределение в потолочной фильтр – камере 17, поступает в верхнюю часть рабочей зоны первичного чистого помещения 4, одновременно перемешиваясь с рециркуляционным воздухом, поступающим из рециркуляционного вентилятора 21, через ПФК.
Образовавшаяся смесь чистого вентиляционного воздуха равномерно перемещаясь сверху – вниз достигает уровня пола чистой рабочей зоны, откуда она удаляется через регулируемые воздухозаборные устройства 20 по треугольным полостям 19, угловых вытяжных панелей 18, а также через воздухозаборные устройства 20 вытяжной приколонной панели 24, рециркуляционным вентилятором 21, сообщающимся с ними через полость герметичной потолочной камеры 16. Затем смесь воздуха, из рециркуляционного вентилятора 21, пройдя обработку в доводчике 12, частично возвращается в первичное чистое помещение 4, где он смешивается с новой порцией наружного свежего воздуха. Оставшаяся смесь воздуха направляется вентилятором 21 в соседнее (вторичное) чистое помещение 25 через потолочную фильтр – камеру 17, из которой равномерным потоком она, пройдя сверху вниз полость рабочей чистой зоны, через воздухозаборные устройства 20 по вытяжным угловым 18 и колонновидным панелям 29 через герметичную потолочную камеру 16, удаляется вентилятором 7. Удаляемый технологический воздух, при необходимости, дополнительно очищается в фильтрах тонкой очистки 8.
Одна из следующих частей приточного воздуха от кондиционера 9 поступает в потолочную фильтр – камеру 17 чистого помещения воздушного шлюза 3, откуда равномерным потоком перемещается вниз к воздухозаборным устройствам 20, через которые, статическим давлением подаваемого в шлюз 3 приточного воздуха, перемещается по треугольных воздуховодам 19 угловых панелей 18 в герметичную потолочную камеру 16. Через клапан ВКР 11 приточный воздух из камеры 16
4
перемещается в полость тамбура 28, а из нее через другой клапан ВКР 11 поступает во вспомогательное помещение 5 для дальнейшего его использования в качестве приточного вентиляционного воздуха.
Третья часть приточного воздуха от кондиционера 9 поступает в потолочную
фильтр – камеру 17 чистого помещения подготовки персонала 2, проходит по всему его объему сверху вниз и через воздухозаборные устройства 20, по треугольным угловым воздуховодам 19 угловых панелей 18 перемещается статическим давлением приточного воздуха в герметичную полость потолочной камеры 16, из которой через клапан ВКР 11 приточный воздух поступает во вспомогательное помещение 5 для дальнейшего его использования в качестве приточного вентиляционного воздуха для помещений общего назначения.
СП 00- 000- 2009
Приложение И
Техническое решение по организации равно распределённого воздушного потока в асептических и контролируемых помещениях
«
Полочная фильтр-камера»[14]
Верно-настилающиеся воздушные струи чистого приточного воздуха потолочной фильтр – камеры обеспечили возможность формирования равномерно распределённого воздушного потока чистого воздуха в расчётной зоне действия указанных воздушных струй.
Кроме того, данное техническое решение позволило скомпенсировать аэродинамический удар в полости входного патрубка 2, свести к минимуму турбулентные завихрения и эжекционный эффект (разрежение) в полости входного патрубка 2 за его передней стенкой 5.
За счет указанных технических решений значительно снижено сопротивление воздушному потоку воздуха на участке перехода 3 и входного патрубка 2 потолочной фильтр- камеры.
Малая высота конструкции потолочной фильтр - камеры позволяют устанавливать ее в подвесных потолках при минимальной высоте полости между подвесным потолком и перекрытием основного потолка.
Сопротивление корпуса потолочной фильтр- камеры воздушному потоку при номинальной нагрузке в несколько раз ниже сопротивления отечественных и зарубежных аналогов.

СП 00-000-2009
Библиографические данные
[1]. Вильям Уайт «Технология чистых помещений. Основы проектирования, испытаний и эксплуатации». М. 2002г. .
[2]. Мотина Г.Л. к.т.н. ГНЦ антибиотиков, Батова Л.К. к.т.н. ВНИИ «Биохиммаш» «Биологические загрязнения воздушной среды чистого помещения и определение её величины по счётной концентрации аэрозольных механических частиц», г. Москва, журнал «Технология чистоты» № 1(2), стр. 9, 1993г.
[3]. И.Г. Староверов «Справочник проектировщика. Вентиляция и кондиционирование воздуха. Часть 2-я» М.1978г. п.п.
8.96; 8.97.
[4]. Морган Полен, вице-президент компании Linghthouse Worldwide Solutions (США) «Приборы контроля и системы мониторинга параметров чистых производственных помещений в полупроводниковой промышленности», о биологической контаминации воздушной среды чистого помещения…..» доклад на симпозиуме по проблемам ISO, г. Москва, 2008 г.
[5]. ГОСТ 12.3.018-79 «Системы вентиляции. Методы аэродинамических испытаний», раздел 2 и 3.
[6]. РДИ 42-505-00 «Инструкция. Порядок поведения контроля параметров воздушной среды в «чистых» помещениях и методы их измерений при производстве лекарственных средств», разделы 1÷ 9, г. Москва, 2000г.
[7]. ВСН 64-064- 88 «Инструкция по строительному проектированию предприятий медицинской и микробиологической промышленности»,
стр. 2÷31.
[8]. ОСТ 42-510- 98 «Правила организации производства и контроля лекарственных средств». Глава 2, 3, 4, п. 4.3.5.
[9]. СНиП 3.05.01-85 «Внутренние санитарно-технические системы» Глава 4- Испытания. Вентиляция и кондиционирование воздуха, Приложение А.
[10]. МУК 4.2734 99 «Микробиологический мониторинг производственной среды», раздел 3, М. 1999г.
[11]. ГОСТ Р 50766-95 «Помещения чистые. Классификация. Методы аттестации. Приложение А.
[12]. Патент РФ ПМ № 65985 «
Устройство для контроля герметичности ограждающей поверхности «чистого» (контролируемого) помещения».
Роспатент 2007г.
[13]. Патент РФ ПМ № 65986 «Устройство для контроля аэрозольных
параметров воздушной среды чистых помещений». Роспатент 2007г.
[14]. Патент ИЗ № 2335332 «Потолочная фильтр- камера». Роспатент 2007г.
[15]. Патент ИЗ № 2311891 «Экспериментально - биологическая клиника».
Роспатент 2006г
[16]. Патент ИЗ № 2336722 «Экспериментально – технологический бокс чистых
помещений». Роспатент 2008г.
[17]. ГОСТ Р 52249-2004 «Правила производства и контроля качества
лекарственных средств», стр.1÷107
[18]. СанПиН 1.2.731-99 «Безопасность работы с микроорганизмами ΙΙΙ – ΙV
групп патогенности и гельминтами».стр.2÷37
[19]. Патент ИЗ № 2059935 «Вентиляционный клапан – распределитель»
Роспатент 1992г.
[20]. Постановлением Правительства РФ от 19 ноября 2008 г. № 858 «О порядке
разработки и утверждения сводов правил», п.п. 3 и 4.
[21]. Патент ИЗ № 2303200 – «Технологический блок чистых помещений».
[22]. Патент ИЗ № 2017525 – «Изолированные чистые помещения гибкой
технологической системы».
|