| ГОУ ВПО «МОСКОВСКИЙ АРХИТЕКТУРНЫЙ ИНСТИТУТ
(ГОСУДАРСТВЕННАЯ АКАДЕМИЯ)»
Кафедра «АРХИТЕКТУРНАЯ ФИЗИКА»
Е. Г. Киселева
РАСЧЕТ ЗВУКОИЗОЛЯЦИИ
ОГРАЖДАЮЩИХ КОНСТРУКЦИЙ
ЖИЛЫХ И ОБЩЕСТВЕННЫХ ЗДАНИЙ
МЕТОДИЧЕСКИЕ УКАЗАНИЯ
по выполнению
курсовой расчетно-графической работы по
АРХИТЕКТУРНОЙ АКУСТИКЕ
для студентов вечернего факультета
специальность - архитектура
Москва, 2010
УДК - 534.2
Киселева Е.Г. Расчет звукоизоляции ограждающих конструкций жилых и общественных зданий / Методические указания по выполнению курсовой расчетно-графической работы по архитектурной акустике для студентов вечернего факультета, специальность – архитектура. М.:2010, 42с
Методические указания составлены на основе действующего документа – “Свода правил” СП23-103-2003 “Проектирование звукоизоляции ограждающих конструкций жилых и общественных зданий”, который является методическим дополнением к главе СНиП 23-03-2003 “Защита от шума”.
Указания предназначены для выполнения курсовых расчетно-графических работ по разделу “Архитектурная акустика” дисциплины “Архитектурная физика”. Они могут быть использованы также для выполнения соответствующего раздела дипломного архитектурного проекта бакалавра, специалиста или магистра архитектуры.
Методические указания рассмотрены и рекомендованы к изданию на заседании кафедры «Архитектурная физика» (протокол № 6 от 13.12.2010г.).
Под общей редакцией зав. кафедрой, доктора арх., проф. Щепеткова Николая Ивановича
ОГЛАВЛЕНИЕ
1. Общие рекомендации по проектированию перегородок и перекрытий…..3
2. Нормативные требования к звукоизоляции ограждающих конструк-
ций.....................................................................................................................11
3 Типы ограждающих конструкций…………………….……………………11
4 Последовательность выполнения расчета звукоизоляции ограждаю-
щих конструкций……………………………………………………………12
5 Методика определения нормируемых параметров звукоизоляции………12
5.1. Методика определения индекса изоляции воздушного шума ………12
5.3. Методика определения звукоизоляции наружных ограждений
, дБА……………………………………………….………………..14
6 Методика построения частотных характеристик изоляции воздуш-
ного шума ограждающих конструкций жилых зданий…………………...16
Забиваем Сайты В ТОП КУВАЛДОЙ - Уникальные возможности от SeoHammer
Каждая ссылка анализируется по трем пакетам оценки: SEO, Трафик и SMM.
SeoHammer делает продвижение сайта прозрачным и простым занятием.
Ссылки, вечные ссылки, статьи, упоминания, пресс-релизы - используйте по максимуму потенциал SeoHammer для продвижения вашего сайта.
Что умеет делать SeoHammer
— Продвижение в один клик, интеллектуальный подбор запросов, покупка самых лучших ссылок с высокой степенью качества у лучших бирж ссылок.
— Регулярная проверка качества ссылок по более чем 100 показателям и ежедневный пересчет показателей качества проекта.
— Все известные форматы ссылок: арендные ссылки, вечные ссылки, публикации (упоминания, мнения, отзывы, статьи, пресс-релизы).
— SeoHammer покажет, где рост или падение, а также запросы, на которые нужно обратить внимание.
SeoHammer еще предоставляет технологию Буст, она ускоряет продвижение в десятки раз,
а первые результаты появляются уже в течение первых 7 дней.
Зарегистрироваться и Начать продвижение
6.1. Методика построения частотных характеристик акустически одно-
родных ограждений………………………………………………………...16
6.2. Методика построения частотных характеристик однослойных тонких
ограждений………………………………………………………………….21
6.3. Методика построения частотных характеристик акустически неод-
нородных ограждений………………………………………………..…….24
6.3.1. Методика построения частотных характеристик изоляции воздуш-
ного шума ограждающей конструкцией, состоящей из двух тонких
листов с воздушным промежутком между ними при одинаковой
толщине листов (рис.8, б, в)……………………………………………...25
6.3.2. Методика построения частотных характеристик изоляции воздуш-
ного шума ограждающей конструкцией, состоящей из двух тонких
листов с воздушным промежутком между ними при различной
толщине листов…………………………………………………………...29
6.3.3. Методика построения частотных характеристик изоляции воздуш-
ного шума ограждающей конструкцией, состоящей из двух тонких
листов при заполненном воздушном промежутке пористым или
пористо-волокнистым материалом (рис 7, а)…………………………...30
6.4. Расчет изоляции воздушного шума междуэтажным перекрытием……...34
6.4.1. Расчет изоляции воздушного шума междуэтажным перекрытием с
полом на звукоизолирующем слое………………………………………34
6.4.2. Расчет изоляции воздушного шума междуэтажным перекрытием
без звукоизоляционного слоя с полом из рулонных материалов……...35
7. Расчет изоляции ударного шума междуэтажными перекрытиями……….36
Приложение……………………………………………………………………...38
Контрольные вопросы…………………………………………………………..47
Литература……………………………………………………………………….47
расчет
ЗВУКОИЗОЛЯЦИИ ОГРАЖДАЮЩИХ КОНСТРУКЦИЙ ЖИЛЫХ И ОБЩЕСТВЕННЫХ ЗДАНИЙ
1. Общие рекомендации по проектированию
перегородок и перекрытий.
1) Устройство и звукоизоляция внутренних перегородок
Индекс звукоизоляции воздушного шума у перегородок должен быть равным или больше нормативного значения.
Перегородки можно выполнять из самых разных материалов, однако необходимо учитывать, что при использовании кирпича, бетонных блоков и других тяжелых материалов нагрузка на перекрытия значительно возрастает, и их придется делать более мощными.
В настоящее время широкое распространение получили каркасные перегородки, отличающиеся малым весом, хорошей звукоизоляцией, быстротой и легкостью монтажа. Каркас изготавливается из металлических профилей или деревянных брусков и снаружи обшивается гипсокартоном или другим листовым материалом. Облицовка крепится самонарезными винтами (саморезами) или шурупами. Шаг стоек зависит от размера листов обшивки и обычно принимается равным 600 мм.
Сервис онлайн-записи на собственном Telegram-боте
Попробуйте сервис онлайн-записи VisitTime на основе вашего собственного Telegram-бота:
— Разгрузит мастера, специалиста или компанию;
— Позволит гибко управлять расписанием и загрузкой;
— Разошлет оповещения о новых услугах или акциях;
— Позволит принять оплату на карту/кошелек/счет;
— Позволит записываться на групповые и персональные посещения;
— Поможет получить от клиента отзывы о визите к вам;
— Включает в себя сервис чаевых.
Для новых пользователей первый месяц бесплатно.
Зарегистрироваться в сервисе
В качестве звукоизоляционных материалов рекомендуется использовать маты или плиты, изготавливаемые из базальтового или стекловолокна и обладающие не только высокой теплозащитной и звукопоглощающей способностью, но и значительной пожаростойкостью.
Для этих целей применяют:
- плиты 'Лайт баттс', П50 и П75, изготавливаемые по технологии 'Роквул' ЗАО 'Минеральная вата' (г. Железнодорожный),
- плиты П75 ЗАО 'Завод стройматериалов' (г. Тула),
- П125 комбината 'АКСИ' (г. Челябинск),
- плиты П75 завода 'Изоплит' (Тверская обл.),
- П75 Ярославского комбината теплоизоляционных изделий,
- П75 Щуровского комбината стройдеталей (г. Коломна),
- П75 Кетовского завода минераловатных изделий (Нижегородская обл.),
- П75 000 'Стройматериалы' (пос. Колпино Ленинградской обл.),
- П75 производства АО 'Комат' (г. Ростов-на-Дону),
- 'Нобасил М' и 'Нобасил 1-Р' фирмы 'Изомат' (Словакия),
- плиты 'КТ-11' и 'К1-Е' компании 'Изовер' (Финляндия).
2) Перегородки с каркасом из металлических профилей
В качестве стоек чаще всего используют металлические П-образные профили, устанавливаемые на специальные направляющие из оцинкованной стали, которые крепятся к основанию перекрытия с помощью дюбелей через упругие резиновые прокладки. Каркас облицовывают гипсокартонными листами с одной стороны, после чего пространство между стойками заполняют звукоизоляционным материалом, который желательно укладывать в распор для обеспечения плотного прилегания минераловатных плит к вертикальным стойкам. С наружной стороны перегородки обшивают одним или двумя слоями гипсокартонных листов, которые крепятся к элементам каркаса саморезами.
Для обеспечения максимальной степени звукоизоляции рекомендуется независимая установка противоположных стоек каркаса, не предусматривающая их конструктивной связи, а, следовательно, и образования звуковых мостиков между противоположными поверхностями перегородки.
В соответствии с законами акустики звукоизоляционные характеристики перегородок в значительной степени зависят от их массы и, в первую очередь, от толщины обшивки. Следует отметить, что эта зависимость носит нелинейный характер и является функцией частоты звуковых колебаний.
3) Звукоизоляция перегородок с металлическим каркасом
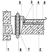
 Рисунок 1.1 –
Конструкция и крепления перегородок с металлическим каркасом
1 - железобетонная плита перекрытия; 2 - упругая прокладка из мягкой минераловатной или древесноволокнистой плиты ДВП; 3 - металлическая направляющая; 4 - звукоизоляция перекрытия, например, плитами 'Руф баттс' или 'Нобасил Т' (плавающий пол); 5 - покрытие пола; 6 - звукоизоляционный материал (плиты 'Лайт Баттс' П50, 'Нобасил М', 'KT-11', 'KL-E'); 7 - гипсокартонные листы; 8 - упругая прокладка из мягкой минераловатной или древесноволокнистой плиты; 9 - плинтус; 10 - стойка каркаса
4) Перегородки с деревянным каркасом
Широкое распространение перегородок такого типа в нашей стране обусловлено традиционной склонностью российских мастеров к работе с древесиной. Следует отметить, что при использовании деревянного каркаса реально достижимый индекс звукоизоляции воздушного шума на 3-5 дБ ниже, чем в случае использования стандартного металлического каркаса, при одновременном увеличении трудозатрат.

Рисунок 2.1
– Конструкция и крепления перегородок с деревянным каркасом
1 - деревянная стойка; 2 - звукоизоляционный материал (плиты 'Лайт баттс' П50, 'Нобасил М', 'КТ-11' или 'К1.-Е'); 3 - гипсокартонные листы; 4 - плинтус; 5 - упругая прокладка; 6 - деревянный антисептированный брус
В качестве каркаса используют деревянные бруски сечением 50х50 или 50х100 мм, которые устанавливаются на деревянную обвязку (брус), уложенную под перегородку на основание перекрытия или на диафрагму. Каркас обшивают с одной стороны гипсокартонными листами, затем между стойками укладывают звукоизоляционный материал, после чего перегородку отделывают гипсокартонными листами с другой стороны. Крепление гипсокартонных листов к деревянным стойкам производят при помощи шурупов.
5) Перегородки из кирпича
Для обеспечения хорошей звукоизоляции возможно устройство кирпичных перегородок, которые опирают на специальные столбики или на железобетонные плиты перекрытия. Конструктивно перегородки состоят из двух слоев кирпичной кладки в 1/2 или 1/4 кирпича и слоя звукоизоляционного материала, расположенного между ними. Кладку в 1/2 кирпича армируют стержнями диаметром 6 мм каждые 4 ряда. Кроме того, наружные слои перегородок связывают арматурными стержнями между собой.
Эти конструкции обеспечивают высокий уровень звукоизоляции (например, при толщине плит 'Лайт баттс' 50 мм и двух слоях кладки в 1/2 кирпича индекс изоляции воздушного шума (Rw
) равен 50 дБ), но трудоемки в процессе возведения. Перегородки такого типа целесообразно использовать в коттеджах на 2-3 семьи в качестве межквартирных перегородок.
6) Конструктивные мероприятия, улучшающие звукоизоляционные характеристики перегородок
Звукоизоляционные характеристики перегородок зависят от способа их монтажа. Для обеспечения хорошей звукоизоляции, между горизонтальными направляющими и основанием необходимо проложить упругие (например, резиновые) ленточные прокладки.
В каркасных перегородках рекомендуется предусматривать точечное крепление листов облицовки к стойкам с шагом не менее 300 мм, сами стойки (в соответствии с требованиями СНиП 23-03-2003 'Защита от шума') следует устанавливать с шагом не менее 600 мм, а пространство внутри перегородки целесообразно заполнять мягкими минераловатными плитами или матами. Для повышения звукоизоляционных свойств желательно устраивать самостоятельные каркасы для каждой из обшивок. Применение 2-3-слойной обшивки с каждой стороны перегородки также позволяет улучшить звукоизоляционные характеристики конструкции.
Если перекрытие выполнено из ребристых железобетонных плит, направляющие каркасных перегородок укладывают на ребра плиты перекрытий на цементно-песчаном растворе (рис. За.1), а если перегородки расположены перпендикулярно ребрам - на кирпичную кладку (рис.3б.1).

|
Рисунок 3а
.1
.
1 - перегородка; 2 - упругая прокладка из мягкой ДВП; 3 - покрытие пола;
|
| 
|
Рисунок 3б.
1
.
4 - цементный раствор; 5 - заделка кирпичом на растворе; 6 - плинтус
При несущих металлических балках перегородки устанавливают на деревянный брус, опирающийся на несущий накат (рис. 4а.1) или на цементный раствор по кирпичной кладке (рис. 4б.1).
|
| 
|
Рисунок 4а.
1
.
1 - перегородка; 2 - упругая прокладка из мягкой ДВП; 3 - воздушный зазор; 4 - плинтус; 5 - поверхность пола; 6 - цементный раствор;
|
| 
|
Рисунок 4б.
1
.
7 - заделка кирпичом; 8 - деревянная доска, поставленная на ребро (диафрагма); 9 - упругая прокладка из ДВП между нижней обвязкой перегородки и металлической балкой; 10 - нижняя обвязка перегородки
Если перекрытия изготовлены из дерева, перегородки опирают на толстую доску, установленную на ребро, - диафрагму (рис. 5.1).
|
| 
|
Рисунок 5.
1
.
1 - перегородка; 2 - упругая прокладка из мягкой ДВП; 3 - воздушный зазор; 4 - плинтус; 5 - поверхность попа; б - деревянная доска, поставленная на ребро (диафрагма); 7 - упругая прокладка между перегородкой и бруском; 8 - брусок
|
| 
|
Рисунок 6.
1
.
1 - кирпичный столбик; 2 - прокладка из рубероида, гидроизола и т.п.; 3 - звукоизоляция; 4 - деревянные бруски; 5 - лаги соседних помещений; б - деревянный брус
|
| 
|
Рисунок 7.
1
.
1 - гипсокартонные листы; 2 - металлическая направляющая; 3 - серпянка; 4 - упругая прокладка; 5 - дюбель; 6 - монтажная пена
|
| 
|
Рисунок 8.
1
.
1 - металлическая направляющая, уложенная на упругую прокладку; 2 - прокладка из мягких ДВП; 3 - плинтус; 4 - гипсокартонные листы; 5 - звукоизоляционный материал; 6 - покрытие пола; 7 - плита перекрытия; 8 - цементно-песчаная стяжка; 9 - звукоизоляция перекрытия
|
| 
|
Рисунок 9.
1
.
1 - стена; 2 - плита перекрытия; 3 - звукоизоляционная прокладка; 4 - цементно-песчаная стяжка; 5 - безусадочный раствор или бетон; 6 - труба стояка отопления; 7 - эластичная гильза; 8 - покрытие пола
|
При деревянных полах по лагам перегородки опирают не на лаги, а на специальные деревянные балки. Следует учитывать, что лаги и уложенные по ним половые доски помещений, разделяемых перегородкой, не должны соприкасаться между собой (рис. 6.1).
Перегородки не доводят до потолка на 10-15 мм, а образовавшийся зазор тщательно заделывают монтажной пеной ('Пенофлекс', 'Макрофлекс' и т.п.) или паклей, пропитанной цементным или алебастровым раствором. Для снижения вероятности образования трещин места сопряжения гипсокартонных листов со стеной проклеивают полосами нетканого материала (серпянкой) (рис. 7.1).
В месте примыкания пола к перегородке желательно оставить зазор толщиной 15-20 мм и заполнить его звукоизоляционным материалом - полосами, нарезанными из минераловатных плит плотностью более 100 кг/м3
или мягких ДВП (рис. 8.1).
Такое устройство примыканий препятствует передаче ударного шума, возникающего, например, при ходьбе по полу в жесткой обуви на каблуках, а также при падении каких-либо предметов. Звуковые волны гасятся упругими материалами, поэтому вибрации не передаются перегородкам, а от них - перекрытиям.
Трубы водяного отопления и водоснабжения рекомендуется пропускать через перегородки и междуэтажные перекрытия с применением эластичных гильз из пенополиэтилена или других упругих материалов (рис. 9.1).
Эластичные гильзы компенсируют температурные деформации труб, благодаря чему в местах их прохождения через конструкцию не возникает напряжений и не происходит образования сквозных щелей, через которые может происходить интенсивная передача воздушного шума.
Эластичные гильзы компенсируют температурные деформации труб, благодаря чему в местах их прохождения через конструкцию не возникает напряжений и не происходит образования сквозных щелей, через которые может происходить интенсивная передача воздушного шума.
2. НОРМАТИВНЫЕ ТРЕБОВАНИЯ К ЗВУКОИЗОЛЯЦИИ ОГРАЖДАЮЩИХ КОНСТРУКЦИЙ
Нормируемыми параметрами звукоизоляции внутренних ограждающих конструкций жилых и общественных зданий
являются:
- индексы изоляции воздушного шума ограждающими конструкциями ,дБ
(см.табл.1 );
- индексы приведенного уровня ударного шума
(для перекрытий) , дБ
(см.табл.1).
Нормируемым параметром звукоизоляции наружных ограждающих конструкций
(в том числе окон, остеклений) является звукоизоляция внешнего шума, производимого потоком городского транспорта тран
, дБА.
(см.табл.2).
3. Типы ограждающих конструкций
4.
ПОСЛЕДОВАТЕЛЬНОСТЬ ВЫПОЛНЕНИЯ расчета ЗВУКОИЗОЛЯЦИИ ОГРАЖДАЮЩИХ КОНСТРУКЦИЙ
Расчет выполняется в следующей последовательности:
а)
Расчет изоляции воздушного шума ограждающих конструкций и междуэтажных перекрытий жилых зданий:
- строится частотная характеристика звукоизолирующей способности стены (п 6.1 – 6.3);
- посредством сравнения построенной частотной характеристики с нормативной (оценочной) кривой (таблица 3 Приложения, строка 1, 2 ) – определяется индекс изоляции воздушного шума стеной;
- расчетный индекс звукоизоляции сравнивается с нормативным (таблица 1 Приложения) и дается заключение о пригодности конструкции в строительстве.
б) Расчет снижения уровня ударного шума перекрытием:
- строится частотная характеристика снижения уровня ударного шума (п 6.4);
- путем сравнения построенной частотной характеристики с оценочной кривой требуемого снижения (таблица 3 Приложения, строка 3) – определяется индекс изоляции ударного шума междуэтажного перекрытия;
- расчетный индекс звукоизоляции сравнивается с нормативным (таблица 1 Приложения) и дается оценка звукоизоляции междуэтажным перекрытием.
5. МЕТОДИКА ОПРЕДЕЛЕНИЯ нормируемых параметров звукоизоляции
5.1. Методика определения индекса изоляции воздушного шума
Индекс изоляции воздушного шума , дБ, ограждающей конструкцией с известной (рассчитанной (п. 6.1–6.3.) или измеренной) частотной характеристикой изоляции воздушного шума определяется путем сопоставления этой частотной характеристики с оценочной кривой, приведенной в Таблице 3 Приложения.
Для определения индекса изоляции воздушного шума необходимо определить сумму неблагоприятных отклонений данной частотной характеристики от оценочной кривой. Неблагоприятными считаются отклонения вниз от оценочной кривой.
Если сумма неблагоприятных отклонений максимально приближается к 32 дБ, но не превышает эту величину, величина индекса составляет 52 дБ.
Если сумма неблагоприятных отклонений превышает 32 дБ, оценочная кривая смещается вниз на целое число децибел так, чтобы сумма неблагоприятных отклонений не превышала указанную величину.
Если сумма неблагоприятных отклонений значительно меньше 32 дБ или неблагоприятные отклонения отсутствуют, оценочная кривая смещается вверх на целое число децибел так, чтобы сумма неблагоприятных отклонений от смещенной оценочной кривой максимальна приближалась к 32 дБ, но не превышала эту величину.
За величину индекса принимается ордината смещенной (вверх или вниз) оценочной кривой в третьоктавной полосе со среднегеометрической частотой 500 Гц.
Пример 1.
Определить индекс изоляции воздушного шума перегородкой из тяжелого бетона γ = 2500 кг/м3
толщиной 100 мм, расчетная частотная характеристика которой приведена в таблице А.
Таблица А
| №п/п
|
Параметры
|
Среднегеометрические частоты третьоктавных полос, Гц
|
| 100
|
125
|
160
|
200
|
250
|
315
|
400
|
500
|
630
|
800
|
1000
|
1250
|
1600
|
2000
|
2500
|
3150
|
| 1
|
Расчетная частотная характеристика, дБ
|
36
|
36
|
36
|
36
|
36
|
36
|
38
|
40
|
42
|
44
|
46
|
48
|
50
|
52
|
54
|
56
|
| 2
|
Оценочная кривая Ri
,
дБ
|
33
|
36
|
39
|
42
|
45
|
48
|
51
|
52
|
53
|
54
|
55
|
56
|
56
|
56
|
56
|
56
|
| 3
|
Неблагоприятные отклонения, дБ
|
-
|
-
|
3
|
6
|
9
|
12
|
13
|
12
|
11
|
10
|
9
|
8
|
6
|
4
|
2
|
-
|
| 4
|
Оценочная кривая, смещенная вниз на 7 дБ
|
26
|
29
|
32
|
35
|
38
|
41
|
44
|
45
|
46
|
47
|
48
|
49
|
49
|
49
|
49
|
49
|
| 5
|
Неблагоприятные отклонения от смещенной оценочной кривой, дБ
|
-
|
-
|
-
|
-
|
2
|
5
|
6
|
5
|
4
|
3
|
2
|
1
|
-
|
-
|
-
|
-
|
| 6
|
Индекс изоляции воздушного шума Rw
|
|
|
|
|
|
|
|
45
|
|
|
|
|
|
|
|
|
Расчет проводится по форме таблицы 5. Вносим в таблицу значения R оценочной кривой и находим неблагоприятные отклонения расчетной частотной характеристики от оценочной кривой (п. 3). Сумма неблагоприятных отклонений составила 105 дБ, что значительно больше 32 дБ. Смещаем оценочную кривую вниз на 7 дБ и находим сумму неблагоприятных отклонений уже от смещенной оценочной кривой. На этот раз она составляет 28 дБ, что менее 32 дБ. За величину индекса изоляции воздушного шума принимаем значение смешенной оценочной кривой в 1/3-октавной полосе 500 Гц, т.е. = 45 дБ.
5.3.
Методика определения
звукоизоляции наружных ограждений
, дБА.
Величина звукоизоляции окна
, дБА, определяется на основании частотной характеристики изоляции воздушного шума окном с помощью эталонного спектра шума потока городского транспорта. Уровни эталонного спектра, скорректированные по кривой частотной коррекции «А» для шума с уровнем 75 дБА, приведены в Таблице 3, п. 3.
Для определения величины звукоизоляции окна
(по известной частотной характеристике изоляции воздушного шума) необходимо в каждой третьоктавной полосе частот из уровня эталонного спектра
вычесть величину изоляции воздушного шума
данной конструкцией окна. Полученные величины уровней следует сложить энергетически и результат сложения вычесть из уровня эталонного шума, равного 75 дБА.
Величина звукоизоляции окна
определяется по формуле
, дБА, (4)
где:
- скорректированные по кривой частотной коррекции «А» уровни звукового давления эталонного спектра в i-й третьоктавной полосе частот, дБ, но Таблице 3, п. З;
- изоляция воздушного шума данной конструкцией окна в i-й третьоктавной полосе частот, дБ.
Результат вычисления округляется до целого значения, дБА.
Пример
3.
Определить звукоизоляцию окна
(изоляцию воздушного шума, создаваемого потоком городского транспорта). Частотная характеристика изоляции воздушного шума данной конструкцией окна (окно из ПВХ профиля с распашными створками, остеклено двухкамерным стеклопакетом 4 — 12 — 4 — 12 — 4 мм, в притворе два контура уплотняющих прокладок) по представленным фирмой-изготовителем результатам лабораторных испытаний приведена в таблице В (п. 2).
Расчет проводится по форме таблицы В. Находим разность между уровнями звукового давления эталонного спектра
(п.1) и значениями изоляции воздушного шума данной конструкцией
(п. 2), получаем величины уровней звукового давления условно «прошедшего» через окно шума (п. 3).
Для некоторого упрощения энергетического суммирования группируем уровни (п. 3) по одинаковым значениям. Получаем три уровня по 25 дБ, по два уровня со значениями 32, 35, 33 и 30 дБ, по одному уровню 38, 31, 29, 28 и 26 дБ. Определяем уровень звука, дБА, условно «прошедшего» через окно шума, суммируя значения п. 3 по энергии:
дБА.
Звукоизоляция данного окна (применительно к шуму потока городского транспорта)
, дБА
Таблица В
| №п/п
|
Параметры
|
Среднегеометрические частоты третьоктавных полос, Гц
|
| 100
|
125
|
160
|
200
|
250
|
315
|
400
|
500
|
630
|
800
|
1000
|
1250
|
1600
|
2000
|
2500
|
3150
|
| 1
|
Уровень звукового давления эталонного спектра
Li
,
дБ
|
55
|
55
|
57
|
59
|
60
|
61
|
62
|
63
|
64
|
66
|
67
|
66
|
65
|
64
|
62
|
60
|
| 2
|
Изоляция воздушного шума окном Ri
,
дБ
|
23
|
24
|
22
|
21
|
25
|
28
|
29
|
31
|
34
|
36
|
38
|
38
|
39
|
39
|
37
|
35
|
| 3
|
Разность
Li
-
Ri
, дБ
|
32
|
31
|
35
|
38
|
35
|
33
|
33
|
32
|
30
|
30
|
29
|
28
|
26
|
25
|
25
|
25
|
6. Методика построения частотных характеристик ИЗОЛЯЦИИ ВОЗДУШНОГО ШУМА
ограждающих конструкций жилых зданий.
Индекс изоляции воздушного шума однослойными ограждающими конструкциями, а также двухслойными глухими остеклениями и перегородками, выполненными в виде двух облицовок по каркасу с воздушным промежутком, следует определять на основании рассчитанной частотной характеристики изоляции воздушного шума.
Индекс изоляции воздушного шума перекрытиями с полом по упругому основанию и индекс приведенного уровня ударного шума под перекрытиями определяются непосредственно (без построения расчетных частотных характеристик).
6.1.
Методика построения частотных характеристик
акустически однородных ограждений
К акустически однородным конструкциям кроме сплошных, состоящих из одного материала, относятся также конструкции из нескольких слоев разнородных материалов, жестко связанных между собой (например, оштукатуренные кирпичные или керамзитобетонные стены, склеенные из разнородных материалов перегородки и т.п.).
Расчет индекса изоляции воздушного шума акустически однородных ограждений состоит из построения частотной характеристики звукоизолирующей способности этого ограждения, вычисления индекса изоляции воздушного шума , дБ и сравнения его с нормативным индексом по таблице 1.
Частотную характеристику изоляции воздушного шума однослойной плоской ограждающей конструкцией сплошного сечения
(рис. 1.6) с поверхностной плотностью от 100 до 800 кг/м2
из бетона, железобетона, кирпича и тому подобных материалов следует определять, изображая ее в виде ломаной
линии, аналогичной линии ABCD на рисунке 2.
Рисунок 1
– Акустически
однородные конструкции.
(а - массивные, б – тонкие)
Расчет и построение частотной характеристики звукоизолирующей способности акустически однородного ограждения производится в следующем порядке:
а) Строится график
, по оси абсцисс которого откладываются частоты в диапазоне 100-6000 Гц (в масштабе: октава – 3 см), а по оси ординат – величины звукоизолирующей способности в дБ (масштаб: 10 дБ – 2 см).
б) определяется поверхностная плотность ограждения

, кг/м² …………………………………………………...(5)

Рисунок 2
— Частотная характеристика изоляции воздушного шума однослойным плоским ограждением
в) Построение кривой
начинается с горизонтального участка ВА.
Абсциссу точки В - следует определять по таблице 4 в зависимости от толщины и плотности материала конструкции.
Значение следует округлять до среднегеометрической частоты, в пределах которой находится . Границы третьоктавных полос приведены в таблице 5.
Ординату точки В — RB
следует определять в зависимости от эквивалентной поверхностной плотности , по формуле
, дБ (6)
Эквивалентная поверхностная плотность определяется по формуле
, кг/м2
, (7)
Где:
- поверхностная плотность, кг/м2
(для ребристых конструкций принимается без учета ребер);
К
- коэффициент, учитывающий относительное увеличение изгибной жесткости ограждения из бетонов на легких заполнителях, поризованных бетонов и т.п. по отношению к конструкциям из тяжелого бетона с той же поверхностной плотностью. Для сплошных ограждающих конструкций из бетонов на легких заполнителях, поризованных бетонов; кладки из кирпича и пустотелых керамических блоков коэффициент К
определяется по таблице 6.
г) из точки В влево проводится горизонтальный отрезок ВА
, а вправо от точки В проводится отрезок ВС
с наклоном 6 дБ на октаву до точки С с ординатой =65 дБ; из точки С вправо проводится горизонтальный отрезок С
D
.
Если точка С лежит за пределами нормируемого диапазона частот ( Гц), отрезок CD отсутствует.
Значения звукоизоляции следует округлять до 0,5 дБ.
ПРИМЕЧАНИЕ:
Расчеты изложенные в 6.1.
дают достоверные результаты при отношении толщины разделяющего ограждения (подлежащего расчету) к средней толщине примыкающих к нему ограждений в пределах

При других отношениях толщин необходимо учитывать изменение звукоизоляции за счет увеличения или уменьшения косвенной передачи звука через примыкающие конструкции.
Для крупнопанельных зданий, в которых ограждающие конструкции выполнены из бетона, железобетона, бетона на легких заполнителях, поправка имеет следующие значения:
при = + 1 дБ;
при = — 1 дБ;
при = — 2 дБ.
Для зданий из монолитного бетона величина должна быть уменьшена на 1 дБ.
В каркасно-панельных зданиях, где элементы каркаса (колонны и ригели) выполняют роль виброзадерживающих масс в стыках панелей, вводится дополнительно поправка к результатам расчета = + 2 дБ.
Пример
4.
Построить частотную характеристику изоляции воздушного шума перегородкой из керамзитобетона класса В 7,5 (рис.1), плотностью 1400 кг/м3
и толщиной 120 мм.
а) Строим график (рис.3);
б) Находим частоту, соответствующую точке В, по таблице 4. при γ = 1400 кг/м3
она составит
= 33000 / 120 = 275 250 Гц.
Округляем до средней частоты третьоктавной полосы в пределах которой находится .
в) Определяем поверхностную плотность перегородки
= 1400·0,12 = 168 кг/м2
.
По таблице 6 находим коэффициент = 1,2, таким образом эквивалентная поверхностная плотность перегородки составит
= 168·1,2 = 201,6 кг/м2
.
Звукоизоляция в точке В составляет дБ.
Из т. В влево проводим горизонтальный отрезок ВА, вправо от т. В – отрезок ВС с наклоном 6 дБ на октаву, точка С лежит вне нормируемого диапазона частот (рис. 3). В нормируемом диапазоне частот изоляция воздушного шума составляет:
| Гц
|
100
|
125
|
160
|
200
|
250
|
315
|
400
|
500
|
630
|
800
|
1000
|
1250
|
1600
|
2000
|
2500
|
3150
|
| R
, дБ
|
34
|
34
|
34
|
34
|
34
|
36
|
38
|
40
|
42
|
44
|
46
|
48
|
50
|
52
|
54
|
56
|

Рисунок 3
— Расчетная частотная характеристика к примеру 4.

Пример
5.
Построить частотную характеристику изоляции воздушного шума несущей частью перекрытия из многопустотных плит (рис. 4.2) толщиной h=
220 мм и приведенной толщиной hпр
=120 мм, выполненных из тяжелого бетона плотностью γ = 2500 кг/м3
.
а) Строим график (рис.5.2);
б) Определяем поверхностную плотность перегородки
= 2500·0,12 = 300 кг/м2
.
в) Для определения коэффициента необходимо вычислить момент инерции сечения .
Многопустотная плита шириной 1,2м имеет 6 круглых пустот диаметром 0,16м, расположенных посредине сечения.
Момент инерции находим как разность моментов инерции прямоугольного сечения и шести круглых пустот :

Определяем коэффициент по формуле 7.

Средняя плотность плиты (с учетом пустотности) составляет 1364 кг/м2
.
По таблице 4 определяем частоту точки В:
= 33000 / 220 = 150 160 Гц.
Округляем до частоты третьоктавной полосы, в пределах которой находится .
Определяем эквивалентную поверхностную плотность конструкции = 1,2·300 = 360 кг/м2
.
Находим ординату точки В:
дБ.
г) Из т. В влево проводим горизонтальный отрезок ВА, вправо от т. В – отрезок ВС с наклоном 6 дБ на октаву. Точка С попадает на последнюю третьоктавную полосу нормируемого частотного диапазона.
В нормируемом диапазоне частот изоляция воздушного шума составляет:
| Гц
|
100
|
125
|
160
|
200
|
250
|
315
|
400
|
500
|
630
|
800
|
1000
|
1250
|
1600
|
2000
|
2500
|
3150
|
| R
, дБ
|
39
|
39
|
39
|
41
|
43
|
45
|
47
|
49
|
51
|
53
|
55
|
57
|
59
|
61
|
63
|
65
|

Рисунок 5
— Расчетная частотная характеристика к примеру 5.
6.2.
Методика построения частотных характеристик
однослойных тонких ограждений
Частотную характеристику изоляции воздушною шума однослойной плоской тонкой ограждающей конструкцией из металла, стекла, асбоцементного листа, гипсокартонных листов и тому подобных материалов следует определять графическим способом, изображая ее в виде ломаной линии, аналогичной линии АВСD на рисунке 4.
Расчет и построение частотной характеристики звукоизолирующей способности однослойных тонких ограждений производится в следующем порядке:
а) Строится график, по оси абсцисс которого откладываются частоты в диапазоне 100-6000 Гц (в масштабе: октава – 3 см), а по оси ординат – величины звукоизолирующей способности в дБ (масштаб: 10 дБ – 2 см).
б) Построение кривой начинается с участка ВС.
Координаты точек В и С следует определять по таблице 7, при этом значения и округляются до ближайшей среднегеометрической частоты 1/3-октавной полосы.
в) из точки В наклон участка АВ (рисунок 6) следует принимать 4,5 дБ на октаву,
г) из точки С строится участок СD с наклоном – 7,5 дБ на октаву.

Рисунок 6
— Частотная характеристика изоляции воздушного шума однослойным плоским тонким ограждением
Пример 6
.
Требуется определить изоляцию воздушного шума глухим металлическим витражом, остекленным одним силикатным стеклом толщиной 6 мм.
а) Строится график,
б) Находим по таблице 7 координаты точек В и С:
= 6000 / 6 = 1000 Гц, = 12000/6 = 2000 Гц,
= 35 дБ, = 29 дБ.
Строим частотную характеристику в соответствии со схемой на рисунке 6.
в) Из точки В проводим влево отрезок ВА с наклоном 4.5 дБ на октаву,
г) из точки С вправо – отрезок СD с наклоном 7,5 дБ на октаву (рисунок 6).

Рисунок 7.
— Расчетная частотная характеристика к примеру 6.
В нормируемом диапазоне частот изоляция воздушного шума составляет:
| Гц
|
100
|
125
|
160
|
200
|
250
|
315
|
400
|
500
|
630
|
800
|
1000
|
1250
|
1600
|
2000
|
2500
|
3150
|
| R
, дБ
|
20
|
21,5
|
23
|
24,5
|
26
|
27,5
|
29
|
30,5
|
32
|
33,5
|
35
|
33
|
31
|
29
|
31,5
|
34
|
6.3.
Методика построения частотных характеристик
Акустически неоднородных ограждений
К акустически неоднородным относятся конструкции, состоящие из двух или более элементов из твердых материалов, разделенные воздушным промежутком или звукоизолирующей прослойкой (Рис. 8).

Рисунок 8 –
Акустически неоднородные конструкции:
а), в) с воздушным промежутком,
б) промежуток заполнен звукопоглощающим материалом.
6.3.1. Методика построения частотных характеристик изоляции воздушного шума ограждающей конструкцией, состоящей
из двух тонких листов с воздушным промежутком между ними
при одинаковой толщине листов (рис.8, б,в)
Частотная характеристика изоляции воздушного шума ограждающей конструкцией, состоящей из двух тонких листов с воздушным промежутком между ними (двойные глухие остекления, перегородки в виде двух обшивок из одинарных листов сухой гипсовой штукатурки, металла и т.п. по каркасу из тонкостенного металлического или асбоцементного профиля, деревянных брусков), при одинаковой толщине листов строится в следующей последовательности:
а) ABCD
:
строится частотная характеристика изоляции воздушного шума одной обшивкой по п. 6.2. – вспомогательная линия АВСD на рисунке 9.
б) А1
В1
С1
D1
:
Затем строится вспомогательная линия А1
В1
С1
D1
путем прибавления к ординатам линии АВСD поправки на увеличение поверхностной плотности по таблице 8 (в данном случае 4,5 дБ). Каркас при этом не учитывается;

Рисунок 9
— Частотная характеристика изоляции воздушного шума конструкцией, состоящей из двух листов с воздушным промежутком между ними при одинаковой толщине листов.
в)
:
определяется частота резонанса конструкции по формуле
, Гц, (9)
где и – поверхностные плотности обшивок, кг/м2
(в данном случае = );
, Гц, (10)
d
– толщина воздушного промежутка, м.
Значение частоты округляется до ближайшей среднегеометрической частоты 1/3 -октавной полосы.
· точка Е:
Находим значение 0,8 . На пересечении 0,8 и графика А1
В1
С1
Д1
ставим точку Е. До частоты 0,8 включительно частотная характеристика звукоизоляции конструкции совпадает со вспомогательной линией А1
В1
С1
D1
.
· точка
F
:
На частоте звукоизоляция принимается на 4 дБ ниже линии А1
В1
С1
D1
;
· точка К
:
На частоте 8 (три октавы выше частоты резонанса) находится точка К с ординатой , которая соединяется с точкой F. Величина H определяется по таблице 14 в зависимости от толщины воздушного промежутка. От точки К проводится отрезок КL с наклоном 4,5 дБ на октаву до частоты (параллельно вспомогательной линии А1
В1
С1
D1
).
· точка
L
:
Превышение отрезка KL над вспомогательной кривой А1
В1
С1
D1
представляет собой поправку ни влияние воздушного промежутка (в диапазоне выше 8 ). В том случае когда = 8 , точки К и L сливаются в одну. Если < 8 , отрезок FК проводится только до точки L, соответствующей частоте . Точка К в этом случае лежит вне расчетной частотной характеристика и является вспомогательной;
· точка
M
:
от точки L до частоты 1,25 (до следующей 1/3-октавной полосы) проводится горизонтальный отрезок LM.
· точка N:
На частоте находится точка N путем прибавления к значению вспомогательной линии А1
В1
С1
D1
поправки (т.е. + ) и соединяется с точкой М.
· точка
P:
Далее проводится отрезок NP с наклоном 7,5 дБ на октаву.
Ломаная линия А1
EFKLMNР представляет собой частотную характеристику изоляции воздушного шума рассматриваемой конструкции.
Примечание:
В тех случаях, когда перегородка имеет конструкцию, описанную в п.6.3.1. но одна или обе ее обшивки состоят из двух не склеенных между собой листов, ее частотная характеристика изоляции воздушного шума строится в соответствии с п.6.3.1., но с учетом увеличения поверхностных плотностей , и .
Пример 7.
Требуется построить частотную характеристику изоляции воздушного шума перегородкой, выполненной из двух гипсокартонных листов (сухой гипсовой штукатурки) толщиной 14 мм, γ= 850 кг/м3
по деревянному каркасу. Воздушный промежуток имеет толщину 100 мм (Рис.8, б).
Строим частотную характеристику звукоизоляции для одного гипсокартонного листа в соответствии с п. 6.2. Координаты точек В и С определяем по таблице 7:
Гц; = 34 дБ;
Гц; = 28 дБ.
Строим вспомогательную линию АВСD, с учетом поправки , по таблице 8, равной 4,5 дБ, строим вспомогательную линию А1
В1
С1
D1
на 4,5 дБ выше линии АВСD (рисунок 10).

Рисунок 10
— Расчетная частотная характеристика к примеру 7.
Определяем частоту резонанса по формуле (9). Поверхностная плотность листа СГШ = 850·0,014 =11,9 кг/м2
.

На частоте 80 Гц находим точку F на 4 дБ ниже соответствующей ординаты линии А1
В1
С1
D1
, =16,5 дБ.
На частоте 8 , (630 Гц) находим точку К с ординатой = + Н = 16,5+26 = 42,5 дБ (H = 26 дБ по таблице 8). От точки К проводим отрезок KL до частоты = 1250 Гц с наклоном 4,5 дБ на октаву, = 47 дБ. Превышение отрезка КL над вспомогательной линией А1
В1
С1
D1
дает нам величину поправки = 8,5 дБ.
От точки L проводим вправо горизонтальный отрезок LМ на одну 1/3-октавную полосу. На частоте = 2500 Гц строим точку N – = = 32,5 + 8,5 = 41 дБ. От точки N проводим отрезок NР с наклоном 7,5 дБ на октаву.
Линия FKLMNP представляет собой частотную характеристику изоляции воздушного шума данной перегородкой. В нормируемом диапазоне частот звукоизоляция составляет:
| Гц
|
100
|
125
|
160
|
200
|
250
|
315
|
400
|
500
|
630
|
800
|
1000
|
1250
|
1600
|
2000
|
2500
|
3150
|
| R
, дБ
|
19,5
|
22,5
|
25
|
28
|
31
|
34
|
36,5
|
39,5
|
42,5
|
44
|
45,5
|
47
|
47
|
44
|
41
|
43,5
|
6.3.2. Методика построения частотных характеристик изоляции воздушного шума ограждающей конструкцией, состоящей
из двух тонких листов с воздушным промежутком между ними
при различной толщине листов
Частотная характеристика изоляции воздушного шума каркасно-обшивной перегородкой, выполненной из одного из указанных в п.6.3.1. материалов, при различной толщине листов обшивки (соотношение толщин не более 2,5), а также двойного глухого остекления при различной толщине стекол строится в следующей последовательности:
- Строится частотная характеристика изоляции воздушного шума одним листом (большей толщины) по п.6.3.1. - линия АВСD (рисунок 11).
- Определяется частота для листа обшивки меньшей толщины.
- Строится вспомогательная линия А1
В1
до частоты путем прибавления к значениям звукоизоляции первого (более толстого) листа поправки , на увеличение поверхностной плотности ограждения по таблице 8 - .
- Между частотами и проводятся горизонтальный отрезок В1
С1
, и далее отрезок С1
D1
с наклоном 7,5 дБ на октаву.
- Определяется частота резонанса конструкции по формуле (9). До частоты 0,8 включительно частотная характеристика изоляции воздушного шума конструкцией совпадает со вспомогательной линией А1
В1
.
- На частоте звукоизоляция принимается на 4 дБ ниже вспомогательной линии А1
В1
(точка F, рисунок 11).
- На частоте 8 находится точка К с ординатой , где – величина, определяемая по таблице 8 в зависимости от толщины воздушного промежутка.
- От точки К частотная характеристика строится параллельно вспомогательной линии А1
В1
С1
D1
, т.е. проводятся отрезок KL с наклоном 4,5 дБ на октаву до частоты , а затем горизонтальный отрезок LМ до частоты далее отрезок MN с наклоном 7,5 дБ на октаву.
- Если частота <8 , отрезок FK проводится только до точки L, соответствующей частоте . Точка K в этом случае лежит вне частотной характеристики и является вспомогательной.
- Ломаная линия А1
ЕFKLMN представляет собой частотную характеристику изоляции воздушного шума рассматриваемой конструкцией.

Рисунок 11
— Частотная характеристика изоляции воздушного шума конструкцией, состоящей из двух листов с воздушным промежутком между ними при разной толщине листов.
6.3.3. Методика построения частотных характеристик изоляции воздушного шума ограждающей конструкцией, состоящей
из двух тонких листов при заполненном воздушном промежутке
пористым или пористо-волокнистым материалом (рис 7, а)
Частотная характеристика изоляции воздушного шума каркасно-обшивной перегородкой из одного из указанных в п.3.3.1. материалов при заполнении воздушного промежутка пористым или пористо-волокнистым материалом строится в следующей последовательности:
а) Строится частотная характеристика звукоизоляции с незаполненным воздушным промежутком в соответствии с п.6.3.1., п.6.3.2.или п.6.3.3. При этом в общую поверхностную плотность конструкции при определении поправки включается поверхностная плотность заполнения воздушного промежутка.
б) Частота резонанса конструкции при заполнении воздушного промежутка полностью или частично минераловатными и стекловолокнистыми плитами определяется по формуле (9).
При заполнении промежутка пористым материалом с жестким скелетом (пенопласт, пенополистирол, фибролит и т.п.) частоту резонанса следует определять по формуле:
, Гц, (11)
где и - поверхностные плотности обшивок, кг/м2
;
d
– толщина воздушного промежутка, м;
ЕД
– динамический модуль упругости материала заполнения, Па.
Если обшивки не приклеиваются к материалу заполнения, значения ЕД
принимаются с коэффициентом 0,75.
До частоты резонанса включительно ( ) частотная характеристика звукоизоляции конструкции полностью совпадает с частотной характеристикой, построенной для перегородки с незаполненным воздушным промежутком.
На частотах звукоизоляция увеличивается дополнительно на величину (Таблица 9).

Рисунок 12
— Частотная характеристика изоляции воздушного шума каркасно-обшивной перегородкой с заполнением воздушного промежутка.
При построении частотной характеристики звукоизоляции конструкции на частоте (2 третьоктавные полосы выше частоты резонанса) отмечается точка Q с ординатой на величину выше точки, лежащей на отрезке FК, и соединяется с точкой F. Далее частотная характеристика строится параллельно частотной характеристике звукоизоляции конструкции с незаполненным воздушным промежутком – линия A1
EFQK1
L1
M1
N1
P1
(рисунок 12).
Пример 8.
Требуется построить частотную характеристику изоляции воздушного шума перегородкой, выполненной из двух листов сухой гипсовой штукатурки толщиной 10 мм, γ = 1100 кг/м3
по деревянному каркасу, воздушный промежуток d = 50 мм заполнен минераловатными плитами ПП-80, γ = 80 кг/м3
.(рис.8, в)
а) Строим частотную характеристику звукоизоляции для одного гипсокартонного листа. Координаты точек В и С определяем по таблице 7:
Гц; = 36 дБ;
Гц; = 30 дБ.
Общая поверхностная плотность ограждения включает в себя две обшивки с = = γ·h = 1100·0,01 = 11 кг/м2
и заполнение 80·0,05 = 4 кг/м2
, = 26 кг/м2
.
=26/11 = 2,36; по таблице 8 находим = 5,5 дБ.

Рисунок 12
— Расчетная частотная характеристика к примеру 8.
б) Строим вспомогательную линию А1
В]
С1
на 5,5 дБ выше линии АВС (рисунок 12). Точка С лежит уже вне нормируемого диапазона частот.
Определяем частоту резонанса конструкции по формуле (9)

На частоте Гц отмечаем точку Е с ординатой = =16,5+5,5=22 дБ,
на частоте Гц – точку F ординатой = 18+5,5-4=19,5дБ.
На частоте Гц отмечаем точку К с ординатой = =19,5+24 = 43,5 дБ и соединяем ее с точкой F. Далее до частоты = 2000 Гц проводим отрезок KL с наклоном 4,5 дБ на октаву, = 48 дБ, до следующей 1/3-октавной полосы 2500 Гц горизонтальный отрезок LМ. На частоте = 4000 Гц отмечаем точку N с ординатой
30+5,5+6,5 = 42 дБ.
Линия ЕFKLMN является частотной характеристикой изоляции воздушного шума перегородкой с незаполненным воздушным промежутком.
На частоте = 200 Гц отмечаем точку Q с ординатой = 25+5 = =30 дБ (по таблице 9 поправка = 5 дБ) и соединяем ее с точкой F. Далее строим частотную характеристику параллельно линии FKLMN, прибавляя к ее значениям поправку = 5 дБ.
В нормируемом диапазоне частот изоляция воздушного шума данной перегородкой составляет:
| Гц
|
100
|
125
|
160
|
200
|
250
|
315
|
400
|
500
|
630
|
800
|
1000
|
1250
|
1600
|
2000
|
2500
|
3150
|
| R
, дБ
|
22
|
19,5
|
24,5
|
30
|
32,5
|
35
|
38
|
40,5
|
43
|
46
|
48,5
|
50
|
51,5
|
53
|
53
|
50
|
6.4. Расчет изоляции воздушного шума
междуэтажным перекрытием.
6.4.1. Расчет изоляции воздушного шума междуэтажным перекрытием
с полом на звукоизолирующем слое.
Индекс изоляции воздушного шума дБ, междуэтажным перекрытием со звукоизоляционным слоем следует определять непосредственно (без построения расчетных частотных характеристик) по таблице 10 в зависимости от величины индекса изоляции воздушного шума несущей плитой перекрытия , и частоты резонанса конструкции , Гц, определяемой по формуле (11).
- В формуле ЕД
– динамический модуль упругости материала звукоизоляционного слоя, Па, принимаемый по таблице 11;
- - поверхностная плотность несущей плиты перекрытия, кг/м2
;
- - поверхностная плотность конструкции пола выше звукоизоляционного слоя (без звукоизоляционного слоя), кг/м2
;
- d
– толщина звукоизоляционного слоя в обжатом состоянии, м, определяемая по формуле: (12)
где:
- толщина звукоизоляционного слоя в необжатом состоянии, м;
- относительное сжатие материала звукоизоляционного слоя под нагрузкой, принимаемое по таблице 11.
, Гц (11)
Пример 9.
Требуется рассчитать индекс изоляции воздушного шума междуэтажным перекрытием. Перекрытие состоит из железобетонной несущей плиты γ = 2500 кг/м3
толщиной 10 см, звукоизоляционных полосовых прокладок из жестких минераловатных плит плотностью 140 кг/м3
толщиной 4 см в необжатом состоянии и дощатого пола толщиной 35 мм на лагах сечением 100x50 мм с шагом 50 см. Полезная нагрузка 2000 Па.
Определяем поверхностные плотности элементов перекрытия:
= 2500·0,1 = 250 кг/м2
;
= 600·0,035 (доски) + 600·0,05·0,1·2 (лаги) = 27 кг/м2
.
Нагрузка на прокладку (с учетом того, что на 1 м2
пола приходятся 2 лаги)

Величина для несущей плиты перекрытия составляет 46 дБ.
Находим частоту резонанса конструкции по формуле (11) при ЕД
= 8,0·105
Па, = 0,55 (Таблица 11), d = 0,04(1-0,55) = 0,018 м.

По таблице 10 находим индекс изоляции воздушного шума данным междуэтажным перекрытием = 52 дБ.
Пример 10.
Требуется рассчитать индекс изоляции воздушного шума междуэтажным перекрытием. Перекрытие состоит из железобетонной несущей плиты γ = 2500 кг/м3
толщиной 10 см, упругой прокладки из пенополиэтиленового материала Изолон толщиной 8 мм, цементно-песчаной стяжки γ = 1800 кг/м3
толщиной 40 мм и паркета на битумной мастике по твердой ДВП толщиной 4 мм, γ = 1100 кг/м3
.
Определяем поверхностные плотности элементов перекрытия:
= 2500·0,1 = 250 кг/м2
;
= 1800·0,04 (стяжка) + 1100·0,004 (ДВП) + 10,6 (паркет) = =72+4,4+10,6 = 87 кг/м2
.
Индекс изоляции воздушного шума несущей плитой перекрытия определен в примере 9 – = 46 дБ.
По таблице 11 принимаем характеристики материала упругой прокладки: ЕД
= 2·105
Па, = 0,05 и определяем толщину прокладки в обжатом состоянии: d = 0,008(1-0,05) = 0,0076 м. Находим частоту резонанса конструкции по формуле (11)

По таблице 10 находим индекс изоляции воздушного шума данным междуэтажным перекрытием = 53 дБ.
6.4.2. Расчет изоляции воздушного шума междуэтажным перекрытием
без звукоизоляционного слоя с полом из рулонных материалов.
Индекс изоляции воздушного шума , дБ, междуэтажным перекрытием без звукоизоляционного слоя с полом из рулонных материалов следует определять в соответствии с п.3.1 или п.3.2, принимая при этом величину равной поверхностной плотности плиты перекрытия (без рулонного пола).
Если в качестве покрытия чистого пола принят поливинилхлоридный линолеум на волокнистой теплозвукоизоляционной подоснове (ГОСТ 18108-80), то рассчитанную величину индекса изоляции воздушного шума междуэтажным перекрытием следует уменьшать на 1 дБ.
Индекс приведенного уровня ударного шума , дБ, под перекрытием без звукоизоляционного слоя с полом из рулонных материалов следует определять по формуле: , дБ (14)
где - индекс снижения приведенного уровня ударного шума, дБ, принимаемой в соответствии с паспортными данными на рулонный материал.
7. РАСЧЕТ ИЗОЛЯЦИИ УДАРНОГО ШУМА
МЕЖДУЭТАЖНЫМИ ПЕРЕКРЫТИЯМИ
7.1. Расчет изоляции ударного шума междуэтажным перекрытием
с полом на звукоизолирующем слое.
Индекс приведенного уровня ударного шума под междуэтажным перекрытием с полом на звукоизоляционном слое следует определять по таблице 12 в зависимости от величины индекса приведенного уровня ударного шума для несущей плиты перекрытия (сплошного сечения или с круглыми пустотами) , определенной по таблице 13, и частоты собственных колебаний пола, лежащего на звукоизоляционном слое, , определяемой по формуле
, Гц, (13)
где - динамический модуль упругости звукоизоляционного слоя, Па, принимаемый по таблице 11;
d - толщина звукоизоляционного слоя в обжатом состоянии, м;
- поверхностная плотность пола (без звукоизоляционного слоя), кг/м2
.
Пример 11.
Требуется рассчитать индекс приведенного уровня ударного шума под междуэтажным перекрытием. Перекрытие состоит из железобетонной несущей плиты толщиной 14 см, γ = 2500 кг/м3
, звукоизоляционного слоя из материала Пенотерм (НПП-ЛЭ) толщиной 10 мм в необжатом состоянии, гипсобетонной панели плотностью 1300 кг/м3
толщиной 5 см и линолеума средней плотностью 1100 кг/м3
толщиной 3 мм. Полезная нагрузка 2000 Па.
Определяем поверхностные плотности элементов перекрытия:
= 2500·0,14 = 350 кг/м2
;
= 1300·0,05 + 1100·0,003 = 68,3 кг/м2
.
Нагрузка на звукоизоляционный слой 2000+683=2683 Па.
По таблице 13 находим = 78 дБ.
Вычисляем частоту колебаний пола по формуле (13) при ЕД
= 6,6·105
Па, = 0,1 (Таблица 11) и d = 0,01(1 - 0,1) = 0,009 м:

По таблице 12 находим индекс изоляции приведенного уровня шума под данным междуэтажным перекрытием
дБ.
Пример 12.
Требуется рассчитать индекс приведенного уровня ударного шума под междуэтажным перекрытием. Перекрытие состоит из железобетонной несущей плиты γ = 2500 кг/м3
толщиной 18 см, звукоизоляционного слоя из пенополиэтиленового материала Термофлекс толщиной 12 мм, двух гипсоволокнистых листов γ = 1100 кг/м3
общей толщиной 20 мм и паркета на битумной мастике толщиной 15 мм. Полезная нагрузка 2000 Па.
Определяем поверхностные плотности элементов перекрытия:
= 2500·0,18 = 450 кг/м2
;
= 1100·0,02 + 700·0,015 = 32,5 кг/м2
.
По таблице 13 находим = 76 дБ.
Вычисляем частоту колебаний пола по формуле (13) при ЕД
= 64·105
Па, = 0,03, толщине прокладки в обжатом состоянии d = 0,012(1 - 0,03) = =0,0116 м:

По таблице 12 находим индекс приведенного уровня ударного шума дБ.
Приложение
Таблица 1.
-
Нормативные значения индексов изоляции воздушного шума внутренними ограждающими конструкциями и индексов приведенного уровня ударного шума для жилых зданий и общежитий
| №
п.п.
|
Наименование и расположение ограждающей конструкции
|
дБ
|
дБ
|
| 1
|
Перекрытия между помещениями квартир и отделяющие помещения квартир от холлов, лестничных клеток и используемых чердачных помещений:
в домах категории А*
в домах категории Б
в домах категории В
|
54
52
50
|
551
581
601
|
| 2
|
Перекрытия между помещениями квартир и расположенными под ними магазинами:
в домах категории А
в домах категорий Б и В
|
59
57
|
55
452
581
482
|
| 4
|
Перекрытия между жилыми помещениями общежитий
|
50
|
60
|
| 6
|
Перекрытия между помещениями квартиры и расположенными под ними ресторанами, кафе, спортивными залами:
в домах категории А
в домах категорий Б и В
|
62
60
|
55
452
58
482
|
| 7
|
Перекрытия между помещениями квартиры и расположенными под ними административными помещениями, офисами:
в домах категории А
в домах категорий Б и В
|
52
50
|
582
602
|
| 8
|
Стены и перегородки между квартирами, между помещениями квартир и лестничными клетками, холлами, коридорами, вестибюлями:
в домах категории А
в домах категории Б
в домах категории В
|
54
52
50
|
-
-
-
|
| 11
|
Перегородки между санузлом и комнатой одной квартиры
|
47
|
-
|
| 12
|
Стены и перегородки между комнатами общежитий
|
50
|
-
|
| 13
|
Стены и перегородки, отделяющие помещения культурно-бытового обслуживания общежитий друг от друга и от помещений общего пользования (холлы, вестибюли, лестничные клетки)
|
47
|
-
|
| 1
Требования предъявляются также к передаче ударного шума в жилые помещения квартир при ударном воздействии на пол помещения смежной квартиры (в том числе и находящейся на том же этаже или по диагонали).
2
Требования предъявляются к передаче ударного шума в защищаемое от шума помещение при ударном воздействии на пол помещения, являющегося источником шума.
*Категория здания определяется техническим заданием на проектирование:
- категория А — высококомфортные условия;
- категория Б — комфортные условия;
- категория В — предельно допустимые условия.
|
Таблица 2.
–
Нормативные значения к звукоизоляции окон для жилых зданий и общежитий.
| №п/п
|
Назначение помещения
|
Требуемые значения , дБА, при эквивалентных уровнях звука у фасада здания, дБА, при наиболее интенсивном движении транспорта (в дневное время, час «пик»)
|
| 60
|
65
|
70
|
75
|
80
|
| 1.
|
Жилые комнаты квартир в домах:
- категории А
- категории Б и В
|
15
-
|
20
15
|
25
20
|
30
25
|
35
30
|
| 2.
|
Жилые комнаты общежитий
|
-
|
-
|
15
|
20
|
25
|
| *Для промежуточных значений расчетных уровней требуемую величину , следует определять интерполяцией.
|
Таблица 3
– Оценочные кривые
| №п/п
|
Параметры
|
Среднегеометрические частоты третьоктавных полос, Гц
|
| 100
|
125
|
160
|
200
|
250
|
315
|
400
|
500
|
630
|
800
|
1000
|
1250
|
1600
|
2000
|
2500
|
3150
|
| 1
|
Изоляция воздушного шума Ri
,
дБ
|
33
|
36
|
39
|
42
|
45
|
48
|
51
|
52
|
53
|
54
|
55
|
56
|
56
|
56
|
56
|
56
|
| 2
|
Приведенный уровень ударного шума Lnw
,
дБ
|
62
|
62
|
62
|
62
|
62
|
62
|
61
|
60
|
59
|
58
|
57
|
54
|
51
|
48
|
45
|
42
|
| 3
|
Скорректированный уровень звукового давления эталонного спектра Li
, дБ
|
55
|
55
|
57
|
59
|
60
|
61
|
62
|
63
|
64
|
66
|
67
|
66
|
65
|
64
|
62
|
60
|
Таблица 4
.
– Определение абсциссы точки В - 
| Плотность бетона γ, кг/м³
|
, Гц
|
| 1800
|
29000/h
|
| 1600
|
31000/h
|
| 1400
|
33000/h
|
| 1200
|
35000/h
|
| 1000
|
37000/h
|
| 800
|
39000/h
|
| 600
|
40000/h
|
| Примечания: 1. h – толщина ограждения, мм.
2. Для промежуточных значений γ частота определяется интерполяцией.
|
Таблица 5.
- Границы третьоктавных полос
| Среднегеометрическая частота 1/3-октавной полосы
|
Границы 1/3-октавной полосы
|
Среднегеометрическая частота 1/3-октавной полосы
|
Границы 1/3-октавной полосы
|
| 50
|
45 – 56
|
630
|
562 – 707
|
| 63
|
57 – 70
|
800
|
708 – 890
|
| 80
|
71 – 88
|
1000
|
891 – 1122
|
| 100
|
89 – 111
|
1250
|
1123 – 1414
|
| 125
|
112 – 140
|
1600
|
1415 – 1782
|
| 160
|
141 – 176
|
2000
|
1783 – 2244
|
| 200
|
177 – 222
|
2500
|
2245 – 2828
|
| 250
|
223 – 280
|
3150
|
2829 – 3563
|
| 315
|
281 – 353
|
4000
|
3564 – 4489
|
| 400
|
354 – 445
|
5000
|
4490 – 5657
|
| 500
|
446 - 561
|
|
|
Таблица 6.
| Вид материала
|
Класс
|
Плотность,
кг/м3
|
К
|
| Керамзитобетон
|
В 7,5
|
1500-1550
1300-1450
1200
1100
|
1,1
1,2
1,3
1,4
|
| В 12,5 –
В 15
|
1700-1750
1500-1650
1350-1450
1250
|
1,1
1,2
1,3
1,4
|
| Перлитобетон
|
В 7,5
|
1400-1450 1300-1350 1100-1200
950-1000
|
1,2
1,3
1,4
1,5
|
| Аглопоритобетон
|
В 7,5
|
1300
1100-1200
950-1000
|
1,1
1,2
1,3
|
| В 12,5
|
1500-1800
|
1,2
|
| Шлакопемзобетон
|
В 7,5
|
1600—1700
|
1,2
|
| В 12,5
|
1700-1800
|
1,2
|
| Газобетон, пенобетон, газосиликат
|
В 5,0
|
1000
800
600
|
1,5
1,6
1,7
|
| Кладка из кирпича,
пустотелых керамических блоков
|
|
1500-1600
1200-1400
|
1,1
1,2
|
| Гипсобетон,
гипс (в том числе поризованный или с легкими заполнителями)
|
В 7,5
|
1300
1200
1000
800
|
1,3
1,4
1,5
1,6
|
| Для сплошных ограждающих конструкций
плотностью γ = 1800 кг/м3
и более К
= 1.
|
| Для ограждений из бетона плотностью 1800 кг/м3
и более с круглыми пустотами
коэффициент К
определяется по формуле: , (8)
где - момент инерции сечения, м4
; - ширина сечения, - приведенная толщина сечения, м.
|
| Для ограждающих конструкций из легких бетонов с круглыми пустотами
(рис. 4) коэффициент принимается как произведение коэффициентов, определенных отдельно для сплошных конструкций из легких бетонов и конструкций с круглыми пустотами.
|
Таблица 7.
| Материалы
|
Плотность
кг/м3
|
f
в
, Гц
|
f
с
, Гц
|
R
в
, дБ
|
R
с
, дБ
|
| 1. Сталь
|
7800
|
6000/h
|
12000/h
|
40
|
32
|
| 2. Алюминиевые сплавы
|
2500-27000
|
6000/h
|
12000/h
|
32
|
22
|
| 3. Стекло силикатное
|
2500
|
6000/h
|
12000/h
|
35
|
29
|
| 4. Стекло органическое
|
1200
|
17000/h
|
34000/h
|
37
|
30
|
| 5. Асбестоцементные листы
|
2100
1800
1600
|
9000/h
9000/h
10000/h
|
18000/h
18000/h
20000/h
|
35
34
34
|
29
28
28
|
| 6. Гипсокартонные листы (сухая гипсовая штукатурка)
|
1100
850
|
13000/h
13000/h
|
26000/h
26000/h
|
32
30,5
|
27
26
|
| 7. Древесно-стружечная плита (ДСП)
|
850
650
|
13000/h
13500/h
|
26000/h
27000/h
|
32
30,5
|
27
26
|
| 8. Твердая древесно-волокнистая плита (ДВП)
|
1100
|
19000/h
|
38000/h
|
35
|
29
|
| Примечание
: h – толщина, мм
|
Таблица 8.-
Поправка 
| /
|
, дБ
|
/
|
, дБ
|
| 1,4
|
2,0
|
2,7
|
6,5
|
| 1,5
|
2,5
|
2,9
|
7,0
|
| 1,6
|
3,0
|
3,1
|
7,5
|
| 1,7
|
3,5
|
3,4
|
8,0
|
| 1,8
|
4,0
|
3,7
|
8,5
|
| 2,0
|
4,5
|
4,0
|
9,0
|
| 2,2
|
5,0
|
4,3
|
9,5
|
| 2,3
|
5,5
|
4,6
|
10,0
|
| 2,5
|
6,0
|
5,0
|
10,5
|
Таблица 9.
–
Поправка 
| Материал заполнения
|
Заполнение промежутка
|
|
| Пористо-волокнистый
(минеральная вата, стекловолокно)
|
20%
30%
40%
50 – 100%
|
2
3
4
5
|
| Пористый с жестким скелетом
(пенопласт, фибролит)
|
100%
|
3
|
Таблица 10
.
| Конструкция пола
|
, Гц
|
Индекс изоляции воздушного шума перекрытием
, дБ, при индексе изоляции несущей плитой перекрытия , дБ.
|
| 43
|
46
|
49
|
52
|
55
|
57
|
| 1. Деревянные полы по лагам, уложенным на звукоизоляционный слой в виде ленточных прокладок с ЕД
= 5·105
- 12·105
Па, при расстоянии между полом и несущей плитой 60 – 70 мм.
|
160
200
250
320
400
500
|
53
50
49
48
47
46
|
54
52
51
49
48
48
|
55
53
52
51
50
-
|
56
54
53
53
52
-
|
57
56
55
55
-
-
|
58
58
57
-
-
-
|
| 2. Покрытие пола на монолитной стяжке или сборных плитах с m = 60 – 120 кг/м² по звукоизоляционному слою с ЕД
= 3·105
- 10·105
Па.
|
63
80
100
125
160
200
|
-
53
52
51
50
47
|
55
54
53
52
51
49
|
56
55
54
53
53
51
|
57
56
55
54
54
53
|
58
57
56
55
55
-
|
59
58
58
57
57
-
|
| 3. Покрытие пола на монолитной стяжке или сборных плитах с m = 60 – 120 кг/м² по звукоизоляционному слою из песка с ЕД
= 12·106
Па.
|
200
250
320
400
500
|
-
50
49
48
47
|
53
52
51
50
49
|
54
53
52
51
51
|
55
54
54
53
53
|
56
55
55
55
55
|
58
57
57
57
57
|
Таблица 11.
Таблица 12.
Таблица 13.
| Поверхностная плотность несущей плиты перекрытия, кг/м²
|
Значения
, дБ
|
| 150
200
250
300
350
400
450
500
550
600
|
86
84
82
80
78
77
76
75
74
73
|
| Примечания
3. При подвесном потолке из листовых материалов (ГКЛ, ГВЛ и т.п.) из значений вычитается 1 дБ.
4. При заполнении пространства над подвесным потолком звукопоглощающим материалом из значений вычитается 2 дБ.
|
Таблица 14.
| Толщина воздушного промежутка d, мм
|
Величина H, дБ
|
| 15 – 25
50
100
150
200
|
22
24
26
27
28
|
Контрольные вопросы:
- Нормирование звукоизоляции: индекс изоляции воздушного шума, индекс приведенного уровня ударного шума.
- Вид частотной характеристики изоляции воздушного шума однослойной ограждающей конструкцией.
- Вид частотной характеристики изоляции воздушного шума многослойной ограждающей конструкцией с воздушным промежутком.
- Расчет изоляции воздушного шума однослойными ограждающими конструкциями. Способы увеличения изоляции воздушного шума ограждающими конструкциями.
- Легкие ограждающие конструкции, обеспечивающие высокую изоляцию воздушного шума.
- Способы увеличения изоляции ударного шума конструкциями перекрытия.
Литература:
1. Архитектурная физика. Учебник для вузов. Коллектив авторов под ред. Оболенского Н. В. М., 2005.
2. Соловьев А.К. Физика среды. Учебник для вузов. М., 2009.
3. Ковригин С. Д., Крышов С. П. Архитектурно-строительная акустика. М., 1986.
4. Макриненко Л. И. Акустика помещений общественных зданий. М., 1986.
5. Осипов Г. Л., Коробков В. Е., Климухин А. А. и др. Защита от шума в градостроительстве. М., 1993.
6. СНиП 23-03-2003. «Защита от шума»
7. СП 23-103-2003 «ПРОЕКТИРОВАНИЕ ЗВУКОИЗОЛЯЦИИ ОГРАЖДАЮЩИХ КОНСТРУКЦИЙ ЖИЛЫХ И ОБЩЕСТВЕННЫХ ЗДАНИЙ»
|