| Министерство образования и науки Украины
Харьковская государственная академия городского хозяйства
В. А. Мазур
Металлические конструкции гражданских зданий и инженерных сооружений
Краткий курс лекций
(учебно-методическое пособие для студентов
строительных специальностей)

Харьков 2003
УДК
Мазур В.А. Металлические конструкции гражданских зданий и инженерных сооружений: Учебно-методическое пособие для студентов строительных специальностей. — Харьков: ХГАГХ., 2003 г. — 72 с.
В пособии в краткой форме изложены основные сведения о разнообразных несущих металлических конструкциях большепролётных зданий, стальных каркасах многоэтажных зданий, а также о листовых конструкциях и высотных сооружениях.
Ил. 40. Библ. 9 назв.
Рецензент: к.т.н. Рудаков В.Н., доцент кафедры строительных конструкций ХГАГХ.
Рекомендовано кафедрой строительных конструкций,
протокол № 5 от 10.01. 2003 г.
© Мазур В.А.
ХГАГХ, 2003 г.
Раздел 1. Металлические конструкции большепролётных
покрытий зданий
По функциональному назначению
большепролётные здания можно разделить на:
1) здания общественного назначения (театры, выставочные павильоны, кинотеатры, концертные и спортивные залы, крытые стадионы, рынки, вокзалы);
2) здания специального назначения (ангары, гаражи);
3) промышленные здания (авиационных, судостроительных и машиностроительных заводов, лабораторные корпуса различных производств).
Несущие конструкции по конструктивной схеме
подразделяются на:
— блочные,
— рамные,
— арочные,
— структурные,
— купольные,
— висячие,
— сетчатые оболочки.
Выбор той или иной схемы несущих конструкций здания зависит от целого ряда факторов: пролёта здания, архитектурно-планировочного решения и формы здания, наличия и типа подвесного транспорта, требований к жёсткости покрытия, типа кровли, аэрации и освещения, основания под фундаменты и т.д.
Сооружения с большими пролётами являются объектами индивидуального строительства, их архитектурные и конструктивные решения весьма индивидуальны, что ограничивает возможности типизации и унификации их конструкций.
Конструкции таких зданий работают в основном на нагрузки от собственного веса конструкций и атмосферных воздействий.
1.1 Балочные конструкции
Забиваем Сайты В ТОП КУВАЛДОЙ - Уникальные возможности от SeoHammer
Каждая ссылка анализируется по трем пакетам оценки: SEO, Трафик и SMM.
SeoHammer делает продвижение сайта прозрачным и простым занятием.
Ссылки, вечные ссылки, статьи, упоминания, пресс-релизы - используйте по максимуму потенциал SeoHammer для продвижения вашего сайта.
Что умеет делать SeoHammer
— Продвижение в один клик, интеллектуальный подбор запросов, покупка самых лучших ссылок с высокой степенью качества у лучших бирж ссылок.
— Регулярная проверка качества ссылок по более чем 100 показателям и ежедневный пересчет показателей качества проекта.
— Все известные форматы ссылок: арендные ссылки, вечные ссылки, публикации (упоминания, мнения, отзывы, статьи, пресс-релизы).
— SeoHammer покажет, где рост или падение, а также запросы, на которые нужно обратить внимание.
SeoHammer еще предоставляет технологию Буст, она ускоряет продвижение в десятки раз,
а первые результаты появляются уже в течение первых 7 дней.
Зарегистрироваться и Начать продвижение
Балочные большепролётные конструкции покрытий состоят из главных несущих поперечных конструкций в виде плоских или пространственных ферм (пролёт ферм от 40 до 100 м) и промежуточных конструкций в виде связей, прогонов и кровельного настила.
По очертанию фермы бывают
: с параллельными поясами, трапециевидные, полигональные, треугольные, сегментные (см. схемы на рис. 1).
Высота ферм hф=1/8 ÷ 1/14L; уклон i=1/ 2 ÷ 1/15.
Треугольные фермы hф= 1/12 ÷ 1/20L; уклон поясов i=1/5 ÷ 1/7.

Рис.1 - Схемы строительных ферм
Поперечные сечения ферм:
| 1) плоские
2) коробчатые
3) трёхгранные
|

|
При L > 36м одну из опор балочной фермы устанавливают подвижной.
Компоновка покрытия
— вертикальные и горизонтальные связи по покрытию решаются аналогично промышленным зданиям со стропильными фермами.
 а) нормальная компоновка
стена
      СФ L
б) усложнённая компоновка — с подстропильными фермами:
ПФ
СФ L
В В
Балочные схемы покрытий применяются:
— при любых видах подопорных конструкций — кирпичные или бетонные стены, колонны (металлические или железобетонные);
— когда подопорные конструкции не могут воспринимать распорных усилий;
— при строительстве зданий на просадочных или карстовых грунтах и подрабатываемых территориях.
Следует отметить, что балочные схемы покрытий тяжелее рамных и арочных, но просты в изготовлении и монтаже.
Расчёт ферм выполняют методами строительной механики (аналогично расчёту стропильных ферм промышленных зданий).
1.2 Рамные конструкции
Рамные конструкции для покрытий зданий применяют при пролёте
L=40 — 150м, при пролёте L > 150м они становятся неэкономичными.
Преимущества рамных конструкций
по сравнению с балочными — это меньший вес, большая жёсткость и меньшая высота ригелей.
Недостатки
— большая ширина колонн, чувствительность к неравномерным осадкам опор и изменениям Tо
.
Рамные конструкции эффективны при погонных жесткостях колонн, близких к погонным жесткостям ригелей, что позволяет перераспределить усилия от вертикальных нагрузок и значительно облегчить ригели.
При перекрытии больших пролётов применяют, как правило, двухшарнирные и бесшарнирные рамы самых разнообразных очертаний (см. рис.2).
 
Рис. 2 - Схемы сквозных рам
Бесшарнирные рамы более жёсткие и экономичные по расходу материала, однако, они требуют устройства мощных фундаментов, чувствительны к изменению То
.
При больших пролётах и нагрузках ригели рам конструируют как тяжёлые фермы, при сравнительно малых пролётах (40-50м) они имеют такие же сечения и узлы, как лёгкие фермы.
Сервис онлайн-записи на собственном Telegram-боте
Попробуйте сервис онлайн-записи VisitTime на основе вашего собственного Telegram-бота:
— Разгрузит мастера, специалиста или компанию;
— Позволит гибко управлять расписанием и загрузкой;
— Разошлет оповещения о новых услугах или акциях;
— Позволит принять оплату на карту/кошелек/счет;
— Позволит записываться на групповые и персональные посещения;
— Поможет получить от клиента отзывы о визите к вам;
— Включает в себя сервис чаевых.
Для новых пользователей первый месяц бесплатно.
Зарегистрироваться в сервисе
Поперечные сечения рам аналогичны балочным фермам.
Компоновка каркаса и покрытия
из рамных конструкций аналогична решению каркасов промышленных зданий и балочных покрытий.
Статический расчёт рамных конструкций выполняют методами строительной механики и по специально разработанным программам на ЭВМ.
Тяжелые сквозные рамы рассчитывают как решёточные системы с учётом деформации всех стержней решётки.
1.3
Арочные конструкции
Арочные конструкции покрытий большепролётных зданий оказываются более выгодными по затрате материала, чем балочные и рамные системы. Однако в них возникает значительный распор, который передаётся через фундаменты на грунт или устраивается затяжка для его восприятия (т.е. погашение распора внутри системы).
Схемы и очертания арок весьма разнообразны: двухшарнирные, трёхшарнирные, бесшарнирные (см. рис. 3).
Наиболее выгодная высота арок:
f=1/4 ÷ 1/6 пролёта L.
Высота сечения арок:
- сплошностенчатых 1/50 ÷ 1/80 L,
- решёточных 1/30 ÷ 1/60 L.
| Рис. 3 - Схемы арок.
Самыми распространёнными являются двухшарнирные арки
— они экономичны по расходу материала, просты в изготовлении и монтаже легко деформируются вследствие свободного поворота в шарнирах в них не возникает значительных дополнительх напряжений от То
и осадок опор.
В трёхшарнирных арках
— всё аналогично двухшарнирным, однако ключевой шарнир осложняет конструкцию самих арок и покрытия.
Бесшарнирные арки
— самые лёгкие, наиболее благоприятно происходит распределение изгибающих моментов. Однако они требуют устройства мощных фундаментов. Их нужно рассчитывать на воздействие
То
.
Сквозные арки конструируют аналогично фермам балочных схем покрытий.
Компановка каркаса и покрытия
из арочных конструкций аналогична решению каркасов из рамных конструкций.
Статический расчёт арочных конструкций выполняют методами строительной механики и по специально разработанным программам на ЭВМ.
Раскосы в сквозных арках проектируют как в фермах. Наиболее сложными в конструктивном плане являются опорные и ключевые шарниры (см. рис. 4 и 5)
|
|

Рис.4
- Схемы опорных шарниров арок и рам (а — плиточный,
б — пятниковый, в — балансирный:
1 — плита, 2 — цапфа, 3 —балансир).

Рис. 5
- Ключевые шарниры и арок
(а —плиточный; б —балансирный; в —листовой; г —болтовой)
После определения M, N, Q сечения стержней арки подбирают также, как сечения стерней ферм:
| а h
в
NН
пояса=N×a/h+Mх/h; NВ
пояса=N×b/h+Mх/h; Nраскоса=Q/sin α .
При расчете раскосов также необходимо учитывать дополнительные напряжения от обжатия поясов:
Gдоп
раск= [(Gп.верх+Gп.ниж.)/2] ×cos α
|
1.4 Пространственные конструкции покрытий большепролётных зданий
В балочных, рамных и арочных системах покрытий, состоящих из отдельных несущих элементов, нагрузка передаётся только в одном направлении — вдоль несущего элемента. В этих системах покрытий несущие элементы соединены между собой лёгкими связями, которые не предназначены для перераспределения нагрузок между несущими элементами, а только обеспечивают их пространственную устойчивость, т.е. с их помощью обеспечивается жёсткий диск покрытия.
В пространственных системах связи усиливают и привлекают к распределению нагрузок и передаче их на опоры. Приложенная к пространственной конструкции нагрузка передаётся в двух направлениях. Такая конструкция получается обычно легче плоской.
Пространственные конструкции могут быть плоскими (плиты) и криволинейными (оболочки).
Плоские пространственные системы (исключая висячие) для обеспечения необходимой жёсткости должны быть двухпоясными — по поверхности образующие сетчатую систему. Двухпоясные конструкции имеют две параллельные сетчатые поверхности, соединённые между собой жёсткими связями.
Однослойные конструкции, имеющие криволинейную систему поверхности, называются односетчатыми.
В таких конструкциях принцип концентрации материала заменён принципом многосвязности системы. Изготовление и монтаж таких конструкций очень трудоёмок, требует специальных приёмов изготовления и монтажа, что является одной из причин их ограниченного применения.
1.5 Пространственные сетчатые системы плоских покрытий
В строительстве получили распространение сетчатые системы регулярного строения, так называемые структурные конструкции
или просто структуры
, которые применяются в виде плоских покрытий большепролётных общественных и производственных зданий.
Плоские структуры представляют собой конструкции, образованные из различных систем перекрёстных ферм (см. рис.6):
1) Структуры, образованные из перекрёстных ферм, идущих в трёх направлениях. Поэтому они являются наиболее жёсткими, однако более сложными в изготовлении. Это структуры с поясными сетками из разносторонних треугольников.
2) Структуры, образованные из ферм, идущих в двух направлениях. Это структуры с поясными сетками из квадратных ячеек.
3) Структуры, образованные из ферм, также идущих в двух направлениях, но усиленных диагоналями в угловых зонах. Поэтому они более жёсткие.
Достоинства структур:
— Большая пространственная жёсткость: можно перекрывать большие пролёты при различных опорных контурах или сетках колонн; получать выразительные архитектурные решения при высоте структуры.
Hструктур=1/12 — 1/20 L
— Повторяемость стержней — из стандартных и однотипных стержней можно монтировать покрытия разных пролётов и конфигураций в плане (прямоугольные, квадратные, треугольные и криволинейные).
— Позволяет крепить подвесной транспорт и изменять при необходимости направление его движения.
— Системы покрытий из структур могут быть как одно-, так и многопролётными с опиранием как на стены, так и на колонны.
— Устройством консольных свесов за линией опор уменьшают расчётный пролётный изгибающий момент и существенно облегчают конструкцию покрытия.

Рис. 6
- Схемы решёток структурных покрытий (а — с поясными сетками из равносторонних треугольных ячеек; б — с поясными сетками из квадратных ячеек; в — то же, усиленных диагоналями в условных зонах: 1 — верхние пояса,
2 — нижние пояса, 3 — наклонные раскосы, 4 — верхние диагонали, 5 —нижние диагонали, 6 — опорный контур).
Недостатки структур
— повышенная трудоёмкость изготовления и монтажа. Пространственные узлы сопряжений стержней (см. рис. 7) — самые сложные элементы в структурах:
— шаровая вставка (а);
— на винтах (б);
— цилиндрический сердечник с прорезями, стянутый одним болтом с шайбами (в, г);
— сварной узел сплюснутых концов стержней (д).

Рис. 7 - Узлы сопряжений стержней структур
Структурные конструкции представляют собой многократно статически неопределённые системы. Точный расчёт их сложен и выполняется на ЭВМ.
При упрощённом подходе структуры рассчитывают способами строительной механики — как изотропные плиты или как системы перекрёстных ферм без учёта крутящих моментов.
Величины моментов и поперечных сил определяют по таблицам для расчёта плит: Mплиты; Qплиты — далее переходят к расчёту стержней.
1.6 Оболочные покрытия
Для покрытий зданий применяют односетчатые, двухсетчатые цилиндрические оболочки и оболочки двоякой кривизны.
Цилиндрические оболочки (см. рис. 8) выполняют в виде сводов с опиранием:
а) прямолинейным образующим контура
б) на торцовые диафрагмы
в) на торцовые диафрагмы с промежуточными опорами

Рис.8
- Схемы опирания цилиндрических оболочек (1 — оболочка;
2 — торцовая диафрагма; 3 — связи; 4 — колонны).
Односетчатые оболочки применяют при пролётах В не более 30м.
Двухсетчатые — при больших пролётах В>30м.
По цилиндрической поверхности расположены стержни, образующие сетки различной системы (см. рис. 9):
— ромбическая сетка (а);
— ромбическая сетка с продольными рёбрами (б);
— ромбическая сетка с поперечными рёбрами (в);
— ромбическая сетка с поперечными и продольными рёбрами (г).
Наиболее простая сетка ромбического рисунка, которую получают из лёгких стандартных стержней (∟, ○, □) прокатных профилей. Однако такая схема не обеспечивает необходимой жёсткости в продольном направлении при передаче нагрузки на продольные стены.

Рис. 9 - Система сеток односетчатых оболочек
Жёсткость конструкции значительно увеличивается при наличии продольных стержней (схема "б") — конструкция может работать как оболочка пролётом L. В этом случае опорой могут служить торцовые стены или четыре колонны с торцовыми диафрагмами.
Наиболее жёсткими и выгодными являются сетки (схема "в"), у которых есть и продольные и поперечные рёбра (стержни), а решётка сетки направлена под углом 45 .
| Для увеличения жёсткости цилиндрических оболочек их крайние свободные грани усиливаются вертикальными и горизонтальными бортовыми элементами (см. рис. 8,”г”).
|
Расчёт оболочек выполняют методами теории упругости и методами теории оболочек. Оболочки без поперечных рёбер
рассчитывают как безмоментные складки (способ Эллерса). При наличии поперечных рёбер
, обеспечивающих жёсткость контура, — по моментной теории Власова (она сводится к решению восьмичленных уравнений).
При расчёте сквозных сетчатых оболочек, сквозные грани конструкций заменяются сплошными пластинами эквивалентной толщины при работе на сдвиг, осевое растяжение и сжатие.
Более точный расчёт сетчатых оболочек выполняют на ЭВМ по специально разработанным программам.
Двухсетчатые оболочки
применяют при перекрытии пролётов шириной более B>30м.
Конструктивные схемы их аналогичны схемам двухсетчатых плоских плит — структур. Как и в структурах, они образуются системами перекрёстных ферм, связанных по верхним и нижним поясам специальными связями — решёткой. Но при этом в оболочках основная роль в восприятии усилий принадлежит криволинейным сетчатым плоскостям, соединяющая их решётка меньше участвует в передаче усилий, но придаёт конструкции большую жёсткость.
По сравнению с односетчатыми двухсетчатые оболочки обладают большей жёсткостью и несущей способностью. Ими можно перекрывать пролёты зданий от 30 до 700м.
Проектируют их в виде цилиндрической поверхности, опирающиеся на продольные стены или на металлические колонны. По торцам оболочки опираются на жёсткие диафрагмы (стены, фермы, арки с затяжкой и т.д.).
Наилучшее распределение усилий в оболочке при B=L.
Расстояние между сетчатыми поверхностями h=1/20÷1/100R при f/B=1/6÷1/10.
Как и в структурах, наиболее сложным является узел сопряжения стержней.
Расчёт двухсетчатых оболочек производят на ЭВМ по специально составленным программам.
Для приближённого расчёта оболочки необходимо стержневую систему привести к эквивалентной сплошной оболочке и установить модуль сдвига среднего слоя, эквивалентного по жёсткости соединительной решётке.
1.7 Купольные покрытия
Конструкции куполов бывают четырёх видов (см. рис.6): ребристые (а), ребристо-кольцевые (б), сетчатые (в), радиально-балочные (г).

Рис. 10
- Схемы куполов
Ребристые купола
Конструкции ребристых куполов состоят из отдельных плоских или пространственных рёбер в виде балок, ферм или полуарок, расположенных в радиальном направлении и связанных между собой прогонами.
Верхние пояса рёбер образуют поверхность купола (обычно сферическую). По прогонам устраивают кровлю.
В вершине для перестыковки рёбер устраивают жёсткое кольцо, работающее на сжатие. Рёбра к центральному кольцу могут крепиться шарнирно или иметь жёсткое закрепление. Пара рёбер купола, расположенных в одной диаметральной плоскости и прерванных центральным кольцом, рассматривается как единая, например арочная, конструкция (двухшарнирная, трёхшарнирная или бесшарнирная).
Ребристые купола являются распорными системами. Распор воспринимается стенами или специальным распорным кольцом в форме окружности или многогранника с жёсткими или шарнирными сопряжениями в углах.
Между рёбрами с определённым шагом укладывают кольцевые прогоны, на которые опирается кровельный настил. Погоны, помимо своего основного назначения, обеспечивают общую устойчивость верхнего пояса ребер из плоскости, уменьшая их расчётную длину.
Для обеспечения общей жёсткости купола в плоскости прогонов устраиваются с определённым шагом скатные связи между рёбрами, а также вертикальные связи для развязки внутреннего пояса арки — между вертикальными связями устраивают распорки.
Расчётные нагрузки
— собственный вес конструкции, вес оборудования и атмосферные воздействия.
Расчётными элементами купольного покрытия являются: рёбра, опорное и центральное кольцо, прогоны, скатные и вертикальные связи.
Если распор купола воспринимают распорным кольцом, то при расчёте арки кольцо может быть заменено условной затяжкой, находящейся в плоскости каждой пары полуарок (образующих плоскую арку).
При расчёте опорного кольца — при частом расположении арок (рёбер) купола действия их распоров можно заменить эквивалентной равномерно распределённой нагрузкой:
| q = nHраспора/2Пr, тогда Nкольца = qr = nHраспора/2П.
|
Ребристо-кольцевые купола
В них погоны с рёбрами составляют одну жёсткую пространственную систему. В этом случае кольцевые прогоны работают не только на изгиб от нагрузки на покрытие, но и от реакций промежуточных рёбер и воспринимают растягивающие или сжимающие кольцевые усилия, возникающие от распоров в месте опирания многопролётных полуарок.
Вес рёбер (арок) в таком куполе уменьшается благодаря включению в работу кольцевых прогонов, как промежуточных опорных колец. Кольцевые рёбра в таком куполе работают так же, как и опорное кольцо в ребристом куполе, и при расчёте арок могут быть заменены условными затяжками.
При симметричной нагрузке расчет купола можно вести, расчленяя его на плоские арки с затяжками на уровне кольцевых рёбер (прогонов).
Сетчатые купола
Если в ребристом или ребристо-кольцевом куполе увеличить связность системы, то можно получить сетчатые купола с шарнирным соединением стержней в узлах.
В сетчатых куполах между рёбрами (арками) и кольцами (кольцевыми прогонами) располагают раскосы, благодаря которым усилия распределяются по поверхности купола. Стержни в этом случае работают в основном только на осевые силы, что уменьшает вес рёбер (арок) и колец.
Стержни сетчатых куполов выполняют из замкнутых профилей (круглого, квадратного или прямоугольного сечения). Узлы соединений стержней как и в структурах или сетчатых оболочках.
Расчёт сетчатых куполов производят на ЭВМ по специально разработанным программам.
Приблизительно их рассчитывают по безмоментной теории оболочек — как сплошную осесимметричную оболочку по формулам из соответствующих расчётно-теоретических справочников.
Радиально-балочные купола
Представляют собой ребристые купола, составленные из сегментных полу-ферм, расположенных радиально. В центре сегментные полуфермы присоединяются к жёсткому кольцу (решётчатому или сплошностенчатому с диафрагмами жёсткости).
1.8 Висячие покрытия
Висячими называются покрытия, в которых основные несущие элементы работают на растяжение.
В этих элементах наиболее полно используются высокопрочные стали, поскольку их несущая способность определяется прочностью, а не устойчивостью.
Несущие растянутые стержни — ванты — могут выполняться гибкими или жёсткими.
Жёсткие
— выполняют из выгнутых двутавровых балок.
Гибкие
— выполняют из стальных канатов (тросов) свитых из высокопрочной проволоки с R= 120 кН/см2 ÷ 240 кН/см2.
Висячие конструкции покрытий являются одной из наиболее перспективных конструктивных форм для применения высокопрочных материалов. Конструктивные элементы висячих покрытий легко транспортировать, относительно легко монтировать. Однако сооружение висячих покрытий имеет ряд трудностей, от удачного инженерного решения которых зависит эффективность покрытия в целом:
Первый недостаток
— висячие покрытия — системы распорные и для восприятия распора необходима опорная конструкция, стоимость которой может составлять значительную часть стоимости всего покрытия. Уменьшения стоимости опорных конструкций можно достичь за счёт повышения эффективности их работы — созданием покрытий круглой, овальной и других не прямолинейных форм плана;
второй недостаток
— повышенная деформативность висячих систем. Это вызвано тем, что модуль упругости витых тросов меньше чем у прокатной стали (Етроса=1,5 ÷ 1,8×105
МПа; Е прокатных стержней = 2,06×10 5
Мпа), а область упругой работы высокопрочной стали значительно больше, чем у обычной стали. Таким образом, относительная деформация троса в упругой стадии работы ε=G/Е получается в несколько раз больше чем у элементов из обычной стали.
Большинство висячих систем покрытия являются системами мгновенной жёсткости, т.е. системами, которые работают упруго лишь на равновесные нагрузки, а при действии неравномерных нагрузок в них, помимо упругих деформаций, появляются ещё и кинематические перемещения системы, ведущие к изменению целостности геометрической системы покрытия.
Для уменьшения кинематических перемещений висячие системы покрытий часто снабжают специальными стабилизирующими устройствами и предварительно напрягают.
Типы схем висячих покрытий
1. Однопоясные системы с гибкими вантами
Такие системы покрытий в плане проектируют прямоугольными или изогнутыми, например, круглыми (см. рис.11).
Они представляют собой предварительно напряжённые железобетонные оболочки, работающие на растяжение. Напряжённой арматурой в них является система из гибких вант, на которые во время монтажа укладывают сборные железобетонные плиты. В это время на ванты даётся дополнительный пригруз, который после укладки всех железобетонных плит и замоноличивания швов снимают. Ванты обжимают железобетонные плиты и образовавшаяся железобетонная оболочка получает предварительное напряжение сжатия, позволяющее ей воспринимать растягивающее напряжение от внешних нагрузок и обеспечивает общую устойчивость конструкции. Несущая способность покрытия обеспечивается растяжением вант.
В покрытиях прямоугольного плана распор вант воспринимает опорная конструкция из оттяжек и анкеров, закреплённых в грунте.

Рис. 11
- Однопоясные покрытия с гибкими вантами
(а — прямоугольные в плане; б — круглые в плане)
В покрытиях круглого (овального) плана распор передаётся на наружное сжатое кольцо, лежащее на колоннах и внутреннее (растянутое) металлическое кольцо.
Стрела провеса вант таких покрытий обычно составляет f=1/10÷1/20 L. Такие оболочки являются пологими.
Сечение вант покрытия определяют по монтажной нагрузке. В этом случае ванты работают как отдельные нити, и распор в них можно определять без учёта их деформаций H=M/f , где M — балочный момент от расчётной нагрузки, f — стрела провисания нити.
Наибольшее усилие в ванте будет на опоре где V — балочная реакция.
2. Однопоясные системы с жёсткими вантами

Рис. 12
- 1 — продольные изгибно-жёсткие рёбра; 2 — поперечные рёбра;
3 — мембрана алюминиевая, t = 1,5 мм
В таких покрытиях гнутые жёсткие ванты, прикреплённые к опорному поясу, работают под действием нагрузки на растяжение с изгибом. Причём при действии равномерной нагрузки доля изгиба в напряжениях невелика. При действии неравномерной нагрузки жёсткие ванты начинают сильно сопротивляться местному изгибу, чем значительно уменьшают деформативность всего покрытия.
Стрела провеса вант таких покрытий обычно составляет 1/20 ÷ 1/30 L. Однако, использование жёстких нитей возможно лишь при небольших пролётах, т.к. с увеличением пролёта значительно усложняется монтаж и увеличивается их масса. По таким жёстким вантам можно укладывать лёгкую кровлю, отсутствует необходимость в предварительном напряжении (его роль выполняет изгибная жёсткость ванты).
При равномерной нагрузке распор в ванте определяют по формуле
H = 8/3 ×[(EA)/(l2
mо)] × (f+fо) × ∆f +Hо;
где ∆f=f–fо ,
f - прогиб под нагрузкой,
fо – начальный провес;
m1=1+(16/3)/(fо/l)2
Изгибный момент в середине ванты находят по формуле
M= q I2
/8–Hf .
3. Однопоясные висячие покрытия, напрягаемые с помощью поперечных балок или ферм
 
Рис. 13
Стабилизация таких канатно-балочных систем достигается либо увеличенной массой поперечных и жёстких на изгиб элементов, либо предварительным напряжением оттяжек, которые соединяют поперечные балки или фермы с фундаментами или опорами. Таким способом напрягаются покрытия с лёгким кровельным настилом.
Благодаря изгибной жёсткости поперечных балок или ферм покрытие приобретает пространственную жёсткость, которая особенно проявляется при загружении пролётной конструкции местной нагрузкой.
4. Двухпоясные системы
 
Рис. 14
В покрытиях такого типа имеется две системы вант
:
— Несущие
— имеющие изгиб вниз;
— Стабилизирующие
— имеющие изгиб вверх.
Это делает такую систему мгновенно жёсткой — способной воспринимать нагрузки, действующие в двух различных направлениях. Вертикальная нагрузка вызывает у несущей нити растяжение
, а у стабилизирующей — сжатие
. Отсос ветра вызывает в вантах усилия обратного знака.
В покрытиях данного типа можно применять лёгкие кровли.
5. Седловидные напряжённые сетки
 
Рис. 15
Покрытия такого типа применяются для капитальных зданий и временных сооружений.
Сетка покрытия:
несущие (продольные) тросы изогнуты вниз, стабилизирующие (поперечные) тросы изогнуты вверх.
Такая форма покрытия позволяет предварительно напрягать сетку. Поверхность покрытия лёгкая из различных материалов: от стального листа до плёнки и тента.
Шаг сеток приблизительно один метр. Точный расчёт сеток таких покрытий возможен только на ЭВМ.
6. Металлические оболочки-мембраны

Рис. 16
По форме в плане это эллипс или круг, а форма оболочек довольно разнообразная: цилиндрическая, коническая, чашеобразная, седловидная и шатровая. Большинство из них работает по пространственной схеме, делает её весьма выгодной и позволяет применять листы толщиной 2 — 5мм.
Расчёт таких систем производят на ЭВМ.
Главное преимущество
таких систем покрытий — это совмещение несущих и ограждающих функций.
Утеплитель и гидроизоляцию укладывают на несущую оболочку, не применяя кровельных плит.
Полотнища оболочки выпускают на заводе-изготовителе и доставляют на монтаж в виде рулонов, из которых на площадке строительства собирают всю оболочку без применения лесов.
Раздел 2. Листовые конструкции
Листовыми называют конструкции, состоящие в основном из металлических листов и предназначенные для хранения, транспортирования жидкостей, газов и сыпучих материалов.
К этим конструкциям относятся:
— Резервуары для хранения нефтепродуктов, воды и других жидкостей.
— Газгольдеры для хранения и распределения газов.
— Бункера и силосы для хранения и перегрузки сыпучих материалов.
— Трубопроводы больших диаметров для транспортирования жидкостей, газов и размельчённых или разжиженных твёрдых веществ.
— Специальные конструкции металлургической, химической и др. отраслей промышленности:
- кожухи доменных печей
- воздухонагреватели
- пылеуловители — скрубера, корпуса электрофильтров и рукавных фильтров
- дымовые трубы
- сплошностенчатые башни
- градирни и т.д.
Такие листовые конструкции занимают 30% от всех металлических конструкций.
Условия работы листовых конструкций
достаточно разнообразны:
— они могут быть надземными, наземными, полузаглублёнными, подземными, подводными;
— могут воспринимать статические и динамические нагрузки;
— работать под низким, средним и высоким давлением;
— под воздействием низких и высоких температур, нейтральных и агрессивных сред.
Для них характерно двухосновное напряжённое состояние, а в местах сопряжения с днищем и рёбрами жёсткости, в местах сопряжения оболочек различной кривизны (т.е. на границе изменения радиуса кривизны) возникают местные высокие напряжения, быстро затухающие по мере удаления от этих участков это — так называемое явление краевого эффекта.
Листовые конструкции всегда совмещают несущую и ограждающую функции.
Сварные соединения элементов листовых конструкций выполняют встык, внахлёстку и впритык. Соединения выполняют автоматической и полуавтоматической дуговой сваркой.
Большинство листовых конструкций являются тонкостенными оболочками вращения.
Рассчитывают оболочки методами теории упругости и теории оболочек.
Листовые конструкции рассчитывают на прочность, устойчивость и выносливость.
1.1 Резервуары
В зависимости от положения в пространстве и геометрической формы они делятся на цилиндрические (вертикальные и горизонтальные), сферические и каплевидные.
По расположению относительно планировочного уровня земли различают: надземные (на опорах), наземные, полузаглублённые, подземные и подводные.
Они могут быть постоянного и переменного объёмов.
Тип резервуара выбирают в зависимости от свойств хранимой жидкости, режима эксплуатации, климатических особенностей района строительства.
Наибольшее распространение
получили вертикальные и горизонтальные цилиндрические резервуары как самые простые при изготовлении и монтаже.
Вертикальные резервуары со стационарной крышей
являются сосудами низкого давления, в которых хранят нефтепродукты при малой их оборачиваемости (10 — 12 раз в год). В них образуется избыточное давление в паро-воздушной зоне до 2кПа, а при опорожнении вакуум (до 0,25кПа).
Вертикальные резервуары с плавающей крышей и понтоном
применяют при хранении нефтепродуктов при большой оборачиваемости. В них практически отсутствует избыточное давление и вакуум.
Резервуары повышенного давления (до 30кПа) используют для длительного хранения нефтепродуктов при их оборачиваемости не более 10 — 12 раз в год.
Шаровидные резервуары
— для хранения больших объёмов сжиженных газов.
Каплевидные резервуары
— для хранения бензина с высокой упругостью паров.
Вертикальные резервуары

Рис. 17
Основные элементы:
— стенка (корпус);
— днище;
— крыша (покрытия).
Все элементы конструкций изготавливают из листовой стали. Они просты в изготовлении и монтаже, достаточно экономичны по расходу стали.
Установлены оптимальные размеры вертикального цилиндрического резервуара постоянного объёма, при которых расход металла будет наименьшим. Так, резервуар со стенкой постоянной толщины имеет минимальную массу, если
[(mдн + mпок) / mст] = 2, а значение оптимальной высоты резервуара определяется по формуле
,
где V — объём резервуара,
∆= tдн
.+tприв
. покр
. — сумма приведённой толщины днища и покрытия,
tст. — толщина стенки корпуса.
В резервуарах больших объёмов толщина стенки переменна по высоте. Масса такого резервуара получится минимальной, если суммарная масса днища и покрытия равна массе стенки, т.е. mдн.+mпокр.= mст.
В этом случае
,
где ∆= tдн. + tприв. покр.,
n — коэффициент перегрузки,
γ ж. — удельный вес жидкости.
Днище резервуара
Так как днище резервуара опирается по всей своей площади на песчаное основание, то от давления жидкости оно испытывает незначительные напряжения. Поэтому толщину листа днища не рассчитывают, а принимают конструктивно с учётом удобств монтажа и сопротивляемости коррозии.
| 
|
При V≤1000м и Д<15м → tдн = 4мм;
при V>1000м и Д=18—25м → tдн = 5мм;
при Д > 25м → tдн = 6мм.
Рис. 18
|
Листы полотнищ днища соединяют между собой по продольным кромкам внахлёстку с перекрытием 30 — 60мм при tдн. = 4 — 5мм, а при tдн.= 6мм — выполняются встык. Крайние листы — "окрайки" — принимают на 1—2мм толще листов средней части днища. Из завода-изготовителя всё поставляется в рулонах (Q ≤ 60т).
Конструирование стенок:
 
Рис. 19
Стенка резервуара состоит из ряда поясов высотой, равной ширине листа. Соединяют пояса между собой встык или внахлёстку в телескопическом или ступенчатом порядке. Сопряжение встык выполняют в основном на заводе изготовителе (реже на монтаже), внахлёстку — как на заводе, так и на монтаже.
Распространён метод строительства резервуаров методом рулонирования.
Расчёт на прочность
— стенка корпуса является несущим элементом и рассчитывается по методу предельных состояний в соответствии с требованиями СНиП 11-23-81

Рис. 20
Нормативные нагрузки, действующие на стенку резервуара, а также коэффициент перегрузки принимают в соответствии с СНиП 2,01,07-85 "Нагрузки и воздействия".
Стенку рассчитывают на прочность по безмоментной теории оболочек как цилиндрическую оболочку, работающую на растяжения и действия гидростатического давления жидкости и избыточного давления газа.
Расчётное давление на глубине Х от днища:
Px= γж × (h – x) × n1
+ Pиз. × n2
γж— удельный вес жидкости; n1=1,1; n2=1,2.
В цилиндрической оболочке кольцевое напряжение в 2 раза больше меридиальных.
G2=Pr2/t; G1=N/t=(Pr2)/(2t).
Откуда толщину стенки на расстоянии Х можно определить:
t=[n1 × γж(h–x) + n2
Pиз.] × r/γ ×Rсв
.
Расчёт стенки на устойчивость:
Верхние пояса стенок корпуса резервуара в результате расчёта на прочность имеют сравнительно небольшую толщину, поэтому необходимо проверять их на устойчивость при определённых сочетаниях нагрузки:
- вес крыши и установленного на ней оборудования (Ркр=q × n),
- вес теплоизоляции крыши (Pтепл. из. кр.=qт × nт ),
- вес от снежного покрова (Pснега=qо × c × nсн),
- вакуум (Pвак.=qвак. × nвак.),
- Pветра=qо × c2 × n2,
- Pстенок= (qст × qд/тпл ).
Продольное напряжение
в стенке от действия нагрузок:
G1= [Pкр.+Pтеп. из.+nс (Pсн+Pвакуум+Pветр)]×(r2/2t)+Pст /t.
Кольцевое сжимающее напряжение
в стенке возникает от следующих нагрузок:
- ветровой нагрузки, действующей равномерно по окружности резервуара, и заменяется действием условного вакуума
Pвет.=0,5×qоnвk,
Pвакуум=Pвак.×nвак. от вакуума, тогда
G2=(P ветр.+ Pвак.)ncr2/t.
Если по результатам расчёта требуется значительно повысить толщину стенки резервуара, то целесообразно поставить кольцевые рёбра жёсткости (от одного до трёх).
Максимальное значение меридиальных напряжений
G1 в нижней части стенки с учётом напряжений от краевого эффекта равно:
G1=q/tст.+6M/t2
ст < γсR
Длина полуволны затухания краевого эффекта:
В пределах этого расстояния кольцевые напряжения G2, за счёт стеснённости кольцевых деформаций, меньше чем на соседних участках стенки, поэтому их ( G2) можно не вычислять.
Конструирование и основные положения расчёта крыши резервуаров низкого давления
:
Крыши могут иметь различную конструктивную форму. В основном применяется коническая щитовая форма. Щиты конструируются из каркасов, изготовленных из прокатных или чугунных профилей, и обшивка из стальных листов ( t=2,5—3мм).
При V>10—20тысм — в виде ребристо-кольцевых куполов без центральной стойки, крыши собирают из щитов заводского изготовления, укрупнённых в монтажные блоки — опирающихся на опорное кольцо.
Конструкция резервуара с понтоном
Рис. 21
Разновидностью резервуара со стационарной крышей является резервуар с понтоном, который применяют для сокращения потерь на испарение нефти и нефтепродуктов.
Понтон состоит из понтонного кольца (из замкнутых коробов), обеспечивающего плавучесть всего понтона, и центральной части (из плоских стальных листов t=4мм).
Между стенкой резервуара и наружной стенкой понтона имеется зазор в 200—275мм. Для герметизации этого пространства устанавливают уплотняющие затворы жёсткого или мягкого типа. Понтонное кольцо в нижнем положении опирается на стойки.
Конструкция резервуара с плавающей крышей
| 
|
Основан на принципе резервуара
с понтоном, но при определённой
его модернизации:
- верхнее кольцо жёсткости стенки;
- понтон с двухпоясной; центральной частью
- для сбора и отвода атмосферных осадков с помощью насоса.
|
| Рис. 22
|
Горизонтальные цилиндрические резервуары
Предназначены для хранения нефтепродуктов при избыточном давлении до 0,2 и сжиженных газов до 1,8МПа.
Для нефтепродуктов V<100м, для сжиженных газов V<300м, диаметр 1,4—4м, tст.=3—36мм, длина L=2—30м.
Достоинства
: простота конструктивной формы, поточное изготовление на заводах и перевозка в готовом виде. Удобства надземной и подземной установки.
Недостатки:
необходимость установки специальных опор и сравнительная сложность замера продукта.

Рис. 23
- 1— центр для загрузки; 2 — лаз для осмотра; 3 — кольца жесткости; 4 — штуцер для вентиляции; 5 — опора диафрагмы; 6 — заземление; 7—лестница; 8 — штуцер для забора; 9 — щель в уголке; 10 — стойка.
   Корпус таких резервуаров состоит из нескольких листовых обечаек L=1,5—2,0м. Соединены они встык, при r2/t>200 в каждой обечайке ставят рёбра жёсткости из уголков, а при r2/t>200 ребра жёсткости можно не ставить.
Днища
могут быть (в зависимости от давления):
— плоскими (а); — сферическими (г);
— коническими (б); — элипсовидными (д).
— цилиндрическими (в);
Рис. 24
Расчёт стенки корпуса на прочность
— расчётной схемой является двухконсольная балка кольцевого сечения, если tl/r2>10, и как цилиндрическую оболочку, если tl/r2<10.
Кольцевые напряжения
G2 имеют максимальное значение в нижней части корпуса, где давление на цилиндрическую оболочку складывается из гидравлического давления жидкости и избыточного давления в газовом пространстве.
G2= Pr2/t=(n2P4+n1γж2r2)×r2/t < R,
где n2=1,2; n1=1,1; γж=0,8.
Меридиальные напряжения:
G1=G1'+G1",
где G1' — напряжение от изгиба, как в простой балке;
G1'=M/W; Mконсоли= –qc2
/2; Mприл=q(l2
о/8 – c2
/2).
Из условия равенства Mкон=Mпр находим оптимальное значение пролёта lо=0,586l, где l=V/(Пr2
);
Погонная нагрузка
:
q=n(G/l + γжПr2
), откуда G1'=M/W=[n1(G/l+ γжПr22
)×(l2
/8 – c2
/2)] /Пr2
2t;
G1"— напряжение от избыточного гидростатического давления на днище,
G1"=[Пr22
(n2Pиз+n1γжr2)]/(2Пr2t) = (n2Pиз+n1γжr2)*(r2/2t)
Расчёт корпуса и днища на устойчивость
— только при пустом баке или пониженной температуре. Где γ = 0,8; η =0,9 (коэффициент увеличения надёжности взрывоопасных элементов); φшв =1,0.
Сферические и каплевидные резервуары

Рис. 25
Предназначены для хранения сжиженных газов под высоким избыточным давлением до 250кПа и объёмом 600—4000м.
Они более сложные и трудоёмкие в изготовлении. При толщине оболочки до t = 36мм, их вальцуют в холодном состоянии на шаровидных вальцах, при большей толщине — штампуют в горячем состоянии на прессах, затем сваривают автоматами с помощью специальных вращателей. Все швы проверяют повышенными методами контроля качества. Опираются на кольцевую опору или систему стоек.
1.2 Газгольдеры
Газгольдерами называют сосуды, предназначенные для хранения, смешивания и распределения газов. Их включают в газовую систему между источниками получения газа и его потребностями в качестве своеобразных аккумуляторов (рессиверов), регулирующих потребление газа.
Их применяют в промышленности металлургических, коксохимических и газовых заводов, в химической и нефтеобрабатывающей промышленности, в городском хозяйстве для хранения газа.
По характеру эксплуатации и конструкции
газгольдеры делятся на две группы:
— газгольдеры переменного объёма (мокрые и сухие)
Ри < 4—5кПа (0,4—0,5атм);
— газгольдеры постоянного объёма
Ри=250—2000кПа (2,5—20атм)
и являются сосудами высокого давления.
Мокрые газдольеры
| 
|
1 — резервуар;
2 — колокол;
3 — направляющая штанга;
4 — верхние направляющие
ролики;
5 — нижние направляющие
ролики;
6 — звенья телескопа.
|
Рис.26
Сухие газгольдеры
применяют в случае, когда хранимые газы имеют высокую концентрацию (до 99,9%) и не допускают увлажнения.

Рис.27
- а — порожний газгольдер; б — частично заполненный; в — полный; 1— корпус; 2 — кровля; 3 — днище; 4 — кольцевой фартук из прорезиненной ткани; 5 — бетонные грузы; 6 — каркас шайбы; 7 — днище шайбы; 8 — стенки шайбы; 9 — тяжи шайбы; 10 — стояк газосброса; 11 — газоход.
Конструкция состоит из цилиндрической оболочки с плоским днищем, покоящимся на песчаной подушке, и сферической кровли из листов t=3мм.
Внутри специальная конструкция в виде шайбы, перемещающейся под давлением газа подобно поршню. Шайба имеет несущий каркас и наружную обшивку, из листовой стали.
Газгольдеры постоянного объёма
Ри=70—2000кПа, что даёт возможность, при значительно меньшем объёме, хранить в них во много раз большее количество газа.
Сферические
не габаритные — они более экономичны чем цилиндрические, но сложнее в изготовлении и монтаже.
Их конструктивное оформление и методика расчёта такие же, как и у сферических резервуаров для сжиженных газов, т.е. все газгольдеры — это резервуары для хранения и распределения газов.
2.3 Бункера и силосы
Бункерами и силосами
называют ёмкости, предназначенные для хранения и перегрузки сыпучих материалов.
Бункера (а) — это хранилища, в которых высота стенки не превышает полуторного наименьшего поперечного размера (см. рис.28).
Силосы (б) — более высокие хранилища.
Силосы применяют, как правило, исключительно круглой формы в плане. Бункера отличаются большим разнообразием в конструктивном решении.
Они подразделяются на:
— пирамидально-призматические;
— лотково-призматические;
— цилиндро-конические;
— гибкие (параболические).
Бункера могут находиться как внутри здания, так и на открытом воздухе, могут быть как отдельно стоящими, так и спаренными (например, бункерная эстакада), могут быть закрытыми и открытыми.

Рис. 28 -
1 — верхняя часть (призматическая или цилиндрическая); 2 — воронка (пирамидальная или коническая);3— выпускное отверстие.
Загрузку бункеров производят механическим или пневматическим способом через отверстия, которые устраиваются в верхнем перекрытии (загрузочные отверстия).
Разгрузка бункеров происходит под действием веса материала при открывании выпускных отверстий или питателя (винтового или конвейерного).
Наименьший угол наклона стенки воронки к горизонту на 5—10 должен превышать угол естественного откоса сыпучего материала.
В зависимости от вида разгрузочного устройства и механических характеристик сыпучего материала, выпускные отверстия бункеров и силосов могут иметь круглую, квадратную, прямоугольную или вытянутую щелевую форму в плане.
Размер выпускаемого отверстия:
a=k(b+80)tg φ,
где: a — сторона квадрата или диаметр выпускаемого отверстия (в мм);
k~2,5 — опытный коэффициент;
b — максимальный размер кусков (в мм);
φ — угол естественного откоса сыпучего материала (в градусах).
Размеры выпускных отверстий изменяются от a=300мм (для сухого песка) до a=1500мм (для крупной руды, крапа, угля-плитняка и т.д.).
В бункерах, предназначенных для твёрдых кусковых материалов, внутреннюю поверхность наклонных стенок (воронок) футеруют — для предохранения несущей стенки от стирания и образования вмятин при ударах. Тип футеровки
зависит от образивности сыпучего материала, так, например, бункера для руды и скрапа футеруют листовой марганцовистой сталью марки 30Г2 толщиной t=6—10мм, иногда применяют деревянную футеровку, сам сыпучий материал, пластик и т.д.
Основные несущие конструкции бункеров с плоскими стенками
изготавливают из углеродистой стали, а гибких бункеров
— из низколегированной стали.
Конструкции выполняют сварными с соединением элементов встык. Соединения внахлёстку допускаются только при монтаже. Наименьшая толщина стенки бункера t>4мм.
Расчётная схема жёсткого бункера
Для расчёта любого элемента бункера надо знать давление на его стенки и днище. Давление зависит от высоты столба материала, расположенного над рассматриваемой элементарной площадкой, его физических свойств и угла наклона площадки к горизонту.
Давление принимается нормальное к стенке или днищу. Расчётное вертикальное давление
на горизонтальную плоскость в любом месте сыпучей массы:
Pв=1,3γсып.h; где h —высота столба материала; γсып— удельный вес материала; 1,3 — коэффициент перегрузки.

Рис. 29
- Схема жёсткого бункера
Расчётное горизонтальное давление
на вертикальную плоскость:
Pг=1,3kγсып.h;
где k — отношение горизонтального давления к вертикальному,
k=tg2
(45 –φ/2);
φ — угол естественного откоса материала.
Расчётное давление материала
на наклонные стенки бункера:
Pн=1,3mоγсып.h;
где mо=cos2
α + ksin2
α ;
α — угол наклона стенки к горизонту;
Квадраты тригонометрических функций получаются в результате проекции вертикальных и горизонтальных сил и площадок на наклонную плоскость.
Конструктивные особенности бункера с плоскими стенками
Они являются жёсткими конструкциями, которые состоят из верхней призматической и нижней части (воронки), имеющей форму усечённой пирамиды или лотка большой протяжённости.
Верхние стенки образуются, как правило, бункерными балками и имеют вертикальные и горизонтальные рёбра жёсткости.
Обшивка воронки обычно укрепляется только горизонтальными рёбрами.
Одиночные бункера имеют размеры по длине и ширине до 12м и по высоте до 8м при V 500м.
Опираются бункера на колонны или перекрытия через бункерные балки. Бункерные балки с колоннами образуют рамные или связевые схемы (при шарнирном опирании их на колонны).
Расчёт бункерных балок:
G = Mx/Wx + My/Wy ≤ γсR;
Расчёт рёбер жёсткости воронки:
G = N/F×φ + Mx/Wxл ≤ γсR;
Расчёт стенки (обшивки) воронки:
G = S/t + 6M/t < R; Mпр = ql2
o/8 – fS = ql2
o/8 [1 – 1,035(S/(S+SЕ))];
SЕ = 2,1*106
(t3
/l2
) = П2
Et3
/10,9*l2
о;
Mоп = (q'+q")l2
о/16;
f = 4ql2
о/П3
* 1/(S+SЕ) = 0,129 ql2
о/(S+SЕ),
f — прогиб в середине пролёта.
Все расчёты взяты на 1см обшивки.
Гибкие бункера
Гибкие бункера представляют собой открытую цилиндрическую оболочку нулевой Гаусовой кривизны, подвешенную к двум продольным балкам, которые опираются на колонны (см. рис.30).
|  
|
1 — торцовая стенка;
2 — продольная балка;
3 — оболочка;
4 — выпускное отверстие;
5 — тяжи;
6 — поперечная балка-распорка;
7 — колонны.
|
Рис. 30
По торцам устанавливают жёсткие вертикальные стенки-диафрагмы. Благодаря отсутствию рёбер жёсткости и работе стенок в основном на растяжение, гибкие бункера являются наиболее экономичными по расходу стали. Гибкие бункера могут иметь ширину 6—18м и практически любую длину.
Их применяют при большой вместимости склада сыпучих материалов (например, руды, угля), составляющей тысячи тонн.
Для восприятия распора от оболочки бункера противоположные колонны и продольные балки раскрепляют поперечными балками-распорками, которые, помимо этого, могут поддерживать продольные балки для железнодорожных путей или транспортерных конвейеров, необходимых для загрузки бункера.
В висячем бункере при правильном выборе его профиля и при полной равномерной загрузке возникают лишь растягивающие напряжения.
| Формулы для расчёта параболического бункера:

Рис. 31
|
1) Уравнение кривой очертания днища
: y = f/2b2
(3x2
– x3
/b);
2)Площадь поперечного сечения бункера:
F = 4/5fb;
3)Объём бункера:
V = FL;
4)Максимальная ордината нагрузки:
Pmax = 4/5f γс.м.;
5)Горизонтальное состояние реакции в точке подвеса:
H=Pmaxb2
/3f=5/12γс.м. Х b2
;
6)
Vверт.р.= Pмах b/2 = 5/8 γс.м.bf; G = T/t < R; t = T/R.
Раздел 3. Стальные каркасы многоэтажных зданий
Такие здания, как правило, многофункциональны — административные помещения, учебные заведения, магазины, гостиницы и т.д.
При большой этажности зданий, рационально разделение их конструкций на несущие
и ограждающие
.
Несущие функции
выполняет каркас
из высокопрочных материалов.
Ограждающие функции
— лёгкие стеновые панели с эффективными теплоизоляционными материалами.
Такие конструкции высокоиндустриальны, что резко сокращает сроки строительства. Строительная площадка при этом минимальная.
Каркасы таких зданий могут быть стальными, железобетонными и смешанными. С повышением этажности здания, целесообразность стального каркаса увеличивается.
Главным преимуществом стального каркаса является высокая прочность материала, позволяющая принимать минимальные размеры сечений колонн и ригелей и тем самым увеличивать полезную площадь и объём помещений.
Колонны первых этажей проектируют, как правило, из низколегированных сталей.
Для защиты стального каркаса от пожара и коррозии, элементы его конструкций обетонируют, облицовывают керамическими блоками, оштукатуривают и покрывают защитными составами.
Каркас многоэтажных зданий воспринимает значительные нагрузки:
- Вертикальные
— собственный вес конструкций здания, полезные нагрузки на перекрытие и снеговые нагрузки на перекрытие.
- Горизонтальные
— ветровые, сейсмические (в соответствующих районах) и от температурных воздействий.
3.1 Компоновка каркаса
В зависимости от планировки помещений и высоты здания применяются три типа несущих систем многоэтажных зданий
:
— Каркасные
— Бескаркасные (в виде пластин и оболочек)
— Смешанные
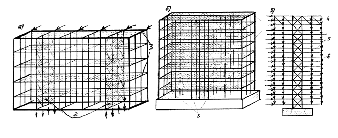
Наиболее распространёнными являются каркасные системы, которые подразделяются на связевые, рамные и рамно-связевые (см. рис.32).

Рис. 32
- Схемы стального каркаса (а — со связями в виде вертикальных ферм, б — рамная система, в — с подвесными перекрытиями: 1— горизонтальные диски перекрытий, 2 — вертикальные диски связи, 3 — рамы, 4 — траверса, 5 — тяги, 6 — вертикальная ферма).
Основные элементы каркаса
— это колонны и балки (ригели), которые образуют систему, воспринимающую как вертикальные, так и горизонтальные нагрузки, и передают их на фундамент.
Фундаменты обычно проектируют в виде сплошной плиты или свайного поля с плитным ростверком.
Передача нагрузок:
Вертикальные нагрузки через балки (или ригели) передаются на колонны, а затем на фундамент.
Для восприятия горизонтальных нагрузок и передачи их на фундамент создаются жёсткие по высоте связевые системы в горизонтальном направлении.
— Связевые системы
проектируют в виде вертикальных связей, расположенных на некотором расстоянии одна от другой и соединённых между собой горизонтальными жёсткими дисками (в районе перекрытий и покрытий).
— Рамные системы
— в виде рамных конструкций в двух направлениях, как правило, в каждом ряду колонн также связанных и горизонтальными дисками (перекрытиями).
— Рамно-связевые системы
—, как правило, рамы расположены в одном направлении, а связевые блоки в другом плоскостном направлении, но бывают и смешанные варианты, также связанные горизонтальными жёсткими дисками (перекрытий).
В первом случае
горизонтальная жёсткость каркаса обеспечивается системой вертикальных (продольных и поперечных) связей (дисков), принимающих на себя всю горизонтальную ветровую нагрузку. Остальные элементы каркаса — колонны и балки, не входящие в систему дисков, — конструируются как обычная балочная схема с шарнирным сопряжением в узлах. Они воспринимают лишь вертикальные нагрузки.
Во втором случае
горизонтальная жёсткость каркаса обеспечивается жёсткостью рам, расположенных в двух направлениях, или устанавливаются рамные пространственные блоки с определённым шагом в плане здания.
В третьем случае
горизонтальную жёсткость здания обеспечивается в одном направлении жёсткостью рам, а в другом — вертикальными связями, или совместные варианты при других вариантах компоновки.
Связевые системы
более жёсткие, узлы сопряжения конструкций более просты и менее трудоёмки, позволяют типизировать элементы каркаса, поэтому связевые системы являются предпочтительными.
Рамная система
более сложная в конструктивном оформлении и менее жёсткая, она может оказаться рациональной для сравнительно невысоких зданий (до 30 этажей).
Горизонтальные диски проектируются на каждом, или через несколько этажей и представляют собой замоноличенные железобетонные плиты перекрытия иногда с дополнительными системами горизонтальных связей. Жёсткие горизонтальные диски
(перекрытия) нужны для перераспределения ветровой нагрузки между вертикальными связями или рамами и обеспечения общей жёсткости каркаса.
Вертикальные связи проектируется в виде консольных ферм (с различным типом решётки), защемлённых в фундаменте. В местах защемления связевых ферм, фундамент испытывает весьма значительные местные воздействия.
В рамной схеме усилия передаются на фундаменты более равномерно, однако такая система более податливая. Иногда связи проектируют в виде сплошных железобетонных стенок (диафрагм).
3.2 Каркас здания
Конфигурация здания в плане зависит от его функционального назначения и архитектурного замысла.
Наиболее простые конструктивные решения каркаса получаются при квадратном или прямоугольном плане здания. При разбивке сетки колонн, надо стремиться к тому, чтобы расстояние между ними подчинялось единому модулю
и образовывались ячейки. В этом случае можно добиться максимальной типизации элементов каркаса (колонн, балок, а также элементов ограждающих конструкций, стен и перекрытий).
Расстояние между колоннами определяет расход стали на каркас: с увеличением шага вес колонн уменьшается, а вес балок возрастает; с уменьшением шага колонн — всё происходит наоборот. В 30—60 этажных зданиях оптимальный шаг колонн лежит в пределах 4—6 метров.
3.3 Компоновка связей
Ветровая нагрузка может действовать в любом направлении, следовательно, расположение связей должно обеспечивать пространственную жёсткость здания и обеспечивать сопротивляемость скручиванию.
В рамных системах рамы расположены по всем осям в продольном и поперечном направлении, поэтому пространственная жёсткость обеспечивается наиболее просто.
Связевые фермы следует размещать как в продольном, так и в поперечном направлении по возможности симметрично относительно главных осей здания. При несимметричном расположении вертикальных связей, ветровые нагрузки будут закручивать здание и вызывать дополнительные усилия в связях.
Поперечные сечения играют главную роль в обеспечении жёсткости здания и воспринимают большую ветровую нагрузку. Значение связей продольного направления меньше, так как большое количество колонн, протяжённость стен обеспечивает зданию дополнительную жёсткость.
Связевые фермы обычно идут на всю высоту здания. В некоторых случаях связи приходится смещать в соседние панели, тогда нижние связи должны заходить на верхние на высоту этажа.
Конструктивные схемы связей
могут иметь различные схемы решётки:

Рис. 33
- Компоновка связей
а) наибольшее распространение получила полураскосная решётка (а), которая допускает устройство дверей и окон и испытывает относительно небольшие дополнительные усилия от обжатия колонн под нагрузкой.
б) крестовая решётка (б) более жёсткая, но возможна только в глухих стенах. Раскосы получают значительные дополнительные усилия от упругого обжатия колонн, которые определяются по формуле:
Gд.с.в.= Gколcos2
α , где Gк — напряжение сжатия в колонне;
или Nad= α N(Ad/A), α = al 2
(a3
+2b3
);
или Nad= α Nk (Ad/Ak), α =al (a3
+2b 3
).
в) ромбическая решётка (в) и не полные раскосы (г) (которые работают хуже полураскосных) возможны только в отдельных случаях, при соответствующих требованиях к устройству проёмов.
Ромбические "в" раскосы имеют много узлов и, при работе системы под нагрузкой, вызывают изгиб колонны.
Связи с неполными раскосами менее жёсткие, так как они по сути образуют рамную систему, вызывая дополнительные изгибные моменты в ригелях и колоннах.
3.4 Конструкции элементов каркасов
Колонны
должны быть компактными:

Рис.34 - Типы сечений колонн.
Размещение и конструкция стыков
— колонны стыкуют на монтаже через два этажа. Для удобства монтажа стыки размещают на 0,5—1м выше уровня междуэтажных перекрытий. В пределах одной отправочной марки сечения колонн не меняются. Для упрощения стыка они проектируются с фрезеровкой торцов.
Рис. 35 - Стыки колонн (
а
и
б—
с фрезеровкой торцов и стяжными болтами
;
в—
с накладками )
Базы колонн
, как и стыки, проектируются с фрезерованными торцами самых различных типов в зависимости от поперечного сечения колонны, наличия поперечных сил и отрыва (см. рис. 36).

Рис.36 - Базы колонн.
Балки и ригели
— шарнирные и рамные узлы сопряжений.
Рис. 37
- Сопряжение балок с колоннами: а — шарнирное; б — рамное.
3.5 Особенности расчёта стального каркаса многоэтажного здания
Каркас здания рассчитывают на несущую способность и устойчивость (жёсткость). Проверка жёсткости при действии ветровой нагрузки сводится к определению максимального прогиба каркаса, который не должен превышать 1/500 высоты, и при проверке перекоса каркаса не должен превышать 1/1000 в зависимости от материала стен и перегородок.
Проверка прогиба, по существу, условная, так как не учитывается жёсткость стен, динамические порывы ветра заменяются статической ветровой нагрузкой и т.д.
Расчёт на вертикальную и горизонтальную нагрузку:
— при шарнирно-связевой схеме каркаса здания расчёт ведётся как в обычной этажерке с учётом момента от эксцентриситета приложения нагрузки балок на колонны;
— при рамном решении каркаса здания в одном или в двух направлениях расчёт ведут методами строительной механики.
4. Высотные сооружения
Высотными сооружениями принято называть сооружения, высота которых намного превышает их размеры в поперечном сечении. К высотным сооружениям относятся опоры антенных сооружений связи (радио, телевидение), опоры воздушных линий электропередачи и открытых распредустройств, вытяжные башни, вентиляционные и вытяжные трубы, осветительные и метрологические вышки, маяки, водонапорные башни и т.д.
По конструктивным элементам все высотные сооружения можно разделить на два вида:
— башни
— это сооружения жёстко закрепленные в основании, что достигается анкеровкой ствола к фундаменту;
— мачты
— это сооружения, устойчивость положения которых обеспечивается системой оттяжек.
Рассмотрим башни:
В целях обеспечения и более равномерного распределения усилий в поясах, башни проектируют уширенными к основанию в соответствии с возрастанием изгибных моментов от вершины к основанию. Устройство переломов в поясах усложняет конструкцию, поэтому башни чаще проектируют пирамидальной формы.
Ширина в основании В=1/12—1/6Н, исходя из необходимости обеспечения требуемой жёсткости и экономичных соображений.
С увеличением ширины снижают усилия в поясах от моментов ветровой нагрузки, что уменьшает расход металла на пояса и диаметр анкерных болтов, но приводит к дополнительному расходу металла на решётку и диафрагмы.
Ширину верхней части башни рекомендуется делать по возможности меньше (1—2м), так как это способствует снижению ветровой нагрузки, а следовательно снижает расчётные усилия по всей высоте башни (уклон граней 1/20—1/40).
В верхней части башни целесообразно применять треугольную или раскосную систему решётки, а также ромбическую или полураскосную.
Когда ширину ствола желательно иметь небольшую, то ствол делают сплошностенчатым.
Рассмотрим мачты:
Мачты состоят из ствола, опирающегося на центральный фундамент и оттяжек, закреплённых в анкерных фундаментах. Число ярусов креплений оттяжек к стволу и расстояние между ними принимается в зависимости от высоты и назначения сооружения.
Ствол проектируют (обычно) решётчатым, в виде трёх- или четырёхгранной призмы с размерами поперечного сечения в пределах габаритов железнодорожного транспорта.
Решётка — крестовая или, при небольшой ширине ствола, треугольная. В некоторых случаях ствол мачты делают сплошным — цилиндрической формы (в виде трубы).
По расходу металла лучшей является мачта со стволом трёхгранного очертания и тремя оттяжками в ярусе.
По расходу металла и стоимости мачты выгоднее башен, при Н~150м, стоимость мачт на 20—30% ниже чем башни. Этот разрыв возрастает с увеличением высоты сооружения.
Недостатки мачт
— необходимость постоянного контроля за натяжением оттяжек; требуется значительно большая площадь застройки, чем для башен, поэтому мачты на территории городов или в непосредственной близости от них строят крайне редко. Не строят мачты также вблизи аэродромов, так как оттяжки представляют опасность для самолётов.
4.1 Вытяжные башни
Вытяжные башни представляют собой высотные сооружения, с помощью которых отходы производства с остаточным после очистки содержанием вредных веществ выбрасываются на значительной высоте от поверхности земли.
К несущему каркасу вытяжной башни прикреплены один или несколько газоотводящих стволов, выполненных из материалов, свойства которых определяются высокой коррозионной стойкостью в условиях воздействия агрессивных сред и высоких температур (нержавеющие и жаростойкие стали, титановые сплавы, синтетические материалы).
Высота таких башен Н=30—300м. Основание В=1/8—1/15Н. В — ширина призматической части, исходя из сечения газоотводящего ствола и обеспечения проходов вкруг него (ширина прохода не менее 0,7м).
По всей высоте необходимо устраивать горизонтальные диафрагмы с шагом 1,5—2,0В, а также в плоскости излома граней башни. Диафрагмы следует использовать для горизонтального закрепления газоотводящего ствола.
Для обеспечения наилучших аэродинамических свойств и экономии металла несущую башню следует, как правило, проектировать из элементов трубчатого сечения, реже из крестовидного сечения.
Вертикальная нагрузка от газоотводящего ствола должна передаваться в нижних уровнях вытяжной башни. В зависимости от уровня ввода газоходов, следует принимать один из следующих вариантов опирания газоотводящего ствола:
— на собственный фундамент;
— на специальную дополнительную опору;
— на одну из нижних диафрагм несущей башни, при условии, что расход металла на опорную диафрагму не будет превышать расхода металла на дополнительную специальную опору.
Горизонтальное раскрепление газоотводящего ствола в районе диафрагм не должно препятствовать его температурному росту.
Нагрузки на высотные сооружения:
— собственный вес;
— вес оборудования или газоотводящих газоходов;
— перепад температур (особенно для оттяжек);
— гололёдная нагрузка;
— нагрузка от ветра (она является доминирующей).
Величина ветрового воздействия на сооружение зависит не только от скоростного напора, но и от формы и габаритов самого сооружения и его отдельных элементов:
qр=qоnk1CхB,
n — коэффициент перегруженности (=1,4);
B — коэффициент динамического состава, B=1,4—1,6 Х (2);
Cх — определяется по СНиП "Нагрузки и воздействия", характеризует аэродинамические явления, возникающие при обтекании сооружения ветровыми потоками (завихрения, лобовой напор, относ), величина его зависит от формы и размеров обдуваемых элементов сооружения;
Cх =(0,8+0,6)=1,4; Cх =1,2—0,45 в зависимости от числа Рейнольдса.
Rе =Vd/U,
где V — скорость, м/с; d — диаметр, м, U — кинематическая вязкость воздуха (при =15 С и атмосферном давлении 1,13атм=10,13Т/м, V=145*10 м/с);
kдин.сос.— динамическая составляющая ветровой нагрузки, определяется согласно СНиП "Нагрузки и воздействия" отдельно для каждой формы колебания сооружения в виде системы инерционных сил, приложенных в середине каждого из участков, на которые условно разбивается сооружение.
Динамическая составляющая, вызываемая пульсациями скоростного напора, должна учитываться при расчёте высотных сооружений с периодом собственных колебаний более 0,25 секунды.
При предварительном расчёте динамических воздействий, ветровые нагрузки можно учесть путём умножения статической составляющей на коэффициент В=1,4—1,6 для башен и В=1,6—1,8 для мачт.
| 
|
Основы расчёта башен
Башню рассчитывают как пространственную конструкцию, защемлённую в основании, на одновременное действие веса конструкций, нагрузок от технологического оборудования и ураганного ветра.
Пояса башни рассчитываются на продольный изгиб
Если башня имеет n граней, то наибольшее сжимающее усилие для расчёта пояса, и растягивающее для расчёта фланцевых стыков и анкерных болтов, определяют по формулам
|
Рис. 38
Nпояса = ∑P/n*cos α ± [2(∑M'+ ∑M")*cos φ i] /[ n*ri*cos α i ];
∑M' — суммарный изгибающий момент от ветра в i-м сечении;
∑M" — от оборудования, вызывающий изгиб башни;
∑P — вес ствола и оборудования с коэффициентом перегрузки;
n — число сторон правильного многогранника ;
ri — радиус окружности, проходящий через центр сечения поясов;
φ i — угол в горизонтальной плоскости между линией, проходящей через
центр башни и центр пояса, и направлением ветра;
α i — угол между осью рассматриваемого пояса и вертикальной линией.
Для 8-ми и 4-х-гранных башен ветер рассчитывают на ребро
, а для 3-х и 6-ти-гранных — на грань
.
При чётном числе граней башни "n" поперечная сила, действующая на грань:
Qгр =2Qi/n;
Для трёхгранной башни: Q гр.=0,866Qi;
Qi — общая поперечная сила в i-том сечении.

Рис. 39
4.2 Мачты
| 
|
Мачты состоят из
: ствола (1), оттяжек с креплениями (2), изоляторами (3) и винтовыми стяжками, опора (4) под ствол мачты, центрального фундамента (5) и анкерных фундаментов (6), для крепления нижних концов вант.
|
Рис. - 40
Число ярусов оттяжек (от одной до шести) зависит от технологических требований, высоты мачты и размеров поперечного сечения ствола.
Отношение высоты мачты к диаметру описанной окружности ствола:
200 ≥ Н/Д ≥ 60.
При этом расстояние между креплениями вант соседних ярусов к стволу мачты:
30Д ≥ l ≥ 15Д.
Ствол мачты
обычно делают из углеродистой или низколегированной стали, оттяжки
— из стальных канатов, оттяжечные
и опорные
изоляторы
— из фарфора.
Перед использованием в вантах канаты должны быть вытянуты усилием, равным половине разрывного усилия каната в целом на протяжении получаса или трёхкратным натяжением и отпуском от нуля до 0,5Gвр,с целью повышения модуля упругости, устранения остаточных деформаций и уменьшения упругих деформаций вант при эксплуатации.
Нагрузки на мачты
При расчёте учитывают собственный вес мачты, вес оборудования, вес вант и изоляторов, гололёд, предварительное натяжение вант, ветровые воздействия (не только на ствол, но и на ванты), дополнительные усилия в вантах при их сокращении из-за понижения окружающей температуры.
Значение ветрового напора при расчёте вант можно принимать постоянным по всей длине и равным напору, соответствующему 2/3 высоты верхнего конца оттяжки. Гололёд учитывают везде.
Упругое перемещение ствола мачты при эксплуатации в местах крепления оттяжек не должно превышать 1/100 высоты этих сечений над центральным фундаментом. Упругое смещение верхнего сечения мачты не должно быть более 1/100 длины консоли. Перемещение определяется от нормативных нагрузок.
Мачту рассчитывают в два этапа:
На первом (предварительном) этапе — на основе опыта проектирования и путём простейших расчётов назначают схему мачты (число ярусов и количество вант в ярусе), размеры сечения ствола и решётки, а также сечения оттяжек.
Рассматривая мачту как систему однопролётных балок (шарнирно закреплённых в местах прикрепления вант), нагруженную ветром, определяют опорные реакции и рассчитывают оттяжки. При этом места крепления вант предполагают не смещаемыми.
Продольные силы определяют как сумму весов вышерасположенных элементов оборудования и вертикальных составляющих тяжения оттяжек. Далее, по обычным формулам проверяют прочность и устойчивость участков ствола между соседними креплениями вант и, если напряжение мало отличается от расчётного сопротивления (R), переходят ко второму этапу расчёта.
На первом этапе расчёта назначать сечения элементов мачты можно по аналогии с имеющимися или по формулам
1) для ванты по усилию
Nт= k*H/sin α < 0,5Nр;
Н — реакция в оттяжечном узле, как разрезной многопролётной балке от поперечной нагрузки;
k — коэффициент, зависящий от числа вант в плане от длины оттяжки, от её начального натяжения, от неразрезности ствола и т.д., k=1,2;
Nт — ориентир усилия в наветренном ванте;
Nр — разрывное усилие ванта;
— угол между хордой оттяжки и осью ствола.
2) для ствола по моменту
M=0,1ql ;
q — усреднённая равномерно распределенная поперечная нагрузка в данном пролёте ствола.
3) для ствола по продольной силе
N=0,5nNтcos α + Nе + Nоб;
Nе — вес выше расположенного сечения ствола;
Nоб — вес выше расположенного оборудования;
n — число выше расположенных оттяжек.
На втором этапе
оттяжку рассчитывают как предварительно напряжённую упругую нить, подвешенную в двух точках разной высоты, загруженную равномерно распределённой нагрузкой от веса ванты, ветра, гололёда и т.д.
Расчётной схемой ствола мачты является многопролётный сжато-изогнутый стержень, прикреплённый к нижней неподвижной и к остальным упругоподатливым опорам (какими являются верхние места крепления оттяжек).
Коэффициент упругости опор ствола мачты зависит от геометрических и физических характеристик вант, изгибной жёсткости ствола, а также от действующих на сооружение нагрузок, в том числе от интенсивности начального (монтажного) натяжения оттяжек.
Для определения неизвестных используют уравнение неразрывности
упругой линии ствола
и уравнения равновесия узлов крепления оттяжек
в плоскости действия горизонтальной нагрузки.
Продольные силы в стволе: N = Nствола + Nоборуд. + Nвант + Nтяжение вант.
По найденным усилиям M, Q и N проверяют сечения ствола на прочность и устойчивость, а также рассчитывают стыки. Более точно расчёт выполняют на ЭВМ.
Список литературы
| 1.
|
Мельников Н.П. и др. Справочник проектировщика. Металлические конструкции. — М.: Стройиздат, 1980. — 776с
|
| 2.
|
Мельников Н.П. Металлические конструкции. Современное состояние и перспективы развития. — М.: Стройиздат, 1983. — 541 с
|
| 3.
|
Беленя Е.И., Стрелецкий Н.Н. и др. Металлические конструкции. Специальный курс. — М.: Стройиздат, 1991. — 685 с
|
| 4.
|
Беленя Е.И. и др. Металлические конструкции. — М.: Стройиздат, 1986. — 560 с
|
| 5.
|
Лесинг Е.Н., Лилеев А.Ф, Соколов А.Г. Листовые металлические конструкции. — М.: Стройиздат, 1970. — 488 с
|
| 6.
|
Москалёв Н.С. Конструкции висячих покрытий. — М.: Стройиздат, 1980. — 336 с
|
| 7.
|
Кирсанов Н.М. Висячие и вантовые конструкции. — М.: Стройиздат, 1982. — 158 с
|
| 8.
|
Диховичный Ю.А. Большепролётные конструкции сооружений олимпиады — 80 в Москве. — М.: Стройиздат, 1982. — 277 с
|
| 9.
|
СНИП 2.09.03 – 85. Сооружения промышленных предприятий. — М.: Стройиздат, 1986. — 58 с
|
Содержание
| Раздел 1.
|
Металлические конструкции большепролётных
покрытий зданий …………………………………………………….
|
3
|
| 1.1
|
Блочные конструкции ………………………………………….
|
4
|
| 1.2
|
Рамные конструкции …………………………………………..
|
5
|
| 1.3
|
Арочные конструкции …………………………………………
|
8
|
| 1.4
|
Пространственные конструкции покрытий
большепролётных зданий ……………………………………...
|
11
|
| 1.5
|
Пространственные сетчатые системы плоских покрытий …..
|
12
|
| 1.6
|
Оболочные покрытия …………………………………………..
|
14
|
| 1.7
|
Купольные покрытия …………………………………………..
|
18
|
| 1.8
|
Висячие покрытия ……………………………………………..
|
21
|
| Раздел 2.
|
Листовые конструкции ……………………………………………...
|
30
|
| 2.1
|
Резервуары ……………………………………………………...
|
31
|
| 2.2
|
Газгольдеры …………………………………………………….
|
42
|
| 2.3
|
Бункера и силосы ………………………………………………
|
44
|
| Раздел 3.
|
Стальные каркасы многоэтажных зданий …………………………
|
51
|
| 3.1
|
Компоновка каркаса ……………………………………………
|
52
|
| 3.2
|
Каркас здания …………………………………………………..
|
54
|
| 3.3
|
Компоновка связей …………………………………………….
|
55
|
| 3.4
|
Конструкции элементов каркаса ……………………………...
|
56
|
| 3.5
|
Особенности расчёта стального каркаса многоэтажного
здания …………………………………………………………...
|
60
|
| Раздел 4.
|
Высотные сооружения ………………………………………………
|
61
|
| 4.1
|
Вытяжные башни ………………………………………………
|
63
|
| 4.2
|
Мачты …………………………………………………………..
|
66
|
| Список литературы ………………………………………………………………..
|
70
|
Учебное издание
Металлические конструкции гражданских зданий и инженерных сооружений (учебно-методическое пособие для студентов строительных специальностей)
Составитель: Мазур Василий Андреевич
Редактор Н.З.Алябьев
Корректор З.И.Зайцева
План 2003, поз. 36
______________________________________________________________________
Подп. к печати 21.06.2003 Формат 60х84 1/16
Печать на ризографе. Бумага офисная.
Уч. изд. л. 4,0. Усл. – печ.
Цена договорная. Тираж _______ экз.
Зак. №________
______________________________________________________________________
ХГАГХ, 61002 Харьков, ул. Революции, 12
Сектор оперативной полиграфии ИВЦ ХГАГХ
61002, Харьков, ул. Революции, 12
|