| Министерство образования Республики Беларусь
Учреждение образования
«Новополоцкий государственный политехнический
техникум»
Утверждаю
Директор УО «НГПТ»
______________ Сапего Н.В.
«____» _____________2007 г.
«ОБЩАЯ ЭЛЕКТРОТЕХНИКА С ОСНОВАМИ ЭЛЕКТРОНИКИ»
методические рекомендации и выполнение контрольных заданий
для учащихся заочной формы обучения
специальность: «Машины и аппараты химических производств и предприятий строительных материалов»
Новополоцк
2007
Автор: И.В.Евсюкова
– преподаватель спецдисциплин учреждения образования «Новополоцкий государственный политехнический техникум»
Обсуждено и одобрено на заседании цикловой комиссии электротехнических предметов
Протокол № 1 от 31.08.2007
Председатель комиссии И.В.Евсюкова
СОДЕРЖАНИЕ
| 1. Пояснительная записка..............................................................................
|
2
|
| 2. Перечень рекомендуемой литературы.....................................................
|
3
|
| 3. Тематический план.....................................................................................
|
4
|
| 4. Общие методические указания к выполнению контрольных работ......
|
5
|
| 5. Методические указания к выполнению контрольной работы № 1........
|
6
|
| 6. Контрольная работа № 1............................................................................
|
9
|
| 7. Методические указания к выполнению контрольной работы № 2........
|
15
|
| 8. Контрольная работа № 2............................................................................
|
23
|
ПОЯСНИТЕЛЬНАЯ ЗАПИСКА
Программа предмета «Общая электротехника с основами электроники» предусматривает изучение процессов, происходящих в электрических цепях постоянного и переменного тока; устройств, принципа действия электроизмерительных приборов, электромагнитных аппаратов, электрических машин и их практического применения; устройств и принципа действия электронных, фотоэлектронных и полупроводниковых приборов.
При изучении предмета следует соблюдать единство терминологии и обозначения в соответствии с действующими стандартами, Международной системной единицы (СИ).
Для закрепления и углубления теоретических знаний учащихся программой предусматривается проведение лабораторных, практических занятий.
Лабораторные работы выполняются непосредственно после изучения соответствующей темы. Каждый учащийся должен самостоятельно собрать схему, снять показания приборов и сделать соответствующие выводы.
Забиваем Сайты В ТОП КУВАЛДОЙ - Уникальные возможности от SeoHammer
Каждая ссылка анализируется по трем пакетам оценки: SEO, Трафик и SMM.
SeoHammer делает продвижение сайта прозрачным и простым занятием.
Ссылки, вечные ссылки, статьи, упоминания, пресс-релизы - используйте по максимуму потенциал SeoHammer для продвижения вашего сайта.
Что умеет делать SeoHammer
— Продвижение в один клик, интеллектуальный подбор запросов, покупка самых лучших ссылок с высокой степенью качества у лучших бирж ссылок.
— Регулярная проверка качества ссылок по более чем 100 показателям и ежедневный пересчет показателей качества проекта.
— Все известные форматы ссылок: арендные ссылки, вечные ссылки, публикации (упоминания, мнения, отзывы, статьи, пресс-релизы).
— SeoHammer покажет, где рост или падение, а также запросы, на которые нужно обратить внимание.
SeoHammer еще предоставляет технологию Буст, она ускоряет продвижение в десятки раз,
а первые результаты появляются уже в течение первых 7 дней.
Зарегистрироваться и Начать продвижение
Тематика лабораторных и практических работ может быть изменена в зависимости от профиля специальностей, наличия лабораторного оборудования.
В результате изучения предмета «Общая электротехника с основами электроники» учащиеся должны знать
:
основные электрические и магнитные явления, лежащие в основе построения электрических машин и аппаратов;
основные законы электротехники (Ома, Джоуля-Ленца, Кирхгофа, Ленца);
единицы электрических величин;
закономерности построения и сборки электрических схем;
правила безопасности труда при эксплуатации электрических установок;
классификацию электроизмерительных приборов, условные обозначения на их шкалах;
основные элементы конструкции и характеристики электроизмерительных приборов, трансформаторов, асинхронных двигателей, схемы электроснабжения потребителей электрической энергией;
устройство и принцип действия основных типов полупроводниковых и фотоэлектронных приборов, их практические применение; краткие сведения о логических элементах и интегральных микросхемах.
должны уметь:
собирать простейшие схемы при последовательном и параллельном соединении элементов;
подбирать по назначению электроизмерительные приборы;
включать в цепь амперметры, вольтметры, производить элементарные расчеты электрических цепей постоянного, однофазного переменного и трехфазного токов;
производить реверс электрических машин;
чертить схемы выпрямителя с фильтром, усилителя;
пользоваться осциллографом.
ЛИТЕРАТУРА
Данилов И.А., Иванов П.М. Общая электротехника с основами электроники. – М., 1983.
Обозначения условные графические в схемах. ГОСТ 2.728-74, 2.747-68, 2.730-732.785-74.
Попов В.С., Николаев С.А. Общая электротехника с основами электроники. – М., 1976.
Усс Л.В., Красько А.С., Климович Г.С. Общая электротехника с основами электроники. – Мн., 1990.
ТЕМАТИЧЕСКИЙ ПЛАН
| Раздел, тема
|
Количество учебных часов
|
на
самостоятельное изучение
|
| всего
|
в том числе
|
| дневная форма
|
заочная форма
|
установочная сессия
|
обзорная лекция
|
лабораторные и практические
|
| Введение
|
2
|
2
|
| Раздел 1. Общая электротехника
|
| 1.1. Электрическое поле
|
2
|
1
|
1
|
1
|
| 1.2. Электрические цепи постоянного тока
|
10
|
4
|
1
|
1
|
2л
|
6
|
| 1.3. Электромагнетизм
|
4
|
4
|
| 1.4. Электрические измерения
|
8
|
3
|
1
|
2л
|
5
|
| 1.5. Электрические машины постоянного тока
|
6
|
2
|
2
|
4
|
| 1.6. Однофазные электрические цепи
|
12
|
2
|
2п
|
10
Сервис онлайн-записи на собственном Telegram-боте
Попробуйте сервис онлайн-записи VisitTime на основе вашего собственного Telegram-бота:
— Разгрузит мастера, специалиста или компанию;
— Позволит гибко управлять расписанием и загрузкой;
— Разошлет оповещения о новых услугах или акциях;
— Позволит принять оплату на карту/кошелек/счет;
— Позволит записываться на групповые и персональные посещения;
— Поможет получить от клиента отзывы о визите к вам;
— Включает в себя сервис чаевых.
Для новых пользователей первый месяц бесплатно.
Зарегистрироваться в сервисе
|
| 1.7. Трехфазные электрические цепи
|
6
|
1
|
1
|
5
|
| 1.8. Трансформаторы
|
6
|
1
|
1
|
5
|
| 1.9. Электрические машины переменного тока
|
6
|
1
|
1
|
5
|
| 1.10. Электропривод и аппаратура управления
|
4
|
1
|
1
|
3
|
| 1.11. Передача и распределение электрической энергии.
|
2
|
1
|
1
|
1
|
| Раздел 2. Основы электротехники
|
| 2.1. Полупроводниковые приборы
|
12
|
2
|
2
|
10
|
| 2.2. Фотоэлектронные приборы
|
2
|
1
|
1
|
1
|
| 2.3. Электронные выпрямители
|
8
|
3
|
1
|
2п
|
5
|
| 2.4. Электронные усилители
|
2
|
2
|
2л
|
-
|
| 2.5. Электронные генераторы
|
6
|
2
|
2
|
4
|
| 2.6. Интегральные схемы микроэлектроники.
|
6
|
1
|
1
|
5
|
| Всего
|
104
|
28
|
2
|
16
|
10
|
76
|
ОБЩИЕ МЕТОДИЧЕСКИЕ УКАЗАНИЯ
К ВЫПОЛНЕНИЮ КОНТРОЛЬНЫХ РАБОТ
По электротехнике каждая контрольная работа содержит 2 задачи и теоретические вопросы. Варианты для каждого учащегося – индивидуальные. Номер варианта определения номером в журнале учебной группы.
Задачи и ответы на вопросы, выполненные не по своему варианту, не защитываются и возвращаются учащемуся.
Контрольная работа выполняется в отдельной тетради, желательно в клеточку. Условия задачи и формулировки вопросов переписываются полностью, оставляются поля шириной 25-30мм для замечаний рецензента, а в конце тетради страницу для рецензии. Формулы, расчеты, ответы на вопросы пишутся чернилами, а чертежи, схемы и рисунки делаются карандашом, на графиках и диаграммах указывается масштаб. Решение задач обязательно ведется в Международной системе единиц (СИ). Страницы тетради нумеруются для возможности ссылки на них преподавателя.
Вычисления следует производить с помощью электронного микрокалькулятора. После получения работы с оценкой и замечаниями преподавателя надо исправить отмеченные ошибки, выполнить все его указания и повторить недостаточно усвоенный материал. Если контрольная работа получила неудовлетворительную оценку, то учащийся выполняет ее снова по старому или новому варианту в зависимости от указания рецензента и отправляет на повторную проверку. В случае возникновения затруднений при выполнении контрольной работы учащийся может обратиться в техникум для получения письменной или устной консультации. Лабораторные работы выполняют в период экзаменационно-лабораторной сессии. К этим работам учащиеся допускаются после сдачи всех контрольных работ. По каждой лабораторной работе составляется отчет по установленной форме. Сдача экзаменов разрешается учащимся, получившим положительные оценки по всем контрольным работам и имеющим зачет по лабораторным работам.
МЕТОДИЧЕСКИЕ УКАЗАНИЯ
К ВЫПОЛНЕНИЮ КОНТРОЛЬНОЙ РАБОТЫ № 1
В контрольную работу входят 11 тем, т.е. весь первый раздел программы. На темы 1.2. и 1.6. предусмотрены задачи, на остальные темы - теоретические вопросы. В таблице 1 указаны варианты и данные к этим задачам, а также номера теоретических вопросов.
Методические указания к решению задачи 1
Решение задачи требует знаний закона Ома для всей цепи и ее участков, законов Кирхгофа, методики определения эквивалентного сопротивления цепи при смешанном соединении резисторов, а также умения вычислять мощность и работу электрического тока. Содержания задач и схемы цепей приведены в условии, а данные к ним — в таблице 1. Перед решением задачи рассмотрите типовой пример 1.
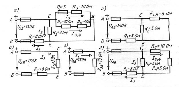
Пример 1.
Для схемы, приведенной на рис. 1, а, определить эквивалентное сопротивление цепи RАВ
и токи в каждом резисторе, а также расход электроэнергии цепью за 8 ч работы.
Решение.
Задача относится к теме «Электрические цепи постоянного тока». Проводим поэтапное решение, предварительно обозначив стрелкой ток в каждом резисторе; индекс тока должен соответствовать номеру резистора, по которому он проходит.
1. Определяем общее сопротивление разветвления RCD
, учитывая, что резисторы R3
и R4
соединены последовательно между собой, а с резистором R5
параллельно: RCD
= (R3
+ R4
) R5
/ (R3
+ R4
+R5
) = (10 + 5)*
10 / (10 + 5 + 10) = 6 Ом (рис. 1,6).
2. Определяем общее сопротивление цепи относительно вводов СЕ. Резисторы и RCD
и R2
включены параллельно, поэтому RСЕ
= RCD
R2
/ /(RCD
+R2
) = 6*
3 / (6+3)=2 Ом (рис. 1, в).
3. Находим эквивалентное сопротивление всей цепи: RАВ
= R1
+ RСЕ
= = 8 + 2 = 10 Ом (рис. 1, г).
4. Определяем токи в резисторах цепи. Так как напряжение UAB
приложено ко всей цепи, а RАВ
= 10 Ом, то согласно закону Ома I1
= UAB
/ RAB
= = 150/10 = 15 А.
Внимание!
Нельзя последнюю формулу писать в виде I1
= UAB
/ R1
, так как UАВ
приложено ко всей цепи, а не к участку R1
.
Для определения тока I1
находим напряжение на резисторе R2
, т. е. UCE
.
Очевидно, UCB
меньше UAB
на потерю напряжения в резисторе R1
, т. е. UСЕ
= = UАВ
– I1
R1
= 150 – 15*
8 = 30 В. Тогда I1
= UCE
/ R2
= 30/3 = 10 А. Так как UCD
= = UCD
, то можно определить токи I3,4
и I5
: I3,4
= UCD
/(R3
+ R4
) = 30/(10 + 5) = 2 А; I5
= UCD
/R5
= 30/10 = 3 А.
На основании первого закона Кирхгофа, записанного для узла С, проверим правильность определения токов:
I1
= I2
+ I3
,4
+ I5
, или 15 = 10 + 2 + 3 = 15 А.
5. Расход энергии цепью за восемь часов работы:
W = Pt = UAB
I1
t = 150*
15*
8 = 18 000 Вт*
ч = 18 кВт*
ч.
Пусть в схеме примера 1 известны сопротивления всех резисторов, а вместо напряжения UAB
задан один из токов, например I2
= 2 А. Найти остальные токи и напряжение UAB
.
Зная I2
, определяем UCE
= I2
R2
= 2-3 = 6 В. Так как UCE
= UCD
, то
I3,4
= UCD
/(R3
+ R4
) = 6/(10 + 5) = 0,4 А;
I5
= UCD
/ R5
= 6/10 = 0,6 А.
На основании первого закона Кирхгофа I1
= I2
+ I3,4
+ I5
= 2 + 0,4 + 0,6 = =3А. Тогда UAB
= UCE
+ I1
R1
= 6 + 3*
8 = 30 В.
При расплавлении предохранителя Пр5
резистор R5
выключается и схема принимает вид, показанный на рис. 1, д. Вычисляем эквивалентное сопротивление схемы: R'AB
= R1
+ (R3
+ R4
)R2
/ (R3
+R4
R2
) = 8 + (10 + 5)*
3 / (10 + 5 + 3) = 10,5 Ом. Так как напряжение UAB
остается неизменным, находим ток I1
= = UAB
/R'AB
= 150/10,5 = 14,28 А. Напряжение UCE
= UAB
– I1
R1
= 150 - 14,28 *
8 = = 35,75 В.
Тогда токи
I2
= UCE
/R2
= 35,75/3 = 11,9 A; I3,4
= UCE
/R3,4
= 35,75/(10 + 5) = 2,38 A.
 Сумма этих токов равна току I1
: 11,9 + 2,38 = 14,28 А.
Рис. 1
Методические указания к решению задачи 2
Эта задача относится к неразветвленным и разветвленным цепям переменного тока. Перед ее решением изучите материал темы 1.5, ознакомьтесь с методикой построения векторных диаграмм, изложенной ранее.
Пример 2.
Неразветвленная цепь переменного тока содержит катушку с активным, сопротивлением RK
= 3 Ом и индуктивным XL
= 12 Ом, активное сопротивление R = 5 Ом и конденсатор с сопротивлением xC
= 6 Ом (рис. 2,а). К цепи приложено напряжение U = 100 В (действующее значение). Определить: 1) полное сопротивление цепи; 2) ток; 3) коэффициент мощности; 4) активную, реактивную и полную мощности; 5) напряжение на каждом сопротивлении. Начертить в масштабе векторную диаграмму цепи.
Решение. 1.
Определяем полное сопротивление цепи:
Z = V(RK
+R)2
+(xL
-xC
)2
+ = V(3 + 5)2
+ (12 - б)2
= 10 Ом. 2. Определяем ток цепи
I = U/Z = 100/10 = 10 А.
3. Находим коэффициент мощности цепи. Во избежание потери знака угла (косинус - функция четная) определяем sin φ: sin φ = (xL
- - xC
)/Z = (12 - 6)/10 = 0,6; φ = 36°50'. По таблицам Брадиса определяем коэффициент мощности cos φ = cos 36°50' = 0,8.
4. Определяем активную, реактивную и полную мощности цепи:
Р = U I cosφ = 100-10*
0,8 = 800 Вт или Р = I2
(RK
+ R) = 102
(3+5) =800 Вт;
Q = I2
(xL
-xC
) = 102
(12 - 6) =600 вар или Q=U I sinq>=1000-10-0,6=600 вар;
S = UI = 100*
10 = 1000 B*
А или S = I2
Z = 102
-10 = 1000 В*
А или
S = VP2
+Q2
= V8002
+ 6002
= 1000 В*
А. 5. Определяем падения напряжения на сопротивлениях цепи: URK
=10*
3 = 30 В; UL
= IxL
= 10*
12 = 120 В; UR
= IR
= 10*
5 = 50 В; UC
= IхC
= = 10*
6 = 60 В.
Построение векторной диаграммы начинаем с выбора масштаба для тока и напряжения. Задаемся масштабом по току: в 1 см - 2,0 А и масштабом по напряжению: в 1 см - 20 В. Построение векторной диаграммы (рис. 2, б) начинаем с вектора тока, который откладываем по горизонтали в масштабе 10 А/2 А/см = = 5 см.
Вдоль вектора тока откладываем векторы падений напряжения на активных сопротивлениях URK
и UR
: 30 В/20 В/см = 1,5 см; 50 В/20 В/см = 2,5 см.
 Из конца вектора UR
откладываем в сторону опережения вектора тока на 90° вектор падения напряжения UL
на индуктивном сопротивлении длиной 120 В/20 В/см = 6 см. Из конца вектора UL
откладываем в сторону отставания от вектора тока на 90° вектор падения напряжения на конденсаторе Uc длиной 60 В/20 В/см = 3 см. Геометрическая сумма векторов URK
, UR
, UL
, UC
равна полному напряжению, приложенному к цепи.
Рис. 2
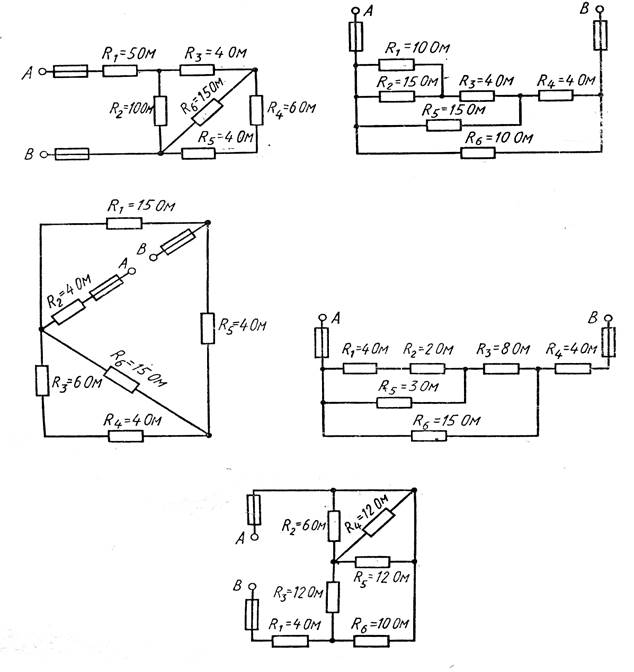
КОНТРОЛЬНАЯ РАБОТА № 1
Задача 1.
Цепь постоянного тока содержит шесть резисторов, соединенных смешанно. Схема цепи и значения резисторов указаны на соответствующем рисунке. Номер рисунка и величина одного из заданных токов или напряжений приведены в таблице 1. Индекс тока или напряжения совпадает с индексом резистора, по которому проходит этот ток или на котором действует указанное напряжение. Например, через резистор R5
проходит ток I5
и на нем действует напряжение U5.
Определить: 1) эквивалентное сопротивление цепи относительно вводов АВ; 2) ток в каждом резисторе; 3) напряжение на каждом резисторе; 4) расход электрической энергии цепью за 10 ч.
Т а б л и ц а 1
| Номера
вариантов
|
Номера
рисунков
|
Задаваемая
величина
|
Действие
с резисторами
|
Номера теоретических вопросов
|
| замыкается
накоротко
|
выключается из схемы
|
| 01
|
1
|
J4,5
=6А
|
-
|
R3
|
1,26,40
|
| 02
|
1
|
U2
=100В
|
R6
|
-
|
3,18,42
|
| 03
|
1
|
J2
=10А
|
-
|
R4
|
7,29,38
|
| 04
|
1
|
U3
=40В
|
R5
|
-
|
5,20,44
|
| 05
|
1
|
U1
=100В
|
-
|
R2
|
6,19,45
|
| 06
|
1
|
UАВ
=200В
|
R3
|
-
|
8,17,30
|
| 07
|
2
|
UАВ
=30В
|
-
|
R6
|
9,16,32
|
| 08
|
2
|
J1
=1,08А
|
R4
|
-
|
10,21,33
|
| 09
|
2
|
U1
=10,8В
|
-
|
R1
|
11,22,34
|
| 10
|
2
|
J2
=0,72А
|
R5
|
-
|
12,23,43
|
| 11
|
2
|
J3
=1,8А
|
-
|
R2
|
13,29,44
|
| 12
|
2
|
U4
=12В
|
R3
|
-
|
14,35,45
|
| 13
|
3
|
UАВ
=60В
|
-
|
R2
|
15,36,46
|
| 14
|
3
|
J2
=6А
|
R1
|
-
|
16,26,37
|
| 15
|
3
|
U1
=36В
|
-
|
R4
|
2,20,43
|
| 16
|
3
|
J3,4
=2,16А
|
R2
|
-
|
7,23,46
|
| 17
|
3
|
U5
=14,4В
|
-
|
R3
|
1,26,40
|
| 18
|
3
|
J1
=2,4А
|
R3
|
-
|
3,18,42
|
| 19
|
4
|
J1,2
=3,6А
|
-
|
R6
|
7,29,38
|
| 20
|
4
|
U5
=21,6В
|
R1
|
-
|
5,20,44
|
| 21
|
4
|
J3
=10,8А
|
-
|
R5
|
6,19,45
|
| 22
|
4
|
U6
=108В
|
R4
|
-
|
8,17,30
|
| 23
|
4
|
J5
=7,2А
|
-
|
R3
|
9,16,32
|
| 24
|
4
|
U4
=72В
|
R2
|
-
|
10,21,33
|
| 25
|
5
|
J1
=8А
|
-
|
R2
|
11,22,34
|
| 26
|
5
|
U6
=48В
|
R1
|
-
|
4,30,46
|
| 27
|
5
|
J3
=3,2А
|
-
|
R3
|
7,23,43
|
| 28
|
5
|
U1
=32В
|
R2
|
-
|
9,21,46
|
| 29
|
5
|
UАВ
=80В
|
-
|
R4
|
13,20,45
|
| 30
|
5
|
J6
=4,8А
|
R3
|
-
|
16,22,38
|
 Рис. 5
Задача 2.
Неразветвленная цепь переменного тока, показанная на соответствующем рисунке, содержит активные и реактивные сопротивления, величины которых заданы в таблице № 2. Кроме того, известна одна из дополнительных величин (U, I, P, Q, S). Определить следующие величины, если они не заданы в таблице вариантов: 1) полное сопротивление цепи Z; 2) напряжение U, приложенное к цепи; 3) силу тока в цепи; 4) угол сдвига фаз φ (величину и знак); 5) активную Р, реактивную Q, и полную S мощности, потребляемые цепью. Начертить в масштабе векторную диаграмму цепи и пояснить ее построение. С помощью логических рассуждений пояснить, как изменится ток в цепи и угол сдвига фаз, если частоту тока увеличить вдвое. Напряжение, приложенное к цепи, считать неизменным.
Таблица 2
| Номер варианта
|
Номер
рисунка
|
R1
,
Ом
|
R2,
Ом
|
XL
1
,
Ом
|
XL
2
,
Ом
|
XC
1
,
Ом
|
XC
2
, Ом
|
Дополнительная
величина
|
| 01
|
6
|
8
|
4
|
18
|
-
|
2
|
-
|
J = 10 А
|
| 02
|
6
|
10
|
20
|
50
|
-
|
10
|
-
|
P = 120Вт
|
| 03
|
6
|
3
|
1
|
5
|
-
|
2
|
-
|
P2 = 100Вт
|
| 04
|
7
|
6
|
-
|
2
|
10
|
4
|
-
|
U = 40 В
|
| 05
|
7
|
4
|
-
|
6
|
2
|
5
|
-
|
P = 16Вт
|
| 06
|
7
|
16
|
-
|
15
|
5
|
8
|
-
|
QL
1
= 135вар
|
| 07
|
8
|
4
|
-
|
6
|
-
|
4
|
5
|
P = 100Вт
|
| 08
|
8
|
8
|
-
|
6
|
-
|
8
|
4
|
UC
2
= 40 В
|
| 09
|
8
|
80
|
-
|
100
|
-
|
25
|
15
|
J = 1А
|
| 10
|
9
|
10
|
14
|
18
|
-
|
20
|
30
|
UR
2
= 28 В
|
| 11
|
9
|
6
|
2
|
10
|
-
|
1
|
3
|
P = 200Вт
|
| 12
|
9
|
40
|
20
|
20
|
-
|
80
|
20
|
QC
1
= -320вар
|
| 13
|
10
|
12
|
-
|
10
|
4
|
20
|
10
|
Q = - 64вар
|
| 14
|
10
|
32
|
-
|
20
|
20
|
6
|
10
|
J = 4А
|
| 15
|
10
|
32
|
-
|
25
|
15
|
8
|
8
|
UL
1
= 125В
|
| 16
|
11
|
4
|
2
|
5
|
6
|
3
|
-
|
J = 5А
|
| 17
|
11
|
8
|
4
|
10
|
15
|
9
|
-
|
J = 10А
|
| 18
|
11
|
4
|
8
|
10
|
15
|
9
|
-
|
Q = 1600вар
|
| 19
|
12
|
8
|
-
|
12
|
-
|
-
|
6
|
P = 72Вт
|
| 20
|
12
|
4
|
-
|
15
|
-
|
-
|
12
|
U = 30В
|
| 21
|
12
|
8
|
-
|
6
|
-
|
-
|
12
|
Q = - 48вар
|
| 22
|
13
|
2
|
6
|
-
|
10
|
4
|
-
|
U = 20В
|
| 23
|
13
|
6
|
10
|
-
|
8
|
20
|
-
|
Q = - 192вар
|
| 24
|
13
|
10
|
6
|
-
|
20
|
8
|
-
|
Y = 4А
|
| 25
|
14
|
3
|
-
|
-
|
-
|
1
|
3
|
J = 6А
|
| 26
|
14
|
16
|
-
|
-
|
-
|
8
|
4
|
P = 64Вт
|
| 27
|
14
|
4
|
-
|
-
|
-
|
2
|
1
|
Q = - 48вар
|
| 28
|
15
|
24
|
-
|
8
|
-
|
125
|
15
|
P = 24Вт
|
| 29
|
15
|
4
|
-
|
10
|
-
|
3
|
4
|
P = 64Вт
|
| 30
|
15
|
8
|
-
|
12
|
-
|
4
|
2
|
U = 80В
|
 Рис. 8 Рис. 9
 Рис. 10 Рис. 11
Рис. 12 Рис. 13

Рис. 14 Рис. 15
ТЕОРЕТИЧЕСКИЕ ВОПРОСЫ
к контрольной работе №1
1. Основные характеристики электрического поля: напряженность электрического поля, электрическое напряжение.
2. Проводники и диэлектрики в электрическом поле.
3. Краткие сведения о различных электроизоляционных материалах и их практическое использование.
4. Электрическая емкость. Конденсаторы. Соединения конденсаторов.
5. Общие сведения об электрических цепях.
Электрический ток: разновидности, направление, величина и плотность.
6. Электрическая проводимость и сопротивление проводников.
7. Законы Ома.
8. Проводниковые материалы: основные характеристики, материалы с малым удельным сопротивлением, сверхпроводники, материалы с большим удельным сопротивлением.
9. Основные элементы электрических цепей постоянного тока. Режимы электрических цепей.
10. Источники и приемники электрической энергии, их мощность и КПД.
11. Законы Кирхгофа.
12. Нелинейные электрические цепи постоянного тока.
13. Основные свойства и характеристики магнитного поля.
14. Индуктивность: собственная, катушки, взаимная. Коэффициент магнитной связи.
15. Электромагнитные силы.
16. Магнитные свойства вещества.
17. Электромагнитная индукция.
18. Принципы преобразования механической энергии в электрическую и электрическую энергию в механическую.
19. Общие сведения об электрических измерениях и электроизмерительных приборах. Классификация электроизмерительных приборов.
20. Измерение тока. Приборы, погрешности, расширение пределов измерения амперметров.
21. Измерение напряжения. Приборы, погрешности, расширение пределов измерения вольтметрами.
22. Измерение электрического сопротивления. Косвенные и прямые измерения.
23. Переменный ток: определения, получение. Характеристики.
24. Векторная диаграмма и ее обоснование. Элементы и параметры электрических цепей переменного тока.
25. Трехфазная система электрических цепей трехфазная цепь.
26. Соединение обмоток генератора. Фазные и линейные напряжения, соотношения между ними.
27. Соединение потребителей, применение этих соединений.
28. Назначение трансформаторов. Классификация, конструкция.
29. Принцип действия и устройство трансформатора. Режимы работы.
30. Типы трансформаторов и их применение: трехфазные, многообмоточные, сварочные, измерительные, автотрансформаторы.
31. Назначение машин переменного тока и их классификация. Устройство машин переменного тока.
32. Пуск и регулировка частоты вращения двигателей переменного тока.
33. Однофазный электродвигатель.
34. Устройство и принцип действия машины постоянного тока.
35. Генераторы постоянного тока.
36. Электродвигатели постоянного тока.
37. Понятие об электроприводе. Классификация.
38. Выбор электродвигателей по техническим характеристикам.
39. Нагрев и охлаждение электродвигателей. Режимы работы электродвигателей.
40. Схемы управления электродвигателей: общие сведения, магнитные пускатели, релейно-контактная аппаратура
41. Схемы электроснабжения потребителей электрической энергии, общая схема электроснабжения, понятие об энергетической системе и электрической системе.
42. Простейшие схемы электроснабжения промышленных предприятий, схемы осветительных электросетей.
43. Элементы устройства электрических сетей: воздушные линии, кабельные линии, электропроводки, трансформаторные подстанции.
44. Выбор проводов и кабелей.
45. Эксплуатация электрических установок: компенсация реактивной мощности, экономия электроэнергии.
46. Защитное заземление, защита от статического электричества.
МЕТОДИЧЕСКИЕ УКАЗАНИЯ
К ВЫПОЛНЕНИЮ КОНТРОЛЬНОЙ РАБОТЫ № 2
Контрольная работа 2 содержит два вопроса по теории и три задачи: на расчет выпрямителей, на двоичную систему счисления и на определение параметров транзисторов по их характеристикам.
Прежде чем приступить к решению задач контрольной работы, следует изучить методические указания к решению задач данной темы. В методических указаниях даются разъяснения, как следует отвечать на данный вопрос, разбираются типовые примеры с пояснением хода решения, что позволяет учащимся составить правильный план при индивидуальном выполнении контрольной работы.
Указания к ответу на теоретический вопрос.
Для правильного и качественного ответа следует изучить соответствующий материал из рекомендованной литературы. Ответ на вопрос должен быть конкретным с пояснением физической сущности работы того или иного устройства. При описании прибора или устройства следует обязательно пояснить свой ответ электрическими схемами, графиками и рисунками.
Во многих вопросах требуется сравнить различные электронные приборы с точки зрения особенностей их работы, отметить преимущества и недостатки, рассказать о применении. Так, при сравнении электровакуумных ламп и полупроводников следует отметить такие преимущества полупроводниковых приборов, как малые габаритные размеры, массу, механическую прочность, мгновенность действия (т. е. отсутствие накаливаемого катода), малую потребляемую мощность, большой срок службы и т.п. Наряду с этим надо указать их недостатки: зависимость параметров полупроводников от температуры окружающей среды и нестабильность характеристик (разброс параметров).
Указания к решению задачи 1
Задача I относится к расчету выпрямителей переменного тока, собранных на полупроводниковых диодах. Подобные схемы широко применяются в различных электронных устройствах и приборах. При решении задач следует помнить, что основными параметрами полупроводниковых диодов являются допустимый ток Iдоп, на который рассчитан данный диод, и обратное напряжение Uобр, выдерживаемое диодом без пробоя в непроводящий период.
Обычно при составлении реальной схемы выпрямителя задаются значением мощности потребителя Ро, Вт, получающего питание от данного выпрямителя, и выпрямленным напряжением Uо, В, при котором работает потребитель постоянного тока. Отсюда нетрудно определить ток потребителя Iо = Pо/Uо. Сравнивая ток потребителя с допустимым током диода Iдоп, выбирают диоды для схем выпрямителя. Следует учесть, что для однополупериодного выпрямителя ток через диод равен току потребителя, т.е. надо соблюдать условие Iдоп ≥ Iо. Для двухполупериодной и мостовой схем выпрямления тока через диод равен половине тока потребителя, т.е. следует соблюдать условие Iдоп ≥ 0.5Iо. Для трехфазного выпрямителя ток через диод составляет треть
тока потребителя, следовательно, необходимо, чтобы Iдоп ≥ I0
Напряжением, действующее на диод в непроводящий период Ub, также зависит от той схемы выпрямления, которая применяется в конкретном случае. Так, для однополупериодного и двухполупериодного выпрямителя Ub = πUо = = 3.14 Uо, для мостового выпрямителя Ub = 2π Uо /2 = 1.57 Uо, а для трехфазного выпрямителя Ub = 2.1 Uо. При выборе диода, следовательно, должно соблюдаться условие Uобр ≥ Ub.
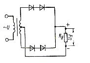
Рассмотрим примеры на составление схем выпрямителей.
Пример 1.
Составить схему мостового выпрямителя, использовав один из четырех диодов: Д218, Д222, КД202Н, Д215Б. Мощность потребителя Ро = 300В, напряжение потребителя Uо = 200В.
Р е ш е н и е
. 1. Выписываем из табл.2.8 параметры указанных диодов и записываем их в таблицу.
| Типы диодов
|
Iдоп,. А
|
Uобр, В
|
Типы диодов
|
Iдоп, А
|
Uобр, В
|
| Д218
|
0.1
|
1000
|
КД202Н
|
1
|
500
|
| Д222
|
0.4
|
600
|
Д215Б
|
2
|
200
|
2. Определяем ток потребителя Iо = Pо/ Uо = 300/200 = 1.5 A.
3. Находим напряжение, действующее на диод в непроводящий период для мостовой схемы выпрямителя, Ub = 1.57 Uo = 1.57 * 200 = 314В.
4. Выбираем диод из условия Iдоп > 0.5Iо > 0.5 * 1.5 > 0.75 А, Uобр > UВ ≥ 314 В. Эти условиям удовлетворяет диод КД202Н: Iдоп = 1.0 > 0.75А; Uобр = 500 > 314В.
Диоды Д218 и Д222 удовлетворяют напряжению (1000 и 600 больше 314В), но не подходят по допустимому току (0.1 и 0.4 меньше 0.75А). Диод 215Б, наоборот, подходит по допустимому току ( 2 > 0.75А), но не подходит по обратному напряжению (200 < 314В).
5. Составляем схему мостового выпрямителя (рис 21). В этой схеме каждый из диодов имеет параметры диода КД202Н; Iдоп = 1А; Uобр = 500В.

рис.2.1 рис.2.2
Пример 2.
Для питания постоянным током потребителя мощностью Ро = =250Вт при напряжении Uо = 100В необходимо собрать схему двухполупериодного выпрямителя, использовав стандартные диоды типа Д243Б.
Р е ш е н и е
. 1. Выписываем из таблицы 2.8 параметры диода Iдоп = 2А; Uобр = 200В.
2. Определяем ток потребителя:
Iо = Pо/ Uо = 250/100 = 2.5 A.
3. Определяем напряжение, действующее на диод в непроводящий период:
UВ = 3.14 Uо = 3.14 * 100 = 314 B.
4. Проверяем диод по параметрам Iдоп и Uобр. Для данной схемы диод должен удовлетворять условиям Uобр ≥ UВ и Iдоп > 0.5 Iо. В данном случае первое условие не соблюдается (200< 314), т.е. Uобр < UВ; второе выполняется
(0.51 Iо = 0.5 * 2.5 = 1.25 < 2 A).
5. Составляем схему выпрямителя. Чтобы выполнялось условие Uобр > UВ, необходимо два диода соединить последовательно, тогда Uобр = 200 * 2 = = 400 > 314В. Полная схема рис. 22.
Пример 3.
Для питания постоянным током потребителя мощностью Ро = 20В необходимо собрать схему однополупериодного выпрямителя, использовав имеющиеся стандартные диоды Д242А.
Р е ш е н и е.
1. Выписываем из таблицы 2.8 параметры диода: Iдоп = 10А, Uобр = 100В.
2. Определяем ток потребителя Iо = Pо/ Uо = 300/200 = 15 A.
3. Определяем напряжение, действующее на диод в непроводящий период: Ub = 3.14 Uo = 3.14 * 20 = 63В.
4. Проверяем диод по параметра Iдоп и Uобр. Для данной схемы диод должен удовлетворять условиям Uобр > Ub, Iдоп > Iо. В данном случае второе условие не соблюдается ( 10 < 15А, т.е Iдоп < Iо). Первое условие выполняется (100 > 63В).
5. Составляем схему выпрямителя. Чтобы выполнялось условие Iдоп > Iо, надо два диода соединить параллельно, тогда Iдоп = 2 * 10 = 20А; 20 > 15А. Полная схема выпрямителя приведена на рис. 23.
Пример 4
. Для составления схемы трехфазного выпрямителя на трех диодах заданы диоды Д243. Выпрямитель должен питать потребитель с Uо = = 150В. Определить допустимую мощность потребителя и пояснить составления схемы выпрямителя.
Р е ш е н и е.
1. Выписываем из таблицы 2.8 параметры диода: Iдоп = 5А, Uобр = 200В.
2. Определяем допустимую мощность потребителя. Для трехфазного выпрямителя Iдоп > 1
Iо, т.е. Ро = 3Uо Iдоп 3 * 150 * 5 = 2250 Вт.
3
Следовательно, для данного выпрямителя Ро ≥ 2250 Вт.
3. Определяем напряжение, действующее на диод в непроводящий период:
Ub = 2.1 Uo = 2.1 * 150 = 315В.
4. Составляем схему выпрямителя. Проверяем диод по условию. В данном случае это условие не выполняется (200 < 315В). Чтобы это условие выполнялось, необходимо в каждом плече выпрямителя два диода соединить последовательно, тогда Uобр = 200 * 2 = 400В; 400 > 315В. Полная схема выпрямителя приведена рис. 24.
Указания к решению задачи 2.
В этой задаче необходимо выполнить арифметические операции с двоичными числами, которые используются при работе ЭЦВМ. Характерной особенностью двоичной системы счисления является то, что арифметические действия в ней очень просты.
При сложении двоичных чисел пользуются следующим правилом:
0 + 0 = 0; 1 + 0 = 1
0 + 1 = 1; 1 + 1 = 10 (два).

рис. 2.3 рис. 2.4
При сложении необходимо учитывать, что 1 + 1 дают нуль в данном разряде и единицу переноса в следующий разряд.
Пример 1.
Сложить в двоичной системе числа 38 и 28.
1. Переводим данные числа в двоичную систему. Для перевода чисел из одной системы счисления в другую пользуются следующим правилом. Чтобы перевести число из одной системы счисления в другую, необходимо последовательно делить это число на основание новой системы до тех пор, пока не получится частное, меньшее делителя. Число в новой системе следует записывать в виде остатков деления, начиная с последнего, т.е. справа налево. Последнее частное дает старшую цифру числа в новой системе счисления. Напомним, что основание двоичной системы –2, десятичной –10.


2. Выполняем операцию сложения
100110 38
+ 11100 + 28
---------- ------
1000010 66
3. Проверяем решение
1000010 = 1 * 26
+ 0 * 25
+ 0 * 24
+ 0 * 23
+ 0 * 22
+ 0 * 21
+ 0 * 20
= 66.
Приводим правила вычитания двоичных чисел:
0 – 0 = 0; 1 – 1 = 0
1 - 0 = 1; 10 – 1 = 1.
При вычитании многоразрядных двоичных чисел может возникнуть необходимость заема единицы в ближайшем старшем разряде, что дает две единицы младшего разряда. Если в соседних старших разрядах стоят нули, то приходится занимать единицу через несколько разрядов. При этом единица, занятая в ближайшем значащем старшем разряде, дает две единицы в младшем разряде и единицы во всех нулевых разрядах, стоящих между младшим и тем старшим разрядом, у которого брали заем.
Например:
10010 (18)
- 101 (5)
----------------
1101 (13)
Проверяем решение:
1101 = 1 * 23
+ 1 * 22
+ 0 * 21
+ 1 * 20
= 1 * 8 + 1 * 4 + 0 * 2 + 1 * 1 = 13.
Приводим правила умножения двоичных чисел:
0 * 0 = 0; 1 * 0 = 0
0 * 1 = 0; 1 * 1 = 1.
Умножение двоичных чисел производят по тем же правилам, что и для десятичных чисел. При этом используют таблицу умножения и сложения. Умножение многоразрядных двоичных чисел сводится к умножению множимого на каждый разряд множителя, последующему сдвигу множимого или множителя и суммированию получающихся частичных произведений.
Например,
11011 (27)
* 101 (5)
-------------------
11011
+ 11011
-------------------
1000011 (135)
Проверяем решение:
10000111 = 1 * 27
+ 0 * 26
+ 0 * 25
+ 0 * 24
+ 0 * 23
+ 1 * 22
* 1 * 21
+ 1 * 20
=
= 1 * 128 + 0 * 64 + 0 * 32 + 0 * 16 + 0 * 8 + 1 * 4 + 1* 2 + 1 * 1 = 135
При делении двоичных чисел используются таблицу умножения и вычитания. Правила деления аналогичны делению в десятичной системе и сводятся к выполнению умножений, вычитаний и сдвигов.
Например, разделить 117 на 9;
1110101 1001
-1001
1101
1011
-1001
1001
-1001
117 9
- 9 13
-----
27
27
Проверяем решение:
1101 = 1 * 23
+ 1 * 22
+ 0 * 21
+ 1 * 20
= 1 * 8 + 1 * 4 + 0 * 2 + 1 * 1 = 13
Указания к решению задачи 3.
Эта задача относится к расчету параметров и характеристик полупроводниковых триодов – транзисторов. При включении транзистора с общим эмиттером управляющим является ток базы Iб , а при включении с общей базой – ток эмиттера Iэ.
В схеме с общей базой связь между приращениями тока эмиттера ∆Iэ и тока коллектора ∆Iк характеризуется коэффициентом передачи тока h216:
h 21б = ∆Iк/∆IЭ при Uкб = const,
где Uкб – напряжение между коллектором и базой.
Коэффициент передачи всегда меньше единицы. Для современных биполярных транзисторов h21б = 0.9 ÷ 0.995. При включении с общей базой ток коллектора Iк = h21б Iэ.
Коэффициент усиления по току h21э в схеме включения транзистора с общим эмиттером определяется как отношение приращения тока коллектора Δ Iк к приращению тока базы ΔIб . Для современных транзисторов h21э имеет значение 20 – 200.
h 21э = ∆Iк/∆Iб при Uкэ = const,
где Uкэ – напряжение между коллектором и эмиттером.
Ток коллектора при включении с общим эмиттером Iк = h21эIб. Между коэффициентами h21б и h21э существует следующая связь:
h21б = h
21э
или h21э = h
21
б
1 + h21э 1- h21б
Мощность, рассеиваемая на коллекторе транзистора, Pк = Uкэ Iк. Рассмотрим примеры на расчет параметров транзистора.
Пример 1.
Для транзистора, включенного по схеме с общим эмиттером, определить коэффициент усиления h21э по его входной характеристике (см. рис. 2.17) и выходным характеристикам (см. рис. 2.18), если Uбэ = 0.4 В; Uкэ = 25В. Подсчитать также коэффициент передачи по току h21б и мощность Pк на коллекторе.
Р е ш е н и е.
1. Определяем по входной характеристике при Uбэ = 0.4 В ток базы Iб = 500 мкА.
2. Находим по выходным характеристикам для Uкэ = 25В и Iб = 500мкА ток коллектора Iк = 36 мА.
3. На выходных характеристиках (рис. 2.1) строим отрезок АВ, из которого находим:
ΔIк = АВ = Iк1 - Iк2 = 36 – 28 = 8 мА;
ΔIб = АВ = Iб1 - Iб2 = 500 – 400 = 100 мкА = 0.1 мА.
4. Определяем коэффициент усиления
R21э = ΔIк/ ΔIб = 8/0.1 = 80.
5. Коэффициент передачи по току
h21б = h21э/(h21э + 1) = 80/(80 + 1) = 0.98.
6. Мощность на коллекторе
Рк = Uкэ Iк = 25 * 36 = 900 мВт = 0.9 Вт.
Пример 2.
Для транзистора, включенного по схеме с общим эмиттером, найти ток базы Iб, ток коллектора Iк и напряжение на коллекторе Uкэ, если напряжение Uбэ = 0.3В; напряжение питания Ек = 20В; сопротивление нагрузки в цепи коллектора Rк = 0.8 кОм. Входная и выходные характеристики транзистора приведены на рис. 2.19., 2.20.
Перед решением этого примера приведем некоторые пояснения. Для коллекторной цепи усилительного каскада в соответствии со вторым законом Кирхгофа можно написать уравнение: Ек = Uкэ + Iк Rк, т.е. сумма напряжений на резисторе Rк и коллекторного напряжения Uкэ всегда равна Ек – ЭДС источника питания.
Расчет такой нелинейной цепи, т.е. определение Iк и Uкэ для различных значений токов базы Iб и сопротивления резистора Rк , можно произвести графически. Для этого на семействе выходных характеристик необходимо провести из точки Ек на оси абсцисс вольт-амперную характеристику резистора Rк, можно произвести графически. Для этого на семействе выходных характеристик необходимо провести из точки Ек на оси абсцисс вольт-амперную характеристику резистора Rк, удовлетворяющую уравнению: Uкэ = Eк – Iк Rк.
Эту характеристику удобно строить по двум точкам: Uкэ = Ек при Iк = 0 на оси абсцисса Iк = Ек/ Rк при Uкэ = 0 на оси ординат.
Построенную таким образом вольт-амперную характеристику коллекторного резистора Rк называют линией нагрузки.
Точки ее пересечения с выходными характеристиками транзистора дают графическое решение уравнения для данного резистора Rк и различных значений тока базы Iб.
Р е ш е н и е.
Откладываем на оси абсцисс точку Uкэ = Ек = 20В, а на оси ординат – точку, соответствующую Iк = Ек/ Rк = 20/800 = 0.025мА. Здесь Rк =
= 0.8кОм = 800 Ом.
2. Соединяем эти точки прямой и получаем линию нагрузки.
3. Находим на входной характеристике для Uбэ = 0.3 В ток базы Iб = 250мкА.
4. Находим на входных характеристиках точку А при пересечении линии нагрузки с характеристикой, соответствующей Iб = 250мкА.
5. Определяем для точки А ток коллектора Iк = 17мА и напряжение Uкэ= 7В.
Пример 3.
Мощность на коллекторе транзистора Рк = 6Вт, напряжение на коллекторе Uкэ = 30В; напряжение питания Ек = 40В. Используя выходные характеристики рис.2.2, определить ток базы Iб, ток коллектора Iк, коэффициент усиления h21э и сопротивление нагрузки Rк.
Р е ш е н и е.
1. Определяем ток коллектора
Iк = Рк/ Uкэ = 6/30 = 0.2А.
2. Находим на выходных характеристиках точку А, соответствующую Iк = 0.2А и Uкэ = 30В. Из рисунка видно, что точка А лежит на характеристике для Iб = 2мА.
3. Соединяем прямой точку А и точку на оси абсцисс, соответствующую Ек = 40В. На пересечении прямой с осью ординат получаем точку Iк1 = 0.8А.
4. Определяем Rк = Ек/ Iк1 = 40/0.8 = 50 Ом.
На выходных характеристиках строим отрезок АВ, из которого находим
Δ Iк = АВ = 0.4 - 0.2 = 0.2А = 200мА;
Δ Iб = АВ = 4 –2 = 2мА.
6. Определяем коэффициент усиления транзистора
h21э = Δ Iк/ Δ Iб = 200/2 = 100.
П р и м е ч а н и е.
При решении задачи 3 обратите внимание, что в таблицах вариантов контрольной работы не указана размерность токов базы Iб и токов коллектора Iк, так как на рис. 2.1 – 2.20, где изображены входные и выходные характеристики транзисторов, эти токи имеют различную размерность: ампер – А, миллиамперы – мА и микроамперы – мкА.
КОНТРОЛЬНАЯ РАБОТА 2
Ответь на вопрос своего варианта из табл. 2.1 Таблица 2.1
| Номера вариантов
|
Вопросы
|
| 1.
|
Приведите классификацию фотоэлектронных приборов. Поясните смысл внешнего и внутреннего фотоэффекта.
|
| 2.
|
Опишите устройство фотоэлементов с внешним фотоэффектом, принцип действия. Приведите их характеристики. Укажите область применения.
|
| 3.
|
Объясните устройство фотоприемников с внутренним фотоэффектом (фоторезисторов) и принцип их работы. Приведите их характеристики и укажите применение.
|
| 4.
|
Объясните электрофизические свойства полупроводников. Электропроводность полупроводников и влияние примесей на их проводимость.
|
| 5.
|
Объясните образование и принцип действия электронно-дырочного (р-n) перехода полупроводников.
|
| 6.
|
Объясните устройство полупроводниковых диодов и принцип выпрямления ими переменного тока.
|
| 7.
|
Начертите вольт-амперную характеристику полупроводникового диода и поясните его основные параметры, показав их на характеристике.
|
| 8.
|
Объясните устройство биполярных транзисторов. Назначение электродов, принцип работы, применение.
|
| 9.
|
Начертите схему и объясните усилительные свойства транзистора, включенного по схеме с общим эмиттером.
|
| 10.
|
Начертите и поясните входные и выходные характеристики транзистора, включенного по схеме с общим эмиттером. Какие параметры транзистора можно определить по этим характеристикам?
|
| 11.
|
Объясните устройство полевых транзисторов, назначение электродов, принцип работы.
|
| 12.
|
Объясните устройство и принцип действия полупроводникового прибора с 4-слойной структурой – тиристора. Начертите и поясните его вольт-амперную характеристику.
|
| 13.
|
Начертите структурную схему выпрямителя переменного тока и поясните назначение ее составных частей. Приведите основные параметры выпрямителя.
|
| 14.
|
Начертите схему управляемого выпрямителя на тиристоре и поясните принцип ее работы.
|
| 15.
|
Начертите структурную схему электронного усилителя. Поясните назначение элементов схемы. Приведите классификацию усилителей.
|
| 16.
|
Основные технические показатели и характеристики электронных
усилителей. Определение коэффициента усиления.
|
| Номера вариантов
|
Вопросы
|
| 17.
|
Объясните понятие усилительного каскада. Какие варианты связей могут быть между каскадами?
|
| 18.
|
Объясните понятие обратной связи и ее влияния на режимы работы усилителя. Приведите примеры.
|
| 19.
|
Начертите схему усилителя низкой частоты на транзисторе с RC-связями. Поясните назначение элементов схемы и принцип ее работы.
|
| 20.
|
Объясните назначение и применение усилителей постоянного тока (УТП). Начертите схему УПТ на транзисторах и поясните ее работу.
|
| 21.
|
Начертите схему электронного генератора типа RC на транзисторе, объясните принцип работы, укажите назначение элементов.
|
| 22.
|
Начертите схему LC-генератора синусоидальных колебаний с трансформаторной связью на транзисторе. Объясните принцип работы и назначение элементов схемы.
|
| 23.
|
Начертите схему транзисторного генератора пилообразного напряжения (ГПН). Объясните назначение элементов схемы, принцип работы и применение.
|
| 24.
|
Начертите структурную схему электронного осциллографа, объясните его назначение, принцип работы.
|
| 25.
|
Начертите схему электронно-лучевой трубки с электростатическим отклонением луча. Объясните принцип работы трубки и ее характеристики.
|
| 26.
|
Объясните устройство и технологию изготовления полупроводниковых и гибридных интегральных микросхем. Укажите их преимущества и применение в современных электронных приборах.
|
| 27.
|
Объясните принцип действия и поясните основные параметры электронных реле. Чем отличаются электронные реле от электромеханических?
|
| 28.
|
Объясните устройство точечных и плоскостных полупроводниковых диодов. Укажите в их применении.
|
| 29.
|
Начертите схему фотореле с фотоэлементом и электронной лампой - триодом. Объясните назначение элементов схемы и принцип работы.
|
| 30.
|
Начертите структурную схему биполярного транзистора типа p-n-p с источниками питания и поясните принцип его работы.
|
| 1, 16
|
Начертите три схемы включения транзистора: с общей базой, общим эмиттером и общим коллектором. Поясните их отличия и дайте определение коэффициенту усиления.
|
| 2, 17
|
Начертите структурную схему тиристора (незапираемого тринистора) с источниками питания и его вольт-амперную характеристику. Объясните принцип работы тринистора и его применение.
|
| Номера вариантов
|
Вопросы
|
| 3, 18
|
Объясните устройство фотодиода и фототранзистора. Начертите схему их включения и поясните принцип работы.
|
| 4, 19
|
Объясните основные характеристики электронных усилителей. Как определить коэффициент усиления в относительных единицах и в децибелах? Приведите числовой пример.
|
| 5, 20
|
Начертите входные и выходные характеристики биполярного транзистора и объясните, как определить по ним статические параметры транзистора.
|
| 6, 21
|
Начертите схему LC- генератора синусоидальных колебаний на электронной лампе – триоде, объясните назначение элементов схемы и принцип работы.
|
| 7, 22
|
Опишите строение полупроводников, приведите их электрические свойства. Поясните физический смысл прохождения электрического тока в полупроводниках.
|
| 8, 23
|
Дайте краткую характеристику пленочным, гибридным и интегральным микросхемам. Укажите область применения и преимущества.
|
| 9, 24
|
Объясните назначение и укажите типы фильтров в схемах выпрямителей переменного тока. Приведите графики выпрямленного напряжения с фильтрами и без них.
|
| 10, 25
|
Объясните работу транзистора в ключевом режиме – как бесконтактного переключательного устройства (реле).
|
| 11, 26
|
Начертите структурную схему электронного усилителя с обратной связью. Объясните назначение и различие положительной и отрицательной обратной связи.
|
| 12, 27
|
Начертите условные обозначения фоторезистора, фотодиода и фототранзистора. Объясните их устройство, принцип действия и отличия в работе.
|
| 13, 28
|
Начертите схему и объясните принцип работы усилителя на транзисторе по схеме с общей базой.
|
| 14, 29
|
Объясните назначение и укажите типы фильтров в схемах выпрямителей переменного тока. Приведите графики выпрямленного напряжения с фильтрами и без них.
|
| 15, 30
|
Объясните преимущества и недостатки полупроводниковых приборов по сравнению с электронными лампами.
|
Задача 1а (варианты 1-10).
Мостовой выпрямитель должен питать потребитель постоянным током. Мощность потребителя Ро, Вт, при напряжении питания Uо, В. Следует выбрать один из трех типов полупроводниковых диодов, параметры которых приведены в табл. 2.2., для схемы выпрямителя, и пояснить, на основании чего сделан выбор. Начертите схему выпрямителя. Данные для своего варианта взять из табл. 2.2.
Таблица 2.2
| Номера вариантов
|
Типы диодов
|
Ро, В
|
Uо, Вт
|
Номера вариантов
|
Типы диодов
|
Ро, Вт
|
Uо, В
|
| 1.
|
Д214
Д215Б
Д224А
|
300
|
40
|
6.
|
Д218
Д222
Д232Б
|
150
|
300
|
| 2.
|
Д205
Д217
Д302
|
100
|
150
|
7.
|
Д221
Д214Б
Д244
|
100
|
40
|
| 3.
|
Д243А
Д211
Д226А
|
40
|
250
|
8.
|
Д7Г
Д209
Д304
|
50
|
100
|
| 4.
|
Д214А
Д243
КД202Н
|
500
|
100
|
9.
|
Д242Б
Д224
Д226
|
120
|
20
|
| 5.
|
Д303
Д243Б
Д224
|
150
|
20
|
10.
|
Д215
Д242А
Д210
|
700
|
50
|
Задача 1б(варианты 1-10).
Составить схему однополупериодного выпрямителя,. Использовав стандартные диоды,.. параметры которых приведены в табл. 2.8. Мощность потребителя Ро, Вт, с напряжением питания Uо, В. Пояснить порядок составления схемы для диодов с приведенными параметрами. Данные для своего варианта взять из табл. 2.3.
Таблица 2.3.
| Номера вариантов
|
Типы диодов
|
Ро, Вт
|
Uо, В
|
Номера вариантов
|
Типы диодов
|
Ро, Вт
|
Uо, В
|
| 1.
|
Д217
|
40
|
250
|
6.
|
Д233
|
300
|
200
|
| 2.
|
Д215Б
|
150
|
50
|
7.
|
Д209
|
20
|
100
|
| 3.
|
Д304
|
100
|
50
|
8.
|
Д244А
|
200
|
30
|
| 4.
|
Д232Б
|
200
|
200
|
9.
|
Д226
|
30
|
150
|
| 5.
|
Д205
|
60
|
100
|
10.
|
КД202А
|
40
|
10
|
Задача 1а (варианты 11-20)
.Составить схему двухполупериодного выпрямителя, использовав стандартные диоды,. Параметры которых приведены в табл. 2.8. Определить допустимую мощность потребителя, если значение выпрямленного напряжения Uо, В. Данные для своего варианта взять из табл. 2.4.
Таблица 2.4.
| Номера
вариантов
|
Типы
диодов
|
Uо, В
|
Номера
вариантов
|
Типы
диодов
|
Uо, В
|
| 11.
|
Д218
|
300
|
16.
|
Д233Б
|
150
|
| 12.
|
Д7Г
|
80
|
17.
|
Д214Б
|
50
|
| 13.
|
Д244
|
20
|
18.
|
Д244А
|
30
|
| 14.
|
Д226
|
200
|
19.
|
Д205
|
100
|
| 15.
|
Д222
|
160
|
20.
|
Д215
|
120
|
Задача 1б(варианты 11-20).
Трехфазный выпрямитель, собранный на трех диодах, должен питать потребитель постоянным током. Мощность потребителя Ро, Вт при напряжении Uо, В. Следует выбрать один из трех типов полупроводниковых диодов, параметры которых приведены в табл. 2.8. для схемы выпрямителя, и пояснить, на основании чего сделан выбор. Начертить схему выпрямителя. Данные для своего варианта взять из табл. 2.5.
Таблица 2.5.
| Номера вариантов
|
Типы диодов
|
Ро, Вт
|
Uо, В
|
Номера вариантов
|
Типы диодов
|
Ро, Вт
|
Uо, В
|
| 11.
|
Д224
Д207
Д214Б
|
90
|
30
|
16.
|
Д305
Д302
Д222
|
100
|
40
|
| 12.
|
Д215А
Д234Б
Д218
|
100
|
400
|
17.
|
Д243А
Д233Б
Д217
|
600
|
200
|
| 13.
|
Д244А
Д7Г
Д210
|
60
|
80
|
18.
|
КД202А
Д215Б
Д205
|
150
|
150
|
| 14.
|
Д232
КД202Н
Д222
|
900
|
150
|
19.
|
Д231Б
Д242А
Д221
|
400
|
80
|
| 15.
|
Д304
Д244
Д226
|
200
|
40
|
20.
|
Д242
Д226А
Д224А
|
500
|
20
|
Задача 1а(варианты 21-30).
Составить схему мостового выпрямителя, использовав стандартные диоды, параметры которых приведены в табл. 2.8. Мощность Ро, Вт, с напряжением питания Uо, В. Пояснить порядок составления схемы для диодов с приведенными параметрами. Данные для своего варианта взять из табл. 2.6.
Таблица 2.6.
| Номера вариантов
|
Типы диодов
|
Ро, В
|
Uо, В
|
Номера вариантов
|
Типы диодов
|
Ро, Вт
|
Uо, В
|
| 21.
|
Д7Г
|
80
|
100
|
26.
|
Д207
|
30
|
100
|
| 22.
|
Д224
|
200
|
50
|
27.
|
Д302
|
250
|
150
|
| 23.
|
Д217
|
150
|
500
|
28.
|
Д243Б
|
300
|
200
|
| 24.
|
Д305
|
300
|
20
|
29.
|
Д221
|
250
|
200
|
| 25.
|
Д214
|
600
|
80
|
30.
|
Д233Б
|
500
|
400
|
Задача 1б (варианты 21-30).
Двухполупериодный выпрямитель должен питать потребитель постоянным током. Мощность потребителя Ро, Вт, при напряжении Uо, В. Следует выбрать один из трех типов полупроводниковых диодов, параметры которых приведены в табл. 2.8. для схемы выпрямителя, и пояснить, на основании чего сделан выбор. Начертить схему выпрямителя. Данные для своего варианта взять из табл. 2..7.
Таблица 2.7.
| Номера вариантов
|
Типы диодов
|
Ро, В
|
Uо, В
|
Номера вариантов
|
Типы диодов
|
Ро, Вт
|
Uо, В
|
| 21.
|
Д244Б
Д214
Д243Б
|
150
|
20
|
26.
|
Д243А
Д226
Д231Б
|
400
|
80
|
| 22.
|
Д218
Д221
Д214А
|
30
|
50
|
27.
|
Д224А
Д242
Д303
|
200
|
30
|
| 23.
|
Д302
Д205
Д244Б
|
60
|
40
|
28.
|
КД202Н
Д243
Д214А
|
300
|
60
|
| 24.
|
Д242А
Д222
Д215Б
|
150
|
50
|
29.
|
Д224
Д214Б
Д302
|
70
|
20
|
| 25.
|
Д7Г
Д217
Д242Б
|
20
|
150
|
30.
|
Д215А
Д231
Д234Б
|
800
|
120
|
Таблица 2.8
| Типы
диодов
|
Iдоп, А
|
Uобр, В
|
Типы
диодов
|
Iдоп, А
|
Uобр, В
|
| Д7Г
|
0.3
|
200
|
Д232
|
10
|
400
|
| Д205
|
0.4
|
400
|
Д232Б
|
5
|
400
|
| Д207
|
0.1
|
200
|
Д233
|
10
|
500
|
| Д209
|
0.1
|
400
|
Д233Б
|
5
|
500
|
| Д210
|
0.1
|
500
|
Д234Б
|
5
|
600
|
| Типы
диодов
|
Iдоп, А
|
Uобр, В
|
Типы
диодов
|
Iдоп, А
|
Uобр, В
|
| Д211
|
0.1
|
600
|
Д242
|
5
|
100
|
| Д214
|
5
|
100
|
Д242А
|
10
|
100
|
| Д214А
|
10
|
100
|
Д242Б
|
2
|
100
|
| Д214Б
|
2
|
200
|
Д243
|
5
|
200
|
| Д215
|
5
|
200
|
Д243А
|
10
|
200
|
| Д215А
|
10
|
200
|
Д243Б
|
2
|
200
|
| Д215Б
|
2
|
200
|
Д244
|
5
|
50
|
| Д217
|
0.1
|
800
|
Д244А
|
10
|
50
|
| Д218
|
0.1
|
1000
|
Д244Б
|
2
|
50
|
| Д221
|
0.4
|
400
|
Д302
|
1
|
200
|
| Д222
|
0.4
|
600
|
Д303
|
3
|
150
|
| Д224
|
5
|
50
|
Д304
|
3
|
100
|
| Д224А
|
10
|
50
|
Д305
|
6
|
50
|
| Д224Б
|
2
|
50
|
КД202А
|
3
|
50
|
| Д226
|
0.3
|
400
|
КД202Н
|
1
|
500
|
| Д226А
|
0.3
|
300
|
| Д231
|
10
|
300
|
| Д231Б
|
5
|
300
|
Задача 2 (варианты 1-30).
Выполнить арифметические действия в двоичной системе счисления и произвести проверку, переведя ответ из двоичной в десятичную систему счисления. Данные для своего варианта взять из таблицы 2.9
Таблица 2.9
| Номера
вариантов
|
Сложить
|
Вычесть
|
Умножить
|
Разделить
|
| 1.
|
40 + 27
|
92 - 55
|
15 * 5
|
84 : 6
|
| 2.
|
37 + 51
|
83 – 30
|
14 * 10
|
63 : 7
|
| 3.
|
53 + 29
|
89 - 44
|
11 * 9
|
85 : 17
|
| 4.
|
66 + 21
|
74 - 37
|
17 * 6
|
117 : 9
|
| 5.
|
49 + 34
|
79 - 22
|
13 * 7
|
90 : 10
|
| 6.
|
58 + 32
|
65 - 30
|
12* 9
|
125 : 5
|
| 7.
|
73+ 44
|
91 - 28
|
27 * 5
|
70 : 7
|
| 8.
|
51 + 40
|
76 -33
|
22 *7
|
77 : 11
|
| 9.
|
63 +29
|
130 – 87
|
19* 6
|
143 :6 13
|
| 10.
|
34 + 45
|
117 -37
|
14 * 5
|
130 : 10
|
| 11.
|
49 + 37
|
122- 50
|
15 *7
|
90 : 6
|
| 12.
|
71 + 39
|
131- 60
|
26 * 6
|
119 : 7
|
| 13.
|
53 +22
|
103 -40
|
18 * 5
|
126 : 9
|
| 14.
|
69 +30
|
129 -70
|
13 *9
|
70 : 5
|
| 15.
|
54 +33
|
105 -31
|
21 * 10
|
91: 7
|
| 16.
|
51 +40
|
109 -38
|
14 * 7
|
78 : 6
|
| Номера
вариантов
|
Сложить
|
Вычесть
|
Умножить
|
Разделить
|
| 17.
|
62 + 31
|
135 -76
|
11 * 6
|
115 : 5
|
| 18.
|
79 + 44
|
98 -33
|
23 * 5
|
140 :7
|
| 19.
|
71 +28
|
119 62
|
13 * 10
|
102 : 6
|
| 20.
|
83 + 32
|
127 -55
|
14* 9
|
95 : 5
|
| 21.
|
67 +21
|
150 -81
|
11 * 7
|
180 : 9
|
| 22.
|
43 +68
|
145- 66
|
22 * 6
|
70 : 10
|
| 23.
|
59 +38
|
141- 70
|
20 * 5
|
162 : 9
|
| 24.
|
65 +39
|
128- 75
|
18 * 9
|
130 : 5
|
| 25.
|
80+ 43
|
151- 76
|
17 * 7
|
143 : 13
|
| 26.
|
74 +31
|
169 -73
|
21 * 6
|
140 : 10
|
| 27.
|
57 +46
|
130 -57
|
22 * 5
|
98 : 7
|
| 28.
|
59 +38
|
109- 46
|
10 * 7
|
132 : 11
|
| 29.
|
81 +32
|
118- 65
|
20 * 9
|
108 : 6
|
| 30.
|
69 +34
|
121 -56
|
15 * 6
|
171 : 9
|
Задача 3 (вариант 1-10).
Для транзистора, включенного по схеме с общим эмиттером, используя входную и выходную характеристики, определить коэффициент усиления h
21э
, величину сопротивлений нагрузки Rк1 и Rк2 и мощность на коллекторе Rк1 и Rк, если известно напряжение на базе Uбэ, напряжения на коллекторе Uкэ1 и Uкэ2 и напряжение источника питания Ек. Данные для своего варианта взять из табл. 2.10.
Таблица 2.10.
| Номера вариантов
|
Номера рисунков
|
Uбэ, В
|
Uкэ1, В
|
Uкэ2, В
|
ЕК, В
|
| 1.
|
2.1,. 2.2.
|
0.3
|
20
|
30
|
40
|
| 2.
|
2.3., 2.4
|
0.2
|
10
|
20
|
40
|
| 3.
|
2.5., 2.6
|
0.15
|
20
|
25
|
40
|
| 4.
|
2.7., 2.8
|
0.2
|
10
|
20
|
40
|
| 5.
|
2.9., 2.10
|
0.1
|
25
|
30
|
40
|
| 6.
|
2.11., 2.12
|
0.25
|
5
|
10
|
20
|
| 7.
|
2.13.,. 2.14
|
0.3
|
5
|
10
|
20
|
| 8.
|
2.15., 2.16
|
0.3
|
10
|
20
|
40
|
| 9.
|
2.17., 2.18
|
0.25
|
15
|
25
|
40
|
| 10.
|
2.19., 2.20
|
0.2
|
5
|
10
|
20
|
Задача 3 (варианты 11 – 20).
Для транзистора, включенного по схеме с общим эмиттером, заданы напряжение на базе Uбэ, сопротивление нагрузки Rk и напряжение источника питания Ек. Используя входную и выходные характеристики, определить напряжение на коллекторе Uкэ, ток коллектора Iк, коэффициент усиления Uкэ1 и мощность на коллекторе Рк. Определить также коэффициент передачи тока h21б. Данные для своего варианта взять из табл. 2.11
Таблица 2.11
| Номера вариантов
|
Номера рисунков
|
Uбэ, В
|
Rк, кОм
|
ЕК, В
|
| 11.
|
2.1,. 2.2.
|
0.3
|
0.1
|
40
|
| 12.
|
2.3., 2.4
|
0.2
|
0.1
|
40
|
| 13.
|
2.5., 2.6
|
0.25
|
0.05
|
40
|
| 14.
|
2.7., 2.8
|
0.25
|
0.02
|
40
|
| 15.
|
2.9., 2.10
|
0.2
|
0.4
|
40
|
| 16.
|
2.11., 2.12
|
0.2
|
20
|
20
|
| 17.
|
2.13., 2.14
|
0.4
|
0.1
|
20
|
| 18.
|
2.15., 2.16
|
0.4
|
5
|
40
|
| 19.
|
2.17., 2.18
|
0.3
|
0.8
|
40
|
| 20.
|
2.19., 2.20
|
0.25
|
1.0
|
20
|
Задача 3 (варианты 21 – 30).
В цепь транзистора, включенного по схеме с общим эмиттером, включено сопротивление нагрузки, которое изменяется по величине Rк1 до Rк2. Используя выходные характеристики, определить напряжение Uкэ1 и Uкэ2, коэффициент усиления Uкэ1, мощность на коллекторе Рк1 и Рк2, если заданы ток базы Iб и напряжение источника питания Ек. Данные своего варианта взять из таблицы 2.12.
Таблица 2.12
| Номера вариантов
|
Номера рисунков
|
Iб
|
Rк1, кОм
|
Rк2, кОм
|
ЕК, В
|
| 21.
|
2.2
|
4
|
0.05
|
0.1
|
40
|
| 22.
|
2.4
|
1
|
0.1
|
0.2
|
40
|
| 23.
|
2.6
|
6
|
0.05
|
0.1
|
40
|
| 24.
|
2.8
|
10
|
0.05
|
0.1
|
40
|
| 25.
|
2.10
|
0.6
|
0.4
|
1.0
|
40
|
| 26.
|
2.12
|
20
|
10
|
20
|
20
|
| 27.
|
2.14
|
0.5
|
0.2
|
0.4
|
20
|
| 28.
|
2.16
|
60
|
5
|
8
|
40
|
| 29.
|
2.18
|
200
|
1
|
2
|
40
|
| 30.
|
2.20
|
100
|
1
|
2
|
20
|
рис. 2.1 рис. 2.2

рис. 2.3 рис. 2.4

рис. 2.5 рис. 2.6

рис. 2.7 рис. 2.8

рис. 2.9 рис. 2.10

рис. 2.11 рис. 2.12

рис. 2.13 рис. 2.14

рис. 2.15 рис. 2.16

рис. 2.17 рис. 2.18

рис. 2.19 рис. 2.20
|