| МИНИСТЕРСТВО ОБРАЗОВАНИЯ И НАУКИ УКРАИНЫ
ДОНБАССКИЙ ГОСУДАРСТВЕННЫЙ ТЕХНИЧЕСКИЙ УНИВЕРСИТЕТ
Кафедра электронных систем
Курсовая работа
по дисциплине: «Автоматизация технологических процессов»
на тему: «Автоматизация методической печи.
Разработка автоматической системы регулирования
соотношения топливо-воздух сварочной зоны»
Выполнил: ст. гр. ЭС-06-2
Ткачев К. О.
Руководитель: ст. преп. Михайлюк Г.Д.
Алчевск, 2009
РЕФЕРАТ
Пояснительная записка 20 с., 8 рис., 5 табл., 4 источника.
Объект разработки - автоматическая система регулирования соотношения топливо-воздух в сварочной зоне методической печи.
Цель работы - обеспечение требуемого качества регулирования соотношения топливо-воздух в сварочной зоне методической печи.
Выбрана структура автоматической системы регулирования, разработана математическая модель объекта регулирования, выполнен синтез АСР (Кр1
=2.987, Ти1
=0.632 с), которая обеспечивает минимум среднеквадратичной ошибки при показателе колебательности М=1.4(запас устойчивости по модулю Н=0.81 а по фазе φ=55 град.). Автоматическая система регулирования обеспечивает приемлемое качество регулирования при отработке задания (время регулирования tp
=0.98 c; перерегулирование σ=7.14%; статическая ошибка ξ=0) и подавлении возмущений (время регулирования tp
=1 c; статическая ошибка ξ=0; максимальное динамическое отклонение умакс.=0.26) .
ОБЪЕКТ АВТОМАТИЗАЦИИ, МАТЕМАТИЧЕСКАЯ МОДЕЛЬ, ДИНАМИЧЕСКИЕ ХАРАКТЕРИСТИКИ, ПОКАЗАТЕЛИ КАЧЕСТВА РЕГУЛИРОВАНИЯ, АСР, ПАРАМЕТРЫ НАСТРОЙКИ, СИНТЕЗ, АНАЛИЗ.
СОДЕРЖАНИЕ
Введение………………………………………………………………………...4
1 Характеристика объекта автоматизации и выбор
структуры управления ……………………………………………............…...5
2 Разработка математической модели объекта
регулирования ………………………………………………………………...7
3 Синтез АСР ……………………………………….………………………….10
4 Анализ качества работы АСР.……………………………………………….12
Заключение……………………………………………………………………..19
Перечень ссылок…………………………………………………………..…...20
ВВЕДЕНИЕ
Современное производство характеризуется повышением мощности и производительности агрегатов, интенсификацией технологических процессов, их механизацией и автоматизацией.
В связи с этим существенно возросла роль и ответственность автоматического управления и регулирования, так как каждый процент экономии материальных и энергетических ресурсов приносит существенный эффект, а каждая, даже небольшая ошибка управления приводит к большим абсолютным потерям материалов, топлива, электроэнергии, снижает производительность агрегатов и качество производимой продукции.
Забиваем Сайты В ТОП КУВАЛДОЙ - Уникальные возможности от SeoHammer
Каждая ссылка анализируется по трем пакетам оценки: SEO, Трафик и SMM.
SeoHammer делает продвижение сайта прозрачным и простым занятием.
Ссылки, вечные ссылки, статьи, упоминания, пресс-релизы - используйте по максимуму потенциал SeoHammer для продвижения вашего сайта.
Что умеет делать SeoHammer
— Продвижение в один клик, интеллектуальный подбор запросов, покупка самых лучших ссылок с высокой степенью качества у лучших бирж ссылок.
— Регулярная проверка качества ссылок по более чем 100 показателям и ежедневный пересчет показателей качества проекта.
— Все известные форматы ссылок: арендные ссылки, вечные ссылки, публикации (упоминания, мнения, отзывы, статьи, пресс-релизы).
— SeoHammer покажет, где рост или падение, а также запросы, на которые нужно обратить внимание.
SeoHammer еще предоставляет технологию Буст, она ускоряет продвижение в десятки раз,
а первые результаты появляются уже в течение первых 7 дней.
Зарегистрироваться и Начать продвижение
Основной задачей управления технологическим агрегатом является создание в нем наиболее благоприятных условий для протекания технологических и теплоэнергетических процессов.
С этой целью применяют автоматические системы регулирования (АСР), предназначенные для стабилизации технологических параметров на заданном уровне.
В промышленных АСР наиболее широкое распространение получили стандартные ПИ- и ПИД – законы регулирования. Для качественного функционирования АСР все динамические параметры входящих в их состав автоматических регуляторов должны быть оптимально настроены. Решению этой задачи посвящена данная курсовая работа, в котором разработана АСР соотношения топливо-воздух сварочной зоны методической печи. Курсовая работа оформленна в соответствии с методическими указаниями.[1]
1 ХАРАКТЕРИСТИКА ОБЪЕКТА АВТОМАТИЗАЦИИ И ВЫБОР СТРУКТУРЫ УПРАВЛЕНИЯ
Одной из основных отраслей тяжелой промышленности является черная металлургия. Значительная часть выплавляемой на металлургических заводах стали разливается в изложницы. Полученные слитки перед дальнейшей обработкой поступают в нагревательные колодцы.
Методические печи служат для нагрева заготовок после блюминга или слябинга для дальнейшей прокатки. Они представляют собой печи проходного типа, имеющие несколько зон [2].
Методические печи являются агрегатами непрерывного действия с распределенными параметрами по длине и постоянными во времени температурным и тепловым режимами. Эти агрегаты работают в условиях изменяющихся параметров загружаемого металла: температуры, размеров, марки. Задачей нагрева является получение допустимого перепада температуры по сечению заготовки при заданной конечной температуре поверхности.
Задача управления процессом нагрева металла в методических печах заключается в выборе и поддержании режима работы, обеспечивающего получение металла заданного качества с минимально возможным удельным расходом топлива в условиях переменной производительности агрегата.
Работа печи оценивается по таким основным параметрам: температуре нагрева металла, температуре подогретого воздуха, экономичности сжигания топлива, давлению в рабочем пространстве, равномерности прогрева заготовки, которая оценивается косвенно по усилиям, возникающим при прокатке.
Сервис онлайн-записи на собственном Telegram-боте
Попробуйте сервис онлайн-записи VisitTime на основе вашего собственного Telegram-бота:
— Разгрузит мастера, специалиста или компанию;
— Позволит гибко управлять расписанием и загрузкой;
— Разошлет оповещения о новых услугах или акциях;
— Позволит принять оплату на карту/кошелек/счет;
— Позволит записываться на групповые и персональные посещения;
— Поможет получить от клиента отзывы о визите к вам;
— Включает в себя сервис чаевых.
Для новых пользователей первый месяц бесплатно.
Зарегистрироваться в сервисе
Основными управляющими воздействиями таких печей являются: температура в зонах, которая обеспечивается расходом топлива; расход воздуха к горелкам; изменение тяги дымовой трубы [3].
На методической печи предусмотрено автоматическое регулирование параметров:
- температура в томильной и сварочных зонах;
- соотношение топливо-воздух в тех же зонах;
- давление в рабочем пространстве.
В данном курсовом проекте разработана АСР соотношения топливо-воздух в сварочной зоне методической печи, обеспечивающая экономичное сжигание топлива и высокий коэффициент полезного действия агрегата.
Необходимое качество регулирования соотношения достигается в одноконтурной АСР, структура которой приведена на рисунке 1.1

Рисунок 1.1 – Структурная схема АСР соотношения топливо-воздух
2 Разработка математической модели
объекта регулирования
Для получения математической модели объекта регулирования, необходимой для синтеза АСР и анализа ее работы, чаще всего используют активный метод и в ходе эксперимента снимают переходную характеристику, подавая на вход объекта одноступенчатое воздействие. Проведя эксперимент и обработав его результаты, строят математическую модель объекта регулирования в виде передаточной функции, при этом видом передаточной функции задаются.
Передаточная функция обычно выбирается вида
.
Требования к точности математической модели сводятся к совпадению экспериментальной переходной характеристики с полученной переходной характеристикой объекта в трех точках: в начале координат, в точке перегиба и в установившемся режиме, а также совпадении первой производной переходной функции объекта и аппроксимирующей кривой в точке перегиба [3].
Аппроксимация произведена в соответствии с методом, изложенным в литературе [2]. По исходной переходной характеристике объекта, приведенной на рисунке 2.1 определены hy
=1, Т0
=1.073 с, hп
=0.3, tп
=0.5 с для n=2.
Определен вспомогательный коэффициент
,
.
По рисунку 3.23 [3] определены отношения
Т1
/Т0
=0.42, Т2
/Т1
=0.45, tп.а/Т1=1.7.
Тогда Т1
=0.451с; Т2
=0.208 с; tп.а=0.76 с.
Поскольку расчетная величина tп.а не совпадает со значением tп, взятым из графика, следовательно в аппроксимирующую характеристику следует ввести запаздывание, определяемое по формуле

, с
Передаточная функция объекта имеет вид
. (2.1)
Для проверки точности аппроксимации рассчитана на ЭВМ при помощи прикладной программы MathCad переходная характеристика по передаточной функции (2.1). Так как эта характеристика не удовлетворяла условию точности, коэффициенты передаточной функции были скорректированы: Та1
= 0.7, Та2
= 0.085. Передаточная функция приобрела вид
. (2.2)
Вид аппроксимирующей характеристики приведен на рисунке 2.1. [1].
  1 — исходная переходная характеристика;
2 — аппроксимирующая переходная характеристика.
Рисунок 2.1 — Переходные характеристики объекта регулирования
Аппроксимирующая характеристика удовлетворяет изложенным выше критериям. Следовательно, точность аппроксимации удовлетворительна и передаточная функция (2.2) будет использована при синтезе АСР.
3 Синтез АСР
3.1 Обоснование методики синтеза
В промышленных АСР для управления объектами с самовыравниванием, независимо от их динамических характеристик, как правило, применяют регуляторы, реализующие стандартный ПИ-алгоритм. Это обеспечивает приемлемое качество регулирования и большую устойчивость к воздействию внешних возмущений, чем в случае использования более сложных алгоритмов, особенно содержащих дифференциальные составляющие.
Поэтому для разрабатываемой АСР выбран ПИ-закон регулирования, настройки которого должны обеспечить минимум среднеквадратичных отклонений при допустимом запасе устойчивости.
3.2 Расчет параметров настройки регулятора
Расчет параметров настройки регуляторов выполнен на ЭВМ, методом вспомогательной функции.
В качестве вспомогательной функции принято аналитическое выражение отношения кр
/Ти
как функции от частоты и показателя колебательности [3]. Первый положительный максимум этой функции обеспечивает минимум среднеквадратичной ошибки при заданном показателе колебательности и является точкой оптимума параметров настройки регулятора.
Вспомогательная функция для системы с ПИ-регулятором имеет вид
.
Первый положительный максимум этой функции соответствует резонансной частоте АСР, для которой можно вычислить величину Кр
по формуле
.
Затем, по ранее определенной величине Кр
/Ти
определяют Ти
.
Для расчета параметров настройки регулятора была использована прикладная программа IT2002GR.
В таблице 3.1 представлены параметры настройки для заданного показателя колебательности.
Таблица 3.1- Параметры настройки регулятора
| Показатель колебательности М
|
Коэффициент пропорциональности,Кр
|
Постоянная времени интегрирования, Ти
, с
|
| 1.4
|
2.987
|
0.632
|
| 1.6
|
3.252
|
0.523
|
| 1.8
|
2.679
|
0.473
|
4 Анализ качества работы АСР
Оценка качества работы синтезированной АСР произведена по косвенным и по прямым показателям качества.
Результаты расчета на ЭВМ частотных характеристик АСР приведены в таблице 4.1.
Таблица 4.1 – Результаты расчета частотных характеристик АСР
| |
ω,
рад/с
|
АР
.
С.
(ω)
|
φР.С.
(ω),
град
|
АЗ.С.
(ω)
|
| М=1.4
|
0.920
|
∞
|
-90
|
1.034
|
| 1.841
|
6.899
|
-107.334
|
1.117
|
| 2.762
|
3.038
|
-117.747
|
1.225
|
| 3.683
|
1.843
|
-125.364
|
1.338
|
| 4.603
|
1.185
|
-132.314
|
1.400
|
| 5.524
|
1.282
|
-139.188
|
1.312
|
| 6.445
|
0.957
|
-145.880
|
1.082
|
| 7.365
|
0.744
|
-152.314
|
0.832
|
| 8.286
|
0.594
|
-158.434
|
0.632
|
| 9.207
|
0.482
|
-164.206
|
0.487
|
| 10.103
|
0.397
|
-169.615
|
0.410
|
| М=1.6
|
0.920
|
∞
|
-90
|
1
|
| 1.841
|
7.379
|
-111.148
|
1.042
|
| 2.762
|
3.124
|
-122.590
|
1.142
|
| 3.683
|
1.852
|
-130.503
|
1.302
|
| 4.603
|
1.268
|
-137.896
|
1.488
|
| 5.524
|
0.933
|
-145.117
|
1.600
|
| 6.445
|
0.716
|
-152.118
|
1.440
|
| 7.365
|
0.564
|
-158.802
|
1.091
|
| 8.286
|
0.452
|
-165.105
|
0.787
|
| 9.207
|
0.368
|
-170.993
|
0.575
|
| 10.103
|
0.303
|
-176.459
|
0.433
|
| М=1.8
|
0.920
|
∞
|
-90
|
1
|
| 1.841
|
5.886
|
-100.351
|
1.047
|
| 2.762
|
2.784
|
-110.392
|
1.170
|
| 3.683
|
1.743
|
-120.046
|
1.361
|
| 4.603
|
1.224
|
-129.265
|
1.622
|
| 5.524
|
0.913
|
-137.988
|
1.800
|
| 6.445
|
0.705
|
-146.166
|
1.547
|
| 7.365
|
0.558
|
-153.776
|
1.089
|
| 8.286
|
0.449
|
-160.815
|
0.750
|
| 9.207
|
0.366
|
-167.297
|
0.536
|
| 10.103
|
0.301
|
-173.251
|
0.399
|
По АЧХ замкнутой АСР, приведенной на рисунке 4.1 видно, что полученный в результате расчета показатель колебательности соответствует заданному.
Арез1
– резонансная амплитуда при показатели М=1.4
Арез2
– резонансная амплитуда при показатели М=1.6
Арез3
– резонансная амплитуда при показатели М=1.8
Рисунок 4.1 — АЧХ замкнутой АСР
Согласно критерия Найквиста [5] АСР устойчива, так как ее АФХ разомкнутой системы при показателе колебательности M=1.4, M=1.6, М=1.8, приведенная на рисунке 4.2, не охватывает точку с координатами (-1; j0) и не проходит через нее.
Запасы устойчивости АСР приведены в таблице 4.2.
Таблица 4.2 – Запасы устойчивости АСР
| Показатель колебательности М
|
Запас устойчивости по фазе , град
|
Запас устойчивости по модулю Н
|
| 1.4
|
55.023
|
0.81
|
| 1.6
|
52.01
|
0.803
|
| 1.8
|
0.463
|
0.789
|

         Рисунок 4.2 – Оценка устойчивости АСР
Анализ косвенных показателей качества показывает, что они отвечают требуемым нормам.
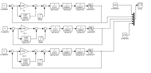
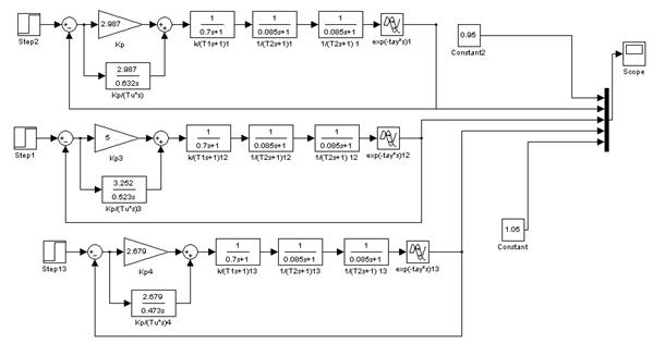
Анализ прямых показателей качества выполнен для переходных процессов по заданию и возмущению. Структура АСР приведена на рисунке 4.3, 4.4
Рисунок 4.3 – Расчетная структура АСР по заданию

Рисунок 4.4 – Расчетная структура АСР по возмущению
Моделирование работы АСР выполнено с помощью программы MatLab. Вид переходных процессов по заданию и возмущению представлен на рисунках 4.5, 4.6 соответственно.

       
Рисунок 4.5 — Переходный процесс в АСР по заданию
 
    
Рисунок 4.6 — Переходный процесс в АСР по возмущению
Прямые показатели качества АСР при отработке задания приведены в таблице 4.3.
Таблица 4.3 – Прямые показатели качества АСР при отработке задания
| Показатель колебательности, М
|
Время регулирования, tp, с
|
Перерегулирование, , %
|
| 1.4
|
0.98
|
7.14
|
| 1.6
|
0.98
|
11.11
|
| 1.8
|
1.20
|
14.29
|
Прямые показатели качества АСР по подавлению возмущений приведены в таблице 4.4.
| Показатель колебательности, М
|
Максимальное динамическое отклонение, 
|
Время регулирования, tp, с
|
| 1.4
|
0.260
|
1.00
|
| 1.6
|
0.275
|
1.11
|
| 1.8
|
0.270
|
1.25
|
Таблица 4.4 – Прямые показатели качества АСР при подавлении возмущений
Величина статической ошибки в обоих случаях =0.
Поскольку максимальное динамическое отклонение в переходном процессе по возмущению = 0.275 превышает величину 0.05y( ), АСР подвержена восприятию возмущений. Но для данной автоматической системы регулирования этот параметр можно считать приемлемым.
Полученные показатели качества АСР при отработке задания и возмущения соответствуют требуемым нормам. Следовательно, синтез АСР выполнен верно.
Наилучшее качество работы АСР обеспечивается при показатели колебательности М=1.4, т.к. при подавлении возмущения,из таблицы 4.4. видно, что при данном показатели колебательности будет наименьшее динамическое отклонение (yмакс
= 0.26) и время регулирования ( tp
= 1.00 с).
ЗАКЛЮЧЕНИЕ
В ходе выполнения курсовой работы разработана система автоматического регулирования соотношения топливо-воздух в сварочной зоне методической печи. Она обеспечивает следующие оптимальный параметры регулирования при показатели колебательности 1.4:
- запас устойчивости по модулю Н=0.81;
- запас устойчивости по фазе φ=55 град.;
- при отработке задания:
а) время регулирования tp
=0.98 c.;
б) перерегулирование σ=7.14%;
в) статическая ошибка ξ=0;
- при подавлении возмущений:
а) время регулирования tp
=1.00 c.;
б) статическая ошибка ξ=0;
в) максимальное динамическое отклонение = 0.260.
В целом система автоматического регулирования отвечает требуемым нормам регулирования для данного объекта автоматизации. Она может быть использована в промышленности для автоматического управления параметром.
ПЕРЕЧЕНЬ ССЫЛОК
1. Методичні вказівки до виконання курсового проекту з курсу «Автоматизація технологічних процесів» (для студ. спец. 7.090803 «Електронні системи») / Укл.: Г.Д. Михайлюк. – Алчевськ: ДГМІ, 2004. – 20с.
2. Автоматическое управление металлургическими процессами: Учебник для вузов. 2-е изд., перераб. и доп./А.М. Беленький , В.Ф. Бердышев, О.М. Блинов, В.Ю. Каганов – М.: Металлургия, 1989. – 384 с.
3. Ротач В.Я. Теория автоматического управления теплоэнергетическими процессами.: Учебник для вузов.- М.: Энергоатомиздат, 1985. - 296 с.
4. Болнокин В.Е., Чинаев П.И. Анализ и синтез систем автоматического управления на ЭВМ. Алгоритмы и программы. Справочник. – М.: Радио и связь, 1991. – 256с.
|