| Федеральное агенство морского и речного транспорта
Федеральное государственное образовательное учреждение
Морской Государственный Университет
им. Адмирала Г.И. Невельского
кафедра ТОСР
КУРСОВАЯ РАБОТА
по дисциплине «Машины и оборудование отраслевого машиностроения»
«Изготовление втулки цилиндра среднеоборотного дизеля»
Руководитель работы
Ружицская Е.В
Выполнила ст.гр.13.31
Матвеенко А.М.
Владивосток
2010
Содержание
I.Чертёж детали с техническими требованиями.
II.1.Служебное назначение детали, её функции для обеспечения работоспособности узла или системы в целом.
2.Исполнительные поверхности и предъявляемые к ним требования.
3.Химический состав и физико-механические свойства материала детали.
4.Причины и вид изнашивания исполнительных поверхностей.
5. 5.1Тип производства
5.2Форма организации производственного процесса.
6.Способ получения заготовки и оборудование для её изготовления.
7.Технологический маршрут изготовления детали с указанными маркой и техническими характеристиками применяемого оборудования и оснастки. Мероприятия по механизации и автоматизации производства.
8.Требования техники безопасности при организации работ на технологическом оборудовании, используемом для изготовления детали.
9.Список использованных источников.
II
. 1.Назначение детали.
7.Технологический маршрут изготовления детали с указанными маркой и техническими характеристиками применяемого оборудования и оснастки. Мероприятия по механизации и автоматизации производства.
Выбор и обоснование технологических баз
Точность обработки зависит от правильного базирования заготовки на металлообрабатывающих станках в процессе их обработки.
Базирование – это придание заготовке или изделию требоваемого положения относительно выбора системы координат.
База – это поверхность, сочетание поверхностей, ось, точка, принадлежащие заготовке или изделию и используемые для базирования.
По назначению базы бывают конструкторские, технологические и измерительные.
Технологическими базами называют поверхности, которые ориентируют деталь необходимым образом при установке ее на станке или приспособлении и при обработке.
Технологические базы бывают также черновыми и чистовыми. К черновым относятся необработанные поверхности, служащие базой для первых операций, а к чистовым – обработанные установочные поверхности на следующих операциях.
Забиваем Сайты В ТОП КУВАЛДОЙ - Уникальные возможности от SeoHammer
Каждая ссылка анализируется по трем пакетам оценки: SEO, Трафик и SMM.
SeoHammer делает продвижение сайта прозрачным и простым занятием.
Ссылки, вечные ссылки, статьи, упоминания, пресс-релизы - используйте по максимуму потенциал SeoHammer для продвижения вашего сайта.
Что умеет делать SeoHammer
— Продвижение в один клик, интеллектуальный подбор запросов, покупка самых лучших ссылок с высокой степенью качества у лучших бирж ссылок.
— Регулярная проверка качества ссылок по более чем 100 показателям и ежедневный пересчет показателей качества проекта.
— Все известные форматы ссылок: арендные ссылки, вечные ссылки, публикации (упоминания, мнения, отзывы, статьи, пресс-релизы).
— SeoHammer покажет, где рост или падение, а также запросы, на которые нужно обратить внимание.
SeoHammer еще предоставляет технологию Буст, она ускоряет продвижение в десятки раз,
а первые результаты появляются уже в течение первых 7 дней.
Зарегистрироваться и Начать продвижение
Кроме того, базы делятся на основные, вспомогательные и дополнительные. В случаях, когда в качестве технологической базы приняты сборочные, их называют основными. В тех случаях, когда обработанная поверхность не требуется по конструкции, а нужна только с целью базирования, ее называют вспомогательной базой.
От правильного выбора баз зависит рациональность технологического процесса. Желательно стремиться к совмещению баз, так как при этом обеспечивается более точная обработка. Кроме того, следует придерживаться принципа постоянства баз. Если возможно выдержать постоянные базы при выполнении разнообразных операций, получается рациональный, эффективный технологический процесс с минимальными погрешностями.
В нашем случае зажим заготовки происходит в цанговом патроне, вследствие чего она лишается пяти степеней свободы.
Выбор методов и количество необходимых переходов обработки
поверхности деталей, формирование маршрута изготовления деталей и выбор состава технологического оборудования.
При формировании маршрута изготовления руководствуются
следующими принципами:
1. В первую очередь обрабатывают те поверхности, которые являются базовыми при дальнейшей обработке. 2. Затем обрабатывают поверхности с наибольшим припуском. 3. Далее выполняют обработку поверхностей снятия металла, которая в наименьшей степени влияет на жёсткость детали. 4. К началу техпроцесса необходимо относить те операции, на которых можно ожидать появление брака из-за скрытых дефектов (трещины, раковины и т.д.).
| №
оп
|
Наименование
операции
|
Группа технологич. оборудования
|
| Перемещение
Отрезка:
1.Во вращающиеся форму подается расплавленный чугун
Переход вспомогательный.
Установить и закрепить заготовку
Автоматная токарно-револьверная
1Подрезать торец
ø-ом 304h9 на 4мм, соблюдая размер 714±0,5
2.Точить поверхность ø-ом 300h9 на длину 710±0,5.
3.Рассточить отверстие до ø-ра 240H7.
4.Рассточить отверстие ø-ом 240H7 до ø-ра 281±0,2 на расстояние 5±0,1
5.Вспомогательный переход.
Переустановить заготовку.
6.Подрезать торец ø-ом 280±0,5 на 4мм, соблюдая размер 710 мм.
7.Обточить поверхность ø-ом 285h6 с образованием торца, соблюдая размер 678мм.
8.Обточить поверхность ø-ом 280±0,5, с образованием торца шероховатостью R8,соблюдая размер 93мм.
9.Отступить резцом расстояние 158 мм и обточить поверхность ø280±0,5 с образованием торца, соблюдая размер 520мм.
Сервис онлайн-записи на собственном Telegram-боте
Попробуйте сервис онлайн-записи VisitTime на основе вашего собственного Telegram-бота:
— Разгрузит мастера, специалиста или компанию;
— Позволит гибко управлять расписанием и загрузкой;
— Разошлет оповещения о новых услугах или акциях;
— Позволит принять оплату на карту/кошелек/счет;
— Позволит записываться на групповые и персональные посещения;
— Поможет получить от клиента отзывы о визите к вам;
— Включает в себя сервис чаевых.
Для новых пользователей первый месяц бесплатно.
Зарегистрироваться в сервисе
10. Точить фаску 1×45 на поверхности ø-ом 300h9.
11. Отступить резцом расстояние 154мм и точить поверхность ø-ом 285h6, соблюдая размер 7мм и ø-р 275.
12.Отступить резцом расстояние 162мм и
точить поверхность ø-ом 285h6, соблюдая размер 7мм и ø-р 275.
13. На поверхности ø-ом 240H7 точить фаску 1×45.
2. Шлифовать отверстие согласно эскизу.
|
Кокиль-форма
Токарно-револьверный автомат 1М116
Токарно-винторезный станок1Е61М
Токарно-винторезный станок1Е61М
Токарно-револьверный автомат 1М116
Токарно-револьверный автомат 1М116
Токарно-револьверный автомат 1М116
Токарный станок
Токарно-револьверный автомат 1М116
Токарный станок.
Токарный станок
Токарно-револьверный автомат 1М116
Шлифовальный станок
|
Формирование маршрута технологических операций, выбор методов и количества необходимых переходов, группы технологического оборудования для изготовления детали «Втулка цилиндра».
Разработка технологических операций
Выбор средств технологического оснащения операций
Технологическое оснащение представляет собой дополнительные устройства, применяемые для повышения производительности труда, улучшения качества.
Для изготовления детали «Втулка цилиндра» необходимо выполнить различные операции, такие как, токарная, шлифовальная.
Для выполнения этих операций применяются различные станки, основные характеристики которых сведены в таблицу:
| Наименование
станка
|
Габариты
рабочей
зоны,
мм
|
Мин/макс
Частота вращения шпинделя,
об/мин
|
Мин/макс
подача
мм/об
мм/мин
|
Габариты станка,
мм
|
Мощность электродви-
гателя,
КВт
|
| 1Е61М
1М116
2М118
|
300
116
230
|
1420
720
31,5-1400
|
2800
2500
0,1-16
|
5190 х
17780 х
1550
3830 х
935 х
1540
917 х
4300 х
|
1,5
2,2
2,4
|
8.Требования техники безопасности при организации работ на технологическом оборудовании, используемом для изготовления детали.
Безопасность труда на предприятии.
В нашей стране установлены правила и нормы по обеспечению безопасности труда и производственной санитарии, регламентации режима рабочего времени и отдыха трудящихся. Общее руководство и контроль за соблюдением правил безопасности труда на предприятии осуществляет главный инженер. Инструктаж по безопасности труда на предприятии проводится для всех вновь поступающих на предприятие и состоит из вводного инструктажа и инструктажа на рабочем месте, который в течение работы на предприятии неоднократно повторяется.
Контроль за своевременным и качественным проведением инструктажа и обучением работающих безопасным приемам и методам работы осуществляет инженер по технике безопасности, производственный мастер и начальник цеха. Для работающих на установках и оборудовании, эксплуатация которых связана с повышенной опасностью, помимо типовых правил имеются специальные.
На территории завода рабочий обязан выполнять следующие правила: быть внимательным к сигналам электрокаров, автомашин и электровозов, выполнять требование световых сигналов и других предупреждающих знаков; не прикасаться к токоведущим частям электроарматуры; не включать оборудование, работа на котором не поручена администрацией.
Безопасность работы на токарных станках.
Основной причиной травматизма при работе на токарных станках является несоблюдение правил безопасности труда, а также работа на неисправном станке с нарушением режима обработки.
Перед началом работы токарь обязан:
1.
Привести в порядок одежду, подобрать волосы под головной убор и застегнуть обшлага рукавов.
2. Осмотреть рабочее место и убрать лишние предметы.
3. Проверить наличие заграждений на станке.
4.Проверить заземление.
5. Проверить исправность станка на холостом ходу.
Во время работы на станке запрещается.
1.Работать без защитных экранов или очков.
2. Удалять стружку предметами, не предназначенными для этого.
3.Останавливать вращающийся патрон рукой после выключения вращения.
Необходимо соблюдать следующие правила:
1.
Следить за тем, чтобы при закреплении заготовки в патроне кулачки не выступали из корпуса более чем на1/3 длины заготовки.
2.Длинные и тонкие заготовки обрабатывать только с использованием люнетов.
3. Не устанавливать резец ниже центров заготовки, что может привести к вырыву детали со станка.
4. Не оставлять ключ в патроне станка после снятия детали.
5. Измерение обрабатываемой детали производить только при остановленном шпинделе.
6.Измерение частоты вращения шпинделя и подачи производить только при остановленном шпинделе.
7.Установку и снятие режущего инструмента производить только при выключенном электродвигателе станка.
8. Пользоваться только исправным режущим инструментом, приспособлениями и вспомогательным инструментом.
9.Тяжелые заготовки устанавливать на станок с помощью подъемных устройств.
10.Работать на станке с соблюдением рекомендуемых технологической картой режимов обработки.
11. В случае поломки станка вывешивать надпись «НЕ ВКЛЮЧАТЬ».
12.Содержать рабочее место в чистоте и своевременно убирать лишние предметы.
По окончании работы необходимо
:
1. Остановить станок, убрать стружку, вытереть и смазать станок.
2. Привести в порядок рабочее место.
3. Сообщить мастеру о работоспособности станка.
4. Заключение
В данной курсовой работе рассмотрено много вопросов, касающихся непосредственно самой детали «Втулка цилиндра среднеоборотного дизеля ».
Раскрыты такие вопросы как материал, выбор заготовки и методы ее обработки, формирование маршрута изготовления детали и выбор технологического оборудования.
Использование типового технологического процесса облегчает проектирование, конструирование детали, ее изготовление и контроль.
Благодаря экономии не только времени, которое было бы затрачено на разработку в случае отсутствия такого "прототипа", но и сокращение затрат, требующихся на исправление и утилизацию брака при использовании неотработанных технологии, оборудования и оснастки, удается получить хорошие экономические показатели технологического процесса изготовления и сборки даже для небольших партий продукции и оборудования.
Наибольшее время при использовании типового процесса приходится затрачивать на технологическую подготовку производства, которая необходима для подгонки "прототипа" для конкретной детали. Учитывая, что многие операции из ТПП являются стандартными и вполне могли бы выполняться с помощью вычислительной техники, в настоящее время преобладающим является тенденция к полной или хотя бы частичной автоматизации процесса технологической подготовки производства.
Список литературы
1.Макаренков А.С. Машины и оборудование судового машиностроения;учеб. пособие. Владивосток 2005, 108с.
2.. Возницкий И.В Судовые двигатели внутреннего сгорания. Моркнига, Санкт-Петербург 2007. 284с.
3. Седых В.И; Балякин О.К. Технология судоремонта. Учебник. Владивосток. МГУ. Дальнаука. 2008. 403с
Федеральное агентство морского и речного транспорта
Морской государственный университет
имени адмирала Г.И. Невельского
Кафедра ЭПТ и ОПМ
ТЕХНИЧЕСКОЕ ЗАДАНИЕ
на выполнение курсового проекта по дисциплине
«Детали машин и основы конструирования»
Привод машины
КП.1302.00.00.00

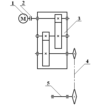
1 – электродвигатель; 2 – муфта; 3 – редуктор зубчатый;
4 – цепная передача; 5 – выходной вал привода (ведущий вал машины)
Рисунок 1 – Структурная схема привода
Исходные данные:
Мощность на ведущем валу машины Р4
, кВт….............................…….4,1
Частота вращения ведущего вала конвейера n4
, об/мин.............…........40
Угол наклона цепи к горизонту, g, град ……………..………….………..0
Срок службы привода L г
, лет..............................................................….. 9
Перечень отчетной конструкторской документации.
Представить пояснительную записку и чертежи:
1) сборочный чертеж привода; 2) сборочный чертеж редуктора; 3) рабочие чертежи деталей привода и редуктора – быстроходного вала (вала-шестерни); тихоходного вала редуктора, зубчатого колеса; крышки подшипника глухой, крышки подшипника сквозной.
Стадии разработки курсового проекта
| Стадии
разработки
|
Объем
работ, %
|
Сроки выполнения
|
| 1
|
2
|
3
|
| 1 Технические предложения
1.1 Выбор электродвигателя. Кинематический и силовой расчет привода. Расчет цепной передачи
1.2 Расчет редуктора. Выбор материала и расчет допускаемых напряжений. Проектировочный расчет передачи
1.3 Проверочный расчет зубьев колес по контактным напряжениям. Силы в зацеплении. Проверочный расчет зубьев колес по напряжениям изгиба
1.4 Проектировочный расчет валов редуктора. Проектировочный расчет шпоночных соединений. Конструктивные размеры зубчатых колес. Конструктивные размеры корпуса редуктора
|
40
|
1…2 неделя
3…4 неделя
5 неделя
6…7 неделя
|
| 2 Эскизный проект
2.1 Эскизная компоновка редуктора
2.2 Проверочный расчет подшипников. Конструктивная компоновка редуктора. Выбор посадок сопряжений основных деталей
|
30
|
8 неделя
9…10 неделя
|
| 2.3 Проверочный расчет валов. Выбор смазочных масел. Сборка редуктора. Выбор муфты. Сборка привода
|
11…12 неделя
|
| 3 Технический проект (разработка сборочного чертежа редуктора, оформление пояснительной записки)
|
12,5
|
13…14 неделя
|
| 4 Рабочая конструкторская документация (разработка рабочих чертежей деталей)
|
12,5
|
15…16 неделя
|
| Защита проекта
|
5
|
17 неделя
|
Сроки защиты проекта с июня по июня 2009 года
Дата выдачи технического задания февраля 2009 года
| Руководитель проекта
|
А.В. Арон
|
| Студент группы 13.31
|
А.М. Матвеенко
|
| Зав. кафедрой
|
С.Б. Будрин
|
1 ВЫБОР ЭЛЕКТРОДВИГАТЕЛЯ.
КИНЕМАТИЧЕСКИЙ И СИЛОВОЙ РАСЧЕТ ПРИВОДА
Общий КПД привода
0,972
× 0,92 × 0,98 × 0,99 = 0,84,
где – КПД пары зубчатых колес, = 0,97 [1, табл.9.1];
– КПД цепной передачи, = 0,92 [1, табл.9.1];
– КПД муфты, = 0,98 [1, табл.9.1];
– КПД пары подшипников качения, = 0,99 [1, табл.9.1].
Требуемая мощность электродвигателя
 кВт.
Принимаем электродвигатель марки 4А122М4У3 [1, табл.18.1], мощность которого P
дв
= 5,5 кВт, синхронная частота вращения nс
= 1500 об/мин, скольжение s
= 3,7 %. Диаметр выходного конца ротора dдв
= 32 мм, а его длина l
дв
= 80 мм [1, табл.18.2].
Номинальная частота вращения вала электродвигателя
об/мин.
Номинальная угловая скорость двигателя
рад/с.
Общее передаточное число привода

где - передаточное отношение редуктора;
- передаточное отношение цепной передачи; = 3 (предварительно принимаем согласно рекомендаций [1, табл.9.2]).
Предварительное передаточное отношение редуктора

Предварительное передаточное отношение тихоходной ступени редуктора [1, табл.9.3]

Предварительное передаточное отношение быстроходной ступени редуктора

Из ряда стандартных значений [1, табл.10.1] и с учетом рекомендаций [1, табл.9.2] принимаем и .
Расчетное передаточное отношение редуктора

Расчетное передаточное отношение цепной передачи

Кинематические параметры привода по валам:
быстроходный вал редуктора
рад/с
об/мин,
промежуточный вал редуктора
рад/с,
об/мин,
тихоходный вал редуктора
рад/с,
об/мин,
выходной вал привода (ведущий вал машины)
рад/с,
об/мин.
Силовые параметры привода по валам:
кВт,
кВт,
кВт,
кВт,
кВт,
Н·м,
Н·м,
Н·м,
Н·м,
Н·м,
Данные расчета сводим в таблицу 1.
Таблица 1 - Кинематические и силовые параметры привода по валам
| Наименование
|
Индекс вала
|
Частота вращения п,
об/мин
|
Угловая скорость ω,
рад/с
|
Мощность Р
,кВт
|
Момент Т
, Н·м
|
| Вал электродвигателя
|
дв
|
1444,5
|
151,2
|
4,9
|
32,4
|
| Быстроходный вал редуктора
|
1
|
1444,5
|
151,2
|
4,80
|
31,7
|
| Промежуточный вал редуктора
|
2
|
361,15
|
37,8
|
4,66
|
123,3
|
| Тихоходный вал редуктора
|
3
|
114,65
|
12
|
4,52
|
376,7
|
| Ведущий вал машины
|
4
|
40,0
|
48
|
4,1
|
983,3
|
2 РАСЧЕТ ЦЕПНОЙ ПЕРЕДАЧИ
Исходные данные для расчета: Н∙м; об/мин; .
Число зубьев:
ведущей звездочки
;
ведомой звездочки

Принимаем и . Тогда фактически передаточное отношение
, а отклонение (допустипо ±4%).
Предварительный шаг приводной роликовой цепи (типа ПР)
мм.
Принимаем цепь ПР-31,75-8850 ГОСТ 13568-75,[1,табл.13.1] для которой мм; даН; кг/м; мм².
Скорость цепи
м/с.
Окружная сила
Н.
Расчетный коэффициент нагрузки

где -коэффициент, учитывающий характер нагрузки [1, табл.13.4];
-коэффициент, учитывающий влияние межосевого расстояния
[1.табл.13.4];
-коэффициент, учитывающий влияние угла наклона линии центров
звездочек к горизонту (угол наклона 0º) [1, табл.13.4];
-коэффициент, учитывающий способ регулирования натяжения цепи
(периодическое регулирование) [1,табл.13.4]
-коэффициент, учитывающий способ смазки (периодическая смазка)
[1, табл.13.4]
-коэффициент, учитывающий продолжительность работы в сутки
(работа в одну смену) [1, табл.13.4]
Давление на шарнире цепи
МПа.
Допускаемое давление
МПа,
где МПа –допускаемое давление в шарнирах цепи [1, табл.13.3].
Условие работоспособности выполнено.
Необходимое число звеньев цепи
,
где - из конструктивных соображений [1,табл.13.10]
Расчетное число звеньев цепи (округляем до четного числа) .
Расчетное межосевое расстояние цепной передачи

мм.
Диаметры делительных окружностей звездочек
мм;
мм.
Геометрическая характеристика зацепления

где мм – диаметр ролика цепи [1, табл.13.1].
Диаметры наружных окружностей звездочек
мм;
мм,
где – коэффициент высоты зуба [1, табл.13.8].
Силы в цепной передачи:
окружная (определена выше) Н;
от центробежных нагрузок Н;
от провисания цепи Н,
где м/с2
– ускорение свободного падения;
– коэффициент, учитывающий расположение цепи [1, табл. 13.10].
Расчетная нагрузка на валы
Н,
где –коэффициент нагрузки вала (при наклоне линии центров звездочек к горизонту а при ).
Коэффициент запаса прочности цепи
,
где – нормативный коэффициент запаса [1, табл.13.5].
Размеры ведущей звездочки:
диаметр ступицы
мм;
где мм-диаметр выходного конца тихоходного вала редуктора (п.3.3)
длина ступицы
мм мм,
где мм- длина шпонки в сопряжении «вал-ступица звездочки» (п.3.4);
ширина зуба (для однорядной звездочки) [1,табл.13.8]
мм мм
где мм- расстояние между пластинами внутреннего звена [1, табл.13.1].
3 РАСЧЕТ РЕДУКТОРА
3.1 Расчет быстроходной ступени
3.1.1 Выбор материала и расчет допускаемых напряжений
Так как в техническом задании нет ограничений по габаритам, то выбираем материал с твердостью до 350 НВ
[1, табл.10.2]: принимаем для шестерни сталь 45, термическая обработка – улучшение , средняя твердость
НВ
1
=
280 НB,
для колеса – сталь 45, термическая обработка – улучшение, но средняя твердость (с учетом диаметра заготовки) на 80 единиц ниже –
НВ2
=
200 НВ.
Разность средней твердости рабочих поверхностей зубьев шестерни и колеса более 70 НВ
приводит к увеличению нагрузочной способности передачи, уменьшению ее габаритов и металлоемкости.
Допускаемые контактные напряжения

где – предел контактной выносливости при базовом числе
циклов [1, табл.10.3];
– коэффициент долговечности;
– коэффициент безопасности [1, табл.10.3].
Ресурс привода
ч,
где лет- срок продолжительности привода;
ч – продолжительность смены;
– число смен в сутки.
Действительное число циклов нагружения:
для колеса циклов;
для шестерни циклов.
Число циклов нагружения, соответствующее пределу контактной выносливости, циклов, циклов [1, табл.10.3]. Так как и , то коэффициент долговечности =1.
Допускаемые контактные напряжения для материала
шестерни МПа;
колеса МПа.
Расчетные допускаемые контактные напряжения (передача косозубая и разность твердости материалов шестерни и колеса более 70 НВ)
[1, табл.10.3]
МПа.
Требуемое условие МПа выполнено.
Допускаемые напряжения изгиба (нагрузка односторонняя)

где - коэффициент долговечности, (срок службы привода лет).
Предел выносливости при изгибе при базовом числе циклов для
стали 45 [1, табл. 10.4]:
для шестерни МПа;
для колеса МПа.
Число циклов нагружения, соответствующее пределу выносливости при изгибе, для всех сталей циклов. Так как и (определены выше) больше , то коэффициент долговечности =1.
Коэффициент безопасности

где – коэффициент, учитывающий нестабильность свойств
материала [1, табл. 10.4];
– коэффициент, учитывающий способ получения заготовки
зубчатого колеса [1, табл. 10.4].
Допускаемые напряжения изгиба
для шестерни МПа;
для колеса МПа.
3.1.2. Проектировочный расчет передачи
Принимаем коэффициент концентрации нагрузки при симметричном расположении колес [1, табл.10.5]; коэффициент ширины венца
по межосевому расстоянию с учетом твердости материала [1,табл.10.1].
Межосевое расстояние из условия прочности по контактным напряжениям
мм;
где – для косозубых колес.
Стандартное межосевое расстояние мм [1, табл.10.1]. Нормальный модуль зацепления с учетом твердости колес [1.табл.10.1]. мм,
принимаем мм [1, табл.10.1].
Угол наклона зубьев должен находиться от 8° до 22° [1, табл.10.1]. Предварительно принимаем угол наклона зубьев .
Число зубьев шестерни
,
принимаем .
Число зубьев колеса .
Фактическое значение   . Отклонения фактического
передаточного отношения от расчетного нет (допускается ±4,0%).
Угол наклона зубьев
,
.
Основные размеры шестерни и колеса
диаметры делительные
мм;
мм;
проверка мм;
диаметры вершин зубьев
мм;
мм;
диаметры впадин зубьев
мм;
мм;
ширина зубчатого венца колеса и шестерни
мм;
мм.
3.1.3 Проверочный расчет зубьев колес по контактным напряжениям
Коэффициент ширины шестерни по диаметру
.
Окружная скорость колес
м/с.
При данной скорости принимаем 8-ю степень точности [1, табл.10.7].
Коэффициент нагрузки

где – коэффициент концентрации нагрузки [1, табл.10.9];
– коэффициент распределения нагрузки между зубьями
[1, табл. 10. 11];
– коэффициент динамической нагрузки [1, табл.10.10].
Прочность зубьев по контактным напряжениям

МПа.
Недогрузка %.
Допускается недогрузка не более 15 %, а перегрузка не более 5 %.
3.1.4 Силы в зацеплении
Силы, действующие в зацеплении:
окружная H;
радиальная H;
осевая H.
3.1.5 Проверочный расчет зубьев колес по напряжениям изгиба
Коэффициент нагрузки
   =1,22·0,91·1,1=1,22, где – коэффициент концентрации нагрузки [1, табл.10.9];
– коэффициент распределения нагрузки между зубьями
[табл. 10. 11]
– коэффициент динамической нагрузки [1, табл.10.10].
Эквивалентное число зубьев
у шестерни ;
у колеса .
Коэффициенты формы зуба ; [1, табл.10.8].
Коэффициент наклона зуба
.
Прочность зуба шестерни и колеса на изгиб
МПа МПа.
МПа МПа.
Условие прочности выполнено.
3.2 Расчет тихоходной ступени
3.2.1 Выбор материала и расчет допускаемых напряжений
Материал для зубчатых колес тихоходной ступени примем такой же, как и для быстроходной ступени: для шестерни - сталь 45 [1, табл. 10.2], термическая обработка – улучшение, средняя твердость HB
=280; для колеса – сталь 45, термическая обработка – улучшение, но средняя твердость (с учетом диаметра заготовки) на 80 единиц ниже - 
Допускаемые напряжения материала зубчатых колес тихоходной ступени будут иметь другое значение, в отличие от быстроходной ступени, только в том случае, если отличаются коэффициенты долговечности.
Действительное число циклов нагружения
для колеса циклов;
для шестерни циклов.
Число циклов нагружения, соответствующее пределу контактной выносливости, циклов, циклов [1, табл. 10.3]. Так как  и  , то коэффициент долговечности
Число циклов нагружения, соответствующее пределу выносливости при изгибе, для всех сталей циклов. Так как  и  (определенны выше) больше , то коэффициент долговечности 
Так как материалы колес и коэффициенты долговечности для быстроходной и тихоходной ступени одинаковы, то и допустимые напряжения материалов колес равны (см. п.3.1.1).
Расчетные допускаемые контактные напряжения [ ]=450 МПа.
Допускаемые напряжения изгиба
для шестерни [ ]=[ ]=288 МПа,
для колеса [ ]=[ ]=206 МПа.
3.2.2 Проектировочный расчет передачи
Принимаем коэффициент концентрации нагрузки при несимметричном расположении колес [1, табл. 10.5]; коэффициент ширины венца по межосевому расстоянию с учетом твердости материала (допускается принимать не стандартное значение) [1, табл. 10.1].
Межосевое расстояние из условия прочности по контактным напряжениям
мм, где МПа⅓ -для косозубых колес.
Стандартное межосевое расстояние принимаем мм [1, табл. 10.1],
Нормальный модуль зацепления с учетом твердости колес [1, табл. 10.1]
мм,
принимаем мм [1, табл. 10.1].
Угол наклона зубьев должен находиться от 8 до 22 [1, табл. 10.1], предварительно принимаем угол наклона зубьев .
Число зубьев шестерни

принимаем =
Число зубьев колеса  
Фактическое значение  . Отклонения фактического передаточного отношения от расчетного нет (допускается 4,0%).
Угол наклона зубьев


Основные размеры колеса и шестерни:
диаметры делительные
 = мм;
 = мм;
проверка 
диаметры вершин зубьев
мм;
мм;
диаметры впадин зубьев
мм;
мм;
ширина зубчатого венца колеса и шестерни
мм;
мм = мм.
3.2.3 Проверочный расчет зубьев колес по контактным напряжениям
Коэффициент ширины шестерни по диаметру
Окружная скорость колес
м/с
При данной нагрузке принимаем 8-ю степень точности [1, табл. 10.7].
Коэффициент нагрузки
   =
где =1,06-коэффициент концентрации нагрузки [1, табл. 10.7];
=1,07- коэффициент распределения нагрузки между [1, табл. 10.11];
коэффициент динамической нагрузки [1, табл. 10.11].
Прочность зубьев по контактным напряжениям

=397МПа<[ ]=450 МПа.
Недогрузка
Допускается недогрузка не более 15%, а перегрузка не более 5%.
3.2.4 Силы в зацеплении
Силы, действующие в зацеплении:
окружная H;
радиальная Н;
осевая Н.
3.2.5 Проверочный расчет зубьев колес по напряжениям изгиба
Коэффициент нагрузки
   =1,21·0,91·1,03=1,13,
где – коэффициент концентрации нагрузки [1, табл.10.9];
– коэффициент распределения нагрузки между зубьями
[табл. 10. 11]
– коэффициент динамической нагрузки [1, табл.10.10].
Эквивалентное число зубьев
у шестерни ;
у колеса .
Коэффициенты формы зуба ; [1, табл.10.8].
Коэффициент наклона зуба
.
Прочность зуба шестерни и колеса на изгиб
МПа МПа.
МПа МПа.
Условие прочности выполнено.
3.3 Проектировочный расчет валов редуктора
Материал валов принимаем сталь 45, термическая – обработка улучшение. Проектировочный расчет валов выполняем по касательным напряжениям от кручения, то есть не учитываем напряжения от изгиба, влияние концентраторов напряжений и циклический характер действия напряжений. Поэтому для компенсации приближенности проектировочного расчета допускаемые напряжения принимаем заниженными: МПа.
3.3.1 Быстроходный вал
Диаметр выходного конца вала
мм.
Так как быстроходный вал редуктора соединен муфтой с валом электродвигателя (
мм, см. п.1), необходимо согласовать диаметры выходного конца быстроходного вала редуктора и выходного конца ротора электродвигателя в пределах одного номинального момента муфты. Принимаем муфту упругую втулочно-пальцевую МУВП 250-32-I.1-32-I.2-УЗ . ГОСТ 21424-93 (п.4), у которой одна полумуфта с цилиндрическим отверстием под вал диаметром 38 мм, а другая – с цилиндрическим отверстием под вал диаметром 32 мм. Таким образом, принимаем =32 мм.
С учетом типоразмеров подшипников качения и необходимости на валу буртика определенной высоты [1, табл. 14.1] для упора ступицы шкива при сборке редуктора, принимаем диаметр вала под подшипниками мм.
Предполагаемый диаметр вала под шестерней мм. Условие совместного изготовления вала заодно с шестерней , [1,табл.10.12].
Расстояние от впадин зубьев шестерни до шпоночного паза
мм,
где мм – глубина шпоночного паза во втулке [1, табл.7.1];
мм – диаметр впадин зубьев шестерни (см. п.3.1.2).
Так как изготовляем вал-шестерню (материал сталь 45).
Диаметры остальных участков вала назначаем исходя из конструктивных соображений при компоновке редуктора.
3.3.2 Промежуточный вал
Диаметр вала под колесом и шестерней
мм.
Принимаем из стандартного ряда [1, табл.14.1] мм.
С учетом типоразмеров подшипников качения принимаем мм.
Условие совместного изготовления вала заодно с шестерней 
[1, табл.10.12].
Расстояние от впадин зубьев шестерни до шпоночного паза
мм,
где мм-глубина шпоночного паза во втулке [1, табл.7.1];
мм-диаметр впадин зубьев шестерни (см. п.3.2.2).
Окружной модуль зубьев колес тихоходной ступени
мм,
где мм; -см. п.3.2.2.
мм мм, шестерню изготавливаем отдельно от вала.
Диаметры остальных участков вала назначаем исходя из конструктивных соображений при компоновка редуктора.
3.3.3 Тихоходный вал
Диаметр выходного конца вала
мм.
Принимаем из стандартного ряда [1, табл.14.1] мм. С учетом типоразмеров подшипников качения и необходимости на валу буртика определенной высоты [1, табл. 14.1] для упора ступицы ведущей звездочки при сборке редуктора, принимаем диаметр вала под подшипниками мм.
Диаметр вала под колесом мм.
Диаметры остальных участков вала назначаем исходя из конструктивных соображений при компоновке редуктора.
3.4 Проектировочный расчет шпоночных соединений
Размеры сечений шпонок и пазов и длины шпонок принимаем по
ГОСТ 23360-78 [1, табл.7.1].
Материал шпонок – сталь 45, термическая обработка – нормализация.
Рабочая длина шпонки из условия прочности

где – вращающий момент на валу;
– диаметр цапфы вала в месте шпоночного соединения;
– геометрические размеры шпоночного соединения согласно
стандарту.
Допускаемые напряжения смятия неподвижных шпоночных соединений при циклическом нагружении и стальной ступице
МПа, а при чугунной ступице МПа [1, табл.7.6].
Быстроходный вал.
Шпонка на выходном конце вала, сопряжение
"вал - полумуфта". мм; мм; мм [1, табл.7.1]; длина
ступицы полумуфты мм, материал полумуфты – чугун марки СЧ20 [1, табл.16.1] .
Рабочая длинна шпонки
мм.
Минимальная расчетная длина шпонки (исполнение 1)
мм.
С учетом длины полумуфты и стандартного ряда длин шпонок принимаем шпонку длиной мм (Шпонка ГОСТ 23360-78).
Промежуточный вал.
Шпонка на выходном конце вала, сопряжение
"вал – ступица зубчатого колеса". мм; мм; мм [1, табл.7.1]; материал ступицы колеса- сталь 45.
Рабочая длинна шпонки
мм.
Минимальная расчетная длина шпонки (исполнение 1)
мм.
С учетом стандартного ряда длин шпонок принимаем шпонку длиной мм (Шпонка ГОСТ 23360-78).
Тихоходный вал.
Шпонка под колесом, сопряжение "вал - ступица зубчатого колеса". мм; мм; мм [1, табл.7.1]; материал ступицы колеса – сталь 45.
Рабочая длина шпонки
мм.
Минимальная расчетная длина шпонки (исполнение 1)
мм.
С учетом стандартного ряда длин шпонок принимаем шпонку длиной мм (Шпонка ГОСТ 23360-78).
Шпонка на выходном конце вала, сопряжение "вал - ступица звездочки". мм; мм; мм [1, табл.7.1]; материал ступицы звездочки – сталь 45.
Рабочая длина шпонки
мм.
Минимальная расчетная длина шпонки (исполнение 3)
мм.
С учетом стандартного ряда длин шпонок принимаем шпонку длиной мм (Шпонка ГОСТ 23360-78).
3.5 Конструктивные размеры зубчатых колес
Шестерня быстроходной ступени, размеры которой определены выше, выполнена заодно с валом.
Геометрические параметры зубчатого колеса [1, табл. 10.12]:
диаметр ступицы мм;
длина ступицы с учетом ширины зубчатого венца (см. п.3.1.2) и длины шпонки в сопряжении "вал - ступица зубчатого колеса" (см. п.3.4)
мм мм;
толщина обода мм;
принимаем мм;
толщина диска мм;
диаметр центровой окружности
мм;
диаметр отверстий
мм.
Геометрические параметры шестерни тихоходной ступени: учитывая длину шпонки в сопряжении “вал-шестерня” (см. п.3.4) и незначительные радиальные размеры шестерни (см. п.3.2.2) выполняем её плоской (дискового типа) с осевой шириной мм.
Геометрические параметры колеса тихоходной ступени:
диаметр ступицы мм;
длина ступицы с учетом ширины зубчатого венца (см. п.3.2.2) и длины шпонки в сопряжении "вал - ступица зубчатого колеса" (см. п.3.4)
мм
толщина обода мм;
принимаем мм;
толщина диска мм;
диаметр центровой окружности
мм;
диаметр отверстий
мм.
3.6 Конструктивные размеры корпуса редуктора
Толщина стенок корпуса и крышки [1, табл. 17.1]:
мм;
мм,
принимаем мм.
Толщина фланцев поясов корпуса и крышки [1, табл. 17.1]: верхнего пояса корпуса и крышки
мм;
мм.
нижнего пояса корпуса без бобышек
мм.
Диаметры болтов[1, табл.17.1]:
фундаментных
мм,
принимаем болты с резьбой М 18 [1, табл.6.13];
крепящих крышку к корпусу у подшипника
мм,
принимаем болты с резьбой М 14 [1, табл.6.13];
соединяющих крышку с корпусом
мм,
принимаем болты с резьбой М 10 [1, табл.6.13].
3.7 Эскизная компоновка редуктора
В соответствии с рекомендациями [1, табл. 15.14 и 2, с.28] для опор валов редуктора назначаем шариковые радиальные подшипники. Габариты подшипников выбираем по диаметру вала в месте посадки подшипников мм, мм и (см. п.3.3). Параметры подшипников согласно ГОСТ 8338-75 [1, табл.15.1] приведены в таблице 2.
В соответствии с рекомендациями [1, табл. 19.3] смазывание подшипников осуществляем маслом в картере за счет брызг при работе редуктора, так как окружная скорость колеса быстроходной ступени v > 3 м/с (см. п.3.1.3).
Таблица 2 – Параметры подшипников
| Вал
|
Условное
обозначение
подшипника
|
Размеры, мм
|
Грузоподъемность, кН
|
| d
|
D
|
B
|
динамическая
С
|
статическая
С0
|
| Быстроходный
|
408
|
40
|
110
|
27
|
63,7
|
36,5
|
| Промежуточный
|
410
|
50
|
130
|
31
|
87,1
|
52,0
|
| Тихоходный
|
416
|
80
|
200
|
48
|
163,0
|
125,0
|
Эскизную компоновку (рис.2) выполняем в двух проекциях в следующей последовательности:
а) намечаем расположение проекций компоновки в соответствии со схемой привода и наибольшим размером зубчатых колес;
б) на горизонтальной проекции проводим две вертикальные параллельные линии на расстоянии и (см. п.3.1.2 и п.3.2.2), которые являются осевыми линиями валов редуктора;
в) вычерчиваем упрощенно зубчатую пару колес в виде прямоугольников в соответствии с геометрическими параметрами, полученными в результате проектировочного расчета (см. п.3.1.2 и п.3.2.2), с учетом того, что шестерня выполнена заодно с валом;
г) проводим контур внутренней стенки корпуса на расстоянии
А=10 мм от торцов колес для предотвращения их контакта во время работы редуктора; при этом зазор между наружным диаметром подшипников и контуром стенок должен быть не менее величины А;
расстояние между дном корпуса редуктора и поверхностью колес должно быть не менее А
, >4А;
д) вычерчиваем контуры подшипников согласно размерам, приведенным в таблице.2; в соответствии с принятой системой смазки размещаем подшипники в корпусе редуктора, углубим их от внутренней стенки корпуса на 5 мм;
е) на выходных концах быстроходного и тихоходного валов вычерчиваем гнезда под подшипники; глубина гнезда мм, где мм – толщина стенки корпуса (см. п.3.6), а мм - ширина верхнего фланца корпуса, определяемая по табл. 17.1 [1] с учетом диаметра болтов ,
соединяющих крышку с корпусом (см. п.3.6);
ж) вычерчиваем торцовые крышки узлов подшипников в соответствии с размерами [1, табл. 17.6];
з) вычерчиваем ступени валов на соответствующих осях по размерам,
полученным выше (см. п.2 и п.3.3); ступени выходных концов быстроходного и тихоходного валов располагаем на расстоянии 5 мм от внешнего торца крышки подшипников, при этом длина ступени соответственно равна длине полумуфте мм (см. п.3.3. и табл.16.1 [1]) и длине ступицы звездочки мм (см. п.2.);
и) измерением устанавливаем расстояние между точками приложения реакций опор валов и силами в зацеплении зубчатых колес: мм,
мм, мм, мм, мм, мм, мм, а также между точками приложения реакций опор и консольными силами мм, мм; при этом точку приложения силы давления F
в
на валм от цепной передачи принимаем к середине выходного конца тихоходного вала, а точку приложения силы давления муфты в торцовой плоскости выходного конца быстроходного вала.
3.8 Проверочный расчет подшипников
3.8.1 Опоры быстроходного вала
Из предыдущих расчетов: 3478 Н, 1339 Н, 1200 Н,
58,2 мм; 154мм, 56 мм, 102 (см. рис.2).
Н.
Реакции опор от сил в зубчатом зацеплении (рис.3, б):
в плоскости xz
;
Н;
;
Н;
проверка: ;
в плоскости yz

Рисунок 3 – Расчетная схема и эпюры силовых факторов
быстроходного вала редуктора
;
Н;
;
Н;
проверка: .
Реакции опор от силы (рис.3, е), направление которой на рисунке показано условно, так как муфта вращается:
;
Н;
;
Н;
проверка:
.
Суммарные реакции опор
Н;
Н.
Эквивалентная нагрузка
,
в которой Н; (вращается внутреннее кольцо); коэффициент безопасности [1, табл. 15.11]; [1, табл. 15.12].
Отношение , этой величине соответствует 
[1, табл. 15.9].
Рассмотрим подшипник опоры 1. , поэтому следует учитывать осевую нагрузку. Тогда , [1, табл. 15. 9].
Н.
Рассмотрим подшипник опоры 2. , поэтому следует учитывать осевую нагрузку. Тогда , [1, табл. 15. 9].
Н.
Так как , расчет долговечности подшипников проводим по опоре 2
млн об.
Расчетная долговечность в часах
ч,
что больше ресурса привода ч (см. п.3.1.1) минимальной долговечности подшипников для зубчатых редукторов по ГОСТ 16162-93 [1, табл.15. 14].
!!!!!!!!!!!!!!!!!!!!!!!!!!!!!!!!!!!!!!!!!!!!!!!!!!!!!!!!!!!!!!!!!!!!!!!!!!!!!!!!!!!!!!!!!!!!!!!!!!!!!!!!!!!!!!!!!!!!!!!!!!!!!!!!!!!!!!!!!!!!!!!!!!!!!!!!!!!!!!!!!!!!!!!!!!!!!!!!!!!!!!!!!!!!!!!!!!!!!!!!!!!!!!!!!!!!!!!!!!!!!!!!!!!!!!!!!!!!!!!!!!!!!!!!!
3.8.2 Опоры промежуточного вала
Из предыдущих расчетов: 3478,5 Н, 1339 Н, 1200 Н; 8853 Н; 3384,5 Н; 1088 Н; 261,8 мм; 109,2 71мм; 81 мм, 55 мм (см. рис.2).
Реакции опор (рис.4):
в плоскости xz
;
Н;
;
Н;
проверка: ;
в плоскости yz
;
Н;
;
Н;
проверка: .

Рисунок 4 – Расчетная схема и эпюры силовых факторов
тихоходного вала редуктора
Суммарные реакции опор
H;
H.
Эквивалентная нагрузка

в которой Н; (вращается внутреннее кольцо); коэффициент безопасности [1, табл. 15.11]; [1, табл. 15.12].
Отношение , этой величине соответствует 
[1, табл. 15.9].
Рассмотрим подшипник опоры 3. , поэтому осевую
нагрузку не учитываем. Тогда , .
Н.
Рассмотрим подшипник опоры 4. , поэтому осевую
нагрузку не учитываем. Тогда , .
Н.
Так как , расчет долговечности подшипников проводим по опоре 4
млн об.
Расчетная долговечность в часах
ч,
что больше минимальной долговечности подшипников ч для зубчатых редукторов по ГОСТ 16162-93 [1, табл.15.14].
3.8 Конструктивная компоновка редуктора
Используем чертеж эскизной компоновки (см. рис. 1.2). На данном этапе компоновки необходимо конструктивно рассмотреть основные детали редуктора, что будет затем использовано при проверочном расчете валов на прочность и оформлении сборочного чертежа.
Схема смазки зацепления и подшипников принята в п.3.6. В нижней части корпуса устанавливаем пробку для спуска масла [1, табл. 17.2] и жезловый маслоуказатель [1, табл.17.9].
Конструкция корпуса должна обеспечить сборку редуктора. Геометрические размеры некоторых элементов корпуса определены в п.3.5, а остальных - принимаем конструктивно. Основные конструктивные размеры валов и зубчатых колес определены в п.3.2 и п.3.4. Для фиксации зубчатого колеса в осевом направлении предусматриваем заплечики вала с одной стороны и установку распорной втулки с другой; место перехода вала под распорной втулкой смещаем на 1...2 мм внутрь ступицы колеса с тем, чтобы гарантировать прижатие торца втулки к торцу ступицы колеса, а не к галтели вала. Крышки подшипниковых узлов на валах с одной стороны глухие, а с другой – сквозные с манжетными уплотнениями. Под крышки устанавливаем набор металлических прокладок для регулирования зубчатого зацепления при сборке редуктора.
3.9 Выбор посадок сопряжений основных деталей
Посадки назначаем в соответствии с указаниями, данными в
табл.3.8 [1]:
– посадка зубчатого колеса на вал – H7/r6;
– посадка звездочки цепной передачи на тихоходный вал редуктора – H7/h6;
– посадка полумуфты на быстроходный вал редуктора – H7/k6;
– посадка подшипников на вал (нагружение внутреннего кольца – циркуляционное) – L0/k6 [ 1, табл. 15.16];
– посадка подшипников в корпусе редуктора (нагружение наружного кольца – местное) – Н7/l
0;
– посадка распорных втулок на вал – H7/k6;
– посадка шпонок в паз вала – N9/h9, а в паз ступицы – Js9/h9
[ 1, табл.7.4].
3.10 Проверочный расчет валов
Расчет производим для предположительно опасных сечений каждого из валов. Проверочный расчет валов состоит в определении коэффициентов запаса прочности для опасных сечений и сравнении их с допускаемыми значениями . Прочность обеспечена при .
Результирующий коэффициент запаса прочности

где и – коэффициенты запаса прочности по нормальным и касательным
напряжениям
Коэффициенты запаса прочности по нормальным напряжениям (нормальные напряжения от изгиба изменяются по симметричному циклу и поэтому средние напряжения цикла ) и касательным напряжениям (касательные от кручения изменяются по отнулевому циклу)


где и – амплитуды напряжении цикла;
и – средние напряжения цикла;
и – коэффициенты чувствительности материала к асимметрии
цикла напряжений;
и – коэффициенты концентрации напряжений для
данного сечения вала.
Коэффициенты концентрации напряжений для данного сечения вала

где и – эффективные коэффициенты концентрации напряжений;
и – коэффициенты влияния абсолютных размеров сечения;
– коэффициент влияния шероховатости поверхности;
– коэффициент влияния поверхностного упрочнения.
Быстроходный вал
(см. рис.3). Материал вала тот же, что и для шестерни (шестерня выполнена заодно с валом), то есть сталь 45, термическая обработка – улучшение. При диаметре заготовки до 80 мм (в нашем случае мм) предел прочности МПа [1, табл. 10.2].
Пределы выносливости материала
МПа,
МПа.
Сечение А – А.
Диаметр вала в этом сечении мм. Концентрация напряжений обусловлена наличием шпоночного паза: и [1, табл. 14.9]; , [1, табл.14.5]; (шероховатость поверхности мкм) [1, табл.14.12]; (поверхность без упрочнения) [1, табл.14.11]; [1,табл.14.13].
Коэффициенты концентрации напряжений для данного сечения вала
;

Изгибающий момент (см. рис.3)
Н·мм.
где мм – длина шпонки (см. п.3.3);
мм – длинна ступицы полумуфты(см. п. 3.3);
Н – сила нагрузки на вал от муфты (см. п. 3.7.1).
Полярный и осевой моменты сопротивления сечения ( мм; ширина шпоночного паза мм, а его глубина [1, табл.7.1])
мм3
;
мм3
.
Амплитуда и среднее напряжение цикла касательных напряжений
МПа.
Амплитуда нормальных напряжений изгиба
МПа.
Коэффициент запаса прочности по нормальным напряжениям

Коэффициент запаса прочности по касательным напряжениям

Результирующий коэффициент запаса прочности

Большой коэффициент запаса прочности объясняется тем, что диаметр выходного конца вала был увеличен при конструировании для соединения его стандартной муфтой с валом электродвигателя (см. п.3.2.1)
По той же причине проверять прочность в сечении Б – Б нет необходимости. Прочность вала обеспечена.
Тихоходный вал (см. рис.4).
Материал вала – сталь 45, термическая обработка – улучшение.
Наибольший диаметр вала [1, табл.14.1]
мм,
где мм – см. п.3.2.2;
При диаметре заготовки до 80 мм предел прочности МПа [1,
табл. 10.2].
Пределы выносливости материала
МПа,
МПа.
Сечение В – В.
Диаметр вала в этом сечении мм. В данном сечении два источника концентрации напряжений: наличие шпоночного паза и посадка с натягом в сопряжении "ступица колеса - вал". Коэффициенты концентрации напряжений от посадки с натягом , , [табл.14.10] (шероховатость поверхности мкм) [1, табл.14.12]; (поверхность без упрочнения) [1, табл.14.11]; [1,табл.14.13]. Коэффициенты концентрации напряжений от шпоночного паза: и [1, табл.14.9]; , [1, 1табл.14.5];
отношения и .
При расчете учитываем источник концентрации с наибольшим отношением.
Коэффициенты концентрации напряжений для данного сечения вала
;
.
Изгибающий момент (см. рис.4)
Н·м.
Полярный и осевой моменты сопротивления сечения ( ; ширина шпоночного паза мм, а его глубина мм [1, табл.7.1])
мм3
;
мм3
.
Амплитуда и среднее напряжение цикла касательных напряжений
МПа.
Амплитуда нормальных напряжений изгиба
МПа.
Коэффициент запаса прочности по нормальным и касательным напряжениям
;
.
Результирующий коэффициент запаса прочности
.
Сечение Г – Г
. Диаметр вала в этом сечении мм. Концентрация напряжений обусловлена наличием шпоночного паза: и [1, табл. 14.9]; , [1, табл.14.5]; (шероховатость поверхности мкм) [1, табл.14.12]; (поверхность без упрочнения) [1, табл.14.11]; [1,табл.14.13].
Коэффициенты концентрации напряжений для данного сечения вала
;
.
Изгибающий момент (см. рис.4)
Н·мм,
где мм – длина шпонки (см. п.3.3);
мм – длинна ступицы ведущей звездочки (см. п.2);
Н – сила нагрузки навал от цепной передачи (см. п.2).
Полярный и осевой моменты сопротивления сечения ( мм; ширина шпоночного паза мм, а его глубина мм [1, табл.7.1])
мм3
;
мм3
.
Амплитуда и среднее напряжение цикла касательных напряжений
МПа.
Амплитуда нормальных напряжений изгиба
МПа.
Коэффициенты запаса прочности по нормальным и касательным напряжениям
;
.
Результирующий коэффициент запаса прочности
.
Сечение Д – Д.
Диаметр вала в этом сечении мм. Концентрация напряжений обусловлена посадкой подшипника с гарантированным натягом: , [1, табл. 14.10]; (шероховатость поверхности мкм) [1, табл.14.12]; (поверхность без упрочнения) [1, табл.14.11]; [1,табл.14.13].
Коэффициенты концентрации напряжений для данного сечения вала
;
.
Изгибающий момент (см. рис.4, ж)
Н·м.
Полярный и осевой моменты сопротивления сечения ( мм)
мм3
;
мм3
.
Амплитуда и среднее напряжение цикла касательных напряжений
МПа.
Амплитуда нормальных напряжений изгиба
МПа.
Коэффициенты запаса прочности по нормальным и касательным напряжениям
;
.
Результирующий коэффициент запаса прочности
.
Прочность вала обеспечена.
3.11 Выбор смазочных материалов
Так как окружная скорость зубчатого колеса v > 1 м/с (см. п. 3.1.3), то смазывание зубчатого зацепления производится окунанием зубчатого колеса в масло, заливаемое внутрь корпуса редуктора до уровня, обеспечивающего погружение колеса примерно на 10 мм.
По табл.19.4 [1] устанавливаем вязкость масла. При контактных напряжениях МПа и скорости свыше 2,0 до 5,0 м/с (см. п. 3.1.3) рекомендуемая вязкость масла должна быть примерно равна 28 мм2
/с. По табл. 19.1 [1] принимаем масло индустриальное И-20А ГОСТ 20799-88* (И-Л-А-32 по ГОСТ 17479.4-87).
3.12 Сборка редуктора
Перед сборкой внутреннюю полость корпуса редуктора тщательно очищают и покрывают маслостойкой краской.
Сборку производят в соответствии со сборочным чертежом редуктора, начиная с узлов валов:
– на быстроходный вал напрессовывают подшипники, предварительно нагретые в масле;
– в тихоходный вал закладывают шпонки и напрессовывают зубчатое колесо до упора в бурт вала; затем надевают распорные втулки и напрессовывают подшипники, предварительно нагретые в масле.
Собранные валы укладывают в основание корпуса редуктора и устанавливают крышку корпуса, покрывая предварительно поверхности стыка крышки и корпуса спиртовым лаком. Для центровки устанавливают крышку на корпус с помощью двух конических штифтов; затягивают болты, крепящие крышку к корпусу.
После этого устанавливают крышки подшипников с комплектом металлических прокладок для регулировки положения зубчатого зацепления.
Перед постановкой сквозных крышек в проточки закладывают манжетные уплотнения. Проверяют проворачиванием валов отсутствие заклинивания подшипников (валы должны проворачиваться от руки) и закрепляют крышки нишами. Затем ввертывают пробку маслоспускного отверстия с прокладкой и жезловый маслоуказатель. Заливают в корпус масло и закрывают смотровое отверстие крышкой с прокладкой из технического картона; закрепляют крышку болтами.
Собранный редуктор обкатывают и подвергают испытанию на стенде по программе, устанавливаемой техническими условиями.
4 ВЫБОР МУФТЫ
Исходя из характера выполняемого производственного процесса машиной и технического задания на проектирование привода, для соединения выходных концов выходного вала привода и быстроходного вала редуктора, установленных на общей раме, принимаем упругую втулочно-пальцевую муфту (МУВП). Эта муфта обладает достаточными упругими свойствами и малым моментом инерции, что снижает действие пусковых нагрузок на валы.
Типоразмер муфты выбираем с учетом диаметров соединяемых валов (см. п. 3.2.2) и по величине расчетного вращающего момента
Н·м,
где – коэффициент режима работы [ 1, табл. 16.3];
Н·м – момент на тихоходном валу редуктора .
С учетом длины шпонки в сопряжении "вал - ступица полумуфты" (см. п. 3.3), принимаем муфту МУВП 250-38-I.1-32-I.2-УЗ ГОСТ 21424-93 [1, табл. 16.1].
5 СБОРКА ПРИВОДА
Сборку привода производим в соответствии со сборочным чертежом в следующей последовательности:
– в шпоночный паз выходных концов вала электродвигателя и быстроходного вала редуктора закладываем шпонки, устанавливаем
соответственно ведущий и ведомый шкивы ременной передачи и закрепляем их от осевого сдвига торцовым креплением;
– в шпоночный паз выходных концов выходного вала привода и тихоходного вала редуктора закладываем шпонки и устанавливаем полумуфты;
– устанавливаем электродвигатель и редуктор на раму машины, производим сборку и центровку муфты и ременной передачи;
– производим крепление узлов привода на раме машины при помощи фундаментных болтов.
После сборки привода устанавливаем по месту кожух ограждения ременной передачи.
Собранную машину подвергнуть испытанию по программе, установленной технической документацией.
СПИСОК ИСПОЛЬЗОВАННЫХ ИСТОЧНИКОВ
1. Арон А.В. Справочное руководство по проектированию деталей машин: Уч. пос. - Владивосток, Морской государственный университет им. адм. Г.И. Невельского, 2002. 200 с.
|