| МИНИСТЕРСТВО ОБРАЗОВАНИЯ РОССИЙСКОЙ ФЕДЕРАЦИИ
ПЕТЕРБУРГСКОГО ГОСУДАРСТВЕННОГО УНИВЕРСИТЕТА ПУТЕЙ СООБЩЕНИЯ
Курсовая работа
По предмету
Электропитающие устройства автоматики.
Проектирование электропитающей установки дома связи
Выполнил: Шмыгля Ф.В
Проверил(а): ____________________
200
5
Введение
В современных системах железнодорожной связи к устройствам электропитания, предъявляют жесткие требования в отношении надежности, стабильности напряжения и величины пульсации. Несоблюдение этих требований может привести к нарушению работы средств управления на транспорте и отразиться на безопасности движения поездов. Поэтому роль установок электропитания в обеспечении четкой и безаварийной работы железнодорожного транспорта весьма велика.
Целью данного проекта является выработка навыков решения задач по организации и проектированию электропитающих установок для домов связи.
Разработка ЭПУ
Аппаратура связи на отделенческих и участковых станциях обычно размещается в отдельных служебно-техничесиих зданиях, выполненных по типовым проектам, которые называют домами связи
.
Для нормального функционирования аппаратуры связи и других устройств, расположенных в домах связи и постах электрической централизации (ЭЦ), требуется электрическая энергия, которая обеспечивается электроустановками (ЭУ).
Основные элементы ЭУ:
устройства электроснабжения
, которые включают электростанции, линии электропередачи, трансформаторные подстанции и др.;
собственные электрические станции
, осуществляющие резервное (а иногда и основное) электроснабжение;
сети электросилового оборудования и освещения
, которые обеспечивают электроэнергией системы вентиляции, отопления, оборудования мастерских и рабочее освещение производственных помещений;
электропитающие установки (ЭПУ)
, которые являются основной частью ЭУ предприятия. Они предназначены для преобразования, регулирования, распределения и обеспечения бесперебойности подачи различных напряжений переменного и постоянного тока, необходимых для нормальной работы устройств связи и автоматики. ЭПУ включают в себя следующие элементы:
1) выпрямительные и преобразовательные устройства
2) аккумуляторные батареи
3) устройства стабилизации напряжения и тока
Забиваем Сайты В ТОП КУВАЛДОЙ - Уникальные возможности от SeoHammer
Каждая ссылка анализируется по трем пакетам оценки: SEO, Трафик и SMM.
SeoHammer делает продвижение сайта прозрачным и простым занятием.
Ссылки, вечные ссылки, статьи, упоминания, пресс-релизы - используйте по максимуму потенциал SeoHammer для продвижения вашего сайта.
Что умеет делать SeoHammer
— Продвижение в один клик, интеллектуальный подбор запросов, покупка самых лучших ссылок с высокой степенью качества у лучших бирж ссылок.
— Регулярная проверка качества ссылок по более чем 100 показателям и ежедневный пересчет показателей качества проекта.
— Все известные форматы ссылок: арендные ссылки, вечные ссылки, публикации (упоминания, мнения, отзывы, статьи, пресс-релизы).
— SeoHammer покажет, где рост или падение, а также запросы, на которые нужно обратить внимание.
SeoHammer еще предоставляет технологию Буст, она ускоряет продвижение в десятки раз,
а первые результаты появляются уже в течение первых 7 дней.
Зарегистрироваться и Начать продвижение
4) распределительно-коммутационные устройства
5) распределительные сети
6) устройства защиты сигнализации и др.
Основное оборудование ЭПУ размещается в выпрямительной и аккумуляторной. ЭПУ должны удовлетворять следующим основным требованиям:
обеспечивать надежное, бесперебойное (а в некоторых случаях беспрерывное) электропитание аппаратуры напряжением необходимой стабильности с допустимой величиной пульсации, быть экономичными при строительстве и эксплуатации, обладать достаточно высокими значениями КПД и коэффициента мощности, быть максимально автоматизированными, допускать возможность развития узла связи без замены основного силового оборудования.
Исходные данные
Задание для (10 варианта)
Основной источник
1 – подстанция районных энергосистем
U = 380 В
Резервный источник
2- тяговая подстанция
U = 380 В
Линейно – аппаратный цех (ЛАЦ)
- 24В, 328А
- 60В, 55,5А
~ 220В, 3А
Телефонные станции
Нет
Телеграфные станции
- 60В, 100А
+60В, 30А
Дополнительные нагрузки
(мощность
S
, кВА)/ коэф.мощности)
Для дома связи
Освещение (гарантированное) – 12,0
Вентиляция 17,0
Аккумулят. 0,78
Освещение (негарантированное) – 50
Силовое оборудование 100
(негарантированное) 0,75
Все электроприёмники, получающие питание от внешних источников, подразделяются на две группы гарантированного и негарантированного электроснабжения.
К первой группе
наряду с устройствами связи относится сеть гарантированного освещения, устройства вентиляции и отопления помещений аккумуляторной и ДГА, устройства подкачки топлива, масла и воды в расходные баки для обеспечения длительной работы резервной электростанции. Лампы сети гарантированного освещения располагают в производственных помещениях (цехах связи), коридорах и на лестничных клетках. Все приемники этой группы получают питание от внешних источников тока, а в случае их аварии - от ДГА.
Ко второй группе
относят сеть общего освещения, оборудование вентиляции, силовое оборудование мастерских и других вспомогательных помещений. Приемники этой группы получают электропитание от внешних источников, а при повреждении последних выключаются.
На каждом узле связи, кроме сети гарантированного освещения, должно быть предусмотрено аварийное освещение, обеспечивающее выполнение технологического процесса обслуживания аппаратуры связи при аварии всех источников переменного тока (внешних и ДГА). Аварийное освещение осуществляется с помощью ламп, получающих питание от аккумуляторной батареи 24 В или, в случае ее отсутствия, от батарей с другим номинальным напряжением.
Сервис онлайн-записи на собственном Telegram-боте
Попробуйте сервис онлайн-записи VisitTime на основе вашего собственного Telegram-бота:
— Разгрузит мастера, специалиста или компанию;
— Позволит гибко управлять расписанием и загрузкой;
— Разошлет оповещения о новых услугах или акциях;
— Позволит принять оплату на карту/кошелек/счет;
— Позволит записываться на групповые и персональные посещения;
— Поможет получить от клиента отзывы о визите к вам;
— Включает в себя сервис чаевых.
Для новых пользователей первый месяц бесплатно.
Зарегистрироваться в сервисе
Характеристика электроснабжения
.
Все устройстве автоматики, связи и другие потребители электрической энергии, размещаемые в домах связи и постах ЭЦ в соответствии с Правилами устройства электроустановок (ПУЭ), по надежности функционирования и требованиям к электроснабжению
подразделяются на три категории.
К 1 категории
относятся электроприёмники, нарушение электроснабжения которых может повлечь за собой опасность для жизни людей, значительный ущерб народному хозяйству, расстройство сложного технологического процесса и др.
К этой категории относятся: устройства электрической централизации промежуточных станций с числом стрелок до 30, устройства автоблокировки, сети гарантированного освещения, оборудование вентиляции и отопления, аккумуляторных помещений.
Ряд устройств автоматики и связи, предъявляющих еще более 'высокие требования к надежности электроснабжения, выделен в особую группу первой категории
. К этой группе относятся: устройства электрической централизации участковых, узловых и сортировочных станций с числом стрелок более 30, дома связи, обслуживаемые усилительные пункты, центральные посты диспетчерской централизации и др.
К электроприемникам 2 категории
относятся: устройства компрессорных станций для очистки стрелок от снега, громкоговорящая парковая связь и др.
К электроприемникам 3 категории
относятся: сети общего освещения и устройства вентиляции служебно-технологичес-ких помещений, электрооборудование мастерских, гаражей и др.
Электрическая энергия к приемникам I категории должна подаваться от двух независимых источников. Перерыв в электроснабжении может быть допущен только на время автоматического ввода резервного питания (АВР). Это время должно быть не более 1,3 с.
Независимыми источниками энергии называют такие, когда прекращение действия одного не вызывает прекращения действия другого.
Электроэнергия к приемникам особой группы I категории должна подводиться от трех
независимых источников. Перерыв в электроснабжении не должен превышать 1,3 о, а некоторые устройства (релейные схемы ЭЦ, электронные автоматические телефонные станции и др.) не допускают даже кратковременных перерывов.
Электроэнергию к приемникам 2 категории рекомендуется подводить от двух, а электропитание приемников 3 категории может осуществляться от одного источника. Перерывы в электроснабжении приемников этих категорий допустимы, но не более чем на одни сутки.
Объем, мощность, а следовательно, и стоимость ЭПУ связаны с условиями внешнего электроснабжения. Чем надежнее электроснабжение, тем проще и экономичнее будет ЭПУ,
Наибольшая надежность электроснабжения обеспечивается от государственных энергосистем, наименьшая - от местных электростанций промышленных предприятий.
Все электропитающие установки в зависимости от условий электроснабжения подразделяются на несколько групп.
К группе 1A
относятся ЭПУ, имеющие полностью обеспеченное круглосуточное снабжение от двух или более внешних ^надежных, независимых источников мощностью не менее 1000 кВт. Допускается последовательное отключение таких источников с интервалом времени не менее 30 с (время, необходимое для запуска ДГА). Возможно выполнение дополнительного условия - отсутствие одновременных отключений внешних источников.
Колебания напряжения не выходят за пределы -I5.,.-t-5/5 от номинального.
К группе 1Б
относятся ЭПУ с теми же условиями электроснабжения, что и группа IA, но при наличии одного внешнего источника.
К группе 2А
относятся ЭПУ, имеющие неполное снабжение от внешних источников электроэнергии.
Они получают круглосуточное снабжение от одного источника мощностью менее 1000 кВт или более мощного, но с частыми перерывами в подаче электроэнергии, либо при наличии колебаний напряжения, выходящих за пределы -15…+3% от номинальной величины. ЭПУ в последнем случае может быть отнесена к группе 1Б при наличии стабилизаторов напряжения.
К группе 2Б
относятся ЭПУ с теми же условиями электроснабжения, что и в группах ПА, на которые энергия подается не круглосуточно, но не менее 16ч в сутки без перерыва.
К группе 3
относятся ЭПУ, не обеспеченные электроснабжением от внешних источников. Эти ЭПУ либо полностью лишены возможности получать электроэнергию извне, либо получают ее менее 16 часов в сутки без перерывов, либо с сезонными перерывами.
Для повышения надежности работы ЭПУ внешние источники электрической энергии дополняются местными. Может быть предусмотрено резервирование питания от электростанций промышленных предприятий, в состав ЭПУ включают резервные электростанции и аккумуляторные батареи. На основании положений по проектированию ЭПУ во всех домах связи должны быть предусмотрены автоматизированные резервные электростанции.
Требования к качеству электрической энергии
.
Требования к качеству электрической энергии, необходимые для нормальной работы аппаратуры свя8и,сформулированы в технических данных аппаратуры. Общие требования на вновь, разрабатываемую аппаратуру указаны в ГОСТ 5327-83.
В технических данных на аппаратуру указывают тип тока (переменный, постоянный), номинальное напряжение, допустимые пределы изменения напряжения и допустимую величину пульсации напряжения.
Данные о допустимых пределах изменения напряжения даются в виде абсолютных значений предельных напряжений или как относительные изменения напряжения в процентах (точность стабилизации), определяемые по формуле

где Uн - максимальное отклонение напряжения на нагрузке от номинального, В; + Uн = Uн max – Uн пот; – Uн = Uн пот - Uн пот.
Оценка величины пульсации производится в среднеквадратичных или псофометрических единицах напряжения. Псофометрические напряжения используются для оценки мешающего действия переменной составляющей в аппаратуре, предназначенной для работы с сигналами тональных частот, приемником которых служит человеческое ухо (речевой или музыкальный сигналы). Во всех остальных случаях используется эффективное (среднеквадратичное) напряжение.
ЭПУ на различные номинальные напряжения.
Для каждого номинального напряжения постоянного токе в домах связи, как правило, предусматривается отдельная ЭПУ, общая для аппаратуры всех цехов (рис.1).
Рис.1. ЭПУ дома связи
В электропитающих устройствах обычно один полюс соединяют с заземлением (заземляют). Заземление одного из полюсов дает возможность
упростить токораспределительные сети, выполнить заземленную часть общей для ЭПУ на разные номинальные напряжения и исключить из общей цепи все устройства защиты и коммутации. В источниках с номинальным напряжением и 60 В приняло заземлять положительный полюс, а в источниках с напряжением постоянного тока 220 В - отрицательный. В тех случаях, когда это правило нарушается или есть опасность неправильного толкования этого положения, перед обозначением номинального напряжения ставят знак 'Ч" или "-", характеризующий потенциальный (незаземленный) полюс источника тока. Так, обозначение номинальных напряжений +60 В и -60 В говорит о том, что эти напряжения должны быть получены от разных источников тока (ЭПУ); у первого должен быть заземлен отрицательный полюс, у второго-положительный (рис.2).
Рис.2
. ЭПУ с различными заземленными полюсами
В некоторых случаях аппаратуре с различными, но близкими по величине номинальными напряжениями (например 24 В и 21,2 В) может получать питание от общих источников тока (ЗЛУ) (рис.3). Электропитание аппаратуры с большим номинальным напряжением может быть осуществлено от нескольких отдельных источников тока с меньшими номинальными напряжениями. Так, аппаратура с номинальным напряжением питания 120 В может быть подключена к двум ЗЛУ с номинальными напряжениями -60 В и +60 В (рис.4).

| Рис. 4
. Получение большего напряжения от двух ЭПУ с меньшими напряжениями
|
Рис. 3
. Получение разных
номинальных напряжений от одной ЭПУ
Каждая ЭПУ должна обеспечивать необходимый ток для питания всей аппаратуры, рассчитанной на данное номинальное напряжение
В зависимости от системы электропитания ЭПУ подразделяются на автономную (режим заряд-разряд), буферную (режимы среднего тока, импульсного и непрерывного подзаряда) и безаккумуляторную. Буферные системы могут быть многобатврейными и однобатарейными. По принципу работы ЭПУ подразделяют на неавтоматизированные и автоматизированные. По способу эксплуатации - на обслуживаемые и необслуживаемые.
В качестве основной системы электропитания для ЭПУ домов связи принята буферная многобатарейная система, работающая в режиме непрерывного подзаряда.
Однобатарейная система используется в ЭПУ небольшой мощности (менее 2 кВт). При ненадежном электроснабжении или наличии значительных перерывов в электроснабжении проектируют автономную систему с питанием от аккумуляторов в режиме "заряд-разряд". В некоторых случаях при надежном электроснабжении, когда мощность ЭПУ достигает сотен киловатт, применяют базаккумуляторную систему с использованием резервного фидера и ДГА или двухлучевую систему.
ЭПУ на различные номинальные напряжения могут проектироваться автоматизированными и неавтоматизированными, в зависимости от потребляемой мощности и надежности электроснабжения. Для ЭПУ на токи менее 40 А отсутствует аппаратура автоматической коммутации, поэтому их проектируют для неавтоматического режима работы. ЭПУ-24 на токи более 40А и ЭПУ- 60 могут работать как в автоматическом, так и в неавтоматическом режимах.
для автоматизированных ЭПУ характерна работа в послеаварийном режиме, на первом этапе – в режиме стабилизации тока с постепенным увеличением напряжения до 2.3 В на аккумулятор, а затем переход в режим стабилизации напряжения, который .длится несколько суток (модифицированный режим заряда). При надежном снабжении электроэнергией аварий сети возникают редко, и батарея, как правило, успевает зарядиться. При недостаточно надежном электроснабжении заряд аккумуляторов после аварии должен осуществляться как можно быстрее (в течение 7-10 часов,), при этом напряжение к концу заряда необходимо поднимать до 2,7 В на аккумулятор. В этом случае напряжение на батарее сильно возрастает и намного превышает допустимую величину для питания аппаратуры связи. Поэтому послеаварийный заряд аккумуляторных батарей должен производиться с отключением их от нагрузки. Автоматизированные ЭПУ могут быть необслуживаемыми, неавтоматизированные - всегда обслуживаемые.
Способы регулирования напряжения
ЭПУ с буферной аккумуляторной батареей в большинстве случаев не могут обеспечить допустимые пределы колебания напряжения на зажимах аппаратуры без специальных мер регулирования напряжения постоянного тока.
Применяемые в настоящее время мероприятия по регулированию напряжения на выходе ЭПУ можно подразделить на две группы: пассивные и активные. Пассивный способ
регулирования основан на гашении избыточного напряжения на элементах регулирования при протекании тока нагрузки в нормальном режиме работы ЭПУ. К этому способу относится: регулирование с помощью противоэлементов и полупроводниковых вентилей (рис.5, а и б регулирование с помощью угольных регуляторов и полупроводниковых стабилизаторов напряжения (рис.5.в и г ). Пассивный способ приводит к потерям мощности и г снижению КПД ЭПУ и применяется в установках небольшой мощности (менее 1 кВт, где КПД не имеет определяющего значения.
Активный способ
основан на подключении дополнительного источника напряжения при понижении напряжения на выходе ЗГО в аварийном режиме. При использовании этого способа потери мощности в нормальном режиме отсутствуют.)К этому способу относятся регулирование с помощью дополнительных аккумуляторов и преобразователей постоянного тока (конверторов) рис.5.д и е ).

Рис.5
. Способы регулирования напряжения с помощью: а
-противоэлементов; б
- вентилей; в
- угольных регуляторов; г
- полупроводниковых регуляторов; д
- дополнительных аккумуляторов; е
- конвертеров
Противоэлементы
используются в существующих ЭПУ. Для нового проектирования не применяют ввиду ряда недостатков, присущих противоэлементам.
Способ регулирования напряжения с помощью полупроводниковых вентилей
находит применение в ЭПУ небольшой мощности. Однако он не может быть использован тогда, когда требуется достаточно точное и плавное регулирование напряжения (например с точностью +3%).
Регулирование с помощью полупроводниковых стабилизаторов
напряжения используется, если необходимо для питания аппаратуры обеспечить точность стабилизации напряжения +3- 10%, а ЭПУ не может обеспечить заданную точность.
Регулирование с помощью угольных регуляторов
широко используется в действующих устройствах связи. При новом проектировании
этот способ не применяют ввиду ряда недостатков, присущих электро-механическим регуляторам.
Способ регулирования а помощью дополнительных аккумуляторов
широко используется при проектировании автоматизированных и неавтоматизированных ЭПУ средней и большой мощности (более I кВт).
Регулирование с помощь конверторов
выполняется так же, как регулирование напряжения с помощью дополнительных аккумуляторов. Способ регулирования перспективен. Может заменить способ регулирования с помощью дополнительных аккумуляторов при условии освоения и выпуска промышленностью необходимых преобразователей.
В некоторых случаях для питания различных типов аппаратуры от одной ЭПУ применяют несколько ступеней стабилизации напряжения. Так, при применении аппаратуры с номинальным напряжением 24 В и точностью стабилизации +10% и аппаратуры с номинальным напряжением 21,2 В, точностью стабилизации ±3% возможно использование одной ЭПУ с двумя ступенями регулирования. На первой - с помощью дополнительных аккумуляторов, на второй - с помощью полупроводниковых стабилизаторов (рис 6.а ). При небольших токах нагрузки (менее 30 А) можно отказаться от первой ступени, а осуществлять стабилизацию обоих номинальных напряжений с помощью полупроводниковых стабилизаторов (рис.6.б).

Рис.6
. Стабилизация напряжения:
а
- с двумя ступенями; б
- с отдельными стабилизаторами
Аккумуляторные батареи
.
Буферные аккумуляторные батареи часто выполняют из двух групп. Это повышает надежность ЭПУ, так как при отключении одной группы для ремонта или профилактики вторая остается подключенной к ЗПУ и обеспечивает резервирование электроснабжения.
Двухгруппные
аккумуляторные батареей должны применяться в ЭПУ-24 для питания аппаратуры ЛАЦ, в неавтоматизированных ЭПУ-60 для питания АТС с током нагрузки более 40 А и автоматизированных ЭПУ-60 для питания АТС с током нагрузки более 140 А. В остальных случаях могут использоваться одногруппные
буферные батареи аккумуляторов.
Аккумуляторные батареи для режима "заряд-разряд" обычно состоят из двух и реже из трех групп.
В буферных батареях наиболее часто используют кислотно-свинцовые аккумуляторы типа СК, предназначенные для кратковременных режимов разряда. Эти аккумуляторы имеют наибольшее количество градаций номинальных емкостей. Реже используют более дефицитные аккумуляторы типа СН. Иногда применяют аккумуляторы типа АБН и других типов. В режиме "заряд-разряд" - аккумуляторы типа С и реже типа СН. Щелочные аккумуляторы для питания стационарной аппаратуры используют редко ввиду сильного изменения напряжения в процессе разряда.
Запас емкости аккумуляторов, работающих в буферном режиме, должен обеспечивать питание аппаратуры в течение 2ч, а работающих в режиме "заряд-разряд" - в течение 10-12 ч.
Таблица 1
| Объект электроснаб-жения
|
Категория объекта электроснаб-жения
|
Количество источников электроэнергии
|
Группа электроснабжения
|
Дополнительные источники электроэнергии
|
| необходимое
|
заданное
|
| Подстанция рабочих энергосистем
|
Особая группа
1 категории
|
3
|
2
|
1А
|
ДГА
|

Таблица 2
| Цех дома связи
|
U
источника
|
Допустимая пульсация
|
Ток нагрузки, А
|
Система электропитания
|
Степень автоматизации
|
Число групп аккумуляторов
|
Время работы аккумулятора, ч
|
| Номин.
U
|
Допустимые пределы измерения, В
|
Точность стабилизации, в %
|
Эффективное
U, d
|
Псофометрическое
U
,
в мВ
|
Разработка функциональных схем ЭПУ
В табл.3 приведены технич. Данные ЭПУ для буферной системы питания!
Таблица 3

| ЭПУ – 1
:
Uном
=24 В
Iэпу-1
=328 А;

|
ЭПУ – 2-1
:
Uном =
–60 В
Iэпу-2
=55,5+100=155,5 А;

|
ЭПУ – 2-2
:
Uном
= +60 В
Iэпу-2
=30 А;

|
Функциональная схема ЭПУ-24 с АКАБ24/500-2 и ВУК

Состоит из 1 – 3 рабочих (буферных) выпрямителей БВ типа ВУК , включенных на параллельную работу, резервно - зарядного выпрямителя РЗВ того же типа, зарядного выпрямителя ЗВ типа ВУК-8/300, устройства автоматической коммутации аккумуляторных батарей типа АКАБ-24/500-2 с выпрямителем содержания ВС, а также одногруппной или двухгруппной секционированной аккумуляторной батареи из 13 элементов. В нормальном режиме
аппаратура получает питание от выпрямителей БВ, одновременно осуществляется подзаряда основных элементов ОЭ при напряжении 24,2 В (2,2 В ± 7 В
на элемент). Дополнительные элементы ДЭ в это время подзаряжаютоя от выпрямителя содержания ВС типа ВС-6/8. В случае пропадания напряжения в сети
аппаратура начинает получать питание от батареи ОВ. Когда напряжение в точке подключения устройства контроля напряжения УКН-А2 (на последней стойке последнего ряда аппаратуры) уменьшится до 21,6±0,1 В,отпускает якорь реле К4, которое включает реле К2, а последнее - контактор KI. Контактор подключает дополнительные элементы ДЭ к нагрузке. Напряжение скачком увеличивается, но не превышает 26,4 В безопасность питания обеспечивается диодом Д2.
При восстановлении напряжения в сети
БВ и РЗВ включаются в режим стабилизации тока, обеспечивая питание нагрузки и заряд всей батареи (ОЭ и ДЭ). Когда напряжение в точке подключения устройства контроля напряжения УКН-АЗ (на первой стойке первого ряда аппаратуры) достигнет 26,4±0,1 В, сработает реле К5, которое разрывает цепь питания реле К2, а последнее – цепь контактора KI, который отключает ДЭ от нагрузки. Безобрывность цепи заряда обеспечивает диод Д1, предотвращая увеличение напряжения на выходе БВ и РЗВ. Одновременно реле S2 включают напряжение сети к ЗВ, который обеспечивает окончательный заряд ДЭ до напряжения 4,6 В. Затем контактами своего вольтметрового реле ЗВ.отключается от оети и включаетоя ВС, обеспечивая дальнейший подзаряд ДЭ. Основные элементы батареи ОЭ продолжают заряжатьоя от ВБ и РЗВ до напряжения, 2,3x11= 25,3 В. При достижении этого напряжения реле контроля напряжения Рпп переводит БВ в режим стабилизации напряжения и выключает РЭВ. Схема приходит в исходное соотояние.
Устройства сигнализации
.
Реле сигнализации КЗ включается при невключении контактора К1 (при наличии -команды от К4), невыключении контактора KI (при наличии команды от К5), а также при сгораний предохранителя Пр1.
При длительном отклонении напряжения на нагрузке от нормы (21,6-26,4 В) по сигналу УКН-А2 или УКН-АЗ включаетоя реле Кб и выдает сигнал об отклонений напряжения. Замедление сигнала на время около 5 с осуществляется о помощью конденсатора С, который при замыкании контактов реле К4 заряжается через резистор Р2. В момент, когда напряжение на конденсаторе превысит напряжение на стабилитроне Д6, открывается транзистор Т и срабатывает реле Кб.
В АКАБ имеются четыре сигнальных лампы HI - "разряд" (т.е. включение контактора KI), H2 - "авария", НЗ - "отклонение напряжения", Н5 - "выключение звонка". . . .
Конструктивно АКАБ выполнен о в виде шкафа, устанавливаемого в ряд или пристенно.
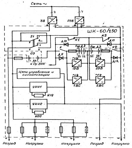
Функциональная схема ЭПУ-60 со шкафом ШК-60/150

Состоит из 1 – 2 рабочих (буферных) выпрямителей БВ типа ВУК или ВУТ, включенных на параллельную работу, резервно - зарядного выпрямителя РЗВ того же типа, шкафа автоматической коммутации типа ШК – 60/150 с выпрямителями содержания 1ВС и 2ВС, зарядными блоками 13Б и 23Б, а также секционированной аккумуляторной батареи из 33 элементов. В нормальном режиме
аппаратура получает питание от выпрямителей БВ, одновременно осуществляется подзаряд основных элементов ОЭ при напряжении 61,6 В (2,2 В + 2% на элемент). Дополнительные элементы 1 грДЭ и 2 грДЭ подключены к выпрямителям содержания 1ВС и 2ВС. В случае пропадания напряжения в сети
аппаратура начинает получать питание от батареи ОЭ. При снижении напряжения на батарее ОЭ до 59 В вольтметровое реле К19 отключает контактор К1 и включает контактор К2. При этом последовательно с ОЭ включается 1 грДЭ и напряжение на нагрузке возрастает на 6 В. При повторном снижении напряжений до 59 В реле К20 отключает контактор КЗ и включает контактор К4. При этом последовательно с ОЭ и 1 грДЭ подключается 2 грДЭ. При восстановлении напряжения в сети
выпрямители БВ и РЗВ включатся параллельно в режиме стабилизации тока для заряда всей батареи и питания аппаратуры. При увеличении напряжения на батарее до 66 В реле К20 отключает контактор К4 и включает контактор К3. 2 грДЭ отключается от нагрузки и подключается к зарядному блоку 23Б. При вторичном повышении напряжения до 66 В реле К19 отключает контактор К2 и включает контактор К1, при этом 1 грДЭ отключается от нагрузки и подключается к зарядному блоку 13Б. Напряжение на нагрузке становится равным 60,5 В. Когда напряжение повысится до 64, 5 В, реле переключения режимов Рр сработает, переведет все выпрямители БВ в режим стабилизации напряжения и выключит выпрямитель РЗВ. После достижения на 1 грДЭ и 2 грДЭ заданного напряжения (2,3 или 2,7 на элемент) зарядные блоки 13Б и 23Б отключаются и к дополнительным элементам подключаются выпрямители содержания 1ВС и 2ВС. Схема приходит в исходное состояние.
Устройство ШК – 60/150 выполнено в виде шкафа.
Функциональная схема ЭПУ-60 со шкафом с АКАБ-60/800

Состоит из 1-3 буферных выпрямителей БВ типа ВУК или ВУТ, включенных на параллельную работу, резервно-зарядного выпрямителя РЗВ того же типа, двух зарядных выпрямителей I3B и 23В типа ВУК-8/300, устройства автоматической коммутации аккумуляторных батарей типа АКАБ-60/800' о выпрямителями содержания IBC и 2ВС типа ВС-б/8, а также одно-группной или двухгруппной секционированной аккумуляторной батареи из 33 элементов.
В нормальном режиме аппаратура получает питание от выпрямителей БВ, одновременно осуществляется подзаряд основных элементов 09 при напряжении 61,6 В (2,2 В ± 2%)
на элемент). Дополнительные элементы ДЭ подключены к выпрямителям содержания IBC и 2ВС, которые обеспечивают их подзаряд.
В случае пропадания напряжения в сети питание нагрузки в первый момент осуществляется от ОЭ. Но при отключении напряжения сети отпускают якорь реле Рб и Р7, контролирующие напряжение на рабочих выпрямителях, при этом срабатывает реле PI, а затем Р3;последнее своими контактами подключает 1грДЭ к нагрузке. Напряжение увеличивается на 6 В. В момент, переключения контактов РЗ нагрузка получает пит-ание через диод Д8.
Если в результате аварии выпрямителей напряжение на нагрузке уменьшится до 59 В, а реле.Рб и Р7 останутся в рабочем состоянии, то отпускает вольтиетровое реле PBI, которое своими контактами .замыкает цепь питания реле Р8. Реле Р8 включает реле РЗ, после срабатывания реле РЗ к нагрузке также подключаются 1грДЭ.
В случае отказа реле PBI, при понижении напряжения до 58 В на 09, отпускает реле РВЗ, срабатывает реле PI, а затем РЗ и к нагрузке также подключаются 1грДЭ.
Если в процессе дальнейшего разряда ОЭ И 1грДЭ напряжение вновь понизится до 59 В, то реле PBI отпустит якорь и замкнет цепь заряда конденсатора С. При возрастании напряжения на конденсаторе до величины, превышающей на 0,3-0,5 В напряжение на стабилитроне Д5, транзистор Т открывается и срабатывает реле Р2, которое вызывает срабатывание реле Р4, а последнее последовательно с ОЭ и 1грДЭ подключает 2грДЭ. В момент переключения контактов реле Р4 нагрузка получает питание через диод Д9.
При восстановлении напряжения в сети выпрямители ВБ и РВЗ включаются параллельно в режимы -стабилизации тока, обеспечивая заряд всей батареи и питания нагрузки.
Когда напряжение на батарее увеличится до 66 Зарабатывает реле РВ2, которое своими контактами обрывает цепь базового тока транзистора Т. Реле Р2 отпускает и обрывает цепь питания реле Р4. 2грДЭ отключается от нагрузки. Реле Р2 своими контактами (на схеме не показано) включает выпрямитель ЗВ2 в режиме стабилизации тока, обеспечивая дальнейший заряд 2грДЭ. В момент переключения контактов реле Р4 зарядный ток протекает через диод Д10. Этим
предотвращается резкое увеличение напряжения на выходе БВ и РЗВ.
08 и 1грДЭ продолжают заряжаться от БВ и РЗВ. При повышении напряжения на 09 до 59,5 В (2,125 В на элемент) срабатывает РЗВ, отключается PI, а затем РЗ; последнее отключает 1грДЭ _от нагрузки и своими контактами (на схеме не показано) включает 3BI в режиме стабилизации тока для дальнейшего заряда 1грДЭ. В момент переключения контактов реле РЗ зарядный ток проходит через диод Д7. С8 продолжает заряжаться от БВ и РЗВ до напряжения 2,3х28=<64,3 В, после чего срабатывает реле переключения режимов и переводит выпрямители БВ в режим стабилизации напряжения, а РЗВ выключает.Выпрямители 3BI и ЗВ2 заряжают 1грДЭ и 2грДЭ до напряжения 2,35 В на элемент, затем волыметровое реле этих выпрямителей выключает 3BI и ЗВ2 и включает выпрямители содержания BCI и ВС2. Схема приходит в исходное состояние.
В случае выхода из строя одного из выпрямителей БВ автоматически включается резервный выпрямитель РЗВ.
Устройство АКАБ-60 позволяет осуществлять ручное включение и отключение ДБ при заряде и разряде батарей,, а также ручное подключение батареи к РЗВ для заряда ее до напряжения 2,7 В на элемент (при отключенной нагрузке)..
В схеме АКАБ-60/800 предусмотрена местная и дистанционная сигнализация. Местная сигнализация осуществляется с помощью сигнального реле PC, шести сигнальных ламп и звонка.
Реле PC срабатывает: при сгорании любого предохранителя, в случае неисправности цепей подключения и отключения ДЭ (подключение через PBI и П или РВЗ и РЗ, отключение черва РВ2, РЗ и Р4).
Сигнальные лампы включаются: Л1 - при..подключении 1грДЭ, Л2 - при подключении 2грДЭ, ЛЗ - при выключении звонка, Л4 - при перегорании предохранителей и несоответствии режимов работы, Л5 - при включении BCI, Л6 - при включении ВС2. Дистанционная сигнализация, включается при понижении напряжения до 58,5 В (FBI) и повышении напряжения до 66 В (РВ2), при включении 1грДЭ (PI) и 2грДЭ (К) и неподключении 1грДЭ (PI)
Устройство АКАБ-60/800 выполнено в виде шкафа, устанавливаемого пристенно или в ряд.
2. Расчет аккумуляторных батарей.
2.1. Величина аварийного тока.
Складывается из тока, необходимого для питания аппаратуры связи, и токов аварийных потребителей, работа которых должна быть обеспечена от аккумуляторной батареи во время нарушения снабжения переменным током (аварийное освещение, полупроводниковые преобразователи напряжения и др.) :
I
АВ
=
I
Н
+
å
I
АП
,
где I
Н
- ток для питания аппаратуры в час наибольшей нагрузки, А;
I
АП
- суммарный ток аварийных потребителей, А.
I
АП
=
I
АО
+
I
ВА
,
где I
АО
- ток аварийного освещения, А (принимают равным 3% от IН
для ЭПУ-24);
I
ВА
- ток вентиляции аккумуляторных помещений, А.
I
АО
= РАО
/
U
*
COS
j
ЭПУ-24 :
IАО
= 12000/24·1 = 500 (А)
IВА
= 17000 / 24 ·0,78 = 908 (А)
IАВ
= 328+500+908=1736 (А)
ЭПУ-60 :
IАВ
= IН
IАВ
= 55,5+100 =155,5 (А)
ЭПУ+60 :
IАВ
= IН
IАВ
= 30 (А)
2.2.
Номинальная расчетная емкость.
Условия эксплуатации аккумуляторов часто отличаются от условий, для которых задана номинальная емкость. Поэтому расчетная емкость, необходимая для выбора аккумуляторов, определяется с учетом действительного тока разряда и температуры :
Q
НР
= (
I
АВ
/2) *
t
р
/
P
[1+
a
(
t
-
T
)]
,
где I
АВ
- аварийный ток, А.
При двухгруппной батареи аккумуляторов и надежном внешнем электроснабжении вероятность совпадения событий - отключения одной из групп батареи и аварии устройств внешнего электроснабжения - очень мала. Поэтому при расчетах принимают, что во время аварии будут включены обе группы аккумуляторов и каждая будет разряжаться током, равным половине аварийного;
t
р
- время разряда аккумуляторной батарее, ч;
Р
- коэффициент интенсивности разряда, определяется по графику (рис. 3.);
a
- температурный коэффициент емкости, 1/град.
Так как мы используем аккумуляторы типа С (стационарный), то имеем a
= 0,008
;
t
- минимальная температура электролита, град.
Для зданий с центральным отоплением t
= +150
С;
Т
- температура, для которой задана номинальная емкость, град.
Для всех типов стационарных аккумуляторов Т = +200
С.
ЭПУ-24 :
QНР
= (1736/2 ) ·2 / 0,61· [1+0.008· (15-20)] = 2732 (А·ч)
ЭПУ-60 :
QНР
= (155,5/2) ·2 / 0,61· [1+0.008· (15-20)] = 244,7 (А·ч)
ЭПУ+60 :
QНР
= (30/2) ·2 / 0,61· [1+0.008· (15-20)] = 47,2 (А·ч)

(рис.3.)
2.3. Номинальная емкость аккумуляторов.
На основании полученной номинальной емкости (Q
НР
)
для выбранного типа аккумуляторов по таблице технических данных аккумуляторов выбираем аккумуляторы с ближайшей номинальной емкостью (Q
Н
).
ЭПУ-24 :
Емкость в А·ч : Тип аккумулятора :
QН
= 2736 СК-76
ЭПУ-60 :
QН
= 240 СН-6
ЭПУ+60 :
QН
= 40 CН-1
2.4. Возможное время разряда аккумуляторов.
Номинальная емкость выбранных аккумуляторов (Q
Н
), как правило, превышает расчетную (Q
НР
),поэтому батарея аккумуляторов может разряжаться в течение большего времени (t
РВ
), чем задано (t
Р
).Это время определяют по графику рис. 3 на основании вспомогательной величины :
g
=
Q
Н
/ (
I
АВ
/2)
| ЭПУ-24 :
g = 2736/ (1736/2 ) = 3,15
tРВ
= 2 часа
|
ЭПУ-60 :
g = 240 / (155,5/2) = 3,08
tРВ
= 1,9 часа
|
ЭПУ+60 :
g = 40 / (30/2) = 2,66
tРВ
= 1,5 часа
|
2.5. Напряжение на аккумуляторе к концу аварийного режима.
Если t
РВ
>
t
Р
, то напряжение на аккумуляторах при разряде в течение заданного времени t
Р
не понизится до предельно допустимого (для кратковременных режимов разряда Uкр.
min
= 1,75...1,78 В), а будет несколько выше
. 
(рис.4.)
Величину конечного напряжения (U
кр
) определяют по кривым (рис.4.) для заданного времени разряда. Если необходимая кривая для полученного t
РВ
на графике отсутствует, ее ориентировочно намечают.
| ЭПУ-24 :
tРВ
= 2 часа
UКР
= 1,77 (В)
|
ЭПУ-60 :
tРВ
= 1,9 часа
UКР
= 1,77 (В)
|
ЭПУ+60 :
tРВ
= 1,5 часа
UКР
= 1,76 (В)
|
2.6. Количество аккумуляторов в батарее.
Общее количество аккумуляторов в батарее определяется исходя из условий обеспечения минимально допустимой величины напряжения на зажимах питаемой аппаратуры к концу аварийного режима :
N
АК
= (
Umin
+
D
U
) /
U
кр
,
где Umin
- минимальное допустимое напряжение на зажимах питаемой аппаратуры, В.
Umin
= 21,6 В;
D
U
- падение напряжения в токораспределительной сети и на элементах, включенных в цепь питания аппаратуры, В(элементы коммутации, защиты, регулировки напряжения и др.), которое может быть принято равным 3%
от номинального напряжения питания для данного типа аппаратуры. Полученное количество аккумуляторов округляют в большую сторону.
Так как, здесь используются двухгруппные аккумуляторные батареи, то NАК
умножаются на два.
| ЭПУ-24 :
NАК
= (21,6+0,72) / 1,77 = 13∙2 = 26
|
ЭПУ-60 :
NАК
= (54+1,8) / 1,77 = 32∙2 = 64
|
ЭПУ+60 :
NАК
= (54+1,8) / 1,76 = 32∙1 = 32
|
3. Расчет элементов регулирования напряжения.
3.1. Регулирование с помощью дополнительных аккумуляторов.
Число элементов основной группы рассчитывают по формуле :
N
ОЭ
= (
U
Н
+
D
U
) /
U
б
,
где U
Н
- номинальное напряжение на нагрузке, В;
D
U
- падение напряжения в токораспределительной сети и на других элементах, В;
U
б
- напряжение на аккумуляторе в буферном режиме, В.
Число дополнительных элементов :
N
Д.Э.
=
N
АК
-
N
О.Э.
,
где N
АК
- общее число аккумуляторов в батарее.
ЭПУ-24 :
NО,Э,
= (24+0,72) / 2,2 = 12∙2 = 24
NД,Э,
= 26 - 24 = 2
ЭПУ-60 :
NО,Э,
= (60+1,8 )/ 2,2 = 28∙2 = 56
NД,Э,
= 64 - 56 = 8
ЭПУ+60 :
NО,Э,
= (60+1,8) / 2,2 = 28∙1=28
NД,Э,
= 32 - 28 = 4
4. Расчет и выбор выпрямительных устройств.
Выпрямители серий ВУК и ВУТ выпускаются двух модификаций: зарядно-буферные и буферные. Исключение составляют выпрямители на 24 В, которые выпускают в зарядно-буферном исполнении.
Зарядно-буферные выпрямители позволяют заряжать батареи в расчете до 2,7 В.
При надежном электроснабжении аварийные разряды батарей происходят редко, следовательно, и заряд батарей будет производиться редко. Поэтому зарадно-буферные выпрямители будут использоваться неэффективно.
Для повышения КПД и коэффициента мощности ЭПУ целесообразно применение буферных выпрямителей.
Выпрямители ВУК и ВУТ допускают параллельную работу. Число параллельно работающих выпрямителей ВУК и ВУТ, как правило, не должно превышать трех. На параллельную работу обычно включают выпрямители одинаковой мощности, но возможно включение выпрямителей и разной мощности.
Комплекты выпрямителей для одной ЭПУ могут быть выполнены из двух выпрямителей большей или трех выпрямителей меньшей мощности, включенных на параллельную работу. Выбор варианта определяется исходя из дальнейшего развития ЭПУ, размеров выпрямителей и др. Однако с точки зрения эксплуатации меньшее количество выпрямителей предпочтительнее.
Выпрямители типа ВСП подразделяются на зарядно-буферные и выпрямители для непосредственного питания с резервированием полупроводниковыми преобразователями по однобатарейной системе электропитания. Выпрямители ВСП включают на параллельную работу не более двух.
Тип и количество рабочих выпрямителей определяют, ориентируясь на номинальное (максимальное) напряжение, характер работы (буферные, зарядно-буферные) с учетом величин требуемого тока и мощности.
Напряжение на выходе выпрямителя при буферной работе и в режиме заряда определяют по формулам:
U
ВБ
=
U
Б
N
Б
;
U
ВЗ
=
U
З
N
З
;
где U
Б
- напряжение на аккумуляторе при буферной работе, В;
Для режима непрерывного подзаряда U
Б
= 2,2 В;
U
З
- напряжение на аккумуляторе в конце заряда, В.
Для автоматизированных ЭПУ в послеаварийном режиме заряда U
З
= 2,3 В.
Для неавтоматизированных - U
З
= 2,7 В
N
Б
,
N
З
- количество аккумуляторов в группе соответственно в буферном и зарядном режимах, определяется на основании принципа работы ЭПУ.
Ток при буферной работе комплекта рабочих ВУ может быть рассчитан по формуле:
I
Б
=
I
Н
+
I
П
n
п
;
где I
Н
- ток, потребляемый аппаратурой в час наибольшей нагрузки, А;
I
П
- ток подзаряда батареи, В; I
П
= 0,0015
Q
Н
;
n
п
- число групп подзаряженных аккумуляторных батарей.
Ток ВУ, обеспечивающих заряд аккумуляторных батарей, определяется по формуле:
I
З
=
i
З
N
n
З
;
где i
З
- величина зарядного тока на один индексный номер аккумулятора, А .
Для автоматизированных ЭПУ при заряде одной группы - не менее 2А
, при одновременном заряде двух групп - не менее 4А и для неавтоматизированных - 6А
;
N
- индексный номер аккумулятора ;
n
З
- число одновременно заряжаемых групп аккумуляторных батарей.
Мощность комплекта рабочих выпрямителей при буферной работе и заряде аккумуляторов, кВт, определяют по формуле :
P
Б
=
U
ВБ
I
Б
*10-3
;
РЗ
=
U
ВЗ
I
З
*10-3
| ЭПУ-24 :
UВБ
= 2,2∙11 = 24,2∙2=48,4 (В)
UВЗ
= 2,3∙14 = 32,2∙2=64,4 (В)
IБ
= 328+0,0015∙2736∙2= 336,2 (А)
IЗ
= 2∙6∙2 = 24 (А)
РБ
= 48,4∙336,2∙10-3
= 16,27 (кВт)
РЗ
= 59,8*24*10-3
= 1,435 (кВт)
|
ЭПУ-60 :
UВБ
= 2,2·28 = 61,6∙2=123,2 (В)
UВЗ
= 2,3·32 = 73,6∙2=147,2 (В)
IБ
= 155,5+0,0015·240·2 = 162,7 (А)
IЗ
= 2·3·2 = 12 (А)
РБ
= 132,2·162,7·10-3
= 20,04 (кВт)
РЗ
= 147,2 ·12·10-3
= 1,766 (кВт)
|
| ЭПУ+60 :
UВБ
= 2,2·28 = 61,6 (В)
UВЗ
= 2,3·32 = 73,6∙2=147,2 (В)
IБ
= 32+0,0015·40·1 = 32,06 (А)
IЗ
= 2·1·1 = 2 (А)
РБ
= 61,6·32,06 ·10-3
= 1,97 (кВт)
РЗ
= 147,2 ·2·10-3
= 0,294 (кВт)
|
UВБ
и UВЗ
рассчитывается для одной группы аккумуляторов. РБ
и РЗ
рассчитывается для двух групп аккумуляторов, поэтому UВБ
и UВЗ
умножаются на два.
На основание полученных величин мощности и тока, потребляемого от выпрямителей в различных режимах, и учитывая максимальное напряжение на выходе выпрямителя, выбирают количество рабочих выпрямителей.
| Тип
выпрямительного
устройства
|
Номинальное
напряжение, В
|
Максимальная
мощность, кВт
|
Сторона постоянного тока
|
Сторона переменного тока
|
| Режим стабилизации
напряжения
|
Режим стабилизации
тока
|
| Пределы устанавливаемого напряжения
|
Пределы изменения тока нагрузки
|
Пульсация ср. кв. (псоф)
|
Пределы устанавливаемого тока, А
|
Пределы изменения напряжения
|
Точность стабилизации
|
Ток при напряжении 380/220 В
|
Потребляемая мощность кВА
|
КПД
|
cosφ
|
| ЭПУ-24 ВУТ
31 / 125
зарядно -
буферный
|
24
|
4
|
22
|
0-125
|

|
22-36
|
20
|
0,8
|
0,66
|
| ЭПУ-24
ВУК
8 / 300
зарядный
|
8
|
2,4
|
(5)
|
6-300
|
2-10
|
0,61
|
0,6
|
| ЭПУ-60
ВУТ
67 / 250
буферный
|
60
|
16
|
56
|
0-250
|

|
56
|
20
|
0,85
|
0,69
|
| ЭПУ+60
ВБ 60/10-3
буферный
|
60
|
0,6
|
34-72
|
0,3-10
|
(5)
|
60-84
|
0,62
|
0,75
|
Выпрямитель содержания типа ВС- 6 / 8 предназначен для подзаряда двух или трех аккумуляторов. Питание выпрямителя осуществляется от однофазной сети с напряжением 220 В. Точность стабилизации напряжения не хуже ± 2%.
Выпрямители устройства на кремниевых вентилях типа ВУК используются в неавтоматизированных и автоматизированных ЭПУ. Могут работать в двух режимах : режиме автостабилизации напряжения при буферной работе с аккумуляторными батареями по способу непрерывный подзаряд, режиме автостабилизации тока при заряде или подзаряде аккумуляторных батарей. Обеспечивает точность стабилизации напряжения ± 2%, а тока ±10% от номинального (установленной) величины.
Схема ВУК позволяет осуществить следующее :
1. Автоматическое включение ВУК в работу при восстановлении напряжения сети в режиме стабилизации тока с последующим автоматическим переходом в режим стабилизации напряжения при повышении напряжения на батарее до заранее заданной величины.
2. Параллельную работу на общую нагрузку до четырех ВУК одинаковой мощности в режиме стабилизации тока и до трех ВУК одинаковой мощности в режиме стабилизации напряжения. Причем ВУК с напряжением 60 В, питающие резко изменяющуюся нагрузку (АТС) на параллельную работу, подключаются автоматически, а с напряжением
24 В - вручную.
3. Автоматическое подключение в режиме стабилизации тока резервного ВУК для заряда батареи и автоматическое отключение этого выпрямителя после окончания заряда.
4. Автоматическое включение резервного выпрямителя при выключении одного из рабочих ВУК вследствие неисправности.
Выпрямители выпускают двух типов : зарядно-буферные и буферные.
Конструктивно все выпрямители выполнены в виде шкафов, устанавливаемых пристенно или в ряд.
Выпрямительное устройство типа ВУК - 8/ 300 предназначено для заряда двух или трех дополнительных аккумуляторов в ЭПУ с секционированной батареей или в качестве вольтдобавочного (бустерного) в ЭПУ с выпрямителями, предназначенными только для буферной работы.
Выпрямительные устройства с тиристорами типа ВУТ выпускаются взамен ВУК, имеют лучшие электрические и конструктивные характеристики. Имеют устройства быстродействующей защиты от перегрузок и перенапряжений, срабатывающее в течение времени не более 6 мс. Обеспечивают автоматизированный заряд батарей по модифицированному способу. На первой ступени обеспечивается заряд батареи с ограничением тока на уровне1-1,05 номинального значения. Когда напряжение достигает 2,3-2,35 В на элемент , ВУТ выходит из режима ограничения по току и заряд осуществляется при постоянном напряжении 2,3-2,35 В на элемент, это вторая ступень заряда. За током заряда батареи следит устройство индикации тока (УИТ), выпускаемое отдельно. Когда ток батареи уменьшится до 5-8 - кратного значения тока заряда , система автоматически переведет ВУТ в буферный режим непрерывного подзаряда при напряжении 2,2 В на элемент. Схема приходит в исходное состояние.
По сравнению с ВУК выпрямительные устройства ВУТ имеют :
меньшую величину минимального выпрямленного напряжения , большие допустимые пределы изменения напряжения и частоты питающей сети, более широкие пределы регулирования напряжения, более высокий КПД (на 2,5-6%), лучшую стабильность выпрямленного напряжения, возможность работы на холостом ходу. Схема ВУТ допускает возможность совместной работы с однотипными выпрямительными устройствами типа ВУК.
Конструкция ВУТ шкафного типа. Возможна установка в ряд или пристенно.
5.
Устройства коммутации постоянного тока.
Для неавтоматизированных ЭПУ используют щиты батарейные (ЩБ2).
Для автоматизированных ЭПУ используют устройства автоматической коммутации аккумуляторных батарей (АКАБ) на различные напряжения и шкафы коммутации (ШК-60 / 150).
6.
Проверка работы ЭПУ в различных режимах.
Расчет напряжений на нагрузке для нормального, аварийного и послеаварийного режимов производят по формуле :
U
Н
=
U
ЭЛ
·
N
ЭЛ
±
D
U
РЕГ
-
D
U
,
где N
ЭЛ
- число элементов в батарее, подключенных к нагрузке в данном режиме, которое определяют согласно принципу работы ЭПУ;
U
ЭЛ
- напряжение на одном элементе в рассматриваемом режиме, В;
D
U
РЕГ
- напряжение на активных элементах (дополнительные аккумуляторы, конверторы) или падение напряжения на гасящих элементах (вентилях, противоэлементах), В. При активном способе регулирования принимается знак «+», при пассивном - « - » ; D
U
- падение напряжения в токораспределительной сети, В.
Минимальное напряжение на нагрузке имеет место в конце разряда аккумуляторной батареи. Максимальное - может возникнуть в процессе регулирования или в конце послеаварийного заряда аккумуляторной батареи.
Напряжение на нагрузке при любом режиме должно находиться в допустимых пределах для данной аппаратуры.
Ожидаемая величина пульсации определяется по техническим данным устройств, используемых в ЭПУ (выпрямители, устройства коммутации и др.). Эта величина не должна превышать допустимую для питаемой аппаратуры.
ЭПУ-24 :
1. Нормальный режим :
Аппаратура получает питание от выпрямителей БВ, одновременно осуществляется подзаряд ОЭ.
UН
= UЭЛ
· NОЭ
- DU
UН
= 2,2 · 11 - 0,72 = 23,48 (В)
21,6 £ UН
£ 24,2
Данное условие соответствует техническим данным.
2. Аварийный режим :
Аппаратура получает питание от батареи ОЭ.
UН
= 2 · 11 - 0,72 = 21,28 (В)
Когда напряжение на один элемент снизится до 1,8 В подключается группа из дополнительных аккумуляторов, появляется скачок напряжения, равный DUРЕГ
.
UН
= UЭЛ
· NОЭ
+ DUРЕГ
· NДЭ
- DU
UН
= 1,8 · 11 +2·1 - 0,72 = 21,08 (В)
3. Послеаварийный режим :
БВ и РЗВ включаются в режим стабилизации тока, обеспечивая питание нагрузки и заряд всей батареи (ОЭ и ДЭ).
UЭЛ
· NАК
- DU £ Umax
UЭЛ
· 14 - 0,72 £ 24,2
UЭЛ
= (24,2 + 0,72) / 14 = 1,78 (В)
UН
= 1,78 · 14 - 0,72 = 24,2 (В)
Так как ОЭ и ДЭ не разряжаются на нагрузку, то :
UН
= 2,3 · 14 - 0,72 = 31,48 (В)
Таким образом для ЭПУ-24 фактическое напряжение лежит в пределах допустимого.
Напряжение пульсации :
Для аппаратуры ЛАЦ = 15 мВ
ЭПУ-60 :
1. Нормальный режим :
Аппаратура получает питание от выпрямителей БВ, одновременно осуществляется подзаряд ОЭ.
UН
= 2,2 · 28 - 1,8 = 59,8 (В)
54 £ UН
£ 66
Данное условие соответствует техническим данным.
2. Аварийный режим :
Питание нагрузки осуществляется от ОЭ.
UН
= 2 · 28 - 1,8 = 54,2 (В)
Когда напряжение на один элемент снизится до 1,8 В подключается группа из дополнительных аккумуляторов, появляется скачок напряжения, равный DUРЕГ
.
UН
= 1,8 · 28 + 2·3 - 1,8 = 54,6 (В)
3. Послеаварийный режим :
Выпрямители ВБ и РЗВ включаются параллельно в режимы стабилизации тока, обеспечивая заряд всей батареи и питания нагрузки.
UЭЛ
· 32 - 1.8 £ 70,4
UЭЛ
= (70,4 + 1,8) / 32 = 2,25 (В)
UН
= 2,25 · 32 - 1,8 = 70,2 (В)
Так как ОЭ и ДЭ не разряжаются на нагрузку, то
UН
= 2,3 · 32 - 1,8 = 71,8 (В)
Таким образом для ЭПУ-60 фактическое напряжение лежит в пределах допустимого.
Напряжение пульсации £ 5 мВ
ЭПУ+60 :
1. Нормальный режим :
Аппаратура получает питание от выпрямителей БВ, одновременно осуществляется подзаряд ОЭ.
UН
= 2,2 · 32 - 1,8 = 68,6 (В)
54 £ UН
£ 70,4
Данное условие соответствует техническим данным.
2. Аварийный режим :
Питание нагрузки осуществляется от батареи.
UН
= 2 · 32 - 1,8 = 62,2 (В)
3. Послеаварийный режим :
Выпрямители ВБ и РЗВ включаются параллельно в режимы стабилизации тока, обеспечивая заряд всей батареи и питания нагрузки.
UЭЛ
· 32 - 1.8 £ 70,4
UЭЛ
= (70,4 + 1,8) / 32 = 2,25 (В)
UН
= 2,25 · 28 - 1,8 = 61,2 (В)
Так как ОЭ и ДЭ не разряжаются на нагрузку, то
UН
= 2,3 · 28 - 1,8 = 62,6 (В)
Таким образом для ЭПУ-60 фактическое напряжение лежит в пределах допустимого.
Напряжение пульсации £ 5 мВ
7.
Выбор устройств ввода и коммутации цепей переменного тока.
Электрическая энергия от внешних источников электроснабжения через вводные фидеры и аппаратуру коммутации переменного тока поступает к следующим устройствам дома связи : на ЭПУ для питания аппаратуры связи постоянным током, на аппаратуру связи , имеющую местные выпрямители или работающую от переменного тока, и к дополнительным нагрузкам.
Для выбора устройств коммутации переменного тока предварительно определяют мощности, необходимые для работы отдельных устройств дома связи, а затем общую мощность, потребляемую от внешних источников.
При расчете мощности, потребляемой ЭПУ, следует учесть, что наибольшая мощность, потребляется при послеаварийном режиме, когда необходимо обеспечить питание аппаратуры и заряд аккумуляторных батарей. Общая мощность, потребляемая от выпрямителей в данном режиме, будет :
РН
= РБ
+ РЗ
,
где РБ
и РЗ
- мощности, потребляемые от выпрямителей в буферном и зарядном режимах.
Активная и реактивная мощности (кВт, кВАр), потребляемые отдельными устройствами от источников внешнего электроснабжения, определяют по формулам :
РУ
= РН
/
h
,
Q
= РУ
(
Ö
1-С
os
2
j
/ С
os
j
),
где h
- КПД установки (выпрямителя, преобразователя и др.);
Cos
j
- коэффициент мощности установки.
При расчете мощности, потребляемой дополнительными устройствами, следует учесть неодновременность включения нагрузок данного типа. Величины коэффициентов одновременности выбирают самостоятельно.
Общая активная и реактивная мощность, потребляемая ЭПУ дома связи от внешних источников электропитания, определяется как сумма мощностей, потребляемых отдельными устройствами.
Р =
å
РУ
,
Q
=
å
Q
У
Полная мощность, потребляемая от внешних источников электропитания, и коэффициент мощности ЭПУ дома связи определяются по формулам :
S
=
Ö
P
2
+
Q
2
Cos
j
=
P
/
S
Полученные величины S
,
кВА и Cos
представляют организациям внешнего электроснабжения для учета нагрузки и оплаты электроэнергии.
Величину полного тока, А, определяют по формуле :
I
П
= (
S
*10-3
) /
U
,
где U
- номинальное напряжение питающей сети, В. Для трехфазной системы соединения звездой при равномерной нагрузке фаз к определению фазного тока
U
=
U
Л
Ö
3 ;
где U
Л
- линейное напряжение, равное 380 В.
При однофазное сети U
= 220 В.
Величину IП
используют для выбора устройств коммутации переменного тока. К основным устройствам этого вида относятся : панели распределения переменного тока РППТ-65, щиты переменного тока автоматизированные ЩПТА 4 / 200 - 2,
ЩПТА 380 / 600 и др.
ЭПУ-24 :
РН
= 16,27 + 1,435 = 17,705 (кВт)
РУ
= 17,705 / 0,8 = 22,13 (кВт)
QУ
= 22,13 · Ö(1 - 0,662
) / 0,66 = 25,188 (кВАр)
ЭПУ-60 :
РН
= 20,04 + 1,766 = 21,806 (кВт)
РУ
= 21,806 / 0,85 = 25,654 (кВт)
QУ
= 25,654 ·Ö(1 - 0,692
) / 0,69 = 26,91 (кВАр)
ЭПУ+60 :
РН
= 1,97 + 0,294 = 2,264 (кВт)
РУ
= 2,264 / 0,62 = 3,651 (кВт)
QУ
= 3,651 · Ö(1 - 0,752
) / 0,75 = 3,218 (кВАр)
Общяя мощность ЭПУ :
Р = 22,13 + 25,654 + 3,651= 51,435 (кВт)
Q = 25,188 + 26,91 + 3,218 = 55,316 (кВАр)
S = = 75,53 (кВА)
| №
|
Наименование
нагрузки
|
Коэффициент
одновремен -
ности
|
Мощность
|
| Общая
активная
кВт
|
С учетом коэффициента
одновременности
|
| Р, кВт
|
Q, квар
|
S, кВА
|
| 1
|
Устройства
связи.
|
1
|
51,43
|
51,43
|
55,31
|
75,53
|
| 2
|
Гарантированное
освещение
|
0,7
|
12
|
8,4
|
-
|
8,4
|
| 3
|
Вентиляция
аккумуляторной
|
0,55
|
13,26
|
7,293
|
9,35
|
| 4
|
Негарантированное
освещение
|
0,5
|
50
|
25
|
-
|
25
|
| 5
|
Негарантированное
силовое электро-оборудование.
|
0,5
|
75
|
37,5
|
50
|
| Итого от внешних
вводов.
|
201,69
|
129,62
|
168,28
|
| Итого от ДГА
|
76,69
|
67,12
|
93,28
|
ЭПУ дома связи :
Cosj = 129,62/ 168,28 = 0,77
IП
= 168,28 · 1000 / 220 = 764,9 (А)
Используя величину IП
было выбрано устройство коммутации переменного тока ЩПТА 4 / 200 - 2 .
Технические данные ЩПТА-4/200:
Число линий:
- входящих - 2
- отходящих - 5
Ток предохранителей в линиях :
- входящих - 200 А
- отходящих - 60 А
Напряжение - 220 или 380 В
Щиты переменного тока автоматические ЩПТА-4 / 200-2 и
ЩПТА-380 / 600
Предназначены для распределения тока по потребителям, защиты и контроля распределительных цепей. Схема щита ЩПТА-4 / 200-2 приведена в приложении 4.
Устройства щита обеспечивают следующее :
1. Подвод и контроль электрической энергии от одного внешнего источника тока (сеть 380/220 В, индикаторная лампа Н1, вольтметр, амперметр А). При наличии двух вводов от внешних источников последние подключают через устройства, имеющие автоматическую коммутацию входящих линий (ПРПТ-65, ПВ-60 и др.).
2. Автоматический запуск через контакты реле К11 (реле на схеме не показано) местной резервной электростанции (ДГА) при отключении напряжения, подводимого от внешних источников (обеспечивается К1); подвод этого напряжения к шинам гарантированного питания и отключение шин негарантированного питания.
3. Подключение сети аварийного освещения к батарее аккумуляторов при отключении напряжения на шинах гарантированного питания (реле К6).
4. Контроль напряжения источников 24 и 60 В (устройство контроля напряжения УКН-1 и УКН-2). При понижении напряжения ниже заданного включается местная (лампы Н3, Н4 и звонок Н5) и внешняя (от контактов К7 и К8) сигнализация.
5. Дублирование сигналов неисправности различных устройств (лампы Г7, Н8, Н9).
Щит переменного тока ЩПТА 380 / 600 имеет аналогичные устройства. Щиты выполнены в виде шкафов, устанавливаемых в ряд или пристенно.
8. Проектирование резервной электростанции
Во время аварии источников внешнего электроснабжения запускается местная резервная электростанция, которая обеспечивает питанием основные устройства дома связи. В качестве резервной электростанции обычно используют дизель-генераторные автоматизированные установки (ДГА).
ДГА должны обеспечивать электроэнергией следующие устройства : всю аппаратуру связи, питаемую постоянным и переменным током ; сеть гарантированного освещения ; устройства вентиляции аккумуляторных помещений ; собственные нужды электростанции (освещение, отопление, вентиляцию). Кроме того, в домах связи с автоматизированными ЭПУ должна быть предусмотрена возможность заряда всех аккумуляторных батарей, а при неавтоматизированных ЭПУ - заряд хотя бы одной группы наиболее мощной батареи. Заряд остальных групп может быть произведен в другое время. Часть потребителей во время аварии источников внешнего электроснабжения отключается. К таким устройствам относятся негарантированное освещение и силовое оборудование.
Определяют общую активную и реактивную мощность, а также полную мощность, потребляемую от ДГА. На основании общей активной мощности выбирают ДГА .
Длительная активная нагрузка ДГА должна находиться в пределах 50-100% от номинальной мощности. Допускается перегрузка на 10% в течение часа, а на 15-20% - не более 5с. Запуск ДГА осуществляется автоматически при пропадании напряжения на фидерах питания. Через 25-30 с после отключения фидеров к ДГА подключается нагрузка. При появлении напряжения в одном из фидеров ДГА автоматически отключается и останавливается.
Р =
å
РУ
+ РГАР.ОС
+ РВЕН.АК.
Р = 51,43 + 8,4 + 7,293 = 67,12 (кВт)
IП
= 67120/220 = 305 (А)
Используя Р и IП
были выбраны комплекты резервных электростанций.
Технические данные комплектов.
| Тип дизель-
генератора
|
Мощность
Квт
|
Ток, А
|
Степень
автомати-
зации
|
Емкость
топлив
ной
системы, л
|
Щит дизель -
генератора
автоматики
|
Щит автоматики
вспомогательной
|
| ДГА-3-48М
|
48
|
90
|
3
|
300-500
|
ЩДГА-48Б
|
ЩАВ-Б
|
Для резервирования электроснабжения устройств автоматики и связи на ж.-д. транспорте в качестве местных электростанций применяются дизель-генераторные автоматизированные установки типа ДГА на номинальные мощности 12,24,48 и 72 кВт. Обычно они размещаются в отдельных помещениях на первом этаже или в подвале здания, где расположен узел связи, или в отдельном небольшом одноэтажном здании вблизи узла связи.
Агрегат резервной электростанции устанавливается на прочном бетоном фундаменте, изолированном от стен здания. Выхлопная труба выводится за пределы здания. В состав установки входят дизель и генератор с устройствами автоматики, смонтированные на общей раме, щиты автоматического управления, аккумуляторные батареи для пуска дизеля и питания цепей автоматики, выпрямительное устройство для заряда аккумуляторных батарей, топливный бак, бак для воды и устройства отопления и вентиляции помещения. В зависимости от степени автоматизации делятся на три группы.
П е р в а я с т е п е н ь а в т о м а т и з а ц и и. Установка запускается персоналом, находящимся в машинном зале. Время необслуживаемой работы не менее 4 часов. Автоматически выполняются операции: поддержания частоты вращения, температуры охлаждающей жидкости и смазочного масла; остановка агрегата с выдачей аварийного сигнала при повышении температуры охлаждающей жидкости, понижении давления масла, повышении частоты вращения вала двигателя выше допустимых величин; подзаряд аккумуляторов.
В т о р а я с т е п е н ь а в т о м а т и з а ц и и. Установка запускается автоматически или дистанционно. Работает при отсутствии обслуживающего персонала в машинном помещении. Время необслуживаемой работы не менее 16 ч. Автоматически выполняются операции, предусмотренные первой степенью автоматизации, а кроме того : поддержание двигателя в «горячем» состоянии, подготовленным к быстрому приему нагрузки; прием нагрузки через 25-30 с после запуска; остановка с выполнением послеостановочных операций; защита; сигнализация.
Т р е т ь я с т е п е н ь а в т о м а т и з а ц и и. Установка запускается автоматически или дистанционно. Время необслуживаемой работы в течение 150 ч. Автоматически выполняются операции, предусмотренные второй степенью автоматизации, а кроме того : пополнение топливных и масляных баков; управление работой системы вентиляции и отопления помещения станции.
При необходимости обеспечить параллельную работу агрегатов друг с другом или сетью предусматриваются устройства синхронизации. На предприятиях связи в основном применяют установки со второй и третьей степенью автоматизации.
9.
Разработка структурной схемы ЭПУ.
После расчета и выбора всех основных элементов составляется общая структурная схема ЭПУ объекта (см. Приложение 5), на которой указывают следующее.
1. Вводы от внешних источников электроснабжения и от местной резервной электростанции.
2. Основное оборудование (устройства ввода и коммутации цепей переменного тока, выпрямительные устройства, устройства коммутации постоянного тока, группы аккумуляторных батарей с указанием номера группы, количества и типа аккумуляторов).
3. Места подключения основной нагрузки (аппаратуры связи) и дополнительных потребителей (освещения, вентиляции, силового оборудования и др.).
4. Соединения между отдельными устройствами в однолинейном изображении с указанием числа проводов (указывают числом штрихов или штрихом и цифрой).
5. Места подключения нагрузочных сопротивлений (НС) и ящиков выключателей закрытых (ЯВЗ) для обеспечения защиты оборудования от токов перегрузки и короткого замыкания.
6. Общую земляную шину и место подключения щита трех земель (ШЗ) с указанием назначения заземлений.
7. Места включения шунтов для устройств индикации тока (УИТ).
Электроснабжение осуществляется от внешних источников по двум фидерам. В резервный фидер включен трансформатор Т, обеспечивающий получение напряжения 380 В на входе ЭПУ (при выполнении проекта расчет трансформатора Т не производят). Оба фидера подключены к шкафу управления (ШУ-8254), обеспечивающему автоматическое переключение с основного фидера на резервный при отключении напряжения на основном фидере. Резервное электропитание осуществляется от ДГА-3-48М. В качестве устройства коммутации переменного тока использованы щиты переменного тока ЩПТА-4/200-2 для основной нагрузки и ЩПТА-380/600 - для дополнительной.
Устройства электропитания аппаратуры связи содержат три автоматизированные установки на номинальные напряжения : 24 В, - 60 В и
+ 60 В. В ЭПУ -24 для подключения каждой из групп аккумуляторных батарей к нагрузочным сопротивлениям (НС) при контрольных разрядах и перезарядах использованы батарейные шунты ШБ2.
Дополнительные устройства :
Однолинейные ящики-выключатели ЯВЗ
предназначены для неавтоматического замыкания и размыкания под нагрузкой электрических цепей переменного до 500 В и постоянного до 200 В тока и для защиты электрооборудования от токов перегрузки и короткого замыкания. В ящиках в качестве коммутационного устройства используются блоки предохранитель. Ящики в ЭПУ используют для подключения нагрузочных сопротивлений. В условных обозначениях первая цифра определяет количество полюсов (2 или 3), вторая - номинальный ток аппарата в сотнях ампер.
Нагрузочные сопротивления НС
предназначены для настройки автоматики выпрямительных устройств и контрольных разрядов аккумуляторных батарей. Устройства НС представляют собой наборы резисторов, сопротивление которых регулируется ступенями.
Устройство индикации тока УИТ
, предназначено для сигнализации о величине постоянного тока в цепях с устройствами АКАБ, представляет собой контактный милливольтметр, который подключается параллельно шунту, включаемому в контрольную цепь. Величина тока, при которой происходит замыкание или размыкание контактов, регулируется путем перемещения контактов.
Устройство контроля напряжения типа УКН-2
используется для контроля напряжения постоянного тока на номинальные напряжения 24 и 60 В. Пределы регулирования коэффициента возврата реле составляют 0,92-0,97, а нестабильность срабатывания ±2%. Нагрузкой УКН может быть реле с рабочим током 55-60 мА.

А к к у м у л я т о р н а я
.(см. Приложение 7) Батареи аккумуляторов размещают в специально оборудованном помещении, которое располагают рядом или вблизи выпрямительной.
Вход в аккумуляторную должен быть через тамбур с двумя дверями, открывающимися из помещения. Площадь аккумуляторного помещения определяется в зависимости от количества и типа аккумуляторных батарей. Для приготовления электролита, хранения запасов серной кислоты и получения дистиллированной воды рядом с аккумуляторной выделяют помещения площадью 3-10 м2
, называемые «кислотная» и «дистилляторная».
Аккумуляторы устанавливают на стеллажах, конструкция и размеры которых должны строго соответствовать типам устанавливаемых аккумуляторов. Стеллажи изготавливают четырех видов : одноярусные однорядные, одноярусные двухрядные, двухъярусные однорядные, двухъярусные двухрядные. Двухъярусные применяют лишь в случае необходимости сокращения площади аккумуляторной. Стеллажи устанавливают так, чтобы к аккумуляторам был свободный доступ для осмотра и ремонта. Непосредственно около стен можно устанавливать только однорядные стеллажи. Ширина эксплуатационных проходов должна быть не менее 0,8 м при одностороннем их расположении и не менее 1 м - при двухстороннем.
Для рационального монтажа оборудования целесообразно стеллажи устанавливать торцевой стороной к стене, желательно смежной с помещением выпрямительной.
Размеры стеллажей определяют в зависимости от типа и емкости аккумуляторов.
Длину стеллажей (мм) рассчитывают по формуле :
L
СТ
= А·
N
АК
/
m
·
n
,
где А
- длина стеллажа, отводимая для одного аккумулятора, мм;
N
АК
- количество аккумуляторов в батарее;
m
- число рядов в стеллаже;
n
- число ярусов стеллажа.
Ширину однорядных (b) и двухрядных (b’) стеллажей определяют в зависимости от емкости аккумуляторов и типа стеллажей. При размещении стеллажей с аккумуляторами, емкости которых более 1728 (С-48) вместо ширины стеллажа (b) следует учитывать размеры аккумуляторов (L).
Д и з е л ь - г е н е р а т о р н а я с т а н ц и я (см. Приложение 8) обычно размещается вблизи выпрямительной и аккумуляторной. При размещении оборудования станции должны соблюдаться следующие минимальные расстояния : эксплуатационные проходы между агрегатами и частями здания или оборудования - 1 м, между агрегатом и шкафами управления - 2 м , между агрегатом и стеной здания и между корпусами параллельно работающих агрегатов - 0,3 м.
Аккумуляторная.
Стеллажи для аккумуляторов
Аккумуляторные стеллажи изготавливают и оборудуют в соответствии с ГОСТ 1226-67. Условные обозначения типовых стеллажей содержат следующие элементы :
стеллаж
 число рядов
 число ярусов
 тип стеллажа
СТ - 2 - 1 - 1
Выбор оборудования для помещения аккумуляторной.
| Тип аккумуляторов
|
Тип стеллажа
|
Размеры, мм
|
| А
|
b
|
b’
|
| CК-6
|
CТ-1-1-2
СТ-2-1-1
|
260
|
300
|
665
|
| CН-3
|
CТ-1-1-2
СТ-2-1-1
|
210
|
295
|
660
|
| СН-1
|
СТ-1-1-2
СТ-2-1-1
|
110
|
295
|
660
|

Длина стеллажей (мм) :
LСТ
= 260·
26 / 2·
1 = 3380
LСТ
= 210·
62 / 2·
1 = 6510
LСТ
= 110·
30 / 1 = 3300
Ширина стеллажей (мм) :
b’ = 665
b’ = 660
b’ = 295
1,2 стеллажи для аккумуляторов ЭПУ +60
3,4 стеллажи для аккумуляторов ЭПУ – 60
5,6 стеллажи для 1 и 2 группы аккумуляторов ЭПУ – 24
11. Спецификация оборудования
| Оборудование
|
Ед. изм
|
Кол-во
|
Стоимость, руб
|
| Единичная
|
Общая
|
| Выпрямительная:
|
| ПВ-60
|
шкаф
|
1
|
962
|
962
|
| ЩПТА-4/200-2
|
шкаф
|
1
|
450
|
450
|
| ВУТ-31/125
|
шкаф
|
2
|
1468
|
2936
|
| ВУК-8/300
|
шкаф
|
1
|
1030
|
1030
|
| АКАБ-24/500-2
|
шкаф
|
1
|
1360
|
1360
|
| ВУТ-67/250
|
шкаф
|
2
|
1595
|
3190
|
| ШК-60/150
|
шкаф
|
1
|
1480
|
1480
|
| ВБ-60/10-3
|
шкаф
|
2
|
192
|
384
|
| БАЗ-3
|
шкаф
|
1
|
460
|
460
|
| ШБ2-1000
|
шкаф
|
2
|
355
|
710
|
| Дизель-генераторная:
|
| ДГА-3-24М
|
установка
|
1
|
6830
|
6830
|
| ЩДГА
|
шкаф
|
1
|
980
|
980
|
| Аккумуляторная:
|
| СК-6
|
шт.
|
26
|
23.7
|
616.2
|
| СН-3
|
шт.
|
62
|
20
|
1240
|
| СН-1
|
шт.
|
30
|
10
|
300
|
| Итого
|
| Транспортные расходы
|
%
|
4
|
627
|
1125
|
| Наценки ГУМТО
|
%
|
1
|
157
|
282
|
| Заготов.-склад. расход
|
%
|
1,2
|
188
|
338
|
| Всего
|
24673.2
|
Список литературы.
1. «Проектирование электропитающей установки дома связи». Часть 1. «Разработка технических данных и функциональных схем ЭПУ». Методические указания к курсовому проектированию.
«Проектирование электропитающей установки дома связи». Часть 2. «Расчет элементов ЭПУ. Размещение оборудования. Сметно-финансовый расчет.». Методические указания к курсовому проектированию
|