развития специальной гибкости
Кандидат педагогических наук А.Н. Абульханов, кандидат биологических наук В.А. Мартьянов, Московская государственная академия физической культуры
Введение
Объект исследования: специальная гибкость как компонент подготовленности квалифицированных спортсменов-борцов.
Предмет исследования: средства и методы специализированного развития гибкости туловища у борцов греко-римского стиля.
Проблема. Как показал анализ, у большинства борцов переход из разряда юношей в разряд юниоров и взрослых проходит болезненно и затянут во времени. В данном возрасте особенно выражен разрыв между физической и технико-тактической подготовленностью. С учетом благоприятных возрастных особенностей один из путей разрешения данного противоречия видится в разработке и широком использовании в тренировочном процессе технических средств и тренажеров с обратной связью для сопряженного совершенствования физической и технико-тактической подготовленности [5, 6].
В данном исследовании предполагалось, что основным "исполнителем" опрокидывания соперника в греко-римской борьбе, где правилами запрещены захваты ниже пояса и зацепы ногами, является туловище борца. Цель работы заключалась в определении эффективности развития специфической гибкости туловища борцов на основе использования разработанного комплекса технических средств.
Методика и организация исследования. Исследование было проведено в три этапа. На первом решалась задача выявления специфических признаков гибкости и определения их значимости в процессе формирования мастерства борцов. На втором были разработаны технические средства и методика их использования. На третьем в педагогическом эксперименте с участием двух групп по 12 борцов 16-17-летнего возраста средней квалификации (I разряд и кмс) определялась эффективность методики. В общей сложности в исследовании приняли участие около 250 борцов разного возраста и квалификации.
На основе данных, полученных на первом этапе исследования, была разработана комплексная методика специализированного развития гибкости туловища борцов, в которую вошли методика развития активной гибкости с использованием дополнительной афферентации, вызываемой электрическим раздражением (ДАВ) [1], работа на тренажере для развития специальной силовой гибкости туловища [2] и методика развития силовой гибкости туловища на тренажере с ДАВ.
Забиваем Сайты В ТОП КУВАЛДОЙ - Уникальные возможности от SeoHammer
Каждая ссылка анализируется по трем пакетам оценки: SEO, Трафик и SMM.
SeoHammer делает продвижение сайта прозрачным и простым занятием.
Ссылки, вечные ссылки, статьи, упоминания, пресс-релизы - используйте по максимуму потенциал SeoHammer для продвижения вашего сайта.
Что умеет делать SeoHammer
— Продвижение в один клик, интеллектуальный подбор запросов, покупка самых лучших ссылок с высокой степенью качества у лучших бирж ссылок.
— Регулярная проверка качества ссылок по более чем 100 показателям и ежедневный пересчет показателей качества проекта.
— Все известные форматы ссылок: арендные ссылки, вечные ссылки, публикации (упоминания, мнения, отзывы, статьи, пресс-релизы).
— SeoHammer покажет, где рост или падение, а также запросы, на которые нужно обратить внимание.
SeoHammer еще предоставляет технологию Буст, она ускоряет продвижение в десятки раз,
а первые результаты появляются уже в течение первых 7 дней.
Зарегистрироваться и Начать продвижение
Результаты и их обсуждение. Анализ результатов полигониометрического обследования четырех групп борцов - юношей 2-го разряда (n=45), юниоров I разряда и кмс (n=48), взрослых I разряда и кмс (n=44) и высокой квалификации (n=46) выявил некоторые закономерности в динамике гибкости и подвижности в суставах и звеньях опорно-двигательного аппарата (плечевые и тазобедренные суставы, позвоночный столб). Так, пассивная гибкость в разгибаниях туловища, активная подвижность в сгибаниях и разгибаниях в плечевых, сгибаниях в тазобедренных суставах от этапа к этапу многолетней подготовки статистически достоверно снижаются (p < 0,05). Положительная динамика гибкости была выявлена только в одном исследуемом показателе - активном разгибании туловища (прогибе), значение которого у мастеров спорта (70,7±1,50) статистически достоверно превышает значения других обследованных групп (юноши - 43,3±3,30; юниоры - 50,1±3,80; взрослые - 57,2±2,70). Причем с ростом квалификации происходит сближение параметров активного и пассивного прогиба, что характеризует его как основное специфическое "рабочее" движение [3] борцов греко-римского стиля.
Специфичность показателя гибкости подтвердилась в сравнении подготовленности двух групп борцов: перворазрядников и кмс (17 чел.) и мастеров спорта (7 чел.) Обследование проводилось по 17 показателям, характеризующим гибкость туловища, включая выполнение прогибов с фоновыми отягощениями 5 и 10 кг из исходного положения лежа на животе руки с грузом за голову, физическую (скорость выполнения пяти бросков прогибом, угол сохранения устойчивости тела при выполнении прогибов в стойке, коэффициент специальной выносливости, становая сила) и технико-тактическую подготовленность по итогам выступлений в соревнованиях прошедшего сезона, в которых были заняты с 1-го по 4-е места. Рассчитывались следующие показатели соревновательной деятельности: надежность атаки, надежность защиты, показатель технико-тактической подготовленности, показатель качества и средняя оценка приема. Проводился интеркорреляционный анализ исследуемых показателей (табл. 1).
Таблица. 1. Характеристика матриц интеркорреляций параметров гибкости с показателями физической (О и СФП) и соревновательной деятельности (СД) борцов разной квалификации
Сервис онлайн-записи на собственном Telegram-боте
Попробуйте сервис онлайн-записи VisitTime на основе вашего собственного Telegram-бота:
— Разгрузит мастера, специалиста или компанию;
— Позволит гибко управлять расписанием и загрузкой;
— Разошлет оповещения о новых услугах или акциях;
— Позволит принять оплату на карту/кошелек/счет;
— Позволит записываться на групповые и персональные посещения;
— Поможет получить от клиента отзывы о визите к вам;
— Включает в себя сервис чаевых.
Для новых пользователей первый месяц бесплатно.
Зарегистрироваться в сервисе
| N п/п |
Наименование тестов на гибкость |
Количество достоверно значимых связей |
| I разряд и кмс (n=17) |
мастера спорта (n=7) |
| с тестами на О и СФП |
с показателями СД |
всего |
с тестами на О и СФП |
с показателями СД |
всего |
| 1 |
Прогиб активный |
1 |
0 |
1 |
2 |
2 |
4 |
| 2 |
Прогиб пассивный |
0 |
0 |
0 |
1 |
0 |
1 |
| 3 |
Прогиб с весом 5 кг |
1 |
1 |
2 |
3 |
2 |
5 |
| 4 |
Прогиб с весом 10 кг |
1 |
2 |
3 |
4 |
3 |
7 |
| 5 |
Наклон вперед |
3 |
0 |
3 |
0 |
0 |
0 |
| Всего |
6 |
3 |
9 |
10 |
7 |
17 |
Анализ показал, что в обеих группах обследованных борцов в количестве, тесноте и характере связей имеются общие тенденции.
Тренируемый на тренажере параметр был формализован коэффициентом силовой гибкости (КСГ) туловища, который рассчитывался по формуле: КСГ = Рф/РбЧa ф/ a д; где Рф - фактический вес на тренажере; Рб - вес борца; a ф - фактический угол прогиба; a д - должный угол прогиба. За модельное было принято значение КСГ = 1,0.
Анализ результатов второго этапа педагогического эксперимента показал, что тренировки на тренажере оказались весьма эффективными. Выявлен статистически достоверный прирост большинства контролируемых показателей физической и технико-тактической подготовленности. У борцов контрольной группы достоверных изменений в исследуемых показателях за столь короткий период тренировок (2 недели) не наблюдалось. У борцов экспериментальной группы среднее значение КСГ достоверно увеличилось с 0,426±0,07 до 0,717±0,05. Контрольные соревнования между группами, в которых каждый испытуемый проводил не менее трех схваток, выявили превосходство экспериментальной группы (табл. 2).
Таблица 2. Характеристика контрольных соревнований между контрольной (КГ) и экспериментальной (ЭГ) группами до и после использования тренажера
| Характер побед |
Исходные соревнования |
Заключительные соревнования |
| КГ (n=12) |
ЭГ (n=12) |
КГ (n=12) |
ЭГ (n=12) |
| На туше |
5 |
8 |
4 |
12 |
| По баллам |
13 |
10 |
11 |
9 |
| Всего побед |
18 |
18 |
15 |
21 |
| Сумма выигранных баллов |
97 |
99 |
69 |
121 |
| p>0,05 |
p<0,05 |
Педагогические наблюдения, выполненные во время соревнований, показали, что борцы экспериментальной группы стали чаще навязывать и реализовывать в основном броски прогибом, обоюдные захваты "крест", захваты за туловище и стали лучше защищаться в опасных положениях на мосту. Данные второго этапа эксперимента представлены в табл. 3.
Таблица 3. Эффективность использования тренажера для развития силовой гибкости туловища борцов
| N п/п |
Наименование показателей |
Исходные |
t p = 0,05 |
Конечные |
t p = 0,05 |
КГ ( ± ; n=12) |
ЭГ ( ± ; n=12) |
КГ ( ± ; n=12) |
ЭГ ( ± ; n=12) |
| 1 |
Прогиб активный, град. |
52,7±4,39 |
72,7±2,09 |
14,25 < |
53,7±2,90 |
75,6±2,02 |
21,40 < |
| 2 |
Прогиб пассивный, град. |
89,7±5,63 |
99,1±2,20 |
5,34 < |
90,7±5,33 |
99,1±3,03 |
4,75 < |
| 3 |
Прогиб с 5 кг, град. |
44,7±3,85 |
49,1±5,45 |
2,29 < |
42,2±3,79 |
63,7±3,84 |
11,88 < |
| 4 |
Прогиб с 10 кг, град. |
38,5±4,27 |
43,7±5,4 |
2<65 < |
38,7±3,34 |
57,0±4,22 |
11,80 < |
| 5 |
Наклон, см |
14,8±2,82 |
14,4±3,48 |
0,29 > |
15,37±2,9 |
14,0±3,28 |
1,08 > |
| 6 |
Время выполнения 5 бросков прогибом, с |
11,8±0,90 |
11,5±0,94 |
0,84 > |
11,75±0,9 |
11,2±0,91 |
1,43 > |
| 7 |
Угол сохранения равновесия, град. |
91,3±7,29 |
96,3±4,31 |
2,04 > |
92,2±4,93 |
98,7±2,38 |
4,16 < |
| 8 |
Длина броска прогибом, см |
20,22±10,83 |
201,4±12,1 |
0,18 > |
201,7±10,1 |
197,4±9,31 |
1,07 > |
| 9 |
Специальная выносливость, усл. ед. |
0,475±0,05 |
0,494±0,11 |
0,09 > |
0,472±0,05 |
0,621±0,10 |
4,46 < |
| 10 |
Становая сила (относит.) |
2,04±0,10 |
2,08±0,15 |
0,86 > |
2,06±0,11 |
2,61±0,25 |
6,98 < |
| 11 |
НА, усл. ед. |
0,523±0,10 |
0,51±0,9 |
0,23 > |
0,463±0,06 |
0,631±0,08 |
5,82 < |
| 12 |
НЗ, усл. ед. |
0,306±0,05 |
0,350±0,07 |
1,73 > |
0,280±0,04 |
0,632±0,07 |
15,12 < |
| 13 |
ПТТП, усл. ед. |
0,352±0,05 |
0,380±0,12 |
0,91 > |
0,303±0,04 |
0,644±0,07 |
14,65 < |
| 14 |
ПК, усл. ед. |
0,353±0,06 |
0,360±0,11 |
0,22 > |
0,278±0,03 |
0,600±0,06 |
16,63 < |
| 15 |
СОП, баллы |
1,93±0,27 |
2,01±0,31 |
0,71 > |
1,94±0,19 |
2,24±0,30 |
2,02 > |
| 16 |
РСП "крест", колич. раз |
4,83±1,11 |
5,67±0,89 |
2,03 > |
1,92±0,79 |
8,17±0,72 |
20,25 < |
| 17 |
РСП "мост", колич. раз |
4,33±0,49 |
5,25±0,45 |
3,66 < |
4,33±0,49 |
6,17±0,72 |
7,29 < |
Примечание. Различия достоверны при t=2,06, НА - надежность атаки, НЗ - надежность защиты, ПТТП - показатель технико-тактической подготовленности, ПК - показатель качества, СОП - средняя оценка приема, РСП - реализация стандартного положения из десяти попыток.
При выполнении теста "реализация стандартного положения (РСП) "мост"" фиксировалось количество уходов из опасного положения, а в тесте РСП "крест" фиксировалось количество приемов, проведенных из обоюдного захвата. В обоих тестах испытуемые по свистку выполняли по 10 попыток.
На третьем этапе эксперимента, в котором спортсмены - борцы экспериментальной группы продолжили тренировки на тренажере, но выполняли упражнения на фоне ДАВ, значение КСГ достоверно увеличилось в преодолевающем режиме работы до 0,858±0,05, а в уступающем, более сложном, с 0,393±0,06 до 0,635±0,05. Позиции борцов экспериментальной группы еще более укрепились. В итоговых соревнованиях ими было одержано 22 победы в 36 схватках и выиграно в общей сложности 146 технических баллов при 51 проигранном. В реализации стандартных положений "крест" и "мост" борцы экспериментальной группы явно превосходили борцов контрольной группы и их значения соответственно составили 9,83±0,4 и 8,17±0,8 из 10.
Как показал педагогический эксперимент, наибольшие сдвиги в показателях физической и технико-тактической подготовленности борцов экспериментальной группы произошли после второго этапа, т.е. после включения в тренировочный процесс занятий на тренажере.
В целом исследование показало, что значительные резервы специальной физической и технико-тактической подготовленности борцов греко-римского стиля кроются в специализированном развитии гибкости туловища спортсменов на основе использования технических средств. Традиционные средства развития гибкости для квалифицированных борцов малоэффективны.
Таким образом, для эффективного выполнения технико-тактических действий в греко-римской борьбе требуется специализированное развитие гибкости туловища борцов на основе использования технических средств. Его необходимо проводить до освоения (с упреждением) сложных приемов, в частности бросков прогибом.
Как показал эксперимент, разработанный комплекс позволяет осуществлять готовность основного "исполнителя" опрокидывания соперника к эффективной работе за 1, максимум 1,5 месяца.

Рис. 1. Методика развития активной гибкости с использованием дополнительной афферентации: 1 - маятниковый гониометр, 2 - электростимулятор, 3 - накожные пластинчатые электроды 2х12 см
Практические рекомендации
Предлагаем следующий алгоритм использования разработанных средств:
- развитие активной гибкости туловища в прогибах до оптимальных пределов (75-800) с использованием методики ДАВ. Для этого необходимо пределать цикл из 6 тренировок гибкости с ДАВ. Тренировки надо проводить через день, после подготовительной части занятий, при дозировке - 10 упражнений с интервалом 1 минута;
- развитие силовой гибкости на тренажере. Также 6 тренировок через день после подготовительной части занятий. Поочередно выполняются по 3 подхода в преодолевающем и в уступающем режимах работы при весе отягощения 75% от максимума, который определяется перед каждой тренировкой. После подхода с уступающим режимом выполняется серия из 6-8 бросков прогибом. В каждом подходе - 8-12 повторений с удержанием прогиба на 2-3 с;
- развитие силовой гибкости на тренажере с ДАВ. Регламент тренировки такой же, как и при обычной тренировке на тренажере. Электрические стимулы подаются в том же режиме, как при тренировке активной гибкости с ДАВ. Данная методика может быть рекомендована для борцов высокой квалификации как средство оперативной подготовки.
Целесообразно использовать методику в подготовительном периоде годичного цикла, так как эффект последействия при условии регулярных занятий борьбой сохраняется до 6 месяцев.
1. С увеличением фонового отягощения в прогибах увеличиваются количество и теснота достоверно значимых связей.
2. Количество достоверно значимых связей с пассивной гибкостью у спортсменов обеих групп минимально или они отсутствуют вовсе.
3. С увеличением фонового отягощения у спортсменов обеих групп увеличивается количество значимых связей с показателями соревновательной деятельности.
Таким образом, данный этап исследования позволил выявить специфику гибкости у борцов греко-римского стиля, выразившуюся в способности выполнять специфические движения туловищем с большой амплитудой и с одновременным преодолением внешних сил. Такого рода гибкость определена нами как силовая гибкость борца.
Выявленные факты дали возможность определить критерии, положенные в основу разработки комплекса технических средств специализированного развития гибкости. Такими критерями явились оптимальная активная гибкость в прогибах, необходимая для эффективного выполнения технических действий и равная 75-800 [4], и вес преодолеваемого отягощения - собственный вес борца. В педагогическом эксперименте, проходившем в три этапа, определилась эффективность использования комплекса. В начале и в конце каждого из этапов проводились "срезы" физической подготовленности и контрольные соревнования.

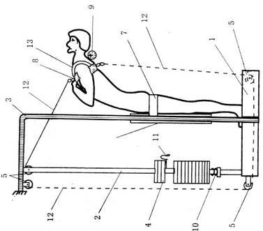
Рис. 2. Тренажер для развития силовой гибкости туловища: 1 - платформа, 2 - направляющие; 3 - рама жесткости, 4 - грузы, 5 - шарикоподшипниковые блоки, 6 - опорная площадка, 7 - ремень крепления (страховки) спортсмена, 8 - пояс с карабинами, 9 - гониометр, 10 - пружинные амортизаторы, 11 - фиксатор грузов, 12 - трос диаметром 5 мм, 13 - лямки регулирования положения пояса
Примечание. Пунктирной линией показан вариант крепления троса при тренировке в уступающем режиме
На первом этапе педагогического эксперимента основная задача состояла в развитии активной гибкости туловища в прогибах до оптимальных значений. Борцы контрольной группы использовали в тренировочном процессе традиционные средства развития гибкости, а борцы экспериментальной - методику развития активной гибкости с ДАВ. Общий вид методики представлен на рис. 1.
Электрические стимулы прямоугольной формы задавались от электростимулятора ЭСЛ-2 с частотой 100 Гц, длительностью импульса - 1 мс; длительность раздражения - время выполнения упражнения с удержанием прогиба в течение 3 с. Амплитуда сигнала подбиралась индивидуально - до слабой фибрилляции мышц под электродами - и была в пределах 15-25 В. Маятниковый безынерционный гониометр устанавливался над седьмым шейным позвонком.
Анализ результатов первого этапа эксперимента показал, что развитие "чисто" активной гибкости туловища до оптимальных пределов с использованием ДАВ не влечет за собой статистически достоверных положительных сдвигов как в физической, так и в технико-тактической подготовленности борцов экспериментальной группы. Тем не менее основная задача данного этапа была решена, так как были созданы предпосылки для "наполнения" достигнутой оптимальной амплитуды прогибов "силовым содержанием", что и явилось рабочей задачей второго этапа педагогического эксперимента. Для этого в тренировки борцов экспериментальной группы были включены занятия на тренажере, схема которого представлена на рис. 2.
Список литературы
1. Абульханов А.Н., Мартьянов В.А. Методика развития гибкости у борцов с использованием дополнительной афферентации //В сб. "Научно-методическое обеспечение системы подготовки высококвалифицированных спортсменов". М., 1990, с. 292-293.
2. Абульханов А.Н. Тренажер для развития специальной гибкости у борцов классического стиля //Удостовер. на рац. предложение № 1611/21 от 28.05.91.
3. Зациорский В.М. Двигательные навыки и качества спортсменов: Автореф. докт. дисс. М., 1969.
4. Кочурко Е.И. Экспериментальное исследование взаимосвязи между подвижностью в суставах и техникой спортивной борьбы: Автореф. канд. дисс. Киев, 1974.
5. Платонов В.Н. Подготовка квалифицированных спортсменов. - М.: ФиС, 1986.
6. Юшкевич Т.П., Васюк В.Е., Буланов В.А. Тренажеры в спорте. - М.: ФиС, 1989.
|