СОДЕРЖАНИЕ:
ВВЕДЕНИЕ
ОСНОВЫ ИРИДОДИАГНОСТИКИ
ТЕОРЕТИЧЕСКИЕ ОСНОВЫ ИРИДОДИАГНОСТИКИ
ИРИДИОЛОГИЧЕСКИЕ МЕТОДЫ ИССЛЕДОВАНИЯ
МЕТОДИКИ ИРИДОДИАГНОСТИКИ ИРИДОТОПОГРАФИЯ И ЕЕ МОДИФИКАЦИИ
АППАРАТУРА ДЛЯ ИРИДОЛОГИЧЕСКИХ ИССЛЕДОВАНИЙ
ЗАКЛЮЧЕНИЕ
СПИСОК ЛИТЕРАТУРЫ:
ВВЕДЕНИЕ
Иридодиагностика — диагностика болезней по изменению формы, структуры, цвета и подвижности радужной оболочки глаза (от греческого iris
— радужка).
Иридодиагностика является относительно молодойобластьюмедицины, но имеет очень древние корни. Еще более пяти тысячлет назад, а по некоторым данным, более семи тысяч лет, в Индии врачи Аюрведисты включали анализ глаза в целом и ряд характеристик радужной оболочки для определения конституции человека, его наследственных достоинств и недостатков, а также некоторых нарушений в организме
Опыт древних врачей в "глазной диагностике" не был утрачен полностью и частично использовался в восточнойи европейской медицине на протяжении столетий. В наше время врачи многих специальностей используют различные глазные симптомы в диагностике ряда заболевании.
Рождениеиридодиагностики в современном ее понимании относится ксередине 19-го столетия и связано с именем венгерского врача Игнаца Пекцели. Наблюдательность и кропотливый труд позволили ему разработать,первую схему проекции органов на радужной оболочке. Свой многолетний опыт иридодиагностикиПекцели изложил в двух книгах: "Открытие в области природы и искусство лечения" и "Руководство по изучению глазной диагностики".
В последние годы получает развитие лечебное направление в иридиологии — фоноиридиотерапия. Суть ее заключается в воздействии различными раздражителями, в первую очередь световыми, на зоны проекции больных органов на радужке. При этом основные принципы фоноиридиотерапии аналогичны таковым при лечении путем воздействия на биологически активные точки кожи туловища, конечностей, ушной раковины иглами, теплом, лазером, давлением пальцами и т.п.
ОСНОВЫ ИРИДОДИАГНОСТИКИ
“Три кита”, которые не могут жить друг без друга и на которых стоит иридодиагностика— это схемы проекции органов и различных частей тела на радужке (соматотопическиекарты, иридотопограммы),иридознаки (изменения структуры и цвета радужки) и клиническое мышление.
Забиваем Сайты В ТОП КУВАЛДОЙ - Уникальные возможности от SeoHammer
Каждая ссылка анализируется по трем пакетам оценки: SEO, Трафик и SMM.
SeoHammer делает продвижение сайта прозрачным и простым занятием.
Ссылки, вечные ссылки, статьи, упоминания, пресс-релизы - используйте по максимуму потенциал SeoHammer для продвижения вашего сайта.
Что умеет делать SeoHammer
— Продвижение в один клик, интеллектуальный подбор запросов, покупка самых лучших ссылок с высокой степенью качества у лучших бирж ссылок.
— Регулярная проверка качества ссылок по более чем 100 показателям и ежедневный пересчет показателей качества проекта.
— Все известные форматы ссылок: арендные ссылки, вечные ссылки, публикации (упоминания, мнения, отзывы, статьи, пресс-релизы).
— SeoHammer покажет, где рост или падение, а также запросы, на которые нужно обратить внимание.
SeoHammer еще предоставляет технологию Буст, она ускоряет продвижение в десятки раз,
а первые результаты появляются уже в течение первых 7 дней.
Зарегистрироваться и Начать продвижение
Именно соматотопическиекарты являются основой основ иридодиагностики, так как позволяют соотносить те или иные изменения в определенных местах радужки с изменениями рефлекторно связанных с этими местами органов.
Сотни известных патологических изменений на радужке — иридознаков имеют конкретную интерпретацию, позволяющую определятьхарактери выраженность патологическихизменений в организме. Знаки общего характера даютинформацию обизменениях на уровне всего организма, локальныеиридознаки— о патологии конкретных органов.
Получение информации основано на точном знании иридотопограмм, а такжесотен признаков их клинической интерпретации. Совершенно необходимо хорошее знание нормальной и патологической физиологии.
ТЕОРЕТИЧЕСКИЕ ОСНОВЫ ИРИДОДИАГНОСТИКИ
Научное обоснование основ иридодиагностики настолько сложная тема, что осмысление имеющейся на этот счет информации представляет даже для врачей определенную трудность. Эта информация включает обоснование наличия в организме сложнейших иридо-органных нервных связей знаниестроения и функции тонких, порой не до конца изученных периферических и центральныхнервных структур, дельное знание анатомии и физиологиирадужки. Поэтому для того, чтобы дать общее представление о теоретических основах иридодиагностики, мы пойдем по пути сравнительного анализа и разберем эту проблему, так сказать, на уровне “здравого смысла”, а не строгих научных фактов, чтобы избежать сложных терминов.
Размышляя о причинах резкого и менее категоричного неприятия метода иридодиагностики со стороны некоторых медицинских работников, а также удивление методом многих пациентов, можно придти к определенным выводам. Во-первых, не принимается или удивляет сам факт отражения на радужке патологии органов. Однако, эти сомнения беспочвенны, поскольку для всякого мыслящего человека является аксиомой представление об организме, как о единой системе с бесчисленным количеством взаимосвязей между отдельными ее элементами с наличием прямой и обратной связи с внешней средой. Все происходящее в отдельных элементах неизбежно отражается на всей системе и более того, чаще всего, различные процессы протекают во всех элементах системы параллельно. Наша задача как раз и заключается в умении обнаружить на радужке отголоски тех изменений, которые происходят во всем организме.
Сервис онлайн-записи на собственном Telegram-боте
Попробуйте сервис онлайн-записи VisitTime на основе вашего собственного Telegram-бота:
— Разгрузит мастера, специалиста или компанию;
— Позволит гибко управлять расписанием и загрузкой;
— Разошлет оповещения о новых услугах или акциях;
— Позволит принять оплату на карту/кошелек/счет;
— Позволит записываться на групповые и персональные посещения;
— Поможет получить от клиента отзывы о визите к вам;
— Включает в себя сервис чаевых.
Для новых пользователей первый месяц бесплатно.
Зарегистрироваться в сервисе
Серьезную критику у противников иридодиагностики вызывает наличие проекции отдельных органов в конкретных местах радужки, а также отсутствие детального понимания механизмов формирования иридознаков. По поводу первого замечания можно провести сопоставление с некоторыми другими уже известными и общепризнанными проекционными зонами органов на поверхности тела. В частности, бесспорными и теоретически достаточно обоснованными являются так называемые зоны Захарьина-Геда, представляющие собой внешние рецепторные поля на коже человека, рефлекторно связанные с внутренними органами. Такое представительство органов в конкретной области кожи используется в физиотерапии для рефлекторного лечебного воздействия.
Что же касается механизмов формирования патологических знаков радужки, то по этому вопросу пока имеются лишь соображения общего характера. Считается, что деформация отдельных участков радужки и появление различных пигментов на ней происходит рефлекторно, под влиянием патологических импульсов от больных органов и тканей. В результате такой импульсации меняется тонус тканей радужки, ее сосудов, нарушаются обменные процессы в ней и, в частности, пигментный обмен. Это и приводит как к изменению плотности отдельных участков радужки так и к перераспределению и “оседанию” пигментов, которыми богата радужка. Детальное понимание механизмов формированияпигментных пятен разных размеров и цветовых оттенков — это дело будущего, хотя и сейчас уже имеются определенныепредставления на этот счет.
Наконец, смущающий многих факт проекции всего организма на маленькой радужке просто лишен оснований. Радужка настолько же мала, насколько и велика. Если сравнить ее с молекулой ДНК, в миллионы раз меньшей по размеру, но содержащей всю наследственную информацию, то радужка в этом случае имеет просто гигантские размерю. Поэтому, как уже было сказано выше, проблема заключается только в технической возможностиувидеть иридознаки. Такую возможность мы получаем с помощью специальных микроскопов.
Иридодиагностика — не принципиально новый метод, а лишь разновидность метода осмотра. Однако ряд существенных особенностей метода и самой радужки делают диагностику по ней исключительно эффективной и уникальной. Во-первых, иридодиагностика — абсолютно безболезненный, безвредный и быстрый метод. Во-вторых, радужка с ее особенностями подвергается простому визуальному анализу. В-третьих, сложная структура радужки обусловливает формирование на ней большого количествасамыхразнообразных информативных знаков. По своему строению радужка представляет нейро-сосудисто-мышечно-пигментое образование и,по существу, является выдвинутым на периферию участком головного мозга. Сложность структурырадужки определяет появлениев ней знаков, связанных с изменением ее нервов, сосудов, мышечных волокон и пигментов. При этом, все эти изменения, как отмечалось, подвергаются непосредственному визуальному анализу. Кроме того, на радужке визуально проявляются и знаки, отражающие наследственные дефекты в органах и тканях. Это обусловлено тем, что формирование радужки при зарождении человека происходит не изолированно от всего организма, а во взаимосвязи со всеми мельчайшими его деталями.
Уникальныевозможности иридодиагностики и заключаются возможности выявить наследственные дефекты отдельных органов и тканей, в том числе и до их клинической реализации, в любом возрасте. Хочется отметить, что в подавляющем числе подобных случаев последующеецеленаправленноелабораторное и инструментальное исследование “слабого органа”, указанного иридодиагностом, действительно выявляет какой-либо его дефект. Очень наглядны в этом отношении случаи, когда исследование органа относительно грубым методом не показывает изменений. Однако проведенное по настоянию иридодиагноста более тонкое и чувствительное исследование выявляет те или иные дефекты.
Уникальные возможности и быстрота оценки наследственности человека методом иридодиагностики могут быть использованы и уже используются, наряду с другими подходами, для профессионального отбора в различные экстремальные профессии.
Одно важнейших— возможность оценки всегоорганизма водном поле зрения, дающая, как ни один другой метод, всеобъемлющую картину его состояния. Иридолог в течение нескольких минут оценивает "качество" здоровья человека от рождения, слабые места на уровне органов и тканей. За эти же несколько минут обнаруживаются бывшие заболевания, оставляющие след на радужке на годы и десятки лет, определяются самые начальные изменения в организме, которые проявятся в видеболезней лишь через месяцы и годы. При этом большинство других методов исследования часто являются недостаточно чувствительными для выявления таких начальных изменений.
Анализ совокупности обнаруженных изменений в организме позволяет прогнозировать вероятность и направленность идущей патологии. Анализ соотношения наследственных предрасположенностей, бывших, текущих и зарождающихся заболеваний позволяет выделить самое уязвимое место в организме вообще и в момент обследования в частности.
Описанные достоинства метода позволяют иридологу разобраться во многих сложных и непонятных клинических случаях. Особенно тогда, когда неясна причина страданий больного или имеется затруднение в выборе правильного диагноза из двух-трех предположительных (так называемая дифференциальная диагностика), или когда неэффективно длительно проводимоелечение.
Мы не можем по радужкеопределить артериальное давление, содержание эритроцитов или, сахара в крови но, как ни один метод, иридодиагностика может быстро и эффективноопределить причину анемии (малокровия), характер итяжестьосложнений со стороны сердца, мозга, почек, печени у гипертоника или больного сахарным диабетом. Кроме того, по радужке хорошо видны, например, изменения в организме, отягчающие течение гипертонии, что может быть успешно использовано для корректировки лечения
Возможности иридодиагностики иногда ограничены характером патологии. Например, вялотекущие, не сопровождающиеся разрушением тканей, безболевые изменения в организме могут не отражаться на радужке, так как не посылают к ней патологических импульсов. К таким изменениям относятся доброкачественные опухоли на ранних стадиях развития, пока они еще не давят на соседние органы и не сдавливаются сами, невоспаленные кисты. При наличии доброкачественных опухолей, задача иридодиагноста — установить причину их появления, а также вовремя обнаружить известные в иридологии знаки, предупреждающие об опасном развитии опухолевого процесса.
Возможности иридодиагностики ограничены также тем, что она является преимущественно методом неспецифической диагностики.
Дляуточнения диагнозатребуются дополнительные методы обследования: опрос, осмотр, другие анализы и т. д. Тогда лишь будет поставлен точный диагноз.
Не исключение из этого правила и иридодиагностика. В частности, возможности детальной оценки наследственности человека по радужке уникальны, но обнаружив знак дефекта в проекции какого-либо органа, иридолог не всегда может определить характер дефекта. Например, наследственный знак дефекта правой почки может означать аномалию ее размера, формы, или положения, или аномалию почечной лоханки. Также этот знак может означать дефект почки на клеточном уровне или аномалию развития почечных артерий, вен, или мочеточника. Возможно, со временем будут установлены относительно точные признаки радужки, характерные для каждого из этих дефектов.
Хочется подчеркнуть, что неспецифический характер индикации наследственных характеристик человека по радужке не умаляет значения иридодиагностики в этой области. Дело в том, что другого метода, дающего возможность даже такой неспецифической, но целостной, охватывающей весь организм индикаций, просто не существует.
Говоря о неспецифическом характереиридодиагностики, следует затронуть не только наследственные знаки, но и знаки бывшей и текущей патологии. Они также носят неспецифический характер. Но что очень важно подчеркнуть — неспецифический в обычном, клиническом понимании, подразумевающем, в каждом случае постановку конкретного клинического диагноза. Такой подход современной медицины, при известных его достоинствах, имеет и существенные недостатки. В организме, как целостной системе, нет просто гастрита, или просто пневмонии, или просто патологии щитовидной железы и т. д. и т. п. Есть определенный дисбаланс, общиенарушения, которые в данное время в наибольшей степени проявляются на уровнеданного органа. Исключение, может быть составляют травмы и некоторые инфекционные болезни. Так, вот, иридодиагностика оперирует не терминами клинической медицины, а патофизиологическими терминами. Что это означает? Иридолог видит на радужке не диагноз, а то, что происходит в органах и тканях, а именно: нарушениеиннервации, кровообращения, застойные явления, признаки “раздражения” и воспаления тканей, токсические и дистрофическиеизменения и т. п. Конечно, анализ совокупности этих изменений может на основе предшествующего клинического опыта привести иридолога к определенному диагнозу.
Применениеиридодиагностики иногда ограничивается просто здравым смыслом. Пожалуй, излишним может быть определениепо радужке плоскостопия, конкретных больных зубов, хронического тонзиллита, травмы того или иного пальца и т.п. Эти изменения видны и без осмотра радужки.
В иридологии, как в развивающейся области медицины, существуют определенные проблему. Ключевая из них, как уже говорилось, заключается в теоретическом обосновании метода. Другая проблема связана с базисом иридодиагностики — совершенствованием, уточнением схем проекции органов на радужке. Хотя схемы постоянно уточняются, этот вопрос еще далек от окончательного решения. На сегодняшний день не существует завершенной, идеальной схемы. Каждая из более, чем двух десятков, предлагаемых различными авторами, имеет свои достоинства и недостатки. Проблема заключается не только в необходимости установления точной проекции на радужке всех органов и тканей, но и в ряде специфических моментов. В частности известно, что определенные различия в проекции органов на радужке могут быть связаны с индивидуальными особенностями человека, но вопрос этот не нашел еще должного изучения.
ИРИДИОЛОГИЧЕСКИЕ МЕТОДЫ ИССЛЕДОВАНИЯ
МЕТОДИКИ ИРИДОДИАГНОСТИКИ ИРИДОТОПОГРАФИЯ И ЕЕ МОДИФИКАЦИИ
Иридодиагностика включает в себя исследования радужки глаза визуально и с помощью различных увеличительных приборов. Лучше всего обследовать больного в первую половину дня, между 11 и13 ч, в то время, когда зрачки имеют наименьшие размеры. Больной должен быть в спокойном состоянии, не нервничать и не бояться. В таких условиях четче выявляются общие и локальные изменения на радужке.
Идеальное исследование радужки затрудняется из-за того, что вперединее находится полусферическая роговица. Это неизбежно ведет к отражению источника освещения на зеркальной поверхности роговицы, которое в виде блика закрывает важные для диагностики участки радужки. Поэтому при каждом исследовании необходимо переводить мешающий осмотру блик в центр зрачка. Для устранения указанной реверберации, по примеру G.Jausas (1974), можно пользой карманной бестеневой лампой.
Различают осмотр радужки — иридоскопию и фотографирование радужки (иридографию или иридофотографию).Иридоскопия должна производиться обязательно в затемненном помещении, но не в полной темноте.
С этой целью используют щелевые лампы отечественного производстваЩЛ-56, ЩЛТ, ЩЛ-56М или зарубежные лампы с фотонасадкой фирмы "Карл Цейс" (Йена) и др. Испытуемый занимает физиологическое положение за прибором, для чего подбирается оптимальная высота вращающегося стула или регулируемого кресла и удобное положение головы на лицевом установе.
Для освещения радужки применяют наиболее простой метод диффузного освещения. Существует три разновидности иридобиомикроскопии:
1) прямое фокальное освещение, при котором фокусы осветителя и микроскопа совпадают. Оно позволяет отчетливо видеть изучаемый участок на фоне ограниченных от него окружающих затемненных тканей;
2) непрямое фокальное освещение или исследование в темном поле, при котором фокус осветителя направлен в зону освещения, а фокус микроскопа — в зону затемненного поля. Метод имеет ряд преимуществ при различении сфинктера зрачка, сосудистого рисунка, токсических и пигментных пятен, а также атрофических участков радужки;
3) освещение скользящим лучом, при котором направленный на радужку луч перпендикулярен зрительной оси. Метод показан для изучения рельефа радужки, мельчайших неровностей на поверхности ткани. С его помощью обнаруживаются стертость сглаженность ткани, выступающие бородавки при меланозе и многие врожденные и приобретенные аномалии рельефа.
Помимо иридоскопии, в процессе иридодиагностики используется иридография.
Для иридографии необходимо, чтобы отверстие диафрагмы, регулируемое нижним рычажком, было установлено на делении 3. Верхний рычажок должен находиться в положении упора в левую сторну — для снимков с плоским изображением и в положении упора в правую сторону — для стереоснимков. Больной располагается напротив врача, голова фиксируется за счет подбородника и неподвижного налобника. Зажимная клавиша дает возможность легко и быстро установить нужную для осмотра и снимка высоту. Больной широко раскрывает глаза и направляет свой взгляд на фиксирующую лампу. Так же, как и при иридоскопии, фотографирование радужки проводят в затемненной комнате. Необходимо стремиться выдерживать одинаковые условия съемки и работы лампы. Все фотопленки обрабатываются в одной и той же лаборатории, одним лаборантом. Соблюдение строгого режима важно для объективной оценки результатов лечения и динамического наблюдения за больными, так как изменения структуры и цвета радужки являются очень ценными признаками интерпретации иридофотограмм.
Иридоскопия позволяет производить не только осмотр, но и зарисовку знаков радужки на стандартные топографические схемьы. Преимущество иридоскопии состоит в большой доступности, простоте и в том, что диагностическое заключение может быть доведено до больного сразу же после осмотра.
Необходимо помнить, что в процессе обследования, непрерывно меняя фокусное расстояние, врач добивается высокой точное осмотра любых неровностей рельефа радужки. Подобной точности плоскостное фотографирование не дает.
Иридография осуществляется с помощью щелевых ламп, имеющих фотоприставку. Полученные в результате фотографирования цветные слайды позволяют с помощью проекционной аппаратуры досконально изучить иридограммы на экране. Они являются материаломдля динамического наблюдения за больными: оценки возрастных изменений, течения патологического процесса, эффективности проводимого лечения и т.д. В этом заключается преимущество иридографии. Особо важную роль играет создание цветных слайдотек при диспансеризации различных групп больных.
Анализ состояния радужки проводят по полученным цветным слайдам с помощью двух проекционных аппаратов любых марок (“Свет”, “Витязь”и др.). На экран одновременно проецируют два глаза. В зависимости от поставленных задач это могут быть: а) правый и левыйглаз; б) правый глаз до и после лечения; в) левый глаз до и после лечения; г) те же самые глаза, сфотографированные через 1-2 года и т.д. Экран устанавливают от аппаратов на расстоянии 1,5 м,радужка в этом случае увеличена в 36 раз, диаметр радужки на экране составляет 45 см. Такое увеличение рассматриваемого глаза подобрано нами опытным путем как наиболее оптимальное по четкости и величине изображения и локальных знаков радужки.
Исследование радужки на экране проводится в затемненной комнате.В зависимости от поставленных задач степень увеличения радужки может быть доведена до очень больших величин.
B.Jensen (1982) считает, что технически радужку можно увеличить до любого желаемого размера (до 2500 раз). Анализ начинают с общего осмотра радужки. Обращают внимание на цвет, однородность, равенство и плотность волокон и пигментных слоев радужки правого и левого глаза. Изменение указанных свойств приводит к появлению патологических знаков радужки. По завершении общего осмотра радужку изучают по зонам и секторам, причем всегда в одной и той же последовательности. Это дисциплинирует исследователя и повышает качество сравнительного анализа.
Обычно взято за правило осматривать сначала правый, а затем левый глаз. В каждом из них в первую очередь изучают центральную зону: форму и размеры зрачка, состояние зрачковой каймы, зрачковый пояс. Потм осматривают периферическую зону, начиная с отметки “6 ч” и далее по сегментам по ходу часовой стрелки. По выработанному нами плану изучение и анализ информационных данных радужки проводят в следующем порядке: состояние желудочно-кишечного тракта, гепатобилиарной системы, поджелудочной железы, мочевыделительной системы, половых органов, бронхолегочной системы, серца позвоночника,ЛОР-органов, селезенки, тимуса и лимфатических узлов, эндокринных органов, мозга. Каждый анализ завершается составлением протокола, в котором в вышеприведенной последовательности указываются все врожденные и приобретенные нарушения органов и систем. В заключении оценивается общее состояние здоровья, отмечаются очаги доминирующих хронических процессов и даются соответсвующие рекомендации.
Диаметр зрачков у всех испытуемых рассчитывают по горизонтали (без включения зрачковой каймы). Расчеты производят на экране с помощью линейки. Площадь зрачков определяют поформуле S=pr2
. Ширину зрачковой каймы измеряют также на экране с помощью циркуля и линейки.
Иридодиагностику отличают высокая информативность, раннее обнаружение многих патологических отклонений, возможность осмотра экстерорецептивных зон всего организма в одном поле зрения, своеобразная причинно-следственная связь симптомов поражения. Для понимания всей этой информации и проведения клинико-иридологических параллелей врач-иридолог должен обладать большими анатомо-физиологическими и клиническими знаниями. В нашем понимании, наиболее подходящими кандидатами для освоения иридологической методики могли бы быть врачи с достаточным практическим опытом, в первую очередь невропатологи, терапевты и хирурги.
АППАРАТУРА ДЛЯ ИРИДОЛОГИЧЕСКИХ ИССЛЕДОВАНИЙ
Иридоскопия доступна для врачей различных специальностей, поскольку радужка хорошо видна в разрезе глазной щели. Находящиеся перед ней роговица и заполненная прозрачной внутриглазной
жидкостью передняя камера ни в коей мере не препят
ствует этому осмотру. Основными условиями для проведения и
ридоскопии являются яркое освещение и наличие увеличительных луп. Источник света в виде мощной настольной (лучше матовой) лампы с экраном позади нее должен находиться на рабочем сто
лике на расстоянии 50 см, слева и спереди от пациента на уровне его глаз. Исследование производят в затемненном помещении. Врач
освещает радужку боковым фокальным светом при помощи
луп +13,0 Д
или +20,0 Д,
имеющихся в каждой
офтальмоскопи
ческой укл
адке. Осмотр фокально освещенной радужки произво
дят, пользу
ясь любой увеличительной системой. Это может быть весьма уд
обная налобная бинокулярная лупа с козырьком, даю
щая у
велич
ение в 2,5 раза, или лупы Гортнака,
самая сильная из которых может давать 20-кратное увеличение. Однако такая методика иридоскопии
не может идти ни в какое сравнение с теми возможностями,
которые открывает биомикроскопическое исследование радужки. Она может служи
ть
лишь методическим ориентиром, предшествую
щим биомикроскопии.
Иридобиомикроскопия
осуществляется при помощи специальных офтальмологичес
ких приборов — щелевых ламп.
Щелевые лампы современных моделей представляют собой комбинацию очень сильного источника света, излучающего световой пучок определенной формы, и бинокулярного стереоскопического микроскопа со значительной
разрешающей способностью. Последнее обстоятельство расширяет возможности иридоскопии,
поскольку изображение радужки получается не только увеличенным, но и
объемным. Из отечественных аппаратов для иридоскопии
можно рекомендовать щелевые лампы ЩЛ—
56 и ЩЛТ.
В последние годы предложено оригинальное приспособление
для биомикроскопии в поляризованном свете, сконструировано устройство к щелевой лампе, позволяющее проводить исследование
больного в горизонтальном положении.
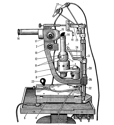
Щелевая лампа (рис. 1 а, б) состоит из осветителя, или собственно щелевой лампы (1
), бинокулярного микроскопа (2), лицевого установа
(3), координатного (.4) и инструментального (5) столиков. Осветитель и микроскоп смонтированы вместе на координа
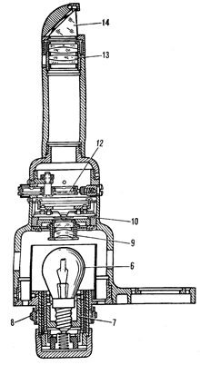
тном столике, что обеспечивает в процессе работы их совместное перемещение в разные стороны. В основной части прибора — осветителе
— источником света служит электрическая лампа СЦ
—69
(6) (6В, 25Вт), питающаяся от общей осветительной сети напряжением
127 или 220 В ч
ерез понижающий трансформатор.
Цоколь лампы впаян в специальную центрирующую обойму (7), которая помещается в патроне в таком положении, что нить
накала лампы располагается вдоль вертикальной осветительной
щели. Это обеспечивает наибольшую освещенность вер
тикального изображения щели. Патрон в корпусе осветителя закрепляется
зажимной гайкой (8). Несколько выше лампы находите
конденсор в оправе (9), состоящий из двух линз, обеспечивающих концентрацию
светового пучка, излучаемого лампой. Над конденсором расположен механизм щели (10).
Конструкция диафрагмы щели позволяет получить разнообразные
варианты длины и ширин
ы щели — от 0,08 до 8 мм. Размер
щели регулируют рукоятками (11), одна из которых изменяет ширину щели вертикально, другая — горизонтально. Над каждой рукояткой имеется шкала, по которой можно отсчитать ширину изображения щели. В корпусе осветителя над механизмом щели
расположен диск (12) с четырьмя отверстиями: одно из них свободное,
в два вмонтированы светофильтры (нейтральный и сине-зеленый), в одно помещено матовое стекло. Таким образом на пути лучей, идущих от осветителя, поочередно, в зависимости от надобности, могут быть поставлены разные светофильтры, изменяющие
интенсивность освещения и окраску изображения щели. На наружной поверхности осветителя видна лишь небольшая
часть диска (12). Остальные его отделы скрыты в корпусе осветителя,
что обеспечивает защиту светофильтров от механических повреждений и пыли. П
ри поворотах диска, осуществляемых неп
осредственно рукой, он может быть закреплен в четырех положениях
фиксатором.

|
 |
Рис 1. Щелевая лампа ЩЛ—56. а — общий вид, б — осветитель в разрезе (схема).
Лу
чи света после прохождения через ме
ханизм щели и диск
попадают на объектив (13) и головную призму (14), находящуюся
в верхней
части корпуса осветителя. Призма отражает падающие
лучи и придает им горизонтальное направление. Головная призма может быть отклонена на 10°
в боковые стороны. Это о
беспечивает возможность дополнительного изменения угла биомикроскопии. Выйдя из осветителя, горизонтальный пучок света попадает на глаз исследуемого.
На корпус головной призмы осветителя может быть надета цилиндрическая линза в оправе, при помощи которой можно увеличить
длину вертикальной щели до 16 мм, что имеет важное
значение для качественной иридоскопии.
Биноку
лярный микроскоп щелевых ламп состоит из объектива
(15) и двух раздвижных окуляров (16). Предел изменения расстояния
между окулярами — от 52 до 77 мм. В корпусе микроскопа находится
оптическо
е приспособление — так называемы барабан. Основной
частью его являются 2 пары телескопических трубок,
обеспечивающих различные варианты увеличений микроскопа. Степень увеличения изображения изменяют вращением маховиков (17), расположенных по бокам корпуса осветителя. Это вызывает перемещение барабана и смену телескопических трубок. Каждая пара телескопических трубок дает 2 увеличения в зависимости от того, какой частью она обращена к объективу. В барабане
им
еются 2 свободных отверстия, которые тоже могут быть поставлены
в рабо
чее положение.
Такая конструкция бинокулярного микроскопа позволяет, не отры
вая глаза от окуляра,
получить 5 вари
антов увелич
ений в 5, 10, 1
8, 35 и
60 раз.
Степень увеличение
из
ображения в каждый момент исследования
узнают по той
цифре на маховике, к
оторая устанавливается при его вращении
против фиксационной
точки, обозначенной на корпусе микроскопа
с правой стороны.
Исследователь имеет возможность при работе с микроскопом
корригировать в случае надобности собственную анизометрию
выдвижением окуляров из тубусов микроскопа на определенное
расстояние. Ниже маховика (17) находится винт (18), п
ри
помощи которого обеспечивают четкость изображения биомикроскопи
ческой картины. Винт можно перемещать по горизонтали в пределах 35 мм. Лупа (19) применяется для биомикроофтальмоскопии.
Взаимный разворот осветителя и бинокулярного микроскопа
(угол биомикроскопии) колеблется в пределах ±60°
; отсчитывается
угол биомикроскопии на круглой шкале (20), вращающейся
вместе с осветителем. Тут же расположены 2 винта, при помощи
которых освети
тель и микроскоп закрепляют под данным углом биомикроскопии.
При угле биомикросконии,
равном нулю осветитель
находится перед микроскопом в среднем положении и
закрепляется фиксационным устройством (21); в этом положении бинокулярный микроскоп и осветитель вращаются вокруг колонкиштатива одновременно. Это перемещение осуществляют рукой. Движения осветителя и микроскопа в вертикальном направлении
производят вращением маховика (22).
Координатный столик состоит из неподвижного основания и верхней подвижной части — верхнего плато, перемещаемого во всех направлениях движением
рукоятки (23). Перемещение плато, а вместе с ним осветителя и
микроскопа в передне-заднем направлении составляет 40 мм, в боковых направлениях — 105 мм.
Лицевой установ
для фиксации головы пациента состоит из
подбородочной части (24) и налобника (25), которые снабжены
гигиеническими отрывными бумажными салфетками. Подбородочная
часть установа
подвижна в вертикальном направлении (до
99 мм),
что п
озволяет добиться хорошего упора головы как у взрослых,
так и у детей. Подбородочную ч
асть перемещают вращением
маховика (26).
На лицевом установе
с каждой стороны имеется приспособление
(27) для фиксации взора п
ациента в нужном направлении. Оно представляет собой колпачок с точечным отверстием, освещенным
изнутри электрической лампой МН
—14 (6,3 В, 0,28 А), питающейся от сети переменного тока через понижающий
трансформатор. На п
ути света помещен красный светофильтр, что обеспечивает
яркую (красную) окраску светящихся фиксационных точек, которые в зависимости от надобности могут быть установлены в различных положениях.
Инструментальный столик очень удобен в эксплуатации, поскольку
он мал и имеет винтовое устройство, обеспечивающее его перемещение по вертикали. Снизу к инструменталь
ному
столику прикреплен п
онижающий трансформатор, внизу также размещены неко
торые элементы электромонтажа прибора, выключать
.
Р
егулировка осветителя лампы производится легко поскольку нит
ь накала благодаря специальной центрирующей обойме, в ко
торой
укреплена электрическая лампа, уже ц
ент
рирована
относительно изображения щели. Если регулировка осве
тителя производится
впервые, ее необходимо начинать с установки трансформатора на нужное напряжение. Клеммы его установлены для включения
в электросеть напряжением 220 В. Для перевода на напряжение
127 В надо вывернуть контактный винт из гнезда 220 В и ввернуть его в гнездо 127 В. Включив прибор в осветительную сеть, приступают к регулировке самого осветителя. Это необходимо
не только в процессе монтажа вновь полученной щелевой лампы,
но и при смене электрической лампы, при налаживании осветительной
щели. Патрон с горящей электрической лампой вставляют
в круглое отверстие корпуса осветителя. Для того, чтобы свободно вставить и перемещать патрон лампы, необходимо ослабить зажимную гайку (8), повернув ее влево. Полностью открывают
диафрагму вертикальной и горизонтальной щелей, для чего
рукоятки (II) выводят в крайние положения, ставя их против обозначенной на шкале цифры 8. На пути лучей света поворотомдиска (1
2) помещают свободное отверстие диафрагмы. Патрон с лампой осторожно продвигают вверх до тех пор, пока на наружной поверхности головной призмы не появится изображение спирали.
Оно должно быть четким, вертикальным и занимать центральное
положение. Спираль становится лучше видимой, если ее рассматривать на фоне экрана — обычной белой или лучше папиросной бумаги, приложенной вплотную к призме. При косом расположении спираль необходимо выровнять, придав ей вертикальное
положение поворотом патрона электрической лампы вокруг ее вертикальной оси.
В процессе работы иногда не удается получить изображения спирали с середине освещенной щели; она упорно размещается сбоку, и в просвете щели видна лишь ее половина или треть. Это связано с дефектом заводской центрировки нити накала лампы в центрирующей обойме. В таких случаях следует самим центрировать лампу, а вместе с ней и спираль, подкручивая или ослабляя шурупы на наружной поверхности обоймы. После получения качественного изображения центрально расположенной спирали патрон лампы нужно закрепить в корпусе осветителя зажимной гайкой. Белый экран необходимо перенести вместо предполагаемого положения глаза больного, после чего движение рычага, при помощи которого изменяется ширина щели, получить на экране наиболее узкую щель.
В иридодиагностике используют не только иридобиомикроскопию и иридофотографию, но также и другие современные аппараты и методики.
К ним относится ряд оптико-электронных приборов, разработанных во ВНИИ медицинского приборостроения. Они предназначены для объективной оценки 2 основных блоков радужки: нервно-мышечного, управляющего зрачком, и сосудистого, осуществляющего питание радужки. Остановимся на кратком описании этих приборов.
Фотоэлектронный пупиллограф
предназначен
для исследования биорегуляции пупилломоторно
й системы, эффекторное
звено которой на радужке представлено в виде кольц
евой гладкой мышцы — сфинктера и радиальной
— дилататора.
В основе прибора заложен фотоэлектронный прин
цип. Изображен
ие зрачка глаза, подсвечиваемого невидимым пучком света, (
помощью оптической системы проецируется на чувствительный
слой фотоприемника. Изменение размера зрачка, вызванное свето
вой диффузной вспышкой или другим видом стимуляции, сопро
вождается изменением его изображения и, как следствие этого, к
олебанием величины светового потока. В результате с выхода фотоприемника снимается электрический сигн
ал аналоговой формы,,
который усиливается и фиксируется на регистрирующем устройстве в виде пупиллограммы.
Автоматизированная обработка пупиллограмм
на ЭВМ проводится
по 10 информативным признакам: латентному периоду сужения и расширения, отношению времени расширения к времени
сужения и др.
Интрапупиллограф
— фотоэлектронный прибор, предназначенный для исследования реакции зрачка на
локальные световые вспышки. В этом случае с помощью специального
устройства стимуляции на разные участки сетчатки попеременно
подаются световые вспышки с угловым разрешением 15—20 угл.
мин.,
а оптикоэлектронным
каналом фиксируются ответные
реакции зрачка. Поскольку возбуждение, создаваемое отдельной световой вспышкой, формируется ограниченным участком сетчатки, связанным со своими единичными пупилломоторными
волокнами, то представляется возможность дифференцированного
исследования пупилломоторного
тракта на уровне отдельных
групп волокон и, возмож
но, отдельных групп сегментов сфинктера.
Сканирующий пупиллограф
, построенный
по фотоэлектронному принципу, позволяет реги
стрировать размер
зрачка впокое и его изменения при стимуляции в абсолютных
значениях. Принцип действия прибора заключается в следующем.
Изображение зрачка глаза, подсвечиваемого невидимым пучком
света, с помощью проекционной оптической системы сканируется
относительно чувствительного слоя фотоприемника по синусоидальне
му закону. В результате с выхода фотоприемника снимаются
электрические и
мпульсы, длительность которых пропорциональна
размеру диаметра зрачка. Последние усиливаются и на
регистрирующем устройстве фиксируются в виде серии импульсов. Автоматизированная обработка результатов на ЭВМ сводится
к построению пупиллограммы
в абсолютных зн
ачениях диаметра
зрачка и тех и
нформативных
признаков, которые .указаны
в фотоэлектронном
пупил
лографе.
С помощью этого прибора исследуется
гиппус
зрачка, отр
ажающий интегральную картину флуктуаций
всей пупилломоторной
системы.
Биокалиброметр
, или фотоэлектронный сканирующий микрофотометр, предназначенный для измерения в абсолютных
значениях калибра сосудов, пигментных пятен, лакун и
других
информативных знаков с наружной поверхности глаза радужки и глазного дна. Принцип действия прибора заключа
ется в следующем. Негативный или позитивный снимок радужки или
другого участка глаза устанавливается в специальное устройство. С помощью видоискателя определяется участок сни
мка для исследования и на него направляется сканирующий световой луч.
При прохождении луча через измеряемый микроучасток снимка
происходит изменение светового потока, которое фиксируется фотоумножителем,
установленным за пленкой.
Сканирующий калиброметр
предназначендля измерения калибра сосудов с наружной поверхности глаза
непосредственно у пациента. Прибор работает следующим образом.
Сосуд или группа сосудов, выбранные для измерения оптической системой проецируются в плоскость фотоприемника. Специальная
сканирующая система в виде зеркала, установленного
на оси электромагнитной головки, смещает изображение сосуда
относительно фотоприемника по синусоидальному закону. В результате
с выхода последнего снимается электрический импульс, длительность которого пропорциональна калибру сосуда, а его
форма отражает внутреннюю структуру сосуда. При э
том по форме
импульсов измеряются наружный калибр сосуда, его пульсация,
размер русла кровотока
и изменения его величины (пульсация),
толщина сосудистой стенки в сечении, по которому осуществляется
сканирование сосуда.
С помощью перечисленных приборов проведены э
кспериментальные
исследования для оценки состояния биорегуляции
мышечного
и сосудистого блоков радужки, которые вместе с результатами клинических исследований рассматриваются в качестве научной основы иридодиагностики
.
Особо важную роль в автоматизированной иридопупиллогра
фии
может сыграть комплекс цифровой обработки изображений СВИТ
.
С
его помощью можно производить широкий круг операций:
1. вводить изображение радужки глаза для цифровой обработки с телевизионной камеры или магнитных носителей;
2. переносить изображени
е радужки на магнитные н
осители для долговременного хранения;
3. наблюдать на экране цветного монитора вводимое и
зображение радужки и рез
ультаты его обработки;
4. получать количественные характеристики отдельных элементов радужки;
5. детально просматривать изображение радужки;
6. моделировать изображение радужки;
7. проводить препарирование и
различные преобразования участков и знаков радужки;
8. выводить результаты обработки на внешние носители.
В перспективе на основе комп
лекса СВИТ предполагается проводить
автоматизированную постановку предварительного топического
диагноза при массовых профилактических осмотрах населени
я и диспансеризации больных по многопрофильной медицинской программе.
Автоматизированныйиридологический комплекс (АИК-01)
, разработанный в Государственном научно-техническом центре "Контакт" (научный руководителя профессор Е.С.Вельховер, главный конструктор кандидат технических наук А.Н.Дроханов) является базовым техническим средством, на основе которого реализуется ряд иридологических диагностических программ. Среди них программы "Статус", "Рейтинг реактивности", "Темпы старения организма", "Иридотопограмма" и др. В настоящее время для этого комплекса Е.С.Вельховером совместно с В.Ф.Ананннымразработаны пакет медико-технических заданий и медико-технических алгоритмов, а также комплект иридодиагностических информативны признаков по программе "Статус". Данная программа, реализованная главным образом на анализе изображения радужной оболочки, обработанного в автоматизированном режиме, позволяет оценивать в баллах и процентах наследственно-тканевую неполноценность, аномалии общего развития организма, аномалии развития вегетативных центров, врожденную работоспособность, уровень аллергизации, предрасположенность к долголетию, врожденную слабость важнейших систем организма, склонность к спазмам сосудов и адекватность места проживания индивида.
Комплекс АИК-01 сделан в двух модификациях. По первой модификации (АИК-01М1) анализ изображения радужки пациента проводится в режиме реального масштаба времени, когда обработка изображения радужки осуществляется непосредственно с глаза пациента, сидящего перед оптическим устройством ввода изображения в видеокамеру комплекса. По второй модификации (АИК-01 М2) анализ изображения радужки пациента проводится с фотопленки, полученной предварительно в процессе обследования либо по месту жительства при диспансерном обследовании, либо в иридологическом центре, где установлены данные комплексы.
Кратко принцип действия комплекса АИК-01 сводится к следующему. Изображение радужки пациента с помощью устройства ввода изображения в видеокамеру (по модификации АИК-01М-1) или устройства (оптического) для ввода изображений со слайдов (по модификации АИК-01 М2) через телевизионную камеру, устройство регистации цветных изображений, видеоконтрольное устройство, электронный блок сопряжения видеоконтрольного устройства с ЭВМ передается в память персонального компьютера, где оно обрабатывается по специально созданному пакету программ. Форма выходной информации по результатам автоматизированной обработки выводитсяпечатное устройство и представляет собой диагностическое итоговоезаключение с соответствующими врачебными рекомендациями.
В настоящее время заканчивается разработка медико-технических заданий для остальных диагностических иридологических программ.
ЗАКЛЮЧЕНИЕ
Благодаря своей уникальной возможности — ранней постановкедиагноза практически по всем системам организма — иридодиагностика как составная часть иридологии является исключительно тонкой клинико-диагностической методикой в оценке приобретенных заболеваний и генетического статуса индивида. Диагностическая “сила” иридологии состоит в том, что она позволяет выявить начало патологического процесса в доклиническом,бессимптомном периоде, когда обычные диагностические методы не позволяют распознать заболевание.
СПИСОК ЛИТЕРАТУРЫ:
1. Иридодиагностика / Е.С. Вельховер, Н.Б. Шульпина, З.А. Алиева, Ф.Н. Ромашов. — М.: Медицина, 1988.
2. Вельховер Е.С. Введение в иридологию. — М.: Медицина, 1991.
3. Шульпина Н.Б. Щелевая лампа. — В кн.: БМЭ. 2-е изд. М., 1964.
4. Шульпина Н. Б., Винц Л.А. О возможности применения иридодиагностики в клинической практике. — Вестн. офтальмол., 1986 № 3.
5. Вельховер Е.С., Елисеев И.М. Об использовании иридодиагностики в прсихиатрической практике. — В кн.: Международная конф. по психотронике. 5-я. Братислава, 1983.
|