| Министерство Образования Республики Беларусь
Учреждение образования
«Белорусский государственный педагогический университет
имени Максима Танка»
Кафедра общей физики
Инфракрасные лучи и их применение
Курсовая работа по общей физике
студентки 311 группы
физического факультета
Смирновой Милены Владимировны
Научный руководитель:
канд. физ.-мат. наук, доцент,
Януть Виктор Иосифович
Минск, 2006
Содержание:
Введение……………………………………………………………..3
Глава 1………………………………………………………………..5
1. История открытия ИК-лучей………………………………...5
2. Источники и приемники ИК-излучения…………………….11
3. Специфические свойства ИК-излучения……………………13
Глава 2. Применение ИК-лучей…………………………………….15
1. Инфракрасная спектроскопия………………………………..15
2. Инфракрасная фотография…………………………………..18
3. Инфракрасный нагрев………………………………………..23
4. Электроннооптический преобразователь…………………...24
5. Тепловизоры…………………………………………………..25
Заключение…………………………………………………………..33
Список литературы………………………………………………….35
Введение
Несмотря на исключительно широкий диапазон изученных к настоящему времени электромагнитных волн все они имеют общие свойства. Однако в проявлениях этих свойств у волн разной длины имеется и своя специфика.
С древних времен люди хорошо знали благотворную силу тепла или, говоря научным языком, инфракрасного излучения. Инфракрасное излучение – это часть спектра излучения Солнца, которая непосредственно примыкает к красной части видимой области спектра и которая обладает способностью нагревать большинство предметов. Инфракрасное излучение занимает в спектре электромагнитных волн участок между красным концом спектра видимого излучения ( λ=760 нм) и началом спектра миллиметровых волн коротковолнового радиодиапазона ( λ=1-2 мм).
Человеческий глаз не в состоянии видеть в этой части спектра, но мы можем чувствовать тепло. Как известно, любой объект, чья температура превышает (– 273) градусов Цельсия излучает, а спектр его излучения определяется только его температурой и излучательной способностью. Инфракрасное излучение имеет две важные характеристики: длину волны (частоту) излучения и интенсивность.
Инфракрасные лучи были открыты в 1800 году английским физиком Уильямом Гершеле. Подразделяют три области инфракрасного излучения в зависимости от длины волны: ближняя (0,75—1,5 микрометров), средняя (1,5 – 5,6 мкм) и дальняя (5,6—100 мкм) ( 1 мкм=1/1000000 м).
Забиваем Сайты В ТОП КУВАЛДОЙ - Уникальные возможности от SeoHammer
Каждая ссылка анализируется по трем пакетам оценки: SEO, Трафик и SMM.
SeoHammer делает продвижение сайта прозрачным и простым занятием.
Ссылки, вечные ссылки, статьи, упоминания, пресс-релизы - используйте по максимуму потенциал SeoHammer для продвижения вашего сайта.
Что умеет делать SeoHammer
— Продвижение в один клик, интеллектуальный подбор запросов, покупка самых лучших ссылок с высокой степенью качества у лучших бирж ссылок.
— Регулярная проверка качества ссылок по более чем 100 показателям и ежедневный пересчет показателей качества проекта.
— Все известные форматы ссылок: арендные ссылки, вечные ссылки, публикации (упоминания, мнения, отзывы, статьи, пресс-релизы).
— SeoHammer покажет, где рост или падение, а также запросы, на которые нужно обратить внимание.
SeoHammer еще предоставляет технологию Буст, она ускоряет продвижение в десятки раз,
а первые результаты появляются уже в течение первых 7 дней.
Зарегистрироваться и Начать продвижение

Нагретые тела – главный источник ИК-излучения. Закон смещения Вина гласит: максимум излучения тела, нагретого до температуры Т К, падает на длину волны
λ = 2897/Т (мкм)
Получается, что максимум излучения человеческого тела приходится на длину волны λ = 9,37 мкм, а тающего льда на λ = 10,6 мкм.
Ученые разработали приборы, преобразующие инфракрасное излучение в видимый свет. С их помощью создана аппаратура ночного видения; можно снять карту температуры человеческого тела и по ней судить о здоровье человека. Спектры в инфракрасной области излучения помогают исследователям понять строение сложных органических молекул. Мощные потоки излучения инфракрасных ламп используются во многих технологических процессах.
Инфракрасное излучение широко используется в промышленности, научных исследованиях, медицине, в военной технике. А это делает необходимым более глубокое исследование природы инфракрасного излучения и его свойств. В своей курсовой работе я рассматриваю специфические свойства электромагнитных волн данного диапазона и их применение в различных областях.
Глава 1
1
История открытия ИК-лучей
Видимый человеческим глазом оптический спектр является небольшой областью электромагнитного спектра излучений. Он ограничен, с одной стороны, коротковолновым ультрафиолетовым излучением, а с другой - длинноволновым инфракрасным (тепловым) излучением. За инфракрасным диапазоном спектра идет радиодиапазон электромагнитных волн.
Первым был изучен оптический (видимый) диапазон спектра. Это связано прежде всего с тем, что первым источником тепла и света, который знали люди древности, было Солнце. Зависимость человека от Солнца вынуждала вести за ним постоянные наблюдения, искать закономерности в его поведении. Именно по этой причине астрономия является древнейшей наукой. Первые таблицы солнечных и лунных затмений составлялись уже в 747 г. до н. э. Наряду с выяснением закономерностей движения Солнца, изучалась и сама природа солнечного излучения, света. У египтян, например, понятия "свет" и "солнце" были тождественны. Об этом говорят и древнеегипетские изображения солнца в виде диска с отходящими во все стороны лучами. Встречались у египтян (1350 г. до н. э.) и изображения солнца (Атона) в виде дисков с лучами, заканчивающимися пальцами. Древнегреческие ученые пытались доказать, что не Солнце испускает лучи, а наоборот: глаза испускают лучи. В качестве доказательств, приводились светящиеся по ночам глаза животных. Глаза слепца, по их мнению, не видят по той причине, что не испускают лучей. Особенно наглядно эта точка зрения отражена в произведении Платона "Тимей", где в частности говорилось: "Из органов, боги, прежде всего, устроили светоносные глаза которые и приладили с таким намерением: по их замыслу должно было возникнуть тело, которое не имело бы жгучих свойств огня, но доставляло короткий огонь, свойственный всякому дню. И боги сделали так, что родственный дневному свету огонь, находящийся внутри нас, вытекает очищенным через глаза, которые боги сгустили особенно посередине так, чтобы они задерживали грубейшую часть огня и пропускали только в чистом виде. И вот, когда дневной свет окружает поток зрения, тогда подобное, исходя к подобному, соединяется с ним и по прямому направлению зрачков образует в связи с родственным одно тело - где бы падающее изнутри не натолкнулось на то, что встречает его извне".
Сервис онлайн-записи на собственном Telegram-боте
Попробуйте сервис онлайн-записи VisitTime на основе вашего собственного Telegram-бота:
— Разгрузит мастера, специалиста или компанию;
— Позволит гибко управлять расписанием и загрузкой;
— Разошлет оповещения о новых услугах или акциях;
— Позволит принять оплату на карту/кошелек/счет;
— Позволит записываться на групповые и персональные посещения;
— Поможет получить от клиента отзывы о визите к вам;
— Включает в себя сервис чаевых.
Для новых пользователей первый месяц бесплатно.
Зарегистрироваться в сервисе
Теория и природа света на протяжении многих столетий была предметом изучения многих выдающихся деятелей. Только в XVII в. во взглядах на природу света появились две четко выраженные, подлинно научные теории: волновая и корпускулярная.
Видимым диапазоном электромагнитного спектра является только оптический диапазон. Как же были открыты другие, невидимые глазу, диапазоны спектра?
Инфракрасный диапазон электромагнитного спектра был обнаружен в 1800 г. английским астрономом В. Гершелем. Ученый проводил серию опытов, чтобы выяснить, какой нагревательной способностью обладают различные участки солнечного спектра (рис.1).
рис.1
Он исследовал оптический спектр, спроецированный на стол с помощью призмы. Чтобы узнать, как ведут себя отдельные участки оптического спектра, он подносил к ним чувствительный ртутный термометр. Разные участки спектра по-разному нагревали термометр. Но как же был удивлен Гершель, когда нагрев термометра стал возрастать при перемещении термометра за красную границу оптического диапазона спектра. Ученый пришел к выводу, что существует излучение, не видимое глазом, но регистрируемое термометром. Это излучение он назвал инфракрасным или тепловым.
Рис. 2. Опыт В. Гершеля (1800 г.) в результате которого было открыто тепловое излучение.
Изучая, до какого предела распространяется инфракрасный диапазон спектра, ученые обнаружили, что этот диапазон переходит непосредственно в диапазон радиоволн. Единство природы световых, инфракрасных и радиоволн было доказано работами Дж. Максвелла (1861-1864 гг.), Г. Герца и П. Н. Лебедева (1896 г.)
Справа от оптического диапазона электромагнитных волн располагается ультрафиолетовый диапазон. Каждый из нас ощущает ультрафиолетовые лучи, загорая на солнце. Этот диапазон еще мало изучен.
За ультрафиолетовым диапазоном спектра (правее от него) идет рентгеновский диапазон.
Глаз человека не видит окружающие предметы в полной темноте или в условиях слабого освещения. Проблема "ночного видения" была решена только в XX в.
Открытие инфракрасного (теплового) излучения стало предпосылкой для создания приборов ночного видения. Основные его свойства были изучены в XIX в. В 19 в. было доказано, что инфракрасное излучение подчиняется законам оптики и, следовательно, имеет ту же природу, что и видимый свет. В 1923 советский физик А. А. Глаголева-Аркадьева получила радиоволны с l ~ 80 мкм, т. е. соответствующие инфракрасному диапазону длин волн. Таким образом, экспериментально было доказано, что существует непрерывный переход от видимого излучения к инфракрасному излучению и радиоволновому и, следовательно, все они имеют электромагнитную природу.
В это же время были созданы конструкции приемников теплового излучения, преобразующие падающее на них невидимое тепловое излучение в электрические сигналы. Такие приемники теплового излучения делал, например, итальянский физик М. Меллони в 40-х годах XIX в., и которые были использованы им в качестве приемника тепловых излучений и названы термоэлектрической батареей или термостолбиком. Такой прибор обладал значительной чувствительностью и в течение следующего полустолетия являлся наиболее широко применяемым приемником.

Рис. 3. М. Меллони с его установкой, регистрирующей инфракрасное (тепловое) излучение. Середина XIX века, Италия.

Рис. 4. Приемник теплового излучения М. Меллони (1840 г.) с гальванометром (справа)
В1880 г. английский физик С. П. Ланглей создал принципиально новый приемник тепловых излучений - болометр, обладающий высокой чувствительностью и сравнительно малой инерционностью.
В начале XX в. бурное развитие получают фотоэлектрические приемники инфракрасного (сокращенно - ИК) излучения, получившие название фото-сопротивлений. Получили также распространение приемники ИК-излучений, основанные на использовании явления внешнего фотоэффекта (фотодиоды, фотоэлементы, а несколько позднее - фотоэлектронные умножители - ФЭУ и др.).
Как мы уже говорили, любые фотоэлементы, независимо от силы освещения испускают тепловые лучи. Устройство, способное "видеть" предметы не в оптическом (видимом), а в инфракрасном (тепловом) диапазоне спектра было создано в 1934 г. Это был электронно-оптический преобразователь, так называемый "стаканчик Холста", представлявший собой стеклянную колбу с параллельными передней и задней стенками. На переднюю стенку падало инфракрасное излучение от предмета, на задней стенке появлялось его видимое глазом изображение.

Рис. 5. Электронно-оптический преобразователь невидимого (теплового) излучения в видимое.
На основе электронно-оптического преобразователя в 30-40-х годах было создано большое число приборов ночного видения: ночных прицелов, ночных биноклей, систем ночного вождения автотранспорта.
В современное время ИК-излучение находит широкое применение в научных исследованиях, при решении большого числа практических задач, в военном деле, в промышленности, в медицине и других областях.
2 Источники и приемники ИК-излучения
Естественными источниками инфракрасного излучения являются: Солнце, Земля, звезды, планеты. Искусственным источником ИК-излучения является любое тело, температура которого выше температуры окружающей среды: костер, горящая свеча, работающий двигатель внутреннего сгорания, ракета, включенная электрическая лампа. Уместно заметить, что в электрической лампе накаливания только примерно 3-4 % подводимой к ней электрической энергии преобразуется в свет, а 95 % - в инфракрасное излучение.
Мощным источником И. и. является Солнце, около 50% излучения которого лежит в инфракрасной области. Значительная доля (от 70 до 80%) энергии излучения ламп накаливания с вольфрамовой нитью приходится на ИК-излучение. (рис.6)

Рис. 6. Кривые излучения абсолютно чёрного тела A и вольфрама B при температуре 2450 К. Заштрихованная часть — излучение вольфрама в инфракрасной области; интервал 0,4—0,74 мкм — видимая область.
При фотографировании в темноте и в некоторых приборах ночного наблюдения лампы для подсветки снабжаются инфракрасным светофильтром, который пропускает только И.И. Мощным источником И. и. является угольная электрическая дуга с температурой ~ 3900 К, излучение которой близко к излучению чёрного тела, а также различные газоразрядные лампы (импульсные и непрерывного горения). Для радиационного обогрева помещений применяют спирали из нихромовой проволоки, нагреваемые до температуры ~ 950 К. Для лучшей концентрации И. и. такие нагреватели снабжаются рефлекторами. В научных исследованиях, например, при получении спектров инфракрасного поглощения в разных областях спектра применяют специальные источники И. и.: ленточные вольфрамовые лампы, штифт Нернста, глобар, ртутные лампы высокого давления и др. Излучение некоторых оптических квантовых генераторов — лазеров - также лежит в инфракрасной области спектра; например, излучение лазера на неодимовом стекле имеет длину волны 1,06 мкм
, лазера на смеси неона и гелия — 1,15 мкм
и 3,39 мкм
, лазера на углекислом газе — 10,6 мкм
, полупроводникового лазера на InSb — 5 мкм
и др.
Приёмники инфракрасного излучения основаны на преобразовании энергии И. и. в другие виды энергии, которые могут быть измерены обычными методами. Существуют тепловые и фотоэлектрические приёмники И. и. В первых поглощённое И. и. вызывает повышение температуры термочувствительного элемента приёмника, которое и регистрируется. В фотоэлектрических приёмниках поглощённое И. и. приводит к появлению или изменению электрического тока или напряжения. Фотоэлектрические приёмники, в отличие от тепловых, являются селективными приёмниками, т. е. чувствительными лишь в определённой области спектра. Специальные фотоплёнки и пластинки — инфрапластинки — также чувствительны к И. и. (до = 1,2 мкм
), и потому в И. и. могут быть получены фотографии.
3 Специфические свойства инфракрасного излучения
Специфические свойства инфракрасного излучения проявляются в их взаимодействии с веществом.
Оптические свойства веществ (прозрачность, коэффициент отражения, коэффициент преломления) в инфракрасной области спектра, как правило, значительно отличаются от оптических свойств в видимой и ультрафиолетовой областях. Многие вещества, прозрачные в видимой области, оказываются непрозрачными в некоторых областях И. и. и наоборот. Например, слой воды толщиной в несколько см
непрозрачен для И. и. с λ > 1 мкм
(поэтому вода часто используется как теплозащитный фильтр), пластинки германия и кремния, непрозрачные в видимой области, прозрачны в инфракрасной (германий для λ > 1,8 мкм
, кремний для λ > 1,0 мкм
). Чёрная бумага прозрачна в далёкой инфракрасной области. Вещества, прозрачные для И. и. и непрозрачные в видимой области, используются в качестве светофильтров для выделения И. и. Ряд веществ даже в толстых слоях (несколько см
) прозрачен в достаточно больших участках инфракрасного спектра. Из таких веществ изготовляются различные оптические детали (призмы, линзы, окна и пр.) инфракрасных приборов. Например, стекло прозрачно до 2,7 мкм,
кварц — до 4,0 мкм
и от 100 мкм
до 1000 мкм,
каменная соль — до 15 мкм,
йодистый цезий — до 55 мкм
. Полиэтилен, парафин, тефлон, алмаз прозрачны для λ > 100 мкм
. У большинства металлов отражательная способность для И. и. значительно больше, чем для видимого света, и возрастает с увеличением длины волны И. И. Например, коэффициент отражения Al, Au, Ag, Cu при λ = 10 мкм
достигает 98%. Жидкие и твёрдые неметаллические вещества обладают в И. и. селективным отражением, причём положение максимумов отражения зависит от химического состава вещества.
Проходя через земную атмосферу, И. и. ослабляется в результате рассеяния и поглощения. Азот и кислород воздуха не поглощают И. и. и ослабляют его лишь в результате рассеяния, которое, однако, для И. и. значительно меньше, чем для видимого света. Пары воды, углекислый газ, озон и др. примеси, имеющиеся в атмосфере, селективно поглощают И. и. Особенно сильно поглощают И. и. пары воды, полосы поглощения которых расположены почти во всей инфракрасной области спектра, а в средней инфракрасной области — углекислый газ. В приземных слоях атмосферы в средней инфракрасной области имеется лишь небольшое число «окон», прозрачных для И. и. (см. рис7). 
Рис. 7. Кривая пропускания атмосферы в области 0,6 — 14 мкм. Полосы — «окна» прозрачности: 2,0 — 2,5 мкм, 3,2 — 4,2 мкм, 4,5 — 5,2 мкм, 8,0 — 13,5 мкм. Полосы поглощения с максимумами при λ = 0,93; 1,13; 1,40; 1,87; 2,74 мкм принадлежат парам воды; при λ = 2,7 и 4,26 мкм — углекислому газу и при λ= 9,5 мкм — озону.
Наличие в атмосфере взвешенных частиц — дыма, пыли, мелких капель воды (дымка, туман) — приводит к дополнительному ослаблению И. и. в результате рассеяния его на этих частицах, причём величина рассеяния зависит от соотношения размеров частиц и длины волны И. и. При малых размерах частиц (воздушная дымка) И. и. рассеивается меньше, чем видимое излучение (что используется в инфракрасной фотографии), а при больших размерах капель (густой туман) И. и. рассеивается так же сильно, как и видимое.
Глава 2 Применение ИК-излучения
Инфракрасное излучение широко используется в промышленности, научных исследованиях, медицине, в военной технике.
1
Инфракрасная спектроскопия
Исследование спектров испускания и поглощения в инфракрасной области используется при изучении структуры электронной оболочки атомов, для определения структуры молекул, а также для качественного и количественного анализа смесей веществ сложного молекулярного состава, например моторного топлива.
Инфракрасная спектроскопия - раздел спектроскопии, включающий получение, исследование и применение спектров испускания, поглощения и отражения в инфракрасной области спектра. И. с. занимается главным образом изучением молекулярных спектров, так как в ИК-области расположено большинство колебательных и вращательных спектров молекул. В И. с. наиболее широкое распространение получило исследование ИК-спектров поглощения, которые возникают в результате поглощения ИК-излучения при прохождении его через вещество. Это поглощение носит селективный характер и происходит на тех частотах, которые совпадают с некоторыми собственными частотами колебаний атомов в молекулах вещества и с частотами вращения молекул как целого, а в случае кристаллического вещества — с частотами колебаний кристаллической решётки. В результате интенсивность ИК-излучения на этих частотах резко падает — образуются полосы поглощения (см. рис
.8).

Рис. 8. Зависимость интенсивности падающего I0
() и прошедшего через вещество I() излучения. 1
, 2
, 3
,... — собственные частоты вещества; заштрихованные области — полосы поглощения.
Количественная связь между интенсивностью I
прошедшего через вещество излучения, интенсивностью падающего излучения I
0
и величинами, характеризующими поглощающее вещество, даётся законом Бугера — Ламберта — Бера
. На практике обычно ИК-спектр поглощения представляют графически в виде зависимости от частоты ν (или длины волны λ) ряда величин, характеризующих поглощающее вещество: коэффициента пропускания; коэффициента поглощения; оптической плотности.
Основные характеристики спектра ИК-поглощения: число полос поглощения в спектре, их положение, определяемое частотой (или длиной волны), ширина и форма полос, величина поглощения — определяются природой (структурой и химическим составом) поглощающего вещества, а также зависят от агрегатного состояния вещества, температуры, давления и др. Изучение колебательно-вращательных и чисто вращательных спектров методами И. с. позволяет определять структуру молекул, их химический состав, моменты инерции молекул, величины сил, действующих между атомами в молекуле, и др. Вследствие однозначности связи между строением молекулы и её молекулярным спектром И. с. широко используется для качественного и количественного анализа смесей различных веществ (например, моторного топлива). Изменения параметров ИК-спектров (смещение полос поглощения, изменение их ширины, формы, величины поглощения), происходящие при переходе из одного агрегатного состояния в другое, растворении, изменении температуры и давления, позволяют судить о величине и характере межмолекулярных взаимодействий.
И. с. находит применение в исследовании строения полупроводниковых материалов, полимеров, биологических объектов и непосредственно живых клеток. Быстродействующие спектрометры позволяют получать спектры поглощения за доли секунды и используются при изучении быстропротекающих химических реакций. С помощью специальных зеркальных микроприставок можно получать спектры поглощения очень малых объектов, что представляет интерес для биологии и минералогии. И. с. играет большую роль в создании и изучении молекулярных оптических квантовых генераторов, излучение которых лежит в инфракрасной области спектра. Методами И. с. наиболее широко исследуются ближняя и средняя области ИК-спектра, для чего изготовляется большое число разнообразных (главным образом двухлучевых) спектрометров. Далёкая ИК-область освоена несколько меньше, но исследование ИК-спектров в этой области также представляет большой интерес, так как в ней, кроме чисто вращательных спектров молекул, расположены спектры частот колебаний кристаллических решёток полупроводников, межмолекулярных колебаний и др.
2
Инфракрасная фотография
Благодаря различию коэффициентов рассеяния, отражения и пропускания тел в видимом и И. и. фотография, полученная в И. и., обладает рядом особенностей по сравнению с обычной фотографией. Например, на инфракрасных снимках часто видны детали, невидимые на обычной фотографии
Фотоснимки в ИК-излучении можно получать различными методами. Наиболее прост метод непосредственного фотографирования на фотопластинки и плёнки, чувствительные к ИК-излучению (инфраплёнки или пластинки). При этом на объектив фотоаппарата устанавливают светофильтр, пропускающий ИК-излучение и непрозрачный для видимого света. Длинноволновая граница чувствительности современных инфрафотоматериалов λ = 1,2 мкм
.
Чувствительность инфраплёнок и пластинок относительно мала, поэтому для И. ф. в условиях малой освещённости применяют приборы, состоящие из электронно-оптического преобразователя
и обычного фотоаппарата. Электронно-оптический преобразователь, установленный перед объективом фотоаппарата, преобразует невидимое инфракрасное изображение в видимое и одновременно усиливает его яркость. Такие приборы позволяют получать снимки на обычной фотоплёнке в полной темноте при небольшой мощности облучающего источника ИК-излучения. Длинноволновая граница прибора определяется фотокатодом преобразователя и не превышает λ = 1,2 мкм
.
С помощью специальных приборов можно получать И. ф. в области λ > 1,2 мкм
. Один из них — инфракрасный видикон
— представляет собой телевизионную систему, у которой экран передающей трубки изготовлен из фотопроводящих полупроводниковых материалов, изменяющих свою электропроводность под действием ИК-излучения. Получаемое на экране приёмной трубки видимое телевизионное изображение фотографируется обычным фотоаппаратом. Длинноволновая граница видикона зависит от природы материала фотопроводящего экрана и его температуры.
И. ф. позволяет получать дополнительную (по сравнению с фотографией в видимом свете или при рассматривании объекта глазом) информацию об объекте. Так как ИК-излучение рассеивается при прохождении через дымку и туман меньше, чем видимое излучение, И. ф. позволяет получать чёткие снимки предметов, удалённых на сотни км
.
Благодаря различию коэффициентов отражения и пропускания в видимом и инфракрасном диапазонах на И. ф. можно увидеть детали, не видимые глазом и на обычной фотографии. Эти особенности И. ф. широко используются в ботанике — при изучении болезней растений (рис. 9
),

Рис. 9. Фотография «больного» листа дерева при обычном (справа, внизу) и инфракрасном (слева, вверху) освещении.
в медицине — при диагностике кожных и сосудистых заболеваний (рис. 10
),

Рис. 10. Фотография ноги: слева — в видимом, справа — в инфракрасном излучении; на последней отчетливо видны вены.
в криминалистике — при обнаружении подделок (рис. 11
), 
Рис.11. Фотографии части сертификата с обесцвеченной химически подписью и датой: вверху — в видимом свете, внизу — в инфракрасном излучении; на последней видны уничтоженные первоначально подпись и дата.
в инфракрасной аэросъёмке (рис. 12
),

Рис. 12. Аэроснимки одного и того же участка местности: слева — обычный, справа — инфрахроматический. На рисунке справа деревья четко разделены на хвойные (более тёмные) и лиственные (светлые), тёмное пятно в центре — водоём, который на обычном снимке сливается с общим фоном.
в астрономии — при фотографировании звёзд и туманностей (рис. 13
).

Рис. 13. Фотографии участка неба: слева — в видимом излучении, справа — в инфракрасном излучении. На фотографии слева большая часть звезд не видна, т.к. они закрыты туманностью, непрозрачной для видимого излучения. Для инфракрасного излучения туманность прозрачна и потому на фотографии справа видно большое число «инфракрасных» звёзд.
И. ф. можно получать в полной темноте (рис. 14
).

Рис. 14. Фотография, полученная в полной темноте, при облучении скульптуры излучением от двух нагретых утюгов. Утюги на фотографии получились светлыми.
Существуют приборы, фиксирующие тепловое ИК-излучение объекта, в разных точках которого температура различна. Интенсивность ИК-излучения в каждой точке изображения регистрируется приёмником и преобразуется в световой сигнал, который фиксируется на фотоплёнке. Изображение, получаемое в этом случае, не является И. ф. в обычном смысле, так как оно даёт лишь картину распределения температуры по поверхности объекта. Такие приборы применяют для обнаружения перегретых участков машин, при ИК-аэросъёмке для получения термальных карт местности и др.
3
Инфракрасный нагрев
В промышленности И. и. применяется для сушки и нагрева материалов и изделий при их облучении. Инфракрасный нагрев - нагрев материалов электромагнитным излучением с длиной волны 1,3—4 мкм
(инфракрасное излучение). И. н. основан на свойстве материалов поглощать определённую часть спектра этого излучения. При соответствующем подборе спектра испускания инфракрасного излучателя достигается глубинный или поверхностный нагрев облучаемого тела, а также его локальная сушка без нагрева всего объекта. Впервые И. н. в промышленном масштабе был применен в 30-х гг. 20 в. в США на заводах Форда для обжига эмали на кузовах автомобилей.
Источником энергии при И. н. служат инфракрасные излучатели, состоящие из собственно источника энергии (нагретого тела) и отражателя. В зависимости от степени нагрева источников их условно подразделяют на низкотемпературные, нагреваемые до температур менее 700 °С, среднетемпературные — от 700 до 1500 °С, высокотемпературные — выше 1500 °С. В качестве источников применяют: трубчатые электрические нагреватели; зеркальные сушильные лампы; электрические нагреватели, состоящие из вольфрамовой спирали, помещенной в герметическую кварцевую трубку, наполненную инертным газом и парами йода, и др. Установки И. н. представляют собой камеры, туннели или колпаки, размеры и формы которых соответствуют размерам и форме обрабатываемых изделий. Излучатели укрепляют на внутренней стороне установки; расстояние между ними и поверхностью нагреваемых предметов обычно составляет 15—45 см
. В промышленности И. н. широко применяют для нагрева до сравнительно небольших температур низкими тепловыми потоками (сушка лакокрасочных материалов, овощей, фруктов; нагрев термопластических материалов перед формованием; вулканизация каучука и др.).
4
Электроннооптический преобразователь
На основе фотокатодов, чувствительных к И. и. (для λ < 1,3 мкм
), созданы специальные приборы — электроннооптические преобразователи, в которых не видимое глазом инфракрасное изображение объекта на фотокатоде преобразуется в видимое. На этом принципе построены различные приборы ночного видения (бинокли, прицелы и др.), позволяющие при облучении наблюдаемых объектов И. и. от специальных источников вести наблюдение или прицеливание в полной темноте.
Создание высокочувствительных приёмников И. и. позволило построить специальные приборы — теплопеленгаторы для обнаружения и пеленгации объектов, температура которых выше температуры окружающего фона (нагретые трубы кораблей, двигатели самолётов, выхлопные трубы танков и др.), по их собственному тепловому И. и. На принципе использования теплового излучения цели созданы также системы самонаведения на цель снарядов и ракет. Специальная оптическая система и приёмник И. и., расположенные в головной части ракеты, принимают И. и. от цели, температура которой выше температуры окружающей среды (например, собственное И. и. самолётов, кораблей, заводов, тепловых электростанций), а автоматическое следящее устройство, связанное с рулями, направляет ракету точно в цель. Инфракрасные локаторы и дальномеры позволяют обнаруживать в темноте любые объекты и измерять расстояния до них.

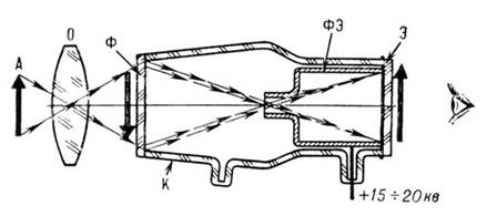
Рис. 14. Структурная схема электроннооптического преобразователя: А — объект наблюдения; О — объектив; Ф — фотокатод; Э — фокусирующий электрод; Э — люминесцентный экран; К — стеклянный или керамический корпус; стрелками показан ход лучей вне (оптических) и внутри (электронных) прибора.
5 Тепловизоры
Инфракрасное излучение является низкоэнергетическим и для глаза человека невидимо, поэтому для его изучения созданы специальные приборы - тепловизоры (термографы), позволяющие улавливать это излучение, измерять его и превращать его в видимую для глаза картину. Тепловизоры относятся к оптико-электронным приборам пассивного типа. В них невидимое глазом человека излучение переходит в электрический сигнал, который подвергается усилению и автоматической обработке, а затем преобразуется в видимое изображение теплового поля объекта для его визуальной и количественной оценки.
Диапазон инфракрасного излучения делится на несколько фрагментов :
| Длина волн (мкм)
|
Название
|
| 0.76-1.5
|
Ближнее инфракрасное излучение
|
| 1.5-5.5
|
Коротковолновое инфракрасное излучение
|
| 5.6-25
|
Длинноволновое инфракрасное излучение
|
| 25-100
|
Дальнее инфракрасное излучение
|
Первые тепловизионные системы были созданы в конце 30-х гг. 20 в. и частично применялись в период 2-й мировой войны для обнаружения военных и промышленных объектов.
Инфракрасное излучение концентрируется системой специальных линз и попадает на фотоприемник, который избирательно чувствителен к определенной длине волны инфракрасного спектра. Попадаемое на него излучение приводит к изменению электрических свойств фотоприемника, что регистрируется и усиливается электронной схемой. Полученный сигнал подвергается цифровой обработке и это значение передается на блок отображения информации. Блок отображения информации имеет цветовую палитру, в которой каждому значению сигнала присваивается определенный цвет. После этого на экране монитора появляется точка, цвет которой соответствует численному значению инфракрасного излучения, которое попало на фотоприемник. Сканирующая система (зеркала или полупроводниковая матрица) проводит последовательный обход всех точек в пределах поля видимости прибора и в результате мы получаем видимую картину инфракрасного излучения объекта. Чувствительность детектора к тепловому излучению тем выше, чем ниже его собственная температура, поэтому его помещают в специальное устройство – “холодильник”. Наиболее примитивный, неудобный и самый распространеннный вид охлаждения с помощью жидкого азота. Это, конечно, позволяет охладить детектор до низких температур, но носить с собой сосуды дюара очень неудобно. Другой вид – посредством элементов Пельтье (полупроводники, дающие перепад температур (тепловой насос) при пропускании через них тока). Есть еще один вид "неохлаждаемых тепловизоров", работающих по другому принципу, но характеристики их пока заметно хуже, зато они намного мобильнее.
Таким образом, на экране тепловизора мы видим значения мощности инфракрасного излучения в каждой точке поля зрения тепловизора, отображенные согласно заданной цветовой палитре (черно-белой или цветной).
Высокая чувствительность тепловизоров реализуется благодаря наличию высокочувствительных полупроводниковых приемников излучения из антимонида индия InSb, ртуть-кадмий-теллура Hg-Cd-Te и др.
Области применения методов тепловидения
Тепловидение нашло применение во многих сферах человеческой деятельности. Например, тепловизоры применяются в целях военной разведки и охраны объектов. В ручной тепловизионный ночной визир человека можно увидеть в полной темноте на расстоянии 300 м. Объекты обычной военной техники видны на расстоянии 2-3 км. На сегодняшний день созданы видеокамеры данного микроволнового диапазона с выводом изображения на экран компьютера, чувствительностью (разрешаемой способностью разницы температур отдельных участков поверхности) в несколько сотых градуса. Это значит, что если вы при входе в свою парадную взялись за ручку двери, чтобы открыть ее, то ваш тепловой отпечаток будет виден на этой ручке целых полчаса. Даже дома при выключенном свете вы будете светить как маяк даже через занавеску. В метро можно спокойно отличить людей, которые только что вошли. А наличие насморка у человека можно наблюдать на расстоянии в несколько сотен метров. О распознавании недавно выключенной машины или о том, кто и когда сидел на данном кресле даже нечего и говорить.
Перспективно использование тепловизоров для нахождения дефектов в различных установках. Естественно, когда в какой-нибудь установке или узле наблюдается повышение или понижение тепловыделения при каком-нибудь процессе в местах, где этого не должно быть, или тепловыделение (теплопоглощение) в подобных узлах сильно различается, то неполадку можно своевременно исправить. Иногда некоторые дефекты можно заметить только с помощью тепловизора. Например, на мостах и тяжелых опорных конструкциях при старении металла или нерасчетных деформациях начинает выделяться больше энергии, чем должно. Появляется возможность диагностировать состояние объекта, не нарушая его целостности, хотя могут возникнуть трудности, связанные с не очень высокой точностью, вызванной промежуточными конструкциями.
Таким образом, тепловизор можно использовать как оперативный и, пожалуй, единственный контроллер состояния безопасности многих объектов и предотвращать катастрофы. Проверка функционирования дымоходов, вентиляции, процессов тепло- и массообмена, атмосферных явлений становиться на порядки удобнее, проще, информативнее.
Широкое применение тепловидение нашло в медицине.
В современной медицине тепловизионное обследование представляет мощный диагностический метод, позволяющий выявлять такие патологии, которые плохо поддаются контролю другими способами. Тепловизионное обследование служит для диагностики на ранних стадиях (до рентгенологических проявлений, а в некоторых случаях задолго до появления жалоб больного) следующих заболеваний: воспаление и опухоли молочных желез, органов гинекологической сферы, кожи, лимфоузлов, ЛОР-заболевания, поражения нервов и сосудов конечностей, варикозное расширение вен; воспалительные заболевания желудочно-кишечного тракта, печени, почек; остеохондроз и опухоли позвоночника. Как абсолютно безвредный прибор тепловизор эффективно применяется в акушерстве и педиатрии.
У здорового человека распределение температур симметрично относительно средней линии тела. Нарушение этой симметрии и служит основным критерием тепловизионной диагностики заболеваний. По участкам тела с аномально высокой или низкой температурой можно распознать симптомы более 150 болезней на самых ранних стадиях их возникновения.
Термография — метод функциональной диагностики, основанный на регистрации инфракрасного излучения человеческого тела, пропорционального его температуре. Распределение и интенсивность теплового излучения в норме определяются особенностью физиологических процессов, происходящих в организме, в частности как в поверхностных, так и в глубоких органах. Различные патологические состояния характеризуются термоасимметрией и наличием температурного градиента между зоной повышенного или пониженного излучения и симметричным участком тела, что отражается на термографической картине. Этот факт имеет немаловажное диагностическое и прогностическое значение, о чем свидетельствуют многочисленные клинические исследования.
Выделяют два основных вида термографии: контактная холестерическая термография, телетермография.
Телетермография основана на преобразовании инфракрасного излучения тела человека в электрический сигнал, который визуализируется на экране тепловизора.
Контактная холестерическая термография опирается на оптические свойства холестерических жидких кристаллов, которые проявляются изменением окраски в радужные цвета при нанесении их на термоизлучающие поверхности. Наиболее холодным участкам соответствует красный цвет, наиболее горячим—синий. Нанесенные на кожу композиции жидких кристаллов, обладая термочувствительностью в пределах 0.001 С, реагируют на тепловой поток путем перестройки молекулярной структуры.
После рассмотрения различных методов тепловидения встает вопрос о способах интерпретации термографического изображения. Существуют визуальный и количественный способы оценки тепловизионной картины.
Визуальная (качественная) оценка термографии позволяет определить расположение, размеры, форму и структуру очагов повышенного излучения, а также ориентировочно оценивать величину инфракрасной радиации. Однако при визуальной оценке невозможно точное измерение температуры. Кроме того, сам подъем кажущейся температуры в термографе оказывается зависимым от скорости развертки и величины поля. Затруднения для клинической оценки результатов термографии заключаются в том, что подъем температуры на небольшом по площади участке оказывается малозаметным. В результате небольшой по размерам патологический очаг может не обнаруживаться.
Радиометрический подход весьма перспективен. Он предполагает использование самой современной техники и может найти применение для проведения массового профилактического обследования, получения количественной информации о патологических процессах в исследуемых участках, а также для оценки эффективности термографии.
Некоторые применения тепловизионных устройств в промышленности:
Энергетика
o состояние дымовых труб и газоходов
o состояние статоров генераторов
o проверка маслонаполненного оборудования
o теплоизоляция турбин, паро- и трубопроводов
o обнаружение мест присосов холодного воздуха
o контроль состояния теплотрасс
Нефтегазовый комплекс
o проверка состояния электрооборудования
o контроль технологических линий
o поиск энергопотерь
o обнаружение утечек из газопроводов
o предотвращение пожаров
Энергосбережение
o диагностика ограждающих конструкций
o обнаружение теплопотерь во внутренних помещениях и снаружи зданий и сооружений
o определение теплоизоляционных свойств материалов
Химическая промышленность
o проверка герметичности и изоляции емкостей для хранения различных жидкостей и газов
Машиностроение
o контроль подшипников, зубчатых передач, валов, муфт и т. д.
o обнаружение несосности оборудования
o контроль температурных режимов сварки
o термоэластический анализ напряжений
Микроэлектроника
o контроль качества сборки печатных плат
Автомобильная промышленность
o проектирование климатических систем автомобиля
o контроль за ультразвуковой сваркой амортизаторов
o разработка и проверка дисковых тормозов
o контроль теплообменных процессов в радиаторах, двигателях и выхлопных системах
Заключение
Таким образом, я в своей работе я собрала исторические сведения об открытии и исследовании инфракрасного излучения, рассмотрела основные специфические свойства излучения данного диапазона и, главное, показала важность дальнейшего его изучения с целью применения в различных областях деятельности человека.
Инфракрасное излучение занимает в спектре электромагнитных волн участок между красным концом спектра видимого излучения (λ=760 нм) и началом спектра миллиметровых волн коротковолнового радиодиапазона (λ=1-2 мм).
Человеческий глаз не в состоянии видеть в этой части спектра, но мы можем чувствовать тепло.
Инфракрасные лучи были открыты в 1800 году английским физиком Уильямом Гершеле.
Естественными источниками инфракрасного излучения являются: Солнце, Земля, звезды, планеты. Искусственным источником ИК-излучения является любое тело, температура которого выше температуры окружающей среды:
Приёмники инфракрасного излучения основаны на преобразовании энергии И. и. в другие виды энергии, которые могут быть измерены обычными методами. Существуют тепловые и фотоэлектрические приёмники И.
Специфические свойства инфракрасного излучения проявляются в их взаимодействии с веществом.
Оптические свойства веществ (прозрачность, коэффициент отражения, коэффициент преломления) в инфракрасной области спектра, как правило, значительно отличаются от оптических свойств в видимой и ультрафиолетовой областях. Многие вещества, прозрачные в видимой области, оказываются непрозрачными в некоторых областях И. и. и наоборот.
Проходя через земную атмосферу, И. и. ослабляется в результате рассеяния и поглощения.
Инфракрасное излучение широко используется в промышленности, научных исследованиях, медицине, в военной технике. Тепловидение нашло применение во многих сферах человеческой деятельности. Оно не заменимо для медицины, а это, на мой взгляд, самая важная наука для человека. ИК-лучи применяются в машиностроительной, химической, автомобильной промышленности, микроэлектронике, а также в энергоснабжении.
Из всего вышесказанного следует, что исследования ИК-лучей и внедрение связанных с ними систем в различные области жизнедеятельности имеют огромное значение для всего человечества.
СПИСОК ЛИТЕРАТУРЫ
:
1. «Энциклопедический словарь физика», М., Педагогика, 1991.
2. Савельев И. В. “Курс общей физики” т. 3. М., Наука, 1989
3. Гуриков В. А. К вопросу развития теории теплового излучения. - Вопросы истории естествознания и техники. М.: Наука, 1977, вып. 56-57.
4. Леконт Ж., Инфракрасное излучение, М., 1958
5. Госсорг Ж. “Инфракрасная термография. Основы, техника, применение”, М., Мир, 1988
6. “Справочник по инфракрасной технике” т. 1.М., Мир, 1995
7. Соловьев С. М. «Инфракрасная фотография», М., 1960
8. Козелкин В. В., Усольцев И. Ф., Основы инфракрасной техники, 2 изд., М., 1974
9. Современные методы контроля материалов без разрушения, под ред. С. Т. Назарова, М., 1961
10. http://www.optika.ru.
11. http://www.cultinfo.ru.
|