| Федеральное агентство по образованию
МОСКОВСКИЙ ГОСУДАРСТВЕННЫЙ ТЕХНИЧЕСКИЙ УНИВЕРСИТЕТ
имени Н.Э.БАУМАНА
Методические указания к лабораторным работам
Особенности устройства и работы гелий-неонового лазера
2007 г.
He-Ne-лазер, созданный Джаваном, Беннетом и Эриотом в конце 1960 года, был исторически первым газовым лазером и первым лазером с непрерывной генерацией. Гелий-неоновый лазер и в настоящее время имеет наибольшее значение среди прочих лазеров (за исключением полупроводниковых), отличается совершенством конструкции, надежностью, наиболее широкой номенклатурой серийно выпускаемых моделей. В зависимости от режима работы, конструкции и габаритных размеров мощность излучения составляет от десятых долей до сотен милливатт при КПД от тысячных до сотых долей процента. Стабильность частоты в одночастотном режиме достигает , расходимость одномодового излучения 0,5–1 мрад. При достаточно высокой безотказности большинство лазеров имеет срок службы от 5000 до 20000 ч, а в отдельных случаях – до 100 тыс. ч.
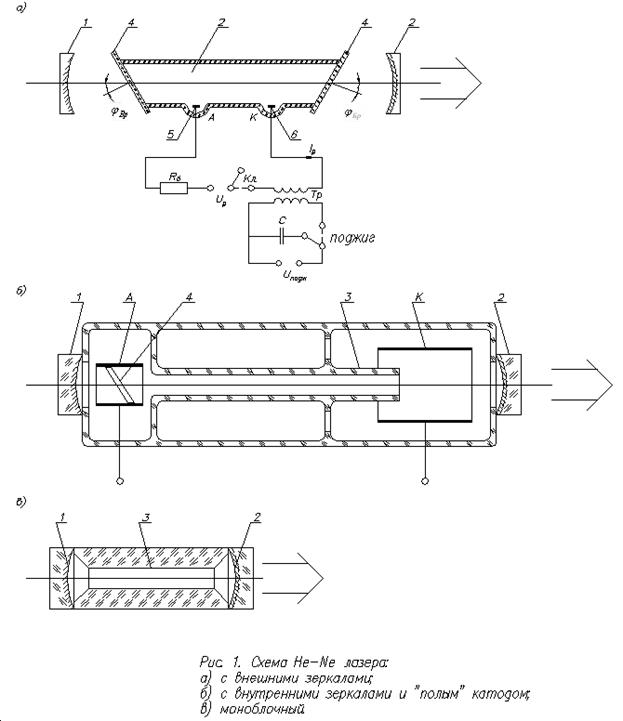
Основные схемы конструкций He-Ne-лазеров приведены на рис. 1. Существенными ее элементами являются зеркала оптического резонатора 1, 2 и газоразрядная трубка (рабочий капилляр) 3, заполненная смесью двух инертных газов.
Возбуждение атомов Не осуществляется вследствие их соударения со свободными быстрыми электронами, для разгона которых используется тлеющий разряд. Для тлеющего разряда характерны небольшая плотность тока и, соответственно, слабый разогрев (до нескольких десятков градусов) и свечение плазмы. Тлеющий разряд можно получить либо с помощью высоковольтного постоянного напряжения (рис. 1 а
) между электродами: анодом А и катодом К (несколько киловольт на метр разрядного промежутка), либо с помощью высокочастотного (в несколько десятков или сотен МГц) и сравнительно низковольтного напряжения. В последнем случае внешние по отношению к разрядному капилляру электроды упрощают конструкцию разрядной трубки, сглаживают шумы разряда, но усиливают процесс дегазации активной смеси; по этой причине (а также из-за заметного усложнения блока питания и, соответственно, его стоимости) ВЧ-накачка применяется сравнительно редко.
Как видно из рис. 1 а
, в схеме с накачкой разрядом постоянного тока с помощью впаянных в газоразрядную трубку электродов 5 и 6 и источника питания с постоянным напряжением зажигается и поддерживается электрический разряд. Последовательно с газоразрядной трубкой включен балансный резистор , ограничивающий силу разрядного тока (после поджига), стабилизирующий разряд и защищающий источник питания от перегрузок.
Забиваем Сайты В ТОП КУВАЛДОЙ - Уникальные возможности от SeoHammer
Каждая ссылка анализируется по трем пакетам оценки: SEO, Трафик и SMM.
SeoHammer делает продвижение сайта прозрачным и простым занятием.
Ссылки, вечные ссылки, статьи, упоминания, пресс-релизы - используйте по максимуму потенциал SeoHammer для продвижения вашего сайта.
Что умеет делать SeoHammer
— Продвижение в один клик, интеллектуальный подбор запросов, покупка самых лучших ссылок с высокой степенью качества у лучших бирж ссылок.
— Регулярная проверка качества ссылок по более чем 100 показателям и ежедневный пересчет показателей качества проекта.
— Все известные форматы ссылок: арендные ссылки, вечные ссылки, публикации (упоминания, мнения, отзывы, статьи, пресс-релизы).
— SeoHammer покажет, где рост или падение, а также запросы, на которые нужно обратить внимание.
SeoHammer еще предоставляет технологию Буст, она ускоряет продвижение в десятки раз,
а первые результаты появляются уже в течение первых 7 дней.
Зарегистрироваться и Начать продвижение

Источник питания представляет собой маломощный высоковольтный выпрямитель, рассчитанный на питание от сети переменного тока (обычно В) или от аккумулятора. Поскольку напряжение зажигания разряда в несколько раз превышает напряжение горения, имеется дополнительная цепь поджига, в которой конденсатор заряжается от источника высокого напряжения , затем через кнопку «Поджиг» и повышающую обмотку импульсного трансформатора на трубку подается (на короткое время) , необходимое для ионизации газового столба (пробоя газа) и предварительного формирования тлеющего разряда.
При расположении зеркал резонатора вне газоразрядной трубки (см. рис. 1 а
), необходимо исключить потери при выводе лазерного излучения через ее торцы 4, которые обусловлены в основном френелевским отражением.
Обычно торцы трубки представляют собой плоскопараллельные пластины (заглушки) из стекла или кварца. При нормальном падении излучения на заглушки потери на отражение за полный цикл (от одного зеркала до него же) составит , что существенно превышает (на длине волны 0,633 мкм) усиление в активной среде; следовательно, условие самовозбуждения не выполняется и лазерная генерация невозможна. Потери на отражение минимизируются, если заглушки расположены на торцах газоразрядной трубки не перпендикулярно ее оси, а под углом, равным углу Брюстера . В этом случае согласно формулам Френеля коэффициент отражения для волны, поляризованной параллельно плоскости падения, становится равным нулю и френелевские потери будут отсутствовать. Такие окна называются окнами Брюстера.
Для определения угла Брюстера можно воспользоваться известным соотношением , где n
– относительный показатель преломления пластины. В частности, для границы раздела стекло-воздух и . Очевидно, что излучение лазера, внутри резонатора которого расположены окна Брюстера, будет плоскополяризованным, поскольку условие самовозбуждения будет выполняться только для волны, вектор Е которой лежит в плоскости параллелен оптической оси резонатора.
Поскольку коэффициент усиления в He-Ne-лазере мал, особенно для (красной) мкм и «нетрадиционных» длин волн генерации (зеленой мкм, желтой мкм, оранжевой мкм), то для повышения усиления за один пробег используют длинные газоразрядные трубки, а для уменьшения потерь — окна Брюстера на торцах трубки и резонатор с высокой добротностью. Это накладывает жесткие требования к качеству зеркал резонатора. Коэффициент отражения на рабочей длине волны для одного из них должен быть близок к 100% (глухое зеркало), а для другого — 99,5…98% при пропускании 0,5-2%. Металлические покрытия этим требованиям не удовлетворяют и в резонаторе He-Ne-лазера всегда применяются многослойные (интерференционные) диэлектрические зеркала. Они представляют собой плоские или сферические пластины, изготовленные из оптического стекла (реже - из плавленого кварца, ситалла, лейкосапфира и других кристаллов), на которые обычно методом испарения в вакууме нанесены чередующиеся диэлектрические слои толщиной и с разными показателями преломления и (см. рис. 2, а): высоким и низким .
Сервис онлайн-записи на собственном Telegram-боте
Попробуйте сервис онлайн-записи VisitTime на основе вашего собственного Telegram-бота:
— Разгрузит мастера, специалиста или компанию;
— Позволит гибко управлять расписанием и загрузкой;
— Разошлет оповещения о новых услугах или акциях;
— Позволит принять оплату на карту/кошелек/счет;
— Позволит записываться на групповые и персональные посещения;
— Поможет получить от клиента отзывы о визите к вам;
— Включает в себя сервис чаевых.
Для новых пользователей первый месяц бесплатно.
Зарегистрироваться в сервисе

Оптическая толщина каждого слоя и подбирается такой, чтобы интерференция шла на максимум (или минимум). Например, при соблюдении условия

на длине волны будет наблюдаться максимум отражения и минимум пропускания в многослойном покрытии из диэлектрических слоев, как показано на рис. 2 б
. Для видимой и ближней инфракрасной областей ( мкм) часто используются слои из сернистого цинка ZnS ( ) и фтористого магния MgF2
( ). Для других спектральных областей применяются другие материалы.
Изменение коэффициента отражения в максимуме достигается изменением числа слоев. Так, диэлектрические покрытия в 15-17 слоев обеспечивают высокие коэффициенты отражения зеркал ( ) при поглощении и светорассеянии порядка долей процента ( ). Дальнейшее увеличение количества слоев, как правило, не приводит к увеличению коэффициента отражения ( ), а иногда и снижает его за счет возрастания светорассеяния.
Технология интерференционных покрытий зеркал лазера обеспечивает также получение значительной выходной мощности и стабильной генерации лазера, например, на длине волны мкм, путем подавления сопутствующей генерации на мкм за счет высокого отражения на рабочей длине волны и малого — на длине волны конкурирующего перехода.
Использование широкополосных зеркал позволяет получить поочередную генерацию на нескольких длинах волн - например, в «красной» области вблизи нм (612; 640; 629; 635 нм) или в ближней инфракрасной области — вблизи нм (1079,8; 1084,4; 1140,9; 1160,1; 1161,4; 1176,7; 1198,6 нм). Для этого поворотом диспергирующего элемента внутри резонатора (призмы) или «глухого» зеркала осуществляют перестройку резонатора и последовательную генерацию на «соседних» длинах волн, например, 543, 594, 604, 612, 633 нм.
Перечисленные выше конструктивно-технологические приемы обеспечили открывает возможность создания целой гаммы стабильных и надежных He-Ne лазеров с достаточной мощностью и относительно широким набором длин волн, удовлетворяющих потребностям многих задач диагностики и терапии.
В случае относительно мощных He-Ne-лазеров ( мВт), а также перестраиваемых лазеров используется конструкция с внешними зеркалами (рис. 1, а), в которой зеркала резонатора не подвержены действия газоразрядной плазмы и имеют отдельные крепежные механизмы (головки) с необходимыми юстировочными подвижками.
Головки и газоразрядная трубка фиксируются в специальной арматуре, основу которой, как правило, составляют инваровые стержни, имеющие очень малый температурный коэффициент линейного расширения. При этом возможно размещение дополнительных элементов внутри резонатора, упрощается изготовление газоразрядной трубки, смена и юстировка трубки и зеркал.
Более высокая механическая прочность присуща газоразрядным трубкам коаксиальной конструкции с «внутренними» зеркалами в припаянных к концам трубки шайбочках (см. рис. 1, б). Такие трубки со встроенными зеркалами оптического резонатора практически представляют собой бескорпусные лазерные излучатели. В этом случае несущей конструкцией резонатора и одновременно внешней колбой газоразрядной трубки является стеклянная трубка диаметром 30-40 мм. Разряд происходит между кольцеобразным анодом А и большим полым цилиндрическим катодом К, выдерживающим таким образом столкновения с положительными ионами. На большей части длины трубки разряд заключен в капилляр. Большой объем газа в колбе, окружающей капилляр, работает в качестве резервуара для пополнения смеси He-Ne в капилляре. Если требуется поляризованное излучение, то внутрь трубки также вставляется пластинка 4 под углом Брюстера. Недостатком данной конструкции является неполное использование объема плазмы разряда; поэтому данная конфигурация используется в лишь маломощных He-Ne-лазерах.
Для работы в условиях больших перегрузок иногда используется моноблочная конструкция (рис. 1 в
), в которой зеркала резонатора вовсе не юстируются, а ставятся на оптический контакт на строго параллельные торцевые плоскости ситаллового моноблока.
| Д.т.н., профессор
|
|
О.В. Рожков
|
| |
|
|
| К.т.н., доцент
|
|
Н.М. Вереникина
|
| |
|
|
|