| ПРОГНОЗ ПОКАЗАТЕЛЕЙ РАБОТЫ НАНОФИЛЬТРАЦИОННЫХ МЕМБРАН И ВЫБОР ОПТИМАЛЬНЫХ ДОЗ РЕАГЕНТОВ ПРИ ЭКСПЛУАТАЦИИ МЕМБРАННЫХ УСТАНОВОК ДЛЯ ПОЛУЧЕНИЯ ПИТЬЕВОЙ ВОДЫ
Первов А.Г., Ефремов Р.В.
ООО «Уотерлэб», Москва, Россия
Рудакова Г.Я.
НПО Траверс, Москва, Россия
Введение
Современные нанофильтрационные мембраны различных типов позволяют задерживать из воды как ионы минеральных солей (в основном двухвалентные), так и органические вещества. Причем подбор типа мембран (с заданной селективностью) позволяет добиться требуемой глубины очистки и состава очищенной воды [1 – 3]. Эти качества нанофильтрационных мембран уже успешно используется на станциях очистки водопроводной воды в США, Франции, Нидерландах, Великобритании [4]. Однако о массовом использовании систем нанофильтрации пока не сообщается ввиду отмечаемых недостатков: необходимости устройства предочистки и применения сервисных реагентов, больших объемов воды на собственные нужды, высоких эксплуатационных затрат. Между тем процесс нанофильтрации непрерывно совершенствуется и становится всё более доступным. Авторами сообщалось о технологии очистки поверхностных вод с применением нанофильтрационных аппаратов специальных конструкций [5 – 7], позволяющих обрабатывать воду с высоким содержанием органических и взвешенных веществ, получая воду питьевого качества. Такие технологии уже успешно применяются для питьевого водоснабжения и конкурентоспособны по сравнению с другими современными методам благодаря простоте устройства и эксплуатации, автоматизации, отсутствию реагентов, компактности, невысоким капитальным затратам, малому использованию воды на собственные нужды.
Эффективность нанофильтрации по удалению органических веществ без существенного снижения общего солесодержания обеспечивает требуемое качество воды по органическим загрязнениям без риска их попадания в фильтрат, позволяя обеспечить долговременную работу установок по сравнению с быстро истощающимися сорбционными фильтрами.
Особенно желательно применение нанофильтрационных мембран благодаря их замеченной «надежности» и стойкости к образованию осадков малорастворимых солей. Отсутствие в необходимости частых химических регенераций делает затраты на эксплуатацию нанофильтрационных установок ниже по сравнению с обратным осмосом, что доказано рядом проведенных исследований [1, 5]. Благодаря этому свойству нанофильтрационные установки, наряду с производством питьевой воды, могут использоваться в сочетании с мембранами обратного осмоса в составе двухступенчатых схем [6, 8, 9], что также позволяет добиться значительного снижения эксплуатационных затрат по сравнению с системами обратного осмоса. Это открывает новые пути к созданию надежных систем, применяемых в теплоснабжении современных зданий (рис. 1).
Забиваем Сайты В ТОП КУВАЛДОЙ - Уникальные возможности от SeoHammer
Каждая ссылка анализируется по трем пакетам оценки: SEO, Трафик и SMM.
SeoHammer делает продвижение сайта прозрачным и простым занятием.
Ссылки, вечные ссылки, статьи, упоминания, пресс-релизы - используйте по максимуму потенциал SeoHammer для продвижения вашего сайта.
Что умеет делать SeoHammer
— Продвижение в один клик, интеллектуальный подбор запросов, покупка самых лучших ссылок с высокой степенью качества у лучших бирж ссылок.
— Регулярная проверка качества ссылок по более чем 100 показателям и ежедневный пересчет показателей качества проекта.
— Все известные форматы ссылок: арендные ссылки, вечные ссылки, публикации (упоминания, мнения, отзывы, статьи, пресс-релизы).
— SeoHammer покажет, где рост или падение, а также запросы, на которые нужно обратить внимание.
SeoHammer еще предоставляет технологию Буст, она ускоряет продвижение в десятки раз,
а первые результаты появляются уже в течение первых 7 дней.
Зарегистрироваться и Начать продвижение
Экспериментальное определение параметров работы нанофильтрационных мембран и их селективных характеристик.
В предыдущих опубликованных статьях [1, 5 – 7] сообщалось о приведенных авторами исследованиях по определению эффективности нанофильтрационных мембран в снижении ряда загрязнений, по оптимизации режимов работы мембранных систем, применению сервисных реагентов. Для обоснования эффективности предлагаемых мембранных систем необходимы данные, позволяющие делать прогноз состава очищенной воды, определять необходимые расходы исходной воды и сбросной воды в канализацию, расходы сервисных реагентов (ингибиторов, моющих растворов), электроэнергии, определять периодичность проведения сервисных мероприятий.
Для технологического расчета систем нанофильтрации на основании экспериментальных работ создана программа, предназначенная для расчета состава очищенной воды и выдачи рекомендаций по оптимальному режиму эксплуатации, позволяющему получить требуемое качество воды при минимуме эксплуатационных затрат.
Исследования проведены для различных типов нанофильтрационных мембран производства Южно-Корейской фирмы Сайхан (SAEHAN CSM), одной из наиболее передовых в мире производителей мембран, являющейся лидером продаж на российском рынке. Как уже сообщалось [10], современные производители мембран и сервисных реагентов снабжают своих покупателей компьютерными программами, позволяющими проводить расчет гидравлических показателей установок, химических показателей очищенной воды, сбросных потоков концентрата. Однако применительно к описанию процесса нанофильтрации программы часто дают неточную информацию, кроме того, не дают расчетов, позволяющих рекомендовать периодичность и определить годовую стоимость сервисных мероприятий.
Проведенные экспериментальные исследования позволили ввести поправки к программе расчета состава фильтрата и определить прогноз изменения качества фильтрата в процессе работы и возможного загрязнения аппаратов различными осадками. Расчет эксплуатационных затрат и рекомендуемые режимы эксплуатации сделаны применительно к отечественным реагентам, выпускаемым фирмой Траверс [11].
Сервис онлайн-записи на собственном Telegram-боте
Попробуйте сервис онлайн-записи VisitTime на основе вашего собственного Telegram-бота:
— Разгрузит мастера, специалиста или компанию;
— Позволит гибко управлять расписанием и загрузкой;
— Разошлет оповещения о новых услугах или акциях;
— Позволит принять оплату на карту/кошелек/счет;
— Позволит записываться на групповые и персональные посещения;
— Поможет получить от клиента отзывы о визите к вам;
— Включает в себя сервис чаевых.
Для новых пользователей первый месяц бесплатно.
Зарегистрироваться в сервисе
Экспериментальная программа методики определения показателей концентраций различных ионов (Са2+
, Мg2+
, Na+
, Cl-
, SO4
2-
, HCO3
-
, NH4
+
, F-
, Fe2+
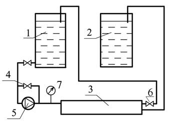
) в фильтрате и концентрате установок, а также их прогноза с течением времени подробно описаны в [1, 12]. Использовались промышленные аппараты моделей NE4040-70 и NE4040-90 (производство SAEHAN CSM). Схема экспериментальной установки показана на рис. 2. Исходная вода помещалась в бак 1, откуда насосом 5 подавалась в аппарат 3. Рабочее давление (6, 9 и 12 бар) устанавливается вентилями 4 и 6 и определяется по манометру 7. Фильтрат собирается в бак 2, а концентрат возвращается в бак 1.
В процессе экспериментов из баков 1 и 2 отбираются пробы, результаты химических анализов позволяют определять качество фильтра при различных величинах выхода фильтрата (при различных соотношениях объёмов фильтрата и концентрата).
На рис. 3 показаны результаты экспериментального и теоретического (по программе CSMPRO) определения концентраций иона кальция и гидрокарбонат-иона в фильтрате.
В зависимости от величины рабочего давления и выхода фильтрата изменяются концентрации всех ионов в фильтрате и концентрате установки. Пример расчета увеличения концентраций иона F–
при изменении давления и выхода фильтрата показан на рис. 4а. Если выразить значение концентрации ионов в виде отношения её расчетной величины к нормативному значению (по СанПиН 2.1.4.1074-01), тогда по графику на рис. 4б можно определить оптимальную величину выхода фильтрата при которой величина С/Снорм
превышает значение 1, т.е. начинается «проскок» иона в фильтрат.
Экспериментальное определение скоростей осадкообразования
В процессе работы нанофильтрационных установок происходит образование осадков (в основном CaCO3
), значительно ухудшающих селективность мембран и вызывающих «проскок» ряда загрязнений в фильтрат. Методика прогноза снижения производительности и селективности мембран описана ранее [1, 11, 13, 14] и основана на результатах экспериментов по определению скоростей роста осадка карбоната кальция.
На рис. 5 показаны результаты определения скоростей роста осадка карбоната кальция в аппаратах с нанофильтрационными мембранами, полученные в результате экспериментов, проведенных на установке, показанной на рис. 2, на подземной воде при давлении 6 бар.
Нанофильтрационные мембраны, вследствие низких значений селективности, подвержены в меньшей степени образованию осадка карбоната кальция. Поэтому в ряде случаев при невысоких значения скоростей осадкообразования, аппараты с нанофильтрационными мембранами могут работать без дополнительных мероприятий по предотвращению образования осадка CaСО3
, (например, дозирования в исходную воду ингибиторов (антискалантов).
Это позволяет значительно сократить эксплуатационные затраты, упростить мероприятия по обслуживанию установок. При подготовке глубоко умягченной или глубоко обессоленной воды в последнее время используются двухступенчатые системы обратного осмоса, позволяющие добиться снижения концентраций ионов жесткости, хлоридов, сульфатов и других ионов в 100 – 1000 раз. Однако эксплуатация таких установок, как и любых других систем обратного осмоса требует достаточно высоких затрат и частых сервисных мероприятий. Применение на первой ступени нанофильтрационных мембран позволяет значительно упростить эксплуатацию таких систем.
Определение эффективности задержания органических веществ
Важным обстоятельством при выборе метода подготовки питьевой воды является возможность очистки воды от органических загрязнений, обобщенно описываемых показателями цветности и окисляемости.
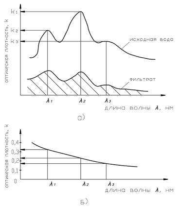
Прогноз изменения этих показателей при очистке воды с помощью нанофильтрационных мембран достаточно сложен, поскольку различные органические соединения в зависимости от их молекулярного веса по-разному задерживаются нанофильтрационными мембранами. Изучение эффективности задержания органических веществ нанофильтрационными мембранами проводилось с применением спектрального анализа [5, 15]. Находящиеся в природной воде молекулы органических веществ, образующих цветность, по-разному поглощают свет, причем светопоглощение зависит от длины волны сканирующего света и от природы веществ. Сравнение кривых светопоглощения исходной воды и фильтрата показывает различные уровни снижения светопоглощения в разных частях спектра фильтрата, что позволяет прогнозировать вид кривой светопоглощения и ожидаемое снижение цветности исходной воды (рис. 6, 7).
Снижение окисляемости воды при ее прохождении через нанофильтрационные мембраны также зависит от соотношения концентраций органических веществ с различными молекулярными весами. Исследования показали, что для поверхностных вод с цветностью от 20 до 100 град снижение окисляемости составляет 85 % для мембран NE-90 и 75 % для мембран NE-70. При доочистке водопроводной воды, прошедшей коагуляционную очистку, использование мембран NE-90 позволяет снизить окисляемость на 70 %, а мембран NE-70 – на 50 %.
Разработка компьютерной программы расчета мембранных установок
Описанные выше результаты легли в основу разработки программы технологического расчета установок нанофильтрации, используемых для питьевого и технического водоснабжения [11, 16].
Новая программа разработана для использования в водоподготовительных установках современных нанофильтрационных мембран производства фирмы SAEHAN CSM (Южная Корея). Программа позволяет в зависимости от состава исходной воды выбрать мембраны, обеспечивающие оптимальный состав воды (фильтрата), соответствующий требованиям СанПиН, а также выбрать оптимальные значения рабочих параметров мембранных установок (величины рабочего давления и выхода фильтрата).
В зависимости от состава исходной воды меняется и скорость образования на мембранах осадков (карбоната кальция, гидроокиси железа, коллоидных и взвешенных веществ, органических веществ). Программа дает прогноз снижения производительности установки с течением времени и изменения показателей качества фильтрата, что позволяет определить продолжительность работы установки до «проскока» нежелательных соединений в фильтрат. В табл. 1 дан пример определения показателей работы нанофильтрационной установки с мембранами марки NE-70.
Таблица 1. Сравнение показателей очистки воды, полученных по программе CSMPRO и в результате испытаний нанофильтрационных мембранных аппаратов NE4040-90.
| Ионы
|
Содержание ионов в фильтрате (Ф) и концентрате (К), мг/л
|
| Исходная вода
|
Расчет по программе CSMPRO
|
Экспериментальные данные
|
| Выход фильтрата 50%
|
Выход фильтрата 75%
|
Выход фильтрата 50%
|
Выход фильтрата 75%
|
| Ф1
|
К1
|
Ф2
|
К2
|
Фэ1
|
Кэ1
|
Фэ2
|
Кэ2
|
| Са2+
|
60
|
0,59
|
11,99
|
0,73
|
242,4
|
8
|
110
|
24
|
168
|
| Mg2+
|
12
|
0,12
|
23,9
|
0,15
|
47,8
|
3,2
|
20,8
|
4,6
|
30
|
| Na+
|
23
|
3,56
|
42,63
|
4,53
|
79,84
|
11,5
|
25,3
|
18,4
|
36,8
|
| Cl–
|
17
|
2,74
|
32,8
|
3,49
|
61,4
|
8,75
|
25
|
12,6
|
43,7
|
| SO4
2–
|
48
|
0,47
|
95,9
|
0,59
|
193,9
|
12,0
|
91,84
|
16,8
|
139,2
|
| HCO3
–
|
244
|
61,88
|
427,8
|
80,12
|
748,4
|
79,3
|
378,2
|
158,6
|
512,4
|
| NH4
–
|
9
|
2,64
|
15,42
|
3,44
|
26,11
|
4,2
|
13,8
|
4,3
|
23
|
| Fe2+
|
0,3
|
0
|
0,6
|
0
|
1,22
|
0,19
|
0,49
|
0,12
|
0,9
|
| F–
|
0,4
|
0
|
0,8
|
0
|
1,62
|
0,05
|
0,75
|
0,16
|
1,29
|
С помощью разработанной программы можно получить технологическую инструкцию по эксплуатации установки (определить время работы до проведения профилактических мероприятий и количество используемых реагентов), а также определить величину эксплуатационных затрат. Пример определения технологических показателей установки нанофильтрации показан на рис. 8. В зависимости от состава исходной воды и выбранного (рекомендуемого) типа мембран, программа рекомендует использование ингибиторов осадкообразования и моющих растворов, а также дозы, расходы реагентов и периодичность промывок. Для установок средней и большой производительности (1 – 100 м3
/ч) используются реагенты фирмы «Траверс» [11], а для компактных малых систем – патроны-дозаторы с сухим ингибитором и «классические» моющие реагенты – лимонная кислота и трилон-Б [17].
Результаты расчетов технологических показателей работы мембранных установок можно эффективно использовать при оценке эксплуатационных затрат для разных случаев их применения, что особенно важно при экономическом сравнении различных технологий.
На рис. 9 показаны примеры оптимизации эксплуатационных затрат (выбора оптимальной величины выхода фильтрата при обработке водопроводной воды и артезианской воды с высокой жесткостью).
Выводы
1. Для прогнозирования состава очищенной воды специально разработана программа, позволяющая в зависимости от величины рабочего давления и выхода фильтрата для воды исходного состава позволяющая прогнозировать ионный состав очищенной воды, а также показатели, как цветность и окисляемость.
2. Важным обстоятельством при использовании нанофильтрации является бóльшая надежность работы мембранных аппаратов с точки зрения «стойкости» к образованию в них осадка карбоната кальция.
3. Использование нанофильтрационных мембран с низкой величиной селективности позволяет уменьшить осадкообразование карбоната кальция и продлить срок безостановочной работы установки.

 

 








Рис 1-9
СПИСОК ЛИТЕРАТУРЫ
1. Первов А.Г., Ефремов Р.В., Андрианов А.П., Макаров Р.И. (2004). Оптимизация использования процесса нанофильтрации при подготовке воды питьевого качества. Критические технологии. Мембраны
, 3 (23), 3-13.
2. Abdul Wahab Mohammad, Mohd Sobri Takriff. (2003). Predicting flux and rejection of multicomponent salts mixture in nanofiltration membranes. Desalination
, 157, 105-111.
3. Thanuttamavong M., Oh J.I., Yamamoto K., Urase T. (2000). Comparison between rejection characteristics of natural organic matters and inorganic salts in ultra low pressure nanofiltration for drinking water production. Proc. of the Conf. on Membranes in Drinking and Industrial Water Production.
Paris, France, 3-6 October 2000. Vol.1, 269-282.
4. Ventresque C. et al. (2000). An outstanding feat of modern technology: the Meru-Sur-Oise Nanofiltration Treatment Plant (340 000 m3
/d). Proc. of the Conf. on Membranes in Drinking and Industrial Water Production.
Paris, 3-6 October 2000. Vol.1, 1-16.
5. Первов А.Г., Андрианов А.П., Козлова Ю.В., Мотовилова Н.Б. (2007). Новые технологии обработки поверхностных вод с применением нанофильтрации. Водоснабжение и сан. техника
, 5, 9-13.
6. Первов А.Г., Андрианов A.П., Спицов Д.В., Кондратьев B.В. (2007). Разработка новых технологий и аппаратов на основе метода нанофильтрации для систем водо- и теплоснабжения городских зданий. Сантехника
, 3, 12-18.
7. Юрчевский Е.Б., Первов А.Г., Андрианов А.П. (2006). Изучение процесса формирования осадков взвешенных, коллоидных, органических и кристаллических веществ на поверхности мембран и пути увеличения срока работы мембранных систем до химической промывки. Энергосбережение и водоподготовка
, 3(41), 3-6.
8. Первов А.Г., Бондаренко В.И. (2005) Установки обратного осмоса в схемах подготовки воды для паровых котлов. Водоснабжение и сан. техника
, №7.
9. Бондаренко В.И., Первов А.Г. (2006) Эколого-экономические аспекты применения мембранных методов в процессах очистки природных вод. Водоснабжение и сан. техника
, 5, 21-24.
10. Первов А.Г., Андрианов А.П., Спицов Д.В. (2007). Новые горизонты применения мембран обратного осмоса и нанофильтрации. Сантехника
, 6, 20-26.
11. Первов А.Г., Рудакова Г.Я. (2007). Программа технологического расчета систем обратного осмоса и нанофильтрации с использованием сервисных реагентов серии АМИНАТ. II конференция «Современные технологии водоподготовки и защиты оборудования от коррозии и накипеобразования»
ГК «Измайлово», Москва, 22 – 24 мая 2007 г. Материалы конференции.
12. Макаров Р.И., Первов А.Г., Андрианов А.П. (2002). Прогноз качества воды, обработанной с помощью нанофильтрационных мембран ОПМН. Критические
технологии
. Мембраны
, 15, 3-9.
13. Pervov Alexei G., Melnikov Andrey G. (1991). The determination of the required foulant removal degree in RO feed pretreatment. IDA world conference on Desalination and Water reuse August 25-29, 1991,
Washington. Pretreatment and fouling.
14. Pervov A.G. (1999). A simplified RO process design based on understanding of fouling mechanisms. Desalination
, 126, 227-247.
15. Первов А.Г., Андрианов А.П., Ефремов Р.В., Козлова Ю.В. (2005). Новые тенденции в разработке современных нанофильтрационных систем для подготовки питьевой воды высокого качества: обзор. Критические технологии. Мембраны
, 1(25), 18-34.
16. Первов А.Г., Ефремов Р.В., Макаров Р.Н. (2004). Разработка компьютерной программы для оптимизации работы установок нанофильтрации при получении качественной питьевой воды. Всероссийская научная конференция «МЕМБРАНЫ-2004»
, 4-8 октября 2004 г., Москва. Тезисы докладов, стр. 37.
17. Первов А.Г. (2003). Разработка нового ингибитора в твердом виде и компактных дозирующих устройств для предотвращения отложений в установках обратного осмоса и системах теплоснабжения. «Современные технологии водоподготовки и защиты оборудования от коррозии и накипеобразования»
. Москва, 25-27 июня 2003 г. Материалы конференции.
|