РОССИЙСКАЯ АКАДЕМИЯ НАУК
Ордена Ленина Институт прикладной математики
им. М. В. Келдыша
М. П. Галанин, А. П. Лотоцкий, А. С. Родин
Математическое моделирование движения лайнера
в продольном сечении магнитного компрессора
Москва – 2009
Аннотация
Работа посвящена моделированию электромагнитного ускорения и торможения лайнера в магнитном компрессоре. Рассмотрено двумерное приближение, соответствующее сечению исходной пространственной области продольной плоскостью. В работе представлены модели, в которых лайнер считается упругим телом, упругопластическим телом и вязкой жидкостью. Приведены результаты расчетов и выполненн сравнительный анализ поведения лайнера для разных моделей. Проведено исследование влияния параметров цепи на процесс торможения лайнера.
M.P. Galanin, A.P. Lototskii, A.S. Rodin
Liner motion in the longitudinal cross-section of magnetic compressor
Abstract
The paper is aimed to the modeling of electromagnetic acceleration and breaking of the liner in magnetic compressor. The 2D approach corresponding to the longitudinal cross-section of spatial region. Liquid, elastic, and plastic models of the liner are presented. The calculation results are given and comparative analyze of different models is carried out. The research of the influence of circuit parameters on liner breaking is done.
Содержание
1. Введение и постановка задачи 3
2. Физическая модель 4
3. Математическая модель 6
4. Численная модель 14
5. Физические параметры 14
6. Экспериментальные результаты 15
7. Результаты расчетов 16
8. Заключение 29
Список литературы 31
1. Введение и постановка задачи
Установка «МОЛ» («Магнитное обжатие лайнеров») предназначена для исследования работы всех ступеней модуля установки «Байкал» и генерации электрического импульса мегаджоульного уровня. Для установки «МОЛ» [1] разработан макет усилительного каскада мощности (магнитный компрессор – МК), работа которого основана на сжатии магнитного потока лайнером, ускоренным электродинамическими силами до скорости 1 км/с. Элементы устройства показаны на рис. 1.1А. Топологическая схема магнитных полей и протекающих токов в МК приведена на рис. 1.1Б.
| А
|
Б
|
| Рис. 1.1. Эскиз основных деталей генератора тока и продольное сечение собранного устройства: А - ускоряемая плоская лента с натяжным устройством и виток идуктора магнитного поля; Б - поперечное сечение генератора в собранном виде, указано направление протекания токов, направление ускорения и конфигурация ускоряющего магнитного поля.
Забиваем Сайты В ТОП КУВАЛДОЙ - Уникальные возможности от SeoHammer
Каждая ссылка анализируется по трем пакетам оценки: SEO, Трафик и SMM.
SeoHammer делает продвижение сайта прозрачным и простым занятием.
Ссылки, вечные ссылки, статьи, упоминания, пресс-релизы - используйте по максимуму потенциал SeoHammer для продвижения вашего сайта.
Что умеет делать SeoHammer
— Продвижение в один клик, интеллектуальный подбор запросов, покупка самых лучших ссылок с высокой степенью качества у лучших бирж ссылок.
— Регулярная проверка качества ссылок по более чем 100 показателям и ежедневный пересчет показателей качества проекта.
— Все известные форматы ссылок: арендные ссылки, вечные ссылки, публикации (упоминания, мнения, отзывы, статьи, пресс-релизы).
— SeoHammer покажет, где рост или падение, а также запросы, на которые нужно обратить внимание.
SeoHammer еще предоставляет технологию Буст, она ускоряет продвижение в десятки раз,
а первые результаты появляются уже в течение первых 7 дней.
Зарегистрироваться и Начать продвижение
|
В отличие от генератора магнитного поля, в котором рабочая зона сжатия магнитного потока размещена непосредственно внутри разгоняемой оболочки, в МК для вывода тока на внешнюю нагрузку к лайнеру необходимо подключить неподвижные токовые шины. Это обусловило выбор двойной полосковой линии со сходящимися пластинами лайнера в качестве ускорителя (показано на рис. 1.1). Отметим очевидную простоту изготовления лайнера и возможность его точной установки с помощью торцевого натяжного устройства. Конструкция контактных площадок на торцах обеспечивает в определенном заданном положении ленты лайнера его контакты с неподвижными токоподводами, однако ставит задачу предотвращения обрыва ленты (и токовой цепи лайнера) при ее удлинении в процессе ускорения.
Перед проектированием и созданием полномасштабного усилителя мощности МК установки МОЛ необходимо иметь представление о масштабе вероятных неоднородностей, возникающих при разгоне и торможении плоского лайнера с конечными размерами в магнитном поле. Это и явилось причиной создания экспериментального макета МК, показанного на рис.1.1, постановки задач математического и численного моделирования динамики разгона пластин, возникающих при разгоне неустойчивостей движения и других процессов, сопутствующих ускорению.
Режим компрессии магнитного поля предъявляет особые требования к строгой геометрической форме зазора между пластинами в момент сжатия магнитного поля. Для короткого генерируемого импульса отдача кинетической энергии тонкого лайнера должна проводиться одновременно по всей его плоскости. Искажение плоской формы приводит к неодновременному процессу торможения различных участков пластин и растягиванию выходного электрического импульса во времени.
Особый интерес представляет поведение ленты лайнера вблизи неподвижных токопроводов. Когда лайнер ложится на призмы, расположенные в торцевых частях устройства, неизбежно возникают возмущения, распространяющиеся по плоской ленте в направлении ее средней части. Физика макроскопического течения пластической ленты ранее была рассмотрена в [3], где был объяснен факт экспериментально наблюдаемой параллельности встречно движущихся лент. Однако для максимальной эффективности сжатия магнитного потока в момент вывода импульса энергии на нагрузку желательно, чтобы амплитуда деформации пластины не превышала ее толщины.
Сервис онлайн-записи на собственном Telegram-боте
Попробуйте сервис онлайн-записи VisitTime на основе вашего собственного Telegram-бота:
— Разгрузит мастера, специалиста или компанию;
— Позволит гибко управлять расписанием и загрузкой;
— Разошлет оповещения о новых услугах или акциях;
— Позволит принять оплату на карту/кошелек/счет;
— Позволит записываться на групповые и персональные посещения;
— Поможет получить от клиента отзывы о визите к вам;
— Включает в себя сервис чаевых.
Для новых пользователей первый месяц бесплатно.
Зарегистрироваться в сервисе
Анализу указанных вопросов и посвящена настоящая работа, к моменту написания которой уже накоплен значительный объем данных.
Работа выполнена при частичной финансовой поддержке РФФИ (проект № 09-01-00151).
2. Физическая модель
На рис. 2.1 приведено сечение МК плоскостью y = const. Показано присоединение соответствующих электрических цепей индуктора и лайнера, которые могут коммутировать между собой. Здесь и далее лайнер, индуктор и относящиеся к ним элементы и величины помечены соответствующими индексами A и B.
В начальный момент времени конденсатор СВ
в цепи индуктора заряжен до некоторого начального напряжения. После замыкания цепи ключом КВ
по индуктору (и лайнеру) начинает течь разрядный ток. Созданное им в зазоре ускорителя магнитное поле взаимодействует с протекающим по лайнеру током, ускоряя лайнер вдоль оси х. В процессе ускорения лента лайнера ложится на наклонную поверхность призм (см. рис. 2.1), расположенных в торцевых частях компрессора. Левая призма сделана из проводящего материала, а правая - из непроводящего. Призмы использованы для ограничения деформации ленты и предотвращения ее обрыва. Для замыкания цепи лайнера на правой призме, соответствующей «открытому» концу витка лайнера (см. рис. 2.1) установлена металлическая проводящая закоротка. Размер закоротки взят меньшим, чем расстояние между пластинами, так что лента лайнера, ложась на призму, достигает проводника и происходит замыкание цепи лайнера. Схемотехнически это соответствует включению коммутатора тока КА
. Соответствующий ток протекает по пластине и создает внутри полости лайнера дополнительное магнитное поле. Ускорившись, лайнер сжимает это поле, которое окончательно и выводится из системы в виде импульса тока во внешней цепи лайнера. В отличие от работ [4-6], рассматривающих динамику поперечного сечения лайнера, здесь мы вынуждены ввести дополнительный источник энергии (заряженную емкость СА
), генерирующий внутренний магнитный поток, сжимаемый лайнером. Эта искусственно введенная особенность задачи возникает из-за условной бесконечности ленты в направлении, перпендикулярном относительно X и Z координат.

Рис. 2.1. Характерная схема сечения плоскостью y = const пространственной области, в которой решается задача (в рамке) и электротехнические цепи устройства.
В связи со сложностью изучаемых процессов принято решение о построения различных двумерных моделей. Модель, соответствующую сечению исходной пространственной области плоскостью z = const, в дальнейшем будем называть «поперечной» моделью. Она подробно описана в работах [4-6]. При построении поперечной модели считается, что продольные возмущения, распространяющиеся по ленте невелики, и исследуются поперечные деформации пластины.
В данной работе рассмотрено сечение исходной области плоскостью y = const. Соответствующую модель будем называть «продольной». В «продольной» модели не учитываются поперечные деформации лайнера, зато она позволяет моделировать поведение пластины вблизи призм.
Индуктор и призмы предполагаются неподвижными, т.е. сила реакции крепежа соответствует действующей на них силе Лоренца и компенсирует ее. Их форма также является неизменной. Материал индуктора является проводником.
В работах [7-8] лайнер рассмотрен в рамках модели термоупругого тела. В данной работе он также рассматривается с использованием моделей упругопластического тела и вязкой несжимаемой жидкости. Однако собственно удар ленты по поверхности призмы и возможное отражение (упругий отскок) не рассматриваются в данной постановке.
3. Математическая модель
Так как сечение, приведенное на рис. 2.1, имеет ось симметрии, то в качестве расчетной области выбрана половина сечения, изображенная на рис. 2.2.
Рис. 2.2. Расчетная область и обозначения границ.
Задача рассматривается в пространственно двумерном приближении. Все величины считаются зависящими только от координат x и z. В уравнениях производные по y отсутствуют. Это означает формально бесконечную протяженность ускорительной системы в данном направлении. При этом в модели учитывается «эффективная» ширина системы в y – направлении, в значительной степени определяющая процесс перекачки энергии из внешней электрической цепи в кинетическую энергию лайнера.
Векторные переменные имеют следующий вид: , , , то есть векторы скорости, напряженности электрического поля и плотности тока лежат в плоскости рис. 2.2, а вектор напряженности магнитного поля направлен перпендикулярно плоскости рис. 2.2.
3.1. Электродинамическая часть
Электродинамическая часть модели основана на системе уравнений Максвелла в квазистационарном приближении (см. [9, 14])
(3.1)

Здесь - электропроводность, и - напряженности электрического и магнитного полей, - плотность тока, - вектор скорости движения лайнера.
В используемом приближении можно выразить напряженность магнитного поля в диэлектрике через значения полных токов, которые протекают через проводники. Суперпозиция магнитного поля, созданного током , текущим по индуктору, и поля, созданного током ( ), текущим по лайнеру, дает следующий результат:
. (3.2)
Подобласти I, II, III, IV, V показаны на рис. 2.2.
Из системы (3.1) можно получить следующее уравнение для напряженности магнитного поля в проводниках (более подробно см. [7]):
.
Граничными условиями являются либо условия непрерывности Н при переходе от диэлектрика к проводнику, либо равенство нулю нормальной производной на торцах проводника (обозначения границ, приведены на рис. 2.2):

- на границах лайнера,

- на границах призм,
- на общей части границ лайнера и призм,
- на границах индуктора.
Поставлено нулевое начальное условие:

Параметры внешних электрических цепей предполагаются сосредоточенными, так что для описания цепей можно применять уравнения Кирхгоффа [14]. Они являются следствием интегрирования первого уравнения (3.1) по плоскости и контуру данных цепей. После применения формулы Стокса в уравнениях появятся интегралы по границе области. В итоге уравнения для внешней электрической цепи индуктора имеют следующий вид (более подробно см. [7]):


(3.4)
Второе уравнение (3.4) получается из первого, если выразить интеграл по границе диэлектрика через интегралы по границам проводников с помощью первого уравнения (3.1). Коэффициент 2 появился вследствие учета симметрии области.
Аналогичные уравнения для цепи лайнера ( и - площади соответствующих областей, и - их границы) записываются в виде:
(3.5)
.
В уравнениях (3.4)-(3.5) L
, R
, C
- индуктивность, сопротивление и емкость в цепи соответственно, I
и U
– сила тока в цепи и напряжение на обкладках конденсатора (А – в цепи лайнера, В – индуктора).
Задача замыкается выбранными начальными значениями для токов и напряжений.
3.2 Математическая модель термоупругого тела
Данная модель основана на представлении материала лайнера в виде изотропного сжимаемого термоупругого твердого тела ([5, 13]). Введены следующие обозначения: и – текущая и начальная плотность материала лайнера, и – эйлеровые и лагранжевые (используется общая лагранжева система координат) переменные, – компоненты вектора перемещения ( = 1, 2, 3 в общем случае, в данном – до 2: , ). Уравнения движения записаны в лагранжевых переменных:
(3.6)
где - сила Лоренца, действующая на тело, - тензор напряжений Лагранжа. Для линейно-упругой среды он задается следующим выражением (более подробно см. [12]):
(3.7)
где λ и μ – коэффициенты Ламе, β = (3 λ + 2 μ) , - коэффициент линейного теплового расширения.
Тензор деформации и два его первых инварианта имеют вид:

Здесь использовано правило суммирования по повторяющимся индексам.
Так как в процессе движения возникают значительные деформации лайнера, то в тензоре деформации учтены квадратичные слагаемые.
Соответствующее уравнение энергии записано в виде уравнения теплопроводности (см. [5]):
где – удельная массовая теплоемкость при постоянной деформации, - коэффициент теплопроводности, - мощность тепловыделения.
3.3 Математическая модель «жидкого» лайнера
В работах [5-6] для поперечной модели использован подход, в котором лайнер рассмотрен в рамках представлений о вязкой жидкости. Теперь данный подход применен и для продольной модели.
Для описания движения вязкой несжимаемой жидкости взята система уравнений Навье – Стокса (в эйлеровых координатах):
(3.8)
Здесь p – гидродинамическое давление, η = ρ ν – коэффициент динамической вязкости, ν – коэффициент кинематической вязкости, - сила Лоренца.
Уравнение теплопроводности для данной модели принимает следующий вид:
.
Здесь – мощность выделения энергии, включающая в себя джоулево тепло и источник тепла за счет вязкости.
3
.
3
Математическая модель упругопластического тела
Подходы, в которых лайнер рассматривается как упругое тело или как вязкая жидкость являются приближенными и не могут претендовать на физическую достоверность в силу того, что лента сделана из алюминия и нагрузки, испытываемые лайнером, заметно превышают предел текучести данного материала. Поэтому рассмотрен третий подход, в котором материал лайнера считается упругопластическим, для которого используется кривая деформирования, полученная в результате эксперимента.
В [4] проведен анализ течения лайнера в зоне неподвижных токопроводов (призм) и сделан вывод, что все растяжение ленты сосредоточено вблизи точек закрепления. Тем самым в лайнере возникают большие пластические деформации. Все дальнейшие рассуждения в данном параграфе основаны на теории больших упругопластических деформаций, описанной в [11].
Уравнения движения лайнера в приближении упругопластического материала имеют следующий вид (см. [9, 11]):
. (3.9)
В отличие от (3.6) уравнения (3.9) записаны относительно текущей лагранжевой системы координат ( - текущие лагранжевы координаты). В [11] такой подход назван UL (updated Lagrangian) подходом. Так как в каждый фиксированный момент времени UL- координаты совпадают с эйлеровыми координатами , разница между UL- и эйлеровыми подходами проявляется в использовании разных определений скоростей величин: при UL-подходе рассматриваются материальные производные, а при эйлеровом – локальные производные.
В (3.9) - второй тензор напряжений Пиолы-Кирхгоффа (тензор условных напряжений). Он связан с тензором истинных напряжений Коши и с тензором напряжений Лагранжа , использованном в (3.6), следующими выражениями:
,
,
где - якобиан соответствующего преобразования координат.
Выбранная модель больших упругопластических деформаций основана на следующих предположениях (см. [9, 11]).
1) Тензор скорости деформаций (с компонентами ) можно представить в виде суммы упругой и пластической составляющих:
.
2) Определяющее соотношение упругопластического тела имеет следующий вид:
, (3.10)
где - производная Хилла тензора напряжений Коши, - тензор коэффициентов жесткости для изотропного тела, знак «:» означает двойную сумму по повторяющимся индексам тензоров в индексной форме записи данного выражения.
В отличие от определяющего соотношения термоупругого тела (3.7), в котором тензор напряжений непосредственно связан с тензором деформаций, в (3.10) задана связь производных соответствующих тензоров.
3) Пластическая составляющая тензора скоростей деформаций определяется по ассоциативному закону пластического течения:
,
где - некоторая неизвестная функция (в расчетах использован метод дополнительных деформаций, не требующий нахождения в явном виде), - функция текучести, - вектор в пространстве компонент девиатора тензора напряжений, направленный по нормали к поверхности текучести.
Считаем, что материал лайнера обладает изотропным упрочнением. Поэтому в качестве функции текучести выбрана следующая функция:
,
где - второй инвариант девиатора тензора напряжений ( ), - параметр упрочнения, характеризующий величину накопленных пластических деформации, - предел текучести материала.
На текущем этапе данная модель не включает в себя эффекты, связанные с изменением температуры.
3.5 Постановка граничных условий для лайнера
В качестве граничных условий на поверхности лайнера выбрано условие свободной границы. В различных моделях оно имеет следующий вид:

- для термоупругого тела ( - нормаль в общей лагранжевой системе координат);

- для вязкой жидкости ( - тензор вязких напряжений, включающий в себя давление, - нормаль в эйлеровой системе координат);

- для упругопластического тела ( - нормаль в текущей лагранжевой системе координат).
На границе лента зафиксирована: , а на границе , учитывая, что рассматривается половина симметричной области, поставлено условие (в обоих случаях граничным условием для второй компоненты скорости является условие свободной границы).
Наибольшую сложность представляет моделирование контакта ленты лайнера с призмами (призмы считаются абсолютно твердыми телами, поэтому взаимного проникновения материалов происходить не может).
В данной работе рассмотрено 2 варианта контактных условий:
1) в точках контакта лайнера с призмами поставлено условие прилипания:
.
2) в точках контакта лайнер движется по призме и это движение задается законом трения Кулона (см. [11]):
,
где
- распределенные контактные нормальные силы (они могут быть только сжимающими),
- распределенные контактные касательные силы, - касательный вектор к поверхности контакта, - вектор контактных сил (поверхностных сил в точке контакта), - динамический коэффициент трения.
В обоих вариантах не рассматривается отрыв ленты от призмы: если данная точка лайнера вступила в контакт с призмой, то она остается контактирующей до конца расчета.
4. Численная модель
Для решения задачи использован метод конечных элементов с элементами первого порядка. Предварительно проведена триангуляция области. Так как напряженность магнитного поля в диэлектрике выражается через токи, то сетки вводятся только в проводниках: индукторе, лайнере и в проводящих частях призм. Сетки построены с помощью программы Gridder2D (более подробные сведения о данном программном комплексе изложены в [12]). Поскольку лайнер движется, то точки соответствующей сетки двигаются вместе с веществом.
Численная модель для электродинамической части и для термоупругого тела описана в работах [7-8], модель для упругопластического тела разобрана в [9].
В численной модели вязкой жидкости дискретные аналоги уравнений Навье-Стокса (3.10) рассматриваются как одно матричное уравнение относительно трехкомпонентного вектора неизвестных (две компоненты скорости и давление). При таком подходе не возникает необходимости в формулировке отдельной краевой задачи для давления. Сначала аналогично с другими моделями использовались конечные элементы первого порядка, при этом давление аппроксимировалось функцией кусочно-постоянной в пределах сеточного треугольника. Такой подход в ряде расчетов приводит к получению некорректных значений давления, поэтому реализована модель с использованием конечных элементов второго порядка.
Для реализации кинематических условий в точках контакта использован метод штрафных функций (см. [11]). Для выполнения условий непрерывности магнитного поля в точках контакта лайнера и проводящей части призмы проводилась локальная перестройка сетки в призме.
Процесс нахождения решения задачи на каждом временном слое состоит из последовательного выполнения итерационных циклов для группы электродинамических уравнений, группы уравнений, описывающих движение лайнера, и уравнения теплопроводности. Кроме того, проводится цикл внешних итераций (для всей системы), по результатам которого и происходит переход на следующий временной слой.
5. Физические параметры
Приведем в безразмерном виде физические параметры задачи, которые являются общими для всех вариантов расчетов.
Начальная температура T = 1.45. Начальная скорость лайнера равна нулю. Размеры конструкции в соответствии с рис. 2.2 (для одной второй части): высота индуктора равна 1.5, его длина – 6, высота лайнера равна 0.02, расстояние между лайнером и индуктором по высоте в начальный момент времени равно 0.02. Радиус цилиндрической части опоры равен 0.94, толщина призмы 0.02. Угол наклона призм составляет 450
.
При расчете электромагнитных полей считается, что на расстоянии 0.5 от краев лайнера или индуктора (в начальный момент времени) находится идеально проводящий экран (в характере его электропроводности возможны варианты).
Параметры материала индуктора взяты равными соответствующим величинам стали: плотность ρ = 1.95, теплоемкость cv
= 9.21, теплопроводность κ = 1.998 10-5
, электропроводность σ = 52.9 при 00
C.
Параметры материала лайнера взяты равными соответствующим величинам алюминия: плотность ρ = 0.63525, теплоемкость cv
= 18.037, теплопроводность κ = 1.035 10-4
, электропроводность σ = 40.66 при 00
C, модуль Юнга = 1762.58, коэффициент Пуассона νp
= 0.301. Для модели с «жидким» лайнером выбрана вязкость =0.1. Для упругопластического лайнера взят предел текучести = 0.9.
Для обоих материалов электропроводность взята в виде функции температуры вида σ = σs
/ (1 + ασ
T) c соответствующими параметрами из [15].
Параметры электрической цепи индуктора составили: индуктивность LB
= 20.0, емкость СB
= 3.1 10–5
, сопротивление RB
= 120.
Начальное напряжение на обкладках конденсатора взято равным 2000.0, начальный ток – нулевой.
Параметры электрической цепи лайнера составили: индуктивность = 0.25, емкость = 1000, сопротивление = 10-5
.
Начальный ток в цепи лайнера равен нулю, а начальное напряжение на обкладках конденсатора равно -10.
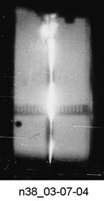
6. Экспериментальные результаты
Поскольку процесс ускорения лайнера занимает короткий промежуток времени (порядка сотни микросекунд), а в результате торможения большая часть ленты превращается в порошок, то имеющийся объем экспериментальных данных достаточно ограничен. Одними из наиболее важных экспериментальных результатов являются фотографии теневой съемки лайнера в процессе его движения. Приведенные на рис. 6.1 фотографии показывают, что профиль лайнера вплоть до момента сжатия магнитного потока остается относительно тонким и основная часть ленты не претерпевает продольного изиба, совершая по сути плоскопараллельное движение.
|
|
|
|
|
| 119 мкс
|
127 мкс
|
134 мкс
|
137 мкс
|
Рис.6.1. Кадры теневой киносъемки лайнера, разогнанного до V = 1 км/с.
Анализируя результаты, полученные при использовании разных моделей для описания лайнера, нужно сопоставлять поведение пластины с этими экспериментальными данными.
7. Результаты расчетов
Для решения поставленной задачи создан программный комплекс, состоящий из нескольких программ.
Ниже в безразмерном виде представлены результаты расчетов нескольких различных вариантов задачи. Приведена графическая информация о решении, позволяющая судить о его качественных и количественных характеристиках.
7.1 Вариант 1
В данном варианте материал обеих призм считается диэлектриком, на правой призме не установлена проводящая закоротка и поэтому цепь лайнера не замыкается. Аналогично расчетам в работах [7-8] в качестве расчетной области взята одна четверть всего продольного сечения. Сетка строится только в проводниках: лайнере и индукторе. В качестве условий контакта выбрано условие прилипания лайнера к призме. Длина ускоряемого лайнера по направлению y – ly
= 3.0.
При описанных выше условиях в [8] получены картины движения лайнера в приближении упругого тела, приведенные на рис. 5.1
| 
t=0.0616
|

t=0.1176
|
| 
t=0.1705
|

t=0.2106
|
| Рис. 7.1. Положение упругого лайнера в разные моменты времени
(оттенками серого показана скорость по оси х)
|
В данном расчете лайнер не долетает до нижней границы расчетной области (т.е. до столкновения со второй лентой), а начинает двигаться вверх (2 нижних рисунка). При этом по нему распространяются упругие волны возмущения. Лента ложится только на вершину призмы, а в процессе дальнейшего движения новых контактов лайнера и призмы не происходит. Сравнение рисунков 6.1 и 7.1 показывает, что приближение лайнера упругим телом не описывает реального поведения ускоряемого тела. Более того, торможение лайнера и его последующее движение вверх вызвано силами упругости, а не действием сжимаемого магнитного поля.
В расчетах, сделанных для «жидкого» лайнера, часть ленты ложится на призму, а оставшаяся часть совершает плоскопараллельное движение, как это и наблюдалось в эксперименте. На рис. 7.2 приведены соответствующие положения лайнера в два момента времени.
| 
t=0.0535
|

t=0.1335
|
| Рис. 7.2. Лайнер – вязкая жидкость. Положение лайнера в разные моменты времени (оттенками серого показана скорость по оси х)
|
В целях исследования роли материала, из которого сделан лайнер, проведена серия расчетов для пластического лайнера с различными модификациями кривой деформирования.
На рис. 7.3 схематично изображены выбранные кривые деформирования. Кривая 1 подобна экспериментальным данным, полученным для используемого материала лайнера (АД-0, кривая нагружения и деформации получена на разрывной машине в лаборатории МИФИ). Данная кривая имеет два характерных значения: предел текучести = 0.9 (при бóльших напряжениях в теле образуются пластические деформации) и максимально допустимое для данного материала значение нагрузки = 1.875. Для максимального напряжения кривая имеет вид полочки: при практически неизменной нагрузке происходит активный рост пластических деформаций, пока деформации не достигают критического значения, после чего происходит разрушение материала.

Рис. 7.3. Модификации кривой деформирования
Кривые 2 и 3 получаются из кривой 1 путем увеличения предела текучести материала в 20 и 40 раз, при неизменном значении модуля Юнга. Таким образом получается «линейка» моделей, описывающих переход от пластического к упругому телу.
На рис. 7.4-7.6 показаны положения лайнера с кривыми деформирования 1-3 во время движения.
| 
t=0.0925
|

t=0.1245
|
| Рис. 7.4. Лайнер – упругопластическое тело (кривая 1). Положение лайнера в разные моменты времени (оттенками серого показана скорость по оси х)
|
| 
t=0.0925
|

t=0.1325
|
| Рис. 7.5. Лайнер – упругопластическое тело (кривая 2). Положение лайнера в разные моменты времени (оттенками серого показана скорость по оси х)
|
| 
t=0.0925
|

t=0.1325
|
| Рис. 7.6. Лайнер – упругопластическое тело (кривая 3). Положение лайнера в разные моменты времени (оттенками серого показана скорость по оси х)
|
Как видно из приведенных рисунков, упругопластический лайнер ведет себя так же, как жидкий лайнер: центральная часть пластины не претерпевает значительных продольных изгибов. Но на рис. 7.5-7.6, соответствующим более упругим материалам, по центральной части бегут небольшие упругие волны (они более отчетливо видны на рис. 7.9 и 7.11).
На рис. 7.7-7.8 приведены данные, характеризующие напряженно-деформированное состояние в лайнере во время движения: распределение интенсивности девиатора напряжений , предел текучести и интенсивность девиатора пластических деформаций .
| 
t=0.0925
|

t=0.1245
|
| Рис. 7.7. Распределение интенсивности девиатора напряжений (кривая 1).
|
| 
А
|

Б
|
| Рис. 7.8. А - распределение предела текучести, Б - распределение интенсивности тензора пластических деформаций (кривая 1), t=0.1245.
|
Распределение показывает, что, как и было предсказано в [4], максимальные напряжения в ленте сосредоточены вблизи движущейся границы контакта лайнера и призмы. На рис. 7.8.А показано распределение предела текучести материала в конце движения, т.е наибольшие значения за все время расчета. Легко заметить, что на участке ленты, растянутом по призме, достигнуто максимально возможное для данного материала значение напряжений . Именно в этих областях происходит максимальное деформирование лайнера, наибольшее значение 0.95 (см. рис. 7.8Б). На других участках ленты напряжения не превышали начальный предел текучести и пластических деформаций там не образовалось.
Аналогичные данные для материалов с кривыми деформирования 2-3 приведены на рис. 7.9-7.12.
| 
t=0.0925
|

t=0.1345
|
| Рис. 7.9. Распределение интенсивности девиатора напряжений (кривая 2).
|
| А
|
Б
|
| Рис. 7.10. А - распределение предела текучести, Б - распределение интенсивности тензора пластических деформаций (кривая 2), t=0.1325
|
Для кривой 2 = 18, = 37.5. Рис. 7.10.А показывает, что во время движения напряжения не достигали максимально допустимого для данного материала значения . Поэтому пластические деформации в теле меньше, чем для исходного материала (наибольшее значение 0.75).
| 
t=0.0925
|

t=0.1325
|
| Рис. 7.11. Распределение интенсивности девиатора напряжений (кривая 3).
|
| 
А
|

Б
|
| Рис. 7.12. А - распределение предела текучести, Б - распределение интенсивности тензора пластических деформаций (кривая 3), t=0.1325
|
Для кривой 3 = 36, = 75. Рис. 7.12.А показывает, что во время движения напряжения также не достигали значения , а полученные пластические деформации в теле еще меньше, чем для кривой 2 (наибольшее значение 0.65).
Таким образом, расчеты подтверждают интуитивно понятное заключение: последовательное увеличение предела текучести (при неизменном значении модуля Юнга) приводит к уменьшению пластических деформаций и увеличивает роль упругих деформаций.
На рис. 7.13 представлены графики зависимости от времени скорости центра масс лайнера для расчетов с жидким телом и пластическим телом с кривыми деформирования 1-3. Из рисунка видно, что графики похожи друг на друга, но при этом имеют следующие количественные отличия: жидкий лайнер движется быстрее пластического, при использовании кривой деформирования, задающей более упругий материал, скорость центра масс в конце движения уменьшается (по модулю) быстрее, чем для исходного материала.

Рис. 7.13. Зависимость от времени координаты центра масс для различных расчетов
7.2 Вариант 2
Данный вариант полностью аналогичен предыдущему, но в качестве условий контакта выбрано движение по закону трения Кулона с коэффициентом трения = 0.1 (это значение характерно для металлов). Проведены два расчета для пластического лайнера с кривыми деформирования 1 и 2.
| 
Vx : t=0.0445
|

: t=0.0445
|
| 
Vx : t=0.06
|

: t=0.06
|
| 
Vx : t=0.0850
|

: t=0.0850
|
| 
Vx : t=0.1005
|

: t=0.1005
|
| Рис. 7.14. Распределение скорости (Vx) и интенсивности тензора пластических деформаций ( ) в разные моменты времени (кривая 1).
|
На рис. 7.14 показаны распределения скорости и интенсивности тензора пластических деформаций в лайнере на разные моменты времени. Общий характер движения ленты аналогичен рассмотренному выше, поэтому на рисунке показана не вся расчетная область, а только часть лайнера, контактирующая с призмой. Легко заметить, что при скольжении ленты лайнера по призме ее верхняя часть значительно растягивается, так как она движется с меньшей скоростью, чем участок ленты, примыкающий к границе контакта. В верхней части ленты образуются большие пластические деформации, превышающие аналогичные деформации при движении лайнера с условием прилипания к призме (см. рис. 7.8). Расчет был остановлен в момент времени t=0.1005, так как стало ясно, что при подобном движении происходит разрыв ленты.
На рис. 7.15 показаны аналогичные результаты для лайнера с кривой деформирования 2. Как можно видеть из рисунка, более упругий материал ведет себя следующим образом: верхняя часть ленты движется по призме медленнее, чем часть ленты, расположенная ближе к границе контакта, и в какой-то момент времени в ленте начинает образовываться характерная шейка, в которой сконцентрированы максимальные пластические деформации, почти в 2 раза превышающие деформации при движении с прилипанием (см. рис. 7.10).
| 
Vx : t=0.0445
|

: t=0.0445
|
| 
Vx : t=0.0765
|

: t=0.0765
|
| 
Vx : t=0.1005
|

: t=0.1005
|
| 
Vx : t=0.1335
|

: t=0.1335
|
| Рис. 7.15. Распределение скорости (Vx) и интенсивности тензора пластических деформаций ( ) в разные моменты времени (кривая 2).
|
На основании приведенных выше результатов можно сделать вывод, что режим движения лайнера, при котором лента скользит по призме, является более опасным по критерию достижения критических деформаций и разрыва ленты, чем режим с прилипанием.
7.3 Вариант 3
В данном варианте расчетная область соответствует рис. 2.2, левая призма является проводником, а на правой призме располагается проводящая подставка (ее высота составляет половину высоты призмы). Цепь лайнера замыкается, когда лента, ложащаяся на призму, достигает проводящей подставки. На основании анализа результатов, полученных в предыдущих вариантах, в данном варианте расчеты проводились для пластического лайнера с экспериментальной кривой деформирования (кривой 1) с условием прилипания ленты к призмам.
В первом расчете параметры электрической цепи лайнера составили: индуктивность = 0.25, начальный ток = 0, а начальное напряжение =-10.
На рис. 7.16 показано движение ленты лайнера в разные моменты времени.
| 
t=0.0935
|
| 
t=0.1311
|
| Рис. 7.16. Лайнер – упругопластическое тело (кривая 1). Положение лайнера в разные моменты времени (оттенками серого показана скорость по оси х)
|
На рис. 7.17 представлены графики сосредоточенной информации о расчете, характеризующие процесс в целом. Это, соответственно (слева направо и сверху вниз), зависимости от времени скорости центра масс лайнера, полной ускоряющей силы, полного тока в цепи индуктора и в цепи лайнера.
| 
|

|
| 
|

|
| Рис 7.17. Скорость центра масс, интегральная сила Лоренца, сила тока в цепи индуктора и в цепи лайнера
|
При выбранных параметрах замыкание цепи лайнера происходит в момент времени t=0.0866, но ток в цепи достигает небольших (по сравнению с током в цепи индуктора) значений (см. 7.17). Характерной особенностью продольной модели (см. [6-7]) является то обстоятельство, что магнитное поле в диэлектрических подобластях полностью определяется токами во внешних цепях. Лайнер начнет тормозиться сжимаемым им магнитным полем только тогда, когда значение тока в цепи лайнера превысит значение тока в цепи индуктора. Поэтому в данном расчете торможения ленты не произошло и она достигла нижней границы расчетной области.
На самом деле в эксперименте и в расчетах для поперечной модели создаваемое магнитное поле может огибать лайнер и свободно проникать из области I в область II. Как отмечено в [3], для торможения ленты используется захват потока магнитного поля из контура ускорения. В продольной модели, чтобы магнитное поле проникло в область II, оно должно продиффундировать сквозь ленту. Этим и объясняется столь небольшие значения тока в цепи лайнера.
Тем не менее продольная модель позволяет описать торможение лайнера магнитным полем. Для этого нужно искусственно создать в области II достаточно сильное поле, которое лайнер и будет сжимать в процессе движения. Чтобы продемонстрировать этот факт, проведена серия расчетов с различными параметрами цепи лайнера.
| А
|
Б
|
| Рис. 7.18. А: сила тока в цепи лайнера, Б – сжимаемый магнитный поток. Расчеты с постоянным и разными 
|
На рис. 7.18 приведены графики зависимости от времени и сжимаемого магнитного потока при фиксированном значении индуктивности =0.25 для трех расчетов, в которых конденсатор в цепи лайнера в момент замыкания заряжен до значений =-10, -100 и -1000.
| 
=-100: t=0.1395
|
| 
=-1000: t=0.1130
|
| Рис. 7.19. Лайнер – упругопластическое тело (кривая 1). Положения лайнера на момент прекращения расчетов с =-100, -1000
(оттенками серого показана скорость по оси х)
|
Во втором и в третьем расчетах сила тока в цепи лайнера превышает силу тока в цепи индуктора и давление сжимаемого магнитного поля полностью тормозило лайнер, после чего работа программы была остановлена (см. рис. 7.19).
| А
|
Б
|
| Рис. 7.20. А - скорость центра масс лайнера, Б –интегральная сила Лоренца.
Расчеты с постоянным и разными .
|
Столь большая разница в значении магнитных потоков на рис. 7.18.Б объясняется различием не только значением токов , но и площадей . На рис. 7.19 видно, что в момент торможения площадь между лентами для расчета с гораздо больше аналогичной площади для расчета с .
На рис. 7.20 приведены графики скорости центра масс и интегральной силы Лоренца для расчетов с . При сравнении соответствующих графиков легко заметить, что чем больше начальное напряжение на обкладках конденсатора, тем больше ток в цепи лайнера и давление магнитного поля в области II, тем меньшее время требуется для торможения ленты.
На рис. 7.21 приведены аналогичные рис. 7.18 графики для трех расчетов, в которых фиксировано значение начального напряжения конденсатора в цепи лайнера =-100, а индуктивность принимает следующие значения =0.25, 2.5, 20.
Графики показывают, что чем больше индуктивность, тем меньше сила тока в цепи лайнера и сжимаемый магнитный поток.
| А
|
Б
|
| Рис. 7.21. А: сила тока в цепи лайнера, Б – сжимаемый магнитный
поток.
Расчеты с одинаковым и разными .
|
Таким образом, регулируя параметры в цепи лайнера, можно получить нужные значения силы тока и время торможения ленты.
8. Заключение
В работе описан процесс электродинамического ускорения и торможения пластинчатого металлического лайнера в устройстве обострения мощности. Рассмотрено двумерное приближение, соответствующее продольному сечению исходной области. Кратко представлены физические и математические модели, в которых лайнер рассмотрен как упругое и упругопластическое тело, а также как вязкая несжимаемая жидкость. Эти модели более подробно описаны в работах [5-9]. Расчетная область включает в себя призму, расположенную в торце компрессора. Использованные модели описывают контакт ленты с поверхностью призмы, который может служить источником неоднородностей во время работы устройства.
Одной из главных задач данной работы являлось сопоставление рассчитанных результатов с результатами эксперимента, а также изучение и сравнение движения и поведения различных моделей лайнера (сред). Проведенный анализ позволяет сделать следующие выводы:
- поведение жидкого и пластического лайнеров соответствует фотографиям теневой съемки лайнера в процессе его движения, приведенным на рис. 6.1. Лента лайнера ложится на поверхность призмы, при этом центральная часть ленты совершает плоскопараллельное движение и не претерпевает больших продольных изгибов. При качественном сходстве результатов двух моделей наблюдаются количественные различия: скорость жидкого лайнера незначительно больше скорости пластического тела.
- поведение упругого лайнера не соответствует экспериментальным данным: лента контактирует только с верхней частью призмы, при дальнейшем движении по центральной части лайнера бегут упругие волны, а под действием сил упругости лайнер останавливается и начинает двигаться в противоположном направлении.
Во всех вышеперечисленных расчетах поставлено условие прилипания ленты к поверхности призмы. Для пластического лайнера также проведены расчеты, в которых лайнер скользил по призме по закону трения Кулона. Полученные результаты показали, что при подобном движении в верхней части ленты образуются большие пластические деформации и увеличивается риск обрыва ленты.
Второй целью данной работы являлось изучение зависимости тока в цепи лайнера от выбранных параметров этой цепи. Проведенные расчеты показали, что задавая различные значения индуктивности и начального напряжения на обкладках конденсатора в цепи лайнера, можно получить большие значения тока в цепи и сжимаемого магнитного потока.
Следует отметить, что (в отличие от экспериментальной установки и поперечной модели) захвата потока магнитного поля из контура ускорения не происходит в связи со спецификой продольной модели. Сжимаемый пластинами лайнера магнитный поток создается искусственно с помощью задания начального напряжения на обкладках конденсатора в цепи лайнера. Тем не менее, рассмотренная модель описывает процесс торможения ленты магнитным полем, позволяет сравнительно легко исследовать этот процесс и управлять им.
Список литературы
1. Э.А. Азизов, С. Г. Алиханов, Е.П. Велихов, М.П. Галанин, В.А. Глухих, Е.В. Грабовский,
А. Н. Грибов, Г.И. Долгачев, А.М. Житлухин, Ю.Г. Калинин, А.С. Кингсеп, А.И. Кормилицын, В.П. Ковалев, М.К. Крылов, В.Г. Кучинский, В.А. Левашов, А.П. Лотоцкий, С.Л. Недосеев, О.П. Печерский, В.Д. Письменный, Ю.П. Попов, Г.П. Рыкованов, В.П. Смирнов, Ю.А. Халимуллин, В.И. Четвертков. Проект «Байкал». - Отработка схемы генерации электрического импульса // Вопросы атомной науки и техники. Сер. Термоядерный синтез. 2001. №. 3. С.с. 3 - 17.
2. V.P. Bakhtin, E.V.Grabovsky, A.M.Zhiluchin, V.F.Levashov, A.P.Lototsky, Y.P.Melnikov, K.F.Pashkovsky, V.P.Smirnov, D.A.Toporkov, N.M.Umrikhin. Power Peaker Based on Plate MC-Generator Driven by Electrical Current. MEGAGAUSS-9. Proceeding of Ninth Int. Conf. On Megagauss Magnetic Field Generation and Related Topics (Moscow-St.Peterburg, Iuly 7-14,2002) Sarov. VNIIEF. 2004. P. 324 - 330.
3. M.P. Galanin, A.P.Lototsky. The Mathemаtical modeling of a strip liner acceleration by pulsed magnetic field produced by longitudinal current. MEGAGAUSS-9. Proceeding of Ninth Int. Conf. On Megagauss Magnetic Field Generation and Related Topics (Moscow-St.Peterburg, Iuly 7-14,2002) Sarov. VNIIEF. 2004. P. 537-544.
4. М.П. Галанин, А.П. Лотоцкий. Моделирование разгона и торможения лайнера в устройствах обострения мощности // Радиотехника и электроника. 2005. Т. 50. №2. С. 256 - 264.
5. М.П. Галанин, Е. В. Грабовский, А. П. Лотоцкий, Т. Г. Суфиев. Математическое моделирование электромагнитного ускорения проводящей пластины в компрессоре потока // Препринт ИПМ им. М.В. Келдыша РАН. 2005. № 138. 29 с.
6. М.П. Галанин, А.П. Лотоцкий, В.Ф. Левашов. Расчет электродинамического ускорения плоских пластин в лабораторном магнитокумулятивном генераторе // Препринт ИПМ им. М.В. Келдыша РАН. 2001. № 3. 30 с.
7. М.П. Галанин, А.П. Лотоцкий, А.С. Родин. Математическое моделирование электромагнитного ускорения лайнера в различных двумерных приближениях // Препринт ИПМ им. М.В. Келдыша РАН. 2007. № 4. 32 с.
8. М.П. Галанин, А.П. Лотоцкий, А.С. Родин. Математическое моделирование электромагнитного ускорения лайнера с учетом его контакта с твердой поверхностью // Препринт ИПМ им. М.В. Келдыша РАН. 2008. № 59. 32 с.
9. А.С. Родин. Модель движения пластического лайнера в магнитном компрессоре и ее применение // Препринт ИПМ им. М.В. Келдыша РАН. 2009 (в печати).
10. М.П. Галанин, Ю.П. Попов. Квазистационарные электромагнитные поля в неоднородных средах. Математическое моделирование. М.: Наука, Физматлит. 1995. 320 с.
11. С.Н. Коробейников. Нелинейное деформирование твердых тел. - Новосибирск: Издательство СО РАН. 2000. 262 с.
12. И.А. Щеглов. Программа для триангуляции сложных двумерных областей Gridder2D // Препринт ИПМ им. М.В. Келдыша РАН. 2008. № 60. 32 с.
13. Д. Бленд. Нелинейная динамическая теория упругости. М.: Мир. 1972. 184 с.
14. И.Е. Тамм. Основы теории электричества. М.: Наука. 1989. 504 с.
15. Физические величины. Справочник. Под ред. И.С. Григорьева, Е.З. Мейлахова. М.: Энергоатомиздат. 1991. 1232 с.
|