| №6159 2,5 п.л. 338
МИНИСТЕРСТВО ОБРАЗОВАНИЯ И НАУКИ УКРАИНЫ
ДОНЕЦКИЙ НАЦИОНАЛЬНЫЙ ТЕХНИЧЕСКИЙ УНИВЕРСИТЕТ
ЭЛЕМЕНТЫ РАДИОЧАСТОТНЫХ
ЛИНИЙ ПЕРЕДАЧИ
Учебно-методическое пособие по курсу «Устройства СВЧ и антенны»,
для студентов всех форм обучения радиотехнических специальностей
Рассмотрено на заседании кафедры
«Радиотехники и защиты информации»
Протокол № 8 от 04.03.2007г.
Утверждено на заседании учебно-
издательского Совета ДонНТУ
Протокол № 6 от 24.04.07г.
Донецк - 2007
П-19
УДК 535-12(076.5)
Составители: доцент, к.т.н. В.В.Паслен, ассистент Е.С.Нестругина
Элементы радиочастотных линий передачи:
Учебно-методическое пособие по курсу «Устройства СВЧ и антенны» / В.В.Паслен, Е.С.Нестругина. - Донецк: ДонНТУ, 2007 - 40с.
Рассмотрены элементы основных типов линий передачи, применяемые при проектировании радиочастотных трактов: соединители, согласующие устройства, преобразователи типов колебаний, вращающиеся сочленения. Изложены принципы действия, связь конструктивных и электрических параметров. Материал пособия может быть полезен при изучении курсов «Электродинамика и распространение радиоволн» и «Техническая электродинамика».
Библиогр.: 9 назв., Рис. 30. Табл. 2., Прил. 2.
Рецензент: декан факультета «Компьютерных информационных технологий и автоматики» ДонНТУ, доцент, к.т.н. А.В.Хорхордин.
Подготовлено кафедрой "Радиотехника и техническая защита информации".
© "Донецкий национальный технический университет – ДонНТУ”, 2007
Содержание
Список сокращений .......................................................................................... .4
1.Классификация элементов линий передачи……………………………………...5
2.Соединители линий передачи СВЧ………………………………………………5
2.1. Назначение коаксиальных соединителей……………………………………5
2.2. Обозначение соединителей…………………………………………………...7
2.3. Неподвижные соединители…………………………………………………..8
2.4. Подвижные соединители…………..………………………………………...10
2.5. Вращающиеся соединители………………………………………………….11
3. Переходы между линиями передачи различных типов…………………….....15
3.1. Коаксиально-волноводные переходы………….…………………………………16
3.2. Переходы от прямоугольного волновода к круглому………………………18
3.3. Коаксиально-полосковые переходы……………………………...…………19
Забиваем Сайты В ТОП КУВАЛДОЙ - Уникальные возможности от SeoHammer
Каждая ссылка анализируется по трем пакетам оценки: SEO, Трафик и SMM.
SeoHammer делает продвижение сайта прозрачным и простым занятием.
Ссылки, вечные ссылки, статьи, упоминания, пресс-релизы - используйте по максимуму потенциал SeoHammer для продвижения вашего сайта.
Что умеет делать SeoHammer
— Продвижение в один клик, интеллектуальный подбор запросов, покупка самых лучших ссылок с высокой степенью качества у лучших бирж ссылок.
— Регулярная проверка качества ссылок по более чем 100 показателям и ежедневный пересчет показателей качества проекта.
— Все известные форматы ссылок: арендные ссылки, вечные ссылки, публикации (упоминания, мнения, отзывы, статьи, пресс-релизы).
— SeoHammer покажет, где рост или падение, а также запросы, на которые нужно обратить внимание.
SeoHammer еще предоставляет технологию Буст, она ускоряет продвижение в десятки раз,
а первые результаты появляются уже в течение первых 7 дней.
Зарегистрироваться и Начать продвижение
3.4. Волноводно-полосковые переходы……………………...…….……………20
4. Переходные секции в волноводах………………………………………………20
4.1. Волноводные уголки (повороты) и изгибы…………………………………..21
4.2. Волноводные скрутки……………………...…………………………………22
5. Отражающие препятствия в волноводных трактах……………………………22
5.1. Волноводные стыки………………………………………………...………..23
5.2. Волноводные диафрагмы……………………………………………………23
5.3. Индуктивный штырь……………………………………….……………….24
5.4. Емкостный штырь…………………………………...………………………24
6. Согласованные нагрузки………………………………………………………..25
6.1. Волноводные согласованные нагрузки………………………………………25
6.2. Коаксиальные согласованные нагрузки…………………………………….26
7. Реактивные нагрузки…………………………………………………………….27
8. Металлические изоляторы для коаксиального тракта………………………...28
9. Методические указания………………………...……………………………….30
9.1. Выбор размеров сечения прямоугольного волновода…………………….30
9.2. Выбор размеров круглого волновода………………………………………31
9.3. Реализация согласующих элементов прямоугольного волновода. Волноводные диафрагмы………………………...…………………………31
9.4. Четвертьволновый трансформатор в жесткой коаксиальной линии передачи……………………………………………………………………...32
Список используемой литературы………………………………………………...33
Приложение 1……………………………………………………………………….34
Приложение 2……………………………………………………………………….39
Список сокращений
СВЧ - сверхвысокие частоты
КСВ - коэффициент стоячей волны
КСВН - коэффициент стоячей волны по напряжению
КБВ=1/КСВ - коэффициент бегущей волны
КМПП - коаксиально- микрополосковые переходы
f - частота колебаний
ZВ
, ρ - волновое сопротивление
λ0
- длина волны в свободном пространстве
λкр
- критическая длина волны
λв
- длина волны в волноводе
λп
- длина волны в линии передач
1. Классификация элементов линий передачи
[1]
Реальная линия передачи (фидер) кроме участков регулярной линии содержит еще ряд элементов, предназначенных для соединения участков линий, согласования, переключения и т.д. Элементом линии передачи называют одиночное устройство, выполняющее одну функцию в данной линии передачи.
Основные элементы и их функциональные признаки:
· отрезки регулярных линий - предназначены для направленной передачи энергии;
· соединительные элементы - служат для соединения отрезков линий и устройств;
· согласующие устройства - служат для согласования линии передачи в целом или отдельных устройств с целью получения заданного коэффициента отражения;
Сервис онлайн-записи на собственном Telegram-боте
Попробуйте сервис онлайн-записи VisitTime на основе вашего собственного Telegram-бота:
— Разгрузит мастера, специалиста или компанию;
— Позволит гибко управлять расписанием и загрузкой;
— Разошлет оповещения о новых услугах или акциях;
— Позволит принять оплату на карту/кошелек/счет;
— Позволит записываться на групповые и персональные посещения;
— Поможет получить от клиента отзывы о визите к вам;
— Включает в себя сервис чаевых.
Для новых пользователей первый месяц бесплатно.
Зарегистрироваться в сервисе
· переключающие устройства - выполняют функцию временного соединения различных линий и устройств;
· фильтры - служат для селекции сигналов по частоте или по типам волн;
· делители и мостовые соединения - предназначены для деления, сложения и распределения мощности электромагнитных колебаний в многоканальных устройствах;
· фазирующие устройства - служат для поддержания или регулировки фазового сдвига.
Конструктивное выполнение и электрические характеристики элементов линий разнообразны. К основным параметрам, общим для всех элементов, относятся:
- электрическая прочность, показывающая предельно допустимую передаваемую мощность;
- коэффициент полезного действия или потери мощности в элементе, выражаемые в децибелах;
- ширина полосы рабочих частот (диапазон рабочих частот) – диапазон частот, в пределах которого основные характеристики устройства остаются неизменными или изменяются в заданных пределах.
2. Соединители линий
передачи
2.1. Назначение коаксиальных соединителей
[5]
Коаксиальный радиочастотный соединитель
(рис. 1) представляет собой электромеханическое устройство, обеспечивающее механическое и электрическое соединение радиочастотных кабелей между собой или с микрополосковой линией, а также соединение частей устройства. Соединитель состоит из двух или более частей (вилки, розетки), образующих разъемное контактное соединение.
Переходная часть соединителя (разъем)
– часть соединителя, предназначенная для сочленения и расчленения с вилочной и розеточной частями соединителя.
По своему назначению соединители делятся на:
· кабельные и приборно-кабельные соединители;
· кабельные сборки;
· вводы СВЧ - энергии, включая соединители для печатных плат;
· коаксиально – микрополосковые переходы (КМПП).
 
Рисунок 1 - Внешний вид соединителей
К соединителям предъявляются основные требования
:
- возможность использования в радиочастотных трактах со стандартным волновым сопротивлением 50 Ом, 75 Ом;
- широкополосность, определяемая предельной верхней частотой, на которой еще сохраняются приемлемые параметры согласования;
- минимальная величина коэффициента стоячей волны по напряжению (КСВН);
- минимальные потери СВЧ-энергии;
- радиогерметичность;
- стабильность и воспроизводимость электрических параметров;
- устойчивость к механическим, климатическим и радиационным воздействиям;
- надежность;
- герметичность;
- сохранение параметров при многократных соединениях в процессе эксплуатации СВЧ.
В зависимости от требований к герметичности, корпуса соединителей изготавливают из нержавеющей стали, бериллиевой бронзы, латуни.
Внутренний проводник изготавливают из латуни или бериллиевой бронзы.
Для уменьшения прямых потерь СВЧ, повышения коррозиоустойчивости и обеспечения паяемости соединителей на внутренний и наружный проводники наносят гальванические покрытия. Лучшим покрытием является износостойкое золото, сплавы золота с кобальтом, никелем или сурьмой. Кроме золотого применяют покрытие гнездовых контактов сплавами: серебро – сурьма, палладий – никель, олово – висмут, «белая бронза» (медь – олово – цинк) и никель.
Изоляторы соединителей изготавливают из органических диэлектриков с низкой диэлектрической проницаемостью и малыми потерями: фторопласт, полиэтилен, полистирол, сополимеры САМ-Э и САМ -3, темплен и др.
Основными признаками классификации соединителей являются:
- предельная рабочая частота;
- назначение;
- особенности конструкции;
- механизм соединения с ответной частью;
- применяемый радиочастотный кабель;
- герметичность.
2.2. Обозначение соединителей
[5]
В зависимости от производителя обозначения соединителей различны.
Например: СР-50-724ФВ, СРГ-50-716ФВ, СР50-11-3-4-47, СР-75-426ФВ, СРГ-75-716ФВ.
Обозначение соединителей СР-50-724ФВ, СРГ-50-716ФВ состоит из букв СР – соединитель радиочастотный или СРГ – соединитель радиочастотный герметичный. Через дефисы поставлены величины волнового сопротивления – 50 Ом и порядковый номер разработки данного соединителя. В конце обозначения указаны вид изоляции (Ф – фторопласт) и исполнение соединителя (В – всеклиматическое). По номеру разработки можно определить способ соединения пары соединителей. Номера с 101 по 500 и выше 700 означают резьбовое соединение, от 500 до 700 – безрезьбовое.

Рисунок 2 – Соединитель СРГ-50-751ФВ
Обозначение соединителей СР50-11-3-4-47 состоит из букв СР – соединитель радиочастотный или СРГ – соединитель радиочастотный герметичный, величины волнового сопротивления – 50 Ом. Через дефисы следуют первые две цифры, обозначающие тип соединителя и способ заделки кабеля. Расшифровка первой цифры: 1 – вилка кабельная, 2 – розетка кабельная, 3 – вилка кабельная угловая, 4 – розетка приборно-кабельная фланцевая, 5 – вилка приборно-кабельная, 6 – розетка приборно-кабельная под гайку, 7 – вилка приборная, 8 – розетка приборная. Вторая цифра расшифровывается так: 1 – гайка, 2 – прижим, 3 – обжим, 4 – на плату и т.д. Далее через дефис следует цифра 3 или 9 (тип соединителя). Последние три цифры обозначают марку радиочастотного кабеля.
2.3.
Неподвижные соединители
[
1
-3]
Для осуществления сборки и разборки трактов отдельные узлы и устройства СВЧ оснащаются специальными разъемами, которые должны обеспечивать надежный электрический контакт в местах соединения проводников между собой. Основные требования к разъемам состоят в сохранении согласования и электрической прочности тракта при минимальном ослаблении мощности и отсутствии паразитного излучения.
Соединение коаксиальных линий
, переход от коаксиальной линии к полосковой, а также подсоединение отрезков кабеля к прибору осуществляется с помощью специальных высокочастотных разъемов штепсельного типа (рис. 3а) представляющих собой небольшие отрезки жесткой коаксиальной линии, соединенные с гибким кабелем с помощью механического крепления, а также частично с помощью пайки.
а)

б)
Рисунок 3 – Высокочастотный коаксиальный разъем:
1- штырь, 2 – гнездо, 3 – конусная втулка, 4 – конусная цанга,
5, 6 – диэлектрические шайбы; 7 – внутренний проводник; 8 – внешний проводник,
9 – прокладка герметизации, 10 – гнездовая втулка
В высокочастотных соединителях для гибких коаксиальных кабелей
(рис. 3а) контакты обеспечивают с помощью пружинных цанг, штекеров и накидных гаек, удерживаемых в соединении посредством внешних резьбовых соединений или иных фиксирующих приспособлений, плотно прижимающих контактные поверхности пары разъемов розетка-вилка. Контакт между внутренними проводниками разъема создается с помощью штыря 1, который вставляется в пружинящее гнездо 2, укрепленное на внутреннем проводнике другого отрезка линии. Внешние проводники соединяются посредством конусной втулки 3 и разрезной конусной цанги 4. Герметизация обеспечивается резиновой прокладкой.
Соотношение диаметров проводников на любом участке внутри коаксиальных высокочастотных соединителей подбирают таким образом, чтобы с учетом параметров диэлектрика обеспечивалось постоянство волнового сопротивления линии. Согласование в высокочастотных коаксиальных соединителях в сильной степени зависит от заделки кабеля и при аккуратном выполнении характеризуется среднеквадратическим значением КСВ порядка 1,05-1,15.
Высокочастотные соединители для жестких коаксиальных линий
на повышенный уровень мощности выполняют без опорных диэлектрических шайб (рис. 3б). В данном случае соединители должны быть герметичными как для защиты внутренних рабочих поверхностей от внешних воздействий, так и для повышения электрической прочности тракта путем создания внутри тракта избыточного давления. Надежность соединений обеспечивается применением цанговых устройств и накидных гаек.
Соединительные устройства для однотипных волноводов.
Для соединения волноводных секций на их концах напаиваются фланцы с отверстиями для болтов или винтов. Соединительные устройства для однотипных волноводов подразделяются на соединители с контактными фланцами и дроссельно – фланцевые соединители.
Контактные фланцевые соединители
применяются для широкополосных волноводных трактов. Соединяемые секции волноводов прижимаются друг к другу с помощью плоских фланцев (рис. 4а), стягиваемых винтами или струбцинами. Для минимального коэффициента отражения необходимо точное совпадение сечений волноводов. Чтобы обеспечить точное совпадение волноводных сечений, часто используют штифты, вставляемые в калибровочные отверстия. Для хорошего электрического контакта соединяемые поверхности в контактных притертых фланцах должны быть строго параллельны и тщательно обработаны. Однако, качество сочленения ухудшается при многократных переборках тракта. Для улучшения качества контакта между фланцами на штифтах помещают бронзовую прокладку, имеющую ряд разведенных пружинящих лепестков, прилегающих к внутреннему периметру поперечного сечения соединяемых волноводов. Защита соединения от пыли и влаги осуществляется резиновыми уплотнительными кольцами, уложенными в канавках на фланцах по обе стороны от контактной прокладки.
Дроссельно-фланцевые соединители
применяются в тех случаях, когда соединение двух волноводных линий должно обеспечивать минимальный коэффициент отражения в узком частотном диапазоне. Этот тип соединителей более надежен в эксплуатации, когда требуется производить частые сборки и разборки соединения.
Соединитель состоит (рис. 4б) из плоского фланца 2 и фланца 3 с кольцевой выточкой (дроссельной канавкой) вдоль оси волновода и проточкой в поперечной плоскости. В дроссельном фланце контакт между волноводами осуществляется через последовательный короткозамкнутый шлейф длиной λв
/2, выполненный в виде канавок и углубления внутри фланца. Четвертьволновый участок между точкой короткого замыкания А и точкой контакта В является коаксиальным волноводом с волной типа Н11
, а второй четвертьволновый участок между точкой контакта В и точкой включения шлейфа в волновод С является отрезком радиальной линии передачи. Точка контакта попадает в узел распределения продольного поверхностного тока J, поэтому на сопротивлении контакта r не происходит заметного выделения мощности. Виртуальное короткое замыкание между соединяемыми волноводами в точке С обеспечивается тем, что суммарная длина дроссельных канавок от точки А до точки С составляет полуволновую короткозамкнутую линию. Входное сопротивление такой линии оказывается равным нулю, и энергия высокочастотных колебаний беспрепятственно распространяется в месте соединения волноводов. Волноводы как бы идеально прилегают друг к другу. Соединение дроссельных фланцев осуществляется при помощи винтов, накидной, стягивающей гайки, или струбцин.

а) б) в)
Рисунок 4 – Соединения прямоугольных волноводов:
а) – с контактными фланцами, б) – дроссельно – фланцевое, в) схема замещения
1 – волновод первой секции, 2 – фланец первой секции, 3 – фланец второй секции,
4 – волновод второй секции, 5 – канавка с уплотнителем, 6 – контактная прокладка,
7 – отверстия для фиксирующих штифтов.
Для защиты полости тракта от внешних воздействий применяют уплотнительную прокладку. Дроссельные фланцы не критичны к качеству контакта и небольшим перекосам, не снижают электрической прочности тракта. Их недостатками являются заметная частотная зависимость КСВ и сложность конструкции.
2.4.
Подвижные соединители
[
1
-3]
Подвижные волноводные соединители
применяются для смещения и поворота в небольших пределах одной части волноводного тракта относительно другой. Они делятся на нерезонансные и резонансные.
Нерезонансные гибкие волноводы
имеют или гофрированные стенки (рис. 5а) с глубиной гофр порядка нескольких миллиметров, или стенки, навитые спирально с зацеплением гусеничного типа (рис. 5б). Для повышения механической прочности гибкий волновод покрывают резиновой оболочкой.
 
а) б) в)
Рисунок 5 – Гибкие волноводы:
а) – гофрированный; б) – спиральный; в) – резонансный
Резонансный гибкий волновод
представляет собой набор очень коротких секций волновода, каждая из которых присоединяется к соседней с помощью дроссельно-фланцевого сочленения (рис. 5в), обеспечивающего замыкание по высокой частоте в местах соединений. Зазоры между секциями обеспечивают возможность небольших смещений секций, что позволяет производить изгиб или скручивание волновода в небольших пределах. Чем больше секций, тем больше может быть угол изгиба или скручивания. Для компенсации отражений, возникающих в разрывах между секциями, длина их берется примерно l/4. Резонансный гибкий волновод имеет повышенные потери за счет просачивания электромагнитной энергии в зазоры между секциями, поэтому с целью экранировки его помещают в гибкую металлическую сетку.
В коаксиальных линиях подвижные соединения выполняются с помощью гибких кабелей. Эти кабели используются иногда и в качестве подвижных соединений между волноводами.
2.5.
Вращающиеся соединители
[
1
-3]
Вращающиеся соединители
служат для передачи энергии при непрерывном круговом вращении одной части фидерного тракта относительно другой (например, соединение между вращающейся антенной и неподвижным передатчиком или приемником) без нарушения электрического контакта и качества согласования. Для обеспечения невозмущенной передачи энергии (без модуляции за счет вращения), во вращающихся соединениях используются в основном круглые волноводы с типами волн, поля которых имеют осевую симметрию (Е01
, Н01
и др.) и короткие отрезки коаксиального волновода с Т-волной.
Вращающиеся волноводные соединители.
Волноводный тракт обычно выполняется на прямоугольном волноводе, так как картина распределения поля основной волны H10
жестко связана с формой поперечного сечения и сохраняется при изгибах и скручивании волновода, что бывает необходимо при прокладке реальных трактов сложных радиотехнических устройств и систем. Вращающиеся волноводные соединители содержат два перехода от прямоугольного волновода с волной типа Н10
к круглому с симметричной волной, устройство, обеспечивающее вращение одной части круглого волновода относительно другой, преобразователи линейной поляризации в круговую и обратно, дроссельное устройство для предотвращения утечки энергии через кольцевую щель. Такой вращающийся волноводный соединитель имеет значительную осевую длину. Кроме того, при вращении возникает паразитная фазовая модуляция сигнала, что может быть недопустимо в некоторых радиотехнических системах. Чаще во вращающихся волноводных соединителях используют круглый волновод с симметричной волной E01
, т.е. первой высшей волной в круглом волноводе.
Вращающееся волноводное соединение, использующее круглый волновод с симметричной волной Е01
показано на рис. 6. Связь между прямоугольным и круглым волноводами происходит через круглое отверстие в широкой стенке прямоугольного волновода. Однако кроме волны Е01
в круглом волноводе возбуждается и волна Н11
, низшая по отношению к волне Е01
и имеющая несимметричную относительно оси волновода структуру поля. Существуют различные способы фильтрации этой волны. В данном случае применяются фильтры типа волны в виде резонансных колец, ось которых совпадает с осью волновода. Резонансное кольцо не препятствует распространению волн типа Е01,
в связи с тем, что линии электрического поля этой волны перпендикулярны к краям кольца. Выбором размеров кольца можно добиться резонансного отражения им волны Н11
.
Крепление кольца к волноводу производится с помощью радиально расположенных стержней.

Рисунок 6 – Вращающееся волноводное соединение:
1 – прямоугольный волновод, 2 – круглый волновод, 3 – вращающееся дроссельно – фланцевое соединение, 4 – кольцевой фильтр
Волна типа Е01
в круглом волноводе создает интенсивные продольные поверхностные токи. Поэтому во вращающемся соединении используется принцип дроссельно – фланцевого соединения.
На рис. 7 приведена схема волноводного вращающегося соединителя с использованием коаксиальных переходов. Короткие отрезки коаксиальных волноводов с Т- волной обеспечивают фильтрацию паразитной волны H11
.
Дроссельное устройство представляет собой свернутую полуволновую коаксиальную линию с волной Т, причем в точке контакта А (точке разрыва) имеет место нуль тока, а в точке В – виртуальное короткое замыкание. Рассмотренное волноводное вращающееся соединение имеет невысокий уровень допустимой мощности, что обусловлено малыми зазорами в коаксиальных отрезках, возбуждающих круглый волновод.

Рисунок 7 – Волноводное вращающееся соединение с волной типа E01
На рис. 8а,б изображены устройства возбуждения волны E01
без использования коаксиальных отрезков. На рис. 8а прямоугольный волновод соединяется с круглым через поперечное отверстие. Для лучшего возбуждения волны E01
круглый волновод с одной стороны закорачивается на расстоянии от возбуждающего отверстия. Для подавления паразитной волны низшего типа H11,
которая также возбуждается отверстием, в короткозамкнутом отрезке круглого волновода располагают тонкое металлическое кольцо, которое при периметре кольца близком к λ0
действует на волну H11
подобно короткозамыкателю. Располагая кольцо на расстоянии от центра щели, удается эффективно подавить волну H11
в круглом волноводе. На волну типа E01,
силовые линии электрического поля которой радиальны и лежат в плоскости кольца, резонансное кольцо практически не влияет, так как линии вектора Е перпендикулярны проводу кольца и не наводят в нем токи.
 
а) б)
Рисунок 8 – Способы возбуждения волны E01
в круглом волноводе
Другой возбудитель волны E01
в круглом волноводе с высокой степенью подавления волны H11
показан на рис. 8б. Прямоугольный волновод соединяется с круглым через поперечное отверстие с коротким замыканием одной половины круглого волновода непосредственно у места сочленения. В круглом волноводе также помещено резонансное кольцо, закорачивающее его для волны H11
. Волна H11
, просочившаяся через резонансное кольцо, далее просачивается через продольные щели и поглощается в резонаторе с поглотителем. Волна E01
не имеет поперечных токов и не возбуждает продольные щели и резонатор с поглотителем. Все волноводные вращающиеся соединители состоят из двух переходов, разделенных, как и на рис. 8, узкой щелью с дроссельным устройством для предотвращения утечки электромагнитной энергии. Эти соединители могут использоваться для низкого и высокого уровней мощности.
Вращающиеся коаксиальные соединения
делятся на два основных типа: контактные
, применяемые при малых скоростях вращения и низких уровнях мощности во всем диапазоне СВЧ, и бесконтактные (дроссельные),
применяемые при больших скоростях вращения и всех уровнях мощности в дециметровом и сантиметровом диапазонах.
Вращающиеся соединители с трущимися контактами
ненадежны и могут приводить к стиранию и разрушению трущихся поверхностей. Более надежны «бесконтактные» вращающиеся соединители с дроссельными канавками
, хотя их параметры зависят от частоты.
В бесконтактном вращающемся коаксиальном соединителе
(рис. 9а) во внутреннем проводнике неподвижной части фидера имеется осевое отверстие длиной Λ/4, в которое, не касаясь стенок и дна отверстия, входит цилиндрический стержень, являющийся продолжением внутреннего проводника вращающейся части фидера. Стержень и отверстие образуют четвертьволновую линию, разомкнутую на конце и имеющую входное сопротивление, равное нулю, что и обеспечивает соединение по высокой частоте внутренних проводников обеих частей фидера. На этом же принципе основывается и контакт внешних проводников фидера. Четвертьволновая линия образуется наружной поверхностью внешнего проводника неподвижной части фидера и внутренней поверхностью концентрической муфты, насаженной на вращающуюся часть фидера.

а) б)
Рисунок 9 – Бесконтактное коаксиальное вращающееся соединение
Недостатком такого соединения является наличие кольцевого зазора между внешними проводниками фидера, что приводит к нежелательному излучению энергии. Этот недостаток устраняется во вращающемся соединении, показанном на рис. 9б благодаря использованию еще одной четвертьволновой линии на внешних проводниках. Сопротивление контакта или наличие зазора в месте стыка двух четвертьволновых линий не играет роли, так как стык находится в узле тока. Необходимость в отрезках линий длиной четверть волны ограничивает применение дроссельных соединений диапазоном дециметровых и сантиметровых волн. Полоса рабочих частот таких соединений составляет ±10%.
В коаксиальном дроссельном вращающемся соединителе
(рис. 10а) дроссельные канавки устанавливаются как во внешнем, так и во внутреннем проводниках. Каждый дроссель представляет собой последовательный двухступенчатый короткозамкнутый шлейф длиной λ0
/2, где λ0
- рабочая частота волны.
Схемы замещения дросселей во внешнем и внутреннем проводниках волновода одинаковы и показаны отдельно (на рис. 10б,в). Аналогичные схемы замещения имеют дроссельные канавки в волноводном фланце (рис. 4б). В схеме замещения показано, что волновые сопротивления проходного и короткозамкнутого отрезков неодинаковы: Zв2
< Zв1
, что повышает широкополосность вращающегося соединителя. Внутри дросселя образуется стоячая электромагнитная волна с узлом распределения тока в точке соединения четвертьволновых отрезков, т.е. в точке расположения трущихся контактов, отнесенных на расстояние λ0
/4 от короткозамкнутых концов шлейфов. Поэтому падение напряжения на сопротивлениях контактов равно нулю, потери мощности СВЧ отсутствуют и электрические характеристики вращающегося соединителя на рабочей частоте не зависят от качества трущихся контактов. Разнос зазоров во внутреннем и внешнем проводниках на λ0
/4 приводит к компенсации отражений и повышает широкополосность.


Рисунок 10 – Коаксиальное дроссельное вращающееся соединение:
а) – эскиз, б) схема замещения дроссельной канавки, в) схема замещения соединения
При реализуемых значениях волновых сопротивлений канавок, КБВ соединителя превышает уровень 0,9 в полосе частот 50-70% рабочей частоты.
Электрическая прочность коаксиального дроссельного вращающегося соединителя несколько снижается по сравнению с электрической прочностью тракта, так как максимальная напряженность электрического поля в средней части дроссельной канавки внутреннего проводника повышается по сравнению с напряженностью поля у поверхности центрального проводника тракта.
3. Переходы между линиями передачи различных типов
Очень распространенными узлами трактов СВЧ являются переходы с одной линии передачи на другую, в которых используются различные типы волн. Эти переходы
называют также трансформаторами типов волн
или возбудителями волны заданного типа
. При проектировании переходов основное внимание уделяется достижению хорошего качества согласования в полосе частот при обеспечении необходимой электрической прочности.
В технике СВЧ применяют большое число таких устройств различных конструкций. Рассмотрим характерные конструкции переходов.
3.1. Коаксиально-волноводные переходы
[1-3]
Соединение коаксиальной линии с прямоугольным волноводом
(рис. 11) является трансформатором волны типа Т в коаксиальной линии в волны типа Н или Е в прямоугольном волноводе и относится к числу так называемых зондовых переходов
. Для возбуждения волны типа Н в волновод вводится штырь (зонд), перпендикулярный продольной оси волновода (рис. 11а),
т. е. поперек волновода, а для возбуждения волны типа Е
штырь вводится с торца волновода параллельно продольной оси волновода (рис. 11б).
Штырь, являющийся продолжением внутреннего проводника коаксиальной линии, служит антенной, излучающей электромагнитную энергию в волновод или отбирающей ее из волновода. Для получения минимального отражения волн от перехода, необходимо коаксиальную линию и волновод согласовать, т. е. создать режим бегущих волн. Согласование осуществляется подбором длины штыря l1,
расстояния l2
от штыря до заглушки (поршня), замыкающей накоротко волновод, и расстояния l3
от штыря до ближайшей узкой стенки волновода (рис. 11а).
Для согласования перехода в диапазоне частот используется подвижный короткозамыкающий поршень, компенсирующий реактивную составляющую входного сопротивления штыря.
 
Рисунок 11 – Волноводно – коаксиальные переходы:
а) – для всех типов Н; б) – для всех типов Е
Широкополосный коаксиально-волноводный переход
с поперечным
стержнем
(рис. 12), имеет полосу пропускания более 30% за счет того, что поперечный стержень обеспечивает равномерность и малую зависимость от частоты распределения тока на вертикальной части зонда.

Рисунок 12 – Широкополосный коаксиально – волноводный переход
Возбуждение прямоугольного волновода с волной типа Н11
от коаксиального волновода с Т-волной производится с помощью коаксиально-волноводных переходов (рис. 13). Основным элементом таких переходов являются обтекаемые электрическим током штыри, размещаемые в короткозамкнутом с одной стороны волноводе параллельно силовым линиям электрического поля Е.
В зондовом переходе (рис. 13а) согласование входов обеспечивается изменением длины зонда lз
, а также подбором расстояний l
и х
, определяющих положение зонда. Для расширения полосы частот согласования желательно увеличивать диаметр зонда d. При тщательном выполнении зондовый переход обеспечивает полосу частот согласования 15-20 % относительно расчетной частоты при КБВ не менее 0,95. Недостатком зондового перехода является снижение электропрочности из-за концентрации силовых линий электрического поля Е на конце зонда. В определенной мере этот недостаток преодолевается в коаксиально-волноводном переходе с
последовательным шлейфом
(рис. 13б), однако даже при самом тщательном подборе расстояний l
и l
ш
рабочая полоса частот составляет около 7%.

Рисунок 13 – Коаксиально – волноводные переходы :
а) – зондовый, б) – с коаксиальным шлейфом, в) – с поперечным стержнем,
г) – «пуговичный»
Лучшие результаты по согласованию и электропрочности имеет переход с поперечным стержнем
(рис.13в), дополненный согласующей индуктивной диафрагмой. В таком переходе достижима относительная полоса частот согласования около 15%. Максимальные широкополосность (около 20% при КБВ не менее 0,95) и электропрочность достигаются в коаксиально-волноводных переходах так называемого пуговичного типа
(рис.13г), требующих, однако, тщательного подбора формы проводников в сочетании с дополнительным согласованием с помощью индуктивной диафрагмы.
3.2. Переходы от прямоугольного волновода к круглому
[
1
-3]
Переход от прямоугольного волновода с волной Н10
к круглому
волноводу
с волной
Н11
осуществляется путем постепенной деформации поперечного сечения волновода от прямоугольного к круглому (рис. 14а ).
Если длина перехода составляет примерно длину волны в волноводе или больше ее, то его полоса пропускания равна полосе частот круглого волновода с волной типа Н11
.
Размеры волноводов выбираются такими, чтобы в них в заданном диапазоне частот могли распространяться только низшие типы волн, соответственно Н10
в прямоугольном и Н11
— в круглом волноводе. Если длина такого перехода превышает длину волны, то отражения в широкой полосе частот оказываются незначительными.
Для уменьшения размеров перехода можно использовать компактные, но более узкополосные сту
пенчатые переходы
(рис. 14б). В данном случае сочленение соосных прямоугольного и круглого волноводов осуществляется через согласующую четвертьволновую вставку с овальной формой поперечного сечения.
  
а) б)
Рисунок 14 – Переходы от прямоугольного волновода к круглому
Большинство используемых на практике трансформаторов типов волн являются обратимыми элементами, т.е. конструкция, обеспечивающая переход, Н10
® Н11
,
обеспечивает и обратный переход Н11
® Н10.
Возбуждение волны Н11
в круглом волноводе может производиться от прямоугольного волновода через отверстие в боковой
стенке.
Если широкие стенки прямоугольного волновода ориентированы параллельно оси круглого волновода (рис. 15а), то в круглом волноводе возбуждаются волны Н, распространяющиеся в обе стороны от ответвления с одинаковыми фазами. При поперечном расположении возбуждающей щели в круглом волноводе (рис. 15б) волны Н11
, возбуждающиеся справа и слева от нее, противофазны. Если требуется обеспечить передачу волны Н11
в одном направлении, то один из концов круглого волновода закорачивают, причем для разветвления на рис. 15а расстояние между центром щели и короткозамыкателем должно быть близким λв
/4, а в случае, показанном на рис. 15б —близким λв
/2.

а) б)
Рисунок 15 – Тройниковые разветвления прямоугольного и круглого волноводов
Особенно трудной задачей является конструирование возбуди
телей волны
Н01
в круглом волноводе
.
Здесь главное требование состоит в обеспечении высокой степени чистоты возбуждения волны Н01
при глубоком подавлении ряда низших и высших волн, способных к распространению в круглом волноводе большого диаметра. На рис. 16 показана одна из возможных конструкций перехода от прямоугольного волновода с волной Н10
к круглому волноводу с волной Н01
, основанная на принципе плавной деформации формы поперечного сечения волновода и структуры электрического поля.

Рисунок 16 – Плавный переход для возбуждения волны Н01
в круглом волноводе
Волноводный Е-тройник и две продольные скрутки на углы 90° в противоположных направлениях образуют систему двух прямоугольных волноводов, соединенных узкими стенками и содержащих поля равной амплитуды с противоположными фазами. Затем эта система плавно преобразуется к двум секторным волноводам с общим ребром. По мере увеличения угла раскрыва секторных волноводов образуется круглый волновод с продольной металлической перегородкой. Обрыв этой перегородки не изменяет структуру электромагнитного поля, и на выходе перехода получается круглый волновод с волной Н01.
Для обеспечения требуемой чистоты возбуждения волны Н01
этот переход должен иметь длину l
» λ0
.
3.3.
Коаксиально-полосковые переходы
[2, 3]
Коаксиально-полосковые переходы
в зависимости от взаимного расположения соединяемых проводников могут быть соосными или перпендикулярными (рис. 17). Для уменьшения нерегулярности в области сочленения внутренний диаметр внешнего проводника коаксиальной линии должен быть близким расстоянию между внешними пластинами симметричной полосковой линии или удвоенной толщине основания несимметричной полосковой линии. Для улучшения согласования в соосном переходе делают скосы на конце полоскового проводника (рис. 17а). При таком соединении структуры полей основного типа наиболее близки друг к другу по своей конфигурации.

а) б)
Рисунок 17 – Коаксиально – полосковые переходы
Согласование перпендикулярного коаксиально-полоскового перехода (рис. 17б) осуществляют подбором диаметра соединительного штыря, проходящего через диэлектрическое основание, а также размеров коаксиальной диафрагмы на выходе из коаксиальной линии и короткого разомкнутого шлейфа из отрезка полоскового проводника. Часто коаксиально-полосковые переходы совмещают с коаксиальными соединителями.
3.4. Волноводно-полосковые переходы
[2, 3]
Устройства для возбуждения полосковой линии передачи от прямоугольного волновода с волной Н10
называются волноводно-полосковыми переходами.

Рисунок 18 – Волноводно – полосковый переход
Соединение полосковой линии с прямоугольным волноводом может быть выполнено через плавный или ступенчатый переход на П-образном волноводе (рис. 18). В такой конструкции перехода обеспечивается широкополосное согласование прямоугольного волновода с полосковой линией передачи и устраняется паразитное излучение из открытого конца волновода.
4. Переходные секции в волноводах
[1-3]
Переходные секции в волноводах
служат для изменения направления волноводного тракта и соединения волноводов с различными поперечными сечениями. Конструктивно эти секции представляют собой отрезки волноводов с фланцами на концах.
Очень важно снизить потери в волноводе для того, чтобы уменьшить затухание волн и повысить к.п.д. С этой целью внутреннюю поверхность волновода, по которой проходят токи, наведенные электромагнитным полем, делают возможно более гладкой и покрывают ее серебром. Весьма тщательно также соединяются отдельные части волновода друг с другом.
Второй, не менее важной проблемой, является сведение к минимуму частичных отражений от различных неоднородностей, имеющихся в волноводе. К таким неоднородностям относятся волноводные уголки (повороты), изгибы и ответвления, а также вращающиеся сочленения двух волноводов. Любые нарушения однородности внутреннего устройства волновода приводят к появлению отраженных волн, в результате чего уменьшается КБВ, возрастают потери и снижается к.п.д.
4.1. Волноводные уголки (повороты) и изгибы
[1-3]
Волноводные уголки (повороты) и изгибы
(рис. 19) представляют собой нерегулярности, распределенные вдоль линии на расстоянии, сравнимом с длиной волны. Эти нерегулярности снижают качество согласования и за счет концентрации силовых линий электрического поля в области резких изгибов снижают электрическую прочность тракта. Такой распределенной нерегулярности можно придать форму, обеспечивающую минимальные отражения.
 
Рисунок 19 – Повороты линий передачи
В уголковых изгибах любых линий передачи в той или иной мере возбуждаются поля нераспространяющихся волн высших типов, в которых происходит накопление электромагнитной энергии. Для минимизации возникающих из-за этого отражений изгибы дополняют различными согласующими элементами. Например, изгиб на 90° коаксиального тракта сочетают с четвертьволновым изолятором и дополняют небольшой проточкой на внутреннем проводнике линии (рис. 19а). Подбор расположения и размеров проточки, а также правильный выбор длины металлического изолятора позволяют сохранить согласование в тракте в широкой полосе частот.
Повороты в полосковой линии передачи согласовывают с помощью «подрезания» внешних углов примерно на 1/3 диагонали, соединяющей внутренний и внешний углы поворота (рис. 19б).
Однако, такие компенсированные повороты вносят небольшое добавочное запаздывание в линию передачи и это должно учитываться при расчете электрических длин резонансных отрезков.
В прямоугольном волноводе с волной типа Н10
уголки и радиусные изгибы могут быть выполнены как в Е- так и в Н- плоскости. Кроме того, уголки могут быть простые и двойные. В двойных поворотах (рис. 19г) две нерегулярности разносят на расстояние lв
/4. Создание скосов (рис. 19в) и двухуголковых (рис. 19г) изгибов имеют своей целью улучшить согласование как из-за уменьшения отражений от каждой нерегулярности, так и вследствие взаимной компенсации отражений от них.
В радиусных изгибах (рис. 19д) для уменьшения отражения необходимо, чтобы радиус изгиба R был не меньше длины волны в волноводе, а средняя длина L изогнутого участка кратна величине l/2, так как в этом случае изогнутый волновод играет роль полуволновой линии, согласующей равные волновые сопротивления на входе и выходе.
4.2. Волноводные скрутки
Волноводные скрутки
(рис. 20) служат для изменения направления поляризации волны. Длина скрутки, так же как и в радиусном изгибе, выбирается равной целому числу полуволн в волноводе. Для работы в широкополосных устройствах длина скрутки должна быть не менее (2-З) l.

Рисунок 20 – Волноводная скрутка
5. Отражающие препятствия в волноводных трактах
Наряду с паразитными нерегулярностями реального тракта (сочленения, переходы, повороты и т. д.), ухудшающими его характеристики, в трактах применяют также полезные нерегулярности, как «строительные элементы» для согласующих устройств, резонаторов, фильтров и других узлов СВЧ.
5.1. Волноводные стыки
[2-4]
В ступенчатых переходах и фильтрах широко используют соосное соединение двух
прямоугольных волноводов
различного поперечного се
чения
(рис. 21). Упрощенная схема замещения такого соединения представляет собой стык линий передачи с нормированными волновыми сопротивлениями Zв1
и Zв2.
Более точная схема замещения содержит параллельно включенную емкость С, обусловленную наличием вблизи стыка волн не распространяющихся типов. Влияние добавочной емкости на характеристики волноводных трансформаторов может быть скомпенсировано некоторым укорочением отрезков линий.

Рисунок 21 – Соосный стык прямоугольных волноводов:
а) – эскиз, б) – схема замещения
5.2. Волноводные диафрагмы
[2-4]
Диафрагмами
называют тонкие металлические перегородки, частично перекрывающие поперечное сечение волновода. В прямоугольном волноводе наиболее часто употребляются симметричная индуктивная, симметричная емкостная и резонансная
(индуктивно – емкостная) диафрагмы
(рис. 22).
Размеры и расположение этих перегородок подбираются с целью получения в основном волноводе взаимного уничтожения волн, отраженных от конца волновода и от перегородки.
 

а) б) в)
Рисунок 22 – Диафрагмы в прямоугольном волноводе
Если перегородки расположены перпендикулярно электрическому полю (рис. 22а), то они сближают заряды, имеющиеся на противоположных стенках волновода, т.е. создают увеличенную емкость и действуют подобно емкостному шунту в линии.
При расположении перегородок параллельно электрическим силовым линиям (рис. 22б), в них возникают токи, создающие свое магнитное поле, и тогда перегородка действует подобно индуктивному шунту.
Иногда применяют также индуктивно – емкостную перегородку (рис. 22в).
5.3. Индуктивный штырь
[2,3]
Индуктивный штырь
(рис. 23а) представляет собой проводник круглого сечения, установленный в прямоугольный волновод по направлению силовых линий напряженности электрического поля Е и соединенный с двух концов с широкими стенками волновода. Схема замещения индуктивного штыря содержит параллельно включенную индуктивность и два последовательных емкостных сопротивления, учитывающих конечную толщину штыря. Индуктивные штыри не снижают электрической прочности волновода и просты в изготовлении. Когда необходимы низкие значения параллельного сопротивления хА
, применяют решетки из нескольких индуктивных штырей, расположенных в поперечном сечении волновода (рис. 23б).

Рисунок 23 – Индуктивный штырь в прямоугольном волноводе
5.4. Емкостный штырь
[2, 3]
Емкостный штырь
(рис. 24) представляет собой круглый проводник, установленный по направлению силовых линий напряженности электрического поля Е и соединенный с одним концом с широкой стенкой волновода. Схема замещения емкостного штыря содержит последовательный LC – контур, включенный параллельно в линию передачи. Емкость этого контура связана с концентрацией поля Е в области разомкнутого конца штыря, а индуктивность обусловлена прохождением токов по штырю.
При некоторой длине штыря, близкой к λ0
/4, проводимость последовательного контура обращается в бесконечность и волновод закорачивается. Более короткие штыри имеют емкостную проводимость. При длинах штыря, больших резонансной, проводимость носит индуктивный характер. Последовательные емкостные сопротивления в схеме замещения учитывают конечность толщины штыря. При малых диаметрах штыря эти сопротивления малы и их влиянием можно пренебречь.

Рисунок 24 - Емкостный штырь в прямоугольном волноводе
Емкостные штыри в основном применяют в качестве регулируемых реактивных элементов, вводимых внутрь волновода с помощью резьбовых отверстий на широкой стенке. Однако емкостные штыри заметно снижают электропрочность волноводов и поэтому в мощных трактах не применяются.
6. Согласованные нагрузки
[2,3]
Согласованные (не отражающие) нагрузки
предназначены для поглощения СВЧ мощности, передаваемой по линии передачи, и используются в виде меры сопротивления в измерительных устройствах СВЧ, а также в качестве эквивалентов антенн при настройке передающей аппаратуры.
Основной характеристикой согласованной нагрузки является модуль ее коэффициента отражения |ρ| (или соответствующие значения КБВ или КСВ) в заданной полосе частот. Технически возможно создание согласованных нагрузок с входным коэффициентом стоячей волны (КСВ)<1,05 ( |ρ| ≤ 0,01) в полосе частот 20-30 % и более. Ввиду малости |ρ| требования к фазе коэффициента отражения от нагрузки не предъявляются и эта фаза может иметь любое значение в интервале 0 – 2 π.
Важной характеристикой нагрузки является допустимая поглощаемая мощность. Существуют нагрузки для низкого уровня мощности (не более 1 Вт) и для высокого уровня мощности.
Способы выполнения нагрузок зависят от типа линии передачи, диапазона частот и уровня мощности. Различают сосредоточенные
и распределенные нагрузки
. Распределенные нагрузки получают путем увеличения размеров могут быть выполнены на большую мощность.
6.1. Волноводные согласованные нагрузки
[1-3]
Конструктивно волноводные согласованные нагрузки представляют собой отрезок короткозамкнутого волновода размером 1-3 длины волны, внутрь которого помещены поглощающие вставки переменного профиля. В маломощных согласованных нагрузках вставки имеют вид тонких диэлектрических пластин, покрытых графитовыми или металлическими пленками (рис. 25а). Объемные поглощающие с большой мощностью рассеяния выполняются из композитных материалов на основе порошков графита, карбонильного железа или карбида кремния (рис. 25г). Для достижения малого отражения вставки имеют вид клиньев или пирамид, обеспечивающих постепенное заполнение поперечного сечения вставки поглощающим материалом. Для устранения отражения от короткозамыкателя вставка должна вносить ослабление 20-25 дБ. При очень больших мощностях (сотни ватт и более) для улучшения теплоотвода площадь соприкосновения вставки со стенками волновода делают максимальной, а корпус волновода снабжают радиатором или водяной рубашкой.

Рис. 25 – Волноводные согласованные нагрузки
6.2. Коаксиальные согласованные нагрузки
В коаксиальном тракте простейшей согласованной нагрузкой является сосредоточенный резистор с сопротивлением, равным волновому сопротивлению линии. Однако хорошее согласование в этом случае осуществляется, если размер резистора во много раз меньше длины волны. Но на сантиметровых волнах размеры резистора становятся соизмеримыми с длиной волны, что приводит к ухудшению качества согласования и зависимости его от частоты. Для снижения коэффициента отражения и расширения рабочей полосы частот коаксиальные нагрузки сантиметрового диапазона часто выполняются в виде отрезков нерегулярной линии передачи с потерями. Поглощающие элементы в таких нагрузках могут быть объемными или в виде тонких поглощающих пленок. На рис. 26а показана нагрузка с объемным поглощающим элементом в виде конуса. Хорошее качество согласования в этой конструкции достигается при длине поглощающего элемента l
≥ λ.
Более распространены коаксиальные нагрузки с поглощающими элементами в виде керамических цилиндров, покрытых металлооксидными или углеродистыми проводящими пленками. Толщина пленки выбирается малой по сравнению с глубиной проникновения поля, поэтому поверхностное сопротивление пленки почти не зависит от частоты. Чтобы входное сопротивление коаксиальных нагрузок с цилиндрическими поглощающими элементами были чисто активными и почти не менялись в нужной полосе частот, такие нагрузки снабжают нерегулярными металлическими экранами со специально подобранными профилями и размерами.
Рисунок 26– Коаксиальные согласованные нагрузки
На (рис. 26б) показана коаксиальная нагрузка с экраном ступенчатой формы. Оптимальное качество согласования имеет место в диапазоне длин волн λ ≥
6l
. Длина уступа внешнего проводника должна быть несколько меньше длины пленочного поглотителя.
Наиболее широкополосные коаксиальные нагрузки имеют внешний экран воронкообразной формы (рис. 26в).
7. Реактивные нагрузки
[2,3]
Реактивные нагрузки
, применяемые в качестве мер при измерениях на СВЧ, а также в согласующих и управляющих устройствах, должны обладать стабильным нормированным входным сопротивлением, номинал которого может быть рассчитан по геометрическим размерам.
Наибольшее распространение получили короткозамкнутые шлейфы
, выполняемые в виде отрезков линий передачи (волноводной, коаксиальной) с короткозамкнутыми поршнями, регулирующими их длину.
Основным параметром реального шлейфа является значение входного КСВ, которое должно быть как можно более высоким. В нерегулируемых коаксиальных или волноводных шлейфах с неподвижным запаянным поршнем КСВ может достигать 500 и более. В регулируемых шлейфах с подвижными поршнями значения КСВ из-за дополнительных потерь в контактах оказываются ниже, однако, как правило, они превышают 100. Холостой ход в шлейфах, т. е. размыкание выхода, может быть реализован только в закрытых многопроводных линиях, когда устранено излучение.
Возможные конструктивные решения подвижных короткозамыкающих поршней для прямоугольных волноводов показаны на рис. 27 для продольных сечений, параллельных узкой стенке волновода. В первой конструкции (рис. 27а) разрезные пружинные контакты А вынесены от закорачивающей стенки В внутрь волновода на расстояние λв
/4. Поэтому контакты оказываются в сечении волновода с нулевыми значениями продольного тока на стенках и не идеальность контактов не приводит к потерям мощности.
Во второй конструкции поршня (рис. 27б) контакты А включены в волновод через два трансформирующих отрезка линии передачи с низкими нормированными волновыми сопротивлениями zв1
и zв2
. Предполагая, что активное сопротивление контактов в точке А равно rA
и, применяя дважды формулу пересчета сопротивления через четвертьволновый трансформатор, можно найти входное сопротивление в точках В: rВ
= rA
(zв1
/ zв2
)2
. При zв1
<< zв2
удается существенно уменьшить эквивалентное сопротивление контакта rВ
и увеличить КСВ поршня.

Рис. 27 – Волноводные короткозамыкающие поршни:
1 – волновод, 2 – поршень, 3 - тяга
В третьей конструкции поршня (рис. 27в) точки контакта помещены в середину свернутого короткозамкнутого полуволнового отрезка линии передачи, состоящего из двух каскадно включенных четвертьволновых отрезков с волновыми сопротивлениями zв1
и 1
zв2.
К активному сопротивлению контакта rA
добавляется бесконечное реактивное сопротивление короткозамкнутого четвертьволнового шлейфа с волновым сопротивлением zв2
, и сумма сопротивлений контакта и шлейфа трансформируется четвертьволновым отрезком с волновым сопротивлением zв1
в практически нулевое сопротивление в точке В (т. е. в точке В создается виртуальное короткое замыкание для токов СВЧ).
Рассмотренные принципы выполнения волноводных поршней непосредственно применимы и для коаксиальных поршней в диапазоне сантиметровых волн.
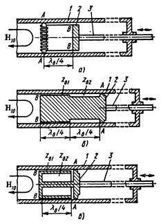
8. Металлические изоляторы для коаксиального тракта [2,3]
В жестких коаксиальных трактах существует проблема крепления внутреннего проводника коаксиальной линии. К устройствам крепления предъявляются противоречивые требования: не порождать отражения, не снижать электрическую прочность, не увеличивать коэффициент затухания, не сужать рабочую полосу частот, допускать возможность разборки и сборки тракта и т. д.
Наиболее распространены два способа крепления внутреннего проводника: с помощью диэлектрических шайб и с помощью металлических изоляторов. Простая диэлектрическая шайба
(рис. 28а), включенная в коаксиальную линию, на низких частотах слабо влияет на параметры тракта. Однако при возрастании частоты возникают заметные отражения и растет коэффициент затухания. Для уменьшения отражений можно уменьшить диаметр внутреннего проводника коаксиальной линии на участке, занятом шайбой, и тем самым сохранить постоянным волновое сопротивление.

а)
б)
б)
Рисунок 28 - Диэлектрические шайбы для коаксиальной линии
Это осуществлено в так называемой утопленной шай
бе
(рис. 28б), которая с целью облегчения процесса сборки тракта может быть разрезана по диаметру.
Диэлектрические шайбы снижают электрическую прочность тракта из-за облегчения условий пробоя по поверхности шайбы в результате роста напряженности поля в малом, но неизбежном зазоре между шайбой и центральным проводником линии. Для увеличения электрической прочности на поверхности шайбы выполняют концентрические канавки и выступы (рис. 28в).
На сантиметровых волнах в жестких коаксиальных линиях широко применяются для крепления центрального проводника металлические изоляторы
- жесткие параллельные короткозамкнутые шлейфы длиной четверть длины волны λв
/4 (рис. 29а). Металлические изоляторы не нарушают согласований тракта на рабочей длине волны, т.к. их входное сопротивление на резонансной частоте стремится к бесконечности и не шунтирует линию.
Они почти не снижают электрической прочности и вносят незначительные дополнительные потери. Однако такой изолятор является узкополосным, так как при изменении частоты изменяется электрическая длина шлейфа и в тракт вносится рассогласование.

Рисунок 29 – Металлические изоляторы для коаксиальной линии
Широкополосный металлический изолятор
(рис. 29б) кроме металлического изолятора λв
/4 содержит полуволновый трансформатор с пониженным волновым сопротивлением Zв тр
, т.е. с утолщенным диаметром центрального проводника. Значение Zв тр
может быть выбрано таким образом, что изолятор оказывается идеально согласованным не только на центральной частоте, но и еще на двух частотах: выше и ниже основной частоты. Кривая КСВ приобретает осциллирующий характер, а полоса и уровень согласования определяются положением и уровнем горбов.

Рисунок 30 – Частотная характеристика КСВ широкополосного металлического изолятора и ее параметры
Соответствующая осциллирующая зависимость КСВ в согласованном тракте с широкополосным изолятором при Zв тр
= 0,8 показана на рис. 30а.
При изменении волнового сопротивления Zв тр
параметры частотной характеристики (уровень горбов и полоса согласования по этому уровню ∆fс/f0
) изменяются, как показано на рис. 30б. Рабочая полоса частот широкополосного металлического изолятора по уровню допустимого КСВ 1,1 достигает 80 % от центральной частоты.
9. Методические указания
9.1. Выбор размеров сечения прямоугольного волновода
Размеры поперечного сечения прямоугольных волноводов (разделы 6.1) выбираются в соответствии с заданными полосой частот и мощностью. Обычно прямоугольный волновод работает на основном типе колебаний - волне Н10
, в которой электромагнитное поле имеет одну вариацию по широкой стенке волновода «а» и однородно по узкой стенке «b». Как правило, используется соотношение а/b ≥ 2. В этом случае первым высшим типом является волна Н20
. Соответствующие критические длины волн: λкр
Н10
= 2а, λкр
Н20
= а.
Рабочий диапазон частот ограничен значениями fверх
=с/a, fнижн
=с/2а, где с – скорость света.
Таким образом, максимальная ширина полосы частот определяется из неравенства с/а>f>с/2а, а размер стенки - из соотношений λ0
> а > λ0
/2, где λ0
=с/f.
В некоторых случаях используется квадратный волновод, где а = b , для которого волны Н10
и Н01
являются вырожденными, то есть они имеют разную структуру поля, но одинаковый частотный диапазон. При этом первым высшим типом являются волны Н11
и Е11
с критической длиной волны λкрН,Е11
= Квадратный волновод применяется для питания антенны с круговой поляризацией поля излучения или для излучения двух ортогональных линейных поляризаций. Диапазон частот квадратного волновода меньше, чем для прямоугольного, так как f
верх
/ f
ниж
= =1,41.
Практически используемая часть полосы пропускания прямоугольного волновода меньше, чем соотношение предельных верхних и нижних частот, так как при стремлении частоты к f
кр
ниж
фазовая скорость и длина волны стремятся к бесконечности, а также резко возрастает коэффициент затухания и понижается допустимая мощность. Обычно рабочая полоса составляет f
=(1,25-1,9)f
кр
.
Для различных диапазонов частот промышленностью производятся стандартные волноводы – трубы прямоугольного сечения из меди, латуни или алюминия. Таблица стандартных волноводов, заимствованная из [7], приведена в приложении.
9.2. Выбор размеров круглого волновода
Основой тип колебаний круглого волновода – волна Н11
, для которой λкрн11
=3,413 а, где а – радиус волновода. Однако, как показано в разделе 2.5, во вращающихся соединениях используется первая высшая волна Е01
, имеющая осесимметричную структуру поля с критической длиной волны λкрЕ01
=2,613 а. Второй высшей волной является волна Н21
с λкрН21
=2,059 а. Максимальный диапазон частот волны Е01
определяется из неравенства fкр Е01
< f <fкр Н21
, где fкр Е01
=с/2,613 а, fкр Н21
=с/2,059 а. С учетом дисперсии можно принять а=0,26с/fср
.
9.3. Реализация согласующих элементов прямоугольного волновода.
Волноводные диафрагмы
Волноводные диафрагмы являются компактными и удобными согласующими элементами, но их установка требует точного расчета места их расположения в линии передачи, так как плавное перемещение их вдоль волновода практически невозможно.
Как показано в [7], для известных КСВ в линии требуемая величина проводимости согласующей диафрагмы составит В=(КСВ-1)/ . Сравним ширину окна, требуемую для реализации значения нормированной реактивной проводимости В для несимметричных диафрагм.
Таблица 9.1 Несимметричная индуктивная диафрагма
| Нормированная проводимость В
|
0
|
-0,5
|
-1
|
-2
|
-4
|
-8
|
-16
|
| Окно d/a
|
1
|
0,776
|
0,702
|
0,618
|
0,532
|
0,451
|
0,378
|
Примечание.
В табл. 9.1 принято соотношение аλв
=0,575.
Таблица 9.2 Несимметричная емкостная диафрагма
| Нормированная проводимость В
|
0
|
0,5
|
1
|
2
|
4
|
8
|
16
|
| Окно d/b
|
1
|
0,568
|
0,414
|
0,240
|
0,086
|
0,0116
|
0,21-10-3
|
Примечание.
В табл. 9.2 принято соотношение b /λв
=0,25.
Как видно из сравнения таблиц, индуктивная диафрагма позволяет легко реализовать конструктивно малые и большие значения проводимости. Реализация емкостной диафрагмы затруднена при В>4, так как ширина окна становится очень малой и, кроме того, резко снижается допустимая мощность в волноводе. Применение емкостной диафрагмы имеет смысл при малой мощности, небольшом КСВ в линии передачи и в том случае, когда емкостная диафрагма является параллельным согласующим элементом, наиболее близко расположенным к нагрузке, то есть если фаза коэффициента отражения от нагрузки по току удовлетворяет соотношению
arсcos((КСВ-1)/(КСВ+1)) > φ01
> -arccos((КСВ-1)/КСВ+1)).
При этом достигается наибольшая полоса согласования .
Вопрос о применении согласующих индуктивных и емкостных штырей решается аналогично применению диафрагм: легче реализуются индуктивные штыри, а емкостные штыри следует применять при небольших требуемых значениях проводимости, так как конструктивно они могут быть удобно реализованы в виде винта, погружаемого внутрь волновода через резьбовое отверстие в центре широкой стенки.
9.4. Четвертьволновый трансформатор в жесткой
коаксиальной линии передачи
Волновое сопротивление в жесткой коаксиальной линии определяется соотношением ρ=60ln(D/d), где d – диаметр центрального проводника; D – внутренний диаметр трубы. При конструктивной реализации трансформатора удобно изменять только диаметр центрального проводника, оставляя постоянным диаметр трубы. Наиболее просто реализуется трансформатор с пониженным волновым сопротивлением. Он может быть реализован в виде втулки, перемещающейся по центральному проводнику. Внешний диаметр втулки dт
при известном КСВ в линии передачи определяется по формуле dт
=D·exp((1/ )ln(d/D)). Перемещение втулки может быть осуществлено через узкую продольную щель с помощью диэлектрического штырька, присоединенного к втулке.
Список литературы
1. Бова Н.Т., Резников Г.Б
. Антенны и устройства СВЧ. - К.: Вища школа, 1982 - 278 с.
2. Сазонов Д.М.
Антенны и устройства СВЧ. - М.: Высшая школа, 1988 - 432 с.
3. Сазонов Д.М., Гридин А.Н., Мишустин Б.А.
Устройства СВЧ. Под ред. Д.М.Сазонова. - М.: Высшая школа, 1981 - 296 с.
4. Жеребцов И.П.
Введение в радиотехнику дециметровых и сантиметровых волн. - М-Л.: Госэнергоиздат, 1953 - 200 с.
5. Джуринский К.
Миниатюрные коаксиальные радиокомпоненты для микроэлектроники СВЧ. - М.: Техносфера, 2006 - 216 с.
6. Калашников А.М., Степук Я.В.
Колебательные системы - М.: Воениздат, 1972 - 376 с.
7. Справочник конструктора РЭА. Компоненты, механизмы, надежность. Под ред. Р.Г. Варламова.- М.: Радио и связь, 1985 - 384 с.
8. Наймушин М.П.
Согласование линий передачи с нагрузкой.- Екатеринбург: УГТУ-УПИ, 44с.
Приложение 1
[1-4, 6]

Рисунок 1 – Электрическая связь коаксиальной линии с волноводом
для волны Н10
(а) и Е01
(б)

Рисунок 2 – Магнитная связь линии с волноводом для случая волны Н10

Рисунок 3 – Y - образное разветвление

Рисунок 4 – Коаксиальный тройник

Рисунок 5 – Волноводный Н–тройник и его эквивалентная схема

Рисунок 6 - Волноводный Е–тройник и его эквивалентная схема

Рисунок 7 – Кольцевой резистивный делитель

Рисунок 8 – Двойной волноводный тройник

Рисунок 9 – Элементы настройки двойного волноводного тройника:
1 – штырь, 2 - диафрагма
Рисунок 10 – Волноводные тройники (Т –соединения): а – типа Е, б – типа Н

Рисунок 11 – Поглощающий волноводный аттенюатор

Рисунок 12 – Поляризационный аттенюатор

Рисунок 13 – Предельный аттенюатор: а – с возбуждающими дисками, б – с возбуждающими петлями

Рисунок 14 – Шлейфовый антенный переключатель
Рисунок 15 – Волноводный антенный переключатель

Рисунок 16 – Диэлектрический волноводный фазовращатель

Рисунок 17 – Фазовращатель со сжимной линией

Рисунок 18 – Переход от обычного контура (а) к объемному резонатору (б)

Рисунок 19 – Поле в цилиндрическом объемном резонаторе и виды тороидальных резонаторов
Приложение 2
[7]
| Параметры стандарт
ных пря
моугольных волно
водов.
|
| Обозначение типа волновода
|
Номинальные
размеры,
мм
|
Критическая
частота Vкр
волны Н10,
ГГц
|
Рабочий диапазон
частот 1,25Vкр…
1,9Vкр, для волны
Н
10, ГГц
|
Номинальная
частота
1,5Vкр, ГГц
|
Теорити-ческое затухание для меди на 1,5Vкр, дБ/м
|
Пробивная
мощность,
МВт
|
Номинальная толщина стенки S, мм
|
Погонная
масса
трубы,
кг/м
|
| МЭК
R
|
США WR
|
Велико-
британия
WG
|
a
|
b
|
| 3
|
2300
|
-
|
584,2
|
292,1
|
0,257
|
0,32
|
0,49
|
0,386
|
0,00078
|
189
|
4,8
|
83,8
|
| 4
|
2100
|
-
|
533,4
|
266,7
|
0,281
|
0,35
|
0,53
|
0,442
|
0,0009
|
158
|
4,8
|
76,6
|
| 5
|
1800
|
1
|
456,2
|
228,6
|
0,328
|
0,41
|
0,62
|
0,49
|
0,00113
|
116
|
3,2
|
45,3
|
| 6
|
1500
|
2
|
381
|
190,5
|
0,393
|
0,49
|
0,75
|
0,59
|
0,00149
|
81
|
3,2
|
36,8
|
| 8
|
1150
|
3
|
292,1
|
146,05
|
0,513
|
0,64
|
0,98
|
0,77
|
0,00222
|
47
|
3,2
|
28
|
| 9
|
975
|
4
|
247,65
|
123,82
|
0,605
|
0,76
|
1,15
|
0,91
|
0,00284
|
34
|
3,2
|
23,2
|
| 12
|
770
|
5
|
195,58
|
97,79
|
0,766
|
0,96
|
1,46
|
1,15
|
0,00405
|
21,2
|
3,2
|
17,7
|
| 14
|
650
|
6
|
165,1
|
82,55
|
0,908
|
1,14
|
1,73
|
1,36
|
0,00522
|
15,1
|
2,03
|
9,72
|
| 18
|
510
|
7
|
129,54
|
64,77
|
1,157
|
1,45
|
2,2
|
1,74
|
0,00522
|
9,3
|
2,03
|
7,66
|
| 22
|
430
|
8
|
109,22
|
54,61
|
1,372
|
1,72
|
2,61
|
2,06
|
0,0097
|
6,6
|
1,03
|
6,43
|
| 26
|
340
|
9А
|
86,36
|
43,18
|
1,174
|
2,17
|
3,3
|
2,61
|
0,0138
|
4,1
|
2,03
|
5,07
|
| 32
|
284
|
10
|
72,14
|
34,04
|
2,078
|
2,6
|
3,95
|
3,12
|
0,0189
|
2,73
|
2,03
|
4,16
|
| 35
|
-
|
-
|
66,37
|
29,5
|
2,258
|
2,82
|
4,29
|
3,39
|
0,0223
|
2,17
|
2
|
3,71
|
| 40
|
229
|
11А
|
58,17
|
29,08
|
2,577
|
3,22
|
4,9
|
3,87
|
0,0249
|
1,88
|
1,63
|
2,72
|
| 41
|
-
|
-
|
57
|
25,33
|
2,63
|
3,29
|
5
|
3,95
|
0,028
|
1,6
|
2
|
3,17
|
| 48
|
187
|
12
|
47,55
|
22,15
|
3,152
|
3,94
|
5,99
|
4,73
|
0,0355
|
1,17
|
1,63
|
2,18
|
| 58
|
159
|
13
|
40,39
|
20,193
|
3,71
|
4,64
|
7,05
|
5,57
|
0,0431
|
0,9
|
1,63
|
1,91
|
| 70
|
137
|
14
|
34,85
|
15,799
|
4,3
|
5,38
|
8,17
|
6,46
|
0,0576
|
0,61
|
1,63
|
1,61
|
| 84
|
112
|
15
|
28,5
|
12,64
|
5,26
|
6,57
|
9,99
|
7,89
|
0,0794
|
0,4
|
1,63
|
1,32
|
| 100
|
90
|
16
|
22,86
|
10,16
|
6,557
|
8,2
|
12,5
|
9,84
|
0,11
|
0,258
|
1,27
|
0,82
|
| 120
|
75
|
17
|
19,03
|
9,525
|
7,869
|
9,84
|
15
|
11,8
|
0,133
|
0,201
|
1,27
|
0,72
|
| 140
|
62
|
18
|
15,799
|
7,899
|
9,488
|
11,9
|
18
|
14,2
|
0,176
|
0,138
|
1,02
|
0,467
|
| 180
|
51
|
19
|
12,954
|
6,477
|
11,571
|
14,5
|
22
|
17,4
|
0,238
|
0,093
|
1,02
|
0,396
|
| 220
|
42
|
20
|
10,668
|
4,318
|
14,05
|
17,6
|
26,7
|
21,1
|
0,37
|
0,051
|
1,02
|
0,314
|
| 260
|
34
|
21
|
8,636
|
4,318
|
17,357
|
21,7
|
33
|
26
|
0,435
|
0,041
|
1,02
|
0,276
|
| 320
|
28
|
22
|
7,112
|
3,556
|
21,076
|
26,4
|
40
|
31,6
|
0,583
|
0,0281
|
1,02
|
0,234
|
| 400
|
22
|
23
|
5,69
|
2,845
|
26,344
|
32,9
|
50,1
|
39,5
|
0,815
|
0,018
|
1,02
|
0,194
|
Элементы радиочастотных линий передачи:
Учебно-методическое пособие по курсу «Устройства СВЧ и антенны» / В.В.Паслен, Е.С.Нестругина. - Донецк: ДонНТУ, 2007.
Составители: Паслен Владимир Владимирович
Нестругина Елена Сергеевна
Формат 60х84 1/16, 1 м. печать листов – 40 Тираж –
83000, г. Донецк, ул. Артема, 58, ДонНТУ
|