| ФЕДЕРАЛЬНОЕ АГЕНТСТВО ПО ОБРАЗОВАНИЮ
Бийский технологический институт (филиал)
государственного образовательного учреждения
высшего профессионального образования
«Алтайский государственный технический университет
им. И.И. Ползунова»
А.В. Сергиенко, Е.М. Попенко
ОПРЕДЕЛЕНИЕ БАЛЛИСТИЧЕСКИХ ХАРАКТЕРИСТИК ПОРОХОВ И ТВЕРДЫХ РАКЕТНЫХ ТОПЛИВ
Методические рекомендации по выполнению лабораторных работ по курсу «Баллистика ракетных и ствольных систем»
для студентов специальности 240702 «Химическая технология полимерных композиций, порохов и твердых ракетных топлив»
Бийск
Издательство Алтайского государственного технического университета им. И.И. Ползунова
2009
УДК 536.46+678.01
Рецензент: доцент БТИ АлтГТУ, к.т.н. А.И. Жигульский
Сергиенко, А.В.
Определение баллистических характеристик порохов и твердых ракетных топлив: методические рекомендации по выполнению лабораторных работ по курсу «Баллистика ракетных и ствольных систем» для студентов специальности 240702 «Химическая технология полимерных композиций, порохов и твердых ракетных топлив» / А.В. Сергиенко, Е.М. Попенко; Алт. гос. техн. ун-т, БТИ. - Бийск: Изд-во Алт. гос. техн. ун-та, 2009. - 40 с.
Описаны установки для изучения характеристик горения, представлены методики проведения испытаний и обработки опытных кривых давление-время, изложен порядок определения основных баллистических характеристик полимера, полученных при испытаниях в манометрической установке, в приборе постоянного давления и в модельном ракетном двигателе.
Рассмотрены и одобрены
на заседании кафедры ХТ ВМС.
Протокол № 5 от 19.05.2008 г.
ã А.В. Сергиенко, Е.М. Попенко, 2009
ã БТИ АлтГТУ, 2009 СОДЕРЖАНИЕ
| 1 ЛАБОРАТОРНАЯ РАБОТА № 1. МАНОМЕТРИЧЕСКАЯ УСТАНОВКА…………………………………………………………..
|
4
|
| 1.1 Опыты в манометрической бомбе……………………………...
|
4
|
| 1.2 Манометрическая установка……………………………………
|
4
|
| 1.3 Методика проведения опытов в манометрической бомбе……
|
8
|
| 1.4 Определение силы полимера f1
и коволюма продуктов сгорания a………………………………………………………………
|
9
|
| 1.5 Техника безопасности…………………………………………...
|
13
|
| 2 ЛАБОРАТОРНАЯ РАБОТА № 2. ОПРЕДЕЛЕНИЕ БАЛЛИСТИЧЕСКИХ ХАРАКТЕРИСТИК ПОЛИМЕРОВ………...
|
14
|
| 2.1 Содержание работы……………………………………………..
|
14
|
| 2.2 Методика обмера кривой……………………………………….
Забиваем Сайты В ТОП КУВАЛДОЙ - Уникальные возможности от SeoHammer
Каждая ссылка анализируется по трем пакетам оценки: SEO, Трафик и SMM.
SeoHammer делает продвижение сайта прозрачным и простым занятием.
Ссылки, вечные ссылки, статьи, упоминания, пресс-релизы - используйте по максимуму потенциал SeoHammer для продвижения вашего сайта.
Что умеет делать SeoHammer
— Продвижение в один клик, интеллектуальный подбор запросов, покупка самых лучших ссылок с высокой степенью качества у лучших бирж ссылок.
— Регулярная проверка качества ссылок по более чем 100 показателям и ежедневный пересчет показателей качества проекта.
— Все известные форматы ссылок: арендные ссылки, вечные ссылки, публикации (упоминания, мнения, отзывы, статьи, пресс-релизы).
— SeoHammer покажет, где рост или падение, а также запросы, на которые нужно обратить внимание.
SeoHammer еще предоставляет технологию Буст, она ускоряет продвижение в десятки раз,
а первые результаты появляются уже в течение первых 7 дней.
Зарегистрироваться и Начать продвижение
|
15
|
| 2.3 Обработка результатов обмера кривой………………………...
|
16
|
| 2.4 Вычисление характеристики скорости горения u1
…………….
|
18
|
| 2.5 Оформление отчета……………………………………………...
|
19
|
| 2.6 Техника безопасности…………………………………………...
|
20
|
| 3 ЛАБОРАТОРНАЯ РАБОТА № 3. ИСПЫТАНИЯ ПОЛИМЕРОВ В ПРИБОРЕ ПОСТОЯННОГО ДАВЛЕНИЯ………………………...
|
21
|
| 3.1 Прибор постоянного давления………………………………….
|
21
|
| 3.2 Установление закона скорости горения по опытам в приборе постоянного давления……………………………………..
|
24
|
| 3.3 Техника безопасности…………………………………………..
|
28
|
| 4 ЛАБОРАТОРНАЯ РАБОТА № 4. ИСПЫТАНИЯ ПОЛИМЕРОВ В МОДЕЛЬНОМ РАКЕТНОМ ДВИГАТЕЛЕ……………………….
|
29
|
| 4.1 Расчет характеристик РДТТ по результатам стендовых испытаний………………………………………………………………
|
29
|
| 4.2 Опытные определения расходного комплекса b и анализ кривой P(t) в камере сгорания ракетного двигателя………………...
|
32
|
| 4.3 Оформление отчета……………………………………………...
|
36
|
| 4.4 Техника безопасности…………………………………………..
|
37
|
| ЛИТЕРАТУРА…………………………………………………………
|
38
|
1 ЛАБОРАТОРНАЯ РАБОТА № 1
. МАНОМЕТРИЧЕСКАЯ УСТАНОВКА
1.1 Опыты в манометрической бомбе
Явление выстрела как предмет изучения внутренней баллистики выделяется из ряда обычных физико-химических процессов особыми условиями:
- большой величиной давления газов (200–300 МПа и выше);
- высокой температурой газов (2500–3500 К);
- небольшой продолжительностью явления (0,002–0,06 с);
- горением полимера в переменном объеме.
Отмеченные особенности затрудняют экспериментальное изучение явления выстрела непосредственно в орудии. Поэтому законы газообразования, нарастания давления и другие характеристики исследуются предварительно с помощью лабораторной аппаратуры.
Основным вопросом экспериментальной баллистики при изучении горения энергетически обогащенных полимеров является вопрос определения величины и характера нарастания давления. Эту характеристику изучают с помощью прибора – манометрической бомбы, которая позволяет записать кривую изменения давления во времени. На основании обмера и анализа кривой можно определить и другие баллистические характеристики: силу – f
1
, коволюм – a, коэффициент u
1
(в законе скорости горения u
= u
1
·P
), а также получить в виде графиков такие опытные характеристики горения полимера, как Г
(y) и I
(y), где

Горение полимера в манометрической бомбе происходит в постоянном объеме, в отличие от условий горения в канале ствола, где объем непрерывно изменяется. Это обстоятельство облегчает определение законов горения и вместе с тем позволяет установленные в манометрической бомбе закономерности принимать за отправные пункты для изучения горения в условиях переменного объема.
Сервис онлайн-записи на собственном Telegram-боте
Попробуйте сервис онлайн-записи VisitTime на основе вашего собственного Telegram-бота:
— Разгрузит мастера, специалиста или компанию;
— Позволит гибко управлять расписанием и загрузкой;
— Разошлет оповещения о новых услугах или акциях;
— Позволит принять оплату на карту/кошелек/счет;
— Позволит записываться на групповые и персональные посещения;
— Поможет получить от клиента отзывы о визите к вам;
— Включает в себя сервис чаевых.
Для новых пользователей первый месяц бесплатно.
Зарегистрироваться в сервисе
1.2 Манометрическая установка
Манометрическая установка, схема которой приведена на рисунке 1, состоит из следующих основных частей: манометрической бомбы, датчика давления, тензостанции, регистрирующего устройства, линии воспламенения.

1 – манометрическая бомба; 2 − мостик накаливания; 3 – датчик давления; 4 – мостовой блок; 5 – тензостанция ЛХ-7000; 6 – блок питания тензостанции; 7 – осциллограф светолучевой Н-115; 8 – блок питания осциллографа; 9 – блокировка линии воспламенения; 10 – сигнальная лампа блокировки; 11 – блок питания линии воспламенения
Рисунок 1 – Схема манометрической установки
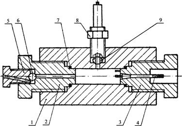
Манометрическая бомба (рисунок 2) представляет собой цилиндрический толстостенный сосуд, открытый с двух сторон, с боковым отверстием под датчик давления. Бомба изготавливается из орудийных сортов стали. Внутренняя часть бомбы имеет в средней части цилиндрическую камеру, в которой происходит сгорание навески исследуемого полимера. Оба конца внутренней полости бомбы нарезаны для ввинчивания запальной втулки и втулки для стравливания продуктов сгорания.

1 − корпус; 2 − втулка для стравливания продуктов сгорания; 3 − запальная втулка; 4 − стальной стержень; 5 − болт; 6 − шарик; 7 − кольцо медное обтюрирующее; 8 − датчик давления; 9 − обтюратор чечевицеобразный
Рисунок 2 – Манометрическая бомба
Запальная втулка с наружной части имеет шестигранную головку, а с торцевой части – выступ. По оси втулка имеет сквозной канал с коническим уширением к торцу. В канал вставляется стальной стержень, изолированный от втулки полиэтиленовой пленкой. В торцевую часть втулки и в коническую часть стержня вставлены стальные штифты. На штифтах закрепляется нихромовая проволочка, проходящая через воспламенитель из дымного пороха. Токопроводящий провод подключается к стальному стержню и корпусу бомбы. При прохождении тока проволочный мостик накаливается и воспламеняет навеску воспламенителя. Под действием продуктов сгорания воспламенителя загорается и основной заряд.
Втулка для стравливания газообразных продуктов сгорания имеет шестигранную головку, торцевой выступ и центральный канал. Канал с наружной стороны запирается стальным шариком, поджатым к коническому уширению канала болтом.
Для предотвращения прорыва газов по резьбе втулок бомба имеет обтюрацию. Обтюрация осуществляется с помощью медных обтюрирующих колец.
Датчик давления ввинчивается в боковое отверстие корпуса бомбы и обтюрируется с помощью стального чечевицеобразного обтюратора, имеющего сквозной канал.
Регистрация давления в камере сгорания производится тензометрическим датчиком давления (преобразователем давления). Датчик давления представляет собой совокупность чувствительного элемента в виде стального тонкостенного цилиндра и наклеенных на него рабочего и термокомпенсационного тензоэлемента.
Проволочные тензоэлемены изготовлены из константановой или манганиновой проволоки толщиной 15–30 мкм и выполнены конструктивно в виде плоской решетки, наклеенной на бумажную основу. Измерение давления с помощью тензодатчиков основано на свойстве проводников изменять омическое сопротивление при деформации.
Двухплечевой датчик давления для получения полной мостовой цепи подключается к тензостанции через мост-блок. Мостовая схема подключается к генератору тензостанции и сбалансирована при атмосферном давлении. Повышение давления в бомбе приводит к деформации тензоэлемента и изменению его сопротивления, что приводит к нарушению баланса моста. Сигнал разбаланса моста усиливается в тензостанции и поступает на регистрирующий прибор – светолучевой осциллограф Н-115.
На фотоленте осциллографа записывается отклонение светового луча, отраженного от зеркальца электромагнитного гальванометра. Электромагнитный гальванометр – шлейф - представляет собой проволочную рамку с наклеенным на него зеркальцем, помещенную в поле постоянного магнита.
При протекании тока разбаланса мостовой схемы рамка вместе с зеркальцем поворачивается в магнитном поле на угол, пропорциональный силе тока, а следовательно, и величине давления. Поворот зеркальца приводит к отклонению отраженного светового луча.
На фотоленте осциллографа одновременно с регистрацией давления наносятся отметки времени от отметчика времени осциллографа или от генератора эталонных частот.
Линия воспламенения, предназначенная для зажжения воспламенителя, подключается к лабораторному стабилизированному выпрямителю ТЕС15 с напряжением на выходе 12 В. Для предотвращения преждевременного воспламенения испытуемого образца линия воспламенения сблокирована с дверью бронекабины и осциллографом.
В целях безопасного проведения испытаний манометрическая бомба устанавливается в бронекабине. Приборы регистрации и управления размещаются на пульте управления, удаленном от бронекабины, и соединяются с манометрической бомбой специальными экранированными кабельными линями.
1.3 Методика проведения опытов в манометрической бомбе
Подготовка к проведению испытаний включает в себя следующие этапы:
- замер объема манометрической бомбы;
- настройку манометрической установки;
- тарировку датчика давления;
- расчет заряда исследуемого полимера.
Замер объема манометрической бомбы проводится на полностью собранной бомбе без болта для стравливания газов путем замера объема этилового спирта, заливаемого из бюретки в бомбу через отверстие во втулке для стравливания газов. Проводится три замера и рассчитывается среднее значение объема бомбы.
Настройка манометрической установки заключается в балансировке мостовой схемы с помощью мостового блока и тензостанции, в выборе диапазона усиления тензостанции и в выборе электромагнитного гальванометра в светолучевом осциллографе.
Тарировка датчика давления осуществляется с целью проверки линейности его характеристик и определения масштаба записи давления. Тарировка проводится ступенчатой нагрузкой датчика давления на масляном тарировочном прессе МП-2500 с записью сигнала на фотоленте осциллографа. На таражной осциллограмме записывается и калибровочный сигнал, подаваемый специальным генератором тензостанции и служащий для корректировки масштабного коэффициента записи давления при изменении коэффициента усиления тензоусилителя.
Масса заряда и воспламенителя рассчитывается, исходя из целей исследования. Взвешивание зарядов полимера и воспламенителя производится на аналитических весах с точностью до 0,001 г. Взвешенный заряд помещается в бюкс. Навеску воспламенителя помещают в гильзу из папиросной бумаги.
Перед началом испытания проводится проверка исправности всех частей установки и заземления электроприборов. После проверки все приборы установки включаются в сеть для прогрева и выхода на режим в течение 1 часа. После прогрева производится проверка балансировки мостовой схемы и нулевого положения светового луча осциллографа.
Сборка манометрической бомбы производится в следующем порядке. Проверяется исправность изоляции стального стержня в воспламенительной втулке. Воспламенитель в бумажной гильзе прокалывается нихромовой проволочкой. Проволока закрепляется на штифтах воспламенительной втулки. Втулка ввинчивается в корпус манометрической бомбы до упора сначала вручную, а затем при помощи ключа. В камеру сжигания помещается заряд полимера и ввертывается до упора втулка для стравливания продуктов сгорания.
Собранная бомба закрепляется в слесарных тисках, и проверяется усилие затяжки втулок, датчика давления и прижимного болта для стравливания газов. Провода линии воспламенения присоединяются к корпусу бомбы и стальному стержню воспламенительной втулки. Размыкается контакт линии воспламенения в светолучевом осциллографе. Кассета с заряженной фотолентой вставляется в гнездо осциллографа. Производится запись на фотоленту нулевого и калибровочного сигнала, после чего при разомкнутом контакте линии воспламенения закрывается дверь бронекабины, при этом должна загореться сигнальная лампа над дверью.
На панели осциллографа включается заданная скорость протяжки фотоленты, тумблер «Двигатель», а затем тумблер «Съемка». С момента включения тумблера «Съемка» начинается движение фотоленты, замыкается контакт линии воспламенения, происходит воспламенение и сгорание навесок воспламенителя и полимера. После окончания опыта включается вытяжная вентиляция, открывается дверь бронекабины и производится стравливание продуктов сгорания при постепенном ослаблении прижимного болта. Вытекающие газы поджигаются специальным фитилем. После сброса давления производится разборка и чистка манометрической бомбы.
Фотолента с записью опыта проявляется, закрепляется и сушится, после чего производится обработка результатов опыта.
1.4 Определение силы полимера f1
и коволюма продуктов сгорания a
1.4.1
Содержание работ
ы
1. Изучение аппаратуры и методики проведения опыта.
2. Проведение опытов в бомбе при двух различных плотностях заряжания.
3. Обработка результатов опытов с целью определения силы исследуемого полимера f
1
и коволюма продуктов сгорания a.
4. Оформление отчета.
1.4.2
Подготовка к проведению опытов
После изучения аппаратуры и порядка проведения опытов производится расчет и приготовление зарядов исследуемого полимера и воспламенителя.
Масса воспламенителя рассчитывается на заданное давление Р
в
по формуле
,
где Р
в
– давление воспламенения, Па;
wв
– масса воспламенителя, кг;
W
0
– объем камеры манометрической бомбы, м3
;
D – плотность заряжания, кг/м3
;
r – плотность полимера, кг/м3
;
f
в
– сила воспламенителя, Дж/кг;
aв
– коволюм газов воспламенителя, м3
/кг.
Для дымного ружейного пороха
f
в
= 28·104
Дж/кг, aв
= 0,5·10-3
м3
/кг.
Масса заряда полимера рассчитывается исходя из заданной плотности заряжания. Обычно она задается в пределах 100–250 кг/м3
.
Зная объем камеры бомбы и плотность заряжания, находят массу заряда по формуле

Производится обмер элементов исследуемого полимера, определяется толщина горящего свода 2е
1
, м.
Взвешивание зарядов полимера и воспламенителя производится на аналитических весах с точностью до 1×10-6
кг. Взвешенный заряд исследуемого полимера помещается в стеклянный или алюминиевый бюксик. Воспламенитель засыпается в гильзу из папиросной бумаги. Подготовив заряды полимера и воспламенителя, производят сборку манометрической бомбы, проверяют установку и производят сжигание по вышеизложенной методике.
1.4.3 Обработка результатов опытов
Силу полимера f
1
и коволюм a можно определить аналитически, используя формулу Нобеля–Абеля:

Проводя два опыта при различных плотностях заряжания D1
и D2
, получают соответственно значения максимальных давлений в камере Pm
1
и Pm
2
. В найденные опытные значения Pm
1
и Pm
2
должны быть внесены поправки на теплоотдачу стенкам бомбы.
Потери на теплоотдачу находят по формуле

где DPm
/Pm
и C
м
в процентах;
F
d
– площадь поверхности камеры манометрической бомбы, м2
.
Величина F
d
/W
0
(оголенность бомбы) может быть вычислена по формуле

где d
– диаметр канала бомбы, м;
c
– половина длины канала бомбы, м.
Величина C
м
может быть оценена по графику, приведенному на рисунке 3.
Время, мс
Рисунок 3 – Кривая C
м
, характеризующая потери на теплоотдачу стенкам бомбы (по Мюрауру)
Для того чтобы воспользоваться кривой потерь давления, необходимо знать время горения заряда t
к
для условий, в которых была получена кривая C
м
.
Значения t
к
можно рассчитать на основе теоретической формулы (для элементов с постоянной поверхностью горения)

где 
е
1
– половина толщины горящего свода, м;
u
1
– коэффициент в законе скорости горения полимера u
=u1
·P
, м/с×Па.
При вычислении t
к
берут значение Р
в
= 25·106
Па.
Определив значения C
м
, вычисляют абсолютную поправку к давлению:

Находят: 
Получив значения и , составляют два уравнения:
 
Решая составленные уравнения, вычисляют a и f
1
:


1.4.4 Оформление отчета
Отчет по лабораторной работе составляется по следующей форме.
Дата____________Группа___________Студент________________
Опыты с целью определения силы полимера f
1
и коволюма a.
Объем бомбы W
0
= …м3
.
Диаметр канала бомбы d
= …м, длина 2c
= …м.
Марка полимера________________ Воспламенитель____________
D1
= …кг/м3
, D2
= …кг/м3
.
P
в
= …МПа.
Результаты опыта оформляются в виде таблицы (таблица 1).
Таблица 1 – Обработка результатов опыта
| Характеристики
|
Опыт 1
|
Опыт 2
|
| Масса заряда w, кг
|
| Масса воспламенителя wв
, кг
|
| Максимальное давление газов Р
m
, Па
|
| F
d
/W
0
, м-1
|
| t
к
, c
|
| C
м
, %
|
| DР
m
, Па
|
| Р
m
’
, Па
|
| f
1
, Дж/ кг
|
| a, м3
/кг
|
1.5 Техника безопасности
К работе допускаются лица, ознакомленные с инструкцией и прошедшие инструктаж по технике безопасности, изучившие настоящие методические рекомендации и порядок работы на установке.
Максимальное давление продуктов сгорания при опыте не должно превышать допустимого для используемой манометрической бомбы. Расчет навески полимера проверяется преподавателем.
Резка полимера на элементы проводится в специально отведенном месте. Не допускать скопления на рабочем месте стружки и пыли.
При проведении опытов строго соблюдать последовательность операций, изложенных в руководстве. Категорически запрещается:
а) заходить в бронекабину во время испытаний и проводить работы при открытой двери бронекабины;
б) проводить разборку установки без сброса давления;
в) работать при неисправной вытяжной вентиляции;
г) испытывать вещества с неизвестными свойствами.
Масса пожаровзрывоопасных веществ на рабочем месте не должна превышать необходимого для данного опыта количества.
2 ЛАБОРАТОРНАЯ РАБОТА № 2
. ОПРЕДЕЛЕНИЕ БАЛЛИСТИЧЕСКИХ ХАРАКТЕРИСТИК ПОЛИМЕРОВ
Анализ опытной кривой изменения давления продуктов сгорания полимера по времени в условиях манометрической бомбы P
–t
позволяет определить важнейшие характеристики процесса горения полимера Г
оп
, I
, u
1
.
Опытная характеристика прогрессивности горения , ее функциональная зависимость от относительной сгоревшей части заряда полимера Y (кривая Г
оп
–Y) являются хорошими анализаторами горения полимеров. Исследование опытной функции Г
оп
-Y позволяет провести баллистический анализ горения полимеров, то есть выяснить на опыте влияние различных факторов на действительный закон образования газов.
Импульс давления газов
выражает площадь кривой P
–t
. Интегральная кривая I
–Y тоже является характеристикой горения полимера и так же как функции Г
оп
-Y (хотя и не так резко) меняет свой вид в зависимости от размеров и формы полимерных элементов, от массы воспламенителя, от физической или химической неоднородности структуры полимера (пористость), от длины и диаметра каналов элементов и ряда других факторов. Интегральные диаграммы I
–Y применяются для установления закона скорости горения, а в случае линейной зависимости u
= u
1
·P
для определения коэффициента скорости горения u
1
– важнейшей баллистической характеристики полимеров.
2.1 Содержание работы
1. Изучение аппаратуры и методики работы на ней.
2. Обмер опытных кривых давление–время.
3. Обработка результатов обмера.
4. Оформление отчета.
Опытную кривую P
–t
получают путем сжигания навески полимера в манометрической бомбе при заданных преподавателем условиях по методике, описанной в лабораторной работе № 1.
2.2 Методика обмера кривой
Осциллограмма опыта, типичный вид которой приведен на рисунке 4, представляет собой в некотором масштабе кривую изменения давления продуктов сгорания во времени. Перевод кривой сигнала тензодатчика в кривую давления газов производится путем обмера ее на компараторе с расчетом величины ординат кривой в давление при помощи таражной таблицы, графика или таражного коэффициента.

1 – опытная кривая P
–t
; 2 – отметка времени
Рисунок 4 – Типичная осциллограмма опыта
Компаратор – оптический прибор, который позволяет определить координаты точек на плоскости с точностью до 0,01 мм.
Масштаб времени задается масштабом меток времени осциллографа или специального генератора эталонных частот (отметчика времени). Для определения времени процесса умножают масштаб меток времени на число меток на рассматриваемом участке осциллограммы.
Обмер опытной кривой проводят через определенные промежутки времени, при этом желательно получить 20–25 точек, чтобы с большим приближением при дальнейшей обработке можно было принимать участки кривой между соседними точками за прямые линии. Так как линия кривой имеет значительную толщину, то для увеличения точности отсчета необходимо наводить перекрестие окуляра микроскопа на резко видимую границу белого и черного, вести обмер следует по верхнему краю кривой.
Давление в любой момент времени процесса определяется путем умножения высоты Н
кривой С
–t
в данный момент на таражный коэффициент М
. Таким образом, получают численную зависимость давления Р
в бомбе в функции от времени t
.
2.3 Обработка результатов обмера кривой
Обработка результатов обмера кривой сводится к вычислению значений импульса давления газов и характеристики интенсивности газообразования, то есть , . Интеграл представляет собой площадь, ограниченную кривой Р
–t
и осью времени t
. Эту площадь можно определить по правилу трапеции, если принять участки между двумя соседними точками прямолинейными. Площадь элементарной трапеции рассчитывается как произведение средней арифметической ординаты смежных точек кривой нарастания давления и промежутка времени, разделяющего эти точки:

Суммируя такие площадки, можно найти значения в последовательные моменты времени: Зная величину давления в соответствующие моменты времени и используя общую формулу пиростатики, можно найти последовательные значения сгоревшей к данному моменту части заряда Y.
Решив общую формулу пиростатики относительно Y, получим:

где Р
Y
– давление, соответствующее данному моменту времени горения заряда;
Р
m
ax
– максимальное давление, полученное при опыте;
Р
в
– давление газов воспламенителя;

где d – коволюм газов исследуемого полимера;
D – плотность заряжания при опыте;
r – плотность полимера.
Величина Y является функцией двух параметров: постоянного для опыта параметра d и переменного отношения меняющегося от 0 до 1.
Определив разность соседних значений Y, то есть , и вычислив соответствующие данному участку элементарные площадки Р
ср
∆t
, находим последовательные значения величин , характеризующих прогрессивность горения полимера в бомбе.
Обычно и выражают в виде кривых в функции Y. При построении графиков нужно иметь в виду, что нужно строить в функции Y, так как и и Y относятся к одному и тому же давлению. Величину Г
оп
, характеризующую быстроту газообразования на участке от Yі
до Yі
+1
нужно наносить на график от Y среднего, характеризующего данный участок изменения Y.
Последовательность обработки кривой Р
–t
для получения I
и Г
оп
приведена в таблице 2.
Таблица 2 – Последовательность обработки опытной кривой
| t
|
H
|
Dt
|
P
|
P
ср
|
P
ср
·Dt
|

|

|
Y
|
DY
|
Yср
|

|
Образцы кривых I
(Y) и Г
оп
(Y), получающихся в результате обработки кривых Р
–t
, приведены на рисунке 5. Особенностью кривой Г
оп
(Y) является ее зигзагообразность, что объясняется не процессом горения полимера, а свойствами операции численного дифференцирования, особенно сильно проявляющимися при недостаточно точном обмере кривых.

Рисунок 5 – Образцы кривых Г
оп
(Y) и I
(Y)
2.4 Вычисление характеристики скорости горения u1
Величина u
1
определяется по формуле 
Применение этой формулы было бы справедливо, если бы толщина всех зерен заряда была бы одинакова. Полный импульс давлений соответствует сгоранию элементов наибольшей толщины и включает импульс давления от воспламенителя. Для определения I
кср
, отвечающего сгоранию средней толщины, надо продолжить по лекалу вторую половину кривой I
(Y) при изменении Y в пределах 0,5…0,9 до пересечения этого основного направления кривой с ординатой Y=1 (рисунок 6).

Рисунок 6 – Определение I
кср
и Is
по кривой I
(Y)
Тогда

где e
1ср
– половина средней толщины горящего свода.
При построении от Y начальный участок до Р
в
не учитывается, а таблицу составляют от Р
в
.
В случае полимерных элементов прогрессивной формы, исходя из средней толщины горящего свода, вычисляют величину Ys
, соответствующую моменту распада полимерного элемента, допуская, что зерно горит по геометрическому закону.
По найденному значению Ys
восстанавливают ординату до пересечения с кривой I
(Y) (см. рисунок 3) и найденное значение Is
подставляют в формулу 
Полученное значение u
1
является условным, так как зерно не горит по геометрическому закону.
2.5 Оформление отчета
Отчет составляется по следующей форме.
Обработка опытной кривой Р
–t
с целью определения баллистических характеристик полимера Г
оп
, I
к
, u
1
.
Дата_________ Группа_______________________
Студент_______________
Опыт №___ Дата опыта____________________
Марка полимера__________ Воспламенитель_______________
Объем бомбы W
0
=…м3
.
∆ =…кг/м3
. Р
в
=…Па.
Температура испытаний Т
=…°С.
Плотность полимера r =…кг/м3
.
Коволюм полимера d =…м3
/кг.
Масса заряда w3
=…кг.
Масса воспламенителя wв
=…кг.
Размеры элементов D
н
=….м, d
к
=…м, 2e
1
=….м.
Таражный коэффициент М
= …Па/м.
Далее в отчете приводится таблица с результатами обмера и обработки кривой Р
–t
; строятся графики Г
оп
(Y), I
(Y); вычисляется величина u
1
и дается заключение о степени прогрессивности и других особенностях горения исследуемого полимера.
2.6 Техника безопасности
К работе под руководством преподавателя или сотрудника, ответственного за установку, допускаются лица, ознакомленные с инструкцией и прошедшие инструктаж по технике безопасности, изучившие настоящие методические рекомендации и порядок работы на установке.
К самостоятельной работе на установке допускаются лица, сдавшие экзамен на допуск к самостоятельной работе.
Максимальное давление продуктов сгорания при опыте не должно превышать допустимого для используемой манометрической бомбы. Расчет навески полимера проверяется преподавателем.
Резка полимера на элементы проводится в специально отведенном месте. Не допускать скопления на рабочем месте стружки и пыли.
При проведении опытов строго соблюдать последовательность операций, изложенных в руководстве. Категорически запрещается:
а) заходить в бронекабину во время испытаний и проводить работы при открытой двери бронекабины;
б) проводить разборку установки без сброса давления;
в) работать при неисправной вытяжной вентиляции;
г) испытывать вещества с неизвестными свойствами.
На рабочем месте не должны находиться полимеры и воспламенительные составы, кроме необходимых для данного опыта навесок.
3 ЛАБОРАТОРНАЯ РАБОТА № 3
. ИСПЫТАНИЯ ПОЛИМЕРОВ В ПРИБОРЕ ПОСТОЯННОГО ДАВЛЕНИЯ
Приборы постоянного давления (ППД) предназначены для исследования процесса горения полимеров. С их помощью изучают:
- зависимость скорости горения полимеров от давления, называемую законом скорости горения, u
= f
(P
) в данном интервале давлений;
- зависимость скорости горения от начальной температуры полимера u
= f
(Т
0
), на основании которой определяют температурный коэффициент скорости горения b;
- зависимость состава продуктов сгорания от давления;
- распределение температур по зонам горения в зависимости от различных факторов.
Кроме того, приборы постоянного давления позволяют производить киносъемку процесса горения, а также спектроскопические и другие исследования.
3.1 Прибор постоянного давления
Прибор постоянного давления, схема установки которого представлена на рисунке 7, имеет следующие основные части:
- камеру сгорания;
- комплекс для измерения времени горения полимера на контрольном участке;
- систему обеспечения и замера заданного давления.
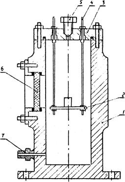
Камера сгорания прибора постоянного давления (рисунок 8) представляет собой цилиндрический толстостенный сосуд с окнами и крышкой, смонтированный в бронекабине. Крышка, соединяемая с корпусом при помощи болтов, имеет в центре клапан сброса давления и два изолированных стержня, которые являются контактами линии воспламенения и используются для крепления на них текстолитовой площадки, используемой для размещения образца полимера.
Время горения исследуемого образца на контрольном участке определяют с помощью фотоэлемента, установленного в окне камеры сгорания и подключенного непосредственно в цепь электромагнитного гальванометра осциллографа.
Необходимое давление в камере сгорания в интервале от 0,1 до 15 МПа создается инертным газом – азотом.

1 – камера сгорания; 2 – образец; 3 – запальная спираль;
4 – блокировка двери бронекабины; 5 – сигнальная лампа блокировки; 6 – источник питания линии воспламенения; 7 – осциллограф
светолучевой H-II7/I; 8 – блок питания осциллографа; 9 – блок питания тензостанции; 10 – тензостанция ЛХ-7000; 11 – манометр; 12 – баллон с азотом; 13 – буферная емкость; 14 – преобразователь (датчик) давления ЛХ 412/150; 15 – фотодиод ФД-3
Рисунок 7 – Прибор постоянного давления

1 – корпус; 2 – площадка для образца; 3 – крышка; 4 – контакты линии воспламенения; 5 – клапан сброса давления; 6 – окно; 7 – штуцер подвода азота
Рисунок 8 – Камера сгорания прибора постоянного давления
Для этого камеру соединяют трубопроводом с газовым баллоном. Трубопровод перекрыт вентилем, смонтированным вне бронекабины.
Постоянство давления в камере обеспечивается с помощью компенсационного сосуда (буферного баллона). Давление в приборе контролируют образцовым манометром и регистрируют с помощью тензометрического преобразователя (датчика) давления. Сигнал от датчика давления после преобразования в тензостанции записывается на фотоленте осциллографа одновременно с записью сигнала от фотодиода.
Воспламенение образца полимера осуществляют с помощью навески дымного ружейного пороха (ДРП), воспламеняемого, в свою очередь, от запальной спирали из нихромовой проволочки. Концы спирали подсоединяют к контактам линии воспламенения, которая подключена к источнику питания с напряжением 12 В. Для предотвращения преждевременного воспламенения испытуемого образца линия воспламенения сблокирована с дверью бронекабины и с осциллографом.
Приборы регистрации и управления размещаются в целях безопасного проведения испытаний на пульте управления, удаленном от бронекабины, и соединяются с камерой сгорания экранированными кабельными линиями.
3.2 Установление закона скорости горения по опытам в приборе постоянного давления
3.2.1 Содержание работы
1. Изучение аппаратуры и методики проведения опытов.
2. Определение скорости горения образцов полимера при заданном постоянном давлении.
3. Обработка полученных данных.
4. Оформление отчета.
3.2.2 Основные понятия и определения
Различают линейную, массовую и объемную скорости горения. В расчетах по внутренней баллистике используют главным образом линейную скорость горения. Линейная скорость горения – это скорость перемещения фронта горения в глубь полимерного элемента по нормали к его поверхности. Единицы измерения линейной скорости горения: метр в секунду (м/с), сантиметр в секунду (см/с), миллиметр в секунду (мм/с).
Скорость горения полимеров зависит от их природы, а также от давления, начальной температуры заряда полимера, скорости газов, обтекающих поверхность горения. Важнейшей является зависимость скорости горения от давления – закон скорости горения, который в области низких давлений 1…15 МПа имеет вид:
u
= A·
P
n
.
Определение скорости горения в приборе постоянного давления сводится к измерению контрольного участка на образце полимера и времени, за которое фронт горения проходит этот участок. Скорость горения u
= l/t
.
При установлении закона скорости горения u
(P
) коэффициенты А
и n определяют методом наименьших квадратов или методом средних.
В случае определения зависимости скорости горения полимера от начальной температуры, сжигание образцов в приборе проводят при различных начальных температурах в интервале от минус 50 до плюс 50 °С. По результатам испытаний определяется либо температурный коэффициент скорости горения b = d
(lnu
)/dT
, либо коэффициент, равный отношению скоростей горения при различных начальных температурах Kt
= u
+50
/u
-50
.
3.2.3 Подготовка и проведение опытов
Для сжигания в ППД готовят образцы цилиндрической формы определенного диаметра и длины прессованием или вытачивают из шашек большего диаметра. Торцы образцов перпендикулярны оси. Высоту измеряют микрометром. Не допускаются к испытаниям (считаются браком) образцы с такими дефектами, как трещины на торцах и боковой поверхности, воздушные включения, рыхлая структура, инородные включения, рваная поверхность, вмятины, сколы, заусенцы.
Проводят бронирование образцов с боковой поверхности для обеспечения горения параллельными слоями в осевом направлении.
К бронирующему покрытию предъявляют следующие требования: плотное и надежное прилегание к поверхности образца, защита образца oт прогрева, невзаимодействие с компонентами полимерной композиции, при термостатировании бронирующий слой не должен деформироваться, разрушаться и отслаиваться от поверхности образца. Этим требованиям отвечает бронирование составом ЭПМ-68: 58 % эпоксидной смолы (ЭД-20), 35 % полиэфирной смолы, 7 % отвердителя (полиэтиленполиамин ПЭПА). После отверждения бронесостава на боковую поверхность образца наматывают полоску липкой ленты с целью образования на незабронированном торце бортика высотой 1,5–2 мм.
Проводят настройку манометрической установки и тарировку преобразователя давления с целью проверки линейности его характеристик и определения масштаба записи давления. Тарировку осуществляют ступенчатой нагрузкой преобразователя давления на гидравлическом прессе МП-2500 в интервале давлений 0,1–15 МПа с записью сигнала на фотоленте осциллографа.
Перед испытаниями проводят проверку рабочего состояния и исправности всех приборов, соединительных линий и заземления. После проверки все приборы установки включают в сеть для прогрева и выхода на режим в течение 1 часа. После прогрева производится проверка балансировки мостовой схемы и нулевого положения световых лучей на осциллографе.
Предварительно оттермостатированный образец устанавливают на площадку крышки. Для обеспечения одновременного и надежного воспламенения образца на его незабронированный торец насыпают ДРП, который воспламеняется от запальной проволочной спирали. Концы спирали подсоединяют к контактам линии воспламенения. Крышку закрепляют на корпусе камеры сгорания с помощью болтов. Закрывают клапан сброса давления.
Подключают линию датчика давления к разъему датчика, провода линии воспламенения – к контактам на крышке. Размыкают контакт линии воспламенения в осциллографе. Кассету с заряженной фотолентой вставляют в гнездо осциллографа. Производят запись нулевого и калибровочного сигналов, после чего при разомкнутом контакте линии воспламенения закрывают дверь бронекабины, при этом загорается сигнальная лампа над дверью.
На панели осциллографа устанавливают заданную скорость протяжки фотоленты. Открывают вентиль на трубопроводе и вентиль баллона с азотом, давление в камере сгорания доводят до заданного по показаниям манометра, после чего закрывают оба вентиля.
Начинают испытание путем включения тумблеров «Двигатель» и «Съемка» на осциллографе. Во время опыта наблюдают за показаниями осциллографа и манометра. По окончании опыта размыкают контакт линии воспламенения на осциллографе, включают вытяжную вентиляцию, открывают дверь бронекабины и открывают клапан сброса давления. После полного стравливания продуктов сгорания производят разборку и чистку камеры сгорания, протирают окно этиловым спиртом.
Фотоленту с записью опыта обрабатывают реактивами, сушат, после чего производят обработку результатов опыта.
3.2.4. Обработка результатов испытаний
Высоту образца полимера (длину контрольного участка) определяют измерением при его подготовке к сжиганию, время горения и давление испытания – обработкой осциллограммы опыта.
Скорость горения рассчитывает по формуле u
= l/t
. Так как давление в камере во время опыта увеличивается, то скорость горения относят к среднему давлению: Р
ср
= (Р
нач
+Р
кон
)/2.
Проведя серию испытаний, определяют среднюю скорость горения и доверительный интервал при выбранной вероятности.
В заданном диапазоне давлений опыты проводят с интервалом около 1 МПа. Значения скорости горения наносят на график u
(P
); по виду линии, проведенной через экспериментальные точки, судят о характере зависимости. Строят график зависимости в логарифмических координатах lgu
(lgP
). Проведя через полученные точки прямую и убедившись в малом отклонении точек от прямой, графически или аналитически определяют коэффициенты А
и n.
Более точно коэффициенты в законе скорости горения определяют методом наименьших квадратов расчетом на ЭВМ по стандартной программе. Если данной функцией не удается с необходимой точностью выразить закон скорости горения во всем исследованном диапазоне давлений, то диапазон разбивают на интервалы и подбирают коэффициенты для каждого из них.
3.2.5 Оформление отчета
Отчет по лабораторной работе составляют по следующей форме.
Дата_________ Группа ____________Студент ___________
Наименование работы ___________________
Цель работы ___________________________
1. Определения и основные положения.
2. Описание установки.
3. Порядок проведения опытов.
4. Условия проведения экспериментов: наименование полимера, диаметр образцов; заданные давления, при которых определяют скорости горения; заданная температура образцов.
5. Тип бронирования.
6. Результаты опытов и их первичная обработка. Материалы представляются в виде осциллограмм и таблицы (таблица 3).
Таблица 3 – Результаты опытов и их первичная обработка
| Номер опыта
|
Р
, ПМа
|
Т
зад
, К
|
l
, мм
|
t
г
, с
|
u
изм
, мм/с
|
u
пр
, мм/с
|
7. Результаты обработки полученных данных.
Если определяют скорость горения при заданном давлении, то результаты представляют в виде среднеарифметического значения скорости горения, среднеквадратичной погрешности измерения, коэффициента Стьюдента и доверительного интервала.
Если устанавливают закон скорости горения, то результаты представляют в виде графиков u
(P
), lgu
(lgP
). Скорость горения приводят к заданной температуре. Анализ графиков позволяет выбрать интервалы давления, для которых определяют коэффициенты А
и n.
Расчеты проводят на основании графиков lgu
(lgP
) или на ЭВМ с выводом на печать коэффициентов А
и n, среднеквадратичной погрешности S
.
Значения функции наносят на график u
(P
), приводят запись полученного закона скорости горения. Доверительный интервал получаемых значений скорости горения рассчитывают, как при косвенных измерениях.
3.3 Техника безопасности
К работе под руководством преподавателя или сотрудника, ответственного за установку, допускаются лица, ознакомленные с инструкцией и прошедшие инструктаж по технике безопасности, изучившие настоящие методические рекомендации и порядок работы на установке.
К самостоятельной работе на установке допускаются лица, сдавшие экзамен на допуск к самостоятельной работе.
При сжигании полимеров в приборе постоянного давления учитывают возможность его объемного горения и вследствие этого резкого увеличения давления, что может привести к разрушению камеры сгорания, окон, газоводов. Испытания проводят только при закрытой двери бронекабины.
Баллоны с инертным газом имеют маркировку и клеймо срока переосвидетельствования. Запрещается использовать баллоны с неисправными вентилями! Баллоны устанавливают вертикально и закрепляют хомутами.
Перед началом роботы с приборами постоянного давления необходимо убедиться в исправности установки, обратив внимание на исправность электрооборудования, вентилей, газоводов.
При проведении испытаний строго соблюдать последовательность операций, изложенных в методических рекомендациях.
4 ЛАБОРАТОРНАЯ РАБОТА № 4
. ИСПЫТАНИЯ ПОЛИМЕРОВ В МОДЕЛЬНОМ РАКЕТНОМ ДВИГАТЕЛЕ
4.1 Расчет характеристик РДТТ по результатам стендовых испытаний
К внутрибаллистическим характеристикам РДТТ относят:
– максимальное P
max
и минимальное P
min
давление в камере сгорания;
– импульс давления и среднеинтегральные давления за время работы РДТТ и на характерных участках работы;
– максимальную скорость изменения давления (dp
/dt
)max
;
– коэффициент дегрессивности k
Д
= Pi
ср
/P
max
;
– относительную продолжительность спада давления

– временные характеристики работы РДТТ;
– расходный комплекс;
– скорость горения топлива.
Внутрибаллистические характеристики РДТТ определяют по осредненной кривой давления в камере сгорания. Способ осреднения кривых давления зависит от степени доверия к результатам измерения разными каналами (при одновременном использовании нескольких измерителей давления) или в разных опытах. Если результаты измерения равноточны (опытные кривые получены разными, но одинаково точными измерительными комплексами или одним и тем же измерительным комплексом в одной серии), то осреднение проводят путем нахождения среднеарифметических значений давления в РДТТ в каждый момент времени:

где n
=1, 2,… – номера преобразователей или опытов.
Если результаты измерения неравноточны (опытные кривые получены разными измерителями комплексами или одним комплексом в разное время), а систематические погрешности отсутствуют, то осредненную кривую давления получают по средневзвешенным величинам давления в различные моменты времени:

где m
– число неравноточных групп в серии или число неравноточных серий опытов;
Pj
– среднеарифметическое в группе или серии опытов;
qj
= nj
/Sj
– частность группы или серии равноточных опытов (характеризует степень доверия к результатам измерений в группах или сериях);
nj
– число измерителей давления в j
-й группе или число опытов в j
-й серии;
Sj
– выборочная среднеквадратичная погрешность измерения в j-
й группе или j
-й серии равноточных измерений.
Перед осреднением кривых давления пороховых газов в камере сгорания РДТТ выявляют и исключают аномальные результаты.
По результатам расчетов среднеарифметических значений давления в выбранные моменты времени строят осредненную кривую изменения давления в камере сгорания РДТТ, по которой определяют внутрибаллистические характеристики РДТТ. На рисунке 9 показана кривая давления в камере сгорания РДТТ.

Рисунок 9 – Кривая давления в камере сгорания РДТТ
Временные характеристики на кривой давления:
t
з
– время задержки воспламенения (время от подачи электрического тока на мостик пировоспламенителя до начала подъема кривой давления в камере сгорания);
t
в.р
– время выхода двигателя на рабочий режим (время достижения давления, равного давлению в начале установившегося режима);
t
г
– время установившегося горения заряда;
t
сп
– время спада давления;
t
раб
(t
ист
) – время работы двигателя (время истечения газов).
Скорость изменения давления dp
/dt
определяют на участке выхода на режим и на участке установившегося горения.
Импульсы давления I
P
на временном участке 
Полный импульс давления определяют за время работы двигателя 
Среднеинтегральное значение давления на участке ∆t

Расходный комплекс

где S
кр
– площадь критического сечения сопла;
G
c
– секундный расход газов через сопло.
Средняя скорость горения ТРТ

Тяговые характеристики РДТТ при огневых стеновых испытаниях рассчитывают по текущим значениям тяги F
(t
). За исходную для расчета берут осредненную кривую тяги. Максимальное и минимальное значения тяги за время работы двигателя, как правило, определяют на участке t
г
. Импульс тяги

где t
н
, t
к
– время начала и конца участка соответственно.
Полный импульс тяги I
п
рассчитывают в интервале t
раб
.
Среднеинтегральное значение тяги в данный период времени
. Среднеинтегральное значение тяги за время работы РДТТ вычисляют в интервале t
раб
.
Удельная тяга РДТТ определяется как отношение тяги к секундному расходу:
Удельный импульс тяги (среднеинтегральное значение тяги) РДТТ
где m
з
– масса заряда ТРТ.
Тяговый комплекс
Удельный импульс тяги характеризует совершенство ТРТ и РД. Для характеристики ТРТ принят удельный импульс тяги условного двигателя, в котором нет потерь энергии в камере сгорания и сопле I
1
. Он называется удельным импульсом ТРТ (единичным импульсом).
Экспериментальное определение удельного импульса ТРТ – основной энергетической характеристики топлива – связано с трудностями учета этих потерь. Поэтому при сравнении ТРТ по I
1
пользуются значениями I
уд
, полученными либо в регламентированных по устройству и размерам модельных РД, либо, принимая потери энергии одинаковыми для обоих топлив, исследуемого и с известным I
1
, полученными в одних и тех же условиях и соответственно пересчитанными.
4.2 Опытные определения расходного комплекса b и анализ кривой P(t) в камере сгорания ракетного двигателя
4.2.1 Цель и содержание работы
1. Изучение материальной части и методики проведения опытов.
2. Проведение опытов в модельных РДТТ при различных критических сечениях сопла.
3. Анализ опытных кривых P
(t
) и расчет расходного комплекса.
4. Оформление отчета.
4.2.2 Основные понятия и определения
При установившемся течении секундный расход газов равен:

где P
0
, T
0
– давление и температура газа на входе в сопло;
R
– удельная газовая постоянная;
g – показатель изоэнтропы.
С учетом потерь секундного расхода при истечении газа через сопло коэффициентом jG
и потерь энергии в сопле коэффициентом c получаем
.
Выражение
(1)
называется расходным комплексом. Он, как видно из формулы (1), определяется природой топлива (R
, T
0
, g) и конструкцией двигателя (jG
, c). Таким образом, секундный расход газов через сопло
(2)
т.е. секундный расход пропорционален давлению газов на входе в сопло, площади критического сечения сопла и обратно пропорционален расходному комплексу.
Теоретические расчеты расходного комплекса по формуле (1) вызывают трудности, так как для этого необходимо знать состав продуктов сгорания, их температуру на входе в сопло, т.е. с учетом потерь энергии в камере сгорания, значения коэффициентов jG
и c. Поэтому для каждого твердого топлива и РД значения расходного комплекса определяют на основании экспериментальных данных. Расчеты ведут по преобразованной относительно b формуле (2)
Умножив числитель и знаменатель на dt
и проинтегрировав в пределах t
раб
, получим среднеинтегральный расходный комплекс:
где – полный импульс давления газов;
m
з
– масса заряда ТРТ.
4.2.3 Подготовка к проведению опытов
Подготовка к проведению опытов состоит из следующих этапов:
1. Подготовка установки. Проводят осмотр деталей РД и стапеля. Двигатель со всеми входящими в сборку деталями и элементы стапеля должны быть чистыми, с исправной резьбой. Сопло должно плотно садиться в гнездо по всей конической поверхности, на которой не должно быть ни нагара, ни ржавчины. Внутренние конические поверхности и критическое сечение сопла должны быть чистыми без наплывов и выгоревших мест. Сопла, бывшие в употреблении, осматривают особенно тщательно. Критическое сечение сопла измеряют с помощью штангенциркуля с точностью до 0,1 мм.
2. Подготовка образцов. Обычно в лабораторных исследованиях применяют образцы в форме одноканальных цилиндрических шашек с размерами, заданными преподавателем. Если шашка имеет размеры, отличные от заданных, ее необходимо довести до требуемых размеров на токарном станке. Измерения шашек производят с помощью штангенциркуля, после чего шашки взвешивают с точностью до 0,1 г; торцы шашек бронируют негорючим материалом.
3. Подготовка воспламенителя. Берут с точностью до 0,01 г навеску состава. Воспламенитель может быть составным, в этом случае берется 0,5 г ДРП, а остальная часть – пиросостав. Навеску ДРП заворачивают в папиросную бумагу и через этот пакетик продевают нихромовую проволоку длиной 10–20 мм. Концы нихромовой проволоки подсоединяют к изолированным медным проводам, с концов которых удалено изоляционное покрытие. Пиросостав вместе с воспламенителем из ДРП заворачивают в папиросную бумагу. Состав и величину навески воспламенителя задает преподаватель.
4. Градуирование датчика давления. Для расшифровки осциллограмм с записью опытных кривых P
(t
) необходимо иметь масштаб записи давления. С помощью масляного пресса, снабженного образцовым стрелочным манометром, проводят градуирование датчика давления. Для получения градуировочной осциллограммы датчик давления, подсоединенный к прессу, ступенчато нагружается и разгружается либо с помощью грузовых дисков пресса, либо с помощью винта, создающего давление в масляной системе пресса с фиксацией давления по манометру.
Показания датчика при каждом нагружении записывают на осциллограмму. На осциллограмму наносят данные, необходимые для построения градуировочного графика (давление, номера опытов, которые будут обрабатываться по этому графику, и дату получения градуировочной осциллограммы). Измеряют высоты нагрузочной и разгрузочной ветвей осциллограммы и строят градуировочный график в координатах высота–давление.
Когда высоты нагрузочной и разгрузочной ветвей, соответствующие одному и тому же давлению, различаются между собой (датчик имеет гистерезис), берут средние высоты. В зависимости от расположения точек на графике через них проводят прямую или плавную кривую. Криволинейная зависимость h
(P
) указывает на нелинейность работы измерительного комплекса. Обычно градуирование датчика давления производят в начале и конце серии опытов.
4.2.4 Проведение опытов
Проведение опытов включает в себя ряд операций, первой из которых является сборка РДТТ. Схема снаряженного двигателя приведена на рисунке 10.

1 – запальные электропровода; 2 – сопловая втулка; 3 – сопло; 4 – сопловая решетка; 5 – корпус; 6 – заряд РТТ; 7 – воспламенитель; 8 – переходник; 9 – отверстие под датчик; 10 – нить накаливания
Рисунок 10 – Схема снаряжения лабораторного РДТТ
Собранный РД устанавливают на стапель, подключают датчик давления к линии измерения и провода воспламенителя к линии воспламенения. В целях предотвращения самопроизвольного воспламенения необходимо перед подключением линии воспламенения убедиться с помощью приборов в отсутствии напряжения в линии воспламенения. После этого все покидают огневой бокс, закрывают двери. При этом над дверью зажигается световое табло «Не входить. Идут испытания». На пульте управления включают осциллограф и нажимают кнопку линии воспламенения.
После окончания работы РД включают вентилятор и через 2–5 мин, войдя в бокс, снимают двигатель со стапеля в защитных рукавицах. РД охлаждают, производят разработку и чистку деталей. Если сгорание образца не произошло, то выжидают 3–5 мин, отсоединяют линию воспламенения, прибором проверяют целостность участка линии воспламенения, который относится к двигателю, и приступают к его разборке.
На осциллограмме записывают порядковый номер опыта и дату его проведения, номер группы и фамилию студента.
4.2.5 Обработка полученных данных
Осциллограммы опытов с кривыми P
(t
) обрабатывают с целью определения внутрибаллистических характеристик РДТТ.
По результатам стендовых испытаний необходимо сделать оценки погрешностей изменения. В зависимости от характера измерений оценки погрешностей результатов измерений давления пороховых газов P
оп
, полного импульса давления , среднеинтегрального давления P
ср. инт
, расходного комплекса b и скорости горения проводят по методу прямых или косвенных измерений.
При одноразовых испытаниях при разных заданных условиях заряжания для расходного комплекса и скорости горения строят зависимости от давления.
4.3 Оформление отчета
Лабораторная работа № 4.
Опыты проведены ______________ 20__ г.
Группа №._____________ Студент______________
Наименование работы ________________________
Цель работы ________________________________
1. Основные понятия и определения внутрибаллистических характеристик РДТТ.
2. Чертеж установки с указанием ее элементов, их названиями, назначением, краткими характеристиками регистрирующей аппаратуры:
– преобразователь давления (датчик давления), его тип и основные характеристики (диапазон измерений давления, частотная характеристика);
– усилитель – преобразователь, тип и основные характеристики (несущая частота, диапазон характеристик входного тока, чувствительность):
– регистратор, его тип и основные характеристики (чувствительность, частотная характеристика, степень успокоения, отметка времени, скорость записи).
3. Применяемое ТРТ: марка ...; форма заряда ...; плотность ...
4. Воспламенитель: марка ...; форма …; масса ...
5. Температура зарядов T
= ...
Исходные данные условий заряжения представляют в виде таблицы (таблица 4).
Таблица 4 – Исходные данные условий опытов
| Номер опыта
|
d
кр
, м
|
S
кр
, м2
|
D
н
, м
|
d
к
, м
|
е
1
, м
|
l
ш
, м
|
S
г
, м2
|
m
з
, кг
|
6. Проводят первичную обработку осциллограмм, т.е. намечают характерные точки (см. рисунок 9). Затем получают осредненную кривую давление – время и определяют P
max
, P
min
, t
г
, t
раб
, t
сп
.
7. Результаты расчета: полный импульс давления IP
к
= …МПа·с; расходный комплекс
…м2
·МПа·с/кг; среднеинтегральное давление P
ср. инт
= …МПа; средняя скорость горения ТРТ при P
ср. инт
:
…м/с.
8. Оценку погрешностей результатов измерений проводят для одной из характеристик (по указанию преподавателя).
9. Дают краткий анализ результатов. К отчету прилагают градуировочный график и осциллограммы опытов.
4.4 Техника безопасности
1. Перед проведением работы необходимо убедиться в наличии и исправности всех деталей установки и приборов.
2. Результаты расчетов по условиям заряжания (масса заряда и воспламенителя, поверхность горения заряда, площадь критического сечения сопла) проверяет преподаватель, проводящий занятие.
3. Образцы нарезают по заданным размерам. Для этого пользуются токарным станком, оборудованным защитным щитком из оргстекла. Около станка должно быть ведро с водой.
4. При снабжении РД и установке его на стапель необходимо соблюдать все требования инструкции.
Особое внимание необходимо обратить на следующее:
– при снаряжении двигателя и установке его на стапель категорически запрещается находиться перед соплом или головной частью двигателя;
– перед присоединением линии воспламенения к источнику питания необходимо убедиться с помощью контрольных приборов в отсутствии тока в линии воспламенения.
5. Разрешение на производство выстрела дает преподаватель после того, как он убедится в правильности подготовки опыта и отсутствии людей.
ЛИТЕРАТУРА
1. Асеева, Р.М. Горение полимерных материалов / Р.М. Асеева, Г.Е. Заиков. – М: Наука, 1981. – 280 с.
2. Серебряков, М.Е. Внутренняя баллистика ствольных систем и пороховых ракет / М.Е. Серебряков. – М: Оборонгиз, 1962. – 703 с.
3. Синаев, К.И. Лабораторные работы по баллистике / К.И. Си-наев, Б.Н. Казбан. – Казань: КХТИ, 1968. – 166 с.
4. Цуцуран, В.И. Военно-технический анализ состояния и перспективы развития ракетных топлив / В.И. Цуцуран, Н.В. Петрухин, С.А. Гусев. – М.: МОРФ, 1999. – 332 с.
5. Гребенкин, В.И. Силовые характеристики маршевых твердотопливных двигательных установок и двигателей специального назначения / В.И. Гребенкин, Н.П. Кузнецов, В.И. Черепов. – Ижевск: ИжГТУ, 2003. – 356 с.
Учебное издание
Сергиенко
Алексей Викторович
Попенко
Елена Михайловна
ОПРЕДЕЛЕНИЕ БАЛЛИСТИЧЕСКИХ ХАРАКТЕРИСТИК ПОРОХОВ И ТВЕРДЫХ РАКЕТНЫХ ТОПЛИВ
Методические рекомендации по выполнению лабораторных работ по курсу «Баллистика ракетных и ствольных систем»
для студентов специальности 240702 «Химическая технология полимерных композиций, порохов и твердых ракетных топлив»
Редактор Соловьёва С.В.
Подписано в печать 06.11.2009. Формат 60´84 1/16
Усл. п. л. - 2,3. Уч.-изд. л. - 2,5
Печать - ризография, множительно-копировальный аппарат «RISO EZ300»
Тираж 50 экз. Заказ 2009-41
Издательство Алтайского государственного
технического университета
656038, г. Барнаул, пр-т Ленина, 46
Оригинал-макет подготовлен ИИО БТИ АлтГТУ
Отпечатано в ИИО БТИ АлтГТУ
659305, г. Бийск, ул. Трофимова, 27
|