| Реферат
По теме: «Аэрозоли. Естественное и искусственное разрушение аэрозолей»
Аэрозоли
– дисперсные системы, состоящие из мелких частиц, взвешенных в воздухе или другом газе. [3, 65]
Классификация аэрозолей
Аэрозоли классифицируют по агрегатному состоянию дисперсной фазы, по дисперсности и по методам получения.
Исходя из первого принципа, аэрозоли делят на туманы
– системы с жидкой дисперсной фазой и дымы
– системы с твердыми частицами. Следует иметь в виду, что часто в практике «дым» означает аэродисперсную систему, возникающую при сгорании топлива и содержащую как твердые частицы сажи и золы, так и жидкие частицы продуктов перегонки топлива и капли воды, образующиеся в результате конденсации водяного пара. Дымы, в которых частицы дисперсной фазы адсорбировали значительное количество влаги из атмосферы, очевидно, являются одновременно и дымами, и туманами. Такие системы называются смогом. [1, 340-341]
По дисперсности аэрозоли с твердой дисперсной фазой разделяют, как и все дисперсные системы, на диспергационные
и конденсационные
аэрозоли. Диспергационные аэрозоли, образующиеся при измельчении твердых тел или распылении жидкостей имеют довольно крупные частицы и, как правило, полидисперсны. Аэрозоли, полученные методом конденсации из пересыщенных паров или в результате химических реакций обычно являются высокодисперсными системами с более однородными по размеру частицами. [1, 341]
Размер и форма частиц
Следует заметить, мельчайшие аэрозольные частицы формируются обычно из 20-30 молекул и имеют размер около 0,001 мкм или 1 нм, который часто принимают за минимальный размер аэрозольных частиц. [2, 11]
Ниже приведены размеры частиц (некоторых типичных аэрозолей) [1, 341]:

Форма частиц аэрозолей зависит от агрегатного состояния вещества дисперсной фазы. В туманах капельки жидкости шарообразны. В дымах они могут иметь самую разнообразную форму: игольчатую, пластинчатую, звездообразную. В дымах частицы могут представлять собой и сложные агрегаты, тогда как в туманах столкновение капелек обычно приводит к коалесценции и образованию капелек большого размера [1, 341]
Методы разрушения аэрозолей
Забиваем Сайты В ТОП КУВАЛДОЙ - Уникальные возможности от SeoHammer
Каждая ссылка анализируется по трем пакетам оценки: SEO, Трафик и SMM.
SeoHammer делает продвижение сайта прозрачным и простым занятием.
Ссылки, вечные ссылки, статьи, упоминания, пресс-релизы - используйте по максимуму потенциал SeoHammer для продвижения вашего сайта.
Что умеет делать SeoHammer
— Продвижение в один клик, интеллектуальный подбор запросов, покупка самых лучших ссылок с высокой степенью качества у лучших бирж ссылок.
— Регулярная проверка качества ссылок по более чем 100 показателям и ежедневный пересчет показателей качества проекта.
— Все известные форматы ссылок: арендные ссылки, вечные ссылки, публикации (упоминания, мнения, отзывы, статьи, пресс-релизы).
— SeoHammer покажет, где рост или падение, а также запросы, на которые нужно обратить внимание.
SeoHammer еще предоставляет технологию Буст, она ускоряет продвижение в десятки раз,
а первые результаты появляются уже в течение первых 7 дней.
Зарегистрироваться и Начать продвижение
В настоящее время пристальное внимание уделяется проблеме удаления первопричин возникновения таких нежелательных явлений, как выбросы в атмосферу. Газообразные промышленные выбросы вредных примесей в основном представлены взвешенными частицами (аэрозоли) твердых веществ — пылью, дымом; жидкостей — туманом. Неорганическая пыль в промышленных газовых выбросах образуется при горных разработках, переработке руд, металлов, минеральных солей и удобрений, строительных материалов, карбидов и других неорганических веществ. Промышленная пыль органического происхождения – это, например, угольная, древесная, торфяная, сланцевая, сажа и др. Дымы образуются при сжигании топлива и его деструктивной переработке, а также в результате химических реакций, например при взаимодействии аммиака и хлороводорода, при окислении паров металлов в электрической дуге и т.д. В промышленных выхлопах туманы образуются главным образом из кислоты: серной, фосфорной и др. В настоящее время, когда безотходная технология находится в периоде становления и полностью безотходных предприятий еще нет, основной задачей газоочистки служит доведение содержания токсичных примесей в газовых примесях до предельно допустимых концентраций (ПДК), установленных санитарными нормами. Тогда в этом случае газоочистка будет представлять собой улавливание и разрушение аэрозолей. [4]
К разрушению аэрозолей прибегают в том случае, если из аэрозоля нужно выделить дисперсную фазу, например при улавливании из дыма металлических печей содержащихся в нем ценных продуктов, либо при очистке газов или воздуха. В последнее время методы разрушения атмосферных аэрозолей применяют при искусственном дождевании или рассеивании облаков и тумана. [1, 360]
Методы очистки газов от аэрозолей по их основному принципу можно разделить на механическую очистку, электростатическую очистку и очистку с помощью звуковой и ультразвуковой коагуляции.
Механическая очистка
газов включает сухие
и мокрые
методы. К сухим методам
относятся:
1) гравитационное осаждение;
2) инерционное и центробежное пылеулавливание;
3) фильтрация.
Гравитационное осаждение
основано на осаждении взвешенных частиц под действием силы тяжести при движении запыленного газа с малой скоростью без изменения направления потока. Процесс проводят в отстойных газоходах и пылеосадительных камерах. Для уменьшения высоты осаждения частиц в осадительных камерах установлено на расстоянии 40–100 мм множество горизонтальных полок, разбивающих газовый поток на плоские струи. Гравитационное осаждение действенно лишь для крупных частиц диаметром более 50-100 мкм, причем степень очистки составляет не выше 40-50%. Метод пригоден лишь для предварительной, грубой очистки газов. [4]
Сервис онлайн-записи на собственном Telegram-боте
Попробуйте сервис онлайн-записи VisitTime на основе вашего собственного Telegram-бота:
— Разгрузит мастера, специалиста или компанию;
— Позволит гибко управлять расписанием и загрузкой;
— Разошлет оповещения о новых услугах или акциях;
— Позволит принять оплату на карту/кошелек/счет;
— Позволит записываться на групповые и персональные посещения;
— Поможет получить от клиента отзывы о визите к вам;
— Включает в себя сервис чаевых.
Для новых пользователей первый месяц бесплатно.
Зарегистрироваться в сервисе
Инерционное осаждение
основано на стремлении взвешенных частиц сохранять первоначальное направление движения при изменении направления газового потока. Среди инерционных аппаратов наиболее часто применяют жалюзийные пылеуловители с большим числом щелей (жалюзи). Газы обеспыливаются, выходя через щели и меняя при этом направление движения, скорость газа на входе в аппарат составляет 10-15 м/с. Степень очистки в зависимости от дисперсности частиц составляет 20-70%. Инерционный метод можно применять лишь для грубой очистки газа. Помимо малой эффективности недостаток этого метода – быстрое истирание или забивание щелей. [4]
Центробежные методы очистки газов
основаны на действии центробежной силы, возникающей при вращении очищаемого газового потока в очистном аппарате или при вращении частей самого аппарата. В качестве центробежных аппаратов пылеочистки применяют циклоны различных типов: батарейные циклоны, вращающиеся пылеуловители (ротоклоны) и др. Циклоны наиболее часто применяют в промышленности для осаждения твердых аэрозолей. [4]
Циклоны представляют собой металлические цилиндры, в которых аэрозоль движется по спирали сверху вниз. При этом частицы оседают на стенках цилиндра, а освобожденный от них газ поднимается по специальной трубе и выводится из циклона. [1, 360]
Циклоны характеризуются высокой производительностью по газу, простотой устройства, надежностью в работе. Степень очистки от пыли зависит от размеров частиц. Для циклонов высокой производительности, в частности батарейных циклонов (производительностью более 20000 м3
/ч), степень очистки составляет около 90% при диаметре частиц d
> 30 мкм. Для частиц с d
= 5¸30 мкм степень очистки снижается до 80%, а при d
= 2¸5 мкм она составляет менее 40%. Циклоны широко применяют при грубой и средней очистке газа от аэрозолей. Другим типом центробежного пылеуловителя служит ротоклон, состоящий из ротора и вентилятора, помещенного в осадительный кожух. Лопасти вентилятора, вращаясь, направляют пыль в канал, который ведет в приемник пыли. [4]
Фильтрация
основана на прохождении очищаемого газа через различные фильтрующие ткани (хлопок, шерсть, химические волокна, стекловолокно и др.) или через другие фильтрующие материалы (керамика, металлокерамика, пористые перегородки из пластмассы и др.). Наиболее часто для фильтрации применяют специально изготовленные волокнистые материалы — стекловолокно, шерсть или хлопок с асбестом, асбоцеллюлозу. В зависимости от фильтрующего материала различают сетчатые, волокнистые, из зернистых материалов (керамика, металлокерамика, пористые пластмассы). [4]
Сетчатые фильтры служат для задержания сравнительно грубых частиц аэрозолей. Их изготавливают из одного или нескольких слоев ткани или металлической сетки. Действие этих фильтров основано на механическом задерживании больших частиц, не проходящих через ячейки сетки, а также на инерционном осаждении частиц. Эффективность сетчатых фильтров заметно увеличивается по мере забивания их отфильтрованной дисперсной фазой, т.к. в результате образования на поверхности фильтра слоя пыли уменьшается диаметр отверстий, через которые протекает аэрозоль. [1, 361]
Тканевые
фильтры, чаще всего рукавные, применяются при температуре очищаемого газа не выше 60-65°С. В зависимости от гранулометрического состава пыли и начальной запыленности степень очистки составляет 85-99%. Для непрерывной очистки ткани продувают воздушными струями, которые создаются различными устройствами – соплами, расположенными против каждого рукава, движущимися наружными продувочными кольцами и др. [4]
Волокнистые фильтры делают из фильтровальной бумаги, специального картона и некоторых других волокнистых материалов. Вследствие значительного гидравлического сопротивления эти фильтры применяют лишь при небольших скоростях течения аэрозоля. [1, 361]
Волокнистые
фильтры, имеющие поры, равномерно распределенные между тонкими волокнами, работают с высокой эффективностью. На фильтрах из стекловолокнистых материалов возможна очистка агрессивных газов при температуре до 275°С. Для тонкой очистки газов при повышенных температурах применяют фильтры из керамики, тонковолокнистой ваты из нержавеющей стали, обладающие высокой прочностью и устойчивостью к переменным нагрузкам. [4]
Фильтрация – весьма распространенный прием тонкой очистки газов. Ее преимущества – сравнительно низкая стоимость оборудования (за исключением металлокерамических фильтров) и высокая эффективность тонкой очистки. Недостатки фильтрации высокое гидравлическое сопротивление и быстрое забивание фильтрующего материала пылью. [4]
Мокрая очистка
газов от аэрозолей основана на промывке газа жидкостью (обычной водой) при возможно более развитой поверхности контакта жидкости с частицами аэрозоля и возможно более интенсивном перемешивании очищаемого газа с жидкостью. В аппаратах мокрой очистки применяют различные приемы развития поверхности соприкосновения жидкости и газа. [4]
Башни с насадкой
(насадочные скрубберы) отличаются простотой конструкции и эксплуатации, устойчивостью в работе и сравнительно малым расходом энергии. В насадочном скруббере возможна очистка газов с начальной запыленностью до 5-6 г/м3
. Эффективность одной ступени очистки для пылей с d
> 5 мкм не превышает 70-80%. Насадка быстро забивается пылью, особенно при высокой начальной запыленности. [4]
Орошаемые циклоны
(центробежные скрубберы) применяют для очистки больших объемов газа. Для частиц размером 2-5 мкм степень очистки составляет ~50%. Центробежные скрубберы высокопроизводительны благодаря большой скорости газа. [4]
Пенные аппараты
применяют для очистки газа от аэрозолей полидисперсного состава. Интенсивный пенный режим создается на полках аппарата при линейной скорости газа в его полном сечении 1-4 м/с. Пенные газоочистители обладают высокой производительностью по газу. Для частиц с диаметром d
>5
мкм эффективность их улавливания на одной полке аппарата 90-99%; при d
< 5 мкм h = 75¸90%. Для повышения h устанавливают двух- и трехполочные аппараты. [4]
Скрубберы Вентури
(см. рис 1
) — высокоинтенсивные газоочистительные аппараты, но работающие с большим расходом энергии. Скорость газа в сужении трубы (горловине скруббера) составляет 100—200 м/с, а в некоторых установках — до 1200 м/с. При такой скорости очищаемый газ разбивает на мельчайшие капли завесу жидкости, впрыскиваемой по периметру трубы. Это приводит к интенсивному столкновению частиц аэрозоля с каплями и улавливанию частиц под действием сил инерции. Скруббер Вентури — универсальный малогабаритный аппарат, обеспечивающий улавливание
| Рис 1.
Реактор полного смешения – скруббер Вентури:
1 – сопло;
2 – горловина;
3 – камера смешения;
4 – разделительная камера
|
|
тумана на 99—100%, частиц пыли с d
=
0,01¸0,35 мкм — на 50–85% и частиц пыли с d
= 0,5-2 мкм — на 97%.[4] Электростатическая очистка газов
служит универсальным средством, пригодным для любых аэрозолей, включая туманы кислот, и при любых размерах частиц.
Т.к. частицы аэрозоля обычно слабо заряжены или практически электронейтральны, им придаю достаточно большой электрический заряд. Для этого дым или туман пропускают между электродами, создающими поле весьма высокого напряжения. В таких условиях происходит так называемый коронный разряд, при котором катод (имеющий форму проволоки, для того чтобы заряд обладал наибольшей плотностью) светится и выделяет огромное количество электронов. Электроны ионизирую молекулы газа (воздуха), находящегося между электродами. Образовавшиеся отрицательные ионы адсорбируются частицами аэрозоля и придают им достаточно большой заряд, что обеспечивает частицам передвижение в электрическом поле и осаждение на аноде. Передвижению частиц к аноду способствует также «электрический ветер», возникающий между электродами. [1, 363]
При очистке от пыли сухих газов электрофильтры могут работать в широком диапазоне температур (от 20 до 500 °С) и давлений. Степень очистки от аэрозолей – выше 90, достигая 99,9% на многопольных электрофильтрах при d
>
1 мкм. Недостаток этого метода – большие затраты средств на сооружение и содержание очистных установок и значительный расход энергии на создание электрического поля. [4]
Звуковая и ультразвуковая коагуляция, а также предварительная электризация
пока мало применяются в промышленности и находятся в основном в стадии разработки. Они основаны на укрупнении аэрозольных частиц, облегчающем их улавливание традиционными методами. Аппаратура звуковой коагуляции состоит из генератора звука, коагуляционной камеры и осадителя. Звуковые и ультразвуковые методы применимы для агрегирования мелкодисперсных аэрозольных частиц (тумана серной кислоты, сажи) перед их улавливанием другими методами. Начальная концентрация частиц аэрозоля для звуковой коагуляции должна быть не менее 2 г/м3
(для частиц d
= l¸10 мкм).
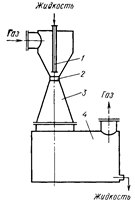
| Рис
2
.
Схема мокрого пылеулавливания с предварительной электризацией:
1 – камера электризации;
2 – коронирующий электрод;
3 – пенный аппарат;
4 – газожидкостный (пенный) слой;
5 – заземленная решетка;
I
– очищаемый газ;
II
– вода;
III
– очищенный газ;
IV
– слив шлама
|
|
Коагуляцию аэрозолей методом предварительной электризации производят, например, пропусканием газа через электризационную камеру с коронирующими электродами, где происходит зарядка и коагуляция частиц, а затем через мокрый газоочиститель, в котором газожидкостный слой служит осадительным электродом (рис. 2
). Осадительным электродом может служить пенный слой в пенных аппаратах, слой газожидкостной эмульсии в насадочных скрубберах и других мокрых газопромывателях. [4] Согласно одной из теорий, действие ультразвука на аэрозоли объясняется тем, что во всех реальных полидисперсных системах разные по размеру частицы в различной степени увлекаются колебаниями среды. В результате этого мелкие частицы, обладающие большой амплитудой колебаний, как бы «прочесывают» аэрозоль. Это способствует тому, что они скорее сталкиваются с более крупными, почти неподвижными частицами. Однако против этой теории говорит то обстоятельство, что самые мелкие, наиболее энергично колеблющиеся частицы остаются в звуковом поле нескоагулированными. [361-362]
Согласно другой теории ультразвуковая коагуляция обусловливается притяжением между частицами, движущимися в ультразвуковом поле. Такое притяжение может возникнуть между частицами, движущимися в ультразвуковом поле. Такое притяжение может возникнуть между частицами аэрозоля, если они совершаю быстрое, параллельное и одинаковое направленное движение. Нужны всего секунды для того, чтобы туман, движущийся в ультразвуковом поле, скоагулировал на 90%. Полученные в результате коагуляции крупные капли легко отделяются от газа в обычных циклонах. Ультразвук применяют для разрушения сернокислотных и других производственных туманов. [1, 362]
Ряд методов разрушения атмосферных аэрозолей основан на их коагуляции. Практическое значение таких методов очень велико для сельского хозяйства, т.к. процесс коагуляции обычно сопровождается отделением дисперсной фазы атмосферных аэрозолей в виде дождя или снега. Большое значение методы коагуляции имеют и в авиации для искусственного рассеивания облаков. Искусственное рассеивание облаков и туманов проводят с использованием высокодисперсного песка, оксида углерода (II). [1, 362]
Вышеописанные способы разрушения аэрозолей являются искусственными. Помимо искусственного разрушения аэрозолей можно выделить и естественное.
Воздух, который вдыхает человек, представляет собой не что иное, как аэрозоль и всегда содержит определенное количество частиц дисперсной фазы. Человек в покое ежеминутно перерабатывает в среднем 7,5 литров воздуха, т. е. 11 тысяч литров (11 м3
) в сутки. Если принять, что массовая концентрация аэрозолей равна 1 мг/м3
, то за сутки в органы дыхания вместе с воздухом может быть занесено до 18 мг вредных веществ. На вскрышных карьерах и других пылеопасных объектах масса частиц, вдыхаемых вместе с воздухом, достигает нескольких сот миллиграммов. Казалось бы, человеческий организм должен был бы зарастать изнутри. [2, 179]
Но подавляющая часть аэрозольных частиц не доходит до легких. Струя выдыхаемого воздуха отгоняет аэрозольные частички и служит первой предварительной ступенью своеобразного фильтра. Второй ступенью является дыхательная система человека, которая состоит из ряда разветвленных ходов, уменьшающихся по ширине и растущих в числе. Воздух через нос или рот проходит через трахею, бронхи, бронхиолы, альвеолярные ходы (диаметром около 0,2 мм), наконец поступает в альвеолы. Перегородки, косточки и волосинки в полости носа представляют собой эффективную фильтрующую систему для относительно крупных аэрозольных частиц. Реснички, покрывающие дыхательные пути выше бронхиол, улавливают частицы, осаждающиеся в этой области дыхательной системы. В носоглотке, трахее и бронхах оседает от 40 до 90% аэрозольных частиц диаметром свыше 10 мкм. Более мелкие частицы задерживаются легкими. [2, 179]
Между двумя ступенями очистки существуют принципиальные различия: в одном случае воздух ничем не стеснен и может перемещаться в любом направлении; во втором случае запыленный воздушный поток ограничен стенками и движется в определенном направлении. [2, 180]
Дыхательная система человека — не просто фильтр, а самоочищающийся фильтр. Постоянная очистка дыхательного тракта осуществляется мерцательным эпителием, выстилающим полость носа, трахеи и бронхов. Он представляет собой слой клеток, снабженных ворсинками длиной 35—40 мкм, которые совершают непрерывные колебательные движения с частотой два колебания в секунду. В результате происходит перемещение вязкого текучего слоя слизи вместе с осевшими пылинками со скоростью 0,4— 0,6 см/мин, т. е. от входа в нос до зева пылинки могут продвинуться за 15 минут. Из глотки пыль вместе со слизью попадает в желудочно-кишечный тракт. Чем. меньше размеры частиц и выше скорость воздуха (чаще дыхание), тем с большей вероятностью аэрозольные частицы попадут в легкие и осядут в них. Можно считать, что в легкие поступают частицы диаметром менее 1 мкм. [2, 180]
Альвеолы легких — это последняя ступень фильтрующей системы организма человека на пути аэрозолей. Эта ступень, однако, очень чувствительна к загрязнениям, которые, как мы уже отмечали, могут стать причиной различных болезней. Некоторая доля аэрозольных частиц не осаждается и удаляется с выдыхаемым воздухом. Большинство аэрозольных частиц проходит через альвеолярные мембраны в свободном состоянии и проникает в легочную ткань. Некоторые вещества и небольшая часть осевших частиц могут попасть в кровеносную систему. Не задерживаются в легких и выдыхаются обратно высокодисперсные частицы диаметром менее 0,1 мкм. [2, 180-181]
При ингаляции, когда повышенная концентрация препарата создается искусственно (чтобы лекарство подействовало максимально), в дыхательных путях осаждаются более крупные частички. В трахеи проникают частицы ингаляционного препарата диаметром не выше 50 мкм, в бронхи—до 30 мкм. Частицы до 5 мкм могут содержаться в воздухе, который выдыхает человек. [2, 181]
Таким образом, мы рассмотрели понятие «аэрозоли», классификацию аэрозолей, формы и размеры частиц, механическую очистку, электростатическую очистку и очистку с помощью звуковой и ультразвуковой коагуляции, а также пример естественного разрушения аэрозолей.
Литература
1. Воюцкий С.С. курс коллоидной химии / С.С. Воюцкий. – М.: Химия, 1975. – 512 с.
2. Зимон А.Д. Аэрозоли, или Джинн, вырвавшийся из бутылки / А.Д. Зимон. – М.: Химия, 1993.
- Химический энциклопедический словарь. – М.: Советская энциклопедия, 1983. - 792 с.
- /gate.html?name=referat&func=search&squery=%E0%FD%F0%EE%E7%EE%EB%E8
- http://www.xumuk.ru/colloidchem/206. html
|