| Сканирующий наноструйный микроскоп и способ его работы
Реферат
Предложен сканирующий наноструйный микроскоп и способы его работы, содержащий одно или более сопел для создания сканирующей струи вещества и оптическую или акустическую систему для сбора излучения в диапазоне от инфракрасного до ультрафиолетового или акустического сигнала, возникающего в зоне контакта струи с объектом. Сопло является оптическим резонатором и выполнено из оптически прозрачного капилляра с внутренним диаметром не менее 1нм, в стенки которого с помощью сужающегося световода вводится узкополосное оптическое излучение, а длина капилляра выбирается кратной половине длины волны оптического излучения, причем длина волны оптического излучения выбирается из условия возможности создания максимального светового давления на прокачиваемое через капилляр вещество. С помощью оптоэлектронной модуляции оптического излучения, вводимого в капилляр от одного или более источников создается неоднородное световое давление на струю, в результате чего производится пространственное сканирование струей по объекту. При прерывании оптического излучения прерывается струя. Разрешение микроскопа определяется диаметром струи. За счет большой длины струи увеличивается площадь обзора до 1-10 см2
. Предлагаемый микроскоп можно совместить с процессом сканирующей струйной нанолитографии для контроля в режиме реального времени самого технологического процесса. С помощью такого микроскопа можно исследовать диэлектрические и биологические объекты без их разрушения, не нанося на них токопроводящие покрытия. Микроскоп позволяет осуществить наблюдение за живой клеткой в реальном масштабе времени.
Область техники. Изобретение сканирующий наноструйный микроскоп относится к области измерительной техники для наблюдения в реальном масштабе времени увеличенного изображения объекта с нанометровой разрешающей способностью и сантиметровыми полями обзора. Сканирование осуществляется жидкостной сплошной или капельной наноструей, которая управляется с помощью лазеров или светодиодов. Изображение формируется в месте контакта струи с объектом, в результате механического соударения и образования излучения за счет физических и химических эффектов. При этом наблюдаемый объект может иметь разную физическую природу, в том числе и живую клетку, и не разрушается при наблюдении.
Уровень техники
. Известно, что в настоящее время под микроскопией понимают совокупность методов наблюдения и исследования с помощью различных физических явлений. Для микроскопов существуют 2 основных способа наблюдения объекта – параллельный и последовательный. Обычно в параллельных способах используются фотоны, фононы, электроны, ионы и соответствующие им элементы волновой оптики. Последовательный способ наблюдения базируется на сканирующих (растровых) методах создания увеличенного изображения. К ним относятся сканирующие электронные и ионные микроскопы, сканирующие акустические и оптические микроскопы ближней волновой зоны и конфокальные оптические микроскопы, сканирующие туннельные электронные и ионные микроскопы, сканирующие микроскопы атомарных и магнитных сил. Отдельным классом микроскопов, использующим параллельный способ наблюдения, являются электронные и ионные проекторы, в которых применяется полевая электронная или ионная эмиссия с острых игл, а функцию увеличения изображения выполняют электростатические поля с высокой напряженностью и люминесцирующий экран. [1]
Забиваем Сайты В ТОП КУВАЛДОЙ - Уникальные возможности от SeoHammer
Каждая ссылка анализируется по трем пакетам оценки: SEO, Трафик и SMM.
SeoHammer делает продвижение сайта прозрачным и простым занятием.
Ссылки, вечные ссылки, статьи, упоминания, пресс-релизы - используйте по максимуму потенциал SeoHammer для продвижения вашего сайта.
Что умеет делать SeoHammer
— Продвижение в один клик, интеллектуальный подбор запросов, покупка самых лучших ссылок с высокой степенью качества у лучших бирж ссылок.
— Регулярная проверка качества ссылок по более чем 100 показателям и ежедневный пересчет показателей качества проекта.
— Все известные форматы ссылок: арендные ссылки, вечные ссылки, публикации (упоминания, мнения, отзывы, статьи, пресс-релизы).
— SeoHammer покажет, где рост или падение, а также запросы, на которые нужно обратить внимание.
SeoHammer еще предоставляет технологию Буст, она ускоряет продвижение в десятки раз,
а первые результаты появляются уже в течение первых 7 дней.
Зарегистрироваться и Начать продвижение
Основным недостатком существующих в настоящее время микроскопов, которые позволяют получить нанометровое разрешение, необходимое для наноэлектроники и исследования биологических объектов на молекулярном уровне является следующее.
Для получения нанометрового разрешения невозможно использовать видимый диапазон оптического излучения с классической оптикой, так как существует дифракционное ограничение по длине волны. Поэтому в оптическом диапазоне применяются сканирующие с помощью капилляра диаметром l/10-l/20 микроскопы. Эти микроскопы имеют малую апертуру, за счет того, что используется ближняя волновая зона электромагнитного излучения. Это снимает дифракционные ограничения. Однако этот метод можно использовать только для сканирования объектов на расстоянии от капилляра l/10-l/20. Это сильно усложняет механические способы сканирования наблюдаемого объекта. Поэтому принято использовать методы микроскопии на более коротких электромагнитных длинах волн или с использованием электронов или ионов.
В настоящее время промышленностью достигнуто 65 нм разрешение при создании интегральных схем параллельным способом с использованием мягкого ультрафиолета (фотолитография), для которого в природе существуют прозрачные материалы. Дальнейшее увеличение плотности упаковки интегральных схем требует увеличение разрешающей способности методов фотолитографии до 6,5-35 нм, т.е. нанолитографии. Увеличение разрешения на сегодняшний день достигается с использованием рентгеновского излучения и экстремального ультрафиолета (extreme UV – EUV), что требует использование только зеркальной оптики. Это резко усложняет технологический контроль. В настоящее время используются следующие параллельные методы контроля процесса литографии и создания фотошаблонов: электронная и ионная микроскопия, рентгеновская микроскопия и экстремальный ультрафиолет. Рентгеновская микроскопия из-за высокой энергии фотонов более 100 эВ уменьшает разрешающую способность вследствие глубокого проникновения фотонов в материал и возникновения высокоэнергетичных вторичных электронов. Кроме того, создание ярких источников мягкого рентгеновского излучения требует использование электронных синхротронов, что очень дорого.
Сервис онлайн-записи на собственном Telegram-боте
Попробуйте сервис онлайн-записи VisitTime на основе вашего собственного Telegram-бота:
— Разгрузит мастера, специалиста или компанию;
— Позволит гибко управлять расписанием и загрузкой;
— Разошлет оповещения о новых услугах или акциях;
— Позволит принять оплату на карту/кошелек/счет;
— Позволит записываться на групповые и персональные посещения;
— Поможет получить от клиента отзывы о визите к вам;
— Включает в себя сервис чаевых.
Для новых пользователей первый месяц бесплатно.
Зарегистрироваться в сервисе
Считается что для серийного производства интегральных схем с разрешением 6,5-35 нм пока пригодна только EUVL. Использование этого метода позволяет переносить рисунок микросхемы на подложку целиком, т.е., это параллельный метод, имеющий большую площадь обзора, вплоть до 10 см2
[2]. Контроль за объектом при EUVL целесообразно выполнять в этом же диапазоне длин волн. Однако этот способ имеет очень высокий коэффициент энергетических потерь из-за низкого коэффициента преобразования электрической энергии в экстремальный ультрафиолет, так как используется лазерная плазма. Кроме того, существует большой коэффициент потерь в зеркальной оптике, состоящей из многослойного брэгговского покрытия на атомарно гладкой поверхности массивной подложки.
Кроме параллельных методов литографии существуют и последовательные методы. Приведем историю создания последовательных методов микроскопии применительно к последовательным методам нанолитографии.
Основным узлом последовательных нанотехнологических установок является нанореактор, в котором под воздействием энергии зонда происходят локальные физико-химические процессы в областях нанометровых размеров. Сам зонд последовательно (построчно) сканирует поверхность. Сканирование осуществляется либо магнитным полем в случае нанометровых электронных или ионных пучков либо механически по типу сканирующих микроскопов STM, AFM, либо по типу сканирующего оптического микроскопа ближнего поля (SNOM).
Использование электронных или ионных пучков для сканирования позволяет получить большое поле обзора вплоть до квадратных сантиметров. Теоретически разрешающая способность такого пучка будет определяться длиной волны де Бройля частицы. Например, для 150 эВ электрона должны получить разрешение 0.1 нм. Но на практике для сканирующей электронной микроскопии достигнуто разрешение всего 5-10 нм при энергии электронного пучка до 100 КэВ. Это связано с тем, что электронные и ионные пучки представляют собой «газообразные» струи с высокими кулоновскими силами отталкивания одноименных частиц, что не позволяет достичь высокой плотности пучка. Сложность фокусировки таких пучков приводит к невозможности создать высокий ток в пучке (низкая яркость), и, как следствие, получается низкая производительность. Кроме того, из-за накопления заряда для работы с ними требуется электропроводная подложка. Таким образом, из-за низкой производительности, более часа, сканирование с помощью электронных и ионных пучков в нанолитографии можно использовать только для изготовления эталонных масок. К тому же, высокая энергия фокусируемых электронов приводит к значительному разрушению используемых материалов, что ограничивает пространственную разрешающую способность метода. Преимуществом же является возможность непосредственного наблюдения (контроля) за процессом изготовления маски в разных энергетических диапазонах по вторичным электронам или фотонам.
Использование методов сканирующей туннельной микроскопии для нанолитографии в процессе технологических операций позволяет получить достаточно яркие (сильноточные) источники электронов для осуществления локальных химических реакций и получить высокую разрешающую способность менее 0.1 нм и одновременно получить изображение с таким же разрешением. Но здесь возникают другие проблемы. По существу, химические реакции осуществляются последовательно с отдельными атомами или молекулами и время каждой реакции составляет 10-8
-10-9
с. Из-за этого на создание одного пикселя рисунка размером 14,5×14,5 нм требуется 2×10-4
с. Тогда при сканировании только 1 см2
с числом пикселей 4,7×1011
потребуется несколько месяцев непрерывной работы. Из-за использования механических систем сканирования на пьезокерамике поле обзора имеет размеры всего в 10-100 мкм2
. Кроме того, из-за механического гистерезиса пьезокерамики невозможно вернуть зондовую иглу микроскопа в начальную точку, что вызывает проблему совмещения. Аналогичные проблемы имеют AFM and SNOM. Кроме того, в этих системах микроскопический контроль осуществляется после изготовления топологического рисунка, что значительно усложняет и удлиняет весь процесс. Другими словами, использование тонкой кисти (зонда) для рисования широких полос непроизводительно. Т.е, необходимо найти способ создать достаточно широкий зонд, при этом работающий с нанометровой точностью на больших площадях.
Как следует из вышесказанного, существует ряд проблем для последовательных способов нанолитографии и, как следствие, микроскопии, которые должны быть решены для возможности оперативного контроля за технологическим процессом.
Не менее важным применением микроскопии является наблюдение биологических объектов нанометрового размера. Это, в первую очередь, клеточные мембраны, вирусы, клеточные органеллы и т.п. При этом желательно изучать динамику живых объектов в реальном масштабе времени, не разрушая их. Жесткое излучение, такое как ультрафиолетовое, рентгеновское, электронные и ионные пучки разрушают биологические объекты. Поэтому, для их наблюдения используются специальные методы фиксации путем замораживания объектов или нанесения на них тонких слоев металла. Это меняет химическую и биологическую сущность объекта и не позволяет исследовать его динамику. Например, исследование процесса проникновения вируса через мембрану в клетку требует последовательной фиксации (умерщвления) и фотографирования всего этого процесса на каждом этапе, при этом для каждого этапа используется новая клетка и новый вирус. Это исключительно трудоемкая и непроизводительная процедура.
В настоящее время для исследования живой клетки используется люминесцентная (флуоресцентная) оптическая микроскопия. Здесь используется фотолюминесценции, свойственная природе либо самого микрообъекта (клетки), либо полученная им после окраски специальными красителями – флуорохромами. В результате наблюдается цветная контрастная картина свечения, позволяющая выявить морфологические и химические особенности объекта.
Флуоресцентная микроскопия дальнего волнового поля с дифракционно неограниченным разрешением позволяет получить поперечное (x и y) разрешение 40нм-80 нм при использовании 793 нм лазера, т.е. в 16 раз меньше длины волны возбуждения [3,4]. В этом способе микроскопии заложена простая идея, позволяющая снять дифракционное ограничение в оптике – локализация источника света. Тогда объект, по существу, сам становится источником света. Поэтому можно различить два источника света (флуоресцентных центра) на расстояниях, значительно меньше длины волны самого источника света. Преимуществом этого и других оптических методов является возможность неразрушающего наблюдения за живыми объектами. Также эти методы позволяют получить стереоскопическое изображение за счет рассматривания его с помощью двух самостоятельных оптических систем, образующих между собой угол порядка 15°. Недостатком метода является низкая концентрация центров люминесценции, что приводит к малой яркости изображения и, как следствие, к большому времени экспозиции.
В качестве прототипов используется объединение широко известных принципов работы следующих устройств. Струйного принтера, осуществляющего формирование рисунка с помощью капель посредством механического сканирования по листу. Сканирующего электронного микроскопа, осуществляющего сканирование посредством тонкого электронного пучка по большим площадям. Электрическое управление пространственной структурой узкополосных световых пучков. Однако данные устройства и способы их работы не позволяют получить нанометровые разрешения на больших площадях без разрушения объектов.
Раскрытие изобретения. Задачей изобретения является увеличение разрешающей способности сканирующего микроскопа до нанометрового размера при наблюдении в режиме реального времени технологических операций и без разрушения контролируемого объекта. При этом площадь сканирования должна быть до несколько см2
при выполнении операций нанолитографии.
Возможным решением задачи изобретения является использование жидких струй несколько нанометров в диаметре для создания изображения методом сканирования этой струей с большого расстояния по объекту исследования [5]. Однако теоретические расчеты движения наноструи в [6,7] показывают, что наноструи при выходе из капилляра в вакуум расширяются и распадаются, что делает их применение затруднительным на больших расстояниях от подложки. Кроме того, трудно сформировать наноструи из химически активного вещества избегая реакций со стенками сопла, так как покрытие их золотом не дает должной эффективности [7].
Чтобы создать нераспадающуюся жидкую нанострую, двигающуюся в вакууме на расстояние до 10 см и способную просканировать площадь 1-10 см2
, учтем все факторы, воздействующие на нанострую при ее движении в капилляре и выходе ее в вакуум.
Известно, что в жидкости при атмосферном давлении возникают наноразмерные пузырьки – бабстоны с диаметром 3-10 нм и плотностью до 1012
штук на см3
[8]. Движение этих бабстонов в струе может вызвать нестационарные эффекты – распад струи и кавитационные процессы на поверхности подложки при попадании на нее струи. Это может привести к неконтролируемым процессам и дефектам при исследовании объекта. Капиллярное давление в бабстоне определяется соотношением , где s- поверхностное натяжение, а r
b
– радиус бабстона. Например, для воды в нормальных условиях P
= 1.57 МПа. При увеличении внешнего давления воды до давления порядка 16 атм. бабстоны исчезают. Поэтому для создания однородной водяной наноструи необходимо создавать в ней давление как минимум 1.6 МПа. [9].
Условие устойчивости струи при выходе из капилляра можно рассчитать из отношения коэффициента поверхностного натяжения s к динамической вязкости жидкости h. Для диэлектрических жидкостей критическая скорость, при которой жидкость продолжает совершать ламинарное движение, не превышает . Для воды это значение равно 72 м/с. Эксперименты показывают, что можно получить стабильную длинную струю только при учете этой критической скорости [10]. В работе [6] теоретически исследовалась струя при скорости 400м/с, что на порядок превышает критическую скорость. Это явилось основной причиной невозможности получить ими устойчивой струи.
Учитывая все вышеизложенные факторы, воздействующие на нанострую при ее движении в капилляре и выходе ее в вакуум мы предлагаем следующий метод создания наноструи [5].
Жидкость под давлением, необходимым для схлопывания бабстонов, подается в сходящееся полое волокно из плавленого кварцевого стекла, в стенки которого запускается лазерный пучок. Сходящийся капилляр позволяет концентрировать энергию лазерного излучения в зоне активации жидкости в капилляре сопла. Оптическое излучение оказывает радиационное давление на вещество и препятствует его контакту со стенками. В работе [11] показаны пути формирования оптических пучков с заданной пространственной структурой. Волокно покрывается металлической пленкой, для того, чтобы излучение не покидало его пределов. Давление, создаваемое фотонами, будет определяться сечением поглощения атомов или молекул. [12]. Максимальное давление света создается при резонансном поглощении. Сила резонансного давления на атом или молекулу F
определяется как импульс, переданный потоком фотонов с плотностью N
в единицу времени: , где - импульс одного фотона, - сечение поглощения резонансного фотона, l - длина волны света. При насыщении среды сила светового давления перестает зависеть от интенсивности и определяется скоростью спонтанных актов испускания. Для типичных значений скорости спонтанного испускания 10-8
с и длины волны света порядка 0,6 нм можно получить F
» 5 ×10-3
эВ/см. Для стоячей лазерной волны давление света обуславливается действием пространственно неоднородного поля на наведенный им атомный диполь. Максимальная сила давления света по порядку величины равняется , где d
– момент диполя. Для d
»1 дебай, l»0,6 мкм, E
»106
В/см, сила F
» 5 ×102
эВ/см. Если в резонаторе создать две стоячие волны с небольшой растройкой, то с помощью величины этой растройки или интенсивности стоячих волн можно управлять напрвлением движения атомов, то есть существует возможность управлять наноструей – разворачивать ее в пространстве.
Для примера в качестве используемого вещества можно взять любой углеводород. Разрывая его C—H связи мы формируем радикалы, которые химически очень активны. Для разрыва такой связи нужна энергия 4,28 эВ, т.е. излучение длиной 289 нм. Для уменьшения стоимости установки можно использовать полупроводниковые лазеры (вторая гармоника или двухфотонный режим возбуждения молекул). Для отталкивания жидкости от стенок предлагается использовать это же излучение. Скорость струи должна быть таковой, чтобы молекула успела поглотить фотон и не успела вступить в реакцию с другими молекулами. Для времен поглощения порядка 10-9
÷10-8
секунд в нашей конфигурации это скорость 10-100 м/с., но она не должна превышать критическую скорость, при которой жидкость продолжает совершать ламинарное движение, или потребуется формировать струю из отдельных сферических капель. Мощность излучения, достаточная для разрыва C—H связей во всех молекулах составляет порядка 106
÷107
Вт/см2
, давление, создаваемое таким излучением может достигать 5 ГПа, что не превышает предельную прочность волокон на разрыв при растяжении.
При выходе наноструи из сопла, поверхностное натяжение совместно с радиальной силой, вызванной импульсами отдачи переизлучаемых молекулами фотонов создают пространственно устойчивую струю. Временное управление струей можно осуществлять длительностью лазерного импульса, а также формировать струю в виде отдельных капель. Естественным затвором будет являться капиллярное давление капли жидкости на выходном отверстии сопла , где r
s
– радиус сопла. Например, для воды при r
s
=7,25 нм капиллярное давление на крае сопла P
s
»20 МПа.
Формирующееся электромагнитное поле в ближневолновой зоне на выходе из волокна будет препятствовать расхождению наноструи. Для организации пространственного сканирования струи по подложке необходимо использовать узкополосный источник света с пространственной амплитудной или фазовой модуляцией или два и более лазеров (светодиодов) с небольшой растройкой по частоте. За счет фазовой или амплитудной модуляции можно сформировать несимметричное поле, отклоняющее струю.
Наноструи из химически активных материалов можно использовать при создании топологического рисунка в нанолитографии. В нано и микро литографии значительное время уделяется процедуре контроля за качеством рисунка. Для сокращения этого времени в нашей схеме микроскопии можно использовать всевозможные вторичные эффекты, сопровождающие процесс осаждения материала наноструи на подложку или ее травления. Например, при ударе струи о подложку со скоростью порядка 50 м/с происходит динамический удар с давлением 50 МПа. Это может приводить к возбуждению молекул с последующим переизлучением в видимой или инфракрасной области.
Динамический удар струи вызывает акустические колебания в подложке, несущие информацию о структуре поверхности. Эти акустические фононы можно регистрировать акустическим датчиком и получить акустическое изображение поверхности с нанометровым разрешением.
Кроме того, в зоне контакта струи с подложкой будут происходить химические реакции, которые также могут сопровождаться излучением в видимой или инфракрасной области, а остаточные радикалы в струе будут переизлучать в ультрафиолетовой области. Для получения изображения с поверхности объекта можно использовать зеркальную ультрафиолетовую оптику с широкой апертурой. Это даст возможность наблюдения и измерения возникающего на положке под струей рисунка с помощью компьютерной обработки изображения.
Следовательно, получается более простой аналог сканирующего электронного микроскопа, непосредственно совмещенного с процессом фотолитографии. В этом случае разрешающая способность микроскопа будет определяться самими люминесцирующими атомами. Однако, из-за большой толщины струи изображение будет размываться за счет коллективного эффекта. Тогда разрешение струйного микроскопа будет определяться радиусом струи в точке контакта. Одновременно широкоапертурную оптику можно использовать и для наблюдения за возбужденными атомами и молекулами в ИК и видимом диапазоне. Так как источники света являются локализованными, то дифракционное ограничение снимается. Тогда объект, по существу, сам становится источником света. Поэтому можно различить два источника света (флуоресцентных центра) на расстояниях, значительно меньше длины волны самого источника света, как показано в прототипе [4]. Но из-за высокой концентрации центров люминесценции в жидкости получается яркий источник, что позволяет работать в реальном масштабе времени.
Естественно, информационное быстродействие микроскопа полностью совмещается со скоростью самого технологического процесса нанолитографии. Такой эффект невозможно получить никакими другими способами сканирующей микроскопии в реальном масштабе времени технологического процесса. Для параллельных способов получения изображения, например, в экстремальном ультрафиолете, также невозможно снять полный кадр изображения, так как разрешающая способность электронных способов регистрации изображения ограничена числом пикселей фотоматрицы, которые, как правило, не превышают величину 106
-107
, а на типичном для нанолитографии фотошаблоне может находиться 1010
-1011
пикселей.
Исключительно важным практическим применением предлагаемого способа микроскопии является возможность использования для наблюдения живой клетки без ее разрушения. С этой целью в качестве вещества струи можно использовать воду или электролиты, входящие в состав самой клетки. Например, можно будет наблюдать в реальном времени проникновение бактериофага в клетку, который имеет размер порядка 45-140 нм. В этом случае диаметр струи и ее скорость можно уменьшить, чтобы увеличить разрешение и не повредить клетку. Операции должны проводиться не в вакууме, а непосредственно в жидкости, окружающей клетку. При этом струя будет двигаться в жидкости. Устойчивость струи в этом случае будет сохраняться лишь на малых расстояниях. Поэтому расстояние между соплом и клеткой должно быть порядка размеров самой клетки. Естественно, при изучении живого объекта не требуется большая площадь сканирования.
Сущность изобретения
заключается в следующем.
Сканирующий наноструйный микроскоп, в дальнейшем микроскоп, содержит электрически управляемые узкополосные источники оптического излучения и одно или более сопел для создания сканирующей струи вещества. Сопло является оптическим резонатором и выполнено из оптически прозрачного капилляра. В его стенки предусмотрено введение электрически управляемого узкополосного оптического излучения. Длина сопла выбирается кратной половине длины волны оптического излучения, причем длина волны оптического излучения выбирается такой, чтобы обеспечить максимальное симметричное и/или несимметричное световое давление на прокачиваемое через капилляр вещество. Внешний размер сопла выбирается не менее длины волны используемого оптического излучения
Изобретение характеризуется тем, что прокачиваемое внутри капилляра вещество может быть газообразным, жидкостным, радикальным, плазменным или их комбинаций. Внутренний профиль сечения капилляра сопла имеет заданную форму.
В простейшем случае оптически прозрачный капилляр сопла может выполняться с внутренним диаметром не менее 1 нм.
Капилляр сужается к соплу и покрыт светоотражающим покрытием, за исключением внутренней части капилляра сопла, которое является оптическим резонатором. Взаимодействие оптического излучения и прокачиваемого вещества осуществляется внутри сопла (резонатора).
Для наблюдения объектов в микроскопе предусмотрена возможность относительного перемещения, по крайней мере, одного сопла и подложки.
Изобретение содержит, по крайней мере, одну широкоапертурную оптическую систему с детектором для сбора оптического излучения в диапазоне от инфракрасного до ультрафиолетового, возникающего в зоне контакта струи с объектом. Далее происходит преобразование сигнала в электрический сигнал, который обрабатывается в компьютере для получения изображения объекта.
Одним из вариантов изобретения является то, что для получения стереоскопического изображения объекта используются, по крайней мере, одна наноструя и две оптические системы с детекторами для сбора излучения в диапазоне от инфракрасного до ультрафиолетового, возникающего в зоне контакта струи с объектом с последующим. Затем производится преобразование сигнала в электрический и его обработка в компьютере.
Другим вариантом изобретения является то, что для получения многомерного изображения объекта используются, по крайней мере, две наноструи и одна или более оптических систем с детекторами для сбора излучения в диапазоне от инфракрасного до ультрафиолетового, возникающего в зоне контакта струи с объектом. Затем производится преобразование сигнала в электрический и его обработка в компьютере.
Еще одним вариантом изобретения является то, что для получения акустического изображения объекта используется связанный с объектом акустический детектор для сбора акустического излучения, возникающего при контакте струи с объектом. Затем также производится преобразование сигнала в электрический и его обработка в компьютере.
Способ работы сканирующего наноструйного микроскопа заключается в пространственном управлении струей, которое осуществляется путем создания в капилляре сопла неоднородного светового давления на струю. Это приводит к заданному отклонению струи от центральной оси на выходе из капилляра сопла. Прерывая по времени световое давление можно задавать длину струи или делать ее в виде капель, что улучшает устойчивость струи при приближении к критическим скоростям.
Одним из способов работы микроскопа является то, что неоднородное световое давление на струю в капилляре формируют за счет пространственного фазового или амплитудного сдвига электрически управляемого оптического излучения от по крайней мере одного источника.
Другим способом работы микроскопа является то, что пространственное прерывание струи осуществляют выключением оптического излучения.
Для того, чтобы капилляр не блокировался кластерными образованиями жидкости – бабстонами, давление подаваемой к капилляру жидкости должно превышать давление образования бабстонов для этой жидкости. Однако оно должно быть меньше капиллярного давления на выходе из сопла для того, чтобы при выключении оптического излучения движение струи прерывалось.
Перечень рисунков, указанных на чертежах
Рис.1. Схема сканирующего наноструйного микроскопа.
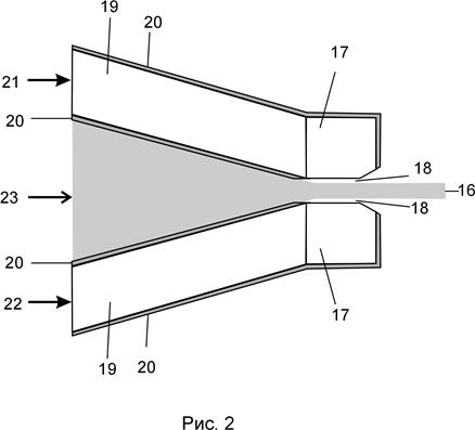
Рис.2. Устройство капиллярного сопла.
Краткое описание чертежей
На рис.1 представлена схема сканирующего наноструйного микроскопа. Здесь 1 – резервуар с жидкостью под давлением. Жидкость поступает по сужающемуся капилляру 2 к соплу, которое формирует наноразмерную струю 3. Одновременно к соплу по световодам 4,5 подводятся два электрически управляемых оптических сигнала, формируемых электрически управляемыми узкополосными источниками излучения 6,7. Путем электрической модуляции оптических сигналов, поступающих из 6,7 на выходе из сопла осуществляется формирование пространственно-неоднородного электромагнитного поля, которое осуществляет точное пространственное сканирование в плоскости x,y струи 3 по подложке. Подложка расположена на механически перемещаемом столе 9, с помощью которого осуществляется более грубое перемещение подложки в плоскости x,y. Струя 3 осуществляет сканирование по изучаемому образцу 8. Получение изображения осуществляется в разных энергетических диапазонах от звукового до ультрафиолетового. Сигнал возникает в зоне контакта струи с образцом 8 в результате механического соударения и образования излучения за счет физических и химических эффектов. Сигнал в диапазоне от инфракрасного до ультрафиолетового снимается с помощью зеркальной оптики 10 и соответствующему этому диапазону детектору 11 или в оптическом диапазоне с помощью широкоапертурного объектива (система линз) 12 и соответствующего детектора 13. Для сбора акустического сигнала используется акустический преобразователь 14, соединенный акустически с подложкой, сигнал с которого поступает на акустический детектор 15. Информация с детекторов обрабатывается компьютерным образом и выводится на дисплей.
На рис.2 показано устройство капиллярного сопла. Здесь показано формирование струи 16 в зоне капиллярного сопла 17. Сопло 17 является оптическим резонатором, длина которого кратна половине длины волны оптического излучения, заводимого в стенки сопла. Оптическое излучение создает всестороннее световое давление на струю 16, которая отжимается от стенок сопла 17 и образует изолирующий от стенок промежуток 18. Сужающийся оптически прозрачный капилляр 19 покрыт металлическим светоотражающим слоем 20, который одновременно выполняет химическую защиту капилляра. В капилляр заводится модулируемое оптическое излучение 21,22 и под давлением подается активное вещество 23.
Примеры осуществления изобретения. Рассмотрим возможности технической реализации сканирующего наноструйного микроскопа.
Для создания нанокапилляра можно использовать полые оптические световоды, вытянутые в локально нагретом состоянии до необходимого внутреннего радиуса. Здесь хорошо отработаны технологии создания зондов для сканирующей оптических микроскопов ближней волновой зоны.
Концентрация светового потока осуществляется с помощью сужающегося волновода, для уменьшения потерь в котором стенки должны быть покрыты светоотражающим покрытием, например, из металла.
Для сбора оптической информации можно использовать широкоапертурные серийные объективы и фотодиоды.
Для сбора ультрафиолетового излучения можно использовать широкоапертурную зеркальную оптику, например, для ультрафиолетовой литографии, и соответствующие фотоприемники.
Управление процессом развертки и прерывания струи осуществляется системой полупроводниковых лазеров или светодиодов, управляемых электрически.
Получение акустического изображения можно проводить с помощью пьезодатчиков, расположенных на подложке или на сопле.
Микроскоп при использовании в нанолитографии должен работать в реальном времени технологического процесса и осуществлять контроль за каждым пикселем формируемого изображения на подложке. В случае обнаружения неустранимого дефекта, он должен выдавать сигнал о браке всего чипа и прекращении процедуры дальнейшего нанесения рисунка. Это будет значительно экономить время всего технологического цикла.
Рассчитаем время получения одного кадра изображения сканирующего наноструйного микроскопа при заданной разрешающей способности наноструйного нанолитографа. Здесь процедура формирования рисунка и его регистрации совмещены. Для примера в качестве рабочей жидкости рассмотрим углеводород. Скорость течения струи – 50 м/с. Диаметр струи – 14,5 нм. Расстояние между элементами топологического рисунка на подложке – 7,25 нм. Топологически рисунок представим в виде строк длиной 1 см, шириной 14, 5 нм и расстоянием между строками 7,25 нм. Тогда предельная плотность пикселей размером 14,5 нм на 1 см2
будет 3,17×1011
штук на 1 см2
. Предельная частота модуляции струи нанолитографа по времени – 3,45×109
Гц, предельная частота строк в кадре – 4,6×105
Гц. При таких скоростях развертки информацию необходимо накапливать в буферной быстродействующей памяти для дальнейшей обработки в компьютере.
В настоящее время существуют процессоры с гигагерцовым быстродействием. Это достаточно для записи информации с микроскопа в реальном режиме времени технологического процесса. Полученные гига и терабайтные объемы информации человек обработать не в состоянии. Процедура контроля должна осуществляться компьютером. Оператор может только осуществлять выборочный контроль отдельных кадров с разрешение не больше 106
пикселей на 1 кадр.
В настоящее время предлагаемый микроскоп технологически реализуем, в нем нет дорогостоящих частей, таких как синхротрон, качественной ультрафиолетовой зеркальной оптики, магнитных и оптических линз.
За счет использования жидкостной струи с высокой плотностью вещества он значительно производительнее по скорости, чем сканирующие ионные или электронные микроскопы при той же разрешающей способности. В то же время из-за электронейтральности струи снимаются все проблемы исследования диэлектрических поверхностей, присущих электронным и ионным микроскопам, переносящих заряды.
В большинстве практических применений он может заменить сканирующие туннельные микроскопы, атомарных сил, ближней волновой зоны т.п., так как имеет большую поверхность обзора, соизмеримую только с электронными сканирующими микроскопами.
Преимущества предлагаемого микроскопа:
- Хранение изображения в памяти компьютера гига и терабайтных объемов.
- Возможность создания видеофильмов с трансформацией масштаба времени
- Резкое уменьшение себестоимости установки по сравнению электронными, ионными сканирующими микроскопами и рентгеновскими и ультрафиолетовыми микроскопами
- Увеличение площади обзора и скорости получения изображения по сравнению со сканирующими микроскопами, имеющими механический способ сканирования.
- Возможность получения аналитической информации об объекте в разных энергетических диапазонах от ИК до УФ, что позволяет осуществлять дополнительно химический анализ.
- Возможность использовать несколько наноструй последовательно или одновременно для контроля изображения и создания стереоскопического и многомерного изображений.
- Возможность исследования диэлектрических и биологических объектов без их разрушения, не нанося на них токопроводящих покрытий.
- Возможность исследования живой клетки и других биологических объектов.
Литература
1. Физическая энциклопедия, М. Советская энциклопедия. 1988-1998гг. т.3, стр.144-150, т.4, стр.537-539, т. 5, стр. 574-578, 581.
2. Р. Сейсян. Нанолитография СБИС в экстремально дальнем вакуумном ультрафиолете (Обзор). Журнал технической физики, 2005, том 75, вып.5
3. Volker Westphal, Jens Seeger, Tim Salditt and Stefan W Hell. Stimulated emission depletion microscopy on lithographic nanostructures. http://stacks.iop.org/0953-4075/38/S695 , Print publication: Issue 9 (14 May 2005)
4. Dyba M, Jakobs S, Hell SW, Immunofluorescence stimulated emission depletion microscopy. Nat Biotechnol. 2003 Nov;21(11):1303-4
5. Timoshchenko I.A., Ilyanok A.M. Formation of nanojet of radicals for nanolithography purposes. International Congress of Nanotechnology. November 1-3, 2005. San Francisco.
6. Moseler M. and Landman U., Formation, Stability, and Breakup of Nanojets, Science 2000 289: 1165-1169.
7. Eggers J., Dynamics of liquid nanojets, Phys. Rev. Lett. 89, 084502 (2002)
8. Бункин Н.Ф., Лобеев А.В. Фрактальная структура бабстонных кластеров в воде и водных растворов. Письма ЖТФ. 1993, т.58, вып.1, стр.91
9. Механика разрушения жидкости. Сборник научных трудов Института гидродинамики. Новосибирск. Вып.104. 1992 г., стр.19, 22, 26.
10. Болога М.К. Работает пустота. Кишинев: Штиинца. 1985 г., стр. 18
11. Тимощенко И.А. Конструирование векторных световых пучков в свободном пространстве. Труды IV Международной конференции молодых ученых и специалистов «Оптика 2005» Санкт-Петербург, 17-21 октября 2005./СПб: СПбГУ ИТМО, 2005. 398 с.
12. Физическая энциклопедия, М. Советская энциклопедия. 1988-1998гг. Т.1 стр. 553-554
По доверенности
Патентный поверенный Панченко Л.С.
Формула изобретения
1. Сканирующий наноструйный микроскоп, содержащий электрически управляемые узкополосные источники оптического излучения и одно или более сопел для создания сканирующей струи вещества, отличающийся тем, что сопло представляет собой оптический резонатор и выполнено из оптически прозрачного капилляра, в стенки которого предусмотрено введение электрически управляемого узкополосного оптического излучения, а длина сопла кратна половине длины волны оптического излучения, причем длина волны оптического излучения выбрана такой, чтобы обеспечить максимальное симметричное и/или несимметричное световое давление на прокачиваемое через капилляр вещество, внешний размер сопла выбран не менее длины волны используемого оптического излучения.
2. Микроскоп по п. 1, отличающийся тем, что прокачиваемое внутри капилляра вещество может быть газообразным, жидкостным, радикальным, плазменным или их комбинацией.
3. Микроскоп по любому из п.п. 1,2 отличающийся тем, что внутренний профиль сечения капилляра сопла имеет заданную форму.
4. Микроскоп по любому из п.п. 1-3, отличающийся тем, что оптически прозрачный капилляр сопла выполнен с внутренним диаметром не менее 1 нм.
5. Микроскоп по любому из п.п. 1-4, отличающийся тем, что оптически прозрачный капилляр выполнен сужающимся к соплу и покрыт светоотражающим покрытием, за исключением внутренней части капилляра сопла.
6. Микроскоп по любому из п.п. 1-5, отличающийся тем, что он выполнен с возможностью относительного перемещения, по крайней мере, одного сопла и подложки.
7. Микроскоп по любому из п.п. 1-6, отличающийся тем, что дополнительно содержит, по крайней мере, одну широкоапертурную оптическую систему с детектором для сбора оптического излучения в диапазоне от инфракрасного до ультрафиолетового, возникающего в зоне контакта струи с объектом с последующим преобразованием его в электрический сигнал, который обрабатывается в компьютере для получения изображения объекта.
8. Микроскоп по любому из п.п. 1-7, отличающийся тем, что для получения стереоскопического изображения объекта используют, по крайней мере, одну струю и две оптические системы с детекторами для сбора излучения в диапазоне от инфракрасного до ультрафиолетового, возникающего в зоне контакта струи с объектом с последующим преобразованием его в электрический сигнал для обработки его в компьютере.
9. Микроскоп по любому из п.п. 1-7, отличающийся тем, что для получения многомерного изображения объекта используют, по крайней мере, две струи и одну или более оптические системы с детекторами для сбора излучения в диапазоне от инфракрасного до ультрафиолетового, возникающего в зоне контакта струи с объектом с последующим преобразованием его в электрический сигнал для обработки его в компьютере.
10. Микроскоп по любому из п.п. 1-7, отличающийся тем, что для получения акустического изображения объекта используют связанный с объектом акустический детектор для сбора акустического излучения, возникающего при контакте струи с объектом с последующим преобразованием его в электрический сигнал для обработки его в компьютере.
11. Способ работы сканирующего наноструйного микроскопа по любому из п.п.1-10, отличающийся тем, что управление струей осуществляют путем создания в капилляре сопла неоднородного светового давления на струю, приводящего к заданному отклонению струи от центральной оси на выходе из капилляра сопла и/или прерыванием светового давления по времени.
12. Способ работы микроскопа по п.11, отличающийся тем, что неоднородное световое давление на струю в капилляре создают за счет пространственного фазового или амплитудного сдвига оптического излучения от по крайней мере одного электрически управляемого узкополосного источника.
13. Способ работы микроскопа по любому из п.п. 11,12 отличающийся тем, что пространственное прерывание струи осуществляют выключением оптического излучения.
14. Способ работы микроскопа по любому из п.п.11-13, отличающийся тем, что давление подаваемой к капилляру жидкости выбрано таким, чтобы оно было выше давления образования бабстонов для этой жидкости, но было ниже капиллярного давления на выходе из сопла.
По доверенности
Патентный поверенный Панченко Л.С.
Рисунки


|