| Министерство образования и науки Российской Федерации
Федеральное агентство по высшему образованию
Государственное образовательное учреждение
высшего профессионального образования
«Ивановская государственная архитектурно-строительная академия»
Факультет Коммерческой Подготовки и
Повышения Квалификации Специалистов
Составитель
доцент кафедры ТСП, к.т.н. Е.В. Тощакова
Технология
стРоительства
Методические указания
к выполнению курсовой работы
для студентов специальностей:
060800(080502) “Экономика и управление
на предприятии (строительство)”;
061100 (080507) “Менеджмент организации”
Иваново 2005
Составитель Е.В. Тощакова
УДК 693 (076)
Технология строительства: Методические указания к выполнению курсовой работы для студентов специальностей 060800(080502) “Экономика и управление на предприятии (строительство)”; 061100 (080507) “Менеджмент организации”/ Иван. гос. архит.-строит. акад.; Сост. Е.В. Тощакова. Иваново, 2005. – 57 с.
В методических указаниях изложены основные положения по разработке курсовой работы на выполнение кирпичной кладки и сопутствующих монтажных работ. Указания определяют содержание курсовой работы по дисциплине «Технология строительства», требования к ее выполнению и оформлению, содержат список вопросов к экзамену.
Методические указания предназначены студентам специальностей 060800(080502) “Экономика и управление на предприятии (строительство)”; 061100 (080507) “Менеджмент организации”
Табл. 9. Рис. 42. Библиогр.: 14 назв.
Оглавление
1. Общие указания 5
2. Спецификация сборных элементов 5
3. Определение объемов работ 5
4. Составление калькуляции трудовых затрат
и заработной платы 9
5. Выбор строповочных и монтажных приспособлений
и инвентаря 10
6. Выбор монтажных кранов 11
7. Технико-экономическое обоснование
выбора монтажного крана 13
8. Организация и технология строительного процесса 17
9. Ведомость материально-технических ресурсов 20
10. Мероприятия по безопасному ведению работ 21
11. Схема операционного контроля качества 22
12. Определение технико-экономических показателей 23
Библиографический список 24
Приложение 1. Состав расчетно-пояснительной записки 25
Приложение 2. Графическая часть работы 25
Приложение 3. Панели перекрытий железобетонные
Забиваем Сайты В ТОП КУВАЛДОЙ - Уникальные возможности от SeoHammer
Каждая ссылка анализируется по трем пакетам оценки: SEO, Трафик и SMM.
SeoHammer делает продвижение сайта прозрачным и простым занятием.
Ссылки, вечные ссылки, статьи, упоминания, пресс-релизы - используйте по максимуму потенциал SeoHammer для продвижения вашего сайта.
Что умеет делать SeoHammer
— Продвижение в один клик, интеллектуальный подбор запросов, покупка самых лучших ссылок с высокой степенью качества у лучших бирж ссылок.
— Регулярная проверка качества ссылок по более чем 100 показателям и ежедневный пересчет показателей качества проекта.
— Все известные форматы ссылок: арендные ссылки, вечные ссылки, публикации (упоминания, мнения, отзывы, статьи, пресс-релизы).
— SeoHammer покажет, где рост или падение, а также запросы, на которые нужно обратить внимание.
SeoHammer еще предоставляет технологию Буст, она ускоряет продвижение в десятки раз,
а первые результаты появляются уже в течение первых 7 дней.
Зарегистрироваться и Начать продвижение
многопустотные 26
Приложение 4. Панели перекрытий железобетонные
многопустотные 28
Приложение 5. Плиты рядовые железобетонные многопустотные
предварительно напряженные стендового
безопалубочного формования 29
Приложение 6. Марши лестничные железобетонные плоские для
жилых зданий с высотой этажа 2.8 м 30
Приложение 7. Площадки лестничные железобетонные к плоским
маршам для жилых зданий с высотой этажа 2.8 м 30
Приложение 8. Лестничные марши для общественных зданий
с высотой этажа 3.3, 3.6, 4.2 м 31
Приложение 9. Лестничные площадки для общественных зданий 32
Приложение 10. Перемычки железобетонные для зданий
с кирпичными стенами 33
Приложение 11. Железобетонные прогоны 35
Приложение 12. Железобетонные прогоны, опорные плиты 35
Приложение 13. Схемы строповки и складирования материалов 36
Приложение 14. Средства подмащивания 37
Приложение 15. Ручной инструмент каменщика 38
Приложение 16. Инструмент для контроля качества кирпичной кладки 39
Приложение 17. Инструмент и приспособления для звена каменщиков
при выполнении кладки стен из кирпича 40
Приложение 18. Технические характеристики кранов 41
Приложение 19. Стоимостные показатели кранов 41
Приложение 20. § Е1-5. Погрузка или выгрузка материалов
(грузов) стреловыми самоходными
кранами грузоподъемностью до 25 т 42
Приложение 21. § Е1-6. Подача материалов (грузов)
стреловыми самоходными кранами
грузоподъемностью до 25 т 43
Приложение 22. § Е3-3. Кладка стен из кирпича 46
Приложение 23. § Е3-5. Кладка стен зданий облегченных
конструкций из кирпича 49
Приложение 24. § Е3-12. Устройство перегородок 51
Приложение 25. § Е3-16. Укладка брусков перемычек 52
Приложение 26. § Е3-20. Устройство и разборка инвентарных
подмостей для кладки 53
Приложение 27. § Е4-1-7. Укладка плит перекрытий и покрытий 55
Приложение 28. Образец схемы операционного контроля качества 56
Приложение 29. Вопросы к экзамену по курсу
"Технология строительства" 58
1. Общие указания
Выполнение курсовой работы имеет цель расширить и углубить теоретические знания студентов, полученные при изучении курса «Технологии строительства», и привить студентам навыки самостоятельной работы по проектированию производства строительно-монтажных работ.
Курсовая работа представляет собой проект производства работ (ППР) на возведение многоэтажного кирпичного здания, включая монтаж сборных железобетонных элементов (конструкций). Проект состоит из расчетно-пояснительной записки и графической части.
Сервис онлайн-записи на собственном Telegram-боте
Попробуйте сервис онлайн-записи VisitTime на основе вашего собственного Telegram-бота:
— Разгрузит мастера, специалиста или компанию;
— Позволит гибко управлять расписанием и загрузкой;
— Разошлет оповещения о новых услугах или акциях;
— Позволит принять оплату на карту/кошелек/счет;
— Позволит записываться на групповые и персональные посещения;
— Поможет получить от клиента отзывы о визите к вам;
— Включает в себя сервис чаевых.
Для новых пользователей первый месяц бесплатно.
Зарегистрироваться в сервисе
Расчетно-пояснительная записка выполняется на 20-25 листах формата А4 и оформляется в соответствии с требованиями ГОСТ. Содержание расчетно-пояснительной записки определено в приложении 1.
Графическая часть проекта выполняется на 2 листах формата А2 и содержит комплекс технологических чертежей (схем, таблиц, графиков и т.п.), перечень которых приведен в приложении 2. Все чертежи должны быть выполнены в масштабе в соответствии с требованиями стандартов ЕСКД и СПДС.
Исходные данные для проектирования принимаются по выданному преподавателем заданию.
2. Спецификация сборных элементов
В данном разделе пояснительной записки на основании исходных данных необходимо определить перечень основных конструктивных элементов. Подбор железобетонных элементов перекрытия, лестничных маршей и площадок, перемычек и т.д. осуществляется по приложениям 3-12. Для используемых в курсовой работе сборных конструкций составляется спецификация (таблица 2.1).
Таблица 2.1
Спецификация сборных элементов
| № п/п
|
Наименование элементов
|
Марка
|
Размеры, мм
|
Пло-щадь, м2
|
Расход бетона, м3
|
Масса, т
|
| Дли-на
|
Шири-на
|
Высота
|
| 1
|
2
|
3
|
4
|
5
|
6
|
7
|
8
|
9
|
3. Определение объемов работ
Расчет объемов работ заключается в определении объемов каменной кладки, монтажных работ и сопутствующих работ по этажам и на все здание.
Объемы по каменной кладке включают в себя кладку наружных и внутренних несущих стен и кладку перегородок.
Объемы по монтажным работам включают в себя все монтажные элементы каждой марки, необходимые для возведения этажа.
Сопутствующие работы включают в себя разгрузку материалов, а при выполнении каменной кладки – подачу кирпича и раствора, подмащивание. Наименование работы единицы их измерения принимаются по соответствующим параграфам ЕНиР [4, 5, 6, 7].
Объемы работ по каменной кладке рассчитываются по плану и разрезу с учетом наличия оконных и дверных проемов и утеплителя.
1. Каменная кладка наружных несущих стен толщиной ….мм (указать свою толщину стены), м3
(3.1)
где объем каменной кладки наружных несущих стен, м3
;
∑
L
нар.ст
.
– сумма длин всех наружных несущих стен, м;
h
эт
– высота этажа, м;
S
ок
– площадь окна данного размера, м2
;
n
ок
– количество окон данного размера, шт.;
S
дв
– площадь двери данного размера, м2
;
n
дв
– количество дверей данного размера, шт.;
b
нар.ст.
– толщина наружной несущей стены, м.
2. Каменная кладка внутренних несущих стен толщиной 380мм, м3
(3.2)
где объем каменной кладки внутренних несущих стен, м3
;
∑
L
вн.ст.
– сумма длин всех внутренних несущих стен, м;
b
вн.ст
.
– толщина внутренней несущей стены, м.
3. Установка и перестановка подмостей для наружных несущих стен толщиной ….мм (указать свою толщину стены), 10м3
(3.3)
где объем работ по установке и перестановке подмостей для наружных несущих стен, 10м3
.
4. Установка и перестановка подмостей для внутренних несущих стен толщиной 380мм, 10м3
(3.4)
где объем работ по установке и перестановке подмостей для внутренних несущих стен, 10м3
.
5. Монтаж плит перекрытия и покрытия, шт. / тн.
Объемы монтажных работ определяются по плану раскладки плит перекрытия и покрытия для каждой марки. Значение в тоннах определяется, как количество плит данной марки умноженное на массу плиты этой марки из спецификации.
6. Укладка брусковых перемычек, шт. / тн.
Объемы работ на укладку перемычек для каждой марки определяются по планам этажей в зависимости от толщины стены. При толщине стены 640мм укладывается 5 перемычек на один проем, при толщине 510мм – 4 перемычки на один проем, при толщине 380мм – 3 перемычки на один проем, а при толщине 120мм – 1 перемычка на один проем. Значение в тоннах определятся, как количество перемычек данной марки умноженное на массу перемычки этой марки из спецификации.
7. Каменная кладка глухих перегородок толщиной 120мм, м2
/ м3
S
гл.пер.
= ∑
L
гл.пер.
∙
h
пер
.
, (3.5)
где S
гл.пер.
– площадь глухих перегородок, м2
;
∑
L
гл.пер.
– сумма длин всех глухих перегородок, м;
h
пер.
– высота перегородок, м.
V
гл.пер
.
=
S
гл.пер.
∙
b
пер.
, (3.6)
где V
гл.пер.
– объем каменной кладки глухих перегородок, м3
;
b
пер.
– толщина перегородок, м ( b
пер.
= 0,12м )
8. Каменная кладка перегородок с проемами толщиной 120мм, м2
/ м3
(3.7)
где площадь перегородок с проемами, м2
;
сумма длин всех перегородок с проемами, м.
(3.8)
где объем каменной кладки глухих перегородок, м3
.
9. Выгрузка и подача материала:
а) раствора, м3
(3.9)
где V
раств.
– объем раствора, м3
б) кирпича, 1000шт./100тн
(3.10)
где V
кирп.
– объем кирпича, 1000шт.;
Для определения объема кирпича при выгрузке и подаче в 100тн необходимо V
кирп.
умножить на массу кирпичей и разделить на 100.
Результаты подсчета объемов работ сводятся в таблицу.
Таблица 3.1
Ведомость объемов работ
| №
п/п
|
Наименование работ
|
Единица
измерения
|
Количество
|
Объем
сборного
железобетона,
м3
|
| 1 этаж
|
2 этаж (мансарда)
|
на все здание
|
| 1
|
2
|
3
|
4
|
5
|
6
|
7
|
4. Составление калькуляции трудовых затрат
и заработной платы
Калькуляция трудовых затрат и заработной платы составляется в табличной форме.
Таблица 4.1
Калькуляция трудовых затрат и заработной платы
| № п/п
|
Обоснование
|
Наименование работ
|
Единица измерения
|
Объем работ
|
Норма времени на единицу измерения
|
Затраты труда и машинного времени на весь объем работ
|
Состав звена (профессия,
разряд, количество)
|
Расценка, руб.-коп.
|
Заработ-ная плата, руб.-коп.
|
| рабочих,
чел-час
|
машинного времени,
маш-час
|
рабочих,
чел-дн.
|
машинного времени,
маш-см.
|
рабочих
|
машиниста
|
рабочих
|
машиниста
|
| 1
|
2
|
3
|
4
|
5
|
6
|
7
|
8
|
9
|
10
|
11
|
12
|
13
|
14
|
Содержание граф таблицы:
1 – номер по порядку
вида работ;
2
– обоснование
– отражает шифр норм (параграф, таблицы, пункты) и поправочные коэффициенты, если они используются;
3 – наименование работ
– указывается наименование работы в строгом соответствии с формулировкой, данной в ЕНиР (включает название параграфа с подробным указанием всех выбранных по таблице способов и условий производства работ и объяснением применяемых коэффициентов);
4 – единица измерения
– измеритель, на который приведены нормы времени и расценки (указывается над используемой таблицей или в самой таблице ЕНиР);
5 – объем работ
- объем работ выполняемого процесса в принятых единицах измерения ЕНиР (принимается по «Ведомости объемов работ»);
6 – норма времени рабочих
– принимается по ЕНиР, измеряется в чел.-час;
7 – норма машинного времени
– принимается по ЕНиР, измеряется в маш.-час;
8 – затраты труда рабочих
– количество затраченного труда на выполнение заданного объема работ, измеряется в чел.-дн. Вычисляется умножением нормы времени рабочих на объем работ и полученное произведение делится на продолжительность рабочей смены 8 часов (для перевода чел.-час в чел.-дн.);
9
– затраты машинного времени
– количество машинного времени затраченного для производства заданного объема работ, измеряется в маш.-см. Вычисляется умножением нормы машинного времени на объем работ и полученное произведение делится на продолжительность рабочей смены 8 часов (для перевода маш.-час в маш.-см.);
10 – состав звена
– указывается численно-квалификационный состав звена рабочих для выполнения данного вида работ (приводится над таблицей норм или в самой таблице ЕНиР);
11, 12
– расценка рабочих и машиниста
– оплата труда рабочих и машиниста за выполнения единицы доброкачественной продукции, принимается по ЕНиР. Измеряется в руб.-коп.;
13 – заработная плата рабочих
- заработная плата рабочих за выполнение заданного объема работ, измеряется в руб.-коп. Вычисляется умножением соответствующей расценки рабочих на объем работ;
14 – заработная плата машиниста
– заработная плата машиниста за выполнение заданного объема работ, измеряется в руб.-коп. Вычисляется умножением соответствующей расценки машиниста на объем работ.
Калькуляция составляется на работы, включенные в ведомость объемов работ. При использовании поправочных коэффициентов необходимо провести корректировку норм времени рабочих, норм машинного времени, расценок рабочих и машиниста путем умножения данных значений на поправочные коэффициенты.
В результате составления калькуляции затрат труда и заработной платы должны быть определены:
- общие затраты труда рабочих [чел-дн];
- общие затраты машинного времени [маш-см];
- сумма заработной платы рабочих [руб-коп];
- сумма заработной платы машиниста [руб-коп].
5. Выбор строповочных и монтажных
приспособлений и инвентаря
Для разгрузки и подачи на рабочее место кирпича, раствора, монтажных элементов необходимо выбрать приспособления для строповки в соответствии с его характеристиками. Типы, область применения и характеристики монтажных приспособлений и инвентаря приведены в [10], а также в приложении 13.
Доставку силикатного кирпича осуществляют пакетами. Выгрузку пакетов и подачу на рабочее место осуществляют самозатягивающимся захватом Б-8. В случае доставки кирпича на поддонах, выгрузку осуществляют с помощью четырехветвевого стропа и универсального стропа (приложение 13).
Подачу раствора на рабочее место осуществляют растворным ящиком V
= 0,25 м3
или растворонасосом (приложение 13).
Строповку сборных железобетонных элементов осуществляют стропами или траверсой.
При выборе грузозахватного приспособления следует руководствоваться следующими требованиями:
- грузоподъемность приспособления должна быть не меньше массы поднимаемого груза;
- угол между ветвями стропа должен быть £ 900
.
При выборе приспособлений предпочтение следует отдавать тем, которые имеют меньший вес и высоту.
Для работы на высоте следует выбрать средства подмащивания. Возведение каменной кладки ведется поярусно с высотой яруса 1,0¸1,2 м. При кладке второго, третьего и последующих ярусов рабочее место каменщика необходимо поднимать. Для этого применяют инвентарные шарнирно - панельные или шарнирно-блочные подмости (приложение 14). Для кладки стен зданий при высоте помещения более 5м следует применять леса, которые устанавливают на грунт и собирают внутри или снаружи здания.
Выбранные приспособления сводятся в таблицу.
Таблица 5.1
Строповочные и монтажные приспособления
| №
п/п
|
Наименование, марка и назначение приспособления
|
Эскиз
|
Грузоподъемность, т
|
Высота
строповки, м
|
Масса, кг
|
Количество, шт.
|
| 1
|
2
|
3
|
4
|
5
|
6
|
7
|
6. Выбор монтажных кранов
Выбор крана производится по наиболее тяжелому, наиболее удаленному монтажному элементу (как правило, это плита покрытия). Если такой элемент трудно выделить, то расчет производят по нескольким наиболее характерным элементам (плита покрытия, прогон, ригель, лестничный марш и др.).
При выборе монтажных кранов необходимо для каждого из монтируемых элементов определить требуемые монтажные характеристики:
- монтажную массу Q
м
;
- требуемую высоту подъема крюка Нктр
;
- требуемый вылет крюка L
ктр
.
Выбор монтажных кранов производится для каждой конструкции из условий:
(6.1)
(6.2)
(6.3)
Монтажная масса элемента вычисляется по формуле
Q
м
=
Q
эл
+
Q
стр
+
Q
о
, (6.4)
где Q
эл
– масса монтируемой конструкции;
Q
стр
– масса строповочного приспособления;
Q
о
– масса монтажной оснастки.
Требуемая высота подъема крюка равна:
Нктр
=
h
о
+ 0,5 +
h
эл
+
h
стр
, (6.5)
где h
о
– монтажная отметка для каждой конструкции (отметка проектного опирания), м;
0,5 – зазор безопасности по вертикали, м;
h
эл
– монтажная высота конструкции, м;
h
стр
– высота строповочного приспособления, м.
Требуемый фактический вылет крюка определяется по формуле
L
ктр
=
L
ктр у
+
a
, (6.6)
где a
– расстояние от оси вращения крана до шарнира пяты стрелы, м (Значение определяется по паспортным данным крана. Для расчетов в первом приближении можно принять: 1…2 м для гусеничных и 0,7…1,8 м для пневмоколесных кранов);
L
ктр у
– требуемый условный вылет крюка.
L
ктр у
=
h
1
/
tg
αо
+
b
, (6.7)
h
1
=
h
о
+ 0,5 +
h
эл
–
h
ш
, (6.8)
где h
ш
– расстояние от уровня стоянки крана до шарнира пяты стрелы, м (Значение определяется по паспортным данным крана. Для расчетов в первом приближении можно принять: 1,4…2,0 м для гусеничных и 1,6…2.5 м для пневмоколесных кранов);
αо
– угол наклона стрелы к горизонту ( оптимально – 65о
…70о
);
b
– расстояние от стрелы крана до центра тяжести монтируемого элемента, м
b
= В
+
d
, (6.9)
где В
- расстояние от вертикальной оси, проходящей через центр тяжести монтируемого элемента (через крюк крана) до наружной грани наиболее выступающей в сторону крана части здания, м;
d
= 1…1,5 м – зазор безопасности по горизонтали, равный минимальному расстоянию между осью наклонной стрелы крана и существующими или монтируемыми конструкциями.

Рис. 6.1. Схема к определению требуемых
монтажных параметров крана
На основании проведенных расчетов по кривым грузоподъемности [ 9 ] подбираются подходящие по техническим параметрам марки кранов.
7. Технико-экономическое обоснование
выбора монтажного крана
Для выбора наиболее оптимального комплекта монтажных кранов необходимо произвести технико-экономическое сравнение двух вариантов. Расчет ТЭО для каждого крана (комплекта кранов) выполняется в следующей последовательности:
1. Определяется продолжительность цикла монтажа одной конструкции краном в минутах:
(7.1)
где Нктр
– требуемая высота подъема крюка, м;
L
2
– перемещение крана, необходимое для монтажа конструкции, м (по схеме установки конструкции);
L
3
– перемещение крюка по горизонтали при изменении вылета стрелы для конструкции, м (по схеме установки конструкции);
Тр
– время на ручные и сопутствующие работы при монтаже конструкции, мин;
V
1
– средняя скорость подъема и опускания крюка крана, м/мин;
Vmin
- минимальная (посадочная) скорость перемещения крюка, м/мин;
α
– угол поворота, необходимый для перевода стрелы крана из транспортного положения в рабочее, град (по схеме монтажа);
V
2
– средняя скорость горизонтального перемещения крана (скорость хода), м/мин;
V
3
– средняя скорость перемещения стрелы при изменении вылета, м/мин.;
K
– средняя скорость вращения, об/мин.
2. Определяется продолжительность монтажа однотипных конструкций краном в сменах:
(7.2)
где N
– количество однотипных конструкций, шт.;
Кн
– коэффициент, учитывающий регламентированные внутрисменные перерывы (Кн
=0,84);
К1
– коэффициент, учитывающий дополнительные работы (К1
=0,9);
К2
– коэффициент, учитывающий условия монтажа кранами с различной базой (для башенных кранов К2
=0,9; для стреловых самоходных кранов на гусеничном ходу К2
=0,85 , на пневмоколесном ходу – К2
=0,8).
3. Рассчитываются трудозатраты в чел.-дн.:
Рк
=
D
∙ Т
+ 4 ∙ Т2
, (7.3)
где Рк
– трудозатраты по данному варианту;
D
– состав звена монтажников (принимается по ЕНиР [ 7 ]);
Т
2
– продолжительность монтажа, демонтажа и подготовки к работе крана, смен.
4. Определяется себестоимость работ (без учета заработной платы монтажников) в руб.-коп.:
Ск
=[ 1,08 ∙ См-см
∙ ( Т + Т2
) + Сед
.
] ∙ К4
, (7.4)
где См-см
– стоимость машино-смены крана, руб.;
Сед.
– стоимость единовременных затрат на перебазировку, монтаж и демонтаж крана, руб.;
К4
– коэффициент, учитывающий дополнительную стоимость технологических приспособлений для монтажа (К4
=1,1).
5. Рассчитываются приведенные затраты в руб.-коп.:
Сприв
.
= Ск
+ 0,12 ∙ Синв.
∙ (Т + Т2
)/ Тгод
.
, (7.5)
где Синв
.
– инвентарная стоимость крана, руб.;
Тгод.
– количество рабочих смен в году, смен.
Исходные данные для сравнения вариантов комплектов кранов определяются по приложениям 18, 19 и для удобства расчетов сводятся в таблицу 7.1
Таблица 7.1
Исходные данные для выбора крана
| № п/п
|
Исходные технические параметры
|
Гусеничный кран
(марка)
|
Пневмоко-лесный кран
(марка)
|
| 1
|
2
|
3
|
4
|
| 1
|
Нктр
- высота подъема крюка, м
|
| 2
|
L
2
- горизонтальное перемещение на единицу монтажа, м
|
| 3
|
L
3
- перемещение крюка при изменении вылета, м
|
| 4
|
α
– угол поворота стрелы, град.
|
| 5
|
V
1
– средняя скорость подъема груза, м/мин.
|
| 6
|
Vmin
- минимальная скорость подъема, м/мин.
|
| 7
|
Тр
– время на ручные и сопутствующие работы, мин.
|
| 8
|
V
2
– средняя скорость хода крана, м/мин.
|
Продолжение таблицы 7.1
| № п/п
|
Исходные технические параметры
|
Гусеничный кран
(марка)
|
Пневмоко-лесный кран
(марка)
|
| 9
|
V
3
– средняя скорость изменения вылета стрелы, м/мин.
|
| 10
|
К
– средняя скорость вращения стрелы, об/мин.
|
| 11
|
N
– количество однотипных конструкций, штук
|
| 12
|
К2
– коэффициент учета различной базы крана
|
| 13
|
К1
– коэффициент, учитывающий дополнительные работы (К1=0,9)
|
| 14
|
D
– состав звена монтажников, чел.
|
| 15
|
Т2
– продолжительность монтажа, демонтажа, смен
|
| 16
|
См
-см – стоимость маш-смен. крана, руб.
|
| 17
|
Сед
– стоимость единовременных затрат, руб.
|
| 18
|
Синв
– инвентарная стоимость крана, руб.
|
| 19
|
Тгод
– количество рабочих смен в году, смен
|
После проведенных вычислений полученные результаты сводятся в таблицу 7.2 и делается вывод какой вариант комплекта кранов наиболее экономически выгоден.
Таблица 7.2
Технико-экономическое обоснование выбора крана.
| № п/п
|
Наименование показателя
|
Гусеничный кран (марка)
|
Пневмоколесный кран
(марка)
|
| 1
|
Трудозатраты, чел.-дн. (Рк
)
|
| 2
|
Себестоимость, руб.-коп. (Ск
)
|
| 3
|
Приведенные затраты, руб.-коп. (Сприв
.)
|
8. Организация и технология
строительного процесса
До начала возведения кирпичных стен надземной части здания должны быть выполнены следующие работы:
- закончено выполнение всех работ подземной части здания;
- устроены подъезды, временные дороги и складские площадки;
- завезены и уложены на приобъектный склад необходимые материалы и сборные конструкции;
- подготовлены и поданы на рабочие места средства механизации, инвентарь и приспособления в соответствии со схемой организации работ.
Складирование кирпича и сборных железобетонных конструкций осуществляется на объекте на специально подготовленных площадках приобъектного склада, выровненных и уплотненных с уклоном до 0.05 для стока воды.
Запас основных материалов и конструкций на строительной площадке должен определяться в следующем объеме:
- кирпич для обеспечения бесперебойной работы бригады в течение трех дней;
- сборные ж/б конструкций комплектуются на этаж и их поступление заканчивается за один день до окончания кладки этажа.
Этаж по высоте разбивается на три яруса, считая от верха плиты перекрытия в соответствии с высотой выбранных средств подмащивания, как показано на рис. 8.1
Рис. 8.1 Схема деления этажа на ярусы
При организации рабочего места на перекрытии расстановка пакетов с кирпичом и ящиков с раствором должна соответствовать схемам, показанным на рисунках 8.2, 8.3
Рис. 8.2 Организация складирования материалов
при кладке сплошной стены
Рис. 8.3 Организация складирования материалов
при кладке стены с проёмами
Разгрузка с автомашины и подача кирпича на рабочее место или на склад осуществляется пакетами с помощью футляр-захвата Б-8, при этом обязательна защита днища пакета от выпадения кирпича брезентовым фартуком. Раствор на рабочее место подается в рабочих ящиках каменщиков объемом 0,25м3
.
При производстве кирпичной кладки стен используют инвентарные шарнирно-панельные или шарнирно-блочные подмости (приложение 14).
При производстве работ необходима увязка кирпичной кладки стен с технологией монтажа перекрытий, обеспечивающая после устройства перекрытия продолжение кладки стен в безопасных условиях. Для этого необходимо обеспечивать кладку бортика стен в уровне перекрытия на высоту, превышающую отметку верха будущего перекрытия на два ряда, с подмостей нижележащего яруса.
Освещение рабочих мест осуществляется с помощью инвентарных гирлянд, закрепленных на телескопических стойках.
Монтаж панелей перекрытия на участке, замкнутом стенами, начинается с укладки раствора на стену и осуществляется с лестниц-стремянок. Монтаж последующих панелей осуществляется с ранее смонтированной панели.
Во время нахождения на плитах перекрытия монтажники и сварщики должны прикрепляться карабином предохранительного пояса к специально натянутому стальному канату или к монтажным петлям смонтированных плит перекрытия.
Анкеровка панелей перекрытия производится в процессе их монтажа согласно проекта.
Монтаж лестничных маршей и площадок осуществляется по ходу кирпичной кладки.
Лестничные марши монтируются специальным вилочным захватом, а лестничные площадки и плиты перекрытия и покрытия - 4-х ветвевым стропом.
Технологическая последовательность операций ведения кирпичной кладки:
- разбивка осей и разметка стен;
- установка порядовок и натягивание причалок;
- подача и раскладка кирпича на стене;
- подача, расстилание и разравнивание раствора на стене;
- кладка наружной, затем внутренней версты, заполнение забутки;
- проверка правильности по ходу кладки.
Для возведения здания из кирпича формируется комплексная бригада рабочих, имеющих как основную, так и совмещаемую профессию.
Таблица 8.1
Профессионально - квалификационный состав бригады
| № п/п
|
Профессия и квалификация членов бригады
|
| основная
|
разряд
|
совмещаемая
|
разряд
|
| 1
|
2
|
3
|
4
|
5
|
9. Ведомость материально-технических ресурсов
В данном разделе пояснительной записки необходимо определить потребность в основных машинах, инвентаре, приспособлениях и инструменте, для выполнения объемов работ.
Таблица 9.1
Ведомость материально-технических ресурсов
| Наименование
|
Марка, ГОСТ
|
Кол-во
|
Назначение
|
| Кран
|
| Прицеп-плитовоз
|
УПЛ-1412
|
| Раствороперегружатель
|
ПКБ Минсель-строя БССР
|
| Строп 4-х ветвевой
|
| Вилочный захват
|
ПКБ Минсель-строя БССР
|
| Захват для подъема кирпича в пакетах
|
р.ч.605.00
|
| Ящик для раствора V
=0.25м3
|
р.ч.2Н270
|
| Инвентарные шарнирно-панельные подмости
|
р.ч.2Н271
|
| Приставная лестница с площадкой ПИ Промстальконстр.
|
р.ч.2Н282
|
| Шаблон для разметки проемов
|
р.ч.2Н292
|
| Шаблон для кладки дымовых и вентиляционных каналов
|
р.ч.2Н290
|
| Инвентарная металлическая порядовка
|
Гипроорг-
сельстрой
|
| Промежуточная порядовка
|
ПКБ Минсель-строя БССР
|
| Шнур причальный
|
ТУ22-3527-7
|
| Ограждение инвентарное
|
р.ч.Н288
|
| Кельма типа КБ
|
ГОСТ 9533-71
|
| Молоток-кирочка
|
ГОСТ11042-72
|
| Расшивка РВ
|
ГОСТ12803-67
|
| Кувалда КБ-59039
|
ГОСТ11401-65
|
| Лом монтажный
|
ГОСТ 1405-72
|
| Лопата совковая
|
ГОСТ 3620-76
|
| Теодолит
|
2Т-30
|
| Нивелир с рейкой
|
НП-10
|
Продолжение таблицы 9.1
| Наименование
|
Марка, ГОСТ
|
Кол-во
|
Назначение
|
| Метр складной металлический
|
| Рулетка измерительная
|
РС-20
|
| Отвес стальной строительный
|
ГОСТ 7211-72
|
| Уровень строительный
|
УС-1-300
|
| Правило дюралюминиевое
|
НИИСП Госстроя УССР
|
| Рейка контрольная
|
КЛ 57-021
|
10. Мероприятия по безопасному ведению работ
В данном разделе разрабатываются мероприятия по безопасному производству работ в соответствии со СНиП [ 2, 3 ].
Ответственность за соблюдение требований ТБ при производстве монтажных работ возлагается на инженерно-технических работников строительно-монтажной организации.
Рабочие, руководители, специалисты должны быть обеспечены спецодеждой, спецобувью и средствами индивидуальной защиты. На участке, где ведутся монтажные работы, не допускается выполнение других работ и нахождение посторонних лиц.
Не разрешается кладка стен зданий высотой более двух этажей без устройства площадок и маршей и их ограждений в лестничных клетках.
Запрещается выкладывать стену, стоя на ней. При выполнении кладки в опасных местах (возведение наружных стен на уровне перекрытия, площадки карнизов и др.) каменщики должны пользоваться предохранительными поясами.
На подмостях между стеной и сложенными материалами следует оставлять проход шириной не менее 0,7м. До установки столярных изделий оконные и дверные проемы выкладываемых стен необходимо ограждать включенными в нормокомплект специальными ограждениями.
Расшивку наружных швов кирпичной кладки следует выполнять с перекрытия или подмостей после укладки двух рядов.
При кладке стен с внутренних подмостей надлежит по всему периметру здания устраивать наружные защитные инвентарные козырьки в виде настила на кронштейнах, навешиваемых на стальные крюки, которые заделываются в кладку по мере ее возведения на расстоянии не более 3м один от другого. Их ширина должна быть не менее 1.5м, уклон в сторону строящегося здания около 20%, зазор между стеной и настилом не более 50мм. Первый ряд защитных козырьков устанавливается в уровне проемов второго этажа, далее - через каждые два этажа.
Над входами в строящееся здание устраивается сплошной навес шириной не менее ширины входа с вылетом не менее 2м от стены здания и с уклоном в сторону стены около 20%. Способы строповки и складирования элементов и оборудования должны обеспечивать их подачу к месту установки в положении, близком к проектному.
Запрещается подача сборных железобетонных конструкций, не имеющих петель или меток, обеспечивающих их правильную строповку и установку. Элементы монтируемых конструкций или оборудования во время движения должны удерживаться от раскачивания и вращения гибкими оттяжками.
Подводить конструкции к месту монтажа допускается только с внешней стороны здания.
Запрещается нахождение лиц, не занятых непосредственно на монтаже, в опасной зоне работы крана, размер которой определяется:
Rоп
= Rраб
+ 0,5 ∙ L
min
+
Lmax
+ Lбез
, (11.1)
где Rраб
– максимальный рабочий вылет крюка крана, м;
L
min
– наименьший габарит перемещаемого элемента, м;
Lmax
– наибольший габарит перемещаемого элемента, м;
Lбез
- безопасное расстояние, величина которого зависит от высоты, на которой перемещается элемент (Нктр
, м), и определяется по СНиП 12-03-2001 «Безопасность труда в строительстве».
Все используемые средства подмащивания должны соответствовать требованиям ГОСТ 24258-80 и допускаются к эксплуатации только после их приемки производителем работ и регистрации в журнале работ.
11. Схема операционного контроля качества
Основными документами при операционном контроле качества кирпичной кладки являются нормативные документы третьей части СНиП [ 1 ]. Требования к качеству и приемке работ в курсовой работе оформляется в виде схемы операционного контроля качества (СОКК).
Схема операционного контроля качества должна содержать:
- эскиз контролируемого элемента с указанием допускаемых (предельных) технологических отклонений при выполнении работ;
- перечень работ, подлежащих освидетельствованию актом на скрытые работы;
- перечень операций или процессов, контролируемых производителем работ или мастером, с участием, при необходимости, строительной лаборатории и геодезической службы;
- данные о составе, сроках, способах и инструментах контроля.
Пример заполнения СОКК приведен в приложении 28.
12. Определение технико-экономических
показателей
Для оценки эффективности принятого в курсовой работе варианта производства работ определяются следующие технико-экономические показатели:
1. Нормативные затраты труда рабочих, чел.-дн. ( Р
).
2. Нормативные затраты машинного времени, маш.-см. ( М
).
3. Продолжительность строительства, дн. ( Т
).
Т
= Р
/ (
k
∙
n
∙
m
)
, (12.1)
где k
– количество рабочих в звене или в бригаде;
n
– количество рабочих смен;
m
– количество звеньев или бригад.
4. Общая заработная плата рабочих, руб.-коп. ( ЗП
).
5. Общая заработная плата машиниста, руб.-коп. ( ЗП маш
.
).
6. Средняя заработная плата рабочего в смену, руб.-коп./чел.-дн. (ЗП
/Р
)
7. Выработка на одного рабочего в смену в единицах измерения конечной продукции (каменной кладки), м3
/чел.-дн. ( V
/Р
, где V
– общий объем каменной кладки).
Результаты расчета технико-экономических показателей сводятся в таблицу.
Таблица 12.1
Технико-экономические показатели
| №
п/п
|
Наименование
показателя
|
Единица
измерения
|
Значение
|
| 1
|
2
|
3
|
4
|
Библиографический список
1. СНиП 3.03.01-87. Несущие и ограждающие конструкции / Госстрой СССР. – М.: ЦИТП Госстроя СССР, 1989. – 192 с.
2. СНиП 12-03-2001. Безопасность труда в строительстве. Часть 1. Общие требования. – М., - 39 с.
3. СНиП 12-04-2002. Безопасность труда в строительстве. Часть 2. Строительное производство. – М., - 57 с.
4. ЕНиР. Сборник Е1. Внутрипостроечные транспортные работы / Госстрой СССР.- М.: Прейскурантиздат, 1987. – 40 с.
5. ЕНиР. Сборник Е3. Каменные работы / Госстрой СССР. - М.: Прейскурантиздат, 1987. – 48 с.
6. ЕНиР. Сборник Е4. Монтаж сборных и устройство монолитных железобетонных конструкций. Вып.1. Здания и промышленные сооружения / Госстрой СССР. - М.: Стройиздат, 1987. – 64 с.
7. Общесоюзный каталог типовых конструкций и изделий. Сборник 3.01.ЖГ - 1.85: В 2 т. Конструкции и изделия кирпичных и крупноблочных жилых и общественных зданий. / Госстрой СССР. - Минск, 1986.
8. Проектирование монтажных работ с применением ЭВМ: Учебное пособие / А. Д. Куликов и др. - ИХТИ Иваново, 1989. – 88 с.
9. Стреловые самоходные краны : Справочник / О. Н. Красавина и др. - Иваново, 1996. – 160 с.
10. Схемы строповки и складирования строительных конструкций: Методические указания к выполнению курсового и дипломного проектирования для студ. спец. 290300 и 290800 / Иван. инж.-строит. ин-т; Сост.: В.Я.Кондрашов, В.В.Селезнев. – Иваново, 1989. – 34 с.
11. Технология строительного производства: Справочник / Под ред. С. Я. Луцкого, С. С. Атаева. - М. : Высш. шк., 1991.
12. Технология строительного производства: Учеб. для вузов / Н. А. Смирнов, М. А. Вебер, Л. Д. Акимова и др. – Л. : Стройиздат, 1976. – 528 с.
13. Технология строительного производства / Под ред. Г. М. Бадьина, А. В. Мещанинова. – Л.: Стройиздат, 1987. – 606 с.
14. Технология возведения зданий из кирпича: Методические указания к выполнению курсового проекта для студентов специальности 290300 «Промышленное и гражданское строительство»/ Иван. гос. архит.-строит. акад.; Сост. М.В.Неустроева, Иваново, 2003. - 48 с.
Приложение 1
Состав расчетно-пояснительной записки:
1. Задание на выполнение курсовой работы.
2. Исходные материалы для проектирования.
3. Спецификация сборных элементов.
4. Ведомость объемов работ.
5. Калькуляция трудовых затрат и заработной платы.
6. Выбор строповочных и монтажных приспособлений и инвентаря.
7. Выбор монтажных кранов.
8. Технико-экономическое обоснование выбора монтажного крана.
9. Описание технологии выполнения работ.
10. Ведомость материально-технических ресурсов.
11. Указания по технике безопасности.
12. Схема операционного контроля качества.
13. ТЭП.
14. Библиографический список.
Приложение 2
Графическая часть работы должна содержать:
1. Схемы производства работ - план в М 1:100 и разрез в М 1:100.
На плане необходимо указать раскладку плит покрытия, стоянки крана при монтаже плит покрытия с обозначением рабочего и опасного вылетов крюка, места складирования материалов и конструкций, основных осей и размеров.
На разрезе должна быть показана установка наиболее характерной плиты покрытия монтажным краном с обозначением его грузовысотных параметров (высоты подъема крюка, рабочего вылета крюка и грузоподъемности на данном вылете), а также основных осей и размеров.
2. Схемы строповки и складирования основных используемых в проекте конструкций и материалов.
3. Технико-экономические показатели, достигнутые в проекте.
Приложение 3
Панели перекрытий
железобетонные многопустотные

| Рис. 1
|
Рис. 2
|
| Марка
|
Рис.
|
Длина L,
мм
|
Расход
бетона, м3
|
Масса,
кг
|
| ПК 24.18-8т
|
1
|
2380
|
0.51
|
1285
|
| ПК 27.18-8т
|
1
|
2680
|
0.58
|
1440
|
| ПК 30.18-8т
|
1
|
2980
|
0.64
|
1600
|
| ПК 36.18-8т
|
1
|
3580
|
0.77
|
1920
|
| ПК 42.18-8т
|
1
|
4180
|
0.89
|
2240
|
| ПК 48.18-8АтVт
|
1
|
4780
|
1.02
|
2550
|
| ПК 51.18-8АтVт
|
1
|
5080
|
1.08
|
2700
|
| ПК 54.18-8АтVт
|
1
|
5380
|
1.15
|
2875
|
| ПК 57.18-8АтVт
|
1
|
5680
|
1.21
|
3025
|
| ПК 60.18-8АтVт
|
1
|
5980
|
1.27
|
3175
|
| ПК 63.18-8АтVт
|
1
|
6280
|
1.34
|
3350
|
| ПК 24.15-8т
|
2
|
2380
|
0.46
|
1145
|
| ПК 27.15-8т
|
2
|
2680
|
0.52
|
1290
|
| ПК 30.15-8т
|
2
|
2980
|
0.57
|
1425
|
| ПК 36.15-8т
|
2
|
3580
|
0.68
|
1700
|
| ПК 42.15-8т
|
2
|
4180
|
0.79
|
1970
|
| ПК 48.15-8АтVт
|
2
|
4780
|
0.90
|
2250
|
| ПК 51.15-8АтVт
|
2
|
5080
|
0.96
|
2400
|
| ПК 54.15-8АтVт
|
2
|
5380
|
1.01
|
2525
|
| ПК 57.15-8АтVт
|
2
|
5680
|
1.07
|
2675
|
| ПК 60.15-8АтVт
|
2
|
5980
|
1.12
|
2800
|
| ПК 63.15-8АтVт
|
2
|
6280
|
1.18
|
2950
|
| ПК 72.15-8АтVт
|
2
|
7180
|
1.34
|
3350
|
Приложение 3 (продолжение)
Панели перекрытий
железобетонные многопустотные

| Рис. 3
|
Рис. 4
|
| Марка
|
Рис.
|
Длина L,
мм
|
Расход
бетона, м3
|
Масса,
кг
|
| ПК 24.12-8т
|
3
|
2380
|
0.35
|
867
|
| ПК 27.12-8т
|
3
|
2680
|
0.39
|
970
|
| ПК 30.12-8т
|
3
|
2980
|
0.43
|
1080
|
| ПК 36.12-8т
|
3
|
3580
|
0.51
|
1280
|
| ПК 42.12-8т
|
3
|
4180
|
0.60
|
1490
|
| ПК 48.12-8АтVт
|
3
|
4780
|
0.68
|
1700
|
| ПК 51.12-8АтVт
|
3
|
5080
|
0.72
|
1800
|
| ПК 54.12-8АтVт
|
3
|
5380
|
0.76
|
1900
|
| ПК 57.12-8АтVт
|
3
|
5680
|
0.80
|
2000
|
| ПК 60.12-8АтVт
|
3
|
5980
|
0.84
|
2100
|
| ПК 63.12-8АтVт
|
3
|
6280
|
0.88
|
2200
|
| ПК 72.12-8АтVт
|
3
|
7180
|
1.01
|
2530
|
| ПК 24.10-8т
|
4
|
2380
|
0.29
|
712
|
| ПК 27.10-8т
|
4
|
2680
|
0.32
|
795
|
| ПК 30.10-8т
|
4
|
2980
|
0.35
|
882
|
| ПК 36.10-8т
|
4
|
3580
|
0.42
|
1055
|
| ПК 42.10-8т
|
4
|
4180
|
0.49
|
1230
|
| ПК 48.10-8АтVт
|
4
|
4780
|
0.56
|
1400
|
| ПК 51.10-8АтVт
|
4
|
5080
|
0.59
|
1475
|
| ПК 54.10-8АтVт
|
4
|
5380
|
0.63
|
1575
|
| ПК 57.10-8АтVт
|
4
|
5680
|
0.66
|
1650
|
| ПК 60.10-8АтVт
|
4
|
5980
|
0.69
|
1725
|
| ПК 63.10-8АтVт
|
4
|
6280
|
0.73
|
1825
|
Приложение 4
Панели перекрытий
железобетонные многопустотные

| Марка
|
Размеры, мм
|
Расход
бетона, м3
|
Масса,
кг
|
| L
|
B
|
| ПК 90.10-4,5АтVт
|
8980
|
990
|
1.05
|
2620
|
| ПК 90.10-6АтVт
|
| ПК 90.10-8АтVт
|
| ПК 90.12-4,5АтVт
|
8980
|
1190
|
1.27
|
3170
|
| ПК 90.12-6АтVт
|
| ПК 90.12-8АтVт
|
| ПК 90.15-4,5АтVт
|
8980
|
1490
|
1.68
|
4190
|
| ПК 90.15-6АтVт
|
| ПК 90.15-8АтVт
|
| ПК 120.10-4,5АтVт
|
11980
|
990
|
1.96
|
4900
|
| ПК 120.10-6АтVт
|
| ПК 120.10-8АтVт
|
| ПК 120.15-4,5АтVт
|
11980
|
1490
|
2.99
|
7480
|
| ПК 120.15-6АтVт
|
| ПК 120.15-8АтVт
|
Приложение 5
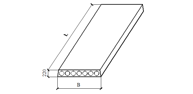
Плиты рядовые железобетонные
многопустотные предварительно напряженные
стендового безопалубочного формования

| Марка
|
Размеры, мм
|
Расход
бетона, м3
|
Масса,
кг
|
| L
|
B
|
| 1П 33.6-12 К7(6)Т
|
3280
|
590
|
0.26
|
640
|
| 1П 33.9-17 К7(6)Т
|
3280
|
891
|
0.39
|
960
|
| 1П 33.12-12 К7(6)Т
|
3280
|
1192
|
0.51
|
1260
|
| 1П 33.15-15 К7(6)Т
|
3280
|
1493
|
0.64
|
1580
|
| 1П 39.6-7 К7(6)Т
|
3880
|
590
|
0.31
|
760
|
| 1П 39.9-11 К7(6)Т
|
3880
|
891
|
0.46
|
1130
|
| 1П 39.12-7,5 К7(6)Т
|
3880
|
1192
|
0.61
|
1490
|
| 1П 39.15-9,5 К7(6)Т
|
3880
|
1493
|
0.76
|
1870
|
| 1П 45.6-12,5 К7(6)Т
|
4480
|
590
|
0.35
|
870
|
| 1П 45.9-12,5 К7(6)Т
|
4480
|
891
|
0.53
|
1300
|
| 1П 45.12-12,5 К7(6)Т
|
4480
|
1192
|
0.7
|
1720
|
| 1П 45.15-12,5 К7(6)Т
|
4480
|
1493
|
0.88
|
2160
|
| 1П 66.6-5,5 К7(6)Т
|
6580
|
590
|
0.52
|
1280
|
| 1П 66.9-5,5 К7(6)Т
|
6580
|
891
|
0.78
|
1920
|
| 1ПК 66.12-5 К7(6)Т
|
6580
|
1192
|
1.03
|
2530
|
| 1П 66.15-5 К7(6)Т
|
6580
|
1493
|
1.29
|
3180
|
| 1П 69.6-4,5 К7(6)Т
|
6880
|
590
|
0.54
|
1340
|
| 1П 69.9-4,5 К7(6)Т
|
6880
|
891
|
0.81
|
2000
|
| 1П 69.12-4,5 К7(6)Т
|
6880
|
1192
|
1.08
|
2640
|
| 1П 69.15-5 К7(6)Т
|
6880
|
1493
|
1.35
|
3320
|
Приложение 6
Марши лестничные железобетонные плоские
для жилых зданий с высотой этажа 2.8 м

| Марка
|
Размеры, мм
|
Расход
бетона, м3
|
Масса,
кг
|
| L
|
B
|
H
|
| 1ЛМ 27.11.14-4
|
2720
|
1050
|
1400
|
0.531
|
1330
|
| 1ЛМ 27.12.14-4
|
2720
|
1200
|
1400
|
0.607
|
1520
|
Приложение 7
Площадки лестничные железобетонные
к плоским маршам
для жилых зданий с высотой этажа 2.8 м

| Рис. 1. Площадки между-
этажные и этажные
|
Рис. 2. Площадки верхние
|
| Марка
|
Рис.
|
Размеры, мм
|
Площадь,
м2
|
Расход
бетона, м3
|
Масса,
кг
|
| L
|
B
|
| 2ЛП 22.12-4-к
|
1
|
2200
|
1300
|
2.86
|
0.360
|
1035
|
| 2ЛП 22.15-4-к
|
1
|
2200
|
1600
|
3.52
|
0.413
|
1200
|
| 2ЛП 22.18-4-к
|
1
|
2200
|
1900
|
4.18
|
0.467
|
1370
|
| 2ЛП 22.12в-4-к
|
2
|
2200
|
1300
|
2.86
|
0.367
|
1060
|
| 2ЛП 22.15в-4-к
|
2
|
2200
|
1600
|
3.52
|
0.420
|
1220
|
| 2ЛП 22.18в-4-к
|
2
|
2200
|
1900
|
4.18
|
0.474
|
1390
|
| 2ЛП 25.12-4-к
|
1
|
2500
|
1300
|
3.25
|
0.402
|
1160
|
| 2ЛП 25.15-4-к
|
1
|
2500
|
1600
|
4.00
|
0.462
|
1345
|
| 2ЛП 25.18-4-к
|
1
|
2500
|
1900
|
4.75
|
0.521
|
1530
|
| 2ЛП 25.12в-4-к
|
2
|
2500
|
1300
|
3.25
|
0.410
|
1185
|
| 2ЛП 25.15в-4-к
|
2
|
2500
|
1600
|
4.00
|
0.470
|
1370
|
| 2ЛП 25.18в-4-к
|
2
|
2500
|
1900
|
4.75
|
0.529
|
1560
|
Приложение 8
Лестничные марши для общественных зданий
с высотой этажа 3.3, 3.6, 4.2 м

| Марка
|
Размеры, мм
|
Расход
бетона, м3
|
Масса,
кг
|
| L
|
B
|
| 2ЛМФ 39.12.17-5
|
3913
|
1200
|
0.517
|
1290
|
| 2ЛМФ 39.14.17-5
|
3913
|
1350
|
0.566
|
1420
|
| 2ЛМФ 39.15.17-5
|
3913
|
1500
|
0.615
|
1540
|
| 2ЛМФ 42.12.18-5
|
4249
|
1200
|
0.559
|
1400
|
| 2ЛМФ 42.14.18-5
|
4249
|
1350
|
0.612
|
1530
|
| 2ЛМФ 42.15.18-5
|
4249
|
1500
|
0.665
|
1660
|
| 2ЛМФ 49.14.21-5
|
4946
|
1350
|
0.767
|
1920
|
| 2ЛМФ 49.15.21-5
|
4946
|
1500
|
0.830
|
2080
|
| 2ЛМФ 49.17.21-5
|
4946
|
1650
|
0.893
|
2230
|
| 2ЛМФ 39.12.17-5-1
|
3913
|
1200
|
0.517
|
1290
|
| 2ЛМФ 39.14.17-5-1
|
3913
|
1350
|
0.566
|
1420
|
| 2ЛМФ 39.15.17-5-1
|
3913
|
1500
|
0.615
|
1540
|
| 2ЛМФ 42.12.18-5-1
|
4249
|
1200
|
0.559
|
1400
|
| 2ЛМФ 42.14.18-5-1
|
4249
|
1350
|
0.612
|
1530
|
| 2ЛМФ 42.15.18-5-1
|
4249
|
1500
|
0.665
|
1660
|
| 2ЛМФ 49.14.21-5-1
|
4946
|
1350
|
0.767
|
1920
|
| 2ЛМФ 49.15.21-5-1
|
4946
|
1500
|
0.830
|
2080
|
| 2ЛМФ 49.17.21-5-1
|
4946
|
1650
|
0.893
|
2230
|
Приложение 9
Лестничные площадки для общественных зданий

| Марка
|
Рис.
|
Размеры, мм
|
Расход
бетона, м3
|
Масса,
кг
|
| L
|
B
|
H
|
| ЛПФ 25.10-5
|
1
|
2500
|
990
|
350
|
0.358
|
900
|
| ЛПФ 25.11-5
|
1
|
2500
|
1140
|
350
|
0.394
|
990
|
| ЛПФ 25.13-5
|
1
|
2500
|
1290
|
350
|
0.430
|
1080
|
| ЛПФ 28.11-5
|
1
|
2800
|
1140
|
350
|
0.438
|
1100
|
| ЛПФ 28.13-5
|
1
|
2800
|
1290
|
350
|
0.478
|
1200
|
| ЛПФ 31.13-5
|
1
|
3100
|
1290
|
350
|
0.526
|
1320
|
| ЛПФ 28.11-5-1
|
1
|
2800
|
1140
|
420
|
0.460
|
1150
|
| ЛПФ 31.13-5-1
|
1
|
3100
|
1290
|
420
|
0.552
|
1380
|
| ЛПФ 34.13-5-1
|
1
|
3400
|
1290
|
420
|
0.601
|
1500
|
| ЛПФ 25.10в-5
|
2
|
2500
|
990
|
350
|
0.416
|
1040
|
| ЛПФ 25.11в-5
|
2
|
2500
|
1140
|
350
|
0.452
|
1130
|
| ЛПФ 25.13в-5
|
2
|
2500
|
1290
|
350
|
0.488
|
1220
|
| ЛПФ 28.11в-5
|
2
|
2800
|
1140
|
350
|
0.502
|
1260
|
| ЛПФ 28.13в-5
|
2
|
2800
|
1290
|
350
|
0.544
|
1360
|
| ЛПФ 31.13в-5
|
2
|
3100
|
1290
|
350
|
0.597
|
1490
|
| ЛПФ 28.11в-5-1
|
2
|
2800
|
1140
|
420
|
0.532
|
1330
|
| ЛПФ 31.13в-5-1
|
2
|
3100
|
1290
|
420
|
0.630
|
1580
|
| ЛПФ 34.13в-5-1
|
2
|
3400
|
1290
|
420
|
0.688
|
1720
|
Приложение 10
Перемычки железобетонные
для зданий с кирпичными стенами

| Рис. 1
|
Рис. 2
|
| Марка
|
Рис.
|
Размеры, мм
|
Расход
бетона, м3
|
Масса,
кг
|
| L
|
B
|
H
|
h
|
| 1ПБ10-1
|
1
|
1030
|
120
|
65
|
─
|
0.008
|
20
|
| 1ПБ13-1
|
1290
|
0.010
|
25
|
| 1ПБ16-1
|
1550
|
0.012
|
30
|
| 2ПБ10-1
|
1030
|
140
|
─
|
0.017
|
43
|
| 2ПБ13-1
|
1290
|
0.022
|
54
|
| 2ПБ16-2
|
1550
|
0.026
|
65
|
| 2ПБ17-2
|
1680
|
0.028
|
71
|
| 2ПБ19-3
|
1940
|
0.033
|
81
|
| 2ПБ22-3
|
2200
|
0.037
|
92
|
| 2ПБ25-3
|
2460
|
0.041
|
103
|
| 2ПБ26-4
|
2590
|
0.044
|
109
|
| 2ПБ29-4
|
2850
|
0.048
|
120
|
| 2ПБ30-4
|
2980
|
0.050
|
125
|
| 3ПБ18-8
|
1810
|
220
|
─
|
0.048
|
119
|
| 3ПБ21-8
|
2070
|
0.055
|
137
|
| 3ПБ25-8
|
2460
|
0.065
|
162
|
| 3ПБ27-8
|
2720
|
0.072
|
180
|
| 3ПБ30-8
|
2980
|
0.079
|
197
|
| 3ПБ34-4
|
3370
|
0.089
|
222
|
| 3ПБ36-4
|
3630
|
0.096
|
240
|
| 3ПБ39-8
|
3890
|
0.103
|
257
|
| 3ПБ13-37
|
1290
|
0.034
|
85
|
| 3ПБ16-37
|
1550
|
0.041
|
102
|
| 3ПБ18-37
|
1810
|
0.048
|
119
|
Приложение 10 (продолжение)
| Марка
|
Рис.
|
Размеры, мм
|
Расход
бетона, м3
|
Масса,
кг
|
| L
|
B
|
H
|
h
|
| 4ПБ30-4
|
1
|
2980
|
120
|
290
|
─
|
0.104
|
259
|
| 4ПБ44-8
|
4410
|
0.154
|
384
|
| 4ПБ48-8
|
4800
|
0.167
|
418
|
| 4ПБ60-8
|
5960
|
0.207
|
519
|
| 5ПБ18-27
|
1810
|
250
|
220
|
─
|
0.100
|
250
|
| 5ПБ21-27
|
2070
|
0.114
|
285
|
| 5ПБ25-37
|
2460
|
0.135
|
338
|
| 5ПБ25-27
|
2460
|
0.135
|
338
|
| 5ПБ27-37
|
2720
|
0.150
|
375
|
| 5ПБ27-27
|
2720
|
0.150
|
375
|
| 5ПБ30-37
|
2980
|
0.164
|
410
|
| 5ПБ30-27
|
2980
|
0.164
|
410
|
| 5ПБ31-27
|
3110
|
0.171
|
428
|
| 5ПБ34-20
|
3370
|
0.185
|
463
|
| 5ПБ36-20
|
3630
|
0.200
|
500
|
| 5ПГ 16-40
|
2
|
1550
|
380
|
290
|
140
|
0.143
|
357
|
| 5ПГ 26-40
|
2590
|
380
|
290
|
140
|
0.238
|
596
|
| 4ПГ 30-40
|
2980
|
380
|
290
|
70
|
0.301
|
753
|
| 8ПГ 60-40
|
5960
|
510
|
440
|
220
|
1.167
|
2917
|
| 2ПГ 39-31
|
3890
|
250
|
440
|
220
|
0.317
|
792
|
| 2ПГ 42-31
|
4150
|
250
|
440
|
220
|
0.338
|
845
|
| 2ПГ 44-31
|
4410
|
250
|
440
|
220
|
0.359
|
897
|
| 2ПГ 48-31
|
4800
|
250
|
440
|
220
|
0.391
|
977
|
| 1ПГ 44-8
|
4410
|
250
|
290
|
220
|
0.194
|
484
|
| 1ПГ 48-8
|
4800
|
250
|
290
|
220
|
0.211
|
527
|
| 6ПГ 60-31
|
5960
|
380
|
440
|
220
|
0.826
|
2065
|
| 6ПГ 44-40
|
4410
|
380
|
440
|
220
|
0.611
|
1528
|
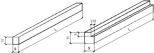
Приложение 11
Железобетонные прогоны

| Марка
|
Размеры, мм
|
Расход
бетона, м3
|
Масса,
кг
|
| L
|
B
|
H
|
| П30-60
|
5980
|
420
|
440
|
0.913
|
2280
|
| П40-60
|
5980
|
420
|
440
|
0.913
|
2280
|
| П30-63
|
6280
|
420
|
440
|
0.974
|
2400
|
| П40-63
|
6280
|
420
|
440
|
0.974
|
2400
|
| П52-60
|
5980
|
540
|
520
|
1.321
|
3300
|
| П72-60
|
5980
|
540
|
520
|
1.321
|
3300
|
| П52-63
|
6280
|
540
|
520
|
1.387
|
3470
|
| П72-63
|
6280
|
540
|
520
|
1.387
|
3470
|
Приложение 12
Железобетонные прогоны, опорные плиты

| Рис. 1. Железобетонные прогоны
|
Рис. 2. Опорные плиты
|
| Марка
|
Рис.
|
Размеры, мм
|
Расход
бетона, м3
|
Масса,
кг
|
| L
|
B
|
H
|
| Железобетонные прогоны
|
| ПРГ 28.1.3-4т
|
1
|
2780
|
120
|
300
|
0.10
|
250
|
| ПРГ32.1.4-4т
|
3180
|
400
|
0.15
|
380
|
| ПРГ 36.1.4-4т
|
3580
|
400
|
0.17
|
430
|
| ПРГ 60.2.5-4т
|
5980
|
200
|
500
|
0.60
|
1500
|
| ПРГ 60.2.5-4АтVт
|
| Опорные плиты
|
| ОП 4.4-т
|
2
|
380
|
380
|
140
|
0.020
|
50
|
| ОП 5.2-т
|
510
|
250
|
140
|
0.017
|
50
|
| ОП 5.4-т
|
510
|
380
|
140
|
0.027
|
70
|
| ОП 6.2-т
|
640
|
250
|
220
|
0.035
|
90
|
| ОП 6.4-т
|
640
|
380
|
220
|
0.050
|
140
|
Приложение 13
Схемы строповки и складирования материалов
а) строповка захватом Б-8 б)схема строповки поддона с
кирпичом


в) схема строповки ящика г) схема складирования
с раствором керамического кирпича


Приложение 14
Средства подмащивания
а) подмости пакетные универ-
сальные самоустанавливаю-
щиеся
в) подлески

б) подмости телескопические

Приложение 15
Ручной инструмент каменщика
а) скоба причальная б) порядовка в) кельма типа КБ
универсальная
г) молоток-кирочка д) расшивка е) расшивка стальная
МКИ стальная
прямоугольная

ж) расшивка стальная з) рулетка и) отвес стальной
металлическая строительный
измерительная
Приложение 16
Инструмент для контроля качества
кирпичной кладки
 
а) уровень гибкий б) угольник металлический
( водяной )
 
в) рейка контрольная г) правило дюралюминиевое

д) шаблон для разметки проемов
Приложение 17
Инструмент и приспособления для звена каменщиков
при выполнении кладки стен из кирпича
| Наименование
|
Количество для звена
|
| «двойка»
|
«тройка»
|
| Кельма типа КБ
|
2
|
2
|
| Молоток-кирочка МКИ
|
1
|
2
|
| Лопата растворная ЛР (совковая)
|
1
|
2
|
| Расшивка РВ
|
2
|
2
|
| Инвентарная металлическая порядовка
|
2
|
2
|
| Промежуточная порядовка
|
2
|
2
|
| Шнур причальный
|
40м
|
40м
|
| Скоба причальная
|
2
|
2
|
| Маяк причальный
|
1
|
1
|
| Угольник деревянный
|
1
|
1
|
| Метр складной металлический
|
1
|
1
|
| Рулетка измерительная
|
1
|
1
|
| Отвес стальной строительный
|
1
|
1
|
| Уровень строительный типа УС-300
|
1
|
1
|
| Правило дюралюминиевое
|
1
|
1
|
| Шаблон для разметки оконных проемов
|
1
|
1
|
| Шаблон для разметки и проверки углов стен
|
1
|
1
|
Приложение 18
Технические характеристики кранов
| № п/п
|
Марка крана
|
Средняя cкорость
подъема (опуск.),
м/мин
|
Посадочная скорость (минималь-
ная), м/мин
|
Средняя скорость
вращения, об/мин
|
Скорость при
изменении вылета
стрелы, м/мин
|
Скорость хода,
м/мин
|
| 1
|
2
|
3
|
4
|
5
|
6
|
7
|
| Пневмоколесные краны
|
| 1
|
КС-4361А
|
24,0
|
1,2
|
1,4
|
40,0
|
50,0
|
| 2
|
КС-4362
|
6,0
|
3,6
|
0,8
|
40,0
|
33,0
|
| 3
|
КС-5363
|
12,0
|
0,6
|
0,65
|
30,0
|
28,3
|
| 4
|
МКТ-40
|
15,0
|
1,44
|
0,37
|
20,0
|
41,5
|
| Гусеничные краны
|
| 5
|
МКГ-10
|
10,0
|
3,0
|
1,0
|
25,0
|
46,6
|
| 6
|
МКГ-16М
|
5,77
|
1,75
|
0,83
|
25,0
|
20,0
|
| 7
|
МКГ-25
|
3,6
|
0,6
|
0,65
|
25,0
|
14,6
|
| 8
|
РДК-250.1
|
6,0
|
1,2
|
0,44
|
25,0
|
19,0
|
Приложение 19
Стоимостные показатели кранов
| № п/п
|
Марка крана
|
Инвентарная стои-мость, руб.
|
Единовременные
затраты, руб.
|
Стоимость
маш-смены, руб.
|
Усреднен. продол-
жительность мон-
тажа, демонтажа
крана, маш-см.
|
Количество
рабочих смен в
году
|
| 1
|
2
|
3
|
4
|
5
|
6
|
7
|
| Пневмоколесные краны
|
| 1
|
КС-4361А
|
27864
|
37
|
43,43
|
1,5
|
420
|
| 2
|
КС-4362
|
27004
|
37
|
44,57
|
1,5
|
| 3
|
КС-5363
|
40700
|
58
|
51,63
|
3,0
|
| 4
|
МКТ-40
|
61000
|
30,5
|
54,3
|
2,0
|
| Гусеничные краны
|
| 5
|
МКГ-10
|
22290
|
45,3
|
27,75
|
1,0
|
404
|
| 6
|
МКГ-16М
|
23500
|
74,0
|
30,90
|
2,0
|
| 7
|
МКГ-25
|
36600
|
87,8
|
51,80
|
2,2
|
| 8
|
РДК-250.1
|
77400
|
87,8
|
50,0
|
2,2
|
Приложение 20
§ Е1-5. Погрузка или выгрузка материалов (грузов) стреловыми самоходными кранами грузоподъемностью до 25 т
Указания по применению норм
Нормами предусмотрена погрузка и выгрузка автомобильными стреловыми кранами и стреловыми кранами на пневмоколесном и гусеничном ходу строительных материалов и грузов (конструкции, детали и т.п.) в автомобили, прицепы, полуприцепы и трайлеры. Строительные материалы (грузы) могут быть как штучными, так и в пакетах или контейнерах.
Состав работы
1. Перемещение крана и установка его в рабочее положение. 2. Зацепка груза. 3. Погрузка или выгрузка груза с подъемом или опусканием до 4м и поворотом стрелы крана. 4. Укладка подкладок под конструкции и детали. 5. Отцепка груза. 6. Крепление или раскрепление груза при необходимости. 7. Подача сигналов машинисту крана.
Таблица 1
| Состав
звена
|
Грузоподъемность стреловых кранов, т
|
| автомобильных
|
гусеничных, на
пневмоколесном
ходу
|
| до 6,3 т
исключи-
тельно
|
от 6,3 т
до 10 т
исключительно
|
10 т
и бо-
лее
|
до 5
|
до 10
|
св.
10
|
| Машинист 6 разр.
|
─
|
─
|
1
|
─
|
─
|
1
|
| То же 5 "
|
─
|
1
|
─
|
─
|
1
|
─
|
| " 4 "
|
1
|
─
|
─
|
1
|
─
|
─
|
| Такелажники на монтаже 2 разр.
|
2
|
2
|
2
|
2
|
2
|
2
|
Таблица 2
Нормы времени и расценки на 100 т
| Вид материалов
(грузов)
|
Общая масса
поднимаемого
груза, т, до
|
Машинист
|
Такелажники
|
| Н.вр.
|
Расц.
|
Н.вр.
|
Расц.
|
| Разные грузы (материалы) штучные, в пакетах, контейнерах или на поддонах
|
0,5
|
11
|
11-66
|
22
|
14-09
|
1
|
| 1
|
6,1
|
6-47
|
12
|
7-68
|
2
|
| 1,5
|
4,4
|
4-66
|
8,8
|
5-63
|
3
|
| 2
|
3,6
|
3-82
|
7,2
|
4-61
|
4
|
| 3
|
2,7
|
2-86
|
5,4
|
3-46
|
5
|
| 4
|
2,3
|
2-44
|
4,6
|
2-94
|
6
|
| 5
|
2,1
|
2-23
|
4,2
|
2-69
|
7
|
| 6
|
1,9
|
2-01
|
3,8
|
2-43
|
8
|
| 7
|
1,8
|
1-91
|
3,6
|
2-30
|
9
|
| 8
|
1,7
|
1-80
|
3,4
|
2-18
|
10
|
| 10
|
1,6
|
1-70
|
3,2
|
2-05
|
11
|
| 13
|
1,5
|
1-59
|
3
|
1-92
|
12
|
| 18
|
1,4
|
1-48
|
2,8
|
1-79
|
13
|
| 20
|
1,3
|
1-38
|
2,6
|
1-66
|
14
|
| а
|
б
|
№
|
Примечания:
1. При погрузке и разгрузке изделий, транспортируемых панелевозами в кассетах, Н.вр. и Расц. умножать на 1,2 (ПР-1).
2. Расценками для машиниста в таблице 2 предусмотрена грузоподъемность автомобильных кранов 10 т и более, кранов на пневмоколесном и гусеничном ходу свыше 10 т. При грузоподъемности автомобильных кранов до 6,3 т исключительно и кранов на пневмоколесном и гусеничном ходу до 5 т расценки умножать на 0,75 (ПР-2). При грузоподъемности автомобильных кранов от 6,3 до 10 т исключительно и кранов на пневмоколесном и гусеничном ходу грузоподъемностью до 10 т расценки умножать на 0,86 (ПР-3).
Приложение 21
§ Е1-6. Подача материалов (грузов) стреловыми самоходными кранами грузоподъемностью до 25 т
Указания по применению норм
Нормами предусмотрена подача материалов на поддонах, в ящиках, пакетах или контейнерах к месту производства работ автомобильными стреловыми кранами и стреловыми кранами на пневмоколесном и гусеничном ходу.
Состав работы
1. Перемещение крана и установка его в рабочее положение. 2. Зацепка груза. 3. Подъем или опускание груза и поворот стрелы крана. 4. Установка груза на рабочее место. 5. Отцепка груза или тары. 6. Сбор и прицепка порожней тары. 7. Возврат порожней тары. 8. Смена траверс, стропов или тары. 9. Подача сигналов машинисту крана.
Таблица 1
| Состав
звена
|
Грузоподъемность стреловых кранов, т
|
| автомобильных
|
гусеничных, на
пневмоколесном
ходу
|
| до 6,3 т
исключи-
тельно
|
от 6,3 т
до 10 т
исключительно
|
10 т
и бо-
лее
|
до 5
|
до 10
|
св.
10
|
| Машинист 6 разр.
|
─
|
─
|
1
|
─
|
─
|
1
|
| То же 5 "
|
─
|
1
|
─
|
─
|
1
|
─
|
| " 4 "
|
1
|
─
|
─
|
1
|
─
|
─
|
| Такелажники на монтаже 2 разр.
|
2
|
2
|
2
|
2
|
2
|
2
|
Таблица 2
Нормы времени и расценки на измерители, указанные в таблице
| Вид материала
(груза)
|
Изме-ритель
|
При высоте подъема
до 3 м
|
Добавлять на каждый
следующий 1 м
|
| машинист
|
такелажники
|
машинист
|
такелажники
|
| Кирпич глиняный обыкновенный и стеновые керамические камни
на поддонах, шт., до
|
200
|
1000 шт.
|
0,33
0-35
|
0,66
0-42,2
|
0,058
0-06,1
|
0,116
0-07,4
|
1
|
| 250
|
То же
|
0,27
0-28,6
|
0,54
0-34,6
|
0,049
0-05,2
|
0,098
0-06,3
|
2
|
| 300
|
"
|
0,21
0-22,3
|
0,42
0-26,9
|
0,039
0-04,1
|
0,078
0-05
|
3
|
| 400
|
"
|
0,18
0-19,1
|
0,36
0-23
|
0,029
0-03,1
|
0,058
0-03,7
|
4
|
| 450
|
"
|
0,16
0-17
|
0,32
0-20,5
|
0,024
0-02,5
|
0,048
0-03,1
|
5
|
| 500
|
"
|
0,14
0-14,8
|
0,28
0-17,9
|
0,019
0-02
|
0,038
0-02,4
|
6
|
| Раствор в ящиках и бункерах емкостью, м3
, до
|
0,15
|
1 м3
|
0,7
0-74,2
|
1,4
0-89,6
|
0,067
0-07,1
|
0,134
0-08,6
|
7
|
| 0,2
|
То же
|
0,53
0-56,2
|
1,1
0-70,4
|
0,048
0-05,1
|
0,096
0-06,1
|
8
|
| 0,25
|
"
|
0,42
0-44,5
|
0,84
0-53,8
|
0,041
0-04,3
|
0,082
0-05,2
|
9
|
| 0,3
|
"
|
0,36
0-38,2
|
0,72
0-46,1
|
0,035
0-03,7
|
0,07
0-04,5
|
10
|
| 0,35
|
"
|
0,3
0-31,8
|
0,6
0-38,4
|
0,029
0-03,1
|
0,058
0-03,7
|
11
|
| 0,4
|
"
|
0,27
0-28,6
|
0,54
0-34,6
|
0,025
0-02,7
|
0,05
0-03,2
|
12
|
| 0,45
|
1 м3
|
0,23
0-24,4
|
0,46
0-29,4
|
0,021
0-02,2
|
0,042
0-02,7
|
13
|
| 0,5
|
"
|
0,21
0-22,3
|
0,42
0-26,9
|
0,019
0-02
|
0,038
0-02,4
|
14
|
| 0,6
|
"
|
0,175
0-18,6
|
0,35
0-22,4
|
0,017
0-01,8
|
0,034
0-02,2
|
15
|
| 0,75
|
"
|
0,145
0-15,4
|
0,29
0-18,6
|
0,013
0-01,4
|
0,026
0-01,7
|
16
|
| Разные материалы (грузы) штучные или в пакетах при общей массе поднимаемого груза, т, до
|
0,5
|
100 т
|
11,5
12-19
|
23
14-72
|
1,2
1-27
|
2,4
1-54
|
17
|
| 1
|
То же
|
8,5
9-01
|
17
10-88
|
0,88
0-93,3
|
1,8
1-15
|
18
|
| 1,5
|
"
|
5,4
5-72
|
11
7-04
|
0,63
0-66,8
|
1,3
0-83,2
|
19
|
| 2
|
"
|
3,2
3-39
|
6,4
4-10
|
0,33
0-35
|
0,66
0-42,2
|
20
|
| 2,5
|
"
|
2,6
2-76
|
5,2
3-33
|
0,26
0-27,6
|
0,52
0-33,3
|
21
|
| 3
|
"
|
2,2
2-33
|
4,4
2-82
|
0,22
0-23,3
|
0,44
0-28,2
|
22
|
Продолжение таблицы 2
| Вид материала
(груза)
|
Изме-ритель
|
При высоте подъема
до 3 м
|
Добавлять на каждый
следующий 1 м
|
| машинист
|
такелажники
|
машинист
|
такелажники
|
| Разные материалы (грузы) штучные или в пакетах при общей массе поднимаемого груза, т, до
|
3,5
|
"
|
1,9
2-01
|
3,8
2-43
|
0,19
0-20,1
|
0,38
0-24,3
|
23
|
| 4
|
"
|
1,6
1-70
|
3,2
2-05
|
0,165
0-17,5
|
0,33
0-21,1
|
24
|
| 4,5
|
"
|
1,5
1-59
|
3
1-92
|
0,145
0-15,4
|
0,29
0-18,6
|
25
|
| 5
|
"
|
1,3
1-38
|
2,6
1-66
|
0,13
0-13,8
|
0,26
0-16,6
|
26
|
| 6
|
"
|
1,1
1-17
|
2,2
1-41
|
0,11
0-11,7
|
0,22
0-14,1
|
27
|
| 7
|
"
|
0,92
0-97,5
|
1,8
1-15
|
0,094
0-10
|
0,188
0-12
|
28
|
| 8
|
"
|
0,81
0-85,9
|
1,6
1-02
|
0,083
0-08,8
|
0,166
0-10,6
|
29
|
| 9
|
"
|
0,72
0-76,3
|
1,4
0-89,6
|
0,073
0-07,7
|
0,146
0-09,3
|
30
|
| 10
|
"
|
0,65
0-68,9
|
1,3
0-83,2
|
0,066
0-07
|
0,132
0-08,4
|
31
|
| 11
|
"
|
0,59
0-62,5
|
1,2
0-76,8
|
0,06
0-06,4
|
0,12
0-07,7
|
32
|
| 12
|
"
|
0,54
0-57,2
|
1,1
0-70,4
|
0,055
0-05,8
|
0,11
0-07
|
33
|
| 13
|
"
|
0,5
0-53
|
1
0-64
|
0,051
0-05,4
|
0,102
0-06,5
|
34
|
| 14
|
"
|
0,46
0-48,8
|
0,92
0-58,9
|
0,047
0-05
|
0,094
0-06
|
35
|
| 15
|
"
|
0,43
0-45,6
|
0,86
0-55
|
0,044
0-04,7
|
0,088
0-05,6
|
36
|
| 16
|
"
|
0,4
0-42,4
|
0,8
0-51,2
|
0,041
0-04,3
|
0,082
0-05,2
|
37
|
| 17
|
"
|
0,38
0-40,3
|
0,76
0-48,6
|
0,039
0-04,1
|
0,078
0-05
|
38
|
| 18
|
"
|
0,36
0-38,2
|
0,72
0-46,1
|
0,037
0-03,9
|
0,074
0-04,7
|
39
|
| 19
|
"
|
0,34
0-36
|
0,68
0-43,5
|
0,035
0-03,7
|
0,07
0-04,5
|
40
|
| 20
|
"
|
0,32
0-33,9
|
0,64
0-41
|
0,033
0-03,5
|
0,066
0-04,2
|
41
|
| а
|
б
|
в
|
г
|
№
|
Примечание.
Расценками для машиниста в таблице 2 предусмотрена грузоподъемность автомобильных кранов от 10 до 20 т, кранов на пневмоколесном и гусеничном ходу свыше 10 до 25 т. При грузоподъемности автомобильных кранов от 20 до 25 т расценки умножать на 1,07 (ПР-1). При грузоподъемности автомобильных кранов до 6,3 т исключительно и кранов на пневмоколесном и гусеничном ходу грузоподъемностью до 5 т расценки умножать на 0,75 (ПР-2). При грузоподъемности автомобильных кранов от 6,3 до 10 т исключительно и кранов на пневмоколесном и гусеничном ходу грузоподъемностью до 10 т расценки умножать на 0,86 (ПР-3).
Приложение 22
§ Е3-3. Кладка стен из кирпича
Указания по качеству работ
Кладка стен не должна иметь отклонений, превышающих допуски, указанные в табл. 1
Таблица 1
| Отклонения
|
Величина допустимых
отклонений, мм
|
| Отклонения:
|
| по размерам (толщине) конструкций в плане
|
15
|
| по отметкам опорных поверхностей
|
-10
|
| по ширине простенков
|
-15
|
| по ширине проемов
|
+15
|
| по смещению вертикальных осей оконных проемов
|
20
|
| по смещению осей конструкций
|
10
|
| Отклонения поверхностей и углов кладки от вертикали:
|
| на один этаж
|
10
|
| на все здание высотой более двух этажей
|
30
|
| Отклонения рядов кладки от горизонтали на 10м длины стены
|
15
|
| Неровности на вертикальной поверхности кладки, обнаруженные при накладывании рейки длиной 2м
|
10
|
Смещение опорных подушек под ригели, фермы и подкрановые балки и другие несущие конструкции в плане от проектного положения в любом направлении не должно превышать10 мм, если иные требования не оговорены проектом. Отклонения в отметках по высоте этажа (в пределах допуска по табл. 1) должны исправляться в последующих этажах.
Толщина горизонтальных швов кирпичной кладки должна быть не менее 10 и не более15 мм. Для вертикальных швов кладки допускаемая толщина швов должна быть в пределах 8-15 мм. Толщина швов армированной кладки должна превышать диаметр арматуры не менее чем на 4 мм.
Таблица 2
Состав звена
| Профессия
и разряд рабочих
|
Сложность стен
|
При
заполнении
стен каркас-
ных зданий
|
| простые
|
средней
сложности
|
сложные
|
| Каменщик 5 разр.
|
─
|
─
|
1
|
─
|
| " 4 "
|
─
|
1
|
─
|
─
|
| " 3 "
|
2
|
1
|
1
|
1
|
А. ПРИ ОБЫЧНОЙ КЛАДКЕ
Состав работы
1. Натягивание причалки. 2. Подача и раскладка кирпича. 3. Перелопачивание, расстилание и разравнивание раствора. 4. Кладка стен с выкладкой всех усложнений кладки, подбором, околкой и отеской кирпича. 5. Заделка балочных гнезд. 6. Расшивка швов (при кладке с расшивкой).
Таблица 3
Нормы времени и расценки на 1 м3
кладки
| Толщина стен в кирпичах
|
Вид кладки
|
Сложность стен
|
| простые
|
средней
сложности
с проемами
|
сложные с
проемами
|
| глухие
|
с
проёмами
|
| 1
|
Под штукатурку
|
3,2
-----
2-24
|
3,7
-----
2-59
|
─
|
─
|
1
|
| С расшивкой
|
4
-----
2-80
|
4,6
-----
3-22
|
─
|
─
|
2
|
| 
|
Под штукатурку
|
2,6
-----
1-82
|
3,2
-----
2-24
|
3,7
-----
2-76
|
4,3
-----
3-46
|
3
|
| С расшивкой
|
3,2
-----
2-24
|
3,7
-----
2-59
|
4,1
-----
3-05
|
5,2
-----
4-19
|
4
|
| 2
|
Под штукатурку
|
2,3
-----
1-61
|
2,8
-----
1-96
|
3,2
-----
2-38
|
3,7
-----
2-98
|
5
|
| С расшивкой
|
2,8
-----
1-96
|
3,2
-----
2-24
|
3,7
-----
2-76
|
4,3
-----
3-46
|
6
|
| 
|
Под штукатурку
|
2,2
-----
1-54
|
2,5
-----
1-75
|
2,9
-----
2-16
|
3,2
-----
2-58
|
7
|
| С расшивкой
|
2,5
-----
1-75
|
2,9
-----
2-03
|
3,2
-----
2-38
|
3,7
-----
2-98
|
8
|
| 3 и
более
|
Под штукатурку
|
1,8
-----
1-26
|
2,2
-----
1-54
|
2,5
-----
1-86
|
3
-----
2-42
|
9
|
| С расшивкой
|
2,2
-----
1-54
|
2,5
-----
1-75
|
3
-----
2-24
|
3,3
-----
2-66
|
10
|
| а
|
б
|
в
|
г
|
№
|
Б. ПРИ КЛАДКЕ С СОВМЕЩЕННЫМИ ВЕРТИКАЛЬНЫМИ ШВАМИ
Состав работы
1. Натягивание причалки. 2. Подача и раскладка кирпича с подбором кирпича для наружной версты и очисткой от загрязнений (при необходимости). 3. Перелопачивание, расстилание и разравнивание раствора. 4. Кладка стен с выкладкой всех усложнений кладки, с подбором, околкой и отеской кирпича. 5. Расшивка швов стен с одной стороны.
Таблица 4
Нормы времени и расценки на 1 м3
кладки
| Толщина стен
в кирпичах
|
Сложность стен
|
| простые
|
средней
сложности
|
сложные
|
| 1
|
6,2
----------
4-34
|
─
|
─
|
1
|
| 
|
5,2
-----------
3-64
|
5,2
-----------
3-87
|
6,6
----------
5-31
|
2
|
| 2
|
4,1
----------
2-87
|
4,8
----------
3-58
|
5,6
----------
4-51
|
3
|
| 
|
3,8
----------
2-66
|
4,3
-----------
3-20
|
4,9
----------
3-94
|
4
|
| 3
|
3,3
----------
2-31
|
3,8
---------
2-83
|
4,4
----------
3-54
|
5
|
| 
|
3,1
----------
2-17
|
3,7
----------
2-76
|
4,1
----------
3-30
|
6
|
| а
|
б
|
в
|
№
|
В. ПРИ ЗАПОЛНЕНИИ СТЕН КАРКАСНЫХ ЗДАНИЙ
Таблица 5
Нормы времени и расценки на 1 м3
заполнения
| Вид кладки
|
Толщина стен в кирпичах
|
| 
|
1
|

|
2
|

|
| Под штукатурку
|
5,4
-----------
3-78
|
3,7
------------
2-59
|
3
-----------
2-10
|
2,5
----------
1-75
|
2,4
---------
1-68
|
1
|
| С расшивкой
|
7,4
----------
5-18
|
4,6
----------
3-22
|
3,7
----------
2-59
|
3,1
----------
2-17
|
2,9
----------
2-03
|
2
|
| а
|
б
|
в
|
г
|
д
|
№
|
Примечания:
1. Кладку стен зданий с проемностью от 40 до 60% нормировать по нормам и расценкам § Е3-3 табл. 3 и 4 с коэффициентом 1,1 (ПР-1).
2. При заполнении каркасных стен с подкосами Н.вр. и Расц. § Е3-3 т. 5 умножать на 1,2 (ПР-2).
Приложение 23
§ Е3-5. Кладка стен зданий облегченных конструкций из кирпича
]
Таблица 1
Состав звена
| Профессия
и разряд рабочих
|
Сложность стен
|
| простые
|
средней сложности
и сложные
|
| Каменщик 5 разр.
|
─
|
1
|
| " 4 "
|
1
|
─
|
| " 3 "
|
2
|
2
|
А. ПРИ КЛАДКЕ КИРПИЧНО-БЕТОННЫХ СТЕН
Состав работы
1. Натягивание причалки. 2. Подача и раскладка кирпича. 3. Перелопачивание, расстилание и разравнивание раствора. 4. Кладка стен с выкладкой всех усложнений кладки, подбором, отеской и околкой кирпича. 5. Заполнение пустот между кирпичными стенами легким бетоном. 6. Заделка балочных гнезд. 7. Расшивка швов (при кладке с расшивкой).
Таблица 2
Нормы времени и расценки на 1 м3
стены
| Толщина
стен, мм
|
Вид кладки
|
Сложность стен
|
| простые
|
средней
сложности
|
сложные
|
| 380
|
Под штукатурку
|
2,6
-----
1-90
|
3,2
-----
2-46
|
3,8
-----
2-93
|
1
|
| С расшивкой
|
3,2
-----
2-34
|
3,7
-----
2-85
|
4,5
-----
3-46
|
2
|
| 510
|
Под штукатурку
|
2,3
-----
1-68
|
2,6
-----
2-00
|
3
-----
2-31
|
3
|
| С расшивкой
|
2,6
-----
1-90
|
2,9
-----
2-23
|
3,6
-----
2-77
|
4
|
| а
|
б
|
в
|
№
|
Б. ПРИ КЛАДКЕ КОЛОДЦЕВЫХ СТЕН
Состав работы
1. Натягивание причалки. 2. Подача и раскладка кирпича. 3. Перелопачивание, расстилание и разравнивание раствора. 4. Кладка стен с выкладкой всех усложнений кладки, подбором, отеской и околкой кирпича. 5. Заполнение колодцевых стен шлаком и легким бетоном с послойным уплотнением и проливкой раствором, а в стенах с узлами жесткости - устройство армированных диафрагм из раствора. 6. Заделка балочных гнезд. 7. Расшивка швов (при кладке с расшивкой).
Таблица 3
Нормы времени и расценки на 1 м3
стены
| Толщина
стен, мм
|
Вид кладки
|
Сложность стен
|
| простые
|
средней
сложности
|
сложные
|
| До 420
|
Под штукатурку
|
3,8
-----
2-77
|
─
|
─
|
1
|
| С расшивкой
|
4,5
-----
3-28
|
─
|
─
|
2
|
| До 580
|
Под штукатурку
|
2,8
-----
2-04
|
3,5
-----
2-70
|
4,1
-----
3-16
|
3
|
| С расшивкой
|
3,5
-----
2-56
|
3,9
-----
3-00
|
4,8
-----
3-70
|
4
|
| Более 580
|
Под штукатурку
|
2,4
-----
1-75
|
2,9
-----
2-23
|
3,6
-----
2-77
|
5
|
| С расшивкой
|
2,9
-----
2-12
|
3,3
-----
2-54
|
4
-----
3-08
|
6
|
| а
|
б
|
в
|
№
|
Примечание.
При кладке колодцевых стен с узлами жесткости Н.вр. и Расц. умножать на 0,9 (ПР-1).
Приложение 24
§ Е3-12. Устройство перегородок
Состав работы
При перегородках из кирпича, из пустотелых керамических
или бетонных камней
1. Разметка осей перегородки. 2. Натягивание причалки. 3. Подача и раскладка кирпича или камней. 4. Перелопачивание, расстилание и разравнивание раствора. 5. Подбор, околка и отеска кирпича или камней. 6. Кладка перегородок под штукатурку с креплением их к стенам и заделкой мест примыканий.
При перегородках из гипсовых, фосфогипсовых, гипсошлаковых, гипсощебеночных и других плит
1. Разметка осей перегородки. 2. Установка направляющих реек. 3. Приготовление гипсового раствора или гипсовой мастики. 4. Установка плит с учетом перевязки вертикальных швов (с перепиливанием и пригонкой плит). 5. Заливка гипсового раствора в пазы плит, расстилание раствора (при установке плит без пазов), нанесение гипсовой мастики на гребни плит (при установке плит с пазогребневой конструкцией стыков). 6. Крепление плит, примыкающих к стенам и потолку с забивкой костылей или установкой металлических уголков с помощью монтажного пистолета. 7. Конопатка и заделка швов в местах примыкания перегородок. 8. Отделка швов.
Состав звена
| Каменщик
|
4
|
разр.
|
─
|
1
|
| "
|
2
|
"
|
─
|
1
|
Нормы времени и расценки на 1 м2
перегородок
| Вид перегородок
|
Н.вр.
|
Расц.
|
№
|
| Кирпичные, толщиной
в кирпичах:
|
1/4
|
глухие
|
0,53
|
0-37,9
|
1
|
| 1/2
|
0,66
|
0-47,2
|
2
|
| решетчатые
|
0,51
|
0-36,5
|
3
|
| Из пустотелых керамических камней размером 250х120х138 мм и из продольных половинок бетонных камней размером 390х90х188 мм
|
0,47
|
0-33,6
|
4
|
| Из гипсовых, гипсошлаковых, гипсощебеночных и других плит длиной 600-800 мм, высотой 300-400мм и толщиной до 100 мм
|
0,59
|
0-42,2
|
5
|
| Из фосфогипсовых и других плит размером 900х300х80 мм с пазогребневой конструкцией стыков
|
0,77
|
0-55,1
|
6
|
Примечания:
1. При устройстве двухслойных перегородок к Н.вр. и Расц. применять коэффициент 2 (ПР-1).
2. Нормами, кроме строки № 3, предусмотрены глухие перегородки. При перегородках с проемами Н.вр. и Расц. умножать на 1,2 (ПР-2), площадь перегородок определять за вычетом проемов.
3. При устройстве перегородок между помещениями площадью до 5 м2
Н.вр. и Расц. умножать на 1,25 (ПР-3).
4. При укладке в перегородках перемычек над проемами Н.вр. и Расц. умножать на 1,1 (ПР-4).
5. На установку готовой арматуры добавлять на 1 м2
перегородки Н.вр. 0,2 чел.-ч, Расц. 0-14,3 (ПР-5).
6. На установку готовой арматуры коэффициенты, приведенные в примечаниях 2, 3, 4, не распространяются.
7. На кладку перегородок в 1/4 кирпича размером 250х120х88 мм коэффициент 0,9 (ТЧ-2) не распространяется.
Приложение 25
§ Е3-16. Укладка брусков перемычек
Состав работы
1. Укладка при помощи крана оконных и дверных перемычек на растворе. 2. Выверка и исправление положения. 3. Заполнение стыков и швов раствором.
Состав звена
| Каменщик
|
4
|
разр.
|
─
|
1
|
| "
|
3
|
"
|
─
|
1
|
| "
|
2
|
"
|
─
|
1
|
| Машинист крана (крановщик)
|
5
|
разр.
|
─
|
1
|
Нормы времени и расценки на 1 проем
| Общая масса брусковых
перемычек для одного
проема, т., до
|
для
|
| каменщиков
|
машиниста
|
| 0,5
|
0,45
---------
0-32
|
0,15
---------
0-13,7
|
1
|
| 1
|
0,66
---------
0-46,9
|
0,22
---------
0-20
|
2
|
| 1,5
|
0,83
---------
0-58,9
|
0,28
---------
0-25,5
|
3
|
| а
|
б
|
№
|
Приложение 26
§ Е3-20. Устройство и разборка
инвентарных подмостей для кладки
Указания по применению норм
Нормами предусмотрено устройство и разборка следующих типов подмостей:
блочные подмости размером 4,45х2,25 м;
пакетные подмости размером 5,3-5,5х2,5 м;
ленточные подмости на стойках с выдвижными штоками при готовых рамах (конвертах).
Нормами учтено двухъярусное подмащивание.
Подъем и опускание блочных и пакетных подмостей предусмотрен с помощью самоходных кранов грузоподъемностью 5 т.
При выполнении работ кранами с большей грузоподъемностью расценки для машиниста крана (крановщика) следует пересчитывать в соответствии с разрядом машиниста крана (крановщика).
Состав работ
При устройстве блочных подмостей
1. Установка блоков на перекрытии каждого этажа при помощи крана. 2. Устройство ограждений. 3. Подъем блоков краном с раздвижкой опорных рам для установки блоков во второе положение в пределах каждого этажа. 4. Опускание блоков краном с последнего этажа вниз. 5. Установка и перестановка инвентарных стремянок.
При устройстве пакетных подмостей
1. Установка на перекрытии каждого этажа пакетов первого, а затем второго ярусов при помощи крана. 2. Устройство ограждений. 3. Опускание краном пакетов с последнего этажа вниз. 4. Установка и перестановка инвентарных стремянок.
При устройстве подмостей на стойках с выдвижными штоками или на готовых рамах (конвертах)
1. Сборка подмостей на перекрытии с расшивкой и креплением опор. 2. Устройство настила из готовых щитов. 3. Устройство ограждений. 4. Устройство второго яруса подмостей (выдвижение или наращивание) в пределах каждого этажа. 5. Перестановка подмостей с этажа на этаж с разборкой их и сборкой вновь. 6. Разборка подмостей и опускание их с последнего этажа вниз с укладкой элементов в штабель. 7. Установка и перестановка инвентарных стремянок.
Таблица 1
Состав звена
| Профессия
и разряд рабочих
|
Тип подмостей
|
| блочные
и пакетные
|
на стойках с выдвижными штоками или на готовых рамах (конвертах)
|
| Машинист крана (крановщик) 4 разр.
|
1
|
─
|
| Плотник 4 разр.
|
1
|
1
|
| " 2 "
|
2
|
1
|
| Подсобный рабочий 1 разр.
|
-
|
1
|
А. БЛОЧНЫЕ И ПАКЕТНЫЕ ПОДМОСТИ
Таблица 2
Нормы времени и расценки на 10 м3
кладки
| Толщина
наружных стен, мм
|
для
|
| машиниста
|
рабочих
|
| 380-460
|
0,48
---------
0-37,9
|
1,44
---------
0-99,4
|
1
|
| 510-590
|
0,38
---------
0-30
|
1,14
---------
0-78,7
|
2
|
| 640-720
|
0,31
---------
0-24,5
|
0,93
---------
0-64,2
|
3
|
| 770-900
|
0,25
---------
0-19,8
|
0,75
--------
0-51,8
|
4
|
| а
|
б
|
№
|
Примечание.
Нормами и расценками учтено ленточное подмащивание.
Б. ЛЕНТОЧНЫЕ ПОДМОСТИ НА СТОЙКАХ С ВЫДВИЖНЫМИ
ШТОКАМИ ИЛИ НА ГОТОВЫХ РАМАХ (КОНВЕРТАХ)
Таблица 3
Нормы времени и расценки на 10 м3
кладки
| Толщина наружных стен, мм
|
| 380-460
|
510-590
|
640-720
|
770-900
|
| 7,3
---------
4-92
|
5,5
--------
3-70
|
4,5
---------
3-03
|
3,6
--------
2-42
|
| а
|
б
|
в
|
г
|
Приложение 27
§ Е4-1-7. Укладка плит перекрытий и покрытий
Указания по применению норм
Нормами предусмотрена укладка плит перекрытий и покрытий насухо или на постель из готового раствора.
Монтаж плит предусмотрен при помощи строп или специальных траверс, стропуемых в необходимом количестве точек, и с применением кантователя для плит площадью более 10 м2
.
При установке плит перекрытий в кирпичных зданиях нормами учтено крепление их анкерами к стенам и между собой.
Нормами предусмотрена укладка плит с подъемом их поштучно.
Состав работы
1. Приготовление постели из раствора. 2. Подъем и укладка плит. 3. Выверка и исправление положения плит. 4. Крепление плит анкерами к стенам (в кирпичных зданиях) и между собой.
Состав звена
Монтажники конструкций 4 разр. - 1
" " 3 " - 2
" " 2 " - 1
Машинист крана 6 " - 1
Нормы времени и расценки на 1 элемент
| Наименование
элементов
|
Площадь
элементов,
м2
, до
|
для
|
| монтажников конструкций
|
машиниста
|
| Плиты
перекрытий
|
3
|
0,44
0-31,1
|
0,11
0-11,7
|
1
|
| 5
|
0,56
0-39,6
|
0,14
0-14,8
|
2
|
| 10
|
0,72
0-50,9
|
0,18
0-19,1
|
3
|
| 15
|
0,88
0-62,3
|
0,22
0-23,3
|
4
|
| 20
|
1,1
0-77,8
|
0,28
0-29,7
|
5
|
| Плиты
покрытий
|
1,5
|
0,32
0-22,6
|
0,08
0-08,5
|
6
|
| 3
|
0,52
0-36,8
|
0,13
0-13,8
|
7
|
| 5
|
0,64
0-45,3
|
0,16
0-17
|
8
|
| 10
|
0,84
0-59,4
|
0,21
0-22,3
|
9
|
| 15
|
1
0-70,8
|
0,25
0-26,5
|
10
|
| 20
|
1,2
0-84,9
|
0,3
0-31,8
|
11
|
| 36
|
1,9
1-34
|
0,47
0-49,8
|
12
|
| 54
|
2,4
1-70
|
0,6
0-63,6
|
13
|
Приложение 28
Образец схемы операционного контроля качества
| СОКК-1
|
Кирпичная кладка несущих стен
|
СНиП 3.03.01-87
|
| Актами на скрытые работы оформляются:
- армирование кладки;
- укладка утеплителя
|

|
Допустимые отклонения:
1. Отклонение от вертикали углов кладки на один этаж 10мм
2. Ширина проемов +15мм
3. Неровности на поверхности кладки 10мм
4. Отклонение рядов кладки от горизонтали на 10м длины 15мм
5. Отметки опорных поверхностей -10мм
6. Толщина швов кладки -2…+3мм
7. Ширина простенков -15мм
8. Смещение осей конструкций от разбивочных осей 10мм
9. Толщина конструкции ±15мм
10. Смещение вертикальных осей оконных проемов от вертикали 20мм
|
| Наименование процессов подлежащих контролю
|
Предмет контроля
|
Инструмент
и способ
контроля
|
Время и периодичность
контроля
|
Ответственный за выполнение контроля
|
Технические критерии
оценки качества
|
| Подготовительные работы
|
качество
кирпича, раствора, арматуры
|
визуально
|
входной контроль
|
прораб, мастер
|
ГОСТ 379-99
|
| правильность разбивки осей
|
стальной метр, рулетка
|
до начала кладки
|
прораб
|
проект
|
| Кирпичная кладка стен
|
геометрические размеры кладки
|
стальной метр, рулетка
|
периодически в процессе производства работ
|
мастер
|
поз. 2, 7, 9
|
| вертикальность граней и углов, горизонтальность рядов кладки, неровность поверхности
|
отвес, уровень, правило
|
поз. 1, 3, 4, 10
|
| отметки опорных поверхностей
|
нивелир
|
поз. 5
|
| размеры швов кладки, перевязка швов
|
стальной метр, визуально
|
толщина горизонтальных швов - 12мм, вертикальных - 10мм (см. поз. 6)
|
| разность высот возводимой кладки на примыканиях стен,
|
визуально
|
не более высоты этажа
|
| глубина заполнения швов кладки
|
стальной метр, щуп
|
швы заполнены полностью
|
| Армирование кладки
|
правильность распо-ложения арматуры
|
стальной метр, визуально
|
в процессе армирования
|
прораб,
мастер
|
по проекту, связи с шагом 500мм
|
| Установка перемычек
|
положение перемычек, опирание, заделка
|
стальной метр
|
после установки
|
мастер
|
по проекту
|
| Укладка утеплителя
|
правильность примыкания листов друг к другу
|
визуально рулетка
|
в процессе кладки
|
мастер
|
прослойка 5мм
|
| Приемосдаточные
работы
|
внешний вид, геометрические размеры, исполнительная документация
|
визуально
|
после окончания работ
|
прораб совместно с заказчиком
|
проект, исполнительные схемы, журнал производства работ
|
Приложение 29
Вопросы к экзамену по курсу "Технология строительства".
1.Капитальное строительство как отрасль производства, его особенности
и задачи.
2.Виды строительных работ, их классификация.
3.Организация труда рабочих.
4.Организация рабочих мест.
5.Система понятий по техническому нормированию.
6.Документы технического нормирования.
7.Система понятий по тарифному нормированию.
8.Системы оплаты труда рабочих в строительстве.
9.Грунты и их технологические свойства.
10.Виды земляных сооружений.
11.Состав комплексного процесса земляных работ.
12.Способы механизированной разработки грунта.
13.Материалы для каменной кладки.
14.Разновидности каменных кладок.
15.Правила разрезки каменной кладки.
16.Системы перевязки швов каменных кладок.
17.Состав технологического процесса кладки стен из кирпича.
18.Инструменты, приспособления для ведения каменной кладки и их
назначение.
19.Организация рабочего места каменщика.
20.Средства подмащивания для ведения кладки стен.
21.Охрана труда и техника безопасности при выполнении каменных работ.
22.Транспорт в строительстве.
23.Приемка сборных конструкций.
24.Состав технологического процесса монтажа строительных конструкций.
25.Строповка строительных конструкций.
26.Складирование строительных конструкций.
27.Охрана труда и техника безопасности при выполнении монтажных работ.
28.Виды кровель. Состав технологического процесса кровельных работ.
29.Устройство рулонных кровель.
30.Охрана труда и техника безопасности при выполнении кровельных работ.
31.Технологические процессы при выполнении штукатурных работ.
32.Технологические процессы при выполнении малярных работ.
33.Элементы полов, применяемые материалы, основные требования к полам.
34.Технологические процессы при выполнении остекления проемов.
|