| Федеральное агентство по образованию
Томский политехнический университет
____________________________________________________________________

УТВЕРЖДАЮ
Декан ФТФ _________Бойко В.И.
«____»_____________2004 г.
Исследование концентраций вредных газов и паров
в воздухе рабочих помещениях
Методические указания по выполнению лабораторной работы
по дисциплине «Основы радиационной безопасности и промышленной экологии»
для студентов специальностей:
240601 (250900) – «Химическая технология материалов современной энергетики»,
240603 (251700) – «Химическая технология редких элементов и материалов на их основе»
Томск 2004
УДК 658.345
Исследование концентраций вредных газов и паров в воздухе рабочих помещениях: Метод. указ. По выполнению лаб. работ по дисциплине «Основы радиационной безопасности и промышленной экологии» для студентов спец. 240601 (250900), 240603 (251700). – Томск: Изд-во ТПУ, 2004 г. – 14 с.
Составители: доцент, к.т.н. В.Ф. Усов
ассистент, к.х.н. Н.Б. Егоров
Рецензент: доцент, к.т.н. Н.С. Тураев
Методические указания рассмотрены и рекомендованы к изданию методическим семинаром кафедры ХТРЭ ФТФ «25» мая
2004 г.
Зав. кафедрой доцент, канд. хим. наук _________________ И.И. Жерин
Одобрено методической комиссией ФТФ
предс. метод. комиссии
доц., канд. физ. – мат. наук___________________В.Д. Каратаев
«____»_____________2004 г.
Лабораторная работа
Исследование концентраций вредных газов и паров
в воздухе рабочих помещений
Цель работы: Ознакомление с методами контроля качества воздушной среды на загазованность, приобретение практических навыков использования технических средств контроля и оценки вредности воздушной среды на производстве.
Задание: Исследовать воздушную среду в газовой камере (или ином герметичном сосуде) на содержание в ней вредных газов (паров). Определить фактическую концентрацию, сравнить ее с предельно допустимой.
ВВЕДЕНИЕ
Химическое производство относится к отраслям промышленности, которые представляют собой потенциальную опасность профессиональных отравлений и заболеваний работающих. Это происходит из-за того, что в процессе труда многие из них соприкасаются с химическими веществами, имеющими те или иные токсические свойства.
Забиваем Сайты В ТОП КУВАЛДОЙ - Уникальные возможности от SeoHammer
Каждая ссылка анализируется по трем пакетам оценки: SEO, Трафик и SMM.
SeoHammer делает продвижение сайта прозрачным и простым занятием.
Ссылки, вечные ссылки, статьи, упоминания, пресс-релизы - используйте по максимуму потенциал SeoHammer для продвижения вашего сайта.
Что умеет делать SeoHammer
— Продвижение в один клик, интеллектуальный подбор запросов, покупка самых лучших ссылок с высокой степенью качества у лучших бирж ссылок.
— Регулярная проверка качества ссылок по более чем 100 показателям и ежедневный пересчет показателей качества проекта.
— Все известные форматы ссылок: арендные ссылки, вечные ссылки, публикации (упоминания, мнения, отзывы, статьи, пресс-релизы).
— SeoHammer покажет, где рост или падение, а также запросы, на которые нужно обратить внимание.
SeoHammer еще предоставляет технологию Буст, она ускоряет продвижение в десятки раз,
а первые результаты появляются уже в течение первых 7 дней.
Зарегистрироваться и Начать продвижение
Вредные вещества – это такие вещества, которые при контакте с организмом человека в случае нарушения требования безопасности могут вызвать производственные травмы, профессиональные заболевания, нарушение нормальной жизнедеятельности или болезненное состояние - отравление.
Действие вредных веществ на организм определяется многими условиями: токсикологическими особенностями вредного вещества; его физическим состоянием и путями воздействия на организм; концентрацией в воздухе; продолжительностью действия. Кроме того, оно зависит от пола, возраста, индивидуальной чувствительности организма, а также имеет значение тяжесть выполняемой работы, поскольку от этого зависит количество вдыхаемого воздуха.
Отравления могут быть острыми и хроническими. Острыми отравления считаются такие, которые наступают при действии вредного вещества на протяжении не более одной рабочей смены. Такие ситуации возникают в случае аварий или грубых нарушений правил техники безопасности. В этих случаях в организм поступают большие дозы ядовитых веществ. Хронические отравления возникают в результате длительного действия на организм малых количеств вредных веществ. Эти отравления развиваются постепенно, на ранних стадиях их трудно распознать, поскольку симптомы их малоспецифичны: недомогание, повышенная утомляемость, нарушение аппетита и сна, ослабление сопротивляемости внешним воздействиям.
Проникая в организм, вредные вещества переносятся кровью во все органы и ткани. Поэтому нарушение процессов обмена в каком – либо одном органе влечет за собой, как правило, нарушение ряда функций организма. Изменение состава строго определенных веществ, принимающих участие в нормальных процессах обмена здорового человека, не может не сказаться на обмене веществ в каком – либо органе, а следовательно, и на нормальном функционировании всего организма. Именно с этим и связано токсическое действие вредных веществ на организм человека. В зависимости от участка в цепи обмена веществ, в которых под действием того или иного токсичного соединения происходит нарушение нормальных процессов, степень его токсичности оказывается большей или меньшей. Наиболее токсичными оказываются те химические соединения, которые воздействуют на более важные ферментные системы организма.
Ферменты – белковые катализаторы, обеспечивающие высокие скорости процессов расщепления белков, жиров, углеводов, поступающих в живой организм в виде пищевых продуктов. Для всех ферментов характерна высокая специфичность действия, т.е. каждый фермент способен катализировать только определенный процесс. Например, в усвоении белков участвуют протеназы, жиров – липазы, углеводов – киназы и фосфатазы. Всего в организме человека содержится до 1000 различных ферментных систем, катализирующих разнообразные процессы. В то же время абсолютное количество каждого фермента в клетках организма крайне мало, поэтому выделение ферментов из строя достигается небольшими количествами токсичных соединений, воздействующими на эти ферменты и ингибирующими их. Незначительное изменение в строении или в условиях действия фермента приводит к потере их каталитической активности. Такие изменения в строении ферментов при действии тех или иных химических соединений являются следствием химической реакции, изменяющей строение фермента. В таблице 1 представлены показатели, оценивающие токсическое действие веществ по их абсолютным качествам, вызывающим определенный биологический эффект.
Сервис онлайн-записи на собственном Telegram-боте
Попробуйте сервис онлайн-записи VisitTime на основе вашего собственного Telegram-бота:
— Разгрузит мастера, специалиста или компанию;
— Позволит гибко управлять расписанием и загрузкой;
— Разошлет оповещения о новых услугах или акциях;
— Позволит принять оплату на карту/кошелек/счет;
— Позволит записываться на групповые и персональные посещения;
— Поможет получить от клиента отзывы о визите к вам;
— Включает в себя сервис чаевых.
Для новых пользователей первый месяц бесплатно.
Зарегистрироваться в сервисе
Таблица 1
Классификация опасности веществ по степени воздействия на организм
| Показатель
|
Нормы для класса опасности
|
| 1
|
2
|
3
|
4
|
| Предельно допустимая концентрация (ПДК) вредных веществ в воздухе рабочей зоны, мг/м3
|
менее 0,1
|
0,1 – 1,0
|
1,1 – 10,0
|
более 10,0
|
| Средняя смертельная доза при введении в желудок, мг/м3
|
менее 15
|
15 – 150
|
151 – 5000
|
более 5000
|
| Средняя смертельная доза при нанесении на кожу, мг/м3
|
менее 100
|
100 - 500
|
501 - 2500
|
более 2500
|
| Средняя смертельная концентрация в воздухе, мг/м3
|
менее 500
|
500 - 5000
|
5001 - 50000
|
более 50000
|
| Коэффициент возможности ингаляционного отравления (КВИО)
|
более 300
|
300 - 30
|
29 - 3
|
менее 3
|
| Зона острого действия, м
|
менее 6,0
|
6,0 – 18,0
|
18,1 – 54,0
|
более 54,0
|
| Зона хронического действия, м
|
более 10
|
10,0 – 5,0
|
4,9 – 2,5
|
менее 2,5
|
Таким образом, токсичность тех или иных соединений проявляется в химическом воздействии между ними и ферментами, приводящем к торможению или прекращению ряда жизненных функций организма.
Подобным образом действует большинство вредных веществ, что позволяет вести их условную классификацию по токсическому действию на системы организма.
По характеру токсичности яды подразделяют на 4 группы:
1) едкие, разрушающие кожный покров и слизистые оболочки (HCl, CrO и др.);
2) действующие на органы дыхания (SiO2
, SO2
, NH3
и др.);
3) действующие на кровь (СО, AsH3
, гомологи бензола и др.);
4) действующие на нервную систему (спирты, эфиры, сероводород, углеводороды).
Чтобы правильно оценить условия труда работающих на производстве людей и сохранить их здоровье, надо знать, какие вредные вещества в виде газов, паров и аэрозолей (пыли, дыма, тумана) могут выделяться в воздух рабочей зоны при данных процессах и в каких количествах. Содержание этих веществ в воздухе не должно превышать установленных для них предельно допустимых концентраций (ПДК) (таблица 2).
ПДК – это такие концентрации, которые при ежедневной (кроме выходных дней) 8 – часовой работе или при другой продолжительности рабочего дня, но не более 40 часов в неделю в течение всего рабочего стажа не могут вызвать заболеваний или отклонений состояния здоровья.
Таблица 2
Вредные вещества и их предельно допустимые концентрации
| Определяемый газ
|
Просасываемый объем, мл
|
Цвет индикаторного порошка до анализа
|
Цвет индикаторного порошка после анализа
|
ПДК, мг/м3
|
| Сернистый ангидрид
Окись углерода
Окислы азота Ацетилен
Сероводород
Хлор
Аммиак
Бензин
Бензол
Толуол
Ацетон
Этиловый спирт
Углеводороды нефти-керосин, уайт-спирит
|
300
220
325
265
300
350
250
300
350
300
300
400
300
|
Коричневый
Белый
Белый
Белый
Белый
Желтый
Желтый
Белый
Белый
Белый
Белый
Желтый
Белый
|
Белый
Коричневый
Светло-зеленый
Светло-коричневый
Коричневый
Красный
Синий
Светло-коричневый
Темно-серый
Темно-коричневый
Желтый
Зеленый
Светло-коричневый
|
10
20
5
-
10
1
20
100
5
50
200
1000
300
|
Для предупреждения отравлений
наиболее радикальным является полное устранение вредного вещества из производства или замена его менее ядовитыми соединениями. Так в производстве очень токсичный растворитель бензол там, где это возможно, заменяется ксилолом или толуолом. Где пока невозможно перейти на работу с безвредными веществами, большое значение приобретает механизация и автоматизация производственных процессов. Для удаления вредных веществ и пыли непосредственно у мест их выделения используют местную вытяжную вентиляцию. Процессы, связанные с загрязнением среды вредными веществами, проводят в изолированных помещениях, стены, потолки и полы, которых отделывают материалами, не впитывающими вредные вещества и легко очищаемые от них.
Из мер индивидуальной защиты в зависимости от свойств вредного вещества и путей воздействия его на организм применяют различные виды спецодежды, резиновые перчатки и сапоги, защитные очки, противо - пылевые респираторы, ватно-марлевые повязки, противогазы и др.
Для рабочих ряда производств разработаны специальные рационы так называемого лечебно-профилактического питания. Они ослабляют действия вредных веществ на организм, нейтрализуя, связывая, уменьшая всасывание или ускоряя выделение их из организма.
Методы исследования содержания вредных веществ в воздухе
Специфика исследований качества воздушной среды заключается в том, что в большинстве случаев требуется определить очень малые количества вещества, измеряемые миллиграммами или их долями. Поэтому используемые методы должны быть высокочувствительными, точными и быстрыми.
Методы определения содержания вредных веществ в воздухе основаны на различных физических и химических явлениях, но они неизменно включают два процесса: отбор пробы воздуха и его анализ.
Метод отбора пробы воздуха может быть продолжительным по времени и одномоментным.
Первый метод
, так называемый аспирационный, основан на протягивании анализируемого воздуха через твердые или жидкие среды для задержки в них путем механического разделения или растворения определяемого вещества.
Второй метод
заключается во взятии в рабочей зоне определенного объема воздуха для последующего анализа его в химической лаборатории.
Аспирационный метод
позволяет накопить на фильтре или в поглотительном растворе анализируемое вещество хотя бы в минимальном количестве, находящемся выше уровня чувствительности химического метода определения. Отбор пробы продолжается 15-20 мин, а в некоторых случаях - 30-60 мин. Недостатком аспирационного метода являются большая трудоемкость отбора пробы и большое усреднение концентрации определяемого вещества в воздухе за продолжительный период времени (в то время как концентрация ядов в воздухе рабочей зоны нередко меняется довольно быстро).
Для отбора пробы необходимы аспиратор и устройства для задержки анализируемого вещества: при определении аэрозолей фильтры; при определении паров и газов - поглотительные приборы. В качестве аспиратора обычно используют электрический аспиратор – воздуходувку. При его применении в случае, когда определяют токсические вещества в виде аэрозолей, отбор пробы сходен с методом определения запыленности воздуха. Отличие заключается лишь в самом определении токсического вещества, которое обычно проводится не весовым, а химическим методом с предварительным переводом твердого вещества в жидкое состояние путем растворения его в кислотах, щелочах и других растворителях. При определении концентрации паров и газов скорость протягивания воздуха должна быть невелика.
Одномоментный способ отбора проб воздуха может быть применен в одном из трех вариантов:
1.
выливанием жидкости из сосуда, что приводит к заполнению его исследуемым воздухом; сосуд после этого герметично закрывается резиновой пробкой и доставляется в лабораторию для анализа (метод применяется при нерастворимых в воде газах);
2.
обменом воздуха (десятикратная продувка), когда чистый воздух в сосуде замещается анализируемым воздухом для последующего анализа его в лаборатории;
3.
заполнением сосуда, в котором заранее был создан вакуум. При открывании сосуда в зоне работы анализируемый воздух заполняет его, после чего сосуд закрывают и доставляют в лабораторию.
Одномоментный способ отбора удобен и лишен недостатков аспирационного метода, но может применяться лишь тогда, когда имеется высокочувствительный метод анализа и нет необходимости концентрировать (аккумулировать) вещества, содержащиеся в воздухе производственных помещений в незначительном количестве.
Для задержки паров и газов применяют стеклянные изделия самой разнообразной конструкции (от простейших стеклянных трубок до колб сложной конфигурации), которые заполняются поглотителями (растворами, химическими зерненными и порошкообразными реактивами соответствующего назначения).
Для улавливания аэрозолей применяют аналитические фильтры аэрозольные АФА-ХЛ, АФА-ХП и АФА-ХС. Буква Х обозначает, что фильтры предназначены для проведения анализа аэродисперсных примесей химическим (а не весовым) методом. Стоящие рядом буквы указывают, что материал ультратонких волокон фильтра изготовлен соответственно из ацетилцеллюлозы (А), перхлорвинила (П) и полистирола (С).
Для определения концентрации радиоактивных аэрозолей применяют фильтры АФА-РМ из метилакрилатного материала; для определения изотопного состава радиоактивных аэрозолей спектрометрическим методом - фильтры АФА-РСП из перхлорвинилового материала; фильтры АФА-БА - для бактериального анализа аэродисперсных примесей и др.
Для определения концентрации вредных примесей весовым методом применяют стойкие к влаге, кислотам и щелочам фильтры АФА-ВП двух типов: АФА-ВП-10 и АФА-ВП-20 с площадью фильтрующих дисков 10 и 20 см2
и массой 50 и 110 мг соответственно.
Методы анализа проб воздуха, используемые для определения химических веществ в нем, весьма разнообразны: фотометрический, люминесцентный, спектроскопический, полярографический, хроматографический, оптический и др.
Кроме указанных выше методов - высокоточных и чувствительных, требующих, однако, значительных затрат времени на определение содержания вредных и опасных веществ в воздухе, современная промсанитария располагает менее точными, но более быстрыми методами анализа. К экспресс - методам анализа воздуха относятся колориметрические и линейно-колористические методы, позволяющие оперативно в месте отбора пробы определить концентрацию загрязняющих воздух веществ.
Колориметрические методы основаны на протягивании воздуха, содержащего загрязняющее вещество, через раствор, фильтровальную бумагу или зернистый твердый сорбент и измерении интенсивности полученной на них окраски путем сравнения со стандартными шкалами (образцами-эталонами) с указанной на них концентрацией исследуемого вещества.
Линейно-колористический метод основан на протягивании исследуемого воздуха через стеклянные индикаторные трубки и измерении длины окрашенного столбика порошка по заранее приготовленным шкалам, показывающим зависимость этой длины от концентрации данного вещества.
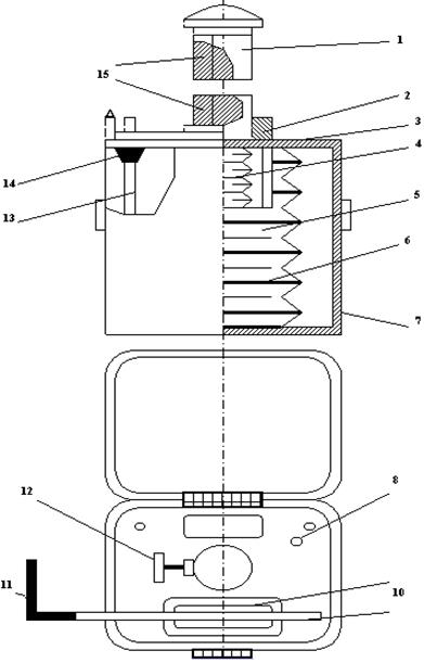
Анализ воздуха в данной лабораторной работе можно проводить на приборах УГ-1, УГ-2, ГХ-4 и др. Все они имеют один и тот же принцип действия, в основе которого лежит метод цветных реакций. Наиболее широкими возможностями для экспресс-анализа воздушной среды обладают наиболее распространенные в настоящее время универсальные газоанализаторы УГ-2 (рис. 1).
Газоанализатор УГ-2 состоит из корпуса 7, внутри которого расположен резиновый воздушный насос 5, называемый также аспиратором или сильфоном. Аспиратор имеет вид широкой гофрированной резиновой трубы, закрепленной между двумя металлическими фланцами. Внутри аспиратора имеется стальная пружина 4, которая держит его в растянутом положении. Для сохранения формы гофрированных поверхностей с внутренней стороны в гофры вставлены распорные кольца 6. Сильфон сжимается штоком 1 путем нажатия рукой на его головку. Прибор оборудован направляющей втулкой 2, смонтированной на верхней плите 3. Для фиксации хода штока во время движения его по направляющей втулке предусмотрен стопор 12. Шток газоанализатора имеет на противоположных сторонах канавки 15. Над канавками вверху стоит цифра, соответствующая объему просасываемого воздуха в миллилитрах. Каждая канавка имеет два отверстия для фиксации стопором обозначенного объема протянутого через индикаторную трубку воздуха. Ход поршня от нижнего отверстия до верхнего регулируется автоматически. После протягивания обозначенного объема воздуха слышится щелчок от срабатывания стопора на верхнем отверстии канавки штока.
Нижняя часть сильфона соединена резиновой трубкой 13 со штуцером 14, к которому присоединен гибкий резиновый шланг 11, предназначенный для присоединения индикаторных трубок 10. Последние представляют собой стеклянные трубки длиной 90 мм с внутренним диаметром 2,5 мм, которые заполняются индикаторным порошком. На лицевой стороне панели прибора имеется гнездо 8 для хранения штока 1.
На каждый исследуемый газ имеются две шкалы-линейки. По левой линейке замеряют концентрацию газов при использовании штоков с малым объемом просасывания воздуха, а по правой линейке - концентрацию газов при использовании штоков с большим объемом просасывания. При этом нулевое деление шкалы должно совпадать с началом границы поверхности порошка в индикаторной трубке. Отсчет берется по высоте окрашенного столбика реактива на линейке.
 Рис. 1. Общий вид универсального газоанализатора УГ-2.
(а – продольный разрез; б – вид сверху)
1 - шток; 2 - направляющая втулка; 3 - верхняя плита; 4 - стальная пружина; 5 -воздушный насос; 6 - распорные кольца; 7 - корпус газоанализатора; 8 - гнездо для хранения штока; 9 - шкала; 10 - индикаторная трубка; 11 - резиновый шланг; 12 - стопор; 13 - резиновая трубка; 14 - штуцер; 15 - канавки на штоке.
|
Характеристика некоторых вредных веществ, определяемых
линейно-колористическим методом
ОКсиды АЗОТА
В воздухе производственных помещений встречается газообразные - оксид азота (II) NO и оксид азота (IV) NO2
, а также жидкий - тетраоксид азота N2
O4
. Состав смеси оксидов изменяется с изменением температуры и влажности воздуха.
Оксиды азота действуют раздражающе на слизистые дыхательных путей, особенно на легкие, вызывая в тяжелых случаях отеки.
Для определения оксида азота (IV) используется индикаторный порошок, представляющий собой тонко измельченный силикагель, пропитанный растворенным в этиловом спирте дифениламином – (C6
H5
)2
NH. При этом образуется окрашенный в зеленоватый цвет слой. Чувствительность метода – 0,005 мг/л.
Для определения суммы оксида азота (II) и оксида азота (IV) к индикаторной трубке со стороны входа воздуха присоединяют трубку, содержащую окислительный порошок, состоящий из силикагеля, пропитанного перманганатом калия. При этом происходит обесцвечивание индикаторного порошка. Чувствительность метода – 0,003 мг/л.
По разнице концентраций общего содержания оксидов азота и оксида азота (IV) находят содержание оксида азота (II).
Аммиак
Бесцветный газ с характерным резким запахом. Легко растворяется в воде. Водный раствор обладает сильными щелочными свойствами. Воздух, содержащий 16,5-26,8% (объемн.) аммиака, взрывоопасен.
Аммиак раздражающе действует на верхние дыхательные пути и глаза. В высоких концентрациях возбуждающе действует на центральную нервную систему и вызывает судороги. Хронические отравления аммиаком не встречаются. Возможны ожоги глаз и кожи при действии газообразного аммиака в высоких концентрациях.
Индикаторный порошок для определения аммиака – это фарфоровый порошок, обработанный 1% - ным спиртовым раствором индикатора – бромфенолового синего. При пропускании через трубку, заполненную этим порошком, воздуха, содержащего аммиак, реактивный порошок меняет желтую окраску на синюю. Метод позволяет определить аммиак при концентрации до 0,4 мг/л.
СЕРОВОДОРОД
Бесцветный газ с характерным запахом тухлых яиц. Сероводород огнеопасен; смесь его с воздухом взрывоопасна.
Сероводород, даже при небольшом содержании в воздухе, вызывает головокружение, сердцебиение, тошноту. При вдыхании сероводорода вскоре притупляется ощущение его запаха, поэтому возрастает опасность отравления. При малых концентрациях сероводород действует раздражающе на слизистые оболочки дыхательных путей и глаз.
Для определения сероводорода используется индикаторный порошок, представляющий тонко измельченный фарфоровый порошок, обработанный раствором уксуснокислого свинца – Pb(CH3
COO)2
. Окрашивание порошка под действием сероводорода происходит вследствие образования черного сульфида свинца. Чувствительность метода – 0,14 мкг/мл.
Сернистый ангидрид (оксид серы (II), сернистый газ)
Бесцветный газ с характерным резким запахом.
Сернистый ангидрид раздражает преимущественно верхние, а при более сильном действии также и глубокие дыхательные пути.
Воздух, содержащий сернистый ангидрид SO2
, протягивают через индикаторную трубку, заполненную фарфоровым порошком, обработанным раствором иодида калия, содержащим иод. При этом происходит обесцвечивание слоя индикатора. Чувствительность метода - 0,01 мг/л.
ХЛОР
Желто-зеленый газ с своеобразным запахом. Хлор хорошо растворяется в воде и органических растворителях.
Хлор раздражает дыхательные пути, он может вызывать отек легких.
При протягивании воздуха, содержащего хлор, через индикаторную трубку с силикагелем, пропитанным раствором флуоресцеина и бромида калия, образуется окрашенный в красный цвет слой, длина которого пропорциональна концентрации хлора. Чувствительность метода - 0,002 мг/мл.
МОНООКСИД углерода
Бесцветный газ без вкуса и запаха. Горит синеватым пламенем. Смесь, содержащая 2 объема оксида углерода (II) и 1 объем кислорода, взрывоопасна.
Оксид углерода (II) – крайне опасный яд. Токсическое действие оксида углерода (II) заключается в способности его вытеснять кислород из оксигемоглобина крови, образуя карбоксигемоглобин. Вследствие этого нарушается обмен кислорода в организме, и наступает удушье.
При протягивании воздуха, содержащего монооксида углерода, через индикаторную трубку с силикагелем, пропитанным сернокислым раствором иодата калия, образуется окрашенное в коричневый цвет кольцо, которое по мере отбора воздуха продвигается по длине столбика индикаторного порошка. Длина прореагировавшего слоя индикаторного порошка до верхнего края кольца пропорциональна концентрации монооксида углерода в воздухе. Метод позволяет определять оксид углерода (II) при концентрации от 0,015 до 0,4 мг/л.
БЕНЗИН
Бесцветная или слегка желтоватая жидкость. Химический состав и физические свойства бензинов зависят от способа их получения и от состава исходного сырья. Бензины в основном содержат предельные углеводороды.
Действует как наркотическое вещество. Влияет на центральную нервную систему.
При протягивании воздуха, содержащего бензин, через индикаторную трубку с силикагелем, пропитанным сернокислым раствором иодата калия, образуется окрашенный в светло-коричневый цвет слой. Чувствительность метода 0,4-0,5 мг/л.
БЕНЗОЛ
Бесцветная горючая жидкость с характерным запахом.
Пары бензола, в высоких концентрациях, действуют главным образом на центральную нервную систему; при хроническом воздействии наблюдаются изменения крови и кроветворных органов. Жидкий бензол раздражает кожу.
При протягивании воздуха, содержащего бензол, через индикаторную трубку с силикагелем, пропитанным сернокислым раствором иодата калия, образуется окрашенный в темно-серый цвет слой. Чувствительность метода 0,1 мг/л.
ТОЛУОЛ
Бесцветная жидкость с характерным запахом. Смесь паров толуола с воздухом, содержащая 1,3-6,8% (объемн.) толуола, обладает взрывчатыми свойствами.
В воздухе производственных помещений толуол встречается в виде паров. Пары толуола в высоких концентрациях действуют наркотически. Длительное воздействие паров толуола при низких концентрациях вызывает изменения в крови.
При протягивании воздуха, содержащего пары толуола, через индикаторную трубку с силикагелем, пропитанным раствором иодата калия в серной кислоте образуется (в отличие действия бензола) темно-коричневый слой. Чувствительность метода 0,2-0,3 мг/л.
АЦЕТИЛЕН
Бесцветный газ без запаха. Неприятный запах ацетилена, полученного из карбида кальция, обусловлен примесями главным образом мышьяковистого и фосфористого водорода (арсином и фосфином). Плохо растворим в воде, хорошо растворим в ацетоне. С воздухом образует взрывчатые смеси – нижняя граница взрыва соответствует 1,5-3,5% (объемн.) ацетилена; верхняя граница 52,2-82%. Особенно сильно взрывается смесь, содержащая 1 объем ацетилена в 9 объемах воздуха.
Ацетилен мало токсичен, возможны отравления примесями к нему, главным образом фосфористым водородом (фосфином). В больших концентрациях чистый ацетилен действует как наркотик.
При протягивании воздуха, содержащего ацетилен, через индикаторную трубку с силикагелем пропитанным сернокислым раствором иодата калия, образуется окрашенный в светло-коричневый цвет слой, длина которого пропорциональна концентрации ацетилена в воздухе. Чувствительность метода 0,14 мг/л.
ЭТИЛОВЫЙ СПИРТ
Бесцветная жидкость, смешивается с водой в любых соотношениях.
Этиловый спирт – наркотик, вызывающий сначала возбуждение, а затем паралич центральной нервной системы. При длительном воздействии больших доз может вызывать тяжелые органические заболевания нервной системы, пищеварительного аппарата, сердечно-сосудистой системы, печени.
При протягивании воздуха, содержащего пары этилового спирта, через индикаторную трубку с силикагелем пропитанным раствором хромового ангидрида в серной кислоте, происходит восстановление шестивалентного хрома до трехвалентного, что сопровождается переходом первоначальной желтой окраски индикаторного порошка в зеленую. Чувствительность метода 0,1 мг/л.
АЦЕТОН
Бесцветная жидкость с характерным запахом. Смесь паров ацетона с воздухом обладает взрывчатыми свойствами. Нижняя граница взрыва такой смеси 2,5-2,9% (объемн.), верхняя граница – 9,6%. Ацетон хорошо растворим в воде, этиловом спирте, диэтиловым эфире и других органических растворителях.
Ацетон действует на организм как наркотик, при длительном воздействии пары ацетона вызывают раздражение верхних дыхательных путей.
При протягивании воздуха, содержащего ацетон, через индикаторную трубку с силикагелем пропитанным раствором бромфенолового синего, образуется окрашенный в желтый цвет слой. Чувствительность метода 0,008 мг/л.
Имитирование загрязнения воздуха
в рабочих зонах производственных помещений осуществляем следующим образом:
1. На аммиак: в пробирку наливаем 5-10 мл слабого раствора (5%) аммиака в воде (аммиачной воды).
2. На окислы азота: в пробирку помещаем несколько кусочков Zn и смачиваем их 1-2 мл концентрированной азотной кислоты. Образуется бурый газ, представляющий смесь NO и NO2
.
3. На сероводород: в пробирку насыпается небольшое количество порошка FeS или MnS и смачивается несколькими каплями концентрированной соляной кислоты, при этом происходит выделение сероводорода.
4. Хлор получается взаимодействием перманганата калия с концентрированной соляной кислотой.
5. Сернистый газ SO2
можно получить при восстановлении серной кислоты медью, либо разложением сульфитов металлов кислотами.
6. Окись углерода получается разложением щавелевой кислоты в присутствии концентрированной серной кислоты при нагревании.
7. Имитирование загрязнения воздуха бензолом, толуолом, бензином, этиловым спиртом осуществляется путем помещения в пробирки небольшого количества (0,5-1 мл) соответствующих чистых веществ.
В отчете по лабораторной работе должны быть приведены соответствующие химические реакции получения вышеперечисленных веществ.
Методика проведения работы
1.Проверить герметичность воздухозаборного устройства, для чего сильфон 5 зажать штоком 1 на максимальном объеме воздуха и зафиксировать стопором 12. Затем перегнуть резиновый шланг 11, зажать его лабораторным зажимом, отвести стопор, если шток после небольшого рывка остановится, прибор герметичен, и им можно пользоваться. Если движение штока будет продолжаться, прибор негерметичен; следует проверить плотность прилегания шланга к штуцеру, устранить не герметичность или взять другой прибор.
2.Воздух для анализа брать из пробирки, имитирующей производственное помещение, предварительно добавив туда ядовитые вещества, наличие которых в воздухе и будут определяться. Получение исследуемых газов и отбор проб воздуха для анализа проводить только в вытяжном шкафу.
3.Приготовить прибор УГ-2 к отбору пробы: вставить шток в направляющую втулку, давлением руки на головку штока сжимать сильфон до тех пор, пока стопорный механизм не зафиксирует его в верхнем отверстии канавки. После этого присоединить к шлангу необходимую для данного конкретного вещества индикаторную трубку, а ее при помощи небольшого переходника соединить с колбой.
4.Надавливая одной рукой на головку штока, другой рукой отвести стопор 12 и прососать определенный объем испытуемого воздуха через индикаторную трубку.
5.По длине окрашенного столбика в индикаторной трубке определить фактическую концентрацию исследуемого газа.
6.По результатам выполненной работы составляется отчет:
а) При описании способа получения индивидуальных веществ – необходимо привести соответствующие химические реакции.
б) Заполнить таблицу 2.
в) Привести сведения о токсичности определяемых веществ и определить к какой группе промышленных ядов они относятся.
Таблица 2.
Результаты определения концентрации вредных веществ в воздухе с помощью УГ-2
| Наименование вредного вещества
|
Количество воздуха, пропущенного
через трубку, мл
|
Цвет окраски сорбента
|
Конц-ия вредного вещества в воздухе, мг/м3
|
ПДК, мг/м3
|
| До пропускания
|
После пропускания
|
| |
|
|
|
|
|
ТЕХНИКА БЕЗОПАСНОСТИ
Основные опасности в данной работе – это опасность химических ожогов при выполнении операций с концентрированными кислотами, опасность отравления газообразными веществами (оксиды азота, сероводород, монооксид углерода, хлор, аммиак и др.).
Первая помощь при химических ожогах и отравлениях сводится к следующему: при ожогах кислотами и щелочами пораженный участок кожи промывают струей холодной воды в течение не менее 15 мин. Далее при ожогах кислотами и кислотоподобными прижигающими веществами накладывают примочки из двухпроцентного раствора бикарбоната натрия (пищевая сода), а при ожогах щелочами – двухпроцентного раствора уксусной, лимонной и винной кислоты.
Если агрессивное вещество попало на кожу через одежду, ее следует перед снятием разрезать ножницами, чтобы не увеличить площадь поражения. При этом надо помнить, что синтетическая ткань может растворяться в некоторых агрессивных веществах, например в серной кислоте. При смывании водой полимер коагулирует и покрывает кожу липкой пленкой. В этом случае промывание не достигает цели и необходимо сначала как можно тщательнее снять кислоту с кожи, осторожно «промокая» ее сухой хлопчатобумажной тканью, и лишь затем промыть водой.
При респираторном отравлении (вдыхании газов, паров, аэрозолей) необходимо вывести пострадавшего на свежий воздух или в проветриваемое помещение. Пострадавшего надо уложить, создать ему полный покой, укрыть во избежание переохлаждения. До прибытия врача пострадавшего нельзя оставлять без присмотра, даже если кажется, что состояние его не вызывает опасений.
Все операции с вредными веществами проводить только в вытяжном шкафу.
Контрольные вопросы:
1. Дайте определение термина «вредные вещества»?
2. На чем основан принцип работы газоанализатора УГ-2?
3. Назначение и принцип действия индикаторной трубки.
4. Назовите факторы, определяющие действие вредных веществ на организм?
5. Что такое ПДК?
6. Чем опасно превышение ПДК?
7. Механизм действия вредных веществ.
8. Классификации вредных веществ.
9. Меры и средства защиты от воздействия вредных газов и паров на организм человека.
10. На чем основаны методы определения содержания вредных веществ в воздухе?
11. Каким образом осуществляется имитирование загрязнения воздуха вредными веществами в данной лабораторной работе?
Литература
1. Шашкин Б.Ф., Брус И.Д., Тураев Н.С. Учебно – методическое пособие «Определение содержания вредных веществ в воздухе производственных помещений с помощью универсального газоанализатора УГ – 2. – Томск: ТПУ. 1999. 8с.
2. Макаров Г.В., Васин А.Я., Маринина Л.К., Софинский П.И., Старобинский В.А., Торопов Н.И. Охрана труда в химической промышленности.- М.: Химия. 1989. С. 49-51.
3. Алексеев С.В., Усенко В.Р. Гигиена труда. М.: Медицина. 1988. С. 176-191.
4. Перегуд Е.А., Быховская М.С., Гернет Е.В. Быстрые методы определения вредных веществ в воздухе. М.: Госхимиздат. 1962. С. 227-231.
5. Долин П.А. Справочник по технике безопасности. - М.: Энергоатомиздат. 1984. С. 507.
|