| ФЕДЕРАЛЬНОЕ АГЕНТСТВО ПО ОБРАЗОВАНИЮ

Государственное образовательное учреждение
высшего профессионального образования
«ТОМСКИЙ ПОЛИТЕХНИЧЕСКИЙ УНИВЕРСИТЕТ»
СОПРОТИВЛЕНИЕ МАТЕРИАЛОВ
часть I
Методические указания к лабораторным работам
для студентов машиностроительных специальностей
Томск 2007
УДК 539.13.6.
Методические указания к лабораторным работам по курсу «Сопротивление материалов», часть I для студентов машиностроительных специальностей. – Томск: изд. ТПУ,- 2007. – 40с.
Составитель: д.т.н., проф. А.В. Анфилофьев.
Рецензент: к.т.н., доцент, Н.А. Куприянов.
Методические указания рассмотрены и рекомендованы к изданию методическим семинаром кафедры теоретической и прикладной механики 16.01.2007г.
Зав. кафедрой
Доцент, к.т.н. ___________В.М. Замятин
Одобрено учебно-методической комиссией МСФ
Председатель методической комиссии
Н.А. Куприянов
Предметный указатель
1. Введение………………………………………………………………….3
2. Требования к отчёту по лабораторной работе…………………………5
3. Лаб. работа "Распределённая и сосредоточенная нагрузка"………….5
4. Лаб. работа "Испытание на растяжение"………..………….………...10
5. Лаб. работа "Испытание на сжатие"……………..……………………21
6. Лаб. работа "Испытание на кручение"…………………..……………26
7. Лаб. работа "Испытание на изгиб". …………………………………..35
8. Таблица: механические характеристики материалов…….………….39
9. Вопросы для самопроверки……………………………..……………..40
10. Литература…………………………………………..………………….40
Введение
Сопротивление материалов есть естественное свойство всех материалов противодействовать изменению их состояния. Соответственно, все материальные тела наделены этим свойством. Изучение механических свойств твёрдых тел и целесообразное использование их в практических задачах составляют предмет "Механики деформируемых тел". Учебная общеинженерная дисциплина на базе математики, физики, теоретической механики "Сопротивление материалов" есть только начало этой обширной науки.
Сложность строгого математического описания явлений, наблюдаемых при деформировании материалов элементов конструкций, приводит к использованию модельных (упрощенных) представлений о строении материалов, их свойствах и внутренних геометрических изменениях. Эти теоретические представления образуют понятийный аппарат "Сопротивления материалов" и связанных с ним прикладных курсов.
Забиваем Сайты В ТОП КУВАЛДОЙ - Уникальные возможности от SeoHammer
Каждая ссылка анализируется по трем пакетам оценки: SEO, Трафик и SMM.
SeoHammer делает продвижение сайта прозрачным и простым занятием.
Ссылки, вечные ссылки, статьи, упоминания, пресс-релизы - используйте по максимуму потенциал SeoHammer для продвижения вашего сайта.
Что умеет делать SeoHammer
— Продвижение в один клик, интеллектуальный подбор запросов, покупка самых лучших ссылок с высокой степенью качества у лучших бирж ссылок.
— Регулярная проверка качества ссылок по более чем 100 показателям и ежедневный пересчет показателей качества проекта.
— Все известные форматы ссылок: арендные ссылки, вечные ссылки, публикации (упоминания, мнения, отзывы, статьи, пресс-релизы).
— SeoHammer покажет, где рост или падение, а также запросы, на которые нужно обратить внимание.
SeoHammer еще предоставляет технологию Буст, она ускоряет продвижение в десятки раз,
а первые результаты появляются уже в течение первых 7 дней.
Зарегистрироваться и Начать продвижение
Экспериментальную часть дисциплины составляют лабораторные работы. Назначение их - формирование реальных представлений о сопротивлении материалов в различных условиях деформирования и о достоверности соответствующих теоретических положений.
Объектом исследования в "Сопротивлении материалов" является стержень – геометрическое тело, у которого один размер (длина) много больше двух других, определяющих поперечное сечение. Стержень является расчётной схемой обширного класса элементов конструкций различного назначения. Для теоретического анализа геометрии деформирования стержня он представляется совокупностью материальных плоскостей (поперечных сечений), удерживаемых между собой силами взаимодействия материальных частиц в совокупности образующих тело.
Поперечные сечения стержня в зависимости от характера нагрузки и её ориентации к оси его сближаются, удаляются, поворачиваются относительно друг друга и первоначального положения. Изменения в положении поперечных сечений в совокупности определяют геометрическую форму деформированного стержня
.
Изменение взаимного положения материальных частиц тела порождает силы сопротивления. Движение частиц прекращается, когда внутренние силы взаимодействия их уравновесят внешние силы (нагрузку). Превышение сил внутреннего сопротивления ведёт к разрушению связей между ними и, в конечном итоге, к разрушению тела.
Изменения положения материальных частиц количественно оценивается "деформациями" (линейными и угловыми), а соответствующие силы сопротивления "напряжениями" (нормальными и касательными). Связи между ними подчиняются физическим законам. При малых геометрических изменениях форм и размеров эти связи практически линейные и выражаются законом Гука. Изменение положения поперечных сечений стержня характеризуются "перемещениями" (линейными и угловыми), а суммарное (интегральное) значение сил сопротивления всех материальных точек в сечении "внутренними силовыми факторами".
Основные механические свойства материала:
упругость - способность деформироваться (получать геометрические искажения, наблюдаемые по изменению положения материальных точек и перемещениям сечений) и восстанавливать первоначальное состояние после разгрузки,
пластичность (деформируемость) - способность до разрушения существенно деформироваться и сохранять полученные изменения (остаточные) после разгрузки. (хрупкость – свойство противоположное пластичности),
прочность - способность сопротивляться разрушению связей между материальными частицами.
Количественно эти свойства определяются соответствующими характеристиками, которые можно получить только экспериментальным путем.
Сервис онлайн-записи на собственном Telegram-боте
Попробуйте сервис онлайн-записи VisitTime на основе вашего собственного Telegram-бота:
— Разгрузит мастера, специалиста или компанию;
— Позволит гибко управлять расписанием и загрузкой;
— Разошлет оповещения о новых услугах или акциях;
— Позволит принять оплату на карту/кошелек/счет;
— Позволит записываться на групповые и персональные посещения;
— Поможет получить от клиента отзывы о визите к вам;
— Включает в себя сервис чаевых.
Для новых пользователей первый месяц бесплатно.
Зарегистрироваться в сервисе
Условия испытаний (скорость приложения нагрузки, температура) оказывают весьма существенное влияние на их значения.
Лабораторные испытания производится в, так называемых, нормальных условиях: с небольшими скоростями изменения нагрузки (статическое нагружение) при температуре примерно 20С0
.
Диапазоны температур и скорости изменения нагрузок, при которых реально работают материалы, могут существенно отличаться от нормальных условий и учет их влияния на механические свойства производится соответствующими испытаниями. Скорость изменения нагрузок и температура настолько меняют свойства материалов, что один и тот же материал может оказаться хрупким в одних условиях и пластичным в других.
Испытание материалов в условиях длительного действия переменных нагрузок и напряжений для определения выносливости выявляет в них свойство усталости, при повышенных температурах свойства ползучести, релаксации.
Лабораторные работы проводятся коллективно под руководством преподавателя. Отчёты выполняются индивидуально и подлежат защите.
Требования к оформлению и содержанию отчёта
Титульный лист: название института, кафедра, лабораторная работа, автор отчёта (Ф.И.О., номер группы), преподаватель (Ф.И.О.), город, год.
Содержание отчёта:
Цель.
I. Tеория (краткое изложение теоретических представлений).
II. Эксперимент.
1. Оборудование.
2. Эскиз образца до и после испытания (в работах по определению механических характеристик материалов).
3. Схема эксперимента.
4. Таблицы наблюдений.
5. Обработка экспериментальных данных.
6. Результаты.
7. Выводы.
В тексте отчёта не допускаются сокращения слов и аббревиатуры, кроме общепринятых.
Лабораторная работа № 1
СОСРЕДОТОЧЕННАЯ И РАСПРЕДЕЛЁННАЯ НАГРУЗКА
Цель: Определить количественно понятие "сосредоточенная сила" для деформируемого тела.
I. Теория.
 В механике, по определению, сила есть количественная мера взаимодействия тел
. В любой конструкции взаимодействие образующих её элементов (деталей) осуществляется посредством контактов по поверхностям, которые могут иметь различные размеры.
Понятие "сосредоточенная сила
" предполагает, что взаимодействие происходит в точке или по линии, то есть по поверхности с площадью равной нулю. Это предположение имеет смысл, если взаимодействующие тела являются "абсолютно" твёрдыми. Для них распределённые по поверхности силы можно определить равнодействующей силой сосредоточенной в одной точке (рис.1.1). Именно таким образом представляются силы в "Теоретической механике", где изучается движение тел и условия их равновесия, когда изменение форм и размеров тел является несущественным.
В "Сопротивлении материалов" изучается деформирование тел
, использование в нём понятия "сосредоточенная сила" требует уточнения.
Действительно, равнодействующая сила на площади контакта создаёт среднее давление .
Для точечного контакта необходимо допустить существование давления и способность материала сопротивляться ему. Сопротивление реальных тел не бесконечно, в контакте их может произойти смятие или разрушение материалов. Любой точечный контакт превращается в поверхность конечных размеров.
Очевидно, упрощенное представление распределённых сил их равнодействующей сосредоточенной силой можно применять в тех случаях, когда размеры контактирующей поверхности много меньше размеров деформируемых тел. Тем не менее, для определения сопротивления материала в зоне контакта и вблизи его это представление является недопустимым. Понятие "сосредоточенная сила" используется в расчётных схемах (упрощенное представление деформируемых конструкций), когда действие реальных распределённых сил можно считать эквивалентным действию их равнодействующей сосредоточенной силой (рис.1.2).
Так, для изгибаемого стержня действие распределённых сил и сосредоточенных проявляется в том, что его поперечные сечения перемещаются по вертикали и поворачиваются, ось искривляется. В поперечных сечениях возникают внутренние силы.
Результаты действия нагрузок определяются различными параметрами: формой искривления, перемещениями характерных поперечных сечений стержня (ими являются обычно сечения, получающие самые большие перемещения линейные и угловые), величиной внутренних сил (изгибающими моментами и напряжениями).
По любому из этих параметров можно сформулировать условие эквивалентности (равенства) их действия. Очевидно, полное соответствие не достижимо, оно может быть приближённым.
Условия эквивалентности с различной точностью соблюдения соответствия можно формулировать по разным параметрам и из них теоретически или экспериментально определить соотношение между размерами контактирующей поверхности и деформируемого стержня, при котором распределённую нагрузки можно заменить в расчётах её равнодействующей сосредоточенной. Условия эквивалентности можно записать, н/п, в виде:
с точностью 3%, с точностью 5%,
с точностью 5% или иной, и т.д. На рис.1.3 для стержня рис.1.2 показано уменьшение стрелы прогиба и напряжений с увеличением длины контактной поверхности равномерного давления в сравнении с этими же параметрами при его нагрузке сосредоточенной силой. Здесь же приведены результаты определения отношения по двум условиям эквивалентности при точности их соблюдения 3%.
Можно заметить, что разным условиям эквивалентности отвечают разные отношения и, если при определении стрелы прогиба равномерно распределённую нагрузку на длине можно заменить равнодействующей сосредоточенной, то при вычислении напряжений на длине .
Таким образом, количественно определить понятие "сосредоточенная сила " для деформируемых тел – это значит установить соотношение между размерами контактирующей поверхности и размерами тел, при соблюдении которого действие распределённой нагрузки (по выбранному параметру) будет эквивалентно с принятой точностью действию её заменяющей сосредоточенной нагрузки.
II. Эксперимент
1. Машина для испытаний (указать).
2. Деформируемый стержень.
3. Набор призм.
4.
Устройство для измерения стрелы прогиба. 5. Линейка.
Размер контактной зоны определяется числом призм. Стержень многократно деформируется упруго
. Для получения сравниваемых результатов необходимо после разгрузки каждый раз индикатор устанавливать на ноль и соблюдать, чтобы значение нагрузки при всех размерах контактной зоны было одинаково.
Таблица наблюдений
Экспериментальные результаты имеют разброс. Для каждого размера контактной поверхности необходимо осуществить несколько измерений и вычислит среднее арифметическое.
Обработка экспериментальных результатов
По полученным результатам построить график с равномерной оцифровкой осей координат (рис.1.5). Поле графика должно иметь размеры не менее 10х15 .
Указать на поле графика все экспериментальные точки (средние значения из таблицы) и провести усредняющую линию (удовлетворяющую условию , где есть отклонение экспериментального значения от усредняющей линии, n
–
число точек). Значение находится экстраполяцией (продлением линии на ).
По полученному графику для принятой точности установить длину контактной зоны (действия показаны тремя стрелками для точности 3%).
Выводы
: должны содержать ответ на поставленную цель
с анализом возможных погрешностей в оценке результата.
Вопросы для самопроверки см. стр. 38.
Лабораторная работа № 2
ИСПЫТАНИЕ НА РАСТЯЖЕНИЕ
Цель: 1) определить механические характеристики материала (упругости, прочности, пластичности).
2) назначить допускаемое напряжение.
I. Теория.
Вся информация о механических свойствах материала и их характеристиках содержится в диаграмме деформирования
стержня специальной формы (образца). Она представляется как зависимость между силой, действующей на образец, и его удлинением.
На рис.2.1. изображены схематизированные
диаграммы растяжения стержней из пластичного и хрупкого материала. На них отмечены характерные точки и соответствующие зоны поведения материала в процессе деформирования. Диаграммы такого вида позволяют получать регистрирующие устройства специальных машин предназначенных для экспериментальных испытаний и называются они машинными
.

I. Зона упругого деформирования
.
Для всех материалов действителен до некоторых пределов закон Гука, до которых зависимость изменения длины стержня от нагрузки отображается практически прямой линией. Отклонение от прямой линии свидетельствует о появлении необратимых изменений в материале.
В пределах этой зоны до нагрузки соответствующей пределу пропорциональности образец можно многократно нагружать и разгружать, материал практически не претерпевает структурных изменений. Механизм упругого деформирования - обратимые упругие искажения кристаллической решетки.
Значение нагрузки можно определить только по диаграмме, отметив точку, где наблюдается при дальнейшем увеличении нагрузки отклонение от прямой линии упругого деформирования.
Линию упругого деформирования у хрупких материалов только условно можно считать прямой и до некоторой точки, начиная с которой наблюдается существенное искривление диаграммной кривой (см. рис.2.1,b).
II. Зона текучести
(для малоуглеродистых сталей).
Здесь практически при неизменной величине нагрузки происходит значительное изменение длины образца. При входе в эту зону возможны колебания нагрузки. Зона текучести может иметь значительную протяженность (площадку текучести) и достигать (2-3)% первоначальной длины образца, тогда как зона упругости едва превышает (0,1-0,2)%.
Механизм пластической деформации - необратимые смещения (сдвиги) в кристаллической решетке.
Для материалов, не имеющих площадки текучести (медь, бронза, латунь, стали с содержанием углерода больше 0,4% и с легирующими добавками), значение этой нагрузки устанавливается условно по величине остаточной деформации 0,2%.
III. З
она упрочнения
до .
Материал претерпевает по всему объему образца значительные структурные изменения: дробление кристаллитов, увеличение дефектов кристаллического строения. Образец удлиняется, сохраняя первоначальную форму (однородное деформирование
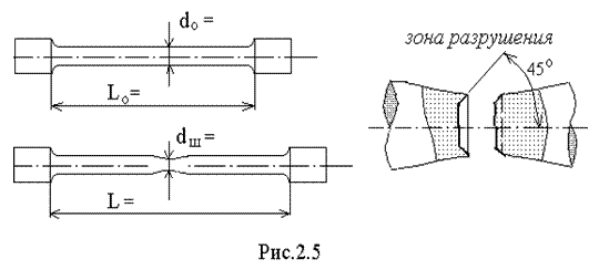
). Поверхность, если она была тщательно обработана, покрывается сеткой тонких линий – «линий скольжения» с направлением 450
к оси образца. В этих направлениях действуют максимальные касательные напряжения.
На любой стадии деформирования можно произвести разгрузку. При разгрузке упругие искажения кристаллической решётки материала устраняются и сохраняются необратимые изменения размеров образца (остаточные деформации
). На диаграмме линия разгрузки параллельна линии начального упругого деформирования (рис.2.1,а). После разгрузки повторное нагружение образца изображается линией, которая практически совпадает с линией разгрузки и выходит далее на основную кривую. В результате наблюдается увеличение длины линии упругого деформирования ( ).
Явление увеличения предела пропорциональности в результате предварительного пластического деформирования называется упрочнением
или наклепом
, оно получило весьма широкое применение в технике. Так, для повышения сопротивления поверхностного слоя деталей их наклеп осуществляется обкаткой роликами, ударами стальной дробью и другими технологическими приёмами.
При достижении максимальной нагрузки однородное деформирование материала образца прекращается, наступает заключительная стадия IV
- неоднородное деформирование
и разрушение при .
Начиная с возникает и развивается место будущего разрыва - шейка
. Материал до самого разрушения образца не теряет способности сопротивляться, но с уменьшением площади поперечного сечения требуется меньшая нагрузка для деформирования. "Где тонко – там и рвётся!" Разрыв происходит с шумом из-за мгновенного высвобождения энергии упругого деформирования.
Составив две части разорванного образца, можно установить остаточное изменение длины образца, а обмером шейки определить изменение площади поперечного сечения.
Диаграммы растяжения других пластичных конструкционных материалов отличаются отсутствием или разной протяжённостью площадки текучести, зон упрочнения и разрушения.
Диаграммы растяжения хрупких материалов содержат, в основном, зону упругого деформирования и зону нелинейного (неупругого) деформирования, которое заканчивается разрушением.
Основные механические характеристики материала
От диаграммы деформирования образца в координатах "нагрузка – изменение длины", которая определяет свойства образца из соответствующего материала, несложно перейти к диаграмме в координатах "напряжение – деформация", которая будет характеризовать только свойства материала (рис.2.2). Диаграмма, построенная без учета изменения площади поперечного сечения ( - начальная площадь поперечного сечения образца, - начальная длина) в координатах
, , называется условной
.
Диаграмма, построенная с учетом изменения площади поперечного сечения , называется истинной
.
В начальной стадии деформирования изменение поперечных размеров образца несущественно и условные и истинные напряжения практически одинаковы, отличия их заметны только при существенных пластических деформациях.
Для получения истинной диаграммы необходимо производить измерения поперечных размеров образца в процессе эксперимента, что представляет определенные технические трудности. Истинная диаграмма используется в решении технологических вопросов связанных с образованием больших деформаций (штамповка, вытяжка, гибка, резание).
Упругие свойства материала характеризуют
:
1. модуль упругости
(жесткость материала). Им определяется связь между напряжениями и деформациями при упругом деформировании (закон Гука
: ).
На диаграмме "напряжение – деформация" (рис.2.2,а) модуль упругости характеризуется углом наклона прямой линии упругого деформирования
.
2. коэффициент Пуассона
определяет соотношение между поперечной деформацией и продольной: .
Примечание
: для определения коэффициента Пуассона необходимо в процессе эксперимента измерять изменение поперечных размеров стержня. В данной работе не проводятся эти измерения. Теоретическое значение коэффициента при упругом деформировании материала 0.25, при пластическом деформировании его значение 0.5 (объем не меняется).
3. предел пропорциональности
- наибольшее напряжение, до которого материал подчиняется закону Гука.
Предел пропорциональности можно ассоциировать с пределом упругости, понимая под пределом упругости напряжение, до которого материал не получает остаточных изменений.
Величина предела пропорциональности (предела упругости) зависит от точности производимых измерений и требований, в которых начальный участок диаграммы можно представить прямой линией.

Характеристиками
прочности
материала являются
:
4. предел текучести
- напряжение, при котором происходит существенный рост деформации без изменения нагрузки:
.
Если на диаграмме "нагрузка – удлинение" нет выраженной площадки текучести, за предел текучести принимается условное напряжение соответствующее остаточной деформации 0,2% после разгрузки. На рис.2.2,b показана процедура его определения.
.
5. предел прочности
условный (временное сопротивление
) - максимальное напряжение, до которого образец сопротивляется нагрузке, не получая изменения формы, и которое может выдержать кратковременно
:
.
Истинный предел прочности – это напряжение, определяемое по истинной площади поперечного сечения (см. рис.2.2,b).
6. разрушающее напряжение
– истинное напряжение в месте разрыва образца ( - площадь поперечного сечения шейки):
.
Свойство материала деформироваться
(деформируемость) характеризуют:
7. относительное
остаточное удлинение
- средняя остаточная деформация, которая образуется к моменту разрушения образца (определяется в процентах %):
.
По величине материал можно классифицировать как хрупкий или пластичный. У весьма хрупких материалов может составлять доли процента и даже отсутствовать (керамика, стекло).
8. относительное
остаточное сужение
- остаточное изменение площади поперечного сечения образца в процентах %:

Эта характеристика бывает необходима при решении технологических задач формирования больших деформаций, н/п, при штамповке, вытяжке.
Механические характеристики конструкционных материалов можно найти в справочной литературе и сравнением с ними полученных характеристик в результате испытания образца можно установить его материал.
Образцы для испытаний
Применяют образцы цилиндрические и плоские. Они имеют усиленные места на концах (головки) с плавным переходом к протяженной рабочей части стержня. Резкий переход недопустим из-за концентрации напряжений и вероятности разрушения в этом месте. По этой же причине поверхность образца должна иметь высокое качество обработки. На рис.2.3 показано несколько форм образцов.
Длина рабочей части стержня круглого поперечного сечения принимается равной диаметров образца. Допускается использовать и более короткие образцы . В случае прямоугольного поперечного сечения с площадью A
рабочая длина определяется по диаметру равновеликого круга: . При установлении общей длины образца L
руководствуются правилом, которое называется принципом Сен-Венана
:
особенности приложения внешних сил проявляются на расстояниях, не превышающих размеров поперечного сечения стержня.
Это значит, что методы "Сопротивления материалов" исключают из рассмотрения части стержня примыкающие к зоне приложения внешних сил и ступенчатого изменения размеров поперечного сечения.
Общие размеры образцов назначаются в зависимости от возможностей испытательной машины и измерительных устройств, устанавливаемых на рабочей длине образца.
Машины для испытаний
Машины для экспериментальных исследований обычно являются универсальными и позволяют осуществлять испытания на растяжение, сжатие, изгиб. Возможности их определяются размерами рабочего пространства, в котором размещаются образцы и измерительные устройства, и создаваемым усилием. Усилие может создаваться грузами через систему рычагов, либо при помощи гидравлического давления. Соответственно принципу работы, машина называется рычажной или гидравлической.
Машины имеют устройства для записи диаграмм деформирования образцов. Изменение всей длины образца определяется смещением устройств крепящих образец, (захватов, платформ машины) относительно друг друга. Для точного измерения малых изменений части длины образца применяются специальные приборы, которые называют тензометрами. Тензометры устанавливаются на рабочей длине образца.
Тензометры
Назначение тензометров - регистрация малых изменений расстояний между двумя точками на поверхности деталей. По принципу действия они классифицируются на механические, оптические, индуктивные, емкостные, резистивные и т.д. Среди механических устройств широкое применение получил шарнирно-рычажный тензометр Гугенбергера (рис.2.4).
Основными техническими параметрами его являются база В
и коэффициент преобразования измеряемой величины (изменение В
) в регистрируемую S
(показание тензометра).
Коэффициент преобразования К
называется коэффициентом усиления тензометра. На рабочей части образца устанавливаются два тензометра на противоположных сторонах диаметральной плоскости. Среднее арифметическое их показаний позволяет исключить из результатов измерений погрешности от дополнительного изгиба стержня из-за возможного эксцентриситета приложения нагрузки (не совпадение с осью стержня)
Перед началом испытания (нагружением) образца стрелка тензометра устанавливается регулирующим механизмом на начало шкалы. Отсчёт значений нагрузки и показаний тензометра должен быть одновременным (синхронным).
Тензометрами можно зарегистрировать только упругую часть диаграммы со входом в зону пластического деформирования. Если шкалы тензометра недостаточно для регистрации всей упругой зоны (стрелка выходит за пределы шкалы), её следует переместить назад регулирующим винтом и продолжать измерения. При наличии площадки текучести стрелки тензометров зашкаливают (непрерывное движение) и их, чтобы не повредить, необходимо снять с образца.
II. Эксперимент
1. Машина для испытаний (указать).
2. Два тензометра Гугенбергера.
3. Штангенциркуль.
Образец
: Изобразить до и после испытания. Отдельным эскизом показать зону разрушения, например:
Схема испытания
: (изображена на рис.2.4, указать базу тензометра и коэффициент усиления). Таблица наблюдений
Машинная диаграмма
: привести копию диаграммы, полученной с помощью машины. На диаграмме отметить характерные точки и числовые значения соответствующих нагрузок (характерные нагрузки). Обработка экспериментальных результатов
Экспериментальные результаты "нагрузка – показания тензометров" можно преобразовать в результаты "напряжения – деформации"
, ,
затем построить график (рис.2.2,а), по которому непосредственно определяются модуль упругости, предел пропорциональности и предел текучести истинный или условный.
Целесообразней
эту часть диаграммы построить по значениям таблицы наблюдений. График (рис.2.6 как пример части диаграммы, не имеющей площадки текучести
) с равномерной оцифровкой осей и указанием размерности должен иметь размеры не менее 10х15 . Выделить все экспериментальные точки. Провести диаграммную линию, усредняющую их разброс, и линию упругого деформирования. Точка отклонения от неё укажет значение нагрузки соответствующей пределу пропорциональности. Для вычисления модуля упругости материала использовать координаты двух любых точек принадлежащих прямой линии.
Примечание
: Может оказаться, что тензометрами не зафиксировано начало пластического деформирования (построенный график представляет прямую линию), тогда предел пропорциональности устанавливается по машинной диаграмме аналогичным образом. Определение предела пропорциональности является довольно тонкой операцией, поэтому его значение не является столь надёжной характеристикой, как другие. Механические характеристики:
(снабжать техническими названиями и в окончательном представлении числовых значений использовать общепринятые размерности).
1. Модуль упругости
. Закона Гука при растяжении стержня, в котором напряжения и деформации принимает выражение
.
2. При измерении тензометрами , ,
, . Из закона Гука следует:
….(МПа)
, и , - координаты двух точек прямой линии на графике.
Все другие характеристики вычисляются по их определению (см. выше).
3. Предел пропорциональности
(МПа)
4. Предел текучести
(МПа).
При работе с графиком "
P
–
S
"
для установления нагрузки условного предела текучести вычисляется , соответствующее остаточной деформации (0.2%): .
Например, при работе с тензометрами :
.
5. Временное сопротивление
(МПа).
6. Разрушающее напряжение
(МПа).
7. Относительное остаточное удлинение
(%)
8. Относительное остаточное сужение
(%).
Выводы
: Наблюдаемые особенности деформирования и разрушения материала. Заключение о материале (хрупкий, пластичный), анализ возможных неточностей в количественных оценках определённых характеристик. Сравнение их со справочными и определение марки стали. Установление (назначение) допускаемого напряжения.
Вопросы для самопроверки см. стр. 38.
Назначение допускаемых напряжений
и запасы прочности (коэффициент надёжности)
Допускаемое напряжение - это напряжение, которое не рекомендуется превышать. Оно необходимо для выполнения расчётов на основе условия прочности
(проектных, при определении допускаемых нагрузок):

Допускаемые напряжения устанавливаются из очевидного соображения: максимальные напряжения в материалах должны быть меньше какого-то предельного, при достижении которого элементы конструкций из них теряют своё функциональное назначение (приобретают необратимые изменения форм, размеров, разрушаются). Соответственно, допускаемое напряжение определяется выражением:
, где - коэффициент запаса.
Предельным напряжением для материалов элементов конструкций длительного пользования, которые должны сопротивляться только упруго, должен бы быть предел пропорциональности. Однако, как можно заметить, определение его в значительной степени зависит от качества экспериментальных результатов и их обработки. По этой причине предел пропорциональности (упругости) в справочные данные по свойствам материалов обычно не включается. Объективными и надёжно определяемыми характеристиками являются предел текучести и предел прочности.
Предельным напряжением для пластичных материалов считается предел текучести
(истинный или условный в справочных данных не различаются), для хрупких - предел прочности
(временное сопротивление).
Коэффициент запаса назначается
и значение его должно быть всегда больше единицы
.
Казалось бы, чем больше запас прочности, тем надёжнее деталь в работе. Однако увеличение запаса прочности сверх необходимого ведёт к увеличению массы и габаритов деталей, что экономически невыгодно и в ряде случаев (например, в авиационных конструкциях) недопустимо.
При назначении запаса прочности принимают во внимание
свойства материала
, назначение
и условия эксплуатации
конструкции, серьёзность тех последствий
, которые могут возникнуть при её выходе из строя.
Расчётная практика и опыт эксплуатации конструкций различного назначения даёт некоторые рекомендации о значениях коэффициента запаса. Для конструкционных пластичных материалов общего машиностроения коэффициент запаса назначается в пределах .
Для хрупких материалов (закалённые сталей, чугуны) он примерно в два раза больше, чем для пластичных материалов.
Для весьма неоднородных хрупких материалов (камень, бетон, кирпич, дерево) даже в четыре - пять раз больше. Это является достаточно очевидным, поскольку эти материалы более чувствительны к различным повреждениям и дефектам. К тому же случайное повышение напряжений до предельного значения вызовет в пластичном материале только небольшие остаточные деформации, для хрупкого материала это будет разрушение.
Изучение вопросов о выборе коэффициента запаса входит как составная часть в такие дисциплины, как прикладная механика, строительная механика, прочность самолёта, корабля и др. конструкций.
При поверочных расчётах
, когда размеры элементов конструкции известны или назначены из соображений эксплуатационных или технологических, вычисляется
фактический коэффициент запаса .
По полученному значению принимается заключение о работоспособности детали, конструкции.
Лабораторная работа № 3
ИСПЫТАНИЕ НА СЖАТИЕ
Цель: 1) определить механические характеристики материалов.
2) назначить допускаемые напряжения.
I. Теория.
В теоретическом представлении поведение материалов при сжатии не отличается от их поведения при растяжения, однако, сравнение соответствующих экспериментальных диаграмм деформирования показывает их некоторое различие. У пластичных материалов оно наблюдается, в основном, после упругого деформирования (рис.3.1).
Для сжатия образец помещается между плитами пресса, которые, сближаясь, деформируют его. Укорачиваясь, образец расширяется в поперечных направлениях.
Если в процессе растяжения образцов некоторых пластичных материалов может наблюдаться площадка текучести, то при сжатии она практически отсутствует, так как площадь поперечного сечения образца увеличивается (при растяжении она уменьшается) и для поддержания текучести необходима возрастающая нагрузка. По этой же причине невозможно образец довести до разрушения, происходит сплющивание. Наблюдаемые изменения формы образца (бочкообразность) обусловлены трением его торцевых поверхностей с поверхностью сжимающих плит. С изменением формы образца напряжённое состояние материала уже не соответствует чистому однородному сжатию. Образец, если позволяет машина, можно превратить в тонкий диск с разрывами на боковой поверхности. Для получения однородного пластического сжатия образца необходимо исключить трение контактирующих поверхностей. Частично его можно устранить различными твёрдыми смазками (парафин, графит с глицерином, свинцовые прокладки).
Диаграмма сжатия пластичного материала менее информативна, чем диаграмма его растяжения.
По ней можно определить: предел пропорциональности, предел текучести (условный) и модуль упругости
. Характеристики упругости, определённые по результатам испытаний на растяжение и сжатие, практически одинаковы и принимаются таковыми в соответствующих расчётах. Сопоставление прочности при растяжении и сжатии ведётся по пределу текучести и принято считать .
О пластичности материала при сжатии можно судить только в сравнении с другими и качественно (более или менее пластичный).
Диаграмма сжатия хрупкого материала (рис.3.2) по своему виду не отличается от диаграммы растяжения и позволяет определить характеристики упругости, прочности, деформируемости: предел пропорциональности, модуль упругости, предел прочности (временное сопротивление), остаточное изменение длины образца (укорочение
). Разрушение образцов происходит с образованием трещин по наклонным плоскостям (без смазки торцевых поверхностей) и продольным (при смазке их). Смазка изменяет условия деформирования образцов и для их разрушения требуется большая нагрузка.
Если модуль упругости хрупкого материала при растяжении и сжатии можно определить одним значением, то все другие характеристики различны. Хрупкие материалы оказывают большее сопротивление (более высокая прочность) сжатию, чем растяжению. Сопоставление осуществляется отношением пределов прочности материала при растяжении и сжатии:
.
Для чугунов , для керамических материалов .
Хрупкие материалы с волокнистой структурой (дерево и некоторые пластмассы) способны сопротивляться растяжению лучше, чем сжатию.
Если свойства пластичного материала можно полностью определить испытанием только на растяжение, то свойства хрупкого материала только по совокупности результатов испытаний на растяжение и сжатие.
Образцы для испытаний
Форма образцов обычно цилиндрическая, используется и кубическая форма (дерево, бетон). Особенность геометрии образцов – они короткие, так как сжатие длинных (высоких) образцов приводит к их искривлению. Искривление происходит также оттого, что результирующая давления по торцу образца не всегда совпадает с его осью (эксцентриситет).
Отношение высоты образца к поперечному размеру не должно превышает 3.0, так что они, строго говоря, не являются стержнями, и принцип Сен-Венана не позволяет говорить об обеспечении чистого сжатия всего объема материала даже при смазке торцевых поверхностей.
II. Эксперимент
1. Машина для испытаний (указать тип машины).
2. Индикатор часового типа.
3. Штангенциркуль.
Образец устанавливается между плит пресса, одна из которых имеет сферическую опору. Её назначение – обеспечить параллельность сближения плит и равномерность давления по торцам образца. В процессе эксперимента заполняется отдельно таблица для каждого материала.
Таблица №
При сжатии образца из пластичного материала отсчёт показаний можно прекратить при появлении бочкообразной формы
. Количественные оценки процесса деформирования уже не представляют интереса. Дальнейшее деформирование можно продолжить только для удовлетворения любопытства (как сильно образец можно сплющить на этой машине?).
При сжатии образца из хрупкого материала таблица заполняется до момента разрушения. Только для весьма хрупких материалов (керамика, закалённые стали) момент разрушения может быть сразу зафиксирован.
Чтобы избежать рассеяния фрагментов, необходимо образцы закрывать предохраняющим материалом (тканью, сеткой). Это же необходимо делать в целях безопасности, если процесс сжатия осуществляется в машинном режиме. Не разделенный на фрагменты материал ещё способен сопротивляться нагрузкам меньшим . При образовании заметных трещин на поверхности образца эксперимент можно закончить.
Обработка экспериментальных результатов
По экспериментальным результатам таблицы можно построить графики, как на рис.3.1 и 3.2. Можно построить эти графики в координатах "напряжение – деформация" предварительно вычислив их, заполняя таблицу:
(МПа), (безразмерная величина)
По таким графикам (размеры не менее 10х15 ) все механические характеристики определяются непосредственно.
Для пластичного материал
а
:
1. Модуль упругости ….(МПа).
2. Предел пропорциональности (МПа).
3. Предел текучести (МПа).
Для хрупкого материала
:
1. Модуль упругости ….(МПа).
2. Предел пропорциональности (МПа).
3. Предел прочности (временное сопротивление) (МПа).
4. Остаточное укорочение (%),
При построении диаграммы сжатия хрупкого материала линию упругого деформирования (для установления предела пропорциональности и модуля упругости) условно можно считать прямой до точки, начиная с которой наблюдается существенное искривление диаграммной кривой.
Примечание:
В оформлении отчёта после общих теоретических представлений и схемы эксперимента содержательную часть (таблицу, график, механические характеристики) представлять последовательно для каждого материала.
Выводы
:
1. Наблюдаемые особенности деформирования и разрушения материалов.
2. Заключение о свойствах испытанных материалов в их сравнении и анализ возможных неточностей в количественных оценках их механических характеристик.
3. Для каждого материала установить значение допускаемого напряжения с обоснованием коэффициента запаса (см. указания в лабораторной работе "испытание на растяжение").
Вопросы для самопроверки см. стр. 38.
Лабораторная работа № 4
ИСПЫТАНИЕ НА КРУЧЕНИЕ
Цель: 1) определить механические характеристики материала,
2) назначить допускаемое напряжение.
I. Теория.
При кручении стержня диаграмму деформирования представляют в координатах "крутящий момент – угол закручивания" (рис.4.1).
В процессе деформирования круглого стержня
поперечные сечения, оставаясь плоскими, поворачиваются относительно первоначального положения. Угол закручивания - это поворот одного поперечного сечения относительно другого сечения удалённого на расстояние (рис.4.2). Стержень не получает изменения формы и размеров. При упругом кручении стержня распределение напряжений в поперечном сечении неравномерно - они линейно возрастают по мере удаления от центра:
. (1)
- полярный момент инерции сечения, - удаление материальной точки от оси стержня (центра сечения).
Неравномерность распределения напряжений в стержне из пластичного материала определяет особенность перехода от упругого деформирования к пластическому. После достижения предела пропорциональности наблюдается одновременно и упругое и пластическое деформирование: на поверхности образца возникает пластическое течение, внутри материал ещё сопротивляется упруго (точка В на рис.4.1). Даже при физической текучести материала (на диаграмме рис.4.1 она показана пунктирной линией) для поддержания процесса деформирования необходима возрастающая нагрузка. Для материалов с малой площадкой текучести на диаграмме кручения её можно не обнаружить.
После охвата всего поперечного сечения пластическим деформированием распределение напряжений в поперечном сечении становится практически равномерным.
Характер разрушения образцов из пластичных и хрупких материалов (точка С. на рис.4.1.) различен (рис.4.3). Образец из пластичного материала срезается по поперечному сечению. Хрупкий материал оказывает меньшее сопротивление растяжению, чем сжатию, и происходит отрыв по направлению растягивающих напряжений. По своей физической сущности кручение есть сдвиг
. При упругом деформировании закон Гука определяет линейную связь между касательными напряжениями и углом сдвига (изменение прямого угла у малого материального объёма в виде параллелепипеда, который предельным переходом стягивается в точку):
. (2)
G
- есть модуль упругости второго рода (если назвать Е
модулем первого рода), характеризует жесткость материала при сдвиге и коротко называется "модуль сдвига". Между модулями существует связь:
, (3)
где - коэффициент Пуассона.
Закон Гука (2) для стержня с выражением напряжений (2) и геометрической связью между углом закручивания и углом сдвига (рис.4.2), когда , принимает вид:
. (4)
Механические характеристики материала, устанавливаемые по результатам испытаний на кручение, определяют его способность сопротивляться сдвигу.
Сдвиг наблюдается также при растяжении и сжатии, и чистый сдвиг можно рассматривать как одновременное сжатие и растяжение во взаимно перпендикулярных направлениях (см. рис.4.3).
Представление напряженного состояния материала при растяжении и сдвиге кругами Мора (рис.4.4.) показывает что, характеристики материалов определяемые по результатам испытаний на кручение можно соизмерять с характеристиками, полученными из других испытаний.
Начальную часть диаграммы деформирования можно построить в координатах (рис.4.5), вычисляя по углу закручивания (см. рис.4.2) и напряжения по выражению (1) при : .
Отношение есть "полярный момент сопротивления сечения".
Такая диаграмма будет действительна до значения максимальных напряжений, пока распределение их изображается треугольником. Условно её можно считать такой же и при появлении текучести в поверхностном слое образца, пока изображение распределения напряжений ещё существенно не изменилось (рис.4.1, точка В).
Напряжения в момент разрушения определяют, считая распределение их в сечении стержня равномерным рис. 4.5 (точка С на диаграмме).
Из-за изменения распределения напряжений в поперечном сечении изменяется "полярный момент сопротивления
".
При упругом деформировании сплошного образца диаметром d
полярный момент инерции сечения равен
,
полярный момента сопротивления при : .
При пластическом деформировании (используется индекс Пл
.), когда во всех материальных точках сечения напряжения одинаковы, момент сопротивления увеличивается и он определяется выражением, которое получаем из связи между крутящим моментом и напряжениями при :

и, следовательно, .
По диаграмме деформирования в координатах также, как и по диаграмме при растяжении, можно определить модуль сдвига, предел пропорциональности и предел текучести (истинный или условный).
Заметим, что остаточная линейная деформация , по которой устанавливается условный предел текучести при растяжении и сжатии, при кручении трансформируется в остаточную угловую деформацию (рис.4.6). При обработке экспериментальных результатов получение диаграммы деформирования в координатах связано с дополнительной вычислительной работой, поэтому целесообразно
работать с диаграммой в показаниях регистрирующих устройств.
II. Эксперимент
1 Машина для испытаний на кручение.
2 Измеритель углов закручивания.
3 Штангенциркуль.
Образец.
В отличие от образца на растяжение головки образца для испытаний на кручение должны иметь зацентровку и плоские поверхности (лыски) для передачи момента.
Машина для испытаний на кручение
(крутильная), рис.4.8. Машина имеет привод (червяк – червячное колесо) и движение через образец передаётся на маятник, который, отклоняясь, создаёт своим весом момент уравновешиваемый моментом привода. Маятник перемещает рейку измерителя момента, который вращает диск относительно неподвижного сектора. Диск и сектор имеют деления и, в целом, образуют штангенциркуль с круговой шкалой. Отсчёт значений момента в кГм с точностью 0,1 кГм.
Для измерения углов поворота головок образца маятниковая опора и червячное колесо привода снабжены градусными шкалами.
Измеритель углов закручивания, рис.4.9.
Устройство состоит из двух скоб и индикатора часового типа. Скобы устанавливаются на удалении друг от друга и таким образом, чтобы конец одной скобы упирался в головку индикатора, закреплённого на другой скобе. Расстояние между скобами образует расчётную длину для определения поворота одного сечения относительно другого. Значение угла вычисляется по показаниям индикатора S
удалённого от оси стержня на расстояние R
.
После установки скоб измерить и R
.
Индикатор позволяет измерить перемещение , что при его установке на расстояние от оси стержня соответствует углу поворота . В большинстве случаев этого бывает достаточно, чтобы без переустановки скобы с индикатором снять начальную часть диаграммы деформирования. Следует, задаваясь равномерным приращением угла закручивания, снимать показания измерителя момента.
Таблица наблюдений
Переход от упругого деформирования к пластическому можно наблюдать по не пропорциональному изменению момента углу закручивания.
Для наблюдения всего процесса деформирования образца провести мелом на его поверхности прямую линию (образующую). Её наклон будет показывать угол сдвига. После прохождения зоны упруго-пластического деформирования снять с образца измеритель углов закручивания и нагружать образец до разрушения. Зафиксировать максимальное значение нагрузки в момент разрушения и угол закручивания по градусной шкале червячного колеса..
Разрушение образца происходит внезапно, закрепляющие клинья и части образца освобождаются из захватов машины и падают вниз, маятник совершает колебательные движения.
Обработка экспериментальных результатов
На поле не менее 10х15 по значениям таблицы построить график (рис.4.10) с равномерной оцифровкой осей и указанием размерности. Выделить все экспериментальные точки.
Провести диаграммную линию, усредняющую их разброс, и к ней касательную прямую линию, определяющую упругое деформирование по закону Гука. Отметить точки на прямой линии и соответствующие им числовые значения на осях координат для вычисления модуля упругости, предела пропорциональности, предела текучести. Механические характеристики
1. Модуль сдвига
: = = …(МПа).
Полученный результат следует сравнить со значением, следующим из (3) (по модулю упругости определённому при испытании на растяжение
).
2. Предел пропорциональности
– это максимальное значение напряжений, с превышением которых наблюдается отклонение от закона Гука
= …(МПа).
3. Предел текучести
(истинный или условный).
= …(МПа).
Полярный момент сопротивления принимается таким же, как и при упругом деформировании (обоснование см. теория).
Для определения остаточный угол сдвига перечисляется в соответствующий угол закручивания (см. рис.4.2.) и затем в показания индикатора: .
Например, для стержня диаметром при и при получаем .
4. Временное сопротивление
(предел прочности, оно же и разрушающее напряжение)
= …(МПа).
5. Остаточный угол сдвига
(характеризует способность материала пластическому деформированию, аналогично остаточному удлинению при растяжении). Определяется по остаточному углу закручивания головок образца. Для пластичного материала обычно это большой угол (головки могут быть повёрнуты относительно друг друга на несколько оборотов) и выражение его связи с углом сдвига (рис.4.2) нельзя упростить:
=…(рад, градусы).
Остаточный угол сдвига можно увидеть и грубо оценить по меловой линии на поверхности образца – она становится винтовой.
Выводы
:
Наблюдаемые особенности деформирования и разрушения материала.
Заключение о свойствах материалов и назначение допускаемого напряжения (см. рекомендации в "испытание на растяжение").
Вопросы для самопроверки см. стр. 38.
Лабораторная работа № 5
ИСПЫТАНИЕ НА ИЗГИБ
Цель: 1) определить механические характеристики материала,
2) назначить допускаемое напряжение.
I. Теория.
Множество элементов конструкции сопротивляется изгибу, а пластический изгиб является распространённой технологической операций при их изготовлении.
При изгибе стержней происходит одновременно растяжение и сжатие материала, поэтому в сравнении со стандартными испытаниями на растяжение и сжатие испытание на изгиб не даёт существенно новой информации, и характеризуют их сопротивление только изгибу.
Стержни из пластичных материалов могут получать значительные изменения формы без разрушения и поэтому их испытания на изгиб бывают, в основном, технологическими с целью определения способности материала в холодном или нагретом состоянии принимать требуемый по размерам и форме загиб. Отсутствие после загиба трещин, надрывов, расслоений или излома в таких испытаниях является признаком, что материал выдержал пробу.
Испытание на изгиб стержней их хрупких материалов
осуществляются с целью получения механических характеристик и в силу простоты проведения эксперимента результаты имеют высокую достоверность.
В испытаниях на сжатие сложно обеспечить однородное сжатие. Испытания на растяжение ставят высокие требования к качеству образцов и выполнения эксперимента и практически всегда разрушение происходит в месте сопряжения стержня с головками и некоторым изгибом от внецентренного приложения нагрузки. Результаты таких испытаний имеют существенный разброс.
Изгиб стержней обычно осуществляется по схеме рис.5.1. Форма поперечного сечения круг или прямоугольник.
Диаграмма деформирования стержня показывает связь нагрузки со стрелой прогиба.
На диаграмме можно отметить прямой линией упругое деформирование материала по закону Гука и нелинейную часть до наступления разрушения. Начальная часть диаграммы может иметь нелинейный участок из-за смятия материала на опорах и смещения стержня вниз, которое фиксируется измерителем стрелы прогиба. Предварительная нагрузка и разгрузка устраняет этот участок.
Аналитическая связь между нагрузкой и стрелой прогиба при упругом деформировании стержня устанавливается из уравнения упругой кривой, которое можно получить интегрированием приближённого дифференциального уравнения
,
где R
- радиус кривизны в точке с координатами , или непосредственно, используя универсальное уравнение (метод начальных параметров):
.
Начальные параметры – это линейное и угловое перемещение сечения стержня в начале координат.
В начале координат , а угол поворота находим из условия отсутствия линейного перемещения на другой опоре.
При подстановке из уравнения следует: .
С этим выражением уравнение кривой имеет вид
.
Из него ( ) находим стрелу прогиба: . (1)
В этом же сечении (см. диаграмму на рис.5.1.) нормальные напряжения будут равны: . (2)
При нагрузке эти напряжения будут равны пределу пропорциональности , а при максимальной нагрузке пределу прочности .
- осевые момент инерции и момент сопротивления поперечного сечения стержня.
II. Эксперимент
1. Машина для испытаний (указать тип машины).
2.
Измеритель стрелы прогиба. 3. Линейка.
Образец:
(указать материал, сечение, размеры, вычислить ). Изобразить зону разрушения.
Таблица наблюдений
Обработка экспериментальных результатов
График с равномерной оцифровкой осей (рис.5.3) и указанием размерности должен иметь размеры не менее 10х15 .
Провести диаграммную линию, усредняющую разброс экспериментальных значений, и к ней касательную прямую линию, определяющую упругое деформирование материала по закону Гука. Отметить точки на прямой линии и соответствующие им числовые значения на осях координат используемые для вычисления модуля упругости материала и предела пропорциональности. Механические характеристики
1. Модуль упругости:
из (1) …(МПа)
2. Предел пропорциональности
: из (2) …(МПа).
3. Предел прочности
(временное сопротивление при изгибе с индексом и
)
…(МПа).
Выводы
.
Наблюдаемые особенности деформирования и разрушения материала.
Заключение о свойствах материала и анализ возможных неточностей в количественных оценках характеристик. Назначить величину допускаемого напряжения с обоснованием выбора коэффициента запаса.
Вопросы для самопроверки см. стр. 38.
Механические характеристики материалов
Модули упругости и коэффициенты Пуассона
| Материалы
|
Е, Мпа
|
G, МПа
|

|
| Стали углеродистые, легированные
|

|

|

|
| Чугуны
|

|

|

|
| Дерево вдоль волокон
|

|

|
| Материалы
|
,(МПа)
|
, (МПа
|
, (%)
|
| Сталь качественная 08
|
200
|
320
|
33
|
| Сталь качественная 10
|
210
|
340
|
31
|
| Сталь качественная 20
|
250
|
420
|
25
|
| Сталь качественная 30
|
300
|
500
|
21
|
| Сталь качественная 40
|
340
|
580
|
19
|
| Сталь качественная 50
|
380
|
640
|
14
|
| Сталь качественная 80
(закалка, отпуск)
|
950
|
1100
|
6
|
| Сталь качественная
Ст45 (≈Ст6)
|
610
|
36 (300-310)
|
16 (11-13)
|
| Сталь обыкновенного качества Ст3 (≈Ст20)
|
220-240
|
380-470
|
21-23
|
| Сталь мостостроения М16С
|
230
|
380
|
24-28
|
| Сталь 09Г2
|
300
|
450
|
18
|
| Сталь низколегированная
15ХСНД
|
350
|
520
|
18
|
| Сталь качественная 65Г
|
440
|
750
|
9
|
| Сталь цементируемая 15Х (закалка,отпуск)
|
500
|
700
|
12
|
| Сталь легированная 40Х
|
800
|
1000
|
10
|
| Сталь легированная 45Х
|
850
|
1050
|
9
|
| Сталь легированная 35ХМ
|
850
|
950
|
11
|
| Сталь легированная 50ХН
|
900
|
1100
|
9
|
| Сталь пружинная 60С242А (закалка, отпуск)
|
1600
|
1750
|
5
|
| Сталь инструментальная Р9 (закалка, отпуск)
|
-
|
1040
|
-
|
| Сталь инструментальная 9ХС (закалка, отпуск)
|
1700
|
1730
|
-
|
| Сталь Н18К9М5Т высокопрочная
|
1900
|
2100
|
8
|
Вопросы для самопроверки:
1. Что означает "сосредоточенная нагрузка" для деформируемых тел?
2. Назвать основные механические свойства материалов.
3. Какие характеристики определяют упругие свойства материала?
4. Какие характеристики определяют прочность материалов?
5. Какие характеристики определяют пластичность, хрупкость материалов?
6. Что характеризует модуль упругости материала и как он определяется при растяжении, при сжатии, при кручении, при изгибе?
7. Что такое предел пропорциональности и как определить его значение?
8. В чём отличие условного предела текучести и физического?
9. Что такое коэффициент запаса и из каких соображений назначается его величина?
10. Как назначить допускаемое напряжение для пластичного материала?
для хрупкого?
11. Почему предел пропорциональности не используется при назначении величины допускаемых напряжений?
12. В чём отличие условного предела прочности от истинного?
13. Что больше: предел прочности или разрушающее напряжение?
14. Как экспериментально измерить упругие деформации и перемещения при растяжении образца, при сжатии, при кручении, при изгибе?
Литература
1. Феодосьев В.И. Сопротивление материалов. - М.: Наука, 1979, 560 с.
2. Беляев Н.М. Сопротивление материалов. –М.: Наука, 1965.
3. Писаренко Г.С. и др. Сопротивление материалов. –Киев: "Вища школа",1974, 672 с.
4. Сидорин И.И. и др. Основы материаловедения. –М.: Машиностроение, 1976, 436 с.
5. Авдеев Б.А. Техника определения механических свойств материалов. –М.: Машгиз., 1958, 475 с.
Анфилофьев Александр Васильевич
Методические указания к лабораторным работам
Подписано к печати
Формат 60х84/16. Бумага офсетная.
Плоская печать. Усл.печ.л. Уч. Изд.л.
Тираж 250 экз. Заказ Цена свободная
ИПФ ТПУ. Лицензия ЛТ №1 от 18.07.94.
Типография ТПУ, 634050, г. Томск, пр. Ленина, 30
|