| Федеральное агентство по строительству
и жилищно-коммунальному хозяйству
Управление государственной собственности
Государственное учреждение
Инновационный образовательный центр «Новый город»
Техническая механика
Методические указания и контрольные задания
для студентов-заочников
средних специальных учебных заведений
по специальностям:
2912 «Водоснабжение и водоотведение»
2913 «Монтаж, наладка и эксплуатация электрооборудования промышленных и гражданских зданий»
2914 «Монтаж и эксплуатация внутренних сантехнических устройств и вентиляции»
2915 «Монтаж и эксплуатация оборудования и систем газоснабжения»
Москва
2005
| СОГЛАСОВАНО
Управление государственной собственности
«7» февраля 2005 г.
|
Методические указания составлены в соответствии с примерной программой по дисциплине «Техническая механика», согласованной Управлением государственной собственности 10.02.2003 г.
по специальностям:
2912 «Водоснабжение и водоотведение»,
2913 «Монтаж, наладка и эксплуатация электрооборудования промышленных и гражданских зданий»,
2914 «Монтаж и эксплуатация внутренних сантехнических устройств и вентиляции»,
2915 «Монтаж и эксплуатация оборудования и систем газоснабжения»
Государственное учреждение Инновационный образовательный центр «Новый город».
|
Составитель -
преподаватель Саратовского
техникума отраслевых технологий И.В. Михайлова
Рецензент- преподаватель Новороссийского
техникума градостроительства и экономики И.В. Николаева
Ответственный за выпуск В.Д. Угдыжекова
В методических указаниях приведены рекомендации по изучению программного материала, вопросы для самоконтроля, рекомендации по выполнению контрольной работы, задание на контрольную работу.
Предназначены для оказания помощи студентам-заочникам в организации их самостоятельной работы над изучением дисциплины «Техническая механика».
Замечания, предложения и пожелания по методическим указаниям направлять в Государственное учреждение Инновационный образовательный центр «Новый город» по адресу: 107078, г. Москва, ул. Новорязанская, д.16
I. ПОЯСНИТЕЛЬНАЯ ЗАПИСКА
Учебной дисциплиной «Техническая механика» предусматривается изучение общих законов движения и равновесия материальных тел, основ расчета элементов конструкций на прочность, жесткость и устойчивость, а также деталей машин и механизмов. Дисциплина состоит из разделов: «Теоретическая механика», «Основы сопротивления материалов» и «Детали механизмов и машин».
Забиваем Сайты В ТОП КУВАЛДОЙ - Уникальные возможности от SeoHammer
Каждая ссылка анализируется по трем пакетам оценки: SEO, Трафик и SMM.
SeoHammer делает продвижение сайта прозрачным и простым занятием.
Ссылки, вечные ссылки, статьи, упоминания, пресс-релизы - используйте по максимуму потенциал SeoHammer для продвижения вашего сайта.
Что умеет делать SeoHammer
— Продвижение в один клик, интеллектуальный подбор запросов, покупка самых лучших ссылок с высокой степенью качества у лучших бирж ссылок.
— Регулярная проверка качества ссылок по более чем 100 показателям и ежедневный пересчет показателей качества проекта.
— Все известные форматы ссылок: арендные ссылки, вечные ссылки, публикации (упоминания, мнения, отзывы, статьи, пресс-релизы).
— SeoHammer покажет, где рост или падение, а также запросы, на которые нужно обратить внимание.
SeoHammer еще предоставляет технологию Буст, она ускоряет продвижение в десятки раз,
а первые результаты появляются уже в течение первых 7 дней.
Зарегистрироваться и Начать продвижение
По данной дисциплине предусматривается выполнение одной домашней контрольной работы, охватывающей все разделы примерной учебной программы.
Изучать дисциплину рекомендуется последовательно по темам, в соответствии с примерным тематическим планом и методическими указаниями к ним. Степень усвоения материала проверяется умением ответить на вопросы для самоконтроля, приведенные в конце темы.
Материал, выносимый на установочные и обзорные занятия, а также перечень выполняемых лабораторных работ и практических занятий определяются учебным заведением исходя из профиля подготовки выпускника, контингента студентов (работающих и не работающих по избранной специальности) и соответствующих рабочих учебных планов по специальностям.
На установочных занятиях студентов знакомят с программой дисциплины, методикой работы над материалом и выполнения домашней контрольной работы.
Варианты контрольной работы составлены применительно к действующей примерной программе по дисциплине. Выполнение домашней контрольной работы определяет степень усвоения студентами изучаемого материала и умения применять полученные знания при решении практических задач.
Обзорные лекции проводятся по сложным для самостоятельного изучения темам программы. Проведение лабораторных и практических занятий предусматривает своей целью закрепление теоретических знаний и приобретение практических умений по учебной дисциплине.
Учебный материал рекомендуется изучать в той последовательности, которая дана в методических указаниях:
- ознакомление с примерным тематическим планом и методическими указаниями по темам;
- изучение программного материала по рекомендуемой литературе;
- составление ответов на вопросы самоконтроля, приведенные после каждой темы.
В результате изучения дисциплины студент должен:
иметь представление:
- об общих законах движения и равновесия материальных тел;
- о видах деформаций;
знать:
- законы механического движения и равновесия;
- методы механических испытаний материалов;
- методы расчета элементов конструкции на прочность, устойчивость при различных видах нагружения;
уметь:
- определять координаты центра тяжести тел;
- выполнять расчеты на прочность и жесткость.
При изложении материала необходимо соблюдать единство терминологии, обозначений, единиц измерения в соответствии с действующими стандартами (ГОСТами и СНиПами).
Сервис онлайн-записи на собственном Telegram-боте
Попробуйте сервис онлайн-записи VisitTime на основе вашего собственного Telegram-бота:
— Разгрузит мастера, специалиста или компанию;
— Позволит гибко управлять расписанием и загрузкой;
— Разошлет оповещения о новых услугах или акциях;
— Позволит принять оплату на карту/кошелек/счет;
— Позволит записываться на групповые и персональные посещения;
— Поможет получить от клиента отзывы о визите к вам;
— Включает в себя сервис чаевых.
Для новых пользователей первый месяц бесплатно.
Зарегистрироваться в сервисе
II
. ПРИМЕРНЫЙ ТЕМАТИЧЕСКИЙ ПЛАН
| № темы
|
Разделы и темы
|
| 1.1
1.2
1.3
1.4
1.5
1.6
1.7
1.8
1.9
1.10
|
Введение
Раздел 1. Теоретическая механика
Статика
Основные понятия и аксиомы статики
Плоская система сходящихся сил
Пара сил
Плоская система произвольно расположенных сил
Пространственная система сил
Центр тяжести тела
Элементы кинематики и динамики
Кинематика точки
Простейшие виды движения твердого тела
Основные понятия и аксиомы динамики
Работа и мощность
|
| 2.1
2.2
2.3
2.4
2.5
2.6
2.7
2.8
|
Раздел 2. Основы сопротивления материалов
Основные положения
Растяжение и сжатие
Практические расчеты на срез и смятие
Геометрические характеристики плоских сечений
Изгиб
Сдвиг и кручение
Гипотезы прочности
Устойчивость центрально-сжатых стержней
|
| 3.1
3.2
3.3
3.4
3.5
|
Раздел 3. Детали механизмов и машин
Основные понятия и определения
Передаточные механизмы
Валы, оси. Направляющие вращательного движения
Муфты
Соединения деталей
|
III. Список
литературы
1. Аркуша А.И. Техническая механика. Теоретическая механика и сопротивление материалов. — М.: Высшая школа, 1989.
2. Аркуша А.И. Руководство к решению задач по теоретической механике.
– М.: Высшая школа, 2002
3. Олофинская В.П, Техническая механика. Сборник тестовых заданий. – М.: Инфра-М, 2002
4. Тарч С.М. Краткий курс теоретической механики. –М.: Высшая школа, 1998
5. Мишенин Б.В. Техническая механика. Задания на расчетно-графические работы для ССУЗ с примерами их выполнения. – М.: НМЦ СПО РФ, 1994
6. Костенко Н.А., Балясникова С.В. Сопротивление материалов. – М.: Машиностроение, 2000
7. Эрдеди А.А., Эрдеди Н.А. Теоретическая механика. Сопротивление материалов.
–М.: Высшая школа, 2002
8. Эрдеди А.А. и др. Детали машин. – М.: Высшая школа, 2001
IV.
МЕТОДИЧЕСКИЕ УКАЗАНИЯ ПО ТЕМАМ И ВОПРОСЫ ДЛЯ САМОКОНТРОЛЯ
Раздел 1. ТЕОРЕТИЧЕСКАЯ МЕХАНИКА
СТАТИКА
Статика является частью теоретической механики, изучающей условия, при которых тело находится под действием заданной системы сил. Успешное овладение учебным материалом по статике — необходимое условие для изучения всех последующих тем и разделов курса технической механики.
Тема 1.1. Основные понятия и аксиомы статики
При изучении темы следует вникнуть в физический смысл аксиом статики. Изучая связи и их реакции, нужно иметь в виду, что реакция связи является силой противодействия и направлена всегда противоположно силе действия рассматриваемого тела на связь (опору).
Вопросы для самоконтроля
1. Назовите разделы теоретической механики и укажите, какие вопросы в них изучают.
2. Дайте определение материи. Перечислите формы движения материи.
3. В чем общность понятий абсолютно твердого тела и материальной точки и в чем их различие?
4. Дайте определение силы.
5. Какие системы сил называют статически эквивалентными?
6. Что такое равнодействующая система сил, уравновешивающая сила?
7. Сформулируйте аксиомы статики.
8. Какие тела называются свободными, а какие несвободными?
9. Что называется связью?
10. Что такое реакция связи?
11. Перечислите виды связей и укажите направление соответствующих им реакций.
В результате изучения темы студент должен:
иметь представление
об абсолютно твердом теле и материальной точке; о силе равнодействующей и уравновешивающей силах, системах сил;
знать
виды связей и их реакции; принцип освобождения от связей.
Тема 1.2. Плоская система сходящихся сил
Эта система эквивалентна одной силе (равнодействующей) и стремится придать телу (в случае, если точка схождения сил совпадает с центром тяжести тела) прямолинейное движение. Равновесие тела будет иметь место в случае равенства равнодействующей нулю. Геометрическим условием равновесия является замкнутость многоугольника, построенного на силах системы, аналитическим условием — равенство нулю алгебраических сумм проекций сил системы на любые две взаимноперпендикулярные оси. Следует научиться решать задачи на равновесие тел, обратив особое внимание на рациональный выбор направления координатных осей.
Вопросы для самоконтроля
1. Геометрический способ нахождения равнодействующей плоской системы сходящихся сил.
2. Что называется проекцией силы на ось? В каком случае проекция силы на ось равна О?
3. Как найти силовое значение и направление равнодействующей системы сил, если заданы проекции составляющих сил на две взаимноперпендикулярные оси.
4. Сформулируйте аналитическое условие равновесия плоской системы сходящихся сил.
5. Определение равнодействующей аналитическим способом

Для заданной системы сходящихся сил определить проекции равнодействующей на оси Х и У: FΣх
и FΣу.
В результате изучения темы студент должен:
иметь представление
о теореме равновесия трех направленных сил; приведении сил к одной точке;
знать
условия равновесия системы сил, методы решения задач на равновесие плоской системы;
уметь
проецировать силы на оси, определять равнодействующую аналитическим способом.
Тема 1.3. Пара сил
Система пар сил эквивалентна одной паре (равнодействующей) и стремится придать телу вращательное движение. Равновесие тела будет иметь место в случае равенства нулю момента равнодействующей пары. Аналитическим условием равновесия является равенство нулю алгебраической суммы моментов пар системы. Следует обратить особое внимание на определение момента силы относительно точки. Необходимо помнить, что момент силы относительно точки равен нулю лишь в случае, если точка лежит на линии действия силы.
Вопросы для самоконтроля
1. Что такое пара сил?
2. Что такое момент пары сил, плечо пары сил?
3. Сформулируйте условие равновесия системы пар сил.
В результате изучения темы студент должен:
иметь представление
о вращающем действии пары сил на тело и ее характеристиках; о свойствах пары сил; моменте пары сил;
знать
условия равновесия пары сил.
Тема 1.4. Плоская система произвольно расположенных сил
Эта система эквивалентна одной силе (называемой главным вектором) и самой паре (момент, который называют главным моментом) и стремится придать телу в общем случае прямолинейное и вращательное движение одновременно. Изученные ранее системы сходящихся сил и система пар — частные случаи произвольной системы сил. Равновесие тела будет иметь место в случае равенства нулю и главного вектора, и главного момента системы. Аналитическими условиями равновесия является равенство нулю алгебраической суммы проекций сил системы на оси Х, У, и равенство нулю суммы моментов всех сил относительно любой точки. Следует научиться решать задачи на равновесие тел, в том числе на определение опорных реакций балок и сил, нагружающих стержни, обратив особое внимание на рациональный выбор направления координатных осей и положения центра моментов.
Вопросы для самоконтроля
1. Что такое момент силы относительно точки? Как берется знак момента силы относительно точки? Что называется плечом силы?
2. В каком случае момент силы относительно точки равен нулю?
3. Что такое главный вектор и главный момент плоской системы сил?
4. Сформулируйте теорему Вариньона.
5. Сформулируйте аналитическое условие равновесия плоской системы произвольно расположенных сил.
6. Укажите три вида уравнения равновесия плоской системы произвольно расположенных сил.
7. Укажите, как рационально выбрать направления осей координат и центр моментов.
8. Какие нагрузки называются сосредоточенными и распределенными?
9. Что такое интенсивность равномерно распределенной нагрузки?
10. Как найти числовое значение, направление и точку приложения равнодействующей равномерно распределенной нагрузки?
11. Какие системы называются статически определимыми?
12. Что называется силой трения?
13. Перечислите основные законы трения скольжения.
14. Что такое угол трения, конус трения?
15. Каковы особенности трения качения?
16. Определение опорных реакций балочных систем

Для заданных балочных систем:
1 Показать реакции, возникающие в опорах А и В под действием внешних сил;
2 Записать уравнения равновесия для определения балочных опор;
3 Как производится проверка правильности решения?
В результате изучения темы студент должен:
иметь представление
о главном векторе и главном моменте сил; частых случаях приведения силы и системы сил к данному центру; трении и условии самоторможения;
знать
определение момента силы относительно точки, виды балочных опор; условия равновесия плоской системы сил; классификацию нагрузок;
уметь
определять опорные реакции балочных систем.
Тема 1.5. Пространственная система сил
Как плоские, пространственные системы подразделяют на системы сходящихся или произвольно расположенных сил. Многоугольник, построенный на сходящихся силах системы, оказывается пространственным, что делает невозможным применение графического и графоаналитического методов решения. Аналитический метод решения аналогичен изложенному для плоских систем с той лишь разницей, что силы проецируются на три (а не на две) взаимно перпендикулярные оси, а моменты сил определяются относительно этих осей (а не точек). Необходимо помнить, что момент силы относительно оси равен нулю в том случае, когда сила и ось лежат в одной плоскости (т.е. линия действия силы или параллельна оси, или пересекает ее).
Вопросы для самоконтроля
1. Напишите уравнения равновесия для пространственной системы сходящихся сил.
2. Что такое момент силы относительно оси? В каких случаях момент силы относительно оси равен нулю?
3. Напишите уравнения равновесия для произвольной пространственной системы сил.
В результате изучения темы студент должен:
иметь представление
о параллелепипеде сил, приведении пространственной системы сил к главному вектору и к главному моменту;
знать
определение моментов относительно оси, условия равновесия пространственной системы сил.
Тема 1.6. Центр тяжести тела
Тема относительно проста для усвоения, однако крайне важна при изучении курса сопротивления материалов. Главное внимание здесь необходимо обратить на решение задач как с плоскими и геометрическими фигурами, так и со стандартными прокатными профилями.
Вопросы для самоконтроля
1. Что такое центр параллельных сил?
2. Как найти координаты центра параллельных сил?
3. Что такое центр тяжести тела?
4. Как найти центр тяжести прямоугольника, треугольника, круга?
5. Как найти координаты центра тяжести плоского составного сечения?
6. Центр тяжести
 

1 В каком случае для определения центра тяжести достаточно определить одну координату расчетным путем?
2 Как учитывается площадь отверстия в фигуре 4 в формуле для определения центра тяжести фигуры?
В результате изучения темы студент должен:
иметь представление
о центре параллельных сил и его свойствах;
знать
формулы для определения координат центра тяжести плоских фигур;
уметь
определять координаты центра тяжести плоских фигур простых геометрических фигур и стандартных прокатных профилей.
ЭЛЕМЕНТЫ КИНЕМАТИКИ И ДИНАМИКИ
Изучив кинематику точки, обратите внимание на то, что прямолинейное движение точки как неравномерное, так и равномерное всегда характеризуется наличием нормального (центростремительного) ускорения. При поступательном движении тела (характеризуемом движением любой его точки) применимы все формулы кинематики точки. Формулы для определения угловых величин тела, вращающегося вокруг неподвижной оси, имеют полную смысловую аналогию с формулами для определения соответствующих линейных величин поступательно движущегося тела.
Тема 1.7. Кинематика точки
При изучении темы обратите внимание на основные понятия кинематики: ускорение, скорость, путь, расстояние.
Изучите уравнения движения точки и способы задания движения.
Вопросы для самоконтроля
1. В чем заключается относительность понятий покоя и движения?
2. Дайте определение основных понятий кинематики: траектории, расстоянию, пути, скорости, ускорению, времени.
3. Какими способами может быть задан закон движения точки?
4. Как направлен вектор истинной скорости точки при криволинейном движении?
5. Как направлены касательное и нормальное ускорения точки?
6. Какое движение совершает точка, если касательное ускорение равно нулю, а нормальное не изменяется с течением времени?
7. Как выглядят кинематические графики при равномерном и равнопеременном движении?
В результате изучения темы студент должен:
иметь представление
о пространстве, времени, траектории; средней и истиной скорости;
знать
способы задания движения точки; параметры движения точки по заданной траектории.
Тема 1.8. Простейшие движения твердого тела
Обратите внимание на определение всех параметров вращения тела вокруг неподвижной оси. Изучите поступательное и вращательное движение тела.
Вопросы для самоконтроля
1. Какое движение твердого тела называется поступательным?
2. Перечислите свойства поступательного движения твердого тела.
3. Дайте определение вращательного движения твердого тела вокруг неподвижной оси.
4. Как записывается в общем виде уравнение вращательного движения твердого тела?
5. Напишите формулу, устанавливающую связь между частотой вращения тела п
и угловой скоростью вращения.
6. Дайте определение равномерного и равнопеременного вращательного движения.
7. Какая дифференциальная зависимость существует между угловым перемещением, угловой скоростью и угловым ускорением?
8. Какая зависимость существует между линейным перемещением, скоростью и ускорением точек вращающегося тела и угловым перемещением, скоростью и ускорением тела.
В результате изучения темы студент должен:
иметь представление
о видах движения тела и их признаках;
знать
параметры, характеризующие движение тела вокруг неподвижной оси движения отдельных его точек для любого вида движения.
ДИНАМИКА
При изучении раздела вникните в физический смысл аксиом динамики, научитесь использовать основанный на принципе Даламбера метод кинетостатики, позволяющий применять уравнения равновесия статики для движущегося с ускорением тела. Следует помнить, что сила инерции прилагается к ускоренному телу условно, так как в действительности на него не действует. Особое внимание следует уделить вопросу трения скольжения и понятию самоторможения, имеющим важнейшее значение в технике. Формулы для определения работы, мощности и кинетической энергии тела, а также основной закон динамики для случаев поступательного и вращательного движения тела имеют полную смысловую аналогию (таблица).
Таблица
| Понятие
|
Основные параметры
|
Поступательные движения
|
Вращательное движение
|
| Кинематика
|
Расстояние
Скорость
Ускорение
|
S =
¦
(t)
V = S’
at
= V’
|
j
=
¦
(t)
w
=
j
’
e
=
w
’
|
| Динамика
|
Силовое воздействие
Сила инертности тела
Основной закон динамики
Работа
Мощность
Кинематическая энергия
|
Сила
F
Масса
m
F = ma
W = FS
P = FV
m
·
V 2
Ek
= __________
2
|
Момент M
Динамический момент инерции J
M = Je
W = M
j
P = M
w
J
·
w
2
Ek
= __________
2
|
Тема 1.9. Основные понятия и аксиомы динамики
При изучении темы обратите внимание на основные задачи динамики. Следует уяснить аксиомы динамики.
Вопросы для самоконтроля
1. Сформулируйте первую аксиому динамики (принцип инерции) и вторую аксиому динамики (основной закон динамики точки).
2. Сформулируйте две основные задачи динамики.
3. Изложите третью аксиому динамики (закон независимости действия сил) и четвертую аксиому (закон равенства действия и противодействия).
В результате изучения темы студент должен:
иметь представление
о двух основных задачах динамики;
знать
аксиомы динамики при рассмотрении механического состояния тела.
Тема 1.10. Работа и мощность
При изучении темы обратите внимание на понятия работы, мощности, коэффициента полезного действия. Изучите единицы измерения работы и мощности и формулы их определения.
Вопросы для самоконтроля
1. Как определяется работа постоянной силы на прямолинейном пути?
2. Что называется мощностью?
3. Что такое механический коэффициент полезного действия?
4. Назовите формулу, позволяющую определить вращающийся момент через передаваемую мощность и угловую скорость вращения тела при равномерном вращении.
В результате изучения темы студент должен:
иметь представление
о работе переменной силы; зависимости вращающегося момента от угловой скорости и передаваемой мощности;
знать
формулы определения работы мощности при поступательном и вращательном движениях тел.
Раздел 2. ОСНОВЫ СОПРОТИВЛЕНИЯ МАТЕРИАЛОВ
Изучение курса сопротивления материалов (наука о прочности, жесткости и устойчивости деформируемых под нагрузкой элементов машин и конструкций) следует начать с повторения раздела «Статика» (равновесие тел, уравнения равновесия, геометрические характеристики сечений). Непременными условиями успешного овладения учебным материалом являются: а) четкое понимание физического смысла рассматриваемых понятий; б) свободное владение методом сечений; в) осознанное применение геометрических характеристик прочности и жесткости поперечных сечений; г) самостоятельное решение достаточно большого числа задач. Принципиальная схема изучения каждого из видов нагружения бруса (старый термин «вид деформации») единообразна: от внешних сил с помощью метода сечения к внутренним силовым факторам, от них — к напряжениям, от расчетного напряжения — к условию прочности бруса.
Тема 2.1. Основные положения
Внутренние силы, возникающие между частицами тела под действием нагрузок, являются таковыми для тела в целом. При применении метода сечений эти силы для рассматриваемой части тела являются внешними, т.е. к ним применимы методы статики. Действующая в произвольно проведенном поперечном сечении система внутренних сил эквивалентна в общем случае одной силе и одному моменту. Разложив их на составляющие, получим соответственно три силы (по направлению координатных осей) и три момента (относительно этих осей), которые называют внутренними силовыми факторами (ВСФ). Возникновение тех или иных ВСФ зависит от фактического нагружения бруса. Определяют ВСФ с помощью уравнений равновесия статики. Внутренним нормальным силам соответствуют нормальные напряжения s, касательным силам — касательные напряжения t.
Вопросы для самоконтроля
1. Для чего изучается сопротивление материалов?
2. Чем отличается упругая деформация от пластической?
3. Следует ли учитывать изменение размеров тел при составлении уравнений равновесия сил, приложенных к нему?
4. В каких случаях при действии на тело нескольких сил эффект действия каждой силы можно считать независимым от действия других сил? Какое название носит этот принцип?
5. Какими расчетными схемами заменяются реальные объекты расчета? Каковы геометрические признаки, присущие каждой расчетной схеме?
6. Почему нельзя определить внутренние силовые факторы в произвольном сечении, рассматривая равновесие всего тела в целом?
7. В чем заключается метод сечений?
8. Можно ли с помощью метода сечений установить закон распределения внутренних силовых факторов по проведенному сечению?
9. Что такое напряжение? Какова размерность напряжения?
В результате изучения темы студент должен:
иметь представление
о гипотезах, допущениях, о свойствах материалов и характере деформирования; о внутренних силовых факторах в поперечном сечении произвольно нагруженного бруса;
знать
методы сечений; виды напряжений; основные виды деформации бруса.
Тема 2.2. Растяжение и сжатие
При изучении темы обратите внимание на гипотезу плоских сечений, которая справедлива и при других видах нагружения бруса. При растяжении или сжатии напряжения распределяются по поперечному сечению равномерно, геометрической характеристикой прочности и жесткости сечения является его площадь, форма сечения значения не имеет, все точки сечения равноопасны. Следует понять порядок расчета на прочность при растяжении и сжатии.
Вопросы для самоконтроля
1. В каком случае брус испытывает деформацию растяжения или сжатия?
2. Каков закон изменения нормальных напряжений по площади поперечного сечения при растяжении и сжатии?
3. Влияет ли форма поперечного сечения на значение напряжений, возникающих при растяжении и сжатии?
4. Что называется эпюрой нормальных сил и эпюрой нормальных напряжений?
5. Для чего строят эпюры N
и s? Какое поперечное сечение бруса называется опасным?
6. Что такое модуль продольной упругости материала, какова его размерность?
7. Что такое жесткость сечения бруса и жесткость бруса при растяжении (сжатии)?
8. Какова цель механических испытаний материалов?
9. Каковы характеристики пластичных свойств материалов?
10. Какие системы называют статически неопределимыми?
11. Механические испытания материалов
 


1 К каким группам относятся материалы, диаграммы которых представлены на рисунках а, б
и в
?
2 Указать основные характеристики прочности на диаграмме растяжения в варианте а
.
В результате изучения темы студент должен:
иметь представление
о принципе Сен-Венана; продольных и поперечных деформациях; статически неопределимых системах при растяжении (сжатии);
знать
закон распределения нормальных напряжений в поперечном сечении бруса; Закон Гука; порядок расчета на прочность при растяжении и сжатии; основные механические характеристики материалов;
уметь
проводить испытания материалов на растяжение.
Тема 2.3. Практические расчеты на срез и смятие
При изучении темы обратите внимание на основные расчетные предпосылки и условности расчета.
Следует уяснить расчет заклепок, сварных соединений и врубок. Явление среза всегда «осложнено» наличием других напряжений.
Вопросы для самоконтроля
- Диаметры штифтов предохранительной муфты, соединяющей два вала, должны быть выбраны таким образом, чтобы при достижении передаваемым моментом предельного значения штифты разрушались (срезались). Какая механическая характеристика материала штифтов должна быть использована в расчете?
- Практические расчеты на срез и смятие.
Проверить прочность заклепочного соединения на срез и смятие, если F = 60 кН; [τc
] = 100 МПа; = 240 МПа; d = 20 мм: z = 3

В результате изучения темы студент должен:
иметь представление
об основных предпосылках и условностях расчета; соединениях работающих на срез и смятие;
знать
напряжения и деформации, возникающие при работе на срез и смятие;
уметь
проводить испытание материалов на срез; выполнять расчеты на прочность по предельному состоянию заклепочных, болтовых (без зазора), сварных соединений.
Тема 2.4. Геометрические характеристики плоских сечений
В теории изгиба важную роль играют моменты инерции.
Перед изучением этой темы по учебнику теоретической механики повторите материал о статическом моменте и о нахождении центров тяжести плоских фигур.
При изучении темы обратите внимание на теорему о переносе осей. Эта формула наглядно показывает, что наименьшим из моментов инерции относительно нескольких параллельных осей является момент инерции относительно той оси, которая проходит через центр тяжести.
В теории изгиба важную роль играют главные центральные оси. Если сечение состоит из ряда прокатных профилей, то необходимо при вычислениях пользоваться данными таблиц сортамента.
Вопросы для самоконтроля
1. Что такое статический момент сечения?
2. Что такое осевой и центробежный моменты инерции плоского сечения?
3. Изменяются ли центробежные и осевые моменты инерции при повороте осей? При параллельном переносе?
4. Что такое главные центральные оси инерции?
5. Какая связь существует между моментами инерции относительно параллельных осей, из которых одна является центральной?
6. Напишите формулы для вычисления осевых моментов инерции для прямоугольника, равнобедренного треугольника, круга и кольца.
7. Как определяют осевые моменты инерции сложных составных сечений?
В результате изучения темы студент должен:
иметь представление
о физическом смысле осевых центробежных и полярных моментах инерции; главных центральных осях и главных центральных моментах инерции;
знать
моменты инерции простейших сечений.
Тема 2.5. Изгиб
Теория чистого изгиба имеет как внешнюю, так и смысловую аналогию с теорией кручения — аналогичное распределение напряжений по поперечному сечению: наличие опасных точек сечения, аналогичные геометрические характеристики прочности и жесткости сечения, аналогичный подход к оценке рациональности формы сечения. Следует научиться строить эпюры изгибающих моментов по характерным точкам и рассчитывать балки на прочность.
Вопросы для самоконтроля
1. В каком случае балка работает на изгиб?
2. Что такое чистый и поперечный изгиб? Какие внутренние силовые факторы возникают в поперечных сечениях бруса в этих случаях?
3. Каким методом определяют внутренние силовые факторы, действующие в поперечных сечениях на изгиб?
4. Чему равна поперечная сила и изгибающий момент в произвольном сечении балки при изгибе?
5. Для чего строятся эпюры поперечных сил и изгибающих моментов?
6. Сформулируйте правило знаков для поперечной силы и изгибающего момента.
7. Как меняется характер эпюр поперечных сил и изгибающих моментов в точках приложения сосредоточенных, сил и моментов?
8. Напишите формулы для определения осевых моментов сопротивления при изгибе для прямоугольника, круга и кольца.
9. Изгиб прямого бруса.

1 Для какого варианта эпюра поперечных сил построена верно?
2 На каком участке бруса эпюра изгибающих моментов имеет вид квадратной параболы?
В результате изучения темы студент должен:
иметь представление
о дифферинциальных зависимостях при изгибе; линейных и угловых перемещениях; жесткости при изгибе;
знать
виды изгиба и внутренние силовые факторы; правила построения и контроля эпюр поперечных сил и изгибающих моментов; распределение нормальных напряжений по сечению при изгибе; условия прочности;
уметь
строить эпюры поперечных сил и изгибающих моментов по длине балок; выполнять расчеты балок на прочность по предельному состоянию.
Тема 2.6. Сдвиг и кручение
Обратите внимание на полную смысловую аналогию закона Гука при сдвиге и при растяжении (сжатии); сравните значения модулей упругости материала при сдвиге и при продольном деформировании (жесткость любого материала при сдвиге меньше). При кручении напряжения распределяются по поперечному сечению неравномерно (в линейной зависимости от расстояния точки до полюса сечения), опасными являются все точки контура сечения. Геометрическими характеристиками прочности и жесткости сечения являются соответственно полярный момент сопротивления и полярный момент инерции, значения которых зависят не только от площади, но и от формы сечения. Рациональным (т.е. дающим экономию материала) является кольцевое сечение, имеющее по сравнению с круглым сплошным меньшую площадь при равном моменте сопротивления (моменте инерции). Следует понять правила построения эпюр крутящих моментов.
В результате изучения темы студент должен:
Иметь представление
о жесткости сечения, моменте сопротивления при кручении, напряженном состоянии в точке; о расчете цилиндрических винтовых пружин;
Знать
закон Гука; правила построения эпюр крутящих моментов; формулы.
Вопросы для самоконтроля
1. В чем состоит деформация сдвига?
2. Что такое модуль сдвига и как он связан с модулем продольной упругости?
3. Как определяется крутящий момент в произвольном сечении?
4. Какая зависимость существует между передаваемой валом мощностью, вращающим моментом и угловой скоростью?
5. На каких гипотезах и допущениях основаны выводы формул для определения касательных напряжений и углов поворота сечений при кручении бруса круглого сечения?
6. Каков закон изменения касательных напряжений по площади поперечного сечения при кручении?
7. Что является геометрическими характеристиками сечения вала при кручении?
8. Почему выгоднее применять валы кольцевого, а не сплошного сечения?
Тема 2.7. Изгиб и кручение. Гипотезы прочности
В этой теме рассматривается случай сложного сопротивления. Перед изучением темы повторите главы, в которых изложена проверка прочности при изгибе по главным напряжениям, когда известны нормальные напряжения s и касательные t. В случае изгиба с кручением также возникают нормальные и касательные напряжения.
Вопросы для самоконтроля
1. Почему в случае одновременного действия изгиба и кручения оценку прочности производят, применяя гипотезы прочности?
2. Приведите примеры деталей, работающих на изгиб с кручением.
3. Какие точки поперечного сечения являются опасными, если брус круглого поперечного сечения работает на изгиб с кручением?
В результате изучения темы студент должен:
иметь представление
о гипотезах прочности, эквивалентном напряжении;
знать
внутренние силовые факторы, возникающие в поперечном сечении бруса; порядок расчета бруса круглого поперечного сечения при совместном действии изгиба и кручения.
Тема 2.8. Устойчивость центрально-сжатых стержней
При изучении темы обратите внимание на предел применимости формулы Эйлера. Следует понять, что при расчетах на устойчивость в отличие от расчетов на прочность предельное напряжение (здесь — критическое напряжение s ) зависит не только от материала бруса, но и от его геометрических размеров, формы сечения, а также способа закрепления концов.
Вопросы для самоконтроля
1. На примере сжатого стержня объясните явление потери устойчивости.
2. Что такое критическая сила?
3. Что такое гибкость стержня и предельная гибкость материала? От каких факторов они зависят?
4. Какое сечение стержня (сплошное или кольцевое) более рационально с точки зрения устойчивости и почему?
В результате изучения темы студент должен:
иметь представление
об устойчивости и неустойчивости формах равновесия центрально-сжатых стержней; критическом напряжении, расчете по предельному состоянию;
знать
порядок расчета сжатых стержней по формуле Эйлера, условия устойчивости сжатых стержней.
Раздел 3. ДЕТАЛИ МЕХАНИЗМОВ И МАШИН
Данный раздел курса технической механики завершающий, он требует от студентов владения методиками теоретической механики и сопротивления материалов. При изучении деталей механизмов и машин важнейшую роль играют рисунки и чертежи, приводимые в учебной литературе; их следует изучать весьма внимательно. Изучение механизмов и их деталей следует вести в единой последовательности:
1) назначение, устройство, принцип работы; 2) оценка достоинств и недостатков, область применения; 3) краткие сведения о материалах; 4) основные расчетные параметры, геометрические и кинематические соотношения; 5) расчет на прочность, износостойкость и др. (если таковой предусмотрен учебной программой).
Тема 3.1. Основные понятия и определения
При изучении темы обратите внимание на классификацию машин по назначению вопросов стандартизации и системы документации. Изучая критерии работоспособности и расчета деталей машин, следует уяснить, что эти расчеты имеют ряд особенностей. В частности, широко используются эмпирические зависимости и формулы, являющиеся результатом обобщения опыта проектирования и расчета деталей машин.
Проектирование требует всестороннего анализа поставленной задачи, учета ряда специфических факторов и условий работы детали, узла, машины. Окончательные размеры деталей машины определяются не только расчетами, но и требованиями стандартов, принятой технологией производства, условиями эксплуатации и техникой безопасности.
Вопросы для самоконтроля
1. Что рассматривается в разделе курса «Детали механизмов и машин»?
2. Какая разница между машиной и механизмом?
3. Какие детали называются деталями общего назначения?
4. Каковы условия, определяющие рациональность конструкции машин и ее узлов?
5. Каково значение взаимозаменяемости и стандартизации в машиностроении?
6. Что такое унификация деталей и сборочных единиц и каково ее значение в машиностроении?
7. Каковы основные критерии работоспособности и расчета деталей машин?
В результате изучения темы студент должен:
иметь представление
о классификации машин по назначению, о стандартизации и взаимозаменяемости механизмов;
знать
требования предъявляемые к машинам и их деталям; основные критерии их работоспособности.
Тема 3.2. Передаточные механизмы
Вращательное движение наиболее распространено в технике. Поэтому для передачи от машин — двигателей к исполнительным механизмам применяют механические передачи главным образом вращательного движения.
Механические передачи классифицируют по принципу действия (передачи трением и зацеплением).и взаимному расположению звеньев (передачи непосредственного контакта и передачи гибкой связью). Независимо от типа передачи общим для всех является наличие ведущих и ведомых звеньев, единство кинематических и силовых соотношений. Следует уяснить основные параметры, характеризующие любую передачу. Определение основных размеров цилиндрических фрикционных передач производится по межосевому расстоянию: из условия контактной усталости — для металлических катков и из расчета по удельной нагрузке — для неметаллических катков.
Необходимо усвоить классификацию зубчатых передач по расположению геометрических осей в пространстве и на поверхности колес, по окружной скорости и по конструктивным признакам (закрытые и открытые передачи).
Расчет закрытых зубчатых передач на контактную усталость ведется по нормальным контактным напряжениям. Контактная усталость зубьев определяется межосевым расстоянием или диаметрами колес. При расчете на изгиб обратите внимание на коэффициент формы зуба, его зависимость от числа зубьев и в связи с этим на различную прочность зубьев шестерни и колеса.
При изучении косозубых и шевронных цилиндрических передач сопоставьте расчеты на прочность с расчетами прямозубых цилиндрических передач и выявите особенности соответствующего расчета.
Обратите внимание на конструкцию червяков и червячных колес. Размеры червячного колеса определяются в среднем сечении. Необходимо усвоить методику выбора числа витков червяка и числа зубьев колеса, связав их с передаточным числом червячной передачи. С увеличением числа витков червяка одновременно увеличивается и износ рабочих элементов передачи, поэтому не рекомендуется применять червяки с числом витков более четырех. Расчет червячных передач имеет много общего с расчетом зубчатых передач, но расчет червячной передачи на контактную прочность — это и косвенный расчет на предотвращение заедания.
В процессе изучения ременной передачи следует усвоить сравнительные характеристики различных типов передач и области их применения, а также конструкцию ремней и ознакомиться со стандартами на ремни. Рассматривая методику расчета ременной передачи по тяговой способности, обратите внимание на то, что прочность ремня не является достаточным условием, определяющим работоспособность передачи. Для обеспечения достаточной долговечности ремня необходимо правильно выбирать отношение его толщины к диаметру малого шкива, а также такое расстояние, при котором число пробегов ремня в секунду не выше допустимого.
При изучении цепных передач необходимо понять и усвоить достоинства и недостатки цепных передач, область их применения, ознакомиться с классификацией приводных цепей, рассмотреть их конструкции, выяснить преимущества и недостатки различных типов цепей. Необходимо обратить внимание на выбор основных параметров цепных передач, на их кинематику и силовые зависимости с учетом динамических нагрузок в приводных цепях.
В связи с тем, что износ элементов передачи отрицательно сказывается на ее работе, основным видом расчета цепных передач является расчет на давление в шарнирных цепях.
Вопросы для самоконтроля
1. Чем вызвана необходимость механических передач?
2. По каким признакам классифицируют механические передачи?
3. Какими основными параметрами характеризуются передачи?
4. Что называется передаточным отношением?
5. В каких случаях целесообразно применять фрикционные передачи?
6. Какими достоинствами и недостатками обладают фрикционные передачи?
7. Какие устройства называются вариаторами?
8. Каковы достоинства и недостатки зубчатых передач?
9. Как классифицируются зубчатые передачи?
10. Какие передачи называют открытыми и какие закрытыми?
11. Какие основные требования предъявляются к профилям зубьев?
12. Почему преимущественно применяется эвольвентное зацепление?
13. В чем заключаются преимущества и недостатки косозубых передач по сравнению с прямозубыми?
14. В каких случаях применяют конические зубчатые передачи? Каковы недостатки передачи коническими зубчатыми колесами?
15. Назовите достоинства и недостатки червячных передач по сравнению с зубчатыми. В каких случаях применяется червячная передача?
16. Какими достоинствами и недостатками обладают ременные передачи по сравнению с другими видами передач?
17. Укажите достоинства и недостатки цепных передач и области их применения.
В результате изучения темы студент должен:
иметь представление
о назначении механизмов передач, их классификацию, устройство, принцип работы и область применения;
знать
сущность кинематического и геометрического расчета передач.
Тема 3.3. Валы, оси. Направляющие вращательного движения
При изучении темы уясните разницу между осью и валом и различие в их расчете на прочность. Изучите конструкции осей и валов и их опорных частей — шеек, шипов, пят.
При изучении подшипников скольжения подробно рассмотрите основные типы конструкций подшипников и подпятников скольжения, выясните область их применения, ознакомьтесь с материалами вкладышей и способами смазки. Следует знать, что расчет подшипников скольжения по давлению и на прогрев носит условный характер.
Изучая подшипники качения, обратите особое внимание на конструктивные особенности и области применения каждого типа подшипника.
Вопросы для самоконтроля
1. В чем заключается разница между валом и осью?
2. Какие различают виды валов?
3. Что называется шипом, шейкой и пятой?
4. Какими недостатками обладают подшипники скольжения?
5. Какова роль смазки в подшипниках скольжения?
6. Каковы достоинства и недостатки подшипников качения по сравнению с подшипникам скольжения?
В результате изучения темы студент должен:
иметь представление
о расчете валов и осей на прочность и жесткость; износостойкость, теплостойкость, динамическую грузоподъемность;
знать
устройство валов и осей; опор скольжения и качения.
Тема 3.4. Муфты
При изучении темы ознакомьтесь с разновидностями основных типов муфт и областями их применения, конструкциями муфт и особенностями их работы. Особое внимание уделите конструкциям муфт, применяемым в той отрасли промышленности, которая соответствует вашей специальности.
Вопросы для самоконтроля
1. Какие различают типы муфт по назначению?
2. Приведите сравнительную характеристику основных типов муфт.
В результате изучения темы студент должен:
иметь представление
о методике подбора стандартных и нормализированных муфт;
знать
устройство муфт.
Тема 3.5. Соединение деталей
При изучении неразъемных соединений, среди которых наибольшее распространение получили сварные, необходимо восстановить в памяти физическую суть сварки и ее разновидности. Ознакомиться с типами сварных швов и способами подготовки кромок соединяемых деталей в зависимости от их толщины.
Клеевые соединения применяются весьма широко: от соединения простых небольших изделий до весьма внушительных по своим размерам. Одним из наиболее распространенных видов разъемных соединений, применяемых во всех областях машиностроения, являются резьбовые соединения. При изучении их нужно внимательно рассмотреть типы и назначение резьб и крепежных деталей, средства стопорения (гаечные замки).
Изучая резьбовые соединения, необходимо уяснить, что в большинстве случаев расчет болтов (винтов) сводится к расчету на растяжение с учетом соответствующих поправочных коэффициентов.
Вопросы для самоконтроля
1. Выполните эскизы характерных типов сварных швов.
2. Какие способы подготовки стыков под сварку вы знаете?
3. Как рассчитывают стыковые сварные швы, нагруженные осевой силой?
4. Как рассчитывают угловые, лобовые и комбинированные сварные швы при нагружении их осевой силой?
5. Как классифицируются резьбы по геометрической форме и по назначению?
6. Почему для болтов (винтов, шпилек) применяют треугольную резьбу?
7. Когда применяют мелкие резьбы?
8. Как различают болты и винты по форме головок?
В результате изучения темы студент должен:
иметь представление
о расчете на прочность швов стыков и нахлесточных соединений; выборе призматических шпонок по ГОСТу и их расчете на смятие;
знать
виды соединения деталей и сравнительную оценку.
V
. МЕТОДИЧЕСКИЕ УКАЗАНИЯ ПО ВЫПОЛНЕНИЮ
КОНТРОЛЬНОЙ РАБОТЫ
Контрольная работа состоит из десяти вариантов. Каждый вариант контрольной работы содержит пять практических задач.
Вариант контрольной работы определяется по последней цифре шифра-номера личного дела студента.
При окончании номера на «0» выполняется вариант №10, при последней цифре «1» - вариант № 1 и т.д.
При выполнении контрольной работы необходимо соблюдать следующие требования:
в контрольную работу записывать контрольные вопросы и условия задач. После вопроса должен следовать ответ на него. Содержание ответов должно быть четким и кратким;
решение задач следует сопровождать пояснениями;
вычислениями должны предшествовать исходные формулы;
для всех исходных и вычислительных физических величин должны указываться размерности.
На каждой странице тетради оставляют поля 3 – 4 см для замечаний проверяющего работу. За ответом на последний вопрос приводится список используемой литературы, указывается методическое пособие, по которому выполняется работа, ставится подпись исполнителя и оставляется место для рецензии.
На обложке тетради указывается учебный шифр, наименование дисциплины, курс, отделение, индекс учебной группы, фамилия, имя и отчество исполнителя, точный почтовый адрес.
В установленные учебным графиком сроки студент направляет выполненную работу для проверки в учебное заведение.
После получения прорецензированной работы студенту необходимо исправить отмеченные ошибки, выполнить все указания преподавателя, повторить недостаточно усвоенный материал.
Незачтенные контрольные работы подлежат повторному выполнению. Задания, выполненные не по своему варианту, не засчитываются и возвращаются студенту.
ЗАДАЧИ К КОНТРОЛЬНОЙ РАБОТЕ
ЗАДАЧА 1
Определить аналитическим и графическим способами усилия в стержнях АВ и ВС заданной стержневой системы.
| Вариант
|
F1
, кН
|
F 2
, кН
|
α2
, град
|
α3
, град
|
| 1
|
10
|
20
|
30˚
|
45˚
|
| 2
|
12
|
24
|
90˚
|
60˚
|
| 3
|
14
|
28
|
60˚
|
45˚
|
| 4
|
16
|
32
|
30˚
|
60˚
|
| 5
|
18
|
36
|
30˚
|
60˚
|
| 6
|
20
|
40
|
60˚
|
30˚
|
| 7
|
22
|
44
|
90˚
|
45˚
|
| 8
|
24
|
48
|
90˚
|
60˚
|
| 9
|
26
|
52
|
45˚
|
30˚
|
| 10
|
28
|
56
|
90˚
|
30˚
|
ПРИМЕР 1
Определить аналитическим и графическим способами в стержнях АВ и ВС заданной стержневой системы (рисунок 1).
Дано: F1
= 28 кН; F2
= 42 кН; α1
=450
;α 2
=600
; α3
=300
.
Определить: усилия 
Рисунок -1
РЕШЕНИЕ
1 Аналитическое решение
1 Рассматриваем равновесие точки В, в которой сходятся все стержни и внешние силы (рисунок 1).
2 Отбрасываем связи АВ и ВС, заменяя их усилиями в стержнях . Направления усилий примем от угла В, предполагая стержни растянутыми. Выполним на отдельном чертеже схему действия сил в точке В (рисунок 2).
3 Выбираем систему координат таким образом, чтобы одна из осей совпадала с неизвестным усилием, например, с А
. Обозначаем на схеме углы, образованные действующими силами с осью Х и составляем углы, образованные действующими силами с осью Х и составляем уравнения равновесия плоской системы сходящихся сил:
; F2
cos 750
+F1
cos 450
+Sc
cos 750
-SА
=0 (1);
; F2
cos 150
-F1
cos 450
-Sc
cos 150
=0 (2).
Рисунок - 2
Из уравнения (2) находим усилие Sс:

Подставляем числовые значения:

Найденное значение Sс подставляем в уравнение (1) и находим из него значение SА
:

SА
= 42*0,259+28*0,707+21,51*0,259=36,24 кН.
Окончательно SA
=36,24 кН, Sс
=21,51 кН; знаки указывают, что оба стержня растянуты.
2 Графическое решение
Выбираем масштаб сил , тогда силы будут откладываться отрезками ; .
Из произвольно выбранной точки 0 откладываем отрезок, соответствующий величине и направлению силы . Из конца этого отрезка откладываем отрезок . Так как условием равновесия сходящейся системы сил является замкнутость силового многоугольника, то из начала отрезка откладываем линию, параллельную вектору , а из конца отрезка откладываем линию, параллельную вектору . Точка их пересечения является вершиной силового многоугольника (рисунок 3).
 
Рисунок - 3
Измеряя отрезки и и, умножая их на масштаб находим значения SА
и SС
:
;
.
Вычислим допущенную при графическом способе решения ошибку:

(Ошибка находится в пределах 2%).
Ответ:
а) аналитическое решение:
 
б) графическое решение:

ЗАДАЧА 2
Для двухопорной балки определить реакции опор
 
| Вариант
|
F1
, кН
|
F2
, кН
|
М, кНм
|
ℓ1
, м
|
ℓ2
, м
|
ℓ3
, м
|
| 1
2
3
4
5
6
7
8
9
10
|
30
40
50
60
45
35
25
20
15
40
|
40
50
40
30
25
40
35
60
35
30
|
20
40
30
25
35
45
15
50
20
15
|
2,0
4,0
5,0
2,0
3,0
1,0
2,0
1,0
4,0
1,5
|
6,0
4,0
3,0
3,0
3,0
4,0
5,0
6,0
3,0
4,5
|
2,0
2,0
2,0
5,0
4,0
5,0
3,0
3,0
3,0
4,0
|
ПРИМЕР 2 Определить реакции опор двухопорной балки (рисунок - 4)
Дано: F1
=24 кН; F2
=36 кН; m1
=18 кНм; m2
=24 кНм; ℓ1
=2,0 м; ℓ2
=3,0 м; ℓ3
=3,0 м
Определить реакции опор RАУ
и RВУ
Рисунок - 4
Решение:
1 Обозначаем опоры буквами А и В. Отбрасываем связи (опоры А и В), заменяем их действие реакциями. Так как задана параллельная система сил, то реакции в опорах будут только вертикальные А и В. Выбираем систему координат ХУ с началом в левой опоре и чертим расчетную схему балки (рисунок 5)
Рисунок - 5
2 Для полученной плоской параллельной системы сил составляем уравнение равновесия:
F1
*2.0+m1
+F2
*3.0-m2
-Rву*0,6=0 (3)
F1
*8,0+m1
+RАУ
*6.0-F2
*3.0-m2
=0 (4)
3 Решаем систему уравнений.
Из уравнения (3) находим RВУ
:
Rву =
Из уравнения (4) находим RАУ
:

4 Для проверки правильности решения составим сумму протекций всех сил
на ось У

то есть реакции определены верно.
ЗАДАЧА 3
Для заданных сечений, состоящих из прокатных профилей и полосы b×h, определить положение центра тяжести.

| Вариант
|
Двутавр
|
b, см
|
h, м
|
Швеллер
|
| 1
|
12
|
20,0
|
1,2
|
14
|
| 2
|
14
|
18,0
|
1,5
|
16
|
| 3
|
16
|
24,0
|
1,8
|
20
|
| 4
|
18
|
28,0
|
2,0
|
18а
|
| 5
|
20
|
24,0
|
1,8
|
22а
|
| 6
|
22
|
20,0
|
1,5
|
24а
|
| 7
|
24
|
15,0
|
1,2
|
30
|
| 8
|
24а
|
12,0
|
1,0
|
33
|
| 9
|
18а
|
24,0
|
2,0
|
22
|
| 10
|
22а
|
21,0
|
2,4
|
24
|
ПРИМЕР 3.
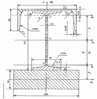
Определить координаты центра тяжести сечения. Сечение состоит из двутавра № 18, швеллера № 18 и пластины 200*60 (рисунок-6)

Рисунок - 6
1 Разобьем сечение на профили проката. Оно состоит из двутавра № 18, швеллера № 18 и пластины 200*60. обозначим их 1, 2, 3.
2 Укажем центры тяжести каждого профиля, используя таблицу приложения, и обозначим их С1
, С2
, С3
, проведем через них оси Х1
, Х2
, Х3
.
3 Выберем систему координатных осей. Ось Y совместим с осью симметрии, а ось Х проведем через центр тяжести двутавра.
4 Определим центр тяжести всего сечения. Так как ось Y совпадает с осью симметрии, то она проходит через центр тяжести сечения, потому Хс=0. Координату Yс определим по формуле:

Пользуясь таблицами ГОСТ 8239-89, ГОСТ 8240-89, ГОСТ 8510-86, ГОСТ 8509-86, определим координаты центров тяжести
А1
= 20,7 см2
7,57 см
А2
= 23,4 см2
y
2
= 0
А3
= 20*6 = 120 см2
-12 см
Координата у2
равна нулю, так как ось Х проходит через центр тяжести двутавра. Подставим полученные значения в формулу для определения уС
:
-7,82 см
1 Укажем центр тяжести сечения на рисунке и обозначим его буквой С. Покажем расстояние уС
= -7,82 см от оси Х до точки С.
2 Определим расстояние между точками С и С1
, С и С2
, С и С3
, обозначим их а1
, а2
, а3
:
а1
= у1
+ уС
= 7,57 + 7,82 = 15,39 см
а2
= уС
= 7,82 см
а1
= у3
- уС
= 12 - 7,82 = 4,18 см
3 Выполним проверку. Для этого ось Х проведем по нижнему краю пластины. Ось Y оставим, как в первом решении. Формулы для определения хС
и уС
не изменятся:
хС
= 0, 
Площади профилей останутся такими же, а координаты центров тяжести двутавра, швеллера и пластины изменятся.
А1
= 20,7 см2
22,57 см
А2
= 23,4 см2
15 см
А3
= 20*6 = 120 см2
3 см
Находим координату центра тяжести:
7,18 см
По найденным координатам хС
и уС
наносим на рисунок точку С. Найденное двумя способами положение центра тяжести находится в одной и той же точке. Сумма координат уС
, найденных при первом и втором решении: 7,82 + 7,18 = 15 см
Это равно расстоянию между осями Х при первом и втором решении:
18/2 + 6 = 15 см.
ЗАДАЧА 4
По оси ступенчатого бруса приложены силы и . Необходимо построить эпюры продольных сил и нормальных напряжений, определить абсолютную деформацию бруса. Принять Е = 2,1 * 105
МПа.
| Вариант
|
F1
, кН
|
F2
, кН
|
l
1
, м
|
l
2
, м
|
l
3
, м
|
А, см2
|
| 1
|
20
|
30
|
1,0
|
1,2
|
1,4
|
4,0
|
| 2
|
50
|
40
|
1,2
|
1,4
|
1,6
|
6,0
|
| 3
|
20
|
40
|
1,4
|
1,6
|
1,8
|
3,5
|
| 4
|
60
|
20
|
1,6
|
1,8
|
2,0
|
4,5
|
| 5
|
25
|
35
|
1,8
|
1,6
|
1,4
|
4,0
|
| 6
|
35
|
55
|
2,0
|
1,4
|
1,2
|
6,5
|
| 7
|
40
|
60
|
1,8
|
2,0
|
2,4
|
7,5
|
| 8
|
50
|
40
|
1,6
|
1,4
|
1,2
|
6,0
|
| 9
|
30
|
50
|
1,4
|
1,2
|
1,0
|
5,0
|
| 10
|
15
|
40
|
1,2
|
1,4
|
1,6
|
4,0
|
 
ПРИМЕР 4
Для данного ступенчатого бруса построить эпюры продольных сил и нормальных напряжений. Определить абсолютное удлинение (укорочение) бруса (рисунок 7)
Дано:
, , м, м, м, А=3,2 см 2
, Е=2,1*105
МПа

   
Рисунок - 7
Решение
1 Проводим ось Z в сторону свободного конца бруса и определяем реакцию заделки :

2 Разбиваем брус на участки, границы которых определяются сечениями, где изменяется площадь поперечного сечения или приложены внешние силы. На каждом из участков проводим характерные сечения 1-1, 2-2, 3-3. С помощью метода сечений определяем продольные силы на каждом из участков бруса: мысленно рассекаем брус в пределах первого участка сечения 1-1, отбрасываем верхнюю часть бруса и заменяем ее действие продольной силой N1
(рисунок 7) для оставшейся части составляем уравнение равновесия:

Аналогично находим N2
и N3
:
сечение 2-2 (рисунок 7)
;
сечение 3-3 (рисунок 7)
.
По найденным значениям продольной силы строим соответствующую эпюру. Для этого параллельно оси бруса проведем базовую (нулевую) линию. Левее ее откладываем отрицательные значения N, соответствующие сжатому участку, а правее – положительные значения N, соответствующие растянутому участку (рисунок - 7).
Определяем нормальные напряжения в характерных сечениях бруса по формуле: 

;
.
Строим соответствующую найденным значениям эпюру σ (рисунок - 7)
4 Определяем абсолютное удлинение бруса.
В соответствии с законом Гука:
 
где Е=2,1*105
МПа – модуль продольной упругости для стали.
Складывая удлинение участков, получим:

Учитывая, что I м=103
мм, будем иметь:
(87,5*2,4+43,75*2,2-112,5*2,0)=0,39 мм.
Таким образом, абсолютное удлинение бруса = 0,39 мм.
ЗАДАЧА 5
По данным задачи 2 для двухопорной балки построить эпоры поперечных сил Qу и изгибающих моментов Мх
. Подобрать сечение стального двутавра, приняв
[σ] = 160 МПа.
ПРИМЕР 5
Для двухопорной балки построить эпюры поперечных сил Q и изгибающих моментов М. Подобрать сечение стального двутавра, приняв [σ] = 160 МПа.
Дано: F1
=24 kH; F2
=36 кН; m1
=18 кНм;
m2
=24 кНм; =2.0 м; м; м.

Рисунок - 8
Решение
1 Составляем уравнение равновесия параллельной системы сил, из которых определяем опорные реакции балки:
(6) Из уравнения (6) находим RA
У
:

Из уравнения (5) находим В:

Проверяем правильность определения опорных реакций, составляя сумму проекций всех сил на ось У:

то есть реакции определены верно.
2 Определяем значения поперечной силы Q в характерных сечениях балки, которые обозначим цифрами 1, 2, 3, 4 (рисунок 8 а)
Q1
=Q2
лев
=F1
=24 кН;
Q2
прав
=Q3
лев
=F1
+RАУ
=24-13=11 кН;
Q3
2прав
=Q4
=F1
+RАУ
-F2
= -RВУ
= -25 кН.
По найденным значениям строим эпюру, поперечных сил Q (рисунок 8 б).
3 Аналогично определяем значения изгибающего момента М в характерных сечениях балки:
М1
=0;
М2
лев
=F1
*2.0=48 кНм
М2
прав
=М2
лев
+m1
=48+18=66 кНм;
М3
=F1
*5.0+m1
+RАУ
*3,0=120+18-39=99 кНм;
М4
=m2
=24 кНм.
По найденным значениям строим эпюру изгибающих моментов М (рисунок 8 в).
4 По эпюре изгибающих моментов определяем положение опасного сечения балки (сечение, в котором изгибающий момент имеет наибольшее по абсолютной величине значение). В нашем случае – это сечение 3, где М3
=Мmaх
=99 кНм. Из условия прочности балки на изгиб вычисляем необходимый осевой момент сопротивления:
.
В соответствии с ГОСТ 8239-89 принимаем сечение из стального двутавра № 33 с Wх=597 см3
. Имеем перенапряжение:

что находится в разрешенных пределах (менее 5%).
Ответ: сечение балки двутавр № 33.
|