| СОДЕРЖАНИЕ
ВВЕДЕНИЕ
Циклический характер работы ДВС – один из его недостатков, но вместе с тем именно благодаря ему в ДВС реализуются высокие максимальные температуры и давления, которые до настоящего времени недостижимы для других типов тепловых двигателей. Использование рабочего тела при высоких температурах и давлениях обусловливает высокую экономичность ДВС. Среди других тепловых двигателей поршневые двигатели внутреннего сгорания преобразуют химическую энергию топлива с наивысшим КПД, достигшим в отдельных образцах малооборотных судовых дизелей величины 0,55…0,57. Основными факторами, обеспечивающими силовым установкам с поршневыми двигателями внутреннего сгорания преимущество перед другими типами силовых установок, являются: низкая удельная стоимость (цена/кВт энергии установки); высокая объемная (массовая) энергоемкость (кВт/кг , кВт/м.куб); способность удовлетворять непрерывно ужесточающимся законодательным ограничениям по эмиссии вредных веществ, шуму, экономичности, безопасности; адаптация к рециклированию; резервы дальнейшего развития и адаптация к требованиям развития транспортных средств и энергоустановок. Именно эти показатели качества силовых установок с ДВС дают основания рассматривать их и на ближайшую перспективу как основным видом первичных источников энергии на транспорте и в малой энергетике.
Высокие показатели поршневых двигателей достигнуты на фоне острой конкурентной борьбы с другими видами энергоустановок. Так, в 1960-е годы велись интенсивные работы по созданию паровых двигателей. В 1970 годах зарубежные фирмы вкладывали огромные средства на создание автомобильных газотурбинных двигателей и двигателей Стирлинга. Автомобильные газотурбинные двигатели не смогли конкурировать с ДВС по двум основным показателям – стоимости и экономичности. Фирма Форд выполнила подготовку производства и в 1991 г. намеревалась запустить в серию автомобиль с двигателем Стирлинга. Однако фирма не смогла обеспечить сопоставимый показатель энергоустановки с двигателем Стирлинга и с ДВС по стоимости 1 кВт вырабатываемой энергии.
В конце ХХ века и начале XXI века усилия автомобилестроительных фирм сосредоточены в основном на создание гибридных силовых установок и силовых установок на топливных элементах. Оба эти направления представляются перспективными и каждая из этих силовых установок имеет свои экологические ниши. Причем наиболее реально в ближайшем будущем широкое внедрение гибридных силовых установок различных схем. Тем более, что к гибридизации силовых установок подталкивает непрерывное увеличение мощности бортовых потребителей электроэнергии. Что же касается силовых установок на топливных элементах, то несмотря на всю их привлекательность по экономичности и экологическим характеристикам, трудно рассчитывать на значительное снижение стоимостных и массогабаритных показателей. Существует множество проблем, требующих решения на пути внедрения топливных элементов.
Забиваем Сайты В ТОП КУВАЛДОЙ - Уникальные возможности от SeoHammer
Каждая ссылка анализируется по трем пакетам оценки: SEO, Трафик и SMM.
SeoHammer делает продвижение сайта прозрачным и простым занятием.
Ссылки, вечные ссылки, статьи, упоминания, пресс-релизы - используйте по максимуму потенциал SeoHammer для продвижения вашего сайта.
Что умеет делать SeoHammer
— Продвижение в один клик, интеллектуальный подбор запросов, покупка самых лучших ссылок с высокой степенью качества у лучших бирж ссылок.
— Регулярная проверка качества ссылок по более чем 100 показателям и ежедневный пересчет показателей качества проекта.
— Все известные форматы ссылок: арендные ссылки, вечные ссылки, публикации (упоминания, мнения, отзывы, статьи, пресс-релизы).
— SeoHammer покажет, где рост или падение, а также запросы, на которые нужно обратить внимание.
SeoHammer еще предоставляет технологию Буст, она ускоряет продвижение в десятки раз,
а первые результаты появляются уже в течение первых 7 дней.
Зарегистрироваться и Начать продвижение
Стоимость крупномасштабного производства топливно-элементных систем, основанного на современном уровне технологии (400 дол/кВт), пока в десять раз превышает стоимость, которую необходимо иметь для конкурентоспособности с поршневыми двигателями внутреннего сгорания. Силовая установка с топливными элементами стоит около $25000, что почти в семь раз дороже обычного ДВС (около 3500$). Автомобиль с топливными элементами стоит более 1000000 $ при существенно большей массе.
Кроме того, следует иметь ввиду, что текущие потребности в платине, необходимой для создания топливных элементов, слишком велики и не могут быть обеспечены промышленностью. Стоимость только платины в современной системе с топливными элементами мощностью 50 кВт оценивается величиной 57 долл/кВт. Только эта составляющая стоимости выше величины, которую согласно нормативу, установленному DOE, должна иметь вся силовая установка к 2004 г. (50 долл/кВт).
Долговечность работы таких ключевых компонентов, как мембрано-электродная сборка и каталитический топливный процессор, пока не достигла требуемого уровня в 5000 часов. Кроме того, некоторые их компонентов еще не готовы для длительных испытаний.
Время подготовки системы с топливными элементами к работе, определяемое топливным процессором, лежит в пределах 6-20 минут, что неприемлемо для владельцев автомобилей.
Современные компрессоры не могут обеспечить эффективную подачу воздуха в топливный элемент, а топливные элементы, в свою очередь, не могут принять подачу воздуха компрессором. Это приводит к излишней подаче воздуха в топливный элемент, что , в свою очередь, приводит к дополнительной нагрузке на компрессор, понижению общего КПД системы, увеличению размеров батареи топливных элементов, массы и стоимости.
Сервис онлайн-записи на собственном Telegram-боте
Попробуйте сервис онлайн-записи VisitTime на основе вашего собственного Telegram-бота:
— Разгрузит мастера, специалиста или компанию;
— Позволит гибко управлять расписанием и загрузкой;
— Разошлет оповещения о новых услугах или акциях;
— Позволит принять оплату на карту/кошелек/счет;
— Позволит записываться на групповые и персональные посещения;
— Поможет получить от клиента отзывы о визите к вам;
— Включает в себя сервис чаевых.
Для новых пользователей первый месяц бесплатно.
Зарегистрироваться в сервисе
Отдельно следует выделить проблему топливной инфрастуктуры. Применение лучших топлив для топливных элементов, водорода и метанола, требует значительных капиталовложений для создания инфрастуктуры производства и распределения этих топлив, что рискованно до создания эффективных и конкурентоспособных силовых установок с топливными элементами и завоевания ими рынка, что позволит окупить инвестиции. Кроме того, не следует забывать, что производство водорода любым способом в 2-5 раз дороже производства бензина и дизельного топлива. Углеводородные топлива нефтяного происхождения имеют развитую инфрастуктуру производства и распределения, и казалось бы, водород можно получать на борту транспортного средства, но для этого необходимо иметь бортовые топливные процессоры (генераторы водородосодержащего газа) и специализированные топливозаправочные колонки, обеспечивающие зарядку топливом с низким содержанием серы и ароматических соединений.
Фундаментальной проблемой в топливно-элементной технологии является получение и хранение топлива, т.е. обеспечение подачи водорода в требуемом для работы количестве. Применение трех топлив, рассматриваемые автомобилестроителями как основные– водород, метанол и бензин, порождает целый ряд серьезных проблем. Так, хотя применение водорода предпочтительно с точки зрения эффективности выработки энергии, поскольку обеспечивает наилучшие экологические показатели и КПД, водород занимает значительный объем на борту, отличается повышенными пожарной и взрывоопасностью. Водород можно хранить на бору автомобиля в сжатом виде в баллонах под давлением 100-900 бар, в криогенной емкости в жидком состоянии при температуре –253 С, в металлгидридных аккумуляторах, а также может храниться в на борту в составе другого топлива и по мере надобности выделяться из этого топлива (электролиз воды, получение водородосодержащего газа в термохимическом реакторе-риформинге и др.).
В любом случае хранение или получение водорода на борту из другого носителя составляет массу инженерных проблем, приводящих к необходимости создания на борту устройств, имеющих большие габариты, массу и представляющих опасность в эксплуатации. Получение водорода на борту из метанола, бензина или другого углеводородного топлива приводит к необходимости создания миниатюрной бортовой водородной фабрики, увеличивающей массу автомобиля и усложняющей его системы. Кроме того, получаемый в топливных процессорах водород (водородосодержащий газ) не является химически чистым и для использования в топливном элементе должен быть очищен от примесей, способных вызвать отравление катализатора топливного элемента (окись углерода, соединения серы и др.).
Все сказанное дает основания утверждать, что силовые установки с топливными элементами в ближайшее время не смогут конкурировать с установками на базе поршневых двигателей по стоимости, массогабаритным показателям и они найдут весьма ограниченное применение в отдельных областях.
Дизели примерно на 30% экономичнее карбюраторных двигателей, а энергозатраты на производство дизельного топлива почти на 10% меньше, чем на производство высококачественного бензина. Если же учесть такие качества дизеля, как возможность создания установок с агрегатной мощностью 40 … 100 тысяч кВт, перспективы увеличения удельной мощности путем применения различных схем наддува, а также меньшую по сравнению с карбюраторными двигателями токсичность выпускных газов, то становятся ясными причины все более широкого применения дизелей. При этом важно отметить, что перспективы дальнейшего роста показателей качества дизелей далеко не исчерпаны.
Тем не менее и бензиновые двигатели имеют не менее обнадеживающие перспективы их развития . Экономически целесообразный процентный выход из нефти отдельных видов топлив (керосин, бензин, дизельное топливо, топлива широкого фракционного состава и тяжелые топлива) делает бессмысленной сплошную дизелизацию в энергетике и на транспорте и оставляет актуальной проблему совершенствования бензиновых двигателей.
1. ДИЗЕЛИ НОВОГО ПОКОЛЕНИЯ
Дизели нового поколения имеют следующие неотъемлемые черты: высокий регулируемый наддув с промежуточным охлаждением наддувочного воздуха; эффективные системы впрыскивания топлива с электронным управлением форсунками, обеспечивающие многоразовый впрыск с давлениями 180 МПа и более, с требуемыми характеристиками предварительных, основных и дополнительных фаз впрыска; четырехклапанные головки цилиндра с двумя впускными каналами (тангенциальным и вихревым) с регулируемой заслонкой в вихревом канале; агрегаты наддува с возможностью регулирования турбин и компрессоров; переменные управляемые фазы газораспределения; центрально расположенные форсунки с электронным управлением; высокие параметры цикла (Pz= 180-200) бар; низкий уровень механических потерь; систему рециркуляции охлаждаемых выпускных газов; гибкую интегрированную систему электронного управления топливоподачей, воздухоснабжением, фазами газораспределения и системой нейтрализации выпускных газов, что обеспечивает высокую эксплуатационную топливную экономичность и требуемые характеристике по токсичности выпускных газов и уровню виброакустического излучения.
Поскольку в дизелях 45…50% теплоты, выделившейся при сгорании топлива, уносится с выпускными газами и рассеивается в окружающем пространстве теплообменниками системы охлаждения, то широко используется (особенно в судовых, тепловозных и стационарных двигателях) различные системы вторичного использования теплоты (силовые газовые турбины, другие типы расширительных машин, и др.). В комбинированных силовых установок с дизелем и системами вторичного использования теплоты коэффициент использования теплоты достигает 80. .. 90%. Совершенствование показателей качества транспортных дизелей в последние десятилетия XX века происходило в направлении непрерывного повышения их удельной мощности, снижения выбросов токсичных веществ с отработавшими газами, ограничения уровня виброакустического излучения и повышения надежности. Главным средством для повышения удельной мощности по-прежнему являлся наддув дизелей и в меньшей степени удельная мощность увеличивалась путем повышения частоты вращения. Наддув двигателей обеспечил транспортным дизелям высокие мощностные показатели, превосходные показатели по маневренности ( прежде всего улучшил их внешние характеристики), а повышение частоты вращения легких дизелей до 4000-5000 мин -1
несколько сократил разрыв в литровой мощности между бензиновыми двигателями и дизелями. Характерно, что фирмы для достижения высоких показателей решительно пошли на внедрение технических решений, связанных со значительным усложнением конструкции двигателей и их систем. В конструкции двигателей внедрены системы воздухоснабжения с управляемым вихревым движением заряда цилиндра, агрегаты наддува с разнообразнейшими средствами регулирования турбин и компрессоров, управляемые фазы газораспределения, интегрированные электронные системы управления топливоподачей, воздухоснабжением, нейтрализации выпускных газов, бортовые системы диагностирования и др. Произошло значительное форсирование двигателей по параметрам рабочего процесса. Например, максимальное давление сгорания в автомобильных дизелях достигло 16-18 МПа и выше, создается топливная аппаратура с максимальным давлением впрыскивания 160-200 МПа. При этом достижение высоких показателей дизелей по показателям функционирования, экологическим показателям и надежности неразрывно связано с повышением качества изготовления деталей, применением новых конструкционных и композитных материалов. Эта политика является единственно правильной в условиях жесточайшей конкуренции на рынке сбыта, поэтому все фирмы ведут интенсивный поиск новых путей в создании двигателей для автомобилей и энергоустановок XXI века, объединяя свои усилия на государственном и международном уровнях с привлечением новейших технологий. В качестве основных энергетических установок для автомобилей нового поколения рассматриваются двигатели внутреннего сгорания с непосредственным впрыскиванием топлива в цилиндр.
Десять лет назад количество дизелей в автомобилестроении Западной Европы составляло около 14%. В настоящее время эта величина выросла до 45 %, что объясняется внедрением топливной системы с непосредственным впрыском топлива, разработкой для дизелей фирмой БОШ электронной системы управления Motronic MED7, применение которой уменьшило расход топлива на 15-40% (особенно на частичных нагрузках). Стимулируют широкое применение дизелей и выбросы CO2
, которые должны быть уменьшены со 186 г/км в 1998 г. до 140 г/км в 2008 г.
Центральным при разработке дизелей нового поколения является достижение ведущих показателей качества – удовлетворение перспективным требованиям по удельной мощности (50-60 кВт/л), экономичности (185-195 г/(кВт.ч)), экологическим показателям выброс токсичных веществ не хуже Евро-4, маневренности и надежности, а также удовлетворение ряду дополнительных требований, вытекающих из требований старшей системы – транспортного средства. К числу этих требований следует отнести низкую удельную массу, приемлемые габаритные показатели, стоимость изготовления, а также требования по обеспечению комфорта и безопасности.
Видное место в обосновании концепции транспортного двигателя принадлежит средствам снижения эмиссии токсичных веществ двигателями. Все известные на сегодня методы можно разделить на три группы. К первой группе следует средства, обеспечивающие уменьшение образования токсичных веществ в двигателе (совершенствование конструкции двигателя, систем топливоподачи, процессов смесеобразования и сгорания, турбонаддув и управляемое воздухоснабжение , рециркуляция отработавших газов, комплексное электронное управление топливоподачей и воздухоснабжением, рециркуляция отработавших газов). Ко второй группе относят мероприятия химмотологического характера, такие как уменьшение содержания серы в топливе (до величин 50 ppm и в перспективе до величины 30 ppm), ограничение содержания в топливе ароматических углеводородов (не более 10%), увеличение цетанового числа, обогащение топлива кислородом, применение антидымных и других присадок к топливу, применение смазочных материалов с повышенными экологическими свойствами. Третья группа мероприятий связана с нейтрализацией вредных веществ в выпускном коллекторе (фильтры твердых частиц, каталитические окислительные и восстановительные нейтрализаторы). К этой же группе следует отнести и средства ограничения акустического излучения (глушители, капсулирование, экранирование).
Качество смесеобразования в дизелях с непосредственным впрыскиванием топлива определяется интенсивностью вихревого движения заряда в камере сгорания, уровнем мелкомасштабной турбулентности и характером распространения топливных струй в камере сгорания. Движение воздушного заряда в камере зависит от взаимодействия потоков, создаваемых во впускных каналах и потока от вытеснительного движения поршня, а также от возмущений, вносимых в движение заряда топливными струями. Известно, что требуемое по условиям смесеобразования и показателей токсичности вихревое отношение уменьшается с ростом диаметра цилиндра и в диапазоне диаметра цилиндра 80-100 мм лежит в пределах 3,0-1,0.
Большое значение для смесеобразования и последующего сгорания имеет камера в поршне. Для непосредственного впрыскивания наибольшее распространение получила омегообразная камера сгорания, выполненная с таким расчетом, чтобы 70-80% объема камеры сгорания были сосредоточены в поршне. Предварительная оптимизация формы камеры сгорания должны выполняться методом компьютерной оптимизации с моделированием движения потоков рабочего тела и распространением топливных струй. Существенное значение на качество смесеобразования имеют соотношения характерных размеров камеры в поршне (диаметра горловины камеры к диаметру поршня и диаметра горловины к максимальному диаметру камеры в поршне). Однако ключевым моментом в организации качественного рабочего процесса является топливоподача и согласование характеристик топливных факелов с формой камеры сгорания и аэродинамической обстановкой.
Наибольшая эффективность при решении комплексной проблемы повышения экономичности, снижения токсичности и улучшения внешней характеристики может быть достигнута при совместном управлении топливоподачей и воздухоснабжением. Это управление позволяет целенаправленно изменять коэффициент избытка воздуха путем согласования подачи воздуха с величиной цикловой подачи топлива в широком диапазоне скоростных и нагрузочных режимов работы дизеля. Увеличение давления наддува k
с низкими α дает возможности уменьшать угол опережения впрыскивания с целью снижения эмиссии оксидов азота NOx без заметного снижения экономичности и увеличения выбросов CO и CHx и сажи. Требуемый закон управления давлением наддувочного воздуха может быть реализован с использованием различных способов воздействия на процессы воздухоснабжения: регулирование компрессора поворотными лопатками на входе и выходе, дросселирование воздуха после компрессора; выпуск в атмосферу части сжатого воздуха; дросселирование воздуха на входе в компрессор; подвод дополнительной энергии к турбокомпрессору; перепуск части сжатого в компрессоре воздуха в турбину; дросселирование газа на выходе из турбины; регулирование турбины поворотом сопловых лопаток (РСА); регулирование проходного сечения турбины; перепуск части газов мимо турбины; применение дополнительной (форсажной) камеры сгорания перед турбиной; управляемый привод клапанов. Эти способы имеют различную эффективность, надежность и технические трудности при реализации. Наименьшую эффективность имеют способы управления с применением дросселирования воздуха на входе в компрессор и газа на выходе из турбины. Это обусловлено значительными потерями энергии при дросселировании и соответствующим снижением экономических и экологических показателей дизеля. В частности, дросселирование на выходе из турбины приводит к ухудшению очистки цилиндров, снижению α, повышению температур сгорания и увеличению содержания основных токсичных компонентов в выпускных газах. Наибольшей сложностью и необходимостью тщательной отработки на надежность отличаются способы с применением поворотных лопаток диффузора компрессора и соплового аппарата турбины. Кроме того, этим способам присущи утечки воздуха и газа через зазоры и возможность закоксовывания лопаток РСА. Тем не менее в последнее время ряд зарубежных фирм разработали для транспортных двигателей турбины с РСА либо турбины с регулируемым сечением соплового аппарата (Гаррет, ККК, Холсет, Хино, Альфа Ромео, Швитцер, Аэродайн Даллас и др.). Внедрение турбокомпрессоров с таким способом регулирования позволило снизить эксплуатационные расходы топлива на 7-12%.
Системы регулирования воздухоснабжения перепуском части наддувочного воздуха перепуском на вход турбины или выпуском в атмосферу сравнительно просты, но нашли ограниченное применение вследствие потери энергии на сжатие перепускаемого воздуха.
Способ перепуска части выпускных газов мимо турбины оказался наиболее простым в реализации для дизелей с невысоким уровнем наддува ( k
=1,5 - 2,0) и позволяет регулировать частоту вращения ротора турбокомпрессора и давление наддува в довольно широких пределах, однако по эффективности он уступает способу регулирования турбины при помощи РСА.
Подвод дополнительной энергии к ротору турбокомпрессора и установка форсажной камеры сгорания перед турбиной ранее находили применение в основном только в дизелях большой мощности с высоким наддувом ( k
>2,0).
Большое внимание при разработке системы воздухообеспечения имеет согласование характеристики турбокомпрессора с гидравлической характеристикой дизеля. При этом для транспортных дизелей стремятся подобрать турбокомпрессор, максимальный КПД которого достигается на режимах с n=0,4-0,7 n nom
. Формирование базовых характеристик, обеспечиваемых регулируемым турбокомпрессором и системой топливоподачи, управляемой электронным регулятором с регулированием угла опережения впрыскивания, позволяет снизить среднеэксплуатационный расход топлива на 1,5%, уменьшить эмиссию оксидов азота NOx на 45%, эмиссию СО на 30%, эмиссию СН на 23%(по сравнению с характеристиками дизеля с нерегулируемым турбокомпрессором) .
Хорошие результаты дает применение так называемой комбинированной системы наддува, в которой сочетаются турбонаддув и инерционный наддув (использование газодинамических явлений во впускном трубопроводе). В этом случае длина, диаметр и форма впускного трубопровода и настройка турбокомпрессора выполняются так, чтобы на наиболее важном режиме работы двигателя обеспечивался максимальный коэффициент наполнения. Реализация данного способа в дизелях «РАБА-МАН» , «Заурер», «Хино» и др. обеспечивает снижение расхода топлива на 5-7%. Имеются реализации двух и трехрежимной (ступенчатой) газодинамической настройки длины и формы впускных каналов, например, в двигателях фирмы BMW и Фольксваген.
Общеизвестно важнейшее влияние на рабочий процесс, эффективные и экологические показатели дизелей параметров работы топливоподающей аппаратуры (ТПА). К ней предъявляется не менее двух десятков обязательных требований, несоблюдение которых не обеспечивает конкурентоспособность дизелей. В ограниченных рамках данной работы остановимся в основном на двух качествах ТПА, определяющих долговременные и важнейшие тенденции развития дизелестроения и производства ТПА. Характерно, что среди полутора десятков тенденций дизелестроения ведущие специалисты MAN, Mercedes-Benz, Scania на 2 и 3 место поставили именно эти два качества ТПА: электронное регулирование топливоподачей, двигателем и интенсификация впрыскивания . Специалисты фирмы R.Bosch среди десяти методов обеспечения норм Euro-1...4 пять относят к ТПА и на первом месте те же ее свойства.
Повышение давления впрыскивание - уникальный по универсальности способ воздействия на рабочий процесс дизеля, позволяющий одновременно улучшить все важные и противоречивые по методам достижения результата показатели дизеля: экономичность, мощность и максимальное давление цикла, жесткость сгорания; выбросы частиц, углеводородов и окислов азота.
В последние десять-двадцать лет интенсивность впрыскивания в дизелях всех типов существенно возросла. В первую очередь это относится к быстроходным, автомобильным дизелям. Если в период 1930... 1970 гг. максимальное давление впрыска (Рв
max
) в них составляло 25... 45 МПа, и изменялось со временем мало, то в период 1975...2006 гг. во вновь разрабатываемых системах Рв
max
поднялось до 70...130 МПа, а в некоторых системах до 180 МПа (а в системах с насос форсунками – до 250 МПа). Этот скачок, конечно, был обязан энергетическому кризису 70-х годов и последующим стремлением снизить токсичность ОГ. В среднеоборотных дизелях рост Рв
max
шел более равномерно и в начале 70-х привычным уровнем считался более высокий - 70...100 МПа. В настоящее время ведущие фирмы предлагают ТНВД с давлениями 150...180 МПа. В малооборотных дизелях картина менее выраженная - за двадцатилетие уровень Рв
max
поднялся с 70...80 до 90...100 МПа, что объяснялось скорее стремлением использовать все более тяжелые топлива. Таким образом к 1996 г. уровень Рв
max
для всех типов современных дизелей сблизился, хотя способы его обеспечения и конструктивные решения имеют отличия.
Значительные резервы в повышении показателей качества двигателей кроются в совершенствовании систем управления двигателями. Замена механического регулирования электронным позволяет проводить глубокую оптимизацию параметров работы дизеля и таким образом значительно улучшать его потребительские качества. В качестве параметров управления дизелем ранее рассматривали цикловую подачу и опережение. В настоящее время системы управления значительно расширили перечень управляемых параметров, включив в них давление и характеристики впрыскивания, сечения распыливающих сопел, количество и фазы впрысков, параметры воздухоснабжения, фазы газораспределения и др. Оптимальные значения этих параметров зависят большого числа факторов, учесть которые удается только при отказе от механических, гидравлических и пневматических регуляторов.
Электронное управление позволяет решить одну из наиболее трудных проблем создания газодизеля , обеспечивая гибкое управление подачей обоих топлив и реализуя для улучшения полноты сгорания бедных гомогенных смесей смешанное количественное и качественное регулирование мощности, а также за счет повышения точности и гибкости управления экономию жидкого топлива.
2. БЕНЗИНОВЫЕ ДВИГАТЕЛИ
й. В последнее время существенно вырос КПД бензиновых двигателей нового поколения с распределенным впрыском топлива во впускной трубопровод и с непосредственным впрыском бензина в цилиндр. Повышение экономичности было достигнуто благодаря переходу на четырехклапанное газораспределение с двумя впускными каналами (тангенциальным и вихревым) с регулируемой заслонкой в вихревом канале, повышению турбулентности заряда в цилиндре, повышению степени сжатия двигателей до 10,5…12,0, расширению пределов эффективного обеднения смеси и переходу на бездроссельное регулирование (применение управляемых фаз газораспределения, в первую очередь, момента закрытия и высоты подъема впускных клапанов ) и качественное регулирование мощности (двигатели с впрыском топлива непосредственно в цилиндр), агрегаты наддува с возможностью регулирования турбин и компрессоров. Повышению показателей двигателей способствовали низкий уровень механических потерь, гибкая интегрированную систему электронного управления топливоподачей, воздухоснабжением, фазами газораспределения и системой нейтрализации выпускных газов, что обеспечивает высокую эксплуатационную топливную экономичность и требуемые характеристике по токсичности выпускных газов и уровню виброакустического излучения.
Известно, что фазы газораспределения оптимальны только для одного режима и этот факт использовали для улучшения внешних характеристик двигателей. Соответствующим выбором для каждого скоростного и нагрузочного режима фаз можно добиться наилучших условий протекания рабочего процесса и в итоге получить снижение токсичности и повышение экономичности. Это и лежит в основе создания двигателей с управляемыми фазами газораспределения. Работы над созданием таких двигателей проводились давно. Первая система с регулируемыми фазами впуска и выпуска была запатентована основателем фирмы Renault Луи Рено в 1902 г. Интерес к управляемым фазам резко усилился в последнее время и многие фирмы имеют двигатели с достаточно эффективными механизмами изменения фаз газораспределения. Фирма Hydraulic-Ring c 1995 г. поставляет фирме Audi устройство для регулирования угла поворота впускного кулачкового вала . Ведущие автомобильные фирмы стали широко применять системы управляемого газораспределения. Так, японские фирмы для своих бензиновых двигателей применяют VTEC (фирма Honda), VVT-I и VVT-L (фирма Тойота), позволяюшие в широких пределах изменять фазы открытия и закрытия клапанов и ступенчато изменять их подъем . Фирма BMW применяет механическую систему регулирования фаз газораспределения, основанную на бесступенчатом сдвоенном механизме VANOS и механизме Valvetronic, позволяющие менять фазы, высоту подъема клапана и продолжительность его открытия, фирма Porsche применяет сиcтему Vario Cam, фирма Meta VVN System разработала непрерывно регулируемый механический привод клапанов, который обеспечивает полностью переменные фазы газораспределения, обеспечивающие для бензиновых двигателей бездроссельное регулирование мощности двигателя .
Однако наибольшими функциональными возможностями и эффективностью воздействия на показатели двигателей обладает система с электромагнитным приводом клапанов и с электронным управлением (EVT), разработанная фирмой Siemens Automobiltechnik. Она позволяет реализовывать различные циклы, такие как управляемое запаздывание закрытия впускного клапана (цикл Аткинсона), раннее закрытие впускного клапана (цикл Миллера), организовывать большое перекрытие клапанов, изменять высоту подъема клапанов, организовывать процесс газообмена с повышенным содержанием остаточных газов (цикл с внутренней рециркуляцией остаточных газов). Каждый клапан в системе EVT имеет датчик положения, электромагнитный исполнительный механизм и индивидуально управляется электронной системой управления .
Хорошие результаты в бензиновых двигателях дает инерционный наддув (использование газодинамических явлений во впускном трубопроводе). В этом случае длина, диаметр и форма впускного трубопровода и настройка турбокомпрессора выполняются так, чтобы на важных режимах работы двигателя обеспечивался максимальный коэффициент наполнения. Имеются реализации двух и трехрежимной (ступенчатой) газодинамической настройки длины и формы впускных каналов, например, в двигателях фирмы BMW и Фольксваген, обеспечивающие снижение расхода топлива на 5-7% и формирование благоприятной внешней характеристики.
Основным способом повышения литровой мощности бензиновых двигателей, как и дизелей, является наддув. Для двигателей с литровой мощностью 65-70 кВт/л все чаще применяют одноступенчатый наддув, а для двигателей с литровой мощность применяют двухступенчатый наддув.
Перспективно применение в бензиновых двигателях турбокомпрессоров с встроенным электродвигателем для подкрутки турбокомпрессора на некоторых режимах для получения большего давления наддува и расхода воздуха или системы наддува с приводным нагнетателем и свободным турбокомпрессором.
Кроме повышения экономичности бензиновых двигателей в последние годы достигнуто значительное (на 90 … 95%) снижение токсичных выбросов с отработавшими газами. Это было обеспечено прежде всего массовым внедрением электронных систем впрыска бензина, микропроцессорных систем управления рабочих процессов с обратной связью, поддерживающих в так называемых стехиометрических двигателях состав смеси в узких пределах (α=0,995 … 1,005), либо в двигателях с непосредственным впрыском в цилиндр, обеспечивающих изменение коэффициента избытка воздуха в широких пределах (α=0,9 … 4,0).
Эксплуатационная экономичность транспортных двигателей повышается, если их мощность используется в условиях оптимальной загрузки. С этой целью создаются двигатели с отключением части цилиндров при уменьшении нагрузки. Для уменьшения механических потерь на отдельных режимах отключают водяные насосы, вентиляторы и другие агрегаты.
Эксплуатационный расход топлива ДВС можно существенно уменьшить путем применения интегрированных электронных систем управления двигателем и всей силовой установкой машины, в составе которой работает двигатель. Такие системы оптимизируют не только работу двигателя и систем нейтрализации выпускных газов, но и совместную работу двигателя и автоматической коробки передач, обеспечивают поддержание наиболее рациональной скорости движения автотранспортного средства, а также выполняют непрерывное бортовое диагностирование технического состояния двигателя и его систем.
Основным способом увеличения удельной мощности двигателей всех типов является повышение давления воздуха на входе в цилиндр. Поэтому большое внимание уделяется совершенствованию систем воздухоснабжения, созданию сложных регулируемых систем наддува, совершенствованию агрегатов наддува, повышению их КПД, улучшению и согласованию их характеристик с характеристиками двигателя.
3. АЛЬТЕРНАТИВНЫЕ ТОПЛИВА
Наряду с повышением экономичности и улучшением экологических характеристик ДВС весьма актуальной задачей является расширение сортамента применяемых видов топлив и улучшение их качества. Прежде всего речь идет о более широком использовании двигателями природного и попутного газа. При работе на газовом топливе уменьшается выброс в атмосферу токсичных веществ и примерно вдвое сокращается выброс углекислого газа СО2
.
Следует отметить возможность более широкого использования синтетических топлив, получаемых из угля и горючих сланцев. Эти топлива могут быть получены как промышленным способом, так и на борту транспортных средств в специальных газогенераторах. Продолжаются работы по использованию в дизелях водноугольных и топливноугольных суспензий.
Запасы газа, нефти, каменного угля и сланцев не возобновляются, поэтому наибольший интерес представляют топлива из возобновляемых источников, такие как биогаз, спирты (этанол, метанол), эфиры, растительные масла и топлива, получаемые из них. Исследования работы ДВС на спиртовом и спиртосодержащем топливе позволили установить, что меньшая теплота сгорания спиртосодержащих топлив компенсируется более высоким КПД двигателя, достигаемым повышением степени сжатия.
Характерно, что двигатели с принудительным воспламенением, работающие на спиртовых топливах (например, на метаноле), имеют лучшие экологические характеристики: меньшие выбросы оксида углерода СО и углеводородов СНx
, вследствие возможности работы на обедненных смесях, а пониженная температура продуктов сгорания способствует меньшим выбросам с выпускными газами оксидов азота.
Значительный интерес в качестве моторного топлива представляет диметиловый эфир СН3
ОСН3
. Его можно получать из веществ, содержащих углерод (уголь, природный газ и биомасса). Технологический процесс получения диметилового эфира аналогичен процессу получения метанола. Уникальность этого топлива, близкого по своим физическим свойствам к свойствам сжиженного газа (пропан-бутана), заключается в том, что его можно применять в дизелях с малой модернизацией топливной аппаратуры. При этом работа дизеля характеризуется низким уровнем шума, минимальным уровнем выбросов сажи, низким уровнем выбросов оксидов азота, углеводородов. Немногие альтернативные топлива обладают аналогичными экологическими характеристиками. И только по одному компоненту диметиловый эфир уступает другим топливам – по выбросам СО. Впрочем, этот компонент в выпускных газах на 85…90% устраняется нейтрализатором в выпускной системе.
С точки зрения теплотворной способности и эмиссии токсичных компонентов в выпускных газах водород является самым лучшим из возможных альтернативных топлив. Проблемы, относящиеся к применению водорода в качестве топлива для ДВС, связаны с его получением, распределением и хранением его на борту транспортных средств. Себестоимость способов получения водорода электролизом воды, гидрированием угля, частичным окислением углеводородных топлив в пересчете на энергетическую единицу пока в 2-10 раз выше себестоимости получения природного газа и традиционных жидких топлив.
Кроме поиска альтернативных топлив необходимо отметить и непрерывное повышение требований к существующим моторным топливам. Обеспечение эффективной работы нейтрализаторов требует применения топлив с низким содержанием серы (не более 50 частей серы на миллион других частей), запрещения применения этилированных бензинов, сокращения содержания ароматических углеводородов в топливе и др.
4. Улучшение экологических показателей ДВС.
Экологические показатели ДВС определятся выбросом токсичных веществ с выпускными газами, испарениями топлив и масел (химическое загрязнение окружающей среды), шумом и вибрациями, сопровождающими работу двигателей (виброакустическое загрязнение), а также тепловым загрязнением окружающей среды. По оценкам исследователей в структуре общего загрязнения окружающей среды на долю ДВС, если учесть загрязнение в процессе добычи нефти, газа и другого сырья и переработки их на моторные топлива, приходится более 1/3 суммарного загрязнения.
Основными составляющими химического загрязнения окружающей среды при работе ДВС являются оксиды азота NOx (
в основном NO
и NO2
), оксид углерода CO
, сероводород H2
S
, углеводороды CHx (
в том числе полицикличесие ароматические углеводороды, большинство из которых являются канцерогенами), альдегиды RCHO
и твердые частицы (ТЧ
). К числу твердых частиц относят сажу (основной компонент ТЧ
), минеральные частицы из воздуха и топлива (пыль и зола), металлические частицы, образующиеся в процессе износа поверхностей трения ЦПГ, компоненты масла, присадок к топливу и др., т.е. все, что может быть задержано на фильтрующем материале.
В последнее время все острее становится проблема так называемых парниковых газов. Ярким представителем парниковых газов является углекислый газ CO2
, на долю которого относят около половины парникового эффекта.
Экологические показатели ДВС имеют большое значение при выборе их в качестве источников энергии для агрегатов, работающих в изолированных объемах (шахты, рудники, животноводческие помещения, парники и др.) и плохо вентилируемых пространствах (длинные плохо вентилируемые тоннели, глубокие открытые карьеры и др.). Поэтому важно уметь правильно оценивать выброс вредных веществ, виброакустическое и тепловое загрязнения от ДВС при работе на различных режимах.
Для оценки токсичноси ДВС при работе на различных режимах используют характеристики токсичности. Количество оксидов азота и углеводородов на таких характеристиках представляют в приведенных к CO
количествах (по величинам предельно допустимых концентраций в соответствии с санитарными нормами).
Анализ исследовательских и конструкторских работ по улучшению показателей токсичности ДВС позволил наметить наиболее перспективные направления:
- уменьшения образования токсичных веществ в цилиндре;
- разработка способов и устройств нейтрализации вредных веществ.
Наиболее рациональным путем уменьшения загрязняющего воздействия ДВС на окружающую среду является использование способов , уменьшающих образование токсичных веществ. Если же этими способами не удается достигнуть приемлемого уровня токсичности, то в выпускной системе для поглощения или нейтрализации вредных веществ устанавливают специальные устройства – нейтрализаторы. В этом случае усложняется и удорожается двигатель, а также могут незначительно ухудшиться его эффективные показатели.
Для уменьшения загрязняющего воздействия ДВС на окружающую среду прежде всего необходимо улучшать их экономичность. С уменьшением удельного расхода топлива при прочих равных условиях теоретически пропорционально должно уменьшаться и количество токсичных компонентов и CO2
в выпускных газах. Однако следует учесть, что с ростом КПД ДВС выделение NOx
может расти более интенсивно, чем уменьшение CO
, CHx
, твердых частиц и других продуктов неполного сгорания, т.е. повышение экономичности может привести к ухудшению показателей токсичности за счет увеличения выбросов токсичных оксидов азота.
Большие резервы для уменьшения токсичности выпускных газов ДВС предоставляет совершенствование протекания рабочего процесса ДВС. Привлекательность этого пути улучшения экологических характеристик ДВС состоит в том, что улучшение протекания рабочего процесса, как правило, сопровождается и повышением эффективности функционирования ДВС, за исключением большинства средств ограничения выбросов токсичных веществ.
Для снижения количества токсичных веществ в продуктах сгорания необходимо улучшать качество смесеобразования и сгорания, обеспечивать работу двигателя на обедненных смесях, снижать объем смеси или топливных факелов в зонах гашения пламени ( в пристеночных зонах камеры сгорания), подбирать рациональные в соответствии с режимом работы углы опережения зажигания смеси или впрыскивания топлива, применять рециркуляцию выпускных газов.
Улучшение смесеобразования и сгорания приводит к снижению дымности выпускных газов и содержания в них CO
и CHx
. Минимальное содержание CO и CHx
в выпускных газах получается при экономичной регулировке , т.е. при a
= 1, 05 - 1,15. При работе двигателя с этой регулировкой температура сгорания достаточно высокая и в зоне продуктов сгорания имеется большое количество свободного кислорода. По этим причинам в выпускных газах наблюдается максимальное содержание NOx (соответствует a
= 1,15). В связи с эти для уменьшения образования основных токсичных компонентов – NOx
, CO
и CHx
в двигателях с принудительным воспламенением смеси ( с распределенным впрыскиванием бензина) полезно применение расслоение смеси, при котором на первом этапе (в зоне расположения свечи) сгорание происходит в зоне с обогащенной смесью, а на втором этапе – в зоне с обедненной смесью ( в основном объеме камеры сгорания). Эта же идея расслоения заряда лежит и в основе создания процесса в двигателях с принудительным зажиганием и непосредственным впрыскиванием легкого топлива в цилиндр. При этом появляется возможность ослабить ограничения на детонационные свойства топлива и перейти к качественному регулированию мощности двигателя, исключив в основном диапазоне режимов работы двигателя регулирование при помощи дроссельной заслонки и отрицательные последствия дросселирования – повышенную работу насосных ходов при прикрытой дроссельной заслонке, а также полностью исключить последствия образования топливной пленки во впускном коллекторе, неизбежной при карбюраторном способе образования или при центральном впрыскивании легкого топлива.
Эта концепция развития бензиновых двигателей, работающих на ультрабедных смесях с повышенными степенями сжатия без детонации позволит в ближайшее время сделать прорыв в создании эффективных малотоксичных и высокоэкономичных бензиновых двигателей.
Изменение угла опережения зажигания в двигателях с принудительным воспламенением слабо влияет на содержание CO
2
и CO
в выпускных газах. Концентрация же CHx
при уменьшении угла опережения зажигания уменьшается и лишь при чрезмерно позднем зажигании возможно увеличении CHx
. Концентрация NOx
резко снижается при работе двигателя в диапазоне a
> 1,0 с уменьшением угла опережения зажигания, что главным образом связано с уменьшением максимальной температуры цикла. При работе же в диапазоне a
<
1,0 образование NOx
ограничивается недостатком свободного кислорода в зонах сгоревшей смеси. По этой причине концентрация NOx
практически не изменяется с изменением угла опережения зажигания.
Таким образом, в двигателях с принудительным воспламенением смеси можно существенно уменьшить токсичность ДВС, подбирая рациональные в отношении токсичных веществ в выпускных газах состав смеси и угол опережения – зажигания.
В дизелях средняя по объему камеры сгорания температура сгорания выше, чем в двигателях с принудительным зажиганием. Однако локальные температуры в камере сгорания достаточно высокие, что в условиях большого избытка кислорода способствует образованию NOx
. Поэтому при одном и том же коэффициенте избытка воздуха в зависимости от качества протекания смесеобразования содержание одного из основных токсичных компонентов в выпускных газах NOx
может существенно изменяться. Для уменьшения содержания NOx
в выпускных газах дизеля следует выравнивать распределение температуры по объему камеры и снижать среднемассовую температуру. Эффективным средством выравнивания распределения температуры по объему камеры сгорания является турбулизация воздушного заряда и улучшение распределения топлива по объему камеры сгорания (повышение давлений впрыскивания и оптимизация распределения топливных факелов по объему). Характерно, что это мероприятие не скажется на термодинамическом совершенстве цикла, так как термодинамический КПД однозначно определяется величиной среднемассовой температуры.
Снижению среднемассовой температуры заряда во время горения способствуют рециркуляция отработавших газов и охлаждение воздушного заряда на впуске или внутреннее охлаждение в цилиндре (например, реализация цикла Миллера).
Другой токсичный компонент в выпускных газах – сажа – образуется в зонах камеры сгорания с сильно переобогащенной смесью в результате термического распада топлива под действием высокой температуры. Сажа загрязняет легкие человека, но главная ее опасность состоит в том, что она является адсорбентом других токсичных веществ, в том числе ПАУ, например, бенз(а)пирена, являющегося сильнейшим канцерогеном. Тем самым сажа увеличивает продолжительность воздействия опасных веществ на организм человека. В процессе расширения происходит частичное выгорание сажи. В отличие от дизелей в двигателях с принудительным воспламенением, работающих при a > 0,7 сажа образуется в ничтожных количествах. И только при переходе к непосредственному впрыскиванию бензина в цилиндр вероятность возникновения сажи увеличивается.
Таким образом, содержание сажи в выпускных газах дизелей можно существенно снизить ограничением ее образования и содействием ее выгорания в процессе расширения путем улучшения смесеобразования и сгорания.
Дизели с разделенными камерами сгорания ( предкамерные и вихрекамерные) менее токсичны, чем дизели с неразделенными камерами сгорания, так как в них органически реализуются принципы расслоения заряда и повышенной турбулизации, способствующие уменьшению выброса оксидов азота NOx
. Однако вследствие повышенных тепловых и гидравлических потерь они менее экономичны, поэтому их применение дизелей с разделенными камерами рационально только там, где экологические требования являются решающими.
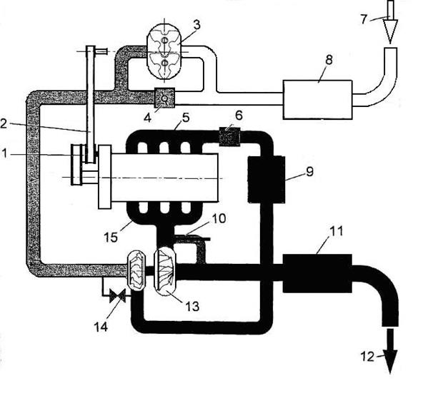
Эффективным методом снижения токсичности выпускных газов является рециркуляция отработавших газов, заключающаяся в возвращении части отработавших газов из выпускной системы на впуск и смешивании их со свежим зарядом (рис.4.1). Этот метод основан на разбавлении поступающего в цилиндр воздуха химически инертными газами. Наибольший эффект при разбавлении обеспечивают высокотеплопроводные газы, такие как CO2
. Снижение токсичности при рециркуляции ОГ обусловлено как воздействием на процессы горения, так и снижением общей массы выпускных газов, выбрасываемых в атмосферу, поскольку часть газов снова возвращается в двигатель. Воздействие рециркуляции на процессы горения заключается в задержке начала сгорания и замедлении его развития (флегматизация процессов горения), что приводит к снижению температур сгорания и уменьшению эмиссии оксидов азота NOx . При этом снижаются и выбросы альдегидов. Наиболее эффективна рециркуляция охлажденных газов, так как при перемешивании с охлажденными газами температура смеси воздуха с рециркулируемыми газами получаются ниже.
| 
|
| Рис. 4.1. Система рециркуляции выхлопных газов
|
Перепуск обычно осуществляют на режимах работы двигателя, на которых в цилиндре имеется достаточное количество кислорода, поэтому на холостых нагрузках степень рециркуляции достигает 55%, а на режимах с нагрузкой 75..80% степень рециркуляции уменьшается до 0. Регулирование доли доли перепускаемых газов осуществляется электронными системами управления РОГ с учетом скоростного и нагрузочного режима работы с учетом давления и температуры окружающего воздуха, свойства применяемого топлива. Применение РОГ с электронным управлением клапана рециркуляции приводит к снижению выбросов NOX
на 30-75% при работе по 13-ступенчатому циклу. Следует отметить, что надежность двигателя с системой РОГ снижается при работе на высокосернистых топливах вследствие рециркуляции вместе с отработавшими газами серной кислоты, способствующей интенсификации коррозионного износа. Увеличению износа двигателя способствует и циркуляция частиц сажи вместе с отработавшими газами.
Углеводороды CHx
образуются в зонах камеры сгорания с невысокой температурой (пристеночные зоны), с чрезмерно обогащенной или обедненной смесью, а также при пропусках воспламенения смеси и при испарениях топлива и масла. Количество углеводородов, выбрасываемое в атмосферу, сравнительно невелико, за исключением двухтактных двигателей с внешним смесеобразованием и большими коэффициентами продувки. При неблагоприятных условиях несгоревшие углеводороды образуют смог. Уменьшение содержания углеводородов в выпускных газах достигается обеспечением герметичности топливной аппаратуры, обеспечением полноты сгорания, ликвидацией пропусков сгорания, выбором конструкции камеры сгорания. Для понижения концентрации CHx
в выпускных газах часто используют термические нейтрализаторы, в которых организуется догорание несгоревших углеводородов CHx
, CO
и H2
.
В термических нейтрализаторах обезвреживание газов состоит в окислении при высоких температурах CO
и C
Hx
. При невысоких температурах (150-200°С) в термических нейтрализаторах происходит преобразование NO
в NO2
, а токсичность NO2
существенно ниже, чем токсичность NO. Термические нейтрализаторы выполняют в виде теплоизолированных камер сгорания и устанавливают в выпускной системе по возможности ближе к выпускным каналам двигателя.
В каталитических нейтрализаторах для ускорения протекания окислительных или восстановительных реакций применяют катализаторы, в качестве которых используют металлы или их окислы: платина, палладий, окислы меди, никеля и др. Выпускные газы пропускают через слой катализатора. Наличие сажи в выпускных газах приводит к забиванию катализатора. С этим борются, устанавливая сажевые фильтры перед нейтрализатором или путем периодического выжигания сажи в нейтрализаторе. Опасен для каталитических нейтрализаторов свинец, дезактивирующий нейтрализатор и сера. Поэтому при применении каталитических нейтрализаторов в двигателях используют неэтилированные бензины с низким содержанием серы.
В жидкостных нейтрализаторах токсичные вещества растворяются или связываются при их прохождении через воду или водные растворы определенных веществ. После прохождения через эти нейтрализаторы выпускные газы содержат жидкость, которая удаляется в специальных фильтрах. В жидкостных нейтрализаторах задерживается до 60 … 80% сажи и около 30% NOx
. Жидкостные нейтрализаторы громоздки и требуют частой смены фильтрующей жидкости.
В настоящее время наибольшее распространение получили трехкомпонентные нейтрализаторы. Они позволяют достигнуть высокой степени очистки выпускных газов по CO
, CHx
, NOx
, но для их функционирования необходима точная регулировка коэффициента избытка воздуха в окрестности a
= 1,0 (стехиометрическая смесь). С этой целью в выпускной системе двигателя устанавливается специальный датчик (l
- зонд), реагирующий на содержание кислорода в выпускной системе. У этого датчика, представляющего собой элемент из порошка диоксида циркония ZrO2
, используется сильная зависимость ЭДС твердотельного гальванического элемента ZrO2
от концентрации кислорода. Сигналы об изменении концентрации кислорода (состава смеси) передаются в блок электронного управления, который формирует управляющее воздействие на исполнительный механизм привода дроссельной заслонки электронного карбюратора или на элементы дозирования электронной системы впрыскивания топлива. В результате двигатель работает на стехиометрической смеси, обеспечивая приемлемую экономичность и минимальные выбросы после нейтрализатора CO
, NOx
и CHx
.
| 
|
| Рис.4.2. Система SCR (селективной каталитической очистки ОГ от оксидов азота)
|
Большая часть европейских автопроизводителей, среди которых Mercedes-Benz, DAF, Iveco, Renault Trucks, Volvo Trucks и другие, для обеспечения требований «Евро-4» ориентируются на систему SCR. SCR представляет собой каталитический нейтрализатор, в котором оксиды азота восстанавливаются до чистого азота. Для осуществления реакции в нейтрализатор непрерывно подается жидкий реагент, представляющий собой 32,5-процентный водный раствор мочевины. SCR обеспечивает высокую степень нейтрализации оксидов азота, на уровне 80-90%. Подаваемый в нейтрализатор реагент широко известен под названием AdBlue. Применение SCR не ухудшает, по сравнению с методом рециркуляции ОГ, рабочий процесс двигателя. Более того, применение SCR, по имеющимся данным, позволяет улучшить топливную экономичность дизелей на 5–7%, по сравнению с двигателями уровня «Евро-3». Связано это с тем, что для достижения требований «Евро-3» производители двигателей, наряду с системой рециркуляции, были вынуждены жертвовать оптимальными настройками двигателя, смещая момент начала впрыска топлива.
Установка нейтрализаторов в выпускной системе ДВС увеличивает гидравлическое сопротивление системы, что приводит к некоторому ухудшению экономичности двигателя.
Удаление картерных газов во впускную систему позволяет заметно снизить выброс токсичных газов в атмосферу. Это уменьшение может составить по CHx
на 10 … 40%, NOx
на 5 … 25% и CO
на 10 … 25%.
Улучшить экологические характеристики ДВС можно подбором топлив. Например, при замене бензина на газ существенно понижается токсичность выпускных газов и содержание в них CO2
. Благоприятно сказывается на показателях токсичности ДВС перевод их на спирты и эфиры. Особенно перспективно применение в двигателях метанола и диметилэфира, которые можно получать не только из газа, каменного угля, но из биомассы .
Для уменьшения токсичности выпускных газов двигателей широко используют различные присадки к топливам, например, антидымные присадки к дизельным топливам.
Как отмечалось ранее, экологические показатели ДВС зависят от уровня шума, создаваемого им при работе. Под шумом ДВС понимают интенсивность акустического излучения, воспринимаемого наблюдателем. В работающем двигателе первопричиной акустического излучения является рабочий процесс, перекладки поршней, выборы с ударами зазоров в сопряжениях передач, акустический шум на выпуске и впуске и др. Уровень шума выражают в децибелах (дБ). Обычно двигатели создают уровень шума 90 … 115 дБ на расстоянии 1 м от поверхности двигателя.
Уровень шума на впуске и выпуске снижают путем установки глушителей шума. Соответствующей организацией рабочего процесса (выбором угла опережения впрыскивания топлива или воспламенения смеси, закона подачи топлива, многоразовым впрыском, формы камеры сгорания и др.) можно существенно снизить уровень шума. Уменьшить уровень шума можно применением конструкционных материалов с повышенным уровнем вибропоглощения (пластмассы, композиты, многослойные материалы), правильным выбором расположения ребер жесткости и опор, минимизацией зазоров в сопряжениях, подверженных знакопеременным нагрузкам (поршень-цилиндр, шестеренчатые и цепные передачи и др.). В последнее время наблюдается тенденция применения в автомобильных и тракторных двигателях жесткой подкартерной плиты, в которой размещаются постели коренных подшипников. В отдельных случаях двигатель помещают в изолированную капсулу, не контактирующую с поверхностью двигателя.
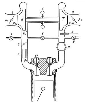
5. УПРАВЛЕНИЕ ВОЗДУХОСНАБЖЕНИЕМ
Управление воздухоснабжением позволяет целенаправленно изменять коэффициент избытка воздуха путем согласования подачи воздуха с величиной цикловой подачи топлива в широком диапазоне скоростных и нагрузочных режимов работы дизеля. Увеличение давления наддува k
с низкими α дает возможности уменьшать угол опережения впрыскивания с целью снижения эмиссии оксидов азота NOx без заметного снижения экономичности и увеличения выбросов CO и CHx и сажи. Требуемый закон управления давлением наддувочного воздуха может быть реализован с использованием различных способов воздействия на процессы воздухоснабжения (рис. 5.1): регулирование компрессора поворотными лопатками на входе и выходе, дросселирование воздуха после компрессора; выпуск в атмосферу части сжатого воздуха; дросселирование воздуха на входе в компрессор; подвод дополнительной энергии к турбокомпрессору; перепуск части сжатого в компрессоре воздуха в турбину; дросселирование газа на выходе из турбины; регулирование турбины поворотом сопловых лопаток (РСА); регулирование проходного сечения турбины; перепуск части газов мимо турбины; применение дополнительной (форсажной) камеры сгорания перед турбиной; управляемый привод клапанов. Эти способы имеют различную эффективность, надежность и технические трудности при реализации. Наименьшую эффективность имеют способы управления с применением дросселирования воздуха на входе в компрессор и газа на выходе из турбины. Это обусловлено значительными потерями энергии при дросселировании и соответствующим снижением экономических и экологических показателей дизеля. В частности, дросселирование на выходе из турбины приводит к ухудшению очистки цилиндров, снижению α, повышению температур сгорания и увеличению содержания основных токсичных компонентов в выпускных газах.
Системы регулирования воздухоснабжения перепуском части наддувочного воздуха перепуском на вход турбины или выпуском в атмосферу сравнительно просты, но нашли ограниченное применение вследствие потери энергии на сжатие перепускаемого воздуха.
Способ перепуска части выпускных газов мимо турбины оказался наиболее простым в реализации для дизелей с невысоким уровнем наддува ( k
=1,5 - 2,0) и позволяет регулировать частоту вращения ротора турбокомпрессора и давление наддува в довольно широких пределах, однако по эффективности он уступает способу регулирования турбины при помощи РСА.
Подвод дополнительной энергии к ротору турбокомпрессора и установка форсажной камеры сгорания перед турбиной ранее находили применение в основном только в дизелях большой мощности с высоким наддувом , однако в последнее время в автомобилестроении активно разрабатывают системы с электрически поддерживаемыми агрегатами наддува.
| 
|
Рис. 5.1. Cпособы управления процессом воздухоснабжения: 1 - охлаждение нагнетаемого воздуха Tк
;
2 - дросселирование воздуха за компрессором (К) Dрнаг
; 3 - выпуск в атмосферу части сжатого воздуха bв
; 4 - дросселирование воздуха на входе в компрессор Dрвс
; 5 - подвод дополнительной энергии к ротору турбокомпрессора l; 6 - перепуск части сжатого воздуха на вход турбины (Т) j; 7 - дросселирование газов на выходе из турбины Dрвх
; 8 - изменение проходного сечения соплового аппарата турбины Fса
; 9 - перепуск части газов мимо турбины bг
; 10 - установка дополнительной КС на входе в турбину Тт
; 11 - изменение фазы выпуска hv
|
5.1. Изменение геометрии впускной системы
Периодичность процессов в цилиндрах поршневых двигателей является причиной колебательных динамических явлений в газовоздушных трактах.
Эти явления могут быть использованы для существенного улучшения основных параметров двигателей - мощности, экономичности, крутящего момента.
Путем подбора длины и проходного сечения индивидуального трубопровода можно добиться прихода этой волны к цилиндру в наиболее благоприятный момент перед закрытием клапана, что приводит к существенному увеличению коэффициента наполнения hv
и, как следствие, приросту мощности Ne
и крутящего момента Mк
двигателя.
Разработаны системы, позволяющие дискретно или непрерывно изменять геометрию впускного тракта. На рис 5.1.2 приведен вариант выпускного трубопровода с двумя вариантами длины впускного трубопрвода.
|
|
| Рис. 5.1.2. Впускной трубопровод с изменяемой геометрией
|
Хорошие результаты дает применение так называемой комбинированной системы наддува, в которой сочетаются турбонаддув и инерционный наддув (использование газодинамических явлений во впускном трубопроводе). В этом случае длина, диаметр и форма впускного трубопровода и настройка турбокомпрессора выполняются так, чтобы на наиболее важном режиме работы двигателя обеспечивался максимальный коэффициент наполнения. Реализация данного способа в дизелях «РАБА-МАН» , «Заурер», «Хино» и др. обеспечивает снижение расхода топлива на 5-7%. Имеются реализации двух и трехрежимной (ступенчатой) газодинамической настройки длины и формы впускных каналов, например, в двигателях фирмы BMW и Фольксваген.
Трехступенчатая резонансная впускная система
| 
|
| Рис. 5.1.3. Трехступенчатая резонансная система:
1 — резонансная труба; 2 — переходная труба;
3 — коллектор; 4 — трубы с колеблющимися потоками заряда.
Частоты вращения: а — низкие; б — средние; в — высокие
|
Для улучшения наполнения во всем диапазоне частот вращения во впускной системе был разработан трехступенчатый резонансный впуск. Его схема показана на рис.5.1.3. В принятой схеме имеются две заслонки, расположенные в коллекторе и переходной трубе, которые могут быть или полностью открыты или закрыты. Положение заслонок определяется режимом работы двигателя.
Размеры труб выбирались из необходимости создавать на всех режимах работы двигателя резонансные колебания во впускном коллекторе. Положение заслонок в зависимости от режима работы показано на рис.5.1.3.
5.2. Управление агрегатами наддува
| 
|
|
| Рис.5.2.1. Регулирование турбокомпрессора поворотом лопаток диффузора
|
5.2.2. Турбина с регулируемым сопловым аппаратом (РСА)
|
| 
|
|
| Рис.5.2.3. Турбокомпрессор ТКР-6 НАМИ с РСА
|
Рис.5.2.4. Характеристики вздухоснабжения дизеля ОМ-611:
____
Турбокомпрессо с РСА; --- турбокомпрессор с перепускным клапаном.
|
Наибольшей сложностью и необходимостью тщательной отработки на надежность отличаются способы с применением поворотных лопаток диффузора компрессора 5.2.1 и соплового аппарата турбины 5.2.5. Кроме того, этим способам присущи утечки воздуха и газа через зазоры и возможность закоксовывания лопаток РСА. Тем не менее в последнее время ряд зарубежных фирм разработали для транспортных двигателей турбины с РСА либо турбины с регулируемым сечением соплового аппарата (Гаррет, ККК, Холсет, Хино, Альфа Ромео, Швитцер, Аэродайн Даллас и др.). Внедрение турбокомпрессоров с таким способом регулирования позволило снизить эксплуатационные расходы топлива на 7-12%.
На рис. 5.2.3 изображен турбокомпрессор ТКР-6, созданный в НАМИ, а на рис. 5.2.4 сравнение характеристик воздухоснабжения дизеля ОМ -611 при различных способах регулирования турбины.
Требования повышения удельной мощности двигатели с необходимостью приводят к созданию ситем с даухступенчатым наддувом, применене которых целесообразно при pk
больше 4 -4,5.
| 
|

|
| Рис. 5.2.5.Схема двухступенчатого наддува с регулированием
|
Рис. 5.2.6.Двухступенчатый
турбокомпрессор
|
Помимо известных решений — применение турбокомпрессоров с изменяемой геометрией на входе в турбину или регулируемых двухступенчатых турбокомпрессоров, большое внимание уделяется электронно-поддерживаемым системам турбонаддува e-Boost.
Разработку таких систем наддува, известных под названиями e-Boost или e-Booster, e-Turbo, e-Charger, ведет фирма BorgWarner. Принципиально они отличаются только компоновкой в одном агрегате отдельных узлов, входящих в систему наддува.
Система e-Boost состоит из компрессора, высокоэффективного электродвигателя, соединенного с ним, и компактного корпуса, в котором размещены эти агрегаты, кроме того, в нем находятся также и элементы электронного управления.
Система e-Boost новаторская, открывающая новые возможности для создания перспективных двигателей. На рис.5.2.9 представлена последняя модель электронно-поддерживаемого турбокомпрессора.
| 
|
| Рис. 5.2.9. Электрически поддерживаемый наддув фирмы Borg Warner
|
Наилучшим вариантом является установка на двигателе двух систем наддува: обычный турбокомпрессор, работающий на отработавших газах, и система e-Boost, состоящая из компрессора с приводом от электродвигателя.
В настоящее время на фирме BorgWarner идет доводка системы e-Boost до уровня, необходимого для ее серийного производства. Кроме того, на фирме до сих пор велись разработки новой системы наддува исходя из заявлений, что очень скоро бортовая электросеть автомобиля будет работать с напряжением 42 В. Теперь стало очевидным, что это произойдет не так скоро, и поэтому на фирме BorgWarner усиленно ведутся работы по применению напряжения в 12 В.
5.3. Управление фазами газораспределения и величиной подъема клапанов
Цели управления:
1. Оптимизация рабочего процесса в поле режимов работы двигателя
2. Бездроссельное регулирование мощности двигателя
3. Регулирование агрегатов наддува
4. Снижение эмиссии токсичных веществ
|
|
|
| Рис. 5.3.1. Работа насосных ходов при дроссельном и бездроссельном регулировании мощности
|
Рис. 5.3.2. Изменение фаз движения клапана
|
На рис. 5.3.1. показано преимущество бездроссельного регулирования двигателя при реализации циклов Аткинсона или Миллера.
|
|
|
| Рис.5.3.3.Гидравлическая система изменения фаз подъема клапанов
VVT-
i )
|
Рис. 5.3.4. Регулятор системы
VVT-
i
|
|
|
|
| Рис . 5.3.5.Фазы клапанов двигателя с
VVT-
i
|
Рис.5.3.6. Схема управления системой
VVT-
i
|
На рис. 5.3.3. и 5.3.4 приведена система изменения фаз подъема клапанов VVT-i фирмы Toyota и гидравлический регулятор этой системы, а на рис. 5.3.5 – реализуемые этой системой фазы движения впускных клапанов.
Схема гидравлического регулятора фаз впускного клапана фирмы Фольксваген приведена на рис. 5.3.7., а на рис. 5.3.8 – показан совместный эффект регулирования фазы впускного клапана и длины впускного канала на показатели двигателя.
|
|
|
| Рис.5.3.7. Гидравлический регулятор фаз газораспределения фирмы Фольксваген
|
Рис.5.3.
8. Влияние фаз впускного клапана и длины впускного коллектора на показатели двигателя в поле режимов
|
В 2000 г. фирма BMW впервые разработала механическую систему клапанного механизма Valvetronic, которая позволяла регулировать на работающем двигателе все основные параметры клапанного механизма (рис. 5.3.9). Этой системой были оснащены серийные двигатели фирмы.
|
|
|
| Рис. 5.3.9. Механизм изменения хода клапана
Valvetronic (
BMW)
|
Рис. 5.3.10. Диаграммы подъема впускного клапана
|
Система Valvetronic за эти годы подверглась модернизации, хотя и сохранила основную концепцию механизма.
Последняя разработка фирмы — 6-цилиндровый бензиновый двигатель, оснащенный модернизированной системой Valvetronic (рис. 5.3.11), которая позволила:
—повысить частоту вращения с 6500 до 7000 мин-1
;
—увеличить ускорение клапана и его хода для улучшения газообмена;
—сократить насосные потери;
—улучшить в камере сгорания смесеобразование и стабилизировать процесс сгорания.
|
| Рис. 5.3. 11. Модернизированный вариант механизма Valvetronic
|
Наиболее существенным изменением в кинематике является введение промежуточного рычага с закрепленным центром вращения.
Не менее важной была необходимость уменьшения массы движущихся частей системы и, соответственно, увеличение их прочности, а также снижение потерь на трение.
Для снижения массы клапанов был уменьшен диаметр штока с 6 до 5 мм. Все металлические детали системы Valvetronic были изготовлены из прочной штампованной стали, что позволило несколько снизить их массу, сохранив на необходимом уровне прочность. По сравнению с клапанным механизмом предшественника масса нового была уменьшена на 20%.
Для уменьшения трения все подшипники системы имели специальные антифрикционные покрытия.
|
|
|
| Рис. 5.3.12. Электромагнитный привод клапанов
|
Рис. 5.3.13. Диаграммы движения клапана
|
Наибольшими возможностями в управлении фазами и характером движения клапанов обладает система электромагнитного привода клапанов (ЭМПК), обеспечивающая изменение фаз движения клапанов, высоты подъема клапанов вплоть до нулевого подъема (отключение цилиндра, реализация 6, 8, 12-тактных циклов).
Конструкция ЭМПК показана на рис. 5.5.14, а на рис. 5.3.15 -5.3.17 возможности системы в обеспечении режимов работы и показателей двигателя.
|
|
|
| Рис. 5.3.14. Конструкция электромагнитного привода клапана
|
Рис. 5.3.15. Стратегия управления ЭМПК в поле режимов 4-х цилиндрового двигателя с турбонаддувом
|
|
|
|
| Рис. 5.3.16.Сравнение характеристик двигателя с ЭМПК и с традиционным приводом клапнов:
1 – двигатель с ЭМПК: 2 – двигатели серийные.
|
Рис. 5.3.17. Выбросы токсичных веществ автомобилем с двигателем с ЭМПК
|
6. СОВЕРШЕНСТВОВАНИЕ КОНСТРУКЦИИ И ТЕХНОЛОГИИ ИЗГОТОВЛЕНИЯ
|

|
| Рис.6.1. Конструкция блока и стяжных болтов
|
Рис.6.2. Конструкция блока и стяжных болтов
|
Одной из серьезнейших проблем при создании перспективных двигателей является обеспечение прочности деталей при повышенных параметрах цикла (максимальное давление сгорания в ближайшем будущем превзойдет 210-220 бар). Одним из способов обеспечения работоспособности алюминиевого блока является применение анкерных связей (стяжных болтов) . На рис. 6.1. представлена конструкция форсированного двигателя фирмы Фольксваген с анкерными связями деталей остова. Характерно, что фирма применила в составной анкерной связи запатентованную конструкцию «болт в болт». Крышки коренных подшипников изготовлены из чугуна с шаровидным графитом
Разработанная конструкция блок-картера надежно воспринимает высокое давление до 17 МПа в цилиндре дизеля.
На поверхность цилиндров с использованием плазменного напыления наносится железо-молибденовое покрытие толщиной 120 мкм. До выполнения покрытия осуществляется чистовая пескоструйная обработка поверхности цилиндров.
|
|
|
| Рис. 6.3. Блок двигателя семейства 3М фирмы Митцубиси
|
Рис. 6.4. Постельная плита двигателя фирмы
BMW
|
Популярным у конструкторов решением решением, направленным на повышение жесткости блока , повышение его надежности и снижение структурного шума двигателя, является применение постельной плиты (рис. 6.3, 6.4). Это решение давно применялось в стационарных, судовых и тепловозных дизелях.
Другим конструкторским решением для шатунов, давно известным и используемым в двигателестроении, является использование метода «разлома» нижней головки шатуна (рис. 6.5). Это решение позволяет существенно упростить конструкцию шатунных болтов, удешевить их, и в то же время устранить эффект их изгиба при поперечных деформациях кривошипной головки шатуна.
|
|
| Рис. 6.5. Шатун двигателя двигателя BMW. Нижняя головка выполнена методом разлома.
|
6.2. Легкие материалы для блока и головки цилиндров
Уменьшение массы легкового автомобиля и, конечно, двигателя стало в настоящее время определяющим направлением работ, обеспечивающих снижение расхода топлива и выбросов вредных веществ. В этой связи в автомобильной промышленности наблюдается также процесс перехода от чугунных блоков к алюминиевым и в высоконагруженных двигателях. Первым такой переход осуществила фирма DaimlerChrysler на 4-цилиндровом рядном двигателе A170CDI. Потом ту же замену материала осуществила фирма PSA на аналогичном двигателе с рабочим объемом 1,4 л, массовое производство которого началось в начале 2003 г. Этот двигатель устанавливается на автомобилях фирм Peugeot, Citroen и Ford.
Дальнейший успех применения легких материалов в высоконагруженных двигателях будет определяться не только свойствами материалов, но и разработкой оригинальных, нестандартных конструкторских решений. Поэтому в последнее время наблюдается интенсивное сотрудничество между литейными заводами, производителями легких металлов и конструкторами двигателей.
Очевидно, что главное внимание в плане уменьшения массы двигателя разработчики уделяют блоку и головке цилиндров. Условия работы этих узлов двигателей требуют применения материала, который удовлетворяет чрезвычайно высоким требованиям по пределу прочности, сопротивлению ползучести, теплопроводности, ковкости, а также обладает низкой восприимчивостью к образованию горячих трещин.
Блок двигателя
Масса только одного блока составляет примерно 25-33% от массы всего двигателя.
Для блока в настоящее время применяются сплавы с содержанием кремния от 6 до 17% и меди от 3 до 4%. При температурах выше 225°С резко ухудшаются показатели твердости алюминиевых сплавов.
На фирме Honsel разрабатываются новые легкие материалы для головки цилиндров, например, сплавы AISi12CuNiMg, AISi7MgCuNiFe, AISi8Cu3. Головки цилиндров, изготовленные из этих трех сплавов, прошли испытания в течение 230-240 ч при температуре 225°С и показали хорошие результаты, они обладают лучшими механическими свойствами.
| 
|
| Рис. 6.2.1. Необработанная заготовка головки цилиндров массой 13 кг из материала
AISi7
MgCuO, 5
|
Первый из перечисленных материалов фирма считает наиболее перспективным для головок цилиндров.
Новый сплав AISi7MgCuNiFe обладает усталостной прочностью на 20% выше, чем у также нового сплава AISi8Cu3, и приближается к аналогичному значению, присущему серому чугуну.
- Была также разработана, несмотря на чрезвычайно ограниченные возможности, оригинальная конструкция головки с измененной формой водяной рубашки (рис.6.2.1) для 8-цилиндрового V-образного двигателя TDI с рабочим объемом 4,0 л фирмы Audi.
Гибридные блоки
Фирма Audi демонстрирует путь, который, по ее мнению, позволит конструктивно сочетать легкие материалы, например, магний, с новыми материалами, более прочными при высоких температурах, что в будущем позволит создать гибридные блоки цилиндров, обеспечивающие создание высокофорсированных двигателей с малой массой.
Аналогичную разработку гибридного блока провела фирма BMW для своего 6-цилиндрового рядного бензинового двигателя.
Учитывая, что разработка гибридного блока осуществлялась с учетом серийного его производства, фирма Audi считает возможным уже в настоящее время осуществить разработку двигателя литровой мощностью более 67 кВт/л с гибридным блоком, пригодного для серийного производства.
Основные усилия разработчиков были направлены на создание гибридного блока, включающего магний и алюминий. На рис.6.2.2 показан такой гибридный блок двигателя. Центральным элементом конструкции гибридного блока является алюминиевая вставка, представленная на рис.6.2.3. Некоторые конструктивные особенности гибридного блока показаны на рис. 6.2.4.
| 
|

|
| Puc. 6.2.2. Алюминиевая вставка 4-илиндрового двигателя фирмы
Audi:
1 — резьбовое отверстие для крепления головки цилиндров; 2 — водяная рубашка; 3 — зеркало цилиндра; 4 — подвод охлаждающей жидкости к турбокомпрессору; 5 — установочные выемки магниевой части блока;
6 — внутренняя резьба для крепления коренного подшипника
|
Рис. 6.2.3. Двигатель в сборе с гибридным блоком:
1 —алюминиевая вставка; 2 — магниевая часть блока; 3 — выемки вставки,
заполненной магнием; 4 — магниевая опорная плита
|
Вставка из заэвтектического алюминиевого сплава AISi17Cu4 изготовлена литьем в кокиль.
| 
|

|
| Рис.6.2.4. Внутренняя алюминиевая часть блока с гильзами и верхними половинами коренных подшипников
|
Рис. 6.2.5.Опорная (постельная ) плита
|
Применяя магний в двигателе, необходимо учитывать, что у него более низкие модуль упругости и сопротивление ползучести, особенно при высоких температурах, выше 120°С; магний непригоден Для использования в качестве трущегося материала и недопустим его контакт с охлаждающей жидкостью.
Поэтому в принятой моноблочной конструкции алюминиевой вставки расположена вся система охлаждения двигателя. Для охлаждения турбокомпрессора предусмотрен специальный отводной патрубок, проходящий через магниевую часть блока двигателя, тем самым исключается ее контакт с жидкостью.
Магниевая оболочка и вся нижняя часть блок-картера литые. Толщина стенки магниевой оболочки вокруг алюминиевой вставки составляет около 4 мм.
Многочисленные выемки и отверстия в алюминиевой вставке обеспечивают хорошее механическое соединение вставки с магниевой оболочкой. В дополнение к этим элементам крепления наружная поверхность вставки покрывается материалом AISH2, который обеспечивает хорошее сцепление алюминиевой вставки с магниевой оболочкой.
Перед разработчиками остро стояла задача выбора магниевого сплава. Общепринятые магниевые сплавы типа AZ91 или АМ50 могли работать до температур порядка 130°С. В связи с этим фирма Volkswagen, совместно с израильским магниевым научно-исследовательским институтом, проводит в настоящее время научно-исследовательскую работу по увеличению полезного температурного диапазона магниевых литейных сплавов.
цилиндров. После расточки цилиндров производится хонингование их зеркал. Разработанные ими первые магниевые сплавы MRI 153M MRI 230D способны работать при температурах до 200°С.
Большое значение было уделено резьбовым соединениям, были разработаны алюминиевые винты из сплава АА6056, которые уменьшили контактную коррозию, что наряду с выбором оптимальной высоты профиля резьбы обеспечило надежное крепление при меньшей массе винтов.
В целом, учитывая наличие жесткой опорной магниевой плиты (видна на рис.6.2. 3), весь гибридный блок получился очень прочным. Более низкие модуль упругости и сопротивление ползучести в значительной степени были компенсированы принятой конструкцией.
Таблица 6.2.1
| Параметры
|
1.8
|
| Рабочий объем, см3
|
1781
|
| Диаметр цилиндра, мм
|
81
|
| Ход поршня, мм
|
86,4
|
| Мощность, кВт
|
120
|
| Частота вращения при Метах
, мин'1
|
5700
|
| Крутящий момент, Нм
|
225
|
| Частота вращения при Мета
х., мин"1
|
1950-4700
|
| Масса, кг
|
122
|
| Литровая мощность, кВт/л
|
67
|
| Удельный крутящий момент, Нм/л
|
125
|
| Удельная масса, кг/л
|
1,02
|
| Степень сжатия
|
9,5
|
| Расстояние между цилиндрами, мм
|
88
|
| Толщина перемычки между цилиндрами, мм
|
7
|
| Высота блока, мм
|
220
|
| Высота опорной плиты, мм
|
91
|
| Длина шатуна, мм
|
144
|
| Диаметр шатунных подшипников, мм
|
47,8
|
| Диаметр коренных подшипников, мм
|
48
|
| Ширина коренных подшипников, мм
|
20
|
В результате фирме Audi удалось на базе известного серийного 4-цилиндрового бензинового двигателя рабочим объемом 1,8 л создать новый двигатель с гибридным магниевым блоком цилиндров, его основные параметры приведены в табл.1.
Так же как и базовый двигатель, новый оснащен турбокомпрессором и пятью клапанами на цилиндр (три из них впускные). Впрыскивание топлива осуществляется во впускной канал головки
Мощность двигателя с легким гибридным блоком сохранена равной мощности серийного базового двигателя с чугунным блоком. Поэтому литровая мощность и удельный крутящий момент у этих двигателей одни и те же. В то же время применение гибридного блока обеспечило снижение массы двигателя на 23 кг.
Кроме того, проведенные расчетные и экспериментальные исследования показали, что двигатель с гибридным блоком создает существенно меньший шум.
Длительные (1000 ч) испытания двигателя с магниевым гибридным блоком прошли успешно и показали, что применение гибридного блока позволит создавать более мощные двигатели с одновременным использованием легкого блока.
7. Лазерная обработка гильзы цилиндров дизеля.
60% от общей величины трения в дизелях составляет трение в паре поршневые кольца и гильза цилиндра. Проблеме уменьшения этих потерь были посвящены исследования, проведенные организацией Lambda Physik совместно с фирмой Audi.
Разработана новая методика обработки гильзы с использованием лазера, в результате которой значительно уменьшается величина трения.
В основе процесса лежит азотирование поверхности гильзы и воздействие на нее лазером в ультрафиолетовом диапазоне, вместо применяемого инфракрасного диапазона, при котором твердость поверхности гильзы увеличивается.
Лазерное азотирование по новой технологии создает также твердый мартенситовый слой, богатый азотом и крошечными микроскважинами, которые удерживают масло, обеспечивая хорошие трибологические свойства поверхности гильзы (рис.10).
При обычной механической обработке гильзы хонингованием на ее поверхности образуются связанные между собой микроуглубления (микроканалы), по которым происходит вытекание масла с поверхности гильзы, в то время как при лазерной обработке масло сохраняется в изолированных микроскважинах.
| 
|

|
| а)
|
б)
|
Рис. 7.1. Хонингование (а) и лазерная обработка (б)гильзы цилиндров
1
— перемещение поршневого кольца; 2 — микроканалы; 3
— микроскважины
Во время лазерного воздействия на гильзу азот подается в газообразном состоянии.
Эти исследования проводились с лазером Lamda Steel 1000, длина волны принималась короткой, равной 0,3 мкм.
Исследования лазерного азотирования проводились на 4-цилиндровом дизеле с турбонаддувом рабочим объемом 1.9 л. По сравнению с обычной технологией обработки гильзы хонингованием износ ее поверхности уменьшился на 23-89% и на 30-88% — износ поршневых колец при работе на частотах вращения 3500-4000 мин-1
.
При аналогичных испытаниях двигателя V6 продолжительностью 800 ч было показано, что расход масла уменьшился на 75% по сравнению с обычным хонингованием.
8. Бензиновые двигатели
8.1. Бензиновые двигатели автомобилей
PASSAT
Создавая двигатели для нового поколения автомобилей Passat, фирма была вынуждена учитывать предъявляемые к двигателям все возрастающие требования, такие, как повышение комфортабельности (уменьшение шума и вибраций), снижение расхода топлива и выбросов вредных веществ, улучшение динамики автомобиля.
За базу при разработке новых двигателей был взят 6-цилиндровый V-образный двигатель фирмы известной серии VR6* с малым углом развала -15°.
Кроме 6-цилиндровых двигателей с малым углом развала VR6, фирма разработала 5-, 8- и 12-цилиндровые двигатели.
Первый двигатель VR6 с малым углом развала рабочим объемом 2,8 л был разработан фирмой еще в 1991г. В дальнейшем он подвергался неоднократной модернизации, были внедрены четыре клапана на цилиндр, созданы двигатели с другим рабочим объемом —1,4; 3,2 и 3,6 л.
Для автомобилей Passat фирма предлагает три бензиновых двигателя, прошедших новую модернизацию.
Основные их параметры приведены в табл.1. Двигатель с рабочим объемом 3,6 л был разработан фирмой специально для американского рынка.
Главные изменения коснулись системы впрыскивания топлива, на двух двигателях принято непосредственное впрыскивание топлива - система FSI* (Fuel-stratified injection), разработанная также фирмой Volkswagen. В этой системе впрыскивание осуществляется в камеру сгорания, несколько ниже впускных клапанов.
На одном двигателе 3.2 VR6 сохранена обычная система многоточечного впрыскивания во впускные каналы двигателя.
Таблица 8.1.
| Параметры
|
3.2 VR6 MTI
|
3.2 VR6 FSI
|
3.6 VR6 FSI
|
| Рабочий объем, см3
|
3186
|
3186
|
3597
|
| Диаметр цилиндра, мм
|
84
|
86
|
89
|
| Ход поршня, мм
|
95,9
|
90,9
|
96,6
|
| Мощность, максим., кВт
|
184
|
184
|
206
|
| Частота вращения при Nema
x., мин -1
|
6300
|
6200
|
6200
|
| Крутящий момент, Нм
|
320
|
330
|
360
|
| Частота вращения при Меmах, мин -1
|
2500--3000
|
2500--3000
|
2750
|
| Степень сжатия
|
11,25
|
12
|
12
|
| Сред эффектив. давление, МПа
|
1,26
|
1,31
|
1,26
|
| Средняя скорость поршня, м/с
|
19,8
|
18,8
|
20,0
|
| Масса двигателя, кг
|
—
|
173
|
| Литровая мощность, кВт/л
|
57
|
57
|
57
|
| Удельный крутящий момент, Нм/л
|
100
|
103
|
100
|
| Удельная масса двигателя, кг/кВт
|
0,84
|
| Применяемое топливо с иЧ ____________________________
|
98/95
|
98/95
|
98/95
|
| Порядок работы цилиндров |
|
I -5-3-6-2-4
|
Общий вид двигателя рабочим объемом 3,6 л представлен на рис 8.1.
| 
|
| Рис. 8.1. Двигатель 3.6
VR6
FSI
|
На рис. 8.2 приведены внешние скоростные характеристики бензиновых двига
телей с системой FSI.
|
| Рис. 8.2. Внешняя скоростная характеристика
------- двигатель 3.6
VR6
FSI; ___
двигатель 3.2
VR6
FSI
|
Несмотря на наличие дополнительных узлов, связанных с применением системы FSI, общая масса двигателя была снижена по сравнению с предшественником, удалось получить достаточно малую удельную массу, равную 0,84 кг/кВт.
Основные технические решения, внедренные в новые двигатели (кроме системы топливоподачи):
—непрерывное регулирование фаз газораспределения впускных и выпускных клапанов;
—единый верхний пластмассовый впускной модуль с двумя вариантами длины тракта —длинным и коротким;
—роликовые толкатели в приводе к клапанам;
—четырехклапанная головка цилиндров;
—облегченный блок-картер из серого чугуна.
Доводка рабочего процесса
Главное внимание при доводке рабочего процесса уделялось смесеобразованию в камере сгорания двигателя. На рис. 8.3 показана схема организации смесеобразования в двигателе VR6.
Впускные каналы двух рядов цилиндров, расположенные в головке, в связи с принятой конструкцией с малым углом развала, отличаются по конструкции и длине, также имеют различную внешнюю форму клапаны и форсунки.
Кроме этих отличий, принятая впускная система изменяет длину тракта за счет конструкции впускного модуля, позволяющей осуществлять переключение потока воздуха с длинного тракта —515 мм на короткий —246 мм. Это переключение осуществляется на частоте вращения 4500 мин-1
.
При более высоких частотах вращения длина тракта уменьшается, что обеспечивает получение большей мощности, при более низких частотах тракт удлиняется, обеспечивая получение большего крутящего момента.
| 
|
| 
Впускной канал — длинный
|

Впускной канал — короткий
|
1- поток воздуха;
2- поток топлива.
|
| Рис. 8.3. Конструкция камеры сгорания смежных цилиндров правого и левого блока в двигателях
VR6
|
Тщательная доводка рабочего процесса осуществлялась с учетом особенностей каждого ряда цилиндров и позволила выполнить нормы на выбросы вредных веществ EURO IV и LEV-2, получить достаточно низкие значения расхода топлива (рис.8. 4), а также хорошие динамические характеристики автомобиля.
|
| Рис. 8.4. Удельный расход топлива у новых двигателей
VR6
• — двигатель с впрыскиванием во впускные каналы;
О — двигатель с непосредственным впрыскиванием;
1 —поле разброса расхода топлива у 6-цилиндровых аналогичных двигателей
|
Протекание кривой крутящего момента (рис. 2) очень благоприятно для получения хорошей динамики автомобиля. Практически в диапазоне частот вращения от 2000 мин'1
до максимальных величина крутящего момента выдерживается равной не менее 90% от его максимального значения.
Особенности конструкции
На рис. 8.5 показаны компоненты двигателя с непосредственным впрыскиванием (система FSI).
Рис.8. 5. Компоненты двигателя 3.2
VR6
В табл. 8.2 приведены некоторые конструктивные параметры рассматриваемых двигателей.
Таблица 8.2
| Параметры
|
3.2 VR6 MTU
|
3.2 и 3.6 VR6 FSI
|
| Угол развала, гр.
|
15
|
10,6
|
| Количество клапанов на цилиндр
|
4
|
| Длина шатуна, мм
|
164
|
| Количество коренных опор
|
7
|
| Диаметр коренных подшипников, мм
|
60
|
| Диаметр шатунных подшипников, мм
|
54
|
| Диаметр впускных клапанов, мм
|
33,2
|
| Диаметр выпускных клапанов, мм
|
30,2
|
| Подъем впускных и выпускных клапанов, мм
|
10
|
Блок-картер, коленчатый вал.
Блок изготовлен из серого чугуна, его масса уменьшена по сравнению с предшественником.
С увеличением диаметра цилиндров от 86 и более в принятой конструкции блока с малым углом развала — 15° цилиндры в нижней их части начинают настолько сближаться, что уменьшается толщина стенок цилиндров. По этой причине в новых двигателях разработчики были вынуждены уменьшить угол развала до 10,6°.
|
| Рис.8. 6. Вид на поперечный разрез двигателя
VR6
FSI
|
Коленчатый вал изготовлен также из серого чугуна, по сравнению с предшественником разработчикам удалось уменьшить его массу примерно на 8 кг (15%).
Головка цилиндров
— алюминиевая.
На рис. 6 хорошо видна конструкция головки цилиндров, клапанного механизма, поршневой группы и впускного модуля.
В головке размещены два распределительных вала, четыре клапана на цилиндр и форсунки.
Для установки форсунок в цилиндры 1, 3 и 5 разработчикам пришлось пропустить их через впускные каналы.
Топливная система двигателя
VR6
FSI
(рис. 8.7) состоит из двух аккумуляторов с высоким давлением, каждый обслуживает один ряд цилиндров. На рис. 7 также видны контуры впускных каналов двух смежных цилиндров.
Для уменьшения мощности, затрачиваемой на привод насоса при малых нагрузках и низких расходах топлива, насос высокого давления оснащен клапаном, регулирующим количество подаваемого топлива.
Привод к насосу осуществляется цепной передачей.
Бензиновые двигатели для автомобилей
GOLF
PLUS
Автомобиль Golf Plus был разработан на базе предыдущего автомобиля GolfV, хорошо себя зарекомендовавшего в эксплуатации, и поэтому новые двигатели создавались на базе двигателей автомобиля GolfV. Конечно, основные усилия разработчиков были направлены на решение задач, которые были поставлены перед двигателями автомобиля Passat.
Был разработан и внедрен ряд существенных изменений, в том числе и введение в двигателях непосредственного впрыскивания топлива (система FSI).
| 
|
| Рис.8. 7. Размещение топливной аппаратуры на двигателе с
FSI
1 —короткая форсунка; 2 —насос высокого давления;
3 — трубка, соединяющая аккумуляторы; 4 —аккумулятор
топлива цилиндров 1, 3, 5; 5 —аккумулятор топлива цилиндров
2, 4, 6; 6 —длинная форсунка
|
Для автомобиля Golf Plus фирма предлагает четыре варианта 4-цилиндровых рядных бензиновых двигателей.
| Таблица
|
8.3
|
| Параметры
|
1.4 FSI ЕА111
|
1.6 FSI ЕА111
|
1.6 SRE* EA113
|
2.0 FSI EA113
|
| Рабочий объем, см3
|
1390
|
1598
|
1595
|
1984
|
| Диаметр цилиндра, мм
|
76,5
|
76,5
|
81,0
|
82,5
|
| Ход поршня, мм
|
75,6
|
86,9
|
77,4
|
92,8
|
| Мощность, максим., кВт
|
66**
|
85
|
75
|
110
|
| Частота вращения при Nem
ax., мин"1
|
5200
|
6000
|
5600
|
6000
|
| Крутящий момент, максим., Нм
|
130
|
155
|
148
|
200
|
| Частота вращения при Мет
ах., мин'1
|
3750
|
4000
|
3800
|
3500
|
| Степень сжатия
|
12
|
12
|
10,3
|
11,5
|
| Среднее эффективное давление, МПа
|
1,17
|
1,22
|
1,17
|
1,27
|
| Расход топлива, л/100 км
|
6,5
|
7,2
|
7,6
|
8,2
|
| Литровая мощность, кВт/л
|
47
|
53
|
47
|
55
|
| Удельный крутящий момент, Нм/л
|
93
|
97
|
93
|
100
|
| Количество клапанов на цилиндр
|
4
|
4
|
2
|
4
|
| Расстояние между осями цилиндров, мм
|
82
|
82
|
88
|
88
|
| Электронная система управления
|
Bosch MED 9.5.10
|
Bosch MED 9.5.10
|
Simеns
7.1
|
Bosch MED 9.5.10
|
С впрыскиванием во впускные каналы. Фирма предлагает также дефорсированный вариант этого двигателя мощностью 55 кВт.
В табл.8. 3 приведены основные их параметры, на рис. 8.8 показан общий вид двигателя рабочим объемом 1,4 л, оснащенного системой FSI.
|
| Рис. 8.8. Бензиновый двигатель 1.4
FSI
|
Комплекс внедренных мероприятий обеспечивает получение хорошей характеристики протекания крутящего момента, 90% от его максимальной величины выдерживаются в диапазоне вращения от 1750 до максимальных —6800 мин"1
.
В выпускной системе установлены два нейтрализатора; — предварительный, встроенный в выпускной коллектор, и основной, под днищем автомобиля.
Все бензиновые двигатели автомобиля Golf Plus выполняют нормы на выбросы вредных веществ EURO IV.
Особенности конструкции бензиновых двигателей автомобиля Golf Plus: алюминиевый блок-картер, четыре клапана на цилиндр (кроме двигателя 1.6 SRE с впрыскиванием топлива во впускные каналы, там два клапана), роликовые толкатели в приводе к клапанам, пластмассовый впускной модуль, дроссельная заслонка с электроприводом и бесконтактным датчиком ее положения, новый топливный насос фирмы Hitachi с давлением впрыскивания 11 МПа, не имеющий сливной трубки, аккумуляторы топлива, подобные применяемым в системах Common-Rail, поршень и поршневые кольца с уменьшенным трением, облегченные коленчатый и распределительные валы и элементы привода к клапанам, гидравлическая система регулирования клапанов, керамический предварительный нейтрализатор с новым покрытием.
Наиболее мощный бензиновый двигатель оснащен также пластмассовой впускной системой с изменяемой длиной тракта.
Высокофорсированный бензиновый двигатель TSI фирмы
Volksvagen
Фирма Volkswagen разработала для своего автомобиля Golf GT новый 4-цилиндровый бензиновый высокофорсированный двигатель TSI с непосредственным впрыскиванием топлива, рабочим объемом 1,4 л мощностью 125 кВт (рис.8.9 и 8.10). Полученные на этом двигателе параметры значительно превосходят данные, присущие серийным двигателям с тем же рабочим объемом, и, что особенно важно, обеспечивают на этом форсированном двигателе низкий расход топлива.
| 
|
| Рис. 8.9. Бензиновый двигатель
TSI фирмы
Volkswagen с непосредственным впрыскиванием топлива (вид справа)
|
В результате удалось получить следующие мощностные параметры нового двигателя:
—среднее эффективное давление 2,16 МПа;
—литровая мощность 90 кВт/л;
—удельный крутящий момент 172,6 Нм/л.
Создав этот двигатель, фирма подтвердила, что продолжает последовательно заниматься бензиновыми двигателями с непосредственным впрыскиванием топлива, объединив такое впрыскивание с двухступенчатым наддувом, впервые примененным на двигателе массового производства.
Новый двигатель выполняет нормы на выбросы вредных веществ EURO IV.
| 
|
| Рис. 8.10. Бензиновый двигатель
TSI фирмы
Volkswagen с непосредственным впрыскиванием топлива (вид слева)
|
Основные цели этой работы:
—низкий расход топлива;
—повышенный крутящий момент в широком диапазоне частот вращения;
— увеличенный срок службы;
—низкая стоимость производства;
— технологичность конструкции и ее компактность.
Основные параметры нового двигателя приведены в табл.8.4.
Таблица 8.4.
| Параметры
|
Двигатель
|
| Рабочий объем, см3
|
1390
|
| Диаметр цилиндра, мм
|
76,5
|
| Ход поршня, мм
|
75,6
|
| Мощность, максимальная, кВт
|
125
|
| Частота вращения при Nemax., мин-1
|
6000
|
| Крутящий момент, максим., Нм
|
240
|
| Частота вращения при Мета
х., мин"1
|
1750-4500
|
| Степень сжатия
|
10,0
|
| Удельный расход топлива, г/(кВтч)
|
235
|
| Литровая мощность, кВт/л
|
90
|
| Удельный крутящий момент, Нм/л
|
172,6
|
| Давление наддува, МПа
|
0,25
|
На рис. 8.11 приведена внешняя скоростная характеристика нового двигателя.
|
| Рис. 8.11. Внешняя скоростная характеристика двигателя
|
Такая характеристика крутящего момента получена, в основном, за счет наличия двойного наддува от турбокомпрессора и нагнетателя типа Рут.
Полученные фирмой мощностные параметры объясняются, главным образом, снижением массы двигателя, его рабочего объема, а также трения в двигателе, кроме того, как отмечалось, разработчикам удалось при форсировании двигателя снизить расход топлива. Следует также учитывать проведенную фирмой отработку высокоэффективного рабочего процесса и наличие компактной полусферической камеры сгорания с центрально расположенной свечой зажигания. Этому способствовали выбранный ход поршня 75,6 мм, диаметр цилиндра 76,5 мм, плоская и широкая выемка в поршне.
В результате удалось повысить степень сжатия до 10,0 без детонации при давлении наддува 0,25 МПа.
При испытаниях автомобиля с новым двигателем на барабанном стенде расход топлива составил 7,2 л/100 км. лива составил 7,2 л/100 км. На рис. 8.12 показаны сравнительные данные по расходу топлива.
|
| Рис. 8.12. Расход топлива, замеренный на барабанном стенде:
• — сравниваемые автомобили; О — автомобиль Golf GTc новым двигателем
|
.
Однако уменьшение рабочего объема при сохранении мощностных показателей двигателя приводило к существенному снижению крутящего момента на низких частотах вращения, что для автомобильного двигателя является неприемлемым. Для устранения этого недостатка фирма предложила двойной наддув, что обеспечило получение максимального крутящего момента уже при низких частотах вращения с сохранением этой величины в широком диапазоне частот вращения (см. рис. 3).
Система двойного наддува
На рис. 8.13 показана схема двойного наддува нового двигателя с турбокомпрессором и приводным нагнетателем типа Рут.
| 
|
| Рис. 8.13. Схема наддува нового двигателя
: 1 — электромагнитная муфта; 2 — ременной привод к нагнетателю; 3 — нагнетатель; 4, 6 — дроссельные заслонки (1) и (2); 5, 15 — впускной и выпускной коллекторы; 7 — воздух; 8 — воздухоочиститель; 9 — охладитель наддувочного воздуха; 10 — клапан перепуска отработавших газов; 11 — нейтрализатор; 12 — отработавшие газы; 13 — турбокомпрессор; 14 — клапан перепуска воздуха
|
Нагнетатель типа Рут приводится во вращение двумя клиновидными ремнями от коленчатого вала через электромагнитную муфту (ее описание см. ниже).
|
| Рис. 8.14. Зоны работы турбокомпрессора и нагнетателя;
1 — непрерывная работа нагнетателя;
2 — периодическое подключение нагнетателя;
3 — зона работы только турбокомпрессора;
4 — безнаддувный режим работы двигателя
|
Существенная роль принадлежит электронной системе управления, разработанной фирмой Volkswagen. Система непрерывно фиксирует крутящий момент, ей известны величины момента, требуемые для каждого режима работы двигателя; и далее система управления при помощи дроссельной заслонки (1) подключает приводной нагнетатель, если давление наддува, создаваемое турбокомпрессором, является недостаточным, или отключает его, если давление наддува превышает необходимую величину. Таким образом, система обеспечивает поступление в турбокомпрессор того количества воздуха, которое необходимо для оптимальной работы турбокомпрессора на каждом режиме работы двигателя.
При работе только одного турбокомпрессора дроссельная заслонка (1) полностью открыта.
На рис. 8.14 показаны зоны работы турбокомпрессора и нагнетателя.
Начиная с малых частот вращения и при нагрузках, близких к максимальным, нагнетатель работает непрерывно до частоты вращения двигателя не менее 2400 мин-1
, зона 1. В зоне 2 этот же нагнетатель работает периодически при необходимости компенсировать инерционность турбокомпрессора. Полное отключение нагнетателя производится при частоте вращения не менее 3500 мин-1
. Включение и отключение нагнетателя осуществляется электромагнитной муфтой, расположенной в приводе к водяному насосу.
Выше частоты вращения 3500 мин-1
один турбокомпрессор обеспечивает получение необходимых параметров, при этом в работе турбокомпрессора не возникают так называемые "турбо-дыры"*.
В зоне 4 необходимость наддува отпадает, двигатель работает как безнаддувный.
Полученные результаты показывают, что для достижения необходимых значений крутящего момента на малых частотах вращения, меньше 3500 мин-1
, требуется дополнительная помощь приводного нагнетателя.
На рис. 8.15 показано изменение степени повышения давления наддува в зависимости от частоты вращения двигателя. Приведенные зависимости наглядно показывают высокую эффективность применения двойного наддува. При двойном наддуве с применением нагнетателя практически решается проблема форсирования двигателя и, одновременно, его успешная работа на малых частотах вращения.
Максимальная частота вращения нагнетателя равна примерно 18 тыс. мин-1
при частоте вращения коленчатого вала двигателя 3600 мин-1
.
Особенности конструкции
В основу проектирования нового двигателя была положена концепция модульного принципа, который был принят при создании предшественника меньшей мощности с тем же рабочим объемом 1,4 л.
|
| Рис. 8.15. Степень повышения давления наддува при полной нагрузке при работе:
—— — турбокомпрессора и нагнетателя; — — — — только нагнетателя;
---------- — только турбокомпрессора; . . . . . _ периодическое подключение нагнетателя
|
Разработчики главное внимание уделили проектированию нового блок-картера и водяного насоса с электромагнитной муфтой в его приводе.
Блок-картер
Материал блок-картера — серый чугун марки GJL.
Решение применить серый чугун объясняется желанием повысить надежность блока, учитывая высокую его напряженность.
Блок-картер (рис. 8.16) имеет удлиненную нижнюю часть, верхняя — принята открытой.
В то же время разработчикам удалось спроектировать блок-картер тонкостенным, средняя толщина его стенок составляет 3 ±0,5 мм. В некоторых местах блок-картера, где нагрузка может быть больше расчетной, толщина стенок увеличена. Для повышения жесткости блок-картера его стенки усилены продольными и поперечными ребрами жесткости.
| 
|
| Рис. 8.16. Блок-картер нового двигателя фирмы
Volkswagen
|
В результате масса блок-картера с удлиненной нижней частью составила всего 29 кг, без учета массы крышек коренных подшипников.
Коленчатый вал
Разработчики, проектируя коленчатый вал, преследовали две основные цели: повышение его жесткости и уменьшение шума. Поэтому был выбран стальной коленчатый вал, при этом жесткость коленчатого вала повысилась на 23%, а шум от работы двигателя стал меньше.
Поршень
Современные расчетные методы и опыт конструирования поршней позволили разработать для высокофорсированного двигателя с наддувом, литровая мощность 90 кВт/л, легкий поршень.
Поршень (рис. 9) оснащен тремя поршневыми кольцами высотой 1,2-; 1,5-; 2,0 мм, первое компрессионное кольцо азотированное.
| 
|
| Рис.8.17. Поршень нового двигателя фирмы
Volkswagen
|
В поршень был внедрен ряд мероприятий, направленных на уменьшение трения и повышение эффективности рабочего процесса:
—антифрикционное покрытие поршней;
—уменьшенный до 55 мкм поршневой зазор;
—небольшая высота жарового пояса — 5,8 мм.
Чтобы поршень выдерживал максимальное давление в цилиндре, равное 12 МПа, был увеличен диаметр поршневого пальца с 17 до 19 мм. В модификациях этого двигателя с меньшим давлением, до 8,5 МПа, сохранен диаметр пальца, равный 17 мм.
Масло под давлением поступает к поршневому пальцу от коленчатого вала через продольное отверстие в шатуне. Кроме того, поршни охлаждаются маслом, впрыскиваемым под давлением 0,2 МПа на его днище при помощи форсунок, установленных в нижней части каждого цилиндра. Форсунки расположены так, что впрыскиваемое масло поступает к самому горячему месту на выпускной стороне поршня.
Система топливоподачи
В двигателе принято непосредственное впрыскивание топлива в цилиндры (схема FSI). Впрыскивание осуществляется в камеру сгорания форсункой, расположенной на
впускной стороне между впускным каналом и прокладкой головки цилиндров. Новый топливный насос показан на рис.8.18.
|
| Рис.8.18. Топливный насос высокого давления;
1 — собственно насос; 2 — роликовый толкатель; 3 — впускной распределительный вал;
4 — кулачок привода насоса
|
Наибольший интерес в системе топливоподачи нового двигателя представляют насос высокого давления и топливо-впрыскивающие форсунки.
Разработка топливного насоса производилась на базе насоса двигателя-предшественника. Был увеличен ход перемещения клапана с 5,0 до 5,7 мм, что позволило не только повысить количество впрыскиваемого топлива, но и поднять давление впрыскивания с 12 до 15 МПа.
В конструкции топливного насоса применен роликовый толкатель, который содействует получению у двигателя необходимого ресурса.
Топливная система обеспечивает вторичное впрыскивание топлива, необходимое для быстрого нагревания нейтрализатора после пуска двигателя.
Кроме того, при проектировании нового насоса разработчики сочли необходимым перейти с алюминиевого литого корпуса на корпус, изготовленный из алюминиевой поковки. Это позволило вдвое увеличить давление топлива в насосе.
Форсунка, разработанная фирмой (рис.8.19), с шестью распыливающими отверстиями была установлена впервые на двигателях TSI рабочим объемом 1,4 л.
| 
|
| Рис. 9.19. Форсунка с шестью распыливающими отверстиями
|
Система охлаждения
Блок-картер и головка цилиндров охлаждаются поперечным потоком жидкости, кроме того, в блоке имеются продольные трубопроводы для охлаждающей жидкости, таким образом, система охлаждения внутри двигателя принята двухконтурная.
Кроме того, система предусматривает охлаждение турбокомпрессора.
При номинальной частоте вращения происходит интенсивное охлаждение, что приводит к повышенным давлениям в системе. Чтобы гарантировать работу термостата и улучшить его функции в регулировании температуры, система охлаждения оснащена двухступенчатым термостатом (рис.12). Малый диаметр первой ступени легко открывает термостат, после чего первая ступень начинает перемещать вторую с большим диаметром для свободного прохождения охлаждающей воды.
|
| Рис. 8.20. Двухступенчатый термостат
|
Такой термостат работает более надежно.
Водяной насос объединен с электромагнитной муфтой, отключающей нагнетатель (рис. 8.21).
| 
|
| Рис. 8.21. Водяной насос с электромагнитной муфтой: 1 — фрикционная накладка; 2 — крыльчатка водяного насоса; 3 — катушка электромагнита; 4 — шкив привода к нагнетателю; 5 — сердечник; 6 — шкив привода от коленчатого вала
|
Привод к водяному насосу осуществляется главной ременной передачей, привод к нагнетателю — второй ременной передачей.
Когда через катушку электромагнита проходит электрический ток, тогда шкив привода от коленчатого вала и шкив привода к нагнетателю прижимаются друг к другу, и начинает вращаться нагнетатель. Необходимая для этого прижатия мощность составляет 35 Вт. Передаваемый через муфту крутящий момент равен 60 Нм. При отключении тока шкивы разъединяются под воздействием трех пластинчатых пружин.
Минимальные износы фрикционных накладок делают конструкцию муфты практически не требующей ремонта.
Впервые в двигателях фирмы применен для уплотнения вала водяного насоса сальник с двойным манжетным уплотнением (рис.8.22).
Уплотнительные манжеты изготовлены из резины. Между двумя манжетами имеется небольшой объем для смазочного материала.
|
| Рис. 8.22. Кольцевая уплотнительная манжета водяного насоса:
1 — корпус насоса; 2 — опорный кольцевой уголок; 3 — опорный диск; 4 и 5 — уплотнительные манжеты; 6 — консистентная смазка; 7 — вал насоса; 8 — втулка из нержавеющей стали
|

Агрегаты наддува: нагнетатель и турбокомпрессор
Нагнетатель.
На рис.15 представлен нагнетатель типа Рут и система его привода.
Как отмечалось, включение и выключение нагнетателя осуществляется электромагнитной муфтой, установленной в приводе водяного насоса.
Крепление нагнетателя непосредственно на блок-картере осуществляется четырьмя винтами вместе с демпфером шума.
Вращение от коленчатого вала к водяному насосу с передаточным отношением 1,34, далее к нагнетателю с отношением 1,93 осуществляется ременной передачей. Далее внутри корпуса нагнетателя имеется шестеренчатая передача с отношением также 1,93. Суммарное передаточное отношение от коленчатого вала к роторам нагнетателя составляет 5,0. При максимальной частоте вращения двигателя 3500 мин-1
, при которой нагнетатель отключается, частота вращения роторов нагнетателя составляет 17 500 мин-1
.
| 
|
| Рис.8.23. Нагнетатель типа Рут с приводом:
1 — шестеренчатая передача с передаточным отношением 1,93; 2 — ременной привод от коленчатого вала к
водяному насосу с передаточным отношением 1,34;3 — ременной привод от водяного насоса к нагнетателю с передаточным отношением 1,93; 4 — синхронизирующие
шестерни; 5 — роторы нагнетателя
|
Особое внимание разработчики уделили уменьшению шума от роторного нагнетателя. Для этого были тщательно рассмотрены и оптимизированы параметры шестеренчатой передачи, расположенной внутри нагнетателя, лучше укреплены валы нагнетателя и уменьшена пульсация воздуха на входе и выходе из компрессора с установкой широкополостных демпферов.
Турбокомпрессор.
На рис.8.24 представлен разработанный фирмой модуль, объединивший выпускной коллектор и турбокомпрессор. Корпус турбины изготовлен как одно целое с выпускным коллектором.
| 
|
| Рис.8.24. Выпускной модуль с турбокомпрессором
|
Некоторые размеры турбокомпрессора:
—диаметр колеса турбины 45 мм;
—диаметр колеса компрессора 51 мм;
—площадь горловины входа в турбину 2,8 см2
.
Корпус турбины отлит из термостойкой стали, ротор турбины изготовлен из высокотермостойкого никелевого сплава марки MAR 246, вал турбокомпрессора — из материала X45CrSi9.3.
Учитывая, что отработавшие газы могут иметь достаточно высокую температуру (порядка 1050°С), разработчики сочли необходимым подвести охлаждающую воду к корпусу подшипников.
Кроме того, между турбиной и корпусом подшипников установлен трехслойный тепловой экран, который должен предотвратить перегрев и коксование подшипников. Этот экран обеспечивает также и некоторый акустический эффект.
Впускной модуль
Изготовлен из пластмассы марки РА6 GF30, включает трубопроводы подачи чистого воздуха к нагнетателю и к турбокомпрессору, демпфер шума, дроссельные заслонки.
Ременной привод к агрегатам
Система ременных передач, принятая в двигателе, показана на рис.8.25.
|
| Рис.8.25. Система привода к агрегатам двигателя
: 1,3, 7 — натяжные устройства; 2 — генератор; 4 — компрессор кондиционера; 5 — шкив коленчатого вала; 6 — водяной насос с электромагнитной муфтой; 8 — нагнетатель типа Рут
|
Состоит она из двух клиновидных ременных передач. Главная передача имеет шесть продольных клиновидных канавок и связывает коленчатый вал с генератором, компрессором кондиционера и водяным насосом.
Вторая передача с пятью продольными клиновидными канавками передает вращение от шкива, установленного на валу водяного насоса, к нагнетателю типа Рут.
Электромагнитная муфта установлена в шкиве водяного насоса и по сигналу электронной системы управления может отключать нагнетатель.
Оба привода оснащены натяжными устройствами, не требующими обслуживания в эксплуатации.
9. ДИЗЕЛИ
9.1. Высокофорсированные дизели для военных машин
В начале 2002 г. ТАСОМ — автобронетанковое управление военного ведомства США — предложило промышленности программу по созданию перспективных двигателей, удовлетворяющих требованиям будущих военных машин. Работы по программе планируется завершить в 2008 г.
Созданные двигатели должны обеспечить машинам необходимую удельную мощность при массе машин от 16 до 60 т.
К выполнению этой программы подключились две фирмы: немецкая MTU, расположенная в г. Фридрихсхафене, и американская DDC (Detroit Diesel Corp.), входящие в последнее время в группу внедорожных машин фирмы DaimlerChrysler.
Обе фирмы достаточно хорошо известны как разработчики именно двигателей для военных машин.
В настоящее время фирмы, в соответствии с программой ТАСОМ, совместно разрабатывают совершенно новое семейство дизелей серии 890 IV поколения, которому присущи предельная форсировка и максимальная компактность. Это семейство подходит под терминологию HPD — High Power Density.
Двигатели серии 890 должны охватывать мощностной диапазон от 370 до 1490 кВт.
Создание двигателей IV поколения для военных машин будущего основывается на технических решениях, принятых в современных дизелях, на разработанных новых конструкциях и технологиях, направленных на получение предельно компактного двигателя.
Силовые установки с двигателями семейства 890 рассчитаны на работу при температуре окружающей среды от минус 50°С до плюс 52°С и на высоте 4000 м, а также на работу в условиях повышенной запыленности, при "нулевой" видимости.
Работа по созданию дизеля велась путем "проб и испытаний". По заявлениям разработчиков, удалось уменьшить массу двигателя на 50% по сравнению с обычными двигателями, устанавливаемыми на грузовые автомобили, и на 30% — по сравнению с лучшими серийными автомобильными дизелями.
Один из руководителей фирмы DDC T.Gruike заявил, что даже если в конечном счете проходимость определяет конструкцию военной машины, потребитель желает иметь низкую стоимость жизненного цикла машины и двигателя, меньшие эксплуатационные расходы, в том числе и расходы топлива. По его мнению, подход на фирмах к созданию новых двигателей состоит в том, чтобы одновременно предложить технические решения, касающиеся двигателя и системы привода.
Разработка двигателей серии 890 —это только первая часть проблемы создания перспективной силовой установки, в том числе и гибридной с электроприводом, так высказался T.Gruike.
Серия дизелей 890 будет состоять из 6-, 8-, 10- и 12-цилиндровых V-образных дизелей с утлом развала 90о
, по некоторым другим данным, серия будет включать также 4- и 16-цилиндровые дизели.
В табл.1 приведены некоторые параметры этих дизелей.
Таблица 9.1
| Число цилиндров, их располож.
|
Рабочий объем, л
|
Диаметр/ход поршня, мм
|
Nцилин.,
кВт/цил.
|
Nemax.
кВт
|
| 4, ряд.
|
4,4
|
115/107
|
102
|
410
|
| 5, ряд.
|
5,5
|
115/107
|
102
|
510
|
| V6
|
6,0
|
109/107
|
92
|
550
|
| V8
|
8,0
|
109/107
|
92
|
736
|
| V10
|
10, 0
|
109/107
|
92
|
920
|
| V12
|
12,0
|
109/107
|
92
|
1100
|
*** Мощность приведена при частоте вращения 4250 мин-1
Проектирование 6-цилиндрового дизеля серии 890
Первый создаваемый двигатель серии 890 — 6-цилиндровый дизель с рабочим объемом 6,0 л при диаметре цилиндра 109 мм и ходе поршня 107 мм (рис.9.1). Развиваемая им мощность составляет 560 кВт и масса 520 кг Габариты дизеля: длина 590 мм, ширина 700 мм и высота 760 мм Максимальная частота вращения принята равной 4250 мин -1
. Средняя скорость поршня — 15,2 м/с.
Новый дизель V6 будет устанавливаться в военные машины, предназначенные, в том числе, для авиатранспортирования и десантирования.
| 
|

|
| Рис. 9.1. 6-цилиндровый дизель серии 890
|
Удельные показатели 6-цилиндрового дизеля
—литровая мощность — 93 кВт/л;
—удельная масса — 0.93 кг/кВт:
—габаритная мощность — 1784 кВт/м3
.
| Pe , МПа
2,5
|
| 1500 2500 3500 4500 мин -1
|
| Рис.9.2. Поле характеристик удельного расхода топлива
Дизеля V5-890 при работе на керосине (г/кВт.час)
|
Для сравнения 8-цилиндровый V-образный двигатель серии 1999, устанавливаемый в военные машины и развивающий мощность 600 кВт, имеет удельную массу 2,0 кг/кВт
По заявлению разработчиков, весь дизель создавался "с чистого листа", все узлы и детали двигателя проектировались заново.
Дизель оснащен двумя верхнерасположенными распределительными валами и четырьмя клапанами на цилиндр.
Особое внимание уделялось компоновке агрегатов двигателя, так, все внешние узлы, такие, как насосы, теплообменники, фильтры, вписывались непосредственно в блок-картер двигателя (рис.9.3).
Система смазки принята с сухим поддоном. Сам поддон представляет практически плоскую алюминиевую пластину с встроенной системой масляных трубопроводов.
Впускной модуль — алюминиевый, также вписан в конструкцию верхней части блока двигателя.
Для упрочнения алюминиевого блок-картера применена специальная технология — HIP-treated.
Компактность и прямоугольность формы двигателя была получена разработчиками за счет размещения многих навесных агрегатов, обычно расположенных снаружи, внутри блок-картера. Это коснулось масляного бака, масляных теплообменника и фильтра. Учитывая, что масляный насос расположен, как правило, также внутри картера, вся масляная система оказалась внутри блок-картера.
Гильзы цилиндров мокрые, омываемые охлаждающей водой.
По мнению разработчиков, получение столь высоких значений удельной массы и габаритной мощности (0,93 кг/кВт и 1784кВт/м 3
) является результатом, в основном, применения легких материалов и творческого подхода к компоновке отдельных агрегатов.

Рис.9.3. Вид на нижнюю часть блок-картера двигателя
с размещением масляных фильтра и насоса, а также
теплообменника в картере двигателя
Для этого класса форсированных дизелей приняты необычно высокая частота вращения —4250 мин -1
и повышенное давление в цилиндре двигателя до 2,6 МПа, при обычных для этого класса двигателей 2,0 МПа.
В системе охлаждения имеются два контура, один с более низкой температурой, охлаждающий наддувочный воздух, и второй, охлаждающий блок двигателя, с более высокой температурой, равной 130°С, что приводит к существенному уменьшению массы и габаритов теплообменника и охладителя воздуха.
Топливная система
На двигателе V6-890 применена топливная аппаратура типа Common-Rail третьего поколения с давлением впрыскивания 180 МПа, разработанная в сотрудничестве с фирмой L'Orange. Топливный насос высокого давления V-образный, двухплунжерный. При частоте вращения 3100 мин -1
насос обеспечивает давление в 180 МПа.
Принятая система отличается от обычных систем Common-Rail наличием вместо одного общего аккумулятора индивидуальных аккумуляторов у каждой форсунки, которые размещаются вдоль головки цилиндров и соединены между собой для выравнивания в них давления.
Функции индивидуальных аккумуляторов ничем не отличаются от функций одного общего аккумулятора. Такое решение позволяет существенно уменьшить колебания давления по длине аккумулятора, предотвращая возможность возникновения нежелательных кратковременных пред- или поствпрыскиваний. Топливная аппаратура обеспечивает регулируемые фазы впрыскивания, выполняемые с высокой точностью до микросекунды, различные вид и форму процесса впрыскивания и изменяемое давление в конце впрыскивания. Все это приводит к существенному уменьшению расхода топлива, выполнению норм на выбросы вредных веществ и уменьшению шума от рабочего процесса дизеля.
Кроме того, регулируемая система топливоподачи позволяет уменьшить массу распределительных валов и системы привода к ним.
В то же время предлагаемая топливная аппаратура сохраняет возможность осуществления многократных впрыскиваний при работе как на дизельном топливе, так и на керосине.
Головки цилиндров
индивидуальные на каждый цилиндр, соединены они с блок-картером четырьмя болтами.
Головка цилиндра оснащена четырьмя клапанами на цилиндр и одним распределительным валом на каждый блок.
Распределительный вал и впускные коромысла с клапанами одного блока закрыты одной сплошной крышкой, которая крепится к каждой головке цилиндров.
Привод к распределительным валам шестеренчатый. В дальнейшем фирма планирует заменить этот привод на ременный, тем самым исключить промежуточные шестерни привода и уменьшить массу двигателя.
Коленчатый вал, шатун, поршень
Коленчатый вал стальной, подвергнутый закалке с последующим отпуском.
Все его поверхности механически обработаны, упрочнены радиусы перехода от шеек к щекам коленчатого вала.
Противовесы изготовлены из высококачественного металла и закреплены на щеках коленчатого вала двумя болтами.
Шатун — стальной, закаленный, подвергнут полностью механической обработке. Верхняя головка шатуна — трапециевидная, крышка нижней головки изготовлена методом разлома (Splitting Technology). Крышка крепится к шатуну четырьмя болтами.
Поршень — алюминиевый, с цельной юбкой и усиленной канавкой под первое компрессионное кольцо. Поршень имеет внутреннюю кольцевую охлаждающую канавку, полученную при литье. В бобышках поршня установлены бронзовые втулки под поршневой палец.
Турбокомпрессор
На новых дизелях, в том числе и на двигателях семейства 890, приняты одноступенчатые турбокомпрессоры модели ZP125 фирмы MTU, обеспечивающие получение степени повышения давления до пяти.
Турбина оснащена механизмом регулирования входного сечения.
Система охлаждения
Учитывая, что эта система должна охлаждать элементы двигателя с разными температурными уровнями, разработчики сочли целесообразным иметь в силовой установке два контура системы охлаждения: высокотемпературный и низкотемпературный. Первый контур обеспечивает охлаждение самого дизеля, второй — поступающего в двигатель воздуха после турбокомпрессора.
Осуществить это удалось, совместив в одном водяном насосе два контура охлаждения. На рис. 9.4 показан такой насос в разобранном виде.

| Рис. 9.4. Двухконтурный водяной насос: 1
— корпус водяного насоса; 2 — низкотемпературная
|
Крыльчатка насоса имеет с обеих сторон лопатки, одна сторона обеспечивает подачу воды с высокой температурой, другая — низкой.
Система управления
Для семейства двигателей 890 принята разработанная для них новая система управления CDS/CR 0.5.
Система выполняет все технические требования заказчика — военных и, кроме того, должна обеспечить антиядерную защиту, с кратковременным выключением системы, которая необходима для предотвращения выхода из строя электронных компонентов системы управления.
Система также обеспечивает выполнение строгих требований в части вибраций, температур, ударных воздействий и электромагнитной совместимости.
Не меньшее внимание было уделено фирмой MTU разработке турбонаддува применительно к высокофорсированным дизелям HPD. Турбокомпрессоры оснащены механизмом изменения геометрии входа в турбину, который способствует быстрому получению степени сжатия до 4,5 и высоких величин крутящего момента в широком диапазоне частот вращения.
Система позволяет выбирать оптимальные режимы работы каждого агрегата дизеля. Система диагностики передает следующие данные: когда, почему и как произошла неисправность. При появлении неисправности обеспечивается уменьшение мощности или полное отключение двигателя для исключения последующих серьезных повреждений.
На выходном конце коленчатого вала установлены два маховика, связанные с генераторами ( мощностью 20 кВт и 400 кВт).
Для дизеля разработана система управления дизелем и диагностики.
Система CDS разрабатывалась фирмами MTU и DDC не только для военных машин, но и для широкого ее использования в гражданских.
Как отмечалось, фирмы MTU и DDC считают, что успешное создание компактной силовой установки зависит не только от самого двигателя, но и системы привода к движителю.
Дизель семейства 890 в гибридной силовой установке
Двигатели этого семейства могут работать и в составе гибридной силовой установки в паре "дизель — электродвигатель".
Существуют несколько технических решений такой установки, в том числе оснащение силовой установки мощным стартер-генератором, размещенным между дизелем и трансмиссией. В этом случае необходимо иметь механизм, обеспечивающий соединение и отключение стартер-генератора от коленчатого вала дизеля. При наличии такого механизма стартер может не только поддерживать работу дизеля, но и работать как самостоятельный и единственный двигатель машины, обеспечивая ее движение. В этом плане фирмы предлагают гибридную силовую установку с соответствующим электроприводом на базе 6-цилин-дрового дизеля серии 890. С этой целью на коленчатом валу установлен электрогенератор мощностью 400 кВт. Общий вид такой силовой установки показан на рис. 5.
Так, в новом бронетранспортере Puma с дизелем V10-890 мощностью 820 кВт при частоте вращения 4200 мин-1
и максимальным крутящим моментом 2070 Нм между этим дизелем и трансмиссией установлен стартер-генератор мощностью 170 кВт (рис. 9.5). С такой мощностью силовая установка достаточно хорошо выполняет предъявляемые к бронетранспортеру требования.
По мнению фирмы MTU, новое семейство обеспечивает значительные преимущества и создает новые возможности для разработок перспективных военных машин.

Рис. 9.5. 6-цилиндровый дизель серии 890
с электрогенератором мощностью 400 кВт
(размещен в цилиндрическом корпусе)
Планируемые разработки военных машин с двигателями серии 890
Это перспективные бронетранспортеры и разведывательные машины, работающие при наличии персонала и без него (управляемые на расстоянии). Эти машины будут играть все большую роль в будущей войне, когда станут очень важны такие показатели, как высокая подвижность и большая грузоподъемность.
До сих пор не было подходящих двигателей для этих машин. Теперь они появились, это компактные дизели серии 890. В отличие от газотурбинных двигателей, расход топлива у двигателей серии 890 намного меньший, так что радиус действия у них значительно больший.
Двигатель должен удовлетворять требованиям как колесных, так и гусеничных машин.
В 2002 г. ТАСОМ заключило с фирмами контракт на сумму 10 млн. долл. на разработку и изготовление в августе 2004 г. двух 6-цилиндровых V-образных дизелей серии 890 для будущих военных машин и шести дизелей — в августе следующего года.
Кроме того, ТАСОМ заключило дополнительное соглашение с фирмой MTU на разработку дизеля на базе серии 890 для новой немецкой БМП, названной "Пума", с массой 30 т. В ней применены высокоэнергетическое оружие и система усиленной защиты от баллистических ракет. С учетом сказанного, на машине должен быть установлен более мощный двигатель. Это 10-цилиндровый V-образный двигатель серии 890 с максимальной мощностью 820 кВт при частоте вращения 4200 мин -1
и с максимальным крутящим моментом 2070 Нм. Масса двигателя должна быть не более 860 кг.
9.2. Дизель V8 фирмы Мерседес – Бенц
Фирма Mercedes-Benz представила новый, более мощный, 8-цилиндровый V-образный дизель ОМ 629, оснащенный двумя турбокомпрессорами и топливной аппаратурой Common-Rail. Рабочий объем дизеля составляет 4,0 л, мощность 231 кВт (рис.9.6). Новый дизель создавался на базе предшественника дизеля ОМ 628*, также 8-цилиндрового V-образного, с тем же рабочим объемом 4,0 л.

| Рис.9.6. Дизель
V8 ОМ 629 фирмы
Mercedes-
Benz
|
Первоначально подобный дизель был разработан фирмой Mercedes-Benz в 2000 г. для его установки в легковые автомобили фирмы S-Класса, а в дальнейшем Е-, М- и G-Классов.
Эксплуатация этих автомобилей высшего класса в специфическом секторе рынка показала хорошие результаты. В связи с этим фирма сочла необходимым продолжить работы по дальнейшему совершенствованию автомобиля с двигателем V8 и, соответственно, развернуть работы по созданию нового дизеля V8 с лучшими характеристиками.
Новый дизель предназначен для его установки в легковые автомобили тех же классов.
Обращает внимание такая деталь, присущая автомобилю, — электронная система управления автоматически ограничивает его максимальную скорость величиной 250 км/ч.
Перед разработчиками были поставлены следующие основные цели, которые необходимо было выполнить в новом дизеле:
—повышение мощности и крутящего момента двигателя до величин, обеспечивающих значительное улучшение динамических характеристик автомобиля;
—выполнение норм на выбросы вредных веществ EURO IV;
—оснащение выпускной трассы фильтром твердых частиц;
—осуществление регенерации твердых частиц в фильтре без использования любых присадок;
—улучшение акустических характеристик дизеля ОМ 629 по сравнению с предшественником ОМ 628;
—уменьшение расхода топлива, несмотря на то, что выполнение поставленных выше целей вызывает повышение расхода топлива.
В табл.9.1 приведены основные параметры нового дизеля ОМ 629 и даны, для сравнения, параметры предшественника, дизеля ОМ 628.
По сравнению с предшественником с тем же рабочим объемом фирме удалось увеличить мощность дизеля на 20% и крутящий момент на 30%, в результате чего существенно улучшились динамические характеристики автомобиля. Так, время разгона от 0 до 100 км у нового дизеля уменьшилось до 6,1 с. У предшественника оно составляло 6,9 с. Время разгона от 60 до 120 км/ч у дизеля ОМ 629 уменьшилось до 4,8с, у предшественника оно составляло 6,7 с.
Дизель ОМ 629, оснащенный фильтром твердых частиц, выполняет нормы на выбросы вредных веществ EURO IV.
Путевой расход топлива у автомобиля Е-Класса с новым двигателем составил 9,3 л/100 км, что на 0,1 л/100 км меньше расхода топлива у того же автомобиля с дизелем-предшественником ОМ 628. Для получения такого результата разработчики нового дизеля сконцентрировали свое внимание на проблеме уменьшения трения в двигателе. По их мнению, удалось снизить среднее давление трения по сравнению с предшественником на 35%.
Таблица 9.1
| Параметры
|
ОМ 629
|
ОМ 628
|
| Рабочий объем, см3
|
3996
|
3996
|
| Диаметр цилиндра, мм
|
86
|
86
|
| Ход поршня, мм
|
86
|
86
|
| Степень сжатия
|
17,0
|
18,5
|
| Мощность, максимальная, кВт
|
231
|
191**
|
| Частота вращения при Nemsx
.,
мин'1
|
3600
|
4000
|
| Крутящий момент, максимальный, Нм
|
730*
|
560
|
| Частота вращения при Метах
., мин"1
|
2200*
|
1700-2600
|
| Частота вращения максим., мин"1
|
4750
|
—
|
| Среднее эффективное давление, МПа
|
2,3
|
1,8
|
| Масса, кг
|
253
|
250
|
| Литровая мощность, кВт/л
|
58
|
48
|
| Удельный крутящий момент, Нм/л
|
183
|
140
|
| Удельная масса, кг/кВт
|
1,09
|
1,31
|
| Расход топлива, средний, л/100 км
|
9,3
|
9,4
|
| Выполняемые нормы на выбросы
|
EURO IV
|
EURO III
|
| Угол развала блока, гр.
|
75
|
75
|
Основные мероприятия, позволившие получить такое снижение среднего давления трения, были:
— оптимизация конструкции поршня и поршневых колец, направленная на уменьшение трения в цилиндре двигателя;
—свободное расположение газовоздушных трубопроводов на задней торцевой и боковых сторонах дизеля;
—оптимизация цепного привода и сохранение потерь на трение в клапанном механизме с повышенными нагрузками на этот механизм на уровне предшественника.
Несмотря на большое количество внедренных мероприятий, практически осталась неизменной масса самого двигателя (253 - 250 кг)
На рис. 9.7 показаны внешние скоростные характеристики нового дизеля ОМ 629 и его предшественника ОМ 628.
| 
|
| Рис. 9.7. Внешние скоростные характеристики дизелей:
— ОМ 629;-------------- ОМ 628
|
Разработанный 8-цилиндр9вый V-образный двигатель с углом развала 75° имеет неуравновешенный момент первого порядка. В этой связи двигатель оснащен уравновешивающим валом, вращающимся с частотой коленчатого вала, но в противоположном направлении.
Особенности конструкции
Блок-картер, цилиндры, коленчатый вал, поршневая группа.
Все элементы двигателя, воспринимающие в той или иной степени давление в камере сгорания, рассчитывались на пиковое давление 18 МПа.
Блок-картер изготовлен литьем из высококачественного алюминиевого сплава марки AISi7Mg0.3 в песочную форму с последующей термообработкой.
При проектировании блок-картера особое внимание было уделено повышению его жесткости за счет применения на наружной поверхности продольных и поперечных ребер.
Кроме того, в конструкции дизеля предусмотрена установка усиленной опорной "постельной" плиты. Усилена она за счет изготовления ее из кованой стали марки 46MnVS6, а также за счет увеличения диаметра коренных подшипников по сравнению с предшественником. (Диаметр подшипника двигателя ОМ 628 равен 70 мм,
Гильзы цилиндров чугунные, вставные, мокрые.
Коленчатый вал смещен на 15° относительно осевой линии поршней.
Поршень алюминиевый, расстояние от верхней кромки поршня до первого компрессионного кольца составляет 3 мм.
Для шатуна принята сталь марки 70MnVS4. Нижняя головка шатуна изготовлена методом разлома (Splitting Technology).
Количество клапанов на цилиндр принято равным 4, так же как у предшественника.
Головка цилиндров литая, из высокотемпературного алюминиевого сплава, с последующей термообработкой.
Новым в головке является наличие двух разделенных полостей, верхней и нижней (рис. 9.8), что позволяет эффективнее охлаждать нижнюю, наиболее нагретую часть головки, распылители форсунок и клапаны.
Проведенные при проектировании головки цилиндров расчетные исследования показали, что наличие принятых двух зон охлаждения существенно повысило ее прочность.
В каждой головке цилиндров имеется два распределительных вала, привод к ним от коленчатого вала — цепной. Для устранения зазора в клапанном механизме применены гидравлические толкатели.
| 
|
| Рис. 9.8. Головка цилиндров дизеля ОМ 629
:
1 — посадочная втулка топливной форсунки; 2 — верхняя полость охлаждающей воды; 3 — нижняя полость охлаждающей воды
|
Впускная система
Основное внимание при разработке впускной системы уделялось снижению гидравлических потерь в системе, исключению неоправданного дросселирования потоков воздуха. В этой связи размещение двух турбокомпрессоров симметрично по обеим сторонам двигателя вполне оправданно.
| 
|
| Рис. 9.9. Схема подачи воздуха в дизеле ОМ 629:
1 — водовоздушный теплообменник; 2 — впуск свежеговоздуха; 3 —дроссель; 4 — воздушный фильтр с глушителем шума; 5 — пленочный расходомер воздуха; 6 — распределитель наддувочного воздуха;7—турбокомпрессор
|
Схема движения поступающего в турбокомпрессоры свежего воздуха и далее наддувочного воздуха показана на рис. 9.9.
В результате разработчикам удалось снизить, по сравнению с предшественником, гидравлические потери в тракте до турбокомпрессоров на 30% и в тракте после них на 60-62% при одновременном увеличении расхода воздуха.
На рис.9.9 показаны эти трубопроводы с плавными поворотами и практически без дросселирования.
Турбокомпрессоры оснащены механизмом регулирования входного сечения в турбину.
Топливная система
Двигатель оснащен топливной системой Common-Rail третьего поколения с максимальным давлением впрыскивания 160 МПа и форсунками с пьезоактюаторами.
Система позволяет осуществлять до пяти впрыскиваний за Цикл. При обычной работе двигателя система осуществляет два предвпрыскивания.
Форсунка имеет семь гидравлически оптимизированных распыливающих отверстий.
Наличие в форсунках пьезоактюаторов уменьшает количество просачивающегося масла в топливной системе Common-Rail, доведя его до нуля.
В отличие от предшественника новый дизель не нуждается в блоке клапанов, необходимом для распределения топлива между аккумуляторами двух блоков V-образного двигателя.
Топливо подается последовательно от насоса высокого давления, сперва непосредственно в аккумулятор левого блока и затем — правого.
Система охлаждения
(рис. 9.10)
В новом двигателе применена система охлаждения, аналогичная системе предшественника, двигателя ОМ 628.
| 
|
| Рис. 9.10. Схема системы охлаждения дизеля ОМ 629:
1
— водяной насос; 2, 6 — головки цилиндров — правая и левая;
3
— масляный и водяной теплообменники; 4 — клапан
рециркулируемых газов; 5 — охладитель рециркулируемых газов; 7
— впуск воды в блок; 8 — выпуск воды из блока; 9 — термостат
|
Система охлаждения нового двигателя отрегулирована на большие нагрузки на двигатель, в ней увеличено охлаждение рециркулируемых отработавших газов, необходимое для уверенного выполнения норм на выбросы вредных веществ EURO IV.
Масляный и водяной теплообменники размещены очень компактно в нижней части развала блока.
Разработчикам удалось снизить гидравлические потери системы охлаждения за счет оптимизации потока воды в головках цилиндров и вокруг гильз, отсутствия дросселирования потока в блок-картере и термостате и равномерного распределения воды между блоками.
Выпускная система
(рис. 9.11)
Как отмечалось, для уверенного выполнения норм на выбросы вредных веществ выпускная система в автомобилях с дизелями ОМ 629 оснащена фильтром твердых частиц.
| 
|
| Рис. 9.11. Схема выпускной системы автомобиля с дизелем ОМ 629:
1 — датчик температуры; 2 — дифференциальный датчик давления; 3 — датчики температур после нейтрализатора; 4
— l-зонд; 5
— нейтрализаторы; 6 — двухстенный трубопровод
отработавших газов; 7 — фильтр твердых частиц
|
Фильтр твердых частиц расположен под полом автомобиля. Для уменьшения тепловых потерь при регенерации фильтра трубопроводы, соединяющие двигатель с фильтром, применены двухстенные, с воздушным зазором.
Регенерация фильтра осуществляется без использования каких-либо присадок.
Масляный и водяной теплообменники размещены очень компактно в нижней части развала блока.
Разработчикам удалось снизить гидравлические потери системы охлаждения за счет оптимизации потока воды в головках цилиндров и вокруг гильз, отсутствия дросселирования потока в блок-картере и термостате и равномерного распределения воды между блоками.
Оптимизация акустических характеристик
Уменьшение шума дизеля на всех режимах его работы является трудновыполнимой задачей. Поэтому фирма поставила перед собой задачу уменьшения шума непропорционально режиму его работы.
Основное внимание уделялось режиму малых нагрузок и частот вращения (наиболее часто для этого класса автомобилей используемый режим работы двигателя) и получению на этих режимах "приятного и ненавязчивого" шума, а на режимах полной нагрузки — "сильного, но не громкого" шума.
Основные мероприятия, направленные на решение проблемы шума:
—особенно жесткая конструкция блок-картера с применением дополнительной опорной "постельной" плиты;
—переход на увеличенный диаметр коренных шеек коленчатого вала;
—установка уравновешивающего вала;
—применение более жесткой конструкции рамы автомобиля, к которой крепится двигатель;
—усиленные алюминиевые воздухопроводы;
—нежесткие крепления воздухопроводов с воздушным коллектором и такие же соединения топливных трубопроводов с низким давлением топлива;
—двойное предвпрыскивание топлива за цикл с давлением 160 МПа.
9.3. Двигатель
R
6 фирмы
BMW
Фирма BMW разработала новый 6-цилиндровый рядный бензиновый безнаддувный двигатель R6 рабочим объемом 3,0 л. По мнению проф. B.Goschel, конструкторы пытались решить имеющийся конфликт между желанием уменьшить расход топлива и выбросы вредных веществ и необходимостью повышать динамические характеристики
двигателя и автомобиля.
Таблица 9.3.1
| Параметры
|
R6
|
| Рабочий объем, см3
|
2977
|
| Диаметр цилиндра, мм
|
85
|
| Ход поршня, мм
|
88
|
| Мощность, максимальная, кВт
|
190
|
| Частота вращения при Nem
ax., мин"1
|
6650
|
| Крутящий момент, максимальный, Нм
|
300
|
| Частота вращения при Мета
х., мин"1
|
2500-4000
|
| Степень сжатия
|
10,7
|
| Масса двигателя, кг
|
161
|
| Литровая мощность, кВт/л
|
63,5
|
| Удельный крутящий момент, Нм/л
|
100
|
| Удельная масса, кВт/кг
|
1,18
|
| Расстояние между осями цилиндров, мм
|
91
|
| 
|
Рис. 9.3.1. Двигатель
R6 фирмы
BMW
|
| 
|
Рис. 9.3.2. Внешняя скоростная характеристика двигателя
R6 фирмы
BMW
|
В табл. 9.3.1. приведены некоторые параметры двигателя R6, на рис. 9.3.1 показан общий вид нового двигателя с разрезами, на рис. 9.3.2. — его внешняя скоростная характеристика.
Блок-картер изготовлен из магний-алюминиевого сплава, гильзы изготовлены из материала Alusil.
Двигатель оснащен четырьмя клапанами на цилиндр, механизмами регулирования фаз газораспределения и высоты перемещения клапанов — Valvetronic и Doppel-VANOS, которые заменяют дроссельную заслонку, двумя верхнерасположенными распределительными валами на семи опорах. Привод к клапанам роликовый, с гидравлической системой регулирования зазора.
На рис. 9.3.3 показан принятый в двигателе R6 механизм Valvetronic второго поколения, предназначенный для высокооборотных двигателей.
Принятый механизм изменения фаз и высоты подъема клапана с очень точной регулировкой подачи заряда в цилиндр (без дроссельной заслонки) обеспечивает достижение лучшей экономичности и приемистости двигателя.
| 
|
| Рис. 9.3.3. Механизм
Valvetronic двигателя
R6
|
В среднем во всех эксплуатационных условиях механизм Valvetronic снижает путевой расход топлива на 10%.
Применяемое топливо — бензин с октановым числом 87-98 (приведенные в табл. 9.3.1. мощностные параметры получены при ОЧ, равном 98).
Принятый механизм изменения фаз и высоты подъема клапана с очень точной регулировкой подачи заряда в цилиндр (без дроссельной заслонки) обеспечивает достижение лучшей экономичности и приемистости двигателя.
В среднем во всех эксплуатационных условиях механизм Valvetronic снижает путевой расход топлива на 10%.
Применяемое топливо — бензин с октановым числом 87-98 (приведенные в табл. 9.3.1. мощностные параметры получены при ОЧ, равном 98).
Привод к водяному насосу электрический, что обеспечивает необходимое охлаждение вне зависимости от частоты вращения двигателя; такой привод также обеспечивает некоторое снижение расхода топлива. Затраты мощности на привод к водяному насосу с обычным механическим приводом составляют примерно 2,0 кВт, с электрическим — всего 200 Вт.
Блок из принятого сплава обеспечивает уменьшение массы на 57% по сравнению с блоком из серого чугуна и на 25% —с чисто алюминиевым сплавом. Однако применение магния приводит к необходимости решать ряд возникающих при этом проблем, так как имеется химическая несовместимость магния и воды. Вследствие этого поверхность блока после расточек непригодна для использования ее в качестве цилиндров, а также каналов для охлаждающей жидкости. Поэтому требуется установка во всех этих случаях алюминиевых вставок. Так, в двигателе R6 полностью исключен контакт воды с магнием.
Верхняя головка шатунов — трапециевидная, что также несколько снижает массу шатуна.
9.4. Дизель
i
-
CTDi
фирмы
Honda
Разработанный фирмой Honda новый 4-цилиндровый дизель рабочим объемом 2,2 л предназначен для продаваемого в Европу автомобиля Accord той же фирмы.
Основные отличительные особенности нового дизеля: четыре клапана на цилиндр, непосредственное впрыскивание топлива с применением топливной аппаратуры Common-Rail, два верхнерасположенных распределительных вала, турбокомпрессор с изменяемой геометрией на входе в турбину, рециркуляция отработавших газов с их охлаждением.
В табл. 9.4.1 приведены основные параметры нового дизеля.
Таблица9.4.1
| Параметры
|
i-CTDi
|
| Рабочий объем, сма
|
2203
|
| Диаметр цилиндра, мм
|
85
|
| Ход поршня, мм
|
97,1
|
| Мощность, максимальная, кВт
|
103
|
| Частота вращения при Nema
x., мин'1
|
4000
|
| Крутящий момент, максимальный, Нм
|
340
|
| Частота вращения при Метах
., мин'1
|
2000
|
| Степень сжатия
|
16,7
|
| Литровая мощность, кВт/л
|
47
|
| Удельный крутящий момент, Нм/л
|
155
|
| Среднее эффективное давление, МПа
|
1,9
|
| Путевой расход топлива, л/100 км
|
5,4
|
На рис.9.4.1. представлен общий вид дизеля, на рис.9.4.2. —его внешняя скоростная характеристика.
| 
|

|
| Рис. 9.4.1. Дизель
i-
CTDi фирмы
Honda
|
Рис. 9.4.2. Внешняя скоростная характеристика дизеля
i-
CTDi фирмы
Honda
|
Дизель выполняет нормы на выбросы вредных веществ EURO IV.
Главная цель, которая была поставлена при разработке нового дизеля, — максимальное уменьшение его массы. При этом не снимались требования по уменьшению выбросов, расхода топлива, шума и вибраций.
Блок двигателя и головка цилиндров литые из алюминия, коленчатый вал с противовесами, форсунка расположена в центре камеры сгорания, привод к клапанам — роликовый.
На дизеле установлена топливная аппаратура Common-Rail второго поколения с давлением впрыскивания 160 МПа, обеспечивающая два предвпрыскивания.
Регулирующий клапан в системе регенерации управляется электронной системой. Она также управляет вихреобразующим клапаном SLV (Swirl Control Valve), установленным во впускном канале головки блока.
| 
|
| Рис.9.4.3. Основные несущие части двигателя
|
При разработке нового двигателя широко применялась система проектирования DoE*, обеспечившая выбор наиболее оптимальных параметров двигателя.
Уменьшение массы и применение алюминия в блоке потребовали от разработчиков создания очень прочной конструкции остова двигателя. На рис.9.4.3 показаны составляющие части определяющих элементов двигателя: блока, головки цилиндров, опорной плиты, поддона и верхней крышки.
Привод к впускному распределительному валу цепной, однорядный, одноступенчатый. Втулочно-роликовая цепь изготовлена из карбида ванадия. Передача от впускного распределительного вала к выпускному шестеренчатая, со спиральным зацеплением.
9.5. Дизели для автомобилей
PASSAT
и
GOLF
PLUS
На этих автомобилях устанавливаются практически одни и те же 4-цилиндровые дизели. На автомобиле Passat —три дизеля, параметры которых приведены в табл. 9.5.1, на автомобиле Golf Plus —два из них, мощностью 77 кВт и 103 кВт. На рис. 9.5.1 и 9.5.2 показан общий вид этих дизелей.
Дизель 1.9 TDI успешно применяется фирмой на многих моделях автомобилей.
Разработка новых дизелей велась на базе предшественников, подвергнувшихся существенной модернизации.
Основные направления модернизации: уменьшение вредных выбросов и повышение эффективности дизелей.
Девизом этой модернизации был "больший комфорт — меньшие выбросы".
Наиболее значительные изменения, внедренные в новые дизели: установка фильтра твердых частиц, объединенного с нейтрализатором, расположенным вблизи дизеля, оснащение дизелей рабочим объемом 2,0 л двумя уравновешивающими валами, вращающимися в разных направлениях, оптимизация крышки головки цилиндров, улучшение системы сепарации масла в головке цилиндров, оптимизация работы турбокомпрессоров и насос-форсунок, применение керамических свеч подогрева нового
| Таблица 9.5.1.
|
| Параметры
|
1.9 TDI 77 кВт
|
2.0 TDI 103 кВт
|
2.0 TDI 125 кВт
|
| Рабочий объем, см3
|
1896
|
1968
|
1968
|
| Диаметр цилиндра, мм
|
79,5
|
81
|
81
|
| Ход поршня, мм
|
95,5
|
95,5
|
95,5
|
| Мощность, максим., кВт
|
77
|
103
|
125
|
| Частота вращения при Ne
max, мин -1
л
|
4000
|
4000
|
4200
|
| Крутящий момент, максим., Нм
|
250
|
320
|
350
|
| Частота вращения при Метах
., мин -1
|
1900
|
1750-2500
|
1800-2500
|
| Степень сжатия
|
19,5
|
18
|
18
|
| Среднее эффектив. давление, МПа
|
1,66
|
2,05
|
2,21
|
| Расход топлива, л/100 км
|
5,4
|
5,7
|
6,1
|
| Литровая мощность, л/кВт
|
41
|
52
|
64
|
| Удельный крутящий момент, Нм/л
|
132
|
160
|
176
|
| Число клапанов
|
2
|
2
|
4
|
| Расстояние между цилиндрами, мм
|
88
|
88
|
88
|
|

|
| Рис. 9.5.1. Дизель 1.9
TDI мощностью 77 кВт
|
Рис. 9.5.2. Дизель 2.0
TDI мощностью 125 кВт
|
поколения, обеспечивающих уменьшение образования твердых частиц и хороший пуск холодного дизеля.
| 
|
| Рис. 9.5.3. Внешняя скоростная характеристика дизеля 2.0
TDI мощностью 125 кВт
|
Насос-форсунки, устанавливаемые на дизелях мощностью 77 и 103 кВт, приняты обычной конструкции, мощностью 125 кВт —с пьезоактюатором.
Турбокомпрессоры конструктивно разработаны так, чтобы можно было разместить их как можно ближе к выпускному коллектору дизеля.
Внешняя скоростная характеристика дизеля 2.0 TDI мощностью 125 кВт показана на рис. 9.5.3.
|

|
| Рис. 9.5.4. Установка фильтра твердых частиц на двигателе
|
Рис. 9.5.5. Впускной модуль нового дизеля
|
Фильтр твердых частиц с максимально большим объемом совмещен с первым по потоку отработавших газов нейтрализатором (рис.9.5.4). Разработанный фильтр имеет объем 4,1 л, осуществляется регулярная его регенерация. Для этого по сигналу датчика давления, установленного перед фильтром, впрыскивается определенное количество топлива, что повышает температуру отработавших газов до 630°С, достаточную для регенерации фильтра. Замена фильтра осуществляется после пробега автомобиля 120 тыс. км.
На двигателях установлен стальной коленчатый вал из материала 42CrMoS4, оснащенный четырьмя противовесами.
В головке цилиндров размещены два впускных канала, подающие воздух в цилиндры двигателя. Один их них, тангенциальный, обеспечивает хорошее наполнение, другой — вихреобразующий. Для повышения эффективности вихря на малых частотах вращения установленные в тангенциальных каналах дроссельные заслонки закрываются . Управление ими пневматическое.
Топливная система дизелей
| 
|
| Рис.9.5.6. Насос-форсунка с пьезоактюатором фирмы
Siemens
|
Известные перспективные требования к дизелям: дальнейшее уменьшение выбросов вредных веществ, расхода топлива, шума от работы дизеля, повышение литровой мощности предопределили ведущиеся в настоящее время разработки топливной аппаратуры.
Фирма Siemens представила для новых наиболее мощных дизелей насос-форсунки с пьезоактюатором PPJ (Pieso pumpe-jet) (рис.9.5.6).
Применение насос-форсунок с пьезоактюатором обеспечивает большую эффективность:
—повышает максимальное давление впрыскивания, на фирме Siemens было получено давление, равное 240 МПа (по другим данным, 220 МПа);
—повышает гидравлические показатели из-за меньшего объема топлива;
—обеспечивает идеальный процесс впрыскивания;
—осуществляет очень точное предварительное впрыскивание небольшой порции топлива.
В результате проведенных работ все предлагаемые для новых автомобилей дизели выполняют нормы на выбросы вредных веществ EURO IV.
10. СОВЕРШЕНСТВОВАНИЕ ПРОЦЕССОВ В ЦИЛИНДРЕ
10.1. Компрессионное воспламенение однородной смеси.
Корпорация GM впервые продемонстрировала процесс сгорания топлива, известный под наименованием «Homogeneous Charge Compression Ignition (HCCI)» (Компрессионное воспламенение однородной смеси).
В сочетании с такими технологиями, как система непосредственного впрыска топлива, регулирование фаз газораспределения и степени подъема клапанов, а также система измерения давлений в цилиндрах, система HCCI обеспечивает снижение расхода топлива на 15 % и соответствие наиболее строгим экологическим стандартам, которые станут обязательными в будущем. Разработчики отмечают основные положительные особенности технологии HCCI: · Коэффициент полезного действия бензиновых двигателей - на уровне дизелей при меньшей стоимости очистки отработавших газов; · Возможность использования отработанных технологий в двигателестроении, таких как система непосредственного впрыска бензина и механизм регулирования фаз газораспределения ; · Простота адаптации обычных бензиновых двигателей к системе HCCI; · Требуются только традиционные для бензиновых двигателей системы последующей обработки отработавших газов; · Совместимость системы HCCI со всеми имеющимися в продаже сортами бензина, а также с топливом Е85 на базе этанола. Технология HCCI предусматривает воспламенение топливовоздушной смеси в цилиндре путем ее сжатия. В отличие от искрового зажигания, а также от процесса сгорания в дизельном двигателе, технология HCCI позволяет реализовать высвобождение энергии топлива при низкотемпературном сгорании смеси сразу во всем объеме камеры сгорания - без факела пламени. Все топливо, находящееся в цилиндре, сгорает одновременно. Данный процесс позволяет получить такую же мощность, как у обычного бензинового двигателя, но при меньшем расходе топлива.
Кинограммы на рис.10.1.1 и 10.1.2 демонстрируют разницу в характере сгорания в дизеле и двигателе с процессом HCCI.
| 
|

|
| Рис.10.1.1. Сгорание в дизеле
|
Рис.10.1.2. Сгорание с процессом HCCI
|
Корпорация GM демонстрирует технологию HCCI на пригодных для движения по дорогам концепт-карах Saturn Aura и Opel Vectra (оба - на базе автомобилей серийного производства). Модель Aura оснащена автоматической трансмиссией, а на модели Vectra, которая нацелена на европейский рынок, установлена механическая коробка передач. Оба автомобиля оснащены 2,2-литровым двигателем Ecotec мощностью 180 л.с., развивающим крутящий момент 230 Н·м. Особенности данного двигателя: система центрального непосредственного впрыска топлива, система регулирования степени подъема впускных и выпускных клапанов, электросистема регулирования фаз газораспределения (на двух распределительных валах), а также индивидуальные датчики давления в цилиндрах, которые контролируют процесс сгорания и позволяют выполнить плавный переход между различными режимами сгорания топлива.
Для рабочего процесса системы HCCI необходима относительно высокая температура двигателя. Поэтому в период прогрева холодного двигателя используется обычное искровое зажигание. В этот период двигатель быстро нагревается до температуры, обеспечивающей как функционирование системы HCCI, так и работу каталитического нейтрализатора. В режиме HCCI используется обедненная смесь (топливовоздушная смесь с повышенным процентным содержанием воздуха). При работе на обедненной смеси коэффициент полезного действия бензинового двигателя близок к КПД дизеля, при этом, в отличие от дизеля, для очистки отработавших газов требуются только традиционно применяемые устройства. Напомним, что дизели требуют использования сложных и дорогостоящих систем снижения токсичности отработавших газов. Степень сжатия двигателя, использующего технологию HCCI, - такая же, как у обычных бензиновых двигателей с непосредственным впрыском топлива. Система HCCI совместима со всеми имеющимися в продаже сортами бензина, а также с топливом Е85 на базе этанола. Процессом сгорания по технологии HCCI управляет компьютер, который работает по разработанному корпорацией GM алгоритму с использованием показаний датчиков давления в цилиндрах. Компьютер также управляет переходами между режимом HCCI и обычным искровым зажиганием. По словам исполнительного директора GM по перспективной разработке силовых агрегатов Uwe Grebe, наиболее трудной задачей, решаемой при создании технологии HCCI, является управление процессом сгорания. При искровом зажигании сгоранием управляют углом опережения зажигания и интенсивностью искрового разряда. Однако при реализации технологии HCCI при сгорании отсутствует факел пламени, и поэтому, чтобы добиться требуемых характеристик двигателя, приходится выполнять сложное синхронное регулирование состава смеси и температуры. Кроме того, при скоростях движения автомобиля более 55 миль/час, а также при работе двигателя с большой нагрузкой приходится переходить в режим искрового зажигания. Разработчики продолжают совершенствовать технологию HCCI, чтобы сделать ее работоспособной в широком диапазоне условий вождения, характерных для разных регионов земного шара - от тропиков до Арктики, а также при разреженном воздухе на большой высоте над уровнем моря.
10.2. Процесс сгорания в двигателе Saab
В шведском исследовательском центре фирмы Saab в Trollhattan разрабатывается новая система управляемого сгорания Saab (система SCC). В этом процессе количество рециркулируемых выпускных газов в смеси достигает 70 %, что помогает уменьшить эмиссию вредных веществ в выпускных газах до уровня, меньшего, чем нормы США второго поколения (ULEV2 2005 года). Этот процесс также обеспечивает снижение расхода топлива на 10 %.
| 
|

|
| Рис. 10.2.1.Двигатель с управляемым процессом сгорания фирмы Saab
|
Система SCC базируется на трех ключевых решениях: технология непосредственного впрыска бензина в цилиндр, переменные фазы газораспределения и переменные фазы воспламенения. Согласно Saab, SCC применяет сгорание стехиометрических смесей (соотношение воздух/топливо равняется 14.6:1), что позволяет применять для достижения законодательных требований по выбросам токсичных веществ традиционные хорошо отработанные трехкомпонентные системы нейтрализации.
Система содержит устройство, объединяющее форсунку и свечу, называемое SPI ( Spark Plug Injector). Топливо впрыскивается непосредственно в головку цилиндра через SPI, используя сжатый воздух. Перед его воспламенением вдуваемый воздух создает интенсивную турбулентность в цилиндре, способствуя сгоранию и сокращению периода сгорания. Использования кулачкового вала с переменными кулачками дает уверенность, что открытие и закрытие впускных и выпускных клапанов изменяется непрерывно.
|
| Рис. 10.2.2. Фазы процесса сгорания в двигателе Saab.
|
В соответствии с данными Saab, эта технология позволяет перемешивать выпускные газы в цилиндре, используя преимущества непосредственного впрыскивания и поддерживая в то же время стехиометрический состав смеси в цилиндре в большинстве рабочих режимов.
Почти 70% содержимого цилиндра в течение сгорания состоит из выпускных газов; точное соотношение воздуха и отработавших газов зависит от конкретных условий при заданном режиме работы двигателя. Преимущество использования отработавших газов вместо воздуха для наполнения цилиндра заключается в том, что они инертны, не добавляют кислород в процесс сгорания и потому не влияют на соотношение воздух/ топливо. Предлагаемая система обеспечивает пониженные насосные потери.
Работа системы Saab SCC начинается с хода расширения, который осуществляется обычным способом, т.е. топливовоздушная смесь сгорает, давление увеличивается и поршень движется вниз. Особенности функционирования системы SCC начинают проявляться в ходе выпуска. При приближении поршня к нижней мертвой точке, выпускные клапана открываются и большинство выпускных газов покидают цилиндр через открытые выпускные клапана, причем содержание остаточных газов в цилиндре уменьшается по мере подъема поршня.
Бензин впрыскивается с помощью форсунки-свечи (SPI) в момент, когда поршень приближается к верхней мертвой точке, причем одновременно открываются впускные клапана. Отработавшие газы, перемешиваясь с парами бензина, вытекают из цилиндра через открытые впускные и выпускные клапана. В общем случае, чем меньше нагрузка, тем больше в смеси отработавших газов. В течение такта наполнения выпускные и впускные клапаны открыты и смесь отработавших газов с парами бензина из выпускной трубы засасывается обратно в цилиндр. Значительная часть смеси выпускных газов с парами бензина, заброшенная во впускной трубопровод, возвращается в цилиндр. По мере движения поршня
вниз выпускные клапана закрываются, в то время как впускные клапана остаются открытыми и вся смесь паров бензина с выпускными газами, оказавшаяся во впускном трубопроводе возвращается в цилиндр. В заключительной фазе процесса впуска в цилиндр поступает и воздух, необходимый для сгорания.
В течение хода сжатия после того, как закрываются впускные клапаны, смесь отработавших газов, паров бензина и свежего воздуха сжимается. Кроме того, почти половину хода сжатия (примерно 45 градусов поворота коленчатого вала) до появления искры через SPI вдувается воздух в цилиндр, создавая интенсивную турбулентность заряда, необходимую для интенсификации процесса сгорания и сокращения его продолжительности. Перед приходом поршня в ВМТ искра между электродами SPI поджигает смесь и начинается ход расширения следующего цикла.
11. Проблемы использования топливных элементов
Недавно BMW и Delphi Automotive Systems сделали очередной шаг в развитии транспортных силовых установок с топливными элементами, представив первый автомобиль, оснащенный вспомогательной энергетической установкой (APU) с твердооксидными топливными элементами (SOFC), которая генерирует электрическую энергию для таких систем и агрегатов автомобиля, как кондиционирование воздуха, водяные насосы и др.
До этой разработки APU большинство сообщений о топливных элементов касались развития протонообменных мембранных топливных элементов (PEM) для силовых установок автомобилей. В октябре 2000 г. Департамент энергии США (DOE) опубликовал доклад о прогрессе, достигнутом в развитии РЕМ топливных элементов, которое рассматривается как долгосрочная технология развития автомобилей в рамках программы Партнерство для нового поколения автомобилей (PNGV). В этом докладе затронуты технологические и экономические проблемы применения топливных элементов. В частности, перечислены следующие проблемы:
Стоимость системы и ее компонентов.
Стоимость крупномасштабного производства топливно-элементных систем, основанного на современном уровне технологии (300 дол/кВт), в семь раз превышает стоимость, которую необходимо иметь для конкурентноспособности с поршневыми двигателями внутреннего сгорания.
Стоимость платины и обеспечение ее потребностей.
Предварительный анализ показал, что текущие потребности в платине, необходимой для создания топливных элементов, слишком велики и не могут быть обеспечены промышленностью. Стоимость только платины в современной системе с топливными элементами мощностью 50 кВт оценивается величиной 57 долл/кВт. Только эта составляющая стоимости выше величины, которую согласно нормативу, установленному DOE, должна иметь вся силовая установка к 2004 г. (50 долл/кВт).
Надежность компонентов.
Надежность таких ключевых компонентов, как мембрано-электродная сборка и каталитический топливный процессор, пока не достигла требуемого уровня в 5000 часов. Кроме того, некоторые их компонентов еще не готовы для длительных испытаний.
Время пуска.
Время подготовки системы с топливными элементами к работе, определяемое топливным процессором, лежит в пределах 6-20 минут, что неприемлемо для владельцев автомобилей.
Вздухообеспечение.
Современные компрессоры не могут обеспечить эффективную подачу воздуха в топливный элемент, а топливные элементы, в свою очередь, не могут принять подачу воздуха компрессором. Это приводит к излишней подаче воздуха в топливный элемент, что , в свою очередь, приводит к дополнительной нагрузке на компрессор, понижению общего КПД системы, увеличению размеров батареи топливных элементов, массы и стоимости.
Топливная инфрастуктура.
Применение лучших топлив для топливных элементов, водорода и метанола, требует значительных капиталовложений для создания инфрастуктуры производства и распределения этих топлив, что рискованно до создания эффективных и конкурентоспособных силовых установок с топливными элементами и завоевания ими рынка, что позволит окупить инвестиции. Углеводородные топлива нефтяного происхождения имеют развитую инфрастуктуру, но для их использования необходимо иметь бортовые топливные процессоры (генераторы водородосодержащего газа) и специализированные топливозаправочные колонки, обеспечивающие зарядку топливом с низким содержанием серы и ароматических соединений.
Технология топливных элементов
В отличие от электрохимических батарей, в которых химическая реакция используется как для зарядки батарей (накопления электроэнергии), так и для разрядки (получения электроэнергии), топливные элементы генерируют электроэнергию непосредственно из топлива. Если на борту автомобиля есть топливо, то топливные элементы будут давать столько электроэнергии, сколько требуется водителю.
Топливные элементы впервые были продемонстрированы английским ученым Сэром Вильямом Робертом Грове в 1839 г. Изобретение Грове основывалось на предположении о возможности осуществления процесса, обратного общеизвестному процессу электролиза. При электролизе электрический ток пропускается между двумя электродами через проводящую жидкость, называемую электролит. Ток, проходя через электролит, расщепляет воду или другое химическое соединение на ионы (заряженные частицы), которые после реагируют . Аналогично топливный элемент состоит из двух электродов: положительного электрода, называемого анодом, и отрицательного, называемого катодом. Чистый водород, или водород, извлеченный на борту из углеводородного топлива (метанол, бензин, дизельное топливо) и кислород (воздух) подаются в топливный элемент. Катализатор (обычно платина) у анода побуждает атомы водорода отдавать свои электроны и превращаться в протоны. У катода атомы кислорода в присутствии катализатора превращаются в отрицательно заряженные ионы и притягивают к себе протоны. Протоны проникают через электролит (например, тонкую электролитическую мембрану, которая пропускает только протоны) к катоду, а электроны движутся по внешней цепи к катоду. У катода протоны и отрицательно заряженные ионы кислорода образуют воду. Кроме того, в этом процессе выделяется теплота, которую также можно использовать. Таким образом, топливный элемент, потребляя топливо и окислитель, генерирует электроэнергию, теплоту и образует воду. Поскольку один топливный элемент дает напряжение в пределах одного вольта, для получения требуемого напряжения их объединяют в так называемые сборки («стэки»). Водородо-кислородные топливные элементы является экологически чистыми (выделяет только воду). Однако если водород получают из метанола или другого углеводородного топлива на борту в генераторе водорода (топливном процессоре-реформере), то топливный процессоре может выделять вторичные продукты, в том числе и вредные.

Рис. 11.1 Схема топливного элемента
Существуют различные типы топливных элементов, использующих разнообразные топлива и электролиты, работающие при разных температурах. Описанный выше водородо-кислородный топливный элемент с протонно-обменной мембраной (тип PEM) работает при температуре 80-90 градусов Цельсия и наиболее пригоден для применения в силовых установках автомобилей. Изучается возможность использования в качестве вспомогательных энергоустановок для автомобилей топливные элементы с твердо-оксидным электролитом (тип SOFC), которые работают при более высоких температурах (700-1000 град. С). Кроме того, в качестве электролита в этих элементах применяют керамику (например, диоксид циркония).
Многие инженеры уверены, что элементы SOFC вместе с бортовым реформером бензина, в ближайшее время найдет применение как вспомогательная силовая установка на легковых автомобилях и грузовиках. Поскольку автомобили оснащаются все большим количеством электронного оборудования и потребителей электроэнергии, все большая нагрузка ложится на генератор электроэнергии и вспомогательная энергоустановка на базе твердооксидных топливных элементов может стать великолепной альтернативой электрогенератору. BMW, Renoult и Delphi Automotive Systems настойчиво продвигают это направление.
Топливные элементы с протонно-обменной мембраной (PEM)
Топливные элементы с протонно-обменными мембранами были разработаны фирмой General Electric в рамках программы NASA Gemini почти сорок лет назад. Эти элементы привлекли внимание автомобилестроителей, поскольку они компактны, работают при низких температурах, позволяют регулировать мощность, и их можно сравнительно быстро запустить в действие. Разработки, сделанные в 1980 годах Los Alamos National Laboratories (LANL) по улучшению технологии производства и сокращению количества катализатора, которым необходимо покрывать сверх тонкую полимерную мембрану, позволили существенно понизить стоимость топливных элементов.

Рис. 10.2. Конструкция блока топливных элементов фирмы Ballard
Прототип установки на топливных элементах фирмы Ballard (рис.2), который используют фирмы DaimlerChrysler, Ford, Honda, Nissan и др, представляет собой серию углеродных пластин/PEM-эектродных сборок. Каждая сборка содержит пять главных компонентов. По краям сборки расположены электроды из углеродного материала, покрытые катализатором платинового семейства, который ионизирует водород у анода и кислород у катода. Между электродами расположена тонкая протонно-обменная мембрана, которая представляет собой резиновый гидрофильный полимерный электролит с внедрениями из твердой серной кислоты. Эти внедрения селективно пропускают протоны через мембрану к катоду.
Исследователи фирм Ballard и GM непрерывно работают над решением целого ряда технических проблем, таких как увеличение плотности энергии в сборке оптимизацией состояния мембраны (она должна быть влажной, но не текучей) и оптимизацией линий тока, по которым транспортируются водород, кислород и вода в пределах сборки. Фирма Баллард имеет более 400 патентов по технологии топливных элементов с протонно-обменными мембранами и рассчитывает в течение ближайших четырех лет создать энергоустановку с габаритами, пригодными для применения в автомобилях, и со стоимостью, сопоставимой со стоимостью ДВС.
Понятно, что топливные элементы обладают рядом преимуществ перед ДВС: они имеют больший КПД, более низкий уровень шума, они могут быть базой для создания энергоустановок с нулевым или близким к нулевому уровнями выбросов вредных веществ, которые могут работать на возобновляемых топливах. Следует отметить, что некоторые инженеры считают, что топливные элементы можно эффективно использовать в гибридных силовых установках в комбинации с аккумуляторными батареями, емкостными или другими , что даст возможность использовать топливные элементы с меньшей мощностью, но с большим КПД. Инженеры фирмы Баллард утверждают, что они два года назад достигли минимальный уровень плотности энергии для автомобильного применения – 1 кВт / л в установке Марк700. В своей новой разработке Марк 900 они получили плотность энергии 1.35 кВт/л. Хотя этот уровень ниже уровня плотности энергии, который обеспечивают ДВС, тяговые характеристики электромоторов обеспечивают автомобилю с топливными элементами преимущества.

Рис. 10.3. Сравнение ДВС и топливных элементов
Однако еще много нужно сделать в совершенствовании технологии топливных элементов, чтобы добиться их конкурентоспособности. Хотя в топливных элементах отсутствуют движущиеся части, что потенциально позволяет рассматривать их как более простые системы, но они являются каталитическими устройствами, каталитическими преобразователями, что порождает специфические проблемы, например в области износа. Это означает, что какое -то время топливный элемент будет работать и без подачи газа.
Уменьшение стоимости
До настоящего времени изготовление топливного элемента с мощностью, достаточной для привода автомобиля, обходилось дороже, чем изготовление установки электромобиля с химическими элементами или гибридных силовых установок. Чтобы достичь уровня мощности ДВС для привода седана среднего класса, силовая установка с топливными элементами должна иметь 60-90 кВт. В энергоустановках НАСА космического применения топливные элементы технологии PEM стоили 500000$/kW. К настоящему времени после целого ряда технологических достижений их стоимость снизилась до $500/kW. Но это означает, силовая установка с топливными элементами стоит около $25000, что почти в семь раз дороже обычного ДВС (около 3500$).
Работая несколько лет со специалистами фирм Форд и GM, исследователи фирмы Баллард изучили потребности автомобильной промышленности в крупномасштабном производстве топливных элементов низкой стоимости и сконструировали установку Марк 900. Ключевым моментом в создании этой установки был выбор дешевых, доступных материалов и разработка высокопроизводительных крупномасштабных технологических процессов производства компонентов топливных элементов. Исследования применительно к заводу с программой выпуска 300000 силовых установок показали, что при распределении стоимости по компонентам 40%- батарея топливных элементов, 40%-компоненты системы, 20%-электрический привод и трансмиссия, можно получить стоимость установки около $50-60 / kW.
В установке Марк 700 применялась ручная сборка и индивидуальная обработка графитовых пластин из заготовки. Пластина стоила 100$, а при изготовлении установки Марк 900 при изготовлении электродов использовался рулонный графитовый материал Grafoil, поставляемый фирмой Carbon Graftek. Листы из этого материала подвергались обработке, пропитке, термообработке. Стоимость пластины удалось довести до нескольких долларов.
Марк 900 при работе на водороде дает 80 кВт и 75 кВт при работе на водороде, получаемом в топливном реакторе-риформере. Эта установка технологична и может быть адаптирована к промышленному производству. Однако потребуется несколько итераций, повышающие энергоемкость, снижающие массу, габариты и стоимость изготовления, пока новые варианты этой установки будут поставлены на промышленное производство.
Фирма Баллард выработала следующую стратегию внедрения силовых установок с топливными элементами. Запланирована продажа портативного генератора энергии, создание топливных элементов для междугородных автобусов. Фирма DaimlerChrysler уже сделала 33 заказа. Будут выпущены источники бесперебойного энергоснабжения.
Обеспечение топливом и проблемы инфрастуктуры
Фундаментальной проблемой в топливно-элементной технологии является получение и хранение топлива, т.е. обеспечение подачи водорода в требуемом для работы количестве. Применение трех топлив, рассматриваемые автомобилестроителями как основные– водород, метанол и бензин, порождает целый ряд серьезных проблем. Так, хотя применение водорода предпочтительно с точки зрения эффективности выработки энергии, поскольку обеспечивает наилучшие экологические показатели и КПД, водород занимает значительный объем на борту, отличается повышенными пожарной и взрывоопасностью. Водород можно хранить на бору автомобиля в сжатом виде в баллонах под давлением 100-800 бар, в криогенной емкости в жидком состоянии при температуре –253 С, в металлгидридных аккумуляторах, а также может храниться в на борту в составе другого топлива и по мере надобности выделяться из этого топлива (электролиз воды, получение водородосодержащего газа в термохимическом реакторе-риформинге и др.).
В любом случае хранение или получение водорода на борту из другого носителя составляет массу инженерных проблем, приводящих к необходимости создания на борту устройств, имеющих большие габариты, массу и представляющих опасность в эксплуатации. Получение водорода на борту из метанола, бензина или другого углеводородного топлива приводит к необходимости создания миниатюрной бортовой водородной фабрики, увеличивающей массу автомобиля и усложняющей его системы. Кроме того, получаемый в топливных процессорах водород (водородосодержащий газ) не является химически чистым и для использования в топливном элементе должен быть очищен от примесей, способных вызвать отравление катализатора топливного элемента (окись углерода, соединения серы и др.).
Совершенно ясно, что выбор способа хранения на борту водорода теснейшим образом связан с инфрастуктурой получения и распределения топлива. Фактически инфрастуктуры получения водорода и метанола отсутствуют. В США, Германии, Японии и других развитых странах существуют несколько станций, в которых можно пополнить запас водорода или метанола в автомобиле. Создание таких инфрастуктур требует огромных капитальных вложений. Конечно, инфрастуктура получения и распределения бензина, дизельного топлива и газа существует, однако она не может быть использована без модернизации для обслуживания автомобилей с топливными элементами. Здесь речь идет прежде всего о получении и распределении топлив с отсутствием вредных примесей.
В этом смысле метанол не нуждается в сверх очистке, однако его использование связано с необходимостью создания специального оборудования для заправки (насосов) и необходимостью поддержания особых мер безопасно, учитывая токсичность метанола.
Поэтому можно согласиться с распространенным мнением, что основной проблемой внедрения топливных элементов являются не сами топливные элементы, но топлива сами по себе.
Непосредственное применение водорода
Наиболее очевидным решением является непосредственное использование водорода как топлива. Согласно этому сценарию, на заправочных станциях должны быть установлены емкости для водорода или установлены миниатюрные электролизные установки, которые получают водород из воды. Этот вариант устраняет необходимость установки на борту топливного процессора (риформера) и позволяет избежать выбросов в атмосферу диоксида углерода и других парниковых газов, образующихся в процессе генерации водорода из углеводородного топлива. Заметим, что электроэнергия, необходимая для электролиза воды, обычно получается на тепловых или ядерных станциях и при оценке экологического ущерба необходимо учитывать и загрязнение в процессе получения электроэнергии. Тем не менее, привлекательность производства водорода заключается в том, что он не зависит от того, каким образом получается водород: электролизом воды или расщеплением молекул природного газа или нефти.
Скептики вздыхают, что создание национальной сети получения и распределения водорода стоит сотни миллиардов долларов. В настоящее время существуют только несколько водородных заправочных станций. Кроме того, эксперты обращают внимание на то, что заправка автомобилей водородом потребует специальных мер безопасности. Например, насос должен иметь эффективное заземление. В ответ на это сторонники применения водорода утверждают, что проблема доступности водорода станет менее острой после внедрения топливных элементов в автотранспорте, однако неизвестно, что должно появиться ранее, лошадь или телега.
И в то же время, хоть водород по массе обладает наивысшей теплотворной способностью (в три раза больше бензина), учитывая его невысокую объемную плотность чрезвычайно трудно запастись достаточным его количеством в емкости обычного размера. Эта проблема не стоит остро в автобусах или грузовиках, но в легковых автомобилях ее следует учитывать.
В приемлемых габаритах коммерчески доступные баллоны с давлением газа 24 Мпа при полном наполнении водородом обеспечивают пробег автомобилю 190 км . Это не так уж и много. Кроме того, учитывая, что атом водорода – наименьший среди всех веществ, он обладает высокой проницаемостью через стенки и уплотнения, что создает проблемы с безопасностью.
Даймлер-Крайслер и General Motors недавно применили в своем автомобиле для хранения водорода криогенную емкость, но хранение жидкого водорода в криогенной емкости при температуре 20 К (-253 градуса С) приводит к излишнему весу, сложности системы и проблемам с безопасностью. Многие эксперты считают, что через какое-то время в будущем придут к непосредственному использованию водорода. Специалисты фирмы Honda считают, что в скором будущем водород будет храниться на борту автомобиля в сжатом виде. Перезарядку емкости можно быстро осуществить, при этом емкость будет обеспечивать достаточный запас хода.
Простейшим способом для размещения на борту автомобиля большого запаса водорода является сжатие его до большего давления. В этом направлении уже достигнут определенный прогресс. Исследователи IMPCO Technologies Inc’s Advanced Technology Center in Irvine, CA объявили о предстоящих испытаниях разработанного ими нового регулятора расхода водородной емкости. Новый запатентованный регулятор расхода H2R 5000 представляет прибор, который может работать при давлении до 34 МПа. Фирма также работает над созданием ультралегкой трехслойной конструкции баллона для хранения водорода, способной выдерживать давление до 69 МПа. На эту работу министерство энергетики США выделило более 3,5 млн. долларов из федерального бюджета. Фирма IMPCO надеется создать коммерчески пригодную конструкцию баллона для хранения водорода, способного запасать 7,5 % водорода по массе. При общей массе баллона 65 кг, баллон будет вмещать количество водорода, которое позволит автомобилю преодолеть 645 км. Компания начнет проработку конструкции баллона, способного вместить 8,5% водорода по массе. Недавно исследователи IMPCO вместе с коллегами из Lawrence Livermore National Laboratory and Thiocol Propulsion показали емкость, способную вмещать 11,3% водорода по массе.
Алтернативой является такое конструирование автомобиля, чтобы в его корпусе были предусмотрены полости специальной формы для размещения водородных емкостей.
Вторым способом хранения водорода на борту автомобиля является использование материалов, которые способны при определенных условиях поглощать водород и хранить его в своей кристаллической структуре (металлгидриды) и выделять его при нагревании. Определенные успехи получены в этом направлении в смысле увеличении количества водорода, запасаемого в кристаллической структуре например, в окиси магния. Но пока это количество слишком мало. Тем не менее , хотя эта технология перспективна, не следует ожидать в ближайшие годы прорыва. При этом следует учитывать не только вес запасаемого водорода, но принимать во внимание энергетику процесса. Если используется адсорбционный процесс, надо учитывать количество теплоты, которое необходимо сообщить адсорбенту в процессах поглощения и выделения водорода. Эта энергия должна входить в уравнение энергии и понижает энергетический эффект получения электричества.
В схемах с химическими гидридными накопителями стабильные соединения, такие как гидриды бора, натрия и кальция, используют для выделения из воды водорода в каталитических реакторах. Фирма Powerballe Industries of West Valley City, UT, разработала натрийгидридную накопительную систему, в то время как фирма Millenium Cell Inc. Of Eatontown, NJ, использует гидроборид натрия. Проблемой остается общая масса системы и проблема удаления побочных продуктов реакции, которые в большинстве случаев трудно рециклировать.
Металлгидридные аккумуляторы водорода
Energy Conversion Devices inc. (ECD) разработала технологию хранения водорода на борту автомобиля, которая может стать ключевой в создании автомобилей на топливных элементах с нулевым выбросом вредных веществ. Эта технология относится к металлгидридам – веществам, которые при определенной температуре накапливают атомы водорода в своей кристаллической структуре и удерживают их там при понижении температуры. Водород выделяется при нагревании металлгидрида. Сосуд емкостью 120 л , содержащий 120 кг магнийсодержащей металлгидридной пудры, может запасать 6 кг водорода, которого достаточно для пробега автомобиля с батареей топливных элементов около 400 км. В одном литре объема такого металлгидридного аккумулятора содержится 103 г водорода.
В большинстве автомобилей с водородом в качестве топлива чистый водород размещался либо в жидком виде в криогенной емкости (при температуре –253 ° С) или в сжатом состоянии до 34 МПа в баллоне. Криогенный бак содержит 31 г водорода в каждом литре объема. Баллон с водородом, сжатым до давления 34 МПа, содержит 71 г водорода в каждом литре объема.
Обычно металлгидридный аккумулятор состоит из трех компонентов: водорода, запасающего металла и пространства, в котором протекают реакции. Водородозапасающий материал находится в виде рыхлой, сухой пудры. Водород, поступающий в аккумулятор, поглощается пудрой. Молекула водорода диссоциирует на атомы водорода, которые, проникая в кристаллическую решетку молекул металлической пудры, образуют металлгидрид. Теплота является управляющим фактором. Охлаждение прекращает адсорбционный процесс. Нагревание изменяет направление химической реакции и вызывает освобождение атомов водорода и образование молекул водорода.
В металлгидридном аккумуляторе, разработанном фирмой ECD , водород нагнетается в бак, который содержит стеллаж канистр, наполненных пудрообразным сплавом на основе магния , спрессованным в брикеты. Система работает при сравнительно низком давлении – около 2.4 МПа . Газ выделяется при температуре 286° С, причем теплота для нагревания металлгидрида до этой температуры обеспечивается каталитическими горелками каждой канистры. До 20 % водорода поглощается при нагревании металлгидрида до температуры, требуемой для выделения водорода. В дальнейшем теплоту на поддержание реакции выделения водорода из металлгидрида будет обеспечивать батарея топливных элементов. Система хранения водорода содержит теплообменник и высокоэффективную тепловую изоляцию. Специалисты фирмы отработали технологию, обеспечивающую более 2000 циклов наполнение-выделение, что соответствует нескольким сотням тысяч миль пробега автомобиля.
До настоящего времени металлгидридные аккумуляторы обеспечивали по массе 2-3 % водорода от массы аккумулирующего вещества (2-3 г водорода на 100г гидрида). Разработанный фирмой ECD аккумулятор обеспечивает зарядку водородом 7% от массы гидрида (7г водорода на 100г гидрида).
В настоящее время исследователи фирмы ECD ищут пути для увеличения количества водорода, запасаемого металлгидридным сплавом на основе магния. Одним из способов увеличения количества поглощаемого водорода является увеличение активной поглощающей поверхности порошка увеличением его пористости и введением в небольших количествах добавок углерода и других веществ. Одним из недостатков металлгидридных накопителей водорода является то, что часть энергии расходуется в циклическом процессе зарядки - выделение. Задачей является как лучше запасти энергию, чтобы общий КПД системы был наибольшим. Следующей проблемой является сокращение времени зарядки аккумулятора.
В центре внимания создателей металлгидридного аккумулятора по-прежнему остаются снижение его размеров и массы, а также стоимости. Магний –гидридная пудра стоит примерно 4$ за фунт, поэтому только магниевый порошок увеличит стоимость автомобиля примерно на 1000$ . И хотя эта технология хранения водорода на борту автомобиля остается пока слишком дорогой, но ее можно довести до приемлемого уровня.
Существует и еще одна проблема, связанная с применением порошка на магниевой основе – проблема безопасности. Бортовой металлгидридный бак следует конструировать с учетом минимизации риска его разгерметизации и воспламенения, поскольку при работе магниевая пыль является взрывоопасной.
Компания TEXACO inc инвестировала почти 68 млн $ ECD, объяснив, что она давно интересуется разработками ECD в области топливных элементов и бортовых системах хранения водорода. Недавно ECD и Texaco Energy Systems Inc сформировали совместное 50/50% соглашение о внедрении и коммерциализации металгидридной технологии фирмы ECD. Согласно формулировкам этого совместного соглашения о внедрении, фирма ECD проработает перспективную технологию хранения водорода на борту в металлгидридном баке, а фирма Texaco Energy Systems обеспечит дополнительную технологическую поддержку и помощь в организации промышленного производства и фазы подготовки производства.
Метанол как топливо
Производители автомобилей давно интересуются метанолом как топливом для топливных элементов. Согласно этому сценарию, автомобили с метанольными топливными элементами могли бы быть переходными автомобилями в течение десятка или более лет, до тех пор, пока не будет создана сеть распределения чистого водорода. Скептики обращают внимание на то, необходимы большие капиталловложения для создания на заправочных станциях емкостей с метанолом и соответствующих колонок, а их оппоненты утверждают, что также, как и при обеспечении дизельным топливом, потребуется не более одной из десяти колонок, которая способна обеспечивать автомобили метанолом.
В настоящее время отсутствует инфрастуктура централизованного обеспечения метанола как в области производства, так и на заправочных станциях. Фирма DaimlerChrysler считает, что для того, чтобы создать на трети заправочных станций в Калифорнии, Нью-Йорке и Массачузете колонки с метанолом, необходимо вложить не менее 400млн долларов. Считают, что один комплект оборудования для заправки метанолом на заправочной станции будет стоить 40000-60000 долларов. Кто должен оплатить эти расходы? Даже если в качестве топлива для топливных элементов будет использоваться бензин с последующим бортовым риформингом, бензин должен быть другим (он должен иметь намного меньшее содержание серы), поэтому на заправочных станциях придется устанавливать дополнительные емкости с малосернистым бензином. Затраты на установку этих емкостей и заправочное оборудование оцениваются примерно в 20000-30000$ для каждой заправочной станции. Учитывая это, затраты на оборудование для заправки метанолом не кажутся такими большими.
В ноябре крупнейший производитель и продавщик метанола Methanex Corp. заключил стратегическое соглашение с Mitsubishi Corp. и Mitsui & Co. Ltd. для обеспечения метанолом потребностей японских автотранспортных средств, использующих топливные элементы. Участники соглашения будут сотрудничать с государственными и негосударственными учреждениями и службами для создания условий для реализации демонстрационных программ по использованию в автомобильном транспорте метанольных топливных элементов. Они также будут работать с японской автомобильной промышленностью в направлении создания требований к топливу и обеспечения заправочных станций метанолом с требуемыми качествами и в требуемых количествах . Кроме того, члены альянса будут работать с потенциальными японскими торговцами метанолом в плане коммерческой целесообразности и эффективности.
В настоящее время метанол производится промышленным образом из природного газа, который пока широко доступен и иногда просто сжигается как экономически нецелесообразный побочный продукт на нефтяных месторождениях. Заслуживают внимания такие возобновляемые источники, как биомасса, в качестве источника для получения водорода.
Некоторые типы топливных элементов могут успешно работать на метаноле вместо водорода. DaimlerChrysler, например, работает над протонно-обменным мембранным топливным элементом, который непосредственно использует метанол в качестве топлива. Фирма продемонстрировала его на небольшом карте, приводимом в движение электромотором мощностью 3 кВт. В этом топливном элементе вместо газообразного водорода используется водометанольная смесь. Возле анода метанол разлагается на водород и углерод, а вода разлагается на водород и кислород. Водород проходит через мембрану топливного элемента к катоду, а углерод образует с кислородом двуокись углерода и удаляется из зоны анода. Эта технология пока находится на лабораторном уровне и потребуется несколько лет для ее доработки до приемлемого уровня.
Значительные усилия исследователей прилагаются к разработке процесса риформинга метанола на борту, поскольку метанол не содержит серы (не будет отравления топливного элемента серой) и процесс риформинга протекает при сравнительно умеренной температуре (300 градусов Цельсия). Однако процесс преобразования метанола в водород пока представляет сложный процесс, протекающий в несколько стадий, для каждой из которых характерна определенная температура.
Метанольный процессор, использованный фирмой DaimlerChrysler в новом автомобилеСommander-2 Sport, реализует концепцию производства количества водорода, достаточного для пробега автомобилем 200км (125 mile) без дозаправки. Этот пробег ограничивается главным образом небольшой емкостью метанольного бака, которая, в свою очередь, определяется большим объемом риформера метанола и двух батарей топливных элементов Mark-700. Для разогрева топливного процессора требуется около 30 минут, что неприемлемо для современных автовладельцев. Этот период времени требуется для разогрева пара в установке (паровая конверсия метанола), с помощью которого производится разложение метанола.
Фирма XCELLSiS разрабатывает следующее поколение топливных процессоров, в которых вместо пара используется катализатор для получения водорода из метанола. Эти метанольные топливные процессоры обеспечивают не только меньшее время прогрева и лучшую динамику, но и меньшие габариты и массу по сравнению с топливным процессором, использованном на автомобиле Commander-2 Sport.
Dозникают и другие проблемы на пути использования метанола как товара, по крайней мере, в США. Противники применения метанола утверждают, что это направление – ошибочное. Кроме проблем в сфере распределения, многие обращают внимание на высокую токсичность метанола – не только при попадании внутрь организма. При попадании метанола на кожу могут возникнуть проблемы со здоровьем. Современные стандарты, регулирующие безопасность работы с метанолом, требуют применения перчаток. А поскольку метанол прекрасно растворяется в воде, он представляет опасность для водоиспользования. Однако сторонники использования метанола возражают, что метанол не токсичнее бензина.
Риформинг бензина
Если на автомобилях применить получение водорода из бензина на борту, то переход к автомобилям с силовыми установками на основе топливных элементов будет более простым, поскольку существующая инфраструктура потребует меньших капиталовложений на адаптацию. Но процесс получения водорода на борту из бензина более сложный, чем разложение метанола. Процесс регенерации бензина протекает при более высоких температурах (850-1000 град. С), что увеличивает время подготовки установки к пуску. И несмотря на то, что на химических заводах крекинг процесс хорошо отработан, перенос его в подкапотное пространство связан с большими трудностями. Кроме того, еще одной нерешенной проблемой является предотвращение отравления катализатора в топливных элементах серой, присутствующей в бензине.
Кроме работы над применением метанола, фирма XCELLSiS вместе с Shell Oil работает над совершенствованием технологии риформинга бензина. Однако это более сложная технология, которая реализуется при высоких температурах. А для этого необходимо применять соответствующие материалы. Вследствие высоких рабочих температур DaimlerChrysler не работает над проектами создания бортовых твердооксидных топливных элементов или топливных элементов с расплавленным карбонатом.
Риформинг бензина происходит в результате каталитической реакции, осуществляемой в несколько этапов, для каждого из которых необходимо выдерживать точно критические температуры. Кроме того, в конце реакции получается окись углерода, что означает смерть для топливного элемента.
Несмотря на технологические трудности, фирмы GM и Exxon Mobil недавно объявили о совместной разработке перспективной технологии бензинового топливного процессора. Производители автомобилей считают, что поскольку водород в будущем будет основным топливом, технологии бензиновых процессоров смогут облегчить переход автомобилей и грузовиков на топливные элементы. Специалисты GM, объясняя свое прохладное отношение к применению метанола в качестве топлива, говорят, что если конечным видом топлива для топливных элементов является водород, то зачем тратить время и огромные средства на создание инфрастуктуры обеспечения метанолом и не лучше ли использовать существующую инфрастуктуру снабжения автомобилей бензином?. Применение метанола требует решения вопросов из сферы экономики, усилий по обеспечению природным газом, обеспечению безопасной эксплуатации с учетом токсичности метанола. Кроме того, следует учитывать, что метанол обладает вдвое меньшей теплотворной способностью, чем бензин.
Поэтому GM активно работает над технологией бортового риформинга бензина (бензинового топливного процессора), ставя своей конечной целью создание топливного процессора с 80% эффективностью. Для этой цели создана демонстрационная экспериментальная установка первого поколения, на которой фирма изучала фундаментальные основы процесса преобразования бензина в водород.
Установка бензинового риформинга второго поколения фирмы GM, использующая новую эффективную каталитическую технологию, имеет 760 мм в длину, 460 мм в высоту и 200 мм в ширину (в два раза меньшие размеры, чем у предыдущей установки первого поколения). Инженеры обратили серьезное внимание на решение неприятной проблемы - как предотвратить от разрушения вследствие вибраций, возникающих при движении автомобиля. Катализатор находится в устройстве сотовой конструкции, которое неподвижно и предотвращает катализатор от разрушения. Это устройство подвергалось испытаниям в течение 1000 часов (около 20% времени, необходимого для работы на борту автомобиля). Разрушений катализатора не обнаружено. Это дало основание фирме приступить к адаптации этого нового каталитического процесса в новой установке с топливными элементами мощностью 25 кВт. После этого фирма намеревается уменьшить размеры установки, понизить время подготовки установки к работе, а также повысить КПД и уменьшить стоимость установки. Новые катализаторы будут использованы в топливном процессоре нового поколения, который будет установлен на пикапе Shevrolet S-10 и продемонстрирован фирмой GM в 2002 году. Темп прогресса в развитии технологии риформинга бензина впечатляющ и дает основания с оптимизмом смотреть в будущее.
Вообще говоря, технология риформинга бензина требует квалифицированной и тщательной подборки всех компонентов в компактную, легкую, экономичную установку с низкой стоимостью. Компания Modine Manufacturing (Racine, WI) имеет эксклюзивное соглашение по поставке теплообменных компонентов для установок с топливными элементами. Необходимо собрать вместе различные генерирующие и использующие тепло подсистемы так, чтобы теплота транспортировалась туда, где она необходима. В настоящее время выполняется подбор оптимальных материалов с точки зрения надежности и стоимости. Технология топливных элементов для автомобилей находится на стадии интенсивного развития, когда достижения многих дисциплин, таких как конструирование, химия, теплопередача, специальные производства и других, должны быть собраны и оптимизированы в новом решении. Согласно упомянутому соглашению, фирма Modine, используя свои знания и опыт в решении проблем теплопередающего оборудования, сотрудничая с XCELLSiS и ее партнерами, должна привести установки с топливными элементами к рынку. Компания также намеревается выпускать радиаторы и другие теплообменные устройства для производимых XCELLSiS автомобильных топливных элементов .
Следующим главным вопросом, которым необходимо решить при создании систем риформирга углеводородного топлива, является определение места химического преобразования топлива: на борту автомобиля или на заправочных станциях. Решение вопроса зависит от того, будет ли совершен прорыв в технологии хранения водорода. Типовой стационарный риформер топлива может работать с высокой эффективностью (около 90%) при установившемся режиме, в то время как бортовая установка должна работать в условиях переменных нагрузок, приводящих к снижению эффективности (80-85%). Бортовой риформинг топлива, кроме того, создает проблемы с расположением компонентов силовой установки на борту автомобиля, приводит к излишней массой и усложнению системы управления.
Многие аналитические обозреватели автомобильной промышленности отмечают общее отношение нефтяных компаний к выбору топлива для автомобилей как удивительно открытую. Нефтяные компании вложили изрядное количество ресурсов в этом направлении, но все это напоминает классическую проблему «курица-яйцо», т.е., что должно быть сначала: топливо или установка с топливными элементами. В дополнение можно сказать, что для различных регионов земного шара могут быть целесообразными различные топлива. Хотя нефтяная индустрия представляется как большой, громоздкий, монолитный гигант, который поступает так, как он желает, при ближайшем рассмотрении она есть собрание многих личностей, которые должны подчиняться прежде всего условиям рынка, а уж затем каким-то другим соображениям. Это делает большие инвестиции, которые необходимы, более трудными для реализации.
Баланс оборудования
Автомобильные инженеры будут утверждать, что значительно больше усилий вкладывается в разработку автомобилей на топливных элементах, чем в разработку топливных батарей и топлив для них. Так называемый «баланс оборудования», хотя о нем мало говорится, возникает как важный момент в создании нового поколения автомобилей (с топливными элементами). Для обеспечения работы топливного элемента требуется определенное число достаточно сложных устройств, и затраты энергии на их функционирование следует минимизировать. Перечислим некоторые положения технологии «баланса оборудования» :
- большинство установок с топливными элементами требуют сжатия воздуха для увеличения количества кислорода, подаваемого в ячейку топливного элемента для обеспечения реакции, поэтому в установке необходим эффективный компрессор;
- поскольку воздух при сжатии нагревается, для уменьшении его температуры требуется промежуточный охладитель воздуха;
- установка должна содержать фильтры, обеспечивающие содержание примесей в потоках воздуха, водорода и воды в количествах, обеспечивающих нормальную работу приборов в системе рециркуляции этих потоков;
- необходимы увлажнители, поддерживающие влажность потоков газов в пределах, предотвращающих высыхание протонно-обменной мембраны. В автомобилях с топливным процессором влагу создает водяной пар ( вторичный продукт термореактора-риформера), тогда как в автомобиле с запасом водорода на борту воду для увлажнителя можно взять с выпуска топливного элемента, направив ее с выпуска в резервуар увлажнителя, реализовав самообеспечение водой;
- выпускной поток топливного проходит через расширительное устройство для уменьшения затрат на привод компрессора;
- наконец, в установке используются различные устройства, преобразующие энергию для обеспечения ею некоторых химических процессов в топливном процессоре.
Так же как в электромобиле с химическими аккумуляторными батареями, энергия батареи топливных элементов должна быть распределена по потребителям энергии автомобиля – на привод и преобразована в энергию соответствующего напряжения для обеспечения работы вспомогательных электронных и электрических систем. Обычно автомобили с топливными элементами используют такие же системы электронного управления, датчики, мультиплексоры, аналого-цифровые преобразователи, как и автомобили с двигателями внутреннего сгорания, хотя алгоритмы микропроцессорного управления другие. Управление трансмиссией почти такое же, как и в электромобилях на аккумуляторных батареях, однако система управления состоит из двух подсистем: подсистема управления величиной крутящего момента трансмиссии и подсистема управления мощностью батареи топливных элементов.
Переразмеривание радиаторов
Другой редко упоминаемой, но важной проблемой, связанной с разработкой силовых установок на топливных элементах, является проблема теплорассеивающих систем . Поскольку энергоустановка с топливными элементами отличается от своих конкурентов – ДВС, их радиаторы также другие. В частности, они значительно больше по своим размерам, поэтому предпринимаются попытки поиска инновационных путей излучения теплоты, которое требуется для установок с топливными элементами.Протонно-обменные топливные элементы работают при температуре около 80 градусов Цельсия, так как именно эта температура нужна для протекания реакций, но в действительности чаще получается температура 120 град. С, как и в ДВС, поскольку трудно осуществить сброс низкотемпературного тепла, особенно в случае повышенной температуры окружающей среды. Это действительно одна из больших технических проблем. Топливные элементы требуют очень больших радиаторов, которые затрудняют компоновку автомобильных систем и дизайн автомобиля, так как требуются большие отверстия для подвода воздуха к радиаторам, что увеличивает коэффициент лобового сопротивления автомобиля. Эта проблема легче решается для американских автомобилей, отличающихся большими размерами. Дополнительно следует отметить, что автомобиль с силовой установкой с топливными элементами требует две системы охлаждения: одну для охлаждения электроники и электромотора, а вторую – для охлаждения батареи топливных элементов, что делает систему охлаждения чрезвычайно сложной.
Топливные элементы обладают весьма интересными и специфическими процессами теплопередачи, отличающимися от процессов теплообмена в ДВС. В ДВС две трети сбросового тепла уходит с выпускными газами, треть рассеивается радиатором. В энергоустановках на топливных элементах около 80% теплоты сбрасывается через радиатор, который должен иметь соответствующие размеры для обеспечения рассеивания большого количества теплоты при повышенных температурах окружающей среды. Нужно иметь большую теплорассеивающую поверхность для сброса теплоты низкотемпературного уровня , особенно при нагретом оборудовании автомобиля. Поскольку радиатор становится большим, конструкторам остается разделить сбрасываемую теплоту на части и организовать автономные системы охлаждения, которые можно компоновать по отдельности. Кроме того, теплоту необходимо сбрасывать от различных источников при разных температурных уровнях, что приводит к различной эффективности теплообменных устройств. Специалисты по теплопередаче сталкиваются с новыми проблемами в создании систем охлаждения для автомобилей с топливными элементами, что требует новых подходов в их решении.
Еще одной проблемой является совместимость материалов. Очень важным для топливных элементов является контроль цепей проводимости. Топливные элементы требуют отсутствия ионизируемых материалов в полостях, поэтому необходимо использовать деионизированную воду и специальные охлаждающие жидкости. В некоторых охлаждающих контурах используют деионизированные покрытия. К сожалению, некоторые такие жидкости способствуют быстрой коррозии компонентов оборудования. Поэтому General Motors, например, уходит от деионизированной воды, которая легко замерзает, и заменяет ее непроводящими охлаждающими жидкости, оказывающими меньшее коррозионное воздействие на оборудование. Ожидают, что инженеры вынуждены будут в системах охлаждения использовать нержавеющие стали, некоторые сплавы алюминия и изолирующие полимеры.
Борьба с замораживанием
Склонность к замораживанию может стать ахиллесовой пятой топливных элементов. Вода образуется в топливном элементе, когда выключают силовую установку. Если энергия не используется и вода не удаляется из топливного элемента, при низкой температуре образуются кристаллы льда, которые могут разрушить ультратонкую полимерную мембрану. Большие усилия требуются для того, чтобы вернуть к жизни топливный элемент, простоявший промокшим всю ночь при температуре –20 – 40 ° С. Батарея не будет генерировать электроэнергию, пока температура не превысит 0 ° С. Фирма Ballard прорабатывает многочисленные варианты решения этой проблемы от тепловой изоляции топливного элемента до встраиваемых нагревательных элементов, как в дизелях.
Инженеры фирмы General Motors недавно сообщили о своих достижениях в области низкотемпературного пуска топливных элементов. По их заявлениям, они получили полную мощность с батареи топливных элементов, охлажденной до температуры – 40 ° С, через несколько секунд. Это было обеспечено удалением воды из топливного элемента в течение процедуры остановки и применением специального теплоносителя, а также некоторыми нераскрытыми авторами мероприятиями, которые обеспечили установке хорошие пусковые качества.
Международное сотрудничество в области создания
топливных элементов
В 1999 было образовано Калифорнийское товарищество топливных элементов –добровольное объединение автомобильных компаний, энергетических компаний, а также государственных и федеральных организаций, ставящих своей целью демонстрировать и обеспечить понимание технологии топливных элементов. В настоящее время в него входят автомобильные фирмы ( Ford, DaimlerChrysler, GM, Honda, Hyundai, Nissan, Toyota, Volksvagen), энергетические провайдеры (BP, Shell, Texaco), компании, производящие топливные элементы (Ballard Power Systems, International Fuel Cells), государственные агентства (California Air Resources Board, California Energy Comission, South Coast Air Quality Management District, U.S. Department of Energy, U.S. Department of Transportation).
Объединенный проект ставит своей целью ежедневно демонстрировать практичность автомобилей на топливных элементах, инициировать дискуссии об инфрастуктуре топливных элементов и готовить рынок Калифорнии к этой новой технологии. В период времени 2001-2003 годами партнеры провели эксплуатационные испытания более 50 автомобилей и автобусов, оснащенных силовыми установками с топливными элементами, использующими различные топлива – водород, метанол и чистый бензин (без серы).
Громадные усилия и средства вкладывают автомобильные фирмы в разработку автомобилей с силовыми установками на топливных элементах. Однако ключевые проблемы, которые необходимо решить на пути внедрения этих автомобилей в массовое производство, остаются нерешенными. Прежде всего это стоимость. Пятиместный седан на топливных элементах стоит более 1 млн $. К тому же он тяжелее своего поршневого собрата. Во весь рост стоит проблема топлива. Водород, полученный любым способом стоит в 2-4 раза дороже бензина. Любой способ хранения водорода на борту (или его получения в реакторе-риформинге) связан с дополнительными масо-габаритными издержками.
Все эти соображения ставят под сомнение возможность замены поршневых двигателей установками на топливных элементах.
12. гибридные силовые установки
Гибридная силовая установка (ГСУ)представляет собой силовую установку, в состав которой входят:
1.Первичный источник энергии (тепловой двигатель, электрохимический генератор);
2. Накопитель энергии (электрический, механический, гидравлический, пневматический аккумулятор, конденсаторный накопитель);
3. Преобразователь энергии (генератор, альтернатор);
4. Тяговый двигатель (электромотор, расширительная машина);
5. Компоненты трансмиссии, управляющие потоками энергии;
5. Система управления.
Достоинства ГСУ:
1.Высокая экономичность (тепловой двигатель работает в оптимальном режиме, рекуперация энергии торможения, холостой ход и режимы малых нагрузок в моде электродвижения);
2.Высокие экологические характеристики (режимы старт-стоп, электродвижение в неоптимальных для двигателя режимах);
3. Обеспечение растущих потребностей автомобиля в электроэнергии;
4. Широкие возможности компоновки компонентов ГСУ на борту транспортного средства.
В зависимости от способа взаимодействия компонентов ГСУ различают ГСУ последовательные, параллельные и параллельно-последовательные.
Последовательная схема ГСУ представлена на рис. 12.1., а на рис. 12.2 - параллельная схема.
| 
|

|
| Рис.12.1. Последовательная схема ГСУ
|
Рис. 12.2. Параллельная схема ГСУ
|
ГСУ, построенные по приведенным схемам отличаются по параметрам.
Преимущества ГСУ с последовательной схемой:
- Двигатель работает в стационарном (оптимальном) режиме;
- Двигатель обеспечивает работу генератора с наибольшим КПД;
- У автомобиля простейшая трансмиссия ;
- Свободный выбор в размещении агрегатов.
Преимущества ГСУ с параллельной схемой:
- Мощность установки больше мощности первичного двигателя(двигатель и элек
тромотор сообщают энергию трансмиссии одновременно);
- Нет необходимости в отдельном генераторе для подзарядки батарей;
- Более высокий КПД.
Основные недостатки ГСУ любых схем – повышенная стоимость, повышенные массогабаритные показатели, сложность, необходимость в использовании более сложных систем управления, обеспечивающих работу компонентов ГСУ с наивысшей эффективностью.
12.1.
Гибридная силовая установка автомобиля
Toyota
Prius
Prius –первый в мире автомобиль массового производства с гибридной силовой установкой, в состав которой входит бензиновый двигатель и электрический мотор. Этот пятиместный седан стоит 20000 $. Гибридная силовая установка этого автомобиля обеспечивает высокую топливную экономичность (52 mpg по городскому циклу и 45 mpg по шоссе) и ультранизкий уровень выброса вредных веществ (SULEV), которые на 75% более жесткие чем ULEV и на 90% чем LEV для смогообразующих газов.
Технические данные силовой установки
Двигатель : рядный четырехцилиндровый, литраж 1,497 л, степень сжатия –13,0, максимальная мощность –52 кВт (70 л.с.) при 4500 об/мин, Мкрmax 11Н.м при 4200 об/мин, емкость топливного бака 45 л.
Электромотор : тип – с постоянным магнитом (permanent magnet), емкость 6,5 А.ч, Мmax 350 Н.м (от 0 до 400 об/мин).
Блок батарей: максимальная мощность –25 кВт, номинальное напряжение – 274 в.
Трансмиссия: непрерывно изменяемое передаточное отношение с электронным управлением, интегрированная регенеративная тормозная система.

Рис. 12.3. Компоненты гибридной силовой установки Toyota Prius
Первое поколение Рrius который стоил более 37000$ в Японии между декабрем 1997 и маем 2000 г. было оптимизировано для работы главным образом в режиме «stop and go» («старт-стоп»), низкоскоростные условия. Благодаря более высокой скорости, более длинной дистанции, более резким изменениям климата и более жестким ограничениям на выброс вредных веществ в США, автомобиль был модернизирован с целью повысить его эффективность и управляемость на американских дорогах.
Первичным источником энергии у Рrius’a является 1,5-литровый бензиновый двигатель (из алюминиевого сплава) с Ne
max
(модель для США) 52 kW (70 л.с.) при 4500 мин-1
(для Японского рынка 43 kW (58 л.с.) при 4000 об/мин.) и пиковым моментом 111 н.м (82 l b.m ) при 4200 мин-1
.
Двигатель имеет управляемые фазы газораспределения для минимизации выброса токсичных веществ и оптимизации эффективности работы во всем диапазоне нагрузочных режимов. Американская модель Рrius оснащена поглотителем НС фирмы Тойота и каталитическим нейтрализатором (НСАС) (рис.12.4.).
| 
|
| Рис.12.4. Система нейтрализации автомобиля Prius
|
Испарения из бака снижены путем размещения в стальном баке пластической камеры. По мере расходования топлива, камера деформируется, уменьшая объем паров бензина, находящихся в баке.
| 
|
| Рис. 12.5. Параллельно-последовательная схема ГСУ автомобиля Prius
|
Рrius для Америки оснащен более мощным блоком батарей, который на 30% легче и имеет на 60 % меньший объем, чем у Рrius’a первого поколения. Электрический тяговый мотор относится к типу «Permanent Magneto» и развивает максимальную мощность 33 kW от 1040-5600 мин-1
, с максимальным моментом 350 Н.м (258 lb.ft) от 0 до 400 мин-1
.
| 
|
| Рис. 12.6. Трансмиссия гибридного автомобиля Toyota Prius:
|
Электронная система Тoyota Hybrid System (THS) позволяет Рrius’у работать либо на электричестве, либо на бензине, либо одновременно на том и другом. Доля мощности на каждом из источников регулируется в зависимости от скоростной нагрузки с достижением максимально эффективной моды движения автомобиля . Согласно концепции Тойота, функционирование ТНS незаметно для пассажиров.
Сердцем системы является устройство разделения потоков мощности (рис.12.6), которое использует планетарную передачу для направления мощности от ДВС непосредственно на передние колеса и электрический генератор, который обеспечивает электроэнергией электрический мотор и (или) батареи. Электронно контролируемая трансмиссия подбирает сочетание мощности ДВС, электромотора, электрического генератора, которое необходимо для обеспечения требуемого ускорения или замедления автомобиля.
Рrius снабжен регенеративной «by – wire» тормозной системой для дальнейшего увеличения эффективности системы. Если автомобиль идет накатом, или включается торможение, электромотор переходит в режим генератора и энергия торможения, обычно теряемая, превращается в электроэнергию, которая заряжает батареи. При небольшом нажатии педали тормоза компьютер посылает сигнал системе регенерации для замедления автомобиля. Если требуется большая энергия торможения, компьютер подключает гидравлические тормоза. Передний дисковый тормоз объединяется с задними камерами, блокировочная система (АВС) обычная.
Интерьер отличается удобным расположением передних и задних сидений, обеспечивающих удобный доступ и хороший обзор. Приборы размещены высоко на приборной панели, обеспечивая водителю свободное переключение зрения с дороги на панель. Видeо система расположена ниже 5,8 ‘’
многофункционального жидкокристаллического экрана, который отображает условия распределения энергии между элементами гибридной трансмиссионной установки.
Устройство
THS (Toyota Hybrid System)
Базовая конфигурация THS Рrius’a такая же, как у модели 1997 MY 1998.. Эта система является комбинацией параллельной и последовательной гибридных схем. Бензиновый ДВС приводит колеса и генератор, причем генерируемая электроэнергия используется для привода электромотора непосредственно или энергия превращается в постоянный электрический ток и запасается в высоковольтном блоке батарей. В Рrius-2001 мощности и КПД ДВС и тягового мотора значительно улучшены для достижения лучшего расхода топлива и снижения токсичных выбросов, в соответствии с идеями инженера Тойота Shinichi Abe. Вся трансмиссия, включающая устройство разделения потоков мощности, генератор, понижающая передача, была смонтирована с целью получения наибольшей компактности. Улучшение основных компонентов машинотрансмиссионной установки позволили получить характеристики, которые эквивалентны автомобилю с 1,8 л рядным двигателем и автоматической трансмиссией, в соответствии с Abe. В двигателе были сделаны изменения, увеличившие мощность за счет увеличения частоты вращения с 4000 до 4500 мин-1
, оптимизации фазы закрытия впускных клапанов с использованием системы VVT-i ( переменные фазы газораспределения ) и оптимизацией степени сжатия. Фазы газораспределения были улучшены увеличением рабочего угла VVT-i, увеличив таким образом объем всасываемого воздуха. Степень сжатия была уменьшена с 13,5 до 13,0, так как увеличенное количество всасываемого воздуха сделало двигатель чувствительным к преждевременному воспламенению.
Так как частота вращения вала ограничена 4500 мин-1
, многие детали имели более низкий уровень напряжений. Поэтому коленчатый вал имел меньший диаметр, поршневые кольца имели меньшую высоту, пружины клапанов имели более низкую нагрузку по сравнению со стандартными высокооборотными двигателями. Эти нововведения привели к снижению потерь на трение и к повышенной экономичности.
Базовая конструкция электромотора та же самая, но его механическое и электромагнитное исполнение были пересмотрены. Улучшенный мотор управлялся импульсно-широким модулированным сигналом (PWM) в области низких частот вращения и одноимпульсным методом в области высоких частот вращения. Его предшественник управлялся только методом PWM. Это позволило применить в новом электромоторе на 27% большее базовое напряжение в высокооборотной области по сравнению с PWM методом и увеличить мощность мотора.
12.1. Топливная экономичность автомобиля
Prius
| Цикл
|
Prius2001 (MY01)
|
MY98
|
| Я понский 10-15
|
29 км/л
|
28 км/л
|
| Американский комбинированный
|
57 mpg
|
50 mpg
|
| EC
|
120г/км
|
Инженеры Тойота увеличили эффективность многих компонентов Рrius’a и перепрограммировали логику системы управления гибридного привода (табл.12.1).
| 
|
| Рис. 12.7. Сравнение топливной экономичности автомобилей To
yota
Prius,
Honda
Insight и др.
|
Улучшенная экономичность продемонстрирована на рис.12.7, на котором сравнивается расход нового Рrius’a (58 mpq) с другими автомобилями с бензиновыми двигателями в США по ЕРА моде. У предыдущего Рrius’a были только два значения фазы открытия впускных клапанов. Одно - для наилучшей экономичности, другое - для разгона. У нового автомобиля фазы впускных клапанов непрерывно изменяются при изменении частоты вращения и нагрузки с целью достижения требуемых момента и мощности и экономичности. Минимальный расход топлива двигателя 225 г/кВт.час (168 г/л.с.). Базовая конструкция силовой передачи, объединенная с электромотором, не изменена. Однако значительно снижены потери в передаче и улучшены мотор и генератор. Выигрыш в механическом КПД был достигнут благодаря снижению потерь масляного насоса и потерь на перемешивание. Электрическая эффективность улучшена применением новых обмоток и магнитов и новой стратегии управления мотором.
В предыдущем Рrius’е отсек с шестернями определялся от камеры с мотор-генератором для предотвращения обмена маслом между камерами. Однако система уплотнения создавала момент сопротивления. В новом моторе был изменен резиновый уплотняющий материал. Отсюда отпадала необходимость в масляных уплотнителях и механические потери уменьшены. В итоге механические потери сил трансмиссии снижены на 40 %.
Применение одноимпульсного включения позволило переконструировать электромагнитный контур с целью дальнейшего повышения КПД. Увеличение в числе оборотов приводит к падению в потребном токе, снижению потерь в обмотке и инвертор. В общем, увеличение в числе оборотов увеличивает момент при том же уровне тока, но в высокооборотной области то увеличивает возбуждаемую ЭДС и понижает мощность.
| 
|
| Рис.12.8. Режимы работы ГСУ автомобиля
|
Повышение эффективности на низких частотах вращения были значительными и дали большой выигрыш в расходе топлива. КПД силового привода, включая электрические системы на 19% выше при скорости 69 км/ч и почти на 9% выше при движении со скоростью 120 км /ч .
В дополнение к совершенствованию двигателя и передачи, было улучшено управление гибридной системой. Путем увеличения частоты вращения генератора, инженеры Тойота смогли увеличить с 45 до 65 км/ч скорость, при которой разрешалась работа ДВС в режиме «stop and go» и расшить фазу электродвижения (рис.12.8).
Хотя силовая передача Рrius’a была спроектирована в 1997 году как компакт, блок батарей был смонтирован позади сиденья, что ограничило объем багажника. Новый прямоугольный блок батарей позволил не уменьшать багажник и ввести новый Рrius в ЕРА класс компакт. Предыдущая конфигурация батарей состояла из 7,2 -V цилиндрических модулей, в свою очередь, состоящих из шести 1,2 V цилиндрических ниrель-металлгидридных батарей, объединенных в сборки. Сорок таких модулей были вставлены в так называемые каркасы, соединены в серии. В отличие от этого, базовые нового автомобиля представляет 7,2 - V моноблочный модуль. Модуль тонкий, что имеет большую поверхность для рассеивания теплоты. Они изготовлены из резины, которая устойчива от воздействия щелочного электролита и хорошо изолирует элементы, хорошо принимает требуемые формы и имеет малый вес. Объединяя эти батареи в блок батарей, прямоугольные модули плотно компонуются и требуют минимальный объем для охлаждения. Тридцать восемь модулей собираются в сборки и образуют один компактный блок батарей.
Для обеспечения электробезопасности высоковольтные элементы системы закрываются в блок. Эти детали содержат системное главное реле (SMR) с встроенным датчиком зарядки и батареи ECU ( блок электронного управления). Вентилятор для охлаждения батарей помещен внутрь блока батарей для более эффективного использования внутренних мертвых объемов.
Внутреннее сопротивление батарей было понижено и их характеристики по сравнению с батареями цилиндрического типа были значительно улучшены (рис.12.9). Хотя количество модулей в блоке батарей было снижено с 40 до 38, равные или даже лучшие характеристики получены.
| 
|
| Рис.12.9. Зависимость между напряжением и временем разрядки
при постоянной мощности разрядки
|
Поскольку количество модулей было снижено без уменьшения выходного напряжения, следовало сделать изменения без изменения показателя электрических компонентов автомобиля.
Для Северной Америки, где автомобили должны иметь лучшие характеристики при движении по пересеченной местности, необходимо было обеспечить максимальный ток от преобразователя. По сравнению с предыдущим инвертором были улучшены показатели систем охлаждения снижением гидравлических потерь в системе охлаждения, улучшением характеристик водяного насоса.
Ближе к нулевым выбросам токсичных веществ
Инженеры Тойота учитывали не только действующие ограничения эмиссии вредных веществ, но и ожидаемые в различных рынках (гл. образом Японии, США, Европы) для постановки целей в своих разработках. Они достигли поставленных целей оптимизацией количества благородных металлов в катализаторах, НСАС системы, снижения испарения бензина в баке. Выпускная система SULEV состоит из начального «стартерного» катализатора с высокими характеристиками, имеющего сверхтонкие стенки и высокоплотные ячейки, встроенные в выпускной трубопровод с кислородными датчиками на входе в нейтрализатор и выходе из него.
Для гибридных автомобилей, в которых ДВС часто запускается и останавливается, одна из проблем заключается в сокращении выброса вредных веществ во время повторного пуска двигателя. При холодном пуске Рrins двигается в основном на электромоторе, в то время как ДВС работает на прогрев катализатора, который быстро начинает очищать выхлоп. Быстрый прогрев катализатора достигается работой двигателя при a = 1 и запаздыванием угла опережения зажигания. Уменьшение возможностей нестабильного горения после пуска двигателя снижает эмиссию НС от неполного сгорания.
Хотя Рrius по определению Калифорнийского агенства охраны воздушного пространства не является автомобилем с нулевым уровнем эмиссии вредных веществ (ZEV), с усовершенствованным управлением он работает около 43 % времени в ZEV (электрической) моде против 30% в предыдущей модели . Для того, чтобы иметь уровень эмиссии такой же, как у электромобилей, Prius должен иметь большую мощность электромотора
и большую емкость батареи, что приведет к большой стоимости и большей массе.
Наибольшей проблемой для разработки гибридно-электрических приводов остается высокая стоимость электрических компонентов. Инженеры Тойота считают, что дальнейшее развитие позволит гибридным системам достичь стоимости, сопоставимой с силовыми установками с традиционными ДВС.
Стоимость и масса – вот основные препятствия на пути широкого внедрения автомобилей с гибридными силовыми установками. Автомобиль с гибридной силовой установкой стоит в 3-4 раза больше автомобиля с поршневым двигателем.
Гибридный Форд
Форд представил на международном автошоу в Лос-Анжелесе концепцию гибридного автомобиля Escape с 4-цилиндровым двигателем для демонстрации продукции, которая должна была поступить в продажу в США 2003 году. Форд будет продавать в Европе гибридный SUV под названием Maveric. Escape/Maveric появится на рынке вслед за 6-цилиндровым Explorer.
| 
|
| Рис.12.10. Гибридный Ford Escape отличает электропривод с 4-х цилиндровым бензиновым ДВС , рекуперация энергии торможения, улучшенные возможности трогания-остановок, обеспечивающие пробег 40 mpg в городских условиях.
|
Гибридный автомобиль Ford Escape отличает комбинация электропривода с 4-х цилиндровым бензиновым ДВС , рекуперация энергии торможения, улучшенные возможности трогания-остановок, обеспечивающие пробег 40 mpg в городских условиях и пробег более чем 800 км (500 миль) .на одном баке бензина, при этом имея динамические характеристики как у модели Ford/Escape с двигателем V-6. Гибридный SUV будет полноприводным, с таким же клиренсом, как и базовая модель Escape, сопоставимую грузоподъемность, и будет изготавливаться на той же сборочной линии в Канзас Сити, на которой собирается базовая модель Ford Escape.
Силовая установка гибридного Ford Escape объединяет 65-киловатный электрический мотор (типа permanent magnetic electric motor), 28-кВт –ный электрический генератор с 2-х литровым четырехцилиндровым двигателем (вариант Escape Zetec с циклом Аткинсона).Этот ДВС более эффективен чем традиционный вследствие более низких потерь на насосные ходы и оптимизированной степени сжатия. Цикл Аткинсона имеет пять базовых процессов: впуск, обратное выталкивание (для снижения насосных потерь при дросселировании), сжатие, сгорание-расширение и выпуск. Объем камеры сгорания подобран таким образом, чтобы поддерживать постоянную степень сжатия на каждом нагрузочном режиме, в то время как степень расширения изменяется для получения оптимального КПД. Потери крутящего момента при низких частотах вращения и нагрузках, характерные для циклов двигателей с «пятью ходами», можно устранить с помощью электромотора, что по мнению специалистов фирмы Форд делает двигатель, работающий по циклу Аткинсона, идеальным для гибридных силовых установок.
Электрический тяговый мотор используется для улучшения характеристик силовой установки, остановки и повторных пусков, когда автомобиль останавливается, движения автомобиля с малыми скоростями, подзарядки 300-вольтовой тяговой батареи, а также рекуперации энергии торможения. Эти и другие связанные с особенностями работы гибридной силовой установки технологии отработаны в рамках исполнения исследовательской программы Ford P2000.
Фирме Sanyo поручили поставлять блок тяговых никель-металлгидридных батарей и контроллер к нему, поскольку Sanyo продемонстрировала свою мобильность в электронной индустрии.
| 
|
| Рис.12.11. Компоненты 42-V оборудования и интегрированный стартер-генератор (ISG)
Ford SU
V:
|
Функции интегрированной гибридной системы : режимы «старт-стоп», повторный пуск, регенерация энергии торможения, получение электроэнергии напраяжением 42 В..
Охлаждаемый воздухом блок батарей расположен в задней части под дверью багажного отделения без потерь полезного объема. Блок батарей будет иметь фиксированный срок гарантии.
Гибридный Ford Explorer, заявленный NAIAS в 2001 г., будет оснащен более мощной электрической 42-вольтовой системой, но также будет иметь 12-вольтовую аккумуляторную батарею размером сопоставимым с размером аккумуляторной батареи мотоциклетного типа. Форд, как и большинство производителей автомобилей предпочитает электрооборудование на двух напряжениях. Основная 42-вольтная система дополняется 12-вольтной подсистемой для обеспечения питанием низковольтных потребителей (лампы, радио). Форд считает, что бортовая система электрооборудования с двумя напряжениями устраняет необходимость дорогостоящей перестройки промышленности, производящей бортовое электрооборудование. При этом сохраняются положительные качества 12-вольтных приборов, такие как больший срок службы при работе на низком напряжении.
| 
|
| Рис.12.12. Размещение компонентов 42-V интегрированной системы со стартер-генератором
|
В то же время высоковольтное энергонасыщенное оборудование открывает путь для прогрессивных технологий, таких как эффективный электромагнитный привод клапанов и активных ждущих систем.
Подсистемы гибридной силовой установки координируются контроллером системы управления автомобиля, которая создана на основе опыта, накопленного при выполнении Астон Мартин, Ягуар S-тип и дизельных программ. Применение интегрированного стартер-генератора на гибридных автомобилях SUV способствует реализации лозунга фирмы Форд: «Чище, безопаснее, быстрее» и в разработке автомобилей, которые будут иметь минимальные выбросы токсичных веществ и повышенную топливную экономичность.
Гибридный SUV Dodge PowerBox
В 2001 году на автомобильной выставке в Лос-Анжелесе впервые представлена модель гибридного SUV, названная Power Box. Его силовая установка объединяет V-образный шестицилиндровый двигатель с наддувом, использующим в качестве топлива сжатый природный газ (CNG), и электромотор для получения дополнительной мощности во время ускорения.
Конструкция Power Box представляет собой дальнейшее развитие концепции 1999 года Dodge Power Wagon, разработанной Марком Аленом, главным конструктором корпорации Даймлер Крайслер. Она обычно ассоциируется с именем Dodge больших защитных решеток, заимствованных у модели 1946 г.
Заявлено, что Power Box имеет показатели, характерные для автомобиля с восьмицилиндровым V-образным двигателем, но с топливной экономичностью, соответствующей для меньшего газового двигателя с наддувом.
| 
|
| Рис. 12.13. Гибридная силовая установка автомобиля PowerBox фирмы Daimler Chrysler: газовый двигательмощностью Ne 187 кВт с приводом на заднюю ось и электромотором 52 кВт с приводом на переднюю ось. Схема TTR (через дорогу).
|
Как автомобиль SULEV (с суперультранизким уровнем эмиссии вредных веществ), гибридный SUV имеет пробег более чем 560 км (350 милей), больший, чем у большинства автомобилей использующих CNG и сопоставимый с пробегом традиционного седана. Планируется, что автомобиль в будущем будет иметь пробег 25 mpg, что будет превосходить на 60% показатели стандартного Dodge Durango. Ожидается, что будут улучшены и показатели по динамике – разгон до скорости 97 км/час (60 mph) за 7 с.
V-образный двигатель с наддувом Power Box’а с рабочим объемом 2.7 л и сопрягается с автоматической коробкой передач с приводом на задние колеса. Электрический мотор фирмы Siemens Automotive с приводом на передние колеса. Газовый двигатель генерирует 187 кВт (250 лс), а электрический мотор добавляет 52 кВт. Электромотор помогает газовому двигателю во время ускорений и регенерирует энергию торможения, которая обычно терялась. ДВС и электромотор не связаны друг с другом, взаимодействуя через дорогу, отсюда запатентованная фирмой схема носит название TTR ( throw the road- через дорогу). Другое яркое отличие Power Box’а - применение легкого рециркулируемого термопластика. Сравнительно недавно технология напыления литых конструкций уже была продемонстрирована в конструкциях Dodge ESX3 и the Jeep Commander 2. Высокое расположение сидений компенсируется “коленообразной подвеской”, которая дает возможность уменьшать высоту автомобиля на (75 мм) после парковки автомобиля для облегчения высадки и последующей посадки.
PowerBox имеет то, что инженеры называют «lift-tail-combogate» –поднимаемая - откидная задняя дверь, запатентованную конфигурацию для облегчения погрузки и разгрузки. Откидываемая задняя дверь с внутри поднимаемой частью дает пользователю максимум удобств. В зависимости от размеров груза пользователь может либо поднять дверь вверх или опустить внутреннюю при увеличенной длине груза.
Доминирующей чертой интерьера Dodge Power Box является увеличенное внутреннее пространство. 8 сидений расположены в этом пространстве, на 24% большем, чем у модели Dodge Durango, у которого 7 сидений.
Новая гибридная машино-трансмиссионная установка
ParadiGM
Компания GM сообщила, что она разработала новую гибридную машинотрансмиссионную установку, которую предполагает использовать в целом ряде пассажирских автомобилей. Вице президент GM Harry J. Pearce сообщил, что автомобиль SUV с такой гибридной установкой появится в 2004 г. Она дополнит другие гибридные полноразмерные МТУ грузовиков образца 2004 года.
|
|
| Рис. 12.14. Гибридная система
Paradigm
фирмы
General
Motors
|
Гибридная система ParadiGM для SUV представляет собой комбинацию V6 или L4 двигателя с двумя электромоторами и тяговой аккумуляторной батареей. Установка развивает мощность 166 kW (220 л.с.) от 3.6 л V6 двигателя и 24 kW от двух электромоторов. Гибридная система сконструирована для применения на среднеразмерной платформе фирмы GM Epsilon, в создании которой принимали участие Saab и Opel, и может применяться для различных автомобилей классов SUV, Crossover и седан, выпускаемых в Северной Америке, Европе, Австралии и Азии.
Фирма намеревается в первый год выпустить не менее 7000 гибридных SUV, а другие типы автомобилей появятся позже в зависимости от потребностей рынка. Новая установка будет использована в большом количестве автомобилей фирмы, начиная от двуместных легковых автомобилей до автобусов межгородского сообщения. Ожидается, что общий объем продажи автомобилей с гибридными силовыми установками превысит 100000 единиц к концу этого десятилетия.
Вместо того, чтобы разрабатывать силовые установки исходя из критерия максимальной эффективности, GM предполагает разрабатывать практичные силовые установки, которые могут обеспечить энергией большинство автотранспортных средств, выпускаемых фирмой и которые пользователи пожелают приобрести. Этот подход заключается в применении крупномасштабных решений – преобразовании автомобилей популярных типов в более эффективные гибридные схемы и позволит фирме обеспечить большую экономию топлива по сравнению с созданием небольших ниш автомобилей, продаваемых в малых количествах.
Намечаемый к выпуску SUV будет иметь на 20% лучшую экономичность по сравнению с негибридными версиями (около 35 mpg в условиях город-шоссе) и более низкий уровень эмиссии вредных веществ. GM намеревается продавать ParadiGM SUV по цене, сопоставимой с ценой «эквивалентно снаряженного автомобиля».
Аккумуляторная батарея в HEV значительно меньше, чем тяговая батарея в электромобиле (почти в пять раз меньше по массе) и в большинстве случаев она используется как наддув ДВС для быстрого разгона и движения с максимальной скоростью.
GM ожидает, что SUV, оснащенный семискоростной автоматической трансмиссией сможет разгоняться до скорости 77 км/ час менее чем за 7 с.
Сердцем системы ParadiGM является новая передача. Она соединяет полноразмерный двигатель с электромотором, дифференциалом и компрессором системы кондиционирования. Вся система, включая двигатель, соединена с передним мостом.
Система была отработана таким образом, чтобы избежать перегрузок, характерных для небольших и средних гибридных установок. Характерно, что эта система обеспечивает энергией систему кондиционирования даже при выключении ДВС. Система воздушного кондиционирования является вторым по величине энергопотребителем после группы движения, и в гибридных схемах первого поколения возникали серьезные проблемы по обеспечению эффективности и требуемых характеристик.
Поскольку компрессор системы кондиционирования приводится от раздаточной коробки, он может получать энергию либо от ДВС, либо от электромотора, либо от регенерируемой энергии торможения.
Каждый электромотор может работать в трех модах:
- мотор приводит в действие дифференциал и обеспечивает движение автомобиля;
- как стартер для ДВС;
- как генератор для превращения энергии, вырабатываемой ДВС или энергии торможения, накапливаемую в батарее.
Область режимов использования только батареи автомобилем ограничена для ограничения массы и стоимости блока батарей. В первом варианте автомобиль оснащается 42-v свинцовой кислотной аккумуляторной батареей с 25 кВт – ным уровнем пиковой мощности, при этом GM исследует другие технологии накопителей.
Существенно, что ДВС является первичным источником энергии, но он отключается, если по условиям эффективности требуется меньший уровень мощности. Автомобиль будет двигаться с низкими скоростями или ускоряться только на электроэнергии.
Система ParadiGM создана на основе экспериментального изучения в последние годы концепции автомобиля Precept и представляет дальнейшее развитие гибридных силовых установок в рамках проекта разработки перспективных автомобилей фирмы GM. Автомобиль Precept с ДВС с 54 лс и двумя электромоторами обеспечивал путевой расход 80 mpg в комбинированных условиях. Двигатель обеспечивал движение в большинстве фаз движения, а электромоторы обеспечивали движение автомобиля с низкой скоростью и выполняли функции электрогенераторов.
Супреконденсаторные накопители для гибридных систем
Фирма Maxwell Technologies, Inc. подписала соглашение по поставке ультраконденсаторных накопителей энергии фирме GM и его отделению Allison Transmission для гибридных силовых установок грузовиков и автомобилей. Фирма Maxwell заявила, что соглашение с GM является первым, от которого ждут перспективы расширения применения ультраконденсаторных накопителей энергии и осуществления прорыва в обеспечении энергией транспортной техники.
После оценки возможностей различных накопителей энергии, включая различные типы аккумуляторных батарей, фирмы GM и Allison выбрали ультра конденсаторные накопители энергии фирмы Maxwell's PowerCache, которая надеется, что будут созданы ультраконденсаторные накопители стоимостью 30 долларов и даже меньше. Причем общая потребность транспортного рынка в таких элементах может к 2008 году достичь более 100 млн элементов.
|
|
| Рис. 12. 15. Силовая установка с ультраконденсаторным накопителем энергии
|
Фирма Allison считает, что способность ультраконденсаторных накопителей эффективно запасать электроэнергию с циклом быстрой зарядки/разрядки является достаточным основанием для использования их в программах развития гибридных силовых установок и создания совершенных электроприводных систем с низким уровнем эмиссии токсичных веществ и высокой экономичностью.
Объединив возможности первичного двигателя с электрической машиной, обеспечивающей быстрый разгон и рекуперацию энергии торможения, фирма надеется в итоге уменьшить расход топлива по сравнению с дизелем более чем на 50%, выброс ТЧ и NOx на 90 и 50% соответственно.
Фирма считает, что ультраконденсаторные накопители энергии лучше удовлетворяют требованиям по энергоемкости, энерговыделению, зарядке, надежности (в том числе сроку службы) чем батареи и другие накопители энергии.
ЗАКЛЮЧЕНИЕ
1. Решающими при выборе типа силовой установки являются экологические требования и экономические соображения .
2. ДВС в ближайшие 30-40 лет будут применяться повсеместно. Бензиновые, газовые двигатели и дизели не исчерпали возможностей своего развития и будут динамично развиваться, оставляя свом конкурентам скромную роль «перспективных». Для которых время еше не пришло.
3. Электрические установки (в том числе и силовые установки на топливных элементах) будут применяться в специальных транспортных средствах (аэродромы, почтовые перевозки , автомобили для VIP персон и др.).
4. Гибридные установки найдут в ближайшее время более широкое применение в легковых, грузовых автомобилях, автобусах.
5. Вопрос о широком применении топливных элементов зависит от решения проблемы снижения их стоимости, создания инфрастуктур производства и распределения топлива, решения проблем с ограниченными ресурсами платины и палладия.
СПИСОК ЛИТЕРАТУРЫ
Журнал Off-Highway Engineering, 2004 г., февраль, с. 17-20
Журнал MTZ, январь 2006 г., с. 8-16.
Журнал MTZ, февраль 2006 г., с. 80-87
Журналы: MTZ, март 2005 г., с.192-199;
Automotive Engineering, январь 2005 г., с. 39-40.
Журнал Automobile Engineering, январь 2005 г., с. 26-30.
Специальный выпуск журналов ATZ и MTZ, 2005 г., журнал ATZ, апрель 2005 г., с. 283.
Aut. Eng. Dec. 2004. С. 64-66
Журналы: MTZ ноябрь 2005 г., с. 844-856; MTZ декабрь 2005 г., с. 978-98
Журналы: MTZ ноябрь 2005 г., с. 844-856; MTZ декабрь 2005 г., с. 978-98
Журнал MTZ, 2003 г., №10, с. 868-875
Журнал МТZ, апрель 2005 г., с. 278-287.
|