| ФЕДЕРАЛЬНОЕ АГЕНТСТВО ПО ОБРАЗОВАНИЮ
Государственное образовательное учреждение
высшего профессионального образования
«Кузбасский государственный технический университет»
Кафедра строительного производства
и экспертизы недвижимости
ТЕХНОЛОГИЯ БЕТОННЫХ РАБОТ
Методические указания к курсовой работе
по дисциплине «Технология строительных процессов»
для студентов специальности 270102 «Промышленное и
гражданское строительство» очной формы обучения
Составители Н. В. Гилязидинова
Т. Н. Санталова
Н. Ю. Рудковская
Утверждены на заседании кафедры
Протокол № 1 от 28.08.2008г.
Рекомендованы к печати
учебно-методической комиссией
специальности 270102
Протокол № 22 от 2 сентября 2008г.
Электронная копия находится
в библиотеке главного корпуса
ГУ КузГТУ
Кемерово 2008
1. ОБЩИЕ ПОЛОЖЕНИЯ
1.1. Задачами курсового проектирования являются закрепление теоретических знаний и приобретение практических навыков при проектировании рациональных способов технологии и организации процесса возведения монолитных железобетонных конструкций.
1.2. Курсовая работа разрабатывается на основании задания, выданного руководителем курсового проектирования. Варианты заданий приводятся в настоящих методических указаниях.
2. СОДЕРЖАНИЕ КУРСОВОЙ РАБОТЫ
2.1. Курсовая работа представляет собой технологическую карту на возведение монолитных железобетонных фундаментов и включает в себя пояснительную записку объемом 20-25 страниц текста и графическую часть на одном листе формата А1, выполненную с соблюдением требований стандартов.
2.2. Технологическая карта, представляемая в курсовой работе, должна состоять из следующих разделов:
− область применения;
− технико-экономические показатели;
− технология и организация строительных процессов;
− материально-технические ресурсы.
2.3. Все разделы технологической карты разрабатываются в указанной ниже последовательности и представляются в пояснительной записке и на листах графической части работы.
2.4. В расчетно-пояснительной записке автор приводит пояснения в следующем порядке:
1. Исходные данные для проектирования.
2. Определение состава и объемов строительных работ.
3. Выбор ведущей машины для бетонных работ.
4. Технология и организация работ.
Забиваем Сайты В ТОП КУВАЛДОЙ - Уникальные возможности от SeoHammer
Каждая ссылка анализируется по трем пакетам оценки: SEO, Трафик и SMM.
SeoHammer делает продвижение сайта прозрачным и простым занятием.
Ссылки, вечные ссылки, статьи, упоминания, пресс-релизы - используйте по максимуму потенциал SeoHammer для продвижения вашего сайта.
Что умеет делать SeoHammer
— Продвижение в один клик, интеллектуальный подбор запросов, покупка самых лучших ссылок с высокой степенью качества у лучших бирж ссылок.
— Регулярная проверка качества ссылок по более чем 100 показателям и ежедневный пересчет показателей качества проекта.
— Все известные форматы ссылок: арендные ссылки, вечные ссылки, публикации (упоминания, мнения, отзывы, статьи, пресс-релизы).
— SeoHammer покажет, где рост или падение, а также запросы, на которые нужно обратить внимание.
SeoHammer еще предоставляет технологию Буст, она ускоряет продвижение в десятки раз,
а первые результаты появляются уже в течение первых 7 дней.
Зарегистрироваться и Начать продвижение
5. Калькуляция трудовых затрат и заработной платы.
6. Календарный график производства работ.
7. Расчет состава бригады.
8. Выбор вспомогательных машин и механизмов. Расчет их количества.
9. Определение потребности в материально-технических ресурсах.
10. Разработка системы контроля качества.
11. Разработка мероприятий по охране труда и технике безопасности.
12. Определение технико-экономических показателей.
13. Список использованной литературы.
Титульный лист расчетно-пояснительной записки оформляется в соответствии с прил. 1. Текст записки разбивается на разделы и подразделы (которые нумеруются) сопровождается необходимыми схемами, таблицами. Страницы должны иметь нумерацию.
2.5. На листе графической части курсовой работы (рис. 1) размещаются:
1. Технологическая схема производства работ с указанием направления движения и расстановки машин, зон складирования материалов и привязки их относительно разбивочных осей.
2. Схема производства опалубочных работ.
3. Схема производства арматурных работ.
4. Схема производства бетонных работ.
5. Календарный график производства работ.
6. График движения рабочей силы.
7. Схема укладки и уплотнения бетона.
8. Указания по контролю качества всех видов работ.
9. Материально-технические ресурсы.
10. Указания по производству работ.
11. Указания по технике безопасности.
12. Состав бригады.
13. Технико-экономические показатели.
14. Область применения технологической карты.
15. Основная надпись (штамп).
В случае необходимости, на листах графической части размещаются узлы, детали, материалы, поясняющие особенности выполнения отдельных операций.
Рис. 1. Примерное размещение материалов на листе
3. МЕТОДИЧЕСКИЕ УКАЗАНИЯ ПО ВЫПОЛНЕНИЮ КУРСОВОЙ РАБОТЫ
3.1. Исходные данные для проектирования
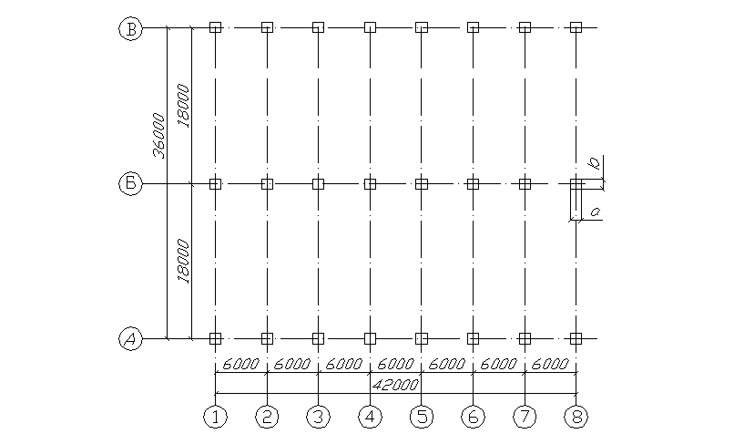
1. Приводится задание на курсовую работу. Вычерчивается план фундаментов здания с обозначением основных размеров. Пример на рис. 2.

Рис. 2. План фундаментов здания
2. Вычерчивается эскиз одного фундамента с обозначением основных размеров. Исходные данные приведены в табл. 1.14 – 1.15 справочника проектировщика [1].
3.2. Определение состава и объема работ
Возведение монолитных железобетонных конструкций − комплексный процесс, состоящий из ряда простых процессов.
Первым этапом при выполнении курсовой работы является определение перечня простых процессов и состава работ.
В составе комплексного процесса ведения работ учитывают: устройство опалубки, монтаж арматуры, бетонирование, снятие опалубки, уход за бетоном, разгрузку и складирование элементов опалубки и арматуры.
Сервис онлайн-записи на собственном Telegram-боте
Попробуйте сервис онлайн-записи VisitTime на основе вашего собственного Telegram-бота:
— Разгрузит мастера, специалиста или компанию;
— Позволит гибко управлять расписанием и загрузкой;
— Разошлет оповещения о новых услугах или акциях;
— Позволит принять оплату на карту/кошелек/счет;
— Позволит записываться на групповые и персональные посещения;
— Поможет получить от клиента отзывы о визите к вам;
— Включает в себя сервис чаевых.
Для новых пользователей первый месяц бесплатно.
Зарегистрироваться в сервисе
При проектировании считают, что фундаменты возводят в предварительно устроенном земляном сооружении. Вид земляного сооружения, его размеры, откосы следует наметить в соответствии с размерами фундаментов и рекомендациями нормативных документов [2, 3].
При определении последовательности ведения работ учитывают вид фундамента, тип опалубки и арматуры, рекомендации по возведению фундаментов [4, 5, 6].
Намеченные методы производства работ должны предусматривать мероприятия, которые способствуют повышению производительности труда:
− использование сварных арматурных каркасов и сеток, изготовленных централизованно;
− применение унифицированных систем опалубок;
− централизованное приготовление бетонных смесей и доставка их специализированным транспортом;
− комплексная механизация возведения монолитных железобетонных конструкций.
Подсчет объемов работ ведется для каждого простого процесса отдельно.
Объем опалубочных работ определяется по площади опалубки, соприкасающейся с бетоном. Тип опалубки подбирается студентом самостоятельно, в результате анализа существующих форм и эффективности их использования для условий проектирования. Рекомендации приведены в прил. 2.
В пояснительной записке необходимо выполнить схему опалубки с маркировкой щитов.
Объем арматурных работ определяется на основании заданного вида армирования (прил. 3). Схемы армирования фундамента и подколонника приведены на рис. 3, 4. При подсчете объема арматурных работ определяют количество и массу арматурных изделий (отдельных стержней, сеток, каркасов). Сортамент стержневой арматуры приведен в прил. 4.

Рис. 3. Схема армирования фундамента:
1 – бетон замоноличивания стакана; 2 – подколонник; 3 – плитная часть фундамента; С-4 – два ряда арматурных сеток; С-6 – вертикальные сетки подколонника; С-10 – сетки горизонтального армирования подколонника; С-11 – сетки косвенного армирования

Рис. 4. Схема армирования подколонника сетками С-10 и С-11
Объем бетонных работ определяется по объему бетона в плотном теле, в соответствии с заданными размерами фундамента.
Уход за уложенным бетоном предполагает или поливку бетонной поверхности водой из брандспойта, или покрытие ее утеплителем, или сочетание того и другого.
Расчет объемов выполняется в натуральных измерителях (т, шт., м2
, м3
), указанных в ЕНиР [7, 8].
3.3. Выбор ведущей машины для бетонных работ
Ведущим процессом при возведении монолитных железобетонных конструкций является бетонирование.
На данном этапе проектирования следует выбрать способ подачи бетона (бетононасосом, бетоноукладчиком, краном или др.), на основе анализа научно-технической литературы, эффективного применения машин и конструктивных особенностей объекта [9, 10].
В курсовой работе следует наметить два варианта производства бетонных работ, отличающихся типом применяемой ведущей машины. Технические характеристики машин предлагаются в прил. 5 и в [9]. В результате выбора следует привести марку машины и ее технические параметры.
Выбор варианта производства бетонных работ следует производить на основании технико-экономического анализа. В качестве анализируемых показателей могут быть использованы трудоемкость бетонных работ и стоимость механизированных затрат.
Трудоемкость бетонных работ определяется по калькуляции затрат труда и заработной платы, составленной на выбранные способы подачи и укладки бетона.
, (1)
где – трудоемкость бетонных работ, чел.-ч (маш.-ч); – трудоемкость приема бетонной смеси, чел.-ч; – трудоемкость подачи бетонной смеси, чел.-ч (маш.-ч); – трудоемкость укладки бетонной смеси, чел.-ч.
В калькуляцию (табл. 1) вносят работы для двух вариантов и подсчитывают их трудоемкости. Например: 1 вариант – кран, оборудованный бадьей; 2 вариант – бетоноукладчик.
Стоимость механизированных затрат может быть определена по формуле (2)
, (2)
где – единовременные затраты на доставку и монтаж строительных машин, р.; – стоимость машино-часа работы машины, р.; – трудоемкость или затраты рабочего времени на производство работ, маш.-ч; – заработная плата всех рабочих строительных специальностей, р.; , – коэффициенты накладных расходов ( =1,08; =1,5).
Исходные данные для определения себестоимости эксплуатации машин приведены в прилож 6.
В результате анализа к производству работ принимают вариант с меньшей трудоемкостью и стоимостью.
3.4. Технология и организация работ
В пояснительной записке необходимо описать технологию всех простых процессов, выполняемых при возведении монолитных железобетонных фундаментов (опалубочных, арматурных, бетонных), в том числе организацию рабочих мест [11, 12, 13]. При этом следует указать средства подмащивания, инструменты, приспособления, использованные при выполнении рабочих операций и для контроля качества работ.
Разрабатываются мероприятия по выдерживанию и уходу за бетоном с учетом температурно-влажностных условий на площадке.
При описании технологических процессов указывают профессии и разряды рабочих, привлекаемых для их выполнения. Описание сопровождается рисунками и схемами, располагаемыми в тексте пояснительной записки и на листах графической части проекта.
3.5. Калькуляция трудовых затрат и заработной платы
Калькуляция трудовых затрат и заработной платы составляется для рабочих процессов, намеченных в п. 3.2. в соответствии с технологией работ, описанной в п. 3.4.
Калькуляция трудовых затрат и заработной платы должна учитывать следующие работы:
− установка опалубки;
− установка арматурных сеток и каркасов;
− прием бетонной смеси из транспортных средств;
− подача бетонной смеси к месту укладки;
− укладка бетонной смеси в конструкцию;
− уход за свежеуложенным бетоном;
− разборка опалубки и демонтаж средств подмащивания;
− погрузочно-разгрузочные работы на площадке и т.д.
Калькуляцию составляют с использованием ЕНиР [7, 8] и оформляют в виде табл. 1.
Таблица 1
Калькуляция трудовых затрат и заработной платы
| Шифр норм
|
Наименование
работ
|
Единицы измерения
|
Нормы
времени
|
Объем работ
|
Трудо-емкость
|
Расценка, р.
|
Сумма заработной
платы, р.
|
Состав звена
|
| чел.-ч
|
маш.-ч
|
чел.-ч
|
маш.-ч
|
профессия
|
разряд
|
кол-во
|
| 1
|
2
|
3
|
4
|
5
|
6
|
7
|
8
|
9
|
10
|
11
|
12
|
13
|
| Σ
|
Σ
|
Σ
|
При составлении калькуляции нормы времени, расценки и состав звена выписываются из соответствующих параграфов ЕНиР.
Трудоемкость определяют как произведение нормы времени и объема работ. Заработная плата – произведение расценки и объема работ.
После определения затрат на выполнение каждого процесса, определяется сумма по графам трудоемкость и заработная плата.
3.6. Календарный график производства работ
Календарный график производства работ составляется для выбранного способа производства бетонных работ на основе калькуляции трудовых затрат и заработной платы с учетом намеченной последовательности выполнения работ.
Выполняется в виде таблицы и приводится в графической части курсовой работы.
Форма календарного графика представлена в табл. 2.
Продолжительность каждого отдельного процесса в днях может быть определена по формуле
, (3)
где − число рабочих в смену, чел.; – число смен в сутки;
– плановая трудоемкость, чел.-дн.:
, (4)
где – нормативная трудоемкость, чел.-дн.; – коэффициент выполнения плана, принимается равным 1,0 – 1,15.
Калькуляция составляется на основе действующей нормативной документации.
Таблица 2
Календарный график производства работ
| Наименование работ
|
Объем
работ
|
Трудоем-
кость,
чел.-смен
|
Уровень выполнения норм, %
|
Потреб-
ные ма-
шины
|
Продолжительность работы, дн.
|
Количество рабочих смен в сутки
|
Число рабочих в смену
|
Состав звена
|
Месяц,
год
|
| Единицы измерения
|
Количество
|
нормативная
|
плановая
|
наименование
|
количество
|
кален-
дарные
дни
|
| рабочие
дни
|
| 1
|
2
|
3
|
4
|
5
|
6
|
7
|
8
|
9
|
10
|
11
|
12
|
13
|
График движения рабочих строится в масштабе времени календарного графика работ. На нем показывается число работающих в течение дня, в первую смену и определяется среднее количество рабочих на период устройства фундаментов.
3.7. Расчет состава бригады
Расчет состава бригады выполняют после разработки календарного графика.
Для рациональной организации работ по возведению монолитных железобетонных конструкций необходимо сделать правильный подбор состава комплексной бригады.
При проектировании состава бригады предполагают, что продолжительность всего комплекса работ, поручаемых бригаде, равна общей продолжительности работ по календарному графику. Расчет производится по формуле
, (5)
где – плановая трудоемкость работ, чел.-дн.(из календарного графика), Т
– продолжительность работ, дн.(из календарного графика).
В ходе расчета следует определить общее число рабочих в бригаде и число рабочих различных профессий и квалификаций, входящих в бригаду.
Квалификационный состав звеньев определяется в соответствии с рекомендациями ЕНиР. При организации комплексной бригады следует использовать возможность совмещения профессий.
Численно-квалификационный состав бригады приводится в табл. 3.
Таблица 3
Состав комплексной бригады
| Профессия рабочих
|
Всего
|
В том числе по разрядам
|
| 1
|
2
|
3
|
4
|
5
|
6
|
3.8. Выбор вспомогательных машин и механизмов
Для комплексной механизации процесса возведения монолитных конструкций подбирают комплект ведущей и вспомогательных машин, взаимоувязанных по производительности и техническим параметрам.
В основу расчета берется ведущая машина, выбранная в п. 3.3. В соответствии с производительностью ведущей машины и сроков производства работ, определенных в календарном графике, рассчитывают необходимое количество машин и механизмов.
Машины для доставки бетонной смеси на строительную площадку выбирают по справочной литературе [9, 10] с учетом дальности транспортирования, типа дорог, состава бетонной смеси. Справочные данные приведены в прил. 7, 8.
Количество транспортных средств рассчитывают по формуле
, (6)
, (7)
где – поток бетона или его количество для устройства фундаментов в смену, м3
/смен.; – общий объем укладываемой бетонной смеси, м3
; – количество смен бетонирования (принимается по календарному графику); – вместимость кузова, м3
; – продолжительность смены, ч; – время погрузки (5−12 мин), ч; – время разгрузки (5−10 мин), ч; – время маневрирования до разгрузки (5−7 мин), ч; – расстояние перевозок, км; – средняя скорость движения, км/ч.
Для уплотнения бетонной смеси подвижностью от 0 до 8 см осадки стандартного конуса рекомендуется использовать глубинные вибраторы. Марка вибратора назначается в зависимости от типа бетонируемой конструкции и размеров арматурных изделий. Технические характеристики вибраторов приведены в прил.9.
Количество вибраторов определяется по формуле
, (8)
где – поток бетона в час, м3
/ч; – техническая производительность вибратора, м3
/ч:
, (9)
где – коэффициент использования вибратора (0,8−0,9); – радиус действия вибратора, м; – толщина прорабатываемого слоя бетонной смеси, м.
, (10)
где – длина рабочей части вибратора, м; – глубина проникания вибратора в предыдущий слой при уплотнении очередного слоя бетонирования, м; – продолжительность вибрирования, 15−20 с; – время перемещения вибратора с одной позиции на другую, 5−15 с.
3.9. Материально-технические ресурсы
Потребность в материально-технических ресурсах определяется на протяжении всей работы над проектом.
Потребность в основных материалах, конструкциях и полуфабрикатах определяется с учетом норм расходов материалов[14]. Все выполненные расчеты анализируют, результаты сводят в табл.4 и выносят на лист графической части.
Таблица 4
Ведомость потребности в материалах, конструкциях,
полуфабрикатах
| Наименование
|
Тип, марка
|
Единицы измерения
|
Количество
|
Потребность в машинах, инструментах, оборудовании и инвентаре определяют с учетом нормокомплектов для производства бетонных работ (прил. 10) и представляются в виде табл.5 на листе графической части.
Таблица 5
Ведомость потребности в машинах, инструментах, оборудовании и инвентаре
| Наименование
|
Тип, марка
|
Количество
|
Технические
характеристики
|
3.10. Разработка системы контроля качества
В курсовой работе следует отразить мероприятия по контролю качества поступающих материалов и конструкций, операционному и приемочному контролю, перечислить акты на скрытые работы [6, 15].
Материалы располагают в пояснительной записке и на листах графической части проекта.
3.11. Мероприятия по охране труда и технике безопасности
В разделе приводятся конкретные инженерные решения, направленные на обеспечение безопасной работы людей, исправной работы машин и механизмов. Подробно оговариваются мероприятия по технике безопасности при работе с грузоподъемными и транспортными механизмами; электрооборудованием; при работе на высоте; при установке, креплении опалубки и средств подмащивания и пр.
При разработке мероприятий учитывают требования СНиП и рекомендации справочной литературы [2, 4, 5, 6].
Материал располагают в пояснительной записке и на листе графической части проекта.
3.12. Технико-экономические показатели
После разработки всех технических решений и составления календарного графика производства работ подсчитываются технико-экономические показатели ж/б в деле:
− объем работ, м3
;
− общая продолжительность работ, дн.;
− трудоемкость работ, чел.-смен;
− затраты машинного времени, маш.-смен;
− выработка на одного рабочего в смену, м3
;
− выработка на одну машину в смену, м3
;
− затраты труда на 1 м3
ж/бетона, чел.-смен;
− затраты машинного времени на 1 м3
ж/бетона, маш.-смен;
− уровень выполнения норм, %.
Нормативная и планируемая трудоемкость ж/бетонных работ определяется по календарному графику или по калькуляции трудозатрат и з/платы. Выработка рассчитывается как частное от деления объема работ на трудоемкость. Затраты труда на 1 м3
ж/бетона определяются делением трудоемкости бетонных работ на объем. Затраты времени механизмов в машино-сменах определяют по затратам труда машинистов, указанных в ЕНиР, или путем деления трудоемкости на нормативный состав звена. Нормативные и планируемые показатели сводятся в табл. 6 и выносятся на лист графической части.
Таблица 6
Технико-экономические показатели
| №№
п/п
|
Наименование
показателей
|
Единицы
измерения
|
Значения показателей
|
| нормативные
|
планируемые
|
3.13. Список использованной литературы
В список литературы включают все использованные нормативные и технические источники информации в порядке их упоминания в тексте пояснительной записки.
4. СПИСОК РЕКОМЕНДУЕМОЙ ЛИТЕРАТУРЫ
1. Типовые железобетонные конструкции зданий и сооружений для промышленного строительства: Справочник проектировщика. – М. : Стройиздат, 1981.
2. СНиП 12-04-2002. Безопасность труда в строительстве.– М. : Стройиздат, 2003.
3. СНиП 3.02.01-87. Земляные сооружения. Правила производства и приемки работ. – М. : Стройиздат, 1987.
4. Стаценко, А. С. Технология бетонных работ : учеб. пособие. – Минск : Высш. шк., 2006.
5. Руководство по конструкциям опалубок и производству опалубочных работ. – М. : Стройиздат, 1985.
6. СНиП 3.03.01-87. Несущие и ограждающие конструкции. Правила производства и приемки работ. – М. : Стройиздат, 1987.
7. ЕНиР. Сборник 1. Внутрипостроечные транспортные работы. – М. : Стройиздат, 1987.
8. ЕНиР. Сборник 4-1. Монтаж сборных и устройство монолитных железобетонных конструкций. – М. : Стройиздат, 1987.
9. Добронравов, С. С. Строительные машины и основы автоматизации. − М. : Высш. шк., 2001.
10. Могилевский, Я. Г. Машины и оборудование для бетонных и железобетонных работ. – М. : Стройиздат, 1993.
11. Соколов, Г. К. Технология строительного производства : учеб. пособие. – М. : Академия, 2007.
12. Стаценко, А. С. Технология строительного производства. – Ростов н/Д : Феникс, 2006.
13. Теличенко, В. И. Технология строительных процессов. Часть I. − М. : Высш. шк., 2005.
14. Зинева, Л. А. Справочник инженера-строителя. Расход материалов на общестроительные и отделочные работы. – Ростов н/Д : Феникс, 2002.
15. Схемы пооперационного контроля качества строительных, ремонтно-строительных и монтажных работ. – С-Петербург, 2006.
16. Технология строительного производства в примерах и задачах : учеб. пособие / Н. В. Гилязидинова, А. В. Угляница, Н. Ю. Рудковская, Т. Н. Санталова ; ГУ КузГТУ. – Кемерово, 2007.
ПРИЛОЖЕНИЕ 1
ФЕДЕРАЛЬНОЕ АГЕНТСТВО ПО ОБРАЗОВАНИЮ
Государственное образовательное учреждение
высшего профессионального образования
«Кузбасский государственный технический университет»
Кафедра строительного производства
и экспертизы недвижимости
ТЕХНОЛОГИЯ СТРОИТЕЛЬНЫХ ПРОЦЕССОВ
РАСЧЕТНО-ПОЯСНИТЕЛЬНАЯ ЗАПИСКА
к курсовой работе по технологии бетонных работ
| Выполнил студент группы
|
| (ФИО)
|
| Проверил руководитель
|
| (ФИО)
|
| « »
200_ г.
|
Кемерово 200_
ПРИЛОЖЕНИЕ 2
РЕКОМЕНДАЦИИ ПО ВЫБОРУ ОПАЛУБКИ
Для конструкций по заданию принять разборно-переставную деревометаллическую опалубку.
В ребрах опалубок выполнены отверстия 20 мм с шагом 100 мм, это позволяет соединять щиты любых типоразмеров между собой по любым граням. Из щитов собираются панели. При необходимости собранные панели усиливаются схватками. Для удержания панелей в проектном положении применяются подкосы или расчалки. На несущих конструкциях опалубки монтируются навесные площадки и лестницы для рабочих.
Возможна укрупнительная сборка щитов. Типоразмеры щитов опалубки приведены в таблице.
Типоразмеры щитов опалубки
| Тип опалубки
|
Марка щитов
|
Размеры щитов
|
Масса щитов, кг
|
| Монолит – 76
|
ЩК – 1,8 0,6
|
1800 600
|
39,2
|
| ЩК – 1,8 0,45
|
1800 450
|
27,5
|
| ЩК – 1,8 0,3
|
1800 300
|
21,8
|
| ЩК – 1,2 0,6
|
1200 600
|
23,0
|
| ЩК – 1,2 0,45
|
1200 450
|
19,3
|
| ЩК – 1,2 0,3
|
1200 300
|
15,2
|
| ЩК – 1,0 0,6
|
1000 600
|
21,1
|
| ЩК – 1,0 0,3
|
1000 300
|
13,4
|
| ЩК – 0,6 0,3
|
600 300
|
7,8
|
| Монолит – 77
|
ЩК – 1,8 0,6
|
1800 600
|
38,0
|
| ЩК – 1,8 0,5
|
1800 500
|
32,0
|
| ЩК – 1,8 0,4
|
1800 400
|
27,0
|
| ЩК – 1,8 0,3
|
1800 300
|
24,0
|
| ЩК – 1,5 0,6
|
1500 600
|
26,0
|
| ЩК – 1,5 0,5
|
1500 500
|
26,2
|
| ЩК – 1,5 0,4
|
1500 400
|
21,8
|
| ЩК – 1,5 0,3
|
1500 300
|
19,5
|
| ЩК – 1,2 0,6
|
1200 600
|
27,2
|
| ЩК – 1,2 0,5
|
1200 500
|
22,4
|
| ЩК – 1,2 0,4
|
1200 400
|
18,8
|
| ЩК – 1,2 0,3
|
1200 300
|
16,5
|
| ЩК – 0,9 0,45
|
900 450
|
16,1
|
| ЩК – 1,2 0,45
|
1200 450
|
21,8
|
| ЩК – 1,5 0,45
|
1500 450
|
21,7
|
| ЩК – 1,8 0,45
|
1800 450
|
30,0
|
ПРИЛОЖЕНИЕ 3
СХЕМЫ АРМАТУРНЫХ СЕТОК
С-4

Арматуру принять Æ = 16 мм А-II (два ряда арматурных сеток).
С-11

Арматуру принять Æ = 10 мм А-II (два ряда арматурных сеток).
Продолжение прил. 3
С-10

Арматуру принять Æ = 12 мм А-II (количество сеток зависит от глубины стакана, расстояние между сетками – 100 мм).
С-6

Диаметр арматуры принять для продольных стержней – 16 мм, для поперечных – 10 мм А-II (две арматурных сетки устанавливаемых вертикально).
ПРИЛОЖЕНИЕ 4
СОРТАМЕНТ СТЕРЖНЕВОЙ АРМАТУРЫ
| Диаметр стержней, мм
|
Масса 1 погонного метра
|
| 3
|
0,055
|
| 4
|
0,099
|
| 5
|
0,154
|
| 6
|
0,222
|
| 7
|
0,302
|
| 8
|
0,395
|
| 9
|
0,499
|
| 10
|
0,617
|
| 11
|
0,750
|
| 12
|
0,889
|
| 13
|
1,040
|
| 14
|
1,208
|
| 15
|
1,390
|
| 16
|
1,578
|
| 17
|
1,780
|
| 18
|
1,998
|
| 19
|
2,230
|
| 20
|
2,466
|
| 21
|
2,720
|
| 22
|
2,984
|
| 25
|
3,850
|
| 28
|
4,830
|
| 32
|
3,310
|
| 36
|
7,990
|
| 40
|
9,870
|
| 45
|
12,480
|
ПРИЛОЖЕНИЕ 5
Таблица 5.1
Технические характеристики самоходных ленточных
бетоноукладчиков
| Показатель
|
УБК-132
|
БУ-1
|
БУМ-1
|
ЭМ-44
|
ЛБУ-20
|
| Производительность, м3
/ч
|
11
|
11
|
9
|
15
|
20
|
| Базовая
машина
|
трактор
ДТ-75
|
трактор
С-100ПГ
|
погрузчик
Т-107
|
трактор
С-100М
|
экскаваторный гусе- ничный
ход Э-303
|
| Длина стрелы ленточного конвейера, м
|
14,9
|
12,6
|
10,0
|
16,0
|
21,0
|
| Вылет стрелы, м
|
11,0
|
10,0
|
10,0
|
14,0
|
3-20
|
| Угол поворота стрелы, град
|
100
|
150
|
20
|
180
|
360
|
| Угол подъема стрелы, град
|
20
|
15
|
10
|
10
|
60
|
| Высота подачи бетонной смеси, м
|
5,5
|
до 3,0
|
2,8
|
до 5,5
|
до 8,0
|
| Вместимость приемного бункера, м3
|
1,6
|
2,4
|
1,6
|
1,6
|
3,2
|
| Обслуживающие рабочие, чел.
|
2
|
2
|
3
|
3
|
2
|
Таблица 5.2
Технические характеристики бетононасосных установок
с гидравлическим приводом
| Показатель
|
СБ-161
|
СБ-85
|
СБ-95
|
С-296А
|
| Производительность, м3
/ч
|
5–60
|
25
|
25
|
10
|
| Дальность подачи, м:
по вертикали
по горизонтали
|
70
350
|
50
350
|
50
350
|
40
250
|
| Внутренний диаметр
бетоновода, мм
|
150
|
207
|
207
|
150
|
| Вместимость приемного
бункера, м3
|
0,6
|
0,55
|
0,55
|
0,45
|
| Мощность двигателя, кВт
|
100,0
|
57,7
|
57,7
|
16,8
|
| Масса (без бетоновода), кг
|
5500
|
6500
|
11300
|
2850
|
ПРИЛОЖЕНИЕ 6
ИСХОДНЫЕ ДАННЫЕ ДЛЯ ОПРЕДЕЛЕНИЯ СЕБЕСТОИМОСТИ ЭКСПЛУАТАЦИИ МАШИН
| Марка крана
|
Синв
.
, р.
|
Е0
, р.
|
Смаш.-ч
.
, р.
|
Марка
крана
|
Синв
.
, р.
|
Е0
, р.
|
Смаш.-ч
.
, р.
|
| МКГ-6,3
|
20890
|
45,3
|
2,47
|
МКА-10М
|
19010
|
10,47
|
3,440
|
| МКГ-10
|
22290
|
45,3
|
3,37
|
К-162
|
19110
|
11,15
|
3,990
|
| Э-801
|
16960
|
51,2
|
3,03
|
МКА-16
|
27420
|
11,15
|
4,320
|
| Э-10011
|
18410
|
74,0
|
3,39
|
К-124
|
17500
|
34,10
|
4,040
|
| Э-1003
|
15230
|
74,0
|
2,98
|
К-161
|
21000
|
37,80
|
4,895
|
| Э-1004
|
17810
|
74,0
|
3,07
|
МКП-16
|
34120
|
37,80
|
5,370
|
| МКГ-16
|
23600
|
74,0
|
3,43
|
МКП-25
|
36120
|
58,90
|
5,800
|
| МКГ-16М
|
30700
|
74,0
|
4,32
|
К-255
|
31870
|
67,20
|
5,440
|
| МКГ-20
|
33810
|
74,0
|
4,42
|
К-401
|
42530
|
101,20
|
6,480
|
| МКГ-25
|
31100
|
76,0
|
4,55
|
МКП-40
|
77780
|
65,40
|
7,490
|
| Э-1252
|
23280
|
74,0
|
4,01
|
К-631
|
86490
|
101,20
|
10,150
|
| Э-1254
|
23280
|
74,0
|
4,01
|
Бетононасосы
|
| Э-1258
|
25200
|
74,0
|
4,08
|
С-296А
|
5030
|
1352
|
1,330
|
| ДЭК-25
|
23700
|
87,8
|
5,00
|
СБ-85,86
|
6920
|
2138
|
1,690
|
| СКГ-25
|
36290
|
87,8
|
5,36
|
СБ-161
|
13375
|
4549
|
2,490
|
| СКГ-30
|
38550
|
87,8
|
5,43
|
Бетоноукладчики
|
| СКГ-40
|
44470
|
87,8
|
5,93
|
УБК-132
|
1733
|
162
|
1,230
|
| СКГ-40БС
|
45170
|
115,6
|
5,95
|
БУ-1
|
3930
|
227
|
1,620
|
| СКГ-50
|
61730
|
121,42
|
8,26
|
БУМ-1
|
3103
|
231
|
1,280
|
| ДЭК-50
|
73100
|
121,42
|
8,58
|
ЭМ-44
|
3930
|
227
|
1,620
|
| ЛБУ-20
|
6960
|
246
|
1,650
|
Примечание: стоимостные показатели приведены в ценах 1987 года.
ПРИЛОЖЕНИЕ 7
ПРЕДЕЛЬНЫЕ РАССТОЯНИЯ ТРАНСПОРТИРОВАНИЯ БЕТОННОЙ СМЕСИ
| Вид
дорожного
покрытия
|
Скорость транспор-
тирования, км/ч
|
Расстояние перевозки, км
|
| автобетоносмеситель
|
автобтоновоз
|
автосамосвал
|
| при режиме
транспортирования
|
| А
|
Б
|
В
|
| Жесткое,
асфальт,
асфальтобетон
|
30
|
расстояние не ограничено
|
до 120
|
до 100
|
до 45
|
до 25
|
| Мягкое
грунтовое,
щебеночное
улучшенное
|
15
|
Применение не
рекомендуется
(быстрый выход из строя)
|
до 15
|
до 12
|
Режим А – включение барабана в пути следования за 10−20 мин до разгрузки на строящемся объекте.
Режим Б – включение барабана сразу же после наполнения компонентами бетонной смеси.
Режим В – периодическое включение и выключение барабана в пути следования.
ПРИЛОЖЕНИЕ 8
СПЕЦИАЛИЗИРОВАННЫЕ АВТОМОБИЛИ ДЛЯ ДОСТАВКИ БЕТОННОЙ СМЕСИ
Таблица 8.1
Автобетоносмесители
| Показатели
|
СБ-69Б
|
СБ-92-1А
|
СБ-159
|
СБ-127
|
СБ-130
|
АМ-9НА
|
| Базовый автомобиль
|
МАЗ-503
|
КамАЗ-5511
|
КамАЗ-5511
|
КамАЗ-5511
|
КамАЗ-5412
|
КрАЗ-258
|
| Вместимость смесительного барабана по готовому замесу, м3
|
2,5
|
4,0
|
5,0
|
6,0
|
8,0
|
9,0
|
| Габаритные размеры, мм
длина
ширина
высота
|
6630
2630
3420
|
7280
2500
3350
|
7380
2500
3520
|
7380
2500
3480
|
11200
2500
3650
|
11870
2630
3800
|
Таблица 8.2
Автобетоновозы
| Показатель
|
СБ-113
|
СБ-113М
|
СБ-124
|
СБ-128
|
АЗ-32
|
| Модель автошасси
|
ЗИЛ-130Д
|
МАЗ-504Г
|
КамАЗ-5511
|
КрАЗ-6505
|
МАЗ-503А
|
| Вместимость кузова, м3
|
1,6
|
3,0
|
4,0
|
6,0
|
3,2
|
| Габаритные размеры, мм
длина
ширина
высота
|
5730
2500
2675
|
5850
2600
2640
|
6790
2880
2880
|
7985
2500
3200
|
6450
2500
2755
|
Таблица 8.3
Автосамосвалы
| Показатель
|
ЗИЛ-131
|
ЗИЛ-130Г
|
УРАЛ-
375Н
|
КрАЗ-255Б
|
КамАЗ-5320
|
КрАЗ-257
|
МАЗ-514
|
МАЗ-516Б
|
| Грузоподъемность, кг
|
3500
|
6000
|
7000
|
7500
|
8000
|
12000
|
14000
|
14500
|
| Внутренние размеры платформы, мм
длина
ширина
|
3600
2322
|
4685
2326
|
4500
2326
|
4565
2500
|
5200
2320
|
5770
2480
|
6265
2360
|
6265
2360
|
| Погрузочная высота, мм
|
1430
|
1450
|
1530
|
1600
|
1370
|
1495
|
1500
|
1415
|
ПРИЛОЖЕНИЕ 9
Таблица 9.1
Технические характеристики глубинных вибраторов с гибким валом
| Показатели
|
Ед.
изм.
|
Значение показателей для вибраторов
|
| ИВ-17
|
ИВ-27
|
ИВ-47
|
ИВ-66
|
ИВ-67
|
ИВ-75
|
| Вибронаконечник. Наружный
диаметр корпуса
|
мм
|
36
|
51
|
76
|
38
|
51
|
28
|
| Чистота колебаний
|
кол/мин
|
20000
|
15000
|
10000
|
20000
|
16000
|
2000
|
| Возмущающая сила
|
кН
|
13,5
|
22,0
|
40,0
|
15,0
|
30,0
|
8,0
|
| Длина рабочей части, гибкий вал
|
мм
|
350
|
400
|
440
|
360
|
410
|
400
|
| Длина
|
мм
|
3300
|
3300
|
3010
|
3300
|
3280
|
3000
|
| Диаметр сердечника
|
мм
|
13
|
13
|
16
|
98
|
31
|
28
|
| Допускаемый радиус изгиба
(не менее)
|
мм
|
300
|
300
|
350
|
250
|
280
|
300
|
| Общая масса вибратора
|
кг
|
25,8
|
28,2
|
39,0
|
26,0
|
29,0
|
20,0
|
| Радиус действия
|
мм
|
200−250
|
250−300
|
250−300
|
300−350
|
250−300
|
200−300
|
Таблица 9.2
Технические характеристики глубинных вибраторов
со встроенным электродвигателем
| Показатели
|
Ед.
изм.
|
Значение показателей для вибраторов
|
| ИВ-55
|
ИВ-56
|
ИВ-59
|
ИВ-60
|
| Наружный диаметр корпуса
|
мм
|
51
|
76
|
114
|
133
|
| Система вибрационного
механизма
|
-
|
дебалансовая
|
| Длина рабочей части
|
мм
|
410
|
510
|
520
|
520
|
| Частота колебаний
|
кол/мин
|
11000
|
11000
|
57000
|
5700
|
| Возмущающая сила
|
кН
|
25
|
55
|
50
|
80
|
| Масса
|
кг
|
10
|
19
|
22
|
30
|
| Радиус действия
|
мм
|
200−300
|
250−300
|
300−400
|
350−450
|
ПРИЛОЖЕНИЕ 10
Таблица 10.1
Комплект оборудования, инструмента и инвентаря
для установки и монтажа арматуры
| Наименование, тип,
основной параметр
|
Количество, шт.
|
Назначение
|
| Сварочный полуавтомат А-765
|
1
|
Сварка арматуры
|
| Сварочный трансформатор СТН-500
|
1
|
| Источник питания ПГС-500
|
1
|
| Электродержатель пружинный типа ЭД-2
|
2
|
| Лом обыкновенный типа
ЛО-24
|
1
|
Перемещение каркасов в проектное положение
|
| Щетка стальная прямоугольная ТУ-494-01-104-76
|
3
|
Очистка арматуры от грязи и бетона
|
| Ключ-вилка
|
2
|
Гибка арматуры
|
| Метр складной металлический
|
3
|
Разметка арматуры
|
| Отвес типа О-400
|
2
|
Установка каркасов в проектное положение
|
| Рулетка стальная простая
РС-20
|
1
|
Измерение длинномерных заготовок
|
| Комплект слесарного
инструмента
|
1
|
Установка и сварка арматуры
|
| Шаблоны для проверки
сварных швов
|
1
|
Проверка качества швов
|
| Кабель сварочный ПРГ
сечением 50 мм
|
50
|
Питание током электрооборудования
|
| Стальные коробы
|
100
|
Сварка стыков арматуры
|
Таблица 10.2
Комплект инструментов и приспособлений для производства
опалубочных работ
| Наименование, тип,
основной параметр
инструмента
|
Количество, шт.
|
Назначение
|
| Электросверло диаметром
20 мм
|
1
|
Устройство доборов по месту, устройство инвентарных поддерживающих лесов
|
| Краскораспылитель
|
1
|
Смазка щитов опалубки перед их установкой
|
| Молотки плотничные
типа МПЛ
|
2
|
Крепление закладных деталей
|
| Гаечный ключ разводной 19 30
|
1
|
Установка креплений и соединителей
|
| Щетка металлическая
|
1
|
Очистка швов опалубки от бетона и грязи
|
| Кисть маховая типа КМ-60
|
2
|
Нанесение смазки на щиты
|
| Ломы лапчатые типа ЛЛ-28
|
1 комплект
|
Распалубливание бетона
|
| Метр складной металлический
|
2
|
Разметка опалубки
|
| Отвес типа О-400
|
1
|
Проверка вертикальности конструкций
|
| Уровень строительный УМ 2-700
|
1
|
Проверка положения плоскостей
|
| Рулетка измерительная металлическая типа РС-20
|
1
|
Разметка опалубки
|
| Подмости шарнирно-панельные или навесные
|
2
|
Для работы на высоте
|
Таблица 10.3
Комплект инструмента и инвентаря для укладки бетонной смеси
| Наименование
инструмента
|
Количество,
шт.
|
Назначение
|
| Лопата растворная ЛР
|
3
|
Распределение и разравнивание бетонной смеси
|
| Скребок БИЗ-00-00-00
|
1
|
Удаление пленки с поверхности ранее уложенного бетона
|
| Шуровка плоская
БИI-00-00-00
|
2
|
Распределение бетонной смеси в армированных конструкциях
|
| Скребок БИЗ-00-00-00
|
1
|
Удаление цементного молока с поверхности
|
| Гладилка ГБК №1
|
1
|
Заглаживание открытой поверхности
|
| Конопатка К-40
|
2
|
Заделка щелей в опалубке
|
| Метр складной
|
1
|
Замеры конструкций
|
| Отвес О-400
|
1
|
Проверка вертикальности конструкций
|
ПРИЛОЖЕНИЕ 11
ВАРИАНТЫ ЗАДАНИЙ НА КУРСОВУЮ РАБОТУ
| Номер
вари-
анта
|
Размер здания, м
|
Размер пролета,
м
|
Сечение
колонны,
мм
|
Марка
фунда-
мента
|
| длина
|
ширина
|
| 1
|
60
|
24
|
12
|
400 300
|
ФА 7-6
|
| 2
|
60
|
54
|
18
|
400 400
|
ФА 4-3
|
| 3
|
84
|
72
|
18
|
300 300
|
ФА 5-5
|
| 4
|
90
|
72
|
18
|
400 300
|
ФА 6-6
|
| 5
|
72
|
72
|
18
|
400 400
|
ФА 9-6
|
| 6
|
60
|
36
|
18
|
500 400
|
ФБ 4-3
|
| 7
|
96
|
48
|
24
|
500 500
|
ФБ 4-4
|
| 8
|
120
|
36
|
18
|
500 400
|
ФБ 10-5
|
| 9
|
108
|
48
|
24
|
500 500
|
ФБ 5-5
|
| 10
|
72
|
72
|
24
|
600 400
|
ФБ 4-6
|
| 11
|
60
|
90
|
30
|
400 400
|
ФА 10-1
|
| 12
|
96
|
60
|
30
|
600 500
|
ФБ 11-6
|
| 13
|
108
|
72
|
24
|
500 400
|
ФБ 6-6
|
| 14
|
84
|
60
|
30
|
500 500
|
ФБ 12-4
|
| 15
|
84
|
72
|
24
|
700 400
|
ФВ 8-5
|
| 16
|
72
|
24
|
12
|
1000 400
|
ФГ 8-5
|
| 17
|
96
|
54
|
18
|
1000 500
|
ФГ 12-4
|
| 18
|
108
|
96
|
24
|
1400 600
|
ФД 13-3
|
| 19
|
120
|
90
|
18
|
1400 500
|
ФД 14-5
|
| 20
|
132
|
48
|
24
|
1300 500
|
ФД 10-6
|
| 21
|
72
|
90
|
30
|
1400 600
|
ФД 12-5
|
| 22
|
84
|
72
|
18
|
1300 500
|
ФД 13-4
|
| 23
|
96
|
120
|
24
|
1000 400
|
ФГ 15-2
|
| 24
|
102
|
60
|
30
|
1000×500
|
ФГ 14-5
|
| 25
|
96
|
54
|
18
|
1400×500
|
ФД 17-2
|
| 26
|
90
|
48
|
24
|
700×400
|
ФВ 7-4
|
| 27
|
72
|
60
|
30
|
800×400
|
ФВ 10-3
|
| 28
|
108
|
90
|
30
|
800×500
|
ФВ 11-3
|
| 29
|
96
|
90
|
30
|
500×400
|
ФБ 13-3
|
| 30
|
84
|
96
|
24
|
700×400
|
ФВ 13-5
|
| 31
|
96
|
90
|
18
|
600×400
|
ФБ 14-3
|
| 32
|
120
|
48
|
12
|
400×400
|
ФА 11-2
|
| 33
|
96
|
72
|
24
|
700×400
|
ФВ 11-5
|
| 34
|
108
|
48
|
24
|
500×500
|
ФБ 10-3
|
| 35
|
72
|
72
|
24
|
400300
|
ФА 8-4
|
| Продолжение прил. 11
|
| Номер вари-
анта
|
Размер здания, м
|
Размер пролета, м
|
Сечение
колонны,
мм
|
Марка
фунда-
мента
|
| длина
|
ширина
|
| 36
|
102
|
90
|
18
|
800 500
|
ФВ 13-2
|
| 37
|
72
|
72
|
12
|
300 300
|
ФА 12-3
|
| 38
|
120
|
120
|
30
|
1300 500
|
ФД 9-4
|
| 39
|
90
|
90
|
30
|
1000 400
|
ФГ 13-2
|
| 40
|
60
|
72
|
24
|
800 400
|
ФВ 10-4
|
| 41
|
60
|
72
|
18
|
400 400
|
ФА 10-6
|
| 42
|
84
|
96
|
24
|
1400 500
|
ФД 11-3
|
| 43
|
132
|
60
|
30
|
1000 500
|
ФГ 11-4
|
| 44
|
66
|
90
|
18
|
400 300
|
ФА 11-5
|
| 45
|
132
|
72
|
24
|
800 400
|
ФВ 6-6
|
| 46
|
84
|
24
|
12
|
1000 400
|
ФГ 8-3
|
| 47
|
96
|
90
|
30
|
600 400
|
ФБ 13-4
|
| 48
|
120
|
54
|
18
|
300 300
|
ФА 12-6
|
| 49
|
126
|
120
|
30
|
500 500
|
ФБ 13-6
|
| 50
|
96
|
108
|
18
|
1000 400
|
ФГ 9-6
|
| 51
|
78
|
60
|
12
|
1300 500
|
ФД 14-2
|
| 52
|
120
|
96
|
24
|
800 500
|
ФВ 11-4
|
| 53
|
132
|
90
|
18
|
500 400
|
ФБ 6-5
|
| 54
|
114
|
120
|
30
|
1400 500
|
ФД 16-2
|
| 55
|
108
|
108
|
18
|
800 400
|
ФВ 10-5
|
| 56
|
96
|
120
|
24
|
500 400
|
ФБ 8-4
|
| 57
|
78
|
90
|
30
|
1400 600
|
ФД 17-3
|
| 58
|
120
|
90
|
18
|
600 500
|
ФБ 12-6
|
| 59
|
108
|
72
|
24
|
1000 500
|
ФГ 11-4
|
| 60
|
114
|
120
|
24
|
500 500
|
ФБ 7-5
|
| 61
|
132
|
72
|
24
|
800 500
|
ФВ 13-4
|
| 62
|
108
|
54
|
18
|
1300 500
|
ФД 7-6
|
| 63
|
78
|
72
|
12
|
700 400
|
ФВ 9-6
|
| 64
|
120
|
96
|
24
|
1400 500
|
ФД 10-2
|
| 65
|
96
|
96
|
24
|
1400 600
|
ФД 14-2
|
| 66
|
114
|
90
|
30
|
800 400
|
ФВ 12-2
|
Примечание: шаг колонн принять равным 6 м.
Составители
Наталья Владимировна Гилязидинова
Татьяна Николаевна Санталова
Надежда Юрьевна Рудковская
ТЕХНОЛОГИЯ БЕТОННЫХ РАБОТ
Методические указания к курсовой работе
по дисциплине «Технология строительных процессов»
для студентов специальности 270102 «Промышленное и гражданское строительство» очной формы обучения
Печатается в авторской редакции
Подписано в печать Формат
Бумага офсетная. Отпечатано на ризографе. Уч.-изд. л.
Тираж экз. Заказ
ГУ КузГТУ, 650026, Кемерово, ул. Весенняя, 28.
Типография ГУ КузГТУ, 650099, Кемерово, ул. Д. Бедного, 4 А.
|