| Министерство образования и науки Украины
Приазовский государственный технический университет
Кафедра автоматизации технологических процессов и производств
ОТЧЁТ
по ознакомительной практике на
ОАО «МК Азовсталь»
Выполнил: студент группы МА-05
Анищенко Е. А.
Руководители практики от ПГТУ:
Шевцов Е. К.
Исаев А. Б.
Мариуполь
2005 г.
СОДЕРЖАНИЕ
стр.
| Введение...................................................................................................................................
|
3
|
| 1. История комбината ……………………………………………………………………………………
|
4
|
| 2. Агломерационная фабрика ....................................................................................................
|
6
|
| 3. Доменный цех .........................................................................................................................
|
12
|
| 4. Мартеновский цех ...................................................................................................................
|
20
|
| 5. Кислородно-конверторный цех ..............................................................................................
|
26
|
| 6. Электросталеплавильный цех ...............................................................................................
|
31
|
| 7. Прокатные цеха .......................................................................................................................
|
33
|
| 7.1. Блюминг (обжимной цех) ..................................................................................................
|
34
|
| 7.2. Толстолистовой цех (стан 3600) ......................................................................................
|
35
|
| 7.3. Рельсобалочный цех ........................................................................................................
|
38
|
| 7.4. Крупносортный цех ...........................................................................................................
|
40
|
| 8. Цех рельсовых скреплений ....................................................................................................
|
41
|
| Выводы ....................................................................................................................................
|
43
|
| Литература...............................................................................................................................
Забиваем Сайты В ТОП КУВАЛДОЙ - Уникальные возможности от SeoHammer
Каждая ссылка анализируется по трем пакетам оценки: SEO, Трафик и SMM.
SeoHammer делает продвижение сайта прозрачным и простым занятием.
Ссылки, вечные ссылки, статьи, упоминания, пресс-релизы - используйте по максимуму потенциал SeoHammer для продвижения вашего сайта.
Что умеет делать SeoHammer
— Продвижение в один клик, интеллектуальный подбор запросов, покупка самых лучших ссылок с высокой степенью качества у лучших бирж ссылок.
— Регулярная проверка качества ссылок по более чем 100 показателям и ежедневный пересчет показателей качества проекта.
— Все известные форматы ссылок: арендные ссылки, вечные ссылки, публикации (упоминания, мнения, отзывы, статьи, пресс-релизы).
— SeoHammer покажет, где рост или падение, а также запросы, на которые нужно обратить внимание.
SeoHammer еще предоставляет технологию Буст, она ускоряет продвижение в десятки раз,
а первые результаты появляются уже в течение первых 7 дней.
Зарегистрироваться и Начать продвижение
|
44
|
Введение
Целью ознакомительной практики является изучение ознакомление со структурой комбината, взаимосвязью основных и вспомогательных цехов и служб, сортаментом выпускаемой продукции, конструкциями агрегатов и основными технологическими процессами производства, существующим уровнем контроля и автоматизации этих процессов.
ОАО «Металлургический комбинат “Азовсталь”» - это современное высокотехнологичное предприятие Украины, производящее широкий спектр металлопродукции, которая занимает передовые позиции как на внутреннем, так и на внешнем рынке. Комбинат является флагманом чёрной металлургии Украины, обеспечивая производство 13,7% чугуна, стали и готового проката в совокупном объёме производства отечественных предприятий. “Азовсталь” входит в десятку крупнейших металлургических предприятий СНГ [1].
Комбинат “Азовсталь” производит [2]:
- чугун литейный и передельный; - слябы; - квадратную заготовку; - сортовой прокат; - толстый лист; - рельсы железнодорожные; - накладки и подкладки для рельсов; - граншлак доменный; - сортовое стекло; - мебель для дома и офиса.
Металлургический комбинат “Азовсталь” - предприятие с полным (законченным) металлургическим циклом. Оно включает следующие основные цехи, которые технологически взаимосвязаны между собою:
- Агломерационная фабрика
, изготавливающая агломерат для доменных цехов.
- Доменный цех
, в котором выплавляется чугун преимущественно для собственных нужд комбината, т е. для последующего передела в сталь.
- Сталеплавильные цехи
(мартеновский, конвертерный, электросталеплавильный), работающие на жидком чугуне, скрапе и использующие природный и доменный газы для выплавки стали.
- Машина непрерывного литья заготовок (МНЛЗ)
из конвертерной стали.
- Прокатные цехи
(блюминг, крупносортный, мелкосортный, листопрокатный, рельсопрокатный). Листопрокатный цех работает на заготовках, поступающих от МНЛЗ, блюминг катает слитки мартеновского цеха и ЭСПЦ с последующей передачей их в остальные прокатные цеха.
В состав комбината, кроме основных цехов, входят также вспомогательные и сопутствующие цехи, отделения, станции и отдельные агрегаты:
- Транспортный цех.
- Электроцех.
- Механический цех.
- Паросиловой цех.
- Кислородный цех.
- КИПиА (цех контрольно-измерительных приборов и автоматизации).
- АСУТП (цех автоматизированных систем управления технологическими процессами).
Сервис онлайн-записи на собственном Telegram-боте
Попробуйте сервис онлайн-записи VisitTime на основе вашего собственного Telegram-бота:
— Разгрузит мастера, специалиста или компанию;
— Позволит гибко управлять расписанием и загрузкой;
— Разошлет оповещения о новых услугах или акциях;
— Позволит принять оплату на карту/кошелек/счет;
— Позволит записываться на групповые и персональные посещения;
— Поможет получить от клиента отзывы о визите к вам;
— Включает в себя сервис чаевых.
Для новых пользователей первый месяц бесплатно.
Зарегистрироваться в сервисе
- ЦЛАМ (центральная лаборатория автоматизации и механизации).
- ЦЛМК (центральная лаборатория металлургического комбината).
- Отдел главного метролога.
- Прочие цеха и службы.
История возникновения и развития
металлургического комбината «Азовсталь»
Решением бюро Мариупольского окружкома партии, которое было поддержано председателем ВСНХ В. Куйбышевым, на левом берегу Кальмиуса было решено строить завод “Азовсталь”. 11 августа 1933 года директор завода Я. С. Гугель отдал распоряжение о задувке первой доменной печи [3]. 4 января 1935 года был введён первый сталеплавильный агрегат - мартеновская печь №1.
В период с 1948 по 1953 год был создан комплекс прокатных цехов, ориентированных на производство рельсов и крупных фасонных профилей. Комбинат “Азовсталь” стал предприятием с полным металлургическим циклом (рис.1.1).

Вторая очередь развития комбината началась с пуском в 1973 году толстолистового стана «3600». В 1977 году вступила в строй первая очередь кислородно-конвертерного цеха. В 1981 году заработал электросталеплавильных цех.
За семидесятидвухлетнюю историю комбинатом произведено [1]: 84,4 млн. т агломерата; 228,0 млн. т чугуна, более 220 млн. т стали; 186 млн. т товарного проката. На комбинате освоена технология выплавки более 200 марок стали по отечественным и зарубежным стандартам.
Комбинат “Азовсталь” является монополистом в Украине по производству железнодорожных рельсов различных типов и назначения, крупных сортовых и фасонных профилей, на которые выдано 9 сертификатов УкрНИИМетСерт, рельсовых скреплений, помольных шаров [1]. Только за последнее пятилетие на комбинате освоено производство более 150 новых видов продукции: по толстому листу и штрипсам, по рельсам различного назначения, по крупносортному и фасонному прокату.
Комбинат является единственным на Украине производителем высококачественного толстолистового проката со 100-процентным неразрушающим ультразвуковым контролем. Азовстальский прокат имеет 26 сертификатов, выданных ведущими зарубежными сертификационными обществами.
2. Агломерационная фабрика
Аглофабрика - структурное подразделение комбината, предназначенное для окусковывания мелких руд, концентратов и колошниковой пыли спеканием [4]. В результате спекания повышается содержание железа в получаемом агломерате, а из руды удаляется пустая порода - хвосты [5].
Аглофабрика комбината имеет 2 агломашины площадью спекания по 62,5 кв.м. каждая и частично обеспечивает агломератом свой доменный цех (содержание железа в агломерате 64,8%). Недостающий агломерат покупается на ММК им. Ильича.
Краткая техническая характеристика оборудования аглофабрики приведена в таблице 1.1.
Техническая характеристика оборудования аглофабрики
Таблица 1.1.
| Наименование и характеристики оборудования
|
Значение
|
| Рудный двор:
--- Количество рудных кранов, шт.
|
1
|
| Отделение приемных бункеров:
--- количество бункеров, шт.
|
24
|
| Коксодробильное отделение:
--- количество бункеров, шт.
--- количество дробилок, шт.
|
1
2
|
| Отделение дробления извести:
--- количество бункеров, шт.
--- количество дробилок, шт.
|
2
2
|
| Отделение спекания:
--- количество агломашин, шт.
------ полезная площадь спекания, м2
------ длина агломашины, м
--- количество шихтовых бункеров, шт.
|
2
62,5
25
2
|
Подготовка шихты.
Сырье, поступающее на рудный двор для усреднения,
Аглофабрика имеет несколько отделений:
1. Отделение приёмных бункеров.
2. Отделение дробления известняка.
3. Отделение дробления коксовой мелочи.
4. Шихтовое отделение.
5. Спекательное отделение.
Руду в вагонах привозят из Кривого Рога и разгружают на рудном дворе. Там формируется аглоштабель (130 тыс. т.). Его объема хватает на месяц работы цеха агломерации.
Агломерация (рис. 2.1, 2.2) - процесс окускования мелких руд, концентратов и колошниковой пыли спеканием в результате сжигания топлива в слое спекаемого материала или подвода высокотемпературного тепла извне. По существу - это металлургическая подготовка руд к плавке.
На комбинате доля агломерата составляет 90-95% железосодержащей части доменной шихты. Известно несколько способов агломерации руд [4,5]:
- просасыванием воздуха;
- во вращающихся печах;
- во взвешенном состоянии;
- с подачей воздуха снизу;
- с подачей воздуха сверху.
Наиболее часто агломерацию осуществляют на высокопроизводительных ленточных машинах (рис. 2.3). Производительность агломашин 4700 т в сутки, годовая - 1600 тыс. т Лента такой машины - конвейер из 70 спекательных тележек, движущихся с помощью ходовых роликов по направляющим рельсам машины. Спекательная тележка (паллета) - стальная рама (с роликами) шириной 2,5 м и длиной 1 м. Поверх рамы установлены колосники.
Сущность агломерации поясняет схема на рисунке 2.4.
На колосники тележки загружают тонкий слой агломерата (постель), чтобы не было просыпания мелкой шихты через зазоры между колосниками. Затем загружают слой агломерируемой шихты. Средний состав шихты:
1. Железорудный концентрат (из Кривого Рога, 64% железа).
2. Железная руда (из Кривого Рога, 57% железа).
3. Железосодержащие отходы комбината:
а) шлам (40% железа);
б) колошниковая пыль доменного цеха (42-44% железа);
в) окалина прокатных цехов (65% железа).
4. Известняк (52% СаО), доломитизированный известняк (45% СаО).
5. Коксовая мелочь (металлургический кокс фракцией 0-40мм).
Шихту перед спеканием необходимо подготовить. Подготовка шихты должна обеспечить усреднение, необходимую крупность, дозирование компонентов шихты, смешивание и окомкование ее. Коксовая мелочь перекачивается в отделение дробления кокса и дробится до фракции 0,3 мм. Известняк дробится до фракции 0,3 мм в отделении дробления известняка. После дробления материалы перекачиваются в бункера шихтового отделения. Там дозируются, получая определенный состав.
Агломерируемую шихту увлажняют (4-6%) и тщательно перемешивают во вращающихся барабанах. При этом шихта окомковывается; что повышает ее газопроницаемость. После зажигания газовыми горелками топлива начинается его горение. Воздух для горения просасывается через слой шихты с помощью вакуумных устройств – эксгаустеров (производительность 7500 м3
в мин) при остаточном давлении 6-10 кПа.
Зона горения постепенно перемещается вниз до постели (колосников). В этой зоне при 1300-1500°С происходит спекание шихты (рис. 2.4) в пористый продукт – агломерат. После сортировки на грохоте куски крупностью 10-40 мм используют для плавки, менее 10 мм направляют на переработку (возврат).
На аглофабрике выпускают 4 марки агломерата:
1. А1 (основность 2,1; 46,5% железа);
2. А2 (основность 1,8; 48% железа);
3. АЗ (основность 1,3; 51% железа);
4. А4 (основность 1; 54% железа).
Достоинства агломерата: высокая пористость и прочность кусков агломерата. Химический состав агломерата дает возможность проплава в доменных печах без каких-либо добавок.
Метрологическое обеспечение производства агломерата.
При изготовлении агломерата контролируются следующие параметры:
- химический состав материалов и их крупность;
- состав и масса компонентов шихты и топлива на 1 м длины транспортера;
- химический состав агломерата;
- скорость движения конвейера агломерационной машины;
- расход природного газа и воздуха для зажигания шихты;
- температура зажигания слоя шихты:
- на вакуум-камерах;
- перед эксгаустерами;

 Рис. 2.3. Схема агломерационной машины:
1 - барабанный питатель; для загрузки шихты; 2 - направляющие рельсы;
3 - зажигательный горн; 4 - спекательные тележки; 5 - вакуум-камеры (эксгаустеры)

Рис 2.4. Схема процесса спекания:
1 - колосниковая решетка; 2 - постель; 3 - слой агломерируемой шихты; 4 - зона горения и спекания; 5 - слой агломерата
- на коллекторах агломашины;
- перед барабанами-окомкователями;
- разряжение в вакуум-камерах, коллекторах агломашин, перед эксгаустерами;
- толщина слоя агломерата на лентах.
Показания контрольно-измерительных приборов и данные о качестве сырых материалов и агломерата записывают в журнал работы смены.
Метрологическое обеспечение агломерационного процесса приведено в таблице 1.2.
Метрологическое обеспечение агломерационного процесса
Таблица 1.2.
| Наименование параметра
|
Диапазон измерения
|
Средство
измерения
|
Класс
точности
|
| Масса руды, кг
|
0-120
|
КСД3-С ЛТМ-1
|
1,0
|
| Масса извести, кг
|
0-10
|
КСД3-С ВЛ-1058
|
1,0
|
| Масса известняка, кг
|
0-63
|
КСД3-С ЛТМ-1
|
1,0
|
| Масса доломитизированного известняка, кг
|
0-63
|
КСД3-С ЛТМ-1
|
1,0
|
| Масса руды, кг
|
0-100
|
КСФ-3С ЛТМ-1
|
1,0
|
| Масса известняка в дозировке, кг
|
0-25
|
КСФ-3С ЛТМ-1
|
1,0
|
| Масса коксовой мелочи, кг
|
0-10
|
КСФ-3С ВЛ-1058
|
1,0
|
| Объемный расход
газа, /ч
|
0 -1000
|
ДИСК-250
САПФИР
|
1,0
|
| Объемный расход
воздуха, /ч
|
0 -10000
|
ДИСК-250
САПФИР
|
1,0
|
| Температура в горне, ° C
|
900 -1800
|
ДИСК-250
АПИР-С
|
2,0
|
| Давление природного газа, кПа
|
0 - 6,3
|
КСД3 ДМ
|
1,6
|
| Объемный расход
воды, /ч
|
0 -16
|
КСФ-3
ДМИР
|
1,6
|
| Температура в 13 вакуум-камере, °С
|
0 - 400
|
КСП3
ТХА
|
0,5
|
| Температура в 12 вакуум-камере, °С
|
0 - 400
|
КСП3
ТХА
|
0,5
|
Автоматизация изготовления агломерата.
Для обеспечения максимальной производительности агломашин и заданного качества агломерата на аглофабрике внедрены следующие автоматические системы :
- дозирования извести при выдаче из бункера в поток рудной смеси;
- дозирования составляющих аглошихты и топлива;
- поддержания постоянного соотношения “газ-воздух” на горнах;
- поддержания заданной температуры зажигания аглошихты;
- отсечка и включение воды в барабане-окомкователе при остановках/пусках агломашины;
- включение вибратора в шихтовых бункерах;
- заполнение бункеров дробленым известняком.
Перспектива развития [2].
В 2003-ем году во время ремонта были полностью заменены агломашины фабрики, а также увеличена её общая мощность с 4,7 тыс. т в сутки до 5,2 тыс. т в сутки (или 1,898 млн. т год).
Планировалось восстановление производства агломерата на Камыш-Бурунском месторождении бурового железняка. Горячий агломерат должен был, как и ранее, транспортироваться морем специальными агломератовозами (самоходными баржами) в морской порт Азовсталь. До 2007 года было намечено осуществление первого этапа реконструкции порта. Кроме разгрузки агломерата предполагалось через порт осуществлять экспорт металла за границу.
Однако пока в Камыш-Буруне работы не ведутся из-за нерентабельности производства.
3. Доменный цех
Доменный цех занимает ведущее место на комбинате и предназначен для выплавки чугуна. Цех выпускает три вида чугуна:
- фосфористый чугун с содержанием фосфора до 1,5 % для мартеновского цеха (30% общего выпуска);
- низкоуглеродистый чугун с содержанием марганца до 0,17% для конвертерного цеха (69,5% общего выпуска);
- синтетический литейный чугун для литейного цеха (0,5% общего выпуска).
Доменный цех (рис. 3.1) в своем составе имеет:
- рудный двор, который расположен вблизи доменных печей вдоль их фронта; на этом дворе складируют кусковую руду, а также флюсы;
- бункерная эстакада с подбункерными помещениями; сюда доставляются материалы;
- доменные печи;
- литейный двор;
- блок воздухонагревателей;
- тракт очистки колошникового газа (очистка грубая трехстадийная);
- отделение разливки;
- отделение десульфурации чугуна.
Для выплавки чугуна используют следующие шихтовые материалы:
- железные руды;
- марганцевая руда (добавляют до 2-3% в шихту);
- доменные флюсы (необходимы для удаления из печи тугоплавкой пустой породы руды и золы топлива);
- топливо (служит для нагрева материалов в печи до высокой температуры и реагентом для восстановления железа):
- кокс;
- природный газ.
Подготовка флюсов к плавке включает:
- дробление, которое обеспечивает нужную степень измельчения руды;
- сортировка (на механических грохотах);
- усреднение материалов по химическому составу и свойствам, необходимое для обеспечения ровного хода печи;
- обогащение руды.
Доменный цех комбината “Азовсталь” включает в себя 6 печей шахтного типа (рис.3.2-3.3) суммарным объемом 9217 м3
и проектной мощностью 5693.7 тысяч тонн в год (табл.3.1).
Характеристики доменных печей
Таблица 3.1
| № печи
|
Объем печи, м3
|
Проектная мощность, тыс.т/год
|
| 1
|
1233
|
775
|
| 2
|
1233
|
775
|
| 3
|
1719
|
960
|
| 4
|
1800
|
1160
|
| 5
|
1513
|
950
|
| 6
|
1719
|
1073.7
|


Основными частями доменной печи являются следующие [6]: - Горн
- наиболее важная часть доменной печи. В нём находятся расплавленный чугун и шлак, происходит сгорание кокса. В нижней части горна имеются два отверстия, которые закрыты во время плавки. Это чугунная и шлаковая лётки. В верхней части горна расположены фурмы, через которые в печь вдувают природный газ, смешанный с воздухом или кислородом.
- Заплечики
- часть доменной печи, по кладке которой в горн постоянно стекают образовавшиеся чугун и шлак.
- Распар
- наиболее широкая часть печи, которая представляет собой короткий цилиндр, необходимый для создания плавного перехода от нижнего широкого основания шахты к сужающимся заплечикам [5].
- Шахта
- часть печи, выполненная в виде усечённого конуса, расширяющегося книзу. Такая форма шахты позволяет материалам расползаться в стороны и свободно опускаться вниз. Кроме того, расширение шахты устраняет уплотнение шихты.
- Колошник
- верхняя часть печи. Через колошник печи, имеющий форму цилиндра, производится загрузка шихты и отводятся газы.
Стенки печи выкладывают из огнеупорных материалов, преимущественно из шамотного кирпича. Толщина шамотной кладки в шахте до 700 мм, заплечиках до 350 мм. Кладка печи снаружи заключена в стальную броню (кожух) толщиной 30 мм. Для уменьшения нагрузки на нижнюю часть печи ее верхнюю часть, начиная от распора, сооружают на стальном кольце с опорными колоннами. Нижнюю часть горна выкладывают из огнеупорных материалов, графитизированных блоков и др. с толщиной стенок до 1500 мм. Для повышения стойкости огнеупорной кладки в ней устанавливают металлические водяные холодильники.
В печь загружают шихтовые материалы, непрерывно подают воздушное дутье и удаляют доменные газы; периодически выпускают чугун и шлак. Шихтовые материалы загружают сверху при помощи засыпного аппарата; шихту задают отдельными порциями (калошами) по мере опускания уровня проплавляемых материалов. Расплавленный чугун выпускают по мере его накопления в горне через чугунную летку. Лётки расположены на 500-1000 миллиметров выше уровня лещади (пода) горна; «мертвый слой» чугуна предохраняет лещадь от разрушения при стекании струй и капель расплавленного чугуна.
Расплавленный шлак выпускают через две шлаковые летки; они расположены выше оси чугунных леток на 1,5-2 метра. Доменный (колошниковый) газ непрерывно удаляется через специальные газоотводы.
Продолжительность пребывания материала в доменной печи составляет 4-6 часов, а газов -- около 1-З с. Для подачи в доменную печь дутья и его сжатия применяют воздуходувные машины различных типов. Дутье нагревают до 1050-1300°С в воздухонагревателях, называемых иногда кауперами.
Современный воздухонагреватель показан на рисунке 3.4. Наружный диаметр воздухонагревателя равен 9 метров, высота до верха купола составляет 36 метров. В газовый период осуществляется нагрев насадки продуктов сжигания газа, а в воздушный период нагревается дутье за счет охлаждения насадки. В газовый период закрыты клапаны холодного и горячего дутья и открыты горелка и дымовой клапаны.
Газ сжигается в камере хранения, догорает над куполом, а продукты сгорания проходят сверху вниз через насадку, нагревают ее и с температурой 250-400°С уходят через дымовые клапаны и борова в дымовую трубу.
В воздушный период закрыты дымовые клапаны и отключена газовая горелка, но открыты клапаны для подачи холодного и отвода горячего дутья. Холодное дутье поступает в поднасадочное пространство, проходит насадку, где нагревается, и через клапан направляется в воздухопровод горячего дутья, затем в печь.
Горение топлива
.
В районе воздушных фурм происходит полное сгорание кокса:
С + О2
= СО2
+ Q,
и природного газа: СН4
+ 2О2
= СО2
+ 2Н2
О (пар) + Q
Эти продукты сгорания взаимодействуют с раскаленным коксом по реакциям:
СО2
+ С (кокс) = 2СО - Q;
Н2
О (пар) + С(кокс) = Н2
+ СО - Q.
Закись углерода СО является главным восстановителем железа. Восстановление железа происходит последовательно:
Fе2
О3
® Fе3
О4
® FеО + Fе (мет).
Косвенное восстановление происходит в шахте доменной печи:
ЗFе2
О3
+ СО = 2Fе3
О4
+ СО2
+ Q,
Fе3
О4
+ СО = ЗFеО + СО2
- Q,
FеО + СО = Fе + СО2
+ Q.
Прямое восстановление твердым углеродом происходит при температуре выше 950-1000°С в зоне распара печи по итоговой реакции:
Fе + Ств
= Fе + СО - Q.
С восстановлением железа происходит его науглероживание:
ЗFе + 2СО = Fе3
С + СО2
+ Q
и образуется сплав железа с углеродом (чугун).
Основным способом десульфурации является образование сульфида кальция по реакции:
FеS + СаО = СаS + FеО + Q.
По окончании плавки происходит выпуск чугуна и шлака. В чугунной лётке рассверливают отверстие диаметром 40-60 мм. После этого чугун по ленточному каналу попадает в жёлоб, а из него - в ковш вместимостью 60 т. Доменный процесс непрерывный. Выпуск чугуна производится каждые четыре часа. После выпуска чугуна отверстие вновь забивают огнеупорной массой.
Примерно в районе распара образуется первичный шлак. Происходит плавление относительно легкоплавких соединений с tпл
= 1150-1250°С. При стекании вниз и накоплении в горне шлак существенно изменяет свой состав. В результате взаимодействия с остатками несгоревшего кокса и расплавленным чугуном в шлаке растворяются SiO2
, А12
О3
, из золы кокса сульфиды FeS и MnS, частично восстанавливаются оксиды железа и т. д.
При выплавке предельного чугуна типовой состав шлака: 40-50% СаО, 38-40% SiO2
, 7-10% А12
O3
.
Основная характеристика шлака - его основность, т.е. отношение содержания основных оксидов к содержанию кислотных оксидов. С увеличением основности шлака легче удаляется сера, лучше восстанавливается марганец, труднее восстанавливается кремний. При выплавке чугуна основность шлака - 1,19-1,30.
Шлак выпускают через шлаковую лётку, расположенную в стене горна. Выпуск чугуна и шлака производится по графику. Выпуск шлака начинается через 40-50 минут после выпуска чугуна.
Основным продуктом доменного производства является чугун. Шлак и доменный газ являются побочными продуктами плавки.
Доменный шлак используют в качестве сырья для производства различных строительных материалов: цемента, вяжущих веществ, растворов и бетонов, шлаковой пемзы и ваты, стеновых материалов и др.
Доменный (колошниковый) газ после очистки от содержащейся в нем пыли используют как топливо для нагрева насадок воздухонагревателей, стальных слитков, коксовых батарей, для отопления котлов и других целей.
Метрологическое обеспечение производства чугуна.
В доменном цеху при выплавке чугуна контролируются следующие параметры:
- давление холодного и горячего дутья;
- давление газа в средней части шихты и на колошнике;
- давление природного газа;
- давление воды, поступающей в охладительную арматуру;
- давление пара;
- расход природного газа, подаваемого на каждую фурму;
- расход воды на охлаждение печи;
- расход газа;
- расход пара, подаваемого на увлажнение дутья;
- температура колошникового газа в газоотводах и по радиусу колошника;
- температура огнеупорной кладки печи;
- температура поступающей и отходящей воды и воздуха;
- состав колошникового газа и влажность дутья;
- уровень шихтовых материалов в печи;
- число подач, загруженных в печь;
- число скипов в подаче;
- угол поворота ВРШ;
- масса агломерата, кокса и добавок к каждой подаче.
Метрологическое обеспечение доменного процесса приведено в таблице 3.2.
Метрологическое обеспечение доменного процесса
Таблица 3.2
| Наименование контролируемых параметров
|
Диапазон измерения
|
Наименование
средства измерения
|
Абсолютная
погрешность
|
| Массовый расход пара под большой конус, т/ч
|
1.5-2.0 ±0.1
|
ДМ3583М, КСД3
|
0.063; 0.063
|
| Массовый расход пара в межконусное пространство, т/ч
|
0-4.0 ±0.1
|
ДМ3583М, КСД3
|
0.063; 0.063
|
| Давление холодного дутья, кПа
|
0-343 ±1.72
|
Сапфир 22ДД, Диск 28И
|
6.17; 3.08
|
| Давление холодных дутья, кПа
|
0-314 ±1.57
|
МП, Диск 28И
|
5.88; 5.88
|
| Давление природного газа, кПа
|
0-588 ±14.7
|
Сапфир22ДД, Диск 28И
|
9.80; 9.80
|
| Объемный расход дутья, м3
/мин
|
0-3600 ±40
|
Сапфир22ДД, Диск 28И
|
40; 40
|
| Объемный расход морской воды на охлаждение, м3
/ч
|
0-2200 150
|
Ц13583М, КСД3
|
25; 25
|
| Давление пара, кПа
|
0-441 ±14.7
|
МЭД, КСД3
|
9.8; 9.8
|
| Давление воды, кПа
|
0-390 ±8.8
|
ДМ3583М, КСД3
|
5.88; 5.88
|
| Перепад давления общий, кПа
|
0-147 ±2.4
|
ДМ3583М, КСД3
|
1.57; 0.94
|
| Объемный расход природного газа, м3
/ч
|
0-18000 ±250
|
ДМ3583М, КСД3
|
250; 250
|
| Массовый расход пара на увлажнение дутье, кг/мин
|
0-40 ±0.63
|
ДМ3583М, КСД3
|
0.63; 0.63
|
| Объемная доля О2
в дутье %
|
21-28 ±0.15
|
АСГА-02 ДИСК 250
|
0.3; 0.075
|
| Температура холодного дутья, °C
|
50-300 ±4
|
ТХК, ДИСК 250
|
0.9; 2.0
|
| Температура пара, °C
|
120-200 ±3
|
ДИСК 250, ТХК
|
2.4; 3.0
|
| Температура подзащитных плит °C
|
0-900 ±16.5
|
ТХА, ДИСК 250
|
8.3; 5.5
|
| Температура тела холодильника в лещади °C
|
0-200 ±6
|
ТХК, ДИСК 250
|
0.5; 2.0
|
| Температура брони горна °C
|
0-250 ±6
|
ТХК, ДИСК 250
|
0.5; 2.0
|
| Температура отходящей воды в холодильнике, °С
|
0-35 ±1.5
|
ТХК, ДИСК 250
|
0.5; 0.5
|
| Расход смешанного газа в воздухонагревателях,м3
/ч
|
0-4000 ±750
|
ДМ3583М, КСД3
|
500; 500
|
| Объемный расход воздуха в воздухонагревателях, м3
/ч
|
0-70000 ±1200
|
Сапфир 22ДД, Диск 250
|
400; 400
|
| Температура купола воздухонагревателя, °С
|
0-1300 ±19.5
|
ТХА, ДИСК 250
|
3.1; 6.5
|
| Температура отходящих газов из воздухонагревателя, °С
|
0-400 ±9.0
|
ТХА, ДИСК 250
|
4.8; 3.0
|
| Температура брони воздухонагревателя, °С
|
0-200 ±6.0
|
ТХК, Ш4500
|
2.9; 6.0
|
| Масса чугуна и шлака, т
|
30-180 ±0.7
|
43-200
|
0.2
|
| Температура жидкого чугуна, °С
|
1400-1500 ±5.5
|
АПИР-С
|
1.1; 2.75
|
| Температура колошникового газа, °С
|
0-450 ±8
|
ТХА, КСПУ
|
6.5; 4.0
|
| Давление колошникового газа, кПа
|
0-176 ±1.7
|
М11, Диск250
|
3.92; 3.92
|
| Объемный выход колошникового газа, м3
/ч
|
0-300000 ±4800
|
Сапфир22ДД, Диск250
|
1600; 1600
|
| Массовый расход пара(общий), т/ч
|
6-11 ±0.5
|
ДМ3583М, КСД3
|
0.2; 0.2
|
Автоматизированному контролю и регулировке подвергаются температура и влажность дутья, давление колошникового газа и газа, поступающего на отопление воздухонагревателей.
4. Мартеновский цех
Цех предназначен для производства жидкой стали по методу, предложенному во Франции П. Мартеном. Схема мартеновского производства представлена на рис. 4.1.

Рис. 4.1. Схема мартеновского производства стали [7].
Основные размеры мартеновских печей комбината “Азовсталь” с подвижным рабочим пространством приведены в таблице 4.1.
Основные размеры мартеновских печей
Таблица 4.1
| Наименование элементов печи
|
Печь
1-6, 8-10, 12
|
Печь
11
|
| Емкость печи, т
|
400
|
600
|
| Площадь пода, м2
|
99,4
|
125
|
| Длина пода, м
|
18,4
|
20,8
|
| Ширина пода, м
|
5,4
|
6,0
|
| Глубина ванны, мм
|
1000
|
1200
|
| Толщина пода, мм
|
985
|
985
|
Цех выплавляет стали из фосфористого чугуна в качающихся печах с подвижным рабочим пространством. Годовая производительность цеха – 2 млн. т стали. Цех выплавляет рельсовую сталь (50%). низколегированную сталь типа О9Г2С, 10ХСМДЛ, 5ХСМД и др. (30%), остальное - углеродистые стали типа Ст.Зсп, Ст.Зпс и др.
Цех имеет следующие отделения:
- миксерное отделение,
- печной пролет,
- разливочный пролет,
- шихтовый пролёт (двор),
- двор изложниц,
- стрипперное отделение,
- склад слитков,
- отделение предварительной подготовки составов.
Миксерное отделение.
Назначение - накопление и усреднение по температуре и химсоставу жидкого чугуна из доменного цеха. Средняя температура в миксере 1300°С, средний состав чугуна: С = 4,42%, Si = 0,95%, S = 0,033%, Р = 0,050%. Чугун доставляют сюда из доменного цеха в чугуновозных ковшах. В отделении установлены 2 миксера по 1300 т, куда сливают чугун. Подъем чугуновозных ковшей из чугуновозных траншей для слива чугуна в миксер осуществляется тремя миксерными кранами грузоподъемностью 125/35т. Под каждым миксером установлены железнодорожные весы. Чугун из миксеров периодически скачивают и после взвешивания транспортируют тепловозом в чугуновозных ковшах к мартеновским печам. Расход чугуна на плавку 260-280т.
Печной пролет
имеет длину 525 м и ширину 25 м. В пролёте для заливки чугуна в печи установлены 5 заливочных кранов грузоподъемностью 125-135т и уборочный кран грузоподъемностью 10 т.
В состав основного технологического оборудования мартеновской печи (рис. 4.2.) входит переводное устройство, включающее в себя систему клапанов и шиберов, перекрывающих каналы и трубопроводы.
Рабочее пространство печи ограничивается снизу подом (99,4 кв. м), сверху сводом и боковыми стенками: передней стенкой с завалочными окнами; задней стенкой со сталевыпускным отверстием и торцовыми стенками с примыкающими к ним головками печи. Головки служат для ввода в печь топлива и воздуха и для отвода отходящих газов. Шлаковики служат для улавливания плавильной пыли, уносимой отходящими газами из рабочего пространства печи. Основные параметры печи:
Садка печи - 400 т, площадь пода - 99,4 м2
, длина ванны - 18,4 м, ширина ванны - 514 м, глубина ванны - 1 м.
Печной пролет разбит на 14 блоков. 1-ый и 4-ый имеют 400-тонные качающиеся печи. Оборудование: 8 напольных завалочных машин (10 т), 6 заливочных кранов. Плавка в печи идет 13,5 часов.
Мартеновская печь состоит из верхнего строения, включающего рабочее пространство и головки, расположенное выше рабочей площадки и нижнего строения, в которое входят шлаковики, газовые и воздушные регенераторы, а также перекидные клапаны, дымовые борова, ведущие к дымовой трубе. Нижнее строение расположено ниже рабочей площадки. Весь основной технологический процесс мартеновской плавки протекает в рабочем пространстве печи. Головки печи, воздушные и газовые каналы обеспечивают смешивание газа и воздуха. Правая и левая головки, наклонные пролеты, вертикальные каналы и регенераторы по конструкциям одинаковы, но работают они попеременно с автоматическим переключением через каждые 5-15 мин. Шлаковики предназначены для осаждения пыли и частичек шлака, увлекаемых дымовыми газами. Это требуется для того, чтобы уменьшить засорение насадок регенераторов и удлинить срок их службы. На печи имеются регенераторы с решетчатой кирпичной кладкой - насадками для раздельного подогрева газообразного топлива и воздуха, подаваемых в печь. Продукты горения из рабочего пространства направляются в одну пару регенераторов, например в правую, нагревают их насадку и затем, пройдя очистку, выпускаются в дымовую трубу. В это время газовое топливо и воздух подают в печь через вторую пару регенераторов, насадка которых была нагрета раньше. Через некоторое время с помощью автоматически переключающихся клапанов меняется направление выхода печных газов и подачи топлива и воздуха. Подина печи представляет собой чашу с откосами по длине и ширине с уклоном к задней стенке в сторону отверстия для выпуска стали. Основанием для кладки подины служат балки, перекрытые стальным листом толщиной 20-30 мм, поверх которого укладывают листовой асбест толщиной 20-25 мм для теплоизоляции, а затем уже осуществляют кладку подины и наварку магнезитовым порошком. Мартеновская печь отапливается природным газом.
Разливочный пролет.
Разливочный пролёт (524,5х18,4 м) предназначен для разливки стали в изложницы для получения слитков. Сталь выпускают последовательно в 2-3 ковша ёмкостью 220 т с шиберными затворами. Всего имеется 16 сталеразливочных ковшей. В процессе выпуска стали ковш удерживается разливочным краном, которых в пролете 8, каждый грузоподъемностью 350 т. Для вспомогательных работ имеются 2 уборочных крана.
Разливку стали производят сифонным способом (рис. 4.3.).
На поддоне устанавливают сразу 8 или 4 изложниц, разливка производится через вертикальный канал (литник) в центре, из которого жидкая сталь через горизонтальные футерованные каналы (литниковые ходы) поступает сразу во все 8 изложниц. Получаемые слитки имеют массу до 10 т. После разливки слитки выдерживают около часа для кристаллизации стали, а затем железнодорожный состав с помощью тепловоза отправляется в стрипперные отделения.
При разливке сифоном производительность высокая, поверхность слитка более чистая. Её недостатки: сложность сборки поддонов и центровых литников, потери металла на литнике, возможность загрязнения стали неметаллическими включениями при ее протекании по центровому литнику и литниковым каналам.
Шихтовый пролёт
(участок шихтоподготовки). Назначение -- накопление шихтовых материалов для плавки, заправки и др. Оборудование: 3 грейферных крана грузоподъемностью по 15т, служащих для погрузки сыпучих материалов, 4 магнитных крана грузоподъемностью 20т для погрузки металлолома, шаровая мельница для помола, дробилка для дробления ферросплавов. Все материалы хранятся в бункерах. На шихтовом дворе хранятся следующие материалы: металлический лом и обрезь прокатных цехов:
- заправочные материалы (доломит обожженный и сухой магнезит);
- окислители (железная руда, окалина из прокатных цехов);
- материалы для удаления вредных примесей (серы и фосфора): известь, известняк;
- ферросплавы (ферромарганец, силикомарганец, ферросилиций);
- легирующие добавки: хром, никель, кальций, алюминий, ферробор, ферротитан, феррованадий и др.
Все материалы грузятся в мульды, которые установлены на тележках (вагонетках). Шихтовый состав (6-10 вагонеток) с помощью тепловозов подается в печной пролет. На каждой вагонетке 4 мульды ёмкостью 2 куб. м. Двор изложниц.
Предназначен для подготовки сталеразливочных составов: обмазка и сушка прибыльных подставок, футеровка изложниц, набор поддонов, установка сифонов и др.
Работа двора изложниц заключается в расчистке и наборе поддонов сифонным кирпичом, установки центровых втулок, вставки сифонных стаканов в глуходонные изложницы и др.
В мартеновском цехе есть отделение для чистки и смазки изложниц. Смазку проводят каменноугольным пеком или водным раствором графита и жидкого стекла.
Стрипперное отделение.
Служит для извлечения слитков из изложниц. После выдержки изложницы поступают на стрипперное отделение. Здесь с рельсовых слитков снимают прибыльные надставки, а слитки краном извлекают из изложниц. С блюминговых слитков (разливка сифоном) снимают изложницы, поднимая их краном. Для этих целей имеются 3 стрипперных крана.
 
Склад слитков.
Служит для складирования слитков. Оборудование: электромостовые краны грузоподъемностью 20 т. Со склада слитки отправляются в блюминги.
Рассмотрим сущность применяемого на комбинате скрап-рудного процесса, при котором шихта состоит из 20-50% скрапа, 50-30% жидкого чугуна, который после выпуска из доменных печей хранится в миксерах. Скрап-рудным процесс называют потому, что для ускорения окисления примесей чугуна в печь загружают гематитовую железную руду в количестве 15-30% от массы металлической части шихты. Перед началом плавки определяют количество исходных материалов (чугун, стальной скрап, известняк, железная руда) и последовательность их загрузки в печь. Сыпучие шихтовые материалы (руда, известняк, скрап) загружают обычно первыми и отдельные их слои хорошо прогревают. На подину принято сначала засыпать железную руду, потом известняк и сверху стальной лом.
Мартеновские печи обслуживаются завалочными машинами кранового типа. Такая машина зацепляет хоботом груженую мульду и поворачивается на 180° относительно вертикальной оси и подает ее в печь. Во время загрузки твердых материалов в печь расходуется максимальное количество топлива для обеспечения быстрого подогрева и расплавления шихтовых материалов.
Жидкий чугун загружают в печь через окно с помощью вставленного в него стального желоба, футерованного изнутри огнеупором. Жидкий чугун подают к печи в чугуновозном ковше с помощью мостового крана. Чугун заливают в печь через желоб, вставленный в одно из загрузочных окон, когда твердая шихта нагрета и начинает оплавляться.
После заливки твердого чугуна резко ускоряется плавление металлической части шихты. Одновременно с подогревом шихты начинается окисление примесей. К моменту расплавления шихты почти полностью окисляется кремний, более половины марганца, третья часть фосфора, частично углерод.
Во время плавления образуется значительное количество FеО, т к. количество воздуха, подаваемого в мартеновскую печь, обычно больше, чем необходимо для сжигания топлива, и пламя в печи бывает окислительным. Образующаяся закись железа, растворяясь в шлаке, окисляется, диссоциирует в нём на ионы и окисляет примеси и углерод: FеО + С = Fе + СО.
Образующаяся окись углерода в виде пузырьков хорошо перемешивает ванну и способствует выделению из металла газовых и др. включений. Этот процесс выделения угарного газа называется кипением ванны. В это время для интенсификации процесса кипения в печь добавляют железную руду. Из шихтовых материалов удаляют фосфор периодическим скачиванием шлака:
ЗFеО*Р2
О5
+ 4СаО = 4СаО*Р2
О5
+ ЗFеО.
Процесс доведения металла до нужного химсостава производится в период чистого кипения металла, начинающегося после прекращения добавки в него железной руды. Готовность заданной плавки стали определяют взятием пробы и анализом в лаборатории. После этого проводится раскисление и выпуск стали в ковши, из которых их разливают в слитки. В печь вводят определенное количество кускового ферромарганца (12% Mn), а затем через 10 мин. - ферросилиция (16% Si).
При основном процессе плавки происходит частичное удаление серы из металла по реакции: FeS + СаО = СаS + FеО. Для десульфурации (удаления серы) металла необходима высокая температура и достаточная основность шлака. Окончательно сталь раскисляют алюминием на выпускном желобе печи или в ковше.
Основным недостатком мартеновского процесса следует считать большую продолжительность процесса и значительный расход топлива.
Плавка включает следующие периоды:
1) Период выпуска и заправки (30 мин.). Заправка подины доломитом, магнезитом. Осматривается мартеновская печь и устраняются изъяны в подине и боковых откосах печи путем заварки их новым слоем доломита или магнезита.
2) Период завалки (2-2,5 ч.). Загружают сначала сыпучие: примерно 30 т известняка для первичного удаления вредных примесей, около 30-ти т железной руды для первичного окисления, по 160 т металлического лома и обрези.
3) Период прогрева (1,5 ч.).
4) Период заливки чугуна (0,5-1 ч.). Заливается 300 т жидкого чугуна при T = 1300°С.
5) Период плавления (2-2,5 ч.). В конце плавления T = 1500°С.
6) Период полировки (доводки). Назначение - удаление вредных примесей, приведение к определенному химсоставу. К концу полировки T = 1600°С.
7) Период раскисления и выпуска стали в ковши.
Для удаления газообразных примесей производится присадка ферросплавов с ферромарганцем, ферросилицием. В ковше заканчивают раскисление стали алюминием (до 1 часа). После разливки производится внепечная обработка стали - продувка инертным газом. Стальной слиток может иметь ряд дефектов. Для обнаружения дефектов существуют разные методы дефектоскопии: γ
-дефектоскопия, магнитная, ультразвуковая и др.
- При выплавке стали контролируют следующие параметры:
- давление природного газа;
- давление в рабочем пространстве печи;
- разрежение в борове печи;
- температура дымовых газов в борове;
- температура верха насадок горячих камер регенераторов;
- объёмные расходы природного газа, мазута, воздуха, кислорода, коксового газа на запально-зажигательном устройстве.
Перечень метрологических средств ведения теплового режима приведен в таблице 4.2.
Метрологическое обеспечение теплового режима в мартеновских печах
Таблица 4.2
| Наименование
контролируемых параметров
|
Диапазон
измерений
|
Средства
измерения
|
Класс точности
|
| Объемный расход природного газа, м3
/ч
|
0-5600 ±100
|
КСД-3, ДМИ
|
1,0; 1,0
|
| Давление природного газа, МПа
|
0-0,6 ±0,025
|
КСД-3, МЭД
|
1,0; 1,0
|
| Объемный расход мазута, л/ч
|
0-2500 ±100
|
КСУ-3, СМ-4000
|
1,0; 2,5
|
| Объемный расход воздуха, м3
/ч
|
0-80000 ±2000
|
КСД-3, ДМИ-Р
|
1,0; 1,5
|
| Объемный расход кислорода, м3
/ч
|
0-2500 ±60
|
КСД-3 ДМИР-УЧ
|
1,0; 1,5
|
| Температура жидкой стали,°С
|
1300-1650 ±10
|
КСП-4, ТПП
|
0,25; 5,0
|
| Температура свода,°С
|
0-1730 ±50
|
КСП-3-П, ТЭРА РС-20
|
0,5; 20,0
|
| Температура воздушных насадок,°С
|
1000-1350 ±40
|
КСП-3 гр.РК-15 АПИР-С
|
1,0; 2,0
|
| Температура отходящих газов,°С
|
0-550 ±15
|
КСП-3,т-пара ХА
|
1,0; 8,3
|
| Давление в рабочем пространстве, Па
|
0-100 ±5
|
КСФ-3, ДКОФм
|
0,6; 2,5
|
| Разрежение в общем борове, Па
|
0-650 ±50
|
ТМ-П-1
|
2,5
|
| Объемный расход коксового газа, м3
/ч
|
0-110 ±10
|
КСД-3, ДМИ
|
1,0; 1,5
|
| Температура природного газа,°С
|
-10-20 ±5
|
КСМ-4 ТСМ
|
0,5; 0,5
|
| Температура мазута,°С
|
50-70 ±5
|
КСМ-4, ТСМ
|
0,5; 0,5
|
| Температура кислорода,°С
|
-10-20 ±5
|
ДИСК-250,ТСМ
|
0,5; 0,5
|
| Давление мазута, МПа
|
0-0,8 ±0,025
|
КСД-3, МЭД
|
1,0; 1,0
|
| Давление кислорода,°С
|
0-0,8 ±0,025
|
КСД-3, МЭД
|
1,0; 1,0
|
Стратегические цели развития сталеплавильного комплекса комбината предусматривают вывод устаревшего мартеновского способа производства стали из технологического процесса производства продукции.
5. Кислородно-конверторный цех
Кислородно-конверторный цех (ККЦ) оснащён двумя конверторами с верхним дутьём и садкой по 350 т, средствами внепечной обработки стали и её непрерывной разливки (три слябовые двухручевые МНЛЗ криволинейного типа). ККЦ производит 3,5 млн. т металла в год.
В цехе выплавляется около 200 марок стали, которую разливают в непрерывнолитые слябы сечением 220, 230 и 300 мм и шириной 1550, 1650 и 1850 мм.
Кислородно-конверторный процесс с верхней продувкой заключается в продувке жидкого чугуна кислородом, подводимым к металлу сверху через сопла водоохлаждаемой фурмы. При этом выгорают примеси чугуна: углерод, кремний, марганец, сера, фосфор и т. д.
Кислород подаётся в конвертор под давлением 1-1,5 МПа по водоохлаждаемой фурме. Вода под давлением 0,6-1,0 МПа подаётся в пространство между внутренней и средней трубами фурмы и удаляется из пространства между внешней и средней трубой, обеспечивая охлаждение фурмы.
Схема грузопотоков ККЦ предусматривает следующие основные линии:
- передачу и загрузку лома в конвертор;
- доставку и заливку жидкого чугуна;
- подачу, дозирование и загрузку сыпучих шлакообразующих материалов,
- подачу кислорода;
- доставку, дозирование, нагрев и подачу ферросплавов в сталеразливочные ковши;
- прием, транспортирование и разливку стали;
- уборку и переработку шлака.
Отделения ККЦ:
- миксерное, которое служит для создания буферного запаса чугуна и его усреднения по химическому составу и температуре;
- ковшовое, предназначенное для ремонта и подготовки сталеразливочных и промежуточных ковшей. Оборудование: стенды для сталековшей, машины для наливки футеровок, горелки, машина для выбивки.
- скрапное - для складирования лома, его нагрузки в совки;
- конверторное -- для выплавки стали. Состоит из двух конверторов объемом 350 т, охладительного котла, устройства газоочистки, машины для скачивания шлаков, системы бункеров и транспортера подачи сыпучих, заливочных кранов, 2 сталевоза, 42 шлаковоза.
- внепечной обработки и машин непрерывного литья заготовок стали (МНЛЗ) - служит для внепечной обработки стали. Имеет 2 печи, 3 установки для подачи стали в ковш, порционный вакууматор, 3 машины непрерывного литья заготовок, разливочные краны.
- транспортно-отделочное - для складирования готовой продукции, приема слябов, ремонта и отгрузки потребителю продукции непрерывного литья.
Устройство конвертора и технологический процесс конверторной плавки.
Основной агрегат ККЦ (рис. 5.1, 5.2) предназначен для выплавки стали методом продувки жидкого чугуна технологически чистым кислородом сверху через фурму. Конвертор представляет собой сосуд грушевидной формы. Корпус конвертора представляет собой сварную конструкцию из листовой низколегированной стали. Внутри корпус футерован огнеупорным кирпичом. Горловина конвертора выполнена в виде усеченного конуса, днище глухое, сферической формы. Корпус конвертора наклоняется с помощью двух приводов, каждый из которых состоит из двух цилиндрических редукторов, соединенных с запорами конвертора. Редукторы приводятся в движение от электродвигателей. Привод позволяет осуществить поворот конвертора вокруг горизонтальной оси в одну и в другую стороны.
Цикл плавки в конверторе 45-50 мин. Началом цикла в конверторе является завалка в него лома и обрези. Загрузку производят совковыми завалочными машинами. Груженые совки подают скраповозом на рабочую площадку конверторного пролета. Машина их поднимает, перемещает к конвертору и устанавливает над горловиной. Затем совок наклоняется и лом высыпается в горловину. Затем в конвертор засыпается руда, предварительно заливается жидкий чугун, привозимый из миксерного отделения в чугуновозных ковшах. Этот период длится около 8 мин.
Потом конвертор ставится в вертикальное положение, и загружается известь, необходимая для связывания фосфора, находящегося в чугуне и ломе. В конвертор опускают водоохлаждае

мую фурму, через которую подают технический кислород. В конверторе начинается интенсивный процесс окисления металла кислородом с выделением теплоты:
2Fе + О2
= 2FeO + Q.
Окисляются и примеси: кремний, марганец, фосфор. Углерод выгорает по реакции:
FеО + С = Fе + СО + Q.
Оксид углерода пузырьками выходит из жидкой ванны, способствуя лучшему перемешиванию металла. Разогрев ванны способствует растворению извести и интенсивному шлакообразованию:
SiO2
+ 2СаО = 2СаSiO2
, + Q;
Р2
О5
+ 2СаО = СаО*Р2
О5
+ Q.
Известь обеспечивает удаление фосфора и серы, которые находятся в металле:
FeS + Са = FеО + СаS + Q.
После 16 мин. продувки поднимают фурму, наклоняют конвертор в сторону слива шлака (7-8 мин.). Предварительно берут пробу металла на экспресс-анализ состава и определяют основные параметры стали.
Конвертор ставится в вертикальное положение, опускается фурма и идет вторичная продувка кислородом в течение нескольких минут в зависимости от полученных данных анализа и заданной марки стали. В это время продолжается реакция окисления и шлакообразования. Шлак, имеющий меньшую плотность, скапливается над металлом.

После вторичной продувки кислородом конвертор наклоняют, берут контрольную пробу металла, измеряют его температуру и сливают сталь в сталеразливочные ковши, установленные на самоходном сталевозе. После слива скачивают оставшийся шлак через горловину конвертора и заделывают выпускное отверстие.
Все технологические операции производятся с пульта управления конвертором. Получение стали завершается ее раскислением. Раскисление необходимо, т к. сталь содержит повышенное количество оксида железа, ухудшающего свойства стали. Раскисление проводят ферромарганцем и ферросилицием, вводимыми в струю металла при сливании его в ковш.
Участок внепечной обработки стали.
На участке имеется 3 установки продувки стали аргоном. Продувка сталей аргоном осуществляется путем погружения фурмы в жидкий металл. Через фурму поступает под давлением аргон. В результате продувки металла в ковше возникают вихреобразные потоки пузырьков газа и металла, что способствует его интенсивному перемешиванию. Цель внепечной обработки - удаление вредных примесей, выравнивание температуры и химического состава металла.
Недостатком кислородно-конверторного способа получения стали является большое пылеобразование, обусловленное окислением и испарением железа, значительно большим, чем при других способах получения стали. При конверторах обязательно присутствуют дорогие пылеочистительные устройства.
Отделение машин непрерывного литья заготовок.
Отделение имеет три разливочные двухручевые машины (рис. 5.3) с общей производительностью 1 млн. т стали в год.

Машина состоит из следующих основных частей:
- стенд разливочный;
- ковш промежуточный;
- кристаллизатор;
- роликовые секции.
Стенд имеет возможность кругового вращения и позволяет осуществлять разливку на два
ковша. Ковш промежуточный предназначен для поддерживания постоянного уровня металла в кристаллизаторе.
Кристаллизатор имеет медные стенки, охлаждаемые водой. В кристаллизатор до поступления металла вводится временное дно - «затравка». Затравка - это штанга прямоугольного сечения, равного сечению слитка. Верхний конец затравки образует дно кристаллизатора и входит в сцепление со слитком, а нижний находится между текущими роликами. При помощи тянущихся валков затравка начинает двигаться и извлекает за собой формирующиеся слитки. Сверху из ковша непрерывно поступают новые порции.
Слиток выходит из кристаллизатора с температурой 1100-1250°С и имеет жидкую сердцевину. Далее он поступает в зону вторичного охлаждения, где интенсивно охлаждается мелкораспылённой водой. В этой зоне слиток застывает по всему сечению. Тянущий механизм выпрямляет слиток, дальше он подается на горизонтальный рольганг, где газовым резаком режется на заготовки заданной длины. Сляб-заготовка поступает в толстолистовой цех.
Непрерывная разливка имеет ряд преимуществ:
1. Устраняется необходимость многих трудоемких операций (разливка стали в изложницы, прокатка полученных слитков на блюминге).
2. Вследствие отсутствия усадочной раковины отходы металла составляют всего 2-3% вместо 20-25% при разливке слитка.
3. Полученные слябы имеют более чистую поверхность из-за большой скорости охлаждения мелкозернистой структуры и менее развитую химическую неоднородность.
Встречаются дефекты слитков: продольные, поперечные и наружные трещины, которые появляются при увеличении скорости вытягивания слитков.
Метрологическое обеспечение выплавки стали в конверторах.
Основные параметры контроля: концентрация углерода в ванне; температура чугуна в чугуновозном ковше, стали в конверторе, футеровки сталеразливочного ковша.
В процессе плавки контролируют:
- давление кислорода на входе в цех и перед фурмой;
- суммарный расход кислорода на плавку;
- текущее значение расхода кислорода в рабочем режиме и при сушке конвертора после перефутеровки;
- текущее значение расхода воды на охлаждение фурмы;
- давление и температура воды;
- температура жидкой стали, чугуна и отходящих газов;
- состав отходящих газов;
- положение кислородной фурмы;
- длительность продувки и слива стали.
Перспективы развития.
1. Начато строительство нового производственного комплекса в кислородно-конвертерном цехе. Новый производственный комплекс будет включать в себя машину непрерывного литья заготовок (МНЛЗ№6), установку вакуумирования металла и две машины печь-ковш. Модернизация кислородно-конвертного цеха значительно расширит производственные возможности комбината, увеличит объемы производства непрерывнолитых слябов и позволит продукции комбината соответствовать самым высоким требованиям рынка. МНЛЗ№6 будет поставлена итальянским производителем оборудования для ГМК компанией Danieli, а установка вакуумирования и машины печь-ковш – компанией VAI Fuchs (Siemens), Германия.
Комплексная программа модернизации и реконструкции производства реализуется на МК «Азовсталь» с 2003 года. В рамках этой программы уже были реконструированы и запущены в эксплуатацию МНЛЗ № 3 и МНЛЗ № 5 кислородно-конвертерного цеха, в этом же цехе идет строительство воздухоразделительной установки ВРУ-60 общей мощностью 60 тысяч кубометров в час.
2. Строительство МНЛЗ для обеспечения производства сортового и фасонного проката и рельсов для магистральных железных дорог непрерывнолитой заготовкой.
3. Модернизация транспортно-отделочного отделения, весоизмерительного и весодозирующего хозяйств ККЦ.
4. Внедрение современных средств АСУ всего технологического процесса конверторного производства стали.
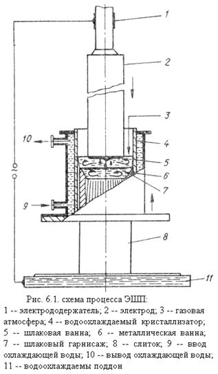
6. Электросталеплавильный цех
В электросталеплавильном цехе (ЭСПЦ) выплавляются легированные стали наиболее ответственного назначения в слитки массой до 20 т. Цех оснащён современными печами ЭШП‑20ВГ‑И2 электрошлакового переплава, позволяющими получать стали точного химического состава, электропечами для расплавления флюса и алюминия. Термическая обработка слитков (отжиг) производится в камерных печах с выкатным подом. Продукция цеха - слитки, которые прокатываются в толстолистовом цехе на листы толщиной от 6 до 200 мм [2].
Цех открыт в 1981 году, но с 1991 года работает не на полную мощность из-за отсутствия заказов, что связано с неконкурентоспособной ценой выплавляемого металла.
Исходный металл для ЭШП выплавляют в конверторах и разливают на слитки на МНЛЗ.
Схема ЭШП представлена на рис. 6.1 [8].

Суть процесса состоит в следующем. При прохождении переменного тока через слой жидкого шлака определённого состава и со значительным электросопротивлением в нём выделяется тепло, достаточное для расплавления конца переплавляемого электрода, погруженного в шлак. Капли металла, проходя через шлак, очищаются от серы и кислородных неметаллических включений и образуют слиток, накапливаясь в водоохлаждаемом кристаллизаторе. Быстрое застывание предотвращает образование дефектов в слитке. Интенсивный отвод тепла создаёт направленную кристаллизацию жидкого металла в слитке [4].
Для переплава используют ток с рабочим напряжением 45-60 В.
Чтобы начать процесс, применяют электропроводный флюс в твёрдом состоянии. Он состоит из смеси порошков алюминия, магния и рабочего флюса АНФ-6. Требования, предъявляемые к флюсам, следующие:
- достаточная электропроводность;
- способность поглощать серу и некислородные включения.
Рабочий флюс АНФ-6 представляет собой смесь компонентов CaF2
, Al2
O3
и CaO.
Электросталеплавильный цех состоит из трех пролетов:
1. Печной пролет; предназначен для переплавки металла. Имеется 6 единственных в СНГ установок ЭШП.
2. Термический пролет; имеется 5 циркуляционных печей с выкатным подом. В них загружают до 10 слитков массой по 20 т. Тип применяемой термической обработки - отжиг. Замедленное контролируемое охлаждение полученных слитков из легированной стали до 150°С производят в герметизированных колодцах.
3. Обдирочнозачистное отделение. Предназначено для подготовки электродов путем удаления окалины с поверхности слябов.
Наиболее важным эксплуатационным преимуществом металла ЭШП является повышенная ударная вязкость. Однако в настоящее время появились другие эффективные способы получения качественного металла (обработка в вакууматорах, в печах-ковшах, синтетическими шлаками), в результате чего процесс ЭШП во многих случаях стал экономически невыгодным. Из-за этого ЭСПЦ простаивает.
7. Прокатные цеха
Прокаткой металла на прокатных станах завершается полный металлургический цикл завода [9]. Исходным материалом для прокатки являются слитки с квадратным или прямоугольным поперечным сечением. Конечную продукцию составляет прокат различного сортамента и назначения: рельсы, балки, швеллеры, угловая, круглая и квадратная сталь, полосы, толстая и тонкая листовая сталь, трубы и профили специального назначения.
Технологический процесс прокатки сортовой стали на комбинате состоит из двух стадий: прокатка слитка в полупродукт (заготовку) и прокатка в готовый прокат.
Прокатка толстых листов осуществляется из непрерывнолитых заготовок или слитков из ЭСПЦ без образования полупродукта.
Работу прокатных цехов характеризуют следующие технико-экономические показатели:
1) производительность станов;
2) расход металла и выход годного;
3) расход электроэнергии;
4) расход условного топлива;
5) расход валков;
6) расход воды.
7. 1. Блюминг (обжимной цех)
Обжимной стан предназначен для обжатия слитков, поступающих из сталеплавильных цехов. Полученный полупродукт подвергается прокатке на других станах.
Блюминг представляет собой одноклетьевой реверсивный стан дуо.
Исходным материалом для блюминга служат слитки массой от 3 до 12т. Готовой продукцией являются блюмы - деформированные заготовки квадратного сечения.
Станины блюминга закрытого типа. Они представляют собой массивные стальные литые рамы, соединенные между собой массивными литыми траверсами трубчатого сечения. Станины установлены на плитовинах, лежащих на фундаменте и прикрепленных к нему анкерными болтами. Расстояние между осями станин 3760 мм. Валки блюминга изготовлены из стали 55Х, 50ХН. Максимальный диаметр валков 1200 мм, диаметр шейки 686 мм, общая длина вала 5080 мм. Стойкость валков за одну кампанию в среднем составляет 120 тыс. тонн проката. Охлаждаются валки морской водой, поступающей под давлением 0,3 МПа (3,0 атм). Перевозку валков осуществляют с помощью специального выкатного устройства и электромостового крана грузоподъемностью 100/12т. Привод валков блюминга осуществляется от двигателя постоянного тока типа П2-26-1150-10У.4 мощностью 10000 кВт с частотой вращения 0-50-90 об/мин. Расстояние между осями валков 1400 мм. Блюминг оборудован электрическим винтовым устройством для перемещения верхнего валка.
Блюминг 1170 имеет реверсивную клеть закрытого типа. С передней и задней стороны рабочей клети блюминга установлены рольганги для подачи слитка к валкам, перемещения прокатываемой заготовки в процессе прокатки и уборки её от стана. Рольганги выполнены в виде отдельных секций, каждая секция имеет групповой привод. Клеть блюминга оборудована с передней и задней сторон станинными роликами. Диаметр роликов 450 мм, длина 2400-2700 мм, привод от двигателя ДП-86 мощностью 54 кВт.
Для перемещения прокатываемой заготовки вдоль оси валков (при задаче в другой калибр) с передней и задней стороны рабочей клети устанавливают манипуляторные линейки. Они также производят выпрямление заготовки в случае ее искривления при прокатке. Длина линеек 5835 мм, ход 2740 мм, скорость 0, 7 м/с, привод от электродвигателя мощностью 74 кВт.
Для кантовки заготовки в процессе прокатки устанавливают трехкрюковой кантователь с передней стороны рабочей клети (со стороны пульта управления станом). Число касаний кантователя 30,7 в минуту. Привод от двух мощностью 74кВт. Станковый пролет блюминга обслуживает 3 крана: 2 электромостовых грузоподъемностью 100/12т и 100/20т и 15т.
Нагретые слитки с помощью клещевого крана или двухместного слитковоза подают на приемный рольганг стана. За приемным рольгангом установлен поворотный стол грузоподъемностью до 10 т. Продолжительность поворота 10 с, привод осуществляется от двигателя мощностью 36 кВт. На столе установлен групповой рольганг из четырех роликов диаметром 508 мм с приводом от двигателя мощностью 25 кВт. С поворотного стола слиток перевозят на два первых ролика второй секции приемного рольганга, где он ожидает подачи в стан.
Прокатанная заготовка подается транспортным рольгангом к ножницам с параллельными ножами. Ножницы усилием 10МН разрезают блюм на мерные длины. Отрезанные концы транспортируются в скрапное отделение, а блюм - на склад готовой продукции.
7. 2. Листопрокатный цех (стан 3600)
Стан построен и введен в действие в 1973 году. Проектная мощность стана 1,5 млн. тонн в год. Стан предназначен для прокатки листов и плит, размеры которых находятся в пределах: толщина 6-50 мм (листы) и свыше 50 мм (плиты); ширина 1,5-2 м; длина 6-28 м.
Основные участки стана (рис. 7.2.1):
1. Склад слябов.
2. Нагревательные колодцы.
3. Методические печи.
4. Прокатный стан, в составе вертикальной клети «ДУО», черновой клети «КВАРТО 1» и чистовой клети «КВАРТО 2».
5. Линия резки.
6. Участок термообработки. Его предназначение - термообработка плит в камерных печах с выдвижным подом. Здесь плиты подвергаются нормализации и закалке с отпуском. Отпуску подвергаются плиты толщиной свыше 50 мм.
7. Роликовые проходные печи в потоке стана. Здесь подвергаются нормализации, закалке с отпуском листы с толщиной, не превышающей 50 мм.
8. Участок роликовых проходных печей вне потока стана. Происходит закалка с последующим отпуском и нормализация листов толщиной менее 50 мм.
9. Участок листоотделки.
10. Склад готовой продукции.
Исходным материалом для проката являются:
- слябы непрерывного литья;
- катаные слябы;
- слитки.
Цех размещен в 9 пролетах. Заготовки поступают в ж/д вагонах и разгружаются магнитным краном. Слитки перед прокаткой нагреваются в рекуперативных нагревательных колодцах. В цехе имеются 4 группы колодцев, каждая из которых состоит из независимых друг от друга ячеек. Они отапливаются природным газом. В каждой ячейке в торцевой стенке установлена инжекционная горелка. Для подогрева воздуха до 800-850°С каждая ячейка оборудована керамическим трубчатым рекуператором. Слябы нагреваются в пятизонных методических рекуперативных печах непрерывного действия (всего печей 4) до 1150-1200°С. Слябы задаются в печи с холодного рольганга при помощи толкателей, выдача осуществляется машиной для безударной выдачи.
Технология производства листов из листовых слябов
После выдачи из печи слябы передаются по рольгангу на прокатку. Стан 3600 состоит из трёх клетей: вертикальной «дуо» (задают ширину прокатываемого листа), черновой клети «кварто» (прокатка листов на заданную толщину) и чистовой клети. В клетях «кварто» два средних валка - рабочие. Они имеют небольшой диаметр. Внешние валки - опорные. Они предназначены для устранения прогиба рабочих валков и имеют большой диаметр. Максимальный крутящий момент 2950 кН*м, длина бочки валков 3600 мм, максимальное усилие машинного механизма - 4,5 тыс. т, максимальная скорость прокатки 6 м/с. Температура начала прокатки должна быть не ниже 1000-1100°С.
В начале прокатки с поверхности сляба с помощью гидросбива удаляют печную окалину во избежание закатывания ее в листы. Прокатка проводится посередине бочки балка, для чего раскат центрирует с помощью линеек манипуляторов. Температура конца прокатки, измеряемая перед последним пропуском в чистовой клети, должна быть не ниже 850°С (замер температуры проводится пирометром).
После прокатки металл может подвергаться термообработке в зависимости от марки стали и требуемых механических свойств. Могут быть осуществлены следующие виды термообработки: закалка, закалка с отпуском, нормализация. Закалка может производиться с печного нагрева, для этого в линии имеется роликовая закалочная машина с душирующими устройствами. Температура конца прокатки листов, предназначенных для прокатки с прокатного нагрева, должна
быть не ниже 900°С. Закалка может осуществляться и вне потока. Листы поступают в термоотделение обрезанными на ножницах горячей резки и замаркированными. Их нагрев проводится в проходной роликовой печи до t = 900-950°С, отпуск проводится в двух роликовых печах, охлаждение после отпуска - на воздухе. Закалке и закалке с отпуском подвергаются листы из легированных сталей (10ХСНД, 16Г2АФ).
Нормализация проводится в потоке стана. Листы сначала обрезаются и режутся на мерные длины (по заказу) на ножницах горячей резки, а затем с помощью цепных шлепперов подаются на роликовые проходные печи (их в потоке 3). После выхода из печей листы охлаждаются на воздухе и правятся на роликовой правильной машине. Затем листы охлаждаются на холодильниках и поступают на инспекторский стеллаж, где отбираются пробы для механических испытаний, проводится ультразвуковой контроль по всей длине листа, осмотр листов. После этого листы поступают на линию резки, где удаляется боковая кромка, затем листы клеймятся, маркируются, защищаются от поверхностных пороков и транспортируются в приемные карманы.
Технология производства листов и плит из слитков
Плиты прокатываются в клети с вертикальными валками и черновой клети «кварто». Слитки массой до 30 тонн из нагревательных колодцев с помощью электромостового крана с клещевым захватом подаются к стационарному опрокидывателю, который опрокидывает их на рольганг головкой частью вперед. В клети с вертикальными валками снимаются конусность боковых граней слитков, в черновой клети - по широкой грани. На рольганге с коническими роликами слиток поворачивается на 90°, и прокатывается до заданной толщины. После прокатки раскаты перемещаются к клеймовочной машине, после клеймования они передаются транспортным рольгангом до выдвижного упора, сталкиваются на стабилизирующий стол и складываются в пакеты. Пакеты укладываются на передаточные тележки и транспортируются в пролёт для охлаждения, где с помощью кранов со специальным захватом укладываются на стеллажи. После охлаждения раскаты размечают и передают к агрегатам огневой резки. Плиты, требующие термообработки, краном со специальным захватом передаются в камерные печи с выдвижным подом в термоотделение. После термообработки они поступают на инспекторский стеллаж для отбора проб, маркировки и зачистки дефектов.
На стане катаются строительные и конструкционные стали (08ГТ, 40Х и д.р.), котельные (20К, 40К и д.р.), мостовые (10Г2ФБ, 10ХСНД), судовые (09Г2, 15ГБ и др.). Листовой прокат подвергается полистовому ультразвуковому контролю, от листов отбираются пробы на механические испытания и металлографические исследования.
Перспективы развития.
С целью расширения сортамента листового проката с обеспечением требований отечественных и зарубежных стандартов, в том числе производства заготовки (штрипса) для одношовных электросварных труб большого диаметра (до 1220 мм) из сталей марок Х60-Х80 шириной до 3900 мм, уменьшения разнотолщинности, обеспечения требований по плоскостности проката, прокатки в поле минусовых допусков и повышения точности проката в период с 2003 по 2005 годы предполагается осуществить комплексную реконструкцию толстолистового цеха с заменой клети 3600 на клеть 4200, с внедрением современных средств АСУ ТП. Реализация программы реконструкции позволит обеспечить прокатку на стане 4200 листов шириной 1500 – 3900 мм в объеме 1,8 млн. т в год и значительно улучшить качество и конкурентоспособность выпускаемой продукции на мировом рынке.
7.3. Рельсобалочный цех
Цех построен в 1948 году. Он предназначен для производства железнодорожных рельсов и сортовых профилей (уголки, двутавры, швеллеры, балки и др.). Проектная мощность цеха 1,3 млн. т, сортового проката в год. Цех включает в себя:
- отделение нагревательных печей;
- становой пролет;
- скрапный пролет;
- машинный зал;
- рельсоотделку;
- сортоотделку;
- термическое отделение;
- склад готовой продукции.
Исходной заготовкой являются блюмсы с блюминга максимальным сечением 340х330 мм и минимальным - 230х280 мм, а также длиной 3100-5050 мм. Контроль качества заготовок и их зачистку осуществляют в обжимном цехе. Заготовки транспортируют к подводящему рольгангу печей в горячем, теплом или холодном состоянии по транспортным рольгангам или электромостовым краном грузоподъемностью 12 и 15 т передают заготовки к методическим печам. С накопителей блюмсы сталкиваются на подводящий рольганг нагревательных методических печей толкателями реечного типа.
Нагревают заготовки в четырех трехзонных методических рекуперативных печах с двусторонним обогревом, торцевой посадкой и выдачей металла. Печи отапливаются смесью коксового, доменного и природного газов. Температура подогрева воздуха в рекуператорах 250-400°С. Температура металла 1100-1200°С. Посадку заготовок в печь производят с загрузочного рольганга, продвижение в печи и выдачу металла производят реечным сдвоенным толкателем.
Нагретые блюмсы выталкиваются на рольганг, который транспортирует их к обжимной клети рельсобалочного стана «1000». После прокатки на обжимной клети раскат подается по отводящему рольгангу на линию стана «800», который содержит черновую и предчистовую трёхвалковую и чистовую двухвалковую универсальные клети. От чистовой клети рельсовый металл по отводящему рольгангу поступает к участку горячей резки, в состав которого входит 5 маятниковых и одна салазковая дисковая пила. Полосы на пилах горячей резки режут на мерные длины по ширине холодильника. На пилах горячей резки отбирают рельсовые пробы для испытаний в соответствии с требованиями стандартов.
Рельсы, прошедшие плавку на роликоправильной машине, передаются в линию ультразвуковой, магнитной дефектоскопии и наружных дефектов. Окончательная правка рельсов ведется на 3-6 вертикально-правильных прессах. После правки производится закалка концов рельсов и сверление отверстий на сверлильных станах. Рельсы осматриваются на инспекторских стеллажах и годные передаются на склад.
В термоотделении рельсы проходят дополнительную обработку закалку головки рельсов с нагревом ТВЧ (токами высокой частоты) по всей длине рельсов. На участке имеется 3 рельсозакалочные машины. Для предотвращения искривления рельса при нагреве и охлаждении, их закаливают в упругоизогнутом состоянии. Процесс закалки осуществляется следующим образом: рельс кантуется «на подошву», соединяется с помощью накладок в непрерывную нить, упруго изгибается в секциях предварительного изгиба головкой наружу до радиуса 100 м и подается под заданным углом в ролики закалочной секции. С помощью этих роликов рельсы изгибаются до радиуса 25 м и проходят под индукторами, размещенными на подвижной раме на специальных подвесах. Головка рельсов прогревается токами высокой частоты до 980-1000°С и закаливается в водо-воздушной среде с помощью спрейера. В рамках сохранения кривизны рельсы удерживаются в изогнутом состоянии в процессе охлаждения. Охлаждение производится до температуры 350-400°С, далее происходит самоотпуск за счет внутреннего тепла металла. После самоотпуска (для снятия напряжений) происходит окончательное охлаждение водой, затем рельсы расстыковывают, кантуют «на бок» и по рольгангам передают на передаточный стеллаж. Далее они правятся на роликоправильной машине. После термообработки производится внешний осмотр рельсов, замеряется твердость. Термообработанные рельсы имеют эксплутационную стойкость в 1,5- 2,5 раза выше, чем сырые. В линии закалки рельсов с нагревом ТВЧ имеется твердомер, замеряющий твердость электромагнитным способом. Если твердость не соответствует требуемой, рельсы отправляются на доотпуск, который проводится в печи с выкатным подом.
После горячей резки рельсы и сортовой прокат подают к клеймовочной машине, а после клеймования - на три секции холодильника для охлаждения. На холодильнике рельсы охлаждают до 600°С, а остальные профили - до комнатной температуры. Далее рельсы подают в неотапливаемые колодцы замедленного охлаждения. Колодцы представляют собой бетонные ямы, футерованные огнеупорным кирпичом, и сверху закрываются крышками. В колодцах рельсы охлаждаются от 600 до 150° в течение 7-8 ч. Это противофлокеновая обработка. Флокены - извилистые мелкие трещины, образующиеся при быстром охлаждении стали, содержащей водород. При этом водород выделяясь из твердого раствора и переходя из атомарной формы в молекулярную, создает большие внутренние напряжения, приводящие к образованию трещин. Металл с флокенами бракуется. Чтобы избежать их появления, рельсы замедленно охлаждаются в опасном интервале температур, чтобы водород успевал перераспределиться и удалиться путем диффузии. Одновременно в колодец садится по 10-12 рельсов по 8-10 штук в ряду.
Контроль на флокены осуществляют на пробах, отрезанных на пилах горячей резки от головного конца рельсовой полосы каждой плавки. Длина пробы 200-250 мм. Проба охлаждается на воздухе и из нее вырезается макротемплет, который подвергают травлению в 50%-ном растворе соляной кислоты при температуре 60°С в течение 40 мин. Если флокены в пробе не обнаружены, то все рельсы из металла данной плавки принимаются. Затем рельсы правят на восьмироликовой правильной машине РПМ-45 поштучно.
Сортовой прокат не проходит замедленного охлаждения, он охлаждается на холодильнике до 800°С, а затем правится на восьмироликовой правильной машине М-32 и прессах. Далее сортовой прокат режется пилами и ножницами и отправляется на склад.
7. 4. Крупносортный цех
Крупносортный цех (рис. 7.2) вступил в действие в 1953г. Он предназначен для прокатки следующих профилей: двутавровая балка 14, 16, 18; швеллеры 14, 16, 18; специальные профили (шахтные стойки) крепёжные профили 140x140, 160x160, 200x200; накладки рельсовые; квадратные и круглые заготовки 140x140.

Производительность цеха - 1 млн. 300 тыс. тонн проката в год. В цех поступает заготовка (блюмс) из обжимного цеха. Она подается на приемный стан и по рольгангу транспортируется в методические печи, где нагревается до 1150-1200°С. В цехе имеются 3 нагревательные методические печи, четырёхзонные рекуперативного действия с двухсторонним нагревом, двухрядные с торцевым посадом и выдачей заготовок. Печи отапливаются смесью доменного, коксового и природного газа. После нагрева заготовка транспортируется по рольгангу на стан «800». Диаметр бочки валков 300 мм. Верхний валок подвижный. Привод клети осуществляется через зубчатую муфту, шестеренную клеть и универсальный шпиндель. Двигатель на стане имеет мощность 30 тыс. кВт. Заготовка катается в 5-6 пропусков. С передней и задней сторон обжимной плети установлены линейки длиной 6200 мм. Температура начала прокатки 1150°С, окончания - 800-950°С. Затем заготовка по рольгангу идет на стан «650». Он состоит из трёх клетей: клеть черновая, предчистовая трехвалковая «Трио», чистовая двухвалковая «Дуо». Для передачи раскатов от клети к клети с передней и задней сторон стана установлены передаточные шлепперы.
Мастер стана отбирает пробы для контроля размеров профиля и качества поверхности. После прокатки на стане «650» полосы по рольгангу доставляются на пилы горячей резки. Имеется 5 дисковых салазковых пил. После резки прокат по рольгангу поступает на холодильник. Затем охлажденный металл поступает в роликоправильную машину, а затем шлеппером передается на сортоотделку №1 и №2, где производится порезка, осмотр, маркировка, упаковка.
8. Цех рельсовых скреплений
Цех введен в эксплуатацию в 1952 году. ЦРС производит следующие виды продукции: стальные шары (шаропрокатное отделение), подкладки раздельного скрепления к железнодорожным рельсам широкой колеи, подкладки костыльного скрепления Д 65, Д 50, подкладки типа КД (болтовое крепление на железобетоны), рельсовые накладки.
Изготовление подкладок
Заготовки для подкладок поступают из РБЦ и крупносортного цеха. Подкладки изготавливаются из спокойной, полуспокойной стали с содержанием углерода от 0,16% до 0,24%. Поставляются полосы для подкладок на железнодорожных платформах. Рубка полос на заготовки производится одновременно с продавливанием отверстий на прессах совмещенной штамповки. Контроль над производством и качеством подкладок осуществляют работники ЦРС и контролеры ОТК. Контролируются форма, геометрические размеры и качество поверхности подкладок. Одну подкладку от партии испытывают на изгиб. Размеры, вогнутость и выпуклость подкладок проверяют при помощи шаблонов. Глубину поверхностных дефектов проверяют пробной вырубкой. Подкладки, прошедшие испытания, складируются по партиям и типам на складе готовой продукции.
Изготовление накладок
Накладки применяются для стыкового соединения рельсов. Накладки изготавливают из полностью раскислённой спокойной мартеновской стали М54. Полосы для накладок поступают из крупносортного цеха поплавочно на железнодорожных платформах. Со склада полосы поплавочно передаются на площадку приемных стеллажей, откуда с помощью шлеппера и рольганга по одной задаются на подающие ролики пресса рубки. Технология изготовления включает следующие операции:
1. Рубка полосы на заготовку в холодном состоянии.
2. Транспортировка нарубленных заготовок к нагревательным печам. В цехе установлено 2 агрегата для производства накладок. В состав одного входят две методические печи, в состав другого - две печи с шагающими балками. Печи отапливаются коксовым газом.
3. Механизированная посадка заготовок в печь при помощи двухрядного толкателя.
4. Нагрев заготовки в течение 2-2,5 часов до температуры 850-930°С, с последующей выдачей ее на рольганг с противоположного конца печи.
5. Механическая транспортировка нагретой заготовки к штамповочному прессу для прошивки болтовых отверстий.
6. Горячая прошивка болтовых отверстий.
7. Транспортировка накладок по рольгангу от штамповочного пресса к закалочному баку.
8. Закалка накладок в конвейерном закалочном баке, наполненном веретенным маслом. Время нахождения накладок в масле 2-2,5 мин.
9. Транспортировка накладок по рольгангам на транспортер для охлаждения водой до температуры не выше 60°С, и отчистки от масла.
10. После закалки подача накладок с помощью рольганга на контрольный стол для сортировки и частичной холодной правки.
11. Приемка накладок контролерами ОТК и инспекцией «Укрзалізниці». Производится внешний осмотр, проверка размеров, прямолинейности, и расположения болтовых отверстий. Также производится контроль твердости, испытания на растяжение и изгиб.
12. Транспортировка прошедших проверку накладок на склад готовой продукции.
Шаропрокатное отделение
Шаропрокатное отделение цеха пущено в строй в 1959 году. Оно предназначено для выпуска мелющих шаров для горнорудной промышленности. Они применяются для размола руд, угля и других материалов в шаровых мельницах. Стальные мелющие шары изготавливают диаметром 40, 60, 80, 100 и 120 мм в соответствии с ГОСТ 7524. Материалом для приготовления шаров служит круглая горячекатанная заготовка из рельсовой стали М74, М76.
Заготовки мостовым краном укладываются на наклонные решетки загрузочного устройства секционной печи, которое состоит из стеллажа, дозатора, выравнивающего рольганга. Шаропрокатное отделение оборудовано двумя секционными печами скоростного нагрева. Печи отапливаются коксодоменной смесью. Печи оборудованы горелками типа «труба в трубе», установленными с обеих сторон печи. Продукты горения удаляются в рекуператоры и далее в котел-утилизатор.
Регуляторы служат для подогрева воздуха, необходимого для горения газовой смеси. Заготовки в печи транспортируются в 3 ручья с помощью водоохлаждаемых роликов. Нагретые заготовки выдаются в прокатку из каждого ручья поочередно. Они должны иметь температуру от 950 до 1100°С в зависимости от диаметра. Для прокатки шаров диаметром 40, 60, 80 мм служит стан 620, а диаметром 100 и 120 мм - стан 1040. Используется метод поперечно-винтовой прокатки. Подача заготовок в стан производится поочередно одна за другой. Частота подачи определяется автоматически. Термообработка шаров заключается в закалке с прокатного нагрева и самоотпуске. После прокатки шары подстуживаются на воздухе в ковшах транспортирующего устройства и затем закаливаются в воде в барабанной установке шнекового типа. После закалки шары поступают по наклонным желобам в бункер, где происходит самоотпуск за счет тепла внутренних частей шаров. После остывания не менее 8 ч для шаров диаметром 100 и 120 мм, 4 ч для шаров диаметром 60-80 мм и 24 ч для шаров диаметром 400 мм производится контроль шаров. Контролируется качество поверхности, размеры, твердость. Складывание шаров производится в бункерах склада готовой продукции по диаметрам и по категориям или группам твердости. Отгрузка шаров из бункеров производится электромагнитным краном в железнодорожные вагоны навалом.
В 2005 году в рамках модернизации была проведена реконструкция закалочного барабана, усовершенствован режим подстуживания шаров, заменена кладка в печи и печной ролик станов 620 (производство катаных шаров диаметром 40-80 мм) и 1040 (100-120 мм). Новое оборудование выпущено украинскими производителями, часть его произведена на производственных мощностях "Азовстали". Повышение твердости шаров и соответственное уменьшение изнашиваемости продукции позволит ГОКам реже останавливать оборудование для замены катаных шаров. Это даст возможность горно-обогатительным комбинатам увеличить производство руды.
Участок термической обработки бандажей для валков
Бандажи изготавливают из стали 35ХГСА. Нагрев под закалку осуществляют в печи с выдвижным подом. После нагрева валковые бандажи закаливаются в масле, промываются в воде и подвергаются низкому отпуску в той же печи (250-300°С).
Инструментальное отделение ЦРС
В отделении изготавливают инструмент для прессов: ножи для рубки заготовок для подкладок и накладок, пуансоны и матрицы штампов для прошивки отверстий в накладках и подкладках.
В инструментальном отделении имеются парк станков для механической обработки инструментов. Термообработка проводится в трехкамерных газовых печах (нагрев деталей под отжиг и закалку), трехкамерных электрических печах типа М-30 (нагрев под закалку, отпуск).
Выводы
1. В результате ознакомительной практики:
- расширены и углублены знания о полном металлургическом цикле производства чёрных металлов;
- изучен сортамент продукции из чугуна и стали;
- изучено основное оборудование машины и агрегаты комбината;
- изучена структура и характер взаимодействия основных цехов комбината.
2. Установлено, что большая часть оборудования сильно изношена и требует замены или модернизации. Некоторые технологии (например, выплавка в мартеновских печах) морально устарели или неконкурентоспособны (электрошлаковый переплав).
3. Перспективные планы развития комбината и результаты их реализации показывают, что необходимо выполнить большой объём работ по автоматизации металлургических процессов. Это создаёт перспективу трудоустройства на комбинат по окончании университета и правильность выбора своей профессии.
Литерату
pa
1. 70 лет на огненной вахте.- Меркурий, 2003, №9, с.20-23.
2. www.azovstal.com.ua.- Сайт комбината “Азовсталь” в Интернете.
3. Гончаренко І. М. Проблеми будівництва заводу “Азовсталь” у рамках дії адміністративно-командної системи.- В зб.: Маріуполь: історія та перспективи, т 2, с. 47-49.
4. Общая металлургия. 2-е изд. Под науч. ред. В. Г. Воскобойникова.- М., Металлургия, 1973, 464 с.
5. Б. В. Линчевский, А. Л. Соболевский, А. Х. Кальменов. Металлургия чёрных металлов.- М., Металлургия, 1980, 296 с.
6. А. А. Вагин. Доменное производство.- М., Металлургиздат, 1962, 136 с.
7. М. Н. Сосненко. Мартеновское производство стали.- М., Металлургия, 1974, 224 с.
8. Электрошлаковый переплав. Вып. 9. Материалы VIII Международной конференции по вакуумной металлургии, специальным видам плавки и металлургическим покрытиям: Пер. с англ. /Под. Ред. Медовара Б. И.- Киев, Наукова думка, 1987, 232 с.
9. А.Ф Финкель, П.П. Ипатов. Технология оборудования заводов черной металлургии:
Учебник для техникумов. - М., Металлургия, 1982, 440с.
10. Выплавка и разлив стали в мартеновском цехе. Технологическая инструкция. МК ”Азовсталь”.- Мариуполь, 1993.
11. Тепловой режим и эксплуатация мартеновских печей. Технологическая инструкция. МК “Азовсталь”.- Мариуполь, 1993.
12. Производство листов и плит на толстолистовом стане 3600. Технологическая инструкция. МК “Азовсталь”.- Мариуполь,1994.
13. Нагрев металла и эксплуатация методических печей толстолистового цеха. Технологическая инструкция. МК “Азовсталь”.- Мариуполь, 1995.
14. Разливка стали на машинах непрерывного литья заготовок конвертерного цеха. Технологическая инструкция. МК “Азовсталь”.- Мариуполь,1993.
15. Методы отбора и подготовки проб шихтовых материалов в доменном цехе. Технологическая инструкция. МК “Азовсталь”.- Маруполь,1986.
16. Производство агломерата. Технологическая инструкция. МК “Азовсталь”.- Мариуполь, 1981.
|