| ФЕДЕРАЛЬНОЕ АГЕНТСТВО ПО ОБРАЗОВАНИЮ
ФИЛИАЛ ГОУ ВПО МОСКОВСКОГО ГОСУДАРСТВЕННОГО ИНДУСТРИАЛЬНОГО УНИВЕРСИТЕТА
В Г. ВЯЗЬМЕ СМОЛЕНСКОЙ ОБЛАСТИ
Утверждено
на заседании кафедры ЕНТД
Протокол №____от_______2008
Заведующий кафедрой ЕНТД
__________к.т.н. Баленко И.Ф.
«____»_______________2008
Методические указания по выполнению курсового проекта дисциплине
«Детали машин и основы конструирования»
Для специальности: 190201 «Автомобиле - и тракторостроение»
Форма обучения: заочная
Автор: к.т.н. В.Г. Осипян
2008
Автор методических указаний к.т.н. В.Г. Осипян
Рецензент к.т.н. В.А. Реут
Тираж – 50 экз.
Издательство – РИЦ ВФ МГИУ
Место издания – г. Вязьма, ул. Просвещения, д. 6а.
СОДЕРЖАНИЕ
1. ПОЯСНИТЕЛЬНАЯ ЗАПИСКА.. 4
2. ОБЩИЕ ПОЛОЖЕНИЯ ПО ВЫПОЛНЕНИЮ КУРСОВОГО ПРОЕКТА.. 5
3. ЗАДАНИЯ К КУРСОВОМУ ПРОЕКТУ.. 7
3.1. Варианты проектируемых приводов…………………………………………7
3.2. Варианты исходных данных для расчётов приводов……………………….9
4. ЗАЩИТА КУРСОВОГО ПРОЕКТА.. 9
5. ЛИТЕРАТУРА.. 11
Приложение
1. ПОЯСНИТЕЛЬНАЯ ЗАПИСКА
Дисциплина «Детали машин и основы конструирования» охватывает теорию, расчет и конструирование наиболее распространенных видов деталей, их соединений и узлов машин, т.е. основы конструирования машин (машиностроительное черчение, теоретическая механика, сопротивление материалов, теория машин и механизмов, металловедение и термообработка, нормирование точности и др.) и является завершающим этапом общетехнической подготовки студентов, подготавливающим их к изучению специальных дисциплин, к выполнению курсовых проектов по этим дисциплинам и к дипломному проектированию.
Целью курсового проектирования является: по заданным условиям работы деталей и узлов машин усвоить методы, правила и нормы их проектирования, обеспечивающие рациональный выбор материалов, форм, размеров, степени точности и качества поверхностей, а также необходимых технических условий их изготовления и сборки. Кроме этого, курсовое проектирование предусматривает ознакомление с конструкциями и овладение навыками расчетов и конструирования зубчатых и червячных редукторов.
В процессе курсового проектирования необходимо научиться разбираться в чертежах и расчетных зависимостях, чтобы ясно представлять себе сущность изучаемой конструкции или расчетной формулы, уметь самостоятельно их воспроизвести.
Забиваем Сайты В ТОП КУВАЛДОЙ - Уникальные возможности от SeoHammer
Каждая ссылка анализируется по трем пакетам оценки: SEO, Трафик и SMM.
SeoHammer делает продвижение сайта прозрачным и простым занятием.
Ссылки, вечные ссылки, статьи, упоминания, пресс-релизы - используйте по максимуму потенциал SeoHammer для продвижения вашего сайта.
Что умеет делать SeoHammer
— Продвижение в один клик, интеллектуальный подбор запросов, покупка самых лучших ссылок с высокой степенью качества у лучших бирж ссылок.
— Регулярная проверка качества ссылок по более чем 100 показателям и ежедневный пересчет показателей качества проекта.
— Все известные форматы ссылок: арендные ссылки, вечные ссылки, публикации (упоминания, мнения, отзывы, статьи, пресс-релизы).
— SeoHammer покажет, где рост или падение, а также запросы, на которые нужно обратить внимание.
SeoHammer еще предоставляет технологию Буст, она ускоряет продвижение в десятки раз,
а первые результаты появляются уже в течение первых 7 дней.
Зарегистрироваться и Начать продвижение
Данные методические указания и курсовые задания составлены в соответствии с требованиями Государственного Образовательного Стандарта и учебного плана дисциплины "Детали машин и основы конструирования".
Варианты заданий к курсовому проекту распределяются преподавателем индивидуально каждому студенту.
2. ОБЩИЕ ПОЛОЖЕНИЯ ПО ВЫПОЛНЕНИЮ КУРСОВОГО ПРОЕКТА
Целью курсового проектирования является: закрепление, углубление и обобщение знаний, полученных студентами при изучении курса «Детали машин»; применение полученных знаний к решению комплексной инженерной задачи по проектированию деталей и узлов машин; приобретение навыков производства расчетов, конструирования, составления пояснительных записок и разработки чертежей к проектируемым объектам; приобретение умения пользования справочной литературой, соответствующими стандартами, таблицами и т.п.
Курсовой проект по дисциплине «Детали машин и основы конструирования» состоит из пояснительной записки и чертежей, а также спецификаций к сборочным чертежам и чертежу общего вида заданного привода и редуктора.
В проекте надлежит выполнить 2 листа чертежей, из которых один должен быть отведен общему виду редуктора (в разрезе); второй - рабочему чертежу детали (корпуса редуктора или крышки корпуса). Чертежи выполняются с использованием программ «КОМПАС» или «Автокад» с соблюдением требований ЕСКД ( формат чертежа А4 ).
Этапы выполнения курсового проекта( [6] ):
1. Техническое задание - приводятся кинематическая схема привода, таблица исходных данных;
2. Выбор двигателя – мощность и тип двигателя определяются по исходным данным: окружной силе F и скорости тяговой цепи v (или вращательному моменту и угловой скорости) с учётом общего коэффициента полезного действия привода;
3. Определение кинематических (частота вращения и угловая скорость) и силовых (мощность и вращающий момент) параметров привода - рассчитываются на валах привода по расчётной мощности двигателя, определённой в пункте 2;
4. На основе расчёта кинематических и силовых параметров определяют тип редуктора привода, выбор материала зубчатых (червячных) передач; проводится расчёт основных конструкционных параметров, контактных напряжений, подбор режима термообработки и материала валов. По межосевому расстоянию (для цилиндрических редукторов) или делительному диаметру (для конических редукторов) определяется толщина стенок закрытых редукторов [2,4,6].
Сервис онлайн-записи на собственном Telegram-боте
Попробуйте сервис онлайн-записи VisitTime на основе вашего собственного Telegram-бота:
— Разгрузит мастера, специалиста или компанию;
— Позволит гибко управлять расписанием и загрузкой;
— Разошлет оповещения о новых услугах или акциях;
— Позволит принять оплату на карту/кошелек/счет;
— Позволит записываться на групповые и персональные посещения;
— Поможет получить от клиента отзывы о визите к вам;
— Включает в себя сервис чаевых.
Для новых пользователей первый месяц бесплатно.
Зарегистрироваться в сервисе
5. Подбор подшипников осуществляется на основе расчётных динамических нагрузок [1,5].
Проектирование завершается разработкой сборочного чертежа (с приведением спецификации) и второго чертежа - деталировки (вал, шестерня, крышка редуктора) [3,6].
Пояснительную записку, как текстовой конструкторский документ, необходимо оформлять в соответствии с требованиями ГОСТ 2.105-79. В учебных проектах допускаются некоторые отступления от этих требований.
Пояснительная записка выполняется с использованием компьютера. Распечатка выполняется на листах писчей бумаги формата А4 (210x297 мм) с нанесением на них рамки (возможно - без).
Пояснительная записка должна включать в себя титульный лист (приложение); содержание, техническое задание, основной текст, разбитый на разделы и подразделы (а при необходимости еще и на пункты и подпункты), список литературы.
Все листы, кроме титульного, нумеруются. Нумерация должна быть сквозной. В общую нумерацию включают титульный лист, рисунки и таблицы, расположенные на отдельных листах, и список литературы.
Список литературы, располагаемый в конце пояснительной записки, должен содержать выходные данные о всех использованных в курсовом проекте информационных источниках.
Текстовая часть пояснительной записки курсового проекта должна содержать следующие разделы:
1. Техническое задание.
2. Выбор двигателя и кинематический расчет привода.
3. Силовой расчет двигателя.
4. Выбор типа редуктора (согласно кинематической схеме).
5. Расчет редуктора.
6. Расчет открытой передачи.
7. Обоснование выбора материала валов.
8. Подбор подшипников приводного вала.
9. Заключение.
10. Литература.
11. Приложение.
3.
ЗАДАНИЯ К КУРСОВОМУ ПРОЕКТУ
3.1. Варианты проектируемых приводов
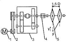
1.
Спроектировать привод к цепному конвейеру по схеме (рис. 1) при исходных данных (таблица исходных данных): окружная сила на тяговой звёздочке F, скорость тяговой цепи v, шаг тяговой цепи рц
, число зубьев на тяговой звёздочке z, срок службы – L лет.

Рис. 1.
Кинематическая схема привода к цепному конвейеру: 1 – электродвигатель, 2 – муфта упругая, 3 – редуктор планетарный, 4 – цепная передача, 5 – звёздочка с тяговой цепью.
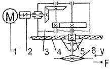
2.
Спроектировать привод к цепному конвейеру по схеме (рис. 2) при исходных данных (таблица исходных данных): окружная сила на тяговой звёздочке F
,
скорость тяговой цепи v, шаг тяговой цепи рц
,
число зубьев на тяговой звёздочке z, срок службы – L
лет.

Рис. 2.
Кинематическая схема привода к цепному конвейеру: 1 -электродвигатель, 2 — ременная передача, 3 - редуктор соосный вертикальный, 4 - муфта компенсирующая, 5 -звёздочки с тяговой цепью
3.
Спроектировать привод к цепному подвесному конвейеру по схеме (рис. 3) при исходных данных (таблица исходных данных): окружная сила на тяговой звёздочке F
,
скорость тяговой цепи v, шаг тяговой цепи рц
, число зубьев на тяговой звёздочке z, срок службы - L
лет.

Рис. 3.
Кинематическая схема привода к цепному подвесному конвейеру: 1 -электродвигатель, 2 - муфта упругая, 3 -редуктор коническо-цилиндрический с вертикальным выходным валом, 4 - перекрытие, 5 — муфта компенсирующая, 6 — звёздочка с тяговой цепью
4.
Спроектировать привод к цепному подвесному конвейеру по схеме (рис. 4) при исходных данных (таблица исходных данных): окружная сила на тяговой звездочке F
,
скорость тяговой цепи v, шаг тяговой цепи рч
, число зубьев на тяговой звездочке z, срок службы - L
лет.

Рис. 4.
Кинематическая схема привода к цепному подвесному конвейеру: 1 — электродвигатель, 2 - ременная передача, 3 - редуктор червячный, 4 -перекрытие, 5 - муфта компенсирующая, 6 - звездочка с тяговой цепью
5.
Спроектировать привод к ленточному конвейеру по схеме (рис. 5) при исходных данных (таблица исходных данных): окружная сила на барабане F
,
скорость ленгы v, диаметр барабана D
(400 мм),
срок службы - L
лет.

Рис. 5.
Кинематическая схема привода к ленточному конвейеру: 1 -электродвигатель, 2 - муфта упругая, 3 -редуктор соосный, 4 - цепная передача, 5 -барабан с лентой.
3.2. Варианты
исходных данных для расчётов приводов
|
Варианты исходных данных
|
Параметры
|
| Окружная сила
F, кН
|
Скорость тяговой цепи
V, м/с
|
Шаг тяговой цепи
Рц,
мм
|
Число зубьев тяговой звёздочки
Z
|
Срок службы
L, лет
|
| 1
|
10
|
0,75
|
160
|
7
|
5
|
| 2
|
18
|
0,7
|
125
|
8
|
4
|
| 3
|
14
|
0,9
|
125
|
9
|
6
|
| 4
|
16
|
0,6
|
160
|
8
|
5
|
| 5
|
20
|
0,5
|
100
|
10
|
7
|
| 6
|
15
|
0,8
|
80
|
12
|
4
|
| 7
|
25
|
0,7
|
100
|
8
|
6
|
| 8
|
10
|
0,6
|
125
|
9
|
5
|
| 9
|
8
|
0,8
|
160
|
7
|
7
|
| 10
|
6
|
0,85
|
100
|
8
|
6
|
| 11
|
25
|
0,35
|
100
|
7
|
4
|
| 12
|
22
|
0,4
|
125
|
8
|
6
|
| 13
|
20
|
0,45
|
160
|
6
|
7
|
| 14
|
18
|
0,5
|
80
|
12
|
5
|
| 15
|
14
|
0,6
|
100
|
9
|
4
|
| 16
|
26
|
0,55
|
125
|
10
|
6
|
| 17
|
28
|
0,5
|
160
|
7
|
5
|
| 18
|
30
|
0,45
|
80
|
12
|
7
|
| 19
|
15
|
0,4
|
100
|
10
|
5
|
| 20
|
10
|
0,35
|
125
|
11
|
4
|
4. ЗАЩИТА КУРСОВОГО ПРОЕКТА
Если представленный проект удовлетворяет всем указанным требованиям, он допускается к защите, о чем преподаватель делает соответствующую надпись на его чертежах и пояснительной записке. Защита проекта является завершающим этапом проектирования.
Во время защиты проекта студент докладывает содержание задания и пути его выполнения в курсовом проекте, а также отвечает на вопросы преподавателя. Доклад и ответы должны быть четкими, краткими, исчерпывающими.
Студенты должны, прежде всего, хорошо разбираться в выполненном ими курсовом проекте, т.е. уметь объяснить устройство и назначение спроектированного привода; мотивированно обосновывать принятые конструктивные и технологические решения, выбор материалов, термообработок и критериев работоспособности деталей и узлов, методов расчета, расчетных зависимостей и пр. Они должны четко представлять значение каждой линии чертежей проекта, каждой подробности конструкции и расчета, уметь объяснить порядок сборки привода, последовательность передачи нагрузки с одной детали на другую и т.д.
Защищая проект, студенты показывают свои знания не только в области проектирования деталей машин, но и по другим дисциплинам: машиностроительному черчению, сопротивлению материалов, технологии металлов, металловедению и термообработке, теории механизмов и машин, теоретической механике, нормированию и др. Эти знания также учитываются при оценке защиты проекта.
5. ЛИТЕРАТУРА
1. Дунаев П.Ф. Конструирование узлов и деталей машин: Учебное пособие для студентов технических специальностей вузов, - М: Издательский центр «Академия», 2003;
2. Ерохин М.Н. Детали машин и основы конструирования, - М: КолосС,2004;
3. Иванов А.С. Конструируем машины шаг за шагом в двух частях, - М: Издательство МГТУ им. Н.Э. Баумана,2003;
4. Иванов М.Н., Финогенов В.А. Учебник для машиностроительных специальностей вузов, - М: Высшая школа, 2003;
5. Клоков В.Г. Детали машин: Учебное пособие, - М: МГИУ, 2001;
6. Шейнблит А.Е. Курсовое проектирование деталей машин: Учебное пособие, - Калининград: «Янтарный сказ», 2003;
7. Шелофаст В.В. Основы проектирования машин, - М: Издательство АПМ, 2005.
Приложение

ФЕДЕРАЛЬНОЕ АГЕНТСТВО ПО ОБРАЗОВАНИЮ
ФИЛИАЛ ГОУ ВПО МОСКОВСКОГО ГОСУДАРСТВЕННОГО
ИНДУСТРИАЛЬНОГО УНИВЕРСИТЕТА
В Г. ВЯЗЬМЕ СМОЛЕНСКОЙ ОБЛАСТИ
ПОЯСНИТЕЛЬНАЯ ЗАПИСКА
К КУРСОВОМУ ПРОЕКТУ
Дисциплина: «Детали машин и основы конструирования».
Специальность: 190201 «Автомобиле- и тракторостроение»
Группа:
 Студент:
Преподаватель: к.т.н. Осипян В. Г.
2008
Для заметок
|