| Федеральное агентство по образованию
Государственное образовательное учреждение
высшего профессионального образования
«Ивановский государственный энергетический университет
имени В.И. Ленина»
Кафедра отечественной истории и культуры
Учебно-информационный центр гуманитарной подготовки
ПИШЕМ «ИСТОРИЮ СЕМЬИ»
Методические указания
к работе над родословной
Иваново 2007
Составитель О.Е. БОГОРОДСКАЯ
Редактор Г.А. БУДНИК
В издании представлены методические рекомендации по выполнению творческого задания (написанию истории семьи), которое выполняется студентами ИГЭУ при изучении курса отечественной истории. Также приводятся примеры выполнения всех заданий – выдержки из студенческих работ «История моей семьи», даются список литературы, связанной с написанием родословной, адреса сайтов по проблемам генеалогии.
Список литературы составлен Е.В. КОЗУЛИНОЙ, адреса сайтов по генеалогии – А.С. СИРОТКИНЫМ.
РЕЦЕНЗЕНТ
кафедра отечественной истории и культуры Государственного образовательного учреждения высшего профессионального образования «Ивановский государственный энергетический университет имени В.И. Ленина»
Методические указания утверждены цикловой методической комиссией факультета экономики и управления.
БОГОРОДСКАЯ Ольга Евгеньевна
ПИШЕМ «ИСТОРИЮ СЕМЬИ»
Методические указания к работе над родословной
Редактор Н.Н.Ярцева
Лицензия ИД № 05285 от 4 июля 2001 г.
Подписано в печать Формат 60х84 1/16
Печать плоская. Усл. печ.л. 3,95 Уч. изд. л. 4,5
Тираж экз.
ГОУВПО «Ивановский государственный
энергетический университет имени В.И.Ленина».
Отпечатано в РИО ИГЭУ
153003, г.Иваново, ул. Рабфаковская, 34.
Уважаемые первокурсники!
В ИГЭУ на кафедре отечественной истории и культуры сложилась традиция: все наши студенты при изучении курса «История России» составляют свою родословную – пишут историю своей семьи. Выполнение этого творческого задания преследует различные цели.
Прежде всего, работа над родословной – это определенный способ расширения и углубления ваших знаний по отечественной истории. Вы знаете, что при изучении истории в школе, а затем на вузовских лекциях и семинарах традиционно обсуждаются проблемы макроуровня российской истории (политика, экономика, социальные отношения, общественные движения и т.д.). Но в конечном итоге история государства начинается с истории жизни и деятельности отдельных личностей, семей, из которых складываются социальные группы, сословия, классы, являющиеся главными движущими силами «большой» истории. Изучая историю своей семьи, вы неизбежно будете обращаться к основным этапам, событиям и явлениям истории России XX века, зачастую переосмысливая их, а иногда и узнавая что-то заново. Первые пятилетки, коллективизация и индустриализация, Великая Отечественная война, хрущевская «оттепель», перестройка и т.д. – все это, так или иначе, отразилось в судьбах ваших родных людей. Исторический материал как будто оживает, наполняется близкими и понятными героями (бабушками, дедушками, тётями и др.) и событиями и потому становится более доступным и интересным.
Забиваем Сайты В ТОП КУВАЛДОЙ - Уникальные возможности от SeoHammer
Каждая ссылка анализируется по трем пакетам оценки: SEO, Трафик и SMM.
SeoHammer делает продвижение сайта прозрачным и простым занятием.
Ссылки, вечные ссылки, статьи, упоминания, пресс-релизы - используйте по максимуму потенциал SeoHammer для продвижения вашего сайта.
Что умеет делать SeoHammer
— Продвижение в один клик, интеллектуальный подбор запросов, покупка самых лучших ссылок с высокой степенью качества у лучших бирж ссылок.
— Регулярная проверка качества ссылок по более чем 100 показателям и ежедневный пересчет показателей качества проекта.
— Все известные форматы ссылок: арендные ссылки, вечные ссылки, публикации (упоминания, мнения, отзывы, статьи, пресс-релизы).
— SeoHammer покажет, где рост или падение, а также запросы, на которые нужно обратить внимание.
SeoHammer еще предоставляет технологию Буст, она ускоряет продвижение в десятки раз,
а первые результаты появляются уже в течение первых 7 дней.
Зарегистрироваться и Начать продвижение
Составление родословной содействует сохранению исторической памяти. С каждым ушедшим годом и с каждым ушедшим человеком часть истории невосполнимо утрачивается. К сожалению, советский период нашей истории не способствовал сохранению многих фактов в жизни большинства семей. «Непролетарское» происхождение, раскулачивание, репрессирование кого-то из членов семьи, пребывание в плену в годы Великой Отечественной войны и многое другое скрывалось, замалчивалось. И выросли поколения, не знающие истории своего рода. В процессе работы над родословной вы столкнетесь с тем, что многие сведения о жизни ваших предков утрачены безвозвратно. В редких семьях сохранились подробные, достоверные данные о ваших прапрадедах, не говоря уж о более далеких от нас поколениях. Очень немногие семьи могут похвастаться тем, что имеют написанную историю рода. Сохраните то, что пока еще можно сохранить. Каждый человек, выросший в семье, впитывает ее традиции и устои и таким образом не только генетически, но и исторически связан с корнями своего рода. В отрыве от своих родовых корней нельзя постичь собственное «я», ощутить свою принадлежность к нации и стране, без чего невозможна созидательно - активная позиция по отношению к ним.
Работа над историей семьи формирует и определенные навыки самостоятельной деятельности. В данном случае к их числу относятся умения осуществлять поиск необходимой исторической информации, содержащейся в устных рассказах родственников, различных документах (письмах, дневниках, газетных статьях и т.п.) и специальной литературе, систематизировать полученный материал, составлять авторский текст, делать обобщения и выводы, выполнять литературную обработку написанного и т.д.
Сервис онлайн-записи на собственном Telegram-боте
Попробуйте сервис онлайн-записи VisitTime на основе вашего собственного Telegram-бота:
— Разгрузит мастера, специалиста или компанию;
— Позволит гибко управлять расписанием и загрузкой;
— Разошлет оповещения о новых услугах или акциях;
— Позволит принять оплату на карту/кошелек/счет;
— Позволит записываться на групповые и персональные посещения;
— Поможет получить от клиента отзывы о визите к вам;
— Включает в себя сервис чаевых.
Для новых пользователей первый месяц бесплатно.
Зарегистрироваться в сервисе
Работа над родословной ведется в течение целого семестра поэтапно. Итоговая оценка за нее засчитывается как оценка за второй промежуточный контроль (ПК-2).
Необходимо подчеркнуть, что в конечном итоге все работы возвращаются авторам.
Мы, преподаватели, твердо убеждены, что большинство «историй», написанных студентами, достойны того, чтобы хранить их в семейном архиве.
Если по каким-то объективным причинам невозможно написать историю семьи, то тогда вы получите от преподавателя индивидуальное аналогичное задание.
Прежде чем начинать работу над историей семьи, внимательно ознакомьтесь с приведенными ниже требованиями и рекомендациями.
В приложениях № 1 – 5
вы найдете примеры выполнения всех заданий – выдержки из студенческих работ «История моей семьи».
В приложении № 6
дан список всей литературы, связанной с написанием родословной, а в приложении № 7
– адреса сайтов по проблемам генеалогии.
В описании основных этапов работы вы найдете ссылки на все эти приложения.
Основные этапы работы над родословной
На первом этапе
нужно собрать информацию о своей семье: опросить родителей, родственников.
На что при этом обратить внимание? Конечно, прежде всего, на основные биографические данные. Однако следует помнить, что история семьи – это не только и не столько изложение этих кратких биографических сведений («родился – женился – работал»). Это, по возможности, более или менее пространный рассказ о жизни конкретной семьи в контексте истории страны. Каждый человек, каждая семья, живя в конкретную историческую эпоху, с ней неминуема связана. Каждый из ваших близких и далеких предков – участник определенных исторических событий. Как отразились эти события на судьбах родственников? Что они пережили? Как относились к происходящему? Как менялся их быт и окружающий мир? Ответы на эти и другие вопросы позволят вам «вписать» историю семьи в контекст истории страны, без чего в свою очередь невозможно достижение целей, поставленных перед данной работой.
Следует обратить внимание на характеристики людей, семейные устои и традиции. Соберите семейные легенды и интересные истории из жизни своих предков. Проведите поиск документов (разнообразных свидетельств, писем, фотографий и т.д.), которые хранятся в семейных архивах и которые могут помочь выяснить некоторые детали прошлого семьи.
Работа над родословной, без сомнения, – работа семейная, коллективная. Обратитесь за помощью к вашим родителям, бабушкам и дедушкам, другим родственникам. Побуждайте их к рассказам, задавайте наводящие вопросы, уточняйте детали. От вашей активности во многом зависит успех сбора материала, а значит и сохранение семейной истории.
На втором этапе
необходимо систематизировать собранный материал, написать историю своей семьи и выполнить все задания к родословной.
В итоге ваша работа должна состоять из следующих частей.
1. История семьи.
Рассказ. Это самая важная и трудная часть работы.
Текст пишется на основе собранного материала в вольной форме. Лучше начать свой рассказ с самого «древнего» из «найденных» в вашем роду предков. Изложение можно вести по поколениям или по родовым «фамильным» линиям. Вам предоставляется выбор в решении вопроса о том, насколько широко представить свое семейное древо: только по прямой линии (вы, родители, бабушки-дедушки и т.д.) или рассказать обо всех родственниках и свойственниках (дяди, тети, сестры, братья и т.д.).
Невозможно дать точный ответ на вопрос, который часто задают преподавателям при выполнении этого задания студенты: сколько нужно написать? Родословная – дело индивидуальное. Объем информированности в каждой семье различен. Опыт работы показал, что чаще всего семейная память ограничена сведениями о 4 – 5 поколениях, то есть фактически – это история семьи в ХХ веке. Но бывает, что даже о поколении бабушек и дедушек почти нет данных. Иногда у студентов нет возможности рассказать одинаково подробно обо всех линиях рода. Например, материнская линия представлена достаточно точно и пространно, а отцовская – кратко (или наоборот). Что ж, еще раз повторим: это индивидуальная работа. Поэтому главное не количество страниц, а тщательность сбора и обработки материала. Помните, что вам надо «вписать» историю семьи в историю страны, постараться через биографии близких отразить какие-то специфические признаки, колорит той или иной исторической эпохи.
Вы можете оформить свою работу фотографиями (подлинными и ксерокопированными) ваших родных и близких, различными документами из семейного архива (письма, свидетельства, справки, грамоты, трудовые книжки и т.д.). Только отнеситесь к документам бережно. Используйте возможности их сканирования и ксерокопирования.
В приложении № 1
вы можете ознакомиться с выдержками из студенческих работ, которые представлены как пример рассказов об истории семьи или об отдельных представителях фамилий.
В приложении № 8
приводится краткий словарь наименований и понятий родства кровного и свойства, справочные материалы которого вы, возможно, будете использовать не только при написании истории своей семьи, но и при выполнении следующего задания.
2. Генеалогическое древо.
После сбора и обработки всего материала по истории семьи вам надо вычертить свое генеалогическое древо. Как это делается, показано в образцах, представленных ниже, в приложении № 2
. Следует заметить, что и при выполнении этого задания у вас есть выбор: вы можете на своем родовом древе разместить только прямых предков, а можете показать все многообразие родственных связей, что, конечно, интереснее, но и труднее.
3. С помощью соответствующей литературы нужно установить происхождение и значение всех фамилий, фигурирующих в вашей истории семьи.
При выполнении этой работы по ономастике[1]
вы обращаетесь к различным словарям: специальным, объясняющим этимологию фамилий[2]
, а также словарям иностранных слов, этимологическим, «Толковому словарю живого великорусского языка» В.И.Даля и другим, в которых можно найти и расшифровать значение слова (корня слова), от которого происходит та или иная фамилия. Списки соответствующей литературы представлены в приложении № 6.
Если у вас в семье существуют предания о том, как произошла та или иная фамилия, то можете записать семейную легенду.
Покажем на примерах, как выполнять это задание.
Пример 1.
Фамилия Кокшаров(а).
Проверяем, есть ли данная фамилия в различных изданиях специальных этимологических словарей (приложение № 6). Все фамилии в подобных изданиях расположены по алфавиту, что существенно облегчает поиск.
Находим (может быть, просмотрев несколько различных изданий) расшифровку происхождения данной фамилии в работе И. М. Ганжиной «Словарь современных русских фамилий»: «Кокшаров – из отчества от наименования отца «кокшар» – пришелец с реки Кокшеньга (бассейн Северной Двины)». [3]
Фамилия Смоктунов(а).
Находим значение фамилии в работе Ю. А. Федосюка «Русские фамилии: популярный этимологический словарь»: «Смоктун – тот, кто имеет привычку смоктать, то есть причмокивать языком». [4]
Пример 2.
Фамилия Курников(а).
Просмотрев все возможные словари фамилий, мы не нашли то, что искали. Пробуем продолжить поиск происхождения и значения фамилии, вычленив корень – «-курн-». Находим в «Толковом словаре живого великорусского языка» В.И.Даля: «Курна – сибирский черногруд, крупный хорь Южной Сибири, с кошку, зовут его и дикой кошкой». Исходя из этого, можно предположить, что от названия этого животного и произошла фамилия Курников.[5]
Фамилия Лобурь.
Вновь поиск в этимологических словарях фамилий ничего не дал. Зато в статье «Лоб» у В.И.Даля находим: «Лобурь – угрюмец, брюзгач, кто глядит исподлобья. Лобурить(ся) – морщиться, ворчать, глядеть исподлобья». [6]
Точно так же по корню слова можно провести поиск его значения в словаре иностранных слов или этимологическом словаре.
Обратите внимание на то, что в списке литературы, рекомендованной для выполнения этого задания (приложение № 6
), указаны только те издания, которые есть в библиотеке ИГЭУ. Это не исключает использование другой соответствующей литературы.
Кроме того, много материалов по ономастике содержится на различных сайтах. Список наиболее интересных и крупных из них приведен в приложении № 7.
В приложении № 3
приведены отрывки из студенческих работ, в которых устанавливается происхождение и значение фамилий.
4. Поиск однофамильцев, то есть поиск первого упоминания фамилий
(всех, которые фигурируют в родословной, а не только личной) и выяснение, когда и в связи с какими событиями эти фамилии впервые появляются в письменных источниках. При выполнении этого задания вы также работаете с литературой, указанной ниже (приложение № 6
) и материалами сайтов (приложение № 7
).
Покажем на примерах, как возможно провести поиск первого упоминания фамилии.
Пример 1.
В некоторых случаях первое упоминание фамилии можно обнаружить в тех книгах, по которым вы ведете поиск происхождения и значения фамилии (задание 3).
Допустим, фамилия Сальников(а).
В «Словаре современных русских фамилий» И.М.Ганжиной читаем: «Сальников – из отчества от наименования по занятию – тот, кто занимается вытопкой сала в салотопне (сальне) и продажей его. Фамилия и отчество зафиксирована в документах ХVII века: Иван Сальников, верхотурский таможенный голова, 1667 г.»[7]
Или фамилия Клюев(а).
В «Словаре русских фамилий» В.А.Никонова указывается: «Отчество от прозвища или нецерковного мужского личного имени Клюй,
подтвержденного документально: в 1638 г. по Москве был записан Гаврило Клюй. В 1678 г. – сибирский казак Бориско Клюев…»[8]
Пример 2.
В этимологических словарях нет информации о первом упоминании фамилии.
Берем том XV из собрания сочинений С.М.Соловьева.[9]
В нем есть указатель имен (прозвищ, фамилий), которые встречаются на страницах знаменитой работы историка – «История России с древнейших времен».
Например, фамилия Гундоров(а).
В указателе имен находим, что данная фамилия упоминается в томе lV на странице 12. Берем данный том и читаем текст на указанной странице. Из него становится ясно, что Гундоровы – князья, которые были потомками князей Стародубских. Упоминается эта фамилия в связи с духовной грамотой Ивана Грозного середины ХVI в., по которой отнимались вотчины у потомков Стародубских князей, в том числе и у Гундоровых.[10]
Или фамилия Виноградов(а).
В указателе имен находим, что данная фамилия упоминается в томе Х, стр. 506 и томе ХII, стр. 171. Выбираем более раннее известие о человеке с фамилией Виноградов. В томе Х на соответствующей странице находим известие о том, что в 1735 году из московских школ было выбрано 12 человек для обучения в школе при Академии наук. Из них двое - Ломоносов и Виноградов - были отправлены в Германию для обучения естественным наукам.[11]
Следовательно, первое упоминание фамилии Виноградов связано с человеком, который в 30-е годы ХVlll века был учащимся (студентом).
В своем поиске первого упоминания фамилии (однофамильцев) обратите внимание на различные биографические словари и энциклопедии (список литературы – приложение № 6
).
Большой материал содержится в книге С. Веселовского «Ономастикон. Справочник по именам, прозвищам, фамилиям северо-восточной Руси ХV – ХVII вв.» (М., 1968). К сожалению, сама книга стала практически библиографической редкостью, но ее можно посмотреть в электронном варианте (генеалогия в Интернете – приложение 6
).
Примеры выполнения задания по поиску первого упоминания фамилии (однофамильцев) студентами приведены в приложении 4.
Помните, что при выполнении третьего и четвертого заданий большую помощь вам окажет вузовская библиотека. Ее сотрудники на протяжении ряда лет тщательно подбирают все необходимые издания, число которых постоянно пополняется, а состав обновляется.
5. Заключение.
После того, как все задания выполнены, вам предстоит написать заключение, в котором вы попробуете порассуждать на тему о том, какой смысл вы увидели в данной работе, вызвала ли она интерес и понимание в вашей семье, узнали ли вы что-то новое для себя, с какими трудностями вы столкнулись.
Посмотрите в приложении № 5
, как рассказывают о своих впечатлениях от данной работы те студенты, которые уже написали свои родословные и выполнили все задания к ним.
Итак, в работе студентов «История моей семьи» должно быть пять частей.
В ходе работы
над родословными для студентов в течение семестра проводятся индивидуальные и групповые консультации. На тех факультетах, где предусмотрены занятия, обозначенные в учебном расписании как «Самостоятельная работа студентов под контролем преподавателя» (п/к) [12]
, консультации проводятся в эти часы. Там, где их нет, время определяет преподаватель по согласованию с вами.
На завершающем этапе работы
над историей семьи кафедрой отечественной истории и культуры совместно с гуманитарным центром ИГЭУ традиционно проводится студенческая межфакультетская конференция «История страны в истории семьи», на которой бывают представлены студенческие доклады – полноценные научные сообщения, ведь это итог изучения учащимися исторических источников, которыми являются не только документы семейных архивов, но и устные рассказы очевидцев, помогающие реконструировать детали событий и дух времени. Студенческая конференция, как, впрочем, и вся работа над родословными, открывает широкие возможности для обсуждения через судьбы людей различных проблем истории страны.
Приложение № 1
«История моей семьи»
Выдержки из студенческих работ[13]
. . .
Из работы Марии Спирякиной
«Моя мама родилась в городе Иваново, в семье рабочих в 1952 году.
Ее мать работала ткачихой на фабрике имени Кирова. Таня росла послушной девочкой, хорошо училась в школе. Основными увлечениями мамы были книги и коньки. Она много читала произведений классической литературы, современных произведений, а также молодёжные газеты и журналы. В советские времена среди молодежи были очень популярны спортивные секции. Мама с одноклассниками посещала конькобежную секцию на стадионе «Спартак».
В 1969 году Таня закончила десятый класс 32-ой школы и поступила в ИЭИ на ЭЭФ.
За время обучения в энергоинституте в её жизни было много интересных событий. Например, сельхозработы (колхоз). На первом курсе сельхозработы начинались с 20 августа и продолжались до 15 октября. 20 августа десятка два автобусов повезли студентов 1 курса от стен корпуса «Б» ИЭИ в Ильинский район. Мамину группу довезли до села Аньково. Там пересадили на грузовик и, невзирая на правила перевозки людей и технику безопасности, с ветерком доставили до деревни Голениха. Деревня состояла из нескольких домов. Таню и ещё шесть однокурсников поселили на окраине деревни к пожилой женщине. Приходилось ежедневно рано вставать и идти на поле. Студенты убирали зерно, складировали его, сортировали, лопатили – перекидывали деревянными лопатами рожь или пшеницу по нескольку десятков тонн в день. В сентябре начиналась уборка картофеля. Убирали вручную. Норма в день – собрать 40 мешков картошки. Поначалу было трудно, а потом норму выполняли и перевыполняли. Несмотря на усталость, вечером все шли в деревенский клуб. Это был просторный дом, где собиралась местная молодёжь, солдаты, студенты. Пели песни, смотрели телевизор, танцевали. Было очень весело.
На последующих курсах сельхозработы проходили примерно так же. Уезжали 1 сентября и возвращались 1 октября. За время «колхоза» Тане пришлось поработать много и на комбайнах, и на сортировках, и с лопатами, и вручную, т.е. «колхоз» был для всех студентов хорошей жизненной школой. В трудностях формировался характер, хорошо проявлялись положительные и отрицательные черты, завязывалась дружба, которая сохраняется всю жизнь. Съев вместе «пуд соли» с печёной прямо на поле картошкой, молодые люди становились друзьями до конца дней. У мамы сложилось впечатление, что самая крепкая дружба бывает только в студенческие годы.
В советские времена во всех вузах страны были организованы студенческие строительные отряды (ССО). Это было мощное молодёжное движение, направленное на укрепление народного хозяйства страны. ССО возводили коровники, жилые дома, школы, больницы, фабрики, заводы. Участвовать в ССО было престижно. В ИЭИ в числе других был создан студенческий строительный отряд «Энергия», который занимался строительством воздушных линий электропередач. В этот отряд брали в основном парней, а девушек отправляли на юг страны убирать фрукты и овощи, а также в Астрахань убирать арбузы. Моя мама ездила старостой такого отряда в город Сочи после второго курса. Это была замечательная поездка. Сочи был одним из лучших курортов страны, в котором много ресторанов и кафе, для которых участники ССО ИЭИ работали на плодоовощных базах. Работали через день, разбирали абрикосы, яблоки, апельсины, лимоны, капусту, варили томатную пасту, солили огурцы. В свободные от работы дни для студентов были организованы автобусные экскурсии по Кавказу.
Кроме колхозов и ССО, были практики на ИвТЭЦ-2, Ново-Заинский ГРЭС (Камаз), Костромской ГРЭС, Ярославской ТЭЦ-3, где студенты ИЭИ постигали азы производства электроэнергии, а также приобщались к физическому труду.
Мама всегда любила путешествовать, много ездила в разные города во время каникул и в праздничные дни, по путёвкам и в гости. По окончании института она увлеклась туризмом. Самым сложным и увлекательным путешествием был переход через кавказский ледник Гезе-Вцек, высота которого составила 1458 метров над уровнем моря. Предварительно пришлось много тренироваться, ходить в горы с рюкзаком на плечах. Несмотря на все трудности этих походов, всё было очень интересно. Мама воочию познакомилась с кавказскими городами, обычаями, культурными центрами, природой гор и солнечной Грузии.
По окончании ИЭИ мама распределилась на работу в город Конаково в энерготехникум преподавателем».
. . .
Из работы Елены Тесленко
«Мой прадедушка Черкасов Даниил Сергеевич родился в 1898 году в селе Ближнее Стояново в многодетной небогатой казацкой семье, состоящей из девяти детей. Он был третьим ребенком в семье. Хотя земельные наделы давали по количеству мужчин в семье, но обрабатывать их было практически нечем, и приходилось идти батрачить к более богатым односельчанам. Поэтому учиться было некогда и не на что, надо было зарабатывать на жизнь и дать возможность обучиться хоть кому-то из семьи: меньшим братьям Якову и Павлу.
По своему социальному положению Черкасовы относились к казачеству, а поэтому должны всегда стоять на защите Отечества, и, следовательно, с началом Первой мировой войны Даниил Сергеевич был призван в армию. До 1916 года находился в резервном конном полку Западного фронта, а в 1916 году принял участие в знаменитом Брусиловском прорыве. За героизм и доблесть присвоено звание унтер-офицера и награжден Георгиевским крестом. После Октябрьской революции 1917 года перешел в ряды Красной армии и в составе Первой Конной Армии под командованием маршала С.М. Буденого принимал участие во многих боях и сражениях гражданской войны. Как бывшего казака царской армии наградами его больше не жаловали.
После окончания гражданской войны, в 1921 году, вернулся в родное село. Здесь снова пришлось все начинать с начала: восстанавливать свое хозяйство, работать в поте лица, чтобы не умереть с голоду. В 1922 году женился на зажиточной казачке Казачковой Устинье Ивановне, и в 1924 году у них родился сын Яков, а в 1930 – дочь Мария. Началось объединение единоличных хозяйств в колхозы и совхозы. Пришлось вести в колхоз единственную корову и коня – символ казацкой вольности и богатства, а также весь мелкий скот. Недовольство многих пресекалось сразу: более зажиточные тут же раскулачивались и отправлялись в Сибирь и на Соловецкие острова. Тяжело складывалась жизнь, но еще тяжелее она стала с началом Великой Отечественной войны. Практически все взрослое мужское население было мобилизовано в армию. В возрасте 43 лет Даниил Сергеевич был призван уже на третью свою войну и отправлен опять на Западный фронт. После короткой военной подготовки в сентябре 1941 года вступили в бой под Брянском, где в составе армии был окружен и взят в плен. Не желая подчиняться врагу, Даниил Сергеевич решил бежать из плена. Две попытки оказались неудачными, и лишь третья, весной 1942 года, привела к желаемой цели. Но долгим оказался путь домой по родной территории, занятой фашистскими оккупантами. Только в начале августа 1942 года смог он добраться домой от лагеря в Смоленской области до родного села в Воронежской области. Пройдя более 1000 км пешком, прадедушка, весь заросший, как седой старец, ступил на порог родного дома, на днях занятый врагом. Пришлось и дома прятаться от фашистов. В феврале 1943 года, после освобождения села от захватчиков и проверки органами НКВД, прадед был оставлен в селе и назначен председателем колхоза. На этой должности он трудился до 1953 года, потом был переизбран и работал на конюшне, а позже сторожем на колхозных полях.
Пройдя три войны, имея ряд наград за мужество и героизм, Даниил Сергеевич не имел ни одного ранения. Он всегда отличался сдержанностью, справедливостью и трудолюбием. Даниил Сергеевич не любил вспоминать бои и говорил, что очень тяжело на душе после сражения, когда видишь сколько полегло молодых ребят. А вот трудиться он очень любил и всегда говорил: «Не словами красен человек, а делами своими». За это он и пользовался уважением сельчан».
. . .
Из работы Алексея Фомина
«Биография моей семьи довольно необычна. Она похожа на красивую сказку. Между тем это действительная история.
Моя прабабушка по маминой линии была итальянкой, а прадед – наследником огромного дворянского состояния. Их брак был бы счастливым, если бы не сталинские репрессии. А произошло это так.
В середине 70-х годов XIX столетия молодой человек по имени Антон Пратто, живший в Неаполе, встретил молодую немку Элеонору. Молодые люди полюбили друг друга и через 2 года после первой встречи обвенчались. Родственники Антона невзлюбили его молодую жену, но были вынуждены принять её в свою семью.
Через несколько лет в семье Антона и Элеоноры появилось 4 детей: 2 мальчика и 2 девочки. Когда младшему ребёнку было 5 лет (в 1899 году), Антона представили богатому русскому князю, который приехал отдыхать в Италию. Пратто понравился князю, и он взял Антона к себе в управляющие. С этого момента в семье Пратто начинается новый этап в жизни. Они переезжают в Россию, в Санкт-Петербург. Антон начинает вести все дела князя, жена занимается домашними делами, а дети учатся в русских гимназиях.
Проходят годы, дети вырастают и начинают работать.
И вот наступает 1914 год. Начинается Первая мировая война. Мальчики Пётр и Александр (в воспоминаниях сохранились только русские имена мальчиков, но очевидно, что жили они не в России) были мобилизованы как граждане Италии и начали воевать против Антанты (Пётр погиб на этой войне). Девочки Ольга и Катрин остаются вместе с матерью в России.
В 1915 году семью Пратто постигает трагедия: погибает отец семейства – Антон. Занимаясь делами князя, он путешествовал на корабле из России в Данию. Корабль попал в зону военных действий и был потоплен. После гибели мужа Элеонора возвращается на свою родину в Германию, так как семье князя она не нужна, девочки выросли и начинали самостоятельную жизнь, а в семье мужа её не любили. Её дальнейшая судьба неизвестна.
Теперь обратимся к судьбе младшей из дочерей Антона Пратто – Катэ или Катрин.
После гибели отца и отъезда матери, двадцатишестилетняя Катрин была приглашена в качестве гувернантки в усадьбу графа Александра Боярского, генерала царской армии. В семье Боярских было 6 детей. Катэ была нанята для обучения французскому языку младшего ребёнка в семье, пятилетнего Павлика. Но граф и не подозревал о том, что появление в семье молодой итальянки коренным образом изменит дальнейшую судьбу его старшего сына Алексея, который влюбился в гувернантку своего младшего брата. Молодые люди начали втайне от родителей встречаться. В конце 1916 года они обвенчались. Родители Алексея, узнав об этом столь неравном браке, выгнали молодую чету из дома и обещали лишить наследства.
Но через несколько месяцев грянула революция. Александр Боярский с семьёй был вынужден бежать за границу. В Петрограде остались только трое старших детей графа: Алексей, Ольга и Сергей Боярские.
Если заглянуть немного в будущее, то мы узнаем, что у Сергея в начале 50-х годов появился сын Миша, который впоследствии станет знаменитым актером Михаилом Боярским.
Ольга Боярская жива и по сей день. Сейчас она носит фамилию мужа Кринец и живет в Санкт-Петербурге в семье своего сына Павла. В августе ей исполнилось 97 лет.
Та же часть генеральской семьи Боярских, которая покинула родину, после долгих скитаний обосновалась во французском городе Лион. Часть их потомков выращивает виноградники и содержит винный погребок. Мои близкие и по сей день поддерживают связь с ними.
Ну, а что же было дальше с моим прадедом Алексеем и его молодой женой Катрин? После революции они осели в небольшом городе Новая Ладога Ленинградской области. Катрин, или Екатерина Анатольевна, начала работать учительницей, преподавая немецкий язык (5 языками: итальянским, немецким, французским, английским и русским – она владела в совершенстве, а также знала и другие европейские языки на разговорном уровне), а Алексей устроился на работу в банк бухгалтером. Вскоре, а если точнее в 1922 и 1925 годах, у них появились дети, Константин и Дмитрий, последний станет моим дедом.
Но счастье молодой семьи было недолгим. Наступил страшный 1937 год. Дед рассказывал, как поздно ночью к их дому подкатил чёрный «воронок». Люди в чёрном «перевернули» весь дом и увезли отца, Алексея Боярского. Неделю Катрин с детьми носили ему передачи, которые перекидывали через высокий забор с колючей проволокой.
Затем узника перевели в другую тюрьму. Его дальнейшая судьба неизвестна. Вероятно, он был осуждён по 58 статье как враг народа и расстрелян. Уже по прошествии многих лет брат репрессированного предположил, что, возможно, Алексея увезли потому, что в доме часто говорили на французском языке. Катрин было нужно как-то поддерживать знание языков. Немецкий язык она преподавала в школе, а на французском общалась с мужем. Это стоило жизни моему прадеду. Его приняли за французского шпиона.
В дни хрущевской «оттепели» Екатерина Анатольевна после обращения в архивы КГБ получила официальное уведомление о посмертной реабилитации мужа».
. . .
Из работы Ольги Коршуновой
«Тимофеева Надежда Николаевна родилась в Каунасе и жила там вместе с родителями до 5 лет. Потом Николай Петрович был переведен на службу в город Иваново, и семья переезжает на новое местожительство. Они были вынуждены снимать комнаты в различных районах города, переселяться с одного места на другое. В 1957 году часть, в которой служил мой дедушка, была расформирована, а Николай Петрович был демобилизован. Тимофеевым было предоставлено новое жилье – комнатка в коммунальной квартире на Сортировке. С этой комнатки и начинается сознательное детство моей мамы.
Одним из самых ярких маминых воспоминаний детства стала покупка соседями в 1960 году первого телевизора. Это новое изобретение человека было настоящим чудом для жителей маленького старого дома, где на двух этажах помещалось огромное количество народа. По вечерам весь дом собирался на квартире у этих людей, чтобы посмотреть один существовавший тогда канал. А хозяева относились к этому как к норме. В комнате, шумной и полной народу, жили своей жизнью: спали, если утром надо было рано вставать, ужинали, занимались домашними делами. И вообще, люди здесь, вспоминает мама, жили словно общиной, жителей объединяли не только стены дома, но и душевный настрой, будто все они были единым целым. Как будто бы общими были и дети, которых в доме жило очень много, за ними присматривали все взрослые, считая их своими. Здесь существовали и свои традиции. Летними вечерами взрослые, возвращаясь с работы, брали детей и большим табором направлялись к плотине в парк 1905 года, который называли по-старому Куваевским лесом. Там на траве расстилались большие покрывала, раскладывалась еда, одни шли купаться, другие – загорали на берегу. Эти годы оставили светлый след в памяти Надежды Николаевны.
Еще одно событие, которое мама вспоминает с радостью, произошло весной 1961 года, когда она училась в первом классе. Надежда училась в первую смену и к обеду была уже дома. В это время по радио сообщили о полете нашего космонавта Юрия Алексеевича Гагарина. Это, как известно, был первый полет человека в космос, и новость потрясла всех до глубины души. Тут же все, кто были дома, бросились к соседям смотреть телевизор, к которому уже нельзя было пробраться: так тесно сидел набившийся в комнату народ. Взрослые радовались как победе, будто именно теперь начинается новая жизнь, новая эпоха. И потом с каждым годом нарастало ощущение, что страна движется вперед в светлое будущее: такой сильный душевный настрой получили люди. Этот полет возбуждал в детях множество фантазий, они рисовали планеты, космос, космические корабли и, несомненно, в будущем представляли себя никем иным, как космонавтами. По возвращении Гагарина был снят репортаж о его полете, который смотрел весь дом, собравшись в маленькой комнатке вокруг телевизора. Его мама помнит до сих пор.
Затем наступили трудные неурожайные 1963 – 1964 годы. С прилавков магазинов исчез хлеб, люди выстаивали громадные очереди, чтобы получить буханку черного хлеба, а белый хлеб почти совсем невозможно было достать. Только в школе детям давали бесплатные пшеничные булочки. Надежда Николаевна всегда приносила эту маленькую, размером с нынешнюю городскую, булочку домой, которая часто была единственным хлебом в семье. Но мама не помнит, чтобы был голод, просто не было отдельных продуктов.
В целом же жизнь налаживалась. Мама заканчивает десятый класс, бабушка – вечернее отделение техникума. Дедушка в это время поступает в институт. После окончания школы, в 1970 году, Надежда Николаевна поступила в Ивановский Государственный Энергетический Университет на электромеханический факультет. В это время в Университете уже был установлен один из первых компьютеров. На эту ЭВМ было выделено два этажа, к ней никого не подпускали, кроме обслуживающего персонала, так как машина боялась сквозняков и перепадов температур. На ней моя мама делала необходимые для диплома расчеты. Для этого нужно было написать программу, сдать ее специальным работникам, которые запускали эту программу в ЭВМ, набивающую ее на перфокарты. Эти перфокарты долго хранились у нас дома.
После успешного окончания университета она по распределению уезжает в Подольск под Москву. За четыре года работы в Подольске она побывала на всех московских выставках, во всех музеях и театрах. Кроме того, Надежда Николаевна поступает на отделение искусства (этики – эстетики) института Марксизма – Ленинизма, куда приезжали читать лекции преподаватели московских вузов. Мама всегда очень любила искусство и старалась посетить все выставки, и, конечно, она не могла пропустить выставку приехавшего в Москву нью-йоркского музея «Метрополитен». Трое суток они с подругами стояли в очереди за билетами, сменяя друг друга. За это время люди в очереди все перезнакомились, сдружились. Многие, кто жил поблизости, приносили из дома стулья, раскладушки, термосы с чаем и супом. Они делились едой с соседями, предлагали им место рядом с собой на раскладушках. В общем, во всей очереди царил дух братства и единства.
Надежда Николаевна активно занималась общественной работой, была членом комсомольской организации, что давало ей возможность путешествовать. За этот период она побывала в Крыму, на Алтае, в Прибалтике, в Германии, проехала по Пушкинским местам. Это были так называемые «поездки выходного дня», когда группа уезжала в пятницу вечером и возвращалась вечером в воскресенье.
В 1979 году моя мама вернулась в Иваново. Нужно отметить, что первые пять лет после окончания института их группа ежегодно собиралась на встречи в Иванове, а через десять лет (т.е. в 1985 году) собрался и весь поток. С тех пор каждые пять лет около шестидесяти выпускников приезжают в Ивановский Государственный Энергетический Университет, чтобы повидаться друг с другом, пройти еще раз по знакомым коридорам, заглянуть в старые аудитории, где прошли их студенческие годы. В этом году они отметили тридцатилетие окончания института».
. . .
Из работы Михаила Сонина
«В отличие от меня и моих родителей, жизнь бабушки (да и деда) была довольно суровой и трудной. Бабушка – Августа Николаевна – родилась в деревне Есипово Ивановской области. В довоенное время жизнь всех простых людей не отличалась особым благополучием и разнообразием, но, несмотря на все тяготы и невзгоды, они умели радоваться, добивались успехов, растили и воспитывали детей.
Цитата из письма: "Хотя и трудной была наша жизнь, раздетой, голодной, все-таки мы учились. В школу ходили в 5 – 7 классы на расстояние 6 километров, а в 8 – 10 классы – на расстояние 13 километров, за спиной рюкзак с караваем хлеба, 3 литра молока на неделю, жили на квартире."
В 1950 году Августа Николаевна поступила в Учительский институт (в г. Шуя) на физико-математический факультет. В 1952 году окончила его и была направлена в Верхнеландеховский район, а оттуда – в Барановскую восьмилетнюю школу учителем физики и математики. Там она проработала 31 год. "За это время мы с детьми каждый год работали: копали картофель, собирали камни, веники вязали. В летние каникулы ухаживали за цыплятами, кроликами, огород пришкольный пололи, поливали, выращивали на зиму продукты. Все учителя были агитаторами, с детьми ставили концерты в клубе".
Да и домашнее хозяйство у неё было немалое: корова, овцы, телёнок, куры, поросята. Теперь, правда, остались лишь куры – годы дают о себе знать».
. . .
Из работы Елены Гавриловой
«Мать моего отца – Куликова Нина Ивановна, моя бабушка – родилась 20 октября 1929 года в селе Архангельском Лухского района Ивановской области, где вышла замуж. Из этого села выходят все мои родственники. Великую Отечественную войну она застала в 12 лет. Вот как она описывает военные, послевоенные и дальнейшие годы своей жизни: «Война. Отцов и братьев в селе призвали исполнять свой долг перед Родиной. Оставались женщины и дети 10-12 лет, и они-то и взяли весь груз на свои плечи. Дети уже работали в колхозе, вставали не по-детски рано и ложились поздно, боронили и катали посевные поля. Нам конюх запрягал лошадей, а чтобы мы не упали под каток, привязывали к сиденью веревкой. Дети теребили вручную лен, колотили его, затем настилали по лугам для лежки волокна. Воротили от молотилки солому, которую убирали в омета, пололи вручную поля льна и пшеницы, свеклы и капусты. Картошку сажали под копку, мотыжили вручную, очень много оставляли под зиму, а весной выкапывали, хорошо промывали и месили вместе с колокольцом и овсяной лузгой лепешки. Колоколец – это обмолоченные головки льна, отходы. Этим и питались. Ели все, что было только можно. Даже из речки ловили корни каких-то растений. Хлеба чистого не ели до 1943 года. Не хочется вспоминать все те слезы. Хорошо, что сажали много моркови, лука и картошки, но всего этого не хватало на год. Как только люди выполняли такую тяжелую работу? Ели и калачики из клевера, матрешки, щавель. В войну одна за одной шли похоронки в село, как переживали наши матери по мужьям, детям и отцам, сколько было пролито слез. Но не сломились сильные духом, трудолюбивые, скромные женщины, не бросили своих детей».
. . .
Из работы Анны Куликовой
«В ходе работы по написанию истории моей семьи я действительно многое поняла и сделала важные для себя выводы. К ним относится, в частности, осознание того, что каждая семья, пусть и в ничтожной мере, но влияет на историю, а история, в свою очередь, отражается в жизни этой же семьи. На примере жизни моих прадедов и дедов я как на ладони увидела, что историю целого государства делают не политики и знаменитые люди, а тысячи и миллионы простых рядовых жителей этого государства. Можно взять любой период истории России и проследить, как все события, происходящие в стране, отражаются в жизни моей семьи.
Так, например, дореволюционное время: конец XIX – начало XX века. Именно в 80-х годах XIX столетия в двух соседних деревушках Калиниха и Копони, ныне Нижегородской области, Ковернинского района, в разных семьях рядовых крестьян родились два мальчика и две девочки. Это были мои прадедушки и прабабушки по маминой линии. А мои корни по линии отца находятся в небольшом селе Жадинское Гаврило-Посадского района Ивановской области. Его предки, как и предки моей матери, также относились к крестьянскому сословию.
Как известно, конец XIX столетия – это время, когда после отмены крепостного права наиболее острым и насущным вопросом в стране был вопрос крестьянский. Положение крестьян, получивших такую долгожданную свободу, не стало легче. Мало того, жизнь самого многочисленного сословия страны была как никогда тяжелой. Об этом можно прочитать в любом учебнике, а подтверждение этому можно найти в реальных судьбах.
Итак, родители моей бабушки по линии матери – Гавриил и Екатерина Ермаковы – поженились в 1893 году и жили, как я уже упоминала, в деревне Калиниха Нижегородской области. Гавриил всегда выделялся особой живостью и хозяйственной хваткой. Он с огромным энтузиазмом вел свое хозяйство и вскоре стал одним из самых уважаемых и богатых людей в родной деревне. Однако мой прадед скорее является исключением из правил: как известно, крестьяне были в основном пассивны и не стремились к развитию своих хозяйств, а тех, кто хотел этого, крепко связывали община, малоземелье и множество других проблем, существовавших в деревне.
В 1898 году в соседней деревне Копони появилась еще одна новая семья – Назарычевых. Карп и Васена – это родители моего деда по линии матери. Нужно отметить, что эти небольшие деревушки, где спрятаны мои корни, находились в полнейшей глуши. Здесь еще были живы царистские иллюзии, то есть вера в доброго батюшку-царя, а также собственническая психология. К тому же практически все жители этих деревень к началу нового столетия оставались старообрядцами. Именно поэтому общественное движение второй половины XIX века никак не отразилось на жизни и сознании обывателей Копони и Калинихи. И этот факт касается в полной мере многих населенных пунктов нашей страны на рубеже веков, жители которых по-прежнему оставались темными и непросвещенными людьми.
Однако нельзя игнорировать тот факт, что новые идеи и мысли медленно, но проникали в деревню, и подтверждение этому можно найти в истории жизни еще двух семей – Куликовых и Сидоровых, в которых появились на свет мои дедушка и бабушка по линии отца. Так, например, отец моего прадеда – Андрей Сидоров (к сожалению, его отчество мне неизвестно) активно поддерживал большевистские идеи и во время революции покинул село Жадинское, где жил с рождения, уехал в Иваново-Вознесенск, откуда больше не вернулся. Однако, это уже более позднее время, когда жизнь в деревне становилась совсем невыносимой.
А причин для этого было очень много: община с ее круговой порукой сдерживала технический прогресс в сельском хозяйстве. Техника была примитивной, население росло быстро. Для примера: и у Ермаковых, и у Назарычевых было по четыре ребенка, и это далеко не крайняя цифра для того времени. Это означало острую нехватку земли, частые неурожаи. А в недородном 1902 году страну охватил голод, унесший жизни многих людей, Васена Назарычева в это время чуть не умерла, вынашивая своего второго ребенка.
Как известно, самое начало нового столетия ознаменовано недовольством крестьянства, которое вылилось во множество волнений в европейской части России. Жители деревень выступали против отдельных помещиков и аграрной политики государства. Но, хотя жизнь в Копонях и Калинихе не была проще, чем где бы то ни было, восстаний там не произошло.
Со временем хозяйство Гавриила Кирилловича шло в гору. Еще лучше дела пошли после отмены выкупных платежей и выхода семьи из общины. События революции 1905-1907 годов, а также пропагандистов новых идей Ермаковы, как и большинство жителей Калинихи, принимали с недоверием и непониманием.
ЯНемного по-другому дела обстояли в соседних Копонях. Жители этой деревни вступали в партии, организовывали различные собрания, хотя собрания эти не заходили дальше споров между односельчанами. Карп Васильевич, например, был членом партии эсеров, хотя точно неизвестно, в каком году он вступил в нее.
Все мои сведения о жизни прадедов и дедов основываются лишь на рассказах моих родителей, которые в свою очередь узнали это со слов моих бабушек и дедушек. К сожалению, им ничего неизвестно об участии или неучастии наших предков в революции 1917 года. Однако и из этого неведения я осмелюсь сделать вывод, что особой активности со стороны жителей глухих деревень, в которых и проживали мои предки, не было.
Итак, действительно, вглядываясь в детали жизни членов моей семьи, можно четко проследить все проблемы крестьянского существования в дореволюционный и революционный период: это и малоземелье, и демографический взрыв, и сдерживающее влияние общины, и непросвещенность крестьянства, и низкий уровень развития сельского хозяйства и многое-многое другое».
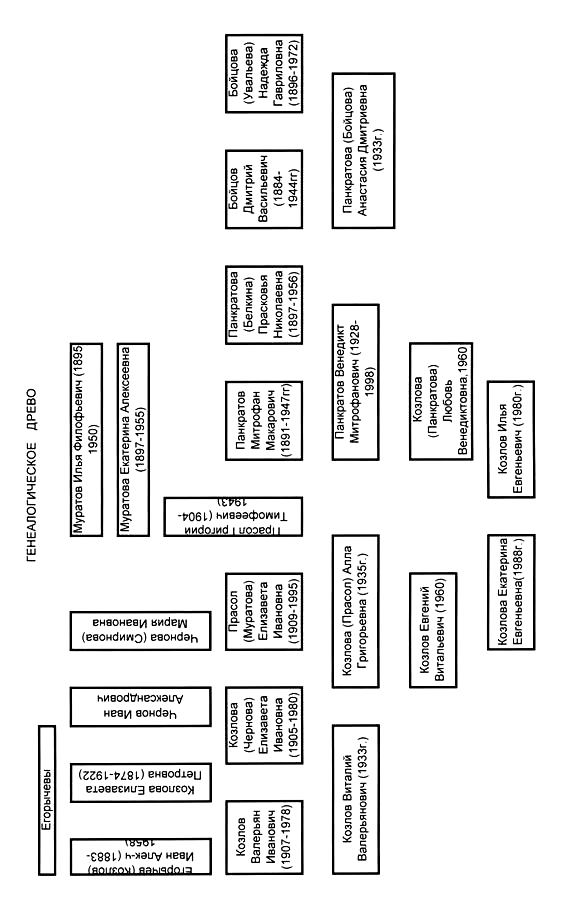
Приложение № 2
Генеалогическое древо
Примеры
Генеалогическое древо М.Ю. Лермонтова[14]
Из работы Александра Затылкова

Из работы Екатерины Козловой
Из работы Евгении Черномазовой
Приложение № 3
Происхождение и значение фамилий
Выдержки из студенческих работ
. . .
Из работы Черномазовой Евгении
«О самом первом нашем предке, от которого и пошла фамилия Черномазовы, практически ничего неизвестно. Я не знаю даже имени нашего прародителя, только то, что его прозвище было Черномаз. Его семья жила в Ростовской области, Сальском районе, селении Волынское. Именно это и позволяет нам предполагать, что Черномаз был казаком. Естественно, что главным занятием его семьи, как и других казачьих семей, было земледелие.
О Черномазе существует семейное предание, точнее, о происхождении его прозвища. Воюя с турками, донские казаки часто захватывали турецких девушек в плен, а по окончании войны женились на них. Возможно, в последнюю русско-турецкую войну 1877-1878 гг. некий казак, будущий отец Черномаза, участвовал в военных действиях, захватил в плен турчанку и женился на ней. У них родился сын, очень смуглый и черноволосый, поэтому его и нарекли Черномазом. Конечно же, существует также версия о нечистоплотности Черномаза, но, по мнению нашей семьи, легенда о турчанке интереснее… Тем более, что если учесть тот факт, что Черномаз мог быть младшим ребёнком своих родителей, а его сын Тимофей мог быть одним из младших детей в семье Черномаза, то, прослеживая даты их жизни, мы не найдем расхождений».
. . .
Из работы Анастасии Малышевой
«Иванский – скорей всего, фамилия польского происхождения, на что указывает суффикс -ский. Его полная нерусифицированная форма – ski. Первоначально, фамилии с суффиксами -ский/-цкий принадлежали дворянству и образовывались от названия владения. Такое происхождение придавало фамилии на -ski/-cki социальную престижность, в результате чего суффикс распространился на низших социальных слоях, утвердившись в итоге как преимущественно польский ономастический суффикс. Этим объясняется и его популярность внутри других этнических групп, живущих в Польше, –украинцев, белорусов и евреев. Следует отметить, что между польской, белорусской и украинской этническими группами постоянно происходил взаимообмен фамилиями, так что теперь порой трудно и даже наверное невозможно четко разграничить их происхождение.
Из поколения в поколение в семье Иванских передается легенда о происхождении этой фамилии. Давным-давно в одной белорусской деревне жили представители двух фамилий – Новиковы и Ивановы. Нашему роду, якобы, принадлежала фамилия Новиковы. Наш далекий прадед поссорился со своим родственником Новиковым. С целью разрешить спор они пришли к церковному дьякону. Прадед попросил сменить фамилию Новикова на Иванова, но, так как Ивановых в деревне было и так много, дьякон решил дать ему новую фамилию – Иванский. Возможно, дьякона в создании такой фамилии навела мысль о близком соседстве деревни с Польшей».
. . .
Из работы Фомина Алексея
«Моя фамилия восходит к церковному имени Фома, в переводе с арамейского – «близнец». В основе фамилии Фомин лежит отчество Фомич, то есть первый Фомин – «внук Фомы». Фамилии, восходящие к таким именам, не представляют трудностей в отношении формы или способа образования».
. . .
Из работы Загибина Юрия
« Я ношу фамилию Загибин. С неё я и начну изучение фамилий нашей семьи. Русские фамилии на -ин в большинстве своём образованы от прозвищ. Есть, конечно, фамилии образованные от имён и профессий, но их значительно меньше.
Давайте обратимся к «Словарю русского языка» С.И.Ожегова: «Загиб – 1) Загнувшееся место, изгиб. Загиб листа. 2) (перен.) Допущение вредных крайностей в осуществлении чего-нибудь (разг.)». Таким образом, можно предположить, что фамилия Загибин произошла скорее от второго значения слова «загиб».
В «Русском словаре языкового расширения» А.И.Солженицина есть такое определение слова «загибина»: «Крюк, слабое место. В этом человеке есть загибинка». И от этого значения слова могла произлйти фамилия.
А может быть, просто мои предки умели что-то очень хорошо загибать.
Девичья фамилия моей матери Груничева. Фамилии на -ичев, -ечев распространены в Пучежском районе. Друг моего деда носил фамилию Макарычев, рядом жили Рябиничевы, Наумычевы. Почти все жители деревни носили фамилии на -ичев. Скорее всего, фамилии образовывались от отчества в форме притяжательного прилагательного, которое отвечало на вопрос «чей?». Сын Макарыча – Макарычев. Обычно в стародавние времена главой дома был мужчина. Но случалось, что муж или долго отсутствовал, или погибал на войне, или не мог работать из-за тяжёлой болезни, ранения. И тогда главой семьи становилась жена. На ней были и дом, и дети, и хлопоты по хозяйству. Фамилия Груничев говорит о судьбе женщины, которой самой, без помощи мужа пришлось растить детей. А так как все фамилии были записаны с окончанием на -ичев, то и фамилия, образованная от имени Груня, получила такое же окончание.
Девичья фамилия моей бабушки по отцовской линии Ратас. Фамилия эстонского происхождения. В переводе на русский язык означает «колесо». Возможно, её предки занимались изготовлением колёс. А может быть, были такими же скорыми, как колесо.
Моя бабушка по линии матери носила фамилию Тихомирова. Тихомир – распространённое древнерусское нецерковное имя. Этимология ясна: от слов «тихий» и «мирный». Сравните с глаголом «утихомирить» – успокоить, умиротворить. Была пословица: «Тихомирный под спудом живёт».
. . .
Из работы Коршуновой Ольги
«В моем роду нет знатных фамилий и, скорее всего, нет представителей дворянства. Поэтому большинство из фамилий происходит от различных прозвищ, данных людям в соответствии с отличительными чертами. Например, в основе фамилии Горбунов лежит прозвище, образованное от прилагательных «сутулый, кривой, изогнутый». Подобные прозвища были повсеместно распространены на Руси во всех слоях населения и принадлежали горбатым людям или людям с искривлением позвоночника. Другой пример – фамилия Кривоногов. Она могла достаться человеку, у которого было косолапие или какой-либо другой дефект ног.
Интересно происхождение фамилии Лебедев, достаточно распространенной среди русского населения. В ее основе – нередкое на Руси прозвище или нехристианское имя Лебедь. Б. Уибегаун в работе «Русские фамилии» (М., 1995) утверждает, что фамилия Лебедев может иметь искусственное происхождение, так как она часто встречается у русского духовенства, которому она могла даваться непосредственно от слова «лебедь» как священного символа. Однако материалы памятников не подтверждают этого. Прозвище Лебедь и фамилия Лебедев встречаются у представителей разных социальных слоев: дворян, купцов, крестьян, казаков, мещан.
Мой прапрадедушка носил фамилию Тепляков, которая также произошла от прозвища, образованного с помощью суффикса -як-. Этот суффикс особенно часто встречается в личных прозвищах, характеризующих физические особенности, внешность, моральные или умственные достоинства человека. Происходят такие прозвища обычно от прилагательных. Вероятно, мой предок, оставивший своим детям такую фамилию, был либо очень мягким, «теплым» человеком, либо человеком теплолюбивым.
Другой мой прапрадедушка имел фамилию Косухин, произошедшую от существительного «косуха», которое имеет следующие значения: «уголковая полка, например, для киота», «мера жидкостей, четверть штофа», «тысяча» (из лексикона бродячих торговцев). Возможно, кто-то из наших предков занимался изготовлением различных деревянных изделий, в том числе и полочек для киота, а, может быть, он был торговцем.
Фамилии Тимофеев и Авдеев произошли от имен Тимофей и Авдей. Однако моему прапрадедушке фамилия Авдеев, по-видимому, досталась от фамилии барина Авдеева, который, вероятно, являлся владельцем деревни Авдеевка, откуда он был родом.
Фамилия Коршунов, которую ношу я, является одной из множества русских фамилий, произошедших от названий птиц. Вполне возможно, что мой далекий предок был внешне похож на коршуна, а может быть, он имел крутой нрав, что также могло вызывать в его соплеменниках ассоциации с этой хищной птицей.
Я постаралась проанализировать все дошедшие до нас фамилии, которые когда-либо носили мои предки. На основе этого исследования можно сделать вывод, что мой род всегда жил на русской земле и принадлежал к крестьянам или посадским людям. Его члены занимались ремеслом, земледелием и, возможно, торговлей. Кроме того, некоторые из них находились в крепостной зависимости и при освобождении получили фамилию своего бывшего барина. Среди членов рода были и некрасивые люди, но были и красавцы (мой прадедушка Лебедев Дмитрий Васильевич унаследовал редкую красоту от своих предков). Таким образом, передо мной открывается красочная картина жизни моих предков».
Приложение № 4
Первое упоминание фамилии (однофамильцы)
Выдержки из студенческих работ
. . .
Из работы Минаевой
«Исследование проведено по книге Соловьёва С.М. "История России с древнейших времён".
1.Первое упоминание фамилии Минаев встречается в истории Российского государства в XVII веке, когда автор рассказывает об очередной русско-турецкой войне, где атаман Фрол Минаев ведёт своё войско на соединение с войсками донских казаков. И потом они совместно "пошли чинить воинский промысел над крымскими людьми и разбили татарскую заставу".
2.Фамилия Никитин впервые упоминается в начале 17 века, во времена создания настоящего русского флота. На этом фоне как раз и появляется имя великолепного мастера кузнечного дела Никитина, из Пушкарского приказа. За ним были посланы гонцы от государя с просьбой, приехать в Дединово, но он занимался выплавкой языка для колокола, а эту работу, кроме него, никто так делать не умел.
3.По описанию исторических событий Соловьёвым фамилия Антонов встречается впервые в середине XVII века. И это упоминание связано с противостоянием России и запорожского казачества. Марк Антонов был торговым человеком, которого направили на разговор с Тимошкой Акундиновым, который являлся самозванцем и пытался через Венецию проникнуть в Малороссию».
. . .
Из работы Светланы Каманиной
«Первое упоминание фамилии (по С.М.Соловьеву).
Волков. Был дьяком
во время правления Софьи, старшей сестры Петра I. Был отправлен посланником в Венецию, объявил там, что с великими государями царствует сестра их, великая государыня Софья Алексеевна. В 1694г. дошла роспись боярских и иных чинов детям, которым по именному указу учиться итальянскому у учителей-греков – Иоанникия и Софрония Лихудиевых. По этому указу должен был учиться и сын дьяка Волкова.
Белянин. Во времена правления Екатерины II в 1761г. казак Каменщиков, живший в Чебаркульской крепости, явился в Троицкую крепость с доносом на старшин яицкого войска. После этих доносов его стали притеснять дома, и поэтому он вскоре перебрался в Троицкую крепость. Потом он поехал в Петербург со своей семьёй и крестьянами, там его схватила полиция, будто бы он разглашал о том, что император Петр III жив и находится в Троицкой крепости. И он сказал, что эту новость ему сообщил Конон Белянин
. За эту выдумку Белянина высекли плетьми.
Захаров. Когда Ивану IV было 15 – 16 лет, однажды он выехал за город погулять и был остановлен новгородскими пищальниками, которые потом начали кидаться грязью и угрожать жизни Ивана. Спустя время им овладело подозрение – он велел проведать, по чьей науке пищальники осмелились так поступить, потому что без науки этого случиться не могло. Разузнать об этом он поручил не знатному человеку, а дьяку своему Василию Захарову
, который был у него в приближении. Захаров донес, что пищальников подучили бояре, князь Кубенский и двое Воронцовых, Федор и Василий Михайловичи. Впоследствии их казнили. Летописцы говорят, что дьяк оклеветал бояр.
Зайцев. Во время царствования Елизаветы Петровны в Иркутске шло дело о расхищении питейных сборов на сумму 150000 рублей купцами.
При следствии майор Вульф и товарищ его полковник Слободской извинялись незнанием приказных дел. Но скоро нужно было снаряжать особую комиссию для исследования поступков председателя этой комиссии коллежского асессора Крылова. Потом в Сенате стало известно, что Крылов позвал к себе в гости Вульфа, отобрал у него кортик и провозгласил себя управляющим губернией. За это Сенат послал курьера привезти Крылова в оковах в Петербург. Между тем, Крылов прислал донесение, что ничего такого не было и что он в это время с Вульфом ходили в гости к купцу Зайцеву.
Козлов. Когда Шлёцер подал просьбу императрице Екатерине II об отпуске за границу и в конце просьбы испрашивал соизволения продолжать начатые труды по созданию книги по истории, эта просьба была подана через генерал-рекетмейстера Козлова
, которого сын учился у Шлёцера в академии 10-й линии, и перешла на рассмотрение к Теплову, у которого сын учился там же. Оба, и Козлов, и Теплов, имели возможность убедительно представить Екатерине блестящие способности и богатые ученые средства Шлёцера, необходимость удержать такого человека на пользу русского просвещения».
. . .
Из работы Воробьевой Марины
«
Воробьев, Воробьева – такие «птичьи» имена были распространены на Руси в старину. В «Ономастиконе» С.Б. Веселовского: воробей – очень распространено в XV – XVII вв.; Иван Иванович Синица Воробьев, 1551 г.
Орлов, Орлова – фамилия Орлов занимает среди «птичьих» фамилий четвертое место и 27-е по частотности среди русских фамилий вообще. В «Ономастиконе» С.Б. Веселовского: Орел, Орловы, князь Лев Михайлович Орел Волконский.
Метлин ,Метлина – в «Ономастиконе» С.Б.Веселовского есть следующее: «Метла, Метлин: Игнатий Федорович Метелин, 1417 г., Нижний Новгород». Если существовало прозвище (или нецерковное имя) Метла, то, вероятно, одной из его форм могла стать Метелка, отчество от которого и стало позднее фамилией.
. . .
Из работы Анастасии Малышевой
«Беляев – фамилия восходит к нехристианскому крестильным именам или прозвищам, содержащим корень -бел-. До семнадцатого века имена Белой, Беляй и производные от них были широко распространены на Руси: Беляйко Максимов, казак в Новгородском уезде, 1614; Беляй Печонкин, смоленский посадский, 1609; Белячок Епаев, 1672 и другие.»
Приложение № 5
Размышления на тему «История моей семьи».
Вместо заключения
Выдержки из студенческих работ
. . .
Из работы Юрия Загибина
«У каждого народа, как и у каждого человека, есть своё настоящее и своё прошлое. Быстро идёт время. День сегодняшний завтра уже будет днём вчерашним и скоро уже останется позади, постепенно отодвигаясь, всё дальше и дальше. Каждый человек имеет отца и мать. Его родители в свою очередь имеют своих родителей, а те – своих. И так дальше. Бесконечно далеко в прошлое уходит цепочка поколений. В памяти поколений живут разные семейные истории, память сохраняет для молодых истории об их достойных уважения родичах. Мы чтим память о них, бережем оставшиеся после них вещи: альбомы со старыми фотографиями, письма, ордена, медали, книги. Многих называют в честь деда или бабушки, дяди или тёти. Родители передают дорогие их сердцу имена своим детям.
Такая традиция есть и в нашей семье. Если вы обратите внимание на генеалогическое дерево семьи Загибиных, то увидите, что там через поколение Юрий Александрович сменяет Александра Юрьевича. Я очень люблю слушать рассказы старших о своих прадедушках и бабушках, Узнавать их имена, чем они занимались. Интересно внимательно вглядываться в лица на семейных фотографиях и узнавать в них черты своих близких.
Ещё в школе я начал составлять свою родословную. Родословная или, как говорили раньше, родословие – это последовательный перечень поколений людей одного рода с основными сведениями о них. Уже тогда я понял, что эта работа требует внимания и времени. Возможно, кто-то скажет, что родословная – это исторический документ и составлять его следует только для великих людей, а ваша семья самая обыкновенная. На это можно ответить, что как нет одинаковых отпечатков пальцев, так и нет одинаковых семей. Работая над родословной, я узнал много нового о своей семье, о судьбах своих предков, а вместе с тем лучше постиг историю своей страны. Самое первое историческое событие, в котором участвовали мои предки, – это столыпинская аграрная реформа (глубже проследить судьбу моей семьи пока не удалось), потом первая мировая война, коллективизация, сталинские лагеря, Великая Отечественная война…
Работу над родословной моей семьи мне хотелось бы назвать: « Встречи с историей». Работая над ней, я понял, что история – это не только « дела давно минувших дней». Она в нас и вокруг нас, наполняет нашу жизнь, связывает множеством нитей прошлое и настоящее».
. . .
Из работы Коршуновой Ольги
«Вероятно, история моей семьи очень похожа на тысячи других, ведь все события, происходящие в нашей стране, в той или иной степени затрагивают каждого из нас. Однако для меня она дорога тем, что в ней находится место именно мне, я ощущаю себя частью этой истории, а, следовательно, и частью истории всей России.
Вместе со всей страной мои предки переживали период крепостничества, будучи самым бесправным социальным слоем – крепостными крестьянами. Они на себе познали все тяготы и беды крепостных, а также последствия реформы 1861 года. Но материалов именно об этих родных в нашей семье, к сожалению, не сохранилось по различным причинам. Однако я твердо уверена в том, что люди эти были честными и порядочными, поскольку их дети, о которых известно много больше, были ими хорошо воспитаны. Мои родственники пережили Великую Октябрьскую революцию, причем прадедушка сам являлся активным революционером, а позднее был репрессирован по ложному доносу, и в годы НЭПа прабабушка выкармливала троих детей, она прошла через коллективизацию и индустриализацию. В Великую Отечественную войну погиб в возрасте шестнадцати лет ее сын, Владимир Дмитриевич. Мой дедушка участвовал в параде Победы на Красной площади, был начальником ГАИ города Иваново. Кроме того, все мои бабушки и дедушки, а также их дети хорошо помнят годы «холодной войны» с Западом. Сама я уже стала свидетелем такого события, как Перестройка.
Я считаю, что я могу гордиться своей семьей, потому что все ее члены всегда были верны своей Родине, и чем бы они ни занимались, они делали это настолько хорошо, насколько это было в их силах. Они героически сражались за свою страну, делили с ней все ее горести и беды, но в любом случае не теряли надежды и веры в свой народ.
На жизнь каждого поколения всегда приходится какое-либо изобретение или достижение. Моя бабушка видела, как по городу пускали первые трамваи, дедушка наблюдал за полетом первых наших самолетов, маме и папе довелось работать на первых компьютерах, и, конечно, никто не забудет первый полет человека в космос. На моей памяти – появление мобильных телефонов, распространение персональных компьютеров, Интернета и множества других, не столь заметных вещей.
При написании работы я использовала, в основном, рассказы моих родственников, а также те документы, которые они сохранили. К сожалению, большинство из этих бумаг находятся в таком состоянии, что снять с них копию практически невозможно. А поскольку все самые интересные и старинные документы написаны от руки, то встает проблема неразборчивости почерка. Кроме документов, сохранилось множество фотографий, на которых запечатлены портреты моих родственников. Они тоже во многом пострадали: одни при пожаре, другие просто от старости. Хорошо, что еще живы те, кто может рассказать нам о своей нелегкой жизни, поведать во всех подробностях о тех событиях, которые они пережили. Но ниточка, ведущая нас по лабиринтам человеческих судеб, постоянно выскальзывает из рук, запутывается и обрывается. И тогда начинаешь осознавать, как хрупка память о людях и как важно сделать все возможное, чтобы сберечь ее. И именно эта цель стала для меня главной при написании моей работы».
. . .
Из работы Марины Воробьевой
«Я узнала много нового о прошлом моих родителей, бабушек, дедушек, также я узнала, как зовут моих прабабку и прадеда по материнской линии, раньше я об этом не спрашивала, мне никто ничего не рассказывал, считая, что мне это неинтересно…
… Единственное, что плохо – это то, что много информации потеряно, в памяти моих родителей сохранилась лишь малая толика того, что было в их детстве. Потеряны многие даты рождения, имена, события. В целом я считаю, что моя работа проделана не зря. Может быть, в будущем мои дети и внуки захотят узнать о своих предках. Я смогу им рассказать все, что я знала, не пропустив ни одного из известных мне фактов, то есть прекратится дальнейшее стирание событий прошлого из памяти членов моей семьи».
. . .
Из работы Смирновой Анастасии
«Да кто же мы?
Откуда родом?
Кто был наш дед
И пра-пра-пра?
Каким таким честным народом
Была фамилия дана?
В каком они сословье были?
Князья, бояре иль простые?
(Скорее были крепостные...)
Ну, что ж...
Они траву косили,
Хлеба растили и детей,
Они и жизни не щадили
Для блага Родины своей.
В тяжелый час в защиту встали
И за Отчизну умирали,
А мы про них почти не знали,
А чаще просто забывали.
Теперь, простите, перед вами
Я низко голову склоняю.
И говорю всем наяву:
«Спасибо прадеду и деду
За то, что я сейчас живу!»
Приложение № 6
Список литературы для работы над родословной[15]
Составлен на основании фондов библиотеки ИГЭУ
1. +Александрова, Т.С. Словарь немецких личных имен. Происхождение, значение, употребление / Т.С. Александрова, Д.О. Добровольский, Р.А. Салахов. - М.: Русский язык, 2000. - 248 с. (МЕГАПРОЕКТ). (НБО)
2. +Большой Российский энциклопедический словарь. - М.: Большая Российская энциклопедия, 2003. - 1888 с. (НБО)
3. +Бондалетов, В.Д. Русская ономастика: учебное пособие для студентов педагогических институтов по специальности № 21101 «Русский язык и литература» / В.Д. Бондалетов. - М.: Просвещение, 1983. - 224 с. (НА) (Научные основы ономастики, ее общность с другими науками, ее основные разделы: антропонимика, топонимика, космонимика).
4. +Брокгауз, Ф.А. Энциклопедический словарь. Современная версия / Ф.А. Брокгауз, И.А. Ефрон. - М.: Эксмо, 2002. - 672 с. (НБО)
5. Введенская, Л.А. От названий к именам / Л.А. Введенская, Н.П. Колесников. - Ростов н/Д: Феникс, 1995. - 544 с. (НБО) (Приводится более 2000 русских и иноязычных слов, созданных на базе собственных имен.)
6. Все о русских именах / авт.-сост. Л.С. Конева. - Минск: Харвест, 2003. - 672 с. (Большая книга). (НБО) (Дано происхождение имени, отождествление его с характером человека. Указаны знаменитые люди, носившие то или иное имя. Приводится краткое жизнеописание этих людей).
7. Ганжина, И.М. Словарь современных русских фамилий / И.М. Ганжина. - М.: Астрель: АСТ, 2001. - 672 с. (НБО) (Даны сведения о происхождении и значении более чем 8000 современных русских фамилий. Словарь снабжен полным алфавитным указателем).
8. Горбаневский, М.В. В мире имен и названий / М.В. Горбаневский. - М.: Знание, 1983. - 192 с. (НБО) (Рассматривается происхождение имен, фамилий, названий географических объектов).
9. Горбаневский, М.В. В мире имен и названий / М.В. Горбаневский. - М.: Знание,1987. - 208 с. (НБО)
10. Даль, В. Толковый словарь живого великорусского языка : в 4 т. / В. Даль. - [репринт. изд.] - М. : Русский язык, 1978. - Т.1: А-З. - 1978 .- 699 с.; Т.2: И-О.-1979. - 779 с.; Т.3: П. - 1980.-555 с.; Т.4: Р-У.-1980. - 683 с. (НБО)
11. Даль, В.И. Толковый словарь русского языка: современное написание / В.И. Даль. - М.: АСТ: Астрель, 2002. - 984 с. (НБО)
12. Древо рода / М. Бычкова, Л. Куза // Родина. - 1991. №2. - С. 81-85. (НА) (Дана схема родственных связей).
13. Ивашко, В.А. Как выбирают имена / В.А. Ивашко; под ред. А.Е. Супруна - Минск: Вышэйшая школа, 1980. - 174 с. (НБО) (В популярной форме рассказывается о многочисленных факторах, влияющих на человека в ситуации выбора имени, их роли в разные исторические периоды. Дан словарик популярных личных имен).
14. Историческая генеалогия / С.В. Белецкий [и др.] // Специальные исторические дисциплины: учеб. пособие / С.В. Белецкий [и др.]; сост. М.М. Кром. - 2-е изд., испр. - СПб., 2003. - С.368 - 397. (ФЧЗ )
15. Миронов, Ю.Ф. Пишем родословную книгу / Ю.Ф. Миронов. - СПб.: Всемирное слово, 2003. - 60с. (ФЧЗ, УЧЗ, НБО) (В пособии раскрыта методика составления родословной).
16. Никонов, В.А. Ищем имя / В.А. Никонов. - М.: Советская Россия,1988. - 125 с. (НБО) (Рассказ о русских именах, распространенных в нашем обществе. Автор рассматривает их происхождение, значение, историю формирования, динамику в историческом и современном плане. Дана социальная и эстетическая оценка личных имен).
17. Никонов, В.А. Словарь русских фамилий / В.А. Никонов; сост. Е.Л. Крушельницкий. - М. : Школа-пресс, 1993. - 222с. (НБО)
18. Первое наследство. Русские фамилии. Календарь имен / ред. - сост. С.Г. Антипова. - Иваново: Талка, 1992. - 152 с. (НБО) (В справочном издании приведены истоки происхождения 2500 фамилий. «Календарь именин» предлагает распространенные имена с их кратким толкованием).
19. Петровский, Н.А. Словарь русских личных имен: около 2600 имен/ Н.А. Петровский. - М.: Советская Энциклопедия, 1966. - 384 с. (НБО)
20. Петровский, Н.А. Словарь русских личных имен: более 3000 имен / Н.А. Петровский. - Изд. 6-е, стереотип. - М.: Русские словари: Астрель, 2000. - 480 с. (НБО) (Словарная статья включает уменьшительные имена, отчества, этимологическую справку. Вошла информация из православных святцев).
21. Полякова, Е.Н. Из истории русских имен и фамилий: книга для учащихся / Е.Н. Полякова. - М.: Просвещение, 1975. -158 с. (НБО) (Книга посвящена истории имен, отчеств, фамилий, прозвищ русских людей – от древнейших времен до наших дней).
22. Родословная – забота для потомков / Е. Мартыненко // Природа и человек. Свет. - 2004. - №10. - С.66- 67. (ФЧЗ) (Как составить родословную).
23. Русская ономастика и ономастика России: словарь / под ред. О.Н. Трубачева. - М.: Школа-Пресс, 1994. - 288 с. - (Русская энциклопедия) (НБО) (Словарь дает представление о происхождении названий рек, гор, городов и сел различных регионов России, имен, отчеств, фамилий, прозвищ русских людей, имен древних богов, кличек животных, названий ветров, наименований звезд.
24. +Русский биографический словарь.-[репринт. изд.].- М. , 1992. - (НБО)
Т. 1: Аарон – Император Александр II.- 1992.- 892 c.
Т. 2: Алексинский – Бестужев-Рюмин. - 1992.- 799 с.
Т. 3: Бетанкур – Бякстер.- 1995. - 699 с.
Т. 4: Гааг – Гербель. -1991. - 494 с.
Т. 5: Герберский – Гогенлоэ. - 1995.- 422 с.
Т. 6: Гоголь – Гюне. - 1997. - 605 с.
Т. 7: Дабелов – Дядьковский. - 1996. - 748 с.
Т. 8: Жабокритский – Зяловский. - 1995. - 588 с.
Т. 9: Ибак – Ключарев.- 1995. - 756 с.
Т. 10: Кнаппе – Кюхельбекер. - 1995. - 708 с.
Т. 11: Лабзина – Лященко. - 1996. - 846 с.
Т. 12: Обезьянинов – Очкин. - 1997. - 480 с.
Т. 13: Притвиц - Рейс. -1997. - 560 с.
25. Рыбалкин, А.И. Словарь английских личных имен. 3000 имен / А.И. Рыбалкин. - М.: Советская Энциклопедия, 1973. - 408 с. (НБО) (Полные или исходные имена снабжены краткой этимологической справкой).
26. Рыбалкин, А.И. Словарь английских фамилий: около 22700 фамилий / А.И. Рыбалкин. - М.: Русский язык, 1986. - 576 с. (НБО, НА) (Распространенные фамилии, кратко рассказано об их происхождении).
27. +Рыжов, К.В. Сто великих россиян / К.В. Рыжов. - М.: Вече, 2000. –656 с. - (100 великих). (НБО) (В книге собраны жизнеописания самых выдающихся россиян).
28. Рязанцев, В.Д. Имена и названия: словарь эпонимов: имена собственные, перешедшие в названия; образование терминов и понятий, происхождение имен нарицательных, слова, употребляемые в переносном смысле. - М.: Современник, 1998. - 285 с. (Словарь школьника). - (МЕГАПРОЕКТ). (НБО)
29. Системы личных имен у народов мира. - М.: Наука, 1989. -383 с. (НБО, НА) (Книга характеризует именные системы почти ста народов мира).
30. +Соловьев, С.М. Сочинения: в 18 кн. / С.М. Соловьев. - М.: Мысль, 1988. (НБО) (Кн.XV: История России с древнейших времен. Т.29.- 1995. -702 с. К тому прилагаются указатели к книгам I-XV (Тома 1-29): имен, географических и этнических названий).
31. Суперанская, А.В. Современные русские фамилии / А.В. Суперанская, А.В. Суслова. - М.: Наука, 1981. - 176 с. (Серия «Литературоведение и языкознание»). (НБО) (В книге показаны этапы становления фамилий, роль народных говоров и литературного русского языка в их формировании, типы русских фамилий. Показаны взаимоотношения имен собственных и нарицательных).
32. Суслова, А.В. О русских именах / А.В. Суслова, А.В. Суперанская. - Л.: Лениздат, 1978. - 214 с. (НБО) (Рассказывается об истории русских имен, об изменениях, которые происходили в русском именослове на протяжении многих веков его существования, об основных тенденциях его развития в настоящее время. Приводятся списки мужских и женских имен, списки новых имен, созданных русским народом и заимствованных из других языков в настоящее время).
33. Унбегаун, Б.О. Русские фамилии: пер. с англ. / Б.О. Унбегаун; общ. ред. Б.А. Успенского. 2-е изд., испр. - М.: Прогресс, 1995. - 448 с. (НБО) (В настоящей книге ставится задача исследовать современную систему русских фамилий в морфологическом и семантическом аспектах. Книга снабжена указателем фамилий).
34. Унбегаун, Б.О. Русские фамилии: пер. с англ. /Б.О. Унбегаун; общ. ред. Б.А. Успенского. - М.: Прогресс, 1989. - 441 с. (НБО) (В работе в числе прочих разбираются фамилии иностранного происхождения).
35. Успенский, Л.В. Ты и твое имя. Имя дома твоего / Л.В. Успенский. - Л.: Детская литература, 1972. - 576 с. (НБО) (Рассказы об именах, фамилиях. Дан краткий словарь часто встречающихся имен с обозначением их происхождения и значения).
36. Успенский, Л.В. Ты и твое имя / Л.В. Успенский. - Волгоград: Нижнее-Волжское книжное издательство, 1994. - 288 с. (НА)
37. Фасмер, М. Этимологический словарь русского языка: в 4 т. / М. Фасмер; пер. с нем. и доп. О.Н. Трубачева. 4-е изд., стереотип. - М.: Астрель: АСТ, 2003. (НБО)
Т. 1: А – Д: около 4000 слов. – 588 c.
Т. 2: Е – Муж: более 4500 слов. - 672 с.
Т. 3: Муза – Сят: около 5500 слов. - 832 с.
Т. 4: Т – Ящур: около 4500 слов.- 864 с.
38. Федосюк, Ю.А. Русские фамилии: популярный этимологический словарь / Ю.А. Федосюк. 4-е изд., испр. и доп. - М.: Флинта: Наука, 2002. – 238 с. (НБО, НА, УА, УЧЗ) (Рассказывается о происхождении и значении более 2500 фамилий. Включены широко распространенные среди русских фамилии, а также редкие фамилии, носителями которых являлись выдающиеся культурные деятели России).
39. Хигир, Б.Ю. Энциклопедия имен. Имя, характер, судьба / Б.Ю. Хигир. - М.: Яуза: ЭКСМО, 2003. - 512 с. (НБО) (Рассказывается о связи имени человека с его внутренним миром. Каждое имя несет в себе информацию о характере и даже о судьбе человека).
40. Черных, П.Я. Историко-этимологический словарь современного русского языка: 13 560 слов: в 2 т. / П.Я Черных - 3-е изд., стереотип. - М.: Русский язык, 1999. (НБО)
Т. 1: А – Пантомима. - 624 с.
Т. 2: Панцирь – Ящур. - 600 с.
Приложение № 7
Генеалогия в Интернете
Существует так называемое «кольцо генеалогических сайтов», с помощью которого можно легко перемещаться с одного генеалогического сайта на другой. Оно охватывает более сотни сайтов.
Среди самых крупных проектов общероссийских сайтов
, которые существуют уже не первый год и претендуют на статус наиболее авторитетных, можно выделить следующие.
· «Всероссийское генеалогическое древо» – www.vgd.ru
– крупнейший отечественный генеалогический сайт с внушительным ресурсом: форум, поиск фамилии, архив документов, раздел «генеалогия для начинающих» с методическими рекомендациями, поиск однофамильцев по городам. «Всероссийское генеалогическое древо» – это постоянно растущая интернет-коллекция сведений о людях, связанных с Россией, независимо от национальности и времени жизни. Сайт существует в сети с мая 1999 г. Входит в кольцо генеалогических сайтов. Его создатели: Котельников С.Д. и Бирюкова Л.В. Его основные плюсы: легкий поиск однофамильцев с помощью внушительной базы данных; генеалогический словарь; форум. Несомненным достоинством этого проекта можно считать его практически каждодневное обновление. Одним из интересных и динамично развивающихся направлений являются новости сайта. Там описываются детали и содержание всевозможных генеалогических встреч, чтений, просто полезная информация, а с недавнего времени началась публикация интервью с известными российскими генеалогами.
· Основной российский генеалогический сайт –
http://www.genealogia.ru.
На нем можно найти почти все: фотоархивы, новейшие публикации по тематике, статистику, информационный портал, форум и т.п. На сайте представлена генеалогическая база российского дворянства. Богатая база источников, включая «Бархатную книгу» российского дворянства, российские переписные книги 1710 г. (по уездам). В библиотеке представлены биографии, статьи, краеведческие очерки и даже методические указания по составлению родословных. Отметим, что на сайте выложена бесплатная программа построения фамильного древа, это полнофункциональная программа построения, хранения, редактирования и пополнения вашей генеалогической информации. Программа проста в обращении даже для неопытного в компьютерном деле пользователя и в то же время имеет огромные возможности.
· http://litera-ru.ru/
– «коммерческий» сайт, где можно заказать родословную, воспроизвести свой фамильный герб (за умеренную плату). А вот возможность произвести поиск своей фамилии по «Ономастикону» С. Веселовского, справочникам «Вся Москва» и «Весь Петербург», 57 памятным книгам российских губерний предоставлена бесплатно (с переадресацией на www. otvet. ru). Если захотите воспользоваться таким поиском, учтите, что в «Ономастиконе» вы далеко не всегда встретите свою фамилию. Поэтому попробуйте поискать однокоренные, используйте набор нескольких первых букв. Из возможностей этого проекта стоит упомянуть также комплект карт для оформления родословных: оцифрованные дореволюционные карты губерний и уездов высылаются на ваш e-mail, но услуга платная.
· «История вашей семьи, история вашей жизни»
– http://ivs.h1.ru
Сайт преследует цель распространить идею сохранения памяти о каждом живущем на Земле человеке, формирования культуры сохранения памяти, создания методологий написания истории семей. Довольно значительная база данных по персоналиям, которая постоянно растет. Этот сайт может оказаться очень полезным при поиске однофамильцев.
· www.gedcom.ru
– это библиотека gedcom-файлов, самых распространенных компьютерных программ для работы с генеалогической информацией в Европе. Отметим, что с ними надо уметь работать. Сайт составлен по европейским стандартам, поэтому для нас имеет минимальное практическое значение – ged-формат у нас пока приживается медленно. На сайте представлены образцы родословных в ged-формате, база данных (свыше 50000 человек), программы по построению родословных в ged-формате, которые можно бесплатно скачать. Смысл обращения к этому ресурсу: на сайте можно познакомиться с системой хранения в компьютере данных о вашей родословной в виде gedcom-файлов.
Существует также ряд «региональных» генеалогических сайтов
, составители которых преимущественно собирают информацию по интересующему их региону России (в основном, откуда они родом). Несомненным плюсом этих сайтов являются представленные на них документы (иногда даже сканированные архивные материалы). К сожалению, в сети в последнее время наблюдается явная тенденция к коммерциализации, поэтому бесплатно эти материалы не предоставляются. Фамильные базы данных, как правило, открыты для широкого просмотра.
· http://genealogy.iatp.org.ua/rus/ – сайт по Украине
(родословные, кто и где занимается генеалогией, карта, источники). Весьма важная особенность сайта – база данных по украинским фамилиям.
· http://www.olenev.narod.ru/ – «генеалогический портал», авторский проект Максима Оленева,
который почти двадцать лет собирал материалы по истории своей семьи, а попутно и Рязанской губернии, поскольку именно там долгое время жили его предки. Представлен ряд документов, есть неплохой фотоархив. Стоит отметить помещенные статьи по генеалогии и историю крестьянских фамилий. Почти все ресурсы на этом сайте платные.
· http://rostgeneolog.narod.ru/ – сайт Ростовского генеалогического общества.
Его цели: изучение истории казачества; облегчение генеалогического поиска по Ростовской области; систематизация знаний по истории городов, станиц и хуторов Ростовской области; составление собственных восходящих родословий; проведение историко-генеалогических исследований. На сайте представлена информация по казачьим фамилиям и истории их возникновения.
· http://rodmurmana.narod.ru – «Мурманское родословное общество».
На сайте можно провести поиск однофамильцев, отослать свой запрос, принять участие в периодически проводящихся конференциях по генеалогии. Авторы этого регионального генеалогического сайта постоянно публикуют различные статьи, поэтому особый интерес представляет библиотека сайта.
Самая многочисленная группа сайтов – «фамильные»
, где представлена история отдельных фамилий (или выдающихся людей). Часто такие сайты создаются и поддерживаются усилиями одного человека, поэтому и ресурс их весьма ограничен. В качестве примера можно использовать следующие.
· http://shepelevy.by.ru/
– фамильный сайт Шепелевых
. Это один из самых грамотно сделанных и красиво оформленных подобных сайтов.
· http://www.bogatov.info/ – сайт рода Богатовых
. Один из самых крупных «фамильных» сайтов. База данных – 924 человека.
· http://www.efremov-s.ru/ – фамильный сайт Ефремовых.
· http://www.bird.dn.ru/phorum/ – сайт Журавлевых
. На нем, кроме обычных возможностей, есть еще и Geneoforum – конференция для профессионального обмена мнениями по проблемам генеалогии в России.
Ряд сайтов, в том числе и не являющиеся непосредственно генеалогическими, дают возможность провести поиск вашей фамилии, ее происхождения и значения.
· www.remezovi.ru
– «фамильный» сайт, где представлена работа А.Х. Халикова «500 русских фамилий булгаро-татарского происхождения».
· http://nurali.newmail.ru/fami –
можно найти информацию по тюркским, татарским, мусульманским фамилиям.
· Информацию по русским фамилиям можно получить на сайтах www.rusfam.ru
(«Русская фамилия») и http://rodstvo.ru
(Российский фамильный индекс), а по украинским – на сайте http://genealogy.iatp.org.ua/rus/
Следует учесть, что количество русскоязычной генеалогической информации в Интернете постоянно возрастает, появляются новые сайты, что дает возможность расширить поиск информации.
Приложение № 8
Краткий словарь наименований
и понятий родства кровного, духовного и свойства
[16]
Бабушка, бабка (дедушка, дед)
— мать (отец) отца или матери.
Брат (сестра)
— сын (дочь) в отношении к другим детям одних родителей.
Брат крестный
— сын крестного отца.
Брат крестовый (по кресту)
— лица, обменявшиеся нательными крестами.
Братан, брательник
— двоюродный брат.
Братаниха
— жена двоюродного брата.
Братанич (братыч)
— сын брата, племянник по брату.
Братанна
— дочь брата, племянница по брату.
Брательница
— родственница двоюродная или дальняя.
Братова
— жена брата.
Вдова, вдовец
— женщина, мужчина, не вступившие во 2-й брак после смерти супруга.
Великая тетка (дядя)
— сестра (брат) деда или бабки.
Ветвь
— линия родства.
Внук (внучка, внука)
— сын (дочь) сына или дочери, племянников.
Внучатая двоюродная племянница (-ик)
— внучка (внук) двоюродного брата, сестры.
Внучатая племянница (-ик)
— внучка (внук) брата, сестры.
Внучатый
— родственник в 3-м колене, троюродный.
Внучатые братья, сестры
— троюродные братья, сестры.
Двоюродная бабка (дед)
— сестра (брат) бабки, деда.
Двоюродная племянница (-ик)
— дочь (сын) двоюродного брата, сестры.
Двоюродная прабабушка
— сестра (брат) прабабушки, прадеда.
Двоюродная сестра (брат)
— дочь (сын) дяди, тетки.
Двоюродная тетка (дядя)
— двоюродная сестра (брат) отца, матери.
Двоюродный
— родственник во 2-м колене.
Деверь
— брат мужа.
Дед крестный
— отец крестного отца.
Дедина, дедка
— тетка по дяде.
Дедич
— прямой наследник по деду.
Дочь, сын
— лицо женского, мужского пола по отношению к родителям.
Дочь названая
— приемыш, воспитанница.
Дщерич (дщерша)
— племянник (-ца) по тетке.
Дядька
— человек, ухаживающий за ребенком.
Дядя
— брат отца, матери, муж тетки.
Единокровные дети (однородные)
— дети одного отца, но разных матерей.
Единоутробные дети
— дети одной матери от разных отцов.
Жена
— женщина по отношению к мужчине, с которым состоит в браке.
Жених —
сговоривший невесту.
Золовка
— сестра мужа, жена брата.
Зять
— муж дочери, сестры.
Колено
— разветвление рода, поколение в родословной.
Крестник (-ца)
— крестный сын (дочь).
Крестные мать, отец
— восприемники при крещении.
Кровное родство
— происхождение от одних родителей.
Кровный
— родство в пределах семьи.
Кузен (кузина)
— двоюродный брат (сестра).
Кум (-а)
— крестные по отношению к родителям крестника и к крестной матери.
Малая тетка (дядя)
— сестра (брат) отца, матери, двоюродная тетка (дядя).
Мать, отец
— женщина, мужчина по отношению к своим детям.
Мать молочная
— мамка, кормилица.
Мать (отец) названая
— мать (отец) приемышу, воспитаннику.
Мать, отец посаженные
— заменяющие на свадьбе родных родителей жениха.
Мачеха
— неродная мать.
Молочные сестра, брат
— дети по отношению к детям кормилицы. Муж — мужчина по отношению к женщине, с которой состоит в браке.
Невестка
— жена брата или жена сына (для матери последнего) или жена одного брата для жены другого брата (употребляется также вместо «сноха», «золовка», «свояченица»).
Отценачальник
— старший в поколении.
Отчим
— неродной отец.
Отчинник, отчич
— сын, наследник.
Падчерица
— неродная дочь одного из супругов.
Племянник (-ица)
— сын (дочь) брата, сестры.
Племяш
— родич, родственник.
Побочные дети
— дети, происходящие не от законного супруга.
Поколение
— родственники одной степени родства по отношению к общему предку.
Полнородный
— происходящий от одних родителей.
Потомок
— человек по отношению к своим предкам.
Прабабка
— мать деда, бабушки.
Прадед
— отец деда, бабушки.
Прародители
— 1-я по родословной известная чета.
Пращур
— родитель прапрадеда, прапрабабки.
Предок
— древний предшественник по роду.
Привенчанный
— рожденный от одних родителей до брака, затем признанный.
Приемный ребенок
— усыновленный чужой ребенок.
Пятиюродный
— родственник в 5-м колене.
Род
— ряд поколений, происходящих от одного предка, а также вообще поколение.
Родители
— отец и мать по отношению к детям.
Родной
— происходящий от одних родителей.
Родня
— родственники.
Родоначальник
— 1-й известный представитель рода.
Родословие
— то же, что генеалогия.
Родословная
— перечень поколений одного рода, устанавливающий происхождение и степени родства.
Родство
— отношение между людьми, создаваемое наличием общих родственников.
Сват, сватья
— родители супруга по отношению к родителям другого супруга.
Свекор, свекровь
— родители мужа.
Сводные дети
— братья, сестры по отчиму или мачехе.
Свойство
— отношение близости между людьми, возникающее из брачного союза.
Свояк
— муж сестры жены.
Свояки
— лица, женатые на двух сестрах.
Свояченица
(или своячиница) — сестра жены
Семиюродный
— являющийся родственником в 7-м колене.
Семья
— группа живущих вместе родственников.
Сирота
— ребенок, лишившийся одного или обоих родителей.
Сноха
— жена сына по отношению к его родителям.
Сношенница
— жена одного из братьев по отношению к жене другого.
Супруг(-а)
— муж (жена).
Тетя
— сестра отца, матери, жена дяди.
Троюродный
— родственник в 3-м колене, внучатый.
Удочеренная
— лицо женского пола по отношению к приемным родителям.
Усыновленный
— лицо мужского пола по отношению к приемным родителям.
Фамилия
— ряд поколений, носящих одно наследственное наименование и имеющих одного предка; род, семья.
Четвероюродный
— родственник в 4-м колене.
Шестиюродный
— родственник в 6-м колене.
Шурин
— брат жены.
Шурич
— сын шурина (брата жены).
Ятровка
— жена деверя (брата мужа).
1
Ономастика – раздел лексикологии, изучающий собственные имена.
[2]
Этимология – происхождение и изменение значений того или иного слова или выражения, а также раздел языкознания, изучающий происхождение и развитие слов.
[3]
Ганжина, И.М. Словарь современных русских фамилий / И.М. Ганжина. – М.: Астрель: АСТ, 2001. – С. 246.
[4]
Федосюк, Ю.А. Русские фамилии: популярный этимологический словарь / Ю.А.Федосюк. – 4-е изд., испр. и доп. – М.: Флинта: Наука, 2002. (1 экз. – НБО, 3 экз.- НА, 23 экз. – УА, 3 экз. – УЧЗ). – С. 184.
[5] Даль, В. Толковый словарь живого великорусского языка : в 4 т. / В. Даль. – [репринт. изд.] – М. : Русский язык, Т. 2: И-О. – 1979. – С. 223.
[6]
Даль, В. Толковый словарь живого великорусского языка : в 4 т. / В. Даль. – [репринт. изд.] – М.: Русский язык, Т. 2: И-О. – 1979. – С. 260.
[7]
Ганжина, И.М. Словарь современных русских фамилий / И.М. Ганжина. -М.: Астрель: АСТ, 2001. – С. 422.
[8]
Никонов, В. А. Словарь русских фамилий / В. А. Никонов; сост. Е. Л. Крушельницкий. – М. : Школа-пресс, 1993. – С. 53.
[9] Соловьев, С. М. Сочинения: в 18 кн. / С. М. Соловьев. – М.: Мысль, 1988. – Кн.XV: История России с древнейших времен. Т. 29. – 1995. – 702 с.
[10]
Соловьев, С. М. Сочинения: в 18 кн. / С. М. Соловьев. – М.: Мысль, 1988. – Кн.lV: История России с древнейших времен. Т.7 – 8. – 1989. – С. 11-12.
[11]
Соловьев, С. М. Сочинения : в 18 кн. / С. М. Соловьев. – М.: Мысль, 1988. – Кн.X: История России с древнейших времен. Т.19-20. – 1993. – С. 506.
1
Их предусматривает система РИТМ
[13]
В приведенных здесь и далее отрывках из студенческих работ 2003 – 2005 гг., сохраняется стиль и орфография авторов.
[14]
Притяжение рода. Методические и справочно-информационные материалы по генеалогии / О.И.Захарова. Государственный архив Ивановской области. – Иваново: Изд-во «Ивановский Государственный университет», 2004. – С. 300.
[15]
Знаком + в списке отмечены книги, которые используются при поиске знаменитых однофамильцев; первого упоминания фамилии, имени, прозвища в русской истории (задание № 4). В скобках указано, в каком отделе библиотеки ИГЭУ находится книга: НБО – научно-библиографический отдел;
НА – научный абонемент;
УЧЗ – учебный читальный зал;
УА – учебный абонемент;
ФЧЗ – научный читальный зал.
[16]
Дано по изданию: Притяжение рода. Методические и справочно-информационные материалы по генеалогии / О.И.Захарова. Государственный архив Ивановской области. – Иваново: Изд-во «Ивановский Государственный университет», 2004.– С. 311-313.
|