| МПС РОССИИ
РОССИЙСКИЙ ГОСУДАРСТВЕННЫЙ ОТКРЫТЫЙ
ТЕХНИЧЕСКИЙ УНИВЕРСИТЕТ ПУТЕЙ СООБЩЕНИЯ

21/1/14
Одобрено кафедрой
«Сопротивление материалов
и строительная механика»
СОПРОТИВЛЕНИЕ МАТЕРИАЛОВ
Методические указания к выполнению
контрольной работы № 1
для студентов
III курса
специальностей:
150700. Локомотивы (Т)
150800. Вагоны (В)
170900. Подъемно-транспортные, строительные, дорожные машины и оборудование (СМ)
181400. Электрический транспорт железных дорог (ЭПС)
Москва – 2003
Рецензент: д.т.н.Павлов Ю.А., профессор кафедры «Здания и сооружения на транспорте»
Ó Российский государственный открытый технический
университет путей сообщения, 2003
ОБЩИЕ ПОЛОЖЕНИЯ
Примеры решения задач, приведенные в данном методическом указании, относятся к двум видам простого сопротивления материалов: растяжению-сжатию и кручению.
В целях более глубокого понимания предлагаемых решений студентам необходимо изучить по литературным источникам соответствующие разделы курса «Сопротивление материалов». Особое внимание следует обратить на решения задач приведенные в учебниках. Кроме того, следует самостоятельно изучить раздел курса, посвященный определению геометрических характеристик плоских сечений.
К выполняемым контрольным работам предъявляется следующие требования. Каждая контрольная работа должна состоять из расчетов и пояснений к ним. Расчетные схемы и чертежи эпюр можно выполнять в тетради, но лучше это делать на отдельных листах миллиметровой бумаги.
Все схемы и чертежи должны быть выполнены карандашом и в масштабе, удобном для изображения. Схемы и чертежи должны иметь необходимые числовые размеры.
Расчеты в пояснительной записке должны состоять из озаглавленных частей, соответствующих условию задач.
Расчет должен выполняться в следующей последовательности:
1. Записывается расчетная формула или уравнение в общем виде.
2. В формулы или уравнение, подставляются числовые значения, входящих в них величин и приводится результат вычисления. Промежуточные выкладки следует проводить только для сложных выражений.
Все задачи контрольных работ выполняются строго по шифру. Отклонения от шифра влечет за собой возврат контрольной работы и ее повторное выполнение в соответствии с шифром.
Забиваем Сайты В ТОП КУВАЛДОЙ - Уникальные возможности от SeoHammer
Каждая ссылка анализируется по трем пакетам оценки: SEO, Трафик и SMM.
SeoHammer делает продвижение сайта прозрачным и простым занятием.
Ссылки, вечные ссылки, статьи, упоминания, пресс-релизы - используйте по максимуму потенциал SeoHammer для продвижения вашего сайта.
Что умеет делать SeoHammer
— Продвижение в один клик, интеллектуальный подбор запросов, покупка самых лучших ссылок с высокой степенью качества у лучших бирж ссылок.
— Регулярная проверка качества ссылок по более чем 100 показателям и ежедневный пересчет показателей качества проекта.
— Все известные форматы ссылок: арендные ссылки, вечные ссылки, публикации (упоминания, мнения, отзывы, статьи, пресс-релизы).
— SeoHammer покажет, где рост или падение, а также запросы, на которые нужно обратить внимание.
SeoHammer еще предоставляет технологию Буст, она ускоряет продвижение в десятки раз,
а первые результаты появляются уже в течение первых 7 дней.
Зарегистрироваться и Начать продвижение
Выполненная контрольная работа передается для рецензирования преподавателю кафедры. Работа, выполненная с ошибками, возвращается студенту. Исправление ошибок производится на отдельных листах, вклеенных в не зачтенную работу, и отсылается на повторное рецензирование.
1. ЦЕНТРАЛЬНОЕ РАСТЯЖЕНИЕ ИЛИ
СЖАТИЕ ПРЯМЫХ СТЕРЖНЕЙ
В первом разделе будут рассмотрены статически определимые стержни и стержневые системы, внутренние усилия или реакции связей которых можно определить с помощью уравнений статики.
Центральным растяжением (или центральным сжатием) называется такой вид деформации, при котором в поперечном сечении стержня возникает только одно усилие, продольная сила N
(растягивающая или сжимающая). При центральном растяжении или сжатии внешние силы, включая опорные реакции, или их равнодействующие, направлены вдоль оси стержня.
Определение продольных сил
Метод сечений позволяет определять продольную силу в поперечном сечении любого силового участка. Стержень рассекают воображаемой плоскостью перпендикулярно его продольной оси, мысленно отбрасывают одну из образовавшихся частей, а действие на оставшуюся часть заменяют неизвестной продольной силой N
(рис. 1,а). Далее составляют единственное уравнение равновесия оставшейся части å Z = 0.
Из этого уравнения определяют значение N
, т.е. продольная сила в любом сечении бруса равна сумме проекций внешних сил, действующих на оставшуюся часть, на направление внешней нормали к сечению, взятой с обратным знаком.
Правило знаков
Силу N
принято считать положительной при растяжении, т.е. когда она направлена от сечения. При сжатии, наоборот, продольная сила отрицательна и направлена к сечению.
Эпюра (график) продольных сил дает наглядное представление о законе изменения этих сил на каждом силовом участке, стержня. Эпюра позволяет быстро находить опасные сечения стержня.
Силовой участок стержня – это участок, в котором продольная сила действует по одному определенному закону.
Границами силовых участков стержня являются места приложения внешних сил, включая и реакцию заделки стержня.
Напряжения
При центральном растяжении или сжатии в поперечных сечениях стержня возникают равномерно распределенные нормальные напряжения (рис. 1,б), равные отношению продольной силы N
к площади поперечного сечения
[Н/м2
] = [Па] (1.1)
Эпюра напряжений для стержней постоянного сечения аналогична эпюре продольных сил, а при ступенчатом изменении площади сечения стержней, эпюра напряжений имеет скачки не только в местах приложения внешних сил, но и в местах изменения сечения. Это связано с тем, что напряжение обратно пропорционально площади сечения.
Сервис онлайн-записи на собственном Telegram-боте
Попробуйте сервис онлайн-записи VisitTime на основе вашего собственного Telegram-бота:
— Разгрузит мастера, специалиста или компанию;
— Позволит гибко управлять расписанием и загрузкой;
— Разошлет оповещения о новых услугах или акциях;
— Позволит принять оплату на карту/кошелек/счет;
— Позволит записываться на групповые и персональные посещения;
— Поможет получить от клиента отзывы о визите к вам;
— Включает в себя сервис чаевых.
Для новых пользователей первый месяц бесплатно.
Зарегистрироваться в сервисе
Границами участков при построении эпюры напряжений для стержня переменного сечения являются не только места приложения внешних сил, но и места ступенчатого изменения площади сечения.
Оценка прочности элементов конструкции, испытывающих растяжение или сжатие, производится по наибольшему нормальному напряжению.
Условие прочности, которое требуется для нормальной эксплуатации конструкции, записывается в виде:
, (1.2)
где – допускаемое напряжение (задается в расчетных нормах или в справочниках).
Допускаемые напряжения равны опасным напряжениям sоп
, деленным на коэффициент запаса прочности n
:
. (1.3)
Для хрупких материалов за опасные напряжения принимают предел прочности sоп
=
sв
, поэтому
,
для пластичных материалов – предел текучести sоп
=
sТ
, следовательно,
.
Очевидно, что коэффициент запаса n
1
, должен быть больше n
2
, так как после появления пластических деформаций стержень еще не разрушается.
Деформации и перемещения
Напряжения, не превосходящие предела пропорциональности, связаны с относительными деформациями законом Гука
, (1.4)
где - относительная деформация;
- абсолютная продольная деформация (удлинение или укорочение участка бруса длиной l
с постоянными напряжениями в поперечных сечениях, м;
Е
- модуль упругости при растяжении, Па.
Под действием продольных сил происходит удлинение или укорочение силовых участков стержня, а, следовательно, и всего стержня. Если на силовом участке продольная сила и площадь поперечного сечения постоянны, то
,
где – длина стержня до деформации, м;
– то же, после деформации.
Подставляя выражения для и в (1.4), можно получить формулу для определения абсолютного удлинения стержня.
(1.5)
В случае, когда величина силы N
изменяется в пределах силового участка по известному закону, деформация участка складывается из деформаций бесконечно-малых участков , по длине которых величину силы N
можно считать постоянной. Тогда, применяя формулу (1.5) можно записать
. (1.6)
Полная деформация участка
; (1.7)
Если на участке с постоянным поперечным сечением действует равномерно распределенная продольная погонная нагрузка t
, то усилие от этой нагрузки будет изменяться по закону
. (1.8)
Подставляя (1.8) в (1.7), получим
(1.9)
где - равнодействующая равномерно распределенной погонной нагрузки на данном участке.
Для стержня, имеющего несколько силовых участков, абсолютное изменение длины стержня определяется как алгебраическая сумма деформаций отдельных силовых участков:
, (1.10)
где - абсолютные деформации соответствующих силовых участков стержня, определяемые по формуле (1.5) и (1.9).
Перемещение поперечных сечений стержня вдоль его оси обозначается буквой U
и является следствием деформации силовых участков стержня.
Перемещение произвольного сечения стержня равно абсолютному удлинению той части стержня, которая заключена между этим сечением и заделкой. Если известно перемещение сечения в начале участка, длиной l,
то перемещение сечения в конце участка в котором действует нормальная сила и, кроме того, по длине участка приложена равномерно распределенная нагрузка, может быть вычислено по формуле
; (1.11)
Знаки у слагаемых определяются соответствием выбранного положительного направления и направлением действия сил.
Отсюда следует, что перемещение поперечных сечений стержня может происходить и на участках, не подверженных деформации, а как результат влияния деформации соседних силовых участков. Это основное отличительное свойство перемещения от деформации.
Определяют перемещения по формуле (1.11) и начинают от неподвижного конца, т.е. от заделки.
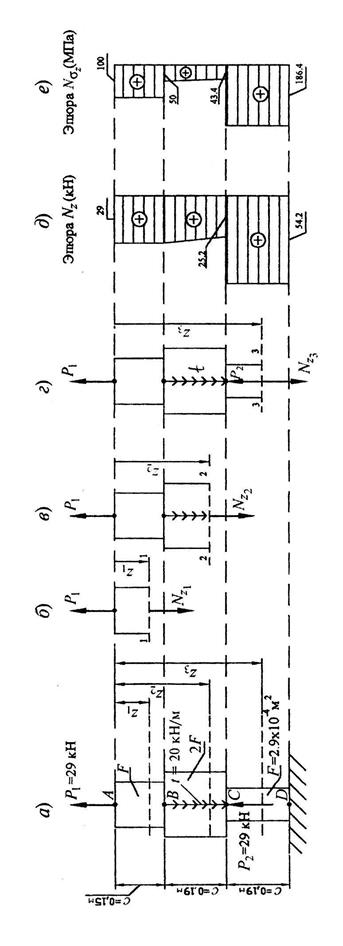
Пример
1
. Стальной стержень (Е
= 2×105
МПа), один конец которого жестко защемлен, другой – свободен, находится под действием продольных сил Р
и распределенной нагрузки t
= 20 кН/м. Продольные силы и нагрузка вызваны взаимодействием стержня с остальными частями механизма, не показанными на схеме. Отдельные участки стержня имеют различную площадь поперечного сечения, F
или 2F
(рис.2,а).

Требуется:
1) сделать схематический чертеж бруса по заданным размерам, соблюдая масштаб длин по вертикали;
2) вычислить значения продольной силы N
и нормального напряжения s,
построить их эпюры;
3) найти перемещение точки В.
Решение
I.
Определение количества участков
Нормальная сила Nz
зависит от величин внешних сил, поэтому границами участков будут сечения, в которых приложены эти силы, а также сечения совпадающие с началом (концом) действия распределенной нагрузки.
Таким образом, рассматриваемый брус имеет три самостоятельных участка, начиная со свободного конца:
I участок от А (точка приложения силы Р
) до В (начало действия распределенной нагрузки)
II участок от В до С (конец действия распределенной нагрузки)
III участок от С до D (точка закрепления бруса).
II. Определение значений продольной силы
N
и нормального напряжения
s
Для этой цели воспользуемся методом сечений.
I участок (А – В) 0 м Ј z1
Ј 0,15 м
Проведем сечение 1–1 на расстоянии z
1
от начала координат (точка А), отбросим нижнюю часть (рис.2). Рассмотрим равновесие верхней отсеченной части. На нее действует только внешняя сила P
и продольная сила , показанная в положительном направлении, которая учитывает воздействие нижней отброшенной части (рис. 2,б).
Составим уравнение равновесия и выразим продольную силу, действующую на первом участке:
; – Р
= 0; = Р
= 29 кН.
Для нормального напряжения (при F
1
=
F
= const):

Полученные величины продольной силы и нормального напряжения не меняются по всей длине первого участка.
II участок (B – C) 0,15 м Ј z2
Ј0, 34 м
Аналогично предыдущему проведем сечение 2–2 на расстоянии z
2
от свободного конца бруса, в пределах II-го участка (рис. 2,в). Для верхней части составим уравнение равновесия .
В это уравнение войдут: сосредоточенная сила Р
= 29 кН, равнодействующая продольной распределенной нагрузки по длине отсеченной части второго участка , а также сила , показанная в положительном направлении.
При этом уравнение равновесия примет вид:
отсюда
 кН.
Учитывая постоянство площади поперечного сечения на втором участке, выражение для нормального напряжения может быть записано таким образом:

Анализируя полученные выражения, видим, что величины продольной силы и имеют линейную зависимость от ординаты z
2
. Поэтому для построения эпюр достаточно определить их значения в начале и конце участка:
при z
2
= 0,15: N
(0,15) = 32 – 2 × 0,15 = 29 кН;
s
(0,15) = МПа;
при z
2
= 0,34: N
(0,34) = 32 – 20 × 0,34 = 25,2 кН;
s
(0,34) = .
Проводим сечение 3–3 на расстоянии z
3
от свободного конца бруса, в пределах III-го участка (рис. 2,г).
III участок (C – D) 0,34 м Ј z
3
Ј 0,53 м
Уравнение равновесия принимает вид:
: 
Выразив , получаем:

Выражение для нормального напряжения может быть записано таким образом: 
Подставив числовые значения в приведенную формулу, получаем:
.
По полученным значениям строим эпюры Nz
и s
z
(рис. 2,д,е).
Необходимым условием правильности п
остроения этих графиков является выполнение следующих требований:
– растягивающие усилия Nz
и нормальные напряжения s
z
со знаком “+” откладываем влево от базисной линии 0–0, отрицательные вправо;
– если нагрузка равномерно распределена по длине участка, то эпюра ограничена наклонной линией;
– скачок в эпюре N
должен находиться в точке приложения сосредоточенн
ого усилия и быть равным по величине значению этой си
лы;
– скачки в эпюре s
должны совпадать с точками приложения внешней силы Р
и изменения площади поперечного сечения бруса.
III. Вычисление перемещения точки В
Для определения перемещения точки В стержня необходимо помнить, что смещение сечения зависит от деформации не всего бруса, а лишь некоторой его части между сечением и заделкой. Так в нашем случае перемещение точки В равно суммарному изменению длины участков ВС и CD:
.
При вычислении абсолютных деформаций участков моно применить принцип независимости действия сил и формулы (1.5) и (1.9).
На участок CD как внешние силы действуют: 2Р
– растягивающая и Т
2
– сжимающая.
На участок СВ как внешняя сила действует Р
= 29 кН и равномерно распределенная нагрузка t
= 20 кН/м.

Таким образом,

Точка В перемещается вверх.
Вопросы для самопроверки
1. Что такое центральное растяжение и сжатие?
2. Что понимается под продольной силой в брусе, и каким способом она определяется?
3. Какое правило знаков принято при определении продольной силы? Какова размерность продольной силы?
4. Что такое эпюра продольной силы? Как она строится и с какой целью?
5. Что такое напряжение? Чем определяется знак напряжения? Какова размерность напряжения? Какие факторы влияют на величину напряжения?
6. Напишите условие прочности при растяжении или сжатии.
7. Что называется абсолютной (полной) продольной деформацией? Напишите формулу абсолютной деформации.
8. Как формулируется закон Гука? Напишите формулы, выражающие закон Гука, для относительной и абсолютной продольной деформации бруса.
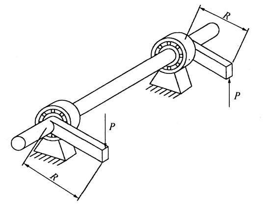
II. КРУЧЕНИЕ СТЕРЖНЕЙ КРУГЛОГО СЕЧЕНИЯ
Кручением называется такой случай деформации стержня, при котором в его поперечных сечениях возникает только один внутренний силовой фактор – момент относительно продольной оси , который называется крутящим моментом .
Стержни, работающие на кручение, называются валами. Кручение валов часто сопровождается изгибом (см. задачу № 7). На рис. 3 показана часть вала, подверженная кручению без изгиба. Силы с помощью рычагов создают внешние крутящие не вызывая изгиба, так как в месте прикрепления рычагов размещаются опоры, препятствующие перемещениям направленным перпендикулярно оси вала, но не препятствующим повороту поперечных сечений относительно оси 

Для определения внутренних усилий, возникающих в поперечных сечениях вала под действием внешних моментов, используется метод сечений.
Правило знаков: крутящий момент считается положительным, если при взгляде на поперечное сечение оставшейся части он виден вращающим по ходу часовой стрелки.
Рассмотрим случай, когда все внешние моменты уравновешены и действуют в плоскостях, перпендикулярных оси стержня (рис. 4,а).
– М
1
– М
2
+ М
3
– М
4
= 0 2.1)
Для определения крутящих моментов в каком-либо сечении, например I–I, мысленно разрежем вал по этому сечению на две части и приложим к каждой части крутящие моменты М
z
. Величину крутящего момента можно найти из условия равновесия любой из отсеченных частей. Для этого необходимо приравнять нулю сумму моментов относительно продольной оси стержня.

Так, например, для случая, показанного на рис. 4,б, из уравнения равновесия левой части находим
-М
1
– М
2
+ М
z
=0,
откуда М
z
= М
1
+ М
2
. (2.2)
Для случая, когда берется равновесие правой части, имеем
М
z
– М
3
+ М
4
=0.
Следовательно М
z
= М
3
– М
4
. (2.3)
Легко заметить, что оба момента М
z
равны между собой. Это видно из равенства (2.1), откуда
М
1
+ М
2
= М
3
– М
4
.
В общем случае вместо уравнения (2.2) или соответственно уравнения (2.3) можно было бы написать:
М
z
= å Млев
,
М
z
= å Мпр
.
Таким образом, крутящий момент М
z
в сечении стержня численно равен алгебраической сумме внешних скручивающих моментов, действующих по одну сторону от сечения.
В круглом или трубчатом поперечном сечении скручиваемого стержня возникают касательные напряжения, которые определяются по формуле
(2.4)
где Мкр
– крутящий момент в сечении; J
r
– полярный момент инерции сечения; r
– расстояние от оси стержня до точки поперечного сечения в окрестности которой определяется напряжение.
Касательные напряжения направлены перпендикулярно радиусу в сторону соответствующую направлению Мкр
(рис. 5).
Для круглого сечения
(2.5)
Для трубчатого сечения
. (2.6)
где D
и d
– диаметры внешней и внутренней окружности.
Максимального значения напряжения достигают в крайних точках сечения у поверхности вала.
При 
(2.7)
где – полярный момент сопротивления круглого сечения, r
– радиус вала.

Для круглого сечения
(2.8)
Для трубчатого сечения
. (2.9)
Деформация при кручении валов состоит во взаимном повороте двух сечений относительно продольной оси . Два сечения в начале и конце участка с постоянными моментами поворачиваются на угол
, (2.10)
здесь l
– длина участка вала; GJ
r
– жесткость при кручении; G
– модуль сдвига.
Угол закручивания, приходящийся на единицу длины, называют относительным углом закручивания Q
. (2.11)
Условие прочности при кручении имеет вид
, (2.12)
где [t
] – допускаемое касательное напряжение.
При проектировании диаметр вала определяется из условий прочности и жесткости
Для круглого сечения
и
. (2.13)
Для обеспечения требуемой жесткости вала необходимо, чтобы наибольший относительный угол закручивания не превосходил допускаемого значения угла закручивания на единицу длины [Q].
Условие жесткости при кручении
. (2.14)
Допускаемый угол закручивания [Q] на погонный метр длины, принимается для разных конструкций и видов нагрузки в пределах не более 2°/м.
Отсюда для круглого поперечного сечения
. (2.15)
Из двух значений, определяемых по (2.13) и (2.15), выбирается большее и округляется в соответствии с ГОСТ.
Пример 2
.
Стальной вал переменного сечения (G
= 8×104
МПа; о
/м, [t
] = 120 МПа), испытывает кручение от приложенных к нему трех известных моментов М
1
, М
2
, М
3
и одного неизвестного (рис. 6, а). Схема получается из задания задачи № 2, если условно принять сечение Е
неподвижным.

Требуется:
1) установить при каком значении момента Х
угол поворота правого концевого сечения вала равен нулю;
2) для найденного значения Х
построить эпюру крутящих моментов;
3) определить размеры поперечного сечения вала из условий прочности и жесткости, приняв, что участки длиною –
имеют диаметр d
1
, а и
–
диаметр d
2
, и ;
4) показать распределение касательных напряжений в поперечных сечениях;
5) построить эпюру углов закручивания.
Решение
I.
Определение количества силовых участков
Силовой участок – это участок вала между двумя внешними моментами.
Для определения величины неизвестного момента Х
выразим угол поворота свободного конца (сечение А
) через действующие моменты и приравняем его нулю.
Для этого применим принцип независимости действия сил, который для нашего случая формулируется так: для того, чтобы вычислить угол поворота от группы моментов нужно вычислить этот угол от каждого сосредоточенного момента, действующего отдельно, и все результаты алгебраически сложить.
При действии только сосредоточенного момента Х
кручению подвергаются все участки вала. Используя (2.10) получим

При действии только момента кручению подвергается четвертый участок – поворачивается сечение D
, а вслед за ним на тот же угол поворачивается остальные участки без деформации .
Таким же путем находим
; .
Окончательно,
.
;
Учтем, что
при 
Умножив обе части расчетного уравнения на , получим

II. Построение эпюры крутящих моментов с учетом Х
Определим крутящий момент на каждом силовом участке, применив метод сечений:
Мкр
1
= X
= 1,06 кНм;
Мкр
2
= Х – М
3
= 1,06 – 2,2 = –1,14 кНм;
Мкр
3
= Х – М
3
+М
2
= 1,06 – 0,1 = 1,05 кНм;
Мкр
4
= Х
– М
3
+М
2
– М
1
= 1,06 – 2,1 = –1,04 кНм.
По полученным значениям крутящих моментов строим эпюру Мкр
(рис. 6,б).
III. Определение размеров поперечных сечений вала
Расчет на прочность
На участках I и IY круглые поперечные сечения одинаковые с диаметром . Наиболее опасным из этих двух участков является участок I .

На участках II и III – сечение диаметром . Наибольший по модулю момент на участке II.

Таким образом, для всего вала опасным по прочности является I участок.
Находим диаметр из условия прочности

Отсюда 
Расчет на жесткость
Выражаем относительные углы закручивания через .




Следовательно, на первом участке имеет место максимальный угол закручивания.
По условию жесткости, переведя градусы в радианы, получим




Из условий прочности и жесткости . Округляем до целых мм: , отсюда 
IV. Построение эпюр касательных напряжений
t
в поперечных
сечениях вала
(рис.7)
Сечение
I-
I

Сечение
II-II

Сечение
III-III

Сечение
IY-IY


Y. Построение эпюры узлов поворота сечений вала
Полярные моменты инерции сечений для:
участков I и IY 
участков II и III 
Жесткость сечений на кручение

Углы поворота отдельных сечений вала определяются по отношению к неподвижному сечению ( в нашем случае жесткая заделка) 




Ошибка составляет .
По вычисленным значениям строим эпюру углов закручивания (рис. 6,в). Так как крутящие моменты на всех участках постоянны, то ординаты эпюры углов закручивания линейно зависят от координаты Z
– расстояние от начала участка до сечения

Вопросы для самопроверки
1. Какой вид деформации называется кручением?
2. Внутренние усилия при кручении.
3. Как называются стержни работающие на кручение?
4. Какие напряжения возникают в поперечном сечении стержня при кручении?
5. Условие прочности при кручении.
6. Как определяются абсолютный и относительный углы закручивания при кручении?
7. Что называется жесткостью вала при кручении?
8. Условие жесткости при кручении.
ЛИТЕРАТУРА
1. Александров А.В., Потапов В.Д., Державин Б.П.
Сопротивление материалов. – М.: Высшая школа, 1995. – 560 с.
2. Сидоров В.Н
. Лекции по сопротивлению материалов и теории упругости. – М.: Изд. Центр генштаба Вооруженных сил РФ, 2002. – 352 с.
3. Дарков А.В., Шапиро Г.С.
Сопротивление материалов: учеб. Для студентов заочных вузов и вфакультетов. –5-е изд., перераб. – М.: Высшая школа, 1989.- 654 с.
4. Смирнов А.Ф.
Сопротивление материалов. М.: Высшая школа, 1975. – 390 с.
5. Артамонов М.И., Кушнаренко Е.М., Казей С.И.
Сопротивление материалов: Методические указания к выполнению контрольной работы № 1. – М.: ВЗИИТ, 1991.
Канд. техн. наук, проф. Л.Ю. Кузьмин
Канд. техн. наук, доцент В.Е. Гришунин
Канд. техн. наук, доцент И.М. Кузнецов
СОПРОТИВЛЕНИЕ МАТЕРИАЛОВ
Методические указания
к выполнению контрольной работы №1
Редактор
Компьютерная верстка
ЛР №020307 от 28. 11. 1991 г.
Тип. зак. Изд. зак. Тираж
Подписано в печать Гарнитура Times. Офсет
Усл. печ.. Уч. -изд. л. Формат 60x901
/16
Издательский центр РГОТУПС
125993, Москва, Часовая ул., 22/2
Типография РГОТУПС, 107078, Москва, Басманный пер., 6
|