| Федеральное агентство по образованию Российской Федерации
Бийский технологический институт (филиал)
государственного образовательного учреждения высшего профессионального образования «Алтайский государственный технический университет
имени И.И. Ползунова»
Л.И. Идт, Г.И. Куничан, Н.С. Левина
СОДЕРЖАНИЕ И ОФОРМЛЕНИЕ
КУРСОВОЙ РАБОТЫ
ПО ДИСЦИПЛИНЕ
«ИНЖЕНЕРНАЯ ГРАФИКА»
Методические рекомендации по организации самостоятельной работы
студентов специальностей: 240701 – Химическая технология органических соединений азота и 240702 – Химическая технология полимерных
композиций, порохов и твёрдых ракетных топлив
Бийск 2010
УДК 744.4(076)
И 29
Рецензент: доц. кафедры БУАА, к.т.н. Л.З. Муханова
Идт, Л.И. Содержание и оформление курсовой работы по дисциплине «Инженерная графика»: методические рекомендации по организации самостоятельной работы студентов специальностей: 240701 – Химическая технология органических соединений азота и 240702 – Химическая технология полимерных композиций, порохов и твёрдых ракетных топлив /Л.И. Идт, Г.И. Куничан, Н.С. Левина
Алт. гос. техн. ун-т, БТИ. – Бийск:
Изд-во Алт. гос. техн. ун-та, 2010. – 28 с.
В настоящем издании представлены рекомендации по подготовке, выполнению и оформлению курсовой работы по инженерной графике для студентов специальностей ХТПК и ХТОСА дневной формы обучения.
УДК 744.4(076)
И 29
Рассмотрены и рекомендованы к изданию
на заседании кафедры «Техническая графика».
Протокол №57 от 20 января 2010 г.
Ó Л.И. Идт, Г.И. Куничан, Н.С. Левина, 2010
ÓБТИ АлтГТУ, 2010
СОДЕРЖАНИЕ
| 1 СОДЕРЖАНИЕ КУРСОВОЙ РАБОТЫ И ЭТАПЫ ЕЁ ВЫПОЛНЕНИЯ
|
4
|
| 2 ПОРЯДОК ВЫПОЛНЕНИЯ ЗАДАНИЯ
|
4
|
| 3 СОДЕРЖАНИЕ ПОЯСНИТЕЛЬНОЙ ЗАПИСКИ
|
20
|
| 4 ОФОРМЛЕНИЕ ПОЯСНИТЕЛЬНОЙ ЗАПИСКИ И ГРАФИЧЕСКИХ ДОКУМЕНТОВ
|
21
|
| 5 ВОПРОСЫ ДЛЯ ПОДГОТОВКИ К ВЫПОЛНЕНИЮ КУРСОВОЙ РАБОТЫ
|
22
|
| 6 ОЦЕНКА ЗА КУРСОВУЮ РАБОТУ
|
23
|
| СПИСОК ИСПОЛЬЗОВАННЫХ ИСТОЧНИКОВ
|
24
|
| Приложение А. Примеры оформления основной надписи в соответствии с ГОСТ 2.104
|
25
|
| Приложение Б. Пример оформления титульного листа
|
26
|
| Приложение В. График контроля самостоятельной работы студентов
|
27
|
Курсовая работа по инженерной графике для студентов специальностей ХТПК и ХТОСА предусмотрена учебным планом в первом семестре, поэтому при её выполнении студенты приобретают первый опыт в плане творческого осмысления результатов полученных знаний по дисциплине, выполнения пояснительной записки и оформления текстовых документов. В настоящих методических рекомендациях приведены основные сведения по применению изученного теоретического материала, порядку и объёму выполнения задания, а также требования по оформлению пояснительной записки и чертежей.
Забиваем Сайты В ТОП КУВАЛДОЙ - Уникальные возможности от SeoHammer
Каждая ссылка анализируется по трем пакетам оценки: SEO, Трафик и SMM.
SeoHammer делает продвижение сайта прозрачным и простым занятием.
Ссылки, вечные ссылки, статьи, упоминания, пресс-релизы - используйте по максимуму потенциал SeoHammer для продвижения вашего сайта.
Что умеет делать SeoHammer
— Продвижение в один клик, интеллектуальный подбор запросов, покупка самых лучших ссылок с высокой степенью качества у лучших бирж ссылок.
— Регулярная проверка качества ссылок по более чем 100 показателям и ежедневный пересчет показателей качества проекта.
— Все известные форматы ссылок: арендные ссылки, вечные ссылки, публикации (упоминания, мнения, отзывы, статьи, пресс-релизы).
— SeoHammer покажет, где рост или падение, а также запросы, на которые нужно обратить внимание.
SeoHammer еще предоставляет технологию Буст, она ускоряет продвижение в десятки раз,
а первые результаты появляются уже в течение первых 7 дней.
Зарегистрироваться и Начать продвижение
Методические рекомендации разработаны в соответствии с ГОСТ 2.105–95 и СТО 12400–2004.
1 СОДЕРЖАНИЕ КУРСОВОЙ РАБОТЫ И ЭТАПЫ ЕЁ ВЫПОЛНЕНИЯ
Курсовая работа состоит из трёх частей:
1 – Применение простых и сложных разрезов для выявления внутренней формы приведённых в задании деталей;
2 – Построение по двум приведённым в задании видам детали третьего, выполнение необходимых разрезов и прямоугольной изометрической проекции этой детали;
3 – Применение инженерной графики для визуализации результатов лабораторных работ.
Данные для выполнения двух первых разделов выдаются студенту на кафедре технической графики; данные для выполнения третьего раздела студент набирает сам по результатам лабораторных работ исследовательского характера, выполняемых им по другим дисциплинам учебного плана.
Курсовая работа должна быть представлена пояснительной запиской (8–10 листов формата А4) и альбомом чертежей – четыре листа формата А4 и один лист формата А3.
2 ПОРЯДОК ВЫПОЛНЕНИЯ ЗАДАНИЯ
Для выполнения первой и второй частей задания курсовой работы студент должен усвоить тему «Изображения – виды, разрезы, сечения» [1–5], а также основные правила выполнения чертежей.
2.1 Изображения выполняются методом ортогонального проецирования на две или три взаимно перпендикулярные плоскости проекций, в качестве которых принимаются шесть граней куба.
Вид
– это изображение обращённой к наблюдателю видимой стороны предмета. Виды
, получаемые проецированием на шесть граней куба, называются основными
(рисунок 1), и они имеют следующие названия:
1 – вид спереди (главный вид)
, получается при проецировании на фронтальную плоскость, при этом предмет относительно фронтальной плоскости располагают так, чтобы изображение на ней давало наиболее полное представление о форме и размерах предмета;
2 – вид сверху
, получается проецированием на горизонтальную плоскость;
3 – вид слева
, получается проецированием на профильную плоскость;
4 – вид справа
;
5 – вид снизу
;
6 – вид сзади
.

Рисунок 1 – Расположение основных видов на основных
Сервис онлайн-записи на собственном Telegram-боте
Попробуйте сервис онлайн-записи VisitTime на основе вашего собственного Telegram-бота:
— Разгрузит мастера, специалиста или компанию;
— Позволит гибко управлять расписанием и загрузкой;
— Разошлет оповещения о новых услугах или акциях;
— Позволит принять оплату на карту/кошелек/счет;
— Позволит записываться на групповые и персональные посещения;
— Поможет получить от клиента отзывы о визите к вам;
— Включает в себя сервис чаевых.
Для новых пользователей первый месяц бесплатно.
Зарегистрироваться в сервисе
плоскостях проекций
Все основные виды, выполняемые на чертеже детали или другого изделия, должны располагаться в проекционной связи с главным видом – в этом случае они не обозначаются. Если для какого-либо вида проекционная связь не соблюдается, то направление проецирования для получения этого вида указывается стрелкой, обозначенной прописной буквой русского алфавита, и над изображением вида ставится эта же буква.
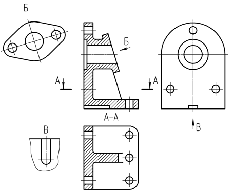
Если какой-либо элемент детали не может быть показан ни на одном из основных видов без искажения формы (рисунок 2), то выполняют дополнительный вид
– изображение на плоскости, не параллельной ни одной из основных плоскостей проекций (эта плоскость выбирается параллельной рассматриваемому элементу). Для уменьшения количества изображений часто бывает целесообразно вместо какого-либо вида детали изображать только отдельное место её – в таком случае применяют местный вид.
Местный вид может ограничиваться: а) линией обрыва – сплошной волнистой тонкой (вид В на рисунке 2); б) контурной линией элемента – сплошной основной толстой (вид Б на рисунке 2); в) контурной и осевой линиями, если элемент симметричный. Обозначения местных и дополнительных видов выполняются так же, как и для основного вида, выполненного вне проекционной связи с главным (см. рисунок 2). Если на чертеже местный или дополнительный вид необходимо повернуть по отношению к направлению взгляда, то после его наименования ставят знак (повёрнуто).

Рисунок 2 – Изображение и обозначение дополнительного (Б) и
местного (В) видов на чертеже
Разрез
– это изображение предмета, мысленно рассечённого одной или несколькими секущими плоскостями, при этом на изображении показывают то, что расположено в секущей плоскости и за ней по направлению взгляда. Часть предмета, расположенная между наблюдателем и секущей плоскостью, мысленно удаляется, а оставшаяся часть изображается заштрихованной там, где секущая плоскость проходит через материал предмета, и незаштрихованной там, где она проходит через полости и отверстия. Вид штриховки зависит от материала, из которого изготовлена деталь (подробнее см. [1–5]).
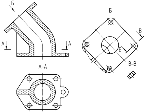
Разрезы различаются по следующим признакам:
а) в зависимости от положения секущей плоскости
по отношению к плоскостям проекций разрезы бывают горизонтальные
, вертикальные
(фронтальные и профильные) и наклонные
(рисунок 3);
б) в зависимости от количества секущих плоскостей
разрезы делятся на простые
(одна секущая плоскость) и сложные
(две и более секущих плоскости);
в) в зависимости от полноты изображения
разрезы бывают полные
и местные
.

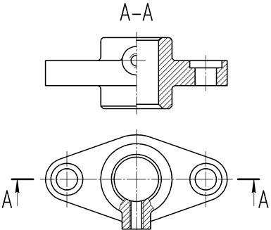
Рисунок 3 – Применение фронтального, горизонтального (А–А) и наклонного (В–В) разрезов
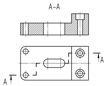
Сложные разрезы, в свою очередь, делятся на сложные ступенчатые
разрезы, когда секущие плоскости расположены параллельно друг другу, и сложные ломаные
разрезы, когда секущие плоскости пересекаются между собой. При выполнении ступенчатого разреза секущие плоскости как бы совмещают в одну плоскость, и длина разреза остаётся такой же, как и у соответствующего основного вида (рисунок 4).

Рисунок 4 – Обозначение и изображение сложного ступенчатого разреза
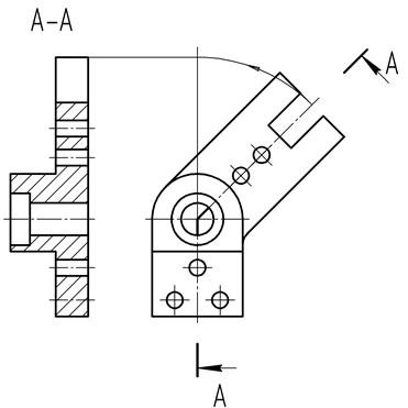
При выполнении же ломаного разреза секущую плоскость, не параллельную плоскости проекций, поворачивают до совмещения с секущей плоскостью, параллельной плоскости проекций, при этом направление поворота может не совпадать с направлением взгляда (рисунок 5).

Рисунок 5 – Обозначение и изображение сложного ломаного разреза
Для того чтобы показать, как получается разрез, используется разомкнутая линия (толщиной от S до 1,5S и длиной от 8 до 20 мм), штрихи которой обозначают следы секущей плоскости или плоскостей. На расстоянии 2…3 мм от наружных концов разомкнутой линии перпендикулярно, вплотную к ней подводятся стрелки, обозначающие направление взгляда для получения разреза (рисунок 6). Снаружи от стрелок (по отношению к изображению) ставятся одинаковые прописные буквы русского алфавита, ориентация которых не зависит от положения стрелок – под углом 75° к основной надписи чертежа. Эти же буквы наносятся над изображением данного разреза. Не обозначаются только простые разрезы, для получения которых используется секущая плоскость, совпадающая с плоскостью симметрии детали, и при этом сам разрез располагается на месте соответствующего вида.

Рисунок 6 – Размеры стрелки, используемой для изображения направления взгляда
Кроме уже рассмотренных видов и разрезов для изображения деталей применяются сечения и выносные элементы [1–5].
При выполнении первого раздела курсовой работы студент должен проанализировать внешнюю и внутреннюю форму приведённых в задании первых четырёх деталей, т.е. выяснить: сочетанием каких элементарных геометрических тел они образованы, относительно каких плоскостей имеют симметрию, присутствуют ли в детали рёбра жёсткости. В пояснительной записке
привести описание этого анализа.
После этого вычертить указанные в задании изображения этих деталей – чертёж каждой детали выполняется на отдельном формате А4, в основной надписи (см. Приложение А) указываются: наименование детали, обозначение, масштаб, группа студента, его фамилия, фамилия преподавателя.
2.2 При выполнении чертежа детали необходимо помнить, что излишек изображений – это такая же ошибка, как и их недостаток. Количество изображений должно быть минимальным, но достаточным для того, чтобы можно было показать форму и размеры каждого элемента детали, а также определить его положение. Поэтому для уменьшения трудоёмкости выполнения чертежей стандартами предусматриваются некоторые условности и упрощения:
– если какой-либо вид детали представляет собой симметричную фигуру, то допускается совмещение половины этого вида с половиной соответствующего разреза, при этом границей между ними является ось симметрии (рисунок 7);

Рисунок 7 – Совмещение половины вида с половиной фронтального разреза и применение местного разреза на виде сверху
– когда на виде какой-либо элемент детали, например ребро, совпадает с осью симметрии, то изображают чуть больше половины вида, а когда на оси симметрии находится элемент отверстия, изображают чуть меньше половины вида – в этих случаях границей между частью вида и частью разреза является линия обрыва, т.е. сплошная волнистая тонкая линия (рисунок 8);
Рисунок 8 – Изображение границы между видом и разрезом сплошной тонкой волнистой линией
– если изображение какого-либо вида не теряет своей информативности, допускается выполнять на нём местный разрез, ограничивая последний линией обрыва (см. рисунок 7);
– если секущая плоскость разреза проходит через ребро жёсткости или тонкую стенку в продольном направлении, то на изображении разреза эти элементы показываются нерассечёнными, т.е. не штрихуются (см. рисунок 2).
Учитывая всё ранее изученное, студент приступает к выполнению второго раздела курсовой работы. Для этого необходимо:
– провести анализ формы пятой детали по двум приведённым в задании видам;
– выяснить, какие секущие плоскости необходимо использовать, чтобы выявить внутреннюю форму детали;
– какие отверстия можно показать на местных разрезах, совмещенных с видами;
– какую часть детали нужно удалить на изометрической проекции, чтобы наиболее полно показать наглядное изображение полостей детали.
Графическая часть второго раздела состоит из одного листа формата А3 или из одного листа формата А3 и одного листа формата А4, если изображение прямоугольной изометрической проекции не помещается на одном чертеже с видами и разрезами этой детали. На листе формата А3 студент вычерчивает в тонких линиях два приведённых в задании вида и третий недостающий в соответствии с проведённым анализом детали. Затем указывает положение секущих плоскостей для выполнения необходимых полных разрезов и линии обрыва для выполнения местных разрезов, совмещённых с имеющимися видами. После этого выполняет обводку, вычерчивая и обозначая указанные разрезы, проставляет размеры, распределяя их, по возможности, равномерно на всех трёх изображениях, заполняет основную надпись.
Если на этом листе осталось место для прямоугольной изометрической проекции, то она вычерчивается здесь же, если деталь достаточно крупная, то изометрическая проекция вычерчивается отдельно на формате А4.
2.2.1 Прямоугольная изометрическая
проекция (прямоугольная изометрия) является разновидностью аксонометрических проекций (ГОСТ 2.317–69). Аксонометрические проекции применяются для наглядного изображения различных предметов. Слово «аксонометрия» обозначает измерение по осям – от греческих «аксо» – ось и «…метрия» – измерять. При построении аксонометрической проекции геометрический объект привязывают к прямоугольной системе координат (по высоте, глубине и ширине) и затем проецируют вместе с осями координат на аксонометрическую (картинную) плоскость с помощью проецирующих прямых. Причём объект должен быть расположен по отношению к картинной плоскости так, чтобы направление проецирующих прямых не совпадало бы ни с одной из осей координат.
При выполнении прямоугольной изометрической проекции координатные оси располагают так, чтобы они имели одинаковый угол наклона к аксонометрической плоскости проекций. В этом случае они проецируются с одинаковым коэффициентом искажения и под одинаковыми углами друг к другу. Коэффициент искажения
– отношение длины аксонометрической проекции отрезка к его истинной длине – в прямоугольной изометрии равен 0,82
по всем осям координат. Этот коэффициент называется истинным. При построении же используется приведённый коэффициент искажения, равный единице. За счёт этого изображение получается увеличенным в 1,22 раза по сравнению с проецируемым объектом – на наглядности изображения это не сказывается, а построение упрощает, так как размеры берутся в натуральную величину. Оси координат в прямоугольной изометрии располагаются под углом 120° друг к другу (рисунок 9).

Рисунок 9 – Расположение осей координат в прямоугольной изометрии
Для построения осей прямоугольной изометрии пользоваться транспортиром нецелесообразно – рациональнее использовать геометрические приёмы (рисунок 10): деление окружности на три части и использование тангенса угла 30°.
R – произвольное значение
Рисунок 10 – Построение осей в прямоугольной изометрии
Откладывать отрезки и производить их измерения в аксонометрии можно только по осям Ох
, Оу
, О
z
или на прямых, параллельных этим осям. Если необходимо построить аксонометрическую проекцию точки А(20; 10; 45), то можно использовать либо ломаную прямую, звенья которой параллельны осям координат, либо на осях координат отложить отрезки, соответствующие координатам, и на них, как на сторонах, построить прямоугольный параллелепипед – вершина, противоположная точке начала координат, будет искомой аксонометрической проекцией (рисунок 11).
Рисунок 11 – Построение точки по координатам в прямоугольной изометрии
2.3 Для выполнения третьего раздела курсовой работы студент использует данные, полученные при выполнении лабораторных работ по любой изучаемой дисциплине (химии, термохимии, физике). Эти данные студент должен представить в виде таблицы и проиллюстрировать их при помощи линейной диаграммы-графика [10].
В курсе инженерной графики правила выполнения чертежей представляют лишь часть задачи, хотя и основную. С целью сокращения количества погрешностей при передаче информации с помощью чертежей разработаны и совершенствуются принципы оформления конструкторской документации, собранные в ЕСКД (Единую систему конструкторской документации), многие стандарты которой студентами уже изучены. Общей же целью курса является знакомство студентов с техникой визуализации любой научно-технической информации, то есть студент должен научиться представлять информацию графически в виде рисунка, схемы, чертежа, таблицы и других объектов, поскольку визуальным путём человек получает от 80 до 90 % информации.
При выборе того или иного средства визуализации основными критериями достоинств и недостатков различных форм представления информации служат скорость и точность считывания её человеком.
2.3.1 Диаграммы
– удобное, полезное и гибкое средство для отображения информации. Они облегчают сравнение различных величин, выявляют тенденции их движения и взаимные связи. Преимущества, которые имеют диаграммы перед другими графическими формами, можно сформулировать следующим образом:
– связи между величинами, зрительно воспринимаемые на диаграммах, читаются более ясно и запоминаются легче, чем при чтении той же информации с помощью, например, таблиц;
– пользование диаграммами значительно сокращает время считывания, так как основные выводы из большой массы данных могут быть зрительно восприняты с одного взгляда;
– диаграммы и графики могут обнаруживать неявно выраженные факты и связи, стимулируя таким образом аналитическое мышление;
– хорошо построенная диаграмма в большей мере, чем другие формы графического представления цифровых данных, способна вызвать интерес и привлечь внимание читателя.
Основными элементами линейной диаграммы являются координатная сетка
, масштабные шкалы
, масштабные множители и заголовок
.
Заголовок диаграммы
состоит из двух частей: нумерационного
заголовка (например, Рисунок 9) и тематического
(Расположение осей координат в прямоугольной изометрии). Заголовок располагается ниже изображения диаграммы: сначала нумерационный, а после него через тире – тематический заголовок с прописной буквы. Если изображение диаграммы сопровождается поясняющими надписями, то последние располагаются между изображением диаграммы и её заголовком (см. рисунок 14 [10]). Это правило относится ко всем типам графических изображений (рисунков). Тематический заголовок (название) должен быть по возможности кратким.
Масштабные шкалы
в прямоугольной системе двух координат располагаются горизонтально и вертикально. На горизонтальной шкале обычно отображаются независимые переменные, а на вертикальной – зависимые. Для функциональных зависимостей независимая переменная называется «аргумент», зависимая – «функция»; для эмпирических соответственно – «фактор» и «параметр».
При выполнении диаграмм масштаб выбирается произвольно
, но с учётом наилучшего сравнения качеств.
Для наиболее объективного представления о скорости изменения функциональной зависимости соотношение линейных размеров горизонтальной и вертикальной шкал не должно превышать величины 1:1,5
.
Шкалы делятся на графические интервалы следующими способами:
– координатной сеткой;
– делительными штрихами;
– сочетанием координатной сетки и делительных штрихов.
Стрелки на концах шкал не изображаются. Направление возрастания величины указывается на диаграмме при необходимости самостоятельными стрелками параллельно шкалам после обозначения величины.
Допускается диаграммы для информационного изображения функциональных зависимостей выполнять без шкал значений величин. В этом случае оси координат следует заканчивать стрелками, указывающими направления возрастания значений величин.
В зависимости от вида масштабной шкалы линейные диаграммы подразделяются на арифметические
и логарифмические
. Если одна из шкал диаграммы арифметическая, а другая – логарифмическая, то такая диаграмма называется полулогарифмической
. Арифметическая шкала имеет между делениями одинаковые промежутки, а логарифмическая – постепенно суживающиеся. Любая арифметическая диаграмма наглядно показывает абсолютные изменения, а логарифмическая – относительные изменения или степень изменения.
Размер графического интервала (расстояние между делительными штрихами или линиями координатной сетки) следует выбирать с учётом назначения диаграммы и удобства отсчёта с интерполяцией. Рядом с делениями, соответствующими началу и концу шкалы, должны быть указаны соответствующие значения величины. Частоту нанесения числовых значений и промежуточных делений шкалы следует выбирать с учетом удобства пользования диаграммой. Делительные штрихи, соответствующие кратным графическим интервалам, допускается удлинять; линии координатной сетки
, соответствующие кратным интервалам, допускается выполнять сплошной основной линией толщиной S
. Числа у шкал следует размещать вне поля диаграммы и располагать горизонтально.
Масштабные множители
вводятся в тех случаях, когда величины на шкалах, представляющие собой многозначные числа, удобно выразить как кратные . Коэффициент следует указывать для данного диапазона шкалы [10]. Например, в случае безразмерных величин, обозначенных буквой « », вместо ; 0,00002; 0,00003; 0,00004 следует указать , а напротив линий сетки – цифры 1; 2; 3; 4.
В случае использования шкал размерных величин масштабные множители проставляются у единиц размерности. Например, длина в метрах обозначена буквой « », а её величины составляют 0,00001; 0,00002; 0,00003; 0,00004. В этом случае на шкале проставляются числа 1; 2; 3; 4, а единица измерения величины Длина
, м
или Длина
, м
.
Координатная сетка
изображается для того, чтобы можно было быстро определить числовое значение величины в любой точке диаграммы. Количество линий в координатной сетке должно быть минимальным, то есть должно быть столько координатных линий, чтобы можно было на глаз определить значение аргумента и функции (фактора и параметра) в любой точке кривой. Желательное число линий сетки определяется размером диаграммы, характером и пределами колебаний величин, числом кривых и другими факторами – общего правила по этому вопросу не существует.
Координатную сетку, растянутую в горизонтальном направлении, можно применять:
– для данных, наблюдаемых в течение длительного времени;
– для изображения кривых с очень частыми точками наблюдения;
– для изображения медленно меняющихся процессов.
Координатная сетка, растянутая по вертикали, применяется:
– для изображения экспериментальных данных с коротким периодом наблюдения;
– для лучшего выявления малых колебаний значений функции (параметра);
– когда высока относительная скорость изменения параметра;
– когда для одного графика требуются две шкалы, которые желательно привести к общей координатной сетке и в других обоснованных случаях.
Диаграммы следует выполнять линиями, соответствующими ГОСТ 2.308, с учётом размера, сложности и назначения диаграммы.
Базовые линии (оси координат), ограничивающие поле диаграммы снизу и слева или снизу, слева и справа (если используются две вертикальные шкалы), изображаются сплошной основной толстой
линией, толщина которой S
=0,5…1,4 мм. Линии координатной сетки и делительные штрихи следует выполнять сплошной тонкой
линией (S
/2…S
/3).
Кривые, изображающие зависимости, выполняются линиями толщиной 2S
. Однако, если необходимо обеспечить требуемую точность отсчёта, допускается использование линий меньшей толщины.
Для обозначения точек наблюдения на кривых рекомендуется использовать кружки
, квадраты
, треугольники
.
Если на общей диаграмме изображаются две и более кривых, то их изображают различными типами линий. При совпадении в определенной области различных линий следует вычерчивать одну из них.
При наличии на диаграмме пучков линий допускается использовать линии различной толщины и различных типов. Пучок линий, пересекающихся в одной точке под небольшими углами, следует изображать, не доводя до точки пересечения, за исключением крайних линий.
Характерные точки линий, обозначенные буквами, символами или другим образом, допускается изображать кружком. На шкалах допускается наносить числовые значения для характерных точек. Необходимые соединения характерных точек между собой или со шкалами выполняются сплошными тонкими
линиями или, при наличии координатной сетки, штриховыми тонкими
линиями.
На одной диаграмме не рекомендуется изображать более четырёх линий.
Единицы измерения
на диаграмме могут быть нанесены одним из следующих способов:
а) в конце шкалы между последним и предпоследним числами, причём при недостатке места предпоследнее число допускается не наносить;
б) вместе с наименованием переменной величины после запятой;
в) в конце шкалы после последнего числа вместе с обозначением переменной величины в виде дроби, числитель которой – обозначение переменной величины, а знаменатель – обозначение единицы измерения.
Обозначение
переменных величин
, зависимость между которыми изображается, наносятся одним из следующих способов: символом; наименованием; наименованием и символом; математическим выражением функциональной зависимости.
Обозначения величин размещают у середины шкалы с её внешней стороны под числовыми значениями, а при объединении символа с обозначением единиц измерения в виде дроби – в конце шкалы после последнего числа. В случае обозначения величин в виде символов и математических выражений они располагаются горизонтально, как у горизонтальной шкалы, так и у вертикальной, а если обозначения представляют собой наименования или наименования и символы, то – параллельно соответствующим шкалам.
Диаграмма должна быть понятной и недвусмысленной. Для облегчения её понимания допускается у линий, изображающих зависимость, проставлять символы или порядковые номера, которые должны быть разъяснены в пояснительной части
(рисунки 7, 8 и 14 [10]).
Как графическое средство передачи информации диаграмма содержит следующие элементы, которые в соответствии с ГОСТ 2.105–95 должны располагаться в определённом порядке
:
1) изображение зависимостей на координатной сетке либо без неё;
2) поясняющая часть – под изображением;
3) нумерационный и тематический заголовки – ниже поясняющей части.
2.3.2 Табличная форма отображения материала позволяет установить закономерности, сделать определённые выводы о систематизируемых данных. Таблица намного упрощает и ускоряет анализ содержащегося в ней материала; её следует использовать при обработке данных, полученных эмпирическим путём, для установления зависимости параметра от независимых факторов; для систематизации статистических данных, установления связи между фактами и условиями их осуществления и в различных других ситуациях.
Вообще говоря, таблицы по назначению можно разделить на справочные
и аналитические
. Справочные таблицы предназначены для приведения каких-либо сведений в форме, удобной для их обозрения и нахождения, например, таблицы физических характеристик. Аналитические таблицы служат для анализа различного рода процессов и явлений с целью получения вывода. Резкой грани между этими видами таблиц провести нельзя – назначение таблицы определяется автором и типом издания, в котором она публикуется.
Для того, чтобы цифровой материал мог быть преподнесён в табличной форме, необходимо, чтобы все систематизируемые в таблице данные имели общие признаки, позволяющие группировать их в колонки и строки.
Правила построения таблиц изложены в ГОСТ 2.105–95. В соответствии с указанным стандартом таблица должна иметь форму, изображённую на рисунке 11.
| Нумерационный заголовок – Тематический заголовок
|
| Заголовки граф
|
|
Головка
|
| Подзаголовки
|
| Строки
|
| Боковик
|
Графы (колонки
)
|
Рисунок 11 – Форма таблицы
Нумерационный заголовок (Таблица 1
) упрощает ссылку в тексте на таблицу. Все таблицы в тексте нумеруются в сквозном порядке арабскими цифрами (без знака №): Таблица 1
, Таблица 2
, Таблица 3
, … . Допускается нумеровать таблицы в пределах раздела. В этом случае номер таблицы состоит из номера раздела и порядкового номера таблицы в этом разделе, разделённых точкой, например: Таблица 2.6
– шестая таблица во втором разделе. Нумерационный заголовок размещается над таблицей слева
.
Тематический заголовок таблицы даёт возможность читать таблицу без текста, а следовательно должен отражать содержание таблицы, быть кратким и точным. Он располагается над таблицей после нумерационного заголовка через тире с прописной буквы. Точка не ставится ни после номера таблицы, ни в конце тематического заголовка. При делении таблицы на части тематический заголовок не повторяется.
При построении таблицы следует учитывать следующее:
а) головка таблицы должна иметь минимально возможное число ярусов;
б) любой заголовок в головке или боковике таблицы должен быть предельно лаконичным;
в) сопоставлять числа удобнее не в строке, а в графе (по вертикали);
г) все пояснения к таблице должны быть заключены либо в её тематическом заголовке, либо в примечании, помещаемом под таблицей (но над чертой, ограничивающей её);
д) диагональное деление
любой ячейки головки таблицы недопустимо.
Головка таблицы
включает в себя заголовки и подзаголовки боковика и граф (колонок) в единственном числе. Заголовки граф и строк таблицы следует писать с прописной буквы, а подзаголовки – со строчной буквы, если они составляют одно целое с заголовком, или с прописной буквы, если они имеют самостоятельное значение. Точки в конце заголовков и подзаголовков не ставятся. В заголовках не рекомендуется сокращение слов, для сокращения текста заголовков предпочтительно применять условные символьные обозначения, если они пояснены в тексте или приведены на иллюстрациях. Головка таблицы должна быть отделена линией от остальной части таблицы.
Высота строк
таблицы должна быть не менее 8 мм.
Не допускается
включение в таблицу графы «Номер по порядку» (№ п/п). При необходимости нумерации показателей, параметров или других данных порядковые номера указываются в первой графе (боковике) таблицы непосредственно перед их наименованием без точки через пробел (рисунок 12).
Если строки или графы таблицы выходят за формат страницы, её делят на части, помещая их одну под другой или рядом, при этом нижняя горизонтальная линия, ограничивающая таблицу, не проводится, а над продолжением или окончанием таблицы слева пишут «Продолжение таблицы
…» или «Окончание таблицы
…».
Таблица … – Затраты на производство продукции НСО
В процентах ко всем затратам
| Составляющие затрат
|
Затраты на производство
|
| 1994
|
1995
|
| 1 Сырьё и материалы
|
32,3
|
41,2
|
| 2 Топливо
|
7,3
|
7,7
|
| 3 Энергия
|
7,2
|
5,6
|
| 4 Прочее
|
15,6
|
11,6
|
Рисунок 12 – Пример построения таблицы
При простановке единиц измерения
данных, приведённых в таблице, руководствуются следующим:
– если все показатели, приведённые в графах таблицы, выражены в одной и той же единице физической величины, то её обозначение помещается над таблицей справа
(см. рисунок 12), а при делении таблицы на части – над каждой её частью;
– обозначение единицы величины, общей для всех данных в строке
, указывается после её наименования в боковике через запятую;
– обозначение единицы величины, общей для всех данных в графе
, указывают в заголовке (подзаголовке) этой графы также после запятой.
Числовые значения в графах таблиц проставляются так, чтобы одинаковые разряды чисел были расположены один под другим, и для всех значений величин было одинаковое количество десятичных знаков. Если числовые значения указаны в виде интервалов, между крайними числами ставится тире. При отсутствии явления
в соответствующей ячейке ставится прочерк (–), а при отсутствии сведений
– многоточие (…).
Повторяющиеся в таблице цифры, математические знаки, знаки процента и номера, обозначение марок материалов, обозначение нормативных документов заменять кавычками не допускается
.
Кроме определённых преимуществ (наглядность, лаконичность, логичность построения), которые дают таблицы при чтении текста, они имеют и ряд недостатков, которые выявляются в сравнении с другими средствами передачи научно-технической информации. Например, нерационально использовать таблицу, если:
– приходится строить многоярусную головку для небольшого ряда чисел;
– данные, включаемые в таблицу, не носят для текста существенного характера;
– необходимо показать динамику процесса (в таблице отсутствует наглядность). В таких случаях нужно использовать другие формы графики и текста: схемы, диаграммы, текстовые таблицы (рисунок 13) или таблицы-выводы (текст, в котором цифровые данные расположены в виде колонок без разделительных линий).
… Рассмотрим свойства чистой смолы:
предел текучести при растяжении, МПа 55,8
модуль упругости при растяжении, ГПа 3,2
Рисунок 13 – Пример выполнения текстовой таблицы
Таблицы-выводы и текстовые таблицы содержат небольшое количество данных, не имеют номера и заголовка, непосредственно включаются в строй фразы и служат её продолжением или окончанием. Поэтому использование таблицы такого вида целесообразно, если в тексте на неё больше не ссылаются.
Для построения таблиц в документах Microsoft Word используется инструмент «Добавить таблицу».
3 СОДЕРЖАНИЕ ПОЯСНИТЕЛЬНОЙ ЗАПИСКИ
Текст пояснительной записки должен начинаться с постановки цели курсовой работы.
В данной курсовой работе перед студентами ставятся следующие цели:
1) изучить и исследовать методы графического представления на плоском чертеже различных пространственных форм по методу прямоугольного проецирования в соответствии с ГОСТ 2.305;
2) изучить и исследовать законы воспроизведения в пространстве геометрических соотношений элементов пространственной формы по приведённому чертежу (аксонометрические проекции деталей по ГОСТ 2.317);
3) научиться представлять информацию графически в виде рисунка, схемы, чертежа, таблицы и других объектов в зависимости от цели передачи информации и задачи, которую необходимо решить.
В пояснительной записке к первому разделу курсовой работы студент должен изложить, какие виды изображений деталей на плоскости существуют, для чего служат разрезы, привести классификацию разрезов в зависимости от расположения и количества секущих плоскостей и объяснить, почему для приведённых в задании деталей используются именно указанные в задании плоскости.
Во втором разделе необходимо проанализировать форму детали, заданной на чертеже двумя видами: пояснить, какими поверхностями или сочетанием каких поверхностей ограничена деталь, какую форму имеют полости и отверстия в детали, каковы габаритные размеры детали, а также размеры формы и положения всех её элементов. Далее нужно обосновать, почему и какие разрезы должны быть выполнены для выявления формы и размеров всех отверстий и полостей этой детали, как должны быть расположены секущие плоскости. Кроме того, необходимо обосновать выбор секущих плоскостей при выполнении прямоугольной аксонометрической проекции детали.
Выбор графической модели передаваемой информации зависит, в первую очередь, от цели передачи информации и определяется её содержанием и задачей, которую необходимо решить (расчёт это или анализ, сравнение по величине или иллюстрация, качественный аспект или количественный). Если приходится одновременно решать разные задачи, то для иллюстрации информации используются графические модели, представленные двумя и более различными графическими средствами. Например, при выполнении лабораторных работ необходимо составить таблицу данных, полученных в результате эксперимента, выполнить диаграмму в соответствии с этой таблицей, а также схему установки, на которой проводился эксперимент.
В пояснительной записке к третьему разделу необходимо кратко описать цели и задачи эксперимента, проводимого на лабораторной работе; привести аналитические формулы и построить таблицу (или таблицы) по результатам работы.
Для успешного оформления пояснительной записки предварительно стоит повторить теоретический материал и ответить на приведённые в разделе 5 вопросы.
4 ОФОРМЛЕНИЕ ПОЯСНИТЕЛЬНОЙ ЗАПИСКИ И ГРАФИЧЕСКИХ ДОКУМЕНТОВ
Пояснительная записка должна содержать:
– титульный лист, оформленный в соответствии с Приложением Б;
– содержание;
– задание на курсовую работу;
– введение, в котором указывается цель работы;
– основную часть, состоящую из разделов, в которых описано выполнение задания;
– список использованных источников (литература).
На титульном листе не допускаются переносы слов, не ставится точка в конце заголовков.
Содержание состоит из последовательно перечисленных разделов и приложений с указанием номера страницы, на которой они помещены. Слово «СОДЕРЖАНИЕ» записывается в виде заголовка симметрично тексту прописными буквами. Наименования, включённые в содержание, записывают строчными буквами, первая – прописная.
Содержание основной части приводится в разделе 3.
Список использованных источников должен включать все литературные источники в порядке появления в тексте записки ссылок на них. Библиографическое описание каждого источника должно быть приведено в соответствии с ГОСТ 7.1–2003 (см. раздел «Список использованных источников» данной работы).
Пояснительная записка должна быть оформлена в соответствии с ГОСТ 2.105–95.
Все листы пояснительной записки должны соответствовать формату А4 (210´297 мм). Каждый лист оформляется рамкой, выполняемой сплошной основной толстой линией на расстоянии 20 мм слева и по 5 мм справа, сверху и снизу от границ листа. Кроме того, на листе с введением и заголовком первого раздела должна быть выполнена основная надпись для текстовых документов по ГОСТ 2.104 – форма 2, а на всех остальных листах (кроме титульного) – по форме 2а. Примеры заполнения основных надписей – в Приложении А.
Первой страницей пояснительной записки является титульный лист, на котором номер страницы не проставляется. Номера всех остальных страниц проставляются в основной надписи в графе «Лист».
Текст пояснительной записки должен быть выполнен аккуратно с применением устройств вывода ЭВМ литературным технически грамотным языком. Он должен быть разбит на разделы, которые, в свою очередь, могут быть разбиты на подразделы, пункты, подпункты.
Курсовой работе присваивается обозначение в соответствии со стандартами ЕСКД. Например, КР 240701.03.000 ПЗ – обозначение пояснительной записки, а КР 240701.03.002 – обозначение чертежа.
Здесь буквенная часть КР обозначает вид учебного документа – курсовая работа; первая числовая группа из шести цифр 240701 обозначает шифр специальности в соответствии с перечнем специальностей высшего профессионального образования; вторая группа из двух цифр обозначает вариант задания; третья группа цифр для пояснительной записки – 000, для чертежей – 002 (обозначает номер детали). Последующая буквенная группа – код конструкторского документа (в данном случае, пояснительная записка).
На чертежах обозначение документа записывается в верхней графе основной надписи для чертежей (форма 1 по ГОСТ 2.104).
Шифры специальностей в соответствии с перечнем высшего профессионального образования:
240701 – Химическая технология органических соединений азота;
240702 – Химическая технология полимерных композиций, порохов и твёрдых ракетных топлив.
5 ВОПРОСЫ ДЛЯ ПОДГОТОВКИ К ВЫПОЛНЕНИЮ КУРСОВОЙ РАБОТЫ
1. Как называются и обозначаются основные плоскости проекций?
2. Как располагаются оси прямоугольной изометрии? Каковы натуральные и приведенные коэффициенты искажения в прямоугольной изометрии?
3. Как строится прямоугольная изометрия окружности в горизонтальной, фронтальной и профильной плоскостях? Чему равны большая и малая оси эллипсов?
4. Какие изображения детали на чертеже вы знаете?
5. Как производится штриховка в разрезах в прямоугольной диметрии и изометрии?
6. Каким методом строятся изображения?
7. Какое изображение называют «видом»? Какие виды вы знаете? Как располагаются и обозначаются виды на чертеже?
8. Какие виды называются «местными», «дополнительными»?
9. Какое изображение называется разрезом? Какие разрезы вы знаете?
10. В каких случаях целесообразно применение разрезов?
11. В чем разница между ломаным и ступенчатым разрезами?
12. Как и когда обозначаются простые и сложные разрезы?
13. Чем отличается разрез от сечения?
14. Как выполняется штриховка в разрезах и сечениях?
15. Можно ли на одном изображении соединить часть вида с частью разреза? Как это выполняется?
16. Какие типы линий используются для изображения базовых линий, линий координатной сетки и линий зависимостей на линейных диаграммах-графиках?
17. Где располагаются нумерационный и тематический заголовки диаграммы?
18. Где располагаются поясняющие надписи к диаграмме?
19. Где на диаграмме располагаются обозначения изображаемых величин?
20. Где на диаграмме располагаются единицы измерения изображаемых величин?
21. Когда и как на диаграмме используются масштабные множители?
6 ОЦЕНКА ЗА КУРСОВУЮ РАБОТУ
Курсовая работа выполняется в течение семестра по мере изучения необходимых теоретических вопросов (см. памятку по изучению дисциплины «Инженерная графика» и Приложение В) и защищается по графику на 12–16 неделях.
Оценка за курсовую работу выставляется по стобалльной шкале, которая позволяет точнее определить уровень выполнения и защиты работы. Однако в зачётную книжку вписывается оценка по традиционной шкале. Соответствие между этими оценками выглядит следующим образом:
от 25 до 49 баллов – удовлетворительно;
от 50 до 74 баллов – хорошо;
от 75 до 100 баллов – отлично.
Оценка за курсовую работу учитывает:
– знание теоретического материала, используемого в работе;
– грамотность и полноту изложения текста пояснительной записки;
– графику выполнения чертежей;
– соблюдение стандартов ЕСКД;
– использование технически и литературно грамотного текста на защите.
СПИСОК ИСПОЛЬЗОВАННЫХ ИСТОЧНИКОВ
Основная литература
1. Боголюбов, С.К. Черчение – 2 изд., испр /С.К. Боголюбов. – М.: Машиностроение, 1989. – 336 с.: ил. (247 шт.)
2. Левицкий, В.С. Машиностроительное черчение /В.С. Левицкий. – М.: Высшая школа, 1988. – 351 с.: ил. (145 шт.)
3. Мерзон, Э.Д. Машиностроительное черчение /Э.Д. Мерзон, И.Э. Мерзон, Н.В. Медведовская. – М.: Высшая школа, 1987. – 335 с.: ил.
4. Фролов, С.А. Машиностроительное черчение /С.А. Фролов, А.В. Воинов, Е.Д. Феоктистова. – М.: Машиностроение, 1981
5. Стандарты ЕСКД.
Дополнительная литература
6. Лагерь, А.И. Инженерная графика /А.И. Лагерь, Э.А. Колесникова. ‑ М.: Высшая школа, 1995. ‑ с.: ил (57 шт.)
7. Чекмарев, А.А. Инженерная графика: учебник для спец. Вузов /А.А. Чекмарев. – М.: Высшая школа, 1988. ‑ 335 с.: ил. (83 шт.)
8. Иванцивская, Н.Г. Графическое моделирование процессов и объектов: учебное пособие /Н.Г. Иванцивская, В.Г. Буров. – Новосибирск: НГТУ, 1997. – 141с.: ил.
9. Федоренко, В.А. Справочник по машиностроительному черчению /В.А. Федоренко, А.И. Шошин. – Л.: Машиностроение, 1982. – 416 с.: ил. (90 шт.)
Перечень пособий, методических указаний и материалов, используемых в учебном процессе
10. Идт, Л.И. Графическое представление информации: таблицы, диаграммы: методические рекомендации по составлению таблиц и выполнению диаграмм для студентов всех специальностей дневной и дистанционной форм обучения/Л.И. Идт, Г.И. Куничан, Т.П. Разгоняева. ‑ Алт. гос. техн. ун-т им. И.И. Ползунова, БТИ. – Бийск: Изд-во Алт. гос. техн. ун-та, 1997. – 20 с.
Приложение А
Примеры оформления основной надписи в соответствии с ГОСТ 2.104

Форма 1

Форма 2

Форма 2а
Приложение Б
Пример оформления титульного листа

Приложение В
График контроля самостоятельной работы студентов
| № группы
|
Наименование дисциплины
|
Виды и объем (час) учебных занятий
|
| Аудиторные
занятия
|
СРС
|
АУД+СРС
|
| Подготовка к занятиям
|
Подготовка к текущему контролю
|
Выполнение
индивидуальных
заданий
|
Всего СРС
|
| Л
|
ЛР
|
ПР
|
Всего
|
Л
|
ЛР
|
ПР
|
К
|
КР
|
КО
|
П
|
Р
|
РЗ
|
| ХТОСА-91
|
Начертательная геометрия. Инженерная графика
|
16
|
18
|
34
|
2
|
5
|
2
|
6
|
6
|
30
|
51
|
85
|
| ХТ-91
|
16
|
18
|
34
|
2
|
8
|
4
|
6
|
31
|
51
|
85
|
| № группы
|
График сдачи индивидуальных работ
и текущего контроля
|
Заканчивается ли дисциплина?
|
Форма контроля знаний
|
| Неделя семестра
|
| 1
|
2
|
3
|
4
|
5
|
6
|
7
|
8
|
9
|
10
|
11
|
12
|
13
|
14
|
15
|
16
|
17
|
Экз.
|
Зач.
|
Защ.
|
| ХТОСА-91
|
РЗ/0,1
|
КР/0,1
|
РЗ/0,05
|
КО/0,1
|
РЗ/0,1
|
СР/0,05
|
Р/0,1
|
КР/0,2
|
нет
|
Диф. зач./0,1
|
ЗР/0,1
|
| ХТ-91
|
РЗ/0,1
|
КР/0,1
|
РЗ/0,05
|
КО/0,1
|
РЗ/0,1
|
СР/0,05
|
Р/0,1
|
КР/0,2
|
нет
|
Диф. зач./0,1
|
ЗР/0,1
|
Обозначения: Л – лекции; ЛР – лабораторные занятия; ПР – практические (семинарские) занятия; К – коллоквиум; КР – контрольная работа; КО – контрольный опрос; П – курсовой проект; Р – курсовая работа; РЗ – расчетное задание; СР – самостоятельная работа; ЗР – защита работы.
Учебное издание
ИДТ
ЛЮБОВЬ ИВАНОВНА
КУНИЧАН
ГАЛИНА ИВАНОВНА
ЛЕВИНА
НАДЕЖДА СЕРГЕЕВНА
СОДЕРЖАНИЕ И ОФОРМЛЕНИЕ
КУРСОВОЙ РАБОТЫ
ПО ДИСЦИПЛИНЕ
«ИНЖЕНЕРНАЯ ГРАФИКА»
Методические рекомендации по организации самостоятельной работы
студентов специальностей: 240701 – Химическая технология органических соединений азота и 240702 – Химическая технология полимерных
композиций, порохов и твёрдых ракетных топлив
Редактор
Технический редактор Сазонова В.П.
Подписано в печать 05.03.2010. Формат 60´84/8
Усл. п. л. 5,5. Уч.-изд. л. 5,12
Печать – ризография, множительно-копировальный
аппарат «RISO EZ300»
Тираж 60 экз. Заказ 2010–39
Издательство Алтайского государственного
технического университета
656038, г. Барнаул, пр-т Ленина, 46
Оригинал-макет подготовлен ИИО БТИ АлтГТУ
Отпечатано в ИИО БТИ АлтГТУ
659305, г. Бийск, ул. Трофимова, 27
|