| Ãîñóäàðñòâåííûé êîìèòåò Ðîññèéñêîé ôåäåðàöèè ïî âûñøåìó îáðàçîâàíèþ
ÓÐÀËÜÑÊÈÉ ÃÎÑÓÄÀÐÑÒÂÅÍÍÛÉ ÒÅÕÍÈ×ÅÑÊÈÉ ÓÍÈÂÅÐÑÈÒÅÒ - ÓÏÈ
ÒÅÐÌÎÄÈÍÀÌÈÊÀ
Ìåòîäè÷åñêèå óêàçàíèÿ ê ëàáîðàòîðíûì ðàáîòàì ¹ 1,2,3 äëÿ ñòóäåíòîâ ôèçèêî-òåõíè÷åñêîãî ôàêóëüòåòà
Åêàòåðèíáóðã 1993
ÓÄÊ 536.7
Ñîñòàâèòåëè Ã.Ï.Íèêîëàåâ, À.ß.Êóïðÿæêèí, Í.Í.Àëåêñååíêî
Íàó÷íûé ðåäàêòîð äîö., êàíä. ôèç.-ìàò. íàóê. À.Ý.Ëîéêî
ÒÅÐÌÎÄÈÍÀÌÈÊÀ. Ìåòîäè÷åñêèå óêàçàíèÿ ê ëàáîðàòîðíûì ðàáîòàì ¹ 1,2,3 / Ã.Ï.Íèêîëàåâ, À.ß.Êóïðÿæêèí, Í.Í.Àëåêñååíêî. Åêàòåðèíáóðã: ÓÃÒÓ-ÓÏÈ, 1993. 43 ñ.
Забиваем Сайты В ТОП КУВАЛДОЙ - Уникальные возможности от SeoHammer
Каждая ссылка анализируется по трем пакетам оценки: SEO, Трафик и SMM.
SeoHammer делает продвижение сайта прозрачным и простым занятием.
Ссылки, вечные ссылки, статьи, упоминания, пресс-релизы - используйте по максимуму потенциал SeoHammer для продвижения вашего сайта.
Что умеет делать SeoHammer
— Продвижение в один клик, интеллектуальный подбор запросов, покупка самых лучших ссылок с высокой степенью качества у лучших бирж ссылок.
— Регулярная проверка качества ссылок по более чем 100 показателям и ежедневный пересчет показателей качества проекта.
— Все известные форматы ссылок: арендные ссылки, вечные ссылки, публикации (упоминания, мнения, отзывы, статьи, пресс-релизы).
— SeoHammer покажет, где рост или падение, а также запросы, на которые нужно обратить внимание.
SeoHammer еще предоставляет технологию Буст, она ускоряет продвижение в десятки раз,
а первые результаты появляются уже в течение первых 7 дней.
Зарегистрироваться и Начать продвижение
Äàíû ìåòîäè÷åñêèå óêàçàíèÿ ê òðåì ëàáîðàòîðíûì ðàáîòàì ïî êóðñó "Òåðìîäèíàìèêà". Ïðèâîäÿòñÿ îïèñàíèÿ ýêñïåðèìåíòàëüíûõ óñòàíîâîê äëÿ èçìåðåíèÿ êðèòè÷åñêèõ ïàðàìåòðîâ äâóîêèñè óãëåðîäà, äàâëåíèÿ íàñûùåííîãî ïàðà æèäêîñòè, òâåðäîãî òåëà è òåïëîåìêîñòè êðèñòàëëè÷åñêèõ òåë.
Áèáë.: 11 íàçâ. Ðèñ.10. Ïðèë.3.
Сервис онлайн-записи на собственном Telegram-боте
Попробуйте сервис онлайн-записи VisitTime на основе вашего собственного Telegram-бота:
— Разгрузит мастера, специалиста или компанию;
— Позволит гибко управлять расписанием и загрузкой;
— Разошлет оповещения о новых услугах или акциях;
— Позволит принять оплату на карту/кошелек/счет;
— Позволит записываться на групповые и персональные посещения;
— Поможет получить от клиента отзывы о визите к вам;
— Включает в себя сервис чаевых.
Для новых пользователей первый месяц бесплатно.
Зарегистрироваться в сервисе
Óðàëüñêèé ãîñóäàðñòâåííûé òåõíè÷åñêèé óíèâåðñèòåò-ÓÏÈ, 1993
Ëàáîðàòîðíàÿ ðàáîòà N 1
ÎÏÐÅÄÅËÅÍÈÅ ÊÐÈÒÈ×ÅÑÊÈÕ ÏÀÐÀÌÅÒÐΠÄÂÓÎÊÈÑÈ ÓÃËÅÐÎÄÀ
Èññëåäîâàíèå êðèòè÷åñêîãî ñîñòîÿíèÿ âåùåñòâà íåîáõî-äèìî íå òîëüêî ñ ïðèêëàäíîé òî÷êè çðåíèÿ, íî èìååò è áîëüøîå òåîðåòè÷åñêîå çíà÷åíèå. Îñîáåííîñòè ïîâåäåíèÿ âåùåñòâà âáëèçè êðèòè÷åñêîé òî÷êè ñèñòåìû æèäêîñòü-ïàð îïðåäåëåííûì îáðàçîì õàðàêòåðèçóþò ñòðóêòóðó âåùåñòâà è ïîçâîëÿþò ïîëó÷èòü èíòåðåñíûå ñâåäåíèÿ î ñèëàõ ìåæìîëå-êóëÿðíîãî âçàèìîäåéñòâèÿ.
1. ÊÐÈÒÈ×ÅÑÊÎÅ ÑÎÑÒÎßÍÈÅ
Êðèòè÷åñêàÿ òåìïåðàòóðà ÷èñòûõ âåùåñòâ ìîæåò áûòü îïðåäåëåíà êàê ìàêñèìàëüíàÿ òåìïåðàòóðà, ïðè êîòîðîé æèäêàÿ è ïàðîâàÿ ôàçû åùå ìîãóò ñîñóùåñòâîâàòü â ðàâíîâå-ñèè. Äàâëåíèå ïàðîâ ïðè ýòîé òåìïåðàòóðå íàçûâàåòñÿ êðè-òè÷åñêèì äàâëåíèåì è îáúåì åäèíèöû ìàññû âåùåñòâà - êðè-òè÷åñêèì îáúåìîì.
Óïðîùåííîå ïðåäñòàâëåíèå î êðèòè÷åñêîé òî÷êå ìîæíî ïîëó÷èòü íà îñíîâå ðàññìîòðåíèÿ êèíåòè÷åñêîé îáñòàíîâêè â æèäêîé ôàçå. Ïîòåíöèàëüíàÿ ýíåðãèÿ ïðèòÿæåíèÿ ìîëåêóë, îáóñëàâëèâàþùàÿ ñóùåñòâîâàíèå æèäêîé ôàçû, óðàâíîâå-øèâàåòñÿ â íåêîòîðîé ñòåïåíè êèíåòè÷åñêîé ýíåðãèåé ìîëåêóë. Ïîñëåäíÿÿ ñòðåìèòñÿ ðàññåÿòü õàîòè÷åñêè âñå ÷àñòèöû. Òàêèì îáðàçîì, äàâëåíèå ïàðîâ åñòü ðåçóëüòàò òîãî, ÷òî íåêîòîðûå èç ìîëåêóë æèäêîñòè èìåþò äîñòàòî÷íî âûñîêóþ êèíåòè÷åñêóþ ýíåðãèþ, ÷òîáû âûðâàòüñÿ èç ïîëÿ äåéñòâèÿ ñèë ñöåïëåíèÿ æèäêîñòè. Ñ âîçðàñòàíèåì òåìïå-ðàòóðû æèäêîñòè óâåëè÷èâàåòñÿ êèíåòè÷åñêàÿ ýíåðãèÿ ìîëåêóë, îäíàêî ýòî ìàëî äåéñòâóåò íà ñèëû ñöåïëåíèÿ. Òåìïåðàòóðà, ïðè êîòîðîé ñðåäíÿÿ êèíåòè÷åñêàÿ ýíåðãèÿ ìîëåêóë ñòàíîâèòñÿ ðàâíîé ïîòåíöèàëüíîé ýíåðãèè ïðèòÿæåíèÿ, íàçûâàåòñÿ êðèòè÷åñêîé òåìïåðàòóðîé, âûøå ýòîé òåìïå-ðàòóðû ñóùåñòâîâàíèå æèäêîé ôàçû íåâîçìîæíî.
Êðèòè÷åñêîå ñîñòîÿíèå âåùåñòâà ìîæíî íàãëÿäíî èëëþ-ñòðèðîâàòü â êîîðäèíàòàõ P-V , T-S è P-Ò. Íà äèàãðàììå P-V ôàçîâîãî ðàâíîâåñèÿ æèäêîñòü-ïàð (ðèñ.1.1) òî÷êà ïåðåãèáà Ê èçîòåðìû Òê ÿâëÿåòñÿ êðèòè÷åñêîé, à êîîðäèíàòû åå (Òê,Ðê,Vê) - êðèòè÷åñêèìè ïàðàìåòðàìè âåùåñòâà. Êðèòè÷å-ñêàÿ òî÷êà õàðàêòåðèçóåòñÿ óñëîâèÿìè, îïðåäåëÿþùèìè òî÷êó ïåðåãèáà ñ ãîðèçîíòàëüíîé êàñàòåëüíîé [1],[2]:
. (1.1)
Ïðè òåìïåðàòóðàõ Ò>Òê (Ð>Pê) âåùåñòâî îäíîðîäíî, ïîâåðõíîñòü ðàçäåëà îòñóòñòâóåò. Ïðè òåìïåðàòóðàõ Ò<Òê (Ð<Ðê) âåùåñòâî íàõîäèòñÿ â îäíîôàçíîì èëè äâóõôàçíîì ñîñòîÿíèÿõ. Ñëåâà îò îáëàñòè, îãðàíè÷åííîé áèíîäàëüþ è êðèòè÷åñêîé èçîòåðìîé, ëåæèò îáëàñòü æèäêîé ôàçû, ñïðàâà - îáëàñòü ãàçîîáðàçíîé ôàçû.
Âíóòðè îáëàñòè, îãðàíè÷åííîé áèíîäàëüþ, îáû÷íî âå-ùåñòâî íàõîäèòñÿ â äâóõôàçíîì ñîñòîÿíèè æèäêîñòü - íàñû-ùåííûé ïàð. Ïåðåõîä èç æèäêîãî â ïàðîîáðàçíîå ñîñòîÿíèå ïðàêòè÷åñêè îñóùåñòâëÿåòñÿ ïðè Ð=const (ãîðèçîíòàëüíûé ó÷àñòîê 1-2 èçîòåðìû). Îäíàêî âîçìîæíû çäåñü ñîñòîÿíèÿ âåùåñòâà íà ó÷àñòêàõ èçîòåðìû 1-3 è 2-4, êîòîðûå íàçû-âàþòñÿ ìåòàñòàáèëüíûìè è çàêëþ÷åíû â îáëàñòè ìåæäó áè-íîäàëüþ I è ñïèíîäàëüþ II. Ìåòàñòàáèëüíûå ñîñòîÿíèÿ îäíîôàçíû è óñòîé÷èâû â îòñóòñòâèè âòîðîé ôàçû (1-3 - ïå-ðåãðåòàÿ æèäêîñòü, 2-4 - ïåðåîõëàæäåííûé ïàð).  îáëàñòè, çàêëþ÷åííîé âíóòðè ñïèíîäàëè, âåùåñòâî ñóùåñòâóåò òîëüêî â äâóõôàçíîì ñîñòîÿíèè - îáëàñòü íåóñòîé÷èâîãî îäíîôàçíîãî ñîñòîÿíèÿ âåùåñòâà.
Èññëåäîâàíèå êðèòè÷åñêîãî ñîñòîÿíèÿ âåùåñòâà è îïðå-äåëåíèå êðèòè÷åñêèõ ïàðàìåòðîâ Òê, Ðê, Vê ÿâëÿåòñÿ òðóäî-åìêèì è ñëîæíûì ýêñïåðèìåíòîì.
Ðèñ.1.1.Äèàãðàììà ôàçîâîãî ðàâíîâåñèÿ æèäêîñòü-ïàð â êîîðäèíàòàõ Ð - V:
I-áèíîäàëü, ãðàíèöà äâóõôàçíûõ ðàâíîâåñíûõ ñîñòîÿíèé ñèñòåìû; II - ñïèíîäàëü, ãåîìåòðè÷åñêîå ìåñòî ìàêñèìóìîâ (ñïðàâà) ìèíèìóìîâ (ñëåâà) èçîòåðì è ãðàíèöà, îòäåëÿþùàÿ îáëàñòü ìåòàñòàáèëüíûõ ñîñòîÿíèé îò íåóñòîé÷èâûõ (âíóòðè ñïèíîäàëè); Ê - êðèòè÷åñêàÿ òî÷êà; çàøòðèõîâàíà îáëàñòü ìåòàñòàáèëüíûõ ñîñòîÿíèé.
Ïåðâûå îïûòû ïî èçó÷åíèþ êðèòè÷åñêîãî ñîñòîÿíèÿ îò-íîñÿòñÿ ê 1822 ãîäó. Íàèáîëåå ïîäðîáíûå èññëåäîâàíèÿ êðèòè÷åñêîãî ñîñòîÿíèÿ è îïðåäåëåíèå êðèòè÷åñêèõ ïàðàìåò-ðîâ ðÿäà âåùåñòâ áûëè ïðîâåäåíû ïðîôåññîðîì Êèåâñêîãî óíèâåðñèòåòà Ì.Ï.Àâåíàðèóñîì è åãî ó÷åíèêàìè À.Íàäåæ-äèíûì, Â.Çàéîí÷åâñêèì è äp. (1870 ã.), ïðîôåññîðîì À.Ã.Ñòîëåòîâûì, àíãëèéñêèì ó÷åíûì Ò.Ýíäðþñîì (1869 ã.). Âàæíóþ ðîëü ñûãðàëè ðàáîòû Ä.È.Ìåíäåëååâà (1860 ã.), ïîêàçàâøåãî, ÷òî â êðèòè÷åñêîé òî÷êå ïîâåðõíîñòíîå íàòÿæåíèå æèäêîñòè îáðàùàåòñÿ â íóëü, è óêàçàâøåãî íà ñóùåñòâîâàíèå êðèòè÷åñêîé òåìïåðàòóðû Òê, íàçâàâ åå "òåìïåðàòóðîé àáñîëþòíîãî êèïåíèÿ".  íàñòîÿùåå âðåìÿ êðèòè÷åñêèå ÿâëåíèÿ
ñèñòåìàòè÷åñêè èññëåäóþòñÿ ðÿäîì îòå÷åñòâåííûõ è çàðóáåæíûõ ó÷åíûõ.
Ïåðåõîä ñèñòåìû æèäêîñòü-ïàð â êðèòè÷åñêîå ñîñòîÿíèå ìîæíî ïðîäåìîíñòðèðîâàòü îïûòîì Êàíüÿð äå ëà Òóðà (1822 ã.).  ñòåêëÿííóþ òðóáêó ââîäÿò æèäêîñòü, çàòåì òðóáêó çà-ïàèâàþò. Ïðè âåðòèêàëüíîì ðàñïîëîæåíèè òðóáêè ÷åòêî âèäíà ãðàíèöà ðàçäåëà ìåæäó æèäêîñòüþ è ïàðîì. Ïðè íàãðåâàíèè òðóáêè ïëîòíîñòü æèäêîñòè áëàãîäàðÿ òåïëîâîìó ðàñøèðåíèþ óìåíüøàåòñÿ, à ïëîòíîñòü ïàðà âîçðàñòàåò. Åñëè ïåðâîíà÷àëüíûå êîëè÷åñòâà æèäêîñòè è ïàðà âçÿòû òàêèì îáðàçîì, ÷òî óäåëüíûé îáúåì âñåé ñèñòåìû ðàâåí êðèòè÷å-ñêîìó Vê, òî ïðè äîñòèæåíèè êðèòè÷åñêîé òåìïåðàòóðû Òê ïëîòíîñòè æèäêîñòè è ïàðà ñòàíîâÿòñÿ ðàâíûìè äðóã äðóãó è ðàçëè÷èÿ â ôèçè÷åñêèõ ñâîéñòâàõ ôàç èñ÷åçàþò. Ýòîò ìîìåíò îáíàðóæèâàåòñÿ ïóòåì íàáëþäåíèÿ çà ìåíèñêîì. Âíà÷àëå ïðè ïðèáëèæåíèè ê êðèòè÷åñêîé òåìïåðàòóðå Òê ìåíèñê ñòàíî-âèòñÿ ïëîñêèì è ìåíåå îò÷åòëèâûì, çàòåì îí èñ÷åçàåò, à íà åãî ìåñòå ïîÿâëÿåòñÿ áåëåñîå îáëà÷êî, êîòîðîå ðàñïðî-ñòðàíÿåòñÿ êâåðõó è êíèçó. Ïðè äàëüíåéøåì ïîâûøåíèè òåìïåðàòóðû îáëà÷êî ïîëíîñòüþ èñ÷åçàåò.
Íà ñâîéñòâà âåùåñòâà, íàõîäÿùåãîñÿ â êðèòè÷åñêîì ñîñ-òîÿíèè, ñóùåñòâåííîå âëèÿíèå îêàçûâàþò ôëóêòóàöèè ïëîò-íîñòè (ìåñòíûå ðàçðåæåíèÿ è óïëîòíåíèÿ, âîçíèêàþùèå â ðåçóëüòàòå òåïëîâîãî äâèæåíèÿ ìîëåêóë).  êðèòè÷åñêîé òî÷-êå, ãäå îáúåìíàÿ óïðóãîñòü âåùåñòâà îáðàùàåòñÿ â íóëü, èç-ìåíåíèå ïëîòíîñòè ïðàêòè÷åñêè íå ñîïðîâîæäàåòñÿ èçìå-íåíèåì äàâëåíèÿ, âñëåäñòâèå ÷åãî âåëè÷èíà ôëóêòóàöèé ÷ðåç-âû÷àéíî âîçðàñòàåò. Îáóñëîâëåííàÿ òàêèìè áîëüøèìè ôëóê-òóàöèÿìè îïòè÷åñêàÿ íåîäíîðîäíîñòü âåùåñòâà ïðèâîäèò ê ÿâëåíèþ êðèòè÷åñêîé îïàëåñöåíöèè, ò.å. ê ÿâëåíèþ ñèëüíîãî ðàññåÿíèÿ ñâåòà. Âäàëè îò êðèòè÷åñêîãî ñîñòîÿíèÿ ñæè-ìàåìîñòü æèäêîñòè ìàëà, ôëóêòóàöèè ïëîòíîñòè íåçíà÷è-òåëüíû è ðàññåÿíèå ñâåòà ñëàáîå.
1.1. Ìåòîäû îïðåäåëåíèÿ êðèòè÷åñêèõ ïàðàìåòðîâ âåùåñòâ
Ñðåäè ìåòîäîâ îïðåäåëåíèÿ êðèòè÷åñêèõ ïàðàìåòðîâ âå-ùåñòâ ìîæíî îòìåòèòü ñëåäóþùèå [3]:
- èçìåðåíèÿ ïðè ïîÿâëåíèè è èñ÷åçíîâåíèè ìåíèñêà;
èç Ð - V - Ò äàííûõ â òî÷êå,
ãäå 
- ïî èñ÷åçíîâåíèþ êðèòè÷åñêîé îïàëåñöåíöèè;
- ýêñòðàïîëÿöèÿ çàâèñèìîñòè äàâëåíèÿ íàñûùåííîãî ïà-ðà Ðs îò òåìïåðàòóðû Ðs=F(Òs);
- ïî ïðàâèëó ïðÿìîëèíåéíîãî äèàìåòðà;
- ïî ðàññåÿíèþ ñâåòà;
- ïî ñêîðîñòè ðàñïðîñòðàíåíèÿ çâóêà;
- ïî èçìåðåíèÿì òåïëîåìêîñòè.
Íàèáîëåå ÷àñòî èñïîëüçóåòñÿ ïåðâûé ìåòîä. Ðàññìîòðå-íèåì ýòîãî ìåòîäà ìû è îãðàíè÷èìñÿ.
Ïðè ïðîâåäåíèè îïûòîâ âáëèçè êðèòè÷åñêîé òî÷êè è ïðè èõ èíòåðïðåòàöèè íåîáõîäèìî ó÷èòûâàòü ðÿä ñïåöèôè÷åñêèõ ôàêòîðîâ. Ýòî - ïðåæäå âñåãî ìàëàÿ ñêîðîñòü óñòàíîâëåíèÿ ðàâíîâåñèÿ è áîëüøàÿ ñæèìàåìîñòü. Íàëè÷èå áîëüøîé ñæèìàåìîñòè ïðèâîäèò ê ñóùåñòâåííîìó èçìåíåíèþ ïëîò-íîñòè ïî âûñîòå ñîñóäà. Ìàêðîñêîïè÷åñêèå ãðàäèåíòû ïëîò-íîñòè âáëèçè êðèòè÷åñêîé òî÷êè, âîçíèêàþùèå ïîä äåé-ñòâèåì ñèë ãðàâèòàöèè, íàáëþäàëèñü ìíîãèìè èññëåäîâà-òåëÿìè. Ýòîò ýôôåêò õîðîøî èçó÷åí ëèøü â ïîñëåäíèå ãîäû è â áîëüøèíñòâå ïðåæíèõ ýêñïåðèìåíòàëüíûõ ðàáîò íå ó÷è-òûâàëñÿ.
Ãðàäèåíò äàâëåíèÿ ïî âûñîòå èçìåðèòåëüíîé êàìåðû
(1.2)
Åñëè òåìïåðàòóðà ïî îáúåìó êàìåðû ïîñòîÿííà, òî ãðà-äèåíò ïëîòíîñòè ïî âûñîòå
(1.3)
Ìàëîñòü çíà÷åíèé â êðèòè÷åñêîé òî÷êå îáúÿñ-íÿåò ñóùåñòâîâàíèå áîëüøèõ ãðàäèåíòîâ ïëîòíîñòè.
Áîëüøîå âðåìÿ óñòàíîâëåíèÿ ðàâíîâåñèÿ ñâÿçàíî ñî ñòðóêòóðíûìè èçìåíåíèÿìè, îáóñëîâëåííûìè ðîñòîì ôëóê-òóàöèè ïëîòíîñòè. Áîëüøèíñòâî àâòîðîâ, ïðîèçâîäèâøèõ âèçóàëüíûå íàáëþäåíèÿ ïðè ïåðåõîäå ñèñòåìû ÷åðåç êðèòè-÷åñêóþ òî÷êó, ñ÷èòàåò, ÷òî ïðè èíòåíñèâíîì ïåðåìåøèâàíèè èëè äëèòåëüíîì òåðìîñòàòèðîâàíèè áåç ïåðåìåøèâàíèÿ âñå ÿâëåíèÿ, ñâÿçàííûå ñ ïåðåõîäîì ñèñòåì ÷åðåç êðèòè÷åñêóþ îáëàñòü ïðè íàãðåâàíèè, âîñïðîèçâîäÿòñÿ â îáðàòíîé ïîñëåäîâàòåëüíîñòè ïðè îõëàæäåíèè, è òåìïåðàòóðû èñ÷åçíîâåíèÿ è ïîÿâëåíèÿ ìåíèñêà îäèíàêîâû. Ïðèìåíåíèå ïåðåìåøèâà-íèÿ, êàê óêàçûâàåò Â.Ï.Ñêðèïîâ [4], ïðèâîäèò ê âûðàâíèâà-íèþ ïëîòíîñòè âäîëü êàìåðû è ñîîòâåòñòâóåò "âûêëþ÷åíèþ" ãðàâèòàöèîííîãî ïîëÿ. Ïðåêðàùåíèå ðàçìåøèâàíèÿ ñîîòâåò-ñòâóåò "âêëþ÷åíèþ" ãðàâèòàöèîííîãî ïîëÿ è îáóñëàâëèâàåò íåðàâíîìåðíîå ðàñïðåäåëåíèå ïëîòíîñòè ïî âûñîòå êàìåðû.
Íåîáõîäèìî çàìåòèòü, ÷òî òåìïåðàòóðà ïîÿâëåíèÿ è èñ-÷åçíîâåíèÿ ìåíèñêà íå òî÷íî ñîîòâåòñòâóåò êðèòè÷åñêîé, à íåñêîëüêî íèæå åå [5]. Êðèòè÷åñêîé òåìïåðàòóðîé Òê ÿâëÿ-åòñÿ òåìïåðàòóðà òîæäåñòâà ôàç. Ïðè ýòîé òåìïåðàòóðå ãðàíèöà ðàçäåëà ôàç óæå îòñóòñòâóåò. Ïîýòîìó äëÿ áîëåå òî÷íîãî îïðåäåëåíèÿ êðèòè÷åñêîé òåìïåðàòóðû Òê ñëåäîâàëî áû èñïîëüçîâàòü äðóãèå ìåòîäû èçìåðåíèÿ. Îäíàêî èç òàáë.Ï.1, ãäå ïðèâåäåíû çíà÷åíèÿ êðèòè÷åñêèõ ïàðàìåòðîâ ðÿäà àâòîðîâ ïðè ðàçíûõ ìåòîäàõ èõ îïðåäåëåíèÿ, íå âèäíî ñêîëü-ëèáî ñóùåñòâåííûõ ðàçëè÷èé â çíà÷åíèÿõ Òê äëÿ äâó-îêèñè óãëåðîäà.
1.2.Ðàñ÷åò êðèòè÷åñêèõ ïàðàìåòðîâ âåùåñòâ
Ìåòîäû ïðåäñêàçàíèÿ êðèòè÷åñêèõ ïàðàìåòðîâ ÿâëÿþòñÿ â áîëüøåé ñòåïåíè ýìïèðè÷åñêèìè, ïîñêîëüêó îíè îñíîâû-âàþòñÿ íà îïûòíûõ äàííûõ. Ðàññìàòðèâàåìûå íèæå ôîðìóëû â ñðåäíåì äàþò óäîâëåòâîðèòåëüíîå ñîãëàñèå ñ ýêñïåðèìåí-òàëüíî èçìåðåííûìè âåëè÷èíàìè Òê, Ðê, Vê (îò 1,3 äî 6,6%).
Êðèòè÷åñêóþ òåìïåðàòóðó Òê Ãóëüáåðã âïåðâûå ïðåä-ëîæèë îïðåäåëÿòü èç ñîîòíîøåíèÿ
, (1.4)
ãäå Òs - òåìïåðàòóðà êèïåíèÿ ïðè íîðìàëüíîì äàâëåíèè, Ê.
Äëÿ âåùåñòâ, íàõîäÿùèõñÿ ïðè íîðìàëüíîì äàâëåíèè â òâåðäîì ñîñòîÿíèè â ôîðìóëå (1.4), èñïîëüçóåòñÿ òåìïåðà-òóðà âîçãîíêè ïðè ñóáëèìàöèè. Ëó÷øåå ñîãëàñèå ñ ýêñïåðè-ìåíòàëüíûìè äàííûìè äàåò ôîðìóëà Ëèäåðñåíà [6], ÿâëÿ-þùàÿñÿ âèäîèçìåíåíèåì ñîîòíîøåíèÿ Ãóëüäáåðãà:
, (1.5)
ãäå - ïîñòîÿííàÿ, ðàçëè÷íàÿ äëÿ êàæäîãî ñîåäèíåíèÿ (ñòðóêòóðíîé ôîðìóëû), êîòîðàÿ âû÷èñëÿåòñÿ ñóììèðîâàíèåì àòîìíûõ è ñòðóêòóðíûõ êîíñòàíò, õàðàêòåðèçóþùèõ âñå ñîñòàâëÿþùèå ÷àñòè ìîëåêóëû. Ïî Ëèäåðñåíó,
, (1.6)
ãäå âû÷èñëÿåòñÿ ñëîæåíèåì âåëè÷èí, ïðèâåäåííûõ â òàáë.Ï.2 äëÿ âûáðàííûõ ãðóïï ïðè ñîñòàâëåíèè ñòðóêòóð-íîé ôîðìóëû ÑÎ2
Êðèòè÷åñêîå äàâëåíèå îïðåäåëÿåòñÿ ñ ìåíüøåé òî÷-íîñòüþ. Îòêëîíåíèÿ â îïðåäåëåíèè êðèòè÷åñêîãî äàâëåíèÿ ìîãóò ïðåâûøàòü 10-15% äëÿ ñðàâíèòåëüíî ïðîñòûõ íåïî-ëÿðíûõ ñîåäèíåíèé. Îäíàêî îáû÷íî îòêëîíåíèå ñîñòàâëÿåò 3-4%. Çäåñü íå íàéäåíî òàêîãî óäîáíîãî ïàðàìåòðà, êàê òåì-ïåðàòóðà êèïåíèÿ, íà êîòîðîì ìîæíî áûëî áû îñíîâûâàòü êîððåëÿöèè, è èìååòñÿ áîëüøîå ðàçíîîáðàçèå òèïîâ ïðåäëî-æåííûõ ìåòîäîâ. Íåïëîõîå ñîâïàäåíèå ñ ýêñïåðèìåíòàëü-íûìè çíà÷åíèÿìè Ðê äàåò ôîðìóëà Ëèäåðñåíà:
, (1.7)
ãäå Ì - ìîëåêóëÿðíûé âåñ (Ì=44.011 äëÿ ÑÎ2); Ô - ïîñòîÿííàÿ, íàõîäèòñÿ ñëîæåíèåì àòîìíûõ è ñòðóêòóðíûõ êîíñòàíò, ñîîòâåòñòâóþùèõ ÑÎ2 (òàáë. Ï.2).
Êðèòè÷åñêèå îáúåìû ìîãóò áûòü ðàññ÷èòàíû ïî ýìïèðè-÷åñêèì ôîðìóëàì. Ïîäðîáíûå ñâåäåíèÿ î ðàñ÷åòå êðèòè÷å-ñêèõ ïàðàìåòðîâ ìîæíî íàéòè â ìîíîãðàôèè [6].
2. ÎÏÈÑÀÍÈÅ ÝÊÑÏÅÐÈÌÅÍÒÀËÜÍÎÉ ÓÑÒÀÍÎÂÊÈ
Íà äàííîé ýêñïåðèìåíòàëüíîé óñòàíîâêå èçó÷àåòñÿ ìåòîä îïðåäåëåíèÿ êðèòè÷åñêîé òåìïåðàòóðû Òk äàâëåíèÿ Ðk äëÿ ÑÎ2 ïî ïîÿâëåíèþ è èñ÷åçíîâåíèþ ìåíèñêà.
Êàìåðà âûñîêîãî äàâëåíèÿ èç óãëåðîäèñòîé ñòàëè ïðåä-ñòàâëÿåò ñîáîé òåðìîñòàòèðóåìûé ïàðàëëåëåïèïåä ðàçìåðàìè 130õ130õ110 ìì ñ öèëèíäðè÷åñêèì îáúåìîì 50 ìì è =50 ìì. Ðàçðåç êàìåðû âåðòèêàëüíîé ïëîñêîñòüþ äàí íà ðèñ.1.2. Ïðîòèâîïîëîæíûå áîêîâûå ãðàíè êîðïóñà êàìåðû èìåþò ãíåçäà äëÿ îïðàâ 3 ñî ñìîòðîâûìè ñòåêëàìè 4.  îïðàâàõ ñòåêëà óïëîòíÿþòñÿ ÷åðåç êîëüöåâûå ïðîêëàäêè ãàéêàìè 5.  âåðõíþþ ãðàíü êàìåðû ââèí÷èâàåòñÿ ìåòàëëè÷åñêàÿ ïðîáêà 8 ñ êàïèëëÿðàìè 9 (2,5 ìì) äëÿ òåðìîïàð.  íèæíåé ãðàíè êàìåðû âñòàâëÿåòñÿ òåêñòîëèòîâàÿ ïðîáêà 11, óïëîòíÿåìàÿ ôëàíöåì 12. Êîðïóñ êàìåðû 1 èìååò øåñòü âåðòèêàëüíûõ ñêâîçíûõ êàíàëîâ 7 è äâà êîëüöåâûõ 6. Ðàáî÷èé îáúåì êàìåðû çàïîëíåí ÷åðåç îäèí èç êàíàëîâ 10 î÷èùåííîé äâóîêèñüþ óãëåðîäà.
Ïðåäâàðèòåëüíî îòêà÷àííàÿ ÷åðåç âåíòèëü 10 (ðèñ.1.3) êàìåðà çàïîëíÿåòñÿ (âåíòèëü 3) æèäêîé óãëåêèñëîòîé äî òàêîãî óðîâíÿ, ÷òîáû èñ÷åçíîâåíèå è ïîÿâëåíèå ìåíèñêà â êðèòè÷åñêîé òî÷êå ïðîèñõîäèëî ïðèáëèçèòåëüíî â öåíòðå îêíà íàáëþäåíèÿ. Èñïîëüçóåòñÿ äâóîêèñü óãëåðîäà, î÷èùåí-íàÿ â ôèëüòðå 4 ñ ñåëèêàãåëåì è òêàíüþ Ïåòðÿíîâà.
Òåðìîñòàòèðîâàíèå êàìåðû îñóùåñòâëÿåòñÿ ñ ïîìîùüþ âîäÿíîãî òåðìîñòàòà U-, òåïëîíîñèòåëü èç êîòîðîãî ïî-ñðåäñòâîì íàñîñà-ìåøàëêè 9 ïîñòóïàåò â êàíàëû êàìåðû 1. Òåìïåðàòóðà òåðìîñòàòèðóåìîé æèäêîñòè êîíòðîëèðóåòñÿ òåðìîìåòðîì 7, ðåãóëèðóåòñÿ è ïîääåðæèâàåòñÿ ïîñòîÿííîé êîíòàêòíûì òåðìîìåòðîì 8, íàãðåâàòåëÿìè òåðìîñòàòà Í1-Í4 è îõëàæäåíèåì 6.
Äàâëåíèå â êàìåðå èçìåðÿåòñÿ îáðàçöîâûì ïðóæèííûì ìàíîìåòðîì ÌÎ êëàññà 0,4 ñ âåðõíèì ïðåäåëîì èçìåðåíèÿ 100 êãñ/ñì2.
Äëÿ èçìåðåíèÿ òåìïåðàòóðû äâóîêèñè óãëåðîäà èñïîëüçó-þòñÿ ìåäü-êîíñòàíòàíîâûå òåðìîïàðû 11 (0,1 ìì), ïîìå-ùåííûå íà ðàçíûõ âûñîòàõ âíóòðè ðàáî÷åé êàìåðû 1. Ãîðÿ÷èå ñïàè òåðìîïàð èçîëèðîâàíû îò âíóòðåííåé ïîâåðõ-íîñòè êàïèëëÿðîâ, ÷òîáû èçáåæàòü âîçìîæíûõ íàâîäîê â ñõåìå èçìåðåíèÿ òåìïåðàòóðû. Õîëîäíûå ñïàè ïîìåùåíû â ñîñóä Äüþàðà ñ òàþùèì ëüäîì 12. ÝÄÑ òåðìîïàð (Ut1,Ut2) èçìåðÿþòñÿ óíèâåðñàëüíûì âîëüòìåòðîì Â7-21 (14) ÷åðåç ìíîãîòî÷å÷íûé ïåðåêëþ÷àòåëü òèïà ÌÃÏ-10Ì
3.ÌÅÒÎÄÈÊÀ ÏÐÎÂÅÄÅÍÈß ÝÊÑÏÅÐÈÌÅÍÒÀ
3.1.Ïîäãîòîâêà ê îïûòó
Ðàáî÷àÿ êàìåðà íàõîäèòñÿ ïîä âûñîêèì äàâëåíèåì! Òðå-áóåòñÿ áîëüøàÿ àêêóðàòíîñòü è îñòîðîæíîñòü ïðè ïðîâåäå-íèè ýêñïåðèìåíòà.
3.1.1.Ïðåæäå ÷åì ïðèñòóïèòü ê îïûòó, íåîáõîäèìî âíè-ìàòåëüíî îçíàêîìèòüñÿ ñ îïèñàíèåì è èíñòðóêöèÿìè êî âñåì ïðèáîðàì, èñïîëüçîâàííûì â óñòàíîâêå.
3.1.2.Êàìåðà çàïîëíåíà æèäêîé óãëåêèñëîòîé äî íåîáõî-äèìîãî óðîâíÿ. Çàïðåùàåòñÿ ñàìîñòîÿòåëüíî îòêðûâàòü êðàíû 3 è 10.

Ðèñ.1.2. Ðàçðåç ðàáî÷åé êàìåðû:
1 - êîðïóñ êàìåðû; 2- ôëàíöû äëÿ óïëîòíåíèÿ îïðàâ ñî ñòåêëàìè; 3 - îïðàâû; 4 - ñòåêëà äëÿ íàáëþäåíèÿ; 5 - ãàéêè óïëîòíåíèÿ ñòåêëà; 6 - êîëüöåâûå êàíàëû; 7 - âåðòèêàëüíûå êàíàëû; 8 - ïðîáêà; 9 - êàïèëëÿðû äëÿ ââîäà òåðìîïàð â ðàáî÷èé îáúåì; 10 - ñâåðëåíèÿ äëÿ çàïîëíåíèÿ è ïðîêà÷êè ðàáî÷åãî îáúåìà; 11 - òåêñòîëèòîâàÿ ïðîáêà; 12 - íèæíèé ôëàíåö

Ðèñ.1.3. Îáùàÿ ñõåìà óñòàíîâêè:
1 - ðàáî÷àÿ êàìåðà; 2 - ìàíîìåòð; 3 - âåíòèëü; 4 - ôèëüòð; 5 - òåðìîñòàò U-; 6 - îõëàæäåíèå òåðìîñòàòà; 7- êîíòðîëüíûé òåðìîìåòð; 8 - êîíòàêòíûé òåðìîìåòð ñ ìàãíèòíîé ãîëîâêîé; 9 - ìîòîð ìåøàëêè; 10 - âåíòèëü äëÿ ïðîäóâêè èëè îòêà÷êè ðàáî÷åé æèäêîñòè; 11 - òåðìîïàðû äëÿ èçìåðåíèÿ òåìïåðàòóð âíóòðè ðàáî÷åãî îáúåìà t1 è t2; 12 - ñîñóä Äüþàðà ñ òàþùèì ëüäîì; 13 - ìíîãîòî÷å÷íûé ïåðåêëþ÷àòåëü òèïà ÌÃÏ-10Ì; 14 - âîëüòìåòð óíèâåðñàëüíûé Â7-21; Ut1 è Ut2 - ÝÄÑ òåðìîïàð t1 è t2, ñîîòâåòñòâóþùèå òåìïåðàòóðàì Ò1 è Ò2.
3.1.3.Âêëþ÷èòü âîëüòìåòð è ïðîãðåòü åãî â òå÷åíèå 30 ìèíóò.
3.1.4.Ïðîâåðèòü ðàáîòó îòäåëüíûõ ïðèáîðîâ óñòàíîâêè: òåðìîñòàòà, âîëüòìåòðà (âìåñòå ñ ïðåïîäàâàòåëåì).
3.1.5.Âêëþ÷èòü íàãðåâàòåëü òåðìîñòàòà â ïîëîæåíèå Í1, çàïóñòèòü äâèãàòåëü è ìåäëåííî ïîäíÿòü äàâëåíèå â êàìåðå äî Ð = 74 êãñ/ñì2.
3.2.Çàäàíèå
3.2.1.  íàñòîÿùåé ðàáîòå íåîáõîäèìî îïðåäåëèòü êðè-òè÷åñêèå òåìïåðàòóðó è äàâëåíèå äëÿ äâóîêèñè óãëåðîäà ïî èñ÷åçíîâåíèþ è ïîÿâëåíèþ ìåíèñêà.
3.2.2.Ðàññ÷èòàòü ñðåäíèå âçâåøåííûå çíà÷åíèÿ Òê è Ðê ïî ïÿòè ýêñïåðèìåíòàëüíûì çíà÷åíèÿì èç òàáë.11.1 è ñðàâ-íèòü èõ ñ ïîëó÷åííûìè íà íàøåé óñòàíîâêå ñðåäíèìè çíà-÷åíèÿìè Òê è Ðê.
3.2.3.Âû÷èñëèòü ïî ôîðìóëàì (1.5) è (1.7) âåëè÷èíû Òê è Ðê äëÿ óãëåêèñëîòû è ñðàâíèòü èõ ñ ýêñïåðèìåíòàëüíûìè è òàáëè÷íûìè äàííûìè.
3.3.Ïðîâåäåíèå èçìåðåíèé è îáðàáîòêà äàííûõ
Íà÷èíàÿ ñ äàâëåíèÿ Ð = 74 êãñ/ñì2, ìåäëåííî ïîäíèìàòü òåìïåðàòóðó è äàâëåíèå â êàìåðå (êîíòàêòû òåðìîìåòðà ðàçâåñòè). Ïðîèçâîäèòü çàïèñü ïîêàçàíèé ìàíîìåòðà (÷åðåç ~0,5 êãñ/ñì2 ) è íàáëþäàåìîé êàðòèíû â òàáë.Ï.3. Ïîñëå èñ÷åçíîâåíèÿ ïîâåðõíîñòè ðàçäåëà êà÷åñòâåííî íàáëþäàòü çàêðèòè÷åñêîå ñîñòîÿíèå âåùåñòâà äî äàâëåíèÿ Ð ~80 êãñ/ñì2. Îòêëþ÷èâ íàãðåâàòåëü, çàìêíóâ êîíòàêòû êîíòàêòíîãî òåðìî-ìåòðà, è óñòàíîâèâ ìàëûé ðàñõîä îõëàæäàþùåé âîäû ÷åðåç õîëîäèëüíèê òåðìîñòàòà, ìåäëåííî ïîíèæàòü òåìïåðàòóðó â êàìåðå (îõëàæäàþùàÿ âîäà ìîæåò ïîäàâàòüñÿ èç âåðõíåãî òåðìîñòàòà). Ïî ìåðå ñíèæåíèÿ äàâëåíèÿ è òåìïåðàòóðû íå-ïðåðûâíî çàïèñûâàòü ïîêàçàíèÿ òåðìîïàð (Ut1,Ut2, ïåðåêëþ-÷àòåëü 13 â ïîëîæåíèè 3 è 4 ñîîòâåòñòâåííî), ìàíîìåòðà è íàáëþäàåìóþ êàðòèíó (òàáë. Ï.3). Âáëèçè êðèòè÷åñêîé òî÷êè (Ð~76 êãñ/ñì2) îõëàæäåíèå òåðìîñòàòà îòêëþ÷èòü (âûêëþ÷èòü âòîðîé òåðìîñòàò). Ìîìåíò ïîÿâëåíèÿ ìåíèñêà çàôèêñèðîâàòü è îòìåòèòü â òàáëèöå îïûòíûõ äàííûõ. Ïîäîáíûå èçìåðåíèÿ ïðîäåëàòü íå ìåíåå 3 ðàç*
. Ïî äàííûì èçìåðåíèé ïðè ïîíèæåíèè äàâëåíèÿ ðàññ÷èòàòü ïî ôîðìóëàì ñðåäíèå àðèôìåòè÷åñêèå çíà÷åíèÿ îïûòíûõ äàííûõ Òê(Ñ) è Ðê è èõ êâàäðàòè÷íûå ïîãðåøíîñòè è , ïðè ýòîì ó÷åñòü ïîãðåøíîñòè ïðèáîðîâ è ãðàäóèðîâêè (êëàññ òî÷íîñòè ìàíîìåòðà 0.4, ïîãðåøíîñòü ïîâåðêè òåðìîïàð 0,2Ñ). Ýêñïåðèìåíòàëüíûå çíà÷åíèÿ Òik
, Pik
âíåñòè â îòäåëüíûå òàáëèöû, ãäå è ïðîâîäèòü âñå ïðîìåæóòî÷íûå âû÷èñëåíèÿ .
Ðàñ÷åò íàèáîëåå âåðîÿòíîãî çíà÷åíèÿ âåëè÷èí è èç òàáë.Ï.1 ïðîèçâîäèòñÿ ïî ôîðìóëå äëÿ ðåçóëüòàòà èçìåðåíèé ðàçíîé äîñòîâåðíîñòè.
Ýêñïåðèìåíòàëüíûå, ðàññ÷èòàííûå ïî îïûòíûì äàííûì ðàçíûõ àâòîðîâ è âû÷èñëåííûå ïî ýìïèðè÷åñêèì ôîðìóëàì çíà÷åíèÿ Òê è Ðê ñðàâíèòü è âíåñòè â òàáëèöó (òàáë.Ï.4). Ñäåëàòü âûâîäû.
ÏÐÈÌÅ×ÀÍÈÅ. Íåîáõîäèìî èìåòü â âèäó, ÷òî â òàáë.Ï.1 ïðèâåäåíû àáñîëþòíûå äàâëåíèÿ Ðê. Ðàññ÷èòàííûå ïî îïûòíûì äàííûì è ïî ýìïèðè÷åñêèì ôîðìóëàì çíà÷åíèÿ Ðê íóæíî òàêæå äàâàòü êàê àáñîëþòíûå.
ÁÈÁËÈÎÃÐÀÔÈ×ÅÑÊÈÉ ÑÏÈÑÎÊ
1. Ïðèãîæèí È., Äåôýé Ð.Õèìè÷åñêàÿ òåðìîäèíàìèêà. Íîâîñèáèðñê: Íàóêà, 1966. 509 ñ.
2. Ñåìåí÷åíêî Â.Ê. Èçáðàííûå ãëàâû òåîðåòè÷åñêîé ôèçèêè. Ì.: Ïðîñâåùåíèå, 1966. 396ñ.
3. Âóêàëîâè÷ Í.Ï.,Àëòóíèí Â.Â. Òåïëîôèçè÷åñêèå ñâîéñòâà äâóîêèñè óãëåðîäà. Ì.: Àòîìèçäàò, 1965. 455 ñ.
4. Ñêðèïîâ Â.Ï. Óñòàíîâëåíèå ðàâíîâåñèÿ âáëèçè êðèòè÷åñêîé òî÷êè è ðîëü ãðàâèòàöèè // ÆÔÕ. 1958. Ò.32. N3. Ñ.712-715.
5. Àðõàíãåëüñêèé Ê.Â., Ñåìåí÷åíêî Â.Ê. Ê âîïðîñó îá îïðåäåëåíèè êðèòè÷åñêîé îáëàñòè è êðèòè÷åñêîé òåìïå-ðàòóðû // ÆÔÕ. 1962. Ò.34. N 11. Ñ.2564-2566.
6. Ðèä Ð., Ïðàóñíèö Ä., Øåðâóä Ò. Ñâîéñòâà ãàçîâ è æèäêîñòåé. Ë: Õèìèÿ, 1982. 591 ñ.
ÏÐÈËÎÆÅÍÈÅ
ÏÐÈÌÅÐ ÒÀÁËÈ×ÍÎÃÎ ÏÐÅÄÑÒÀÂËÅÍÈß ÝÊÑÏÅÐÈÌÅÍÒÀËÜÍÛÕ ÄÀÍÍÛÕ
Òàáëèöà Ï.1
Ýêñïåðèìåíòàëüíûå çíà÷åíèÿ êðèòè÷åñêèõ ïàðàìåòðîâ ÑÎ2
| Ãîä
|
Àâòîð
|
Òê,C
|
,C
|
Ðê, áàð
|
, áàð
|
| 1882
|
Àìàãà
|
31.35
|
0.01
|
73.9
|
0.1
|
| 1937
|
Ìèõåëüñ À. Áëàéññå Ìèõåëüñ Ñ
|
31.04
|
0.01
|
73.82
|
0.01
|
| 1956
|
Âåíòîðô
|
31.045
31,06
|
0.005
±0.02
|
73.804
73.834
|
0.002
±0.002
|
| 1960
|
Ñêðèïîâ Êîëïàêîâ
|
31.0
|
0.1
|
74.2
|
0.5
|
= =
ÏÐÈÌÅ×ÀÍÈÅ. - ñðåäíÿÿ êâàäðàòè÷íàÿ ïîãðåøíîñòü ðå-çóëüòàòà èçìåðåíèÿ.
Òàáëèöà Ï.2
Àòîìíûå è ñòðóêòóðíûå êîíñòàíòû äëÿ îïðåäåëåíèÿ êðèòè÷åñêèõ ïàðàìåòðîâ ïî ìåòîäó Ëèäåðñåíà
| Ãðóïïà
|
Ò
|
Ô
|
| 
|
0.00
|
0.21
|
| 
|
0.00
|
0.198
|
| 
|
0.021
|
0.16
|
| 
|
0.040
|
0.29
|
| 
|
0.02
|
0.12
|
Òàáëèöà Ï.3
Ïðèìåðíàÿ çàïèñü îïûòíûõ äàííûõ
| N
ï/ï
|
Ò,Ñ
|
Ðè,
êãñ/ñì2
|
Ðà,
ÌÏà
|
Ut1,
ìÂ
|
T1,Ñ
|
Ut2,
ìÂ
|
T2,Ñ
|
âèçóàëü-íûå íàá-ëþäåíèÿ
|
| 1
2
...
...
|
ÏÐÈÌÅ×ÀÍÈÅ. Ò- òåìïåðàòóðà òåðìîñòàòà ïî êîíòðîëüíîìó òåðìîìåòðó, Ñ; Ðè - èçáûòî÷íîå äàâëåíèå (ïîêàçàíèÿ ìàíîìåòðà); Ðà - àáñîëþòíîå äàâëåíèå ñ ó÷¸òîì ãðàäóèðîâêè, ÌÏà; Ut1,Ut2 - ïîêàçàíèå òåðìîïàð ïî âîëüòìåòðó, ìÂ; Ò1 è Ò2 - ïîêàçàíèÿ òåðìîïàð â Ñ ïî ãðàäóèðîâêå.
Òàáëèöà Ï.4
Ñâîäíàÿ òàáëèöà ýêñïåðèìåíòàëüíûõ è ðàñ÷åòíûõ äàííûõ
| Èñòî÷íèê
|
Ðê, ÌÏà
|
,ÌÏà
|
, ÌÏà
|
Òê, Ñ
|
, Ñ
|
, Ñ
|
| Ýêñïåðèìåíòàëüíûå äàííûå
|
| Ñðåäíåå çíà÷åíèå ïî äàííûì ðàçíûõ àâòîðîâ
|
| Çíà÷åíèå ïî ýìïèðè÷å-ñêèì ôîðìóëàì
|
ÏÐÈÌÅ×ÀÍÈÅ. - ñðåäíÿÿ êâàäðàòè÷íàÿ ïîãðåøíîñòü ñðåäíåãî àðèôìåòè÷åñêîãî çíà÷åíèÿ; - ñèñòåìàòè÷åñêàÿ ïîãðåøíîñòü èçìåðåíèé.
Ëàáîðàòîðíàÿ ðàáîòà ¹2
ÄÀÂËÅÍÈÅ ÍÀÑÛÙÅÍÍÎÃÎ ÏÀÐÀ, ÆÈÄÊÎÑÒÈ È ÒÂÅÐÄÎÃÎ ÒÅËÀ
Èçâåñòíî, ÷òî æèäêîñòü, íàõîäÿùàÿñÿ â îòêðûòîì ñîñóäå, èñïàðÿåòñÿ è òåì áûñòðåå, ÷åì âûøå åå òåìïåðàòóðà, ÷åì áîëüøå ñâîáîäíàÿ ïîâåðõíîñòü, ÷åì ýôôåêòèâíåå óäàëÿåòñÿ îáðàçóþùèéñÿ ïàð. Àíàëîãè÷íàÿ êàðòèíà ïðîèñõîäèò è ñ òâåðäûì òåëîì, òîëüêî ýôôåêò èñïàðåíèÿ ó òâåðäûõ òåë ìåíåå âûðàæåí.
Åñëè ïîìåñòèòü æèäêîñòü (òâ. òåëî) â çàìêíóòûé âàêóóì-íûé ñîñóä, íàõîäÿùèéñÿ ïðè ïîñòîÿííîé òåìïåðàòóðå, òî ñ òå÷åíèåì âðåìåíè â íåì óñòàíîâèòñÿ ðàâíîâåñèå ìåæäó ïàðîì è æèäêîñòüþ (òâåðäûì òåëîì), ïðè êîòîðîì ïëîòíîñòü ïàðà, à ñëåäîâàòåëüíî, è åãî äàâëåíèå èçìåíÿòñÿ íå áóäóò. Ïàð, íàõîäÿùèéñÿ â ðàâíîâåñèè ñ æèäêîñòüþ èëè òâåðäûì òåëîì, íàçûâàåòñÿ íàñûùåííûì ïàðîì. Öåëüþ ðàáîòû ÿâëÿåòñÿ èçó÷åíèå çàêîíîìåðíîñòåé ïðîöåññîâ ïåðåõîäà âåùåñòâ â ñîñòîÿíèå ïàðà è îïðåäåëåíèå òåðìîäèíàìè÷åñêèõ ïàðàìåò-ðîâ, õàðàêòåðèçóþùèõ òàêèå ïðîöåññû.
1. ÔÅÍÎÌÅÍÎËÎÃÈ×ÅÑÊÎÅ ÎÏÈÑÀÍÈÅ ÏÐÎÖÅÑÑΠÈÑÏÀÐÅÍÈß
1.1.Îáùèå óñëîâèÿ ðàâíîâåñèÿ ôàç
Ñèñòåìà, ñîñòîÿùàÿ èç ðàçëè÷íûõ ïî ñâîéñòâàì ÷àñòåé, ðàçãðàíè÷åííûõ ïîâåðõíîñòÿìè ðàçäåëà, íàçûâàåòñÿ ãåòåðî-ãåííîé ñèñòåìîé.
×àñòü ãåòåðîãåííîé ñèñòåìû, îãðàíè÷åííàÿ ïîâåðõíîñòüþ ðàçäåëà è õàðàêòåðèçóþùàÿñÿ â îòñóòñòâèè âíåøíåãî ïîëÿ ñèë îäèíàêîâûìè ôèçè÷åñêèìè ñâîéñòâàìè âî âñåõ ñâîèõ òî÷êàõ, íàçûâàåòñÿ ôàçîé ñèñòåìû.  êà÷åñòâå ïðèìåðà ôàç ìîæíî ïðèâåñòè ðàçëè÷íûå àãðåãàòíûå ñîñòîÿíèÿ îäíîãî è òîãî æå âåùåñòâà: æèäêîå, ãàçîîáðàçíîå. Ê ðàçëè÷íûì ôàçàì îòíîñÿòñÿ òàêæå êðèñòàëëè÷åñêèå ìîäèôèêàöèè âåùåñòâà, íàïðèìåð, - æåëåçî è - æåëåçî.
 óñëîâèÿõ ðàâíîâåñèÿ ôàçû (') è ('') õàðàêòåðèçóþòñÿ îäèíàêîâûìè äàâëåíèåì, òåìïåðàòóðîé è ðàâíûìè õèìè÷å-ñêèìè ïîòåíöèàëàìè
ð' = ð'', Ò'=Ò'', ' = ". (1.1)
Ïåðâîå óñëîâèå îçíà÷àåò óñòàíîâëåíèå ìåõàíè÷åñêîãî ðàâíîâåñèÿ (ãðàíèöà ðàçäåëà íåïîäâèæíà), âòîðîå óñëîâèå - óñëîâèå òåïëîâîãî áàëàíñà. Ðàâåíñòâî õèìè÷åñêèõ ïîòåíöèà-ëîâ îòðàæàåò óñëîâèå ìàòåðèàëüíîãî áàëàíñà.
Àíàëîãè÷íî óñëîâèÿì ðàâíîâåñèÿ äâóõ ôàç ðàâíîâåñèå òðåõ ôàç îïðåäåëÿåòñÿ ðàâåíñòâàìè:
ð'=ð''=ð''', Ò'=Ò''=Ò''',
'(P,T) = m"(P,T)=m'''(P,T) . (1.2)
Ïîñêîëüêó õèìè÷åñêèå ïîòåíöèàëû ÿâëÿþòñÿ ôóíêöèÿìè òåìïåðàòóðû è äàâëåíèÿ, òî äëÿ èçîáðàæåíèÿ ñîñòîÿíèÿ âå-ùåñòâà îáû÷íî ïîëüçóþòñÿ (ð,Ò) - äèàãðàììîé.
Íà ðèñ.1.1 ïðåäñòàâëåíà ÷àñòü îáùåé (ð,Ò) - äèàãðàììû äëÿ âîäû ( = 0,01 C, = 4,589 ìì ðò. ñò.) - ïàðàìåòðû òðîéíîé òî÷êè, â ðàâíîâåñèè íàõîäÿòñÿ òðè ôàçû). ÊÒ - êðèòè÷åñêàÿ òî÷êà. Äèàãðàììà âîäû ïðè âûñîêèõ äàâëåíèÿõ ïðèâåäåíà íà ðèñ.1.2.
Íà ðèñ.1.2 îáëàñòÿì 1-5 ñîîòâåòñòâóþò ðàçëè÷íûå êðè-ñòàëëè÷åñêèå ìîäèôèêàöèè. Ñîãëàñíî ïðàâèëó Ãèááñà äëÿ îäíîêîìïîíåíòíûõ ñèñòåì â ñîñòîÿíèè ðàâíîâåñèÿ äðóã ñ äðóãîì íàõîäèòñÿ íå áîëåå òðåõ ôàç ýòîãî âåùåñòâà. Òàêîìó ñîñòîÿíèþ ñîîòâåòñòâóþò òðîéíûå òî÷êè íà ðèñ.1.1 è 1.2.
Ïëàâëåíèå è èñïàðåíèå ÿâëÿþòñÿ íàèáîëåå ïðîñòûìè ïðèìåðàìè ôàçîâûõ ïåðåõîäîâ 1 ðîäà, êîòîðûå ñîïðîâîæ-äàþòñÿ òåïëîâûìè è îáúåìíûìè ýôôåêòàìè.
Ýíåðãèÿ, íåîáõîäèìàÿ äëÿ ïðåâðàùåíèÿ åäèíèöû ìàññû æèäêîñòè (òâåðäîãî òåëà) â ïàð ïðè ïîñòîÿííîé òåìïåðàòóðå, íàçûâàåòñÿ òåïëîòîé èñïàðåíèÿ, êîòîðàÿ ñêëàäûâàåòñÿ èç ýíåðãèè, çàòðà÷åííîé ïðîòèâ ñèë ñöåïëåíèÿ, è ðàáîòû ïðîòèâ âíåøíåãî äàâëåíèÿ ïðè ïåðåõîäå èç îäíîé ôàçû â äðóãóþ. Òåïëîòó èñïàðåíèÿ, îòíåñåííóþ ê îäíîé ìîëåêóëå, ìîæíî ðàññìàòðèâàòü êàê ìåðó òîé ðàáîòû, êîòîðóþ äîëæíû ñîâåð-øèòü ìîëåêóëû, ÷òîáû âûéòè èç æèäêîñòè (òâåðäîãî òåëà).
Ðèñ.1.1.Ð,Ò - äèàãðàììà äëÿ âîäû â îáëàñòÿõ ìàëûõ äàâëåíèé: ÒÒ - òðîéíàÿ òî÷êà, ÊÒ - êðèòè÷åñêàÿ òî÷êà
Ðèñ.1.2.Ð,Ò - äèàãðàììà äëÿ âîäû â îáëàñòÿõ âûñîêèõ äàâëåíèé
Ïîñêîëüêó ïëîòíîñòü ôàç ðàçëè÷íà, òî ïðè ôàçîâûõ ïå-ðåõîäàõ ïåðâîãî ðîäà ïðîèñõîäèò òàêæå è èçìåíåíèå óäåëü-íîãî îáúåìà.
1.2.Óðàâíåíèå Êëàïåéðîíà-Êëàóçèñà
Ýòî óðàâíåíèå ÿâëÿåòñÿ äèôôåðåíöèàëüíûì óðàâíåíèåì êðèâîé ôàçîâîãî ðàâíîâåñèÿ.
Ðàññìîòðèì îäíîêîìïîíåíòíóþ ñèñòåìó. Îáîçíà÷èì ÷åðåç õèìè÷åñêèå ïîòåíöèàëû ñîîòâåòñòâåííî äëÿ òâåðäîãî, æèäêîãî è ãàçîîáðàçíîãî ñîñòîÿíèÿ. Òîãäà äëÿ ðàâíîâåñèÿ æèäêîé è òâåðäîé ôàç , à â ðàâíîâåñèè æèäêîñòü-ïàð , íàêîíåö ïðè ðàâíîâåñèè òâåðäîå òåëî - ïàð .
Âîñïîëüçóåìñÿ ýòèì. Ïóñòü ôàçà i
ïåðåõîäèò â ôàçó ïðè òåìïåðàòóðå Ò è äàâëåíèè Ð. Òîãäà.
Åñëè ïåðåõîä áóäåò ïðîèñõîäèòü ïðè òåìïåðàòóðå Ò+dÒ è äàâëåíèè Ð+dÐ, òî:
. (1.3)
Ñëåäîâàòåëüíî,
. (1.4)
Ñîîòíîøåíèå (1.4) ìîæíî çàïèñàòü â âèäå:
(1.5)
ãäå S
è V -
óäåëüíûå ýíòðîïèÿ è îáúåì âåùåñòâà.
Îòñþäà:
(1.6)
Èçìåíåíèå ýíòðîïèè ñâÿçàíî ñ òåïëîòîé ôàçîâîãî ïåðå-õîäà ñîîòíîøåíèåì
(1.7)
Òàêèì îáðàçîì, äëÿ ñîîòíîøåíèÿ (1.6) ìîæíî çàïèñàòü
(1.8)
ãäå - èçìåíåíèå ìîëüíîãî îáúåìà ïðè ïåðåõîäå èç îäíîé ôàçû â äðóãóþ.
Ïîñëåäíåå óðàâíåíèå îïèñûâàåò çàâèñèìîñòü äàâëåíèÿ ôàçîâîãî ïåðåõîäà îò òåìïåðàòóð è íàçûâàåòñÿ óðàâíåíèåì Êëàïåéðîíà-Êëàóçèñà.
2. ÝÊÑÏÅÐÈÌÅÍÒÀËÜÍÀß ÓÑÒÀÍÎÂÊÀ
2.1. Èçìåðåíèå äàâëåíèÿ íàñûùåííîãî ïàðà âîäû âáëèçè òðîéíîé òî÷êè
Äëÿ ïîñòðîåíèÿ êðèâîé ðàâíîâåñèÿ â ñèñòåìàõ òâåðäîå òåëî-ïàð, æèäêîñòü-ïàð íåîáõîäèìî èçìåðèòü äàâëåíèå íàñû-ùåííîãî ïàðà íàä òâåðäûì òåëîì è æèäêîñòüþ â çàâèñèìîñòè îò òåìïåðàòóðû.
Èçìåðåíèÿ ïðîâîäÿòñÿ íà ýêñïåðèìåíòàëüíîé óñòàíîâêå, ïðèíöèïèàëüíàÿ ñõåìà êîòîðîé ïðèâåäåíà íà ðèñ.2.1.
Èñïîëüçóåìûå â ðàáîòå ñèñòåìû èçìåðåíèÿ îãðàíè÷åíû âàêóóìíûìè âåíòèëÿìè 5 è 6 (íîðìàëüíîå ïîëîæåíèå âåíòè-ëåé çàêðûòîå).
Ðàáî÷àÿ æèäêîñòü - âîäà íàõîäèòñÿ â êàìåðå 7, îòñåêàå-ìîé îò ñèñòåìû âàêóóìíûì âåíòèëåì 6.
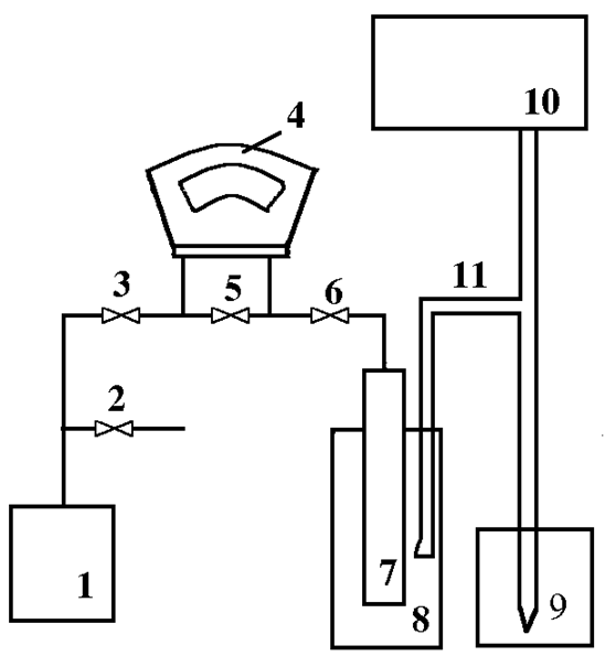
Èçìåðåíèå äàâëåíèÿ íàñûùåííîãî ïàðà íàä òâåðäûì òåëîì è æèäêîñòüþ ïðîâîäèòñÿ ñ ïîìîùüþ äèôôåðåíöèàëü-íîãî îïòè÷åñêîãî ìàíîìåòðà (ÎÌ-10), îäíà èç ïîëîñòåé êîòîðîãî ("-") íàõîäèòñÿ ïîä ïîñòîÿííîé îòêà÷êîé, à äðóãàÿ ("+") ñîåäèíÿåòñÿ âåíòèëåì 6 ñ ðàáî÷åé êàìåðîé. Èçìåíåíèå Ðèñ.2.1. Ïðèíöèïèàëüíàÿ ñõåìà ýêñïåðèìåíòàëüíîé óñòàíîâêè:
1 - ôîðâàêóóìíûé íàñîñ; 2 - âàêóóìíûé çàæèì äëÿ íàïóñêà àòìîñôåðû â ôîðâàêóóìíûé íàñîñ; 3,6 - ñîåäèíèòåëü-íûå êðàíû; 4 - îïòè÷åñêèé ìàíîìåòð (ÎÌ-10); 5 - áàéïàñíûé êðàí; 7 - ðàáî÷àÿ êàìåðà; 8 - òåðìîñòàò äëÿ ïîääåðæàíèÿ òåìïåðàòóð êàìåðû; 9 - ñîñóä Äüþàðà äëÿ íóëåâûõ êîíöîâ òåðìîïàð ; 10 - öèôðîâîé âîëüòìåòð; 11 - òåðìîïàðà
ïåðåïàäà äàâëåíèÿ ïðèâîäèò ê ïåðåìåùåíèþ ðàáî÷åé ìåì-áðàíû ìàíîìåòðà è ñâÿçàííîãî ñ ìåìáðàíîé çåðêàëüöà, íà êîòîðîå ïàäàåò ñâåòîâîé ëó÷. Îòðàæåííûé ñâåòîâîé çàé÷èê ïîêàçûâàåò ñîîòâåòñòâóþùåå ñìåùåíèå ìåìáðàíû äàâëåíèÿ íà öèôðîâîé øêàëå ìàíîìåòðà. Èçìåíåíèå òåìïåðàòóðû ðàáî÷åé êàìåðû ïðîèñõîäèò ïóòåì ïàññèâíîãî åå íàãðåâà íà âîçäóõå ïîñëå ïðåäâàðèòåëüíîãî îõëàæäåíèÿ æèäêèì àçîòîì. Èçìåðåíèå òåìïåðàòóðû ïðîèçâîäèòñÿ ïðè ïîìîùè òåðìî-ïàðû, ÝÄÑ êîòîðîé èçìåðÿåòñÿ öèôðîâûì âîëüòìåòðîì.
2.2. Èçìåðåíèå äàâëåíèÿ íàñûùåííîãî ïàðà âîäû ïðè âû-ñîêèõ òåìïåðàòóðàõ
Äëÿ ïîñòðîåíèÿ êðèâîé ðàâíîâåñèÿ â ñèñòåìå æèäêîñòü - ïàð íåîáõîäèìî èçìåðèòü äàâëåíèå íàñûùåííîãî ïàðà íàä æèäêîñòüþ â çàâèñèìîñòè îò òåìïåðàòóðû.
 äàííîì âàðèàíòå èñïîëüçóåòñÿ óñòàíîâêà, ïðåäñòàâëåí-íàÿ íà ðèñ.2.2.
 ðàáîòå èñïîëüçóåòñÿ ïðèíöèï íåïîñðåäñòâåííîé ïåðå-äà÷è äàâëåíèÿ ïàðà ÷åðåç æèäêîñòü â ìàíîìåòð ÷åðåç ñîåäè-íèòåëüíîå êîëåíî.
Äëÿ íàãðåâà è èñïàðåíèÿ æèäêîñòè èñïîëüçóåòñÿ ýëåêòðè÷åñêàÿ ïå÷ü, íåïîñðåäñòâåííî íàìîòàííàÿ íà ðàáî÷óþ êàìåðó 2. Íàãðåâ ïðèâîäèò ê ðîñòó äàâëåíèÿ ïàðîâ âîäû, ðåãèñòðèðóåìîãî ìàíîìåòðîì 4.
Èçìåðåíèå òåìïåðàòóðû â ðàáî÷åé êàìåðå îñóùåñòâëÿ-åòñÿ ïðè ïîìîùè õðîìåëü-êîïåëåâîé òåðìîïàðû 7, ïîìåùåí-íîé â çàïàÿííîì êàïèëëÿðå âíóòðè ðàáî÷åé êàìåðû, è öèôðî-âîãî âîëüòìåòðà 5. Íóëåâûå êîíöû òåðìîïàðû ïîìåùåíû â ñîñóäå Äüþàðà 6.
3. ÌÅÒÎÄÈÊÀ ÏÐÎÂÅÄÅÍÈß ÝÊÑÏÅÐÈÌÅÍÒÀ
3.1. Îïðåäåëåíèå òåïëîòû èñïàðåíèÿ èç êðèâûõ ôàçîâîãî ðàâíîâåñèÿ
Äëÿ ïîëó÷åíèÿ çàâèñèìîñòè äàâëåíèÿ íàñûùåííîãî ïàðà îò òåìïåðàòóðû ðàññìîòðèì Ð-Ò äèàãðàììû (ðèñ.1.1, 1.2).
Ðèñ.2.2. Ïðèíöèïèàëüíàÿ ñõåìà ýêñïåðèìåíòàëüíîé óñòàíîâêè:
1 - àâòîòðàíñôîðìàòîð (ËÀÒÐ); 2- ðàáî÷àÿ êàìåðà ; 3 - íàãðåâàòåëü; 4 - ìàíîìåòð; 5 - öèôðîâîé âîëüòìåòð; 6 - ñîñóä äëÿ íóëåâûõ êîíöîâ òåðìîïàðû; 7 - òåðìîïàðà
Êðèâàÿ èñïàðåíèÿ, ðàçäåëÿþùàÿ ôàçû: òâåðäîå òåëî - ïàð, æèäêîñòü-ïàð ñîñòîèò èç äâóõ ÷àñòåé: êðèâîé ñóáëèìàöèè 1 è êðèâîé ïàðîîáðàçîâàíèÿ 2 (ðèñ.1.1).
Åñëè òåìïåðàòóðà ôàçîâîãî ïåðåõîäà çíà÷èòåëüíî ìåíü-øå êðèòè÷åñêîé, òî îáúåìîì æèäêîñòè â ñëó÷àå ïàðîîáðàçî-âàíèÿ èëè îáúåìîì òâåðäîãî òåëà â ñëó÷àå ñóáëèìàöèè ìîæíî ïðåíåáðå÷ü è óðàâíåíèå Êëàïåéðîíà-Êëàóçèñà çàïèñàòü â âèäå:
, (3.1)
ãäå - óäåëüíûé îáúåì ïàðà.
Ïðè òåìïåðàòóðàõ çíà÷èòåëüíî ìåíüøå êðèòè÷åñêîé ïàð ìîæíî ñ÷èòàòü èäåàëüíûì ãàçîì. Äëÿ îäíîãî ìîëÿ:
. (3.2)
Ó÷èòûâàÿ ïîñëåäíåå ñîîòíîøåíèå, óðàâíåíèå (3.1) ìîæíî çàïèñàòü â ñëåäóþùåé ôîðìå:
. (3.3)
 òàêîì ïðèáëèæåíèè òåïëîòó èñïàðåíèÿ ìîæíî ñ÷èòàòü ïðèáëèçèòåëüíî ïîñòîÿííîé, íå çàâèñÿùåé îò òåìïåðàòóðû. Èíòåãðèðóÿ ñîîòíîøåíèå (3.3), èìååì:
(3.4)
Ïîñëåäíåå âûðàæåíèå ïîçâîëÿåò îïðåäåëèòü ýêñïåðèìåí-òàëüíî òåïëîòó èñïàðåíèÿ, êîòîðàÿ áóäåò îïðåäåëÿòñÿ òàíãåí-ñîì óãëà íàêëîíà ïðÿìîé â êîîðäèíàòàõ .
Îòêëîíåíèå ýêñïåðèìåíòàëüíûõ çíà÷åíèé îò ïðÿ-ìîé áóäåò óêàçûâàòü íà çàâèñèìîñòü òåïëîòû èñïàðåíèÿ îò òåìïåðàòóðû.
3.2. Çàäàíèå
3.2.1. Èçìåðèòü çàâèñèìîñòü äàâëåíèÿ íàñûùåííîãî ïàðà íàä ëüäîì è æèäêîñòüþ. Èçìåðåíèÿ ïðîâåñòè ïðè 10 ðàçëè÷-íûõ çíà÷åíèÿõ òåìïåðàòóð äëÿ êàæäîé èç ôàç.
3.2.2. Ïî ðåçóëüòàòàì èçìåðåíèé ïîñòðîèòü ãðàôèêè , îáðàáîòàòü ýêñïåðèìåíòàëüíûå êðèâûå ìåòî-äîì íàèìåíüøèõ êâàäðàòîâ îïðåäåëèòü òåïëîòû ôàçîâûõ ïå-ðåõîäîâ. Äëÿ íèçêîòåìïåðàòóðíîãî ó÷àñòêà êðèâîé ðàâíîâå-ñèÿ îïðåäåëèòü ïîëîæåíèå òðîéíîé òî÷êè. Âû÷èñëèòü ñëó÷àé-íóþ è ñèñòåìàòè÷åñêóþ ïîãðåøíîñòü èçìåðåííûõ âåëè÷èí.
3.2.3. Ïðîâåñòè ñðàâíåíèå ýêñïåðèìåíòàëüíûõ ðåçóëüòà-òîâ ñ òàáëè÷íûìè çíà÷åíèÿìè [3].
3.3. Ïîðÿäîê âûïîëíåíèÿ ðàáîòû ïðè èçìåðåíèè äàâëåíèÿ íàñûùåííîãî ïàðà ëüäà è âîäû âáëèçè òðîéíîé òî÷êè
Ýêñïåðèìåíò ïðîâîäèòñÿ íà óñòàíîâêå, èçîáðàæåííîé íà ðèñ.2.1.
3.3.1. Çàêðûòü âåíòèëè 2,3,6.
3.3.2. Îòêðûòü áàéïàñíûé âåíòèëü 5 (ðóêîÿòêà ñâîáîäíî âðàùàåòñÿ).
3.3.3. Çàïîëíèòü ñîñóä, â êîòîðûé ïîìåùåíû íóëåâûå êîíöû òåðìîïàð, ëüäîì.
3.3.4. Âêëþ÷èòü öèôðîâîé âîëüòìåòð ñîãëàñíî îïèñàíèþ ê ïðèáîðó è ïîäêëþ÷èòü åãî äëÿ èçìåðåíèÿ ÝÄÑ òåðìîïàðû 11 (ïîëîæåíèå òóìáëåðà âëåâî).
3.3.5. Âêëþ÷èòü ôîðâàêóóìíûé íàñîñ.
3.3.6. Îòêðûòü âåíòèëü 3, îòêà÷àòü ñèñòåìó â òå÷åíèå 10 ìèíóò.
3.3.7. Çàëèòü ñîñóä 8 æèäêèì àçîòîì è îõëàäèòü ðàáî÷óþ êàìåðó äî òåìïåðàòóðû íèæå -30 Ñ.
3.3.8. Îòêðûòü âåíòèëü 6, îòêà÷àòü ðàáî÷óþ êàìåðó. Ïîñ-ëå 5 ìèíóò îòêà÷êè âåíòèëü 5 çàêðûòü.
3.3.9. Ïðè äîñòèæåíèè òåìïåðàòóðû (-25 Ñ) â ïðîöåññå íàãðåâà îò îêðóæàþùåé ñðåäû ñèñòåìàòè÷åñêè ôèêñèðîâàòü ïîêàçàíèÿ òåìïåðàòóðû è äàâëåíèÿ (10 òî÷åê äî òåìïåðàòóðû, ðàâíîé 0 Ñ, è 10 òî÷åê äëÿ òåìïåðàòóðû áîëüøå 0 Ñ).
3.3.10. Ðåçóëüòàòû èçìåðåíèé çàíîñèòü â òàáë.Ï.1.
3.3.11. Ïîñëå îêîí÷àíèÿ ðàáîòû çàëèòü â ñîñóä 8 æèäêèé àçîò è âûäåðæàòü êàìåðó â àçîòå äëÿ îòêà÷êè ïàðîâ âîäû èç ìàíîìåòðà.
3.3.12. Çàêðûòü âåíòèëè 3 è 6, îòêðûòü âåíòèëü 5.
3.3.13. Âûêëþ÷èòü ôîðâàêóóìíûé íàñîñ, îòêðûòü çàæèì 2, íàïóñòèòü â íàñîñ àòìîñôåðó.
3.4. Ïîðÿäîê âûïîëíåíèÿ ðàáîòû ïðè èçìåðåíèè äàâëå-íèÿ íàñûùåííîãî ïàðà âîäû
Ýêñïåðèìåíò ïðîâîäèòñÿ íà óñòàíîâêå, èçîáðàæåííîé íà ðèñ.2.2.
3.4.1. Çàïîëíèòü ëüäîì ñîñóä, â êîòîðûé ïîìåùåíû íóëåâûå êîíöû òåðìîïàð.
3.4.2. Âêëþ÷èòü öèôðîâîé âîëüòìåòð ñîãëàñíî îïèñàíèþ ê ïðèáîðó, ïîäêëþ÷èâ åãî äëÿ èçìåðåíèÿ ÝÄÑ òåðìîïàðû 7 (ïîëîæåíèå òóìáëåðà âëåâî).
3.4.3. Âêëþ÷èòü ËÀÒÐ â ñåòü, óñòàíîâèòü íàïðÿæåíèå 60Â.
3.4.4. Çàïèñàòü ïîêàçàíèÿ ìàíîìåòðà è öèôðîâîãî âîëüò-ìåòðà ïðè ïîâûøåíèè äàâëåíèÿ (10 -15 òî÷åê) â òàáë.11.1.
3.4.5. Íàãðåâ îòêëþ÷èòü, êîãäà ñòðåëêà ìàíîìåòðà ïðîé-äåò 320 äåëåíèé.
3.4.6. Ïðîâåñòè èçìåðåíèÿ ñîãëàñíî ï. 3.4.4 ïðè ïîíè-æåíèè òåìïåðàòóðû.
3.4.7. Îòêëþ÷èòü öèôðîâîé âîëüòìåòð ËÀÒÐ.
ÁÈÁËÈÎÃÐÀÔÈ×ÅÑÊÈÉ ÑÏÈÑÎÊ
1. Ëåâè÷ Â.Ã. Êóðñ òåîðåòè÷åñêîé ôèçèêè. Ò.1, Ì.: Íàóêà, 1969,.912 c.
2. Ïðèãîæèí È., Äåôåé Ð. Õèìè÷åñêàÿ òåðìîäèíàìèêà.- Íîâîñèáèðñê: Íàóêà, 1966,.509 c.
3. Òàáëèöû ôèçè÷åñêèõ âåëè÷èí: Ñïðàâî÷íèê./ Ïîä ðåä. àêàä. È.Ê. Êèêîèíà.-Ì.: Àòîìèçäàò, 1976,.1008 c.
ÏÐÈËÎÆÅÍÈÅ
Òàáëèöà Ï.1
Îïûòíûå äàííûå
| N°
ï/ï
|
Å,
mB
|
t,
°C
|
T,
K
|

|
P (ïî
ïðèáîðó)
|
Ð, Ïà
|

|
| 1
2
L
L
|
ÏÐÈÌÅ×ÀÍÈÅ. Ïî îïòè÷åñêîìó ìàíîìåòðó èçìåðÿåòñÿ àá-ñîëþòíîå äàâëåíèå â ìì ðò. ñò., ïî îáðàçöî-âîìó ìàíîìåòðó - èçáûòî÷íîå äàâëåíèå â êãñ/ñì2.
Ëàáîðàòîðíàÿ ðàáîòà ¹ 3
ÒÅÏËÎÅÌÊÎÑÒÜ ÊÐÈÑÒÀËËÈ×ÅÑÊÈÕ ÒÅË
ÂÂÅÄÅÍÈÅ
Öåëü ðàáîòû - îçíàêîìëåíèå ñ ìèêðîñêîïè÷åñêîé òåîðèåé òåïëîåìêîñòè êðèñòàëëè÷åñêèõ òåë, îçíàêîìëåíèå ñ óñòàíîâêîé äëÿ èçìåðåíèÿ òåïëîåìêîñòè, èçìåðåíèå òåïëîåìêîñòè äâóõ îáðàçöîâ.
1. ÒÅÎÐÈß ÒÅÏËÎÅÌÊÎÑÒÈ ÊÐÈÑÒÀËËÎÂ
Òåïëîåìêîñòü ïðåäñòàâëÿåò ñîáîé ôèçè÷åñêóþ õàðàêòåðèñòèêó òåëà è îïðåäåëÿåòñÿ îòíîøåíèåì ïîäâåäåííîãî â íåêîòîðîì òåðìîäèíàìè÷åñêîì ïðîöåññå òåïëà ê âûçâàííîìó ýòèì òåïëîì èçìåíåíèþ òåìïåðàòóðû òåëà. Ïîìèìî ñâîéñòâ ñàìîãî òåëà òåïëîåìêîñòü çàâèñèò îò ïðîöåññà ïîäâîäà òåïëà. ×àùå âñåãî èìåþò äåëî ñ òåïëîåìêîñòüþ ïðè ïîñòîÿííîì äàâëåíèè P èëè ñ òåïëîåìêîñòüþ Ñv ïðè ïîñòÿííîì îáúåìå . Òåðìîäèíàìèêà äàåò ñëåäóþùåå ñîîòíîøåíèå ìåæäó íèìè:
, (1.1)
ãäå Q è Ò - êîëè÷åñòâî òåïëîòû è òåìïåðàòóðà.
Äëÿ êðèñòàëëè÷åñêèõ òåë òåïëîåìêîñòè è îòëè÷àþòñÿ î÷åíü ìàëî è â ïåðâîì ïðèáëèæåíèè èõ ìîæíî ñ÷èòàòü ñîâïàäàþùèìè:

Äëÿ òîãî ÷òîáû òåîðåòè÷åñêè ïîëó÷èòü âûðàæåíèå äëÿ òåïëîåìêîñòè êðèñòàëëà, íåîáõîäèìî âîñïîëüçîâàòüñÿ êàêîé - ëèáî äèíàìè÷åñêîé ìîäåëüþ êðèñòàëëà.  ïåðâîì ïðèáëèæåíèè ìîæíî ïðèíÿòü, ÷òî àòîìû (èëè èîíû) â óçëàõ êðèñòàëëè÷åñêîé ðåøåòêè ñîâåðøàþò ìàëûå (òåïëîâûå) êîëåáàíèÿ îêîëî íåêîòîðûõ ïîëîæåíèé ðàâíîâåñèÿ. Åñëè ñ÷èòàòü, ÷òî êàæäûé àòîì (èîí) èìååò òðè êîëåáàòåëüíûõ ñòåïåíè ñâîáîäû, òî âåñü êðèñòàëë, ñîñòîÿùèé èç N àòîìîâ, ìîæíî ðàññìàòðèâàòü êàê ñîâîêóïíîñòü 3N ëèíåéíûõ ãàðìîíè÷åñêèõ îñöèëëÿòîðîâ, èìåþùèõ îäèíàêîâóþ ÷àñòîòó êîëåáàíèé.
Òîãäà äëÿ ýíåðãèè òàêîãî êðèñòàëëà ïîëó÷èì âûðàæåíèå:
, (1.2)
ãäå - ñðåäíÿÿ ýíåðãèÿ îäíîãî îñöèëëÿòîðà.
 êëàññè÷åñêîì ïðèáëèæåíèè:
=kT, òîãäà E=3NkT è 
Ïåðåõîäÿ ê ìîëÿðíîé òåïëîåìêîñòè, ïîëó÷àåì
Ñ=3N0k=3R , (1.3)
ãäå N0 - ÷èñëî Àâîãàäðî, R - óíèâåðñàëüíàÿ ãàçîâàÿ ïîñòîÿííàÿ.
Ìû ïîëó÷èëè èçâåñòíûé çàêîí Äþëîíãà è Ïòè, ñîãëàñíî êîòîðîìó òåïëîåìêîñòü êðèñòàëëè÷åñêèõ òåë îäèíàêîâà è íå çàâèñèò îò òåìïåðàòóðû. Ðàññ÷èòàííàÿ ïî ôîðìóëå (1.3) âåëè÷èíà òåïëîåìêîñòè íàõîäèòñÿ â õîðîøåì ñîãëàñèè ñ ýêñïåðèìåíòîì ïðè äîñòàòî÷íî âûñîêèõ òåìïåðàòóðàõ.
Îäíàêî íà ýòîé ìîäåëè íåâîçìîæíî îáúÿñíèòü ðåçêîå óìåíüøåíèå òåïëîåìêîñòè ïðè íèçêèõ òåìïåðàòóðàõ (Ò0), ãäå .
 1905 ãîäó Ýéíøòåéí, òàêæå ðàññìàòðèâàÿ êðèñòàëë êàê ñîâîêóïíîñòü 3N îäíîìåðíûõ ãàðìîíè÷åñêèõ îñöèëëÿòîðîâ, âîñïîëüçîâàëñÿ âìåñòî ñîîòíîøåíèÿ êâàíòîâî-ìåõàíè÷åñêèì âûðàæåíèåì äëÿ ñðåäíåé ýíåðãèè îñöèëëÿòîðà:
(1.4)
òîãäà
(1.5)
Ðåçóëüòàò Ýéíøòåéíà õîòÿ è ïðèâîäèò ê óìåíüøåíèþ òåïëîåìêîñòè ïðè íèçêèõ òåìïåðàòóðàõ, íî ïðåäñêàçûâàåò çíà÷èòåëüíî áîëåå ðåçêîå åå èçìåíåíèå ( ), ÷åì íàáëþäàåìîå íà ïðàêòèêå ( ).
Íåäîñòàòîê ìîäåëè Ýéíøòåéíà ñîñòîèò â òîì, ÷òî êîëå-áàíèÿ îòäåëüíûõ àòîìîâ ñ÷èòàþòñÿ íåçàâèñèìûìè è èì ïðè-ïèñûâàåòñÿ îäèíàêîâàÿ ÷àñòîòà.  äåéñòâèòåëüíîñòè æå ñàìî ñóùåñòâîâàíèå êðèñòàëëè÷åñêîé ðåøåòêè óêàçûâàåò íà äîñòà-òî÷íî ñèëüíóþ ñâÿçü ìåæäó àòîìàìè.
Äåáàé ñîïîñòàâèë îñöèëëÿòîðàì íå êîëåáàíèÿ îòäåëüíûõ àòîìîâ, à ñîáñòâåííûå óïðóãèå êîëåáàíèÿ òâåðäîãî òåëà êàê öåëîãî. Îí ïðåäëîæèë ñïåêòð êîëåáàíèé òâåðäîãî òåëà òðàêòîâàòü êàê ñïåêòð îäíîðîäíîé óïðóãîé ñðåäû. Ïðè ýòîì äëÿ ñîõðàíåíèÿ ñîîòâåòñòâèÿ ñ ÷èñëîì 3N ñòåïåíåé ñâîáîäû, ÷èñëî íåçàâèñèìûõ óïðóãèõ êîëåáàíèé (âîëí) òåëà ñ÷èòàåòñÿ ðàâíûì 3N. Òåïåðü äëÿ ýíåðãèè êðèñòàëëà âìåñòî (1.2) ñëåäóåò çàïèñàòü âûðàæåíèå:
(1.6)
ãäå -ôóíêöèÿ ðàñïðåäåëåíèÿ ñîáñòâåííûõ êîëåáàíèé ïî ñïåêòðó ÷àñòîò.
Ïîñëå âû÷èñëåíèÿ ýòîé ôóíêöèè ïîëó÷èì ñëåäóþùåå âûðàæåíèå äëÿ òåïëîåìêîñòè:
(1.7)
ãäå ÷åðåç îáîçíà÷åíà äåáàåâñêàÿ ôóíêöèÿ, - õàðàê-òåðèñòè÷åñêàÿ òåìïåðàòóðà Äåáàÿ,
 (1.8)
Îòñþäà î÷åâèäíî, ÷òî ïðè íèçêèõ òåìïåðàòóðàõ (Ò<< ) óðàâíåíèå (1.7) ìîæåò áûòü ïðåîáðàçîâàíî ê âèäó:
. (1.9)
 ñîîòâåòñòâèè ñ ýòèì óðàâíåíèåì òåïëîåìêîñòü òâåðäîãî òåëà ïðè íèçêèõ òåìïåðàòóðàõ ïðîïîðöèîíàëüíà òðåòüåé ñòåïåíè òåìïåðàòóðû . Ýòî ñîîòíîøåíèå íàçûâàþò êóáè÷åñêèì çàêîíîì Äåáàÿ.
Âèäíî òàêæå, ÷òî ïðè âûñîêèõ òåìïåðàòóðàõ (Ò>> ) óðàâíåíèå (1.7) àñèìïòîòè÷åñêè ïðèáëèæàåòñÿ ê óðàâíåíèþ (1.3) Äþëîíãà è Ïòè.
Çàâèñèìîñòü àòîìàðíîé òåïëîåìêîñòè òâåðäûõ òåë îò òåìïåðàòóðû, îïèñûâàåìàÿ óðàâíåíèåì Äåáàÿ (1.7), ïðåäñòàâëåíà íà ðèñ.1.1.
2. ÝÊÑÏÅÐÈÌÅÍÒÀËÜÍÀß ÓÑÒÀÍÎÂÊÀ
2.1. Îïèñàíèå ýêñïåðèìåíòàëüíîé óñòàíîâêè
Ýêñïåðèìåíòàëüíàÿ óñòàíîâêà ñîñòîèò èç âàêóóìíîé ñèñòåìû, âàêóóìíîãî êàëîðèìåòðà è ýëåêòðè÷åñêîé ÷àñòè.
Óñòðîéñòâî âàêóóìíîãî êàëîðèìåòðà ïîêàçàíî íà ðèñ.2.1.
Ñ öåëüþ óìåíüøåíèÿ òåïëîîòäà÷è îò îáðàçöîâ 1 îáúåì ïîä êîëïàêîì 2 âàêóóìíîãî êàëîðèìåòðà îòêà÷èâàåòñÿ.
Ñõåìà ýëåêòðè÷åñêîé ÷àñòè óñòàíîâêè èçîáðàæåíà íà ðèñ.2.2.
Òåìïåðàòóðà îáðàçöîâ èçìåðÿåòñÿ ñ ïîìîùüþ ìåäüêîíñòàíòàíîâûõ òåðìîïàð, "ãîðÿ÷èå" ñïàè êîòîðûõ Ò1 è Ò2 çàêðåïëåíû âíóòðè îáðàçöîâ, à "õîëîäíûå" ñïàè ïîìåùå-íû â òåðìîñòàò Òî , òåìïåðàòóðà êîòîðîãî ïîääåðæèâàåòñÿ ðàâíîé 0Ñ (òåìïåðàòóðà òàÿíèÿ ëüäà). ÝÄÑ òåðìîïàð èçìåðÿþò öèôðîâûì âîëüòìåòðîì.
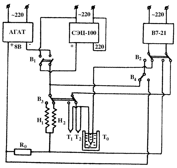
Íàãðåâ îáðàçöîâ îñóùåñòâëÿåòñÿ ñ ïîìîùüþ íàãðåâàòåëåé Í1 è Í2, èçãîòîâëåííûõ èç ìàíãàíèíîâîé ïðîâîëîêè äèàìåòðîì 0,00012 ì, ïî êîòîðûì ïðîïóñêàåòñÿ ýëåêòðè÷åñêèé òîê îò ðåãóëèðóåìîãî èñòî÷íèêà ïèòàíèÿ "Àãàò". Íàãðåâàòåëè íàâèòû íà ñëþäÿíóþ èçîëÿöèþ è ïîìåùåíû âíóòðü îáðàçöîâ. Ïàäåíèå íàïðÿæåíèÿ íà íàãðåâàòåëÿõ è îáðàçöîâîì ïðîâîëî÷íîì ñîïðîòèâëåíèè Rî=(1,0150,001) Îì âî âðåìÿ íàãðåâà îáðàçöîâ èçìåðÿþò òåì æå öèôðîâûì âîëüòìåòðîì Â7-21. Âðåìÿ íàãðåâà îáðàçöîâ îòñ÷èòûâàåòñÿ ïî öèôðîâîìó ýëåêòðîííîìó ñåêóíäîìåðó ÑÝÖ-100.
Îòêà÷êà âàêóóìíîãî êàëîðèìåòðà îñóùåñòâëÿåòñÿ ñ ïîìîùüþ ôîðâàêóóìíîãî íàñîñà ÇÍÂÐ-Ä äî äàâëåíèÿ 0,01 ìì ðò.ñò.
2.2. Âûâîä ôîðìóë äëÿ ðàñ÷åòà òåïëîåìêîñòè ïî ýêñïåðèìåíòàëüíûì äàííûì
Êîëè÷åñòâî òåïëà, âûçâàâøåãî èçìåíåíèå òåìïåðàòóðû îáðàçöà çà âðåìÿ dt, ìîæíî çàïèñàòü â âèäå óðàâíåíèÿ òåïëîâîãî áàëàíñà:
, (2.1)
ãäå - òåïëîåìêîñòü îáðàçöà;
Ò è Òî - òåìïåðàòóðà îáðàçöà è îêðóæàþùåé ñðåäû;
U è I - íàïðÿæåíèå è òîê, ïðîòåêàþùèå ÷åðåç íàãðåâàòåëü;
- êîýôôèöèåíò òåïëîîáìåíà îáðàçöà ñ îêðóæàþùåé ñðåäîé.
Ñîîòíîøåíèå (2.1) ìîæíî ïåðåïèñàòü â âèäå:
(2.2)
ãäå îáîçíà÷åíî .
Ðèñ.1.1. Çàâèñèìîñòü àòîìàðíîé òåïëîåìêîñòè òâåðäûõ òåë îò òåìïåðàòóðû, îïèñûâàåìàÿ óðàâíåíèåì Äåáàÿ
Ðåøåíèå óðàâíåíèÿ (2.2) èìååò âèä:
, (2.3)
ãäå - êîíñòàíòà èíòåãðèðîâàíèÿ. Ó÷èòûâàÿ, ÷òî â íà÷àëüíûé ìîìåíò âðåìåíè Ò = Òî, íàõîäèì, ÷òî =Òî.
Ðèñ.2.1. Ñõåìà âàêóóìíîãî êàëîðèìåòðà:
1 - îáðàçöû; 2 - êîëïàê; 3 - ôëàíåö; 4 - ýëåêòðè÷åñêèé ðàçúåì; 5- òîêîâûå è ïîòåíöèàëüíûå âûâîäû; 6 - ïàòðóáîê âàêóóìíîé îòêà÷êè êàëîðèìåòðà
Ïîëàãàÿ, ÷òî èçìåíåíèå òåìïåðàòóðû ïðè íàãðåâå îáðàçöà íåâåëèêî, òàê ÷òî òåïëîåìêîñòü ïðè ýòîì ìîæíî ñ÷èòàòü ïîñòîÿííîé, íàéäåì ïðèðàùåíèå òåìïåðàòóðû
. (2.4)
Ðèñ.2.2. Ïðèíöèïèàëüíàÿ ñõåìà ýëåêòðè÷åñêîé ÷àñòè ýêñïåðèìåíòàëüíîé óñòàíîâêè:
ÀÃÀÒ - ðåãóëèðóåìûé ïðèáîð ïèòàíèÿ; ÑÝÖ-100 - ñåêóíäîìåð ýëåêòðîííûé öèôðîâîé; Â7-21 - öèôðîâîé âîëüòìåòð; Í1,Í2 - ïðîâîëî÷íûå íàãðåâàòåëè; Rî - îáðàçöîâîå ñîïðîòèâëåíèå; Ò1,Ò2 - ãîðÿ÷èå ñïàè òåðìîïàð; Òî - òåðìîñòàò
Îòñþäà òåïëîåìêîñòü îáðàçöà
(2.5)
Åñëè âçÿòü íàãðåâàòåëü ñ ìàëûì òåìïåðàòóðíûì êîýôôè-öèåíòîì ñîïðîòèâëåíèÿ, òî åãî ñîïðîòèâëåíèå ïðè íåáîëü-øîì èçìåíåíèè òåìïåðàòóðû ìîæíî ñ÷èòàòü ïîñòîÿííûì. Òîãäà áóäóò ïîñòîÿííûìè íàïðÿæåíèå è òîê, ïðîòåêàþùèå ÷åðåç íàãðåâàòåëü.  ýòîì ñëó÷àå ìîëÿðíóþ òåïëîåìêîñòü ìàòåðèàëà îáðàçöà, ïî ýêñïåðèìåíòàëüíûì äàííûì, ìîæíî âû÷èñëèòü ïî ôîðìóëå:
(2.6)
ãäå Ì - ìîëåêóëÿðíûé âåñ âåùåñòâà îáðàçöà;
m - ìàññà îáðàçöà
Âåëè÷èíû K è Ò âû÷èñëÿþòñÿ ïî òîé ÷àñòè ýêñïåðè-ìåíòàëüíîé êðèâîé Ò=Ò(t), êîòîðàÿ èçìåðÿåòñÿ ïîñëå âûêëþ÷åíèÿ íàãðåâà îáðàçöà.  ñàìîì äåëå, óðàâíåíèå (2.2) â ýòîì ñëó÷àå ïðèíèìàåò âèä:
(2.7)
Åñëè îòñ÷èòûâàòü âðåìÿ ñ ìîìåíòà âûêëþ÷åíèÿ íàãðåâà, òî
(2.8)
ãäå - òåìïåðàòóðà îáðàçöà â ìîìåíò âûêëþ÷åíèÿ íàãðåâà.
Ëîãàðèôìèðóÿ (2.8) è ó÷èòûâàÿ, ÷òî , íàõîäèì:
 (2.9)
Ýòî óðàâíåíèå ïðÿìîé â êîîðäèíàòàõ 
Òàêèì îáðàçîì, è Ê ìîæíî ðàññ÷èòàòü ìåòîäîì íàèìåíüøèõ êâàäðàòîâ, çíàÿ ýêñïåðèìåíòàëüíóþ çàâèñèìîñòü òåìïåðàòóðû îáðàçöà îò âðåìåíè ïîñëå îòêëþ÷åíèÿ íàãðåâà.
Åñëè êîýôôèöèåíò K äîñòàòî÷íî ìàë, òî ðàñ÷åòíóþ ôîðìóëó äëÿ îïðåäåëåíèÿ ìîëÿðíîé òåïëîåìêîñòè ïî ýêñïåðèìåíòàëüíûì äàííûì (2.6) ìîæíî ïðåîáðàçîâàòü, ó÷èòûâàÿ, ÷òî ïðè äîñòàòî÷íî ìàëîì Kt
(2.10)
Ïîëó÷àåì
(2.11)
3. ÌÅÒÎÄÈÊÀ ÏÐÎÂÅÄÅÍÈß ÝÊÑÏÅÐÈÌÅÍÒÀ
3.1. Çàäàíèå
3.1.1. Îçíàêîìèòüñÿ ñ òåîðèåé òåïëîåìêîñòè êðèñòàëëè÷åñêèõ òåë è èíñòðóêöèÿìè ê ïðèáîðàì.
3.1.2. Ïðîèçâåñòè ýêñïåðèìåíòàëüíûå èçìåðåíèÿ ñîãëàñ-íî ï.3.3.
3.1.3. Îáðàáîòàòü ýêñïåðèìåíòàëüíûå äàííûå ñîãëàñíî ï.3.4.
3.1.4. Ïðîâåñòè ñðàâíåíèÿ èçìåðåííîé âåëè÷èíû ñ äàí-íûìè, ïîëó÷åííûìè ïî ôîðìóëå Äåáàÿ (ñì. ðèñ.1.1, òàáë. 11.1), à òàêæå ñ òàáëè÷íûìè äàííûìè [4].
3.2. Ìåòîäèêà èçìåðåíèé
Ïîñëå îòêà÷êè âàêóóìíîãî êàëîðèìåòðà âêëþ÷àþò íàãðåâ ïåðâîãî îáðàçöà (ñåêóíäîìåð ÑÝÖ-100 îòñ÷èòûâàåò âðåìÿ íàãðåâà îáðàçöà) è ñ ïîìîùüþ öèôðîâîãî âîëüòìåòðà èçìå-ðÿþò ïàäåíèå íàïðÿæåíèÿ ñíà÷àëà íà íàãðåâàòåëå, ïîòîì íà îáðàçöîâîì ñîïðîòèâëåíèè Rî. Ïîñëå îòêëþ÷åíèÿ íàãðåâà (íà ñåêóíäîìåðå äåëàþò ñáðîñ âðåìåíè íàãðåâà, è îí íà÷èíàåò ïîêàçûâàòü âðåìÿ îñòûâàíèÿ îáðàçöà) ñ ïîìîùüþ òîãî æå âîëüòìåòðà èçìåðÿþò ÝÄÑ òåðìîïàðû ÷åðåç îïðåäåëåííûå ïðîìåæóòêè âðåìåíè.
3.3. Ïîðÿäîê èçìåðåíèé
3.3.1. Âêëþ÷èòü ôîðâàêóóìíûé íàñîñ (âêëþ÷àåò ïðåïî-äàâàòåëü).
3.3.2. Îòêà÷àòü îáúåì êàëîðèìåòðà.
3.3.3. Çàïîëíèòü òåðìîñòàò âîäîé ñî ñíåãîì (ëüäîì).
3.3.4. Ïåðåêëþ÷èòü âñå òóìáëåðû ñåëåêòîðà â íèæíåå ïîëîæåíèå.
3.3.5. Âêëþ÷èòü â ñåòü ýëåêòðîííûé ñåêóíäîìåð ÑÝÖ-100. Ïîñòàâèòü ïåðåêëþ÷àòåëü ðåæèìà ðàáîò â ïîëîæåíèå "Àâòîìàò", íàæàòü êíîïêó "Ñáðîñ", âêëþ÷èòü êíîïêó "Îòñ÷åò".
3.3.6. Âêëþ÷èòü â ñåòü ïðèáîð ïèòàíèÿ "Àãàò". Ïîñòà-âèòü ïåðåêëþ÷àòåëü äèàïàçîíîâ â ïîëîæåíèå "8-11 â". Ñ ïî-ìîùüþ ðóêîÿòêè è ïëàâíîé ðåãóëèðîâêè " " ïîñòàâèòü ìèíèìàëüíîå çíà÷åíèå íàïðÿæåíèÿ (îêîëî 8 B ïî øêàëå âñòðîåííîãî âîëüòìåòðà).
3.3.7. Âêëþ÷èòü â ñåòü öèôðîâîé âîëüòìåòð. Ïîñòàâèòü äèàïàçîí èçìåðåíèé â ïîëîæåíèå "10 ìV". Ïðè ýòîì íà òàáëî âîëüòìåòðà âûñâåòèòñÿ ïîêàçàíèå ÝÄÑ òåðìîïàðû âòîðîãî îáðàçöà. Çàïèñàòü åãî. Ïåðåêëþ÷èòü äèàïàçîí èçìåðåíèé â ïîëîæåíèå "10 V".
3.3.8. Íà ñåëåêòîðå ïåðåêëþ÷èòü òóìáëåð Â4 â ïîëîæå-íèå "íàãðåâàòåëü" (âåðõíåå), òóìáëåð Â2 â ïîëîæåíèå "èçìå-ðåíèå ìîùíîñòè" (âåðõíåå). Âêëþ÷èòü íàãðåâ îáðàçöà, ïåðå-êëþ÷èâ òóìáëåð Â1 â ïîëîæåíèå "íàãðåâ". Ïðè ýòîì íà÷íåò ðàáîòàòü ñåêóíäîìåð ÑÝÖ-100, îòñ÷èòûâàÿ âðåìÿ íàãðåâà îáðàçöà, çàïèñàòü ïîêàçàíèÿ âîëüòìåòðà.
3.3.9. Ïåðåêëþ÷èòü íà ñåëåêòîðå òóìáëåð Â4 â ïîëîæå-íèå "Ñîïðîòèâëåíèå" (íèæíåå). Çàïèñàòü ïîêàçàíèÿ âîëüò-ìåòðà.
3.3.10. Ïåðåêëþ÷èòü íà ñåëåêòîðå òóìáëåð Â2 â ïîëîæå-íèå "Òåìïåðàòóðà" (íèæíåå). Íà öèôðîâîì âîëüòìåòðå ïî-ñòàâèòü äèàïàçîí "10 ìV". Ïðè ýòîì áóäåò âèäíî èçìåíåíèå ÝÄÑ òåðìîïàðû, ñîîòâåòñòâóþùåå ðîñòó òåìïåðàòóðû îáðàçöà ïðè íàãðåâå.
3.3.11. Âûáðàòü âðåìÿ íàãðåâà îáðàçöà (30 ñåêóíä) è çàïèñàòü åãî. Ïðè âûñâå÷èâàíèè ýòîãî âðåìåíè íà òàáëî ñåêóíäîìåðà ÑÝÖ-100 îäíîâðåìåííî âûêëþ÷èòü íàãðåâ îá-ðàçöà òóìáëåðîì Â1 (íèæíåå ïîëîæåíèå "Îòêë.") è ïåðå-êëþ÷èòü ñåêóíäîìåð â ðó÷íîé ðåæèì ñ÷åòà (ïåðåêëþ÷àòåëü â ïîëîæåíèå "Ðó÷íîé"), ñðàçó æå íàæàòü êíîïêó "Ñáðîñ". Ñåêóíäîìåð íà÷íåò îòñ÷èòûâàòü âðåìÿ ïîñëå îòêëþ÷åíèÿ íàãðåâà îáðàçöà.
3.3.12. Çàïèñûâàòü ïîêàçàíèÿ âîëüòìåòðà ïî ìåðå îñòû-âàíèÿ îáðàçöà (ïîêàçàíèÿ ñíèìàòü ÷åðåç êàæäûå 100 ñåêóíä). Ïðîâåñòè íå ìåíåå 10 èçìåðåíèé.
3.3.13. Ê ðàáîòå ñî âòîðûì îáðàçöîì ìîæíî ïðèñòóïàòü ïîñëå îñòûâàíèÿ ïåðâîãî îáðàçöà. Ïðè ýòîì ïîêàçàíèÿ íà âîëüòìåòðå ÝÄÑ òåðìîïàð îáðàçöîâ äîëæíû áûòü áëèçêèìè ïî âåëè÷èíå. Äëÿ èçìåðåíèé íåîáõîäèìî ïåðåêëþ÷àòü òóì-áëåð ñåëåêòîðà Â3.
3.3.14. Ïîñëå îêîí÷àíèÿ ðàáîòû íà óñòàíîâêå ïåðåêëþ-÷èòü âñå òóìáëåðû ñåëåêòîðà â íèæíåå ïîëîæåíèå, îòêëþ-÷èòü ïðèáîðû, âûëèòü âîäó èç òåðìîñòàòà.
3.3.15. Âêëþ÷àòü óñòàíîâêó è âûêëþ÷àòü åå ïî ðàçðå-øåíèþ ïðåïîäàâàòåëÿ.
3.4. Îáðàáîòêà ðåçóëüòàòîâ èçìåðåíèé
3.4.1. Ïîñòðîèòü ãðàôèê çàâèñèìîñòè (2.9).
3.4.2. Îáðàáîòàâ ïðÿìóþ (2.9) ìåòîäîì íàèìåíüøèõ êâàäðàòîâ, âû÷èñëèòü Ò è Ê.
3.4.3. Ïî ôîðìóëàì (2.6) è (2.11) ðàññ÷èòàòü ìîëÿðíûå òåïëîåìêîñòè îáðàçöîâ è îöåíèòü èõ ïîãðåøíîñòè.
ÁÈÁËÈÎÃÐÀÔÈ×ÅÑÊÈÉ ÑÏÈÑÎÊ
1. Êèòòåëü ×. Ýëåìåíòàðíàÿ ôèçèêà òâåðäîãî òåëà. Ì.: Íàóêà, 1965. 321 ñ.
2. Çàéìàí Äæ. Ïðèíöèïû òåîðèè òâåðäîãî òåëà. Ì.: Ìèð, 1974. 472 ñ.
3. Ëåéáôðèä Ã. Ìèêðîñêîïè÷åñêàÿ òåîðèÿ ìåõàíè÷åñêèõ è òåïëîâûõ ñâîéñòâ êðèñòàëëîâ. Ì.: Ôèçìàòãèç, 1963. 363ñ.
4. Òàáëèöû ôèçè÷åñêèõ âåëè÷èí: Ñïðàâî÷íèê / Ïîä îáù. ðåä. àêàä. È.Ê. Êèêîèíà. Ì.: Àòîìèçäàò, 1976. 1008 ñ.
ÏÐÈËÎÆÅÍÈÅ
Òàáëèöà Ï.1.
| Âåùåñòâî
|
, Ê
|
| Íàòðèé
|
150
|
| Ñåðåáðî
|
215
|
| Àëþìèíèé
|
402
|
| Áåðèëèé
|
1000
|
| Öèíê
|
250
|
| Ìåäü
|
332
|
| Æåëåçî
|
420
|
| Îëîâî
|
260
|
| Ñâèíåö
|
88
|
Ðåçóëüòàòû ýêñïåðèìåíòà
Å0= ,mB; Uí= ,B; U=, B;
T0= ,C; tí= ,ñ
| t,ñ
|
E,mB
|
T,C
|
T-T0,C
|

|
| 100
|
| 200
|
| .
|
| .
|
| .
|
| 1000
|


ÒÅÐÌÎÄÈÍÀÌÈÊÀ
Ñîñòàâèòåëè: Íèêîëàåâ Ãåðìàí Ïåòðîâè÷
Êóïðÿæêèí Àíàòîëèé ßêîâëåâè÷
Àëåêñååíêî Íèêîëàé Íèêîëàåâè÷
Ðåäàêòîð Ë.Þ. Êîçÿé÷åâà
____________________________________________________
Ïîäïèñàíî â ïå÷àòü 18.03.93 Ôîðìàò 60õ84 1/16
Áóìàãà Ïëîñêàÿ ïå÷àòü Óñë.ï.ë 2,56
Ó÷.-èçä.ë. 2,00 Òèðàæ 150 Çàêàç 182 Öåíà "C"
____________________________________________________
Ðåäàêöèîííî-èçäàòåëüñêèé îòäåë ÓÃÒÓ-ÓÏÈ
620002, Åêàòåðèíáóðã, ÓÃÒÓ-ÓÏÈ, 8-é ó÷åáíûé êîðïóñ
Ðîòàïðèíò ÓÃÒÓ-ÓÏÈ. 620002, Åêàòåðèíáóðã, ÓÃÒÓ-ÓÏÈ, 8-é ó÷åáíûé êîðïóñ
*
 ëàáîðàòîðíîé ðàáîòå ìû íå èìååì âîçìîæíîñòè èñïîëüçîâàòü äëèòåëüíîå òåðìîñòàòèðîâàíèå â êðèòè÷åñêîé òî÷êå, ïîýòîìó ïîêàçàíèÿ ñíèìàþòñÿ â ðåæèìå, áëèçêîì ê ñòàöèîíàðíîìó (ìåäëåííîå èçìåíåíèå Ð è Ò).
|