| На правах рукописи
ЛОБОВ Борис Николаевич
МЕТОДЫ, МОДЕЛИ И АЛГОРИТМЫ АВТОМАТИЗИРОВАННОГО ПРОЕКТИРОВАНИЯ ОПТИМАЛЬНЫХ ЭЛЕКТРОМАГНИТНЫХ
АППАРАТОВ
Специальность 05.09.01. – Электромеханика и электрические аппараты
Автореферат
диссертации на соискание учёной степени
доктора технических наук
Новочеркасск – 2010
Работа выполнена на кафедре “Электрические и электронные аппараты” в государственном образовательном учреждении высшего профессионального образования “Южно-Российский государственный технический университет (Новочеркасский политехнический институт)” и кафедре “Электрические и электронные аппараты” в государственном образовательном учреждении высшего профессионального образования “Московский энергетический институт (Технический университет)”
Официальные оппоненты: доктор технических наук, профессор
Розанов Юрий Константинович
доктор технических наук, профессор
Свинцов Геннадий Петрович
доктор технических наук, профессор
Пахомин Сергей Александрович
Ведущее предприятие: кафедра электрических машин и аппаратов ГОУ ВПО “Ростовский государственный университет путей сообщения”
Защита диссертации состоится 29 октября 2010 г. в 10 час. 00 мин. в ауд. 107
главного корпуса ЮРГТУ на заседании диссертационного совета Д.212.304.08
при государственном образовательном учреждении высшего профессионального образования “Южно-Российский государственный технический университет (Новочеркасский политехнический институт)” по адресу: 346428, г. Новочеркасск, ул. Просвещения, 132.
С диссертацией можно ознакомиться в библиотеке ГОУ ВПО “Южно-Российский государственный технический университет (Новочеркасский политехнический институт)”
Реферат разослан “____”___________ 2010 г.
Учёный секретарь
диссертационного совета Скубиенко С.В.
Д. 212.304.08
ОБЩАЯ ХАРАКТЕРИСТИКА РАБОТЫ
Актуальность диссертационной работы.
Перед исследователями и проектировщиками постоянно ставятся новые задачи по разработке электромагнитных аппаратов (ЭМА). При этом естественным является стремление получить возможно более надежную, обладающую высокими технико-эконо-мическими показателями конструкцию аппарата.
Возрастающая сложность указанных задач, большой объём проектных работ, определяет необходимость создания и использования систем автоматизированного проектирования ЭМА (САПР ЭМА).
Забиваем Сайты В ТОП КУВАЛДОЙ - Уникальные возможности от SeoHammer
Каждая ссылка анализируется по трем пакетам оценки: SEO, Трафик и SMM.
SeoHammer делает продвижение сайта прозрачным и простым занятием.
Ссылки, вечные ссылки, статьи, упоминания, пресс-релизы - используйте по максимуму потенциал SeoHammer для продвижения вашего сайта.
Что умеет делать SeoHammer
— Продвижение в один клик, интеллектуальный подбор запросов, покупка самых лучших ссылок с высокой степенью качества у лучших бирж ссылок.
— Регулярная проверка качества ссылок по более чем 100 показателям и ежедневный пересчет показателей качества проекта.
— Все известные форматы ссылок: арендные ссылки, вечные ссылки, публикации (упоминания, мнения, отзывы, статьи, пресс-релизы).
— SeoHammer покажет, где рост или падение, а также запросы, на которые нужно обратить внимание.
SeoHammer еще предоставляет технологию Буст, она ускоряет продвижение в десятки раз,
а первые результаты появляются уже в течение первых 7 дней.
Зарегистрироваться и Начать продвижение
В настоящее время в силу экономических причин прочное положение на рынке занимают универсальные САПР, пригодные для использования в различных отраслях производства. Они охватывают общие, ключевые направления конструирования, подготовки и выпуска чертежно-конструкторской документации любого профиля, технологической подготовки производства, решают другие проблемы. Существует также ряд пакетов программ, предназначенных для выполнения конкретных проектных работ, например, расчёта электромагнитных и температурных полей.
Основными недостатками таких систем и пакетов является их чрезвычайная громоздкость и высокая стоимость - для проектирования конкретного аппарата необходимо собрать и объединить несколько различных систем, решить проблему их информационной стыковки. С помощью существующих систем трудно моделировать сложные конструктивные узлы ЭМА, например, контактные и дугогасительные системы; для оптимального и системного проектирования необходима разработка дополнительного программного обеспечения.
Основная задача, решаемая при создании САПР - это разработка новых и совершенствование существующих математических моделей. Это модели, которые разработаны либо для новых типов ЭМА, например, электромагнитов систем магнитного подвеса, электромагнитых захватов корпусосборочных устройств, либо позволяющие анализировать такие процессы в известных ЭМА, которые раньше учитывались упрощенно или вообще не учитывались. Например, распределение магнитного поля и потерь энергии в стальных пластинах шихтованного магнитопровода электромагнитов переменного тока, сложные условия охлаждения.
Одним из главных узлов ЭМА является электромагнитный привод. Электромагниты применяются и как самостоятельные устройства, используемые в качестве тормозных, грузоподъемных, корпусосборочных и вентильных устройств, систем магнитного подвеса и т.д. Разработка новых электромагнитных приводов (как и ЭМА) требует больших затрат дефицитных и дорогостоящих магнитных, проводниковых и изоляционных материалов. Вместе с тем многие из существующих приводов, например, использующиеся на электроподвижном составе и в электромагнитных вентилях, не соответствуют современному уровню материалоемкости, экономичности и надежности.
Сказанное определяет необходимость разработки методов оптимального автоматизированного проектирования, установление соотношений геометрических размеров, обмоточных данных, магнитных параметров, определяющих выбор наилучшего варианта по заданным критериям оптимальности и техническим условиям.
Сервис онлайн-записи на собственном Telegram-боте
Попробуйте сервис онлайн-записи VisitTime на основе вашего собственного Telegram-бота:
— Разгрузит мастера, специалиста или компанию;
— Позволит гибко управлять расписанием и загрузкой;
— Разошлет оповещения о новых услугах или акциях;
— Позволит принять оплату на карту/кошелек/счет;
— Позволит записываться на групповые и персональные посещения;
— Поможет получить от клиента отзывы о визите к вам;
— Включает в себя сервис чаевых.
Для новых пользователей первый месяц бесплатно.
Зарегистрироваться в сервисе
Особенно актуальным представляется проектирование и оптимизация конструкции таких механизмов по заданным статическим и динамическим характеристикам, поскольку именно они определяют условия и режимы работы, а, следовательно, и все выходные показатели ЭМА (надежность и долговечность, экономический эффект и т.д.).
Задача сравнения и выбора конструкций основных узлов ЭМА, его кинематической схемы может рассматриваться как вполне самостоятельная. В современной литературе содержатся несистематизированные, фрагментарные сведения по этому вопросу. Множество критериев и множество альтернативных вариантов выбора приводит к необходимости постановки и решения так называемой дискретной задачи векторной оптимизации. Анализ математических методов, которые можно использовать для решения подобных задач показывает, что даже наиболее приемлемый из них – метод многокритериальной оптимизации “Электра” нуждается в серьезной доработке, например, в плане уменьшения присутствующего в нем субъективного фактора.
Цель
и задачи исследования.
Целью диссертационной работы является создание научно-практических основ автоматизированного проектирования оптимальных ЭМА путем обобщения и развития существующих и разработки новых эффективных методов математического моделирования, комплекса алгоритмов и программ, объединённых в САПР ЭМА. Это должно привести к сокращению сроков проектирования и повысить технико-экономические показатели ЭМА.
Поставленная цель достигается путём решения следующих задач:
– Разработка и применение универсальной математической модели для выполнения проектных оптимизационных расчетов различных электромагнитов с заданными статическими параметрами и характеристиками.
– Разработка и применение модернизированных математических моделей для выполнения проектных оптимизационных расчетов электромагнитов с заданными динамическими характеристиками.
– Разработка и реализация модифицированных математических моделей для выполнения поверочных электромагнитных расчетов.
– Разработка и реализация модифицированных математических моделей для выполнения поверочных тепловых расчетов на основе теории цепей в одно- и многомерной постановке задачи.
– Разработка и применение экспресс-метода математического моделирования нестационарных магнитных полей и динамических характеристик электромагнитов на базе метода конечных элементов (МКЭ).
– Разработка и реализация модифицированных математических моделей для выполнения поверочных тепловых расчетов электромагнитов на базе МКЭ.
– Разработка и реализация математических моделей для расчета механических характеристик, параметров токоведущего контура, оптимальных параметров щелевой дугогасительной камеры с магнитным дутьем.
– Разработка и применение метода многокритериальной оптимизации, минимизирующего влияние субъективного фактора при решении задач выбора.
– Создание базы данных для автоматизированного выбора конструкций и материалов основных узлов ЭМА.
– Создание САПР низковольтных электромагнитных аппаратов низкого напряжения.
– Определение оптимальных параметров и характеристик электромагнитов подвеса, клапанных, П- и Ш-образных электромагнитов контакторов и реле электровозов, электромагнитных вентилей, быстродействующих переключателей питания, корпусосборочных устройств.
Научная новизна
выполненной работы заключается в следующем:
– Разработана универсальная математическая модель для выполнения проектных оптимизационных расчетов, учитывающая нелинейность магнитной цепи, возможность смещения якоря относительно сердечника в горизонтальной плоскости, влияние на один из 8-ми заданных критериев оптимальности соотношений геометрических размеров, материалов магнитопровода и обмотки 12-ти типов электромагнитов постоянного и переменного тока с заданными статическими параметрами и характеристиками. Она не ограничена по диапазону изменения соотношений геометрических размеров и позволяет дать количественную оценку каждому типу электромагнита при необходимости сравнения их друг с другом.
– Разработаны универсальные математические модели для выполнения проектных оптимизационных расчетов большинства известных типов электромагнитов постоянного и переменного тока с заданными динамическими параметрами и характеристиками.
Отличительной особенностью данных моделей является учет вибрации якоря при включении, зависимости динамических характеристик от фазы включения (на переменном токе), возможность определения оптимального типа электромагнита, реализующего заданные динамические характеристики.
– Разработаны модифицированные математические модели на базе цепевых методов и теории подобия для выполнения поверочных электромагнитных и тепловых расчетов широкого класса электромагнитов, обеспечивающие расхождение с экспериментом не выше 10% на постоянном токе и 20% на переменном токе. Они учитывают нелинейность, увеличение силы притяжения за счет прохождения части магнитного потока сквозь тонкий лист (якорь), наличие технологических зазоров и уплотнений, возможность охлаждения якоря и внутренней боковой поверхности обмотки водой и т.д. Эквивалентные тепловые схемы построены в двух- и трехмерной постановке задачи.
– Предложен экспресс-метод на основе МКЭ для расчета параметров нестационарных магнитных полей и динамических характеристик электромагнитов, исследованы условия его сходимости. Он является “быстрым”, учитывает наличие вихревых токов и гистерезиса в сплошных и шихтованных магнитопроводах.
– Разработаны модифицированные математические модели на основе МКЭ для моделирования стационарных и нестационарных температурных полей широкого класса электромагнитов, учитывающие их конструктивные особенности, зависимость от температуры параметров материалов, плотности источников тепла и т.д.
– Предложены оригинальные математические модели для расчета механических характеристик ЭМА, параметров токоведущего контура и оптимальных параметров щелевых дугогасительных камер с магнитным дутьем.
– Разработан обладающий новизной метод последовательного сужения исходного множества векторных оценок для решения дискретных задач векторной оптимизации - поиска и выбора конструкций и материалов основных узлов и общей компановки ЭМА. В отличие от известных методов многокритериальной оптимизации здесь путем ввода формализованной процедуры поэтапно выводятся из рассмотрения те или иные альтернативы, задаваемые исходным множеством альтернатив. Процедура не предусматривает задания какой-либо системы предпочтений, то есть результат носит объективный характер.
– Обобщена, систематизирована и дополнена (путем проведения численных экспериментов) информация, позволяющая сравнивать между собой различные конструкции и материалы коммутирующих контактов, способы и устройства гашения дуги, типы электромагнитных приводов и механизмов ЭМА.
– Процесс проектирования ЭМА представлен в виде ряда проектных работ. Предложены возможные последовательности их выполнения – маршруты проектирования, учитывающие взаимное влияние происходящих в ЭМА процессов разной природы, алгоритмы информационно-поисковых, расчетных и чертежных работ, структура, состав прикладного программного и других видов обеспечений САПР ЭМА.
– В виде таблиц, графиков и аппроксимирующих зависимостей предложены рекомендации по выбору оптимальных соотношений геометрических размеров, магнитных индукций (электромагнитов переменного тока) и других параметров широкого класса ЭМА в зависимости от критериев оптимальности, допустимой температуры нагрева, условий охлаждения, фазы включения и т.д.
Практическая ценность.
Полученные в диссертационной работе результаты представляют собой научно обоснованные технические решения, рекомендации, методики, алгоритмы, САПР, внедрение которых внесло существенный вклад в ускорение научно-технического прогресса в области разработки ЭМА. Практическая ценность работы заключается в следующем.
1. Разработан комплекс алгоритмов и программ для оптимального проектирования традиционных и новых модификаций ЭМА разнообразного назначения и конструктивных форм в условиях нелинейных свойств ферромагнитной среды и других.
2. Установлены зависимости оптимальных параметров широкого класса электромагнитных приводов от критериев оптимальности, условий работы, конструктивного исполнения и других параметров, которые могут быть использованы для оптимального синтеза ЭМА.
3. Выполнен анализ стационарных и нестационарных магнитных и температурных режимов электромагнитных приводов быстродействующих переключателей питания, захватов корпусосборочных устройств и электромагнитных вентилей. Получены зависимости расчетных характеристик от конструктивных особенностей аппарата, например, таких как толщина пластин шихтованных магнитопроводов, толщина и материал внешней изоляции обмотки электромагнитного вентиля, число витков и сопротивление обмотки быстродействующих приводов, частоты и фазы питающего напряжения.
4. Предложены и обоснованы конструкции электромагнитных приводов систем магнитного подвеса, тяговых электромагнитных контакторов, контактных систем автоматических выключателей.
5. Создано программное обеспечение и система автоматизированного проектирования ЭМА: приводов, реле, контакторов и пускателей, внедрение которой в практику проектирования позволило в 1,5-2 раза сократить сроки проектирования и значительно повысить качество проектных работ.
Достоверность
научных положений и полученных в работе результатов основана на корректности постановки задач исследования и принятых упрощающих допущений; подтверждается применением физически обоснованных математических моделей и удовлетворительным соответствием результатов расчетов с данными, полученными экспериментально на опытных и промышленных установках, как автором, так и другими исследователями, а также достаточно широкой публикацией результатов работы и их обсуждением на научных конференциях различного уровня.
Реализация результатов работы
, полученных автором:
– Предложенные методы расчета и САПР ЭМА использовались при разработке конструкций электромагнитов подвеса, установленных на экспериментальных экипажах ВСНТ массой 1 и 3 т, модернизации клапанных электромагнитных приводов контакторов серии МК на заданную статическую тяговую характеристику, реле боксования серии РБ-469, перегрузки серии РТ-253, промежуточных серии РП-280 в ОАО “ВЭлНИИ” г. Новочеркасск. Созданный при непосредственном участии автора информационно- измерительный стенд для исследования силовой части электромагнитного подвеса и устройств автоматики также внедрен в ОАО “ВЭлНИИ”.
– САПР аппаратов постоянного тока внедрена во Всесоюзном научно-исследовательском институте низковольтного электроаппаратостроения (г. Харьков). С ее использованием разработаны конструкции электромагнитного привода гибридных переключателей питания, оптимизированы параметры контактных систем автоматических выключателей.
– Внедрение расчетной подсистемы САПР ЭМА на предприятии п/я Г-4406 (г.Тула) сократило время расчетных работ и снизило их трудоемкость.
– Программы расчетов броневых электромагнитных приводов постоянного и переменного тока внедрены на Санкт-Петербургском объединении “Знамя Труда” и позволили создать и освоить выпуск вентилей Т26560-006, Т26562-032, имеющих улучшенные параметры по сравнению с прототипами.
– Метод многокритериальной оптимизации использован при создании ФГУП ПКП “ИРИС” микропроцессорной системы управления движением.
– Выполнены расчёты восьмижгутовых шинопроводов трёхфазного переменного тока на ЗАО “Кузлит” г. Азов, полученные рекомендации использованы при изготовлении новых шинопроводов.
– САПР ЭМА использована ОАО “АОМЗ” г. Азов для выполнения поверочных расчётов электромагнитных датчиков момента.
– САПР ЭА рекомендована к внедрению в высших и средних специальных учебных заведениях решением экспертной комиссии АРПКОП от 14.09.95 г.
– Материалы диссертационной работы используются в учебном процессе: учебных пособиях, лекционных разделах курсов: “Системы автоматизированного проектирования электрооборудования”, “Основы проектирования”, НИР аспирантов и студентов, курсовом и дипломном проектировании.
Апробация работы.
Основные положения диссертационной работы неоднократно докладывались на заседании секции электрических аппаратов НТС ВЭлНИИ (1996,2007), международных технических конференциях по нелинейной электротехнике (г.Ильменау, Германия, 1990, г.Крайова, Румыния. 1991), Всесоюзных конференциях “Состояние и перспективы развития электровозостроения в стране“ (г.Тбилиси, 1981, г.Новочеркасск, 1987г.), “Автоматизация проектирования электрических устройств и систем” (г.Истра, 1984г.), “Состояние и перспективы развития локомотивостроения” (г.Новочеркасск,1994, 2003гг.), межвузовских научно-технических семинарах (г.Иваново, 1978,1979,1980 гг.), межвузовских научно-практических конференциях “ Эффективность информационных технологий обучения в высшей школе” (г.Новоросийск,1994г.), “ Компьютеризация учебного процесса по электротехническим дисциплинам”(г.Астрахань, 1995г.), научно-техническом форуме “Высокие технологии-2004”(г.Ижевск, 2004г.), международных научно-практических конференциях и коллоквиумах (г.Новочеркасск, 2002,2003гг.), международной научно-технической конференции (г.Казань, 2005г.), научно-методической конференции (г.Вологда, 2009г.).
Работа проводилась по планам госбюджетных и хоздоговорных НИР Южно-Российского государственного технического университета (Новочеркасского политехнического института).
Публикации.
По теме диссертации опубликовано 78 работ, в том числе: 1 монография, 42 статей в центральных журналах; 2 статьи в реферируемых научно-технических журналах; 11 статей в Сборниках научных трудов; получено 3 патента и 2 сертификата; 18 тезисов докладов на научно-технических конференциях.
Структура и объем работы:
введение, 5 глав, заключение, список литературы из 305 наименований и приложений. Основной текст – 355 с., приложения – 98 c.
ОСНОВНОЕ СОДЕРЖАНИЕ РАБОТЫ
Во введении
показана актуальность темы исследования, сформулированы цель и задачи настоящей работы, отмечены её научная новизна и практическая ценность, приведены основные положения и результаты, выносимые на защиту.
Глава 1.
Универсальная математическая модель оптимального синтеза электромагнитов с заданными статическими параметрами и характеристиками.
Модель предназначена для определения основных параметров и характеристик как традиционных электромагнитов (ЭМ) клапанного, П- и Ш-образного типов, с втягивающимся якорем и стопом, нашедших широкое применение в современных ЭМА, так и ЭМ специального назначения: прижимных для корпусосборочных устройств, подвеса для высокоскоростного наземного транспорта, приводных для быстродействующих переключателей питания и др.
Её особенностью является то, что при переходе от одной конструкции к другой структура алгоритма и метод оптимизации остаются неизменными. Изменяется количество (n
н
) переменных (X
), диапазоны их изменения, количество и вид ограничений (m
), критерий оптимальности (K
), формулы для расчета магнитных проводимостей воздушных промежутков и число участков в схеме замещения. Обоснованно используется метод скользящего допуска, и задача оптимального проектирования формулируется следующим образом:
найти extr
K
(X
), X
D
при ограничении Фск
(
k
)
– T
(X
) ≥ 0.
Значение критерия скользящего допуска Фск
(
k
)
на k
-ом этапе поиска:

Положительно определённый функционал T
(X
) над множеством всех основных функций, задающих ограничения-неравенства:

Здесь Ui
= 0 при gj
(X
) ≥ 0 и Ui
= 1 при gj
(X
) ≤ 0.
Исходными данными для расчета являются значения, определяющие:
заданную статическую тяговую характеристику; тип проектируемого привода и особенности его конструктивной схемы; режим и условия работы ЭМ; вид критерия оптимальности: K
1
=
P
/
Q
,
K
2
=
P
/
N
,
K
3
=
P
,
K
4
=
F
кр
,
K
5
=Ц,
K
6
=
M
,
K
7
=
V
,K
8
=
N
, при оптимизации достигается максимум критериев К
1
– К
4
или минимум критериев К
5
– К
8
; здесь Р
, N
, Q
, Ц, M, V
, –
тяговое усилие, потребляемая мощность, сила тяжести (вес), стоимость, масса и объём ЭМ, весовые коэффициенты, минимальные значения соответствующих показателей, полученные при частной оптимизации; материал магнитопровода (детали магнитопровода могут быть выполнены из разных магнитомягких материалов).
Структурно модель состоит из трёх основных блоков. Первый, в котором осуществляется предварительный расчёт размеров ЭМ, и второй – блок поверочного расчёта встроены в третий – блок оптимизации. Структура схем замещения, используемых во втором блоке, формулы для расчёта магнитных проводимостей и другие параметры модели подобраны таким образом, чтобы обеспечить расхождение результатов расчёта и эксперимента не более чем 10% для электромагнитов постоянного тока и 20% для переменного тока.
В некоторых случаях для определения магнитных проводимостей и других параметров проведены специальные исследования. Например, для П-образного ЭМ подвеса, рис.1, при магнитные проводимости 1-го и 2-го зазоров не равны друг другу и определяются как
, (1)
| 
Рис.1. Эскиз электромагнитного подвеса
П-образного типа
|
где -
проводимости соответствующих областей, найденные путём физического моделирования.
Использование данной модели при проектировании ЭМ для системмагнитного подвеса Высокоскоростного наземного транспорта (ВСНТ) позволило не только определить оптимальную конструкцию ЭМ и её параметры, но и выявить ряд интересных закономерностей, свойственных указанным электромагнитам.
На рис.2-5 представлены некоторые результаты оптимизацион
|
ных исследований этихЭМ. Видно (рис.4), что увеличение магнитной индукции В
δ
в рабочем воздушном зазоре приводит к уменьшению массы магнитопровода (Мст
), при этом масса обмотки (Мм
) вначале падает, а затем увеличивается. Это определяет наличие экстремумов критериев К
1
и К
2
(рис.2,5). Определены значения В
δ
, доставляющие максимумы К
1
и К
2
при различных значениях усилия Р
, рабочего зазора δ, ширине феррорельса 2а
+d
и других исходных данных.
| 
Рис.2 - Зависимость К1
от Вδ
при 2a+
d
=0,09 м,
 δ=0,005 м: Р
=200 Н; Р
= 300 Н;
 Р
= 400 Н; Р
= 500 Н
|

Рис.3 - Зависимость силы стабилизации Р
с
и
подъёма Р
п
от смещения C*
: опыт,
расчет
|
| 
Рис.4 - Зависимости Мм
(------) и Мст
(_____
)от
В
δ
при δ = 0,005 м, a
= 0,01 м, d
= 0,07 м
|

Рис.5 - Зависимость K
2
от В
δ
при J
=2A/мм2
;
δ = 0.005 м, a
= 0.01 м , d
= 0.07 м
|
На рис.3 приведены зависимости составляющих Р
: силы стабилизации Р
с
и подъёма Рп
от смещения ЭМ в горизонтальной плоскости относительно феррорельса. Использование явления самостабилизации позволяет облегчить условия работы системы регулирования при возникновении боковых смещений экипажа ВСНТ, а, следовательно, и электромагнита.
Применение при сварочных работах в кораблестроении электромагнитных захватов не только значительно повышает производительность труда, но и существенно увеличивает срок службы корпусов. Эти захваты работают при постоянной величине рабочего воздушного зазора δ. Его значение определяется толщиной немагнитных покрытий поверхности стального листа, а также неровностью поверхности, зависящей от допуска на неплоскостность и наличия дополнительной правки на специальных установках при сборочных работах.

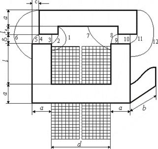
Качественный анализ, проведенный в работе, позволяет базовой для электромагнитных захватов считать конструкцию Ш-образного ЭМ. Поперечное сечение среднего стержня магнитопровода может быть прямоугольным или круглым (рис.6). Обмотка располагается на среднем стержне. Использование захватов осуществляется вручную, поэтому решалась задача минимизации массы таких устройств.
В результате проведённых исследований выбрана оптимальная по массе конструкция захвата, получены зависимости В
δопт
в рабочем воздушном зазоре, МДС и массы захвата от а
/a
я
, l
/d
, δ при различных значениях тяговых усилий и толщины листа (ая
), рис.7, 8. Для практического использования получены параметры оптимальных захватов на усилия: 5,10,15 и 20 кН.
|  
Рис.7. Графики зависимостей оптимальной мас-сы М от отношения размеров а/
a
я
при l/d
=0,5 и:
1 - P
=2,5 кН, ая
= 5 мм; 2 - P
=2,5 кН, ая
= 3 мм;
3- P
=5 кН, ая
= 8 мм; 4- P
=5 кН, ая
= 5мм;
5 - P
=10 кН, ая
= 12 мм; 6 - P
=10 кН, ая
= 8 мм;
7 - P
=15 кН, ая
= 14 мм; 8 - P
=15 кН, ая
= 12 мм;
9 - P
=20 кН, ая
= 16 мм; 10 - P
=20кН, ая
= 14 мм
|
Рис.8. Графики зависимостей оптимальной мас-сы М от отношения размеров l
/d
при:
1 – Р
= 2,5 кН, a
я
= 3 мм; 2 – Р
= 5 кН, а
я
= 5 мм; 3 – Р
= 10 кН, а
я
= 8 мм; 4 – Р
= 15 кН, а
я
= 12 мм; 5 – Р
= 20 кН, а
я
= 14 мм
|
При проектировании ЭМ клапанного типа для тяговых контакторов серии МК на заданную статическую тяговую характеристику получены варианты конструкций, имеющие в два раза меньшую массу и на 35% меньшую потребляемую мощность по сравнению с прототипами.
Получены и использованы при проектировании электромагнитных клапанов трубопроводной арматуры зависимости В
δопт
ЭМ броневого типа переменного тока от значений тяговых усилий, рабочих зазоров, допустимой температуры нагрева обмотки и соотношений геометрических размеров.
При проектировании ЭМ П - и Ш - образного типа переменного тока на заданную статическую тяговую характеристику, жёсткость которой соответствует контакторам серии КТ, установлено, что ЭМ Ш - образного типа имеют примерно на (12-30)% меньшие значения массы и на (5-7)% потребляемой мощности, чем ЭМ П - образного типа. Сравнение ЭМ П - и Ш - образного типа с плоскими и П - и Ш - образными якорями показало, что оптимальные ЭМ с П- и Ш- образными якорями имеют меньшие массы, чем ЭМ с плоскими якорями.
Установлены зависимости массы, мощности, потребляемой в установившемся режиме нагрева, соотношений геометрических размеров ЭМ броневого, П - и Ш - образного типа от магнитной индукции в рабочем зазоре, тягового усилия, допустимой температуры нагрева обмотки и других параметров. Эти зависимости рекомендуется использовать на стадиях технического предложения и эскизного проекта, а также для выбора начальных значений указанных параметров при оптимизационных расчетах.
Глава 2.
Типовые математические модели для оптимального синтеза электромагнитов с заданными динамическими характеристиками.
Представлены математические модели для оптимального синтеза ЭМ с заданными динамическими характеристиками. Эти модели используются при проектировании ЭМ, определяющими в работе которых являются динамические режимы (быстродействующие, форсированные, работающие в повторно-кратковременном режиме и т.д.). Используются известные соотношения:
Здесь m
*
– приведённое значение массы подвижной системы; ξ, с
– коэффициенты, определяющие усилия, зависящие от скорости перемещения и перемещения х
; напряжение, ток и активное сопротивление обмотки; Ψ, L
(x
) – потокосцепление и индуктивность обмотки; S
– площадь сечения полюса (полюсного наконечника), в случае системы с двумя рабочими зазорами S
–
суммарная площадь сечения магнитопровода; функция, учитывающая падение магнитного потенциала в стали магнитопровода и нерабочих зазорах, “выпучивание” магнитного потока в рабочем зазоре и потоки рассеяния в магнитной системе.
Получено аналитическое выражение, определяющее изменение во времени напряжения на обмотке ЭМ, при заданном законе изменения во времени скорости перемещения или перемещении подвижной части:
  

На основании этого выражения предложен алгоритм оптимального (с минимальным объёмом, при заданных ограничениях по напряжению, магнитной индукции в магнитопроводе и среднему превышению температуры обмотки) проектирования, обеспечивающий синтез размеров ЭМ, имеющего расхождение между заданной и расчетной характеристиками не более 20%.
Разработан двухэтапный алгоритм оптимального синтеза конструкции и параметров ЭМ переменного тока на заданную динамическую характеристику или х
ЭМ, учитывающий влияние фазы питающего напряжения α 0
на динамические характеристики и обеспечивающий погрешность расчета не более 21%. На первом этапе определяются значения L
(x
) и R
, при которых реализуется экстремум одного из динамических показателей (например, минимум энергии, потребляемой из сети за время срабатывания). На втором этапе определяется тип, геометрические размеры и обмоточные данные ЭМ, имеющего минимальное значение критерия оптимальности (объём, масса, стоимость, мощность потребляемая в стационарном режиме и т.д.).
Поиск оптимального варианта в пределах заданной группы магнитных систем осуществляется по алгоритму, позволяющему определить минимум, например, объема для каждого типа ЭМ, провести их сравнение и выдать в качестве результата систему с наименьшим значением объема.
Поскольку фаза напряжения 0
является равновероятной, то для достижения заданных динамических свойств ЭМ должен включаться в сеть либо с помощью устройства включения на заданную фазу, либо при анализе решения задачи первого этапа в качестве результата должно быть выбрано значение фазы 0
, соответствующее наибольшему из минимальных величин критерия.
Исследование влияния соотношений геометрических размеров на временные параметры и динамические характеристики ЭМ постоянного тока показало:
- при постоянной площади обмоточного окна время трогания и срабатывания минимально при отношении высоты окна к его ширине 1,5-4. Конкретное значение зависит от значения площади обмоточного окна, уменьшаясь при увеличении последнего. Механический и магнитный КПД при увеличении растёт. Энергия, потребляемая из сети в процессе срабатывания, минимальна при 6-7;
- при постоянной площади обмоточного окна время трогания и срабатывания минимально при отношении радиусов полюсного наконечника и сердечника λ=1,2-1,5. Изменение λ от 1 до 2 приводит практически к двукратному уменьшению энергии, потребляемой из сети, и потерь в активном сопротивлении обмотки. Кинетическая энергия уменьшается при этом в 10 раз;
- при постоянном объёме электромагнита, рис.9, перечисленные выше динамические показатели изменяются примерно также как и при постоянной площади обмоточного окна;
- при постоянной мощности, потребляемой электромагнитом в уста-новившемся режиме, энергия, потребляемая из сети в процессе срабатывания, потерь в активном сопротивлении, кинетическая и механическая минимальны при 6-11. Конкретное значение зависит от значения указанной мощности, уменьшаясь при уменьшении последнего.
Исследование влияния соотношений геометрических размеров на временные параметры и динамические характеристики ЭМ переменного тока показало:
- зависимости динамической эффективности и механического КПД от σ/x
, рис.10, имеют максимумы при 2,2-2,5, а зависимости времени движения и срабатывания – минимумы при 2,5-2,7;
- время срабатывания максимально при α0
=1,57 и примерно вдвое отличается от своего минимального значения при α0
=0;
- время трогания максимально при α0
=2,11 и примерно в 6 раз отличается от своего минимального значения при α0
=1,15;
- оптимальными, с точки зрения минимума времени трогания, являются ЭМ, имеющие отношение высоты обмоточного окна к ширине полюса, равное 0,6-1,2, и отношение ширины обмоточного окна к ширине полюса, равное 0,4-1,0. Конкретные значения указанных отношений зависят от заданных значений объёма, начального противодействующего усилия и рабочего воздушного зазора, числа витков обмотки и других параметров.
| 
Рис. 9 - Графики зависимостей W
от σ/х при λ = 1,5:1 - V
*
= 80, 2 - V
*
= 110, 3 - V
*
= 140
|

Рис.10 - Динамические характеристики электромагнита переменного тока
при α 0
= 1,178 рад.
|
Глава 3. Модифицированные математические методы и модели поверочных расчетов электромагнитов
В диссертационной работе предложено несколько модифицированных моделей, а также экспресс-метод для поверочных расчетов, которые применимы для всех, рассматриваемых ЭМ, и в этом смысле обладают известной универсальностью. Они позволяют учитывать нелинейность, вихревые токи и гистерезис, наличие малых неравномерных воздушных зазоров, уплотняющих колец, внутренней и внешней изоляции катушек, воздушных зазоров между катушкой и сердечником, катушкой и ярмом или корпусом, одновременное охлаждение рабочей жидкостью и воздухом и другие конструктивные особенности.
В диссертации рассматриваются модели для численного решения системы уравнений, описывающих распределение магнитных потоков в электромагните, в том числе и неравномерное распределение по длине якоря:
 (2)
где - магнитные сопротивления стержней магнитопровода, определяются величиной модуля магнитного потока в стержнях , рис. 11; - магнитное сопротивление якоря, определяется потоком в якоре 
Практическая постановка задачи расчета магнитной системы определяет граничные условия для системы (2). Например, если задан комплекс действующего значения магнитного потока , то значения магнитных напряжений между стержнями и между якорем и стержнем вычисляется по выражению: 
где - магнитное сопротивление второго воздушного зазора, учитывает наличие во втором зазоре короткозамкнутого витка, охватывающего часть стержня магнитопровода, определяется потоком в якоре, равным , определяются потоком в стержнях .
| 
Рис.11. Эскиз электромагнита П-образного
типа и расчетная топология магнитного поля
|
В основании магнитопровода должно выполняться граничное условие: где - магнитное сопротивление основания магнитопровода, зависит от магнитного потока в основании. Считая, что через торцы якоря проходят одинаковые потоки , определяем граничные условия для магнитных напряжений на торцах якоря:

Предложенный алгоритм обладает универсальностью – применим для
|
| Рис.12.Расчетная схема распределения магнитных потоков в ½ части магнитопровода электромагнитного захвата.
Важнейшей частью поверочных расчётов являются тепловые расчеты, позволяющие определить температуры нагрева отдельных частей ЭМ. Исходными данными являются размеры и материал ЭМ, тепловые потери в его обмотке, магнитопроводе и КЗ витке, условия охлаждения (в том числе кон-
|

|
фигурация и размеры каналов для охлаждающих сред).При построении математических моделей учитывались зависимости физических постоянных воздуха и воды от температуры, коэффициенты теплоотдачи по конвекции (естественной или вынужденной) определялись по критериальным уравнениям.
|
Рис.13 - Схема разбиения ¼ части электромагнита подвеса ВСНТ на элементы
|
При решении уравнения теплового баланса принимаются допущения: электромагнит (рис.13) разбивается на элементы, температура внутри каждого принимается постоянной; источники тепла каждого элемента сосредоточены в его геометрическом центре. При этих допущениях уравнение теплового баланса можно преобразовать в систему нелинейных алгебраических уравнений: где vi
, с
i
, γi
– объём, удельная теплоёмкость и плотность материала i
-го элемента; λij
– удельная теплопроводность пути, длиной rij
между i
-м и j
-м элементами, соприкасающимися по
|
поверхности Sij
; Ni
– активные потери в i
-м элементе.
Для наиболее строгого исследования процессов в электромагнитных аппаратах используются полевые методы. В работах Бахвалова Ю.А., Ковалева О.Ф., Курбатова П.А., Майергойза И.Д., Никитенко А.Г., Новика Я.А.,Павленко А.В., Тозони О.В. и др. разработаны методики и алгоритмы численного расчета магнитных и тепловых полей для различных электромагнитных устройств, основанные, в основном, на МКЭ, МИУ, МГЭ.
В то же время для решения “полевых” задач широко применяются пакеты программ: Maxwell, FEMM, COSMOS и др. Однако представляет теоретический и практический интерес разработка методик, позволяющих частично или полностью устранить недостатки существующих алгоритмов и пакетов программ, оценить влияние вихревых токов, малых зазоров и других конструктивных особенностей на выходные характеристики ЭМ.
Основным недостатком традиционных численных методов расчета электромагнитных полей в нестационарных режимах на базе МКЭ являются относительно большие вычислительные затраты, связанные с необходимостью переформирования глобальной матрицы на каждом итерационном шаге (нелинейная задача) даже в пределах одного шага по времени. Для уменьшения указанных затрат предложен экспресс-метод анализа электромагнитных полей в нестационарных режимах работы.
Плотность тока в проводящей среде представляется суммой «вихревой» и «потенциальной» составляющими. Считаем, что распределение магнитного потенциала внутри каждого элемента (в том числе, и вихревые токи) подчиняются определённой аналитической зависимости – полиному, степень которого определяется видом конечного элемента. В этом случае вихревые токи могут быть выражены через потенциалы узлов и перенесены в левую часть уравнения:
,
где - глобальная матрица жёсткости; - вектор-столбец источников поля; - вектор-столбец векторного магнитного потенциала, описанный через базисные функции .
Заменив производную конечно-разностной схемой в средней точке временного интервала, получим при переходе к итерациям для любого момента времени рекуррентную схему Крэнка-Николсона (схему с центральной разностью):
. (3)
На каждом временном шаге решение системы (3) ищется до выполнения условия , где - заданная точность вычислений. Здесь и - неизменная часть, и - часть, изменяющаяся на каждом шаге итерации, - номер итерации.
Для вычисления поправочных коэффициентов воспользуемся формулами для двумерного симплекс-элемента:

где – общее количество элементов в рассматриваемой расчётной области , а – текущий симплекс-элемент.
Вычисляя произведение матриц и считая толщину элемента единичной, получим

.
Итерационный процесс заканчивается при условии
.
Достаточным условием сходимости итерационного процесса в пределах шага по времени

считается выполнение неравенства здесь – спектральный радиус матрицы.
Поскольку то используем в качестве условия сходимости , в пределах одного элемента
,
Нет необходимости в пересчёте на каждом шаге итерации матрицы (она рассчитывается один раз), значительно сокращается число итераций и время счёта на каждом шаге по времени, и в целом по всему процессу.
Предлагаемый экспресс-метод позволяет в 3-4 раза сократить время расчёта в пределах одной итерации по времени. Наибольший эффект наблюдается при расчёте нестационарных электромагнитных полей и динамических характеристик электромагнитов.
В современной практике используются приближенные рекомендации при выборе толщины листов. В частности, при промышленной частоте 50 Гц применяют листы толщиной 0,35 – 0,5 мм, при частоте 400 Гц – листы толщиной 0,1 – 0,35 мм и т.д. В работе получены зависимости потерь на гистерезис и вихревые токи от толщины листов и частоты. Задача решалась моделированием на элементарном объёме с использованием экспресс-метода.
Зависимости долей удельных потерь от вихревых токов и гистерезиса в процентном отношении  представлены на графиках рис.14,а,б.
Результаты расчетов времени срабатывания и потерь энергии на вихревые токи при различных фазах включения и толщине стальных пластин, из которых набирается магнитопровод ЭМ Ш-образного типа, позволяют сделать вывод, что потери энергии в стали примерно пропорциональны времени срабатывания ЭМ и обратно пропорциональны квадрату толщины пластин шихтованного магнитопровода, что подтверждает теоретические выводы.

С помощью разработанного метода выполнялись поверочные расчеты электромагнитных захватов. Результаты расчетов для одного из них, выполненного из электротехнической стали и имеющего размеры: м, м, м, м, м, при различных значениях рабочих воздушных зазоров и МДС обмотки представлены в табл.1.
Сравнение результатов расчета с экспериментальными данными показывает, во-первых, что они отличаются друг от друга не более чем на 4%. Во-вторых, оказывается возможным определить расчетный рабочий воздушный зазор, который для рассматриваемого захвата на номинальное усилие Р
ном
=10 кН при F
=535 А составляет 0,15 мм (табл. 1).
Таблица 1 - Результаты расчета электромагнитного захвата
| F
,A
|
,м
|

|

|

|
| 436
|
0,001
|
756,1
|
-
|
-
|
| 0,003
|
84,1
|
87,5
|
3,88
|
| 0,005
|
30,3
|
30
|
1
|
| 535
|
0,0001
|
11343
|
-
|
-
|
| 0,00025
|
7922,8
|
-
|
-
|
| 0,001
|
920,5
|
-
|
-
|
| 0,003
|
103,1
|
100,2
|
2,89
|
| 0,005
|
37,1
|
36
|
3,06
|
| 726
|
0,001
|
1230,2
|
-
|
-
|
| 0,003
|
140,0
|
136,0
|
2,94
|
| 0,005
|
50,4
|
49
|
2,86
|
При уменьшении толщины листа магнитный поток, проходящий сквозь лист увеличивается, одновременно наблюдается увеличение потоков рассеяния между стержнями. На рис.15 приведена картина магнитного поля для захвата, имеющего F
= 535 А, = 0,15 мм при а
я
= 3 мм.

а
я
=3 мм
Рис. 15 - Картина магнитного поля для захвата при F
=535 A, δ=0,15 мм
Износостойкость электрического аппарата и его временные параметры обуславливаются характером протекающих в нем динамических процессов. Поэтому разработка быстродействующих электромагнитных устройств, обладающих достаточно высоким сроком службы, невозможна без тщательного изучения переходных режимов работы электромагнита и оптимизации его параметров. Задача расчета динамики решается в два этапа. Вначале из расчета магнитного поля определяются зависимости потокосцепления и тягового усилия от тока и рабочего зазора, а затем находятся динамические характеристики. Эскиз электромагнита быстродействующего переключателя питания приведен на рис.16. Его характерной особенностью, как и электромагнитного захвата, является относительно малый ход якоря (рабочий зазор), значительно меньше тол-
| 
Рис.16- Эскиз быстродействующего электромагнита
|
щины пакета магниитопровода ( < 0,1).
Поэтому магнитное поле при расчете принимается плоскопараллельным. Кроме того, считаем, что кривые намагничивания ферромагнитных материалов однозначны, токи равномерно распределены по обмоточному окну.
Тяговое усилие Р
определяется по известному распределению магнитного поля в расчетной области по формуле Максвелла.
|
Для двумерной задачи составляющие тягового усилия

 где 
Динамические процессы при включении электромагнита описываются известными уравнениями:
Потокосцепление на единицу толщины электромагнита можно определить по формуле где значения векторного магнитного потенциала в вершинах i
–го треугольника; площадь i
-
го треугольника; 
функция, принимающая значение 1 при < 0; 0 при > 0.
На рис.17 и 18 даны зависимости временных показателей электромагнитов (варианты 1 и 2) от R
и w
, а также экспериментальная зависимость t
cp
от R
при w
=
316; R
=7 Ом.
| 
Рис. 17 - Зависимости временных па-раметров от сопротивления обмотки
|
 
Рис.18 - Зависимости временных параметров от числа витков обмотки
|
Для получения высокой точности решения тепловых задач в работе предлагаются две модифицированные математические модели. Первая для расчёта стационарных температурных полей, вторая - для нестационарных.
Обмотки намагничивания многих электрических аппаратов обладают осевой симметрией и, как показывает опыт, даже для различных условий теплоотдачи с наружной поверхности обмотки (например, при соприкосновении катушки с арматурой аппарата и т.д.), благодаря большой теплопроводности меди вдоль намотки, в установившемся режиме температурные поля в различных радиальных сечениях незначительно (2-3%) отличаются друг от друга. Это дает право рассматривать в качестве расчетной области радиальное сечение катушки и считать задачу двухмерной.
Уравнение теплопроводности, являющееся математической моделью обмотки, для двухмерной области в цилиндрических координатах имеет вид
(4)
с граничным условием для конвективного теплообмена
(5)
либо с теплонепроницаемой границей (6)
Обоснованно используя метод Ритца, в вариационной трактовке метода конечных элементов решение дифференциального уравнения (4) с граничными условиями (5) и (6)
эквивалентно отысканию минимума энергетического функционала
Объемная плотность источников нагрева численно равна мощности, выделяемой в единице объема катушки, и определяется приложенным напряжением. Коэффициент теплоотдачи конвекцией определяется из критериального уравнения Нуссельта для свободного движения охлаждающей среды. Эта зависимость имеет вид , где l
– высота катушки.
Проверка результатов расчёта по предложенной модели показала, что расхождение с экспериментом не превышает 6%. Предложенный алгоритм позволяет рассчитать температурное поле электромагнитов, а, следовательно, и важную характеристику – максимальную температуру с учетом зависимостей коэффициентов теплопроводности, теплоотдачи и плотности источников тепла от температуры.
При расчете плоскопараллельных нестационарных температурных полей МКЭ решается общее дифференциальное уравнение теплопроводности
(7)
с граничными условиями для конвективного теплообмена
либо с граничными условиями для теплонепроницаемой границы
(8)

Решение уравнения (7) эквивалентно отысканию минимума энергетического функционала:
Индексы V
и S
в операциях интегрирования обозначают интегрирование по объему и внешней поверхности расчетной области. Следует отметить, что граничные условия вида (8) при использовании метода конечных элементов учитываются автоматически.
Тестирование разработанного алгоритма проводилось при решении задач для тел с простыми геометрическими формами и идеальными условиями теплоотдачи (формула Ньютона-Рихмана), а также на известных, подтвержденных экспериментально, исследованиях.
Зависимость времени нагрева до допустимой температуры от величины F
, полученная по вышеназванным зависимостям, приведена на рис. 20.
| 
|
Рис.20 – Зависимость времени нагрева до допустимой температуры от величины МДС обмотки
|
Глава 4. Алгоритмы автоматизированного проектирования основных узлов электромагнитных аппаратов (ЭМА).
ЭМА можно представить в виде взаимодействующих узлов (механизмов) исполнительного, передаточного и приводного. В качестве исполнительного выступают главные и блокировочные контакты, токоведущий контур и дугогасительное устройство. Передаточный механизм представляется в виде совокупности рычагов, опор, осей, защелок, пружин и др. Приводным механизмом является электромагнит.
При проектировании ЭМА выполняются информационно-поисковые, расчетные и чертежные (графические) работы. Первые определяют возможность разработки нового или модернизации существующего аппарата в соответствии с требованиями технического задания (ТЗ). Здесь осуществляется поиск прототипа, проверка на патентную чистоту и патентоспособность.
Расчеты, выполняемые при проектировании ЭМА, удобно разделить на проектные, позволяющие по данным ТЗ получить основные массогабаритные и другие параметры оптимальной конструкции, и поверочные, подтверждающие соответствие характеристик этой конструкции, заданными в ТЗ. С
помощью чертежных работ изготавливается главная часть конструкторской документации: чертежи деталей, узлов и аппарата в целом. Таким образом, процесс проектирования ЭМА можно представить в виде структурной схемы (рис. 20). Машинная реализация приведенного процесса возможна в виде в виде различных маршрутов проектирования.
Возможные маршруты проектирования ЭМА выбираются в зависимости от требований технического задания, характеристик используемых математических моделей, опыта и интуиции проектировщика.
В диссертационной работе впервые в практике аппаратостроения выполнена систематизация конструкций и материалов, применяемых при проектиро-
Рис. 20 - Укрупненная структура процесса проектирования электромагнитного аппарата
вании ЭМА, по типам (видам) и условиям применения. Проведено ранжирование каждого типа (вида) по критериям оптимальности и показателям, определяющим их условия применения. Таким образом, создана информационная часть (база данных) подсистемы выбора конструкций и материалов САПР ЭМА. Составлены пять информационных массивов, объединяющих условия и критерии оценки с конструкциями основных узлов ЭМА, видами материалов и схем:
1. Материалы коммутирующих контактов (45 материалов и 14 параметров оценки).
2. Конструкции коммутирующих контактов (14 конструкций и 7 параметров оценки).
3. Конструкции дугогасительных систем (29 конструкций и 8 параметров оценки).
4. Конструкции (типы) электромагнитных приводов (21 тип и 15 параметров оценки).
5. Кинематические схемы ЭА (18 схем и 14 параметров оценки).
Условия и критерии оценки (хотя последние и в меньшей степени) определяются заданием на проектирование ЭМА.
В качестве примера рассмотрим содержание одного из указанных выше информационных массивов – кинематические схемы ЭМА.
Большое количество типов коммутационных ЭМА, их отличие по роду и величине тока, числу и виду коммутирующих контактов, по условиям эксплуатации обуславливает наличие различных кинематических схем.
Анализ литературных данных позволяет выделить 18 основных типов кинематических схем (рис. 21). Их можно разделить на две группы: с жесткой связью якоря с подвижными контактами и без жёсткой связи. Первая группа в свою очередь делится на механизмы с поворотными звеньями – это односторонние двухзвенные (схемы 1-3), двухсторонние двухзвенные (схемы 3,4) и с прямоходовыми звеньями – горизонтальные (схемы 6,7), вертикальные (схемы 8-11). Вторую группу составляют схемы:
| Рис. 22 - Кинематические схемы ЭМА
|
12 – горизонтально движущиеся контакты и якорь, соединённые поворотным рычагом; 13 – горизонтально движущиеся контакты и вертикально движущийся якорь, соединённые поворотным рычагом; 14 – горизонтально движущиеся контакты и вертикально движущийся поворотный якорь; 15 – вертикально движущиеся контакты и горизонтально движущийся поворотный якорь; 16 – верти- кально движущиеся контакты и горизонтально движущийся якорь, соединённые поворотным рычагом; 17 – вертикально движущиеся контакты и в вертикальной плоскости движущийся поворотный якорь; 18 – пальцевые контакты, движущиеся в вертикальной плоскости и горизонтально движущийся прямоходовой якорь.
|
Выбор типа кинематической схемы зависит в основном от назначения (типа) аппарата и его электромагнитного привода, долговечности, занимаемой площади на панели или щите, габаритов и стоимости аппарата, простоты его обслуживания и регулировки, возможности создания типоисполнений, износа рабочих поверхностей якоря и сердечника, наличия или отсутствия вибрации контактов при включении. Каждая схема оценена по сравнению с другими одновременно по всем или некоторым из приведенных выше показателей весовыми коэффициентами важности (бальными оценками).
Результаты таких оценок представлены в таблице, где в качестве столбцов выступают типы кинематических схем, с нумерацией, соответствующей схемам (рис. 21), а в качестве строк – параметры, определяющие выбор той или иной схемы. Таким образом, каждая из кинематических схем оценивается определённым комплексом балов (один по каждому показателю) – векторной оценкой.
Математические модели для расчёта основных параметров исполнительных и передаточного механизмов составлены путём обобщения и развития результатов работ Брона О.Б., Буткевича Г.В., Витенберга М.И., Залесского А.М., Долинского В.В., Ступеля Ф.А., Таева И.С., Хольма Р.Э.
Впервые разработана универсальная математическая модель для автоматизированного расчета статических характеристик противодействующих сил наиболее распространенных типов ЭМА, учитывающая главные механические усилия, действующие в ЭМА, соотношения их плеч, конфигурацию кинематической схемы и расположение в пространстве её звеньев.
Разработан машинный алгоритм расчета параметров токоведущих контуров ЭМА. С целью повышения точности расчета алгоритм включает в себя этапы проектного расчета, выполняемого по традиционным эмпирическим выражениям, и поверочного расчета, когда решается система дифференциальных уравнений теплопроводности и определяется распределение температуры, например, по контуру (рис.22).
Искомые значения температур θ участков контура определяются при решении системы дифференциальных уравнений стационарной теплопроводности. Для участка такое уравнение имеет вид

где - координата, вдоль которой осуществляется перенос тепла за счет теплопроводности; К
т
i
– коэффициент теплоотдачи участка, учитывающий теплоотдачу конвекцией и излучением, а также взаимное влияние участков; λi
, ρoi
, αi
– удельная теплопроводность, удельное сопротивление про 0о
С и температурный коэффициент сопротивления материала участка; р
i
, Si
– периметр и площадь сечения участка.

Рис. 22 - Эскиз токоведущего контура электромагнитного аппарата
| 
Рис. 23 - Эскиз щелевой дугогасительной камеры электромагнитного аппарата
|
Создан алгоритм оптимизационного проектного расчета наиболее часто применяемой в ЭМА щелевой дугогасительной камеры с магнитным дутьём (рис. 23), позволяющий учитывать ограничения по температуре нагрева стенок камеры, перенапряжениям в цепи, отключаемой проектируемым аппаратом, времени гашения и скорости движения дуги в камере. Данный алгоритм в отличие от известных позволяет рассчитать размеры минимальной по объёму камеры, в которой выполняется условие гашения дуги и все перечисленные выше ограничения.
|
Время горения дуги определяется при численном решении уравнения баланса напряжений цепи с дугой. Для расчёта максимального напряжения при обрыве дуги используются эмпирические выражения, в том числе при токах до 10 А – полученные автором работы.
Глава 5. Система автоматизированного проектирования ЭМА
САПР ЭМА предназначена для выполнения с помощью ЭВМ IBM PC AT, PS/2 и других, совместимых с IBM PC поиска прототипа, расчетных и чертежных работ при проектировании низковольтных ЭМА с электромагнитным приводом: контакторов, пускателей, реле, исполнительных электромагнитных механизмов. Область применения системы определяется следующими ограничениями:
номинальное напряжение главной цепи, В – до 1000
номинальный ток главной цепи, А - до 630;
номинальное напряжение привода, В - до 380
число главных и блокировочных контактов – не ограничено;
охлаждение – естественное воздушное и/или водяное;
тип электромагнита – клапанный, броневой, П - и Ш - образного типа с прямоходовым или поворотным якорем;
тяговое усилие электромагнита при рабочем воздушном зазоре, кН – до 10.
Основными структурными частями САПР ЭМА выступают проектирующие подсистемы. Проектирующими являются подсистемы: информационного поиска (ПСИП), автоматизации расчетных работ (ПСАР), автоматизации чертежных работ (ПСАЧР). К обслуживающим относятся мониторная система и система управления базой данных. Первая организует управление процессом проектирования: распределение устройств вычислительной техники, вызов программ, организацию диалога. Вторая выполняет операции записи, поиска и преобразования данных в процессе функционирования САПР.
В состав ПСИП входит экспертная система “Выбор конструкции ЭМА”.
При создании прикладного программного обеспечения решены задачи:
-разработка структуры и состава программного обеспечения;
-разработка программ и подпрограмм решения отдельных задач;
-комплектация программ и подпрограмм в подсистемы и пакеты прикладных программ.
Для формализации процедуры выбора технического решения разработан метод последовательного сужения исходного множества векторных оценок, представляющий собой развитие метода многокритериальной оптимизации Электра. Укрупнено алгоритм метода имеет вид:
1.Формирование таблицы векторных оценок.
Например, исходный материал для такой таблицы это информация о 28 различных вариантах построения дугогасительной системы ЭА, каждый из которых оценивается по 8 критериям, так что получение собственно таблицы оценок в данной ситуации сводится к представлению данной информации в принятом в теории решения многокритериальных задач виде.
2. Определение Парето-оптимального подмножества векторных оценок.
3. Построение бинарных отношений.
Бинарное отношение на множестве векторных оценок строится аналогично построениям в методе Электра [9], но при этом в рассматриваемом методе не оперируют конкретными значениями весовых коэффициентов. Для конкретной таблицы оценок результат их сравнения строится в виде дробей:
, , ….. , ,
где в числителе суммируются обозначения критериев, по которым i
-я векторная оценка лучше j
-й, а в знаменателе – обозначения критериев, по которым i
-я векторная оценка хуже j
-й. Изначально предполагается, что каждая дробь может быть >, <, =1.
4. Анализ полученных отношений в плане выявления равенства и линейной зависимости.
5. Проведение диалоговой процедуры с проектировщиком и, по совокупности с результатами этапа 4, построение множества орграфов. В нашем примере это 50 орграфов.
6. Определение ядра каждого из орграфов на множестве.
Если после применения метода единственный вариант технического решения не получен, то возможны следующие подходы:
а) если полученных вариантов немного 2-3, и они близки по физической сути, их можно считать эквивалентными, и выбрать для реализации любой;
б) можно вернуться к началу решения задачи и уточнить состав критериев и значения компонент векторных оценок;
в) можно, с учетом описанных выше уточнений, вернуться к процедуре диалога.
Разработанный метод не имеет ограничений по области применения, и его целесообразно использовать при решении любых задач выбора или принятия решений.
САПР ЭМА использована при разработке электромагнитных клапанов трубопроводной арматуры, прижимных электромагнитов корпусосборочных устройств, электромагнитов систем магнитного подвеса ВСНТ, модернизации тяговых электромагнитных контакторов серии МК, а также П- и Ш-образных электромагнитов переменного тока.
В приложении
приведены табличные данные расчетов, лабораторных исследований, пример проектирования с помощью САПР ЭМА контактора, акты внедрения.
Основные результаты и выводы.
В диссертации разработан комплекс методов и алгоритмов для автоматизированного проектирования электромагнитных аппаратов, выполнены исследовательские и проектные работы, необходимые при создании ЭМА различных конструкций и назначения. Основные результаты диссертационной работы могут быть представлены в следующем виде:
1. Автоматизация проектирования электрических аппаратов определяется объективной необходимостью создания более совершенных конструкций, ускорения сроков проектирования и повышения производительности труда конструкторов. Реализация автоматизированного проектирования потребовала разработки новых математических моделей, более строго отражающих физические процессы, происходящие при работе электрических аппаратов, условия и режимы работы аппаратов.
2. Обоснована и реализована трехуровневая структура процесса проектирования электрического аппарата, первый уровень которой составляют модели и алгоритмы проектных оптимизационных расчетов, второй – поверочных, основанных на методах теории цепей, а третий – поверочных, основанных на методах теории поля. Такой подход позволяет решать различные задачи проектирования электрических аппаратов наиболее экономичным образом и с приемлемой точностью.
3. Получены оптимальные значения магнитной индукции в рабочем воздушном зазоре и стали электромагнитов переменного тока с втягивающимся якорем и стопом, зависящие от величин тяговых усилий и рабочего зазора, критерия оптимальности, условий работы механизма и т.д. Показано, что оптимальными для исследованных случаев являются электромагниты с наибольшей индукцией в магнитопроводе, не превышающей 1,1 Тл.
4. Разработана универсальная математическая модель и алгоритм проектного оптимизационного расчета электромагнитов постоянного и переменного тока различных конструктивных форм на заданные статические тяговые характеристики. Погрешность расчета по сравнению с экспериментом составила не более 10% для электромагнитов постоянного тока и не более 20% для переменного тока. Разработанный алгоритм реализован в виде модуля САПР ЭМА и использовался при проектировании электромагнитов подвеса ВСНТ, электромагнитных захватов, электромагнитных приводов контакторов типа МК и других устройств.
5. Предложен ряд новых алгоритмов проектных оптимизационных расчетов электромагнитов постоянного и переменного тока на заданные динамические тяговые характеристики. Отличительной особенностью данных алгоритмов является возможность проектирования оптимальных механизмов на заданные электромагнитные (например, тяговая) и механические (перемещение, скорость, ускорение) характеристики с повышенной точностью. Определены соотношения геометрических размеров, обеспечивающие экстремумы различных критериев оптимальности.
6. Для реализации второго уровня проектирования составлены модифицированные алгоритмы поверочных электромагнитных и тепловых расчетов, основанные на методах теории цепей. Погрешность расчета в этом случае составляет менее 10%. Алгоритмы реализованы в виде модулей САПР ЭМА.
7. Предложены новые математические модели и алгоритмы для определения параметров электромагнитных и тепловых полей, а также расчета интегральных характеристик электромагнитов постоянного и переменного тока различных конструкций. Отличительной особенностью указанных моделей является многократное уменьшение времени счета, учет потерь на вихревые токи и гистерезис в шихтованных магнитопроводах. Расчетные алгоритмы позволяют осуществлять полевые расчёты как в статическом так и в динамическом режимах работы. Погрешность расчетов не превышает 4%.
8. При разработке прикладного программного обеспечения САПР ЭМА составлены универсальные алгоритмы расчета механических характеристик и дугогасительных устройств электрических аппаратов постоянного и переменного тока различных конструктивных форм.
9. Предложен новый метод многокритериальной оптимизации – метод последовательного сужения исходного множества векторных оценок, разработана база знаний, позволяющая на основе этого метода осуществить выбор прототипа проектируемого электромагнитного аппарата, его привода, контактов, дугогасительного устройства и передаточного механизма, входящая в качестве подсистемы в САПР ЭМА.
10. Разработана база знаний для выбора конструкций и материалов коммутирующих контактов, способов гашения электрической дуги, вида кинематической схемы и типа электромагнитного привода.
11. Разработана САПР ЭМА, ее программное, лингвистическое, информационное и другие обеспечения. Система реализована на персональных компьютерах типа IBM PC , внедрена в практику проектирования и учебный процесс. Использование САПР ЭМА позволяет в 3-5 раз ускорить процесс проектирования электромагнитных аппаратов при одновременном повышении качества проектных работ.
Содержание работы отражено в следующих основных публикациях.
Публикации в периодических научных и научно-технических изданиях, в которых рекомендуется публикация основных результатов докторских диссертаций
(по решению ВАК Минобразования России)
Монография
1. Математическое моделирование и автоматизация проектирования тяговых электрических аппаратов / А.Г. Никитенко, В.Г. Щербаков, Б.Н. Лобов, Л.С. Лобанова; Под ред. А.Г. Никитенко, В.Г. Щербакова. М.: Высш. школа, 1995. – 610 с.
Публикации в ведущих научных изданиях
2. Никитенко А.Г., Наталевич К.В., Лобов Б.Н., и др.
Экспериментальное исследование электрической дуги постоянного тока // Электротехническая промышленность. Сер. Аппараты низкого напряжения.- 1975.- №6(46).- С.2-6.
3. Лобов Б.Н., Мацупин Г.П., Палий В.Я.
О влиянии геометрических соотношений на время трогания электромагнита переменного тока // Изв. Вузов Электромеханика.- 1976.- №1.- С.46-53.
4. Никитенко А.Г., Гринченков В.П., Палий В.Я., Лобов Б.Н. Моделирование на ЭВМ магнитной цепи электромагнита с ферромагнитным экраном // Электротехника.- 1976.- №8.- С.30-35.
5. Лобов Б.Н., Никитенко А.Г. Влияние геометрических соотношений на динамические характеристики электромагнита с внешним поворотным якорем // Электротехническая промышленность. Сер. Аппараты низкого напряжения.- 1977.- №1(59).- С.7-11.
6. Гринченков В.П., Палий В.Я., Никитенко А.Г., Лобов Б.Н. Математическое моделирование переходных характеристик электромагнитов с массивными магнитопроводами // Электротехника.-1977.- №2.- C.50-54.
7. Лобов Б.Н., Палий В.Я., Никитенко А.Г. Синтез динамики электромагнитов // Электротехническая промышленность. Сер. Аппараты низкого напряжения.- 1977.- №3(61).- С.9-11.
8. Никитенко А.Г., Наталевич К.В. , Лобов Б.Н. и др.
Исследование гашения электрической дуги при отключении индуктивных цепей постоянного тока // Электротехническая промышленность. Сер. Аппараты низкого напряжения.- 1977.- №4(62).- С.6-7.
9. Никитенко А.Г., Гринченков В.П., Лобов Б.Н., Палий В.Я. Оптимизация параметров электромагнитов подвеса // Изв. вузов Электромеханика.- 1978.- №2.- С.1306-1310.
10. Палий В.Я., Никитенко А.Г., Лобов Б.Н. и др. Расчёт электромагнита системы магнитного подвеса высокоскоростного наземного транспорта (ВСНТ) // Изв. вузов Электромеханика.- 1978.- №7.- С.712-717.
11. Лобов Б.Н., Бахвалов Ю.А., Никитенко А.Г., Алексеева Г.А. Автоматизация проектирования электромагнитных механизмов постоянного тока // Изв. вузов Электромеханика.- 1979.- №4.- С.310-317.
12. Лобов Б.Н. Расчет стационарного температурного поля электромагнита П-образного типа постоянного тока // Изв. вузов Электромеханика.- 1979.- №6.- С.40-46.
13. Никитенко А.Г., Лобов Б.Н. Проектирование электромагнита с заданной тяговой характеристикой // Изв. вузов Электромеханика.- 1981.- №8.- С.899-903.
14. Никитенко А.Г., Лобов Б.Н., Артюхова И.И., Палий В.Я. О влиянии геометрических размеров на динамические показатели электромагнита клапанного типа // Изв.вузов Электромеханика.- 1981.- №11.- С.1214-1221.
15. Никитенко А.Г., Могилевский Г.В., Лобов Б.Н. Расчет динамики включения электромагнита постоянного тока // Изв.вузов Электромеханика.-1982.- №1.- С.48-51.
16. Никитенко А.Г., Палий В.Я., Лобов Б.Н., Гринченков В.П. Алгоритм расчета стабилизирующих сил электромагнитного подвеса // Изв. вузов Электромеханика.- 1984.- №7.- С.50-54.
17. Никитенко А.Г., Лобов Б.Н., Гринченков В.П., Тындик В.В.
Информационно-измери-тельный стенд для комплексного исследования электромагнитных систем // Изв. вузов Электромеханика.- 1985.- №4.- С.81-84.
18. Лобов Б.Н., Никитенко А.Г.
Модуль автоматизированного расчета механических характеристик электромагнитных аппаратов // Изв. вузов Электромеханика.-1987.-№8.- С.80-83.
19. Лобов Б.Н., Никитенко А.Г. Модуль автоматизированного расчета параметров дугогасительного устройства электрических аппаратов // Изв. вузов Электромеханика.- 1988.- №5.- С.79-83.
20. Лобов Б.Н., Никитенко А.Г. Пакет программ автоматизированного проектирования токоведущей цепи электромагнитного аппарата // Изв. вузов Электромеханика.- 1988.- №6.- С.94-99.
21. Никитенко А.Г., Краснов Е.Н., Лобов Б.Н., Гринченков В.П. Оптимизация геометрии электромагнитных захватов корпусосборочных устройств // Изв. вузов Электромеханика.- 1990.- №9.- С.66-70.
22. Никитенко А.Г., Краснов Е.Н., Гринченков В.П., Лобов Б.Н. Расчет силовых характеристик электромагнитных захватов корпусосборочных устройств // Изв. вузов Электромеханика.- 1991.- №3.- С.100-104.
23. Никитенко А.Г., Лобов Б.Н., Гринченков В.П. и др. Синтез характеристик и анализ энергетических соотношений электромагнитных механизмов переменного тока // Изв. вузов Электромеханика.- 1991.- №11.- С.63-67.
24. Щучинский С.Х., Лобов Б.Н., Никитенко А.Г. Об оптимальном проектировании электромагнитов переменного тока// Изв. вузов Электромеханика.- 1993.- №2.- С.73-79
25. Лобов Б.Н., Никитенко А.Г., Краснов Е.Н., Гринченков В.П. Оптимизация электромагнитных захватов броневого типа // Изв. вузов Электромеханика.- 1993.- №3.- С.48-51.
26. Никитенко А.Г., Ковалёв О.Ф., Лобов Б.Н., Щучинский С.Х. Расчет стационарного температурного поля электромагнитного привода методом конечных элементов // Изв. вузов Электромеханика.- 1993.- №4.- С.69-77.
27. Лобов Б.Н., Никитенко А.Г.
Системы автоматизированного проектирования электромагнитных аппаратов // Изв. вузов Электромеханика.- 1994.- №3.- С.14-18.
28. Ковалёв О.Ф., Лобов Б.Н., Краснов Е.Н. Расчет нестационарного температурного поля электромагнитных захватов методом конечных элементов// Изв. вузов Электромеханика.- 1995.- №1-2.- С.24-29.
29. Бахвалов Ю.А., Никитенко А.Г., Лобов Б.Н., Щербаков В.Г. Численное моделирование магнитного поля и силовых взаимодействий электромагнитного захвата корпусосборочных устройств комбинированным методом // Электротехника. - 1997.- №10.-С.37-40.
30. Лобов Б.Н. Оптимизация электромагнитов переменного тока с втяжным якорем и стопом // Изв. вузов Электромеханика. – 2002.- №2.- С.41-45.
31. Лобов Б.Н. Выбор конструкции электромагнитного привода// Изв. вузов. Сев.-Кавк. регион. Техн. науки.-2003.-Спец.вып.: Проблемы мехатроники-2003.-С.16-20.
32. Лобов Б.Н., Палий В.Я. Выбор конструкции и материала контактов при проектировании электромагнитных аппаратов //Труды Академии электротехнических наук Чувашской республики.- 2003.- №4/2003.- C.44-49.
33. Лобов Б.Н., Белокопытов С.Л., Ким Р.А. Метод равнозначных критериев и его применение для выбора конструкции дугогасительного устройства // Изв. вузов. Сев.-Кавк. регион. Техн. науки.-2004.-№1.-С.32-36.
34. Лобов Б.Н., Палий В.Я., Мацупин Г.П. Устройство форсированного включения электромагнитного привода// Изв. вузов Электромеханика. – 2004.- №1.- С.67.
35. Лобов Б.Н., Мацупин Г.П. Выбор кинематической схемы при проектировании электромагнитных аппаратов // Изв. вузов Электромеханика.- 2004.- №3.- С.39-43.
36. Белокопытов С.Л., Лобов Б.Н., Тушканов Н.Б., Деревянкина Н.А. Методика рационального выбора варианта построения электрического аппарата по многим критериям// Изв. вузов Проблемы энергетики.- 2005.- №3-4.- С.55-61.
37. Лобов Б.Н., Плахотин О.Б. Оптимизация электромагнитного механизма по статическим и динамическим показателям качества //Изв. вузов Электромеханика.- 2006.- №1.- С.33-37.
38. Лобов Б.Н., Ковалёв О.Ф., Подберёзная И.Б. Влияние вихревых токов на потери в шихтованных и сплошных магнитопроводах электромагнитов переменного тока// Изв. Вузов Сев.-Кав. регион Технические науки. - 2006. - №2. - С.32-39.
39. Подберёзная И.Б., Лобов Б.Н., Ковалёв О.Ф. Экспресс-метод анализа электромагнитных полей в нестационарных режимах // Изв. вузов Электромеханика.- 2007.- №2.- С.7-9.
40. Лобов Б.Н. Алгоритм расчёта параметров зоны короткозамкнутого витка электромагнита переменного тока // Изв. вузов Электромеханика.- 2010.- №1.- С.77-79.
41. Лобов Б.Н. Формализация выбора способов гашения дуги в низковольтных электрических аппаратах // Изв. Вузов Сев.-Кав. регион Технические науки.- 2010.- №1.- С.64-66.
42. Лобов Б.Н. Алгоритм параметрического синтеза электромагнитов // Изв. вузов Сев.-Кав. регион Технические науки.- 2010.- №2.- С.53-58.
43. Лобов Б.Н. Системный подход к проектированию электромагнитного аппарата // Изв. вузов Электромеханика.- 2010.- №2.- С.19-22.
Материалы и тезисы докладов Международных и Российских конференций
44. Безус В.А., Гринченков В.П., Никитенко А.Г., Лобов Б.Н. Исследование квазидинамических процессов в электромагнитах подвеса // Итоги и перспективы создания высокоскоростного наземного транспорта: тез. докл. Второй Всесоюз.науч.техн. конф.-М.,1980.-С.16-17.
45. Лобов Б.Н.,Палий В.Я., Гринченков В.П.,Никитенко А.Г. Подсистема САПР электромагнитов подвеса// Итоги и перспективы создания высокоскоростного наземного транспорта: тез. докл. Второй Всесоюз.науч.техн. конф.-М.,1980.-С.34-35.
46. Никитенко А.Г., Лобов Б.Н., Гринченков В.П. Расчет электромагнитных полей в электрических аппаратах // Состояние и перспективы развития электровоз. в стране: тез.докл. 5 Всесоюз.науч.-техн. конф.-М.,1981.-С.67.
47. Лобов Б.Н., Никитенко А.Г. Система автоматизированного проектирования электромагнитных аппаратов постоянного тока // Автоматизация проектирования электрических устройств и систем. Тез. докл. Всесоюз. семинара. Истра. 1984. С.47-51.
48. Никитенко А.Г., Лобов Б.Н., Бахвалов Ю.А., Лобанова Л.С., Гетманский А.А. Система автоматизированного проектирования электромагнитной аппаратуры электровозов// Состояние и перспективы развития электровоз. в стране: тез.докл. 6 Всесоюз.науч.-техн. конф.-М.,1987.-С.72
49. Никитенко А.Г., Гринченков В.П., Гревцов В.Н., Лобов Б.Н. Синтез характеристик и анализ геометрических соотношений электромагнитных механизмов переменного тока. XXY International Wissenchaft Kolloquium. Ilmenau, BKD, 1990.- S.29-31.
50. Никитенко А.Г., Краснов Е.Н., Гринченков В.П., Лобов В.Н. The research and design optimum elektromagnetic grips. Исследование и разработка оптимальных электромагнитных устройств. // 40 years of electrical enginiering education in Craiova. The international conference on applied and theoretical electrotechnics, 21-23 November, 1991 / Craiova, Romania, 1991.- B. 24.
51. Лобов Б.Н. Система автоматизированного проектирования тяговых аппаратов на базе персонального компьютера // Состояние и перспективы развития локомотивостроения. Тез. докл. Международной науч.-техн. конф. Новочеркасск. 1994. С. 89.
52. Лобов Б.Н., Никитенко А.Г., Лобанова Л.С. Оптимальное проектирование тяговых электромагнитных аппаратов по заданным динамическим характеристикам // Состояние и перспективы развития локомотивостроения. Тез. докл. Международной науч.-техн. конф. Новочеркасск. 1994. С. 90.
53. Лобов Б.Н., Никитенко А.Г. Система автоматизированного проектирования электромагнитных аппаратов // Эффективность информационных технологий обучения в высшей школе: тез. докл. Межвуз. науч.-практ.конф.- Новороссийск,1994.-С.64-65.
54. Лобов Б.Н. Учебная система автоматизированного проектирования электромагнитных аппаратов (САПР ЭА) // Компьютеризация учебного процесса по электротехн. дисциплинам: тез.докл. 3-ей межвуз. науч.-метод.конф.-Астрахань,1995.-С.145-146.
55. Лобова Т.В., Ткачев А.Н., Лобов Б.Н. Учет вихревых токов в шихтованных магнитопроводах электромагнитов переменного тока // Сб. ст. и крат. сообщ. по материалам науч.-техн. конф. студ. и аспир. НГТУ, г. Новочеркасск, 10-25 апр. 1996 г. / Новочерк. гос. техн. ун-т. - Новочеркасск: НГТУ, 1996. - С.67-68.
56. Никитенко А.Г., Лобов Б.Н., Сохадзе Г.В. О синтезе динамики электромагнитов с использованием схем замещения магнитной цепи // Теория цепей и сигналов (ТЦиС-96) : тез.докл. 3-й Всерос. науч.-техн. конф. с междунар. участием, г. Таганрог, 11-15 сент. 1996г. / Новочеркасск: Ред.журн. Изв.Вузов.Электромеханика, 1996.-С.88.
57. Бахвалов Ю.А., Никитенко А.Г., Лобов Б.Н. Численное моделирование плоскопараллельного магнитного поля электромагнитных систем оборудования электроподвижного состава. //Состояние и перспективы развития электроподвижного состава. Тез. докл 2-ой Междунар. конф. Новочеркасск, 1997. С.114-115.
58. Лобова Т.В., Ткачев А.Н., Лобов Б.Н. Учет вихревых токов при моделировании переходных режимов работы транспортного электрооборудования электровозов // Состояние и перспективы развития электроподвижного состава: тез.докл. 2-ой Междунар. конф .- Новочеркасск, 1997.- С.110-111.
59. Лобов Б.Н., Палий В.Я. Алгоритм расчета процессов в выключателе бытового освещения // Моделирование. Теория, методы и средства: материалы. междунар. науч.-практ. конф. , г. Новочеркасск, 5 апреля 2002г.:В 4ч./Юж.-Рос.гос.техн.ун-т.-Новочеркасск: ООО НПО “ТЕМП”,2002.-Ч.4.-С.4-6.
60. Лобов Б.Н., Палий В.Я., Лобанова Л.С., Мацупин Г.П. Формализация выбора конструкции электромагнитного аппарата // Состояние и перспективы развития электроподвижного состава: тез. докл. IV Междунар. науч.-техн. конф., г. Новочеркасск, 17-19 июня 2003г. / ОАО НПО “НЭВЗ”. - Новочеркасск, 2003 . - С.283-285.
61. Лобов Б.Н., Белокопытов С.Л. Методика рационального выбора варианта построения электрического аппарата по многим критериям // Электрооборудование, электроснабжение, электросбережение: материалы науч.-техн. конф., г.Ижевск 24-28 мая 2004г.: науч.-техн. форум с междунар. участием “Высокие технологии-2004”.-Ижевск: Изд-во Ижгту,2004.- С.76-82
Другие издания
62. Лобов Б.Н., Никитенко А.Г., Бахвалов Ю.А. Разработка САПР электромагнитной аппаратуры электровозов // Электровозостроение: Сб. трудов. / ВЭлНИИ. Новочеркасск, 1978, Т.19. С.32-35.
63. Лобов Б.Н., Бахвалов Ю.А., Никитенко А.Г., Алексеева Г.А.
Пакет прикладных программ для автоматизированного проектирования электромагнитных механизмов / Автоматизация проектирования в электротехнике и энергетике: Сб. науч. тр. / ИЭИ. Иваново, 1978,С.86-94.
64. Лобов Б.Н., Дубов В.В., Никитенко А.Г. и др. Экспериментальное определение усилия левитации электромагнита подвеса // Электровозостроение. Высокоскоростной наземный транспорт: Сб. трудов. / ВЭлНИИ. Новочеркасск, 1979, Т.19. С.43-49.
65. Никитенко А.Г., Лобов Б.Н., Палий В.Я., Гринченков В.П. Алгоритм и программа оптимального проектирования П-образного электромагнита // Теория и расчеты электрических машин и аппаратов: Межвуз. сб. науч. трудов./ ИЭИ. Иваново, 1979.- С.91-98.
66. Никитенко А.Г., Лобов Б.Н. О выборе расчетного значения индукции в рабочем зазоре при проектировании электромагнитов постоянного тока. Сб. науч.тр. Электрические машины и аппараты. Чебоксары, 1980. С.52-57.
67. Никитенко А.Г., Лобов Б.Н., Бахвалов Ю.А. Разработка системы автоматизированного проектирования электромагнитной аппаратуры электровозов // Электровозостроение: Сб. трудов. / ВЭлНИИ. Новочеркасск, 1988, Т.29. С.88-94.
68. Лобов Б.Н., Щучинский С.Х., Золоев В.Б. Алгоритм теплового расчета электромагнита переменного тока. Сб. науч. тр. Уплотнения трубопроводной арматуры. ЦКБА. С.Петербург , 1991. С.32-39.
69. Лобов Б.Н., Никитенко А.Г. Система автоматизированного проектирования тяговых электромагнитных аппаратов (САПР ТЭА) на базе персонального компьютера // Электровозостроение: Сб. науч. тр. / ВЭлНИИ. Новочеркасск, 1995, Т.35. С.82-89.
70. Никитенко А.Г., Лобов Б.Н. Учебная система автоматизированного проектирования электромагнитных аппаратов (САПР ЭА): Сертификат ассоциации разработчиков и пользователей компьютерных обучающих программ №24/95/ Выдан 14.09.1995.
71. Лобов Б.Н., Тимакова И.Р. Выбор конструкции электромагнита: Свидетельство об официальной регистрации программы для ЭВМ №2003611795. Выдано РОСПАТЕНТОМ 28.07.2003
72. Лобов Б.Н. Выбор способа гашения дуги при проектировании электрических аппаратов // Электрика.- 2004.- №1.
73. Патент на изобретение №2277288. Российская федерация МКИ Н02Р1/00.Устройство форсированного включения электромагнитного привода постоянного тока от сети трёхфазного переменного тока / Лобов Б.Н., Мацупин Г.П., Палий В.Я.- Опубл. 27.05.2006. Бюл. №15.
74. Патент на изобретение №2277734. Российская федерация МКИ Н01F7/18.Устройство питания электромагнитного привода постоянного тока от источника переменного тока / Лобов Б.Н., Мацупин Г.П., Палий В.Я.- Опубл. 27.01.2006. Бюл. №15.
75. Патент на изобретение №2246774. Российская федерация МКИ Н01Н7/03. Электромагнит с задержкой времени при срабатывании / Лобов Б.Н., Мацупин Г.П., Палий В.Я.- Опубл. 20.02.2005. Бюл. №5.
76. Лобов Б.Н., Мацупин Г.П., Плахотин О.Б. Выбор схем форсированного питания электромагнитов // Вестник Всероссийского научно-исследовательского и проектно-конструкторского института электровозостроения. -2006.- №3(52).–С.102-110.
77. Лобов Б.Н., Медведев В.В, Плахотин О.Б. Оптимизация магнитной системы тягового контактора МК-201// Вестник Всероссийского научно-исследовательского и проектно-конструкторского института электровозостроения. -2006. - №1(50). -С.229-235.
78. Лобов Б.Н., Лобанова Л.С. Метод оптимизации технических решений при проектировании тяговых электрических аппаратов // Вестник Всероссийского научно-исследовательского и проектно-конструкторского института электровозостроения. – 2007. - №2(54). - С.137-143.
Личный вклад автора в результаты работ, опубликованных в соавторстве: предложена и реализована идея [1,11,18,27,33,36-39,45, 47,48,52,53,55,58-63,67-71,73-78]; разработка методик и алгоритмов расчета ЭМА [1,7,19-21,24,25,32,33,37,39,52,56,59,65]; разработка методики и проведение экспериментальных исследований силовых, электромагнитных и тепловых параметров и характеристик ЭМА[1,2,6,8,13,17,29,64]; проведены теоретические исследования и численные эксперименты [1,3-5,9,10,14-16,21-23,26,28,29,34,38,44,57,66]; обобщены и дополнены результаты исследований, проведённых другими авторами [32,35,46,49,50,55,58,60,71,76].
Лобов Борис Николаевич
МЕТОДЫ, МОДЕЛИ И АЛГОРИТМЫ АВТОМАТИЗИРОВАННОГО ПРОЕКТИРОВАНИЯ ОПТИМАЛЬНЫХ ЭЛЕКТРОМАГНИТНЫХ АППАРАТОВ
__________________________________________________________________________
Подписано в печать 20.08.2010
Формат 60 х 90 1/16. Бумага офсетная. Печать оперативная.
Уч. печ. л. 2. Тириж 100 экз. Заказ №
___________________________________________________________________________
Южно-Российский государственный технический университет (НПИ)
Центр оперативной полиграфии ЮРГТУ (НПИ)
346428, г. Новочеркасск, ул. Просвещения, 132, тел. 255-305
|