| Северо-Западный государственный заочный технический университет.
РЕФЕРАТ
ТЕМА: Горячее цинкование (цинкование в расплаве цинка).
Составил: Подало А.Г.
2006 год
С о д е р ж а н и е :
1. ПОДГОТОВКА ПОВЕРХНОСТИ
2
1.1. Удаление жировых загрязнений, ржавчины и окалины 2
1.2. Флюсование 4
1.3. Особенности подготовки полосовой стали 5
1.3.1. Химическая подготовка 5
1.3.2. Термическая подготовка 6
2. ВЛИЯНИЕ ХИМИЧЕСКОГО СОСТАВА СТАЛИ,
ТЕМПЕРАТУРЫ И ПРОДОЛЖИТЕЛЬНОСТИ ЦИНКОВАНИЯ
НА ТОЛЩИНУ,СТРУКТУРУ И СВОЙСТВА ПОКРЫТИЯ
10
3. ВЛИЯНИЕ ХИМИЧЕСКОГО СОСТАВА РАСПЛАВА ЦИНКА
НА СВОЙСТВА ЦИНКОВЫХ ПОКРЫТИЙ
16
4. ОСНОВНЫЕ СПОСОБЫ ЦИНКОВАНИЯ ПОЛОСЫ
19
4.1.Способ «Армко-Сендзимир» 19
4.2. Способ «Юнайтед Стейтс Стил» 19
4.3.Способ «Кук-Нортман» 19
4.4.Способ «Селас» 19
5. ЦИНКОВАНИЕ ТРУБ
И ПРИМЕНЯЕМОЕ ОБОРУДОВАНИЕ
21
5.1. «Сухой» способ 21
5.2. «Свинцовый» способ 23
6. ДЕФЕКТЫ ПОВЕРХНОСТИ ОЦИНКОВАННЫХ ИЗДЕЛИИ
24
Список литературы
25
1. ПОДГОТОВКА ПОВЕРХНОСТИ
Цинкование стальных изделий погружением в расплавленный цинк состоит из подготовки их поверхности к цинкованию и самого процесса нанесения цинкового покрытия.
Подготовка поверхности включает операции удаления жировых и других загрязнений, окалины, ржавчины, нанесение слоя флюса.
Процесс цинкования заключается в погружении изделий в ванну с расплавленным цинком, выдержке в нем определенное время, извлечении изделий из расплава. Следует
отметить, что обычно на практике все эти операции выполняются непрерывно в едином технологическом потоке.
Подготовка поверхности является важным этапом при цинковании. Хорошо подготовленная поверхность гарантирует полное взаимодействие стали с расплавленным цинком и сцепление цинкового покрытия с металлом основы.
Опыт работы показывает, что значительная часть брака. При цинковании в расплаве вызывается некачественной предварительной обработкой их поверхности. Таким образом, подготовку поверхности стальных изделий перед цинкованием необходимо проводить тщательно, строго соблюдая последовательность технологических операций и их режим.
1.1.
Удаление жировых загрязнений, ржавчины и окалины
Удаление жировых и других загрязнений с поверхности изделий из черных металлов (обезжиривание) можно производить путем химической или электрохимической обработки их в щелочных растворах, а также путем отжига, в процессе которого эти загрязнения сгорают (окисляются). В процессе обезжиривания, помимо жиров и масел, происходит удаление и других механических загрязнений (стружка, пыль и др.).
Забиваем Сайты В ТОП КУВАЛДОЙ - Уникальные возможности от SeoHammer
Каждая ссылка анализируется по трем пакетам оценки: SEO, Трафик и SMM.
SeoHammer делает продвижение сайта прозрачным и простым занятием.
Ссылки, вечные ссылки, статьи, упоминания, пресс-релизы - используйте по максимуму потенциал SeoHammer для продвижения вашего сайта.
Что умеет делать SeoHammer
— Продвижение в один клик, интеллектуальный подбор запросов, покупка самых лучших ссылок с высокой степенью качества у лучших бирж ссылок.
— Регулярная проверка качества ссылок по более чем 100 показателям и ежедневный пересчет показателей качества проекта.
— Все известные форматы ссылок: арендные ссылки, вечные ссылки, публикации (упоминания, мнения, отзывы, статьи, пресс-релизы).
— SeoHammer покажет, где рост или падение, а также запросы, на которые нужно обратить внимание.
SeoHammer еще предоставляет технологию Буст, она ускоряет продвижение в десятки раз,
а первые результаты появляются уже в течение первых 7 дней.
Зарегистрироваться и Начать продвижение
Для обезжиривания широко используют водные щелочные растворы, содержащие едкий натр, тринатрийфосфат и жидкое стекло. Для уменьшения силы сцепления масла с
поверхностью изделия в обезжиривающие растворы вводят поверхностно-активные вещества — эмульгаторы. После обезжиривания изделия тщательно промывают, чтобы удалить с их поверхности остатки обезжиривающего раствора.
На поверхности стальных изделий могут возникать оксиды различного состава и строения. Это прежде всего зависит от состава стали, способа изготовления и последующей обработки изделий, условий их хранения и транспортировки.
Обычно горячему цинкованию подвергают изделия из углеродистых и низколегированных сталей. Поверхность таких изделий обычно покрыта ржавчиной и окалиной.
Ржавчина (условно можно выразить формулой Foe • Fe2
O3
• nH2O) образуется на стальных изделиях в кислородсодержащей среде в присутствии влаги при комнатной температуре. Вначале на поверхности стали во влажной
атмосфере образуется гидрат закиси железа Fe(OH)2
, который в дальнейшем окисляется кислородом. Вследствие губчатого строения и наличия многочисленных капилляров ржавчина затрудняет обезжиривание поверхности стали.
Окалина на стальных изделиях обычно образуется в процессе их изготовления (например, при горячей прокатке, прессовании) или последующей термической обработки. В отличие от ржавчины окалина образуется при повышенных температурах (400°С и выше).
Состав, строение, толщина, равномерность распределения окалины по поверхности изделия зависит от многих факторов (например, состава стали, температуры и продолжительности окисления, содержания кислорода в окружающей среде).
В основном окалина состоит из оксидов железа, близких по составу к FeO (вюстит), Fe3
O4
(магнетит), Fe2
O3
(гематит). Непосредственно на стали находится вюстит, затем располагаются магнетит и гематит. Вюстит имеет пористое строение и низкую прочность, магнетит и гематит, наоборот, обладают высокой прочностью и плотным строением. Следует отметить, что окалина с трехслойным строением образуется на стали при температуре выше 570 °С при избытке кислорода в атмосфере и достаточно быстром охлаждении до низких температур. В других случаях окалина состоит из двух или одного слоя. Чаще всего слои FeO—Fe3
O4
— Fe2
O3 взаимно проникают друг в друга.
Сервис онлайн-записи на собственном Telegram-боте
Попробуйте сервис онлайн-записи VisitTime на основе вашего собственного Telegram-бота:
— Разгрузит мастера, специалиста или компанию;
— Позволит гибко управлять расписанием и загрузкой;
— Разошлет оповещения о новых услугах или акциях;
— Позволит принять оплату на карту/кошелек/счет;
— Позволит записываться на групповые и персональные посещения;
— Поможет получить от клиента отзывы о визите к вам;
— Включает в себя сервис чаевых.
Для новых пользователей первый месяц бесплатно.
Зарегистрироваться в сервисе
Обычно на стали образуется многокомпонентная сложного состава окалина, которая является результатом окисления не только железа, но и присутствующих в стали различных примесей (Mn, Si, P, S, N1, Сг, Си и др.). Примеси в окалине находятся либо в виде металлических включений (например, Ni, Си), либо в виде оксидов.
Окалина на кремнистых сталях существенно отличается от окалины, образующейся на углеродистых и нержавеющих сталях. В процессе термической обработки кремнистых сталей в окислительных средах наряду с внешним окислением происходит процесс внутреннего окисления стали. В слое, в котором происходит внутреннее окисление, появляются вкрапления двуокиси кремния. Под этим слоем находится обезуглероженный слой чистого феррита.
Внешний слой окалины состоит из вюстита с вкраплениями магнетита. Таким образом, наличие в составе окалины кремнистых сталей большой доли чистого феррита и инертного кремнезема определяет особенности ее травления. При прокатке образуется, в основном, вюстит, который сравнительно легко растворяется в кислоте; при отжиге листов образуются гематит и магнетит — труднорастворимые при травлении. Следовательно, наилучшей сталью для цинкования является холоднокатаная. Следует отметить, что особенно разнообразная по толщине, структуре и составу окалина может возникать на трубах, что обусловлено условия-Ми их производства.
Удаление ржавчины и окалины можно производить химическим и механическим методами.
Химический метод (травление) получил широкое распространение при подготовке поверхности изделий перед горячим цинкованием. Обычно травлением удаляют ржавчину и окалину с поверхности листов, полосы, труб, проволоки и других стальных изделий при подготовке их к цинкованию. На практике для травления изделий из углеродистых и низколегированных сталей широко применяют 18— 22%-ные водные растворы серной кислоты или 20— 25 %-ные водные растворы соляной кислоты.
Сравнивая достоинства и недостатки травильных растворов на основе серной и соляной кислот, следует отметить, что при травлении в серной кислоте растворяется не более 15—20 % окалины, в соляной до 40—50%. Поверхность стали после травления в растворах соляной кислоты получается более гладкой, чем после травления в растворах серной кислоты. Травление в серной кислоте из-за «перетрава» поверхности стали нельзя проводить без ингибиторов (замедлителей) кислотной коррозии. В этой связи необходимо отметить что с появлением надежных ингибиторов кислотной коррозии (ПКУ, ХОСП-10, БА-6, И-1-В и др.) достаточно хорошее качество поверхности достигается как при травлении в солянокислых, так и при травлении в сернокислых растворах. Выбор типа травильного раствора обусловлен в основном технико-экономическими соображениями.
Перспективно применение травильных растворов, содержащих смеси серной и соляной кислот.
Очистку стальной поверхности от ржавчины и окалины можно производить и механическим методом. Наиболее широко применяют дробеструйный или дробеметный способы, которые обеспечивают качественную подготовку поверхности стальных изделий.
Следует отметить, что для участков цинкования небольшой мощности (например, участки судоремонтных заводов), производящих цинкование изделий различной конфигурации, целесообразно использование дробеструйной обработки. Это позволяет получать качественно очищенную достаточно шероховатую, реакционно активную поверхности на стальных изделиях сложной конфигурации.
После травления изделия промывают в воде для удаления с их поверхности остатков травильного раствора и солей железа. Количество железа на поверхности стальных изделий может достигать 3—3,2 r/м2
после сернокислотного и 2—2,5 г/м2
после солянокислого травления в зависимости от концентрации и вязкости травильного раствора. Поэтому промывку изделий после сернокислотного травления желательно проводить сначала в горячей (60 °С) воде, а затем — в холодной. Если необходимо смыть остатки травильного шлама, применяют промывку из брандспойта или струйное промывание водой под давлением более 4-105
Па.
Учитывая, что после травления в соляной кислоте на поверхности стали остается примерно в 1,5 раза меньше солей железа, а также, что железные соли соляной кислоты смываются с протравленной поверхности значительно лучше, чем соли серной кислоты, производят обработку изделий в водном растворе соляной кислоты (50 г/л) при 18— 20°С (например, при цинковании труб). Эту операцию называют декапированием или подтравливанием. При этом происходит переход сульфата железа в хлорид:
FeSO4
+ 2HClFeCl2
f H2
SO4
.
Затем изделия промывают в холодной проточной воде.
При промывании полосы и проволоки применяют струйно-возвратный и эффективный струйный способы. Промывание целесообразно осуществлять водовоздушной плоской струей толщиной около 20 мм, подаваемой под углом 30—35° к поверхности промываемого металла. Иногда для улучшения очистки промывание проводят в щеточно-моечных машинах.
Предельное содержание примесей в промывной воде зависит от их свойств. Если эти примеси не образуют нерастворимых соединений с рабочим раствором, то их содержание может достигать 3—5 г/л. В противоположном случае концентрация нерастворимых соединений должна быть ниже предела растворимости. В литературе опубликованы требования, предъявляемые к качеству промывной воды.
Для промывания проката из углеродистых сталей после травления применяют воду с рН = 6—9, общей жесткостью до 50 ммоль/л с сухим остатком 5 г/л, в том числе до*
1 г/л хлоридов, до 3 г/л сульфатов, до 0,1 г/л железа общего.
1.2. Флюсование
Хорошо протравленные и промытые изделия поступают на заключительную подготовительную операцию — флюсование. Ее проводят для удаления солей и оксидов металлов с
поверхности цинкуемого изделия, а также с поверхности расплавленного цинка в месте погружения изделия и, кроме того, для улучшения смачивания поверхности изделия расплавленным цинком путем снижения поверхностного натяжения расплава цинка. Летучие соединения, образующиеся при разложении флюса, способствуют механическому удалению загрязнений на зеркале ванны и создают нейтральную атмосферу в месте погружения изделий в расплав цинка.
В качестве флюса при цинковании в расплаве чаще всего используют смесь из солей хлористого аммония (NH4
C1) я хлористого цинка (ZnCl2). Основную роль в таком флюсе играет хлористый аммоний, так как он является поставщиком газообразных хлоридов, образующихся при разложении NH4CI при контакте с расплавленным цинком:
NH4
C1-- NH3
+HCl
Эта реакция идет в присутствии влаги, которая в большем или меньшем количестве всегда присутствует на изделиях. Влага способствует разложению хлористых солей с образованием активной соляной кислоты. Хлористый водород взаимодействует с оксидом железа , цинка и других элементов, присутствующих на поверхности изделий и на зеркале ванны:
FeO + 2HCl--FeCl2
+ H2
O,
ZnO + 2HCl--ZnCl2
+ Н2
О.
Большинство образующихся хлоридов (алюминия, олова, сурьмы, FeCl3) испаряются, так как имеют более низкую температуру кипения, чем температура расплава цинка.
С хлоридом железа (FeCl2
) связано образование гарт-цинка — нежелательного продукта процесса горячего цинкования. При контакте с расплавленным цинком FeCl2
восстанавливается до железа: FeCl2
+ Zn--Zn Cl2
+ Fe.
Образовавшееся железо, взаимодействуя с жидким цинком,переходит в гартцинк, который осаждается на дно ванны цинкования. С увеличением количества железных солен резко увеличивается образование гартцинка. Это еще раз подтверждает необходимость хорошей промывки изделий после операций травления и декапирования.
В практике цинкования в расплаве цинка сложилось два основных процесса: «мокрый» способ цинкования и «сухой». В связи с этим и флюсовую обработку изделий выполняют двумя способами: в расплавленном флюсе или в водном растворе флюса с последующей его сушкой.
Расплавленный флюс готовят из смеси сухих солей (% по массе): NH4
C1 (55,4) и ZnCl2
(44,6). Целесообразно применять готовую соль ZnCl2 • 3NH4
Cl. Это более удобно, экономично, при этом снижается дымообразование.
Для поддержания активности флюса в него добавляют глицерин, древесные опилки, оксид цинка и другие добавки. Они предотвращают быстрое уменьшение аммиака во флюсе, делают его пенистым.
Применяют флюс, состоящий из ZnCl2
-3NH4
Cl с добавкой 6 % глицерина, или флюс, следующего состава, % (по массе): NH4
C1—42—43; ZnCl2
—42—43; ZnO—13—14.
При «сухом» способе цинкования флюсовую обработку стальные изделия проходят в водном растворе флюса с последующей сушкой в специальных сушильных печах (сушилах).
Основные составляющие водных растворов флюсования — хлорид цинка и хлорид аммония. Для повышения эффективности раствора флюсования в него добавляют различные поверхностно-активные вещества (например, ОП-7, ОП-10, сульфопонат). Растворы флюсования подогревают до 50—60 °С, что улучшает обработку изделий и способствует более быстрому высыханию флюса. Подогрев раствора обычно осуществляют паром, который пропускают через змеевик, уложенный на дно ванны флюсования.
Растворы флюсования контролируют по содержанию хлорида цинка и хлорида аммония, железа, а также по плотности и кислотности. Для поддержания необходимой кислотности флюса на дно ванны флюсования помещают чушки цинка. Следует строго следить за содержанием железа в растворе флюсования, так как его увеличение ведет к повышению образования гартцинка. Обычно, если содержание железа достигает 1,5—2 г/л в растворе флюсования, его направляют на регенерацию. После регенерации и корректировки раствор можно снова использовать для обработки изделий. Заключительная стадия флюсовой обработки — сушка флюса.
В процессе сушки на поверхности изделий образуется равномерный высушенный слой флюса. При этом происходит подогрев изделий, что облегчает нагрев ванны цинкования и улучшает технико-экономические показатели ее работы. Кроме того, образующаяся плотная пленка из солей предохраняет поверхность изделий от окисления до-погружения их в расплавленный цинк. Когда слой флюса достаточно высушен, исключаются всплески расплавленного цинка при погружении изделий в ванну цинкования.
Сушку офлюсованных изделий проводят в сушильных печах (камерах) с газовым или электрическим обогревом. Температура в печи и продолжительность обработки должны обеспечивать полное высыхание флюса на изделии. При использовании водных растворов флюсования на основе хлорида цинка и хлорида аммония оптимальная температура поверхности изделия 120—150 °С (флюс сохраняет свои свойства, не происходит его разложение). В связи с
этим режим сушки устанавливают в каждом конкретном случае в зависимости от массы и вида изделий.
1.3. Особенности подготовки полосовой стали
Особо следует остановиться на подготовке поверхности при цинковании полосы.
Общая загрязненность поверхности полосовой стали в исходном состоянии может достигать 1800 мг/м2
. Количество и вид загрязнений зависят от многих факторов, главными из которых являются условия горячей прокатки, травления, холодной прокатки, материал прокатной смазки. Загрязнения на поверхности холоднокатаной стали делятся на механические (продукты износа металла — металлическая пыль) и жировые (остатки прокатной смазки). Кроме того, при травлении горячекатаной стали образуются загрязнения в виде остатков солей железа неорганических кислот, например, FeCl3
FeSO4
, Fe2
(SO4
)3.
Поверхность полос, отожженных в колпаковых печах, может иметь загрязнения от термического разложения смазки и остатки металлической пыли. После отжига полос непрерывным способом на их поверхности могут быть остатки сухих компонентов от моющих растворов, чаще всего содержащих гель кремниевой кислоты.
Требования к чистоте поверхности полосовой стали перед цинкованием высоки и в соответствии с ними загрязненость должна быть менее 40 мг/м2
.
Современные агрегаты непрерывного горячего цинкования оснащены необходимыми средствами для подготовки поверхности полосы. В зависимости от способа горячего цинкования и конструкций агрегатов применяют разные методы подготовки поверхности полосы.
1.3.1. Химическая подготовка
Подготовка поверхности полосы с применением обезжиривающих растворов проводится по схеме: химическое и (или) электрохимическое обезжиривание, промывка и сушка .
Операцию химического обезжиривания осуществляют в один или два этапа — замочка и щеточно-моечная обработка. Основное назначение замочки — снизить вязкость и поверхностное натяжение жировой пленки и, таким образом, ослабить ее связь с основой и частично оторвать от поверхности металла. Щеточно-моечная обработка со струйной подачей обезжиривающего раствора предназначена для более полного удаления оставшейся части жировой фракции загрязнений, при этом за счет механического воздействия капроновых щеток сталь очищается от механических примесей.
Электрохимическое обезжиривание применяется для окончательной очистки полосы от последних следов загрязнений, находящихся в микроуглублениях ее поверхности. Режимы электрохимической очистки различны и для конкретных условий производства определяются экспериментальным путем.
На некоторых агрегатах цинкования после обезжиривания проводят химическое или электрохимическое травление в слабых растворах кислот. Основное назначение этой операции — активация поверхности стали за счет стравливания возможных оксидных пленок.
В настоящее время для обезжиривания поверхности полос в агрегатах цинкования используют, в основном, щелочные растворы и иногда органические растворители. В качестве основных компонентов водных щелочных растворов применяют гидроксиды (NaOH, КОН), карбонаты ;(Na2
CO3
, СаСОз), фосфаты (Na3
PO4
, Na2
HPO4
, Na4
P2
O7
, Na2
H2
P2
O7
, Ка5
Рз0ю), силикаты (Na2
Si03
, Na2
Si2
05
) и др. Для обеспечения эмульгирования и смачивания в раствор обезжиривания вводят поверхностно-активные соединения.
После электрохимического обезжиривания следует двухступенчатая струйная промывка полосы. Температура воды в ваннах промывки первой ступени 60—65, второй ступени 90—95 °С. Сушку полосы производят горячим (85— 90 °С) воздухом.
Использование в растворах обезжиривания добавок тринатрийфосфата и поверхностно-активных веществ интенсифицирует процесс щеточно-моечной обработки. По данным в ваннах струйной обработки полосы моющими растворами с температурой 60—70 °С под давлением 294,2 КПа и устройствами со щетками типа «скотч-брайт», обеспечивается коэффициент очистки поверхности 96,5 % при продолжительности операции 30 с и первоначальной загрязненности полосы 1000 мг/м2
.
1.3.2. Термическая подготовка.
Термическая подготовка поверхности полосы в агрегатах горячего цинкования, работающих по классическому способу Сендзимира, имеет много недостатков, главными из которых являются чрезмерная окисленность стали, снижение адгезионных свойств покрытия, ограничение скорости движения полосы, большой расход водорода, тепла. Более эффективен способ термической подготовки поверхности полосы в атмосфере продуктов неполного сгорания газового топлива, имеющих температуру 1000—1300 °С. В этих условиях одновременно с нагревом полосы осуществляется очистка ее поверхности от остатков прокатной смазки и других загрязнений путем их сжигания и возгонки (испарения). Высокий градиент температур между полосой и газами предохраняет поверхность стали от взаимодействия с компонентами продуктов сгорания СО2
и Н2
О, вызывающих окислительную реакцию. Содержание в продуктах горения компонентов СО и Н2
также является необходимым условием, чтобы поддерживать восстановительный характер атмосферы.
Горение топливного газа (природный газ, смесь природного с доменным, коксо-доменный и др.) протекает по уравнениям химических реакций:
СН4
+
2О2
= 2Н2
О + СО2
,
C2
H6
+ 3,5О2
= ЗН2
О + 2СО2
.
Аналогичные реакции протекают при горении других углеводородов типа Сл
Н2п
+2 (С3
Н8
, С4
Н10
).
Газовая среда в камере печи в результате неполного сгорания топлива состоит в основном из продуктов реакции СО2
, Н2Ои несгоревших молекул СО, Н2
, а также N2
; количество свободного кислорода близко к 0. В результате взаимодействия газов над поверхностью полосы протекают реакции, которые характеризуются следующими уравнениями равновесия:
Fe + H2
O--FeO + H2
,
Fe + CО2
--FeO + CO,
C + CO2
--2CO,
C + H2
O--tCO + H2
Скорость протекания этих реакций и их направление определяются термодинамическими факторами и зависят от температуры и парциального давления компонентов газовой атмосферы. Кривые равновесного состояния окислительно-восстановительных реакций и реакций осаждения- растворения углерода представлены на рис.1.
Исследования фирм «Син ниппон сэйтэцу» и «Ниппон кокан» (Япония), показывают, что зоны окисления — восстановления в соответствии с уравнениями , пересекаются с зонами осаждения растворения углерода в соответствии с уравнениями. При этом оптимальные условия работы таких печей достигаются в области температур 600—700 °С, верхний предел составляет 750 °С. Максимально допустимое значение соотношений СО/СО2
и Н2
/Н2
О определяется коэффициентом расхода воздуха. Для а = 0,90—0,98 их величина составляет 0,1—0,4 (рис. 49). На практике более точные значения соотношений окислительно-восстановительных компонентов подбираются экспериментальным путем.
По количественному составу компонентов атмосферы, газовым и тепловым режимам установлено, что в динамических условиях обработки полосы в печи прямого нагрева атмосфера продуктов горения является сильно восстановительной, если температура полосы не превышает критической .

Рис. 1. Кривые равновесного состояния окислительно-восстановительных реакций и реакций осаждения — восстановления углерода:
1, 2
— экспериментальные результаты значений СО/СО2
на агрегате цинкования НЛМК; / — адгезия покрытия неудовлетворительная; 2
— адгезия покрытия удовлетворительная
С ростом содержания в продуктах горения суммы компонентов Н2
+СО и увеличения температуры печи критическая температура повышается (рис. 4,6 ). При содержании Н2
+СО менее 1,5 % работа печи характеризуется как неудовлетворительная. Оптимальное их содержание составляет 4—5 %. Минимально допустимая температура печи для обработки в продуктах горения составляет 1204°С, при меньших температурах поверхность стали окисляется. Полностью восстановительными свойствами обладает атмосфера печи при температуре свыше 1260°С. Работа печи при температуре свыше 1310°С, как это видно из хода кривых на рис. 6, не имеет особых преимуществ.
С увеличением толщины обрабатываемой стали время, необходимое для ее нагрева до необходимых температур, увеличивается и критическая температура полосы снижается (рис. 3, 5). Таким образом, работа при повышенных температурах печи является более эффективной при цинковании толстых полос.

Рис.
2. Зависимость соотношения компонентов газовой атмосферы от коэффициента расхода воздуха а:
I
,
3 —Нг
/Н2
О; 2, 4 —
COlCOr
, 1. 2
— коксодоменный газ, температура газовой атмосферы 1000 °С; 3, 4
— природный газ температура газовой атмосферы 1370 °С

Рис. 3. Зависимость критической температуры полосы разной толщины от содержания Н2
+СО в продуктах горения при температуре печи 1316°С . Толщина полосы:
/ — 0,61 мм; 2 — 0,94
мм; 3 — 1,68 мм; 4 — 2,85 мм

Рис. 4. Зависимость критической температуры полосы толщиной 0,72 мм от содержания Н2
+СО в продуктах горения при различной температуре печи:
1
— 1204 °С; 2
— 1232 «
G
;
3 — 1260"С; 4 —
1316«G; 5—1427°С
Общая схема процесса подготовки и активации поверхности полосы при нагреве ее в продуктах неполного сгорания газового топлива с последующей обработкой в камере восстановительного нагрева представлена на рис. 7.
Наряду с удалением прокатной смазки и возможным слабым окислением металла (в зависимости от температуры продуктов сгорания и времени нагрева) на поверхности полосы может осаждаться углерод по реакции. Этот процесс происходит в зонах печи, где полоса еще не догрет до конечных температур. Выделение углерода происходит при температурах 300—600°С

Рис. 5. Зависимость критической температуры от толщины полосы при а=0,95, температуре печи 1316 °С . Цифры на кривой — время (с) обработки без окисления полосы в критических температур

Рис. 6. Зависимость критической температуры полосы от температуры печи при a=0,95 толщине полосы 0,72 мм
Образование углеродных остатков также может происходить при неполном выгорании масел, если их количество на полосе в исходном состояния превышает 1000 мг/м2
.
После разогрева полосы до 500 °С одновременно с выделением углерода создаются условия для протекания реакции его растворения. На выходе из камеры нагрева поверхность полосы полностью или до минимума освобождается от остатков углеродистых выделений. При очень высоких степенях зажиренности полосы (3875 г/м2
) участки поверхности не оцинковываются из-за остатков смазки в микроуглублениях стальной основы.
В случае применения низкотемпературной (до 500— 550 °С) обработки полосы (для предварительно отожженной стали или продукции с сохранением прокатного наклепа) незначительное количество углерода удаляется в k;i мере восстановительного нагрева по реакции с водой, образующейся при восстановлении пленки оксидов по реакции.
Для удаления тонкой оксидной пленки, которая образуется в продуктах горения при нагреве до 550 °С требуется определенное время. Согласно диаграмме равновесия Fe-О2
при температурах до 570 °С и низком содержании кислорода на поверхности стали происходит образование Fe3
O4
, восстановление которого осуществляется по реакции:
Fe3
O4
+ 4H2-»3Fe + 4H2
O.
В процессе подготовки к цинкованию полосу подвергают термической обработке для придания полосе необходимых механических свойств. В зависимости от способа цинкования и конструкций агрегатов для этих целей используют различное термическое оборудование, которое будет рассмотрено ниже.
После подготовительных операций изделия погружают в ванну с расплавленным цинком и выдерживают в нем определенное время, при этом изделия часто перемещают в расплаве цинка, извлекают из расплава и охлаждают. Погружение, перемещение и извлечение изделий часто осуществляют с помощью специальных устройств и приспособлений, конструкции которых разрабатывают в зависимости от вида цинкуемых изделий.


Рис. 7. Зависимость процессов подготовки и активации поверхности металла от температуры нагрева стальной полосы в камерах печи агрегата цинкования:
а
— испарение жировых загрязнений, б — протекание окислительно-восстановительных реакций, в
— осаждение и растворение
углерода; 1—камера безокислительного нагрева, 2
— камера, восстановительного нагрева.
2. ВЛИЯНИЕ ХИМИЧЕСКОГО СОСТАВА СТАЛИ, ТЕМПЕРАТУРЫ И ПРОДОЛЖИТЕЛЬНОСТИ ЦИНКОВАНИЯ НА ТОЛЩИНУ, СТРУКТУРУ И СВОЙСТВА ПОКРЫТИЯ
Химический состав стали оказывает большое влияние на взаимодействие жидкого цинка со сталью. Присутствие в стали отдельных элементов может существенно изменять характер этого взаимодействия, вызывая изменение строения, толщины и свойств образующегося цинкового покрытия.
Наиболее часто цинкованию подвергают низкоуглеродистую сталь, содержащую: 0,05—0,24 % С; 0,01—0,37% Si; 0,2—0,65% Мп; 0,02—0,06% S; 0,02—0,07% Р; 0,1— 0,3 % Си; 0,1—0,3 %Сг; 0,1—0,3 % №.
Эти составы соответствуют сталям СтЗ, 08 (всех степеней раскисления), стали 10, стали 20, из которых изготавливают лист, полосу, трубы, проволоку и другие металлоизделия.
Влияние углерода
Углерод является важнейшим элементом, определяющим как структуру, так и все свойства стали, ее прочность и поведение при эксплуатации. Он может влиять на реакцию взаимодействия стали с жидким цинком и в конечном итоге на структуру, толщину и свойства образующегося цинкового покрытия.
В. 3. Бугаков считал, что различие в строении диффузионных слоев при цинковании сталей с различным содержанием углерода определяется не столько самим содержанием углерода, сколько структурой, отвечающей данному составу.
Д. Хорстманн и Г. Баблик также пришли к выводу, что характер влияния углерода на реакцию стали (или чугуна) с жидким цинком определяется формой, в которой он в них присутствует. Как известно, углерод может быть в виде графита или высокоуглеродистой фазы — цементита FезС. Цементит в свою очередь может быть как структурная составляющая перлита, а также сорбита и троостита. Кроме того, углерод может входить в состав мартенсита, который является пересыщенным твердым раствором углерода в а-железе. Таким образом, углерод, в какой бы форме не находился, присутствует в стали как гетерогенная составляющая.
Сталь с ярко выраженной гетерогенной структурой дает (большие потери в жидком цинке, т. е. быстрее растворяется,
чем сталь со структурой, отличающейся более однородным распределением углеродистых соединений. Высокоуглеродистые стали с крупнозернистой структурой сильнее подвергаются воздействию жидкого цинка.
В заключение можно отметить, что углерод ускоряет растворение стали только тогда, когда он присутствует в составе зернистого или пластинчатого перлита. Если же углерод находится в виде троостита, сорбита, цементита или графитных включений, то заметного изменения в скорости растворения стали в жидком цинке по сравнению с чистым железом не наблюдается.
Существует мнение, что повышение в стали содержания углерода способствует образованию и росту в слое покрытия 61
и £-фаз, что приводит к увеличению толщины цинкового покрытия.
Согласно Редекеру и Фрие, при одинаковых условиях цинкования толщина слоя цинкового покрытия на углеродистых сталях, содержащих >0,15 % С, увеличивается примерно на 10 % по сравнению со сталями, содержащими <0,1 %С.
Влияние кремния
Из других элементов, присутствующих в стали, особый интерес представляют кремний, марганец и фосфор. Большинство исследователей считает, что эти элементы повышают скорость взаимодействия между сталью и жидким цинком, в результате чего в покрытии увеличивается слой сплава.
При высоком содержании в стали кремния и фосфора покрытие в основном состоит из железоцинковых соединений, представляющих собой столбчатые 61
- и £-кристаллы. Особенно сильно развита £-фаза. Слой чистого цинка (n-фаза) в таких покрытиях очень тонкий, а иногда полностью отсутствует. При этом оцинкованная поверхность приобретает светло-серый цвет.
При цинковании сталей с 1,2 % Si слой покрытия полностью состоит из столбчатой £-фазы. Присутствие в покрытии толстых слоев £- и 61
-фаз снижает его пластичность. .Способность к деформации у таких покрытий очень низкая и уже при малейших изгибающих напряжениях они легко скалываются с изделия.
При цинковании марганцовистых сталей в структуре покрытия наблюдаются Г-, 61
, £- и n-фазы. Однако и в этом случае наиболее развитой является Е-фаза, кристаллы ко-
торой часто неравномерно располагаются по толщине покрытия.
Определенное влияние на взаимодействие стали с жидким цинком и на скорость образования и рост железоцинковых соединений оказывают добавки хрома, никеля, титана, ванадия, циркония, серы, азота. Однако этот вопрос изучен недостаточно полно и чтобы судить о их влиянии необходимо в каждом конкретном случае учитывать не только их содержание, но и условия цинкования (например, температуру, состав расплава цинка).
Важной качественной характеристикой цинкового покрытия является сцепление его со стальной основой. Она имеет особое значение для изделий, которые после цинкования подвергаются штамповке, глубокой вытяжке, изгибу и т. п. К таким изделиям в первую очередь следует отнести полосовой прокат.
Присутствующие в стали элементы оказывают определенное влияние на адгезию покрытия (на прочность его сцепления с поверхностью цинкуемого изделия). Прежде всего рассмотрим влияние кремния.
При термической обработке стальной полосы на ее поверхности происходит образование пленки из соединений кремния. По данным концентрация таких образований на поверхности стали превышает в 10—100 раз концентрацию кремния в самой стали. Кремний, концентрирующийся на поверхности стали по границам зерен и в самих зернах образует оксидную пленку типа MnSiO3
. Толщина пленки растет с увеличением содержания кремния в стали, что приводит к образованию грубой шелушащейся поверхности, плохо смачиваемой расплавленным цинком. Пленка оксидов препятствует образованию и гомогенному распределению тройного соединения Fe—Al—Zn в диффузионном слое покрытия, что снижает его адгезионные свойства.
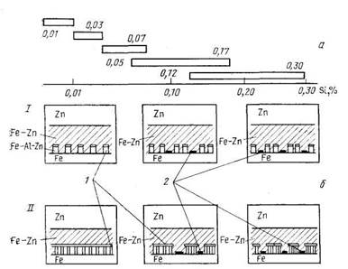
В связи с этим при цинковании спокойных сталей, содержащих до 0,3 % Si, в расплаве цинка необходимо поддерживать более высокое содержание алюминия (не менее 0,2 %) для интенсификации роста тройного соединения Fe—-Al—Zn (рис.8,9).
В соответствии с теоретическими основами окислительно-восстановительных реакций, происходящих на поверхности полосы в процессе ее термической обработки, для каждого режима существует критическое содержание легирующего элемента, предопределяющее возможность образования его оксидных пленок.

Рис. 8. Зависимость структуры цинкового покрытия от содержания кремния в стали (а)
и алюминия в расплаве цинка (б):
1 — слой, определяющий сцепление, 2
— цинкофобная пленка; I — 0,15% А1; 11 —
0,20 % А1

Рис. 9. Зависимость прочности сцепления покрытия с основой от содержания кремния в стали (стрелкой показано направление повышения сцепления)
Высокое содержание кремния в непрерывнолитых сталях отражается на внешнем виде оцинкованной поверхности: покрытие теряет блеск и приобретает сероватый оттенок. На изделиях могут появляться неоцинкованные участки. В этом случае для улучшения прочности сцепления
покрытия рекомендуется более тщательная подготовка поверхности, заключающаяся в удалении приповерхностного слоя, обогащенного кремнием и его соединениями .
Для повышения прочности сцепления покрытия японские исследователи рекомендуют проводить дополнительную термическую обработку оцинкованной полосы (нагрев до 280 °С, выдержка 24 ч или 5 ч ). При этом происходит упорядочение структуры покрытия, слой интерметаллидов становится однородным в результате диффузии алюминия в слое покрытия и относительного выравнивания его концентрации в слое интерметаллидов.
Таким образом, выравнивание концентрации алюминия в граничных со стальной основой слоях способствует улучшению адгезионных свойств покрытия.
Хорошее смачивание цинком спокойных и полуспокойных сталей достигается при использовании комбинированной химико-термической активации их поверхности с применением окислительного предварительного нагрева полосы в протяжной печи до 300—350 °С и восстановительного нагрева в атмосфере диссоциированного аммиака (75 % Н2
+ 25 % N2
) до 680—700 °С с охлаждением до 470—490 °С в защитно-восстановительной атмосфере. Цинкование проводится в расплаве цинка, содержащего 0,16—0,18% А1 и 0,10—0,20 % РЬ при 450±5°С в течение 3,5—4,5 с.
Аналогичные результаты получают при цинковании на агрегате НЛМК спокойных и полуспокойных сталей с содержанием кремния до 0,3 % при использовании только термической активации поверхности металла в безокислительной атмосфере продуктов неполного сгорания газа.
На прочность сцепления покрытия с основой металла помимо кремния оказывает влияние углерод и повышенное содержание других легирующих элементов (Al, Cr, Ti). Эти элементы могут образовывать на поверхности металла оксидные пленки, а углерод — цементит Fe3
C, что ухудшает смачивание стали расплавом цинка. Поэтому на практике стараются уменьшить концентрацию указанных элементов до возможных пределов, а подготовку, термическую обработку и цинкование полосы проводить по вышеуказанны: режимам, применяя отжиг полосы при возможно высоко и температуре — более 800 °С (оптимально 880 °С) в течение 15 с1
.
Влияние режима цинкования
Температура расплава цинка и продолжительность процесса цинкования являются важными факторами, с помощью которых можно существенно влиять на процесс жидкофазного цинкования, толщину, структуру и свойства образующегося цинкового покрытия.
Одним из решающих факторов, определяющих качество покрытия (его структуру, внешний вид, свойства), является температура цинкования.
Отметим, что при температурах до 490 °С и выше 520 °С на стали образуются плотные, однородные, хорошо сцепленные с ней железоцинковые слои. В интервале 490—520 °С на стали возникают пористые, плохо сцепленные с поверхностью, железоцинковые слои.
Как известно, цинковые покрытия, полученные в расплаве цинка, состоят из слоя железоцинковых соединений, расположенных непосредственно на стальном основании, и слоя чистого цинка (n-фаза). Последняя фаза возникает при извлечении изделия из расплава цинка.
В слое цинкового покрытия, полученного на стали СтЗ при 460 °С имеются все структурные составляющие: а-, Г-, 61
, £-, n-фазы. С увеличением температуры цинкования до 480 °С интенсивно растет £-фаза, которая в этом случае занимает большую часть покрытия. При этом увеличивается общая его толщина. Интенсивный рост £-фазы приводит к тому, что часть £-кристаллов внедряется в тонкий слой чистого цинка и иногда выходит на поверхность покрытия. Отделяющиеся или ветвеобразно расположенные £-кристаллы значительно уменьшают его пластичность. Коррозионная стойкость таких покрытий также снижается.
Таким образом, при 440—460 °С структура полученных цинковых покрытий более компактна, чем при 470—480 °С.
Кинетика изменения структурных составляющих цинкового покрытия на стали СтЗ представлена на рис. 10. В интервале температур 440—480 °С с увеличением продолжительности цинкования толщина Г-фазы увеличивается незначительно и составляет примерно 1-3 мкм.

Рис. 10. Кинетика изменения структурных составляющих цинкового покрытия, полученного в расплаве цинка при температуре, °С:
а —
440; б — 450; в—460; г —470; д
С увеличением продолжительности цинкования происходит постоянное увеличение толщины 6 -фазы. Так, при 440 °С толщина 61
- фазы увеличивается от 2 мкм при выдержке 15 с до 17 мкм при выдержке 10 мин, а при 480 °С—от 3 мкм при выдержке 15 с до 27 мкм при выдержке 10 мин. С увеличением температуры от 440 до 480 °С при выдержке 10 мин толщина Г-фазы увеличивается от 17 до 27 мкм. Таким образом, определяющим фактором роста Г-фазы в интервале температур 440—480 °С является продолжительность цинкования.
При температуре 440—460 °С и времени выдержки от 1 до 5 мин слой £-фазы увеличивается от 15 до 30 мкм. С увеличением продолжительности цинкования от 5 до 10 мин толщина слоя £-фазы остается постоянной, а при 470- 480 °С — несколько уменьшается (на 2—3 мкм).
Толщина n -фазы составляет 20—30 мкм и с увеличением температуры цинкования и уменьшения скорости извлечения уменьшается. Продолжительность цинкования не влияет на рост n -фазы.
Таким образом, толщина покрытия для сталей подобного химического состава при одинаковом состоянии их пoверхности зависит от температуры расплава цинка, его состава, продолжительности цинкования, а также от скорости извлечения при условии одинакового способа извлечения.
Если в расплаве отсутствуют добавки, подавляющие рост интерметаллических соединений, то толщина слоя железоцинковых соединений зависит от температуры этого расплава и продолжительности пребывания в нем изделия и не зависит от скорости извлечения. Толщина слоя чистого цинка обусловлена скоростью извлечения изделия из расплава, температурой расплава и не зависит от продолжительности цинкования. С повышением температуры расплава и уменьшением скорости извлечения изделия из него слои чистого цинка уменьшается.
С изменением температуры цинкования резко изменяется структура покрытия и на низколегированных сталях.
Таким образом, повышение температуры цинкования и увеличение продолжительности выдержки изделия в расплаве цинка приводят к получению толстых покрытий. Пластичность таких покрытий низкая и при изгибе, ударе они легко откалываются. Включения железоцинковых кристаллов в слое чистого цинка ухудшают также коррозионную стойкость покрытия.
3. ВЛИЯНИЕ ХИМИЧЕСКОГО СОСТАВА
РАСПЛАВА ЦИНКА НА СВОЙСТВА ЦИНКОВЫХ ПОКРЫТИЙ
Химический состав расплава цинка оказывает большое влияние на процесс цинкования и свойства образующихся покрытий.
Обычно в промышленных условиях цинкование осуществляют в расплаве цинка, содержащем примеси различных металлов. Примеси могут попадать в расплав цинка несколькими путями:
1) с цинком, используемым для приготовления расплава (примеси Pb, Fe, Си, Cd и др.); 2) в процессе цинкования из-за частичного растворения цинкуемых стальных изделий и применяемого погружного оборудования (примеси, Fe, Si, Mn, Си и др.); 3) в результате специального введения в расплав различных элементов (Al, Mg, Ni, Sn, Pb и др.) с целью улучшения процесса цинкования и свойств образующихся покрытий.
Присутствие в расплаве цинка различных элементов может по-разному влиять на физико-химические свойствакак расплава цинка (температуру плавления, вязкость, поверхностное натяжение), так и получаемых цинковых покрытий (толщину, структуру, коррозионную стойкость).
Из всего многообразия элементов, которые могут присутствовать в расплаве цинка на промышленных агрегатах цинкования, следует выделить прежде всего алюминий и железо. Именно содержание этих элементов в расплаве цинка во многом определяет структуру и качество образующихся покрытий, их прочность сцепления со стальной основой. Технико-экономические показатели процесса цинкования также зависят от содержания, своевременной и правильной корректировки расплава цинка по этим элементам.
Влияние алюминия
«Алюминий является одной из добавок специально вводимых в расплав цинка. В практике цинкования давно было известно, что введение в расплав цинка небольших количеств алюминия улучшает процесс цинкования (повышается жидкотекучесть расплава цинка, уменьшается его окисление) и способствует получению равномерных блестящих «цинковых покрытий, которые обладают хорошей пластичностью.
Расплав цинка, содержащий добавку алюминия, значительно меньше окисляется, так как на его поверхности образуется защитная пленка из Аl2
Оз, которая взаимодействуя с ZnO, образует шпинели, предохраняющие расплав от окисления. Возникновение такой пленки обусловлено большим сродством алюминия к кислороду, чем цинка.
Многочисленные исследования показали, что присутствие алюминия в расплаве цинка замедляет реакцию взаи|модействия между сталью и жидким цинком и препятствует образованию промежуточного железоцинкового сплава.
Замедляющее действие добавки алюминия объясняется образованием на поверхности стали защитного слоя из соединения Fe2
Al5
или FeAl3
, который тормозит реакцию между сталью и жидким цинком. Этот защитный слой очень тонкий и его можно обнаружить с помощью специальных исследований, например, электронной микроскопии.
Следует отметить, что действие защитного слоя кратковременно; с течением времени он разрушается и происходит реакция между сталью и жидким цинком. Есть сведения, что скорость реакции между сталью и цинком после инкубационного периода зависит от содержания алюминия в расплаве. При содержании в расплаве цинка 0,1 % А1 реакция протекает интенсивнее, чем в расплаве, не содержащем алюминия.
При цинковании в легированном алюминием расплаве общая толщина покрытия уменьшается. По данным Редекера, Петерса и Фрие при цинковании в расплаве, содержащем 0,15—0,25 % А1 толщина цинкового покрытия уменьшается примерно на 40 % • Дальнейшее увеличение содержания алюминия в расплаве не оказывает существенного влияния на толщину покрытия.
Многие исследователи отмечают положительное влияние алюминия на пластичность цинкового покрытия. Однако в работе сообщается, что это свойство сохраняется при содержании в расплаве до 0,3 % А1.
С увеличением концентрации алюминия в расплаве цинка (0—0,05—0,1—0,2—0,3 % А1) толщина диффузионного слоя соответственно уменьшается и составляет 20; 14; 6; 1 и менее
1 мкм.
Толщина диффузионного слоя покрытия оказывает существенное влияние на прочность сцепления покрытия со стальной основой. В условиях непрерывного горячего цинкования прочность сцепления зависит также от температуры полосы и расплава цинка и продолжительности цинкования.
Влияние алюминия на прочность сцепления покрытия Роберт объясняет следующим образом. Вследствие более высокого термодинамического сродства алюминия к железу по сравнению с цинком на поверхности полосы образуется слой железоалюминиевого соединения. Образующиеся вслед за этим железоцинковые соединения имеют большую способность к диффузии, так как температура плавления цинка по сравнению с алюминием ближе к температуре цинкового расплава. Поэтому цинк или железоцинковые соединения диффундируют в алюминий, содержащий промежуточный слой, или образуют этот слой вместе с железоалюминием. При этом скопления железо-алюминиевых и железоцинковых соединений срастаются в один слой или смесь фаз. После выхода полосы из расплава цинка процесс диффузии железоцинковых соединений в алюминийсодержащий промежуточный слой под влиянием температуры продолжается во времени. Это сопровождается ростом толщины диффузионного слоя и снижением концентрации алюминия в расплаве цинка. Если способность алюминийсодержащего промежуточного слоя растворять цинк или железоцинковые соединения превысит определенный предел, то инкубационный период заканчивается, тормозящее действие алюминия прекращается, рост железоцинкового слоя ускоряется. При этом прочность сцепления покрытия снижается.
При повышении температуры полосы (385—550 °С) на входе в расплав цинка в слое покрытия растет зона железоцинковых соединений и увеличивается содержание алюминия в виде соединений Fe2Al5 и FeAl3
.
Следует отметить, что о содержании алюминия в слое покрытия нет единого мнения. По данным Хорстманна происходит уменьшение алюминия в слое покрытия, в то время как японские исследователи наблюдали обратное явление.
Вследствие высокой активности алюминия, его содержание в покрытии всегда больше, чем в расплаве цинка. С увеличением толщины полосы и ее температуры на входе в расплав этот эффект выражен более сильно, что обусловлено увеличением продолжительности пребывания полосы в расплаве цинка.
Прочность сцепления покрытия со стальной основой растет с увеличением температуры полосы и содержания алюминия в железоалюминиевом соединении.
Влияние железа
Железо — вредная примесь в процессе цинкования и необходимо стремиться к тому, чтобы его содержание в расплаве цинка было минимальным.
В расплаве цинка всегда присутствует некоторое количество железа. Оно попадает в расплав главным образом в результате взаимодействия жидкого цинка с поверхностью цинкуемого изделия, находящимися на ней слоями
железа, а также с частями погружного оборудования и корпусом ванны цинкования (если она металлическая). Так как растворимость железа в цинке невелика (при температуре расплава 450—460 °С составляет от 0,01 до t),03 %), оно присутствует в расплаве цинка в виде железо-цинковых соединений (так называемого гартцинка или дроса) . Имея более высокую плотность, чем цинк, гартцинк постепенно оседает на дно ванны. Однако вследствие перемешивания расплава цинкуемыми изделиями некоторое количество гартцинка распределяется по всему объему ванны. Это увеличивает вязкость расплава цинка и снижает его способность смачивать стальную поверхность. Кроме того, увеличивается неравномерность распределения тепла в расплаве и ухудшается качество образующихся покрытий и внешний вид оцинкованной поверхности .
Содержание железа в расплаве возрастает с увеличением температуры цинкования. С увеличением содержания железа в расплаве значительно увеличивается толщина покрытия, а в верхних слоях его наблюдаются включения, представляющие собой железоцинковые соединения. В результате ухудшается пластичность, коррозионная стойкость и внешний вид покрытия (оно становится шероховатым).
С целью уменьшения содержания железа в расплаве цинка необходимо хорошо промывать изделия после травления, сокращать продолжительность их пребывания в расплаве цинка, стремиться проводить цинкование при 440— 460 °С, а также своевременно удалять со дна ванны образовавшийся гартцинк.
Скорость растворения и накопления железа уменьшается в присутствии алюминия. Замедляющее действие алюминия было рассмотрено выше, где также отмечалось, что его влияние распространяется на определенный отрезок времени — инкубационный период, в течение которого не происходит рост железоцинковых фаз.
С увеличением продолжительности цинкования слой железоалюминиевого соединения под воздействием диффузионных процессов разрушается и процесс эрозии стальной основы активизируется. Для реальных условий цинкования на непрерывных агрегатах продолжительность цинкования не превышает инкубационного периода. При содержании в расплаве 0,09—0,14 % А1 инкубационный период составляет 30—60 с, а с концентрацией алюминия более 0,15 % этот период увеличивается до 300 с. При накоплении в расплаве железа инкубационный период уменьшается .
С увеличением температуры расплава цинка инкубационный период сокращается и рост железоцинковых соединений происходит значительно быстрее. При этом интенсивность образования дросовых отходов также возрастает. В дросе обычно содержатся соединения железа с цинком в виде FeZn2
(нижний дрос) и Fe2
Al5
+FeZn2
(верхний дрос). При содержании 0,09—0,14 % Аl в расплаве цинка отмечается рост содержания нижнего дроса, а при 0,15 % А1 и выше доля нижнего дроса сокращается и увеличивается количество всплывшего верхнего дроса, в котором резко уменьшается содержание б-фазы (FeZn2
). Так, соотношение железосодержащих фаз Zn и А1 в верхнем дросе агрегата непрерывного цинкования НЛМК при содержании 0,18—0,22 % А1 в расплаве цинка составляет 0,2—0,4, т. е. преобладает соединение Fe2
Al5
.


Рис. 11. Влияние содержания алюминия (а),
свинца (б) в расплаве и температуры расплава ванны (s) на смачиваемость (поверхностное натяжение) стали цинком :
1 — без добавок свинца в расплаве цинка; 2 —
содержание РЬ в расплаве цинка 0,20 % (по массе); 3
— 0,15 % (по массе) А1, температура расплава 460 °С; 4 — 0,20% (по массе) А1 без добавок свинца
Значительное снижение количества дроса отмечается при увеличении содержания в расплаве цинка до 0,25— 0,40 % А1 и 0,40 % РЬ.
Для ведения непрерывного процесса горячего цинкования полосы без образования дросовых выделений рекомендуется2
применять расплав состава: 0,001—0,01 % Mg-0,15—0,40 % А1; 0,40 % РЬ, остальное Zn.
Влияние на растворение железа других элементов (свинца, кадмия), применяемых в качестве добавок в расплав цинка на непрерывных агрегатах, практически незначительно.
Основное назначение добавки свинца в расплав цинка — понижать его вязкость и увеличивать смачиваемость, а также обеспечивать образование узоров кристаллизации цинка.
С увеличением содержания алюминия в расплаве цинка в пределах 0—0,2 % А1 (без добавки свинца) смачиваемость поверхности полосы цинком значительно уменьшается (рис. 11, кривая 1).
Добавка в расплав цинка 0,2 % РЬ обеспечивает хорошую смачиваемость, которая практически не зависит от содержания алюминия в расплаве.
Когда в расплаве цинка поддерживается постоянное содержание алюминия (0,15%), то оптимальный уровень смачиваемости достигается при 0,05 % Рb. Дальнейшее увеличение содержания свинца практически не влияет на смачиваемость. Наконец, при отсутствии .В расплаве
цинка свинца повысить уровень поверхностного натяжения можно за счет ведения процесса цинкования в области высоких температур (не менее 495 °С).
4. Основные способы цинкования полосы
Среди известных способов горячего цинкования листов и полос, различающихся главным образом методами подготовки стали к цинкованию, основными являются «Сендзи-мир» или «Армко-Сендзимир», «Юнайтед стейтс стил», «Кук-Нортман» и «Селас».
4.1.Способ «Армко-Сендзимир»
В качестве исходного материала для цинкования применяется холоднокатаная неотожженная стальная полоса. На ее поверхности имеются остатки прокатной смазки, а также естественная оксидная пленка. Для подготовки поверхности полосы к цинкованию ее подвергают нагреву в печи с окислительной атмосферой до 350—500 °С. При этом загрязнения органического происхождения сгорают, а на поверхности стали образуется слой оксида железа толщиной до 3 мкм.
Для активации поверхности стали полосу нагревают в печи с восстановительной азотно-водородной атмосферой при высоком содержании сухого водорода (75 %). Обычно термическую обработку полосы проводят при 750—950 °С с охлаждением до 450 °С перед погружением в ванну с расплавом цинка.
4.2. Способ «Юнайтед Стейтс Стил»
В отличие от цинкования по способу «Армко-Сендзимир» при данном способе подготовку поверхности полосы проводят электрохимическим обезжириванием в щелочном растворе. После промывки и сушки полосу термически обрабатывают сразу в восстановительной азотно-водородной атмосфере. Так как на поверхности полосы имеется тишь тонкий слой естественной оксидной пленки, это позволяет вести процесс активации при содержании водорода в восстановительной атмосфере 10—15% и температуре нагрева 530—950 °С. Низкотемпературная обработка стали (530—560 °С) обеспечивает цинкование полосы с сохранением исходных ее свойств, достигнутых предварительным отжигом в колпаковых печах или холодной прокаткой.
По этому принципу работают все агрегаты горячего цинкования фирмы «Юнайтед стейтс стил», США.
4.3.Способ «Кук-Нортман»
Этот способ применяется в США с 1953 г. и предусматривает подготовку поверхности листов и полос, а также их отжиг и дрессировку на отдельно стоящем оборудовании. Непосредственно в агрегатах цинкования полосу факультативно подвергают химическому обезжириванию в щелочных растворах и кислотному травлению. Для активации поверхности на полосу наносят равномерный слой флюса из смеси хлорида цинка и хлорида аммония с различными добавками. Затем полосу пропускают через протяжную печь с защитной атмосферой, где при нагреве до 200— 250 °С и на ее поверхности происходит высушивание слоя флюса, после чего погружают в ванну с расплавом цинка. Характерной особенностью этого процесса является использование индукционного нагрева расплава цинка, что обеспечивает быструю компенсацию больших потерь тепла, вызываемых поступающей в расплав охлажденной полосой (200 С).
4.4.Способ «Селас»
Этот способ первоначально применяли для подогрева полосы перед цинкованием до температур 480—530 °С в восстановительной атмосфере высокотемпературных продуктов сжигания топлива. Впоследствии его стали использовать для подготовки поверхности полосового металла. Суть способа заключается в следующем. Холоднокатаную полосу подают сверху в башенную печь с керамическими горелками фирмы «Селас». Находящиеся на поверхности полосы остатки прокатной смазки под воздействием высоких температур атмосферы испаряются, а полоса без окисления нагревается до 650—680 °С. Далее полоса проходит через печные камеры с защитной атмосферой при содержании водорода до 15 % и точкой росы минус 4,5 С, где охлаждается до температуры цинкования и поступает в ванну с расплавом цинка.
По данным Тернера способ «Селае» имеет определенные ограничения для его осуществления: температура продуктов сжигания - выше 1316°С, а температура Сталине более 927 °С. В составе продуктов сгорания сумма восстановительных компонентов СО + Н2
должна составлять 3—8 %, при содержании 7—8 % СО2
и 8—20 % Н2
О, наличие свободного кислорода исключается.
5. ЦИНКОВАНИЕ ТРУБ
И ПРИМЕНЯЕМОЕ ОБОРУДОВАНИЕ
Жидкофазный способ цинкования (в расплаве цинка) наиболее широко используют для цинкования труб. Этот способ позволяет быстро наносить на трубы слой цинкового покрытия; при этом толщина покрытия в зависимости oт требований и режима нанесения может составлять от нескольких десятков до сотен микрон. Установки цинкований жидкофазным способом относительно просты, позволяют широко механизировать и автоматизировать процесс несения покрытия. Это дает возможность создавать поточные высокомеханизированные линии жидкофазного цинкования труб большой производительности.
Обычно этим способом цинкуют сварные (реже бесшовные) трубы диаметром 9,5—350 мм, длиной до 7 м.
Как правило, при цинковании труб в расплаве цинка слой покрытия образуется одновременно на обеих поверхностях трубы. Однако, в настоящее время существуют установки, позволяющие наносить цинковое покрытие из расплава лишь на одну из поверхностей трубы — наружную или внутреннюю. Основные типы таких установок будут рассмотрены ниже.
Технология цинкования труб жидкофазным способом состоит из операции подготовки их поверхности к цинкованию и самого процесса нанесения покрытия.
При подготовке труб к цинкованию с их поверхности удаляют жировые и другие загрязнения, окалину, ржавчину, наносят слой флюса.
Процесс нанесения покрытия заключается в погружении труб в ванну с расплавленным цинком, выдержке в нем определенное время (при этом трубы перемещают в расплаве цинка), извлечении труб из расплава.
5.1. «Сухой» способ
Рассмотрим так называемый сухой способ цинкования труб который наиболее широко применяется в настоящее время в мировой практике.
Технологическая схема цинкования труб «сухим» способом состоит в следующем . После изготовления и контроля трубы поступают в отделение цинкования На поверхности трубы не должно быть дефектов (например значительных рисок, вмятин, следов маркировки),ухудшающих их товарный вид. Концы труб должны быть обрезаны под прямым углом и не иметь заусенцев.
Обработку труб в процессе подготовительных операций (обезжиривание, травление, декапирование, промывку флюсование) проводят поштучно или пакетом, в зависимости от вида и размера труб, а также необходимой производительности участка цинкования. Для труб небольшого диаметра чаще применяют пакетную обработку.
Трубы, поступившие на цинкование, промывают в воде Для этого пакет труб (массой около 5 т) погружают в ванну с горячей (70-90 °С) проточной водой, где выдерживают в течение 5 мин. В процессе промывки с поверхности труб удаляются различные загрязнения (например металлическая пыль, стружка, рыхлая окалина). При этом трубы нагреваются, что облегчает их последующее обезжиривании.
Удаление жировых и других загрязнений с поверхности труб осуществляют путем химической обработки их в щелочных растворах. Широко применяют водные щелочные растворы следующего состава, г/л:
1) 150—200 едкого натра; 70—60 жидкого стекла;
2) 30—100 тринатрийфосфата; 0,2—0,6 эмульгатора ОП-7
(ОП-10) или 3-5 синтанола ДС-10.
Обработку труб проводят при температуре раствора 70-90°С в течение 10—15 мин.
Следует отметить, что,в основном, обезжиривают холоднодеформированые трубы; для водогазопроводных труб, изготовленных печной сваркой, а также горячекатаных труб эта операция не обязательна.
После обезжиривания пакет труб промывают в горячей (70—90 °С) проточной воде в течение 5 мин для удаления с поверхности труб остатков обезжиривающего раствода и других загрязнений.
Удаление с поверхности труб ржавчины и окалины обычно производят химическим методом (травлением). Для этого применяют 18—22%-ные водные растворы серной кислоты или
20-25 % -ные водные растворы соляной кислоты.
Иногда используют травильные растворы, содержащие серную и соляную кислоту. Для исключения «перетрава» поверхности труб в травильные растворы вводят ингибиторы (ЧМ,
пку-м, КПИ-3 и др.). Например, для травления труб перед цинкованием применяют раствор следующего состава, г/л 140—160 серной кислоты: 40—60 соляной кислоты; 0,5—1,0 ингибитора ПКУ-М.

Ванны обезжиривания и травления можно оборудовать специальными устройствами для покачивания труб в процессе их обработки в ванне; это сокращает время обработки и улучшает качество подготовки поверхности труб.
После травления пакет труб промывают в воде, чтобы удалить с их поверхности остатки травильного раствора и солей железа. После травления в растворе соляной кислоты или в смеси соляной и серной кислот трубы промывают в холодной (15—30 °С) проточной воде в течение 3— 5 мин. При травлении труб в растворе серной кислоты их промывают вначале в горячей (70—90 °С), а затем в холодной (15—30 °С) проточной воде в течение 5—6 мин.
Перед флюсованием поверхность активируют. Эту операцию, называемую декапированием (подтравливанием), осуществляют в водном растворе соляной кислоты (80— 150 г/л) при 15—30 °С в течение 3—4 мин. В процессе активации происходит дополнительное подтравливание труб, а также переход сернокислых солей железа в солянокислые, которые легче смываются холодной проточной водой с поверхности труб.
После декапирования пакет труб промывают в холодной (15—30 °С) проточной воде в течение 1—3 мин.
При цинковании «сухим» способом операцию флюсования труб проводят в отдельной ванне с водным раствором флюса определенного заданного состава. После флюсования трубы поштучно направляют в сушильную печь, где происходит предварительный их нагрев и высушивание флюса.
Таким образом, при «сухом» способе цинкования поверхность труб, поступающих в ванну с расплавом цинка, покрыта слоем подсушенного флюса определенного состава.
Флюсование труб чаще всего осуществляют в водных растворах, содержащих хлорид цинка (500—800 г/л) и хлорид аммония (70—150 г/л). В раствор добавляют эмульгатор (1—2 г/л). Флюсование проводят при температуре раствора 50—60 °С в течение 1—3 мин.
Сушку офлюсованных труб проводят в проходных сушильных печах при температуре 150—200 °С. В процессе высушивания слоя флюса трубы нагреваются, что благоприятно сказывается на тепловом режиме ванны цинкования.
Из сушильной печи трубы с помощью питателей поштучно погружают в ванну с расплавленным цинком, где их перемещают специальными шнеками.
При «сухом» цинковании в расплав цинка добавляют примерно 0,1—0,2 % А1, что уменьшает окисление цинка. В следствие образования на поверхности расплава защитной оксидной пленки из А12
О3
. Кроме того, добавка алюминия способствует получению более пластичных цинковых покрытий хорошего внешнего вида.
Цинкование труб ведут при температуре расплава цин-KB 450—470 °С. Время пребывания труб в расплаве устанавливают в зависимости от сортамента, марки стали труб необходимой толщины слоя цинкового покрытия.
После цинкования трубы извлекают из ванны, удаляют с их наружной и внутренней поверхности излишки цинка с помощью обдувки и продувки сжатым воздухом, охлаждают в ванне с водой или на охладительном рольганге, правят на правильной машине и после контроля отправляют на склад готовой продукции.
Обычно цинкование труб «сухим» способом осуществляют на автоматизированных агрегатах горизонтального типа с машиной цинкования, работающей без применения ручного труда. На таких агрегатах цинкуют трубы диаметром 9,52—165,1 мм с толщиной стенки 3—4 мм. Трубы автоматически загружают в ванну с расплавленным цинком, где поштучно перемещают с помощью шнековых устройств.
Существуют агрегаты, в которых трубы автоматически перемещают с момента подачи их в сушильную печь до выдачи с ванны охлаждения или пассивации. Операции продувки и обдувки труб после цинкования полностью автоматизированы.
5.2. «Свинцовый» способ
Цинкование электросварных тонкостенных (толщина стенки 1,2—1,8 мм) труб диаметром 90—350 мм, длиной 5—6 м производят на агрегатах вертикального типа по так называемому «свинцовому» способу. При этом ванна цинкования заполнена свинцом, и лишь в центре на его поверхности находится слой расплава цинка. Проведение подготовки поверхности труб и их цинкование в вертикальном положении исключает деформацию тонкостенных труб. Использование «свинцового» способа позволяет длительно эксплуатировать ванну цинкования, так как расплав свинца не взаимодействует со стенками ванны и не разрушает их.
Например, на заводе итальянской фирмы «Котимпи» работает установка цинкования вертикального типа, на которой цинкуют трубы для ирригации диаметром 90 мм, длиной 5,8 м. Производительность установки составляет 1800 кг труб в час (около 70—75 труб/ч) .
В нашей стране работают высокомеханизированные агрегаты карусельного типа для цинкования электросварных спиральношовных труб диаметром 180—350 мм, длиной 5 м. Подготовку поверхности труб и их цинкование осуществляют в вертикальном положении. Подача труб на карусельный агрегат, прохождение технологических операций и транспортировка оцинкованных труб на склад автоматизированы и выполняются непрерывно в едином технологическом потоке.
Материалом для изготовления различных металлоконстрций, трубопроводов ,рессор и канатов .
Таким образом, применение продукции с цинкалюминиевым покрытием взамен традиционного цинкового позволяет наряду с увеличением ее коррозионной стойкости, экономить до 75 % дефицитного цинка, идущего на защитные покрытия.
6. ДЕФЕКТЫ ПОВЕРХНОСТИ ОЦИНКОВАННЫХ ИЗДЕЛИИ
Дефекты оцинкованной поверхности стальных изделий проката значительно ухудшают их внешний вид и защитные свойства покрытия.
Образование дефектов обусловлено двумя основными факторами; качеством поверхности металла, подлежащего цинкованию, и нарушением технологических операций в процессе самого цинкования.
Рассмотрим основные дефекты, которые наиболее характерны для практики.
Непроцинковка
. Характеризуется наличием на поверхности изделий участков, не покрытых цинком. Брак обусловлен существованием на стальной поверхности отдельных участков с вкатанной окалиной, шлаковыми и другими различного рода металлическими включениями, жировыми загрязнениями. Кроме того, при цинковании полосы также возможно появление «непроцинковки» из-за осаждения углерода на ее поверхности в процессе термической подготовки стали.
Выпуклые несовершенства
. Обычно к такому виду брака относят покрытия с шероховатой (грубой) поверхностью, различного рода наплывами, натеками, наслоениями, бугорками. Эти дефекты образуются из-за чрезмерной шероховатости поверхности цинкуемых изделий, несоответствия скорости извлечения изделия с физико-химическими свойствами расплава цинка, насыщения расплава железоцинковыми и другими соединениями, особенно в приповерхностных слоях.
Серое покрытие
. Оцинкованные изделия могут иметь ровный серый цвет по всей поверхности, но иногда покрытие серого цвета появляется на изделиях только в не которых их местах. Металлографические исследования показывают, что покрытие серого цвета полностью состоит из
слоев железоцинкового сплава. В таких покрытиях отсутвует верхний слой цинка (n-фаза).
Основной причиной появления покрытий серого цвета яляется нарушение режима охлаждения оцинкованных изделий после извлечения их из ванны цинкования. Кроме того, этому явлению может способствовать повышенное содержание в стали кремния, углерода, титана или их неравномерное распределение.
Отслоение покрытия
. Встречаются два вида этого дефекта: первый — отделение верхнего слоя покрытия от слоя железоцинкового сплава (иногда этот эффект называют «шелушением») и второй — отделение покрытйя от основного металла, включая слой железоцинкового сплава. Основными причинами отслоения покрытия являются механические воздействия (например, удары, изгибы), температурное воздействие (медленное охлаждение линкованных изделий или эксплуатация их при температуре около 200 °С и выше). Чаще всего отслоение покрытия происходит у изделий с толстым цинковым покрытием. Причиной отслоения покрытия может также являться абсорбированный стальной поверхностью водород, который при выделении приводит к появлению вздутий (пузырей) на цинкованной поверхности. В случае оцинкованной полосы причиной отслоения покрытия может служить низкая прочность сцепления покрытия с основой, которая зависит от химического состава стали, подготовки полосы, содержания алюминия в расплаве цинка и температуры расплава.
«Белая ржавчина».
Такой термин применяют В случае, когда на оцинкованной поверхности появляются объемные слои продуктов коррозии в виде пятен белого или светлосерого цвета. Они состоят главным образом из оксида (гидроксида) цинка и углекислого цинка. Этот деффект образуется на изделиях, которые хранятся во влажных непроветриваемых помещениях, где создаются условия для конденсации влаги на поверхности покрытия. Важной качественной характеристикой оцинкованных (Изделий является их внешний вид. Поэтому важно, чтобы цинкованная поверхность имела одинаковый размер узоров кристаллизации.
К специфическим дефектам на оцинкованной поверхности можно отнести дефект «излом», который может появляться, в основном, на оцинкованной толстой полосе (>1,0 мм) при использовании транспортирующих роликов небольшого диаметра.
Список литературы:
- «Цинкование». Справ. изд. Проскуркин Е. В. , Попович В.А. , Мороз А. Т. М.: Металлургия, 1988.
- «Материаловедение». Учебник для вузов. Солнцев Ю. П. , Пряхин Е. И. ,
Войткун Ф.
3. «ХТО металлов». Лахтин Ю.М. , Арзамасов Б.Н.
|