| МИНИСТЕРСТВО КУЛЬТУРЫ РОССИЙСКОЙ
ФЕДЕРАЦИИ
САНКТ – ПЕТЕРБУРГСКИЙ ГОСУДАРСТВЕННЫЙ
УНИВЕРСИТЕТ КИНО И ТЕЛЕВИДЕНИЯ
КАФЕДРА МЕХАНИКИ
ТЕОРЕТИЧЕСКАЯ И АНАЛИТИЧЕСКАЯ МЕХАНИКА
Методические указания
по выполнению курсовой работы
Часть 3
ДИНАМИКА
для студентов специальности 200101 "Приборостроение"
Санкт–Петербург
2010
Составители:
В.А.Романовский, В.К.Сурков, Т.С.Недосекова.
Рецензент:
Настоящие методические указания издаются в соответствии с учебной программой по “Теоретической механике” для студентов специальности 200101 “Приборостроение” факультета "Приборы и системы кино и телевидения".
Методические указания содержат задания и примеры выполнения третьей части курсовой работы по разделу "Динамика".
Предназначаются для студентов очного и заочного отделений ФПСКТ.
Рекомендовано к изданию в качестве методических указаний кафедрой механики.
Протокол № от 2010 г.
© СПбГУКиТ, 2010
Вступление
Методические указания предназначены для студентов факультета "Приборы и системы кино и телевидения" специальности 1901 “Приборостроение" при выполнении ими третьей части курсовой работы по дисциплине "Теоретическая и аналитическая механика" раздел "Динамика".
Исходные данные
Курсовая работа выполняется в соответствии с шифром студента, который состоит из двух цифр. Для студентов очного отделения шифр задается преподавателем, для студентов заочного отделения определяется двумя последними цифрами номера зачетной книжки.
Первая цифра шифра обозначает номер схемы, вторая цифра шифра – столбец с исходными данными
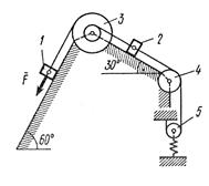
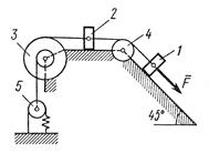
Задача Д1
Груз D массой m, получив в точке А начальную скорость , движется в изогнутой трубе ABC, расположенной в вертикальной плоскости; участки трубы или оба наклонные, или один горизонтальный, а другой наклонный (рис. Д1.0 — Д1.9, табл. Д1).
На участке АВ на груз кроме силы тяжести действуют постоянная сила (ее направление показано на рисунках) и сила сопротивления среды , зависящая от скорости груза (направлена против движения); трением груза о трубу на участке АВ пренебречь.
В точке В груз, не изменяя своей скорости, переходит на участок ВС трубы, где на него кроме силы тяжести действуют сила трения (коэффициент трения груза о трубу f = 0,2) и переменная сила F, проекция которой Fx
на ось х задана в таблице.
Забиваем Сайты В ТОП КУВАЛДОЙ - Уникальные возможности от SeoHammer
Каждая ссылка анализируется по трем пакетам оценки: SEO, Трафик и SMM.
SeoHammer делает продвижение сайта прозрачным и простым занятием.
Ссылки, вечные ссылки, статьи, упоминания, пресс-релизы - используйте по максимуму потенциал SeoHammer для продвижения вашего сайта.
Что умеет делать SeoHammer
— Продвижение в один клик, интеллектуальный подбор запросов, покупка самых лучших ссылок с высокой степенью качества у лучших бирж ссылок.
— Регулярная проверка качества ссылок по более чем 100 показателям и ежедневный пересчет показателей качества проекта.
— Все известные форматы ссылок: арендные ссылки, вечные ссылки, публикации (упоминания, мнения, отзывы, статьи, пресс-релизы).
— SeoHammer покажет, где рост или падение, а также запросы, на которые нужно обратить внимание.
SeoHammer еще предоставляет технологию Буст, она ускоряет продвижение в десятки раз,
а первые результаты появляются уже в течение первых 7 дней.
Зарегистрироваться и Начать продвижение
Считая груз материальной точкой и зная расстояние АВ — L или время t1
движения груза от точки А до точки В, найти закон движения груза на участке ВС, т. е. х = f(t), где x = BD.
Указания.
Задача Д1 — на интегрирование дифференциальных уравнений движения точки (решение основной задачи динамики). Решение задачи разбивается на две части. Сначала нужно составить и проинтегрировать методом разделения переменных дифференциальное уравнение движения точки (груза) на участке АВ, учтя начальные условия. Затем, зная время движения груза на участке АВ или длину этого участка, определить скорость груза в точке В. Эта скорость будет начальной для движения груза на участке ВС. После этого нужно составить и проинтегрировать дифференциальное уравнение движения груза на участке ВС тоже с учетом начальных условий, ведя отсчет времени от момента, когда груз находится в точке В, и полагая в этот момент t = 0. При интегрировании уравнения движения на участке АВ в случае, когда задана длина ℓ участка, целесообразно перейти к переменному х, учтя, что .
Таблица Д1
| Номер условия
|
m, кг
|
v0
, м/с
|
Q, Н
|
R, Н
|
ℓ, м
|
t1
, с
|
Fx
, Н
|
| 0
|
2
|
20
|
6
|
0,4v
|
-
|
2,5
|
2sin(4t)
|
| 1
|
2,4
|
12
|
6
|
0,8v2
|
1,5
|
-
|
6t
|
| 2
|
4,5
|
24
|
9
|
0,5v
|
-
|
3
|
3sin(2t)
|
| 3
|
6
|
14
|
22
|
0,6v2
|
5
|
-
|
–3cos(2t)
|
| 4
|
1,6
|
18
|
4
|
0,4v
|
-
|
2
|
4cos(4t)
|
| 5
|
8
|
10
|
16
|
0,5v2
|
4
|
-
|
-6sin(2t)
|
| 6
|
1,8
|
24
|
5
|
0,3v
|
-
|
2
|
9t2
|
| 7
|
4
|
12
|
12
|
0,8v2
|
2,5
|
-
|
–8cos(4t)
|
| 8
|
3
|
22
|
9
|
0,5v
|
-
|
3
|
2cos(2t)
|
| 9
|
4,8
|
10
|
12
|
0,2v2
|
4
|
-
|
–6sin(4t)
|

Рис.Д1.0 Рис.Д1.1

Рис.Д1.2 Рис.Д1.3

Рис.Д1.4 Рис.Д1.5

Рис.Д1.6 Рис.Д1.7

Рис.Д1.8 Рис.Д1.9
 Пример Д1
. На вертикальном участке АВ трубы (рис. Д1) на груз D массой m действуют сила тяжести и сила сопротивления R; расстояние от точки А, где , до точки В равно ℓ. На наклонном участке ВС на груз действуют сила тяжести и переменная сила F = F(t), заданная в ньютонах.
Дано:
m = 2 кг, ,где = 0,4 кг/м, = 5 м/с,
ℓ = 2,5 м, 
Определить:
х = f(t) — закон движения груза на участке ВС.
Решение.
1, Рассмотрим движение груза на участке АВ, считая груз материальной точкой. Изображаем груз (в произвольном положении) и действующие на него силы и . Проводим ось Az и составляем дифференциальное уравнение движения груза в проекции на эту ось: или (1)
Далее находим , подчеркиваем, что в уравнении все переменные силы надо обязательно выразить через величины, от которых они зависят.
Учтя еще, что , получим
или (2)
Введем для сокращения записей обозначения
Сервис онлайн-записи на собственном Telegram-боте
Попробуйте сервис онлайн-записи VisitTime на основе вашего собственного Telegram-бота:
— Разгрузит мастера, специалиста или компанию;
— Позволит гибко управлять расписанием и загрузкой;
— Разошлет оповещения о новых услугах или акциях;
— Позволит принять оплату на карту/кошелек/счет;
— Позволит записываться на групповые и персональные посещения;
— Поможет получить от клиента отзывы о визите к вам;
— Включает в себя сервис чаевых.
Для новых пользователей первый месяц бесплатно.
Зарегистрироваться в сервисе
, (3)
где при подсчете принято . Тогда уравнение (2) можно представить в виде (4)
Разделяя в уравнении (4) переменные, а затем беря от обеих частей интегралы, получим
и (5)
По начальным условиям при , что дает и из равенства (5) находим 
или .
Отсюда и .
 В результате находим . (6)
Полагая в равенстве (6) и заменяя k и n их значениями (3), определим скорость груза в точке В ( , число ): и (7)
2. Рассмотрим теперь движение груза на участке ВС; найденная скорость будет для движения на этом участке начальной скоростью ( ). Изображаем груз (в произвольном положении) и действующие на него силы , , и . Проведем из точки В оси Вх и By и составим дифференциальное уравнение движения груза в проекции на ось Вх: или (8)
где . Для определения N составим уравнение в проекции на ось By. Так как , получим , откуда . Следовательно, ; кроме того, и уравнение (8) примет вид (9)
Разделив обе части равенства на m, вычислим ; и подставим эти значения в (9). Тогда получим (10)
Умножая обе части уравнения (10) на и интегрируя, найдем
. (11)
Будем теперь отсчитывать время от момента, когда груз находится в точке В, считая в этот момент . Тогда при , где дается равенством (7). Подставляя эти величины в (11), получим .
При найденном значении уравнение (11) дает
(12)
Умножая здесь обе части на и снова интегрируя, найдем
(13)
Так как при , то и окончательно искомый закон движения груза будет (14)
где х — в метрах, t — в секундах.
Задача Д2
Однородная горизонтальная платформа (круглая радиуса R или прямоугольная со сторонами R и 2R, где R = 1,2 м) массой вращается с угловой скоростью вокруг вертикальной оси z, отстоящей от центра масс С платформы на расстоянии ОС = b (рис.Д2.0 — Д2.9, табл. Д2); размеры для всех прямоугольных платформ показаны на рис. Д2.0а (вид сверху).
В момент времени t0
= 0 по желобу платформы начинает двигаться (под действием внутренних сил) груз D массой по закону , где s выражено в метрах, t — в секундах. Одновременно на платформы начинает действовать пара сил с моментом М (задан в ньютонометрах; при М<0 его направление противоположно показанному на рисунках).
Определить, пренебрегая массой вала, зависимость , т. е. угловую скорость платформы, как функцию времени.
На всех рисунках груз D показан в положении, при котором s>0 (когда s<0, груз находится по другую сторону от точки A). Изображая чертеж решаемой задачи, провести ось z на заданном расстоянии ОС = b от центра С.
Указания
. Задача Д2 — на применение теоремы об изменении кинетического момента системы. При применении теоремы к системе, состоящей из платформы и груза, кинетический момент системы относительно оси z определяется как сумма моментов платформы и груза. При этом следует учесть, что абсолютная скорость груза складывается из относительной и переносной скоростей, т.е. Поэтому и количество движения этого груза . Тогда можно воспользоваться теоремой Вариньона (статика), согласно которой эти моменты вычисляются так же, как моменты сил. Подробнее ход решения разъяснен в примере Д2.
При решении задачи полезно изобразить на вспомогательном чертеже вид на платформу сверху (с конца оси z), как это сделано на рис.Д2.0, a — Д2.9, a.
Момент инерции пластины с массой m относительно оси Cz
, перпендикулярной пластине и проходящей через ее центр масс С, равен: для прямоугольной пластины со сторонами a1
и a2
:

для круглой пластины радиусом R: 
Таблица Д2
| Номер условия
|

|

|

|
| 0
|
R
|

|

|
| 1
|
R/2
|

|

|
| 2
|
R
|

|

|
| 3
|
R/2
|

|

|
| 4
|
R
|

|

|
| 5
|
R/2
|

|

|
| 6
|
R
|

|

|
| 7
|
R/2
|

|

|
| 8
|
R
|

|

|
| 9
|
R/2
|

|

|

Рис.Д2.0 Рис.Д2.0а

Рис.Д2.1 Рис.Д2.1а

Рис.Д2.2 Рис.Д2.2а

Рис.Д2.3 Рис.Д2.3а

Рис.Д2.4 Рис.Д2.4а

Рис.Д2.5 Рис.Д2.5а

Рис.Д2.6 Рис.Д2.6а

Рис.Д2.7 Рис.Д2.7а

Рис.Д2.8 Рис.Д2.8а

Рис.Д2.9 Рис.Д2.9а

Рис.Д2
Пример Д2
. Однородная горизонтальная платформа (прямоугольная со сторонами и ), имеющая массу , жестко скреплена с вертикальным валом и вращается вместе с ним вокруг оси z с угловой скоростью (рис. Д2, а). В момент времени t0
= 0 на вал начинает действовать вращающий момент М, направленный противоположно ; одновременно груз D массой , находящийся в желобе АВ в точке С, начинает двигаться по желобу (под действием внутренних сил) по закону .
Дано:
, , , , (s — в метрах, t — в секундах), , где .
Определить:
— закон изменения угловой скорости платформы.
Решение.
Рассмотрим механическую систему, состоящую из платформы и груза D. Для определения о применим теорему об изменении кинетического момента системы относительно оси z:
(1)
Изобразим действующие на систему внешние силы: силы тяжести , реакции , и вращающий момент . Так как силы и параллельны оси z, а реакции и эту ось пересекают, то их моменты относительно оси z равны нулю. Тогда, считая для момента положительным направление (т.е. против хода часовой стрелки), получим и уравнение (1) примет такой вид:
. (2)
Умножая обе части этого уравнения на и интегрируя, получим
(3)
Для рассматриваемой механической системы , (4)
где и — кинетические моменты платформы и груза D соответственно.
Так как платформа вращается вокруг оси z, то . Значение найдем по теореме Гюйгенса: ( — момент инерции относительно оси z', параллельной оси z и проходящей через центр С платформы).
Но, как известно, 
Тогда 
Следовательно, (5)
Для определения обратимся к рис. Д2б и рассмотрим движение груза D как сложное, считая его движение по платформе относительным, а вращение самой платформы вокруг оси z переносным движением. Тогда абсолютная скорость груза . Так как груз D движется по закону , то ; изображаем вектор на рис. Д2б с учетом знака (при направление было бы противоположным). Затем, учитывая направление , изображаем вектор ( ); численно . Тогда, по теореме Вариньона:
(6)
Но на рис.Д2б видно, что . Подставляя эту величину в равенство (6), а затем значения и из (6) и (5) в равенство (4), получим с учетом данных задачи
(7)
Постоянную интегрирования определяем по начальным условиям: при , . Получим . При этом значении из уравнения (8) находим искомую зависимость от .
Ответ:
, — в секундах, в рад/с.
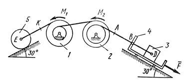
Задача Д3
Механическая система состоит из грузов 1 и 2, ступенчатого шкива 3 с радиусами ступеней , и радиусом инерции относительно оси вращения , блока 4 радиуса
Таблица Д3
| Номер условия
|
, кг
|
, кг
|
, кг
|
, кг
|
, кг
|
, Н/м
|
, Нм
|
, Н
|
Найти
|
| 0
|
0
|
6
|
4
|
0
|
5
|
200
|
1,2
|

|

|
| 1
|
8
|
0
|
0
|
4
|
6
|
320
|
0,8
|

|
v1
|
| 2
|
0
|
4
|
6
|
0
|
5
|
240
|
1,4
|

|
v2
|
| 3
|
0
|
6
|
0
|
5
|
4
|
300
|
1,8
|

|

|
| 4
|
5
|
0
|
4
|
0
|
6
|
240
|
1,2
|

|
v1
|
| 5
|
0
|
5
|
0
|
6
|
4
|
200
|
1,6
|

|

|
| 6
|
8
|
0
|
5
|
0
|
6
|
280
|
0,8
|

|

|
| 7
|
0
|
4
|
0
|
6
|
5
|
300
|
1,5
|

|
v2
|
| 8
|
4
|
0
|
0
|
5
|
6
|
320
|
1,4
|

|

|
| 9
|
0
|
5
|
6
|
0
|
4
|
280
|
1,6
|

|

|

Рис.Д3.0 Рис.Д3.1

Рис.Д3.2 Рис.Д3.3

Рис.Д3.4 Рис.Д3.5

Рис.Д3.6 Рис.Д3.7

Рис.Д3.8 Рис.Д3.9
и катка (или подвижного блока) 5 (рис.Д3.0 — Д3.9, табл. Д3); тело 5 считать сплошным однородным цилиндром, а массу блока 4 — равномерно распределенной по ободу. Коэффициент трения грузов о плоскость . Тела системы соединены друг с другом нитями, перекинутыми через блоки и намотанными на шкив 3 (или на шкив и каток); участки нитей параллельны соответствующим плоскостям. К одному из тел прикреплена пружина с коэффициентом жесткости .
Под действием силы , зависящей от перемещения s точки ее приложения, система приходит в движение из состояния покоя; деформация пружины в момент начала движения равна нулю. При движении на шкив 3 действует постоянный момент М сил сопротивления (от трения в подшипниках).
Определить значение искомой величины в тот момент времени, когда перемещение s станет равным s1
= 0,2 м. Искомая величина указана в столбце «Найти» таблицы, где обозначено: v1
, v2
, vC
5
— скорости грузов 1,2 и центра масс тела 5 соответственно, и — угловые скорости тел 3 и 4.
Все катки, включая и катки, обмотанные нитями (как, например, каток 5 на рис. 2), катятся по плоскостям без скольжения.
На всех рисунках не изображать груз 2, если ; остальные тела должны изображаться и тогда, когда их масса равна нулю.
Указания.
Задача Д3 — на применение теоремы об изменении кинетической энергии системы. При решении задачи учесть, что кинетическая энергия T системы равна сумме кинетических энергий всех входящих в систему тел; эту энергию нужно выразить через ту скорость (линейную или угловую), которую в задаче надо определить. При вычислении T для установления зависимости между скоростями точек тела, движущегося плоскопараллельно, или между его угловой скоростью и скоростью центра масс воспользоваться мгновенным центром скоростей (кинематика). При вычислении работы надо все перемещения выразить через заданное перемещение s1
, учтя, что зависимость между перемещениями здесь будет такой же, как между соответствующими скоростями.
Пример Д3
. Механическая система (рис. Д3а) состоит из сплошного однородного цилиндрического катка 1, подвижного блока 2, ступенчатого шкива 3 с радиусами ступеней и и радиусом инерции относительно оси вращения , блока 4 и груза 5 (коэффициент трения груза о плоскость равен ). Тела системы соединены нитями, намотанными на шкив 3. К центру Е блока 2 прикреплена пружина с коэффициентом жесткости ; ее начальная деформация равна нулю. Система приходит в движение из состояния покоя под действием силы , зависящей от перемещения s точки ее приложения. На шкив 3 при движении действует постоянный момент М сил сопротивления.

Рис.Д3
Дано:
, , , , , , , , , , , , .
Определить:
в тот момент времени, когда .
Решение.
1. Рассмотрим движение неизменяемой механической системы, состоящей из весомых тел 1, 3, 5 и невесомых тел 2, 4, соединенных нитями. Изобразим действующие на систему внешние силы: активные , , , , , реакции , , , , натяжение нити , силы трения , и момент .
Для определения воспользуемся теоремой об изменении кинетической энергии: (1)
2. Определяем и . Так как в начальный момент система находилась в покое, то . Величина равна сумме энергий всех тел системы: (2)
Учитывая, что тело 1 движется плоскопараллельно, тело 5 — поступательно, а тело 3 вращается вокруг неподвижной оси, получим
; ; (3)
Все входящие сюда скорости надо выразить через искомую . Для этого предварительно заметим, что где A —любая точка обода радиуса шкива 3 и что точка K1
— мгновенный центр скоростей катка 1, радиус которого обозначим . Тогда
; (4)
Кроме того, входящие в (3) моменты инерции имеют значения
; . (5)
Подставив все величины (4) и (5) в равенства (3), а затем, используя равенство (2), получим окончательно
. (6)
3. Теперь найдем сумму работ всех действующих внешних сил при перемещении, которое будет иметь система, когда центр катка 1 пройдет путь . Введя обозначения: — перемещение груза 5 ( ), — угол поворота шкива 3, и — начальное и конечное удлинения пружины, получим
;
;
;
;
.
Работы остальных сил равны нулю, так как точки К1
и К2
, где приложены силы , и — мгновенные центры скоростей; точки, где приложены силы , и — неподвижны; а реакция перпендикулярна перемещению груза.
По условиям задачи, . Тогда , где — перемещение точки Е (конца пружины). Величины и надо выразить через заданное перемещение ; для этого учтем, что зависимость между перемещениями здесь такая же, как и между соответствующими скоростями. Тогда так как (равенство уже отмечалось), то и .
Далее, из рис. Д3б видно, что , а так как точка К2
является мгновенным центром скоростей для блока 2 (он как бы «катится» по участку нити K2
L), то ; следовательно, и . При найденных значениях и для суммы вычисленных работ получим
(7)
Подставляя выражения (6) и (7) в уравнение (1) и учитывая, что , придем к равенству
(8)
Из равенства (8), подставив в него числовые значения заданных величин, найдем искомую угловую скорость 
Ответ:
.
Задача Д4
Механическая система состоит из тел 1, 2, ..., 5 весом , ..., соответственно, связанных друг с другом нитями, намотанными на ступенчатые блоки 1 и 2 (рис.Д4.0 —Д4.9, табл. Д4). Радиусы ступенчатых блоков 1 и 2 равны соответственно , , , . При вычислении моментов инерции все блоки, катки и колеса считать однородными сплошными цилиндрами радиуса .
На систему кроме сил тяжести действует сила , приложенная к телу 3 или 4 (если тело 3 в систему не входит, сила приложена в точке В к тележке), и пары сил с моментами , , приложенные к блокам 1 и 2; когда , направление момента противоположно показанному на рисунке.
На участке нити, указанном в таблице в столбце «Пружина», включена пружина с коэффициентом жесткости (например, если в столбце стоит АВ, то участок АВ является пружиной, если AD, то AD — пружина и т.д.); в начальный момент времени пружина не деформирована.
Составить для системы уравнения Лагранжа и найти закон изменения обобщенной координаты , т. е. , считая, что движение начинается из состояния покоя; определить также частоту и период колебаний, совершаемых телами системы при ее движении (о выборе координаты см. «Указания»).
Прочерк в столбцах таблицы, где заданы веса, означает, что соответствующее тело в систему не входит (на чертеже не изображать), а ноль — что тело считается невесомым, но в систему входит; для колес, обозначенных номером 4, — их общий вес (вес платформы такой тележки не учитывается).
Указания
. Задача Д4 — на применение к изучению движения системы уравнений Лагранжа. В задаче система имеет две степени свободы; следовательно, ее положение определяется двумя обобщенными координатами и и для нее должны быть составлены два уравнения.
Таблица Д4
| Номер условия
|

|

|

|

|

|

|

|

|
Пружина
|
| 0
|

|

|
-
|

|
-
|

|

|

|

|
| 1
|

|

|
-
|
-
|

|

|

|

|

|
| 2
|

|

|
-
|

|
-
|

|

|

|

|
| 3
|
-
|

|

|

|
-
|

|

|

|

|
| 4
|

|
-
|
-
|
-
|

|

|

|

|

|
| 5
|
-
|
-
|

|

|
-
|

|

|

|

|
| 6
|

|

|
-
|
-
|

|

|

|

|

|
| 7
|
-
|

|
-
|

|
-
|

|

|

|

|
| 8
|
-
|

|

|

|
-
|

|

|

|

|
| 9
|

|

|
-
|

|
-
|

|

|

|

|

Рис.Д4.0

Рис.Д4.1

Рис.Д4.2

Рис.Д4.3

Рис.Д4.4

Рис.Д4.5 
Рис.Д4.6

Рис.Д4.7

Рис.Д4.8

Рис.Д4.9

Рис.Д4.10
Решение начать с выбора обобщенных координат, обозначив их и или и . За координату принять удлинение пружины, отсчитываемое в сторону того из тел 3, 4 или 5 системы, к которому пружина прикреплена; например, если пружина прикреплена к этому телу в точке В и ее длина в произвольный момент времени равна , то , где — длина недеформированной пружины. За координату принять угол поворота крайнего блока (этот блок может быть и невесомым), отсчитывая от начального положения, Если в систему ни один блок не входит, а входят лишь тела 3 и 4, за координату принять расстояние тела 4 от начального положения. Соответствующие примеры даны на рис.Д4.10. Дальнейший ход решения разъяснен в примере Д4.
 Пример Д4
. Механическая система (рис.Д4) состоит из барабана 1 радиуса , к которому приложена пара сил с моментом , тележки 2 и катка 3 (барабан и каток — однородные цилиндры); веса всех тел равны соответственно , , ; весом колес тележки пренебречь. Тележка соединена с барабаном намотанной на него нитью, а с катком — пружиной , коэффициент жесткости которой равен . Система начинает движение из состояния покоя; пружина в этот момент не деформирована.
Дано:
, , ; ; ; , .
Определить:
1) , где — удлинение пружины (или перемещение центра D катка по отношению к тележке 2);
2) частоту и период . колебаний.
Решение.
1. Для решения задачи воспользуемся уравнениями Лагранжа. Рассматриваемая система имеет две степени свободы. Выберем в качестве обобщенных координат угол поворота барабана и удлинение пружины ( ). Тогда уравнения Лагранжа будут иметь вид ; (1)
2. Определим кинетическую энергию системы, равную сумме энергий всех тел: (2)
Так как барабан вращается вокруг оси О, тележка движется поступательно, а каток — плоскопараллельно, то
; ; , (3)
где , ( - радиус катка 3).
Все входящие сюда скорости надо выразить через обобщенные скорости и . Очевидно, что , . Для определения рассмотрим движение катка как сложное. Учитывая, что определя ет положение точки D по отношению к тележке, получим , где численно , . Тогда, принимая во внимание, что при возрастании и х скорости и направлены в разные стороны и что точка Е для катка — мгновенный центр скоростей, получим
, .
Подставляя все найденные значения скоростей и значения и в равенства (3) и учитывая, что , а , получим окончательно из (2) следующее выражение для :
. (4)
Отсюда находим
, ;
, . (5)
3. Теперь определим обобщенные силы и . Изображаем действующие на систему активные силы: силы тяжести , , , силы упругости и ', где численно , и пару с моментом .
а) Для определения сообщим системе возможное перемещение, при котором координата получает приращение , а не изменяется, т. е. (пружина при таком перемещении системы не изменяет свою длину). Тогда тележка и центр D катка получают одинаковые перемещения и элементарная работа действующих сил будет равна
.
Заменив здесь все величины их значениями, найдем в результате, (6)
б) Для определения сообщим системе возможное перемещение, при котором координата получает приращение , а не изменяется, т. е. (барабан не поворачивается и тележка не перемещается). Тогда элементарную работу совершат только силы и , учтя, что , получим . (7)
Коэффициенты при и в равенствах (6) и будут искомыми обобщенными силами; следовательно, , . (8)
Подставляя величины (5) и (8) в уравнения (1), получим следующие дифференциальные уравнения движения системы:
, . (9)
4. Для определения исключим из уравнений (9) . Получим дифференциальное уравнение вида ,
где , . (10)
Общее решение уравнения (10), как известно из высшей математики, имеет вид, где — общее решение однородного уравнения , т.е. , а — частное решение уравнения (10). Будем искать решение в виде . Подставляя значение в уравнение (10), получим . Таким образом, общее решение уравнения (10) имеет вид
, (11)
где и — постоянные интегрирования. Для их определения найдем еще производную от по времени:
. (12)
По начальным условиям при , (движение начинается из состояния покоя и пружина в этот момент не деформирована). Подставляя эти величины в уравнения (11) и (12), найдем из них, что , .
Окончательно получим искомую зависимость в виде
, (13)
где значения и даются последними двумя из равенств (10). Таким образом, центр D катка совершает по отношению к тележке колебания, закон которых дает равенство (13). Круговая частота и период этих колебаний: ; . (14)
ЛИТЕРАТУРА
1. Теоретическая механика. Методические указания и контрольные задания, под ред.С.М.Тарга, М., 1989.
2. Бать М.И., Джанелидзе Г.Ю., Кельзон А.С. Теоретическая механика в примерах и задачах. т.2, М., 2010.
3. Яблонский А.А., Норейко С.С. и др. Сборник заданий для курсовых работ по теоретической механике., М., 2006.
Оглавление
Вступление.......................................................................... 3
Задача Д1............................................................................ 4
Задача Д2............................................................................ 9
Задача Д3............................................................................ 16
Задача Д4............................................................................ 22
Литература.......................................................................... 30
Оглавление.......................................................................... 30
|