| Степанов Д.Л

Физика в сельском хозяйстве
8 класс
Методические рекомендации по проведению
курса по выбору

Каргаполье 2006 г.
От автора
Основная задача, которая ставится автором этого пособия помочь учителю определить объекты изучения в рамках предлагаемого курса, выбрать наиболее благоприятный вариант проведения занятий адаптировать его к условиям сельскохозяйственного предприятия расположенного в вашем регионе. Материал по занятиям распределен в соответствии с тематическим планированием первого года обучения (8 класс) по программе Д.Л.Степанова «Физика в сельском хозяйстве».
В соответствии с главной целью предрофильного обучения – выявление интереса учащихся, курс по выбору посещают все учащиеся класса, следовательно, формы организации занятий могут быть разнообразны: практикумы, семинары, конференции, учебные экскурсии и другие.
Организация учебных занятий предусматривает различные виды учебной деятельности учащихся, которые включают в себя:
- изучение теоретического материал;
- решение конструкторских и исследовательских задач и заданий, содержание которых приведено в предлагаемых вариантах занятий;
- выполнение лабораторно-практических работ (разработки которых приведены в методических замечаниях);
- экскурсии в различные цеха производственных подразделений сельскохозяйственного производства (план проведения, вопросы для беседы и возможные практические работы которые рекомендуется выполнить в ходе экскурсий, приведены в темах занятий посвященным экскурсиям);
- встречи с передовиками и руководителями сельскохозяйственного производства.
Одним из самых эффективных способов организации занятий это творческие дискуссии, в ходе которых развиваются интеллектуальные способности учащихся. При этом учителю необходимо использовать дифференцированный подход, учитывая индивидуальные способности учащихся.
Задания, подобранные к занятиям, позволят лучшим образом организовать работу, направленную на понимание физической сущности технологических процессов в сельском хозяйстве, а также организовать исследовательскую и конструкторскую работу учащихся. Количество задание предлагаемых для организации занятий подобрано таким образом, что учитель, исходя из местных условий производственного окружения, может варьировать форму проведения занятия. Задачи и задания могут быть использованы частично на уроке, а частично предложены учащимся в качестве домашних. Несмотря на то, что курс по выбору является безоценочным за правильно выполненное учеником задание самостоятельно или при незначительной помощи учителя его работу следует оценить. Оценка за правильно выполненное задание в целях стимулирования и активизации дальнейшей деятельности ученика может быть выставлена ему по физике в классный журнал.
Забиваем Сайты В ТОП КУВАЛДОЙ - Уникальные возможности от SeoHammer
Каждая ссылка анализируется по трем пакетам оценки: SEO, Трафик и SMM.
SeoHammer делает продвижение сайта прозрачным и простым занятием.
Ссылки, вечные ссылки, статьи, упоминания, пресс-релизы - используйте по максимуму потенциал SeoHammer для продвижения вашего сайта.
Что умеет делать SeoHammer
— Продвижение в один клик, интеллектуальный подбор запросов, покупка самых лучших ссылок с высокой степенью качества у лучших бирж ссылок.
— Регулярная проверка качества ссылок по более чем 100 показателям и ежедневный пересчет показателей качества проекта.
— Все известные форматы ссылок: арендные ссылки, вечные ссылки, публикации (упоминания, мнения, отзывы, статьи, пресс-релизы).
— SeoHammer покажет, где рост или падение, а также запросы, на которые нужно обратить внимание.
SeoHammer еще предоставляет технологию Буст, она ускоряет продвижение в десятки раз,
а первые результаты появляются уже в течение первых 7 дней.
Зарегистрироваться и Начать продвижение
Использование системы конструкторских и исследовательских заданий, на основе сельскохозяйственного содержания, дает возможность учащимся не только углубить знания изучаемого материала, но и пройти путь от экспериментального к теоретическому уровню познания, по этапам: наблюдение явлений, построение умозаключений, поиск аналогии, мысленный эксперимент, выдвижение гипотезы изучаемого явления, ее теоретический анализ, построение модели практического применения, проведение эксперимента, подтверждающего или опровергающего гипотезу, оценку полученного результата.
Работу целесообразно построить таким образом, чтобы для учащихся стало понятным представление о том, какие именно черты изучаемого материала являются существенными, а какими можно пренебречь, считая их второстепенными и случайными. В ходе творческой беседы наводящие вопросы, которые учитель задает учащимся при обсуждении рассматриваемого на занятии материала, должны оказать помощь ученикам в преодолении возникших у них трудностей. На основе дедуктивного метода предсказаний, мысленно преобразуя из абстрактного плана - в конкретный, ученики получают возможность вести поиск следствий, вытекающих из изученных законов, теорий. Алгоритм решения конструкторских и исследовательских задач (заданий), предлагаемый учащимся, не должен иметь вид прямого предписания, как в обобщенных планах проведения эксперимента, а содержать последовательность наводящих вопросов вероятностного характера.
Лабораторные и практические работы позволят учителю создать условия для повышения у учащихся мотивации более углубленного изучения физики, развить их интерес к предмету.
Основной акцент в процессе обучения предлагается делать на формирование у учащихся умений самостоятельной работы, что является важным фактором формирования их интеллектуальных способностей.
Сервис онлайн-записи на собственном Telegram-боте
Попробуйте сервис онлайн-записи VisitTime на основе вашего собственного Telegram-бота:
— Разгрузит мастера, специалиста или компанию;
— Позволит гибко управлять расписанием и загрузкой;
— Разошлет оповещения о новых услугах или акциях;
— Позволит принять оплату на карту/кошелек/счет;
— Позволит записываться на групповые и персональные посещения;
— Поможет получить от клиента отзывы о визите к вам;
— Включает в себя сервис чаевых.
Для новых пользователей первый месяц бесплатно.
Зарегистрироваться в сервисе
Система курсов по выбору не предусматривает оценку знаний учащихся по предмету, но, исходя из целей и задач курса, отслеживать уровень развития учащихся можно по самостоятельности:
- выполнения ими лабораторно-практических работ;
- решения задач;
- суждения при объяснении понимания сущности вопроса рассматриваемого в ходе творческой дискуссии.
Введение
Занятие 1.
Роль физики в развитии сельскохозяйственного производства. История развития сельскохозяйственного производства в регионе.
Цель
: сформировать у учащихся представление о научно-техническом прогрессе, роли физики в совершенствовании техники. На примере развития сельскохозяйственного производства региона показать достижения научно-технического прогресса в сельском хозяйстве.
Оборудование
:
фотографии сельскохозяйственных машин различных лет, таблица с техническими характеристиками машин, используемых в сельском хозяйстве.
Методические замечания
Первое занятие, посвященное изучению курса по выбору «Физика в сельском хозяйстве», можно провести как интегрированное занятие совместно с учителем истории в музее базового сельскохозяйственного предприятия или в краеведческом музее, если таковые имеются. При отсутствии музея совместно с учителем истории подобрать краеведческий материал по становлению и развитию различных форм собственности сельскохозяйственных предприятий в районе, о передовиках сельскохозяйственного производства. А также составить карту оснащения сельскохозяйственного производства различными машинами и механизмами в различные годы. К сбору материала можно привлечь учащихся, предложив им для этого посетить старейших жителей поселка. На первых уроках физики или истории следует предложить учащимся темы рефератов:
«Развитие сельскохозяйственного промысла в регионе».
«Переход от частного к коллективному производству».
«Научно-техническая революция в сельскохозяйственном производстве».
На занятие можно пригласить ведущих специалистов сельскохозяйственного предприятия, которые дадут краткую информацию о современных достижениях и перспективах развития предприятия.
Данное занятие проводится в форме научно-практической конференции. В ходе, которой учащиеся знакомятся с особенностями сельскохозяйственного производства в регионе, достижениями и перспективами его развития, а также знакомятся с лучшими производственниками, среди которых могут быть родные и близкие учащихся, что важно в воспитательном аспекте данного занятия.
Измерение физических величин
Занятие 2.
Измерения, применяемые в сельском хозяйстве. Прямые и косвенные измерения.
Цель
: расширить представления учащихся о способах измерения физических величин. Познакомить с методом оценки результатов измерения.
Оборудование
: линейки с различной ценой деления, мерная лента, рулетка, мерный цилиндр и мерный стакан с разной ценой деления и пределом измерения.
Методические замечания
Учащихся имеют представление о способах измерении различных величин из кура математики и физики. В начале занятия следует повторить способы измерения: объема различных тел; площади поверхности правильной и неправильной формы с применением палетки; массы тела. При этом обращаем внимание учащихся на целесообразность измерения различных величин (время, расстояние, объем, масса и др.). В ходе проблемно-поисковой беседы повторяются понятия: измерительный прибор, цена деления и предел измерения шкалы измерительного прибора. Сравнивая шкалы линеек и мензурок с различной ценой деления, повторяем понятие о точности измерения. Вводим понятие инструментальной погрешности, погрешность измерения, абсолютная и относительная погрешность измерения. Для закрепления понятий абсолютная и относительная погрешность предложить учащимся практическую работу:
Практическая работа.
1. Измерьте длину и ширину тетрадки мерной лентой и миллиметровой линейкой.
| |
Измерительная лента
|
Миллиметровая линейка
|
| Измеренный результат
|
Инструментальная погрешность
|
Относительная погрешность
|
Измеренный результат
|
Инструментальная погрешность
|
Относительная погрешность
|
| длина
|
|
|
|
|
|
|
| ширина
|
|
|
|
|
|
|
2. Сравните точность результатов измерения.
3. Почему линейка с миллиметровыми делениями дает более точный результат измерения?
4. Определите инструментальную и относительную погрешность измерения
5. По результатам измерения вычислите площадь тетради.
6. Вычислите относительную погрешность измерения площади
. Где – инструментальная погрешность. а – длина.
b
– ширина
7. Ответьте на вопросы:
- Какие величины в ходе работы измерялись непосредственно, а какие вычислялись?
- Какой из измерительных приборов, используемых при выполнении практической работы, имеет меньшую относительную погрешность? Почему?
При выполнении практической работы формируются и закрепляются знания о прямых и косвенных измерениях.
После выполнения практической работы предлагаем учащимся ответить вопрос: – Нужны ли измерения в сельскохозяйственном производстве?
В ходе обсуждения вариантов ответов обращаем внимание учащихся на то, что измерения различных величин необходимы в сельском хозяйстве для расчетов нормы выработки на условную единицу техники, затрат на выполнение определенного вида работы, например, вспашки поля, посева, привесов в животноводстве и т.п.
После обсуждения вопроса о необходимости измерений в сельскохозяйст-венном производстве предложить учащимся следующее задание: Предложите способ определения объема Куринного яйца, имея в своем распоряжении мерную ленту.
Решение данного задания вызывает у учащихся трудности из-за того, что яйцо имеет округлую форму. Обращаем внимание учащихся на то, что существуют нестандарт-ные способы измерения, одним из которых является следующий. С помощью мерной ленты измеряем перекид – n, и длину окружности основания яйца «обхват) – L (рисунок 1). Объем вычисляется по эмпирической формуле:
(мм2
).
После этого предлагаем учащимся измерить объем яйца двумя способами с помощью мензурки и рассмотренного выше. Результаты измерений сравнить и сделать вывод.
Занятие 3.
Измерительные приборы их устройство и назначение. Решение конструкторских заданий.
Цель
:
расширить представление учащихся об измерительных приборах, формировать навыки работы с контрольно-измерительными приборами, создать условия для развития интеллектуально-творческих способностей учащихся.
Оборудование
: мерная сажень, кронциркуль, микрометр, штангенцир-куль.
Методические замечания
К началу проведения занятия у учащихся сформированы понятия: измерительный прибор, цена деления и предел измерения шкалы прибора, инструментальная погрешность, точность измерения. Поэтому основная задача, которая стоит перед учителем познакомить учащихся с контрольно-измерительными приборами, о которых не говорится в курсе физики и не достаточное внимание уделяется их изучению на уроках трудового обучения. Изучение устройства и принципа действия кронциркуля, мерной сажени, индикатора часового типа, штангенциркуля и микрометра позволит расширить представление учащихся об измерительных приборах, точности измерения, цене деления пределе измерений шкалы измерительного прибора.
Организовать занятие желательно в форме групповой работы учащихся. Класс делится на четыре группы. Каждая группа в течении 5-6 минут изучают предложенный ей прибор по предложенному плану:
1. Название прибора.
2. Устройство и назначение прибора.
3. Описать шкалу прибора сделать схематический рисунок прибора.
4. Определить цену деления и предел измерения шкалы прибора.
5. Чему равна инструментальная погрешность прибора?
6. Правила пользования измерительным прибором.
7. Какие достоинства и недостатки можно отметить в конструктивных особенностях данного прибора.
По окончании времени работы каждая группа рассказывает классу о своем измерительном приборе, отмечая его достоинства и недостатки.
Подводя итог обсуждения рассмотренных приборов, учитель отмечает, что в промышленности используются бесшкальные измерительные приборы:
Калибры – для контроля размеров, форм и взаимного расположения частей изделия. Калибры определяют отклонения от заданных размеров, не устанавливая величину отклонения. Калибры подразделяются на жесткие и установочные на необходимый размер. Наиболее распространены предельные калибры-пробки – для проверки отверстий и калибры-скобы – для проверки цилиндрических поверхностей.
Щупы – мерные пластинки определенной толщины служа-щие для определения величины промежутка между соприкасаю-щимися поверхностями (зазоры).
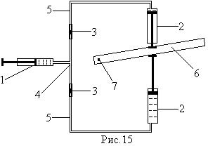
На занятии можно рассмотреть решение следующих задач:
1. Для подготовки почвы к посеву агроном составляет технологическую карту, в которой указывает глубину вспашки поля в зависимости вида почвы. Предложите, и по возможности изготовьте прибор для определения глубины пахоты.
Возможное решение
. Прибор состоит из двух брусков равной длины, подвижного (Б) и неподвижного (А), соединенных обоймами. Неподвижный брусок имеет основание расположенное перпендикулярно к бруску Б (рисунок 2). На неподвижном бруске нанесена шкала в единицах длины.
2. Агроном для определения площади поля, обработанного механизированным звеном, пользуется мерной саженью. Сконструируйте и, если сможете, то изготовьте такую сажень, которая в нерабочем состоянии занимает меньше места, чем обычная сколоченная из реек.
Возможное решение
. Для изготовления сажени необходимо подобрать металлические трубки так, чтобы одна свободно входила в другую, составляя телескопическую систему. Способ соединения трубок показан на рисунке 3.
3. Сконструируйте прибор, с помощью которого можно было бы измерять линейные размеры тел с достаточно большой точностью. По возможности изготовьте его.
Возможное решение
. Один из возможных вариантов прибора показан на рисунке 4.
4. Предложите конструкцию устройства, которое позволяло бы быстро сортировать шарики по размеру.
Решение. Возможная конструкция прибора для сортировки шариков по размеру показана на рисунке 5. Наклонный лоток с отверстиями разного диаметра расположен над коробочками. Шарики разного диаметра прокатываются по лотку, и попадаю в отверстие соответствующее диаметру шарика. Отверстия располагаются по увеличению диаметра сверху вниз для того, чтобы шарики меньшего диаметра проходили через верхнее отверстие, а шарики большего диаметра проходили в нижние отверстия.
Занятие 4.
Лабораторная работа «Изучение штангенциркуля и микрометра»
Цель
: формирование экспериментальных навыков познания. Развитие умений работы с контрольно-измерительными приборами.
Оборудование
: штангенциркуль, микрометр, набор тел округлой формы различных размеров, тела имеющие сверления.
Методические замечания
В начале занятия перед выполнением лабораторной работы рекомендуется повторить с учащимся понятия: цена деления, предел измерения, инструментальная погрешность, относительная погрешность измерения физической величины, абсолютная погрешность измерения физической величины ( где Аср
– среднее значение измеренной величины, ε
– относительная погрешность измерения физической величины), запись значения физической величины с учетом погрешности измерения, а также определение нижней и верхней границы измеренной величины ( , ).
Затем предлагаем учащимся для выполнения лабораторной работы следующие задания:
Задание 1.
Используя линейку с миллиметровой ценой деления и два бруска, предложите способ определения диаметра шарика от шарикоподшипника.
Рассматривая решение этого задания, обращаем внимание учащихся на особенности устройства и правила измерения линейных размеров тел с помощью штангенциркуля. При этом придерживаемся плана, по которому учащиеся на прошлом занятии изучали измерительные приборы. Особое значение следует обратить на устройство и правила пользования нониусом.
Задание 2.
Изготовьте модель нониуса и изучите способ его использования.
Это задание учащиеся выполняют по следующему плану:
1. Вырезать из картона полоску длиной 20 см и нанесите на один край полосы деления через 1 см.
2.  Вырежьте из картона вторую полоску длиной 9 см и нанесете на ее край деления через 0,9 см.
3. Приставив одну полоску к другой краями, на которых нанесены деления, вы получите модель нониуса (рисунок 6). С помощью полученной модели нониуса измерьте
размер Бручка с точностью до 0,1 см.
4. С помощью линейки, цена деления которой 1 мм, проверьте правильность измерения, выполненного с помощью модели нониуса.
5. Можно ли увеличить точность измерения размера бруска с помощью вашей модели нониуса, если можно, то, что для этого нужно сделать?
Рассмотрение пятого вопроса задания подводит учащихся к тому, что нужно уменьшить цену деления нониуса, а для этого подвижную часть длина, которой 9 см нужно разбить не на 9, а большее количество делений, например нанесенные через 0,45 см. В этом случае точность измерения будет 0,05 см.
Задание 3
. Рассмотрите штангенциркуль и микрометр, обратите внимание на их шкалы. Определите цену деления, предел измерения, инструментальную погрешность штангенциркуля и микрометра. Измерьте с их помощью размеры предложенных тел. Вычислите абсолютную и относительную погрешность измерения. Определите верхнюю и нижнюю границу истинного размера измеренной величины. Составьте таблицу, в которую будете заносить результаты измерений и вычислений. о помощью ры предложенных .хл ихмеренияиеучащихся к тому, что нужно увечите модель нониуса. редел измерения,
| Измерительный прибор
|
Цена деления
|
Предел измере-ния
|
Инструмен-тальная погрешность
|
Измерен-ная вели-чина
|
Относи-тельная
Погреш- ность
|
Абсолютная погрешность измерения
|
Нижняя граница
|
Верхняя граница
|
| Штангенциркуль
|
|
|
|
|
|
|
|
|
| Микрометр
|
|
|
|
|
|
|
|
|
Отчетом на выполнение этого задания у учащихся должна быть заполнена следующая таблица:
Занятие 5.
Лабораторная работа «Сравнение точности линейных размеров тел при их измерении измерительными приборами с разной ценой деления».
Цель
: формирование навыков работы с различными измерительными приборами для определения линейных размеров тел. Развивать понятия цена деления шкалы измерительного прибора, предел измерения, точность измерения, инструментальная и относительная погрешность измерений, Границы истинного размера измеренной величины. Создать условия для развития интеллектуальных способностей учащихся.
Оборудование
: мерная лента, линейка с ценой деления 1 мм, штангенцир-куль, микрометр, шуруп, нитки.
Методические замечания
В начале занятия необходимо повторить следующие вопросы:
1.
Чем отличается измерительный прибор от лабораторного прибора?
2.
Назовите причины, от которых зависит точность измерения.
3.
Что называют ценой деления шкалы измерительного прибора?
4.
Как определить инструментальную погрешность измерительного прибора?
5.
Как определить относительную и абсолютную погрешность измерения?
6.
Как определить нижнюю и верхнюю границу истинного размера измеренной величины?
Затем предлагаем учащимся выполнить лабораторную работу «Сравнение точности линейных размеров тел при их измерении измерительными приборами с разной ценой деления».
Задание 1
. Используя предложенные вам измерительные приборы, определите длину шурупа.
Задание 2
. Используя предложенные вам измерительные приборы, определите толщину нитки.
Методические рекомендации
. При выполнении предложенных заданий для сравнения точности измерения учащиеся должны определить цену деления, предел измерения, инструментальную погрешность предложенных измерительных приборов. Измерьте с их помощью размеры предложенных тел. Вычислите абсолютную и относительную погрешность измерения. Определите верхнюю и нижнюю границу истинного размера измеренной величины. Результаты измерений и вычислений занести в таблицу. Анализируя результаты измерений сделать вывод.
| |
Мерная лента
|
Линейка с ценой деления 1 мм
|
Штангенциркуль
|
Микрометр
|
| Шуруп
|
Нитка
|
Шуруп
|
Нитка
|
Шуруп
|
Нитка
|
Шуруп
|
Нитка
|
| Цена деления
|
|
|
|
|
|
|
|
|
| Предел измерения
|
|
|
|
|
|
|
|
|
| Инструментальная погрешность
|
|
|
|
|
|
|
|
|
| Измеренная
величина
|
|
|
|
|
|
|
|
|
| Относительная
Погрешность
|
|
|
|
|
|
|
|
|
| Абсолютная погрешность измерения
|
|
|
|
|
|
|
|
|
| Нижняя граница
|
|
|
|
|
|
|
|
|
| Верхняя граница
|
|
|
|
|
|
|
|
|
Для определения толщины нитки с помощью мерной ленты, линейки с миллиметровой шкалой и штангенциркуля учащимся следует напомнить о методе рядов. Если в школе нет достаточного количества штангенциркулей и микрометров, то выполнение работы, можно организовать в форме фронталь-ного эксперимента, предложив выполнить измерения отдельным учащимся.
Занятие 6 – 7.
Экскурсии в поле и МТМ сельскохозяйственного предприятия.
Цель
: 1. Познакомить учащихся с особенностями профессий сельскохо-зяйственного производства. 2.Расширить представление о способах измерений и контроля качества выполненной работы. 3. Воспитывать у учащихся значимость сельскохозяйственных профессий, уважение к людям труда, чувство гражданского долга - готовности трудиться в сельском хозяйстве.
Объекты наблюдения
: пахотный агрегат, инструментальный цех МТМ, токарный участок (фрезерный и токарно-винторезный станок).
Методические замечания
Подготовка и проведение экскурсий требуют от учителя дополнительной предварительной подготовки к ней. Необходимо определить маршрут проведения экскурсии, договориться с руководством сельхозпредприятия о проведении экскурсии, а также с представителями сельхозпредприятия которые помогут провести экскурсию при этом заранее определить круг вопросов которые они должны будут осветить в ходе знакомства учащихся с работой того подразделения, где будет проходить экскурсия. Отметить наиболее опасные участки, требующие особого внимания к правилам поведения учащихся в соответствии с требованиями техники безопасности и охраны труда. Проводя инструктаж учащихся перед началом экскурсии, необходимо обратить их внимание на технику безопасности во время экскурсии, указать на наиболее опасные участки.
Перед началом экскурсии познакомить учащихся с целью ее проведения, при этом заострить их внимание на вопросах, по которым они должны будут написать отчет об экскурсии.
План экскурсии в поле:
Оборудование для практической работы
: Сажень или рулетка, бороздо-мер или метровая линейка и угольник.
1. Встреча с бригадиром полеводческой бригады. Беседа о работе полеводческих звеньев, способах определения нормы выработки на условную единицу техники, контроль качества выполненной работы. Знакомство с технологическими картами производственного цикла выращивания сельскохозяйственных культур.
2. Наблюдение за работой пахотного агрегата.
3. Выполнение практической работы:
Задания
: 1. Измерить глубину вспашки, сравнить ее с агротехническим значением по технологической карте.
2. Определить площадь вспашки за один проход пахотного агрегата. Рассчитать сколько проходов потребуется пахотному агрегату, чтобы вспахать все поле, площадь которого указана в технологической карте.
Вопросы для беседы:
1.
Что представляет собой технологическая карта производственного цикла по выращиванию сельскохозяйственных культур?
2.
Какие агротехнические требования предъявляются к предпосевной обработке поля?
3.
Чему равна глубина вспашки по технологической карте на запланированном для посещения поле?
4.
Какую площадь имеет данное поле по технологической карте?
5.
Как определяется норма выработки на условную единицу техники?
План экскурсии в токарный цех МТМ
1. Встреча с заведующим МТМ. Беседа о работе различных участках по ремонту сельскохозяйственной технике. Участки, на которых выполняются работы с повышенной точностью контроля восстанавливаемых деталей сельскохозяйственных машин. Измерительные приборы, применяемые для контроля точности восстанавливаемых деталей.
2. Посещение токарного участка МТМ. Знакомство с работой токаря и способами контроля качества и точности обработки деталей, изготовляемых на токарном станке.
Вопросы для беседы:
1.
На каких участках выполняются работы с повышенной точностью контроля восстанавливаемых деталей сельскохозяйственных машин?
2.
Какие измерительные приборы, применяются для контроля качества и точности восстанавливаемых деталей?
3.
Какие виды работ выполняются на токарном участке?
4.
Как токарь осуществляет контроль качества и точности обработки деталей, изготовляемых им на токарном станке?
5.
Какие приспособления на станке помогают токарю контролировать точность обрабатываемой детали?
6.
На чем основан принцип действия приспособлений на токарном станке для контроля точности обрабатываемой детали?
Задание
. По лимбу механизма перемещения верхней каретки переместить резец в поперечном направлении на 1,3 мм.
Методические рекомендации
. Задание выполняется при отключенном станке от электропитания под руководством учителя и токаря. Учащиеся определяют цену деления лимба, а затем рассчитывают, на какое количество делений необходимо повернуть рукоятку, чтобы перемещение соответствовало заданной величине.
Движение и силы
Занятие 8.
Кинематические характеристики движения в различных системах отсчета. Методы измерения скорости движения тел.
Цель:
сформировать у учащихся понимание физической сущности понятия система отсчета, инерциальная и неинерциальная системы отсчета, скорость тел в различных инерциальных системах отсчета. Развить представление учащихся о механическом движении. Создать условия для интеллектуального развития учащихся.
Оборудование
: модель автокрана, две легкоподвижных тележки, доска трибометра, игрушечная машинка, указатель.
Методические замечания
Из курса физики седьмого класса учащимся знакомы понятие скорости равномерного движения и средняя скорость движения. Учащихся обучение, которых ведется по учебнику С.В.Громова Н.А.Родиной «Физика 8» к началу рассмотрения этого вопроса имеют представление о системе отсчета, ускорение и скорость при равноускоренном движении. Но они не рассматривали движение одного тела в системе отсчета связанной с другим. Учащиеся, обучающиеся по учебнику А.В.Перышкина «Физика 8» понятия система отсчета, ускорение и скорость при равноускоренном движении не рассматриваются. Поэтому в начале занятия целесообразно повторить с учащимися понятия, известные им из курса физики седьмого класса: механическое движение, скорость, путь, траектория, тело отсчета.
После того как повторили вышеуказанные понятия, демонстри-руем учащимся опыт (рисунок 7). На легкоподвижную тележку с платфор-мой поставим игрушечную машинку и указатель, а на демонстрационном столе, на равном расстоянии друг от друга расположим такие же указатели, вдоль их движется платформа. После демонстрации опыта предлагаем учащимся ответить на следующие вопросы:
- Укажите, какие тела движутся, а какие находятся в состоянии покоя в этом опыте? Ответ обосновать.
- Чему равна скорость машинки относительно стола? Относительно платформы? Ответ обосновать.
- Как изменится скорость машинки относительно стола, если она будет двигаться с некоторой скоростью
u
относительно платформы? (Рисунок 8) Ответ обосновать.
- Будет ли зависеть скорость машинки относительно стола, от направления ее движения относительно платформы? Ответ обосновать.
Обсуждая ответы учащихся на поставленные вопросы, подводим их к определению понятия системы отсчета
– совокупность тела отсчета, прибора для определения времени и системы координат
. А так же обращаем внимание учащихся на то, что скорость одного и того же тела в различных системах отсчета имеет разное значение
. Следует отметить, что, если направление скорости движения платформы и машинки совпадают, то результирующая скорость машинки относительно стола будет равна сумме скоростей платформы и машинки ( ).
А если скорость движения машинки направлена в противоположную сторону скорости движения платформы, результирующая скорость машинки равна разности скорости платформы и скорости машинки относительно платформы ( )
. Подводя итог обсуждению, вводим понятие инерциальной системы отсчета как систему, связанную с телом, находящимся в состоянии покоя или движущимся прямолинейно и равномерно
. Если тело движется неравномерно, то систему отсчета связанную с этим телом называют неинерциальной
.
Для закрепления понятия системы отсчета и значение скорости движения тела в различных системах отсчета следует разобрать с ними следующие задачи:
1. Во время жатвы зерновых культур комбайн движется со скоростью 6 км/ч, а планки мотовила имеют линейную скорость 7,8 км/ч, направленную по касательной к окружности, по которой они движутся относительно жатки комбайна. Определите скорость планки мотовила относительно земли, когда она находится в самой верхней и самой нижней точке относительно жатки. Как изменяется скорость планки мотовила при ее движении от верхней точки к нижней? Как изменяется скорость планки мотовила при ее движении от нижней точки к верхней?
2. Емкость бункера комбайна «Колос» СК-6 равна 3м3
, ширина захвата жатки 6 м. За сколько времени заполнится бункер, если комбайн движется со скоростью 7 км/ч, урожайность пшеницы 25 ц/га, а объемная плотность пшеницы 0,7 т/м3
?
3. Скорость основного элеватора картофелекопателя КСТ – 1,4 1,93 м/с. Картофелекопатель агрегатируют с трактором ЮМЗ – 6Л, который во время уборки картофеля движется со скоростью 4 км/ч. С какой скоростью относительно земли движется картофель по основному элеватору картофелекопателя?
4. Определите скорость движения скошенных стеблей зерновых культур по ременно-планчатому транспортеру валковой жатки к выбросному окну, если скорость транспортера относительно платформы жатки 2,5 м/с, а рабочая скорость движения комбайна 5 км/ч.
При решении четвертой задачи обращаем внимание учащихся на то, что скорость движения транспортера жатки направлена под углом 90о
к направлению движения комбайна. Поэтому чтобы найти результирующую скорость движения стеблей необходимо воспользоваться теоремой Пифагора.
Рассмотрев понятие, система отсчета и относительность скорости движения тел следует повторить с учащимися определения: скорость движения, равномерное и неравномерное движение. Разобрать вопрос о том, что необходимо знать для вычисления скорости движения тела. Рассмотреть такую задачу: Пахотный агрегат на вспашку поля затратил 4 часа. С какой средней скоростью двигался пахотный агрегат, если площадь поля 8 га, ширина захвата плуга за один проход 2,1 м, длина одной гоны 800 м?
В заключение занятия демонстрируем учащимся подъем груза с помощью модели автокрана. При этом груз поднимаем груз вверх с одновременным поворотом стрелы автокрана. Продемонстрировав опыт, предлагаем учащимся ответить на вопросы:
- Одинакова ли скорость подъема груза относительно земли и автокрана? Ответ обосновать.
- Рассчитайте скорость подъема груза автокраном вертикально вверх без поворота стрелы при равномерном вращении барабана автокрана, на который наматывается нить с частотой один оборот в секунду.
- Предложите такой способ подъема груза в заданную точку, чтобы результирующая скорость груза относительно земли была минимальна при неизменных скоростях подъема груза вверх и повороте стрелы автокрана, что в опыте.
Занятие 9.
Лабораторная работа: «Измерение мгновенной скорости движения тела в равноускоренном движении»
Цель
: развивать экспериментальные методы познания, формировать умения работать с лабораторными и контрольно-измерительными приборами. Создать условия для развития интеллектуально-творческих способностей учащихся.
Оборудование
: желоб, штатив с муфтой и лапкой, мерная лента, метроном или секундомер, шарик диаметром 15 – 25 мм.
Методические замечания
Вначале повторяем правила нахождения относительной и абсолютной погрешности измерений физической величины, определение верхней и нижней границы допустимого значения измеренной величины. Учащимся известно понятие неравномерного движения. Исходя из определения неравномерного движения, знакомим учащихся с понятиями ускорение (изменение скорости движения тела в единицу времени
) и мгновенная скорость как значением скорости в данный момент времени. Вводим соотношение между мгновенной скоростью и ускорением движения тела. Рассматривая график зависимости скорости от времени при равноускоренном движении из состояния покоя (начальная скорость равна нулю) выводим формулу для вычисления пути в равноускоренном движении через мгновенную скорость и время движения . Из этого выражения можем записать выражение для нахождения мгновенной скорости . Анализируя последнее выражение, выясняем, что необходимо знать, чтобы определить мгновенную скорость. После этого предлагаем учащимся задания для выполнения лабораторной работы:
1. Используя имеющиеся у вас на столе приборы, определите скорость шарика при его скатывании по наклонному желобу в конце желоба и на половине его длины.
2. Меняя угол наклона желоба, исследуйте, как зависит мгновенная скорость скатывания шарика от угла наклона желоба.
Методические рекомендации
. При выполнении данной лабораторной работы погрешность измерений и интервалы допустимых границ измере6нной величины можно не вычислять, так как разброс перемещений шарика при повторении опытов очень большой и имеет сложный характер.
1. Метроном настраивается на 120 ударов в минуту. Учащиеся вначале подбирают угол наклона желоба так, чтобы шарик скатывался за 6 ударов метронома. Затем повторяют опыт несколько раз, скатывая шарик по желобу с одной и той же высоты, определяют расстояние, которое он проходит за 6 ударов метронома. Затем вычисляют среднее значение расстояния и вычисляют мгновенную скорость в конце желоба. Отметив середину длины желоба, определяют время, за которое шарик пройдет это расстояние угол наклона желоба (при этом не меняют) после чего вычисляют мгновенную скорость на половине длины желоба.
2. Для выполнения это задания угол наклона лотка можно контролировать транспортиром или по изменению высоты подъема конца лотка закрепленного в лапке штатива. Меняя угол наклона желоба, или изменяя высоту закрепления лапки в штативе на 5 см, определяют мгновенную скорость в конце желоба. По результатам опытов сделать вывод.
Занятие 10.
Значение скорости движения сельскохозяйственных машин и агрегатов в выполнении сменного задания механизаторами. Расчеты сменной нормы выработки механизированного звена. Встреча с передовиками полеводческой бригады, ведущими специалистами сельскохозяйственного предприятия.
Цель
: развивать представление учащихся о значимости получаемых ими знаний. Воспитывать значимости сельскохозяйственных профессий, уважения к людям труда, чувства гражданского долга - готовности трудиться в сельском хозяйстве.
Оборудование
: таблицы с техническими характеристиками сельскохо-зяйственных машин агрегатируемых с тракторами, имеющимися в сельскохозяйственном предприятии.
Методические замечания
На данное занятие рекомендуется пригласить агронома полеводческой бригады и одного из лучших механизатора бригады – передовика производства. Для этого заранее встретиться с ними, чтобы уточнить круг вопросов, на которые им следует обратить внимание в выступлениях перед учениками. Выступление каждого из представителей должно быть в пределах 10 – 15 минут.
Для агронома следует порекомендовать сделать сообщение об особен-ностях возделывания культур выращиваемых полеводческой бригадой, составление технологических карт на полный цикл по выращиванию культуры выращиваемой бригадой полеводов, схема расчета сменной нормы на условную единицу техники при выполнении работы в соответствии с технологической картой.
Механизатору следует рекомендовать, чтобы в выступлении он обратил внимание на значение скоростного режима агрегатов при выполнении определенных видов работы, а также на приемы работы, которые позволяют повысить производительность труда.
После выступления представителей производства с учащимися следует разобрать следующие задачи:
1. Поле имеет длину 750 м, ширину 900 м. Сколько времени потребуется комбайну с жаткой «ЖВН – 6» с шириной захвата 6 м, чтобы скосить это поле при скорости движения комбайна 8 км/ч. Рабочее время в загоне используется на 95%?
2. С какой средней скоростью двигался трактор на посеве пшеницы сеялкой «СЗЛ – 3,6» с шириной захвата 3,6 м, если за 8 часов работы было засеяно поле площадью 18 га?
3. На какой средней скорости работал трактор, транспортируя тракторные грабли «ГВК – 6,0» с шириной захвата 7 м за 8 часов работы было собрано в валки сено с площади 56 га?
4. Комбайн расстояний 12 км от машинного двора сельскохозяйственного предприятия проходит со скоростью 12 км/ч, работал на уборке зерновых культур, двигаясь со скоростью 7км/ч в течение 8 часов, и переезжал с одного поля на другое со скоростью 10 км/ч в течение 20 минут. Определите среднюю скорость движения комбайна на всем пути.
Занятие 11.
Инерция в сельском хозяйстве
Цель
: расширить представление учащихся о явлении инерция. Развивать умения учащихся определять практическую значимость теоретических знаний полученных ими в процессе изучения курса физики. Создать условия для интеллектуального развития учащихся .
Оборудование
: плакаты: «Воздухоочиститель», «Веревочный водоподъемник», «Двигатель Внутреннего сгорания», «Схема самоходного комбайна», «Технологическая схема свеклоуборочного комбайна», «Разбрасыватель минеральных удобрений». Стакан, открытка, монетка или шайба. Линейка, пластмассовые брусочки из набора равного объема.
Методические замечания
С явлением инерции учащиеся знакомы из курса физики седьмого класса. В начале занятия целесообразно повторить с ними это понятие, продемонстрировать опыты, по инерции предложив учащимся объяснить их.
Из жизненного опыта учащимся известно, что при прополке грядок на огороде стебли сорняков отрываются от корня, если сорняк резко дернуть за стебель, а если тянуть медленно, то сорняк вырывается вместе с корнем. Это объясняется том, что при рывке корень не успевает приобрести скорость, стебель не выдерживает нагрузки и обрывается от корня. В ходе беседы выясняем, что явление инерции объясняет процесс скашивания травы, обрезание ботвы у корнеплодов, когда перебрасывают зерно из одной кучи в другую с помощью погрузчика или вручную лопатами и др.
Рассматривая вопрос об инерции в сельском хозяйстве, следует познакомить учащихся с технологическими процессами и особенностями работы зерноуборочного или свеклоуборочного комбайнов, машинами для внесения минеральных и органических удобрений. При рассмотрении технологических процессов комбайнов и машин для внесения минеральных и органических удобрений внимание уделяется механизмам и агрегатам машин, в основе которых лежит явление инерции. Так, например, у зерноуборочного комбайна это молотильный механизм и соломотряс, свеклоуборочного комбайна метательное устройство для погрузки ботвы и корнеплодов в транспортные средства. В машинах для внесения удобрений на вращающиеся диски подаются вносимые удобрения, которые приобретают скорость и, продолжая движение по инерции, распределяются по поверхности поля. Разбирая технологические процессы сельскохозяйственных машин, обращаем внимание на то, что большинство деталей машин совершают вращательное движение, обладают инерцией, в результате чего частота вращения остается постоянной, то есть способствует плавной и равномерной работе машин.
Далее предлагаем учащимся самостоятельно по плакатам объяснить принцип работы воздухоочистителя ДВС и веревочного водоподъемника. Ответить на вопросы:
1. Почему при откидывании зерна лопатой оно летит дальше, хотя лопата останавливается и остается в руках?
2. Почему водителям, перевозящим молоко в автоцистернах, не рекомендуется делать резких поворотов руля при маневрировании из одного ряда в другой?
3. Объясните, почему при резком торможении автоцистерны для перевозки молока машину начало дергать вперед и назад?
4. Для чего в конструкции двигателя внутреннего сгорания предусмотрен массивный маховик, соединенный с коленчатым валом двигателя?
Занятие 12.
Сила трения и сила давления, их роль в сельском хозяйстве.
Цель
:
формировать практическую направленность знаний учащихся. Расширить их представление силе трения и силе давления, способах изменения этих сил. Создать условия для развития интеллектуально-творческих способностей учащихся.
Оборудование
: динамометр, легкоподвижная тележка, капроновая нить, набор грузов.
Методические замечания
С понятиями «сила трения», «давление», «сила давления» учащиеся знакомы из курса физики седьмого класса. У них есть навыки решения задач на расчет давления и силы давления, объяснения явлений и процессов, протекающих в природе и технике с учетом сил трения и сил давления. Все это дает возможность вести занятие в форме проблемно-поисковой беседы и восстановить в памяти учащихся рассматриваемые понятия. На этом занятии следует познакомить учащихся с понятием коэффициент трения, формулой для вычисления силы трения и примерами, показывающими роль сил трения и сил давления на примере сельскохозяйственной техники.
В ходе беседы напоминаем учащимся причины возникновения трения. Указываем, что в практике различают силу трения скольжения, силу трения покоя и силу трения качения. Демонстрируем, что сила трения покоя изменяется от нуля до некоторого максимального значения. Для этого легкоподвижную тележку положить на демонстрационном столе вверх колесами. К крючкам тележки и динамометра привязать капроновую нить. Действуя на тележку через динамометр, показываем, что сила возрастает от нуля до некоторого значения, начиная с которого тележка приходит в движение. Обращаем внимание учащихся на то, что сила соответствующая началу скольжения называют максимальной силой трения покоя, при этом указываем на зависимость силы трения покоя от силы нормального давления (и этом указываем ой силой трения покоя.ежки ого тележка приходит в яы ния, формула для вычисления силы трения ).
Затем вводим понятие коэффициента трения как отношение силы трения к силе нормального давления ( ). Обращаем внимание учащихся на зависимость коэффициента трения от свойств, соприкасающихся поверхностей. Приводим табличные данные о коэффициенте трения скольжения для некоторых материалов.
Далее предлагаем учащимся решить следующие задачи:
1.Очистку семян культурных растений от семян сорняков осуществляют с помощью полотняной горки, схема которой показана на рисунке 9. Объясните, каким образом осуществляется сортировка семян на полотняной горке.
Возможное решение
. В основе очистки семян с помощью полотняной горки лежит различие коэффициента трения семян различных растений. Основная часть горки это движущееся вверх полотно, расположенное под углом к горизонту. Семена, имеющие меньший коэффициент трения, скатываются вниз по полотняной горке и попадают в ящик (1), а семена, у которых коэффициент трения больше, удерживаются на полотне горки и поднимаются вверх и попадают в ящик (2).
2. Рассмотрите льнотеребильную машину.
Объясните, как выдергиваются стебли льна из земли. Начертите схему льнотеребильного ручья.
Возможное решение
. Принцип действия льнотере-бильной машины основан на действии силы трения. Стебли льна, попадая между движущимися навстречу ремнями (рисунок 10), Плотно прижатыми друг к другу, зажимаются ими и выдергиваются из земли.
3. Сколько корпусов должен содержать плуг для вспашки почвы с удельным сопротивлением при глубине вспашки 30 см равным 9 Н/см2
трактором с тяговым усилием на крюке 25 кН, если площадь одного корпуса 667 см2
?
Решение
. Сила сопротивления одного корпусов плуга определяется как произведение удельного сопротивления почвы при заданной глубине вспашки на площадь корпуса: 
Количество корпусов определяем как отношение тягового усилия к силе сопротивления одного корпуса плуга: .
Повторяя сведения о давлении единицах давления и соотношения между ними, сообщаем учащимся, что давление тел на почву учитывается в сельскохозяйственном производстве. При выполнении некоторых видов работ давление необходимо либо увеличивать, либо уменьшать. Далее на примерах почвообрабатывающих и посевных агрегатов разбираем способы увеличения и уменьшения давления.
Предлагаем учащимся задачи для самостоятельного решения:
4. Удельное давление трактора ДТ-75 равно 0,044 МПа. Чему равна площадь его опоры, если его масса 6370 кг?
5. Определите давление трактора весом 84000 Н на землю, если ширина одной гусеницы 40 см, а ее длина 3 м.
6. С какой целью на платформы кольчато-шпоровых катков, подготовленных для раздавливания глыб почвы, насыпают балласт?
Занятие 13.
Лабораторная работа «Исследование зависимости силы трения от веса тела и площади соприкасающихся поверхностей».
Цель
: развивать экспериментальные методы познания, формировать умения работать с лабораторными и контрольно-измерительными приборами. Создать условия для развития интеллектуально-творческих способностей учащихся.
Оборудование
: динамометр Бакушинского; брусок с разным качеством обработки поверхностей; рейка, у которой одна плоскость не обработана (шероховата), а другая отшлифована; набор грузов, ванночка с сухой и влажной землей.
Методические замечания
В начале занятия повторяем понятие коэффициента трения скольжения как отношение силы трения к силе нормального давления ( ). Обращаем внимание учащихся на то, что коэффициент трения скольжения зависит от материала соприкасающихся поверхностей, качества их обработки, площади контактирующих поверхностей и др.
Затем предлагаем экспериментальные задания для выполнения лабораторной работы.
1. С помощью бруска, динамометра и набора грузов установите зависимость силы трения от веса тела. Определите из опытов среднее значение Отношение силы трения к весу тела.
| № п/п
|
Вес тела, Н
|
Сила трения, Н
|
Отношение силы трения к весу тела
|
| |
|
|
|
| |
|
|
|
| |
|
|
|
2. Исследуйте, как зависит сила трения от рода соприкасающихся поверхностей и качества их обработки.
| Поверхность
|
Сила трения, Н
|
Вес тела, Н
|
Отношение силы трения к весу тела
|
| Стол
|
|
|
|
| Обложка тетради
|
|
|
|
| Учебник
|
|
|
|
| Гладкая поверхность
рейки
|
|
|
|
| Шероховатая поверхность рейки
|
|
|
|
3. Исследуйте зависимость силы трения от площади опоры при движении по твердой поверхности, сухой и влажной почве.
| Сила трения, Н
|
Площадь опоры, см2
|
| Твердая поверхность
|
Почва сухая
|
Почва влажная
|
| |
|
|
|
| |
|
|
|
4. По результатам опытов сделайте вывод.
Методические рекомендации
. 1. Равномерно перемещая брусок, динамометром измеряем силу трения при различном его весе. Вес бруска изменяем с помощью набора грузов.
2. Не меняя веса бруска, измеряем силу трения, перемещая его по обложке дневника (тетради), листку учебника, столу, гладкой и шероховатой поверхности рейки. По результатам измерений вычисляем значение коэффициента трения для рассматриваемых поверхностей.
3. При постоянном весе бруска перемещаем его сначала по поверхности стола широкой и узкой гранью, измеряя при этом силу трения. Затем повторяем эти же измерения, перемещая брусок в ванночке с сухой и влажной землей. Измерение силы трения при перемещении бруска в ванночке с влажной землей выполнять после выполнения всех предыдущих измерений.
Занятие 14
. Лабораторная работа «Изучение способов изменения давления твердого тела на поверхность».
Цель
: развивать экспериментальные методы познания, формировать умения работать с лабораторными и контрольно-измерительными приборами. Создать условия для развития интеллектуально-творческих способностей учащихся.
Оборудование
: измерительная линейка, весы с разновесом, бруски из набора тел равного объема.
Методические замечания
Сама работа является не сложной, но в большинстве случаев без соответствующей теоретической подготовки учащиеся допускают ошибки, которые формализуют, а не развивают понимание физической сущности понятия давление. Поэтому перед началом выполнение работы целесообразно повторить с учащимися понятие давление, единицы измерения давления, соотношение между единицами измерения давления, сила давления и ее измерение. А также следует обратить их внимание на правила взвешивания, измерение линейных размеров тел, вычисление площади поверхности и силы тяжести.
Далее предлагаем учащимся выполнить лабораторную работу. Для этого предлагаем им следующее задание:
Задание.
Имея в своем распоряжении три одинаковых бруска из разного вещества, весы с разновесом и измерительную линейку исследуйте зависимость давления оказываемого телом на поверхность от веса тела и площади опоры тела.
Методические рекомендации
. В ходе повторения известных понятий в начале занятия проведена подготовительная работа к выполнению работы. Учащиеся, исходя из определения понятия давление, определяют величины необходимые для выполнения работы это силу тяжести бруска и площади поверхности трех его граней. При этом обращаем их внимание на то, что эти величины находятся косвенным путем. Непосредственно измеряется масса бруска и длина его ребер. Результаты измерений и вычислений записывают в таблицу. Анализируя результаты вычислений учащиеся делают вывод.
| |
Брусок
|
| |
Деревянный
|
Пластмассовый
|
Железный
|
| Масса бруска (кг)
|
|
|
|
| Вес бруска
(Н)
|
|
|
|
| Ребро а (м)
|
|
|
|
| Ребро b (м)
|
|
|
|
| Ребро c (м)
|
|
|
|
| Площадь грани S1
=a*b (м2
)
|
|
|
|
| Площадь грани
S2
=a-c (м2
)
|
|
|
|
| Площадь грани
S3
= b*c (м2
)
|
|
|
|
| Давление (Па)
|
|
|
|
| Давление (Па)
|
|
|
|
| Давление (Па)
|
|
|
|
Занятие 15 – 16.
Решение задач на расчет силы трения и давления при работе сельскохозяйственных машин и механизмов
Цель
: формировать у учащихся умения применять знания на практике. Развивать общеучебные и специальные умения. Создать условия для развития интеллектуальных способностей учащихся.
Методические замечания
Решая задачи, обращаем внимание учащихся на практическую значимость знаний. В ходе занятий следует разобрать следующие задачи:
1. Для чего отбивают косу?
2. С какой целью у гусеничных тракторов предназначенных для обработки заболоченных почв применяю гусеницы большей ширины, чем у тракторов для обычных (нормальных) почв?
3. Для чего точат сегменты ножа жатвенных машин?
4. Для чего на сегментах ножа сенокосилки и режущего аппарата жатки комбайна сделана насечка?
5. Почему острой железной лопатой копать землю легшее, чем тупой?
6. Для чего на ведущих колесах самоходного комбайна и колесных тракторов поставлены шины с глубоким рисунком протектора?
7. Для чего у гусеничных тракторов гусеницы имеют специальные гребни?
8. Для чего смазывают маслом трущиеся детали сельскохозяйственных машин?
9. Почему при передачи больших усилий от двигателя вращающимся деталям (узлам) сельскохозяйственных машин используют не плоский, а клиновидный ремень?
10. Имеет ли какое – либо значение в работе почвообрабатывающих орудий, например, на лемехе и отвале плуга, на лапах культиватора сошниках сеялок и других ржавчина?
11. С какой целью подковывают лошадей?
12. Почему Груженый автомобиль в гололед и грязь буксует меньше, чем порожний?
13. Для того чтобы выдернуть стебель льна-долгунца надо приложить усилие 5 Н. На одном квадратном метре при средней урожайности вырастает 1500 стеблей. За сколько приемов выдернет лен с 1 м2
человек, если он развивает руками тяговое усилие 200 Н? За сколько эту работу выполнит теребильное устройство установленное на самоходном шасси «Т-16М», если оно развивает тяговое усилие 6150 Н?
14. Сможет ли лошадь, развивающая силу тяги 600 Н на горизонтальном участке по снегу увести воз весом 30000 Н груженый на сани полозья, которых подбиты железом? Коэффициент трения деревянных полозьев обитых железом по снегу 0,035.
15. Чему равно давление подкованной лошади при ходьбе, если она опирается одной ногой на три общей площадью 6 см2
, а масса лошади 700 кг?
16. Сколько корпусов должен содержать плуг для вспашки почвы с удельным сопротивлением при глубине вспашки 25 см равным 6 Н/см2
трактором с тяговым усилием на крюке 20 кН, если площадь одного корпуса 750 см2
?
17. Продет ли по льду реки гусеничный трактор массой 8400 кг, если длина одной гусеницы 3,5 м а ее ширина 50 см? Лед в данный момент может выдержать давление 0,8 кН/ м2
.
18. Тяжелый гусеничный трактор производит примерно такое же давление на землю, что и человек. Почему же трактор раздавливает кирпич, попавший ему под гусеницу, а человек, наступив на кирпич, не в состоянии раздавить его?
19. Определите площадь опоры колесного трактора, если при массе 2660 кг его давление на землю 12 кПа.
20. При въезде на мост через речку стоит дорожный знак «10 тонн». О массе или весе идет речь в данном случае?
21. Сеялка «СЗ-3,6» имеет массу 1400 кг. Какую площадь должны иметь ее опорные колеса, чтобы удельное давление сеялки на землю не превышало 4 Н/см2
?
Занятие 17.
Экскурсия в МТМ сельскохозяйственного предприятия для ознакомления с устройством агрегатов сельхозмашин принцип действия которых основан на явлении инерции, силе трения.
Цель
: познакомить учащихся с особенностями профессий сельскохо-зяйственного производства. Показать на конкретных примерах использования изученных явлений в технике. Воспитывать значимости сельскохозяйственных профессий, уважения к людям труда, чувства гражданского долга - готовности трудиться в сельском хозяйстве.
Объекты наблюдения
: участок по ремонту двигателей (воздухо-очиститель, центрифуга по очистке масла, муфта сцепления), колеса и гусеницы сельскохозяйственных машин.
Методические замечания
При подготовке к проведению экскурсий учителю необходимо определить маршрут проведения экскурсии, договориться с руководством сельхозпред-приятия о проведении экскурсии, а также с представителями сельхозпред-приятия которые помогут провести экскурсию. При этом заранее следует определить круг вопросов, которые они должны будут осветить в ходе знакомства учащихся с работой машин и механизмов в рамках изучаемых явлений. Отметить наиболее опасные участки, требующие особого внимания к правилам поведения учащихся в соответствии с требованиями техники безопасности и охраны труда. Проводя инструктаж учащихся перед началом экскурсии необходимо обратить их внимание на технику безопасности во время экскурсии указать на наиболее опасные участки.
Экскурсию по данной теме можно провести в МТМ на участке по ремонту двигателей внутреннего сгорания. Явление инерции подробно рассмотреть на устройстве и работе воздухоочистителей и центробежных фильтров очистки моторного масла. Практическое применение трения и способы его увеличения и уменьшения рассмотреть на примере муфты сцепления двигателя и системы смазки. Во время экскурсии познакомить учащихся с работой слесаря по ремонту двигателей.
Перед началом экскурсии познакомить учащихся с целью ее проведения при этом заострить их внимание на вопросах, по которым они должны будут написать отчет об экскурсии.
Вопросы для беседы:
1. Какие типы воздухоочистителей используются на двигателях сельскохозяйственных машин?
2. В чем состоит их сходство и отличие?
3. Какие способы очистки масла используются с двигателя внутреннего сгорания?
4. В чем преимущество центробежного способа очистки масла перед другими применяемыми в различных марках двигателей?
5. Когда трение в двигателе полезно, а когда вредно?
6. Назначение системы смазки двигателя. Требования, предъявляемые
к агрегатам системы смазки.
В ходе экскурсии рекомендуется предложить учащимся выполнить практические работы:
1. Во время посещения цеха по ремонту двигателей тракторов и комбайнов в машинно-тракторной мастерской обратите внимание на устройство муфты сцепления двигателя. Сделайте схематический рисунок муфты сцепления, укажите основные ее части. Объясните, какое физическое явление лежит в основе работы муфты сцепления двигателя.
2. Измерьте опорную площадь колес (гусениц) машин находящихся на ремонте в мастерской. По паспортным данным определите их массу. Рассчитайте давление, которое они оказывают на землю.
Занятие 18.
Экскурсия на зерноток для ознакомления с работой транспортерного зернопогрузчика, различных видов весов, наблюдение за работой весовщика.
Цель
: познакомить учащихся с особенностями профессий сельскохо-зяйственного производства. Показать на конкретных примерах использования изученных явлений в технике. Воспитывать значимости сельскохозяйственных профессий, уважения к людям труда, чувства гражданского долга - готовности трудиться в сельском хозяйстве.
Объекты наблюдения
: транспортерный зернопогрузчик, очиститель зернового вороха, зерносушильный комплекс, десятичные и автомобильные весы.
Методические замечания
Эту экскурсию целесообразней провести в сентябре, когда на зерноток поступает зерно и ведется его подработка. Многие вопросы, на которые учащиеся должны обратить внимание вовремя экскурсии будут с опережением материала изучаемого в рамках курса по выбору, но они знакомы им из курса физики седьмого класса.
Перед проведением экскурсий учителю необходимо определить маршрут экскурсии, договориться с руководством сельхозпредприятия о проведении экскурсии, а также с представителями сельхозпредприятия которые помогут провести экскурсию. При этом заранее определить круг вопросов, которые они должны будут осветить в ходе знакомства учащихся с работой машин и механизмов применяемых для подработки зерна на зернотоку. Отметить наиболее опасные участки, требующие особого внимания к правилам поведения учащихся в соответствии с требованиями техники безопасности и охраны труда. Проводя инструктаж учащихся перед началом экскурсии необходимо обратить их внимание на технику безопасности во время экскурсии указать на наиболее опасные участки.
Экскурсия проходит по следующему плану:
1. Ознакомление с работой зернопогрузочных машин.
2. Ознакомление с работой зерноочистительных агрегатов.
3. Ознакомление с работой зерноочистительно-сушильного комплекса
4. Ознакомление с весами, применяющимися на зернотоку. Наблюдение за работой весовщика.
5. Наблюдение за рабочими процессами машин, с которыми знакомим учащихся.
Перед началом экскурсии познакомить учащихся с целью ее проведения при этом заострить их внимание на вопросах, по которым они должны будут написать отчет об экскурсии.
Вопросы и задания к экскурсии на зерноток сельскохозяйственного предприятия:
1. Как называется наблюдаемое устройство? Каково его назначений?
2. Как осуществляется очистка зерна с помощью наблюдаемых машин и агрегатов?
3. Какой физический закон (явление) лежит в основе работы наблю-даемых машин и агрегатов?
4. Почему зерно перед закладкой на хранение в склад его пропускают через сушильный комплекс?
5. Какие типы весов используются на зернотоку? Что общего и отличного в их устройстве?
В ходе экскурсии рекомендуется предложить учащимся выполнить практическую работу.
Пронаблюдайте за работой зернопульта. Объясните принцип его работы. Как распределяется зерно в куче после движения по зернопульту? Чем объясняется такое расположение зерна в куче?
Давление жидкостей и газов
Занятие 19.
Использование давления жидкостей и газов в сельскохозяйственном производстве.
Цель
: формировать практическую направленность знаний учащихся. Расширить их представление о давлении жидкостей и газов на примерах сельскохозяйственного производства. Создать условия для развития интеллектуально-творческих способностей учащихся.
Методические замечания
С давлением жидкости и газов учащиеся знакомы из курса физики седьмого класса, поэтому начать занятие следует с повторения закона Паскаля.
После этого следует предложить учащимся задания:
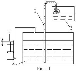
1. Для заправки топливом машин работающих на полевых работах используют мобильные заправочные комплексы. По плакату объяснить принцип действия мобильного заправочного комплекса (рисунок 11). Укажите, какой закон лежит в основе работы данного комплекса.
Ответ
. Компрессор 1 нагнетает воздух в емкость 4, топливо по шлангу 2 поступает в топливный бак 3 трактора или комбайна.
2. Для обработки садов и огородов ядохимикатами от вредителей используют ручные и ранцевые опрыскиватели. Объясните принцип действия опрыскивателя схема, которого показана на рисунке 12. Какой закон лежит в основе работы опрыскивателя?
Ответ. В герметичный сосуд (5) наливают приготовленный раствор ядохимикатов (1), При нажатии на ручку насоса (4) поршень (2) проталкивает воздух через клапан (6). Воздух проходит через раствор и скапливается в полости (3). При накачивании воздуха в опрыскиватель его давление возрастает, по закону Паскаля воздух оказывает давление на стенки опрыскивателя и свободную поверхность раствора ядохимикатов, который под давлением по шлангу проступает к крану распылителя (7). При открытии крана раствор ядохимикатов распыляется жиклером распылителя (8) образуя туманообразное облако, которое равномерно оседает на листья и стебли растений.
Далее следует познакомить учащихся с принципом работы машинами для химической защиты растений, такими как ОВТ-1А, ОН-400, ОШУ-50А при этом отмечаются их технические характеристики (технические характеристики машин предлагаемых для ознакомления учащихся приведены ниже в таблице).
| Опрыскиватель
|
Ширина захвата (м)
|
Ем-
кость резер-вуара
м3
|
Производи-тельность вентилято-
ра м3
/ч
|
Норма расхода
ядохимиката
л/га (кг/га)
|
Диапазон
рабочих
скоростей
км/ч (м/с)
|
Расчетная произво-дитель-ность
га/ч
|
Масса
кг
|
Агрегати-рование
|
| Насоса
л/мин
|
| Вентилятор-ный трактор-ный ОВТ=1А
|
20…50
|
1200
|
30000
85
|
25…150
200…2400
|
6…8
(1,66 …
2,22)
|
2…15
|
910
|
ЮМЗ-6Л/М
Т-70В
|
| Универсаль-ный навесной ОН-400
|
8,5...13,5
|
400
|
---
100
|
50…780
|
6…9
(1,66… 2,5)
|
5…11
|
320
|
Т-25А1,
Т-70В
|
| Опыливатель навесной универсальный
ОШУ-50А
|
50…80
|
160
|
6000
–
|
До 40
|
6…8
(1,66…
2,22)
|
5…25
|
280
|
Т-25А1,
Т-70В, Т-Т-40ОМ
|
После этого следует решить несколько задач на применение закона Паскаля:
3. В воздушно-водяном баке автоматической безбашенной водокачки создается давление в 400 кПа. На какую максимальную высоту может быть поднята вода в водопроводе?
Таблица: Машины для химической защиты растений
4. В теплице по выращиванию сельскохозяйственных растений необходимо, чтобы температура воздуха не превышала допустимую норму. Повышение температуры сверх нормы может привести к гибели растений. Предложите конструкцию автоматического устройства, которое позволяло бы поддерживать температуру в теплице постоянной.
Возможное решение
. Решение может иметь несколько вариантов, один из которых может быть следующий. Для того, чтобы открыть вентиляционные форточки в теплице, можно использовать устройство схема которого показана на рисунке 13. Тонкостенный сосуд, заполненный воздухом, соединяется герметично с узким коленом сообщающегося сосуда Б, заполненного водой. В широком колене на поплавке закреплен шток С, соединенный верхним концом с вентиляционной форточкой. Поплавок должен иметь диаметр немного меньше, чем диаметр колена, чтобы без трения о стенки он мог перемещаться в вертикальном положении. При повышении температуры давление воздуха в сосуде А будет увеличиваться, в результате чего в малом колене сообщающегося сосуда вода будет опускаться, а в большом подниматься, что приведет к движению поплавка со штоком, и форточка будет открываться. Разность сечения колен сообщающихся сосудов дает выигрыш в силе, так как давление согласно закона Паскаля будет одинаковым. Когда температура воздуха в теплице понизится за счет вентиляции, то форточка автоматически закроется, так как давление воздуха в сосуде А уменьшится, а уровень воды в широкой части сообщающегося сосуда понизится.
5. Подъем и опускание жатки самоходного комбайна производится с помощью двух гидроцилиндров, в которые масло подается под давлением 250 кПа. Какая сила действует на жатку со стороны гидроцилиндров, если диаметр поршня гидроцилиндра 108 мм?
Занятие 20.
Лабораторная работа: "Исследование зависимости давления
жидкости от ее плотности и высоты столба"
Цель
: развивать экспериментальные методы познания, формировать умения работать с лабораторными и контрольно-измерительными приборами. Создать условия для развития интеллектуально-творческих способностей учащихся.
Оборудование.
микроманометр; высокий сосуд со шкалой; чистая вода; перенасыщенный раствор поваренной соли, подкрашенный хвойным экстрактом.
Методические замечания
В начале занятия предлагаем учащимся задание, в котором требуется ответить на вопрос: – Из какого отверстия в боковой стенке сосуда длина вытекающей струи вода будет наибольшей? Почему?
Для этого рисуем на доске цилиндрический сосуд с водой, в боковой стенке которого на разной высоте сделаны отверстия, но не показываем на рисунке, как вытекают струйки жидкости из отверстий. Предлагаем учащимся самостоятельно дорисовать рисунок, указать на нем, как будет зависеть длина струек жидкости, вытекающих из отверстий, от высоты отверстия. Учащиеся предлагают различные варианты решений, в том числе и такие, в которых самая большая длина струйки вытекающей из верхнего отверстия. Коллективное обсуждение зависимости давления жидкости от высоты столба приводит учащихся к выводу, что из верхнего отверстия может вытекать струйка самой короткой длины. Обсудив с учащимися этот вопрос, демонстрируем опыт.
Затем предлагаем учащимся для выполнения лабораторной работы следующее задание:
Исследовать, как зависит давление в жидкости от ее плотности и от высоты столба жидкости.
Исходя из результатов обсуждения рассмотренного выше опыта, учащиеся определяют цель работы, составляют план проведения исследования, согласно которого, используя микроманометры и жидкости различной плотности, проводят исследование зависимости давления в жидкости от ее плотности и высоты столба (Фото 1). В ходе исследования учащиеся устанавливают, что давление в жидкости прямо пропорционально плотности жидкости и высоте столба жидкости. После чего записывается формула для расчета давления жидкости: P=
r *
g *
h.

Фото 1
После выполнения лабораторной работы учащимся предлагается решить следующие задачи:
1. Задвижка для слива молока из бочки автоцистерны по перевозке молока имеет площадь 100 см2
, находится на глубине 80 см. С какой силой молоко давит на задвижку, если плотность молока равна 1028 кг/м3
?
2. Какую жесткость должна иметь пружина двуплечного рычага диафрагменного реле давления воды в безбашенной автоматизированной водокачке ВЭ-2,5 чтобы оно срабатывало при давлении 200 кПа? Площадь диафрагмы равна 4 см2
, а длины плечей рычага относятся как 1/3. Пружина прикреплена к большему плечу рычага. Максимальное перемещение меньшего плеча рычага соединенного с диафрагмой при срабатывании реле равно 5 мм.
3. Максимально допустимое давление масла в магистрали системы смазки тракторного двигателя не должно превышать 3 кгс/см2
. Какую жесткость должна иметь пружина сливного клапана срабатывающего при этом давлении, если площадь сечения канала магистрали равна 9 мм2
, а ход клапана при полном его открывании – 4 мм.
Занятие 21
: Использование гидравлических машин в
сельскохозяйственном производстве
Цель
: формировать практическую направленность знаний учащихся. Расширить их представление о давлении жидкостей и газов на примерах сельскохозяйственного производства. Создать условия для развития интеллектуально-творческих способностей учащихся.
Оборудование
: плакаты «Гидравлическая система трактора», «Гидрав-лическая система Комбайна», «Гидравлический тормоз», «Гидравлический домкрат».
Методические замечания
Понятие гидравлическая машина знакома учащимся из курса физики седьмого класса. Вначале занятия повторяем с учащимися понятие гидравлическая машина, принцип ее действия при этом обращаем внимание на то, что в основе работы гидравлической машины лежит закон Паскаля. Далее по плакатам рассматриваем устройство гидравлической системы трактора, комбайна, гидрофицированного погрузчика, экскаватора, самосвала. Рассматривая устройство гидравлических систем сельскохозяйственных машин и механизмов необходимо обратить внимание учащихся на наличие общих агрегатов входящих в их устройство (масляный бак, насос, распределитель, силовой цилиндр). Рассказывая об основных агрегатах гидравлической системы необходимо указать их назначение:
Масляный бак – служит емкостью для хранения необходимого количества масла, обеспечивающего работу гидравлической системы;
Насос – создает рабочее давление в гидравлической системе;
Распределитель – направляет потоки масла к силовым цилиндрам гидравлической системы сельскохозяйственной машины;
Силовой гидравлический цилиндр – управляет работой соответствующих агрегатов сельскохозяйственной машины соединенных с ним.
После этого учащимся следует предложить практическую работу.
Задание.
По плакатам «Гидравличе6ский домкрат» и «Гидравлический тормоз» указать общие и отличительные особенности их устройства. Назвать агрегаты данных устройств, которые выполняют те же функции, что и основные агрегаты гидравлической системы сельскохозяйственных машин.
После выполнения практической работы. Обсуждения ответов учащихся предлагаем ими для самостоятельного решения задачи.
1. Насос НШ – 32К при подъеме плуга создает давлении 125 кгс/см2
. С какой силой шток действует на рычаг навесного устройства трактора?
2. Для подъема клапана копнителя самоходного зерноуборочного комбайна необходимо усилие 12,3 кН. Какой диаметр должен иметь силовой цилиндр, чтобы обеспечить работу клапана при давлении в магистрали 6,3 МПа?
3. Производительность насоса НШ – 41У равна 45 л/мин. За сколько времени шток силового цилиндра диаметром 100 мм переместится на 30 см?
Занятие 22
. Лабораторная работа: «Изучение принципа действия гидравлической машины»
Цель
: развивать экспериментальные методы познания, формировать умения работать с лабораторными и контрольно-измерительными приборами. Создать условия для развития интеллектуально-творческих способностей учащихся.
Оборудование
: линейка, медицинские шприцы различных объемов, набор грузов, динамометр.
Методические замечания
В начале занятия повторяем с учащимися: понятие давление, формулу для вычисления силы давления ( ), закон Паскаля, принцип действия гидравлической машины, обращая при этом внимание на равенство давления создаваемого в большом и малом цилиндрах гидравлической машины.
Затем предлагаем учащимся выполнить экспериментальную часть лабораторной работы.
Задание 1.
Используя медицинские шприцы и трубки от системы, соберите модель гидравлической машины с помощью, которой можно было бы демонстрировать принцип ее действия.
Задание 2
. Используя сконструированную вами модель, рассчитайте какой выигрыш в силе, дает ваша модель гидравлической машины.
Задание 3
. Под каким давлением окажется жидкость в модели вашей гидравлической машины, если, удерживая пальцем руки, меньший поршень в покое, а на больший поршень поставить груз массой 500 г. Предложите способ экспериментальной проверки ваших расчетов.
Задание 4
. Внутри цилиндра гидравлического пресса закреплены пластинки А и В (рисунок 14) , площади которых соответственно равны 4 см2
и 6 см2
. Какая сила действует на каждую грань этих пластинок, если малый поршень производит давление 5 Н/см2
. Укажите направление этих сил.
Методические рекомендации
. 1. Для выполнения первого задания учащиеся шлангом от системы соединяют между собой два медицинских шприца разного объема. Вынимают поршень из шприца меньшего объема, а поршень шприца большего объема полностью вдвигают в шприц. Меньший шприц заполняют водой и, удерживая его вертикально, перемещением поршня большего шприца удаляют воздух из соединительной трубки. После этого полностью вдвигают поршень большего шприца, а в меньший шприц доливают воды и ставят на место поршень. Модель готова к демонстрации. Перемещая поочередно поршни шприцов, учащиеся отмечают, что к поршню меньшего шприца для его перемещения нужно прикладывать меньшее усилие, чем к поршню большего шприца.
2. С помощью линейки или штангенциркуля учащиеся измеряют диаметры поршней. Затем вычисляют их площади и по условию равенства давления в цилиндрах вычисляют выигрыш в силе для данной модели гидравлической машины.
3. Третье и четвертое задание оформляется решением задач. Не достающие данные для решения третьего задания берутся из результатов измерений и вычислений, проведенных во втором задании.
Задание 23.
Экскурсия в МТМ сельскохозяйственного предприятия - встреча с механизаторами, знакомство с работой гидравлических устройств в сельскохозяйственных машинах.
Цель
: познакомить учащихся с особенностями профессий сельскохо-зяйственного производства. Показать на конкретных примерах использования изученных явлений в технике. Воспитывать значимости сельскохозяйственных профессий, уважения к людям труда, чувства гражданского долга - готовности трудиться в сельском хозяйстве.
Объекты наблюдения
: гидравлическая система трактора (комбайна), гидроподъемник, кузнечный механический молот, гидравлический домкрат.
Методические замечания
При подготовке к проведению экскурсий учителю необходимо определить маршрут проведения экскурсии, договориться с руководством сельхозпредприятия о проведении экскурсии, а также с представителями сельхозпредприятия которые помогут провести экскурсию. При этом заранее определить круг вопросов, которые они должны будут осветить в ходе знакомства учащихся устройством и работой гидравлических систем машин и механизмов имеющихся в МТМ. Отметить наиболее опасные участки, требующие особого внимания к правилам поведения учащихся в соответствии с требованиями техники безопасности и охраны труда. Проводя инструктаж учащихся перед началом экскурсии необходимо обратить их внимание на технику безопасности во время экскурсии указать на наиболее опасные участки.
Перед началом экскурсии познакомить учащихся с целью ее проведения при этом заострить их внимание на вопросах, по которым они должны будут написать отчет об экскурсии.
План проведения экскурсии
1. Встреча с заведующим МТМ и лучшими механизаторами. Беседа с ними о назначении и особенности эксплуатации гидросистем трактора и комбайна.
2. Знакомство с расположением агрегатов гидросистемы на тракторе и комбайне (напримере машин находящихся на ремонте в мастерской).
3. Знакомство с гидрофицированными механизмами используемых для ремонтных работ (гидроподъемник, кузнечный механический молот, гидравлический домкрат).
4. Определение технических характеристик гидравлических машин по их паспортным данным.
Вопросы для беседы:
1. Какие преимущества имеют машины, оснащенные гидравлической системой перед машинами имеющей ее?
2. Чем отличается гидравлическая система трактора от гидравлической системы комбайна?
3. Где на тракторе и комбайне располагается масляный насос? Какова его производительность? Какое максимальное давление создают данные насосы?
4. Что общего между гидравлической системой трактора и гидро-подъемником?
5. Какие виды гидроцилиндров устанавливаются на тракторе и комбайне? В чем состоит их отличие друг от друга?
В качестве дополнительного задания по итогам экскурсии рекомендуется предложить учащимся составить задачи на закон Паскаля применимый к гидравлическим машинам.
Занятие 24.
Конструирование и изготовление модели гидравлической системы трактора.
Цель
: формировать у учащихся умения применять знания на практике. Развивать общеучебные и специальные умения. Создать условия для развития интеллектуальных способностей учащихся.
Оборудование
: набор шприцев разного объема, трубки и пластмассовая арматура от разовых систем, плакат «Агрегаты гидросистемы трактора», крепежный материал (болтики с гаечками, проволока), шило, отвертка, лист фанеры или ДВП размером 40 х 40 см, брусок размерами 1,5 х 1 х 15 см.
Методические замечания
В начале занятия подводим итоги экскурсии. Рассматриваем особенности устройства агрегатов гидросистемы и их назначение. Разбираем примеры задач составленных учащимися по результатам экскурсии, при этом обращаем внимание учащихся на то, какие знания необходимо применить для решения составленных ими задач (закон Паскаля, понятие силы давления, формулу для вычисления силы давления).
Далее предлагаем учащимся задание: Используя имеющиеся на вашем столе материалы, сконструируйте и изготовьте модель гидравлической системы трактора. Опишите принцип ее действия. Укажите, какие детали модели демонстрируют принцип работы основных агрегатов гидросистемы.
Решение данного задания показано на рисунке 15. Все детали модели крепятся на листе фанеры или ДВП с помощью хомутиков из проволоки и других крепежных материалов, имеющихся в вашем распоряжении. Работает модель следующим образом. Шприц 1 моделирует работу насоса в гидросистеме. При перемещении его поршня в системе создается давление, которое по трубкам 5 подается в шприцы 2, которые выполняют функцию нижней и верхней полости гидроцилиндра двухстороннего действия. Тройник 4 и зажимы 3 моделируют работу распределителя. Брусок 6 закрепленный на оси 7 между штоками шприцев демонстрирует выполнение работы агрегатом, управляемым с помощью гидроцилиндра.
Занятие 25.
Применение сообщающихся сосудов в механизации
животноводческих ферм.
Цель
:
формировать практическую направленность знаний учащихся. Расширить их представление о сообщающихся сосудах. Создать условия для развития интеллектуально-творческих способностей учащихся.
Оборудование
: плакаты «Схема водопровода», «Схема стационарной доильной установки елочка или карусель», «Схема установки рециркуляционного способа удаления навоза», прибор сообщающиеся сосуды.
Методические замечания
С сообщающимися сосудами и законом сообщающихся сосудов учащие-ся знакомы из курса физики седьмого класса. В начале занятия следует повторить понятия сообщающиеся сосуды и закон сообщающихся сосудов, а также показать на опытах сообщающие сосуды и проявление их закона.
Затем по плакатам познакомить учащихся со схемой водоснабжения жилых и животноводческих помещений. Рассказывая о системе водоснабжения необходимо обратить внимание учащихся на то, что жидкость в сообщающихся сосудах устанавливается на одинаковом уровне, а давление столба жидкости зависит от ее плотности и высоты.
Вода на фермы и в жилые помещения подается в большинстве случаев самотеком из водонапорной башни, в которую она накачивается насосами из скважины или открытого водоема после прохождения водой системы очистных сооружений. Рассматривая систему водоснабжения с водонапорной башней, указываем на то, что строительство водонапорной башни стоит дорого. Предлагаем учащимся ответить на вопрос:
– Можно ли
подать воду потребителям без постройки водонапорной башни?
Анализируя варианты ответов учащихся, знакомим их с принципом работы безбашенной водокачки. А, также вспоминая из курса физической географии характеристики ландшафта и способы залегания грунтовых вод, знакомим учащихся со способом подачи воды самотеком из артезианских скважин.
Говоря о применении сообщающихся сосудов в животноводстве, знакомим учащихся со схемой механизированного доения коров на примере стационарной доильной установки типа «Елочка» или «Карусель». Объясняя технологическую схему доильной установки, акцентируем внимание на агрегатах представляющих систему сообщающихся сосудов. При этом отмечаем, что соединение между собой агрегатов установки в единую систему, составляющую сообщающиеся сосуды служат для транспортировки молока во время доения в молокосборник и первичной его обработки. Транспортировка молока происходит не самотеком, а под давлением в отличие от обычных сообщающихся сосудов, которые рассматривались на уроках физики седьмого класса.
 Продолжая знакомство учащихся с процессами механизации животно-водства, предлагаем им самостоятельно по рисунку 16 объяснить один из способов механизированного удаление навоза из помещения фермы.
Вопросы для работы с рисунком:
1. Каким условиям должен удовлетворять навоз для его удаления способом изображенном на рисунке?
2. Что относится к сообщающимся сосудам составляющих данную схему навозоудаления?
3. Объясните механизм удаления навоза по схеме изображенной на рисунке.
В заключение занятия следует решить следующие задачи:
1. Бак водонапорной башни обеспечивающей водой животноводческие фермы поднят на высоту 5 м относительно поверхности земли имеет высоту 2,7 м. Под каким давлением вода будет выливаться из крана автопоилки ПА-1 при открытом клапане, если она установлена на высоте 70 см относительно поверхности земли?
2. С какой силой рычаг автопоилки ПА-1 должен надавливать на шток клапана, чтобы переместить его на 2 см, если пружина клапана имеет жесткость 200 Н/м, площадь клапана 3 см2
, автопоилка установлена на высоте 50 см относительно земли, а бак водонапорной башни поднят на высоту 4,5, уровень воды в нем равен 2 м?
3. Бак водонапорной башни имеет форму куба с длиной ребра 4 м. На сколько понизится уровень воды в баке за час, если поголовье КРС на ферме составляет 1000 голов, а каждая корова в среднем за час потребляет 4,2 л?
Занятие 26 – 27.
Экскурсия на молочно-товарную ферму сельскохозяйственного предприятия - встреча с доярками и мастерами наладчиками. Практические работы: Изучение принципа работы доильных аппаратов (установок для) доения коров применяемых в на животноводческих фермах. Изучение системы водоснабжения животноводческих ферм.
Цель
: познакомить учащихся с особенностями профессий сельскохо-зяйственного производства. Показать на конкретных примерах использования изученных явлений в технике. Воспитывать значимости сельскохозяйственных профессий, уважения к людям труда, чувства гражданского долга - готовности трудиться в сельском хозяйстве.
Объекты наблюдения
: система водоснабжения, установка для механизированной дойки коров, система навозоудаления из помещения фермы.
Методические замечания
При подготовке к проведению экскурсий учителю необходимо определить маршрут проведения экскурсии, договориться с руководством сельхозпредприятия о проведении экскурсии, а также с представителями сельхозпредприятия которые помогут провести экскурсию. При этом заранее определить круг вопросов, которые они должны будут осветить в ходе знакомства учащихся с работой подразделения, где будет проходить экскурсия. Отметить наиболее опасные участки, требующие особого внимания к правилам поведения учащихся в соответствии с требованиями техники безопасности и охраны труда. Проводя инструктаж учащихся перед началом экскурсии необходимо обратить их внимание на технику безопасности во время экскурсии указать на наиболее опасные участки.
План проведения экскурсии
1. Встреча с заведующим МТФ, лучшими доярками и слесарем-ремонтником по обслуживанию трудоемких процессов в животноводстве. Беседа с ними о профессиях связанных с животноводством их значимостью и особенности процессов механизации животноводства.
2. Знакомство с системой водоснабжения и навозоудаления, расположением автопоилок, водонапорной башни, транспортеров для удаления навоза.
3. Знакомство с устройством с оборудованием для механизированного доения.
4. Определение технических характеристик агрегатов обеспечивающих механизацию производственного процесса на ферме.
Во время экскурсии на молочно-товарную ферму сельскохозяйственного предприятия учащиеся изучают :I - принцип работы доильных аппаратов (установок), применяемых в хозяйстве; II - систему водоснабжения фермы.
Отчет об экскурсии составить по следующему плану:
I: а) название доильной установки;
б) назвать основные узлы доильной установки;
в) устройство вакуумного насоса, принцип его действия;
г) устройство вакуум регулятора, способ регулировки давления в вакуум-проводе доильной установки;
д) устройство пульсара, принцип его действия;
е) назначение коллектора, принцип его действия
;
ж) принцип работы доильного стакана;
II:а) Откуда и каким образом происходит подача воды на ферму?
б) Какие насосы используются для подачи воды в водопровод?
в) Каков
принцип действия насоса подающего воду.
г) Как расположены автопоилки? Начертите схему подсоединения автопоилок к магистральному водопроводу.
г) Опишите устройство и принцип действия автопоилки.
Занятие 28.
Изготовление модели вакуум-регулятора
доильной установки.
Цель
:
формировать практическую направленность знаний учащихся. Расширить их представление о способах регулирования давления, развивать общеучебные и специальные умения. Создать условия для развития интеллектуально-творческих способностей учащихся.
Оборудование
: манометр, насос Камовского (Шинца), тройник, резиновые шланги для соединения деталей модели, шприц, полоска резины, напильник, перочинный нож, проволока диаметром 0,8 – 1 мм.
Методические замечания
Занятие посвящается решению конструкторского заданий в ходе, которого учащиеся совместно с учителем составляют план выполнения поставленной задачи, изготовляют модель вакуум-регулятора доильной установки и испытывают его действие. Перед тем как приступить к выполнению поставленной на занятии цели с учащимися нужно обсудить результаты экскурсии проведенной на предыдущем уроке. При этом следует обратить внимание на следующие вопросы:
1. Назовите основные агрегаты, входящие в устройство доильной установки?
2. На чем основан принцип машинного доения коров?
3. Какое давление рекомендуется для нормальной работы доильной установки?
4. Каким образом давление в доильной установке поддерживается постоянным?
Затем предлагаем учащимся нарисовать схему доильной установки и вакуум-регулятора. Обсуждая схему доильной установки, выясняем, что вакуум-регулятор может располагаться в магистральной трубе вакуум-провода, и крепится к нему в нижней части трубы. Открываться клапан должен под действием атмосферного давления. Величина рабочего давления в вакуумопроводе регулируется массой дополнительного груза прикрепленного к штоку клапана. В результате беседы разрабатывается конструкция модели вакуум-регулятора показанная на рисунке 17 (1 – корпус шприца, 2 – уплотнительное резиновое кольцо, 3 – поршень шприца, 4 – груз для регулировки давления в вакуумопроводе).
Изготовляется модель из разового шприца любого объема. Поршень вынимается из шприца и обтачивается по кругу напильником так, чтобы форма круга сохранилась, при этом поршень должен свободно бес трения ходить внутри шприца. У шприца обрезается наконечник для иглы и дно шприца обтачивается напильником так, чтобы по центру появилось отверстие, в которое свободно входит шток поршня. При этом от донышка шприца должны остаться плечики шириной 2-3 мм, на которые должен опираться обточенный поршень. Шток поршня и его площадка подгоняются под размер отверстия. Когда детали подготовлены, собирается модель. Для увеличения герметичности из полоски резины вырезается уплотнительное кольцо. Для демонстрации действия модели через тройник резиновыми шлангами соединяем манометр (М) с вакуум-регулятором и насосом (рисунок 18). Откачивая из системы воздух, демонстрируем работу вакуум-регулятора (вакуум-регулятор должен располагаться вертикально клапаном вниз).
Занятие 29.
Конструирование и изготовление модели автопоилки.
Цель
:
формировать практическую направленность знаний учащихся. Расширить их представление о сообщающихся сосудах, развивать общеучебные и специальные умения. Создать условия для развития интеллектуально-творческих способностей учащихся.
Оборудование
: штатив с муфтами, кольцом и лапкой, бутылка с водой, плоский сосуд с водой. Плакат «Автопоилка ПА-1». Плакат «Автопоилка АГК-4».
Методические замечания
В начале занятия необходимо вспомнить о значении воды для живых организмов. По результатам экскурсии на МТФ рассмотреть систему водоснабжения животноводческих помещений, устройство автопоилки ПА-1 для КРС.
Затем предлагаем учащимся решить следующие задачи:
1. Сконструируйте и по возможности изготовьте поилку для цыплят, в которую вода поступает автоматически по мере потребления ее цыплятами.
Решение может иметь несколько вариантов, один из которых следующий.
Возможное решение
. К стенке или отдельной подставке прикрепить две скобы так, чтобы в них можно было бы вставить вниз горлышком бутылку или банку, наполненную водой. Под горлышко бутылки (банки) ставим блюдце или другой какой-нибудь мелкий сосуд. Вода из бутылки (банки) не будет выливаться до тех пор, пока в блюдце (сосуде) есть вода (рисунок 19).
После рассмотрения возможных вариантов решения этой задачи собираем и демонстрируем работу автопоилки (рисунок 19).
2. Для бесперебойного водоснабжения животных на отгонных пастбищах используют поплавковые автопоилки, схема которой показана на рисунке 20. Объясните принцип действия автопоилки.
Решение
. Автопоилка представ-ляет собой систему сообщающихся сосудов (корыт). Когда коровы начинают пить воду из одного корыта или нескольких, то ее уровень понизится во всех. Поплавок (П) опустится вниз, клапан (Кл) откроется, вода вновь будет поступать в поилку.
Далее предлагается учащимся задание для самостоятельной работы на 5-6 минут:
3. По плакату объясните устройство и принцип действия групповой автопоилки АГК-4.
Вопросы, на которые следует дать ответ в ходе выполнения самостоя-тельной работы:
1. Из каких частей состоит автопоилка АГК-4?
2. Для какой цели в автопоилке используется нагревательный элемент?
3. Каким образом в поилке поддерживается постоянный уровень воды?
4. Какое физическое явление лежит в основе работы автоматического устройства для поддержания постоянного уровня воды в поилке?
5. Как животные получают доступ к воде в поилке?
6. Для чего необходим терморегулятор?
Простые механизмы
Занятие 30.
Использование простых механизмов в конструкции
сельскохозяйственных машин.
Цель
: формировать практическую направленность знаний учащихся. Расширить их представление о простых механизмах на примерах сельско-хозяйственного производства. Создать условия для развития интеллектуально-творческих способностей учащихся.
Оборудование
: плакаты «Трактор», «Стогометатель», «Плуг».
Методические замечания
Понятие простые механизмы знакомо учащимся из курса физики седьмого класса. В начале занятия следует повторить такие вопросы:
1. Что называют простым механизмом?
2. Какие устройства относят к простым механизмам?
3. Что дает человеку применение простых механизмов?
После того как с учащимися разобрали ответы на вопросы, обращаем их внимание на то, что наиболее распространенным простым механизмом, который применяется в сельскохозяйственных машинах, являются рычаги. Это рычаги управления коробкой перемены передач и золотниками распределителя в гидросистеме трактора или комбайна, у трактора механизм для навешивания сельскохозяйственных орудий, стогометатели, экскаваторы, бульдозеры и другие. На примере этих машин и механизмов следует рассмотреть применение рычагов.
Кроме рычагов в сельскохозяйственной технике широко применяются блоки, ворот. Применение ворота можно рассмотреть напримере лебедки, а блоки как составная часть автокрана или таль (полиспаст). Применение винта как простого механизма следует рассмотреть на примере винтового транспортера выгрузного шнека комбайна. Клин – основной элемент плуга.
Рассмотрение применения простых механизмов в сельскохозяйственной технике позволяет показать, что они входят в устройство любой сельскохозяйственной машины. Внимательно рассматривая устройство сельскохозяйственных машин, почвообрабатывающего орудия можно найти в их конструкции различные виды простых механизмов.
Говоря о применении простых механизмов в сельскохозяйственном производстве необходимо акцентировать внимание учащихся на то, что их применение не дает выигрыша в работе, а дает лишь выигрыш в силе, что позволяет облегчить труд и повысить производительность труда.
В заключение занятия следует решить задачи:
1. Шаг винта винтового домкрата равен 6 мм, длина ручки 20 см. Действующая на ручку сила равна 120 Н. Какой груз можно поднять, пользуясь этим домкратом?
2. Радиус рукоятки ворота 35 см, радиус вала – 7 см. Какой груз можно поднять воротом, если на рукоятку ворота подействовать силой 400 Н?
3. Плечи рычага для подъема платформы сенокосилки 1,2 м и 10 см. Если тракторист приложит к рычагу усилие 300 Н, то какая сила подействует на тягу платформы?
Занятие 31.
Лабораторная работа: "Определение КПД при подъеме
груза при помощи полиспаста"
Цель
: развивать экспериментальные методы познания, формировать умения работать с лабораторными и контрольно-измерительными приборами. Создать условия для развития интеллектуально-творческих способностей учащихся.
Оборудование
: штатив, набор грузов, динамометр, набор из трех блоков, полиспасты, две капроновые нити разной длины.
Методические замечания
В начале занятия повторяем с учащимися понятия: КПД, полезная и затраченная работа, формулу для вычисления механической работы
Задание
1. Исследовать, как зависит КПД при подъеме груза с помощью подвижного блока от количества подвижных блоков.
Задание
2. Определить КПД при подъеме груза полиспастами.
Методические рекомендации
.
Для исследования КПД подвижных блоков собирать установку изображенную на рисунке 21. Определить полезную и затраченную работу, а затем вычислить КПД в случае а и б как отношение полезной работы к затраченной . Входе работы учащиеся заполняют таблицу. На основании результатов опытов делают вывод.
| №п/п
|
Масса груза (кг)
|
Высота подъема груза (м)
|
Сила тяги (Н)
|
Длина вытягива-ния нити (м)
|
КПД (%)
|
| а
|
|
|
|
|
|
| б
|
|
|
|
|
|
Занятие 32.
Понятие о кинематических схемах.
Цель
: формировать практическую направленность знаний учащихся. Расширить их представление о способах передачи вращения двигателя к рабочим агрегатам на примерах сельскохозяйственной техники. Создать условия для развития интеллектуально-творческих способностей учащихся.
Оборудование
: плакаты «Технологическая схема комбайна», «Коробка передач трактора», «Разбрасыватель минеральных удобрений»
Методические замечания
Изложение материала начинаем с рассмотрения вопроса о назначении машин применяемых в сельском хозяйстве, используя результаты экскурсий проведенных на предыдущих занятиях, обращаем внимание учащихся на то, что агрегаты машин приводятся в движение от двигателя. При этом распространен-ным видом движения деталей большинства агрегатов сельхозмашин является вращательное движение. Передача вращательного движения от вала двигателя, на вал агрегата выполняющего определенную работу производится двумя способами:
1. Передача вращения зацеплением (зубчатые, червячные, цепные, винтовые).
2. Передача вращения за счет силы трения (ременные, фрикционные).
Далее отмечаем, что передача вращательного движения происходит с преобразованием скорости и вращательного момента. Следует обратить внимание учащихся на тот факт, что при передаче движения сила взаимодействия между телами, передающими движение одинакова, и не изменяется, а изменяется лишь момент сил. В зависимости от радиуса деталей участвующих в передаче движения передаваемый момент сил может увеличиться или уменьшится.
На конкретных примерах следует рассмотреть примеры передачи движения за счет зацепления (зубчатые, червячные, цепные, винтовые) отметив их достоинства и недостатки.
| |
Вид передачи
|
| Зубчатая
|
Червячная
|
Цепная
|
Винтовая
|
| Достоинства
|
Высокий КПД, постоянное переда-точное число, от-сутствие проскаль-зывания, компакт-ность.
|
Высокий КПД, постоянное переда-точное число, от-сутствие проскаль-зывания, компакт-ность.
|
Высокий КПД, постоянное переда-точное число, от-сутствие проскаль-зывания, компакт-ность.
|
Высокий КПД, постоянное переда-точное число, от-сутствие проскаль-зывания, компакт-ность.
|
| Недостатки
|
|
|
Быстрый износ це-пи, шум во время работы, большие эксплуатационные расходы.
|
|
| Применение
|
Для передачи строго согласованного дви-жения ведущего и ведомого валов при небольшом расстоя-нии между ними. КПП. Ходоуменьши-тели. Дифференциал.
|
Для уменьшения ско-рости вращения ве-домого вала и одно-временного создания большого вращаю-щего момента. Руле-вой механизм, неко-торые подъемные ма-шины, краны и др.
|
Для передачи враще-ния между парал-лельными валами расположенных на достаточно большом расстоянии. Комбайн привод мотовила, плавающий транс-портер и шнек жат-ки, колосовой шнек и элеватор,распредели-тельный шнек бунке-ра.
|
Для преобразования вращательного дви-жения в поступатель-ное. Механизм пода-чи суппорта токарно-винторезного станка. Витовой домкрат. Некоторые виды подъемников.
|
Говоря о передаче движения с помощью сил трения, отмечаем основное достоинства ременной передачи – это плавность и бесшумность в работе, возможность передавать движение при различных расстояниях между осями валов.
Рассказывая о способах передачи движения, знакомим учащихся с понятием передаточного числа как отношением частоты вращения ведущего вала к частоте вращения ведомого. При этом следует показать, что это отношение обратно пропорционально отношению числа зубьев для передачи вращения зацеплением, а также отношению радиусов ведомого и ведущего шкивов ременной передачи и определяется по формуле (1). (1).
Все виды передачи вращения можно рассмотреть на примере зерноубо-рочного комбайна. В ознакомительном плане знакомим учащихся с применением передачи вращения в таких сельскохозяйственных машинах как разбрасыватель органических и минеральных удобрений, сеялках, кормораздат-чиках, прицепных комбайнах по уборке корнеплодов и др..
В заключение занятия следует решить задачи на расчет параметров устройства передающего вращение.
1. Ведущая шестерня имеет 20 зубьев и делает 300 об/мин. Сколько Зубьев имеет ведомая шестерня, если она совершает 120 об/мин?
2. Какого радиуса шкив надо поставить на ведомый вал сенокосилки, чтобы увеличить его частоту вращения в 8 раз, если ведущий шкив имеет радиус 20 см?
3. При изменении положения вариатора ходовой части зерноуборочного комбайна из одного крайнего положения в другое его частота вращения изменилась с 1157 об/мин до 1848 об/мин. Во сколько раз изменился радиус промежуточного диска вариатора? Частота вращения вала двигателя не изменилась.
Занятие 33.
Лабораторная работа: "Определение передаточного
числа зубчатой (ременной) передачи"
Цель
: развивать экспериментальные методы познания, формировать умения работать с лабораторными и контрольно-измерительными приборами. Создать условия для развития интеллектуально-творческих способностей учащихся.
Оборудование
: комплект из трех шестерен с различным числом зубьев, линейка, модель двигателя внутреннего сгорания, механическая дрель.
Методические замечания
В начале занятия повторить понятия: передаточное число, угловая скорость, формулы для вычисления угловой и линейной скорости движения тела, центростремительное ускорение и формулу для его вычисления.
Далее предлагаем учащимся выполнить практическую часть лабораторной работы.
Задание 1.
Рассчитайте передаточное число шестерен механической дрели и распределительных шестерен модели двигателя внутреннего сгорания. Как зависит скорость ведомых шестерен от передаточного числа передачи.
Задание 2.
Имея в своем распоряжении три шестерни с разным числом зубьев, определите, какой выигрыш в скорости вы можете получить, как при этом изменяется момент сил, передаваемый от одной шестерни к другой. Составьте кинематическую схему редуктора, состоящую из данных шестерен, рассчитайте скорость вращения на выходе.
Методические рекомендации
. 1. Учащиеся определяют число зубьев ведущей и ведомой шестерни и по формуле . Где N1
– число зубьев ведущей шестерни, N2
– число зубьев ведомой шестерни. Вычислив передаточные числа для шестерен механической дрели и модели двигателя, учащиеся устанавливают, что у дрели передаточное число больше, чем у модели ДВС. Анализируя работы дрели и двигателя, обращаем внимание учащихся на то, что для дрели необходимо увеличение скорости вращения сверла, а для ДВС один оборот кулачкового вала должен проходить за два оборота коленчатого вала.
2. При выполнении этого задания учащиеся должны рассмотреть комбинации трех пар шестерен, а также комбинацию из трех шестерен, когда передаточное число максимально и когда минимально. Рассматривая передачу вращения от ведущей шестерни к ведомой в редукторе состоящим из различной комбинации шестерен учащимся необходимо показать, что передаточное число прямо пропорционально выигрышу момента сил действующих на ведущую и ведомую шестерни. Силы, действующие между парами шестерен равны по величине, но так как радиусы шестерен разные то и моменты сил действующих на них тоже различные. Следует обратить внимание учащихся на то, что шестерни насаженные на ведущий и ведомый валы редуктора позволяют получить выигрыш в силе, который зависит от отношения радиуса шестерни к радиусу вала. То есть учащиеся должны прийти к выводу: Во сколько раз мы выигрываем в скорости вращений передаваемой зубчатой передачей, во столько раз проигрываем в моменте сил.
Занятие 34.
Экскурсия в МТМ - знакомство с простыми механизмами. Наблюдение за работой погрузчика, самосвала, опрокидывателя.
Цель
: познакомить учащихся с применением простых механизмов на конкретных примерах использования их в сельскохозяйственной технике. Воспитывать значимости сельскохозяйственных профессий, уважения к людям труда, чувства гражданского долга – готовности трудиться в сельском хозяйстве.
Объекты наблюдения
: грейферный погрузчик, стогометатель, экскаватор, кран-балка, самосвальные тракторные тележки.
Методические замечания
При подготовке к проведению экскурсий учителю необходимо определить маршрут проведения экскурсии, договориться с руководством сельхозпредприятия о проведении экскурсии, а также с представителями сельхозпредприятия которые помогут провести экскурсию. Заранее определить круг вопросов, на которые они должны обратить внимание учащихся в ходе знакомства с применением простых механизмов в сельскохозяйственной техники. Отметить наиболее опасные участки, требующие особого внимания к правилам поведения учащихся в соответствии с требованиями техники безопасности и охраны труда. Проводя инструктаж учащихся перед началом экскурсии необходимо обратить их внимание на технику безопасности во время экскурсии указать на наиболее опасные участки.
План проведения экскурсии
1. Встреча с заведующим МТМ и механизаторами, работающими на погрузочно-разгрузочных машинах (Грейферный погрузчик, стогометатель, экскаватор). Беседа с ними о назначении и особенности эксплуатации данных машин.
2. Знакомство с расположением простых механизмов и органов управле-ния ими на тракторах оснащенных грейферным погрузчиком, стогометателем, экскаватором.
3. Знакомство с устройством и работой кран-балки, винтовым домкратом.
4. Определение технических характеристик машин оснащенных погрузочно-разгрузочными механизмами (максимальная масса поднимаемого груза, площадь опорных точек во время работы, максимальная высота подъема груза, максимально допустимое плечо рычага при его полной нагрузке)
Вопросы для беседы вовремя экскурсии:
1. Для каких целей используются рычаги в рассмотренных машинах?
2. От чего зависит выигрыш в силе при работе грузоподъемных машин?
3. Как устроена и для каких целей используется кран-балка?
4. Как устроен и для каких целей используется винтовой домкрат? Как объяснить, что винтовой домкрат дает выигрыш в силе?
5. Какие основные технические характеристики имеют погрузочно-разгрузочные механизмы?
Практические задания для учащихся:
1. Найдите в грейферном погрузчике, стогометателе и экскаваторе простые механизмы назовите их и укажите назначение каждого из них. Схематически зарисуйте погрузочно-разгрузочную машину, обозначив в ней найденные в ней простые механизмы и точки их опоры.
2. Вычислите мощность, развиваемую стогометателем при подъеме копны сена на максимально допустимую высоту. Необходимые данные для решения задачи спросите у механизатора работающего на нем.
Отчет об экскурсии должен содержать ответы на вопросы для беседы и выполнение практических заданий.
Занятие 35.
Обобщающее занятие.
Цель
: обобщить и систематизировать основные положения курса. Подвести итог первого года обучения.
Методические замечания
Форма проведения итогового занятия может быть различной. Это может быть конференции, на которой учащиеся демонстрируют результаты выполнения индивидуальных заданий, которые учитель рекомендовал для домашних исследований учащимся, проявляющим повышенный интерес к изучению курса.
Одной из форм проведения этого занятия может быть занятие, на котором учащиеся пишут сочинение на тему: «Применение законов физики для повышения эффективности сельскохозяйственного производства», «Мой проект уменьшения трудоемкости процессов в животноводстве на фермах нашего хозяйства», «Мой проект повышения эффективности земледелия».
Это занятие может быть посвящено решению исследовательских и конструкторских задания по темам рассмотренном в ходе изучения курса из сборника задач и заданий по физике с сельскохозяйственным содержанием (Степанов Д.Л).
На этом занятии можно предложить учащимся на период летних каникул исследовательские задания.
1.
Исследуйте, как зависит глубина прогревания почвы в течение суток от ее цвета. Составьте график температурных колебаний почвы за сутки, за декаду, в разные месяцы лета.(Сделайте не менее четырех измерений на различных глубинах 5 см,10 см,15 см и 20 см).
2.
Исследуйте, зависит ли урожайность сельскохозяйственных культур от их пространственной ориентации: когда грядки расположены с севера на юг или с запада на восток?
3.
Исследуйте, как влияют колебания физических характеристик атмосферы на изменение погоды. Сопоставьте изменения погоды и физических характеристик атмосферы с поведением насекомых (муравьев, пчел, мошек и др.).
4.
Исследуйте, как влияют погодные условия на поведение животных на пастбище и на их абсолютный привес за сутки, декаду, месяц.
5.
Народная примета говорит: "Сильная ночная роса - к ясному дню". Исследуйте, как эта примета соотносится с физическими характеристиками окружающей среды.
6.
Земля имеет отрицательный заряд, а окружающая атмосфера в общей сложности - положительный. Исследуйте, как влияет электрическое поле, создаваемое землей и атмосферой, на развитие и рост растений?
7.
Сконструируйте и, если сможете, изготовьте простейшее устройство для намагничивания воды.
Используя устройство для омагничевания воды, исследуйте, как влияет полив растений омагниченой водой на их рост и развитие.
8. Исследуйте, какая почва прогревается быстрее - влажная или сухая.
Задания предлагаются для желающих, обсуждается план проведения исследований и форма отчетности. При выполнении заданий связанных с выращиванием сельскохозяйственный культур учащимся рекомендуется делать фотографии контрольных и экспериментальных участков.
|