| Министерство общего образования
Российской Федерации
Воронежская государственная лесотехническая
академия
Кафедра технологии конструкционных материалов
Курсовая работа
По дисциплине
«Метрология, стандартизация и сертификация»
Пояснительная записка
Студент 234группы Иммель Н.Н.
Руководитель курсовой работы
ассистент Матьяж В.А.
ВОРОНЕЖ 2004
Министерство образования Российской Федерации
Воронежская государственная лесотехническая академия
(ВГЛТА)
Кафедра технологии конструкционных материалов
Курсовая работа
По дисциплине
«Метрология, стандартизация и сертификация»
Пояснительная записка
ТКМ-234.05
Студент 234группы Иммель Н.Н.
Руководитель курсовой работы
ассистент Матьяж В.А.
ВОРОНЕЖ 2004

УДК 531.7+658.516+658.562
РЕФЕРАТ
Курсовая работа содержит 41с. текста, 15 рис., 12 таблиц, 9 использованных источников
СОЕДИНЕНИЯ ГЛАДКИЕ, ШПОНОЧНЫЕ, РЕЗЬБОВЫЕ, ДОПУСКИ, ПОСАДКИ, ПРИБОРЫ, РАЗМЕРЫ, ОБОЗНАЧЕНИЯ, ИЗМЕРЕНИЯ, РАЗМЕРНЫЕ ЦЕПИ.
Цель работы: научитсья определять предельные отклонения, предельные размеры, допуски и посадки гладких цилиндрических, шпоночных, шлицевых и резьбовых соединений; выполнить расчеты размерных цепей; научиться обозначать на чертежах и эскизах допуски и посадки; уметь выбирать универсальные средства для контроля размеров деталей; освоить выполнение расчетов предельных и исполнительных размеров гладких рабочих предельных калибров для контроля валов и отверстий.
Метод выполнения работы состоит в решении задач индивидуального задания с использованием таблиц и ГОСТов, ЕСДП и других нормативных документов, сведенных в приложениях.
Результатом выполнения работы являются: найденные величины предельных отклонений, предельных размеров, допусков, видов и параметров посадок различных соединений; построенные схемы расположения полей допусков, выбранные универсальные средства для контроля размеров деталей, входящих в соединения; выполненные эскизы и чертежи различных соединений и деталей с указанием шероховатости поверхностей и параметров отклонений формы; выполненный расчет допусков размеров, входящих в размерные цепи.
СОДЕРЖАНИЕ
Техническое задание…………………………………………………2
Реферат………………………………………………………………...4
Содержание……………………………………………………………5
Введение……………………………………………………………….6
1 Расчет и выбор посадок с натягом ………………………………...7
2 Расчет и выбор посадок подшипников качения на вал и в корпус……………………………………………………………………..12
3 Выбор посадок шпоночных соединений …………………………21
4 Определение допусков и посадок шлицевых соединений ……...25
Забиваем Сайты В ТОП КУВАЛДОЙ - Уникальные возможности от SeoHammer
Каждая ссылка анализируется по трем пакетам оценки: SEO, Трафик и SMM.
SeoHammer делает продвижение сайта прозрачным и простым занятием.
Ссылки, вечные ссылки, статьи, упоминания, пресс-релизы - используйте по максимуму потенциал SeoHammer для продвижения вашего сайта.
Что умеет делать SeoHammer
— Продвижение в один клик, интеллектуальный подбор запросов, покупка самых лучших ссылок с высокой степенью качества у лучших бирж ссылок.
— Регулярная проверка качества ссылок по более чем 100 показателям и ежедневный пересчет показателей качества проекта.
— Все известные форматы ссылок: арендные ссылки, вечные ссылки, публикации (упоминания, мнения, отзывы, статьи, пресс-релизы).
— SeoHammer покажет, где рост или падение, а также запросы, на которые нужно обратить внимание.
SeoHammer еще предоставляет технологию Буст, она ускоряет продвижение в десятки раз,
а первые результаты появляются уже в течение первых 7 дней.
Зарегистрироваться и Начать продвижение
5 Определение допусков и посадок резьбовых соединений ……...28
6 Расчет допусков размеров, входящих в размерные цепи………..30
Заключение……………………………………………………………36
Список использованных источников………………………………..37
ВВЕДЕНИЕ
При изучении общепрофессиональных дисциплин «Метрология, стандартизация и сертификация» студентами специальности 170400 «Машины и оборудование лесного комплекса» необходимо научиться [1]: выполнять и читать технические схемы, чертежи и эскизы деталей, узлов и агрегатов машин, сборочные чертежи; выбирать допуски и посадки гладких цилиндрических, резьбовых, шпоночных и шлицевых соединений; выполнять расчеты размерных цепей и т. д.
Курсовая работа охватывает наиболее важные разделы дисциплины и включает в себя шесть заданий:
1. Расчет и выбор посадок с натягом.
2. Расчет и выбор посадки подшипника качения на вал и в корпус.
3. Выбор посадок шпоночного соединения.
4. Определение допусков и посадок шлицевого соединения.
5. Определение допусков и посадок элементов резьбового соединения.
6. Расчет допусков размеров, входящих в размерные цепи.
При выполнении курсовой работы приобретаются практические навыки: в расшифровке посадок и обозначении их на чертежах; в выборе универсальных измерительных инструментов для контроля деталей гладких цилиндрических соединений; в расчете и выборе посадок подшипников в зависимости от вида нагружения; в обозначении посадок подшипников на чертежах; в выборе и обозначении на чертежах посадок шпоночных, шлицевых и резьбовых соединений; в расчете допусков размеров, входящих в размерные цепи и обозначении их на чертежах [2].
1 РАСЧЕТ И ВЫБОР ПОСАДОК С НАТЯГОМ
Исходные данные для расчета и выбора посадки с натягом представлены в таблице 1.1.
| Таблица 1.1– Исходные данные для расчета посадки с натятом
|
| Диаметры, мм
|
Длина соединения
ℓ, мм
|
Нагружение
|
Материалы
|
| Номинальный,
Dн
|
Внутренний вала,
d1
|
Наружный корпуса,
d2
|
Крутящий момент,
Мкр, Нм
|
Осевая сила,
Fос, Н
|
вала
|
корпуса
|
| 130
|
120
|
230
|
60
|
80
|
110
|
Бр04Ц4С4
|
Ст 45
|
Используя исходные данные, выполнить расчет и обоснование посадки с натягом.
Рисунок 1.1.– Эскиз к расчету посадки с натягом
В посадке с натягом должна быть гарантирована неподвижность соединения в процессе эксплуатации без дополнительного крепления его деталей.
При запрессовке деталей происходит упругое деформирование корпуса и вала. От возникающих напряжений в соединяемых деталях созда
Сервис онлайн-записи на собственном Telegram-боте
Попробуйте сервис онлайн-записи VisitTime на основе вашего собственного Telegram-бота:
— Разгрузит мастера, специалиста или компанию;
— Позволит гибко управлять расписанием и загрузкой;
— Разошлет оповещения о новых услугах или акциях;
— Позволит принять оплату на карту/кошелек/счет;
— Позволит записываться на групповые и персональные посещения;
— Поможет получить от клиента отзывы о визите к вам;
— Включает в себя сервис чаевых.
Для новых пользователей первый месяц бесплатно.
Зарегистрироваться в сервисе
ется давление рэ - которое и должно обеспечить неподвижность соединения при эксплуатации. Для того чтобы не произошло относительного смещения деталей в соединении, необходимо выполнение неравенств:
при нагружении осевой силой Foc и крутящем моментом М кр
Рэ ≥ √F²oc + (2Mkp/d)² / ΠdHf ℓ; (2.1)
при нагружении только осевой силой
Рэ ≥ Foc / ΠdHf; (2.2)
при нагружении только крутящим моментом
Рэ ≥ 2Mkp; (2.3)
гдо Рэ, - давление, обеспечивающие неподвижность соединения при эксплуатации, Па; dH - номинальный диаметр, м; ℓ - длина соединения, м; foc - осевая сила, Н; Mkp - крутящий момент, Нм; f -коэффициент трения (сцепления) сопрягаемых деталей. В рассматриваемом примере гладкое цилиндрическое соединение нагружено крутящим моментом и осевой силой, поэтому для определения Рэ следует воспользоваться неравенством (2.1), подставив исходные данные из таблицы 1.1 и приняв
f = 0.08
Р э ≥ √110²+(2∙80/0.13)² / 3.14∙0.13∙0.06∙0.08 = 6,806·106
Па
Натяг, способный обеспечить требуемое давление, определить по формуле:
Nmin.p. = PэdH(C1/E1 + C2/E2 ) , (2.4)
где Nmin.p. – наименьший расчетный натяг; E1,E2 – величины модулей упругости первого ряда материала и вала корпуса; С1,С2 – коэффициенты ламе для вала и корпуса вычислить по формулам:
С1= 1 + (d1/dн)²/1- (d1/dн)² - μ1; С2 = 1 + (dн/d2)²/1- (dн/d2)² - μ2,
где μ2,μ1 – коэффициенты Пуассона материалов вала и корпуса.
Приняв коэффициенты Пуассона из [3, табл.9] для бронзы μ1 = 0,32;
для стали μ2 = 0,3 и подставив их в формулы (2.5) и (2.6) получим С1= 12,2; С2 = 2,238.
Полученные значения коэффициентов Ламе и модули упругости из таблицы 9. пусть для бронзы Е1 = 0,9∙10¹¹ Па, для стали Е2 = 2∙10¹¹ Па.
Подставим полученные значения в формулу 2.4 и найдем Nmin.p. :
Nmin.p.= 1,298∙10-4
м ≈ 130 мкм.
Величина поправки U на снятие неровностей контактных поверхностей, определяется из выражения
U = к1Rа1 + к2 Rа2, (2.7)
где Rа1, Rа2 - параметры шероховатостей поверхностей охватываемой и охватывающей поверхностей, мкм; к1 и к2 – коэффициенты, учитывающие высоту смятия неровностей контактных поверхностей. При Rа > 1,25 к = 5, при Rа ≤ 1,25 к = 6.
С учетом поправки U наименьший фактический натяг Nmin.φ. можно определить по формуле:
Nmin.φ. = Nmin.p. + U (2.8)
Для рассматриваемого примера назначим предварительно 7-й квалитет и по таблице 4 выберем параметры шероховатостей по уровню точности С для вала Rа1 = 1,6мкм и для втулки Rа2 = 1,6мкм. Тогда к1 = к2 = 5. Подставим
Принятые величины в формулы 2.7 и 2.8 и получим :
U = 16 мкм; Nmin.φ. = 146мкм
Для обеспечения прочности сопрягаемых деталей при запрессовке необходимо, чтобы отсутствовали пластические деформации на контактных поверхностях вала и корпуса и выполнялись условия:
[P1]≤0,58σΤ1[1-(d1/dн)²] - для вала
Подставив значения получим: [P1] ≤ 1,45∙107
Па.
[P2]≤0,58σΤ2[1-(dн/d2)²] - для корпуса
Подставив значения получим: [P2] ≤ 1,42∙108
Па.
Наименьшим из двух значений является [P2]≤ 1,45∙107
Па, и оно является определяющим при выборе посадки.
Тогда наибольший расчетный натяг Nmax.р., при котором создается наименьшее из двух допускаемых давлений, найти по формуле:
Nmax.р. = [Pmin]* dH(C1/E1 + C2/E2 ) , (2.11)
Подставив в формулу 2.11 ранее найденные значения вычислим наибольший расчетный натяг. Получаем Nmax.р. = 277 мкм
С достаточной для практики точностью можно принять, что наибольший расчетный и наибольший фактический натяги приближенно равны
Nmax.р. ≈ Nmax.φ.
Используя результаты расчета построим схему расположения полей допусков и определим квалитеты и основные отклонения. В системе отверстия определим основное отклонения d=130Н и квалитет 130Н6(0,25
).
Затем выбираем основное отклонение для вала нижнее отклонение, которого не должно быть менее чем нижнее отклонение запаса неподвижности 130v8(0,265
0,202
).
Вычислим запас неподвижности и запас прочности.
З.нп. = Nmin.т. - Nmin.φ.
З.пр. = Nmax.р. + Nmax.т.
Подставив значения в формулы, получим запас неподвижности и запас прочности: З.нп. = 47 мкм, З.пр. = 12 мкм. Полученные значения удовлетворяют условию: З.нп. ≈ (2…4)∙ З.пр. , т.е. 47 ≈ 3,9∙12 = 46,8
Используя результаты расчета заполним таблицу и построим схему.

Рисунок 1.2 – Схема расположения полей допуска соединения с натягом
Таблица 1.2 – Результаты выбора универсальных средств измерения
| Условное обозначение отверстия вала
|
Величина допуска,
мкм
|
Допускаемая погрешность
|
Универсальные средства измерения
|
| Предел допускаемой погрешности
|
Наименование и основные метрологические показатели
|
| 130Н6
130v8
|
25
63
|
7
16
|
3
5
|
Нутромер мод. 154 ГОСТ 9696-82 с головкой 1МИГ диапазоном измерения 0…2мм.
Микрометр гладкий МК 150 ГОСТ 577 – 68 с диапазоном измерения125-150мм.
|
Рисунок 1.3 – Гладкое цилиндрическое соединение:
а – в сборе; б – корпус; в – вал-втулка
2. РАСЧЕТ И ВЫБОР ПОСАДОК ПОДШИПНИКОВ КАЧЕНИЯ НА ВАЛ И В КОРПУС
Исходные данные для расчета и выбора посадок подшипников качения на вал и в корпус представлены в таблице 2.1.
Таблица 2.1 – Исходные данные для расчета и выбора посадок подшипников качения.
| Обозначение подшипника
|
Радиальная нагрузка F, H
|
Нагружение
|
Перегрузка подшипника, %
|
Особенности конструкции вала или корпуса
|
| внутреннего кольца
|
наружного кольца
|
| 301
|
1500
|
циркуляционное
|
местное
|
150
|
вал сплошной, корпус неразъемный
|
Определили основные размеры подшипника по ГОСТ 8338–75:
d = 12 мм – диаметр внутреннего кольца; D = 37 мм – диаметр наружного кольца; В = 12 мм – ширина колец; r = 1,5 – радиус фаски. Класс точности подшипника – 5.
Выбрали посадку циркуляционно нагруженного кольца из условия интенсивности радиальной нагрузки по формуле
F
PF
= K1
∙K2
∙K3
,
B – 2r
где PF
– интенсивность радиальной нагрузки, Н/мм; K1
– динамический коэффициент; K2
– коэффициент, учитывающий ослабление посадочного натяга при полом вале и тонкостенном корпусе; K3
– коэффициент неравномерности радиальной нагрузки.
Для заданных условий нагружения подшипникового узла выбираем коэффициенты: K1
= 1 – при перегрузке 150%, K2
= 1 – при сплошном вале и неразъемленном корпусе; K3
= 1 – при однорядном подшипнике.
Подставив исходные данные в формулу, получим
1500
PF
= 1∙1∙1 = 166,6 Н/мм.
12 – 2∙1,5
Используя полученное значение PF
, выбираем поле допуска вала jS
6, т.е. посадку внутреннего кольца подшипника и вала LO/ jS
6.
Для построения схемы расположения полей допусков посадки внутреннего кольца и вала нашли отклонения внутреннего кольца подшипника класс точности РО или О по среднему диаметру dm
: ES = 0; EJ = -7 мкм.
мкм
8
es = 5,5
4
ES = 0
0
js
6
4 L0
ei
= –5,5
8
EI
= –7
Рисунок 2.1 – Схема расположения полей допусков внутреннего кольца подшипника и вала.
Вычислили предельные размеры: наибольший и наименьший средние диаметры внутреннего кольца
dm max = dm + es = 12 + 0 = 12 мм;
dm min = dm + ei = 12 + (- 0,007) = 11,993 мм;
наибольший и наименьший диаметры вала
dmax = d + es = 12 + 0,0055 = 12,0055 мм;
dmin = d + ei = 12 + (- 0,0055) = 11,9945 мм;
Натяги (зазоры) определили по формулам:
Nmax = dmax – dm min = 12,0055 – 11,993 = 0,0125 мм;
Nmin = dmin – dm max = 11,9945 -12 = -0,0055 мм,
т.е. вместо наименьшего натяга получился зазор.
Для гарантирования неподвижности соединения необходимо, чтобы наименьший табличный натяг циркуляционно нагруженного кольца Nmin.т был больше или равен наименьшему расчетному натягу Nmin.р.
Nmin.т ≥ Nmin.р.
Наименьший расчетный натяг определили по формуле
13R Kк
Nmin.р. = мкм,
103
(B – 2r)
где Кк – конструктивный коэффициент, определяемый при циркуляционном нагружении:
внутреннего кольца по формуле
1
Кк = ;
1 – (d / d0
)2
наружного кольца по формуле
1
Кк = ,
1 – (D0
/ D)2
где d0
и D0
– приведенные диаметры (в мм):
D – d
d0
= d + ;
4
D – d
D0
= D – .
4
Подставив исходные данные в формулы, определим:
приведенный диаметр
d0
= 18,25мм;
конструктивный коэффициент
1
Кк = = 1,76,
1 – (12/ 18,25)2
после чего рассчитали наименьший натяг, гарантирующий неподвижность соединения
13 ∙ 1500 ∙ 1,76
Nmin.р. = = 3,813 мкм.
103
(12 – 2 ∙ 1,5)
В ранее выбранной посадке 12 LO/jS
6. Nmin = - 0,0055 мм, т.е. не соблюдается условие Nmin.т ≥ Nmin.р. , поэтому необходимо назначить другую посадку.
Выбираем посадку 12 LO/m6, для которой Nmin.т = 7 мкм, а
Nmax.т = 28мкм.
Построили схему расположения полей допусков для посадки
12 LO/m6 и определили основные ее параметры (рис. 2.2 а).
Основное отклонение вала 12 LO/m6 нижнее ei = + 7 мкм, второе отклонение верхнее es = ei + JT6 = 7 + 11 = 18 мкм.
Наибольший и наименьший диаметры вала:
dmax = d + es = 12 + 0,018 = 12,018 мм;
dmin = d + ei = 12 + 0,007 = 12,007 мм;
Наибольший, наименьший и средний натяги находим по формулам:
Nmax = dmax – dm min = 12,018 – 11,993 = 0,025 мм;
Nmin = dmin – dm max = 12,007 – 12 = 0,007 мм;
Nmax + Nmin 0,025 + 0,007
 Nm = = = 0,016 мм.
2 2
Проверили наличие зазора между телами качения и дорожками колец после осуществления посадки Sn, (в мкм) при циркуляционном нагружении:
внутреннего кольца по формуле
Sn = Gr – δ’d;
наружного кольца по формуле
Sn = Gr – δ’D,
где Gr – зазор в состоянии поставки определяется по формуле
Gr max + Gr min
Gr = ,
2
где Gr max и Gr min – наибольший и наименьший зазоры, зависящие от группы зазоров (ГОСТ 24810-81), δ’d и δ’D – наиболее вероятностные деформации внутреннего и наружного колец при посадке определяются по формулам:
δ’d = Nb ∙ d/d0
;
δ’D = Nb ∙ D0
/D,
где Nb – вероятностный натяг принимаем
Nb = 0,85 Nm.
Если в результате расчетов полученная величина Sn > 0, то выбранная посадка при данной группе зазоров подшипника гарантирует наличие зазора после посадки, если Sn < 0, то следует выбрать подшипник из группы с большими зазорами.
Определяем вероятностный натяг при посадке внутреннего кольца на вал:
Nb = 0,85 ∙ 0,016 = 0,0136 мм .
Вычислили вероятностную деформацию внутреннего кольца:
δ’d = 0,0136 ∙ 12/18,25 = 0,0089мм = 8,9 мкм.
Следовательно, чтобы не произошло заклинивая шариков при посадке подшипника, средний (нормальный) радиальный зазор подшипника в состоянии поставки Gr должен быть больше 11 мкм. Gr min = 11 мкм;
Gr max = 25 мкм.
25 + 11
Gr = = 18 мкм.
2
Тогда зазор между телами качения и дорожками колец после посадки (посадочный зазор) будет равен:
Sn = 18 – 8,9 = 9,1 мкм.
Проверили возможность разрушения (разрыва) циркуляционно нагруженного кольца при посадке:
внутреннего кольца по формуле
11,4 ∙ [σР
] ∙ Кк ∙ d
Nдоп = ;
(2Кк – 2) ∙ 103
наружного кольца по формуле
11,4 ∙ [σР
] ∙ Кк ∙ D
Nдоп = ;
(2Кк – 2) ∙ 103
где Nдоп – допускаемый натяг, не вызывающий разрушения колец, мкм;
[σР
] = 40 Н/мм2
– допускаемые напряжения при растяжении подшипниковых сталей; Кк – конструктивный коэффициент.
Для проверки в рассматриваемом варианте прочности на разрыв внутреннего кольца подставили исходные данные в формулу:
11,4 ∙ [400] ∙ 1,76 ∙ 12
Nдоп = = 63,38 мкм.
(2 ∙ 1,76 – 2) ∙ 103
Если Nдоп > Nmax.т, а в данном случае 63,38 > 28, то выбранную посадку Ø 20 LO/m6 принимаем окончательно.
Выбираем посадку местно нагруженного кольца, исходя из вида нагружения, конструктивных особенностей. В рассматриваемом примере посадка наружного кольца в корпус Ø37 JS
7
/lO.
Для построения схемы расположения полей допусков посадки наружного кольца и корпуса нашли отклонения наружного кольца класса точности 5 по номинальному (среднему) диаметру Dm: es = 0;
ei = – 7 мкм. Верхнее отклонение ES = +12 мкм, нижнее EJ = -12 мкм.
Вычислили предельные размеры:
наибольший и наименьший средние диаметры наружного кольца
Dm max = Dm + es = 37 + 0 = 37 мм,
Dm min = Dm + ei = 37 + (– 0,007) = 36,993 мм;
наибольший и наименьший диаметры отверстия корпуса
Dmax = D + ES = 37 + 0,012 = 37,012 мм,
Dmin = D + EJ = 37 + 0,012 = 36,988 мм.
Зазоры (натяги) определили по формулам:
Smax = Dmax – Dm min = 37,012 – 36,993 = 0,019 мм;
Smin = Dmin – Dm max = 36,988 – 37 = – 0,012 мм.
мкм es = +18
          20
ES=+12
       m6
 10
  ei=+7
       0 + es=0 JS7 ES=0
    –
lo LO

        EJ=–7
-10 ei=–9
EJ=-12
а) б).
Рисунок 2.2 – Схемы расположения полей допусков:
а – наружного кольца подшипника и корпуса;
б – внутреннего кольца подшипника и вала.
Выполнили эскизы подшипникового узла и деталей с указанием посадок, отклонений размеров, формы и шероховатости поверхностей
(рисунок 2.3).
Выполнили расчет предельных и исполнительных размеров гладких предельных рабочих калибров и построили схемы расположения их полей допусков.
Н = 4; Z = 3,5; Y = 3; H1
= 3; Z1
= 2,5; Y1
= 2.
Предельные размеры проходной (Пр) и непроходной (НЕ) калибров-пробок:
Пр max = Dmin + Z + H/2 = 36,988 + 0,0035 + 0,004/2 = 36,9935 мм;
Пр min = Dmin + Z – H/2 = 36,988 + 0,0035 – 0,002 = 36,9922 мм;
Пр изн = Dmin – Y = 36,988 – 0,003 = 36,985 мм;
НЕ max = Dmax + H/2 = 37,012 + 0,002 = 37,014 мм;
НЕ min = Dmax – H/2 = 37,012 – 0,002 = 37,01 мм.
Предельные размеры проходной (Пр) и непроходной (НЕ) калибров-скоб:
Пр min = dmax – Z1
– H1
/2 = 12,018 – 0,0025 –0,0015 = 12,014 мм;
Пр max = dmax – Z1
+ H1
/2 = 12,018 – 0,0025 + 0,0015= 12,017 мм;

Рисунок 2.3 – Обозначение допусков и посадок подшипников качения на чертежах: а – узла в сборе; б – корпуса; в – вала.
Пр изн = dmax + Y1
= 20,021 + 0,02 = 20,023 мм;
НЕmax = dmin + H1
/2 = 20,008 + 0,004/2 = 20,01 мм;
НЕmin = dmin – H1
/2 = 20,008 – 0,004/2 = 20,006 мм.
Исполнительные размеры:
проходной пробки
Пр исп = (Пр max)–Н
= 36,9935–0,004
мм;
непроходной пробки
НЕ исп = (НЕmax)–Н
= 37,014–0,004
мм;
проходной скобы
Пр исп = (Пр min)+Н1
= 12,014 +0,004
мм;
непроходной скобы
НЕ исп = (НЕmin)+Н1
= 12,0055 +0,004
мм.

Рисунок 2.4 – Схема расположения полей допусков калибров: а) – пробки; б) – скобы
Выбор универсальных средств измерения для контроля размеров деталей.
Таблица 2.2 – Результаты выбора универсальных средств измерения.
| Условное обозначение отверстия, вала
|
Величина допуска, мкм
|
Допускаемая погрешность измерения, δ, мкм
|
Универсальные средства измерения
|
| Пределы допускаемой погрешности, ∆lim, мкм
|
Наименование и основные метрологические показатели
|
| 37Js7
|
25
|
7
|
4
|
Нутромер мод.109 ГОСТ 9244–75 с головкой 2ИГ с ценой деления 0,002 и диапазоном измерения 18 – 50 мм
|
| 12m6
|
11
|
3
|
2
|
Скоба рычажная СР25 ГОСТ 11098–75 с ценой деления 0,002 и диапазоном измерения 0 – 25 мм
|
3 ВЫБОР ПОСАДОК ШПОНОЧНЫХ СОЕДИНЕНИЙ
Исходные данные для выбора посадки шпоночного соединения
(ГОСТ 23360 – 78, ГОСТ 24071 -80) представлены в таблице 3.1.
Таблица 3.1–Исходные данные для выбора посадки шпоночного соединения
| Диаметр вала, мм
|
Форма шпонки
|
Вид шпоночного соединения
|
| 28
|
призматическая
|
нормальное
|
По заданному диаметру вала ( d = 50 мм ), виду шпоночного соединения ( плотное ) и форме стандартной шпонки ( призматическая ) выбрать:
ширину шпонки – b = 8 мм; высоту шпонки – h = 7 мм; глубину паза вала – t1
= 4 мм; глубину паза втулки – t2
= 3,3 мм; длину шпонки ( произвольно ) – l = 20 мм.
Вычислить размеры: d – t1
= 28 – 4 = 24 мм;
d + t2
= 28 + 3,3 = 31,3 мм.
В соответствии с заданием выбрать поля допусков по ширине b для деталей шпоночного соединения.
Таблица 3.2 – Поля допусков для деталей шпоночного соединения по ширине b
| Вид шпоночного соединения
|
Поля допусков по ширине b
|
| шпонки
|
паза вала
|
паза втулки
|
| нормальное
|
h9
|
N9
|
Js9
|
Для нормального соединения поле допусков по ширине b : шпонки – h9; для паза вала – N9; паза втулки – Js9.
Посадки: шпонка - паз вала 14N9/h9; шпонка – паз втулки 14Js9/h9.
Найти предельные отклонения и определить предельные размеры, зазоры и натяги для деталей шпоночного соединения.
Для шпонки h9 : верхнее отклонение – es = 0; нижнее отклонение – ei = es – IT9 = 0 – 36 = - 36 мкм; предельные размеры – b max = bн + es = 8 + 0 = =8 мм; b min = bн – ei = 8 – 0.036 = 7,964 мм.
Для паза вала N9: верхнее отклонение – ES = 0 мкм; нижнее отклонения – EI = 36 мкм; предельные размеры – b3
min = 8 - 0.036 = 7,964 мм, b3
max = 8 + 0 = 8 мм.
Для паза втулки Js9: ES = +18 мкм, EI = -18 мкм, b1
max = 8,018 мм, b1
min = 7,982 мм.
Построить схему расположения полей допусков деталей шпоночного соединения, нанести предельные отклонения, предельные размеры и определить зазоры (натяги).
В соединение паз вала – шпонка:
S1
max = b1
max – bmin = 8 – 7,964 = 0,036 мм;
N1
max = bmax – b1
min = 8 – 7,964 = 0,036мм;
В соединение паз втулки – шпонка:
S3
max = b3
max – bmin = 8,018 – 7,964 = 0,054 мм;
N3
max = bmax – b3
min = 8 – 7,982 = 0,018 мм.
Назначить отклонения на все остальные размеры шпонки и шпоночных пазов на валу и во втулке:
на высоту шпонки – 7h11(-0,1); на длину шпонки – 20h14(-0,52);
на длину паза вала – 20h15(+0,84); на глубину паза вала – d – t1
24-0.2
; на глубину паза втулки – d + t2
31,3+0.2
.
Вычертить эскизы шпоночного соединения в сборе и деталей, обозначить посадки, отклонения размеров, формы и шероховатость.

Рисунок 3.1 – Схема расположения полей допусков деталей шпоночного соединения по b
Выбрать универсальные средства измерения для контроля размеров ширины шпонки и пазов вала и втулки: Погрешность измерения δ = 10 мкм. Выбираем : микрометр МК-0-25-2 ГОСТ 6507-90 с допускаемой погрешностью измерения равной ∆ lim = 4мкм; нутромер НИ 10-18-1 ГОСТ 868-82 с ценой деления 0.01мм, диапазоном измерения 10…18 мм и допускаемой погрешностью измерения ±8мкм.
| Наименование размера шпоночного соединения
|
Номинальный размер,мм
|
Поле допуска, мм
|
Величина допуска, мкм
|
Предельные
отклонения
|
Предельные
размеры, мм
|
Зазоры
(натяги)
S(N), мкм
|
| Верхнее, мкм
|
Нижнее, мкм
|
Наи –
Боль-
ший
|
Наи
Мень
Ший
|
Наи
Боль
ший
|
наи
мень
ший
|
| Ширина:
Паза втулки
Шпонки
Паза вала
|
8
8
8
|
Js9
h9
N9
|
36
36
36
|
- 18
0
0
|
+18
-36
- 36
|
8,018
8
8
|
7,982
7,964
7,964
|
+54
+36
|
+18
- 36
|
| Высота шпонки
Длина шпонки
Длина паза вала
Размер d - t1
Размер d + t2
|
7
20
20
24
31,3
|
h11
h14
h15
|
100
520
840
200
200
|
0
0
+840
0
+200
|
-100
-520
0
- 200
0
|
7.000
20.00
20.8424
31,5
|
6.900
19,48
20
23,8
31,3
|
Таблица 3.3 – Результаты определения параметров шпоночного соединения
Рисунок 3.2 – Обозначение шпоночного соединения в сборе и деталей
4 ОПРЕДЕЛЕНИЕ ДОПУСКОВ И ПОСАДОК ШЛИЦЕВЫХ
СОЕДИНЕНИЙ
Расшифровали заданное шлицевое соединение (ГОСТ 1139–80)
D – 20 × 82 × 92 H7/g6 × 6 D9/c8
Центрирование по наружному диаметру (D); число зубьев – 20; номинальный размер внутреннего диаметра – Ø82; наружный диаметр – Ø92Н7/g6 и посадка по D; 6 D9/c8 – ширина шлица и посадка по b.
Нашли основные и определили вторые отклонения для посадки по центрирующему параметру Ø92Н7/g6 . Для наружного диаметра основное отклонение нижнее EJ = 0; второе отклонение верхнее – ES = EJ + JT7 = 0 + 35= = 35 мкм; для вала основное отклонение верхнее – es = – 12мкм; второе отклонение нижнее – ei = es – JT6 = – 12 – 22 = – 34 мкм.
Вычислили предельные размеры:
наибольший диаметр отверстия:
Dmax = Dн + ES = 92 + 0,035 = 92,035 мм;
наименьший диаметр отверстия:
Dmin = Dн + EJ = 92 + 0 = 92 мм;
наибольший диаметр вала:
dmax = dн + es = 92 + (– 0,012) = 91,988 мм;
наименьший диаметр вала:
dmin = dн + ei = 92 + (– 0,034) = 91,966 мм;
Вычислили наибольший и наименьший зазоры:
Smax = Dmax – dmin = 92,035 – 91,966 = 0,069 мм;
Smin = Dmin – dmax = 92 – 91,988 = 0,012 мм.
6 D9/c8
EJ = 0,03;
ES = EJ + JT9 = 0,03 + 0,008 =0,038 мм.
es = –0,014 мм;
ei = es – JT8 = –0,014 – 0,014 = – 0,028 мкм.
Вычислили предельные размеры:
наибольшая ширина паза:
Bmax = Bн + ES = 6 + 0,06 = 6,06 мм;
наименьшая ширина паза:
Bmin = Bн + EJ = 6 +0,03 = 6,03мм;
наибольшая ширина зуба:
bmax = bн + es = 6 + (– 0,007) = 5,993 мм;
наименьшая ширина зуба:
bmin = bн + ei = 6 +( – 0,025) = 5,975 мм.
Вычислили наибольший и наименьший зазоры:
Smax = Bmax – bmin = 6,06 – 5,975 = 0,085 мм;
Smin = Bmin – bmax = 6,03 – 5,993 = 0,037 мм.
Таблица 4.1 – Результаты определения параметров шлицевого соединения
| Наименование
Параметров шлицевого соединения
|
Номи-
наль-
ный
размер,
мм
|
Поле
допус-
ка
|
Вели-
чина
допус-
ка,
мкм
|
Предельные
отклонения
|
Предельные
размеры,
мм
|
Зазоры
(натяги),
мкм
|
| верх-
нее,
мкм
|
ниж-
нее,
мкм
|
наи-боль-
ший
|
наи-мень-
ший
|
наи-боль-
ший
|
наи- мень-
ший
|
| I Центрирующий параметр
|
| Отверстие
|
92
|
Н7
|
35
|
+35
|
0
|
92,035
|
92
|
69
|
12
|
| Вал
|
92
|
g6
|
22
|
- 12
|
- 34
|
91,988
|
91,966
|
| II Нецентрирующий параметр
|
| Ширина паза
|
6
|
D9
|
30
|
+60
|
+30
|
6,06
|
6,03
|
85
|
37
|
| Ширина зуба
|
6
|
c8
|
18
|
- 7
|
- 25
|
5,993
|
5,975
|

Рисунок 4.1 – Схема расположения полей допусков шлицевого соединения по центрирующему параметру.
Рисунок 4.2 – Обозначение шлицевого соединения в сборе (а), шлицевого вала (б), шлицевой втулки (в).
5 ОПРЕДЕЛЕНИЕ ДОПУСКОВ И ПОСАДОК РЕЗЬБОВЫХ СОЕДИНЕНИЙ
Расшифровать заданное резьбовое соединение (ГОСТ 16093-81)
М 16 × 1,5 – 6G / 6h – 20
Буква М обозначает метрическую резьбу, первая цифра – номинальный наружный диаметр резьбы D(d) = 16 мм, через знак × обозначение шага резьбы Р = 1,5 мм, через дефис в числителе 6G – поле допуска по среднему и внутреннему диаметрам гайки, в знаменателе 6h – поле допуска по среднему и наружному диаметрам болта, цифра 20 обозначает длину свинчивания.
Определить номинальные диаметры резьбы. Для Р = 1,5 значения номинальных диаметров D2
(d2
) = 16 – 1 + 0,026 = 15,026 мм; D1
(d1
) = 16 – 2 + +0,376 = 14,376 мм.
По [3, таблица 31] найти предельные отклонения диаметров резьбы гайки М 16×1,5 – 6G – 20. Для всех диаметров (D, D2
, D1
) EI = 0, для D2
ES(
D2)
=+222 мкм, для D1
ES(
D1)
=+322 мкм, для D – не регламентируется.
Предельные размеры диаметров и допуски среднего TD2
и внутреннего TD диаметров резьбы:
Dmin
= D + EI(D)
= 16 + 0,032 = 16,032 мм;
D2max
= D2
+ ES(D2)
= 15,026 +0,222 = 15,248 мм;
D2min
= D2
+ EI(D2)
= 15,026 + 0,032 = 15,028 мм;
D1max
= D1
+ ES(D1)
= 14,376 + 0,332 = 14,708 мм;
D1min
= D1
+ EI(D1)
= 14,376 + 0,032 = 14,408 мм;
TD2
= ES(D2)
– EI(D2)
= 222 – 32 = 190 мкм;
TD1
= ES(D1)
– EI(D1)
= 332 – 32 = 300 мкм.
По [3, таблица 32] найти предельные отклонения диаметров резьбы болта М 16 × 1,5 – 6g – 20 : для всех диаметров (d, d2
и d1
) es = 0 мкм; для d ei(
d)
= – 236 мкм, для d2
ei(
d2)
= – 140 мкм, для d1
– не регламентируется.
Предельные размеры диаметров и допуски среднего Td2
и внутреннего Td диаметров резьбы:
d2max
= d2
+ es(d2)
= 15,026 +0 = 15,026 мм;
d2min
= d2
+ ei(d2)
= 15,026 + (–0,14) = 14,886 мм;
dmax
= d + es(d)
= 16 + 0 = 16 мм;
dmin
= d + ei(d)
= 16 + (– 0,236) = 15,764 мм;
d1max
= d1
+ es(d1)
= 14,376 + 0 = 14,376 мм;
Td2
= es(d2)
– ei(d2)
= 0 – (– 140) = 140 мкм;
Td = es(d)
– ei(d)
= 0 – (– 236) = 236 мкм.
Зазоры по среднему диаметру, определяющие посадку резьбового соединения определить по формулам:
S2max
= ES(D2)
– ei(d2)
= 222 – (– 140) = 362 мкм;
S2min
= EI(D2)
– es(d2)
= 32 – 0 = 32 мкм.
Результаты вычислений внесены в таблицы 5.1 и 5.2
Таблица 5.1 – Величины параметров резьбы гайки
| Диаметры гайки, мм
|
Предельные
отклонения, мкм
|
Предельные
размеры, мм
|
Допуски, мкм
|
| нижнее EI
|
верхнее ES
|
наиболь-
ший
|
наимень-
ший
|
| D = 16
|
+32
|
----
|
16,032
|
----
|
--------
|
| D2
= 15,026
|
+32
|
+222
|
15,248
|
15,058
|
TD2
=190
|
| D1
= 14,376
|
+32
|
+332
|
14,708
|
14,408
|
TD1
=300
|
Таблица 5.2 – Величины параметров резьбы болта
| Диаметры болта, мм
|
Предельные
отклонения, мкм
|
Предельные
размеры, мм
|
Допуски, мкм
|
| верхнее ei
|
нижнее es
|
наиболь-
ший
|
наимень-
ший
|
| d = 16
|
0
|
- 236
|
16
|
15,764
|
Td = 236
|
| d2
= 15,026
|
0
|
-140
|
15,026
|
14,886
|
Td2
=140
|
| d1
= 14,376
|
0
|
-----
|
14,376
|
------
|
---------
|
Рисунок 5.1 – Схема расположения полей допусков и профильная схема резьбового соединения

Рисунок 5.2 – Обозначение резьбового соединения:
а) – в сборе; б) – гайки; в) – болта
6РАСЧЕТ ДОПУСКОВ РАЗМЕРОВ, ВХОДЯЩИХ В РАЗМЕРНЫЕ ЦЕПИ.
6.1 Решение обратной задачи.
6.1.1 Решение обратной задачи методом полной взаимозаменяемости (максимума-минимума).
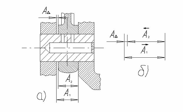
При сборке шатуна с коленчатым валом согласно техническим требованиям между щекой коленчатого вала и торцовой поверхностью шатуна должен быть зазор АΔ
= 0,18 – 0,38 мм (рисунок 6.1).
Расстояние между щеками = 80 Е10 – это звено является увеличивающим, а ширина головки шатуна = 80 d10 – уменьшающее звено.
Звено АΔ
является замыкающим, т.к. образуется после сборки последним. Его номинальный размер
80 – 80 = 0
Задача является обратной. Верхнее Es(AΔ
) и нижнее Ei(AΔ
) отклонения замыкающего звена определить по формулам
0,18 – (–0,22) = 0,4 мм
0,06 – (–0,1) = 0,16 мм

Рисунок 6.1 – Соединение коленчатого вала и шатуна:
а – в сборе; б – схема размерной цепи
Допуск замыкающего звена ТАΔ
:
ТАΔ
= Es(АΔ
) – Ei(АΔ
) = 0,4 – 0,16 = 0,24 мм
Наибольшее АΔ
max
и наименьшее АΔ
min
предельные отклонения определить по формулам:
АΔ
max
= АΔ
+ Es(АΔ
) = 0 + (+0,4) = 0,4 мм
АΔ
min
= АΔ
+ Ei(АΔ
) = 0 + (+0,16) = 0,16 мм
Вывод. При сборке деталей не будет обеспечено выполнение заданных величин зазора между поверхностью шатуна и поверхностью щеки коленвала, т.к. это зазор может достигать значений 0,16 – 0,4.
6.1.2 Решение обратной задачи методом неполной взаимозаменяемости (вероятностным).
Приняв закон нормального распределения (рассеяние) размеров при риске 0,27% (брак может составить три изделия из тысячи) допуск замыкающего звена определяется по формуле.
мкм,
где ТАΔ
– допуск замыкающего звена, мкм;
ТАi
– допуски составляющих звеньев, мкм.
При координатах середин полей допусков составляющих звеньев = +120 мкм и = - 160 мкм. Координата середины поля допуска замыкающего звена равна
 – =120 – (–160) = +280 мкм
Верхнее Es(АΔ
) и нижнее Ei(АΔ
) отклонения замыкающего звена определить по формулам:
Es(АΔ
) = Ес(АΔ
) + ТАΔ
/2 = 280 + 84,85 = +364,85 мкм
Ei(АΔ
) = Ес(АΔ
) – ТАΔ
/2 = 280 – 84,85 = +195,15 мкм
Наибольшее и наименьшее значения при расчете размерной цепи методом неполной взаимозаменяемости:
АΔ
max
= АΔ
+ Es(АΔ
) = 0 + 0,36485 = 0,36485 мм
АΔ
min
= АΔ
+ Ei(АΔ
) = 0 + 0,19515 = 0,19515 мм
Вывод: при расчете размерной цепи методом неполной взаимозаменяемости предельные размеры замыкающего звена (зазор между щекой коленчатого вала и торцевой поверхностью шатуна) удовлетворяют заданным техническим требованиям, следовательно, изделие является годным. При расчете же этой цепи методом полной взаимозаменяемости сборочная единица была забракована.
Метод неполной взаимозаменяемости позволяет с известным риском повысить точность замыкающего звена (уменьшить его допуск) при сохранении неизменными заданных допусков на составляющие звенья.
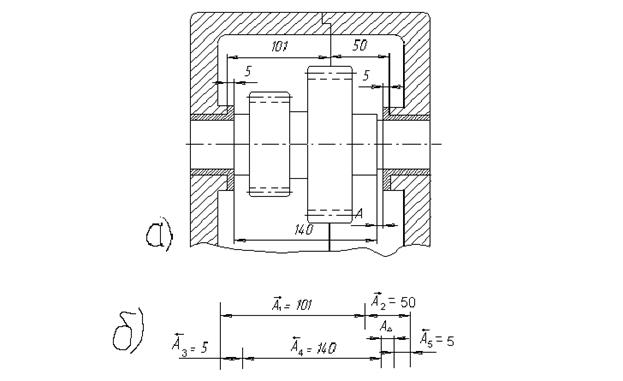
6.2 Решение прямой задачи.
6.2.1 Решение прямой задачи методом полной взаимозаменяемости.
Для деталей сборочной единицы (рис ), схема размерной цепи приведена рисунок 6.2, установлен торцовый зазор в пределах 1,15 – 2,1 мм. Номинальные размеры составляющих звеньев: = 101 мм; = 50 мм; = 140 мм; = = 5 мм. Предельные размеры замыкающего звена: АΔ
max
= 2,1 мм; АΔ
min
= 1,15 мм.
Номинальный размер замыкающего звена
(101 + 50) – (5 + 140 + 5) = 1 мм.
Верхнее Es(АΔ
) и нижнее Ei(АΔ
) отклонения замыкающего звена:
Es(АΔ
) = АΔ
max
– АΔ
= 2,1 – 1 = +1,1 мм;
Ei(АΔ
) = АΔ
min
– АΔ
= 1,15 – 1 = + 0,15 мм
Допуск замыкающего звена
ТАΔ
= Es(АΔ
) – Ei(АΔ
) = +1,1 – 0,15 = 0,95 мм.
При таком разбросе размеров составляющих звеньев (в разных интервалах) целесообразнее применить способ допусков одного квалитета.

Рисунок 6.2 – Сборочная единица (а
) и схема ее размерной цепи (б
)
Среднее число единиц допуска в размерной цепи определяем по формуле
.
Согласно найденному среднему числу единиц допуска am
ближе подходит квалитет 11, для которого a
= 100. Следовательно, большинство звеньев размерной цепи могут быть изготовлены по
одному квалитету IT
11, (увеличивающих по Н11, уменьшающих по h11) и лишь одно или два звена по другому квалитету с большим допуском, т.к. ТАΔ
> . Выбираем для этой цели звено , назначив его допуск IT
12 = 120 мкм и звено , назначив его допуск IT
12 = 350 мкм. Для удобства проведения расчетов составляем таблицу.
Для проверки правильности решения воспользуемся уравнениями:
+0,35 + 0,16 –
– (–0,12 – 0,395 – 0,075) = 1,1 мм;
0 + 0 –
(0 – 0,145 – 0) = 0,145 мм.
| Номина-
льный
размер
|
Единица
допуска
i,
мкм
|
Величина поля допуска ТАi
, мкм
|
Поле
допуска
|
Предельные
отклонения, мкм
|
Коорди-
наты середины поля
допуска
Eс(Аi
)
|
| расчет-
ная по
IT
11
|
скоррек-
тирован-
ная
|
верхнее
Es(Аi
)
|
нижнее
Ei(Аi
)
|
| = 101
|
2,17
|
220
|
350
|
Н12
|
+350
|
0
|
+175
|
| = 50
|
1,56
|
160
|
160
|
Н11
|
+160
|
0
|
+80
|
| = 5
|
0,73
|
75
|
120
|
h12
|
0
|
-120
|
-60
|
| = 140
|
2,52
|
250
|
250
|
d11
|
-145
|
-395
|
-270
|
| = 5
|
0,73
|
75
|
75
|
h11
|
0
|
-75
|
-38
|
| Σi=7,71
|
ΣТАi
=
=780
|
ΣТАi
=
= 955
|
Таблица 6.1 – Параметры к расчету размерной цепи (рисунок 6.2) методом полной взаимозаменяемости
Наибольший и наименьший размеры замыкающего звена:
АΔ
max
= АΔ
+ Es(АΔ
) = 1 +1,1 = 2,1 мм;
АΔ
min
= АΔ
+ Ei(АΔ
) = 1 + 0,145 = 1,145 мм.
Таким образом, для обеспечения предельных размеров замыкающего звена допуски на составляющие звенья должны быть назначены по 11-му и на два звена по 12-му квалитетам.
6.2.2 Решение прямой задачи методом неполной взаимозаменяемости. При решении размерной цепи (рисунок 6.2(а)) с допуском ТАΔ
= 950 мкм примем закон нормального распределения размеров при риске 0,27%, тогда среднее число единиц допуска
мкм.
Для IT
13 а = 250
. Выбираем допуски составляющих звеньев по 13-му квалитету и внесем в таблицу 6.2.
Вероятностный допуск определяем по формуле
мкм
Следовательно, ТАΔ
> Т’АΔ
или 951,5 ≈ 950, что говорит о том, что корректировка не требуется, т.к. разность ТАΔ
– Т’АΔ
= 950 – 951,5 = –1,5 мкм.
После назначения предельных отклонений на составляющие звенья определяем координату Ес(АΔ
) середины поля допуска замыкающего звена
0 + 0 – (–90 – 315 – 90) = =+495 мкм.
Таблица 6.2 – Параметры к расчету звеньев размерной цепи к рис. методом неполной взаимозаменяемости
| Номи-
нальный
размер
|
Квадрат
единицы
допуска
i2
|
Величина допус-
ка ТАi
, мкм
|
Поле
допуска
|
Предельные отклонения, мкм
|
Коорди-
ната се-
редины
поля допуска
Eс(Аi
),
мкм
|
| расчет-
ная по
IT
13
|
скоррек-
тирован-
ная
|
верхнее
Es(Аi
)
|
нижнее
Ei(Аi
)
|
| = 101
|
4,7089
|
540
|
540
|
IS
13
|
+270
|
–270
|
0
|
| = 50
|
2,4336
|
390
|
390
|
IS
13
|
+195
|
–195
|
0
|
| = 5
|
0,5329
|
180
|
180
|
n13
|
0
|
–180
|
–90
|
| = 140
|
6,3504
|
630
|
630
|
n13
|
0
|
–630
|
–315
|
| = 5
|
0,5329
|
180
|
180
|
h13
|
0
|
–180
|
–90
|
| 14,5587
|
Т’АΔ
=
=951,5
|
Т’АΔ
=
=951,5
|
Верхнее Es(АΔ
) и нижнее Ei(АΔ
) отклонения замыкающего звена:
Es(АΔ
) = Ес(АΔ
) + Т’АΔ
/2 = 495 + 475,75 = 970,75 мкм
Ei(АΔ
) = Ес(АΔ
) – Т’АΔ
/2 = 495 – 475,75 = 19,25 мкм
Тогда предельные размеры замыкающего звена:
АΔ
max
= АΔ
+ Es(АΔ
) = 1 + 0,97075 = 1,97075 мм
АΔ
min
= АΔ
+ Ei(АΔ
) = 1 + 0,01925 = 1,01925 мм.
Вывод: сравнивая полученные результаты с техническими требованиями на сборку, указанными в примере, следует отметить, что расширенные допуски на изготовление звеньев до 12-13-го квалитетов с небольшими отклонениями позволяют сохранить предельные размеры замыкающего звена.
0 + (+0.4) 0.4 определить по формулам:
ширина
ЗАКЛЮЧЕНИЕ
В результате выполнения курсовая работы студента закрепляют полученные теоретические знания по дисциплине "МСиС" и приобретают практические навыки: в работе с таблицами ЕСДП. В расшифровке обозначений отклонений и посадок на чертежах и в технической документации; в расчете и выборе посадок с натягом; в выборе универсальных средств измерения и контроля размеров и отклонений деталей гладких цилиндрических соединений; в расчете и выборе посадок подшипников качения в зависимости от вида и условий нагружения подшипникового узла. В выборе конструкций гладких предельных рабочих калибров и расчете их исполнительных размеров; в обозначении посадок подшипников качения на чертежах; в выборе и обозначении на чертежах посадок шпоночных, шлицевых и резьбовых соединений; в расчете допусков, входящих в размерные цепи.
Самостоятельно выполненная курсовая работа способствует глубокому пониманию рассматриваемых вопросов и дальнейшему квалифицированному применению полученных знаний при курсовом и дипломном проектировании, а так же в дальнейшей практической деятельности.
СПИСОК ИСПОЛЬЗОВАННЫХ ИСТОЧНИКОВ
1. Государственный образовательный стандарт высшего профессионального образования. Государственные требования к минимуму содержания и уровню подготовки выпускника по спец. 170400 – МиОЛК: Утв. гос. комитет РФ по высш. образованию 24.10.94/ Учеб.–метод. объедин. вузов РФ по образованию в обл. лесного дела. – М: ГУОППТ, 1994. – 16 с.
2. Государственный образовательный стандарт высшего профессионального образования. Государственные требования к минимуму содержания и уровню подготовки инженера по спец. 150200 – АиАХ: Утв. гос. комитет РФ по высш. образованию 24.10.94/ Учеб.–метод. объедин. по автотранспортному и дорожному образованию. – М: ГУОППТ, 1994. – 29 с.
3. Казюта А.М. Метрология, стандартизация и взаимозаменяемость (для студ. спец. 170400). Основы метрологии, стандартизации и сертификации (для студ. спец. 150200): Программа для решения задач с применением ЭВМ и справочные материалы к выполнению курсовой работы / Воронеж. гос. лесотехн. акад. – Воронеж, 1997. – 46 с.
4. Якушев А.И. и др. Взаимозаменяемость, стандартизация и технические измерения: Учебник для вузов/ А.И. Якушев, Л.Н. Воронцов, Н.М. Федотов. – М.: Машиностроение, 1986. – 352 с., ил.
5. Белкин И.П. Допуски и посадки. Основные нормы взаимозаменяемости: Учеб. пособие для студентов машиностроительных специальностей высших технических заведений. – М.: Машиностроение, 1992. – 528 с., ил.
6. Дунаев П.Ф. и др. Допуски и посадки. Обоснование выбора: Учеб. пособие для студентов машиностроительных вузов / П.Ф. Дунаев, О.П. Леликов, Л.П. Варламова. – М.: Высш. шк., 1984. – 112 с., ил.
7. Галинкин Б.Е., Станчев Д.И. Допуски и посадки подшипников качения в автомобилях и машинах лесной промышленности и лесного хозяйства: Учебное пособие. – Воронеж.: Изд-во ВГУ, 1981. 84 с., ил.
8. Галинкин Б.Е. , Станчев Д.И. Допуски и посадки подшипников качения в автомобилях и машинах лесной промышленности: Учебное пособие. – Воронеж.: Изд-во ВГУ, 1977. 112 с., ил.
9. СТП 02.01.88. Курсовое проектирование. Основные положения: Введ. 01.09.88: Воронеж. лесотехн. ин-т. – Воронеж, 1988. – 34 с.
|