| Министерство образования и науки Украины
НМетАУ
Кафедра технологического проектирования
Реферат
по дисциплине: «Оборудование процессов ОМД»
на тему: «Оборудование для отделки труб»
Выполнил: ст.гр. ПТ-01 Eugene T-off
Проверил: проф. Шломчак Г.Г.
г.Днепропетровск
2004
ОБОРУДОВАНИЕ ДЛЯ ЗАГРУЗКИ, ВЫГРУЗКИ И ТРАНСПОРТИРОВКИ ЗАГОТОВОК И ТРУБ
Оборудование для загрузки и выгрузки труб
Для загрузки заготовок и труб в печи и вытаскивания их из, печи применяется следующее оборудование: конвейеры, радиальные рычаги, вталкиватели и выталкиватели различных конструкций, напольно-загрузочные машины.
Кинематическая схема конвейера для подъема заготовок или труб на загрузочную площадку методической нагревательной печи показана на рисунке.
Конвейер приводится в движение от отдельного электродвигателя 1
через червячные редукторы 2.
Конвейер состоит из бесконечной цепи 4
с захватами 6.
Сложенные у конвейера заготовки захватываются по одной захватами 6
конвейера и подаются на загрузочную площадку печи, по которой скатываются в печь. Иногда загрузка заготовки в печь осуществляется при помощи радиальных рычагов, приводимых в движение гидравлическим цилиндром. Такие рычаги своими концами поднимают заготовку на загрузочную площадку по закругленной поверхности ее и скатывают заготовку в печь.
Загрузка труб в печи и выгрузка заготовок и труб из печей осуществляются вталкивателями и выталкивателями различной конструкции, приводящимися в движение от электродвигателя или пневматического или гидравлического цилиндров.
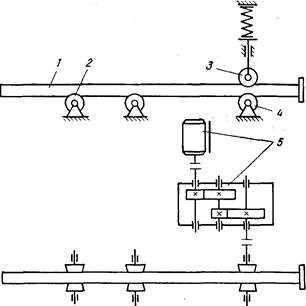
Наиболее экономичными по расходу электроэнергии и практически простыми и удобными являются широко распространенные фрикционные вталкиватели и выталкиватели. Фрикционный вталкиватель и выталкиватель схематически изображены на рисунке. Выталкиватель состоит из клети с приводным нижним 4
и верхним нажимным 3
роликами и длинной штанги в виде трубы. Нижний ролик получает вращение от реверсивного электродвигателя 5
переменного тока мощностью 10 кВт с n-1000 об/мин. Верхний ролик прижимает круглую штангу к нижнему ролику при помощи пневматического цилиндра или буферной пружины. Зажатая между роликами штанга вращением нижнего ролика движется вперед или назад. Это устройство будет вталкивателем, когда оно служит для вталкивания (например, труб в печь), и выталкивателем, когда оно предназначено для выталкивания из печи заготовок или труб. Штанга / для предупреждения провисания при своем движении опирается на ряд поддерживающих роликов 2.
Забиваем Сайты В ТОП КУВАЛДОЙ - Уникальные возможности от SeoHammer
Каждая ссылка анализируется по трем пакетам оценки: SEO, Трафик и SMM.
SeoHammer делает продвижение сайта прозрачным и простым занятием.
Ссылки, вечные ссылки, статьи, упоминания, пресс-релизы - используйте по максимуму потенциал SeoHammer для продвижения вашего сайта.
Что умеет делать SeoHammer
— Продвижение в один клик, интеллектуальный подбор запросов, покупка самых лучших ссылок с высокой степенью качества у лучших бирж ссылок.
— Регулярная проверка качества ссылок по более чем 100 показателям и ежедневный пересчет показателей качества проекта.
— Все известные форматы ссылок: арендные ссылки, вечные ссылки, публикации (упоминания, мнения, отзывы, статьи, пресс-релизы).
— SeoHammer покажет, где рост или падение, а также запросы, на которые нужно обратить внимание.
SeoHammer еще предоставляет технологию Буст, она ускоряет продвижение в десятки раз,
а первые результаты появляются уже в течение первых 7 дней.
Зарегистрироваться и Начать продвижение
Для загрузки пакетов труб в термические печи применяется напольная загрузочная машина, показанная на рис. 196.. Машина эта двойная. Она может перемещаться вдоль фронта термических печей по рельсам и обслуживать несколько печей. На основной раме 1
машины установлены два цепных транспортера. Каждый транспортер состоит из бесконечной цепи 4,
приводимой в движение от реверсивного электродвигателя 5 и связанной с цепью 4
верхней тележки 2
с подъемной рамой 3.
Загрузочная машина работает следующим образом. Подлежащие термообработке пакеты труб собираются на специальном стеллаже рядом с печами. Загрузочная машина подъезжает к набранному для термообработки пакету труб, подводит под него одну из верхних тележек с электродвигателем и приподнимает находящуюся на ней раму. Вместе с рамой приподнимается набранный пакет труб. Затем верхняя тележка с пакетом труб накатывается транспортером на загрузочную машину, которая после этого передвигается к

Загрузочная тележка:
/ — рама тележки; 2 — верхняя тележка; 3 — подъемная рама; 4 — цепь; 5 — электродвигатель для передвижения верхней тележки с подъемной рабой; 6 — электродвигатель для передвижения загрузочной тележки
соответствующей печи. Здесь машина останавливается так, чтобы вторая верхняя свободная тележка находилась против загрузочного окна печи. После поднятия крышки, печи вторая верхняя тележка подается в печь под находящийся там, подвергшийся уже термообработке, пакет труб. После подъема на этой тележке рамы и захвата при этом горячего пакета труб тележка с пакетом выдвигается из печи. Затем загрузочная машина передвигается вдоль фронта печи так, чтобы первая тележка с пакетом холодных труб оказалась против открытого окна печи. Вслед за этим первая верхняя тележка вводится в печь и на ней опускается рама с пакетом труб, который ложится на стеллаж. Тележка с рамой выводится из печи, в которой остается пакет труб. Загрузочная машина передвигается к стеллажу для укладки на нем горячего пакета труб для остывания.
Такие машины удобны в эксплуатации и позволяют весьма быстро осуществлять загрузку в печь и выгрузку из нее пакетов труб.
Сервис онлайн-записи на собственном Telegram-боте
Попробуйте сервис онлайн-записи VisitTime на основе вашего собственного Telegram-бота:
— Разгрузит мастера, специалиста или компанию;
— Позволит гибко управлять расписанием и загрузкой;
— Разошлет оповещения о новых услугах или акциях;
— Позволит принять оплату на карту/кошелек/счет;
— Позволит записываться на групповые и персональные посещения;
— Поможет получить от клиента отзывы о визите к вам;
— Включает в себя сервис чаевых.
Для новых пользователей первый месяц бесплатно.
Зарегистрироваться в сервисе
Рольганги
Рольганги являются распространенным и очень важным средством |для транспортировки труб в трубных цехах. Наличие рольгангов способствует повышению производительности трубных цехов и надежности внутрицеховой транспортировки труб.
Рольганги изготовляются различных конструкций, они могут быть холостые и приводные. Холостые рольганги состоят из отдельных свободновращающихся в подшипниках роликов, установленных на отдельных стойках или на общей определенной длины раме. Длина рамы выбирается по конструктивным соображениям и зависит от длины изготовляемых труб и общего расположения оборудования в цехе.
Приводные рольганги могут быть с групповым приводом роликов и с индивидуальным приводом каждого ролика.
Рольганги изготовляются также стационарными с неподвижной осью вращения роликов или подъемными с поднимающимися и опускающимися роликами.
Общий вид ролика с индивидуальным приводом показан на рисунке. Для привода ролика установлен фланцевый электродвигатель /. Вращение от электродвигателя / к ролику 3
может передаваться через какую-то промежуточную шестеренную передачу или непосредственно через муфту 2.
Ось ролика 3
устанавливают обычно на подшипниках качения 4.
В зависимости от назначения рольгангов ролики могут быть реверсивными и нереверсивными.
Диаметр ролика и размер канавки в нем выбирают в зависимости от максимального диаметра труб, которые должны транспортироваться данным рольгангом.
Рольганг с групповым приводом с зубчатой передачей показан на рисунке.
Ролики / рольганга устанавливаются на одной общей раме и получают вращение от электродвигателя 4
через цилиндрический редуктор 3 и
конические пары 2,
которые получают вращение от редуктора через один или несколько трансмиссионных валов.
Рольганг с групповым приводом с цепной передачей показан на рисунке.
В этом случае ролики 3
рольганга получают вращение от электродвигателя 1
через червячный редуктор, приводную звездочку 2
и бесконечную цепь 4.
Каждый из роликов 3
на конце оси имеет звездочку, входящую в зацепление с бесконечной цепью. Для натяжения бесконечной цепи 4
устанавливают натяжную звездочку 5.
Кроме того, для лучшего направления движения бесконечной цепи 4
и меньшего ее провисания она движется по специальным направляющим, установленным в желобке.
При обработке труб в обкатных машинах, Правильных станах, трубообрезных станках и т. п., чтобы вращающаяся с биением труба не ударяла по роликам рольганга и не разбивала их, подобные рольганги делают с опускающимися роликами. Более просто выполнить рольганги с опускающимися роликами с индивидуальным приводом. Рольганг с групповым приводом с зубчатой передачей
Подъем и опускание таких роликов осуществляются при помощи общей тяги, соединенной с нижними концами двуплечих рычагов, на горизонтальных плечах которых находятся ролики. Тяга для подъема и опускания роликов приводится в движение при помощи гидравлического или пневматического цилиндра. В рольгангах для труб небольшого диаметра тяга может получить передвижение вручную при помощи специального рычага. | Рольганг с групповым приводом с цепной передачей
|
Наиболее сложно осуществлять подъем роликов рольганга, имеющих групповой привод. Кинематическая схема такого рольганга представлена на рисунке. Ролики 2
здесь установлены на двуплечных рычагах и получают вращение от электродвигателя 7 через червячный редуктор, цепную передачу 6,
пару зубчатых колес 5
и двойную цепную передачу 4.
В отличие от предыдущего группового цепного привода роликов каждый из роликов на конце оси имеет по две звездочки, на каждую из которых накидываются бесконечные цепи, идущие одна от предыдущего ролика, а другая к последующему ролику. Подъем роликов осуществляется от цилиндра 1,
который связан с продольной тягой 3
подъема роликов. Эта тяга проходит вдоль всего рольганга и связана с двуплечими рычагами, на которых Остановлены ролики рольганга. При срабатывании цилиндра / ролики поднимаются или опускаются. Необходимо отметить, что ролики с индивидуальным приводом по сравнению с роликами с групповым приводом обладают следующими преимуществами:
1) в случае выхода из строя электрической части ролик может работать как холостой;
2) выход из строя привода такого ролика не препятствует нормальной работе цеха и транспортировке труб в процессе производства;
 
3) на рольганги той же длины расход электроэнергии в 2—3 раза меньше;
4) меньше масса рольганга;
5) меньше стоимость рольганга;
6) лучшая возможность регулирования роликов по высоте.
Часто на механизмах трубоотрезных станков устанавливают дополнительно специальные ролики, которые позволяют легко поворачивать лежащую на них трубу вокруг своей оси. Оси этих роликов располагаются параллельно оси трубы.
При подаче в трубоотрезной станок труба движется по подающему рольгангу над роликами, служащими для вращения трубы. Когда трубу зажмет шпинделем станка и она начнет вращаться вокруг своей оси, ролики основного рольганга опускаются или ролики для вращения поднимаются с трубой и последняя на них свободно вращается вокруг своей оси.
После окончания реза труба разжимается, подхватывается поднимающимися роликами и транспортируется из станка на дальнейшую технологическую операцию или сбрасывается в карман.
ОБОРУДОВАНИЕ ДЛЯ РЕЗКИ ТРУБ
В процессе производства труб приходится их обрезать и разрезать, для чего применяют пилы и резцовые станки: Лишь иногда для отрезки забитых головок применяют ножницы.
Типы пил и резцовых станков, применяемых для резки труб различных размеров
| Тип пил и станков
|
Раз мер труб, мм
|
| диаметр
|
толщина стенки
|
| Пилы дисковые зубчатые
Пилы дисковые без зубцов
Пилы ножовочные
Пилы дисковые с заострённой режущей кромкой
Пилы (станки) с абразивным диском
Трубообрезные станки, резцовые
Аллигаторые ножницы
|
38-102
20-102
5-38
12-102
1-89
38-150
20-50
|
3-8
2-8
0,5-2
2-4
0,1-5
≥2
0,5-4
|
Станки для резки труб
На торцах трубы на протяжении 100—200 мм от конца, а иногда и более имеются значительные неровности, которые не могут быть удалены торцовкой. Поэтому такие концы труб после прокатки приходится отрезать. Кроме того, трубы разрезают на мерные длины. Для этих операций применяют трубоотрезные станки, которые в настоящее время являются основным оборудованием, применяемым для этой цели.
Наиболее широко распространены резцовые трубоотрезные станки; их используют для чистовой разрезки и обрезки труб с целью получения гладких концов и концов с наружной или внутренней фаской.
Резцовые обрезные станки по конструкции бывают двух типов: с вращающейся и с неподвижной трубой. В станках первого типа труба зажимается в кулачках вращающегося патрона, а резцы закрепляются в суппортах, устанавливаемых на станине станка. В станках второго типа труба зажимается неподвижно, а резцы закрепляются во вращающемся патроне.
На рисунке приведена схема одного из применяемых трубоотрезных станков. Этот станок предназначен для отрезки концов труб, снятия наружной фаски и внутренних заусенцев. Диаметр отрезаемых труб 38—250 мм, толщина стенок 4—12,5 мм.

Трубоотрезной станок для труб диаметром 38—250 мм
'Принцип работы станка основан на поступательном движении инструмента и вращении трубы. Станок состоит из следующих основных частей: станины 1,
коробки скоростей 2,
шпиндельной бабки 8,
отрезных суппортов 4,
фасочного суппорта 5, заднего упора 6,
гидравлического привода 7, электродвигателя 8,
системы охлаждения и смазки.
На рисунке представлена кинематическая схема одного из трубоотрезных станков.
Вращательное движение шпинделю 5
передается от электродвигателя / через клиноременную передачу 2,
шестеренную коробку скоростей 3
и шестерню 4.
Труба зажимается в шпинделе цанговым зажимом с помощью втулки 6,
посаженной по скользящей посадке на шпиндель 5. Поступательное движение для осуществления зажима трубы втулка 6
получает через двуплечий рычаг 8
от гидравлического цилиндра. От этого же гидравлического цилиндра осуществляется зажим или разжатие задающих роликов 7, подающих трубу в шпиндель.
Вращение нижнего задающего ролика осуществляется от электродвигателя 13
через клиноременную передачу 12,
конические шестерни 11
и цилиндрические шестерни 10.
Трубоотрезной станок
Поступательное движение суппортам с закрепленными в них резцами сообщается двумя гидравлическими цилиндрами 14,
действующими на зубчатые рейки 15,
к которым непосредственно крепятся суппорты с резцами. Рейки 15
для обеспечения синхронной работы суппортов связаны между собой шестерней 16.
Работай трубоотрезной станок следующим образом; труба по рольгангу и задающим роликам 7 подается в полый шпиндель станка; ключается цилиндр зажима 9;
труба цангами шпинделя зажимается и начинает вращаться вместе с ним; включаются цилиндры перемещения суппортов с резцами и происходит рез; после окончания реза суппорты быстро отводятся в исходное положение, труба разжимается и выдается рольгангом из шпинделя, а затем сбрасывается в карман.
Для разрезки толстостенных труб диаметром до 240 мм применяют станки несколько иной конструкции. В этих станках зажим трубы осуществляется одним или двумя пневматическими патронами. Трубу можно зажимать как во время ее остановки, так и при ее продольном передвижении. Резцы подаются автоматически.
Трубоотрезные станки с неподвижной трубой менее распространены, чем станки с вращающейся трубой.
Обрезные станки с наждачным кругом
Режущим инструментом такого станка (рисунок) служит абразивный круг с приводом через клиноременную передачу 5 от электродвигателя 1.
Абразивный круг 7 имеет диаметр 300 мм и вращается со скоростью 900 об/мин. Шпиндель 8,
на котором закреплен абразивный диск 7, установлен на подшипниках качения. Шпиндель, электродвигатель и кожух клиноременной передачи смонтированы на металлической подвижной раме 3,
которая с помощью оси 2шар-нирно соединена с литой чугунной станиной 4.
В правом верхнем конце станины крепят призматическую опору 6
для укладки резрезаемой трубы. Абразивный круг к трубе подается вручную.
Такие станки применяют для резки труб с малой толщиной стенки после прокатки их на станах ХПТ или ХПТР, а также на промежуточных операциях.
Для окончательной подрезки труб такие станки применяют очень редко, так как торцы труб после реза зачастую получаются неровными и имеют поджоги, что приводит к необходимости дополнительной подрезки их на трубообрезных станках.
Дисковые пилы
Пилы трения
Дисковые пилы с гладким диском без зубьев (пилы трения) служат для грубой предварительной обрезки и разрезки труб, которые в дальнейшем обычно повторно обрезаются или очищаются от заусенцев. Применяют пилы трения для порезки труб с толстой стенкой на промежуточных операциях после волочения труб на волочильных станах, после прокатки их на станах ХПТ или обрезки «разлохмаченных» концов после раскатных станов горячей прокатки.
Разрезка трубы на пиле трения осуществляется круглым гладким диском. При давлении гладкого диска на разрезаемую трубу во время его вращения с большой скоростью благодаря трению выделяется достаточное для плавления металла трубы количество тепла, отчего металл плавится и труба в результате этого разрезается. Так как разрез происходит в результате плавления металла, то в месте разреза образуются большие заусенцы.
Вращающийся диск пилы крепят на фланце вала. На другом конце вала насажен приводной шкив. Посредине вала имеется шейка, помещаемая в установленный на салазках пилы подшипник. На заднем конце салазок монтируют приводной электродвигатель. Салазки установлены в специальных направляющих нижней плиты, смонтированной на фундаменте. Салазки вместе с пилой могут перемещаться в горизонтальной плоскости по направлению реза. Для установки на вал и для скрепления болтами диска с фланцем вала в диске пилы просверлены отверстия. Диск должен быть хорошо выправлен, чтобы его режущая кромка при вращении не отклонялась в сторону.
По окружности диска очень часто делают насечку, которая увеличивает коэффициент трения. Это способствует ускорению процесса разрезания трубы и вместе с тем насечка делает кромку диска пилы шире самого диска. Резка металла диском с насечкой обеспечивает более широкую прорезь в теле трубы и уменьшает ненужное трение боковых поверхностей диска о трубу.
Для уменьшения вибрации диска и для обеспечения правильной резки металла крепление его на валу (фланце вала) должно быть достаточно прочным. С этой целью диск надевается на вал, затем на него надевается соответственно диаметру фланца шайба. Внутренняя, прилегающая к диску сторона шайбы расточена таким образом, что по ее периферии получается небольшой кольцеобразный выступ, которым шайба при скреплении болтами плотно прижимает диск к фланцу.
Для обеспечения надежного удержания вала в горизонтальном положении и предупреждения возможного перекоса диска пилы подшипник вала имеет достаточно большую длину.
Рабочий вал получает вращение от электродвигателя через клиноременную передачу. Для получения необходимого натяжения ремней передачи электродвигатель устанавливают на направляющих салазках со специальным натяжным винтом. Перемещение салазок с пилой осуществляется по установленным на плите направляющим при помощи гидравлических или пневматических цилиндров.
Для пил трения применяют диски диаметром 600—1800 мм и больше с толщиной 4—10 мм. По мере износа кромок диски протачивают по окружности, диаметр их, таким образом, уменьшается. Уменьшение диаметра допускается на 5—10%. Большее уменьшение допускать не представляется возможным вследствие сравнительно большого диаметра фланца, который при значительном уменьшении диаметра режущего диска будет препятствовать резке трубы. Преимуществом пил трения является то, что они производят рез при большом числе оборотов, а следовательно, при большой окружной скорости, поэтому они обладают очень большой производительностью.
Недостатком является то обстоятельство, что при резке трубы получаются с оплавленными торцами и требуют дополнительной механической обработки. При этом во время работы пилы трения создают очень много шума и очень далеко разбрасывают расплавленный металл в виде искр, что небезопасно для работающих вблизи людей. Создаваемый пилами трения шум значительно больше допускаемого нормами по технике безопасности при работе в производственных цехах. Поэтому в последнее время пилы трения по мере возможности стараются не применять.
Дисковые и зубчатые пилы
Для порезки труб, применяемых в качестве исходной заготовки для прокатки их на станах ХПТ в волочильных цехах, на складе заготовки очень часто применяют дисковые или зубчатые пилы.
Устройство дисковой пилы несколько аналогично устройству пил трения. Режущий диск имеет небольшой диаметр (200—250 мм). Режущая кромка диска заострена или имеет зубья (зубчатые пилы). При разрезке заостренная кромка диска (у дисковой пилы) вдавливается в металл трубы и разрезает его.
Зубчатая пила режет трубу зубьями, расположенными по окружности диска.
Трубы при резке дисковой пилой укладывают на два холостых ролика. Под влиянием трения, возникающего между вращающимся диском и трубой, последняя будет вращаться на роликах, и разрезка стенки, таким образом, будет осуществляться постепенно по всей окружности трубы. При резке зубчатой пилой трубу укладывают на две призмы.
Для подвода трубы к вращающемуся диску и для создания необходимого давления диска на трубу (подачи) нижние поддерживающие холостые ролики при помощи особого рычага, винтового или гидравлического устройства можно поднимать. Иногда подвижным делают сам диск, устанавливая подшипники в специальных направляющих.
Привод дисковой пилы осуществляется от индивидуального электродвигателя.
Преимущества дисковых и зубчатых пил заключаются в том, что они дают относительно ровный рез и оставляют на торце трубы небольшие заусенцы.
Недостатком является то, что диск вращается с малой скоростью, а поэтому производительность таких пил невелика.
Подвижные пилы для резки труб
На станах для непрерывной сварки труб встык, для кислородно-ацетиленовой сварки или после станов ХПТ устанавливают для резки труб подвижные пилы.
Резка труб в этом случае осуществляется в процессе сварки или прокатки трубы.
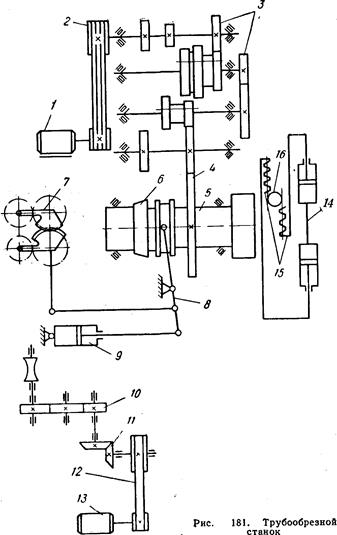
Кинематическая схема одной из таких пил представлена на рисунке.
Режущим инструментом в этой пиле служат два отрезных резца 12,
которым сообщается как вращательное движение вокруг трубы (движение резания), так и радиальное движение к центру трубы (подача). Отрезаемая труба 15
проходит сквозь полый шпиндель 10
пилы и в нужный момент зажимается двумя цангами 11,
приводимыми в движение от двухпоршневого гидравлического цилиндра 14.
Выходящая из стана труба перемещает всю режущую головку, которая катится по направляющим на бегунках.
Вращение (движение резания) и радиальное поступательное движение резцов происходят следующим образом. Резцы 12
установлены в двух суппортах. Суппорты с помощью выполненных на них приливов, имеющих форму ласточкиного хвоста, установлены в соответствующих пазах кольца, которое жестко связано с шестерней 8,
имеющей 84 зуба. На концах суппортов установлены ролики 13,
прижимаемые пружинами 9
к профилированному кольцу 7.
Профилированное кольцо жестко связано с шестерней 6,
имеющей 80 зубьев. Шестерни 6
и 8
находятся в зацеплении с блоком шестерен 4,
который установлен на шлицевом. валу 5,
приводимом во вращение через зубчатую передачу 3
и клиноременную передачу 2
от электродвигателя.
Вследствие разного числа зубьев на шестернях 6
и 8
шестерня 6
и связанное с ней профилированное кольцо вращаются с одной скоростью, а шестерня 8
и связанное с ней кольцо, несущее суппорты с резцами 12,
вращается с другой скоростью, немного большей.
Таким образом, профилированное кольцо и суппорты вращаются в одну сторону с разными числами оборотов, что приводит к относительному смещению профилированного кольца по отношению к суппортам.
Профилированное кольцо выполнено таким образом, что его радиусы на двух дугах, соответствующих центральным углам 170°, постепенно уменьшаются, а на дугах, соответствующих центральным углам 10°, вновь возрастают. Перемещение профилированного кольца относительно суппортов обеспечивает радиальное движение (подачу) суппортов с резцами.
Специальное построение профиля кольца (закон изменения величины его радиусов) обеспечивает быстрый подход резцов к отрезаемой трубе, уменьшение подачи по мере врезания в трубу для обеспечения чистого реза без заусениц на внутренней поверхности трубы и быстрый отвод резцов по окончании реза в исходное положение. Окончание цикла резания фиксируется командоаппаратом, и пила останавливается в тот момент, когда резцы максимально разведены. Передаточное число к командоаппарату подобрано таким образом, что его вал за один цикл резания поворачивается строго на 360°.
В исходном положении пила расположена у выходной стороны стана, цанговые зажимы открыты. Выходящая из стана труба проходит через шпиндель головки и нажимает на флажковый выключатель, расположенный на столе выдачи. Включение флажкового выключателя дает импульс на движение вперед цилиндра возврата головки и зажатие цангового зажима. Зажим трубы фиксируется конечным выключателем, дающим импульс на включение электродвигателя.
Начинается резание. В процессе резания выходящая из стана труба перемещает головку по направляющим.
По окончании реза электродвигатель отключается командоаппаратом. Командоаппарат дает импульс на отжатие цанговых зажимов, после чего пила возвращается в исходное положение цилиндром возврата.
Трубоподрезные станки
Трубоподрезные станки предназначаются для подрезки торца, снятия с наружной поверхности торца трубы фаски, а с внутренней заусенцы. Некоторые станки снабжаются мощной вентиляционной установкой с соответствующими очистителями воздуха для внутренней продувки труб.
При обработке труба в этих станах закрепляется неподвижно, а подрезка ведется многорезцовыми головками.
Наиболее производительны барабанные Трубоподрезные станки, применяемые в автоматических линиях отделки труб.
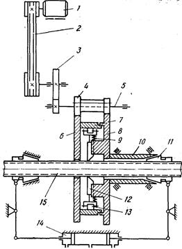
Кинематическая схема поперечного разреза одного из таких станков представлена на рисунке
На автоматических подрезных станках для труб диаметром 10—76 мм обработку осуществляют при непрерывном движении барабана 1
с закрепленными в нем трубами 5.
По окружности барабана располагаются захваты 4.
Последовательный захват очередной трубы, ее зажим, а после окончания обработки разжим происходят за счет кулачка 6,
установленного на барабане /. Профиль кулачка рассчитан таким образом, что захват, установленный со стороны загрузки станка, захватывает очередную трубу, а затем ее зажимает, в это время захват, установленный со стороны выгрузки, разжимается и сбрасывает уже обработанную трубу на стеллаж, который передает трубу на следующую операцию.
Для обработки торца трубы на станке установлен постоянно вращающийся барабан, несущий четыре шпинделя с резцовыми головками, которые работают одновременно. При этом в одно и то же время один из шпинделей только надвигается на обрабатываемую трубу, второй — ведет обработку трубы, третий отходит от уже обработанной трубы, четвертый совершает холостой ход. Трубы подаются к станку по наклонному стеллажу и далее коническими роликами до упора, который фиксирует торец трубы на определенном расстоянии от торца инструментальной головки. Трубоподрезные и трубонарезные станки барабанного типа отличаются один от другого лишь по виду режущего инструмента и копира подачи.
Список литературы:
1. Р.М. Гладышев, В.В. Паначев Механическое и транспортное оборудование трубных цехов. – М.: Металлургия, 1975. – 352с.
2. Грудев А.П., Л.Ф. Машкин, Ханин М.И. Технология прокатного производства. – М.: Металлургия, 1994. – 656с.
3. В.М. Друян, Ю.Г. Гуляев, С.А. Чукмасов Теория и технология трубного производства. – Днепропетровск: РИА «Днепро-ВАЛ», 2001. – 544с.
4. А.И. Целиков, П.И. Полухин и др. Машины и агрегаты металлургических заводов, т. 3. – М.: Металлургия, 1988. – 680с.
|