| ЭКАЗАНСКИЙ ГОСУДАРСТВЕННЫЙ УНИВЕРСИТЕТ
Геологический факультет
Кафедра региональной геологии и полезных ископаемых
ГЕНЕТИЧЕСКИЕ ТИПЫ И ФАЦИИ ЧЕТВЕРТИЧНЫХ ОТЛОЖЕНИЙ
Учебно-методическое пособие для практических занятий по курсу «Геология четвертичных отложений»
Казань 2009
Печатается по решению кафедры региональной геологии и полезных ископаемых
Казанского государственного университета
Протокол №6 от 15 апреля 2009г.
Составитель:
И.П. Зинатуллина
Генетические типы и фации четвертичных отложений. Учебно-методическое пособие для практических занятий.- Казань. Казанский государственный университет 2009.- стр.
В пособии для практических занятий по курсу «Генетические типы и фации четвертичных отложений» дана краткая характеристика особенностей формирования осадочных образований в четвертичный период. Рассматриваются основные факторы (рельеф, климат, неотектоника), влияющие на формирование различных типов отложений, слагающих крупные аккумулятивные формы рельефа.
Пособие рассчитано на студентов факультета географии и экологической геологии Казанского государственного университета.
Казанский государственный университет 2009.
Отложения образовавшиеся в течении четвертичного периода, выделяются в четвертичную систему. Они широко распространены на всех континентах земного шара и на дне морей и океанов. Четвертичные отложения формируют аккумулятивный рельеф и являются основанием для строительства. Доступность четвертичных отложений, слагающих современные аккумулятивные формы рельефа, и высокая сохранность их первичных особенностей позволяют выяснить среду их осадконакопления, определять процессы, ведущие к формированию их характерных черт. Для четвертичного времени с большой полнотой решаются вопросы седиментогенеза, экологии, эволюции органического мира, вулканических и тектонических процессов, глобальных климатических изменений, рельефообразования.
Основа генетической классификации четвертичных отложений в России создана А. П. Павловым. По А.П. Павлову, генетический тип-это отложения, сформировавшиеся в результате деятельности определенных геологических агентов: воды, ветра, льда и др.
Генетические типы могут, в свою очередь, состоять из менее крупных образований-фаций. Фации, в свою очередь, подразделяются еще на более дробные генетические подразделения-микрофации или субфации. Чаще всего фации входят в состав крупных генетически однородных аккумулятивных образований.
Забиваем Сайты В ТОП КУВАЛДОЙ - Уникальные возможности от SeoHammer
Каждая ссылка анализируется по трем пакетам оценки: SEO, Трафик и SMM.
SeoHammer делает продвижение сайта прозрачным и простым занятием.
Ссылки, вечные ссылки, статьи, упоминания, пресс-релизы - используйте по максимуму потенциал SeoHammer для продвижения вашего сайта.
Что умеет делать SeoHammer
— Продвижение в один клик, интеллектуальный подбор запросов, покупка самых лучших ссылок с высокой степенью качества у лучших бирж ссылок.
— Регулярная проверка качества ссылок по более чем 100 показателям и ежедневный пересчет показателей качества проекта.
— Все известные форматы ссылок: арендные ссылки, вечные ссылки, публикации (упоминания, мнения, отзывы, статьи, пресс-релизы).
— SeoHammer покажет, где рост или падение, а также запросы, на которые нужно обратить внимание.
SeoHammer еще предоставляет технологию Буст, она ускоряет продвижение в десятки раз,
а первые результаты появляются уже в течение первых 7 дней.
Зарегистрироваться и Начать продвижение
Таблица
1
Классификация генетических типов четвертичных отложений.
| №
|
Ряды
|
Генетические типы
|
| I
|
Элювиальный
(коры выветривния)
|
Элювиальный, Почвенный
|
| II
|
Фитогенный
|
Торфяники
|
| III
|
Коллювиальный
(склоновый)
|
Обвальный (дерупций), осыпной (десперсий), оползневой (деляпсий), солифлюкционный, делювиальный
|
| IV
|
Аквальный
(водный)
|
Аллювиальный, пролювиальный, лимнический (озерный)
|
| V
|
Субтерральный
(подземноводный)
|
Пещерный, фонтанный
|
| VI
|
Гляциальный
(ледниковый)
|
Гляциальный, флювиогляциальный, лимногляциальный
|
| VII
|
Эоловый (ветровый)
|
Эоловый
|
| VIII
|
Субаэрально-морской
|
Дельтовый, эстуарный, лагунный, приливный,
гляциально-морской
|
| IX
|
Морской
|
Гидрогенный, гравитационный, айсберговый, биогенный,
хемогенный, гидротермальный, подводно-элювиальный
|
| X
|
Вулканогенный
|
Экструзивный, эффузивный, грязевулканический, водновулканический (лахары)
|
| XI
|
Техногенный
|
Техногенный
|
Элювиальный ряд (коры выветривания)
. Элювиальный тип. Особенностью элювиальных образований, кроме сохранения реликтовых структур и текстур, является постепенность переходов новообразованного материала в исходную материнскую породу. Основной природный процесс, под воздействием которого формируется элювий,- это выветривание. В процессе выветривания коренные породы подвергаются физико-биохимическим преобразованиям. При этом и степень преобразования материнских пород и мощность элювия зависит от нескольких факторов: климата, литологии пород, продолжительности воздействия процессов выветривания, а также рельефа поверхности. Климат обуславливает прежде всего тип выветривания-физическое или химическое. Физическое выветривание происходит под воздействием постоянно меняющихся суточных и сезонных температур, а также процессов периодического замерзания-таяния воды.
Химическое выветривание протекает в основном при положительных температур, действии кислорода и углекислого газа. На ранней стадии выветривания происходит механическое разрушение пород, которое наиболее активно протекает в условиях континентального, а также жаркого, но сухого климата.
При длительном воздействии химического выветривания формируется мощный элювий или кора выветривания с вертикальной зональностью. В корах выветривания полного профиля выделяются 4 зоны (рис.1)
| 
|
| Рис. 1. Принципиальная схема строения коры выветривания.
Сервис онлайн-записи на собственном Telegram-боте
Попробуйте сервис онлайн-записи VisitTime на основе вашего собственного Telegram-бота:
— Разгрузит мастера, специалиста или компанию;
— Позволит гибко управлять расписанием и загрузкой;
— Разошлет оповещения о новых услугах или акциях;
— Позволит принять оплату на карту/кошелек/счет;
— Позволит записываться на групповые и персональные посещения;
— Поможет получить от клиента отзывы о визите к вам;
— Включает в себя сервис чаевых.
Для новых пользователей первый месяц бесплатно.
Зарегистрироваться в сервисе
1 - коренные породы; 2 - зона дезинтеграции; 3 - зона выщелачивания; 4 - зона глинистых минералов; 5 - зона оксидов и гидрооксидов; 6 - почва
|
Во влажных субтропиках и тропиках формируются мощные глубоко преобразованные глинистые коры выветривания полного профиля, имеющие ярко-красный или оранжевый цвет. Слагающий их элювий в основном состоит из глинистых минералов группы каолина, а гидроокислы железа представлены гетитом и гидрогетитом. Эти коры называются «латериты» с ними связаны месторождения бокситов.
Криогенный элювий обязан своему происхождению морозному выветриванию в обстановке полярного и нивального климата. Морозное выветривание выражается в дроблении горных пород под влиянием расклинивающего действия замерзающей в трещинах воды, увеличивающей свой объем при переходе в лед. В рыхлых мерзлых породах в условиях постоянной мерзлоты образуются глубокие ледяные клинья, для образования которых необходимы длительные отрицательные температуры поверхностного слоя грунта и маломощный снеговой покров. В условиях близкого залегания к поверхности многолетней мерзлоты образуется сезонно-талый слой, в котором идут специфические процессы: периодическое образование ледяных прожилков и вкраплений, разрывающих рыхлый грунт, мерзлотное пучение и сортировка, приводящая к вымораживанию грубообломочного материала к поверхности. Под воздействием мерзлотных процессов криогенный элювий приобретает зональное строение (рис.2).
| 
|
Рис. 2. Схема строения криогенного элювия.
1 - верхняя зона (бронирующий слой); 2 - вторая зона, представленная смесью дресвы и щебня с мелкоземистым материалов; 3 - третья зона грубых обломков с малым содержанием мелкозема; 4 - нижняя зона начального разрушения коренных пород; 5 - коренные породы
|
Почвенный тип.
Почвы формируются в верхней части элювия или коры выветривания за счет биохимических преобразований и обогащения органическим веществом. Они развиваются в тесном взаимодействии с растительным покровом. Главной особенностью почв является идущий в них своеобразный биологический круговорот веществ, почти не сказывающийся на подпочвенной части коры выветривания.
Почвы подразделяются на два главных типа- автоморфные и гидроморфные
.
Автоморфные почвы образуются там, где зеркало грунтовых вод и зона их капиллярного поднятия располагаются глубже зоны почвообразования. В этом случае атмосферные осадки просачиваются через почву, вынося из нее продукты выветривания и органического разложения вниз. В профиле таких почв выделяются два основных горизонта (рис. 3).
| 
|
Рис. 3. Типичный профиль черноземной почвы.
А - элювиальный горизонт (А0
- слой перегноя, А1
- интенсивно гумусированный подгоризонт, А2
- слабо гумусированный горизонт); В – иллювиальный горизонт: В1
- сильно обизвевсткованный горизонт (белоглазка); В2
- слабоизвестковый горизонт; С- слабо измененная
|
Гидроморфные почвы образуются там, где грунтовые воды залегают близко к поверхности и почвообразование большую часть года протекает в зоне их капиллярного поднятия. Почва почти постоянно насыщена водой. Органическое вещество разлагается при недостатке кислорода, что приводит к установлению восстановительной среды.
Погребенные и ископаемые почвы. Это мертвые почвы, выпавшие из сферы биологического круговорота вещества и потерявшие всю современную, или живую, почвенную микрофауну и фауну.
Фитогенный ряд (торфяники).
Входит один генетический тип-торфяники. Они образуются в условиях заболачивания различного типа водоемов из остатков растительности на месте ее произрастания. Они называются автохтонными.
В этих торфяниках выделяются два типа-низинные
(или низовые) и верховые
.
Низинные развиваются в понижениях рельефа. Одни образуются при зарастании озерных водоемов, другие при заболачивании речных пойм, низких террас.
Верховые образуются в болотах на водораздельных пространствах, преимущественно в лесотундровой или лесной зоне, в условиях застаивания атмосферных вод или верховодки.
Сфагновые торфяники верхового типа могут возникать и в понижениях рельефа в завершающую стадию развития низинных болот.
Коллювиальный (склоновый) ряд
.
Выделяются пять генетических типов.
1. Обвальный тип, характерен для горных районов. Наиболее крупные массы обвалов встречаются в условиях глубоко расчлененного рельефа. Они залегают у подножий тектонических уступов, с которых сорвались, наиболее грандиозными бывают так называемые сейсмообвалы, вызванные сильными землетрясениями. Для обвальных образований характерна несортированность слагающего материала. В нем беспорядочно смешаны обломки пород самого различного состава и размера- от громадных глыб до мелкого щебня и дресвы (рис.4).
| 
|
| Рис. 4. Схематический разрез обвальных отложений
|
2. Осыпной тип. Это обломочный материал, отделяющийся от скальных горных пород склона в результате физического выветривания и скатывающийся под действием силы тяжести к основанию склона. Осыпные процессы не носят катастрофического характера. Осыпи являются характерным элементом горного ландшафта, особенно высокогорных аридных зон, где продукты выветривания не закрепляются растительностью. Основными условиями образования осыпей являются крутые склоны со скальными выходами пород и сухой резко континентальный или морозный климат. Здесь происходит образование и накопление продуктов выветривания в виде глыб и щебня. Свежие и молодые осыпи-обычно рыхлые, они подвижны. Чем древнее осыпь, тем более плотным является его сложение (рис.5).
| 
|
Рис.5. Схема строения осыпей различного типа: А- рыхлый; Б - плотный; В - сложный
Крестом обозначены коренные породы склона, треугольниками - крупнообломочная масса, вертикальными штрихами - мелкозем
|
3. Оползневой тип. Образуется при соскальзывании крупных блоков и разрушенных масс пород по возникающим в массиве склона поверхностям скольжения. Основными условиями возникновения оползней являются наличие достаточно крутых склонов (обычно не менее 25о
) и увлажнение определенной части пород и области склона.
Различают два типа оползней-блоковые и поточные
. Образование блоковых оползней заключается в соскальзывании крупных блоков пород, сохраняющих при этом в той или иной мере свое внутреннее строение. В рельефе хорошо выражены: стенка отрыва, оползневая масса, присклоновое или тыловое понижение-западина (рис.6).
| 
|
Рис. 6. Схема оползневых образований
1 - песчано-галечные отложения; 2 - пески и песчаники; 3 - глины; 4 - заболоченность (а); родники (б)
|
Поточные оползни развиваются преимущественно на глинистых легко оглинивающихся при выветривании горных породах. При развитии поточных оползней сорвавшийся блок распадается, превращаясь в насыщенную водой обломочную массу. Эта масса движется вниз по склону уже в виде потока по законам пластического или вязкого течения.
4. Солифлюкционный тип. Образуются в процессе солифлюкции, или вязкопластичного течения, переувлажненного поверхностного слоя грунта вниз по склону под воздействием силы тяжести. Легче всего текут песчано-глинистые грунты. На поверхности склона течение грунта выражается в образовании чешуеобразных или языкообразных в плане натечных ступенек микрорельефа. Эти ступеньки называются солифлюкционными террасами (рис. 7). Солифлюкционные отложения как на склонах, так и у их подножий, разнообразны по своему составу: от глин и суглинков до щебня и валунов, в зависимости от слагающих склон горных пород. Характерно отсутствие сортировки обломочного материала по крупности. В них широко распространены текстуры течения и смятия (рис. 8).
| 
|

|
| Рис. 7. Солифлюкционные террасы.
ДС - деятельный слой; МС - мерзлый слой
|
Рис. 8. Солифлюкционные текстуры течения (в разрезе)
|
5. Делювиальный тип. Формируются на пологих склонах и у их подножия в результате плоскостного смыва обломочного материала. Активность склонового смыва зависит от количества стекающей воды, проявляется там, где нет растительного покрова. Делювиальные отложения в рельефе образуют полого наклонные вогнутые шлейфы, покрывающие нижние части склонов. В нем всегда преобладают суглинки и супеси, в равнинных условиях обогащены песком мелким и гравием, в горах - дресвой и щебнем (рис.9). В полных типичных разрезах в строении делювия выделяются три фации: присклоновая, срединная и периферическая или низовая.
6. Смешанные типы отложений.
1. Солифлюкционные-осыпные отложения формируются при простом механическом скатывании обломочного материала и существенно в процессе солифлюкции (рис. 10).
2. Солифлюкционно-делювиальные отложения образуются при совместном действии процессов солифлюкции и плоскостного смыва, что часто наблюдается на пологих склонах в субнивальной зоне.
3.Гравитационно-делювиальные отложения покрывают склоны гор средней крутизны (до 30-40о
) во внеледниковых зонах. Осыпание под действием силы тяжести сопровождается плоскостным смывом.
| 
|
|
| Рис. 9. Схемы строения делювиальных покровов у подножий пологих (А) и крутых (Б) склонов.
а - в - фации делювия: а - присклоновая, б - срединная, в - периферическая, 1 - песок, 2 - щебень, галька, 3 - супесь, 4 - суглинок, 5 - коренные породы
|
|
| 
|
|
| Рис.10. Реликтовые солифлюкационно- осыпные отложения (А) с характерными формами выветривания “Земляных столбов”(В) (по А.И.Ицкову)
|
|
Аквальный (водный) ряд
Аллювиальный тип образуется в результате непрерывного взаимодействия водного потока с руслом: врезанием или эрозией и аккумуляцией русло управляет потоком, и поток управляет руслом. Русло испытывает деформации трех типов: вертикальная-в результате глубинной эрозии, горизонтальная-воздействие боковой эрозии, продольная-движение наносов приводит к образованию в русле неровностей-перекатов, отмелей.
Влекомые наносы образовывают перемещающиеся аккумулятивные гряды (рис.11).
| 
|
| Рис. 11. Движение аллювиальных гряд на р. Брахмапутра
(по В.Колеману)
|
В зависимости от гидрологического режима рек, обусловленного климатом, тектоникой и рельефом земной поверхности, аллювий делится: на аллювий равнинных рек и горных рек.
В долинах рек выделяются динамические фазы аллювиальной аккумуляции.
Инстративный
или выстилающий аллювий характерен для стадий преимущественного врезания реки, глубинной эрозии, характерной для участков, испытывающих тектонические поднятия.
Субстративный
или подстилающий аллювий формируется в стадию расширения долины, когда заканчивается глубинная эрозия и начинает преобладать боковая, вследствие подъема берегов меандрирующим руслом дно долины расширяется.
Констративный
или настилаемый аллювий формируется на стадии заполнения долин обломочным материалом в условиях его обильного поступления, чаще всего на участках тектонических опусканий или подпруживания.
Перстративный
или перестилаемый аллювий формируется в хорошо разработанных, зрелых долинах с выположенными продольными профилями на заключительных этапах аккумулятивных стадий или на участках, где устанавливается равновесие между несущей способностью реки и количеством поступающего в нее обломочного материала.
1.Аллювий равнинных рек.
В нем выделяются три фации: русловая, пойменная и старичная.
Русловой аллювий формируется в высокоэнергетической обстановке речных русел из влекомых наносов и слагается наиболее грубым обломочным материалом – от грубых песков до крупных галек.
В меандрирующих руслах имеются три основные гидродинамические обстановки накопления аллювия (рис12). В соответствии с этим выделяются три субфации: стрежневая или плесовая, перекатная, прирусловой отмели (побочная).
| 
|
Рис. 12. Обстановки накопления аллювия в меандрирующих руслах
|
Пойменный аллювий формируется в низкоэнергетических обстановках паводковых разливов за счет осаждения частиц, взвешанных наносов из воды, периодически затапливающей низкую часть долины - речную пойму (рис.13). Выделяются три субфации: прирусловая, центральная и притеррасная.
| 
|
| Рис. 13. Схема формирования перстративного аллювия (по Е.В. Шанцеру).
А - русло (А1 - прирусловая отмель); В - пойма (В1 - прирусловый вал); Н - уровень полых вод; h - уровень межи; М - нормальная мощность аллювия, 1 - зона намывания влекомых наносов поперечными циркуляционными токами (цифры в кружках (1-7) - последовательно образующиеся слои руслового аллювия); 11 - зона осаждения взвешенных наносов.
|
Старичный аллювий образуется чаще всего на пойме в отмерших участках речных русел, превращенных в замкнутые водоемы. Выделяются три субфации: проточная, озерная и болотная.
2. Аллювий горных рек
Типы горных рек
: 1. мелкие водотоки, которые не в состоянии перерабатывать обломочный материал, поступающий с гор; 2. более значительные по своим расходам потоки, которые уже полностью перерабатывают поступающий в них обломочный материал; 3. крупные реки с наибольшим расходом воды.
Основные факторы, влияющие на формирование аллювия горных рек.
Климат и новейшая тектоника, которые обуславливают гидродинамику потока, тип и строение русла и долины реки на разных ее участках. Расходы воды, скорость течения, турбулентность-все это производные климата и неотектоники.
В геоморфологическом отношении долины высокогорных рек подразделяются на четыре части: троговую (ледниковую), горную, предгорную и подгорно-равнинную (рис.14).
| 
|
Рис. 14. Типы строения горного аллювия в различных геоморфологических зонах
|
Основные фации горного аллювия.
Русловая фация.
Современный русловой аллювий прямолинейных русел горных рек чаще всего представляет инстративный аллювий. В нем выделяются две основные субфации: стрежневая и прибрежная
, формирующиеся в разных гидродинамических обстановках и отличающиеся по своему механическому составу.
В извилистых руслах на излучинах в горном аллювии так же, как и в равнинном, четко обособляются две фациальные обстановки, обусловленные особенностями гидродинамического режима: плес у вогнутого берега с наибольшими глубинами русла, а также наиболее грубыми влекомыми наносами (валуны, галька), и прирусловая отмель (побочень) у выпуклого берега, где размыв сменяется уже аккумуляцией наносов, по крупности во много раз меньших в сравнении с наносами, перемещаемыми у вогнутого берега.
В формировании отложений субфации прирусловой отмели принимают участие как продольные, так и поперечные течения, играющие решающую роль при распределении наносов на поворотах русла. Головные (т.е. расположенные вверх по течению) части отмели в большинстве случаев слагаются наиболее грубым обломочным материалом, приносимым продольными течениями. Вниз по излучине зона максимальных продольных скоростей смещается к вогнутому берегу, и прирусловая отмель формируется, главным образом, на счет накопления наносов, перемещаемым поперечными циркуляционными течениями от вогнутого берега (рис.15).
| 
|
Рис. 15. Строение прирусловой отмели горной реки
1 - галечники разных размеров; 2 - глыбы; 3 - пески грубозернистые; 4 - пески мелкозернистые; 5 - направление течения воды; 6 - коренные породы
|
| |
|
| 
|
| Рис. 16. Разрез позднеплейсто-ценовой террасы р. Кочкору с. Актал (сев. Тянь-Шань
|
| |
В зависимости от гидродинамических условий формирования в аллювии разветвленных русел можно выделить основные фации: 1) субфации основных, или главных русел,
представленная наиболее крупным валунно-галечниковым материалом, сходным по составу и строению с субфацией однорукавных русел; 2) субфация второстепенных проток
, подразделяющихся на продольные, диагональные и поперечные, в которых отлагается более мелкий обломочный материал, по сравнению с главным руслом; 3) субфация отмерших, отшнурованных проток
, превращающихся в межень в озерца и лужи, где может отстаивать самый тонкий мелкоземистый материал; 4) субфация кос и островков с характерной для них сортировкой обломочного материала с убывающей крупностью от головных частей к хвостовым и от главных проток в сторону второстепенных. Отмеченные субфации руслового горного аллювия хорошо выделяются в современных русловых отложениях, в а также отчетливо прослеживаются и в разрезах древнего аллювия, слагающего речные террасы (рис. 16).
Пойменная фация
. В горных долинах встречаются обычно небольшие участки пойм различных типов, покрытых травяной или древесно-кустарниковой растительностью, на которых формируется маломощный пойменный аллювий. В зависимости от характера речных долин выделяются различные по генезису поймы: скелетные, побочные и проточно-островные.
Фации подпруживания и природных экранов
. В пределах горной и предгорной областей распространены препятствия или перемычки. По происхождению перемычки делятся на три группы: 1) обусловленные геологическим строением (литологические и структурные, образовавшиеся вследствие развития складчатых или разрывных структур), 2) экзогенные, сформированные вследствие быстрой аккумуляции в долине четвертичных отложений другого генезиса (обвальных, гляциальных, пролювиальных, селевых и др.), 3) вулканогенные (лавовые потоки). Перемычки могут полностью перегородить долину (плотинные), или сузить ее (суживающие), или вызвать только изменение направления потока (струенаправляющие). Перед перемычками формируются отложения фации подпруживания. Здесь образуются две фациальные обстановки. Двигающиеся преимущественно крупнообломочные донные наносы, попадая сюда, начинают интенсивно откладываться, формируя пестрые по фракционному составу отложения субфации зоны выклинивания подпора
, образующие в рельефе русла формы в виде гряды или небольшие подводные дельты (рис. 17). Вторая, собственно подпрудная
, фациальная обстановка образуется между зоной выклинивания подпора и перемычкой. Здесь течение резко замедляется, часто становится круговым, вследствие чего осаждаются мелкие взвешенные фракции наносов, песчаные или алевритовые. Они формируют подпрудную субфацию. По мере увеличения поступления взвешенных наносов через перемычку непосредственно за ней в воронках размыва накапливаются наклонно-слоистые мелкозернистые, главным образом, песчаные отложения фации природных экранов
.
| 
|
| Рис. 17. Схема строения горного аллювия у перегораживающих перемычек
|
В предгорной области характерно накопление преимущественно галечного аллювия в разветвленных руслах, в которых выделяются субфации кос и островов. Острова и косы, причленяясь к берегу или друг другу образуют проточно-островную пойму. В результате весьма разнообразных фациальных обстановок накопления аллювия в предгорной зоне разрезы пойм отличаются пестротой механического состава (рис. 18).
| 
|
Рис. 18 Разрез поймы р. Зеравшан у г. Пенджикент
Фации: а - русловая; б - низкой поймы; в - поймен-ных русел; г - высокой поймы. Литологический состав: 1 - галечники; 2 - пески; 3 - супеси и суглинки; 4 - характер слоистости
|
Долины крупных горных рек являются важным объектом для выяснения общих закономерностей формирования аллювия рек как горных, так и равнинных. Это видно на примере строения аллювия, слагающего региональные или цикловые террасы. Региональных четвертичных террас в каждой долине за пределами ледниковой области может быть 5-6 (рис. 19).
| 
|
| Рис. 19. Поперечный разрез долины р. Зеравшан в районе Айни
(Юго-Западный Тянь-Шань).
1- песчано-галечные отложения перстративного аллювия; 2 - буровато-серые галечники и конгломераты констративного горизонта аллювия; 3 - желто-бурые валунные галечники и конгломераты инстративного горизонта аллювия; 4 - высыпки серых галечников; 5 - перстративнвый аллювий; 6 - констративный аллювий; 7 - тальвеговый аллювий; 8 - суглинки со щебнем и гравием; 9 - супеси ; 10 - коренные отложения нижнего силура; 11 - разрывные нарушения, установленные (а) и предполагаемые (б); 12 - предполагаемые контуры погребных частей долин; 13 - высота над руслом Зеравшана (в м); 14 - уровень Зеравшан
|
Аллювий временных водотоков
. Широко развит в горных и предгорных аридных районах. На равнинах к нему относятся овражный и балочный аллювий, а также аллювий пересыхающих рек. В руслах потоков временного стока накапливается очень пестрый по гранулометрическому составу и обычно слабо окатанный обломочный материал. Широко распространены фации подпруживания и природных экранов (рис.20), связанные с отдельными крупными обломками или их скоплением в русле.
| 
|
| Рис. 20. Разрез второй надпойменной реррасы р. Акдере (Копентдаг)
|
Пролювиальный тип.
Пролювий комплекс отложений устьевых выносов эрозионных долин. В нем выделяются два подтипа: 1) отложения конусов выноса временных потоков, возникающих во время таяния снега или сильных дождей; 2) отложения, образующиеся у выхода из гор на равнину постоянных рек, но пересыхающих и не доходящих до своего базиса эрозии.
| 
|
| |
| Рис.21. Разрез отложений вершинной зоны конуса выноса р. Сулубакир (Сев. Тянь-Шань)
|
Отложения конусов выноса временных потоков. Пролювий, слагающий конусы выноса характеризуется средней, реже хорошей окатанностью материала, слабой его сортировкой, грубой слоистостью. Сами конусы выноса имеют выпуклую поверхность и отчетливый, часто значительный наклон от их вершин к боковым и периферическим частям. Вершинные зоны конусов слагаются самыми грубообломочными отложениями, относящиеся к потоковой фации. Это грубообломочные плохо - и среднеокатанные валунные галечники или щебнисто-галечный материал с большой примесью песка и суглинка в виде заполнителя или отдельных прослоев (рис.21).
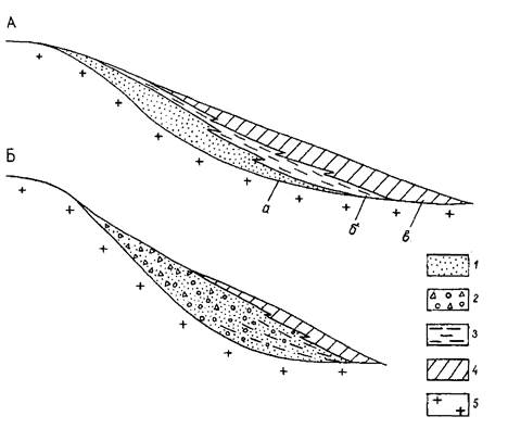
Отложения наземных или «сухих», дельт развиты только в аридных областях, у подножий высоких хребтов. Отличаются лучшей окатанностью, сортировкой и дифференциацией по размерам. Для них характерна зональность строения слагающих их отложений. В крупных сухих дельтах, образующихся в обширных предгорьях или межгорных впадинах, в плане и в разрезе выделяются четыре концентрические зоны (рис.22).
Лимнический (озерный) тип.
Озерные осадки образуются с малоподвижной или стоячей водой. Осадкообразование зависит от климатических условий, которые определяют гидрологический и гидрохимический режим озерных водоемов и осадков. Выделяются три типа осадков.
| 
|
| Рис. 22. Схема строения наземной дельты в плане (а) и в разрезе (Б) (по К.В.Курдюкову).
Зоны: I - центральная, II - переходная, III - периферическая; IV - передняя. 1 - валунный галечник; 2- песок; 3 - супесь, суглинок; 4 - глины, мергели; 5 - коренные породы
|
1) Терригенные осадки образуются в основном за счет приноса обломочного материала реками. Такие осадки характерны для крупных проточных, пресных озер. Для этих осадков присуще дифференциация по механическому составу. Пляжные и прибрежные фации представлены галечным, гравийным и песчаным материалом. Глубоководные фации представлены глинами.
2) Органогенные, или биогенные осадки образуются в результате гибели организмов и растительности. К ним относиться торф. В северных холодных озерах образуются диатомиты и трепелы.
3) Хемогенные осадки образуются за счет осаждения растворенных в воде минеральных веществ, солей и коллоидов.
Субтеральный (подземноводый) ряд.
Пещерный тип
. Пещерные образования распространены ограничено. Среди четвертичных образований пещер распространены - гравитационные (обвальные), хемогенные, аллювиальные, органогенные. Собственно пещерными являются лишь хемогенные образования. Это хорошо известные сталактиты, растущие с потолка пещер и сталагмиты, растущие им навстречу со дна пещер.
Фонтанальный тип
. Образуются из холодных или горячих источников подземных вод, углекислого состава в местах их выхода на поверхность. Известковые туфы, или травертиты,- это легкие, пористые различного цвета породы, слоистость в них горизонтальная,часто облекающая неровности рельефа.
Гляциальный (ледниковый) ряд
Гляциальный (ледниковый) тип. Включает отложения, возникающие в результате экзарационной и аккумулятивной деятельности ледников. На обширных пространствах материковых равнин и в горных долинах, занятых ледниками, максимальное воздействие льда на ложе и склоны наблюдается в краевых частях ледниковых потоков и покровов. В результате в горах вырабатываются плоскодонные широкие, чаще всего прямолинейные долины - троги. В процессе наступления и отступления ледников образуются специфические скопления обломочного материала - морены
.
| 
|
| Рис. 23. Схема положения моренного материала относительно ледника (по Ю.А.Лаврушину)
|
Движущиеся
морены связаны с движущимся ледником и включают донные, внутренние, срединные, поверхностные и боковые фации (рис. 23). Донные
образуются под покровом движущего льда. Внутренние -
представлены обломочным материалом, который попал на поверхность льда и был перекрыт новым слоем льда. Боковые
образуются у горных склонов, с которых на поверхность льда постоянно поступают продукты выветривания. Срединные
- образуются при соединении боковых морен сливающихся ледниковых потоков. Поверхностные
являются моренами вытаивания. Они характерны для отступающих тающих ледников.
Отложенные
морены являются остаточным материалом растаявших ледников. В краевой части ледников, где сгружался приносимый ледником материал, образовались краевые
морены у покровных равнинных ледников или конечные
у горных ледников.
Все движущиеся морены при таянии льда оседают на ледниковое ложе. При этом образуется единая морена-основная.
| 
|
| Рис. 24. Схема строения друмлина (по Флинту)
|
Основные морены.
Среди морен, сохранившихся от древних оледенений как равнинных, так и горных, наиболее распространены основные морены. У молодых морен рельеф холмисто-западинный, а у древних - более сглаженный, выровненный, преимущественно грядовый. Выделяются два типа – монолитный и чешуйчатый. Монолитные образуются в обстановках медленного послойно-пластичного течения льда. Чешуйчатые образуются при движении льда по внутренним сколам. Они состоят из блоков и пластин, надвинутых друг на друга (рис.23). В областях развития основных морен материковых или равнинных оледенений встречаются скопления холмов- друмлин (рис 24). Более сложного строения друмлины состоят из нескольких разновозрастных морен, разделенных межледниковыми осадками и перекрытые водноледниковыми отложениями (рис.25).
| 
|
| Рис. 25. Разрез друмлина на Атлантическом побережье Новой Шотландии (Канада) (по М.А.Томасу)
1 - донная морена, сложенная плотными валунными суглинками; 2 - пески с тепловодной фауной моллюсков; 3 - красноватая и песчанистая морена с валунами даль-него сноса; 4 - суглинистая морена с валунами местных пород; 5 - песчано-мелкогалечные отложения с эрратическими валунами; 6 - крупкногалечные водноледниковые отложения
|
| 
|
| Рис. 26. Схема строения насыпной морены
|
Краевые, или конечные, морены
образуются при длительном стоянии края ледника вдоль его границы. В рельефе они образуют валы или гряды, оконтуривающие ледниковые языки. По способу образования выделяются: 1) морены насыпные
, 2) морены выдавливания
и 3) морены напора
. В насыпных моренах выделяются внутренняя и внешняя фации (рис. 26). При движении ледник как бульдозер сгребает и срезает насыпные и выдавленные морены, так образуются напорные морены, внутри холмов имеются отторженцы (рис. 27).
| 
|
| Рис. 27. Отторженец коренных пород в напорной морене
|
Флювиогляциальный (водноледниковый) тип.
Данные отложения формируются потоками талых ледниковых вод, текущих под ледником, внутри ледника, на его поверхности или у его края. Внутри подледниковые потоки образуют каналы в толще льда или у его основания, в которых перемывается и откладывается обломочный материал. После отступления ледника эти отложения проектируются на поверхность ложа или основную морену, образуя своеобразные формы рельефа - озы (рис. 28)
| 
|

|
| Рис. 28. Поперечный разрез оза.
1- почва; 2- валунные суглинки; 3 - песок; 4 - галечник
|
Рис. 29. Разрез оза выдавливания (по А.К. Карабанову, Э.А. Левкову)
В ядре оза виден песчаный диапир (точки), деформирующий суглинистые отложения (обозначены штрихами)
|
Аккумулятивными формами водноледниковых отложений является так называемые озы выдавливания
(рис. 29).
Флювиогляциальные отложения по периферии равнинных ледниковых покровов слагают обширные зандровые
равнины. Они образованы отложениями многочисленных русел, блуждающих по равнинам и дробящихся на рукова (рис. 30).
| 
|
| Рис. 30. Типичный разрез флювиогляциальных зантдровых отложений
|
Песчано-галечные отложения у края покровных ледников иногда образуют флювиокамы.
Для них характерна четко выраженная косая слоистость (рис.31).
| 
|
Рис. 31. Разрез флювиокома.
1 - гумусированная супесь; 2 - чехол супеси с валунами; 3 - галечники и гравий; 4 - пески кососслоистые; 5 - отдельные крупные валуны
|
Лимногляциальный (озерноледниковый) тип.
Со стаиваиванием материковых ледников связано образование многочисленных приледниковых озер. В условиях холодного климата в них накапливался средне-, мелко- и тонкообломочный материал без примеси органического вещества. Отложения приледниковых озер отличаются хорошей сортированностью и тонкой горизонтальной слоистостью (рис.32). Зимой под озерным льдом в спокойной воде отлагаются глинистые частицы, образуя тонкие слои. Такие глины называют-ленточными.
К лимногляциальным относятся также отложенияозер, возникающих в пределах полей мертвого льда. После окончатательного таяния ледника эти озерные осадки проектируются на основную морену, образуя в рельефе холмы-лимнокамы.
Эоловый (ветровый) ряд
Эоловые отложения образуются в пустынях и по их ближайшей периферии. Пустыни занимают примерно одну пятую часть земной поверхности и распространены в различных климатических поясах от умеренного до экваториального. Они развиты на сравнительно узких полосах песчаных пляжей по берегам океанов и морей, крупных озер, а также в речных долинах во всех
| 
|
Рис. 32. Разрез отложений ледникового озера (Канада) (по Ж.Ф. Хуберту).
1 - отложения катастрофического паводка талых ледниковых вод(неслоистые плохо сортированные пески с включениями галек); 2 - отложения небольшого паводка (тонко- и мелкозернистые пески); 3 - отложения среднего паводка (среднезернистые пески с линзами гравия; 4- отложения весьма слабого паводка; пески с мелкой вогнутой или корытообразной слоистостью; 5 - озерные отложения (тонкие пески, алевриты с полосчатой слоистостью).
|
| 
Рис. 33. Слоистость эоловых песков
|
климатических зонах. Среди эоловых отложений по литологии выделяются пески и лессы. Эоловые пески образуются в основном за счет перевевания различных по генезису отложений, преимущественно аллювиальных, флювиогляциальных и морских, и в меньшей мере за счет разрушения и дефляции (развевания) продуктов разрушения коренных пород. Эоловые пески, как правило, хорошо отсортированы по величине зерен, которые округлены и нередко отшлифованы. Характерной чертой эоловых отложений является сложная перекрестная слоистость (рис. 33), представляющая многократное чередование в разрезе срезающих друг друга волнистых слоев, наклонных под углом от5-12 до 30-35о
.
Во внепустынных областях эоловые отложения слагают дюны и гряды, развитые по берегам рек, морей и озер.
Лессы
. Это обычно светлая желтовато-серая (палевая) порода, на 60-95% сложенная пылеватыми частицами размером 0,05-0,005 мм. При увлажнении лесы уплотняются и дают просадки. Способность лессов давать просадки представляет серьезную опасность для строительства гражданских промышленных сооружений.
Лессовидные суглинки
. Типичные лессы, обладающие всеми перечисленными признаками, распространены в аридных и семиаридных областях, как в предгорьях, так и на равнинах.
Субаэрально(прибрежно)-морской ряд
Отложения формируются в пограничной зоне между сушей и морем, где постоянно происходит взаимодействие между морскими и наземными геологическими процессами.
Дельтовый тип
| 
|
| Рис. 34. Схема районирования дельтовой области (по И.В.Самойлову)
|
Основными факторами накопления этих осадков является сток речной воды и наносов, осаждение которых контролируется и морскими процессами. Формирование дельтовых накоплений происходит в условиях постепенной смены гидрологического режима реки гидродинамическим режимом приемного морского бассейна. Выделятся характерные участки: 1) приустьевой участок реки, где русловые процессы начинают воздействовать колебания уровня приемного бассейна; 2)собственно дельта, где формирование фаций определяется взаимодействием водных масс реки и приемного бассейна; 3) предустьевое взморье или авандельта, где происходит обмеление моря за счет поступления влекомых речных наносов, и ведущими являются морские факторы; 4) продельта, где откладываются уже только взвешанные наносы, распределение которых контролируется морскими процессами (рис.34).
| 
|
| Рис. 35 Галокрин.
1 - соленые морские воды; 2 - пресные речные воды
|
На устьевом участке накапливаются фации аллювиальных отложений. В пределах собственно дельты, где русло разветвляется, влияние приливов и нагонов выражено ярко. Под воздействием галоклина речная струя теряет контакт со дном (рис. 35), и здесь начинается массовое отложение речных наносов. Формируется фация приливного подпора, представленная тонкозернистыми, местами илистыми песками с четкой горизонтальной слоистостью (рис. 36).
Предустьевое взморье, или авандельта, является зоной где заканчивается переход гидрологического бассейна. Здесь происходит отложение основной массы речных наносов, которые образуют аккумулятивные формы в виде устьевых баров и приливных гряд (рис. 37). На предустьевом взморье возникает сложная система течений, которые выносят взвешанные наносы за свал глубин, где формируются тонкие илистые отложения продельты.
Продельта примыкает к свалу глубин, но при сильных течениях она может быть частично или даже полностью отделена от основного тела авандельты.
| 
|
| Рис. 36. Отложения фаций приливного подпора в Бенгальской дельте (район г. Кхульна)
|
Эстуарный тип.
Формируются при интенсивном взаимодействии континентальных и морских процессов осадконакопления. Выделяются три среды осадконакопления: 1)дно русел, в верхней части эстуария, где формируются русловые и приливные фации; 2) участки пойм и маршей заливаемые во время приливов и паводков; 3) мелководные бухты с застойной гидродинамической обстановкой (рис.38). Русловые фации эстуариев, образующиеся в достаточно высокоэнергетической обстановке, представлены песками (рис.39). Обычно эстуарии быстро заполняются осадками от их головных частей к устью и краям. Эстуарная дельта выполнения формируется в голове эстуария и растет в сторону моря.
| 
|
| Рис. 37. Схема строения устьевого бара (по В.Н.Михайлову).
1 - план; 2 - продольный профиль; 3 - поперечный разрез
|
| 
|
| Рис. 38. Фациальная модель эстуария р. Жиронда (Франция) (по Г.П.Аллену и Х.В.Позаментеру)
|
| 
|
| Рис. 39. Продольный геологический разрез эстуария р. Жиронда (по Г.П.Аллену и Х.В.Позаментеру).
1 - русловые грубозернистые пески с гравием и галькой; 2 - приливные пески и илы; 3 - илистые отложения поймы и маршей; 4 - пески устья эстуария; 5 - главная эрозионная поверхность (подошва аккумулятивных отложений)
|
Лагунный тип.
В пограничной зоне между сушей и морем формируются лагунные накопления. Прибрежные лагуны - это преимущественно мелководные акватории, отчлененные от открытого моря барами, косами или пересыпями. В лагуны редко впадают крупные реки, и поэтому в них практически нет пресных вод. В лагунах умеренных широт распространены глинистые и алеврито - глинистые илы с многочисленными следами деятельности илоедов. В лагунах аридных областей содержание солей в воде может достигать 120г/л. В них накапливаются эвапориты (рис.40).
| 
|
Рис.40. Типичный разрез лагунных отложений аридной зоны (по А.И.Конюхову).
1 - массивные ангидриты и стяжения ангидритов; 2 - строматолиты с псевдоморфозами гипса; 3 - известняки с порами высыхания; 4 -оолитовые и биокластические известняки; 5 - мергели, аргиллиты
|
| |
|
Приливной тип.
Приливные равнины со строгой периодичностью то заливаются морем, то осушаются. Это приводит к формированию приливных отложений. На приливных равнинах выделяются участки: 1) соляные марши-побережья, затопляемые во время приливов (низкие и высокие); 2)приливно-отливные русла; 3) прирусловые валы.
На соляных маршах
происходит накопление преимущественно тонкого, алеврито -глинистого материала, приносимого с суши водными потоками и ветром.
В приливно-отливных руслах
отлагается значительно более крупной материал, причем самые грубые осадки концентрируются в устьевых участках. Разнообразный раковинный материал накапливается как на дне приливно-отливных русел, так и на прилегающих прирусловых валах. Раковинные пески фации приливных русел, выполняющие древние врезы, составляют около половины разреза голоценовых отложений многих приливно-отливных равнин.
Гляциально-(ледниково)-морской тип.
Терригенные осадки формируются в подледных условиях. Седиментация происходит в заполненном морскими водами пространства, образующими под шельфовыми ледниками антарктического типа и под покровом многолетних паковых льдов. Характер гляциально-морского осадконакопления существенно меняется в холодные ледниковые и теплые межледниковые эпохи (рис 41). На подводной окраине материка преобладает гравитационное перемещение осадков, и возникают контурные течения, формирующие так называемые контуриты
.
| 
|
Рис. 41. Формирование ледниково-морских отложений на шельфе Антарктиды в ледниковую и межледниковую эпохи (по Ж.Б.Андерсону и М.А.Томас
|
Морской ряд
Как и на суше, на морском дне формирование различных по генезису типов осадков происходит под воздействием трех главных факторов рельефа, климата и динамики среды осадконакопления. Динамика среды морского осадконакопления определяется двумя главными типами процессов: гидрогенным и гравитационным, определяющими формирование главнейших генетических типов морских отложений. К гидрогенным относятся процессы, где основным агентом является кинетическая энергия воды. Среди высокоэнергетических гидрогенных процессов выделяются волнение и течение.
К высокоэнергетическим гравитационным процессам относится обваливание и оползание
, а также перемещение вещества потоками высокой плотности.
Накопление различных четвертичных отложений происходит в различных седиментационных ловушках (табл. 2).
Гидрогенный тип
Развиты преимущественно в прибрежной зоне и на шельфе. Здесь формируются отложения прибрежных осадков волновой аккумуляции, или так называемых волновых
отложений (рис.42).
Среди волновых отложений выделяются три основные фации, четко различающиеся по литологическим признакам.
1. Пляжевые
отложения уже разрушенной волны, или прибойного потока
, действующего на приурезовом откосе.
2. Отложения приурезовой
зоны разрушения волн. Они слагают аккумулятивные формы в виде подводных береговых волн (рис. 43).
Основные типы ловушек осадочного материала
Таблица 2
| 1. Структурно-геоморфологические
|
| А. Структурные
|
1. Грабены
2.Рифы
3.Желоба
4.Синклинали
5.Мульды
|
| Б. Эрозионные
|
1.Затопленные речные долины шельфа
2.Отмершие русла каньонов на континентальном склоне
3.Отмершие русла высокоплотных плтоков на континентальном подножии
|
| II Седиментационные
|
| А. Гидродинамические
|
1. Дельты
2.Лиманы, эстуарии и лагуны
3.Косы, бары, пересыпи
4.Приливные гряды
5.Валы контуритов
|
| Б. Гравитационные
|
1.Глубоководные конусы выноса
2.Подножия крутых уступов склона и русла каньенов
|
| В. Биоседиментационные
|
1.Кораллово-водорослевые рифы
2. Ракушечные банки
|
| Г. Хемоседиментационные
|
1. Эвапориты
|
| 
|
Рис.42. Схематический поперечный разрез отложений
береговой зоны (по Е.Р.Дотту и Д.М. Кельсону)
|
3. Фация волновых отложений формируется во внешней зоне
первичной деформации волн на мелководье, обычно глубже полосы подводных береговых валов.
| 
|
Рис. 43. Поперечный геологический разрез подводных голоцен-верхне-плейстоценовых прибрежных аккумулятивных аккумулятивных форм на шельфе Нью Джерси (по С. Страйду).
|
В отличие от прибрежной зоны дно шельфа не подвергается воздействию волнения. Здесь основными гидрогенными факторами являются различные течения, среди которых выделяются штормовые и приливно-отливные
. При формировании фации течениевых отложений главным динамическим агентом накопления является не колебательное, а поступательное и однонаправленное движение водной массы. Отложения течений формируются за счет размыва и переотложения рыхлых осадков, слагающих дно шельфа. Среди них можно выделить фацию реликтовых
отложений и фацию переотложенных, или палимсестовых
отложений. Вторая фация течениевых отложений формируется приливными и штормовыми течениями из вымытого и переотложенного осадочного материала.
На участках с низкоэнергетическими условиями осадкообразования происходит накопление при гравитационном осаждении взвеси малой плотности. В результате такого осаждения накапливается нефелоидная фация.
Гидродинамический режим океана контролирует состав, продуктивность и распределение биоса, являющегося главным поставщиком материала для океанических осадков.
Карбонатные фации
очень широко распространены в океанах, и практически все они имеют биогенное происхождение. Их основными компонентами являются остатки микроорганизмов нанофоссилий и планктонных фораминифер, количественные соотношения и сохранность которых во многом определяются положением дна по отношению к лизоклину и критической глубине карбонатообразования.
Кремнистые фации
приурочены к трем широтным поясам биогенного кремненакопления-экваториальному и двум в умеренных широтах. Для последних характерно обилие остатков диатомовых остатков.
Фации эвпелагических,
глин, называемых красными глубоководными глинами, распространены в наиболее глубоких частях океана, где дно опущено ниже уровня критической глубины карбонатообразования.
Гравитационный тип.
Гравитационный тип развит на континентальном склоне и подножии. Гравитационные процессы подразделяются на три главных типа:1) обваливание и оползание; 2) течение вещества в виде вязких и дисперсионных потоков высокой плотности, 3) перемещение вещества в виде несвязных, жидких высокоплотных потоков
.
Обвальные
отложения характеризуются плохой сортированностью, хаотическим расположением обломков и глыб, обычно угловатых или полуокатанных. Они содержат очень мало заполняющего вещества. Формирование морских отложений оползневого типа происходит на пологих склонах, с уклономи 3-4о
и даже менее.
Ко второму типу подводных гравитационных процессов перемещения относятся вязкие и дисперсионные потоки осадочного материала (рис. 44). В зерновых потоках перемещение происходит за счет дисперсионного давления, образующегося при взаимодействии между отдельными зернами или частицами. В грязевых потоках происходит преимущественно ламинарное движение пластических глин, возникающее при небольших уклонах склона. После насыщения осадка водой, когда он превращается в вязкую жидкость, на подводных склонах образуются потоки разжиженных осадк
ов.
Важным механизмом перемещения взвешанных глинисто-песчаных наносов от береговой зоны вплоть до абиссальных равнин являются турбидитные течения, или мутьевые потоки,
наиболее широко развитые на континентальном склоне и подножии. В них частицы поддерживаются во взвешенном состоянии турбуленцией.
Выделяется фация высокоплотностных турбидитных
потоков, отложения которой отличаются более грубозернистым составом.
| 
|
Рис. 44. Типы гравитационных высокоплотностных потоков (по Д.Буржуа)
|
Различные высокоплотные потоки при поступлении большого количества осадочного материала формируют очень крупные аккумулятивные тела глубоководных конусов выноса,
нередко образующих с дельтами единые природные системы. Глубоководные конусы протягиваются от устьев питающих каньонов на сотни км вплоть до абиссальных равнин и является своеобразными подводными аналогами предгорных пролювиальных конусов выноса (рис. 45).
| 
|
Рис. 45. Схема строения глубоководного конуса выноса (по А.Уолкеру).
Колонки1-IX характеризуют типовое строение разрезов отложений в пунктах зонах конуса, обозначенных соответствующими цифрами.
|
Айсберговый тип.
Айсберги представляют собой громадные отторженцы шельфовых ледников Антарктиды и Гренландии. Они содержат большое количество обломочного материала, главным образом моренного, захваченного ледником при движении по материку. При таянии айсбергов, заключенный в них обломочный материал опускается сквозь значительную толщу воды.
Айсберговые отложения развиты не только на материковой окраине, но и в южных частях ложа Атлантического, Индийского и Тихого океана.
Биогенный тип
Этот тип представлен скоплениями неперемещенных скелетов безкостных организмов. Среди них наибольшее значение имеют кораллово-водорослевые рифы и ракушечные банки.
Рифы
являются крупными аккумулятивными формами континентальных окраин и представляют собой созданные организмами сооружения каркас которых достаточно прочен, чтобы противостоять действию волнения. Рифовые постройки покоятся на основании, состоящем из животных. Рифы делятся на три типа: береговые, барьерные и кольцевые.
Ракушечные банки
представляют собой скопления раковин, створок или других скелетных остатков одиночных организмов на месте их поселений. В основном это моллюсковые, чаще всего устричные, а также гастроподовые, брахиоподовые и некоторые др. поселения. Температура воды контролирует общую массу ракушечных банок, их разнообразие и видовой состав.
Хемогенный тип.
Хемогенные отложения возникают главным образом за счет собственных ресурсов морских вод, когда другие процессы имеют подчиненное значение и тип аккумуляции определяется химическими процессами - выпадением в осадок растворенных веществ. Основным типом хемогенных образований являются лагунные
отложения, формирующиеся в жарком аридном климате.
Карбонат кальция выпадает из морской воды химическим путем в виде мелких шариков, называемых оолитами
, а также тонкие известковистые илы, имеющие широкое распространение, особенно в теплых морях.
В переходной области от шельфа к континентальному склону местами образуются хемогенные фосфориты
, которые могут быть источниками фосфатного сырья. Вместе с фосфоритами часто встречаются глаукониты
в виде аутигенных зерен и агрегатов, детритовых зерен и выполнений раковинок фораминифер и др. организмов.
К хемогенному генетическому типу относятся также железо-марганцевые конкреции и корки,
широко распространены на дне Мирового океана.
При гидрогенных процессах гидроокислы железа и марганца выпадают химическим путем непосредственно из воды, и конкреции лежат на поверхности дна (рис.46). Диагенетический механизм образования конкреций предполагает поступление вещества из иловых вод в процессе диагенеза осадков. Конкреции при этом целиком погружены в донные отложения, для верхней части которых характерен геохимически активный слой мощностью до нескольких сантиметров.
| 
|
Рис.46. Схема формирования различных типов железо-марганцевых конкреций и корок (по И.О. Мурдмаа).
1 - корки, облекающие выступы инородного основания (обозначен крестиками); 2 - седиментационные конкреции; 3 - седиментационно-генетические конкреции; 4 - диагенетические конкреции
|
Гидротермальный тип.
Гидрогенные отложения представлены металлоносными
осадками и массивными сульфидами,
образующими различные постройки. Меаллоносные осадки
, содержащие более 10% железа и повышенные концентрации ряда других металлов, были обнаружены вблизи Восточно-Тихоокеанского поднятия и на дне впадины Атлантис-II в Красном море.
Массивные сульфиды
были найдены в отдельных пробах из рифтовых долин срединно-океанических хребтов. Наиболее интересный гидротермальный источник с температурой воды до 350о
С был изучен с подводных аппаратов на гребне Восточно-Тихоокеанского поднятия на 21о
северной широты. Не весь сульфидный материал осаждается у выхода гидротерм и на стенках подводящих каналов. Значительная часть растворенных сульфидов выносится в виде растворов в океанскую воду.
Подводно-элювиальный тип.
Подводное выветривание представляет собой совокупность процессов механического, химического и биохимического разрушения и преобразования пород поверхности дна морей и океанов.
Физический элювий
представляет собой топографически неперемещенные остаточные продукты механической дезинтеграции пород дна и полузатвердевших осадков. Дезинтеграция происходит под действием гидрогенных процессов, биологических преобразований породы и химического разложения.
Биоэлювий
представлен так называемыми биотурбитами. Это переработанный илоедами осадок, который большей частью пропущен через их кишечник, реже перемешан норками зарывающихся животных.
Хемогенный элювий
представлен образованиями типа «твердое дно» или панцирями. Основным процессом формирования твердых грунтов на дне является карбонатизация.
Вулканогенный ряд.
Вулканогенные отложения объединяют продукты извержения вулканов. Общими для них являются непосредственная генетическая и пространственная связь с вулканическим очагом.
Экструзивный тип.
К этому типу относятся образования, связанные с магматическим очагом.
К жерловым образованиям
относятся столбообразные тела - некки или жерловины. Это застывшая в жерле вулкана магма с характерной флюидальной (текучей), ориентированной вертикальной текстурой, отражающей восходящее течение магмы.
Выдавленные
, или собственно экструзивные, образования формируются в результате выжимания, выдавливания из жерла вулкана очень вязкой лавы, застывающей на поверхности над подводным каналом в виде экструзивных куполов, игл, обелисков различной высоты (рис.47).
| 
|
| Рис. 47 Отложения на склонах вулкана и у его подножия.
1-растущий экструзивный купол, 2-экструзия на склоне вулкана; 3-шлаковые конусы; 4-лавовые потоки, излившиеся из побочных кратеров; 5-равнина, сформированная отложениями направленного взрыва; 6-пирокластические потоки; 7-отложения раскаленных лавин; 8-древний кратер; 9-лахары; 10-пролювиальные отложения; 11-холмистая морена; 12-флювиогляциальные отложения.
|
Эффузивный тип.
Эффузивный тип образований представляет собой излившиеся и застывшие на поверхности магматические расплавы (лавы).
Кислые лавы
- липаритовые - характеризуются большой вязкостью. Вследствие этого они образуют на склонах стратовулканов короткие - не более первых километров, но мощные (100-200) лавовые потоки. При застывании их поверхность становиться шероховатой, угловатой, часто глыбовой.
Основные лавы -
базальтовые- наиболее жидкие. Потоки и покровы таких лав связаны с извержением крупных вулканов центрального преимущественно щитового типа и менее крупных вулканических конусов и трещинных излияний, характерных для областей активного горообразования и рифтогенеза.
Средние по составу
лавы- андезитовые или переходных разностей (дацитовые, андезито- базальтовые и др.) образуют формы промежуточного типа между кислыми и основными лавами.
Ультраосновные
лавы вообще встречаются очень редко, а четвертичного возраста неизвестны.
Эксплозивный тип
Эксплозивные (взрывные) образования характерны для извержений преимущественно кислой лавы. Они включают все твердые обломочные продукты извержения, образующиеся при взрывах и называемые пирокластическими, или тефрой
. В зависимости от способа перемещения вулканического обломочного материала выделяются два подтипа: отложения направленных взрывов, или вулканических выбросов, и эксплозивные пирокластические потоки.
Грязевулканический тип.
Этот тип отложений развит в областях активного проявления молодых тектонических движений, сложенных мощными толщами рыхлых мезокайнозойских отложений.
Продукты извержения грязевых вулканов делятся на твердые, жидкие и газообразные, это минерализованные воды и углеводородные газы. Основную массу извергаемого материала составляет сопочная брекчия
.
Вулканогенно-осадочные отложения
Формируются совместными действиями вулканических и экзогенных процессов. При вулканических взрывах образуется большое количество тонкого материала- пепла, который затем может перемещаться ветром и водой. Выпадающий пепел со склонов вулкана перемещается дождевыми водами к их основанию, образуя там плащи или шлейфы, сложенные слоистыми скоплениями вулканического делювия
.
Особый генетический отложений представляет собой вулканический пролювий
, или лахары
,- образования временных грязевых потоков, переносящих и отлагающих материал различного размера- от глыб и валунов до тонких частиц (рис.45).
К вулканогенно-осадочным отложениям относятся озерные
осадки, среди которых выделяются обломочные и хемогенны
е.
К вулканогенно-осадочным отложениям относятся гидротермальные-горячие и минерализованные источники
; гейзеров
- периодически фонтанирующих источников, известны в вулканических областях.
Техногенный ряд.
В результате переработки естественного геологического субстрата, создания новых материалов и аккумуляции отходов производства, возник новый ряд четвертичных отложений- техногенных
.
Подтип насыпных отложений представлен преимущественно терригенными, реже хемогенными осадками. В нем выделяются фации отвалов горнорудных предприятий, отвалов промышленных и энергетических предприятий, «хвосты» - отходы обогатительных фабрик. Особая разновидность насыпных отложений –свалки
мусора и бытовых отходов.
Подтип засыпных
отложений образуется в процессе засыпки природных и техногенных отрицательных форм рельефа, главным образом, при рекультивации земель.
Отложения намывного
подтипа формируются при намыве с помощью гидромеханизмов гл. образом из рек. Это различные валы, дамбы, плотины и др.
Подтип перемывных
отложений образуется в результате добычи ископаемых гидромониторами, драгами и др. способами, а также при вскрышных карьерных работах.
К отложениям перемешивания, или агротехнически
, относится почвенный слой с регулярно добавляемыми органическими и химическими удобрениями и обработкой сельхозтехникой.
Особый подтип техногенных образований представляет современные «культурные слои»- строительный мусор. К техногенным относятся осадки, образующиеся в искусственных бассейнах- отстойниках куда сбрасывают воды промышленных предприятий, хозяйственно-бытовые и др.
Список используемой литературы:
Алексеев М.Н., Чистяков А.А. Щербаков Ф.А. Четвертичная геология материковых окраин. М.: Недра, 1986.
Макарова Н.В., Якушева А.Ф. Основы четвертичной геологии. М.: Из-во Моск.Ун-та, 1993.
Чистяков А.А., Макарова Н.В., Макаров В.И. Четвертичная геология. ГЕОС. 2000г.
|