| Министерство здравоохранения Российской Федерации
Российская медицинская академия последипломного образования
Кафедра авиационной и космической медицины
ТУГОУХОСТЬ У ПИЛОТОВ ГРАЖДАНСКОЙ АВИАЦИИ
(диагностика, врачебно-летная экспертиза и профилактика
профессионального заболевания органа слуха шумовой этиологии)
Методические рекомендации для врачей гражданской авиации
Москва 2004
Методические рекомендации "Тугоухость у пилотов гражданской авиации (диагностика, врачебно-летная экспертиза и профилактика профессионального заболевания органа слуха шумовой этиологии)" подготовили: Разсолов Н.А. (ответственный редактор), д.м.н., проф. – зав. кафедрой авиационной и космической медицины РМАПО МЗ РФ; Юстова В.Д., к.м.н. и Колесникова Е.В., к.м.н. – доценты кафедры авиационной и космической медицины РМАПО МЗ РФ; Быстрова А.Г., к.м.н. - председатель Центральной врачебно-летной экспертной комиссии гражданской авиации; Чернышев Д.А. – главный оториноларинголог Центральной врачебно-летной экспертной комиссии гражданской авиации; Родионов О.Н., к.м.н. – главный врач Медицинского центра ОАО "Аэрофлот"; Козин О.В., к.м.н. – врач оториноларинголог Медицинского центра ОАО "Аэрофлот"; Виноградов С.С. – главный специалист Федерального центра госсанэпиднадзора; Панкова В.Б., д.м.н., проф. – заведующая отделением клинических исследований профпатологии Всероссийского научно-исследовательского института железнодорожной гигиены Министерства путей сообщения РФ.
Методические рекомендации предназначены для авиационных врачей и врачей оториноларингологов медицинских учреждений гражданской авиации. Они также будут полезны профпатологам и гигиенистам, занимающимся проблемой тугоухости.
Рецензенты: Пискунов Геннадий Захарович, член-корр. РАМН, проф. – зав. кафедрой оториноларингологии РМАПО МЗ РФ
Евлашко Юрий Петрович, проф. – зав. кафедрой профпатологии РМАПО МЗ РФ
ОПРЕДЕЛЕНИЯ
Профессиональные заболевания[*]
–
заболевания, в возникновении которых решающая роль принадлежит воздействию неблагоприятных факторов производственной среды и трудового процесса.
Острое профессиональное заболевание (отравление)**
–
заболевание, являющееся, как правило, результатом однократного (в течение не более одного рабочего дня, одной рабочей смены) воздействия на работника вредного производственного фактора (факторов), повлекшее временную или стойкую утрату профессиональной трудоспособности.
Забиваем Сайты В ТОП КУВАЛДОЙ - Уникальные возможности от SeoHammer
Каждая ссылка анализируется по трем пакетам оценки: SEO, Трафик и SMM.
SeoHammer делает продвижение сайта прозрачным и простым занятием.
Ссылки, вечные ссылки, статьи, упоминания, пресс-релизы - используйте по максимуму потенциал SeoHammer для продвижения вашего сайта.
Что умеет делать SeoHammer
— Продвижение в один клик, интеллектуальный подбор запросов, покупка самых лучших ссылок с высокой степенью качества у лучших бирж ссылок.
— Регулярная проверка качества ссылок по более чем 100 показателям и ежедневный пересчет показателей качества проекта.
— Все известные форматы ссылок: арендные ссылки, вечные ссылки, публикации (упоминания, мнения, отзывы, статьи, пресс-релизы).
— SeoHammer покажет, где рост или падение, а также запросы, на которые нужно обратить внимание.
SeoHammer еще предоставляет технологию Буст, она ускоряет продвижение в десятки раз,
а первые результаты появляются уже в течение первых 7 дней.
Зарегистрироваться и Начать продвижение
Хроническое профессиональное заболевание (отравление)**
–
заболевание, являющееся результатом длительного воздействия на работника вредного производственного фактора (факторов), повлекшее временную или стойкую утрату профессиональной трудоспособности.
Профессиональная нейросенсорная тугоухость
(ПНСТ) – хроническое заболевание, в возникновении которого решающая роль принадлежит воздействию неблагоприятного шумо-вибрационного фактора производственной среды и трудового процесса, превышающего ПДУ.
Гигиенические нормативы условий труда
(ПДК, ПДУ)*
– уровни вредных производственных факторов, которые при ежедневной (кроме выходных дней) работе, но не более 40 ч в неделю, в течение всего рабочего стажа не должны вызывать заболеваний или отклонений в состоянии здоровья, обнаруживаемых современными методами исследований, в процессе работы или в отдаленные сроки жизни настоящего и последующего поколений. Соблюдение гигиенических нормативов не исключает нарушение состояния здоровья у лиц с повышенной чувствительностью.
Экспозиция*
–
количественная характеристика интенсивности и продолжительности действия вредного фактора.
Защита временем*
– уменьшение вредного действия неблагоприятных факторов производственной среды и трудового процесса на работающих за счет снижения времени их действия: введение внутрисменных перерывов, сокращение рабочего дня, увеличение продолжительности отпуска, ограничение стажа работы в данных условиях.
Трудоспособность
– состояние человека, при котором совокупность физических, умственных и эмоциональных возможностей позволяет трудящемуся выполнять работу определенного объема и качества (Руководство по врачебной и трудовой экспертизе).
Работоспособность
– состояние человека, определяемое возможностью физиологических и психических функций организма, которое характеризует его способность выполнять конкретное количество работы заданного качества за требуемый интервал времени.
СОКРАЩЕНИЯ
ВЛЭ – врачебно-летная экспертиза
ВЛЭК – врачебно-летная экспертная комиссия
ВС – воздушное судно
ГА – гражданская авиация
НСТ – нейросенсорная (сенсоневральная) тугоухость
ПДУ – предельно допустимый уровень
ПНСТ – профессиональная нейросенсорная тугоухость
Сервис онлайн-записи на собственном Telegram-боте
Попробуйте сервис онлайн-записи VisitTime на основе вашего собственного Telegram-бота:
— Разгрузит мастера, специалиста или компанию;
— Позволит гибко управлять расписанием и загрузкой;
— Разошлет оповещения о новых услугах или акциях;
— Позволит принять оплату на карту/кошелек/счет;
— Позволит записываться на групповые и персональные посещения;
— Поможет получить от клиента отзывы о визите к вам;
— Включает в себя сервис чаевых.
Для новых пользователей первый месяц бесплатно.
Зарегистрироваться в сервисе
ФАП МО ГА-2002 – Федеральные авиационные правила "Медицинское освидетельствование летного, диспетчерского состава, бортпроводников, курсантов и кандидатов, поступающих в учебные заведения гражданской авиации"-2002 с дополнениями и изменениями
ЦВЛЭК – Центральная врачебно-летная экспертная комиссия
ЦГСЭН – Центр госсанэпиднадзора
ВВЕДЕНИЕ
Проблема понижения слуха (тугоухости) является актуальной во всем мире. В настоящее время на планете проживает 250 млн. людей со сниженным слухом. В России в 2001 г. зарегистрировано 12 млн. взрослых лиц, страдающих глухотой, из них 5,5 млн. – с нейросенсорной формой, что составляет 38%.
Не менее важной эта проблема является для гражданской авиации (среди многих факторов производственной среды авиационный шум – один из самых распространенных), и она приобрела характер реальной и весьма серьезной угрозы, особенно для здоровья пилотов. По данным Козина О.В. (1983) у 36,7% лиц летного состава имело место снижение слуха по нейросенсорному типу.
Проблема тухоухости имеет несколько аспектов: клинический, экспертный, профпатологический, социальный и организационный. Решение различных вопросов, связанных с тугоухостью, в настоящее время осуществляется в разных организациях, учреждениях и ведомствах на основании устаревших нормативно-правовых актов, вступивших в противоречие с современными условиями деятельности авиации. Количество новых нормативных документов по рассматриваемой проблеме весьма ограничено.
Все отмеченное выше побудило авторов к созданию Методических рекомендаций, посвященных рассмотрению вопросов диагностики, врачебно-летной экспертизы и профилактики профессионального заболевания органа слуха шумовой этиологии у авиационного персонала гражданской авиации.
Клинический аспект тугоухости связан с диагностикой этого заболевания у пилотов с использованием современных клинических и методических приемов, установлением этиологии. особенностей возникновения и течения нарушений слуховой функции, принципами лечения и динамического наблюдения за этими лицами.
Экспертный аспект состоит в том, что медицинское заключение о допуске к профессиональной деятельности членов экипажей воздушных судов выносится в соответствии с требованиями к остроте слуха (рабочей функции у пилотов), разработанными в гражданской авиации (ФАП МО ГА – 2002 с дополнениями от 2003 г.). Следует отметить, что критерии экспертной оценки понижения слуха в ГА отличаются от тех нормативов, которые приняты в России в настоящее время для других категорий работающих, что осложняет проведение врачебно-летной экспертизы.
Уровень профессиональной заболеваемости, связанной с нарушением слуховой функции, наглядно подтверждает неблагоприятное влияние шума на состояние здоровья пилотов, а многочисленные жалобы и несогласие пилотов с санитарно-гигиеническими характеристиками условий труда пилотов свидетельствуют о наличии многих недостатков, трудностей и нерешенных вопросов в системе диагностики, установления и расследования профессиональных заболеваний в гражданской авиации, аттестации рабочих мест и т.д.
В Российской Федерации в настоящее время сложилась стройная система диагностики, регистрации, расследования и анализа профессиональных заболеваний. Накоплен банк данных, включающий свыше 300 тысяч регистрационных карт на больных с профессиональными заболеваниями, регистрация которых осуществляется в Федеральном центре госсанэпиднадзора. Аналитические и статистические материалы по профессиональной заболеваемости с 1971 года оформляются в виде соответствующих сборников, которые позволяют госсанэпидслужбе России разрабатывать предложения для принятия органами власти управленческих решений по профилактике нарушений в состоянии здоровья работающих.
В условиях современных новых экономических отношений задачи оказания медицинской помощи работникам промышленности, транспорта и сохранения их здоровья значительно усложнились. С учетом этого обстоятельства приказами Министерства здравоохранения созданы профпатологическая служба и центры профессиональной патологии, введены специальности врача профпатолога и врача по медицине труда.
Все эти меры направлены на повышение эффективности профилактики нарушений здоровья среди работающих во вредных и неблагоприятных условиях труда, улучшение качества диагностики ранних стадий производственно зависимых, в том числе профессиональных заболеваний и, в конечном счете, сохранение трудового потенциала страны.
Несмотря на это, сохраняется тенденция к росту профессиональных заболеваний у работающих на транспорте (см. таблицы 1-3).
Таблица 1
Показатели профессиональной заболеваемости на транспорте
по регионам РФ (на 10 000 работающих)
| №
|
Регион на транспорте
|
1997
|
1998
|
1999
|
2000
|
2001
|
| 1.
|
Западно-Сибирский
|
1,23
|
3,59
|
8,23
|
2,18
|
9,16
|
| 2.
|
Средне-Сибирский
|
5,33
|
3,4
|
3,47
|
9,66
|
6,44
|
| 3.
|
Южный
|
1,28
|
1,4
|
4,1
|
3,59
|
5,82
|
| 4.
|
Волжско-Уральский
|
3,51
|
6,02
|
3,95
|
2,90
|
3,87
|
| 5.
|
Северо-Западный
|
1,62
|
5,36
|
1.,95
|
1,78
|
3,76
|
| 6.
|
Дальневосточный
|
7,39
|
3,77
|
1,92
|
2,16
|
2,40
|
| 7.
|
Средне-Европейский
|
1,08
|
1,39
|
0,52
|
0,75
|
информация
отсутствует
|
|
|
ЦГСЭН на транспорте
|
2,91
|
4,08
|
2,61
|
1,81
|
2,34
|
Таблица 2
Удельный вес ведущих нозологических форм
профессиональных заболеваний (%)
| №
|
Нозологические формы
|
1997
|
1998
|
1999
|
2000
|
2001
|
| 1.
|
Заболевания органов дыхания
|
32,3
|
34,0
|
36,3
|
35,1
|
36,7
|
| 2.
|
Вибрационная болезнь
|
19,7
|
20,1
|
18,4
|
17,3
|
17,3
|
| 3.
|
Заболевания опорно-двигательного аппарата и периферической нервной системы
|
15,3
|
16,0
|
16,6
|
18,3
|
18,6
|
| 4.
|
Заболевания органа слуха
|
16,4
|
15,9
|
17,09
|
17,1
|
16,9
|
| 5.
|
Инфекционные и паразитарные заболевания
|
3,4
|
3,4
|
6,56
|
2,5
|
3,9
|
Таблица 3
Сравнительные показатели профессиональной заболеваемости
| № п/п
|
|
Годы наблюдений и показатели на 10 000 работающих
|
| 1994
|
1995
|
1996
|
1997
|
1998
|
1999
|
2000
|
| 1.
|
Профессиональные заболевания по Российской Федерации
|
2,02
|
1,74
|
2,32
|
1,85
|
1,77
|
—
|
1,81
|
| 2.
|
Профессиональные заболевания на транспорте (все виды)
|
3,98
|
6,05
|
7,29
|
7,39
|
6,85
|
—
|
—
|
| 3.
|
Профессиональные заболевания по гражданской авиации
|
—
|
—
|
2,57
|
5,98
|
5,63
|
5,08
|
10,34
|
Как видно из данных, представленных в таблице 3, профессиональная заболеваемость в гражданской авиации значительно возросла к 2000 году и остается самой высокой в Российской Федерации.
Число профессиональных заболеваний, зарегистрированных в России в период с 1992 г. по 2001 г., составило 108175 случаев, а с 1982 г. по 1991 г. — 78252 случая, т.е. имеется выраженная тенденция к увеличению числа профессиональных заболеваний на 27,66%.
Демографическая ситуация в нашей стране требует пристального внимания. Правительство РФ распоряжением от 24 сентября 2001 г. № 1270-р приняло "Концепцию демографического развития Российской Федерации на период до 2015 г.", которая разработана на основе Указа Президента РФ № 24 от 10.01.2000 г. "О концепции национальной безопасности РФ" (Собрание законодательства РФ, 2000, № 2, стр. 170). Концепция представляет собой систему взглядов, принципов и приоритетов в сфере регулирования демографических процессов.
Гарантии государства на признание и обеспечение приоритета жизни и здоровья работников по отношению к результатам производственной деятельности работодателя и создание на рабочих местах здоровых и безопасных условий труда для работников обеспечиваются Конституцией РФ; Трудовым кодексом РФ; Уголовным кодексом РФ; Кодексом РСФСР об административных правонарушениях; несколькими федеральными законами, в том числе законом "Об обязательном социальном страховании от несчастных случаев на производстве и профессиональных заболеваний" от 24 июля 1998 № 125-ФЗ, который устанавливает в Российской Федерации правовые, экономические и организационные основы обязательного социального страхования от несчастных случаев на производстве и профессиональных заболеваний и определяет порядок возмещения вреда, причиненного жизни и здоровью работника при исполнении им обязанностей по трудовому договору (контракту) и в иных случаях, установленных настоящим законом; подзаконными актами, разработанными на основании вышеуказанных нормативно-правовых актов, и постановлениями Правительства Российской Федерации.
Социальный аспект проблемы тугоухости связан с появлением законодательной базы о возмещении вреда, причиненного жизни и здоровью работника при исполнении им профессиональных обязанностей. В связи с этим участились случаи обоснованного и необоснованного обращения пилотов в медицинские учреждения гражданской авиации для оформления направления в центры профессиональной патологии. Однако, порядок учета и расследования профессионального заболевания (отравления), направления на консультацию к врачу профпатологу и целый ряд других вопросов, касающихся профилактики профессиональной заболеваемости в гражданской авиации, еще не нашли отражения в новых нормативных документах. Это обстоятельство создает большие трудности для пилотов и медицинских работников. В этом заключается суть организационного аспекта проблемы тугоухости.
В предлагаемых Методических рекомендациях авторы сделали первую попытку систематизировать наиболее важные данные о проблеме профессиональной тугоухости в целом и нейросенсорной тугоухости у пилотов гражданской авиации, в частности. Авторский коллектив будет благодарен всем за замечания и пожелания, которые будут учтены в будущем при переработке Методических рекомендаций.
ГЛАВА 1. УСЛОВИЯ ПРОФЕССИОНАЛЬНОЙ ДЕЯТЕЛЬНОСТИ
ПИЛОТОВ ГРАЖДАНСКОЙ АВИАЦИИ
Профессиональная деятельность членов экипажей воздушных судов ГА сопряжена с комплексным воздействием ряда неблагоприятных факторов полета, вызывающих отрицательные изменения в состоянии здоровья, снижение их профессиональной работоспособности и надежности.
К ведущим вредным факторам следует отнести: высокие уровни авиационных шумов, повышенные уровни вибрации, колебания барометрического давления в кабине ВС при разных режимах полета, пониженное парциальное давление кислорода во вдыхаемом воздухе, температурный дискомфорт и низкую относительную влажность воздуха в кабине ВС во время полета, электромагнитные излучения радиочастотного диапазона, ионизирующее радиационное излучение природного (космического) происхождения, воздействие ускорений, высокое нервно-эмоциональное напряжение, токсическое загрязнение воздуха кабин ВС.
Наиболее вредное влияние на организм пилота оказывают шумовой и вибрационный факторы, негативное влияние которых усугубляется высоким нервно-эмоциональным напряжением, что, в конечном счете, может вызывать развитие нейросенсорной тугоухости и вибрационной болезни.
Основными источниками шума в полете являются: силовые установки, трансмиссии, винт или реактивная струя, аэродинамические эффекты обтекающей струи, оборудование кондиционирования и системы наддува, гидравлические системы и устройства связи.
Характеристика шума от самолета (наземного и в кабине) зависит от этапа полета, т.е. от режима работы двигателя на взлете, при крейсерском полете и посадке. Шум в кабине экипажа обусловлен и конструктивными особенностями различных типов летательных аппаратов (таблица 4).
Таблица 4
Характеристика изменения шума в кабине экипажа отечественных самолетов в зависимости от этапа полета (средние данные,
LА
дБА)
| Тип ВС
Этап полета
|
Ил-62М
|
Ил-86
|
Ту-154
|
Ан-74
|
Ан-24
|
Ан-26
|
Ил-18
(Ил-24Н)
|
| 1 Руление
|
74
|
72
|
68
|
-
|
92
|
-
|
87
|
| 2 Взлет
|
91
|
90
|
90
|
-
|
89
|
90
|
87
|
| 3 Набор
высоты
|
89
|
82
|
84
|
87,8
|
84
|
91
|
83
|
| 4 Эшелон
|
85
|
80
|
81
|
87
|
88
|
92
|
85
|
| 5 Снижение
|
84
|
75
|
72
|
86
|
81
|
-
|
81
|
| 6 Посадка
(реверс)
|
91
|
85
|
80
|
-
|
95
|
-
|
86
|
Изменения в организме человека при воздействии любого шума подразделяются на специфические (поражение органа слуха) и неспецифические (воздействие на организм в целом). В данной работе основное внимание будет уделено рассмотрению вопроса влияния шума на звуковой анализатор.
Шум представляет собой совокупность беспорядочно изменяющихся во времени звуков, разных по частоте и интенсивности. Шумом обычно называют всякий мешающий звук. Шум возникает в результате колебаний упругих тел: твердых, жидких или газообразных. Основными параметрами шума являются интенсивность (сила звука) и частотный состав (спектр). Уровень интенсивности звука и шума принято определять не в абсолютных, физических единицах давления, а в относительных величинах – децибелах (дБ), по отношению к эталонному уровню звука частотой в 1000 Гц, равному 10-16
вт/см2
, или 0,0002 бар (эта величина приблизительно равна порогу слышимости для уха человека – условный "0" дБ).
Звуковое давление в 2000 бар, или 10-3
вт/см2
вызывает у человека болевое ощущение – болевой порог. Если представить уровень порогов слуха и болевого порога в виде отношения (в абсолютных величинах), то получим
, где 1 выражает порог слышимости, а 1013
– болевой порог.
Логарифмируя отношения этих величин (1:1013
), получаем lg 1=0; lg 1013
=13, т.е. диапазон между этими пороговыми величинами определяется последовательным рядом чисел от 0 (порог ощущения звука) до 13 (болевой порог). Эти числа –единицы звука – названы белами в честь Александера Грейама Белла –изобретателя телефона. В акустике обычно пользуются десятыми долями бела –децибелами.
Таким образом, диапазон восприятия звука ухом человека по громкости находится в пределах от 0 до 130 дБ.
Частотный состав шума характеризует его спектр, т.е. совокупность составляющих его звуков разных частот. Для человека слышимым спектром являются звуки от 16 до 20 тыс. Гц.
По характеру спектра шумы в соответствии с ГОСТом 12.01.003-76 подразделяют на широкополосные с непрерывным спектром шириной более одной октавы и тональные, в спектре которых имеются слышимые дискретные тона.
Шум с преобладанием в его спектре колебаний с частотой ниже 350 Гц называется низкочастотным, с частотами от 350 Гц до 1000 Гц – высокочастотным.
По временным характеристикам шумы делятся на постоянные, уровень звука которых за 8-часовой рабочий день изменяется во времени не более чем на 5 дБА, и непостоянные, уровень звука которых за 8-часовой рабочий день изменяется во времени не менее чем на 5 дБА.
В свою очередь непостоянные шумы подразделяются на: а) колеблющиеся во времени (уровень звука их непрерывно изменяется во времени); б) прерывистые, уровень звука которых резко падает до уровня фонового шума; при этом длительность интервалов, в течение которых уровень остается постоянным и превышающим уровень фонового шума, составляет 1 с и более; в) импульсные, состоящие из одного или нескольких звуковых сигналов, каждый длительностью менее 1 с; в этом случае уровни звуков в дБА, измеренные шумомером в режиме "медленно" и "импульс", должны отличаться не менее чем на 10 дБ.
Для характеристики шума на рабочих местах и определения, представляет или нет шум потенциальную опасность для слуха, обычно необходимо измерять его общий уровень и производить частотный анализ звуков (спектр), так как понижение слуха больше связано с уровнями звукового давления высоких частот, чем с суммарной интенсивностью шума. Уровни звукового давления по частотам измеряются в октавных полосах среднегеометрических частот 63, 125, 250, 500, 1000, 2000, 4000, 8000 Гц.
Для оперативного контроля и оценки уровня шума на рабочих местах допускается измерение шума шумомером по шкале "А". Обычно шумомеры имеют три скорректированные шкалы, обозначаемые А, В и С. В настоящее время при измерении широкополосного шума, к которому относится и авиационный, гигиенисты чаще используют коррекцию А, наиболее близко имитирующую чувствительность уха человека к высокочастотной части спектра. При этом учитывается, что звуки высоких частот при прочих равных условиях наносят больший вред, чем звуки низкие. Получаемые отсчеты по стрелке прибора выражаются в единицах дБА.
Характеристики и нормы шума на рабочих местах производственных предприятий, в подвижном составе железнодорожного транспорта, на морских и речных судах, пассажирских и транспортных самолетах и вертолетах регламентируются ГОСТ 12.1.003-76 "Шум. Общие требования безопасности". Установлены гигиенические нормы – 80 дБА при 8-часовой экспозиции в сутки.
Основная роль в развитии шумовой патологии принадлежит интенсивности шума. Стойкое постепенное снижение слуха и развитие нейросенсорной тугоухости начинают происходить при уровнях шума более 80 дБА.
В соответствии с Санитарными правилами и нормами (СанПиН) 2.5.1.051-96 "Условия труда и отдыха для летного состава гражданской авиации" предельно допустимый уровень шума для рабочих мест летного состава не должен превышать 80 дБА. Однако, оптимальным уровнем шума для членов экипажей следует считать 65 дБА (таблица 5).
Таблица 5
Допустимые уровни звукового давления, уровни звука и эквивалентные
уровни звука для рабочих мест летного состава воздушных судов
| Нормируемый параметр: уровни звука, дБ
|
Октавные полосы со среднегеометрическими
частотами, Гц
|
Эквивалентный уровень звука, дБА
|
| 31,5
|
63
|
125
|
250
|
500
|
1000
|
2000
|
4000
|
8000
|
| Допустимый
|
107
|
95
|
87
|
82
|
78
|
75
|
73
|
71
|
69
|
80
|
| Оптимальный
|
96
|
83
|
74
|
68
|
63
|
60
|
57
|
55
|
54
|
65
|
Оптимальными условиями труда
(1 класс) являются такие условия, при которых сохраняется здоровье работающих и создаются предпосылки для поддержания высокого уровня работоспособности (Р.2.2.755-99).
Допустимые условия труда
(2 класс) характеризуются такими уровнями факторов среды, которые не превышают установленных гигиенических нормативов для рабочих мест, а возможные изменения функционального состояния организма восстанавливаются во время регламентированного отдыха или к началу следующей смены и не должны оказывать неблагоприятного действия в ближайшем отдаленном периоде (Р 2.2.755-99).
Вредные условия труда
(3 класс) характеризуются наличием вредных производственных факторов, превышающих гигиенические нормативы и оказывающих неблагоприятное действие на организм работающего и/или его потомства (Р 2.2.755-99).
По данным ГосНИИ ГА (1990) у большинства типов отечественных самолетов и вертолетов ГА средние значения уровней шума в условиях крейсерского полета в кабинах экипажа превышает предельно допустимый уровень (таблица 6).
Таблица 6
Средние значения уровней шума в условиях крейсерского полета
в кабинах экипажа отечественных самолетов и вертолетов ГА
| Тип ВС
|
дБА
|
Среднегеометрические частоты
октавных полос, Гц
|
| 250
|
500
|
1000
|
2000
|
4000
|
8000
|
| Уровни звукового давления, дБ
|
| Самолеты с ТРД
|
| ТУ-104х)
|
93
|
85
|
88
|
90
|
85
|
78
|
67
|
| ТУ-124х)
|
86
|
81
|
86
|
80
|
74
|
69
|
61
|
| ТУ-134
|
89
|
80
|
82
|
86
|
83
|
78
|
70
|
| ТУ-154 М
|
77
|
70
|
70
|
70
|
70
|
69
|
69
|
| ТУ-154
|
84
|
76
|
77
|
78
|
78
|
74
|
72
|
| ТУ-144х)
|
89
|
79
|
84
|
84
|
82
|
80
|
80
|
| ИЛ-62 (62М)
|
89
|
80
|
83
|
84
|
84
|
74
|
72
|
| ИЛ-76 Т
|
84
|
81
|
81
|
81
|
76
|
72
|
70
|
| ИЛ-76 ТД
|
87
|
84
|
85
|
83
|
79
|
69
|
62
|
| ИЛ-86
|
81
|
83
|
80
|
77
|
73
|
65
|
59
|
| ЯК-40
|
86
|
82
|
80
|
80
|
80
|
76
|
72
|
| ЯК-42
|
83
|
71
|
80
|
79
|
75
|
70
|
63
|
| Самолеты с ТВД
|
| ТУ-114х)
|
89
|
90
|
84
|
82
|
80
|
72
|
68
|
| ИЛ-18
|
84
|
84
|
81
|
75
|
72
|
72
|
70
|
| АН-3
|
96
|
98
|
92
|
89
|
87
|
86
|
85
|
| АН-12
|
90
|
86
|
85
|
85
|
82
|
78
|
75
|
| АН-24
|
92
|
96
|
88
|
80
|
82
|
74
|
74
|
| АН-26
|
92
|
96
|
91
|
80
|
71
|
66
|
64
|
| АН-28
|
98
|
101
|
91
|
91
|
87
|
83
|
78
|
| АН-74
|
87
|
80
|
82
|
82
|
82
|
77
|
72
|
| Л-410
|
109
|
108
|
97
|
86
|
81
|
77
|
76
|
| Л-410 УВПЭ
|
95
|
97
|
88
|
84
|
78
|
71
|
69
|
| Самолеты с поршневыми двигателями
|
| ИЛ-14х)
|
89
|
92
|
84
|
81
|
85
|
72
|
72
|
| АН-2
|
102
|
104
|
100
|
94
|
86
|
82
|
75
|
| АН-14
|
84
|
86
|
80
|
76
|
68
|
64
|
62
|
| ЯК-18 Т
|
104
|
101
|
96
|
90
|
91
|
91
|
86
|
| ЛИ-2 (ДС-3) х)
|
100
|
106
|
94
|
91
|
84
|
78
|
70
|
| Вертолеты
|
| МИ-1х)
|
88
|
87
|
80
|
80
|
81
|
83
|
81
|
| МИ-2
|
94
|
92
|
92
|
98
|
81
|
75
|
68
|
| МИ-2 СХ
|
102
|
100
|
94
|
86
|
100
|
88
|
79
|
| МИ-4х)
|
103
|
106
|
102
|
90
|
84
|
74
|
66
|
| МИ-6
|
84
|
86
|
81
|
76
|
70
|
68
|
79
|
| МИ-8
|
89
|
88
|
86
|
86
|
84
|
78
|
72
|
| МИ-10 К
|
88
|
88
|
82
|
77
|
75
|
70
|
73
|
| МИ-26 Т
|
88
|
89
|
86
|
82
|
74
|
69
|
62
|
| КА-26
|
102
|
102
|
100
|
96
|
92
|
80
|
68
|
| КА-32
|
95
|
97
|
92
|
89
|
84
|
81
|
80
|
| В-3
|
96
|
89
|
93
|
84
|
84
|
80
|
78
|
Примечание: х)
– воздушные суда, не эксплуатирующиеся в настоящее время.
По данным измерения шума в кабине экипажа ИЛ-96-300, выполненных ГосНИИ ГА, параметры шума соответствуют 75-79 дБА. Средние значения уровней шума в кабине экипажа ТУ-204 (по данным ГосНИЦ ЦАГИ, ЦНИИ им. А.Н.Крылова совместно с предприятием А.Н.Туполева и НПО "Наука") составляют (в зависимости от типа двигателя) 77-79 дБА.
В кабинах зарубежных типов ВС с более совершенной системой бортовой аппаратуры и радиосвязи уровень шума ниже среднего уровня шума ряда отечественных типов ВС, находящихся в эксплуатации. Для характеристики шума в кабинах экипажа таких зарубежных ВС, как А-310/320, В-767, допускается использование акустических характеристик отечественного аналога ТУ-204, а для воздушных судов типа В-777-200 – отечественного аналога ИЛ-96-300.
На рисунках 1, 2, 3, 4 представлена сравнительная оценка спектров шума в кабине экипажа отечественных и зарубежных ВС ("Рекомендации по совершенствованию нормативно-технической документации, регламентирующей шум в кабинах ВС. Методика факторного анализа среды кабин ВС". МГА СССР, ГосНИИ ГА. М.,1989).

Рис. 1,2. Сравнительная оценка измеренных в горизонтальном крейсерском полете спектров шума в кабине экипажа отечественных винтовых самолетов МВЛ (а) и их сопоставление с результатами аналогичных экспериментальных исследований шума для двухдвигательных зарубежных винтовых самолетов (б)
 

Рис. 3,4. Сравнительная оценка измеренных в горизонтальном крейсерском полете осредненных спектров шума в кабине экипажа отечественных узкофюзеляжных самолетов (а) и их сопоставление с результатами аналогичных экспериментальных исследований шума для узкофюзеляжных зарубежных самолетов (б).
 
Акустическая нагрузка на летный состав оценивается по эквивалентному уровню звука, состоящему из внутрикабинного шума и дополнительной звуковой нагрузки в результате прослушивания эфира и речевого радиообмена (СанПиН 2.5.1.051-96, п. 3.3.2), что, в основном, имеет значение для отечественных воздушных судов.
Исходя из этих требований, при составлении санитарно-гигиенической характеристики необходимо учитывать не только уровень внутрикабинного шума, но и уровень шума в наушниках пилотов при радиообмене и прослушивании радиоэфира.
В 1991 г. специалисты центра госсанэпиднадзора на транспорте в Восточно-Сибирской зоне (Успенский В.Б., Тельных И.В., Лужнов Н.В. и др.) совместно с Ангарским институтом гигиены труда и профессиональных заболеваний выполнили работу по измерению уровней шума в кабинах ВС и в наушниках пилотов при радиообмене. Выявилось, что уровни звукового давления в наушниках выше уровня внутрикабинного шума (таблица 7).
Таблица 7
| Тип
воздушного судна
|
Уровень
внутрикабинного шума
|
Уровень шума в наушниках при радиообмене
|
| Самолет ТУ-154
|
84
|
96
|
| Самолет АН-2
|
102
|
98
|
| Самолет ТУ-154-Б
|
84
|
96
|
| Самолет АН-12
|
90
|
102
|
| Самолет ТУ-154-М
|
77
|
92
|
| Вертолет МИ-8
|
89
|
97
|
| Самолет АН-26
|
92
|
93
|
| Самолет АН-24
|
92
|
92
|
При установлении связи заболевания с профессией одним из основных документов является санитарно-гигиеническая характеристика условий труда, подтверждающая наличие вредных производственных факторов и их превышение ПДУ.
В 1987 г. Медико-санитарное управление Министерства гражданской авиации утвердило (23.01.87) "Методические рекомендации по составлению санитарно-гигиенической характеристики условий труда летного состава в связи с заболеваниями органа слуха", где представлена схема составления санитарно-гигиенической характеристики условий труда именно для летного состава с учетом среднесуточного эквивалентного шума в зависимости от времени полета. Этот документ признан действующим Постановлением госсанэпиднадзора № 5 от 13.07.92 г. В настоящее время приказом МЗ РФ № 176 от 28.05.2001 г. утверждена унифицированная форма "Санитарно-гигиенических характеристик условий труда работника при подозрении у него профессионального заболевания (отравления)", которая, к сожалению, не учитывает уровень среднесуточного эквивалентного шума по среднесуточному времени налета часов и не отражает наличие превышения предельно допустимого уровня шума. Однако, эти показатели являются наиболее важными при установлении профессионального заболевания органа слуха у лиц летного состава.
В связи с вышеизложенным необходимо внести предложения по улучшению и объективизации оценки условий труда и анализа профессиональной заболеваемости летного состава. Подобные предложения не раз высказывались специалистами госсанэпиднадзора и были сформулированы главным государственным санитарным врачом Восточно-Сибирского зонального центра госсанэпиднадзора на транспорте Успенским В.Б.
1. Провести переработку нормативно-методической документации, прежде всего СанПиН 2.5.1.051-96 "Условия труда и отдыха для летного состава ГА", в которой четко определить механизм предоставления документации на проектируемые и модернизирующиеся воздушные суда для санитарно-гигиенической экспертизы, участия работников госсанэпиднадзора при вводе в эксплуатацию воздушных судов и выполнения производственного контроля.
2. Разработать методику оценки уровней акустических нагрузок на членов экипажа при прослушивании эфира и речевого радиообмена в полете на различных типах самолетов и учета ее при составлении санитарно-гигиенических характеристик летного состава.
3. Предложить по линии Российского авиационно-космического агентства и Министерства транспорта разработать программу санитарно-гигиенической оценки новых типов воздушных судов отечественного производства и эксплуатируемой в гражданской авиации зарубежной авиационной техники (с проведением лабораторно-инструментальных исследований вредных факторов на рабочих местах пилотов и последующим внесением дополнений в "Методические рекомендации по составлению санитарно-гигиенических характеристик условий труда летного состава в связи с заболеваниями органов слуха", утв. 27.01.87).
4. Подтвердить действие документов МГА СССР по составлению санитарно-гигиенической характеристики условий труда летного состава.
ГЛАВА 2. ДИАГНОСТИКА ТУГОУХОСТИ У ЛИЦ ЛЕТНОГО СОСТАВА
2.1. Общая характеристика типов тугоухости
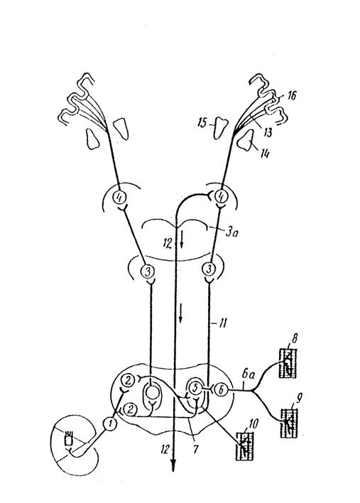
Как известно, нарушение слуха может быть обусловлено патологическим процессом, влияющим на различные отделы звукового анализатора, которые включают элементы звукопроведения и звуковосприятия. Поэтому все многообразие форм тугоухости можно разделить на две большие группы в зависимости от принципиального механизма, лежащего в основе расстройства слуха – нарушение звукопроведения или звуковосприятия. К первой группе относятся формы тугоухости, развитие которых обусловлено тем или иным затруднением в проведении звуковой волны через преобразующую акустическую систему уха, включающую в себя элементы звукопроведения (наружный слуховой проход, среднее ухо, перилимфа внутреннего уха). Вторую группу составляют формы тугоухости, связанные с нарушениями процессов превращения механических колебаний в энергию нервного возбуждения и его последующего, многоступенчатого трансформирования на пути от рецептора до высших центров коры головного мозга. К элементам звуковосприятия звукового анализатора относятся периферический отдел слуховой системы – орган Корти со слуховыми рецепторами (наружные и внутренние волосковые клетки), спиральный ганглий с телами первых двухполюсных нейронов, не дающих перекрестов, и центральные слуховые образования, имеющие перекресты. Они представлены нейронами наружного и внутреннего слуховых ядер, расположенных на дне IV желудочка, проводящими путями в глубине моста мозга (латеральная петля), задними бугорками четверохолмия, внутренним коленчатым телом и заканчиваются в извилине Гешле височной доли мозга (Рис.5).
В патологии деление слуховой функции на процессы звукопроведения и звуковосприятия обусловлено определенной характерностью синдромов повреждения соответствующих уровней слухового тракта, когда разграничение функции приобретает вполне конкретный смысл.
Рис. 5 Проводящие пути и центры звукового анализатора.
1 – спиральный узел; 2 – дорзальное и вентральное ядра в продолговатом мозгу; 3 и 3а – нижний и верхний бугорки четверохолмия; 4 – внутреннее коленчатое тело; 5 – верхняя олива; 6 – ядро лицевого нерва; 6а – лицевой нерв; 7 – слуховой путь; 8 – круговая мышца глазницы; 9 – стремянная мышца; 10 – мышца, натягивающая барабанную перепонку; 11 – боковая петля; 12 – короткая рефлекторная дуга к мышцам тела; 13 – лучистый венец; 14 – чечевичное ядро; 15 – зрительный бугор; 16 – кора височной доли (цит. по В.Ф.Ундриц с соавт., 1960).
Проявление признаков снижения слуха зависит от выраженности патогенетических факторов, таких как воспалительный процесс, нарушение всасывательной и выделительной функции тканей, изменения трофики и других.
В литературе часто используется распространенный синоним нарушений звукопроведения – кондуктивная тугоухость, а нарушение звуковосприятия – нейросенсорная (сенсоневральная), или перцептивная тугоухость. Для обозначения изменений слуха, связанных с нарушением звуковосприятия в периферическом отделе анализатора, некоторые авторы до сих пор применяют термин кохлеарный неврит. Однако, он имеет сугубо условный смысл, так как не отражает ни патофизиологической сущности процесса, ни его топики. Разграничивая кондуктивную и нейросенсорную тугоухость (НСТ), необходимо учитывать и возможность часто встречающегося сочетания этих видов тугоухости. В таких случаях принято говорить о третьем виде тугоухости – смешанном.
Исходя из задач отоларингологической врачебно-летной экспертизы, очень важным представляется рассмотрение признаков нарушения звукопроведения и звуковосприятия на различных уровнях слуховой системы. Поэтому, при медицинском освидетельствовании летного состава врач оториноларинголог, прежде всего, должен установить вид тугоухости (кондуктивная, нейросенсорная, смешанная) и уровень поражения. Наряду с констатацией преобладания нарушений звукопроведения или звуковосприятия важным является установление последовательности развития этих нарушений, т.е. определение тем самым причинно-следственных отношений между этими видами расстройств слуха.
2.2. Методы исследования слуха
Введенный в действие с 1 июля 1983 г. ГОСТ 12.1.037-82 "Экспертиза трудоспособности летного и диспетчерского состава. Методы оценки слуховой функции" устанавливает 5 методов исследования слуховой функции, применяемых при врачебно-летной экспертизе.
Метод 1.
Акуметрия шепотом, предназначенная для исследования слуховой функции каждого уха в отдельности. Метод применяют при всех обследованиях лиц летного и диспетчерского состава.
Метод 2.
Проба с камертонами для дифференциальной диагностики локализации поражения звукового анализатора по звукопроводящему или звуковоспринимающему типу. Пробу применяют при обнаружении снижения слуховой функции методом шепотной акуметрии.
Метод 3.
Тональная пороговая аудиометрия для количественной оценки потери слуха при динамическом наблюдении за состоянием слуховой функции.
Метод 4.
Речевая аудиометрия для определения порогов разборчивости речи.
Метод 5.
Речевая аудиометрия в условиях воздействия на обследуемого имитированного профессионального или "белого" шума интенсивностью 90 дБ (А) в свободном звуковом поле, определяющая функциональные возможности органа слуха у лиц, работающих в условиях шума. Метод применяется в случае выраженного снижения остроты слуха.
Для проведения более углубленного исследования слуховой функции у лиц летного состава ГА при дифференциальной диагностике тугоухости могут использоваться дополнительно аудиометрические тесты, объединенные общим названием "надпороговая аудиометрия". Наиболее распространенными являются: определение дифференциального порога восприятия силы звука по Люшеру (ДПС); индекс малых приростов интенсивности (ИМПИ, чаще обозначаемый как SiSi); определение уровня порога дискомфорта; определение слуховой адаптации с помощью теста исчезающего тона (или теста распада тона по Кархарту).
Помимо этих методов исследования, в отдельных случаях, для уточнения диагноза проводится компьютерная аудиометрия, акустическая импедансометрия, а также исследование отоакустической эмиссии (ОАЭ).
2.3. Порядок исследования слуховой функции у лиц летного состава
При обследовании лиц летного состава с жалобами на снижение слуха или с подозрением на нарушение слуховой функции (при отсутствии жалоб) необходимо придерживаться следующей последовательности.
I. Изучение анамнеза
II. Осмотр ЛОР органов
III. Исследование слуховой функции
1. Исследование восприятия шепотной речи (шепотная акуметрия)
2. Исследование камертонами
3. Аудиометрическое обследование
4. Акустическая импедансометрия и другие дополнительные методы исследования слуховой функции (используются при дифференциальной диагностике и в отдельных экспертных случаях при стационарном обследовании).
I.
Перед проведением исследования слуховой функции врач оториноларинголог собирает анамнез
у пилота (жалобы на снижение слуха; возможная связь тугоухости с перенесенными инфекционными заболеваниями, интоксикациями, острыми или хроническими заболеваниями уха, травмами головы или уха; наличие субъективного шума в ушах и его характер, тональность; возможное ухудшение слуха после полета или улучшение его в шумной обстановке; наличие постоянного или приступообразного головокружения; какое проводилось лечение, его эффективность; имеются ли в семье слабослышащие, наличие шумных занятий в быту, лечение ототоксическими медикаментами и др.).
Следует иметь в виду, что лица летного состава могут скрывать жалобы, стремясь продлить летную деятельность. В некоторых случаях, имея претензии на установление профессионального заболевания органа слуха, наоборот, склонны к аггравации. В том и другом случаях информация, полученная врачом оториноларингологом экспертом при изучении анамнеза, может быть полезна при проведении дальнейшего обследования пилота, анализе полученных данных при их сопоставлении.
II. Осмотр ЛОР органов.
Проводится отоскопия с помощью оптической воронки Зигле или, по возможности, отомикроскопия. Особое внимание следует обратить на сопутствующую патологию носа и носоглотки.
III. Исследование слуховой функции.
Оно проводится в первой половине дня и не ранее, чем через 14 часов после воздействия на обследуемого интенсивного шума (ГОСТ 12.4.062 –78); а при обследовании в стационаре – через 1-2 дня после поступления в стационар. Исследование слуха должно проводиться в звукоизолированной комнате, с шумовым фоном не более 50 дБ.
1. Исследование восприятия шепотной речи
(шепотная акуметрия)
Способность слышать и понимать речь является основным критерием оценки состояния органа слуха. Это особенно важно для представителей летных профессий, слух которых является рабочей функцией. Поэтому, любое исследование слуховой функции у лиц летного состава необходимо начинать с ориентировочной проверки восприятия живой речи. Количественная оценка результатов исследования сводится к определению расстояния, с которого обследуемый слышит шепотную и разговорную речь.
Исследование с помощью акуметрии шепотом (а при значительной тугоухости – громкой речью) начинают с расстояния 6 метров. Каждое ухо исследуется отдельно. Исследуемое ухо должно быть обращено в сторону врача, проводящего обследование. Противоположное ухо, во избежании переслушивания, плотно закрывается. При этом используется один из нижеперечисленных способов:
- введение в наружный слуховой проход влажного ватного шарика и прижатия его козелком;
- введение в наружный слуховой проход неисследуемого уха пальца помощника с постоянным движением им;
- надавливание средним пальцем помощника на козелок неисследуемого уха, а указательным пальцем этой руки производится трение по среднему пальцу;
- применение электроакустической заглушки (маскирователя слуха).
В случае выявления аггравации тугоухости при проведении шепотной акуметрии обследуемого необходимо расположить спиной к врачу, проводящему обследование. Интенсивность (громкость) шепотной речи при исследовании методом акуметрии может быть различной, что зависит от количества выдыхаемого воздуха и мышечного напряжения при артикуляции врача, но при выработке определенного навыка интенсивность шепота у разных исследователей практически одинакова и равна примерно 20-30 дБ. Для получения равномерного шепота слова произносятся после спокойного выдоха с помощью резервного остаточного воздуха в легких с равными интервалами между словами. Врачом произносится нечетное количество (3 или 5) слов с высокочастотной характеристикой. Если обследуемый повторяет с этого расстояния большинство произнесенных слов (2 из 3-х или 3 из 5-ти), то это расстояние считается средней, выраженной в метрах, остротой слуха для слов с высокочастотной характеристикой. Если большинство слов обследуемый не слышит, исследования повторяют, уменьшая каждый раз расстояние. Таким же образом исследуется острота слуха словами с низкочастотной характеристикой (басовая группа). При понижении слуха на слова низкочастотной характеристики, что может быть за счет нарушения барофункции среднего уха временным состоянием, необходимо (при отсутствии воспалительных явлений со стороны носоглотки) провести пробу Вальсальвы или продувание евстахиевой (слуховой) трубы с помощью баллона Полицера и повторить акуметрию.
Акуметрию шепотной речью обычно проводят, произнося двузначные числа от 21 до 99, но они легко воспринимаются и являются хорошо известными, поэтому для акуметрии лучше использовать специальные фонетически сбалансированные слова. Перечень этих слов (в соответствии с ГОСТ 12.1.037 – 82), представлен в таблице 8.
Таблица 8
Список слов для шепотной акуметрии
| а) высокие и средние частоты
|
б) низкие частоты
|
| пять
сесть
цех
сей
есть
еж
час
речь
честь
зять
|
еще
кисть
жечь
шей
петь
смесь
жать
ель
печь
шеф
|
бот
горн
год
ум
трон
труд
торг
быт
торс
лоб
|
борт
волк
дым
гром
клуб
мол
пыл
кот
тыл
блок
|
| тесть
шью
рис
весть
чушь
жрец
стих
пес
весть
свист
|
чиж
степь
жердь
слизь
чуть
лесть
день
стань
цель
связь
|
вор
тот
дул
кот
пол
борт
порт
том
мол
вон
|
брод
выл
клык
торт
труд
ров
ток
лов
пыл
гул
|
| цель
зверь
сядь
шерсть
щи
пей
жить
чек
пить
семь
|
паж
чай
нос
желчь
степь
жердь
два
часть
связь
цепь
|
вот
дом
кол
луг
мыл
плод
ром
бунт
двор
болт
|
вол
гром
дым
кок
мор
плуг
рот
грот
бок
вон
|
| зверь
пей
чек
семь
шаг
чтец
часть
пять
цех
пыж
|
столб
речь
зять
пай
воск
век
шум
смесь
рис
стих
|
гром
как
рот
трон
быт
лоб
долг
брод
клуб
мул
|
тыл
вор
дул
волк
порт
том
мор
ров
гул
кок
|
Результаты исследования слуха у лиц летного состава обычно регистрируются числовым выражением расстояния в метрах отдельно для слов басовой и дискантовой характеристик в виде дроби. Числителем отмечается расстояние, на котором обследуемый слышит слова дискантовые, знаменателем – басовые.
Если обследуемый не слышит слова шепотной речи или слышит их с расстояния менее одного метра, то произносят подобные слова обычной разговорной речью после спокойного выдоха. При этом следует учитывать то обстоятельство, что шепотная речь имеет максимум энергии частотной полосы от 1000 до 3000 Гц, а разговорная речь – от 100 до 1000 Гц. Средняя интенсивность шепотной речи равна 20-30 дБ, а разговорной – 40-60 дБ.
При пониженном (менее 4-х метров) восприятии слов низкочастотной группы можно думать о поражении звукопроводящего аппарата; при поражении звуковоспринимающего аппарата отмечается пониженное восприятие группы слов высокочастотного характера. Таким образом, частотный характер воспринимаемых слов при нарушении слуховой функции может указать на тип поражения органа слуха.
Оценка результатов исследования шепотной речью может быть проведена по следующим критериям (Ромм С.З., 1966).
1) Нормальный слух – восприятие шепотной речи с расстояния 6 метров.
2) Понижение слуха в небольшой степени – восприятие шепотной речи на расстоянии 1-5 метров.
3) Понижение слуха средней степени – восприятие шепотной речи до 1 метра.
4) Понижение слуха сильной степени – шепотная речь не воспринимается.
Зная количественные соотношения показателей восприятия шепотной и разговорной речи, врач может провести качественный анализ слуховой чувствительности: предположить, какие по высоте звуки плохо воспринимаются обследуемым (при небольшой и средней потери слуха). Если обследуемый плохо слышит шепотную речь и хорошо разговорную, то у него можно предположить нарушение восприятия тонов выше 1000 Гц. Такие нарушения чаще имеют место при поражении звуковоспринимающего аппарата (базальном кохлеите) и реже – при демпферном типе поражения звукопроводящего аппарата (наличие жидкости в среднем ухе). Если обследуемый хорошо воспринимает шепотную речь, но встречает затруднения при восприятии разговорной речи, можно предположить нарушение звуковой чувствительности к тонам ниже 1000 Гц. Это более характерно для эластического типа поражения звукопроводящего аппарата (нарушение подвижности цепи слуховых косточек и барабанной перепонки) и апикального кохлеита.
Конечно, эти данные носят ориентировочный, предварительный характер, что предусмотрено ГОСТ 12.1.037 – 82 и ФАП МО ГА-2002. Окончательные выводы о топике поражения органа слуха возможны только после полной программы аудиометрического обследования.
В практике ВЛЭ имеют место случаи, когда пожилые члены экипажа ВС и лица, подвергающиеся воздействию авиационного шума, демонстрируют снижение слуха, не соответствующее действительности.
В рекомендациях ИКАО предусматривается проведение тестов, которые помогают выявить аггравацию у пилотов. Одним из таких тестов является метод Ломбарда. Метод основан на том, что говорящий человек с нормальным слухом непроизвольно повышает голос при громком шумовом фоне или при наличии маскирующих звуков.
Тест Ломбарда.
Обследуемый читает текст или ведет счет. В это время оба уха заглушаются трещотками Барани. При действительной глухоте естественно нет оглушения и голос обследуемого не меняется (отрицательный результат). При мнимой же глухоте заглушение выключает слуховой контроль над голосом и громкость его обычно повышается (положительный результат). Этот опыт можно проводить при заглушении ушей электрическими трещотками или передачей через наушники громкой музыки, шума. Положительный результат свидетельствует о наличии слуха.
2. Исследование камертонами
Из множества существующих камертональных тестов в практике ВЛЭ для дифференциальной диагностики кондуктивной тугоухости и НСТ достаточно применять три теста – Федеричи (F), Ринне (R) и Вебера (W). Для их выполнения необходим низкочастотный камертон C256
(допустимо также использование камертона С128
).
Опыт Вебера (
W)
определяет латерализацию звука. В норме звучащий камертон, приставленный ножкой на темя, по средней линии, обследуемый слышит одинаково в обоих ушах ("в середине головы"). Такой же результат может быть и при одинаковом поражении органа слуха. При кондуктивной тугоухости звук громче воспринимается в хуже слышащем ухе, при нейросенсорной – в лучше слышащем ухе (←W→; W→; ←W).
Опыт Федеричи (
F)
проводится следующим образом. Звучащий камертон ножкой попеременно плотно приставляют к козелку, как бы вдавливая его в наружный слуховой проход, и к сосцевидному отростку. Обследуемый должен определить, где он громче слышит звучащий камертон. В норме и при НСТ громче воспринимается звук с козелка (опыт Федеричи положительный, F+), при нарушении звукопроведения более громким воспринимается звук с области сосцевидного отростка (опыт Федеричи отрицательный, F–).
Опыт Ринне (
R)
подобен опыту Федеричи, однако в отличие от него предполагает количественную (в секундах) оценку слухового восприятия; то есть врач измеряет время, в течение которого обследуемый слышит звучание камертона вначале у ушной раковины, а затем – с сосцевидного отростка. При нормальном слухе и нейросенсорной тугоухости первый показатель выше (опыт Ринне положительный, или R+), при кондуктивной тугоухости наблюдается обратная картина (опыт Ринне отрицательный, или R–).
3. Аудиометрическое обследование
Основу аудиометрии составляют психоакустические методы исследования слуховой функции. Они описаны во многих отечественных руководствах и монографиях (Сагалович Б.М., 1978; Хечинашвили С.Н., 1978; Базаров В.Г. и др., 1984; Таварткиладзе Г.А. и др., 2003). В них изложены общие принципы аудиометрического обследования, которые также необходимо учитывать и соблюдать при обследовании лиц летного состава.
1) Аудиометрическое обследование проводится в специальных звукоизолированных камерах или отдельных помещениях, в которых уровни шума должны соответствовать требованиям ГОСТ 12.4.062-78: не превышать 15 дБА и 50 дБА – для звукоизолированных камер; 30 дБА и 65 дБА – для отдельных помещений (кабинетов).
2) Обследуемый не должен видеть шкалу прибора (аудиометра).
3) Обследование проводит опытный лаборант – аудиометрист или врач.
4) Инструктаж обследуемого об особенностях исследования проводится непосредственно перед выполнением каждого нового теста с помощью микрофона при надетых воздушных наушниках аудиометра.
5) При выполнении отдельных методик аудиометрии необходимо придерживаться единого способа подачи сигнала: от неслышимого к слышимому.
6) Общая продолжительность аудиометрического обследования не должна превышать 60 мин во избежании утомления обследуемого, ослабления его внимания и развития у него слуховой адаптации.
Тональная пороговая аудиометрия.
Порог восприятия тона – это минимальная интенсивность звукового раздражителя, при которой появляется ощущение звука. При тональной пороговой аудиометрии определяется слуховая чувствительность на фиксированных частотах (обычно в диапазоне 125 – 8000 Гц). Отметка 0 дБ на аудиограмме соответствует среднему порогу восприятия каждого тона у молодых людей с нормальным слухом. Звуки интенсивностью от 0 до 120 дБ над нормальным порогом слышимости подают обследуемому через воздушный телефон и костный вибратор (телефон). В первом случае в проведении звуковых колебаний к рецепторному аппарату улитки участвуют все структуры наружного, среднего и внутреннего уха, тогда как костное или костно-тканевое звукопроведение практически исключает передачу звука через отделы наружного и среднего уха. Результаты исследований заносятся на специальный бланк (сетку-аудиограмму) на основе системы координат, где интенсивность звука (дБ) указана по оси ординат, а исследуемые частоты (Гц) – по оси абсцисс. Аудиограмма является графическим изображением порогов слуха. По характеру пороговых кривых воздушной и костной звукопроводимости, выведенных отдельно для правого и левого уха (согласно ГОСТ 12.1.037-82), можно определить остроту слуха в децибелах у обследуемого. С целью унификации записи результатов тональной аудиометрии пороги восприятия частот правым ухом принято обозначать „-
”, левым – „Ï
”, соединяя их сплошной линией при исследовании по воздушному звукопроведению и пунктирной – по костному звукопроведению.
Согласно требованиям ФАП МО ГА-2002 тональная пороговая аудиометрия, как основной метод исследования слуха в целях ВЛЭ, проводится при первичном освидетельствовании лиц летного и диспетчерского состава, бортпроводников, курсантов и кандидатов, поступающих в учебные заведения ГА. В дальнейшем, лицам летного состава в возрасте до 40 лет тональная пороговая аудиометрия проводится 1 раз в 5 лет (через 4 г.), а после 40 лет – 1 раз в 2 года. Лицам летного состава со сниженной слуховой функцией аудиометрическое исследование проводится 1 раз в год, а при нейросенсорной тугоухости – 2 раза в год[†]
. Лицам летного состава с выявленным снижением остроты слуха по результатам шепотной акуметрии при проведении очередного медицинского освидетельствования также показано аудиометрическое исследование.
Методом тональной пороговой аудиометрии измеряются те минимальные (пороговые) интенсивности звуков разных частот, которые воспринимает ухо. При анализе результатов исследования определяется разность между данными пороговой интенсивности воспринимаемого звука обследуемым и пороговой интенсивностью воспринимаемого тона данной частоты в норме. Это исследование с достаточной точностью позволяет выявить начальные изменения слуховой функции. Однако, метод тональной пороговой аудиометрии не устраняет основного недостатка исследования слуха – элемента субъективности, так как пороги слуха при исследовании определяются с учетом ответа обследуемого на сигналы. Недостаток этой особенности исследования может проявиться тогда, когда исследование слуха полностью передоверяется лаборантам или врач не имеет возможности прямого контакта с обследуемым и возможности проверять и критически оценивать данные отоскопии, предварительного обследования и анамнеза. При этом необходимо также учитывать и степень вероятности ошибочных (иногда заведомо) ответов обследуемого лица летного состава, затрудняющих оценку результатов аудиометрических измерений.
При проведении тональной пороговой аудиометрии вначале исследуется воздушное звукопроведение, а затем – костное. При исследовании костного звукопроведения костный телефон устанавливается на область сосцевидного отростка ипсилатерально исследуемому уху так, чтобы его рабочая поверхность находилась в месте проекции антрума, не касаясь ушной раковины.
Устанавливается следующая последовательность определения порогов восприятия тонов – 1000, 2000, 4000, 8000 Гц, затем – 1000, 125, 250 и 500 Гц. Порог восприятия на каждой из частот определяется по средней величине не менее трех измерений. Нанесенные на бланк аудиограмм точки, обозначающие пороги слуха для тонов различных частот, соединяются, в результате чего образуются аудиометрические кривые. Оформление результатов тональной аудиометрии проводится отдельно для каждого уха на бланке аудиограмм (ГОСТ 12.1.037 – 82).
При нормальном слухе пороги воздушного и костного звукопроведения совпадают и находятся в пределах 0-10 дБ. (Рис.6). При оценке результатов исследования необходимо учитывать возрастные показатели слуховых порогов.

Рис. 6. Аудиограмма при нормальном слухе
Определение порогов костного звукопроведения следует начинать с аудиометрического опыта Вебера (W) для того, чтобы определить ухо, лучше воспринимающее костное звукопроведение. Костный телефон при этом помещают на середину лба, рабочей поверхностью прижимая к коже. Считается, что ухо, в которое латерализуется звук при опыте Вебера, лучше воспринимает костное звукопроведение. С него и начинают исследование слуховой чувствительности по костной звукопроводимости.
Анализ данных тональной пороговой аудиометрии.
Как указывалось выше, показателем нормального слуха считаются отклонения порогов восприятия от нулевого уровня в пределах до 10 дБ на каждой из частот. Это свидетельствует о сохранной слуховой функции при условии, если кривые воздушного и костного звукопроведения совпадают или находятся рядом. Уровень кривой воздушного звукопроведения позволяет судить о состоянии тонального слуха по всему диапазону частот.
Уровень кривой костного звукопроведения считается одним из основных критериев состояния звуковоспринимающего отдела звукового анализатора. Взаимное расположение кривых воздушного и костного звукопроведения характеризует состояние звукопроводящего отдела. Если кривые расположены рядом, т.е. костно-воздушный "разрыв" отсутствует, то это свидетельствует о том, что функция звукопроводящего отдела сохранена. Наличие костно-воздушного "разрыва" говорит о поражении звукопроводящего отдела анализатора. Сочетание костно-воздушного "разрыва" с ухудшением восприятия костного звукопроведения обычно бывает при комбинированном поражении звукопроводящего и звуковоспринимающего отделов звукового анализатора.
При патологии среднего уха нарушается передача звуковых сигналов от наружного уха к внутреннему, поэтому пороги слышимости при воздушном звукопроведении повышаются, преимущественно в диапазоне низких и средних частот (до 40 дБ). В то же время при костном звукопроведении сигналы воспринимаются при нормальных уровнях интенсивности, так как остаются сохраненными рецепторный аппарат улитки и нервные слуховые пути. Так на тональной пороговой аудиограмме выглядит кондуктивная тугоухость. При этом разность между значениями порогов слышимости по воздушному и костному звукопроведению представляется на аудиограмме в виде костно-воздушного интервала (Рис.7). Однако,

Рис. 7. Аудиограмма при кондуктивной тугохости
следует отметить, что пороги при костном звукопроведении не могут быть выше порогов при воздушном звукопроведении. При проведении тональной пороговой аудиометрии у лиц летного состава определенную сложность может представлять возможность переслушивания неисследуемым, лучшеслышащим ухом. Это может происходить при различной степени нарушения слуха в правом и левом ухе. В частности, типичной является так называемая ложная кондуктивная тугоухость, диагностируемая при односторонней нейросенсорной патологии. Предотвратить получение ошибочных результатов позволяет заглушение (маскировка) неисследуемого уха широко – или узкополосным шумом интенсивностью 60-70 дБ. Можно выделить некоторые наиболее типичные аудиограммы, получаемые при нарушении звукопроведения. Так, кондуктивная тугоухость с дополнительным повышением порогов звуковосприятия в области 2000 Гц, называемым "зубцом Кархарта", характерна для отосклероза (Рис.8). Установлению диагноза помогают данные анам-

Рис. 8. Аудиограмма больного отосклерозом
неза (одностороннее постепенное снижение слуха с дальнейшим переходом в двустороннюю тугоухость, шум в ушах, улучшение разборчивости речи в шуме) и отоскопии (неизмененные или истонченные барабанные перепонки). Иная картина (кондуктивная тугоухость с понижением порога в области 2000 Гц) часто наблюдается при рубцовом, адгезивном процессе в барабанной полости (Рис. 9). Данные отоскопии и анамнеза подтверждают диагноз.

Рис. 9. Аудиограмма больного адгезивным отитом
При поражении сенсорных элементов органа Корти и отсутствии сопутствующего нарушения звукопроведения, что характерно для нейросенсорной тугоухости, пороги слышимости по воздушному звукопроведению и костному – совпадают (Рис.10, 11). При таком нарушении слуха воздушная и костная проводимость страдают в одинаковой степени.
Рис. 10. Аудиограмма при НСТ (инфекционного генеза)

Рис. 11. Аудиограмма больного, работающего в условиях шума и вибрации. Диагноз: НСТ I степени (легкое снижение слуха).
Смешанная тугоухость (комбинированная) характеризуется наличием признаков нарушения звукопроведения и звуковосприятия. На тональной пороговой аудиограмме это проявляется повышением порогов воздушного и костного восприятия. Однако, при этом на аудиограмме обязательно сохраняется выраженный в различной степени костно-воздушный "разрыв" Эта форма тугоухости часто наблюдается при хроническом среднем отите и является признаком вовлечения в патологический процесс структур внутреннего уха (Рис.12).

Рис. 12 Аудиограмма при комбинированной тугоухости
(хронический гнойный средний отит)
При подозрении врача оториноларинголога на то, что обследуемый заведомо дает неправильные ответы при аудиометрии, необходимо проведение повторной аудиометрии через различные промежутки времени. Колебания слуха имеют место у всех тугоухих и зависят от ряда моментов – самочувствия больного, усталости и т.д. В количественном отношении эти колебания незначительны (обычно не больше 5-10 дБ), но что является наиболее важным, они не отражаются на общем характере аудиограммы (направление кривой, спады, подъемы). При аггравации ответы обследуемого являются произвольными и аудиограмма отражает не объективное состояние слуха, а эти произвольные ответы. Установлено, что обследуемый в таких случаях обычно не в состоянии запомнить высоту и силу различных тонов, которые он указывал как пороговые, и повторые аудиограммы резко отличаются одна от другой не только количественно, но и качественно. На основании такого расхождения аудиограмм можно распознавать аггравацию.
Выявить заведомо неправильные ответы обследуемого при тональной пороговой аудиометрии помогает также способ изменения шага в 5 дБ подаваемого тона на шаг в 1 дБ (если позволяют технические возможности аудиометра).
Данные тональных аудиограмм позволяют получить количественную характеристику снижения слуха при различных видах тугоухости (по степени снижения слуха на одно или оба уха). Для этих целей предложена международная классификация степеней тугоухости, которая основана на определении средних значений порогов звуковосприятия на речевых частотах 500, 1000, 2000 и 4000 Гц. Для вычисления степени потери слуха необходимо сложить значение потери слуха в децибелах по воздушной проводимости на каждой из четырех частот речевой зоны (500, 1000, 2000 и 4000 Гц) и полученную сумму разделить на 4. Частное от деления определяет среднюю потерю слуха в децибелах на данных частотах. Значение средней потери слуха соответствует одной из 4-х степеней потери слуха (см. таблицу 9).
Таблица 9
Международная классификация степеней тугоухости[‡]
| Степень тугоухости
|
Среднее значение порогов слышимости на речевых частотах (дБ)
|
| I
|
26-40
|
| II
|
41-55
|
| III
|
56-70
|
| IV
|
71-90
|
| Глухота
|
≥91
|
При анализе результатов тональной пороговой аудиометрии необходимо учитывать, что даже у здорового человека после 40 лет на тональной аудиограмме наблюдается постепенное повышение порога слуха восприятия высоких частот (Рис.13). Этот процесс, связанный с развитием возрастных изменений в различных

Рис. 13 Возрастные изменения порогов слуха
отделах звукового анализатора, обозначается термином "пресбиакузис" и обусловлен проявлениями возрастной инволюции слуха, признаки которой во многом определяются перенесенными в различные периоды жизни заболеваниями. В зависимости от степени проявления отдельных факторов в общем комплексе причин возрастного снижения слуха, они могут быть по-разному выражены в пределах одного и того же возраста (таблица 10).
Таблица 10
Пороги слуха (дБ) у практически здоровых людей в зависимости от
возраста (среднее значение и пределы колебания) (по ГОСТ 12.4.062-78)
| Звуковые
частоты,
Гц
|
Возраст (г.)
|
20-29
|
30-39
|
40-49
|
50-59
|
| Пороги
слуха
(дБ)
пол
|
Среднее
значение
|
Пределы
колебаний
|
Среднее
значение
|
Пределы
колебаний
|
Среднее
значение
|
Пределы
колебаний
|
Среднее
значение
|
Пределы
колебаний
|
| 125
|
М
Ж
|
0
0
|
≤ 5
≤ 5
|
2
2
|
≤ 5
≤ 5
|
2
2
|
≤ 10
≤ 5
|
5
5
|
≤ 10
≤ 10
|
| |
|
|
|
|
|
|
|
|
|
| 250
|
М
Ж
|
0
0
|
≤ 5
≤ 5
|
1
1
|
≤ 5
≤ 5
|
3
2
|
≤ 10
≤ 5
|
5
5
|
≤ 10
≤ 10
|
| |
|
|
|
|
|
|
|
|
|
| 500
|
М
Ж
|
0
0
|
≤ 5
≤ 5
|
1
1
|
≤ 5
≤ 5
|
3
2
|
≤ 10
≤ 5
|
6
8
|
≤ 15
≤ 15
|
| |
|
|
|
|
|
|
|
|
|
| 1000
|
М
Ж
|
1
0
|
≤ 5
≤ 5
|
2
2
|
≤ 7
≤ 8
|
4
5
|
≤ 9
≤ 10
|
8
8
|
≤ 16
≤ 18
|
| |
|
|
|
|
|
|
|
|
|
| 2000
|
М
Ж
|
2
0
|
≤ 10
≤ 5
|
2
3
|
≤ 7
≤ 9
|
6
5
|
≤ 14
≤ 11
|
14
10
|
≤ 27
≤ 20
|
| |
|
|
|
|
|
|
|
|
|
| 4000
|
М
Ж
|
3
0
|
≤ 10
≤ 5
|
5
5
|
≤ 13
≤ 13
|
17
8
|
≤ 31
≤ 15
|
26
14
|
≤ 41
≤ 30
|
| |
|
|
|
|
|
|
|
|
|
| 6000
|
М
Ж
|
3
1
|
≤ 10
≤ 6
|
6
6
|
≤ 15
≤ 13
|
16
11
|
≤ 28
≤ 25
|
27
16
|
≤ 42
≤ 31
|
| |
|
|
|
|
|
|
|
|
|
| 8000
|
М
Ж
|
3
1
|
≤ 8
≤ 5
|
7
7
|
≤ 17
≤ 15
|
18
13
|
≤ 33
≤ 23
|
27
21
|
≤ 45
≤ 37
|
Поэтому, по аналогии с другими проявлениями старения было предложено выделить понятие "преждевременного пресбиакузиса" (Сагалович Б.М., 1978). Тональная пороговая аудиометрия является основным доступным методом оценки слуха при пресбиакузисе, проявление которого характеризуется повышением порогов слуха, главным образом, в области высоких частот: 4-8-10 кГц.
Речевая аудиометрия.
Метод определения состояния слуховой функции с помощью речи является наиболее ценным и физиологически обоснованным. Однако, использование живой речи (шепотной и разговорной) для этой цели имеет ряд отрицательных сторон, к которым, в основном, следует отнести различную интенсивность речевых сигналов, зависящую от индивидуальных голосовых особенностей исследователя, и использование различных слов-тестов без учета их частотной характеристики. Кроме того, методом акуметрии острота слуха определяется только расстоянием (в метрах), с которого обследуемый воспринимает речевые сигналы, что не дает точной оценки состояния слуховой функции.
Согласно требованиям ФАП МО ГА-2002 одним из основных методов исследования слуховой функции у летного состава в практике ВЛЭ является речевая аудиометрия.
Метод речевой аудиометрии позволяет определять остроту слуха речью с измерением уровня подаваемых обследуемому речевых сигналов (в децибелах). Исследования проводятся с помощью речевых аудиометров или сочетания приборов, состоящих из магнитофона, усилителя и аттенюатора с ценой деления 5 дБ. Могут быть использованы также тональные аудиометры со специальным входом на их аттенюаторы. Применяемая для речевой аудиометрии электроакустическая аппаратура позволяет регулировать интенсивность подаваемых речевых сигналов и определять процент разборчивости речи на различных уровнях громкости. Для исследования слуховой функции с помощью речи используются специальные слова разночастотных характеристик, рекомендуемые для проведения акуметрии и речевой аудиометрии ГОСТом 12.1.037 – 82 (Таблица 11, 12).
Таблица 11
Перечень слов для речевой аудиометрии
| требовать
милый
средний
скандальный
Зина
ученический
бровь
спасательный
успокаивать
сито
|
издалека
ребенок
старик
до свидания
чтец
количество
гильза
пьяный
машинный
перевязка
|
гость
техникум
убраться
язык
интерес
облить
хорошо
такой
кидать
Надежда
|
хата
вы
неужели
обжечь
огромный
зачеркивать
теплота
герб
никак
деревенский
|
| бег
отказ
выразительный
курточка
лошадка
кроме
травка
никогда
организация
раздумывать
|
скатерть
пушистый
два
жалоба
искать
писательский
докладчик
село
своевременно
кофейник
|
лед
также
забираться
походка
исправлять
кефир
город
доказательство
недружелюбный
сад
|
сказочка
слух
карман
печатный
сделать
безопасно
расширить
клуб
снова
лягушка
|
| |
хина
мельница
боевой
отъезд
чертежник
производительность
доверенность
гиря
просить
зима
|
тьма
вкус
исчерпывать
вата
отбор
влюбиться
стойка
жезл
решим
половина
|
|
Таблица 12
Перечень авиационно-профессиональных слов для речевой аудиометрии
| сближение
на посадку
автопилот
берите
в кабине
гироскоп
градусов
принял
заходить
вызываю
|
кромка
включил
автомат
вираж
выше
по курсу
прием
облачность
азимут
выхожу
|
встречный
не понял
глубина
правильно
выполнил
маркер
оператор
взлетная
туча
боковой
|
близко
прохожу
запрещаю
входите
давление
зона
на курсе
горючее
говорю
везде
|
| исправляю
снижение
скорость
верхняя
траверс
обратно
погода
фонарь
посадка
наблюдаю
|
обороты
отвечаю
нахожусь
вырулить
взлетайте
болтанка
канал
секунда
понятно
эшелон
|
видимость
генератор
вариант
зеленый
выпустил
местность
доложил
полет
форсаж
занимаю
|
тормоз
поворот
затвор
подождать
большой
включен
обзор
дальше
на привод
наведение
|
| |
на круг
на взлет
давайте
прошел
режим
слышу
разрешаю
расчетный
на снижение
шасси
|
закрыты
запас
говорит
горизонт
время
разворот
элероны
второй
ближний
осадки
|
|
Перед проведением исследования методом речевой аудиометрии обследуемый должен быть ознакомлен со звучанием предлагаемых речевых тестов и с процессом исследования. Оно начинается с определения порога слышимости речи, т.е. минимальной интенсивности речи, при которой обследуемый различает наличие звуков речи, но не понимает их смысл. В норме этот порог определяется на уровне 8-10 дБ. Затем при увеличении громкости ступенями по 5 дБ определяется процент разборчивости речи на каждом уровне интенсивности при предъявлении по 10 слов (1 слово – 10 %). Уровень громкости увеличивается до достижения максимальной разборчивости речи.
Результаты исследования – пороги разборчивости при каждом уровне громкости – регистрируются в виде отдельных точек на сетке системы координат (Рис.14), где на оси абсцисс указаны уровни интенсивности речи (децибелы от 0 до 100 дБ с интервалом 10 дБ), а по оси ординат – процент разборчивости речи (от 0 до 100 % – с интервалом 10 %).
Соединение полученных точек образует кривую нарастания разборчивости речи. По этой кривой в месте пересечения ее с вертикальной линией, обозначаю-

Рис. 14. Бланк для регистрации результатов речевой аудиометрии
щей интенсивность речи, определяются уровни порогов: начала появления звуков речи (0), 50 и 100-процентной разборчивости речи. При различных формах тугоухости кривые разборчивости имеют характерные особенности и потому диагностически значимы. В норме порог 50-процентной разборчивости чаще всего находится на уровне 30-35 дБ; порог 100-процентной разборчивости соответствует уровню 45-50 дБ выше тонального порога.
При нормальной слуховой функции определенная величина интенсивности речи соответствует проценту ее разборчивости, поэтому кривая нарастания разборчивости речи при нормальном слухе имеет характерную форму (Рис.15).

Рис. 15. Зависимость разборчивости речи от уровня звука при различных состояниях слуха
1 – норма; 2 – кондуктивная тугоухость; 3 – смешанная тугоухость; 4,5 - нейросенсорная тугоухость
При нарушении слуховой функции характер кривой нарастания разборчивости речи изменяется. При звукопроводящей тугоухости кривая нарастания разборчивости речи не отличается или мало отличается от нормальной кривой, но сдвинута от нее вправо на величину, равную потере слуха.
При поражении звуковоспринимающего аппарата (нейросенсорная тугоухость) речевая аудиограмма имеет восходящий пологий характер (см. рисунок 15). При таком типе аудиометрической кривой часто разборчивость речи не достигает 100% даже при максимальной интенсивности воспроизведения речевого сигнала. В отдельных случаях увеличение силы звука приводит к обратному эффекту, т.е. к снижению разборчивости речи. В противоположность этому, лица с потерей слуха по звукопроводящему типу (кондуктивная тугоухость) при достаточном усилении звука дают хорошую разборчивость речи.
Речевая аудиометрия в условиях воздействия шума.
Звуковой анализатор человека в течении всей жизни функционирует в окружении постоянного шумового фона, поэтому способность слышать в условиях шума является особенностью в повседневной жизни. Профессиональная деятельность летного состава протекает в условиях воздействия на звуковой анализатор шума, который оказывает маскирующее действие на орган слуха, а функция слуха летного и диспетчерского состава имеет значение для обеспечения выполнения профессиональных обязанностей.
Лица летного состава, подвергаясь в течение многих лет действию интенсивного внутрикабинного шума, вырабатывают способность эффективно воспринимать речевую и звуковую информацию даже при значительном уровне шума. Поэтому для определения функциональных возможностей органа слуха у членов экипажей ВС в условиях профессиональной деятельности исследование слуха – речевую аудиометрию – необходимо также проводить при воздействии на обследуемого широкополосного шума. Уровень шума может быть 80-110 дБА, что соответствует уровням внутрикабинного шума большинства самолетов и вертолетов ГА, но для унификации метода следует применять шум с интенсивностью 90 дБА.
Данный тест может проводиться с использованием "белого" шума, магнитной записи реального шума и в процессе "полета" на летном тренажере.
Проверка слуха методом речевой аудиометрии в условиях шума позволяет оценить способность обследуемого вести радиопереговоры и воспринимать акустические сигналы.
Определение способности пилота воспринимать речь и другую звуковую информацию на фоне внутрикабинного шума является наиболее достоверным тестом для окончательного решения вопроса о допуске к профессиональной деятельности по состоянию функции слуха.
Исследование слуховой функции в условиях шума проводится в звукозаглушающей камере. Широкополосный шум, записанный на магнитную пленку, или "белый" шум от аудиометра через усилитель воспроизводится в камере широкочастотными динамиками в свободном звуковом поле.
Интенсивность шума в месте нахождения головы обследуемого должна быть 90 дБА. Измерения уровня шума осуществляются по шкале "А" шумомером не ниже 2-го класса.
Исследование слуховой функции в шуме проводится согласно вышеописанной методики пороговой речевой аудиометрии.
Тональная надпороговая аудиометрия.
Тональная пороговая аудиометрия, являющаяся согласно требованиям ФАП МО ГА-2002 фактически основным методом аудиометрии в практике ВЛЭ, не отражает полностью состояние слуховой функции. Объясняется это тем, что метод не выявляет способность обследуемого воспринимать постоянно встречающиеся в повседневной жизни звуки надпороговой интенсивности, к которым относятся и звуки речи. Однако, необходимость проведения дифференциальной диагностики поражений звукового анализатора у лиц летного состава ГА в связи с возникшей в последние годы проблемой профессиональной нейросенсорной тугоухости требует применения других, дополнительных аудиологических тестов. Тональная надпороговая аудиометрия объединяет в себе большое количество тестов, имеющих важное дифференциально – диагностическое значение при определении уровня поражения звукового анализатора. Задача определения уровня поражения лежит в основе обязательного установления (в соответствии с требованиями ФАП МО ГА-2002) этиологического фактора диагностированной нейросенсорной тугоухости (постинфекционный, постинтоксикационный, посттравматический, шумовой, сосудистый и др).
В основе методов надпороговой аудиометрии лежит выявление феномена ускорения нарастания громкости (ФУНГ) или рекруитмента. Нейросенсорная тугоухость, обусловленная патологией улитки, как правило, характеризуется наличием ФУНГа. Субъективно ФУНГ проявляется в виде неприятных ощущений, вызываемых громкими звуками. Наиболее часто ФУНГ встречается при воспалительной и медикаментозной интоксикации улитки, гидропсе лабиринта.
Ретрокохлеарная патология, наоборот, обычно не сопровождается ФУНГом. Поэтому особую важность приобретает определение этого феномена у пилотов, в частности, с односторонней НСТ. Таким образом, целесообразна перспектива использования методик тональной надпороговой аудиометрии при обследовании летного состава ГА так же как и при экспертизе профессиональной пригодности у работников наземных "шумоопасных" профессий. Из всех методик надпороговой аудиометрии наиболее приемлемы в практике ВЛЭ по простоте и доступности могут быть использованы две:
1) определение слуховой адаптации с помощью теста исчезающего тона (Кархарт Р.)
2) SiSi тест.
Определение слуховой адаптации. Тест исчезающего тона (тест распада тона, Кархарт Р.)
Тест играет важную роль в дифференциальной диагностике ретролабиринтных поражений. Исследование проводится по воздушному звукопроведению. Оно заключается в ступенчатом (по 5 дБ) увеличении интенсивности тона (начиная с порогового значения) до тех пор, пока в течение 60 с восприятие его не станет устойчивым. Разница между полученной интенсивностью и порогом восприятия тона составляет искомую величину – сдвиг порога тона (величину пороговой адаптации) (рис. 16).

Рис. 16. Бланк адаптограммы
На рис. 16 представлен бланк адаптограммы. При нормальном слухе адаптация к пороговому тону в течение одной минуты практически не наступает, т.е. сдвиг порога исследуемого тона не превышает 10 дБ; при поражении рецептора улитки сдвиг равен 15-20 дБ, а при поражении слухового нерва достигает 30 дБ и более уже при небольшом нарушении слуха. Поэтому этот тест широко используется и для раннего выявления неврином слухового нерва.
SiSi тест (метод определения чувствительности к малым приращениям интенсивности).
Метод является одной из модификаций определения дифференциального порога восприятия интенсивности звука. Тест проводится при интенсивности звука 20 дБ над порогом слышимости. Каждые 4 с происходят кратковременные (200 мс) приращения интенсивности предъявляемого тона на 1 дБ. В норме и при нарушении звукопроводящего аппарата, а также при поражении ретрокохлеарных отделов анализатора, SiSi-индекс равен от 0 до 20%, т.е. обследуемые практически не различают увеличение звука на 1 дБ. При НСТ с поражением рецептора улитки этот показатель значительно возрастает и может достигать 100% при повышении порогов слышимости на величину порядка 40 дБ. Тест считается положительным, если индекс равен 70-100%, а отрицательным, если индекс составляет меньшую величину.
4. Акустическая импедансометрия и другие дополнительные методы исследования слуховой функции
Импедансометрия
– это объективный способ оценки функции среднего уха и прохождения слухового рефлекса, основанный на принципе эхолокации и исключающий возможность вмешательства обследуемого в процесс исследования слуха. Данный метод представляет собой регистрацию акустического сопротивления (или акустической проводимости) звукопроводящего аппарата слуховой системы. Импедансометрия позволяет провести дифференциальную диагностику патологии среднего уха (экссудативный средний отит, отосклероз, адгезивный отит, разрыв цепи слуховых косточек), а так же получить представление о функции VII и VIII пар черепномозговых нервов и стволомозговых слуховых проводящих путей. В клинической практике чаще всего используются два вида акустической импедансометрии – тимпанометрия и акустическая рефлексометрия. Наряду с другими методами объективной аудиометрии, такими как исследование отоакустической эмиссии (ОАЭ), они используются в топической диагностике, обычно при углубленном обследовании летного состава с целью уточнения характера снижения слуха.
Компьютерная аудиометрия
. Результаты исследования слуховой функции при использовании субъективных методов во многом зависят от внимания обследуемого, наличия субъективного шума в ушах, заинтересованности больного в получении достоверных результатов, а также от многих других факторов. Современным объективным и количественным способом оценки функциональных возможностей слуховой системы является компьютерная аудиометрия, основывающаяся на определении слуховых порогов с помощью слуховых вызванных потенциалов. Для экспертной оценки слуховой функции используют коротколатентные слуховые вызванные потенциалы (стволомозговые) - КСВП и длиннолатентные (корковые) слуховые вызванные потенциалы - ДСВП. Исследование проводится на компьютерном аудиометре. Посредством регистрации КСВП на компьютерном аудиометре имеется возможность получить объективные данные о состоянии слуховой функции обследуемых (более точные и стабильные, не зависящие от воли человека).
Методика исследования. Обследуемый сидит в кресле с подголовником и подлокотниками, в расслабленной позе. Используется три хлорсеребряных чашечных электрода, закрепленных на голове с предварительной обработкой кожи спиртом и физиологическим раствором. Закрепляются электроды лейкопластырем, на чашечки электродов наносится специальная паста. Активный электрод закрепляется на вертексе (макушке), референтный - на мастоиде, ипсилатеральном исследуемому уху, а заземляющий - на контрлатеральном. Обследуемому предварительно проводится тональная аудиометрия. Акустическим стимулятором для получения КСВП является щелчок. Предъявляется серия из 2000 звуковых стимулов (щелчков) с частотой 4000 Гц и интенсивностью от максимальной (110-100 дБ) до пороговой. Исследование длится 1,5-2 часа, при этом не должно допускаться утомление обследуемого. В ответ на акустическую стимуляцию регистрируется КСВП в виде комплексов, состоящих из 6-7 волн. Наиболее устойчивой в комплексе КСВП является пятая волна, регистрируемая вплоть до пороговых уровней стимуляции. Поэтому задача исследования сводится к определению наименьшей интенсивности стимула (щелчка), при котором пятая волна еще выявляется. Эта величина принимается за порог пятой волны. Каждая из шести волн КСВП отражает возбуждение определенного отдела звукового анализатора, а именно, первая позитивная волна - проявление функциональной деятельности слухового нерва, вторая - кохлеарных ядер, функциональной деятельности слухового нерва, третья - оливарного комплекса, четвертая - латеральной петли, пятая - нижних бугров четверохолмия, шестая - медиальных коленчатых тел. На основании приведенных данных КСВП называются стволомозговыми, их используют для суждения о топике поражения слуховых путей.
Это дает основание говорить о преимуществах компьютерной аудиометрии для врачебно-летной экспертизы, в особенности при решении спорных вопросов, не поддающихся выяснению с помощью обычных субъективных методов исследования. Помимо этого, компьютерная аудиометрия имеет большое значение и для решения других задач: 1) раннего выявления врожденной глухоты; 2) установления слуха у лиц, которые по разным причинам не хотят или не могут вступить в контакт с исследователем, а также у лиц со значительным шумом в ушах; 3) для установления топики поражения слуховых путей.
ГЛАВА 3. ВРАЧЕБНО-ЛЕТНАЯ ЭКСПЕРТИЗА ПРИ НАРУШЕНИИ СЛУХА У ЛИЦ ЛЕТНОГО СОСТАВА ГРАЖДАНСКОЙ АВИАЦИИ
При принятии обоснованного медицинского заключения о профессиональной пригодности пилотов с нарушением функции звукового анализатора необходимо учитывать данные комплексного клинико-аудиометрического обследования.
Тональная пороговая аудиометрия позволяет получить качественную и количественную характеристики слуха. При нормальном слухе кривые воздушной и костной проводимости аудиограммы проходят вблизи нулевой линии или накладываются на нее.
Для ранних стадий нарушения звукопроводящего аппарата характерно понижение слуха на низкие частоты с сохранением слышимости высоких тонов. Кривая воздушной проводимости на аудиограмме при этом "восходящая", кривая костной проводимости располагается вблизи нулевой линии. При начальных формах нарушения звуковоспринимающего аппарата характерна "нисходящая" кривая за счет худшего восприятия высоких частот. Кривые воздушной и костной проводимости идут параллельно.
Повышение порогов восприятия тонов речевых частот характеризует состояние речевого восприятия и, как правило, должно соответствовать остроте речевого слуха по данным исследования другими методами (шепотная акуметрия, речевая аудиометрия).
Оценку речевого слуха по данным тональной аудиометрии следует проводить по речевым частотам. При этом необходимо учитывать, что в большинстве случаев характер аудиометрических кривых у лиц летного состава нисходящий, т.е. чувствительность к звукам на частоте 500 Гц сохранена, а на частотах 1000 и 2000 Гц наблюдается понижение чувствительности соответственно на 10 и 20 дБ. Такое соотношение сохраняется и в случаях дальнейшего понижения слуха, постепенно отражая вовлечение в патологический процесс более низких частот.
При исследовании слуха у лиц летного состава ГА Козиным О.В. (1983) было установлено, что в условиях профессиональной деятельности летного состава (шум 90-100 дБ) речевая связь может быть осуществлена с учетом физиологических возможностей органа слуха (нисходящий тип аудиограммы) только тогда, когда у пилота пороги слуха на речевых частотах 500, 1000, 2000 Гц будут не ниже 15, 25 и 35 дБ, соответственно (среднеарифметическая величина по этим трем частотам - 25 дБ). Для лиц с таким понижением слуха в целях достижения 100-процентной разборчивости речи потребуется усиление громкости в пределах 25-30 дБ по сравнению с уровнем громкости, достаточной при нормальном слухе. При нейросенсорной тугоухости в отдельных случаях может наблюдаться феномен гиперакузиса, когда усиление воспринимаемого звука вызывает неприятные болезненные ощущения в ушах и резкое уменьшение разборчивости речи. Это обстоятельство заставляет предъявлять к лицам летного состава с нейросенсорной тугоухостью более высокие требования по остроте слуха, достаточной для восприятия речи в условиях шума без большого усиления (восприятие шепотной речи с расстояния не менее 2 м).
При кондуктивной тугоухости (нарушение звукопроведения в результате воспалительных процессов верхних дыхательных путей и среднего уха) характер аудиометрической кривой более пологий. Критерием оценки состояния слуха также является восприятие звуков речевых частот (500, 1000, 2000 Гц). Учитывая пологий характер тональной аудиограммы, понижение восприятия должно быть не более 25 дБ на каждой из речевых частот, что соответствует восприятию шепотной речи с расстояния 1 м. Это допустимо, так как при кондуктивной тугоухости усиление воспринимаемого звука дает и повышение разборчивости речи до 100% без явлений дискомфорта.
Оценка состояния слуховой функции у лиц летного состава по результатам речевой аудиометрии проводится в соответствии с уровнями усиления передаваемой речи, необходимыми для достижения 50 и 100-процентной разборчивости речи в тишине (в норме эти уровни, соответственно, равны 30-35 дБ и 40-45 дБ выше тонального порога). Исходя из того, что профессиональная деятельность летного состава протекает в условиях шума, для восприятия речи требуется усиление речевого сигнала с помощью переговорной аппаратуры, но это усиление не может быть беспредельным. Наибольший уровень качественно воспринимаемой речи ограничивается у человека уровнем 90-100 дБ. Следовательно, для летного состава с пониженным слухом в условиях полета можно допустить усиление передаваемой речи по сравнению с установленной нормой не более 30 дБ, при этом достижение 100-процентной разборчивости речи на этой интенсивности воспроизведения обязательно.
Окончательное решение вопроса о годности лиц летного состава ГА к профессиональной деятельности по состоянию функции органа слуха, в том числе возможности качественно вести связь в условиях шума, выносится по данным речевой аудиометрии в шуме. Критерием оценки годности этих лиц следует считать восприятие речевых тестов на фоне имитированного шума с уровнем 90 дБА в свободном звуковом поле со 100 – процентной разборчивостью.
В соответствии с ГОСТом 12.1.037 – 82 профессиональную пригодность лиц летного состава оценивают по восприятию шепотной речи:
- для лиц с нейросенсорной тугоухостью – с расстояния не менее 2 метров;
- для лиц с кондуктивной тугоухостью – с расстояния не менее 1 метра.
Изучая проблему нейросенсорной тугоухости на большом статистическом материале Козин О.В. (1983) разработал и предложил новые критерии оценки слуховой функции у пилотов ГА (табл. 13).
Таблица 13
Критерии оценки слуховой функции у лиц летного
состава гражданской авиации (Козин О.В., 1983)
| Степень снижения слуховой функции
|
Величина снижения слуха на речевых частотах (среднее арифметическое значение на частотах 500, 1000 и 2000 Гц)
|
| I степень
|
11-20 дБ
|
| II степень:
|
21-30 дБ
|
| II-A степень
|
25 дБ ( 15 – 25 – 35 )
|
| |
500Гц 1000Гц 2000Гц
|
| |
( ГОСТ)
|
| II-Б степень
|
более 25 дБ
|
Примечание: - лица, имеющие снижение слуха II-A степени, допускаются к летной работе; вопрос о допуске лиц, имеющих снижение слуха II-Б степени, решается индивидуально с учетом результатов углубленного клинико-аудиологического обследования (с использованием дополнительных функциональных аудиологических тестов: аудиометрии в условиях воздействия авиационного шума, надпороговой тональной аудиометрии и др.).
Эти критерии в отличие от существующих критериев оценки слуха для работников наземных профессий (Остапкович В.Е., Пономарева Н.И., 1979) позволяют адекватно условиям труда определять степень профессиональной пригодности лиц летного состава ГА.
По методу речевой аудиометрии сохранность слуховой функции у лиц летного состава оценивается при смещении артикуляционных кривых в сторону понижения слуха не более 30 дБ. 100% разборчивость речи при этой интенсивности обязательна. Лица, имеющие снижение слуха I, II-А степени подлежат динамическому наблюдению с проведением лечебно-профилактических мероприятий[§]
.
Требования к слуху сформулированы в рекомендациях Международной организации гражданской авиации (ИКАО). Кандидат из числа летного состава не должен иметь потери слуха на каждое ухо в отдельности более 35 дБ на любой из трех частот 500, 1000 или 2000 Гц или более 50 дБ на частоте 3000 Гц (в соответствии с зарубежными стандартами). Кандидат с потерей слуха, превышающей указанные выше нормы, может быть признан годным к летной работе при условии, что он имеет нормальную остроту слуха при шумовом фоне, воспроизводящем или имитирующем обычный шум в кабине воздушного судна, который накладывается на речь и сигналы радиомаяков.
Для диспетчеров УВД требования по остроте слуха такие же, как и для летного состава. Кандидат с потерей слуха, превышающей указанные нормы, может быть признан годным к работе по УВД при условии, что он имеет нормальную остроту слуха при шумовом фоне, воспроизводящем или имитирующем обычный шум на рабочем месте диспетчера УВД.
Учитывая характер и аудиометрический нисходящий рельеф снижения слуха у лиц летного состава, во врачебно-летной экспертизе гражданской авиации России допускается повышение уровней порогов восприятия тонов: на 500 Гц-15 дБ, 1000 Гц – 25 дБ, 2000 Гц – 35 дБ. Соответственно, величина снижения слуха на речевых частотах (среднеарифметическое значение на частотах 500, 1000, 2000 Гц) не должно превышать 25 дБ (ГОСТ 12.1.037-82).
В ФАП МО ГА-2002 определены следующие требования к слуху авиационного персонала: 1) на пороговой тональной аудиограмме на частотах 250, 500,1000, 2000, 4000, 8000 Гц пороги слуха не должны превышать 10 дБ, восприятие шепотной речи сохранено с расстояния не менее 6 метров на басовую и дискантовую группу слов.
Признается негодным к выполнению профессиональных обязанностей авиационный персонал, у которого зарегистрирована стойкая полная глухота на одно ухо; понижение слуха на оба уха при повышении порогов слуха в области восприятия речевых частот (500, 1000, 2000 Гц.) от 20 до 30 дБ, на частоте 4000 Гц – до 65 дБ и восприятии шепотной речи на расстоянии до 2 м.
По индивидуальной оценке принимается медицинское заключение о допуске обследуемого к летной работе в случаях, когда диагностируется:
· стойкое понижение слуха на оба уха при повышении порогов слуха в области восприятия речевых частот (500, 1000, 2000 Гц) от 10 до 20 дБ, на частоте 4000 Гц – до 65 дБ и восприятие шепотной речи на расстоянии 3 м и выше.
· стойкое понижение слуха на одно ухо при повышении порогов слуха в области восприятия речевых частот (500, 1000, 2000 Гц) от 20 до 30 дБ, на частоте 4000 Гц. – до 65 дБ, при восприятии шепотной речи на расстоянии до 2 м и при повышении порогов слуха в области речевых частот (500, 1000, 2000 Гц) до 10 дБ, на частоте 4000 Гц – до 50 дБ и восприятии шепотной речи на расстоянии до 5 м на другое ухо.
Выявление у освидетельствуемого изолированного повышения порогов на частотах 4000-8000 Гц до 30-40 дБ не может быть основанием для установления клинического диагноза, но является поводом для наблюдения данного лица у врача оториноларинголога в случае отсутствия признаков пресбиакузиса.
При установлении предварительного диагноза НСТ необходимо указать ее стадии в соответствии с общепринятой клинической классификацией (Самсонов Ф.А., Крюков А.И., 2000).
Классификация НСТ по стадиям развития:
| 1) Внезапная НСТ
|
Характеризуется наступлением нарушения слуха, иногда субъективного шума, как правило, в одном ухе, в течение нескольких часов, во время сна. Обнаруживается после пробуждения.
|
| 2) Острая НСТ
|
Развивается постепенно в течение 3-х суток.
|
| 3) Подострая НСТ
|
Развитие заболевания продолжается более 1 недели.
|
| 4) Хроническая НСТ
|
а) Стабильная стадия; б) Прогрессирующая стадия (выявляется при динамическом исследовании слуха)
|
К хронической НСТ относится профессиональная тугоухость, развивающаяся обычно после длительного периода работы (10-14 лет) в условиях воздействия интенсивного производственного шума при 40 часовой рабочей недели.
При вынесении медицинского заключения необходимо дифференцировать НСТ от других заболеваний органа слуха, а также указывать этиологию (постинфекционная, постинтоксикационная, постравматическая, на фоне атеросклероза, гипертонической болезни, нарушения церебральной гемодинамики, пресбиакузис, нарушение липидного обмена и др.), или отмечать – "неясной этиологии" (ФАП МО ГА-02). Кроме того, обязательно указывается степень снижения слуха согласно Международной классификации.
Заключение врача оториноларинголога "начальные проявления НСТ" не характеризует стадии развития и степени выраженности НСТ как заболевания и поэтому не имеет клинического значения. Не рекомендуется употреблять устаревший термин "кохлеарный неврит", а использовать при формулировке диагноза принятый в настоящее время термин "нейросенсорная или сенсоневральная тугоухость".
При оценке слуховой функции в заключении врача также рекомендуется отражать в диагнозе степень ее нарушения в соответствии с Международной классификацией тугоухости. Эта классификация, основанная на усредненных значениях порогов звуковосприятия на четырех частотах речевого диапазона (500, 1000, 2000 и 4000 Гц) дает характеристику остроты восприятия речи при различных типах тугоухости (Альтман Я.А., Таварткиладзе Г.А., 2003).
Пример формулировки диагноза: Двусторонняя нейросенсорная тугоухость со снижением слуха на правое ухо (АD) I степени, на левое (AS) – II степени.
При впервые выявленной нейросенсорной тугоухости неясной этиологии пилоту рекомендуется консультация у профпатолога. Окончательное решение о профессиональной пригодности принимается с учетом заключения врача профпатолога.
При допуске к летной работе члена экипажа с предельно допустимой остротой слуха требуется представление во ВЛЭК акта проверки на летном тренажере качество ведения им двустороннего радиообмена.
ГЛАВА 4. ПРОБЛЕМА ПРОФЕССИОНАЛЬНОЙ ТУГОУХОСТИ У ЛИЦ
"ШУМОВЫХ" ПРОФЕССИЙ
Материал этой главы посвящен рассмотрению общих вопросов профессиональной тугоухости и подходов к их решению, принятых в профпатологии, знание которых важно для врачебно-летной экспертизы гражданской авиации.
Среди больных нейросенсорной тугоухостью значимое место принадлежит лицам, у которых это заболевание развилось в результате воздействия интенсивного шума, прежде всего производственной природы. По данным Госкомстата России во вредных условиях труда, не отвечающих санитарно-гигиеническим требованиям, трудится каждый пятый от общего числа работающих в промышленности, что обусловливает высокий риск развития профессиональной тугоухости.
Несмотря на то, что проблеме борьбы с шумом и предупреждению профессиональных заболеваний в нашей стране уделяется большое внимание, направленное на обеспечение системы профилактических мероприятий и предупреждение нарушений здоровья, в настоящее время еще создаются машины, которые при работе генерируют шум и вибрацию, превышающие предельно допустимые уровни. В России в настоящее время предельно допустимым уровнем производственного шума принята величина 80 дБА[**]
. В производственных условиях шум действует в комплексе с другими неблагоприятными производственными факторами, усугубляющими его негативный эффект на организм работника: вибрация, вынужденная рабочая поза, выраженное нервно-эмоциональное напряжение и другие.
Интенсивный производственный шум вызывает специфические нарушения в органе слуха – ауральные нарушения, которые классифицируются как нейросенсорная тугоухость, и экстраауральные расстройства – изменения со стороны многих органов и систем: сердечно-сосудистой, эндокринной, нервной и других.
Нейросенсорная тугоухость шумовой этиологии во всех высокоразвитых странах занимает наибольший удельный вес среди других форм этой патологии. Она расценивается как профессиональная тугоухость, имеет различную степень снижения слуха и развивается у рабочих "шумоопасных" профессий в самом трудоспособном возрасте, что ставит эту проблему в ряд социально важных.
В общероссийской структуре профессиональных заболеваний профессиональная тугоухость занимает одно из первых мест и составляет в целом по России порядка 16-17%.
Однако, в некоторых отраслях промышленности эти цифры достигают 35-40% (ткацкое, кузнечно-прессовое производство; авиационная, автомобильная, горно-рудная промышленность и др.).
Шум действует через проводящие пути (наружный слуховой проход, среднее ухо, базиллярную мембрану Кортиева органа), оказывая затем влияние на звуковоспринимающий аппарат – наружные волосковые клетки Кортиева органа, спиральный ганглий (1 нейрон центрального отдела анализатора) и центральные нервные пути, заканчивающиеся в височной доле мозга.
Действующий на орган слуха шум довольно длительное время не вызывает патологических изменений, т.к. ухо обладает большой степенью адаптации. Однако, в дальнейшем наступает утомление элементов Кортиева органа, прежде всего наружных волосковых клеток (НВК), в основе чего лежит изменение их биохимических обменных реакций. При нарастании процесса утомления наступают дистрофические изменения НВК, затем всей улитки, спирального ганглия и других структур, т.е. патологический процесс носит восходящий характер.
Профессиональная тугоухость развивается обычно после более или менее длительного периода работы в шуме. Наиболее критическим является стаж работы 10-14 лет в условиях воздействия интенсивного производственного шума. Физические характеристики шума не снимают вопроса о роли индивидуальных особенностей организма в развитии тугоухости. Имеет значение повышенная чувствительность органа слуха к неблагоприятному воздействию шума у подростков, т.е. в период возрастного формирования звукового анализатора, а также в период возрастной инволюции органа слуха, т.е. формирования пресбиакузиса. Более того, имеются люди, которые отличаются повышенной чувствительностью к шуму, что так же проявляется в ускоренных темпах развития тугоухости.
Являясь решающим этиологическим фактором развития нейросенсорной тугоухости, производственный шум, оказывая свое негативное влияние, действует на фоне и в комплексе не только других вредных производственных факторов, но и с другими факторами риска, например, такими как несостоятельность церебрального кровообращения, хронические заболевания среднего уха и травмы головного мозга. Кроме того, нельзя отрицать и усугубляющее действие возраста, бытового шума, табакокурения, приема лекарственных средств и других факторов.
Для диагностики профессиональной тугоухости большое значение имеют некоторые типичные особенности, выявляемые при аудиометрическом обследовании.
Поражение органа слуха в результате воздействия шума проявляется вначале повышением порога слуха на частотах 12, 14, 16 кГц, затем - 4000 Гц. Это изменение в начальной стадии заболевания практически не отражается на слуховом восприятии речи, поэтому работающие в этот период практически не замечают имеющегося понижения слуха. Однако, при этом могут отмечаться некоторые экстраауральные эффекты, проявляющиеся в том, что нарушается сон, появляется повышенная раздражительность, могут быть головные боли, периодический шум в ушах. Субъективные ощущения понижения слуха наступают по мере прогрессирования снижения слуха в области восприятия звуковых (разговорных) частот - 500, 1000, 2000 Гц, которые обычно развиваются медленно, вначале проявляясь нарушением разборчивости речи, особенно в шумной обстановке. Нарушение слуха постепенно нарастает с увеличением стажа работы в "шумоопасной" профессии. Таким образом, ранние изменения слуховой функции возможно выявить только с помощью аудиометрии.
С увеличением стажа работы в шуме профессиональная тугоухость при аудиометрическом исследовании характеризуется пологой нисходящей кривой с наибольшим повышением порога слуха на 4000 Гц и постепенным повышением порогов слуха на 2000, 1000, 500 Гц.
Как костное, так и воздушное звукопроведение при "шумовой" тугоухости нарушается в одинаковой степени по всему диапазону звуковых частот, т.е. отсутствие костно-воздушной диссоциации является типичным признаком профессиональной тугоухости. При шумовой тугоухости, как правило, страдают оба уха в одинаковой степени.
Исследование органа слуха для выявления профессиональных воздействий должно проводиться в следующей последовательности:
1. Изучение анамнеза (длительность снижения слуха, его возможная связь с перенесенным острым или хроническим воспалительным заболеванием уха, изучение стажа работы в условиях воздействия шума, возможное улучшение или ухудшение слуха в шумной обстановке, т.е. выявление симптомов экспозиции и элиминации и др.).
2. Осмотр ЛОР-органов, при котором особое внимание необходимо уделять состоянию барабанной перепонки, сопутствующей патологии полости носа и носоглотки. Необходимо помнить, что частые насморки, гаймориты, тубоотиты обусловливают наличие кондуктивного компонента при профессиональной тугоухости. Шумо-вибрационное воздействие вызывает незначительное втяжение барабанной перепонки, иногда инъекцию кровеносных сосудов в области рукоятки молоточка. Однако, чаще всего барабанная перепонка при нейросенсорной тугоухости не изменена и имеет обычный цвет и опознавательные контуры.
3. Исследование камертонами. Как уже отмечалось ранее, в повседневной практике для дифференциальной диагностики кондуктивной и нейросенсорной тугоухости достаточно применять три весьма простых теста - Федеричи, Ринне и Вебера. Необходимо отметить, что данные камертонального исследования дают лишь представление о состоянии слуховой функции и не могут быть использованы для решения вопроса о степени потери слуховой функции, тем более - о трудоспособности обследуемого, имеющего тугоухость.
4. Аудиометрические исследования имеют решающее значение в диагностике профессиональных нарушений слуха. Они проводятся с целью определения функции звукового анализатора, оценки степени снижения слуха и дифференциальной диагностики поражения различных его отделов.
В клинической практике широкое распространение получили тональная пороговая и надпороговая аудиометрии. С их помощью можно выявить самые незначительные, а, следовательно, начальные изменения слуха, что имеет большое значение для ранней диагностики нарушений слуха от воздействия производственного шума. Аудиометрия по сравнению с другими методами имеет ряд преимуществ. К ним относится, прежде всего, строгая дозировка подаваемого сигнала, что дает возможность сравнить результаты исследования с ранее проведенными.
Тональная пороговая аудиометрия дает качественную и количественную характеристику слуховой функции по всему диапазону частот как воздушного, так и костного звукопроведения и осуществляется с помощью электроакустической аппаратуры - аудиометров. Существует несколько типов аудиометров, различие между которыми заключается в диапазоне генерируемых тонов, в ступенчатости изменения их интенсивности. Обычно употребляемые в практике аудиометры генерируют чистые тоны: 125, 250, 500, 1000, 1500, 2000, 3000, 4000, 6000, 8000 Гц с интенсивностью до 100 дБ при скачкообразной регулировке интенсивности по 5 или 2,5 дБ.
Тональной аудиометрией определяют пороги слуховой чувствительности по всему диапазону звуковых частот аудиометра. Пороги слуха количественно выражаются в децибелах (дБ) и относительно полно отражают слуховую чувствительность исследуемого уха.
Методы надпороговой аудиометрии, несмотря на определенные недостатки и трудности в их проведении, занимают в настоящее время существенное место при исследовании слуховой функции лиц, подвергающихся воздействию шума, вибрации. Они дополняют результаты тональных аудиометрических исследований, а также являются подкрепляющими показателями в дифференциальной диагностике нейросенсорной тугоухости. Наиболее доступными, легко выполнимыми и достаточно надежными принято считать исследование дифференциального порога восприятия силы звука (проба Люшера) и определение уровня слухового дискомфорта.
Минимальное повышение или понижение интенсивности, при котором субъективно отмечается изменение громкости звука, называется дифференциальным порогом изменения силы звука (ДПС). Этот порог при звуке в 40 дБ равен для нормального слуха повышению или понижению интенсивности звука от 0,5 до 1,2 дБ. Больные с поражением слухового рецептора острее воспринимают изменение интенсивности звука и дифференциальные пороги у них уменьшаются. При нейросенсорной тугоухости с повышением порога слышимости на исследуемой частоте не менее 40 дБ порог различаемой модуляции снижается и составляет, приблизительно, 0,4 дБ.
Разница между порогами восприятия исследуемого тона и порогами дискомфорта составляет до 90 дБ. При кондуктивной тугоухости пороги дискомфорта повышаются до 110 дБ или же вовсе не определяются. Однако, необходимо учитывать, что пороги слышимости у больных нейросенсорной тугоухостью повышены, что обусловливает сужение слухового поля, т.е. сближение порогов дискомфорта с порогами слышимости.
Перечисленные тесты, в основном, используются для определения топики процесса, т.е. отличия поражения рецептора улитки от ретрокохлеарного процесса.
В целях определения профессиональной пригодности лиц некоторых "шумоопасных" профессий во время предварительных или периодических осмотров рекомендуется проводить измерение индивидуальной чувствительности органа слуха к шуму путем определения кратковременной слуховой адаптации (КСА).
КСА используется как один из параметров, характеризующих индивидуальную чувствительность звукового анализатора к шуму. Сдвиг порога слышимости, возникающий при кратковременной адаптации, от 20 дБ и более свидетельствует об устойчивости органа слуха к воздействию шума. Наоборот, малая величина сдвига порога (0-15 дБ) расценивается как неблагоприятный прогностический фактор, указывающий на возможность раннего развития "шумового" поражения органа слуха.
Несмотря на то, что в настоящее время основным методом аудиологического обследования является тональная пороговая аудиометрия, в сложных случаях необходимо применение более широкого круга современных аудиометрических, вестибулярных, электрофизиологических методов исследования (компьютерная объективная аудиометрия, исследование вызванной отоакустической эмиссии, импедансометрия и др.). Большое значение в дифференциальной диагностике имеют методы исследования вестибулярной функции. Большую помощь оториноларингологу могут оказать также консультации терапевта, невролога, офтальмолога, эндокринолога и других специалистов. Поэтому окончательную диагностику профессиональной тугоухости целесообразно проводить в условиях крупных специализированных по профпатологии или оториноларингологии учреждениях.
При дифференциальной диагностике следует учитывать также признаки шумового воздействия со стороны других органов и систем. Так, как правило, нарастание степени тугоухости шумовой этиологии происходит параллельно с общими сосудистыми нарушениями в виде вегетососудистой дистонии, чаще вначале по гипотоническому, а затем по гипертоническому типу; вестибулярными нарушениями в зависимости от стажа работы в условиях шума и возраста больных.
Изменение мозгового кровообращения может также способствовать развитию нарушений центральной нервной системы, проявляющихся астено-невротическими реакциями и патологией диэнцефальной сферы, что, в свою очередь, провоцирует развитие вегетососудистых и нейроэндокринных нарушений (дисфункция щитовидной и половых желез, нарушение трофики кожи, заболевания желудочно-кишечного тракта), нередко встречающихся у лиц, которые подвергаются воздействию производственного шума.
Дифференциальный диагноз с тугоухостью, связанной с хроническим гнойным отитом и его последствиями, достаточно прост. Характерная отоскопическая картина, гноетечение из ушей в анамнезе и наличие костно-воздушного интервала при аудиологическом обследовании больных с хроническим отитом являются четкими дифференциально-диагностическими признаками.
Характерная аудиологическая картина, типичная для кондуктивных форм тугоухости (наличие костно-воздушного интервала при аудиологическом исследовании, отрицательные показатели камертональных проб Ринне и Федеричи, латерализация звуков в хуже слышащее ухо при пробе Вебера), как правило, являются достаточными для дифференциальной диагностики с тимпанальной и смешанной формами отосклероза.
Определенные трудности могут возникнуть при дифференциальной диагностике профессиональной тугоухости с кохлеарной формой отосклероза, которая характеризуется постепенным нарастанием тугоухости, обычно с двусторонним поражением, отсутствием костно-воздушного интервала при аудиологическом исследовании, нечеткими, нередко положительными результатами камертональных проб, выраженным ФУНГом, наличием субъективного шума в ушах низкочастотного характера, длительно сохраняющейся разборчивостью речи и нередко сопровождающейся вестибулярной дисфункцией, то есть теми признаками, которые могут быть и при профессиональной тугоухости. В этом случае можно ориентироваться на дополнительные данные анамнеза (работа в "шумоопасном" производстве, указания на наследственный характер заболевания у больных отосклерозом и др.), характерную отоскопическую картину при отосклерозе: широкие слуховые проходы или наличие экзостозов, отсутствие серы, истончение и легкая ранимость кожи слуховых проходов, истончение барабанных перепонок и розоватое просвечивание промонториума. Симптом улучшения слуха в шумной обстановке (паракузис Виллизия) характерен для большинства больных отосклерозом. Значительно облегчает задачу дифференциальной диагностики наличие данных аудиометрического исследования в динамике (по годам). Эти данные дают возможность выявить типичное для шумового воздействия начальное повышение порогов слуха на 4000 Гц. Для отосклероза характерна тугоухость с дополнительным повышением порогов звуковосприятия в области 2000 Гц.
Характеризуя данные других современных методов аудиологического исследования, следует отметить характерное для отосклероза плохое восприятие низких тонов (ниже 85 Гц), тогда как при нейросенсорной тугоухости, включая и профессиональную тугоухость, восприятие низких тонов относительно сохранено. Высокий уровень звукового дискомфорта более характерен для отосклероза. В некоторых случаях для дифференциальной диагностики могут иметь значение характерные для отосклероза положительные данные импедансометрии.
В практике профпатологии наиболее часто приходится решать задачу по дифференциальной диагностике нейросенсорной тугоухости профессиональной этиологии и нейросенсорной тугоухости другой этиологии, например, инфекционной, сосудистой, травматической, токсической, генетически обусловленной и др. Типичными для тугоухости профессиональной этиологии являются постепенное нарастание тугоухости, начиная с повышения порогов на 4000 Гц, длительное сохранение 100% разборчивости речи, двустороннее поражение органа слуха, отсутствие костно-воздушной диссоциации порогов слуха, сохранение нормальных порогов восприятия ультразвука, раннее повышение слуховых порогов на 12 кГц при исследовании в широком диапазоне частот, динамика ФУНГа и его исчезновение по мере нарастания тугоухости, относительно позднее появление субъективного шума низкочастотного характера в обоих ушах и в голове, и, наконец, наличие признаков шумового воздействия со стороны других органов и систем.
Для тугоухости другой этиологиии, в отличие от профессиональной "шумовой" тугоухости, более типичными являются: неравномерность понижения слуха на оба уха, относительно рано появляющееся нарушение разборчивости речи, резко выраженный ФУНГ, высокие пороги восприятия ультразвука (особенно выраженные при ототоксической, травматической и генетически обусловленной нейросенсорной тугоухости), относительно раннее появление субъективного шума в ушах высокочастотного характера, чаще – в хуже слышащем ухе.
Надпороговые тесты дополняют тональные аудиометрические исследования подкрепляющими показателями для дифференциальной диагностики профессиональной нейросенсорной тугоухости.
Одним из объективных методов исследования слуха является измерение акустического импеданса среднего уха. Метод позволяет дифференцировать различные формы тугоухости, а также повышает достоверность топической диагностики нарушений в звуковом анализаторе. Импедансометрия может быть использована для диагностики ранних нарушений функции органа слуха у работающих в условиях воздействия интенсивного производственного шума.
Акустический рефлекс, как правило, отсутствует у больных отосклерозом и адгезивным средним отитом и полностью сохраняется у больных с нейросенсорной тугоухостью, составляя в среднем 80-90 дБ над уровнем 2×10-5
Па, что соответствует его значению в норме. Величина его существенно не меняется даже в случаях, когда потеря слуха составляет 60-70 дБ. Лишь при большой степени потери слуха порог рефлекса повышается или рефлекс вовсе не воспроизводится.
В последние годы в практику оториноларингологического обследования все шире внедряются методы исследования вызванной отоакустической эмиссии.
Отоакустическая эмиссия (ОАЭ) представляет собой акустический ответ, являющийся отражением нормального функционирования слухового рецептора. Это чрезвычайно слабые звуковые колебания, генерируемые улиткой, которые могут быть зарегистрированы в наружном слуховом проходе при помощи высокочувствительного низкошумящего микрофона. Колебания эти являются результатом активных механических процессов, протекающих в органе Корти, а именно – в наружных волосковых клетках.
Различают спонтанную
и вызванную
ОАЭ. Спонтанная ОАЭ может быть зарегистрирована в наружном слуховом проходе человека в отсутствие звуковой стимуляции. Вызванная ОАЭ регистрируется в ответ на звуковую стимуляцию и, в свою очередь, делится на несколько подтипов: задержанную вызванную ОАЭ, ОАЭ на частоте продукта искажения и ОАЭ на частоте стимуляции. Реально при регистрации вызванной ОАЭ измеряются не движения барабанной перепонки, а звуковое давление.
У лиц с нормальным слухом пороги возникновения задержанной вызванной ОАЭ и ОАЭ на частоте продукта искажения очень близки к субъективным порогам слышимости. Отличительной особенностью данного класса ОАЭ является то, что при наличии нейросенсорной тугоухости, сопровождающейся повышением порогов слышимости, амплитуда ОАЭ уменьшается, появляется выпадение восприятия отдельных частот, а при повышении слуховых порогов более 30дБ ОАЭ не регистрируется.
Количественную оценку степени снижения слуха у лиц "шумовых" профессий (особенно при решении вопросов экспертизы трудоспособности, а также при динамическом наблюдении за состоянием слуха) следует производить с учетом показателей аудиометрического исследования слуха. Изменение слуховой чувствительности в области восприятия зоны речевых частот (500, 1000, 2000 Гц), по данным тональной аудиометрии, отражает состояние речевого восприятия, т.е. характеризует состояние остроты слуха. Поэтому ведущими в оценке состояния слуховой функции являются средние арифметические показатели порогов слуха в области восприятия речевых частот и частоты 4000 Гц.
Результаты аудиометрического исследования слуха должны быть оценены по таблице количественных критериев оценки слуха (табл. 14), определяющих степень потери слуха в зависимости от состояния слуха работающих[††]
.
Таблица 14
Критерии оценки слуховой функции для лиц,
работающих в условиях воздействия шума и вибрации
| |
Величины потерь слуха (дБ)
|
| Степени потери слуха
|
На речевых частотах (среднее арифметическое значение на частотах 500, 1000, 2000 Гц)
|
На частоте
4000 Гц
|
| Признаки воздействия шума на орган слуха
|
менее 10
(500 Гц – 5;
1000 Гц – 10;
2000 Гц – 10)
|
менее 40
|
| I степень (легкое снижение слуха)
|
10-20
|
60±20
|
| II степень (умеренное снижение слуха)
|
21-30
|
65±20
|
| III степень (значительное снижение слуха)
|
31 и более
|
70±20
|
В основу количественных критериев снижения слуха положена средняя арифметическая величина потери слуха на частотах 500, 1000, 2000 Гц, что характеризует степень потери слуха.
0 степень – признаки воздействия шума на орган слуха. Указанная форма может быть применена только лицам, систематически работающим в условиях интенсивного производственного шума. Данное состояние характеризуется повышением порогов слуха в области восприятия речевых частот до 10 дБ, на частоте 4000 Гц – до 40 дБ; восприятие шепотной речи до 5 м (±1). Данная стадия является донозологической. При этом состояние слуха указывается лишь в ЛОР-статусе, но не формулируется как диагноз.
I степень – нейросенсорная тугоухость с легкой степенью снижения слуха. Данная степень снижения слуха устанавливается при повышении порогов слуха в области восприятия речевых частот от 10 до 20 дБ, на 4000 Гц – 60 дБ (±20).
II степень - нейросенсорная тугоухость с умеренной степенью снижения слуха. Данная степень снижения слуха устанавливается у лиц при повышении порогов слуха в области восприятия речевых частот от 21 до 30 дБ, на 4000 Гц - 65дБ (±20).
III степень - нейросенсорная тугоухость со значительной степенью снижения слуха. Данная степень устанавливается при повышении порогов слуха в области восприятия речевых частот 31 дБ и более; на 4000 Гц – 70 дБ (±20) и снижении слуха на восприятие шепотной речи до 1м (±0,5).
При определении трудоспособности лиц, имеющих профессиональное заболевание органа слуха (нейросенсорную тугоухость) со снижением слуха разной степени выраженности, необходимо учитывать ряд обстоятельств:
- характер выполняемой работы и условия труда на рабочем месте (санитарно-гигиеническую характеристику условий труда с указанием параметров шума на рабочем месте – почастотную характеристику и эквивалентный уровень);
- трудовую деятельность в основной профессии работающего по профессиональному маршруту за все годы работы;
- результаты исследования ЛОР-органов и функции слуха (данные аудиометрии и других методов исследования слуховой функции);
- перенесенные в прошлом заболевания, которые могли привести к снижению слуха как до начала работы в условиях шума, так и в период работы в "шумоопасной" профессии (травмы головы, ушной и семейный анамнез, лечение ототоксическими антибиотиками, шумные занятия в быту, прием алкоголя и др.);
- состояние сердечно-сосудистой и нервной систем, принимая во внимание их изменения, обусловленные как общими, так и профессиональными факторами.
При решении вопроса о трудоспособности работников, имеющих различную степень снижения слуховой функции, нередко возникают трудности, которые решаются в каждом случае индивидуально, поскольку довольно часто имеет место воздействие многофакторного комплекса производственных вредностей, вызывающих различные профессиональные заболевания.
В Методических рекомендациях МЗ СССР (1988) указано, что вопросы экспертизы трудоспособности для лиц "шумовых" профессий, действующие в нашей стране, не относятся к лицам тех профессий, при работе в которых орган слуха является рабочим органом (например, водителям локомотивов, пилотам и др.)[‡‡]
. Однако, разработанные нормативные документы по этому вопросу в настоящее время отсутствуют.
ГЛАВА 5. КРИТЕРИИ ДИАГНОСТИКИ ХРОНИЧЕСКОЙ
ПРОФЕССИОНАЛЬНОЙ НЕЙРОСЕНСОРНОЙ
ТУГОУХОСТИ У ПИЛОТОВ ГА
Как уже отмечалось ранее, порядок расследования и учета профессиональных заболеваний установлен "Положением о расследовании и учете профессиональных заболеваний", утвержденным постановлением Правительства Российской Федерации от 15 декабря 2000 г. № 967.
Расследованию и учету в соответствии с указанным Положением подлежат острые и хронические профессиональные заболевания (отравления), возникновение которых у работников обусловлено воздействием вредных производственных факторов при выполнении ими трудовых обязанностей или производственной деятельности по заданию организации или индивидуального предпринимателя.
Система учета профессиональной заболеваемости в России представлена на схеме (см. ниже).
Схема Государственного регистра
профессиональных заболеваний (отравлений)*
Первичная информация
Вторичная информация
* Примечание: Схема заимствована из "Информационного сборника статистических и аналитических материалов о состоянии профессиональной заболеваемости в Российской Федерации" (Москва, 2002, стр. 51).
Проблема профессиональной тугоухости у членов экипажей воздушных судов гражданской авиации в последние годы приобрела острый характер. Это обстоятельство обусловлено тем, что увеличивается количество обращений пилотов с пожеланием получения пенсионного обеспечения по причине профессионального заболевания органа слуха, связанного с воздействием авиационного шума.
Общее действие этого шума на организм человека регламентируется действующими гигиеническими нормами, в частности ГОСТом 20296-81 ("Самолеты и вертолеты гражданской авиации. Допустимые уровни шума в салонах и кабинах экипажа и методы измерения шума"), которые устанавливают допустимый уровень шума в кабине экипажа в зависимости от его интенсивности и экспозиции, а также СанПиН 2.5.1.051-96 "Условия труда и отдыха для летного состава гражданской авиации".
Воздействие на орган слуха шума с уровнем 90–100 дБ вызывает повышение порога чувствительности слуха (адаптацию к шуму), которое обычно равно 5–10 дБ. После шумового воздействия через 2-5 мин уровень порога слуха возвращается к исходному. При длительном воздействии шума (продолжительный рейс), реадаптация слуха может наступить спустя несколько десятков минут или несколько часов. Длительное (в течение многих часов) повышение порогов слуха, но восстановление их до исходного уровня после прекращения работы в шуме, свидетельствует о явлениях утомления звукового анализатора. Стойкое снижение слуха обычно возникает тогда, когда к началу повторяющихся воздействий шума восстановление слуховой чувствительности не наступает.
По характеру трудовой деятельности летный состав ГА подвергается воздействию авиационного шума не постоянно, т.е. форма организации труда имеет вахтовый характер. При этом общая экспозиция шума, как возможного вредного профессионального фактора, согласно нормам летного времени, составляет в среднем только 18-25 часов в неделю (при рабочей неделе 40 часов).
Прерывистое воздействие шума на орган слуха у большинства лиц летного состава не вызывает значительных сдвигов порогов слуха. Эти сдвиги зависят не только от суммарной экспозиции шума, но и от соотношения времени его экспозиции и пауз между ними, так как во время пауз происходят восстановительные процессы в звуковом анализаторе. Для восстановления слуховой функции в перерывах не обязательна полная тишина, достаточен шумовой фон ниже 80 дБА. Временное повышение порогов слуха у лиц летного состава может сохраняться и после шумовой нагрузки в течение нескольких часов. Поэтому целесообразно планировать исследования слуха летному составу не ранее чем через 12-14 часов после воздействия шума на орган слуха. Это требование должно соблюдаться при проведении врачебно-летной экспертизы.
Уровни звукового давления на рабочих местах летного состава не должны быть более предельного спектра № 75 (ГОСТ 20296–81), что соответствует уровню звука, измеренному в дБ по шкале "А" шумомера 80 дБА. Суммарная длительность воздействия такого уровня шума допускается до 8 часов за сутки. При шуме большей интенсивности допустимая длительность его воздействия должна быть обоснована расчетом по технической документации[§§]
с учетом применяемых летным составом средств индивидуальной защиты (таблицы 15, 16).
Таблица 15
Допустимые экспозиции авиационного шума
| Длительность воздействия
(без средств защиты), (час.)
|
Уровни звукового давления,
(дБА)
|
| 8
|
80 (ПДУ)
|
| 4
|
80+3=83
|
| 2
|
80+3+3=86
|
| 1
|
80+3+3+3=89
|
| 0,5
|
80+3+3+3+3=92
|
Таблица 16
Уровни ослабления звукового давления радиогарнитур[***]
| Типы авиагарнитур
|
Среднее ослабление шума (дБ) на частотах (Гц)
|
| 125
|
250
|
500
|
1000
|
2000
|
4000
|
8000
|
| АГ-2
|
1
|
1
|
3
|
2
|
10
|
15
|
17
|
| АГ-2М
|
2
|
2
|
5
|
6
|
21
|
27
|
30
|
| Г-63
|
22
|
25
|
28
|
30
|
34
|
40
|
42
|
| ГСШ-С 12 А (АГ-3)
|
3
|
1
|
5
|
11
|
18
|
30
|
29
|
| ГСШ-А-18
|
5
|
7
|
11
|
17
|
28
|
32
|
30
|
В связи с тем, что уровни шума изменяются в динамике полета, а в структуре работы летных экипажей имеются межрейсовые перерывы, при оценке шумовой нагрузки целесообразно ориентироваться на эквивалентные уровни звука. С целью соизмеримости шумового воздействия учитывается параметр эквивалентности (q) шумовой экспозиции. (Методические рекомендации по дозной оценке производственных шумов. МЗ СССР, М., 1982; Рекомендации по совершенствованию нормативно-технической документации, регламентирующей шум в кабинах ВС. Методика факторного анализа среды кабин ВС. М., 1989).
Параметр эквивалентности q равен числу децибел, прибавляемых к уровню шума при уменьшении времени его действия в 2 раза для сохранения той же дозы шума. При измерении или расчете эквивалентного (по энергии) уровня шума (LА экв.) используют q=3, согласно правилу "равной энергии". Для преобладающих уровней шума (LА экв.) в кабинах ВС параметр эквивалентности (q) составляет 3. Таким образом, увеличение эквивалентного уровня воздействующего шума относительно предельно-допустимой величины на каждые 3 дБА предполагает уменьшение времени экспозиции вдвое. За нормативную величину принимается время воздействия шума. При этом учитывается ослабление внешнего шума средствами индивидуальной защиты. Так, например, шум с уровнем 80 дБА, действующий в течение 8 часов, предельно-допустимый, т.е. не вызывающий повреждения звукового анализатора, энергетически эквивалентен шуму с уровнем 83 дБА, действующему в течение 4-х часов, или шуму 86 дБА, действующему в течение 2 часов, или шуму 89 дБА – в течение 1 часа и т.д.
Таким образом, расчет уровней шума и экспозиции проводится в каждом отдельном случае с указанием в санитарно-гигиенической характеристике строго по годам и типам самолетов. Уровень шума в кабинах экипажей самолетов ГА по данным расчета среднемесячной экспозиции часто не превышает гигиенических норм даже без учета шумозащитных свойств авиагарнитур, которые являются средствами индивидуальной защиты от шума (таблица 16). Для объективного определения фактических уровней воздействовавшего на членов экипажа внутрикабинного шума в полете необходимо в санитарно-гигиенических характеристиках рабочих мест учитывать шумозащитные свойства авиагарнитур. Однако при этом необходимо учитывать дополнительную звуковую нагрузку в результате прослушивания эфира и речевого радиообмена.
В соответствии с постановлением Правительства РФ от 15.12.2000 года № 967 об утверждении "Положения о расследовании и учете профессиональных заболеваний" и приказа МЗ РФ № 176 вопрос установления профессионального заболевания органа слуха лицам летного состава ГА наряду с работниками наземных "шумовых" профессий решается центрами профессиональной патологии. При этом, критерии установления профессионального характера заболевания органа слуха работникам летных профессий, как и представителям наземных "шумовых" профессий должны быть вполне определенными и с учетом специфики труда.
При определении этих критериев необходимо учитывать:
1. Характер и тип снижения слуха.
2. При работе на каких типах воздушных судов и в какой период летной деятельности развилось снижение слуха.
3. Длительность работы в условиях воздействующего шумового фактора, превышающего ПДУ (80 дБА) на каждом типе воздушного судна за время летной деятельности.
4. Возрастные изменения слуха лиц летного состава.
5. Сопутствующую патологию (в том числе и ЛОР органов) и время ее возникновения (анамнестические данные).
У лиц летного состава стойкое понижение слуха может возникать уже после 10-15 лет трудовой деятельности и, прежде всего, обнаруживается на частотах 4000 Гц и выше. Несколько позже и в значительно меньшей степени может происходить понижение слуховой чувствительности на 2000 Гц. На частоте 500 Гц порог слуха у лиц летного состава практически не изменяется. При дальнейшем прогрессировании процесса, с годами, повышение порогов слуха может распространяться и на речевые частоты. Тогда может появляться и снижение восприятия речи. Таким образом, необходимо принимать во внимание, что факт возникновения и развития у пилотов хронической профессиональной (шумовой) НСТ возможен только при длительном воздействии внутрикабинного шума, с экспозицией, превышающей норму летного времени. Эта норма должна рассчитываться с учетом интервалов межполетного отдыха для членов экипажей ВС. Время этих интервалов служит защитным фактором ("фактор времени") от воздействующего на экипаж внутрикабинного шума в полете.
При установлении нарушения слуховой функции у пилотов необходимо проведение дифференциальной диагностики с использованием аудиологических методов исследования слуха. Эти методы позволяют, в первую очередь, установить тип тугоухости (кондуктивная, нейросенсорная или смешанная). Врачом оториноларингологом определяется время возникновения нарушения слуха и тем самым характер заболевания (острый, подострый или хронический), что довольно трудно при возможной скудости данных анамнеза или отсутствии жалоб обследуемого пилота. Врач по характеру выявленных патологических изменений при осмотре ЛОР органов может установить причину нарушения слуховой функции, давность имеющихся нарушений, при необходимости прибегая и к дополнительным диагностическим методам, таким как рентгенография, импедансная аудиометрия и другие. Так, на рисунке 17 представлена аудиограмма больного Р., 56 лет, обратившегося с жалобами на снижение слуха. После осмотра ЛОР органов и рентгенографии придаточных пазух носа был установлен диагноз: Острый двусторонний гнойный гайморит. Острый двусторонний средний отит (вторичный). В результате проведенного лечения слух у больного улучшился. Этот случай может служить иллюстрацией тому, как воспалительный процесс ЛОР органов или вялотекущий, или вовремя не диагностируемый, может явиться причиной развития тугоухости у пилота. Это еще раз убедительно доказывает важность обследования врачом ЛОР органов пилота перед проведением аудиометрии.

Рис. 17. Аудиограмма больного Р., 56 лет
Диагноз: Острый двусторонний гнойный гайморит.
Острый двусторонний средний отит (вторичный)
При выявлении НСТ необходимо установить этиологию заболевания, проведя дифференциальную диагностику, т.к. симптомокомплекс "нейросенсорная тугоухость" может быть вызван различными патологическими процессами. Под понятием "нейросенсорная тугоухость" подразумеваются различные нарушения слуховой функции, обусловленные поражениями элементов внутреннего уха, слухового нерва, стволомозговых, подкорковых и корковых структур слуховой системы. Преимущественную потерю слуховой чувствительности, т.е. повышение абсолютных порогов слышимости на высоких частотах, обычно связывают с локализацией патологического процесса в улитке и слуховом нерве.
При установлении диагноза НСТ врачу необходимо в первую очередь определить острый или хронический характер носит это нарушение слуха. При обосновании диагноза хронической профессиональной нейросенсорной тугоухости (ПНСТ) шумовой этиологии следует учитывать обязательность постепенного, двустороннего снижения слуха при нормальной отоскопической картине. Длительность воздействия внутрикабинного шума (превышающего ПДУ 80 дБ) является одним из важных и определяющих критериев при установлении ПНСТ летному составу. При этом обязательно учитывается тот факт, что стаж работы летного состава, как эквивалент работы в условиях профессионального шума, нормируется в часах ежемесячной летной нагрузки за все время летной деятельности. Поэтому, стаж работы в ГА, исчисляемый в годах для лиц летного состава, не является такой характеристикой профессиональной шумовой нагрузки, как стаж у рабочих "шумовых" производств, т.е. при 8-часовом рабочем дне и 40-часовой рабочей неделе.
Проводя дифференциальную диагностику НСТ, необходимо в каждом случае учитывать возрастные пороги снижения слуха. Так, если на тональной пороговой аудиограмме пилота 59 лет уровни повышения порогов на частоте 4000 Гц соответствуют 40 дБ, а на частоте 8000 Гц – 45 дБ, то такое повышение порогов слуха у этого пилота следует расценивать как возрастные изменения, т.е. пресбиакузис, а не нейросенсорную тугоухость.
При определении степени снижения слуха в соответствии с классификацией критериев оценки слуха также необходимо учитывать возрастные изменения слуха у пилотов. Степень снижения слуха летному составу следует устанавливать в соответствии со значениями уровней порогов слуха в дБ на тональной пороговой аудиограмме на всех частотах, вычитая почастотно значения возрастных порогов. Полученные в результате вычитания пороговые значения (в дБ) на каждой из частот будут соответствовать уровням повышения порогов слуха, вызванных патологическим процессом.
Длительно протекающие хронические отоларингологические заболевания с понижением слуховой функции (хронический адгезивный средний отит, хронический тубоотит, отосклероз и др.), особенно на фоне возрастных изменений слуха, могут представлять на тональной пороговой аудиограмме повышение порогов звуковосприятия, типичное для НСТ. В этих случаях после проведения дополнительного клинико-аудиологического исследования (импедансная аудиометрия и др.) целесообразно устанавливать первым диагноз основного заболевания (например, адгезивный хронический средний отит), а нейросенсорную тугоухость расценивать как вторичную.
Особую группу заболеваний и патологических состояний, которые учитываются при характеристике НСТ у летного состава при проведении ее дифференциальной диагностики, представляют гипертоническая болезнь, атеросклероз сосудов головного мозга, хроническая ишемическая болезнь сердца и другие. Эти заболевания в своем развитии могут приводить к таким изменениям слуховой функции, которые по аудиологической характеристике можно отнести к симптомокомплексу "нейросенсорной тугоухости" (Рис 18, 19).

Рис. 18 Аудиограмма больного А., 47 лет
(работа вне контакта с шумом)
Диагноз: Гипертоническая болезнь II ст.
Двусторонняя нейросенсорная тугоухость

Рис. 19 Аудиограмма больного К., 60 лет
(работа вне контакта с шумом)
Диагноз: Хроническая ишемическая болезнь сердца. Атеросклероз аорты, сосудов головного мозга.
Двусторонняя нейросенсорная тугоухость
Поэтому, вопросы генеза НСТ у пилотов ГА в каждом случае решаются при сопоставлении характера и времени возникновения снижения слуха с проявлением и выраженностью патологии, а также параметрами шумового фактора полета за период летной деятельности.
5.1. Порядок установления связи заболевания органа
слуха с профессией у лиц летного состава
Постановлением Правительства РФ от 15.12.2000г № 967 утверждено "Положение о расследовании и учете профессиональных заболеваний". Вступил в силу приказ МЗ РФ от 28.05.2001г № 176 "О совершенствовании системы расследования и учета профессиональных заболеваний в Российской Федерации". Приказом утверждены формы Извещений об установлении предварительного и заключительного диагнозов профессионального заболевания, Инструкция о порядке применения Положения о расследовании и учете профессиональных заболеваний.
В соответствии с этими документами вопрос установления диагноза профессионального заболевания органа слуха, а именно хронической нейросенсорной тугоухости шумовой этиологии лицам летного состава ГА решается центрами профпатологии. При установлении предварительного диагноза ПНСТ Извещение о предварительном профессиональном заболевании в 3-дневный срок направляется учреждением здравоохранения ГА, установившим этот диагноз, и в котором наблюдается данный работник, в центр государственного санитарно-эпидемиологического надзора на транспорте. Вместе с Извещением направляются выписка из медицинских книжек работника, а также сведения из летной книжки о летном времени и нагрузке.
Центр госсанэпиднадзора в 2-недельный срок составляет санитарно-гигиеническую характеристику условий труда работника и представляет ее в учреждение здравоохранения ГА, установившее предварительный диагноз.
На следующем этапе учреждение здравоохранения ГА, установившее предварительный диагноз хронического профессионального заболевания, в месячный срок обязано направить больного на обследование в центр профпатологии с представлением следующих документов для решения вопроса о заключительном диагнозе профессионального заболевания органа слуха:
1) выписка из медицинских книжек направляемого лица;
2) сведения о результатах предварительного (при поступлении на работу) и периодических медицинских осмотров с копиями аудиограмм и результатами других исследований слуха за весь период работы;
3) санитарно-гигиеническая характеристика условий труда;
4) копии трудовой и летной книжек.
Центр профпатологии на основании клинических данных состояния здоровья работника ГА и представленных документов может установить заключительный диагноз: Хроническое профессиональное заболевание органа слуха, после чего составляет медицинское заключение и в 3-дневный срок направляет соответствующее Извещение в центр госсанэпиднадзора, работодателю, страховщику и в адрес учреждения здравоохранения ГА, направившего больного.
В "Положении о расследовании и учете профессиональных заболеваний" дано определение хронического профессионального заболевания. Как следует из этого определения, а также критериев установления профессионального заболевания, предварительный диагноз хронической ПНСТ лицам летного состава один врач оториноларинголог ВЛЭК обоснованно, только по результатам ЛОР осмотра и аудиологических исследований, установить не может. Предварительный диагноз хронического профессионального заболевания, также как и заключительный диагноз, должен быть установлен в результате участия различных специалистов. Это подтверждается и содержанием формы "Извещения об установлении предварительного диагноза острого или хронического профессионального заболевания (отравления)", утвержденной Приказом МЗ РФ от 28.05.2001 г. № 176.
Учитывая особенности клинико-диагностических подходов при установлении предварительного диагноза хронической профессиональной нейросенсорной тугоухости, сложность и возможную спорность даже предварительного отнесения заболевания к числу профессиональных, в некоторых медицинских учреждениях гражданской авиации создается консилиум по установлению предварительного диагноза хронического профессионального заболевания органа слуха. Этот консилиум включает врачей специалистов ВЛЭК (оториноларинголога, терапевта, невролога), врача летного отряда, врача аудиолога и врача госсанэпиднадзора. Анализ экспертных заключений этих специалистов и является обоснованием для установления предварительного диагноза.
ГЛАВА 6. ПРОФИЛАКТИКА ПРОФЕССИОНАЛЬНОЙ
НЕЙРОСЕНСОРНОЙ ТУГОУХОСТИ У ПИЛОТОВ ГА
Обеспечение профилактики ПНСТ у пилотов ГА может быть осуществлено только путем проведения целого комплекса мероприятий: физиолого-гигиенических, организационных, инженерно-технических, законодательных и медицинских.
1) Физиолого-гигиеническое регламентирование авиационного шума.
Одним из важнейших путей профилактики ПНСТ у лиц летного состава является гигиеническое нормирование авиационного шума. В настоящее время в нашей стране разработаны нормы, регламентирующие уровни шума в звуковом частотном диапазоне для различных условий труда и отдыха человека (Р 2.2.755-99). При разработке материалов, необходимых для физиолого-гигиенического нормирования, учитываются: интенсивность, частотный спектр и продолжительность воздействия шума. Кроме того, имеет значение распределение шумового воздействия в течение рабочего дня, эквивалентный уровень шума, возможность развития явлений кумуляции или адаптации и др. Характеристики и нормы уровней акустической нагрузки на летный состав ГА регламентируются рядом документов:
а) ГОСТ 20296-81 "Самолеты и вертолеты гражданской авиации. Допустимые уровни шума в салонах и кабинах экипажа и методы измерения шума" (Гос. Комитет СССР по стандартам);
б) СанПиН 2.5.1.051-96 "Условия труда и отдыха для летного состава гражданской авиации" (Госкомсанэпиднадзор. Москва.1966).
Стандарт распространяется на самолеты и вертолеты ГА, задания на разработку или модификацию которых выданы не ранее 1января1976г.
Стандарт устанавливает максимально допустимые уровни шума и методы его измерения на крейсерских режимах полета в салонах, кабинах экипажа и на рабочих местах бортпроводников. Согласно ГОСТу шум в салонах и кабине экипажа самолета (вертолета), а также на рабочих местах бортпроводников, нормируется предельными спектрами уровней звукового давления (дБ) в октавных полосах частот со среднегеометрическими частотами 31,5; 63; 125; 250; 500; 1000; 2000; 4000 и 8000 Гц и уровнями звука в дБА. При этом уровни звука в дБА не должны превышать уровней, указанных в таблице 17.
Таблица 17
Уровни звука на ВС гражданской авиации
| Место
измерения
шума
|
Уровни звука (дБА)
|
| Самолетов
|
Вертолетов
|
| дальних магистральных
|
средних и ближних магистральных и сверхзвуковых
|
местных воздушных линий
|
| Салон класса:
первого
туристического
экономического
|
75
|
80
|
85
|
90
|
| 80
|
85
|
| 85
|
85
|
| Кабины экипажа
|
80
|
90
|
| Рабочие места бортпроводников
|
85
|
90
|
Примечание.
Допускается превышение уровней звука А не более, чем на 3 дБА для 10% контрольных точек измерения.
Нормирование авиационного шума проводится, в первую очередь, по влиянию его на орган слуха лиц летного состава. Так, нормируемый параметр авиационного шума как "допустимый" (то есть, не вызывающий поражения органа слуха при ежедневном 8-часовом воздействии 40-часовой рабочей недели) соответствует эквивалентному уровню шума 80 дБА. Другой нормируемый параметр авиационного шума - "оптимальный", соответствующий эквивалентному уровню 65 дБА, также при ежедневном 8-часовом воздействии, обеспечивает нормальную работоспособность и высокую производительность труда (согласно СанПиН 2.5.1.051-96) (таблица 5). Измерения уровней звукового давления в салонах и кабинах экипажей ВС гражданской авиации, подготовленных для эксплуатации на авиалиниях, должны проводиться на эксплуатационном режиме (ГОСТ 20296-81).
В связи с тем, что уровни шума изменяются в динамике полета и в структуре работы летных экипажей имеются межрейсовые перерывы (вахтовый режим работы), при оценке шумовой нагрузки целесообразно ориентироваться на эквивалентные уровни звука. С целью соизмеримости шумового воздействия учитывается параметр эквивалентности шумовой экспозиции, который для преобладающих уровней шума (LА экв) в кабинах ВС составляет 3. Таким образом, увеличение эквивалентного уровня воздействующего шума относительно ПДУ на каждые 3 дБА предполагает соответственно уменьшение времени экспозиции вдвое. Тем самым за нормативную величину принимается это время воздействия шума. При этом необходимо также учитывать ослабление внешнего шума средствами индивидуальной защиты (Рекомендации по совершенствованию нормативно-технической документации, регламентирующей шум в кабинах ВС. Методика факторного анализа среды кабин ВС. М.,1989; Методические рекомендации по дозной оценке производственных шумов. МЗ СССР,М.,1982).
2) Организационные и технические мероприятия по борьбе с шумом.
Разработка и реализация инженерных и конструкторских мероприятий, направленных на создание малошумной авиационной техники и оборудования ВС, а также на снижение уровней шума в источниках его образования и распространения является главным направлением в радикальном решении проблемы воздействия авиационного шума на организм человека (Крылов Ю.В., Кузнецов В.С., 1977). Борьба с вредным воздействием авиационного шума проводится, в основном, двумя путями: уменьшением шума в источнике его образования конструктивными, технологическими и эксплуатационными мероприятиями и снижением уровня шума по пути его распространения средствами звукоизоляции и звукопоглощения.
3) Индивидуальные средства защиты от авиационного шума.
В случаях, когда невозможно достигнуть снижения шума до уровня допустимого нормами, важным средством профилактики шумового повреждения органа слуха являются средства индивидуальной защиты (СИЗ) от шума. К таким средствам относятся: противошумные вкладыши в наружный слуховой проход, противошумные наушники и шлемы. В гражданской авиации к СИЗ относятся авиационные радиогарнитуры. При расчете шумовой нагрузки на экипажи и предельно допустимого времени экспозиции шума учитывается степень ослабления внешнего шума, основывающаяся на паспортных данных СИЗ. В нашей стране акустическая эффективность авиационных радиогарнитур характеризуется в октавных полосах частот от 125 до 8000 Гц. При этом уровень шума, воздействующего на защищенное ухо, рассчитывается в дБА путем логарифмического сложения разницы между октавными уровнями в кабине ВС и акустической эффективностью гарнитур с учетом коррекции "А". ГОСТом 12.4.051-87 "Средства индивидуальной защиты органов слуха. Общие технические требования и методы испытаний" принята одночисловая оценка акустической эффективности в дБА. Однако, в ГА этот метод не применяется. Так, паспортная эффективность авиационной радиогарнитуры ГСШ-А-18 составляет на различных типах ВС от 2 до 17 дБА. Акустическая эффективность в реальных условиях полетов этой широко используемой радиогарнитуры со средней шумозащитой (по данным ГосНИИГА и НИИ ГТиПЗ АМН СССР, 1989; Меймана М.Ю., 1990) не превышает 6 дБА. Таким образом, принятая в стране методика расчета шумового воздействия на лиц летного состава с учетом паспортной эффективности шумоглушения авиационных радиогарнитур не отражает реальные условия их работы. Исходя из этого, было предложено оценивать эффективность гарнитуры ГСШ-А-18 обобщенно для всех типов ВС по формуле: ∆L = (LК-3) ± 3 дБА, где: LК – суммарный уровень шума в кабине ВС; а ∆L – акустическая эффективность гарнитуры ГСШ-А-18, определяемая в дБА.
Однако, авиационные радиогарнитуры нельзя рассматривать только как средства защиты от шума по аналогии с наушниками, применяемыми в промышленности, поскольку они сами являются источником дополнительной акустической нагрузки на орган слуха членов экипажа ВС за счет радиообмена. Так, эквивалентные уровни звука в процессе полета за счет радиообмена и помех эфира могут увеличиться на 10 дБА и более, согласно данным ГосНИИГА (1989). Степень дополнительной акустической нагрузки за счет радиообмена и помех эфира зависит от маршрута и профиля полета. Вопрос определения степени дополнительной акустической нагрузки от авиационных радиогарнитур при радиообмене еще требует специального изучения, тем более, что время шумового воздействия радиосвязи в среднем составляет около 20% времени полета, в основном на этапах взлета и захода на посадку (Рекомендации по совершенствованию нормативно-технической документации, регламентирующей шум в кабинах ВС. Методика факторного анализа среды кабин ВС. М., 1989). Поэтому, важным условием в профилактике возможной профессиональной тугоухости у лиц летного состава является внедрение в ГА авиационных радиогарнитур с повышенной шумозащитой и повышение помехоустойчивости систем бортовой радиосвязи.
4) Медицинская профилактика ПНСТ.
В комплексе мероприятий по предупреждению возникновения ПНСТ важное место занимает медицинская профилактика. Одной из важнейших мер медицинской профилактики вредного воздействия шума на работников шумового производства является проведение предварительных и периодических медицинских осмотров (Профилактика профессиональной тугоухости у лиц "шумовых" профессий. Методические рекомендации. МЗ СССР, ГУ Лечебно-профилактической помощи, М.,1988; Приказ Минздравмедпрома России № 90 от 14.03.96 "О порядке проведения предварительных и периодических медицинских осмотров работников и медицинских регламентах допуска к профессии").
При проведении предварительных медицинских осмотров определяется возможность приема работника на шумное производство. Проведением периодических медицинских осмотров обеспечивается динамическое наблюдение за состоянием здоровья работников.
Для выяснения сроков, в течение которых наступает нарушение слуха той или иной степени, был определен период наибольшего риска повреждающего действия шума на орган слуха. На большом аудиометрическом материале выявлены периоды, отражающие наибольший риск повреждающего действия шума на орган слуха работников "шумовых" производств. Так, число лиц с НСТ шумовой этиологии (ПНСТ) возрастает в 2-4 раза в группах рабочих со стажем от 5 до 9 лет. Затем, почти вдвое увеличивается число случаев ПНСТ у работающих в течение 10-14 лет. В дальнейшем среди работников со стажем 15 лет и более число лиц, страдающих ПНСТ, возрастает лишь на 2-8%. Следовательно, интенсивный прирост числа работников, у которых впервые диагностируется ПНСТ, происходит после 5 лет работы в условиях интенсивного производственного шума, превышающего ПДУ, и значительно замедляется после 15 лет работы в тех же условиях акустического воздействия по основной профессии (Остапкович В.Е., Брофман А.В., 1982; Шапаренко Б.А., Остапкович В.Е., 1979).
У лиц летного состава ГА также наблюдаются случаи выявления ПНСТ. Козиным О.В. (1979, 1981, 1983) впервые была выявлена зависимость изменений чувствительности звукового анализатора у лиц летного состава ГА от возраста и стажа летной работы. Так, с увеличением стажа летной работы, а вместе с тем и длительности воздействия авиационного шума на орган слуха, у лиц летного состава имеется тенденция к динамическому повышению средних тональных порогов. Наибольшее снижение слуховой функции наблюдалось у лиц старше 40 лет и при стаже работы более 15 лет. При этом средние пороги слуха у пилотов оказались значительно ниже, чем у промышленных рабочих в аналогичных группах стажа. У лиц летного состава с НСТ в стажевых группах 15-19 лет и 20-24 года средние пороги слуха на частотах 4000 и 8000 Гц соответствуют I-II степени тугоухости, согласно критериям оценки слуха по классификации Остапкович В.Е., Пономаревой Н.И. (1979). В отличие от наземных работников шумовых производств во всех группах стажа у них пороги слуха на частотах 125, 250 и 500 Гц не превышали возрастных уровней. Таким образом, врачебно-летная экспертиза проводится и с целью раннего выявления вредного воздействия авиационного шума на лиц летного состава. Поэтому, при медицинском освидетельствовании лиц летного состава врач оториноларинголог ВЛЭК должен учитывать требования приказа Минздрава России № 90 от 14.03.96 "О порядке проведения предварительных и периодических медицинских осмотров работников и медицинских регламентах допуска к профессии". Это означает, что: а) при вынесении медицинского заключения необходимо указать этиологию НСТ или обозначить: "НСТ неясной этиологии". Следует обязательно учитывать сопутствующие заболевания (церебральный атеросклероз, гипертоническая болезнь и т.д.). Это особенно касается случаев впервые установленного диагноза НСТ на фоне многолетнего наблюдения пилота по поводу этих заболеваний. Достаточно часто впервые отмеченное снижение слуховой функции, квалифицирумое как НСТ, у таких лиц может входить в симптомокомплекс указанной патологии, характеризуя ее развитие. Такая НСТ может расцениваться как вторичная, отличающаяся клиническими проявлениями и по времени развития от хронической ПНСТ шумовой этиологии, что может подтверждаться отсутствием длительно воздействующего интенсивного шума (летное время за период наблюдения);
б) врач оториноларинголог эксперт ВЛЭК несет ответственность за качество медицинского осмотра пилота и обоснованность заключения, проведение необходимого динамического наблюдения и оздоровления пациента;
в) поскольку предварительный медицинский осмотр при поступлении на летную работу имеет важное значение для последующего динамического наблюдения за состоянием слуха, особое внимание должно уделяться четкому и полному заполнению медицинской документации с включением данных аудиометрии;
г) периодичность осмотров лиц, работающих в условиях шума, зависит от превышения ПДУ шума 80 дБА;
д) данные периодических осмотров должны учитываться при проведении динамического наблюдения пилотов как группы риска развития ПНСТ.
Таким образом, профилактические меры вредного воздействия авиационного шума должны быть комплексными и включают:
· технические – снижение шума в источнике образования и по пути его распространения;
· организационные – нормирование летного труда и отдыха; ограничение в продлении норм летного времени пилотов с нейросенсорной тугоухостью;
· использование средств индивидуальной и коллективной защиты от шума;
· профессиональный отбор лиц, поступающих в летные училища;
· динамическое наблюдение за лицами летного состава;
· формирование у пилотов принципов здорового образа жизни;
· устранение у пилотов факторов риска развития артериальной гипертензии, атеросклероза и других заболеваний;
· проведение лечебно-профилактических и оздоровительных мероприятий, воздействующих на все звенья патологического процесса – НСТ, которые могут проводиться амбулаторно или в отделениях реабилитации.
В настоящее время комплексное лечение пилотов с НСТ включает седативную, сосудистую, метаболическую и стимулирующую терапию. В качестве дополнительных методов лечения используют рефлексотерапию, электростимуляцию и гипербарическую оксигенацию.
Опыт проведения такого лечения пилотам показал, что оно достаточно эффективно для предупреждения ухудшения течения НСТ, т.е. снижения слуха у пилотов.
ЛИТЕРАТУРА
1. Альтман Я.А., Таварткиладзе Г.А. Руководство по аудиологии. – ДМК пресс. – М. - 2003
2. Базаров В.Г., Лисовский В.А., Мороз Б.С., Токарев О.П. Основы аудиологии и слухопротезирования. – М.: Медицина. – 1984
3. Гигиенические критерии оценки и классификация условий труда по показателям вредности и опасности факторов производственной среды, тяжести и напряженности трудовых процессов (Р2.2.755-99)
4. Козин О.В. К вопросу о состоянии слуха у лиц летного состава гражданской авиации/Актуальные вопросы оториноларингологии. – Алма-Ата. – 1979 – С.1-5
5. Козин О.В. Функциональное состояние слухового анализатора у пилотов гражданской авиации/Научно-практические аспекты отиатрии. – М. - 1981. – С. 30-32
6. Козин О.В. Об оценке индивидуальной возбудимости звукового анализатора к воздействию шума у летного состава/Вопросы врачебно-летной экспертизы. – М. – 1983. – С. 50-52
7. Козин О.В. Функция звукового анализатора и экспертная оценка слуха в профессиональной деятельности летного состава гражданской авиации. Автореф. дисс. канд. – М., 1983
8. Крылов Ю.В., Кузнецов В.С. Физиологические реакции на шум и вибрацию/Физиология человека и животных. т. 19. – М.: Наука. – 1977. – С. 6-107
9. Мейман М.Ю. Формирование среднесуточной шумовой нагрузки летных экипажей гражданской авиации и ее влияние на орган слуха летчиков. Автореф. дисс. канд. - Москва – Свердловск, 1990
10. Методические рекомендации по медицинскому динамическому наблюдению лиц летного, диспетчерского состава, бортпроводников и курсантов учебных заведений гражданской авиации. – М.: ГС ГА. - 2001
11. Методические рекомендации по дозной оценке производственных шумов. – М.: МЗ СССР. – 1982
12. Методические рекомендации по составлению санитарно-гигиенической характеристики условий труда летного состава в связи с заболеваниями органа слуха (для врачей СЭС, ВЛЭК, летных отрядов и доверенных врачей территориальных комитетов профсоюза авиаработников). – М.: МГА. – 1987
13. Методы медицинского освидетельствования авиационного персонала гражданской авиации (Методическое пособие для врачебно-летных экспертных комиссий). – М.: "Воздушный транспорт". – 2004. – 304 с
14. Остапкович В.Е., Пономарева Н.И. Пороги слуха (в дБ) у практически здоровых людей в зависимости от возраста/В кн. Шапаренко Б.А., Остапкович В.Е. Врачебно-трудовая экспертиза в оториноларингологии. – М.: Медицина. – 1979
15. Остапкович В.Е., Брофман А.В. Профессиональные заболевания ЛОР-органов. – М.: Медицина. – 1982
16. Профессиональные заболевания/Н.Ф.Измеров, А.М.Монаенкова, В.Г.Артамонова и др.//Под ред. Н.Ф.Измерова. – М.: Медицина. - 1996
17. Профилактика профессиональной тугоухости у лиц "шумовых" профессий. Методические рекомендации. – М.: МЗ СССР. – 1988
18. Рекомендации для ВЛЭК по обследованию и экспертной оценке слуховой функции летного и диспетчерского состава гражданской авиации. – М.: МГА, ГосНИИ ГА. – 1981
19. Рекомендации по совершенствованию нормативно-технической документации, регламентирующей шум в кабинах ВС. Методика факторного анализа среды кабин ВС. – М.: ГосНИИ ГА, НИИ ГТ и ПЗ. - 1989
20. Ромм С.З. Профессиональная тугоухость. – Л.: Медицина. – 1966
21. Руководство по авиационной медицине. – ИКАО. - 1985
22. Руководство по авиационной медицине. – М.: "Воздушный транспорт", 1999. – 438 с.
23. Сагалович Б.М. Тугоухость. – М.: Медицина. - 1978
24. Сборник официальных документов по расследованию и учету профессиональных заболеваний (отравлений), несчастных случаев на производстве, охране труда и социальному страхованию. В 2-х ч. – М.: Федеральный центр госсанэпиднадзора Минздрава РФ. - 2001
25. Таварткиладзе Г.А., Гвелесиани Т.Г. Клиническая аудиология. – М., 2003
26. Условия труда и отдыха для летного состава гражданской авиации. - Госкомсанэпиднадзор России. – М., 1996 (СанПиН 2.5.1.051-96)
27. Ундриц В.Ф., Хилов К.Л., Лозанов Н.Н., Супрунов В.К. Болезни уха, горла и носа. – Медгиз. Ленинградское отделение. – 1960
28. Ундриц В.Ф., Темкин Я.С., Нейман Л.В. Руководство по клинической аудиологии. – М.: Медгиз. - 1962
29. Федеральные авиационные правила: Медицинское освидетельствование летного, диспетчерского состава, бортпроводников, курсантов, и кандидатов, поступающих в учебные заведения гражданской авиации (ФАП МО ГА-2002). – М.: "Воздушный транспорт", 2002. – с дополнениями и изменениями (2003)
30. Хечинашвили С.Н. Вопросы аудиологии. – Тбилиси. – 1978
31. Шапаренко Б.А., Остапкович В.Е. Врачебно-трудовая экспертиза в оториноларингологии. – М.: Медицина. - 1979
32. ГОСТ 12.4.062-78 "Шум. Методы определения потерь слуха человека"
33. ГОСТ 20296-81 "Самолеты и вертолеты гражданской авиации. Допустимые уровни шума в салонах и кабинах экипажа и методы измерения шума"
34. ГОСТ 12.1.037-82 "Экспертиза трудоспособности летного и диспетчерского состава. Методы оценки слуховой функции"
35. ГОСТ 12.1.003-83 "Шум. Общие требования безопасности" (с изменением № 1, утв. 19.12.88 № 4233, дата введения – 01.07.1989).
СОДЕРЖАНИЕ
| |
стр.
|
| Введение
|
|
| Глава 1. Условия профессиональной деятельности пилотов гражданской авиации
|
|
| Глава 2. Диагностика тугоухости у лиц летного состава
|
|
| 2.1. Общая характеристика типов тугоухости
|
|
| 2.2. Методы исследования слуха
|
|
| 2.3. Порядок исследования слуховой функции у лиц летного состава
|
|
| Глава 3. Врачебно-летная экспертиза при нарушении слуха у лиц летного состава гражданской авиации
|
|
| Глава 4. Проблема профессиональной тугоухости у лиц "шумовых" профессий
|
|
| Глава 5. Критерии диагностики хронической профессиональной нейросенсорной тугоухости у пилотов ГА
|
|
| 5.1. Порядок установления связи заболевания органа слуха с профессией у лиц летного состава
|
|
| Глава 5. Профилактика профессиональной нейросенсорной тугоухости у пилотов ГА
|
|
| Литература
|
|
[*]
- см. Р 2.2.755-99
**
- Постановление Правительства РФ от 15.12.2000 № 967
[†]
см. Методические рекомендации по медицинскому динамическому наблюдению лиц летного, диспетчерского состава, бортпроводников и курсантов учебных заведений гражданской авиации, 2001
[‡]
- Диагностика нарушений слуха. Методические рекомендации № 95/59. Министерство здравоохранения и медицинской промышленности Российской Федерации. М., 1995.
[§]
см. Методические рекомендации по медицинскому динамическому наблюдению летного, диспетчерского состава, бортпроводников и курсантов учебных заведений гражданской авиации, 2001.
[**]
ССБТ. Шум. Общие требования безопасности. ГОСТ 12.1.003-83 с изменением №1, утв. 19.12.88. №4233 с датой введения 01.07.1989.
[††]
Профилактика профессиональной тугоухости у лиц "шумовых" профессий. Методические рекомендации. - М.: МЗ СССР - 1988.
[‡‡]
Профилактика профессиональной тугоухости у лиц "шумовых" профессий. Методические рекомендации. - М.: МЗ СССР – 1988, с.20
[§§]
- Рекомендации для ВЛЭК по обследованию и экспертной оценке слуховой функции летного и диспетчерского состава гражданской авиации. МГА, ГОСНИИ ГА, М.,1981; Методические рекомендации по дозной оценке производственных шумов. МЗ СССР, М., 1982; Методические рекомендации по составлению санитарно-гигиенической характеристики условий труда летного состава в связи с заболеваниями органа слуха (для врачей СЭС, ВЛЭК, летных отрядов и доверенных врачей территориальных комитетов профсоюза авиаработников). МГА, М.,1987.
[***]
- Методические рекомендации по составлению санитарно-гигиенической характеристики. - МГА, М., 1987
|