| Российская академия предпринимательства
Курсовая работа
по дисциплине «Основы менеджмента»
Тема:
«Организация как объект управления»
Выполнил: студент 4 курса гр. 261
Пухова Л.В.
Проверил: Черкасова Л.А.
2009г.
СОДЕРЖАНИЕ
Введение………………………………………………………………………….3
1. Теоретические и методические аспекты функционирования организации.
1.1. Понятие организации, характеристики и признаки………………………….5
1.2. Организационные структуры управления……………………………...……9
1.3 Организационно-правовые формы юридического лица…………………….40
2. МОУ СОШ № 7 – объект управления.
2.1. Организационная структура управления МОУ СОШ № 7………….……..54
2.1. Внутренняя и внешняя среда образовательного учреждения………………42
3. Мероприятия по совершенствованию существующей организации МОУ СОШ № 7………………………………………………………………………..55
Заключение…………………………………………………………...…………55
Список используемой литературы. …………………………………………….61
Приложения……………………………………………………………………..63
ВВЕДЕНИЕ
На пороге 3 тысячелетия многие ученые приходят к мнению, что во многом будущее человечества связанно с науками, которые изучают развитие наиболее эффективных методов превращающих неорганизованную толпу в эффективную целенаправленную и производительную силу.
Перед современным руководителем встают стратегические вопросы выбора направления развития бизнеса и определения ключевых конкурентных преимуществ компании. Выработка такого видения и управления компетенцией организации является ключевой, предпринимательской, функцией менеджмента компании.
Много внимания руководство вынуждено уделять вопросу оптимизации структур компании. Вместе с тем, для современного руководителя одинаково важен вопрос создания системы и технологии управления, которая обеспечивает эффективную операционную деятельность компании.
Управленческая деятельность - один из важнейших факторов функционирования и развития промышленных предприятий в условиях рыночной экономики. Эта деятельность постоянно совершенствуется в соответствии с объективными требованиями производства и реализации продукции, усложнением хозяйственных связей, повышением роли потребителя в формировании технико-экономических и иных параметров предприятия.
Изменение условий производственной деятельности, необходимость адекватного приспособления к ней системы управления сказывается не только на совершенствовании её организации, но и на перераспределении функций управления по уровням ответственности, формам их взаимодействий и т.д. Речь идет, прежде всего, о такой системе управления (принципах, функциях, методах, организационной структуре), которая порождена объективной необходимостью и закономерностями рыночной системы хозяйствования, связанными с удовлетворениями в первую очередь индивидуальных потребностей, обеспечением заинтересованности работников в наивысших конечных результатах, широким использованием новейших достижений НТР. Всё это требует от промышленных предприятий адаптации к новым рыночным условиям, преодоления возникающих противоречий в экономическом и научно-техническом процессах.
Забиваем Сайты В ТОП КУВАЛДОЙ - Уникальные возможности от SeoHammer
Каждая ссылка анализируется по трем пакетам оценки: SEO, Трафик и SMM.
SeoHammer делает продвижение сайта прозрачным и простым занятием.
Ссылки, вечные ссылки, статьи, упоминания, пресс-релизы - используйте по максимуму потенциал SeoHammer для продвижения вашего сайта.
Что умеет делать SeoHammer
— Продвижение в один клик, интеллектуальный подбор запросов, покупка самых лучших ссылок с высокой степенью качества у лучших бирж ссылок.
— Регулярная проверка качества ссылок по более чем 100 показателям и ежедневный пересчет показателей качества проекта.
— Все известные форматы ссылок: арендные ссылки, вечные ссылки, публикации (упоминания, мнения, отзывы, статьи, пресс-релизы).
— SeoHammer покажет, где рост или падение, а также запросы, на которые нужно обратить внимание.
SeoHammer еще предоставляет технологию Буст, она ускоряет продвижение в десятки раз,
а первые результаты появляются уже в течение первых 7 дней.
Зарегистрироваться и Начать продвижение
Задачей менеджера является построение такой структуры, которая лучше всего отвечала бы целям и задачам организации. И в данной курсовой
работе, на основе имеющихся данных, будет построена модель организационной структуры управления предприятием.
Под организационной структурой предприятия понимается состав и взаимосвязи производственных подразделений, входящих в него.
Цель организационной структуры состоит в том, чтобы обеспечить достижение стоящих перед организацией задач. Проектирование структуры должно базироваться на стратегических целях.
«Наилучшая структура» - это та, которая наилучшим образом позволяет организации эффективно взаимодействовать с внешней средой, продуктивно и целесообразно распределять и направлять усилия своих сотрудников и, таким образом, удовлетворять потребности клиентов и достигать своих целей с высокой эффективностью.
Задачи курсовой работы:
- дать общую характеристику предприятию;
- описать вид деятельности;
- описать организационную структуру предприятия;
- проанализировать конкурентноспособность фирмы.
1.
Теоретические и методические аспекты
функционирования организации
1. 1 .Понятие организации, характеристики и признаки.
Организацию принято рассматривать как важнейшую характеристику всякой системы, отличающейся внутренней упорядоченностью частей. Важнейшими признаками организации являются - совместная деятельность людей, объединенных общими интересами, стремящихся к достижению как личных, так и общеорганизационных целей.
Причины объединения людей в организации очевидны. Без решения организационных вопросов процесс управления невозможен. Разрозненная деятельность лимитируется личными способностями каждого, тогда как взаимодействие людей благоприятствует становлению организации как единого целого, многократно умножающего ее творческий потенциал путем наилучшего использования всех ресурсов
Сервис онлайн-записи на собственном Telegram-боте
Попробуйте сервис онлайн-записи VisitTime на основе вашего собственного Telegram-бота:
— Разгрузит мастера, специалиста или компанию;
— Позволит гибко управлять расписанием и загрузкой;
— Разошлет оповещения о новых услугах или акциях;
— Позволит принять оплату на карту/кошелек/счет;
— Позволит записываться на групповые и персональные посещения;
— Поможет получить от клиента отзывы о визите к вам;
— Включает в себя сервис чаевых.
Для новых пользователей первый месяц бесплатно.
Зарегистрироваться в сервисе
Суть организации как специфической функции управления состоит в том, чтобы создать сеть организационных отношений, обеспечивающих целостность управляемой системы, эффективное взаимодействие ее компонентов, целесообразные отношения координации и субординации между ними. Функция организации предполагает формирование и управляющей системы, способной направленно воздействовать на управляемую систему, с тем чтобы, используя наиболее эффективные методы и средства, Добиться выполнения поставленных задач. При этом формируются каналы связи, обеспечивающие беспрепятственную циркуляцию информации от субъекта к объекту и обратно (каналы прямой и обратной связи).
Всякая организация характеризуется наличием динамичных и сложных социальных образований, в которых люди осуществляют совместную деятельность для достижения коллективных и индивидуальных целей. В рамках таких образований между индивидами и социальными группами с жестко закрепленными социальными статусами и ролями, разделением труда формируются определенные социальные отношения. При кооперировании потенциал работников возрастает многократно, и в ходе совместной деятельности они успешнее добиваются поставленных целей. Получается специфический эффект синергии — повышение эффективности работы через совмещение усилий.
В свете сказанного организация предстает как социальная группа, структура которой основана на разделении труда, специфического для каждой отдельной организации. Кооперация действий отдельных членов организации является сознательной и предсказуемой. Структура связей между ее членами и между отдельными частями может направленно создаваться и перестраиваться. Отсюда следует понимание организации как социального образования, которое сознательно конструируется и реконструируется для достижения заданных специфических целей. Важно также отметить, что любая организация может рассматриваться как открытая или закрытая система.
Кроме того, любая организация может быть формальной или неформальной. Формальная организация представляет собой кооперацию людей, отличающуюся целенаправленностью и предсказуемостью действий, упорядоченностью. В неформальной же организации не ставится осознанной цели, хотя ее деятельность может способствовать достижению общих результатов. Важнейшее значение в возникновении неформальной организации имеют динамичные личные отношения. Несмотря на спонтанность, такие группы способны выдвигать из своей среды лидера. Руководство во всех случаях должно иметь в виду, что наряду с формальной может существовать также неформальная организация. При этом следует, зная о существовании последней, стараться не вступать с ней в конфликт, а, напротив, использовать ее при руководстве коллективом.
Во всякой организации различаются ее внутренняя и внешняя среда. Взаимоотношения этих сред отражают связи организации с внешним миром, являющиеся показателем ее жизнеспособности.
Во внутренней среде - возникают проблемы, которые могут породить изменения в ее положении. Устаревает оборудование, сокращаются запасы материальных ценностей, возможно постепенное обесценение профессионального потенциала кадров — все это и многое другое нуждается в пополнении и обновлении, в скоординированном использовании.
Внешняя среда - организации характерна высокой динамичностью и непрерывным, часто малопредсказуемым изменением экономической и социальной ситуации. На положение организации влияют взаимоотношения с заказчиками и клиентами, котировки акций на фондовых рынках, движение рыночных цен, подвижки в сфере кредитования, ухудшение (улучшение) условий реализации продукции (услуг). В одних случаях создаются благоприятные условия, а в других — дополнительные трудности и ограничения.
При прочих равных условиях наиболее рациональные взаимоотношения присущи открытым системам с хорошо развитыми обратными связями, тогда как в закрытых системах внешние связи ограниченны и неполноценны. Это в существенной мере отражает то обстоятельство, что наша страна все еще не достигла постиндустриальной стадии своего развития. Только на этой стадии становятся возможными открытые организации без ограничений, с соответствующей таможенной политикой, с перспективами привлечения крупных инвестиций, масштабными инновационными проектами в пределах экономической безопасности государства. Изменения, происходящие как во внутренней, так и особенно во внешней среде, могут потребовать адекватного изменения ориентиров развития и хозяйственной стратегии организации.
С учетом всех обстоятельств наиболее приемлемым для изучения и проектирования организации представляется системный подход, согласно которому всякая социальная общность есть сложное целое, состоящее из относительно независимых взаимосвязанных частей. Соответственно каждое изменение состояния или местоположения любой части в той или иной мере влияет на состояние и местоположение не только других частей, но и целого. Таким образом, организацию можно характеризовать как социальную группу высокоорганизованных структур, совместная деятельность которых ориентирована на достижение общезначимых и согласованных целей.
1.2. Организационные структуры управления.
Важнейшая проблема организации - выбор рациональной организационной структуры (системы) управления. Успешное функционирование и развитие всякой системы управления в существенной мере зависит от научной аргументированности ее организационной структуры. Структура управления - это состав подразделений аппарата управления, формы их специализации и взаимосвязи, определяющие отношения их соподчиненности, как по вертикали, так и по горизонтали. Основные элементы организационной структуры - подразделение (звено) управления, ступень управления и, наконец, связь между органами и работниками управления, наделенными определенными функциями. Связь обеспечивает взаимодействие элементов организационной структуры, ориентированное на достижение заданных целей.
Таким образом, организационная структура отражает упорядоченную совокупность субординированных и прочно связанных между собой элементов, обеспечивающих функционирование и развитие организации как единого целого. Иначе говоря - организационную структуру управления можно определить как форму разделения и кооперации управленческой деятельности, в рамках которой управление осуществляется путем выполнения соответствующих функций, ориентированных на достижение намеченных целей.
При разработке структуры управления необходимо:
- определить задачи организации (в соответствии с миссией и целями);
- увязать эти задачи с системой функций, полномочий и ответственности по вертикали иерархии управления;
- организационно оформить связи по горизонтали управления, что обеспечит координацию деятельности подразделений, решающих общие задачи по обеспечению рационального соотношения централизации и децентрализации;
- адаптировать содержание потоков информации и каналов к моделям информационного обеспечения соответствующих подразделений организации;
- приспособить содержание потоков информации и каналов их движения к потребностям, связанным с принятием решений.
В особом внимании нуждается решение проблемы рационального соотношения централизации и децентрализации в иерархии управления. Суть решения в следующем:
- централизация должна осуществляться в вопросах общей политики при децентрализации в решении оперативных вопросов. На высшем уровне принимаются решения стратегического порядка, а полномочия по принятию всех прочих решений, равно как и ответственность за их качество, делегируются на низшие ступени управленческой иерархии;
- решения, определяющие планомерное развитие подсистемы, принимаются тем органом, который несет ответственность за ее эффективное функционирование;
- содержание и каналы информации должны соответствовать не традиционным взаимосвязям и субординации, а потребностям принятия эффективных решений.
Для настоящего времени характерен процесс децентрализации многих видов управленческих работ, поскольку чрезмерная централизация управления сковывает инициативу руководителей, ограничивает гибкость производства и нередко ведет к недостаточно аргументированным решениям, в которых не учитываются в полной мере специфика работы отдельных трудовых коллективов и имеющиеся на местах внутренние резервы. С учетом этих обстоятельств централизация управления оправдывает себя при решении тех проблем, которые по своим характеристикам делают необходимым единое целенаправленное регулирование, например, определение направлений: темпов развития организации, ее реорганизация, установление шкалы заработай платы и т. д.). Децентрализация управления особенно рекомендуется в ситуации, когда деятельность данного подразделения относительно независима и другие подразделения не оказывают или почти не оказывают на него влияние — в условиях территориальной разбросанности объектов или при иных обстоятельствах, затрудняющих связь между центром принятия решения и исполнителями. Реальные возможности организации: средства их наиболее полного использования не могут быть с достаточной полнотой и точностью определены в централизованном порядке. Поэтому ей предоставляются полномочия для самостоятельного определения наиболее целесообразных путей реализации принятых вышестоящими уровнями решений. Разграничение функций между уровнями управления основано на том, что в централизованном порядке решаются только те вопросы, которые с такой же эффективностью не могут быть решены низовыми звеньями.
Относительная автономность подразделений является важным фактором повышения устойчивости и активности системы в целом. В экономических подразделениях нередки случаи, когда возникает потребность в немедленной реакции на те или иные внутренние и внешние воздействия, но вышестоящий орган не в состоянии сразу, же разработать линию своего поведения и дать исполнителям соответствующие распоряжения. В таких случаях именно эта автономность позволяет подсистемам гибко приспосабливаться к изменяющимся условиям и самостоятельно решать возникающие вопросы. Сочетание централизованного регулирования поведения отдельных подразделений с их относительной автономностью сопряжено с тем, что различные подразделения структур управления являются одновременно «черными» и «белыми» ящиками. Всякая низшая ступень в управлении представляет собой «белый ящик» для себя самой и «черный ящик» зля
высших ступеней. В то же время все подсистемы осуществляют свою деятельность в соответствии с общей целью, сформулированной центральным органом, который определяет задачи и структуру подсистем. Каждая система сама формулирует вопросы, решаемые на различных ее уровнях, устанавливает, кто и за что отвечает, кто и какие принимает решения.
Еще А. Файоль отмечал, что централизация как таковая не может быть принята или отвергнута по воли руководителя или в зависимости от обстоятельств, она всегда существует объективно. Проблема заключается в определении меры централизации или децентрализации, приемлемой для данной организации.
К примеру, централизация высока на небольших предприятиях, где распоряжения их руководителей передаются непосредственно работникам низших ступеней, тогда как на крупных предприятиях, где руководитель отдален от работников низшего звена многоступенчатой системой управления, распоряжения проходят через ряд промежуточных звеньев. При этом каждый работник неизбежно вкладывает что-то от себя при передаче и исполнении полученных распоряжений. Степень инициативы, которую целесообразно предоставить промежуточным звеньям, зависит от характера и качеств руководителя, а также его подчиненных, условий функционирования предприятия. Уровень централизации должен измениться в зависимости от ситуации в системе.
На соотношение централизации и децентрализации в системе управления существенное влияние оказывают объем, особенности движения и преобразования информации, ориентируясь на которую можно определить относительную значимость различных уровней управления и пункты принятия решений.
В связи с этим возникает задача выявления объективно необходимого объема и характера информации, которой должен постоянно располагать тот или иной уровень управления для принятия решений в рамках его компете
нции.
Право решения отдельных вопросов предоставляется тем уровням, которые своевременно получают всю необходимою для этого информацию. Чем дальше подразделение, в котором принимается решение, от этого уровня, тем труднее руководителю ориентироваться в состоянии дел и осуществлять гибкое управление. Поэтому полномочия и ответственность за решения целесообразно передавать «вниз», как можно ближе к месту функциональной деятельности.
Централизация представляет собой аккумуляцию власти (права принятия решений) на высшем уровне. Децентрализация означает передачу определенных властных полномочий и соответствующей им ответственности более низким ступеням организационной иерархии. Децентрализация ориентирована на улучшение структуры организации и взаимосвязей внутри нее. Было бы неверным противопоставлять понятия централизации и децентрализации как взаимоисключающие. В действительности они отображают различия в степени распределения власти, ответственности и контроля по вертикали управления. Децент-рализация не может рассматриваться вне связи с централизацией, она существует лишь в связи с централизацией и в единстве с нею.
Смысл разработок проблем соотношения централизации и децентрализации заключается в том, чтобы определить наиболее рациональные основы формирования организационных структур. Вот главные направления деятельности по созданию и рационализации аппарата управления организациями:
- всемерная централизация — отделение общих и стратегических функций от оперативной деятельности и предоставление высшему звену управления возможностей для решения задач принципиального и перспективного характера;
- соответствующая децентрализации, повышение самостоятельности подразделений организации путем распределения обязанностей между руководителями различных ступеней;
- разделение труда и специализация работников аппарата управления;
- обеспечение единства распорядительства, означающего, что исполнитель не должен получать распоряжения более чем от одного руководителя;
- установление диапазона управления, т. е. обоснованных пределов руководства одним должностным лицом.
Для решения этих задач необходимо нормативное соблюдение принятого соотношения централизации и децентрализации на всех уровнях организационной иерархии посредством распределения обязанностей и ответственности между ее подразделениями, а внутри последних — между отдельными работниками.
В любой организационной структуре вправления необходимость формирования каждого структурного подразделения должна быть всесторонне обоснована. При этом критериями рациональности принимаемого решения служат численный и квалификационный состав работников соответствующего подразделения, объем и сложность выполняемой работы, внешние связи и характер связей между должностными лицами в соответствии с выполняемыми ими функциями.
Важно иметь четкое представление о понятии «подразделение», являющемся строительным блоком организации. Понятие «подразделение» распространяется на понятия «отдел», «отделение», «филиал» и другие типы структурных образований с числом работников 8-15 человек. При этом в рамках подразделения, как правило, не существует четкого разделения труда и его работники в определенной мере взаимозаменяемы. Каждый сотрудник получает задание в зависимости от своего таланта и квалификации и разделяет общую ответственность в меру своих полномочий.
Таким образом, функции аппарата управления персонифицируются на основе соответствующего распределения полномочий и ответственности, сообразно с квалификацией и способностями работников. Тем самым обеспечивается их персональная ответственность за выполнение закрепленных за ними функций и исключается необходимость организации повседневного жесткого контроля за деятельностью исполнителей.
Разграничение обязанностей и установление личной ответственности за строго определенные функции абсолютно необходимы для успешной работы. Это приучает к сознательной дисциплине, порядку, воспитывает деловые качества. Распределение функций и ответственности должно отвечать установленным правилам.
Руководитель:
- определяет задачи, которые он: а) будет выполнять сам; б) передаст исполнителям;
- разрабатывает ясные инструкции для исполнителей;
- определяет объем и характер задач в соответствии с объективными условиями, независимо от субъективных факторов;
- оценивает работников с точки зрения их способности выполнять возложенные на них задачи;
- осуществляет контроль за результатами деятельности;
- определяет риск, связанный с передачей обязанностей на нижние ступени. При рассмотрении прав и обязанностей руководитель может идти двумя
путями. В одном случае он только определяет направление работы, предоставляя подчиненным необходимую самостоятельность, не предписывая каждому способ ее решения, в другом — он может жестко подробно расписать каждую операцию. Отдельные руководители, к сожалению, искренне уверены в том, что их главная обязанность состоит в определении обязанностей подчиненных. Практика убеждает, что слишком строгая регламентация нецелесообразна: она связывает инициативу, предприимчивость исполнителей и вредит успеху дела.
Организационная структура управления может быть оценена с помощью ряда характеристик, отражающих ее качество и в решающей степени предопределяющих эффективность ее функционирования. Важнейшая из этих характеристик - звенность управления. Экономические системы являются, как известно, многоуровневыми. Число уровней служит отражением структуры управления с точки зрения ее сложности. При прочих равных условиях, чем меньше число уровней, тем совершеннее организационная структура правления и быстрее принимаются обоснованные решения. Многозвенность организационной структуры выступает следствием зачастую неправомерного превалирования в ней вертикальных связей, что приводит к удалению центров принятия решений от сферы оперативной деятельности.
Количество уровней управления во многом определяется особенностями разделения управленческого труда по вертикали, а само это разделение - масштабом и структурой производства, а также объемом информации, циркулирующей по вертикали. Упорядочение информационных потоков является основной предпосылкой сведения уровней управления до необходимого и рационального числа.
Говоря конкретнее, количество уровней управления обусловливается нормой минимальной численности работников, при которой допускается создание структурных подразделений (отделов, бюро), производственных единиц (производств, цехов, участков) и введение должностей заместителей руководителей (предприятия и его подразделений). Например, структурные подразделения аппарата управления рекомендуется формировать, соблюдая следующие нормы: бюро - от 4 до 7 человек, отдел - численность работников от 7 до 10 человек, управление - не менее трех отделов. Однако эти нормативы весьма приблизительны и в реальных системах на решение рассматриваемой проблемы оказывает влияние множество факторов, в том числе и неформальных, проистекающих из специфических условий их функционирования.
Вместе с тем существуют - диапазоны управления, предусматривающие, каким количеством подчиненных может успешно управлять один руководитель. В каждом конкретном случае их число должно быть ограничено, ибо есть предел целесообразной численности подчиненных для одного руководителя, превышение которого снижает эффективность управления.
Ограничительными факторами являются, к примеру, информационные барьеры, определяющие границы сложности и объема задач, доступных для решения при заданной структуре и уровне технического оснащения органов управления. В слишком маленьких и в слишком больших коллективах общение людей друг с другом затруднено. В маленьких коллективах уменьшается возможность выбора наиболее «совместимых» людей, а большие распадаются на отдельные группы, что снижает цельность, сплоченность коллектива. В подчинении одного руководителя должно быть такое количество работников, которое он практически может контролировать. Предпринималось множество попыток точно определить, сколькими людьми может эффективно руководить один человек. Число, которое называют разные авторы, варьируется в пределах от 3 до 15. Из-за разнообразия условий и проблем координации ни одна названная величина не может считаться правильной, ибо все зависит от конкретных обстоятельств. Количество машинисток в стенографическом бюро, которым может руководить заведующий, не может равняться количеству товароведов, которыми может руководить начальник соответствующего сектора.
Диапазон управления в существенной мере обусловливается -делегированием полномочий, суть которого - передача некоторой части управленческих функций руководителю более низкого уровня, но с сохранением полноты ответственности.
При прочих равных условиях наиболее эффективна организация, в которой работники расставлены так, чтобы каждый мог максимально использовать свои силы и способности и активно участвовать в решении возложенных на него задач. Когда этого нет, труд нередко оказывается малопроизводительным, возникает безответственность, параллелизм, подмена. Подчиненный вынужден по всякому поводу обращаться к руководителю, тратя впустую свое и его время. Вина в этом случае лежит на руководителе, замкнувшем все рычаги управления на себя. Ему не следует стремиться, самому стать частником всех дел, тем более что в некоторых вопросах он может быть недостаточно компетентен или совсем некомпетентен. Передавая часть прав и ответственности подчиненным, руководитель высвобождает время, необходимое для решения более сложных и перспективных вопросов, получает возможность больше внимания уделить вопросам организации работы в целом.
Делегирование полномочий ни в коей мере не исключает необходимости осуществления принципа - единоначалия. Соблюдение этого принципа способствует поддержанию в организации отношений субординации: сокращается опасность получения сотрудниками противоречивых указаний, неувязок и конфликте. Если сотрудники получают их толь ко от одного руководителя, вероятные неполадки в функционировании сводятся к минимуму.
Структура любой организации должна разрабатываться с максимальным учетом требований, диктуемых рассмотренными выше обязательными общими принципами, но не только. При разработке структуры организации (в данном случае производственной) рекомендуется принимать во внимание:
- отраслевую принадлежность, особенности данной отрасли и подотрасли;
- сложность обрабатываемых продуктов, так как она во многом определяет количество требуемых подразделений и их связи;
- объем производства (в большинстве своем объединения (предприятия) больших размеров имеют более разветвленную сеть подразделений);
- характер и особенности производственного процесса, уровень его механизации и автоматизации;
- специфику отношений данного предприятия с другими, занимающимися, в частности, материально-техническим снабжением, предоставлением кредитов, конструкторскими разработками и др.;
- район и место сосредоточения производства, состояние внешней среды;
- изменения организационных форм, в которых функционируют предприятия, например, при вхождении предприятия в состав некоего объединения (концерна, холдинга и пр.), переориентирование функций (планирования, кооперации, контроля и др.).
Помимо особенностей территориального размещения производства, объема и характера его внешних связей не следует забывать и о том, что всякая организационная структура представляет собой, в конечном счете, форму объединения людей. Поэтому пристальное внимание следует уделить уровню подготовки и квалификации кадров, их способностям и возможностям. Подчас именно по причине несовершенства кадров организационная структура оказывается инертной и консервативной по отношению к прогрессивным нововведениям. Обычно люди (за малым исключением) привыкают к существующим структурам и неодобрительно встречают изменения в последних, так или иначе затрагивающие их личные планы и взаимоотношения. Поэтому важно их своевременно заинтересовать и подготовить к благожелательному восприятию изменений в организационных структурах управления.
Органы управления призваны организовывать, регулировать и координировать ход производства, а также процессы обеспечения социальных, коммунальных и культурных потребностей коллектива. Все упомянутые процессы находятся в тесной взаимосвязи и не могут протекать независимо друг от друга.
Вполне очевидна потребность в тщательно разработанном проектировании структур - в детальном анализе и определении целей, в выделении организационных подразделений и установлении форм их координации. Существенную помощь в этом может оказать использование системного подхода, который в данном случае заключается в том, чтобы:
- определить или уточнить социально-экономическую роль данной организации в развитии общества, не упустить из виду ни одной сколько- нибудь важной управленческой задачи, без решения которой достижение главных целей окажется неполным;
- выявить и увязать применительно к указанным задачам всю систему функций, прав и ответственности по вертикали управления;
- исследовать и организационно оформить все связи и отношения по горизонтали управления, т. е. координацию деятельности разных звеньев, занятых выполнением общих текущих задач;
- обеспечить оптимальное для данных условий соотношение централизации и децентрализации.
Разработка организационных структур управления может осуществляться различными методами. К таким методам относятся: аналогия, структуризация целей и задач управления, экспертно-аналитическое мо-делирование и, наконец, базирующиеся на материалах анализа потоков информации, циркулирующей в системах управления. При этом большей частью достичь гибкости организационной структуры с помощью какого-либо одного метода не представляется возможным. Одновременное использование для этой цели нескольких методов позволяет создать структуры, наиболее приспособленные к самоадаптации.
Широко применявшийся в еще недавнем прошлом - метод аналогии основан на распространении опыта предприятий с рациональной организационной структурой на группы предприятий отрасли с аналогичными характеристиками. Группируются предприятия
преимущественно по признакам состава и объема выпускаемой продукции, типу производства и специфике производственной структуры, условиям снабжения и сбыта, численности работников. В каждой группе выбирается предприятие, лучшее по организации управления и конечным результатам деятельности, оно и признается в качестве эталона при определении желательных параметров организационной структуры управления. Тем самым появляется возможность сэкономить время и средства на формирование оргструктур.
Во всех случаях организационные структуры управления следует увязывать со стадиями жизненного цикла организаций. На стадии зарождения, управляет большей частью сам предприниматель, на стадии роста, происходит функциональное разделение труда менеджеров, на стадии зрелости, превалирует тенденция к децентрализации, на стадии спада, разрабатываются меры по совершенствованию управленческой структуры в соответствии с потребностями и тенденциями в изменении производства, на стадии прекращения деятельности, структура управления организацией или полностью разрушается (в ситуации, когда предприятие ликвидируется), или реорганизуется.
Эффективность функционирования уже созданных структур управления зависит, прежде всего, от своевременного и полного выполнения управленческих функций. При этом выполнение их не означает только цикличного повторения одних и тех же работ. Функция — категория динамическая, она находится в постоянном развитии. Поэтому динамичностью должны обладать и организационные структуры управления, посредством которых выполняются присущие ему функции. Проектируемая структура в целом должна соответствовать стратегии, выбранной предприятием. Со сменой стратегии перед «обслуживающим» ее предприятием возникают новые задачи, для решения которых потребуются новые структуры.
В настоящее время распространено перспективное планирование организационной структуры, проектирование изменяющихся соотношений
централизации и децентрализации в управлении. В рамках этой деятельности разрабатываются краткосрочные и долгосрочные организационные планы, которые детализируются и разъясняются посредством схем, должностных инструкций. Кроме того, предусматривается периодический пересмотр организационных планов с целью приведения структуры управления в соответствие с меняющимися функциями, осуществляется мониторинг информации о функционировании структуры, отрабатывается организационный механизм, способствующий регулярному совершенствованию структуры управления.
По материалам проектирования должна быть обеспечена адекватность организационной структуры целям и задачам организации, а это предполагает:
- установление состава, содержания и объема функций, которые должны реализоваться в процессе управления данной системой (министерством, объединением, предприятием и др.);
- разработку, исходя из функций управления отношений субординации (соподчиненности), обеспечивающих единство власти. Каждый работник должен получать указания только от одного руководителя;
- подготовку положений о каждом структурном подразделении с четким обозначением его места в общей структуре, с указанием определяющих средств и методов решения, стоящих перед ним задач;
создание единой информационной модели (служащей базой информационного насыщения всех подразделений аппарата управления), предусматривающей рациональные схемы информационных потоков и документооборота;
- составление должностных инструкций для руководителей структурных подразделений и других работников аппарата управления, фиксирующих характер деятельности и служебное положение каждого из них;
- расчет численности и определение квалификационного состава работников аппарата управления, распределение их по структурным подразделениям, функциям управления и рабочим местам.
Обязательным условием эффективного выполнения этой работы является наличие критериев рациональной организационной структуры, а также альтернативных решений возникающих при этом частных вопросов проектирования: определения численности подразделений, распределение полномочий и др.
Существует множество типов структур управления и их модификаций, адаптированных к конкретным условиям функционирования организаций,— сложных, многофункциональных и чрезвычайно гибких. Они мало, чем напоминают структуры начала XX в., когда зарождался менеджмент, но в них довольно четко проглядывают «родовые» черты их «прародителей»: все они выросли из линейно-функциональных структур того периода. В принципе современные организационные структуры успешно функционируют до тех пор, пока остаются верными основополагающим идеям и правилам линейно-функционального управления.
Потребность в разработке организационных структур различных типов для экономических систем выявилась в 1950-х гт. В эти годы в экономических системах основное внимание сосредоточивалось на характеристиках и механизме использования организационных структур. В то же время вопросам приспособления этих структур к конкретным условиям работы отдельных систем не уделялось должного внимания. По инерции доминирующим оставался излишне формализованный, механический подход к формированию оргструктур управления, не корреспондирующийся с новейшими тенденциями развития экономики. Но вскоре внимание стало все более сосредоточиваться на изучении именно конкретных условий функционирования систем и разработке для каждой из них своей собственной уникальной (индивидуализированной) организационной структуры, в максимально доступной мере удовлетворяющей их специфические потребности и учитывающей современные тенденции развития экономики.
В рамках этих структур велся поиск все более эффективных форм взаимоотношения линейного и функционального управления. При этом приоритетная роль отводилась последнему, поскольку проблема формирования линейного руководства относительно проста, а вот проблема формирования функционального управления, являющегося наиболее подвижной формой, оказалась довольно сложной. Нередко у линейного руководства отсутствовали необходимые специальные знания, а функциональные службы обнаруживали непонимание общих проблем управления. В новых структурах подобные недостатки частично устранялись.
Наиболее существенные изменения в организационном построении систем управления связаны с применением различных видов - программно-целевых структур, базирующихся на системном подходе к формированию организации, к нахождению оптимального соотношения централизации и децентрализации в управлении. При этом вся совокупность работ и усилий, обеспечивающих достижение конечной цели, рассматривается не с традиционной позиции иерархии подчинения (субординации), а с точки зрения успешного решения определенных проблем. Соответственно и упор делается не столько на совершенствовании отдельных звеньев организации или функций, сколько на улучшении их взаимодействия посредством целенаправленной интеграции всех видов деятельности.
Для создания структур указанного вида в установившуюся линейно-функциональную структуру вводятся (временно или постоянно) особые штабные органы (лица). Они берут на себя координацию существующих горизонтальных связей, свойственных данной структуре. Основная часть работников, занятых выполнением программы, оказывается в подчинении не менее чем у двух руководителей, но по разным вопросам. Управление программами осуществляется специально назначенными руководителями, которые несут ответственность за координацию всех связей по программе и своевременное достижение поставленных целей.
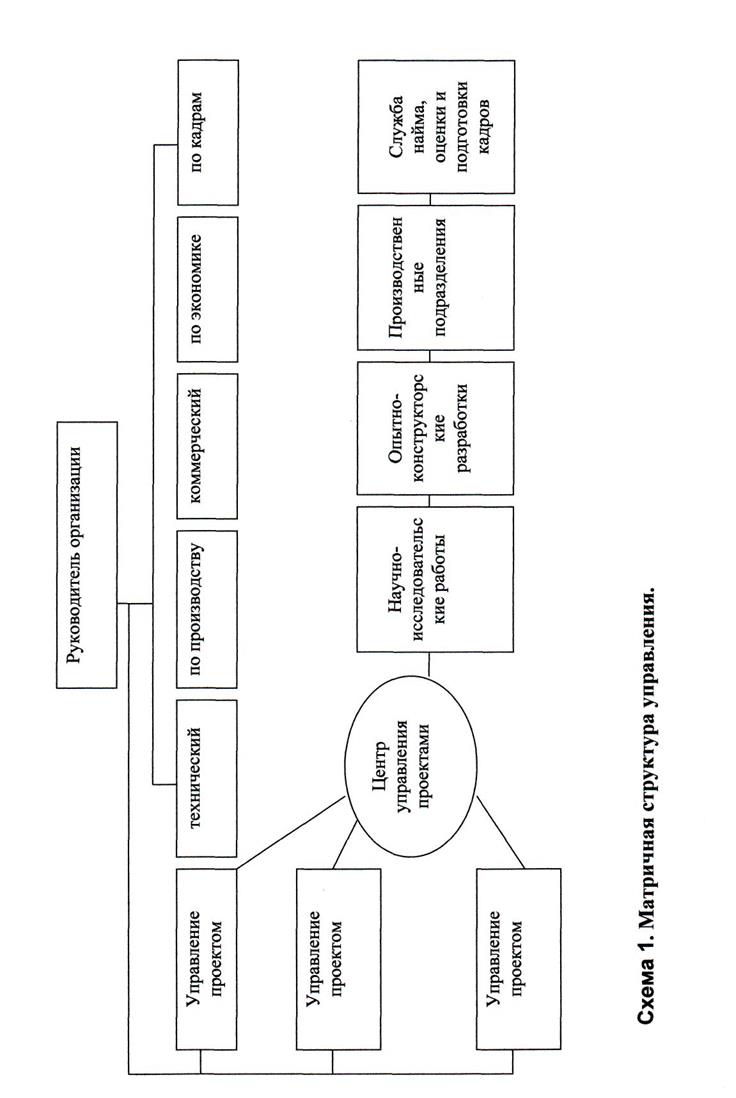
Одной из разновидностей программно-целевой структуры является матричная структура, основанная на принципе двойного подчинения исполнителей: с одной стороны, непосредственному руководителю функционального подразделения, с другой — руководителю временной группы, который наделен необходимыми полномочиями и несет ответственность за сроки, качество и ресурсы. В аппарате управления фирмой наряду с постоянными функциональными отделами для решения конкретных меняющихся проблем создаются временные проектные группы.
Группы эти формируются из специалистов существующего аппарата, которые, однако, чаще всего продолжают оставаться в штате своих функциональных отделов, что позволяет (в этом отличие от проектной формы организации) легко перемещать персонал при переходе от одного проекта к другому. Выполнение проекта сочетается с межфункциональной координацией различных специализированных видов деятельности. Руководитель проекта несет ответственность как за его выполнение в целом, так и за эффективную координацию и выполнение отдельных функций. При этом руководитель проекта взаимодействует с двумя группами подчиненных: с членами проектной группы, а также с другими работниками функциональных подразделений, подчиняющимися ему временно и по ограниченному кругу вопросов (при этом сохраняется их подчинение непосредственным руководителям подразделений — отделов, служб, откуда они взяты).
Оргструктуры управления, построенные по матричному принципу, приспособленные к управлению целевыми программами, используются для систем со сложным взаимодействием элементов и часто меняющимися целями. Различают централизованные (линейно-программные), координационные и матричные структуры.
Централизованная - структура используется в организационных системах, ориентированных на достижение одной цели. Например, проектирование строительства особо важных объектов, производство новой сложной продукции и др.
Координационные - структуры характеризуются наличием координационных органов, задача которых состоит в согласовании межфункциональных связей по горизонтали с целью организации совместного принятия решений и контроля выполнения программ. Подобные структуры используются для управления программами со слабой скоординированностью действий исполнителей.
Матричная - структура представляет собой организацию управления по вертикальным и горизонтальным связям. Она повышает согласованность в работе функциональных служб в условиях возрастающего значения (как по масштабу, так и по составу) решаемых задач. При этом матричная структура распространяется не на всю организацию, а только на ее часть. Успех во
многом зависит от того, в какой мере руководители проекта обладают требуемыми профессиональными качествами и способны выступить в проектной группе в роли ее лидера.
Матричные структуры широко используются в научно-исследовательских и проектных организациях, где необходимо единое руководство различными отделами и службами, разрабатывающими проект. Такое руководство по горизонтальным связям выполняют главные инженеры, главные специалисты проектов.
Ниже представлена возможная схема матричной структуры управления (схема 1).
Одной из распространенных форм матричной структуры является проектное управление, охватывающее целенаправленные изменения в системе (освоение новых изделий и технологий, модернизация производства и др.) Проектные структуры обычно внедряются в производство, продукция которого имеет относительно короткий «жизненный» цикл, часто меняется, что обусловлено характером и темпами научно-технического развития отрасли. В связи с частой сменой моделей продукции производственные партии продукции в этих случаях ограничены, имеющиеся материально-технические ресурсы закрепляются за отдельно организуемыми по проектам группами или полностью амортизируются за период осуществления отдельных проектов.
Проектная группа ~ это временное организационное образование, создаваемое для разработки, как правило, комплексных проблем, имеющих прикладное значение. Такая организационная форма обладает необходимыми научно-техническим персоналом, оборудованием, ресурсами. Она создается для решения конкретной проблемы, после чего распускается, и работники возвращаются в «материнские» подразделения. Руководители проектов назначаются по мере возникновения необходимости в новых разработках. Они располагают полномочиями планировать и координировать действия исполнителей, проводить все необходимые работы, оценивать деятельность персонала. Весь связанный с проектом персонал входит в их подчинение.
Стремление повысить гибкость (приспособляемость к изменениям во внешней среде) приводит к появлению - дивизиональных структур, создаваемых в крупных организациях. Дивизиональная структура нередко сочетается с программно-целевым подходом. В этом случае решение стоящих перед организацией задач возлагается на специально формируемые для этого отделы — проектные (рабочие) группы или подразделения. Они выделяются из состава материнской организации, им предоставляется самостоятельность, достаточная для осуществления оперативного управления. Выполнение функций, важнейших для перспективного развития организации в целом, остается в ведении центрального аппарата управления, где разрабатываются стратегии развития организации, инвестирования научных исследований и разработок (схема 2).
Структурирование организации по отделениям осуществляется по одному из трех критериев: по видам выпускаемой продукции или предоставляемых услуг продуктовая специализация), по ориентации на те или иные группы потребителей (потребительская специализация), по обслуживаемым территориям (региональная специализация). В результате ускоряется реакция организации на изменения во внешней среде, становится более тесной ее
связь с потребителями. Управляют отделом специально назначенные управляющие, а не руководители функциональных служб. Структуры рассматриваемого типа обладают большой гибкостью, достаточно просты и экономичны, позволяют организации параллельно разрабатывать несколько проектов, не меняя привычной структуры управления. Правда, при этом возникает проблема распределения ресурсов (в том числе кадровых) между проектами, а от руководителей проектов требуется не только умелое управление всеми стадиями жизненного цикла разработки, но и учет той роли, которую они играют в сети проектов данной организации. В зависимости от условий функционирования создаваемых подразделений они
в одних случаях обладают юридической самостоятельностью, а в других лишены ее.
В первом случае руководители подразделений получают от топ-менеджеров организации только общие указания, а в решении всех конкретных вопросов самостоятельны. Во втором случае полномочия подразделений существенно ограничиваются. Они не имеют права принимать заказы, вносить изменения в принятые планы производства (без согласования с высшим руководством или руководителем отдела), контролировать производство, нанимать или увольнять работников на уровне руководителей служб и цехов.
В целях облегчения проблемы координации в организации могут формироваться штабные органы управления в составе руководителей проектов.
В настоящее время в мире начинают доминировать системы менеджмента, делающие ставку на принципы развития и использования внутреннего потенциала организации, отвечающие современным потребностям рынка. К такому типу, в частности, относятся сетевые системы менеджмента, формирующие новую культуру отношений внутри организации путем отказа от традиционной административной иерархии.
Сетевые типы организационных структур управления в отличие от традиционно иерархических строятся на принципах своевременной адаптации к изменениям рыночной среды, использовании принципа технологий проектов и команд как главных компонентов внутренней ротации менеджеров в зависимости от их соответствия решаемым задачам.
Особенности управления сетевыми структурами заключаются в отказе от принципа жестко вертикальной иерархии и переходе к принципу управления по проектам. При этом один и тот же менеджер может быть одновременно руководителем одного проекта, экспертом другого и одним из исполнителей третьего, что максимально мобилизует его внутренний потенциал, а ротация менеджеров внутри сети является одним из наиболее сильных стимулов для их развития.
Главный принцип здесь — максимальное соответствие квалификации, способностей и знаний каждого менеджера задачам решения проблем развития бизнеса корпорации. Сетевые типы организационных структур управления, в отличие от иерархических, практически не подвержены
опасности бюрократизации, чрезвычайно гибки и восприимчивы к инновациям, способны к саморазвитию.
Использование сетевых принципов организации управления обусловлено, прежде всего, постоянным изменением внешней среды, необходимостью адаптации организации к этим изменениям и появлением новых информационных, технологических возможностей менеджмента.
Когда создается организация-сеть, предприятие для более гибкого выполнения производственных программ разбивается на самостоятельные в хозяйственном, а иногда и в правовом отношении центры (хозяйственные единицы, отделения, производственные сегменты, центры прибыли). Сети из организаций могут быть представлены двумя организационными моделями:
- сеть, формирующаяся вокруг крупной компании. В этом случае крупная компания, представляющая собой ядро сети, привлекает к работе лучшие фирмы меньшего размера, но с требующейся специализацией, поручая им отдельные виды деятельности. Крупная компания, занимая доминирующее положение в деловых операциях, является головным заказчиком, в результате включенные в сеть фирмы становятся исполнителями заказов крупной компании, а мелкие компаний очень быстро попадают в зависимость от нее;
- сеть компаний, близких по масштабу. В этом случае большинство компаний, объединенных в сеть, юридически самостоятельны, но активно поддерживают деятельность друг друга, что является определяющим фактором успешной работы всех. Отдельные виды деятельности сетевые компании могут передавать другим организациям, специализирующимся, например, на маркетинговых исследованиях, составлении бухгалтерской отчетности, подборе кадров и повышении их квалификации. Это дает возможность компании освободиться от многих видов деятельности и сконцентрировать внимание и ресурсы на приоритетных для себя областях, уникальных процессах, обеспечивающих ей конкурентное преимущество.
Среди сетевых организационных структур выделяются «оболочные» компании. Это компании, которые часть бизнес-функций, прежде всего производство продукции, передают на контрактной основе сторонним подрядчикам. Сама же компания сосредоточивается на вопросах, касающихся того, сколько производить, как и кому поставлять произведенную продукцию.
В условиях сетевой модели вся цепочка создания благ превращается в совокупность услуг. Договорные отношения переносятся на владельцев долей капитала и отдельных сотрудников.
Привлекательность сетевых структур объясняется очень высокими экономическими показателями, которые обусловлены двумя факторами — компетентностью и эффективностью организационной сети. Сетевые структуры являются идеальной школой повышения компетентности работников компании, поскольку к решению тех или иных задач привлекаются лучшие исполнители. Подобный элитарный принцип сотрудничества, присущий сетевой компании, исключает использование
«второсортных» исполнителей, хотя последние и работают в той же компании.
Эффективность рассматриваемых компаний гарантируется малыми издержками и рациональной их структурой. Сети исключают дублированное использование рабочей силы и мощностей на разных участках. Тем самым удается избегать высоких совокупных затрат на производство конечной продукции.
Вместе с тем в качестве слабых мест сетевой организации и сетевой структуры управления можно назвать:
- чрезмерную зависимость результатов от кадрового состава, рост рисков, связанных с текучестью кадров;
- отсутствие материальной и социальной поддержки участников сети вследствие отказа от классических долгосрочных договорных форм и обычных трудовых отношений. Участники сетевой структуры вдохновляются, главным образом, миссией сети. Социальная же поддержка не находит должного места в мотивационной концепции этой организационной формы;
- неопределенность в планировании бизнеса для членов сети.
Несмотря на недостатки, сетевые структуры управления более соответствуют реальной ситуации, сложившейся в экономике. Они позволяют реагировать на изменения в характере менеджмента, который, с одной стороны, превращается в интеграционный процесс, поскольку способствует объединению всех традиционных функций управления, а с другой — приобретает модульную структуру, ведущую к появлению множества видов объектно-предметного менеджмента.
Вместе с тем организационные структуры по необходимости приобретают инновационный характер. Инновации являются следствием использования достижений научных исследований и разработок, реализуемых организациями в виде новых или усовершенствованных продуктов (услуг), находящих применение в их практической деятельности. Понятие инновации распространяется не только на новые продукции (услуги), но и на способы их производства, изменения в структуре, документообороте и пр. Словом, таковой является любая деятельность, обеспечивающая новизну потребительских свойств и экономию затрат.
Определяющий ориентир инновационной деятельности - усиление существующих и приобретение новых конкурентных преимуществ. Различаются внутренние и внешние побудительные мотивы к инновациям. В первом случае они вызываются необходимостью замены устаревших ресурсов (оборудования, организационных механизмов, структур и др.), а во втором - непрестанно меняющимися обстоятельствами рыночной конъюнктуры и потребностью в усилении своих позиций в конкурентной борьбе.
В совокупности множества инноваций, находящихся во взаимодействии, особого внимания заслуживают инновации управленческого порядка, а среди последних - социальные. Социальный аспект присутствует, если не прямо, то опосредованно, во всякой новации - технической, технологической,
организационной и др., и это нужно учесть при принятии управленческих решений.
При планировании инновационной деятельности инновационные стратегии разрабатываются в зависимости от преобладающего в организации типа инноваций. Для разработки рациональной стратегии (стратегий) необходимо, чтобы руководство организации имело ясное представление о ее инновационном потенциале, финансовых источниках развития инновационной деятельности (государственная поддержка при осуществлении крупных программ и привлечение частного капитала для малых инновационных предприятий).
Организационные формы инновационных предприятий чрезвычайно разнообразны и специфичны. Они должны быть готовы к принятию решений в условиях неопределенности и риска. В составе - организационной структуры инновационного предприятия, формируется комплекс научных, конструкторских, технологических и инфраструктурных подразделений, осуществляющих деятельность по созданию портфеля инноваций и специализации, а также производственных, вспомогательных и управленческих подразделений, обеспечивающих выполнение тематических планов научно-исследовательских и опытно-конструкторских работ, а вслед за тем и реализацию созданных инноваций.
Организационные формы инновационной деятельности строятся на своеобразной иерархической организационной структуре с соответствующими механизмами управления, позволяющими выявлять и разрабатывать инновационные идеи, технологии их осуществления, формы мотивации персонала. Наиболее благоприятные условия для развития инновационных процессов создаются в технопарках, где на одной территории сосредотачиваются научные учреждения фундаментального и прикладного назначения, конструкторские и внедренческие организации, а также промышленные предприятия, ориентированные на освоение новшеств. Обычно их важной составной частью являются венчурные (рисковые) фирмы и акционерные банки.
Сколь бы различными ни казались организационные структуры управления, все они растут из одного корня. Любая современная структура по природе своей строится на основе линейных и функциональных связей. По мере нарастания разнообразия организаций создаются организационные структуры управления, также обладающие соответствующим разнообразием.
Для лучшего уяснения сути сказанного, отметим общее и выделим различия между линейными и функциональными структурами органов управления.
Линейные руководители непосредственно или опосредованно управляют производством. Это мастера, начальники смен и цехов, директора и генеральные директора объединений и предприятий, начальники главных отраслевых управлений министерств, министры, а также заместители линейных руководителей и начальников специализированных функциональных управлений, служб, отделов и других подразделений на всех уровнях управления производством.
Функциональные руководители обслуживают линейных руководителей, подготавливая для них рекомендации, необходимые для корректировки или изменения отдельных параметров управляемого объекта.
Возрастающая сложность и рост масштабов производства требуют дифференциации функций управления. Поскольку линейные руководители
не могут охватить все вопросы производственно-хозяйственной деятельности, в помощь им создаются подразделения, комплектуемые из специалистов по планированию, учету, контролю и другим функциям. Таким образом, и возникла функциональная система управления. Поэтому линейный тип организации, как не приспособленный к условиям сложных экономических систем, признается целесообразным только для простой по содержанию управленческой деятельности.
Функциональное управление в сравнении с линейным создает более благоприятные условия для эффективного управления предприятиями сравнительно небольшого или даже среднего размера. Такие предприятия занимают, как правило, наибольший удельный вес и здесь преобладают функциональные структуры. Однако эти структуры приспособлены к условиям относительно небольшого объема продукции. С ростом концентрации производства и существенным сокращением сроков обновления или замены изделий функциональные структуры себя не оправдывают. Возникает потребность в их дальнейшем совершенствовании.
В изменившийся ситуации строго функциональные структуры, где полномочия и ответственность разделяются преимущественно по функциональным подразделениям, могут нанести ущерб интересам производства. Характерное для этих структур сосредоточение ответственности, как за стратегические, так и за оперативные решения в высших звеньях управления, порождает тенденцию к доминированию оперативных вопросов над стратегическими в силу их множества и безотлагательности. Заинтересованность в текущем эффекте отодвигает на второй план внедрение в производство научно-технических достижений с долговременным эффектом. При функциональном типе организации происходит, кроме того, дроблении функций планирования и контроля. Текущие и перспективные планы разрабатываются на всех уровнях, тогда как контроль за их выполнением осуществляется только по вертикали. Значит, согласованные решения могут приниматься на высшем уровне управления, поскольку на среднем уровне (между отдельными функциональными подразделениями) нет формальных связей. В результате возникает опасность того, что отдельные разделы планов могут быть слабо скоординированы. Правда интеграция усилий по функциям входит в обязанность руководителя системы, но это зачастую практически невыполнимо из-за возрастающей сложности производства и связей в системе.
В заключении отметим, что успех современных организационных структур все в большей мере зависит от внешних, чрезвычайно быстро меняющихся условий их функционирования. К числу этих условий можно отнести интенсивную конкуренцию, приобретающую глобальный характер, быстрое технологическое развитие, ужесточение требований к интеллекту и потенциалу управленческих кадров, рост их автономии и ответственности.
В настоящее время в стране действует менеджмент переходного периода, появившийся вслед за изменением форм собственности. В связи с этим изменились фундаментальные парадигмы традиционного менеджмента, присущие условиям деятельности рыночной экономики, важнейшая отличительная особенность которой — перманентная и бескомпромиссная конкурентная борьба.
С менеджментом переходного периода связаны стратегическое управление, стратегическое планирование, гибкие организационные
структуры (способные адаптироваться к быстро меняющейся рыночной конъюнктуре), маркетинговая служба и др.
В целом менеджмент переходного периода не вполне соответствует переменам, масштабной смене форм собственности. Прежние формы планирования уже невозможны, а новые еще не устоялись. Оргструктуры большей частью преобразуются без должного учета требований конкурентного рынка. Предстоит восстановление разорванных кооперационных связей. Больше требуется управленческого персонала с творческим образом мышления, нужны руководители, способные предупреждать и устранять конфликты между менеджерами и собственниками, сочетать успешный бизнес с умелым решением социальных задач организации.
Заметим здесь, что в стране еще не завершены экономические реформы, не сформированы приемлемые механизмы конкурентной борьбы и благоприятный инвестиционный климат.
I
.3. Организационно-правовые формы юридического лица.
Помимо организационных структур управления важен аргументированный выбор организационных форм предприятий. Нередко предприятия интегрируются на основе рыночных принципов ведения хозяйства, по признакам их вхождения в вертикальные структуры, реорганизованные из отраслевых структур. Могут быть различные формирования и горизонтальных образований. В результате упраздняются традиционные иерархические структуры. Они становятся ассоциативными, в которых хозяйственное управление отделяется от административного.
Современные организационные формы интеграции предприятий -представляют собой диверсифицированные многофункциональные структуры, возникающими в результате объединения капиталов предприятий, инвестиционных и кредитно-финансовых институтов и иных организаций с целью получения максимальной прибыли, усиления конкурентоспособности, как на внутреннем, так и внешнем рынках.
Интегрированные предприятия создаются в форме корпорации, холдинга, консорциума, конгломерата, финансово-промышленной группы, картеля, синдиката, треста, совместного предприятия. Обычно они формируются в качестве акционерных обществ с присущими им организационными структурами управления.
Предприятия принято различать и по - организационно-правовым формам Они подразделяются на коммерческие, некоммерческие и организации, не являющиеся юридическими лицами.
К коммерческим организациям, относятся; хозяйственные товарищества (полное товарищество, товарищество на вере); хозяйственные общества (общество с ограниченной ответственностью, общество с дополнительной ответственностью); акционерные общества (закрытые и открытые); хозяйственные кооперативы (производственный кооператив); унитарные предприятия (унитарное предприятие, основанное на праве хозяйственного ведения, унитарное предприятие, основанное на праве оперативного управления).
К некоммерческим организациям, относятся: потребительские кооперативы, общественные организации, религиозные организации, фонды, учреждения, ассоциации и союзы.
К организациям, не являющимся юридическими лицами, относятся: простые товарищества, общественные группы, религиозные группы и т. д.
2.
МОУ СОШ № 7 – объект управления
.
2.2. Внутренняя и внешняя среда образовательного учреждения
Технологические измерения
Школа работает по следующим инновационным технологиям I
ступень обучения:
1. Отработка методической системы работы развивающего обучения по программам «Школа- 2100», «Школа России», «21 век». — технология становления личностно-ориентированного обучения; — технология формирования преемственности между начальной и основной школой — продуктивная педагогика в начальной школе (работа кружков, секций, ГПД, клуба «Олимпийская волна»,программы: «Истоки», «РТС». «Лингвистическая школа») II
ступень обучения:
- освоение образовательных технологий на основе внедрения современных методик обучения; — освоение образовательных технологий на основе внедрения развивающего обучения на уроках истории по УМК под редакцией А.А. Данилова; Н.И. Павленко и уроках обществознания по УМК А.И. Кравченко; — использование учебных компьютерных технологий на уроках английского, физики, истории, химии, биологии, математики, литературы и русского языка; освоение программы по курсу «Марийский государственный язык и история культуры народов»; — реализация программ повышенной сложности по химии, физике, математике, биологии, за счет проведения спецкурсов; — освоение программ; «Мир профессий» «Я и моя профессия», «Духовно-нравственное воспитание детей и молодежи в едином воспитательном пространстве малого города». III
-я ступень обучения:
— целевая допрофессиональная подготовка учащихся по естественно-математическому профилю: освоение программ по курсу: «Азбука успеха», участие в олимпиадах в Российских, Республиканских и городских (химия, физика, биология, математика), под руководством преподавателей ВФ КГТУ принимать участие в научно практической работе и конференциях совместная работа со студентами КГТУ в лабораториях вуза, летняя практика на МЦБК.
-целевая допрофессиональная подготовка учащихся по гуманитарно-правовому (кадетский) профилю: освоение программ по курсу «Азбука успеха», «Огневая подготовка»;
-проведение совместных занятий с сотрудниками ОВД г.Волжска по огневой подготовке, криминалистике, уголовному праву, участие в Республиканском фестивале « Всё в наших руках»;
-организация поисковой деятельности в рамках работы военно-патриотического клуба «Демос».
-освоение компьютерной грамотности (программ Word, Excel, Power Point, выход в Internet, электронной почты).
Экономические измерения
Условно бюджет школы можно представить из четырех составляющих, финансируемых: — Государством (государственный стандарт); — Муниципалитетом (капитальный ремонт, коммунальные услуги и собственные социальные программы); — Попечителями (программы развития, которые интересны всем родителям); — Родителями.
Социокультурное измерение
МОУ СОШ № 7 в соответствии с выпиской из протокола № 5 заседания Ученого совета от 28.06.2006г. ГОУ ДПО (ПК) С «МИО» исследовательского проекта «Школа – технологический вуз», осуществляемого школой совместно с Волжским филиалом КГТУ на основе Договора о сотрудничестве от 01.10.2003г. Научный руководитель зав. кафедрой педагогики и психологии ГОУ ДПО (ПК) С Тысько Л.Л. В соответствии с приказом № 35 от 06.02.2007. МУОО Администрации г. Волжска являемся базовой школой по предпрофильному и профильному обучению.
Многопрофильность школы, кроме естественно-научного профиля, реализуемого в рамках НИП «Школа – технологический вуз», школа с 2005-2006 уч.г. работает по образовательно-воспитательным программам гуманитарно-правового профиля – кадетские классы. В данном направлении школа осуществляет совместный проект с МВД РМЭ, ОВД г. Волжска (Приказ МУОО и ФГУ ОВД № 71 от 16.03.2005г.).
Политико-законодательные измерения
- Конституция РФ;
- Закон РФ «Об образовании»;
- Конвенция о правах ребёнка;
- Локальные правовые акты;
- Трудовой кодекс;
- «Федеральная программа развития образования» (10.04. 2000 № 51-ФЗ);
- Государственный образовательный стандарт;
- «Типовое положение об общеобразовательном учреждении» (19.03.2001 № 196);
- «Концепция модернизации российского образования на период до 2010 года (распоряжение Правительства РФ № 1756 - р от 29 декабря 2001; Приказ МО РФ от 11.02.2002 № 393);
- Национальный проект «Образование»;
- Устав школы;
- Концепция профильного обучения на старшей ступени общего образования;
Регулирующие органы
- Министерство образования РФ
- Министерство образования РМЭ
- Трудинспекция
- Роспотребнадзор
- Санпеднадзор
- ГПН (Госпожнанзор)
- Прокуратура РМЭ
- Администрация городского округа «Город Волжск»
- Муниципальное учреждение «Отдел образования» администрации городского округа «Город Волжск»
Конкуренты
- Школы города.
- ПУ
- СПК
Клиенты
- Дети (с 6,5 лет до 18 лет) и родители г. Волжска
Поставщики
- Население г. Волжска
Стратегические партнёры
- ГОУ ДПО (ПК) С «МИО»
- ГОУ ВПО ВФ «КГТУ» г. Казань
- ГОУ ВПО ВФ «Мар. ГТУ» г. Йошкар-Ола
- ПМПЦ «Надежда» (Муниципальный центр психологической службы)
- Методические службы МУОО города
Внутренняя среда образовательного учреждения
1. Устав МОУ СОШ № 7 г. Волжска РМЭ
2. Локальные акты
3. Учредители: Муниципальное учреждение «Отдел образования» администрации городского округа «Город Волжск»
4. Сотрудники: 50 чел.
5. Материально-техническое обеспечение образовательного учреждения.
1) Школа располагается в кирпичном 4-х этажном здании 1972 года постройки. Общая площадь 5374,7 кв.м. Техническое состояние удовлетворительное, ремонтные работы проводятся регулярно, планово, что обеспечивает нормальную эксплуатацию здания. 2) Уровень необходимого режима функционирования: — Отопление водяное от квартальной котельной на газовом топливе. Температурный режим в помещениях выдерживается в норме; — Освещение люминесцентное, соответствует нормативам; — Вентиляция в учебных помещениях осуществляется через форточки. В кухне, актовом зале и в спортзале принудительная; — Водопровод от городской водосети. — Канализация от городской канализационной сети. — Газового оборудования нет.
3) Электрооборудование:
- Электроплиты - 2 шт. - Электропривод универсальный - 3 шт. - Холодильник бытовой - 4 шт.
- Электромясорубка - 1 шт.
- Шкаф пекарский - 2 шт.
- Тестомесительная машина -1 шт.
- Электрокотел -1 шт.
- Электрокипятильник -2 шт.
- Посудомоечная машина - 1 шт. - Холодильная камера - 2 шт. - Мармит
- Машина швейная - 9 шт.
- Станки - 7 шт.
- Стиральная машина - 1 шт.
Все оборудование находятся в исправном, рабочем состоянии. 4) В школе имеется кнопка тревожной сигнализации (Заключен договор с МВД Республики Марий Эл отдела вневедомственной охраны при ОВД г. Волжска) и автоматическая пожарная сигнализация и оповещения. Договор заключен с ООО «Фотон» 05.10.05г.
5) Санитарно-эпидемиологическое заключение федеральной службы по надзору в сфере защиты прав потребителей и благополучия человека №12.РЦ. 12000.М. 000309.03.06. от 14.03.2006г. удостоверяет, что учебное заведение соответствует государственным правилам и нормам. 6) Внутренняя планировка помещений по проекту 1972 года соответствует современным нормативам. В школе имеется 35 учебных кабинетов, 2 кабинета информатики, кабинет ПДД, актовый зал на 200 посадочных мест, библиотека, кабинет психологов и социально-педагогической службы, кабинет логопеда, музей Боевой славы (имеет статус Республиканского),кабинет технологии и кулинарии. Учебные кабинеты размещены с 1 по 4 этаж. На 1 этаже канцелярия, спортивный зал, столовая, раздевалка, мастерские.
В школе имеется в наличии технические средства обучения:
- мультимедийный проектор – 3,
-компьютеры – 34;
-оборудованное рабочее место администратора школы – 1;
- телевизор – 10;
-видеомагнитофон – 2;
- видеокамера – 1;
- музыкальный центр – 2;
-DVD – плейер – 4;
-выход и Интернет,
- оборудование для школьного радио – 1 (все кабинеты подключены).
В управлении подразделениями школы используется компьютерная техника. В школе принята единая форма оформления и накопления документации, формируется электронный архив, электронная библиотека, есть доступ к Интернет-сети, создан школьный сайт.
Кабинеты по площади вмещают по гигиеническим нормам не более 30 человек, при фронтальных формах занятий не более 25человек. Предельная численность обучающихся человек. 7) Учебно-методическая база школы
соответствует статусу образовательного учреждения
Библиотечный фонд составляет 22122экз. Из них: учебники — 3500 экз. Методическая литератора — 1543 экз. Энциклопедий— 130 экз. Художественная литература-16949экз. Реализуемые программы учебниками и учебными пособиями обеспечены полностью. 8) Нормативно-правовое и документальное обеспечение работы школы.
Функционирование учреждения, управление его деятельностью осуществляется на основе нормативно-правовых документов, регламентирующих его работу. Устав муниципального среднего (полного) обшеобразовательного учреждения г.Волжска зарегистрирован Государственной регистрационной палатой Республики Марий Эл 29 июня 1998 года К95.
Лицензия на право ведения образовательной деятельности ( серия А №157892, регистрационный номер № 291 от 01.09.2006г.) разрешает осуществление следующих видов деятельности: начальное общее, основное общее, среднее (полное) общее образование. Срок действия лицензии с 01.-9.2006г.-01.05.2010г
6. Педагогический совет
7. Культура
SWOT
анализ
Миссия нашей школы состоит в том, чтобы создать наиболее благоприятные условия (в соответствии с имеющимися у школы возможностями) для детей с разным уровнем развития: одаренных, обычных и нуждающихся в развитии их склонностей и способностей. Школа стремится с одной стороны, максимально адаптироваться к учащимся с их индивидуальными особенностями, с другой, гибко реагировать на социокультурные изменения среды. Таким образом, направленность всего образовательного процесса на развитие личности ученика, реализации его потенциальных возможностей и заключается предназначение, а именно:
- ученик становится главным субъектом процесса обучения; - развитие индивидуальных способностей ученика - основная цель деятельности педколлектива;
- корректируются условия, обеспечивающие реализацию поставленной цели.
Внутренний анализ
Преимущества
1. Развитие школы: 1 уровень — Школа — адаптивная модель (2002-2005);
2 уровень — Школа — экспериментальная площадка (2005-2008);
3 уровень - это настоящее школы 2007-2009 г. Школа — лаборатория.
- Реализация программы НИП «Школа – технологический вуз» совместно с ГОУ ВПО ВФ «КГТУ»
- Взаимодействие с преподавателями высшей школы на основе совместительства в системе дополнительных услуг.
- Работа в режиме ГЭП по вопросу: «Формирование профильного образования на основе взаимодействия средней и высшей школы».
- Наличие разноуровневых классов с учётом имеющихся вариантов учебных программ.
- Предпрофильное и профильное обучение.
- Реализация программы кадетского движения в договорной системе с МВД РМЭ.
- Создание единого педагогического пространства, преемственность всех ступеней.
- Сотрудничество с ПМПЦ «Надежда», комитетом самоуправления района (КСМ), общественными организациями.
- Опыт работы по индивидуальным планам через реализацию программ «Одаренный ребенок» и система коррекционно-развивающего образования.
- Развитая система дополнительного образования.
- Участие в городских, республиканских, Всероссийских, Международных выставках, конкурсах, конференциях.
- Использование бюджетных средств (выделение 2,5 ставок) на привлечение преподавателей вуза ВФ КГТУ и сотрудников МВД г.Волжска.
Слабые места
- Вакантные часы: марийский язык, информатика.
- Малоэффективное взаимодействие образовательных и здравоохранительных учреждений.
- Недостаточное оснащение материально-технической базы школы.
- Недостаточное оснащение учебно-спортивным оборудованием и инвентарём.
Внешний анализ
Возможности
- Проектирование информационно-развивающей среды, изменение статуса школы – «Школа – лицей».
Угрозы
- Сокращение числа учащихся.
- Ухудшение социально-экономического положения жителей микрорайонов «Дружба» и «Северный».
Лучшие стратегии, поддерживающие миссию
В своем развитии школа ориентируется на следующие приоритетные ценности: патриотизм, толерантность, семья, здоровье, образование; психологический комфорт для всех субъектов педагогического процесса, свобода творчества учащихся и учителей; преемственность формирования педагогического коллектива из числа выпускников школы. Данные ценности определяют стратегию развития школы:
— обеспечение прав и свобод личности; — выполнение Конвенции о правах ребенка; — создание условий для воспитания творческой, свободной личности, способной жить в гармонии с миром и с собой, способной позитивно воздействовать на мир и своевременно адаптироваться к изменениям, происходящим в мире; — обращение к дифференцированному обучению как к одному из ведущих направлений повышения эффективности работы школы; опора на особенности и склонности ребенка с целью их дальнейшего развития; — разработка вариативных технологий разноуровневого обучения; — разработка вариативных образовательных программ на разных ступенях обучения; — усиление внимания как к одаренным, так и к неуспевающим учащимся; — снижение перегрузки учащихся и распределение учебной нагрузки в соответствии с индивидуальными способностями и задатками; — повышение значения консультаций для учителей, проводимых психологом при определении варианта образовательного маршрута ребенка; — осуществление структурных изменений в системе управления школой, создающей оптимальные условия для согласования действий между основными участниками педагогического процесса - учащихся, родителей, учителей городской системы управления образованием; — оптимизация системы валеологического и психологического сопровождения учебного процесса; — создание эффективного механизма согласования целей образования на ступенях обучения; — разработка карты индивидуального развития учителей — реализация современных подходов к системе повышения квалификации, материального и морального стимулирования педагогов и учащихся; — воспитание у учащихся, родителей и учителей позитивного отношения к миру и к себе как одно из главных условий творчества и ненасилия; — создание постоянно действующей системы информирования преподавателей о передовом педагогическом опыте и новых педагогических технологиях.
2.1. Организационная структура управления.
Структура Муниципального образовательного учреждения средней (полной) общеобразовательной школы № 7 г. Волжска РМЭ
| Совет образовательного учреждения
|

| Общее собрание педагогического коллектива
|
 
|
Педагогический совет
|

|
Директор
|

|
Попечительский совет
|

|
Родительский совет
|
    
| Зам. директора
по УВР
|
|
Зам. директора
по ВР
|
|
Зам. директора
по АХЧ
|
|
Зав.
библиотекой
|
|
Зав.
канцелярией
|
                    
| Методический
совет
|

|
Педагог-
психолог
|
|
МО классных
руководителей
|
|
Педагог
организатор
|
|
Инженер
по ОТ и ТБ
|
|
Рабочий по
обслуживанию
здания
|
 
| Руководитель
МО
|
|
Воспитатели
|
|
Классные руководители
|
|
Социальный педагог
|
|
Инженер
по ТСО
|
|
Техслужа-щая
|
| Педагог дополнительного образования
|
|
| Педагоги
|
|
Педагог-организатор (по предпрофильному и профильному обучению учащихся)
|
|
Лаборант
|
|
Вахтёр
|

| Учащиеся
|
|
Преподаватель-организатор
ОБЖ и ДП
|
|
Сторож-дворник
|
3.
Мероприятия по совершенствованию существующей организации.
3.1 Общественное участие
в управлении школой.
В условиях демографического кризиса, когда количество детей, поступающих в первый класс, постоянно уменьшается, школа должна сделать выбор: — либо стать конкурентноспособной (привлекательной для родителей и детей) и таким образом получить возможность жить и развиваться, — либо работать в прежнем режиме и через некоторое время столкнуться с проблемой недостаточного финансирование и избытка кадром. С переходом на нормативное финансирование бюджет школа напрямую зависит от количества учащихся. Чтобы стать конкурентоспособной она должна превратиться из закрытой системы в открытую. Только открытое учебное заведение, активно взаимодействующее с обществом может наиболее полно реализовать ожидания и государства и родителей, подготовить выпускника, отвечающего требованиям программы развития школы. Поэтому: 1.Школа должна стать открытым учреждением с точки зрения управленческих решений.
2. Выстроить партнерские отношения с общественностью, в рамках правового поля, существующего на данный момент. З. Необходимо создать некоммерческий организационно-общественный фонд.
4. При формировании бюджета учитывать четыре составляющие, которые финансируются:
Общественный фонд школы
Необходимо создать некоммерческий организационно-общественный фонд .Основная цель которого — содействие развитию школы.
а) провести родительские собрания с целью изменения привычного представления родителей об участии в жизни школы.
б) создать и зарегистрировать некоммерческую организацию Благотворительный фонд содействия развитию школы.
Управление фондом осуществляет попечителъский Совет. Компетенция попечительского Совета прописана в Уставе.
Государственный стандарт — директор школы.
Формирование общественного заказа и контроль за его исполнением — попечительский Совет.
То, что заказывает государство — финансирует государство, то, что заказывается заинтересованными родителями через попечителей, финансируется через благотворительный фонд. Это основной принцип.
Благотворительный фонд «собрав» средства планирует целевую программу благотворительного фонда.
После того, как программы определены и приоритеты выявлены мы приступаем к формированию бюджета школы на новый год. Условно бюджет школы можно представить из четырех составляющих, финансируемых:
— Государством (государственный стандарт);
— Муниципалитетом (капитальный ремонт, коммунальные услуги и собственные социальные программы);
— Попечителями (программы развития, которые интересны всем родителям);
— Родителями.
Родители могут на классных родительских комитетах и собраниях сами решать, какие программы для их класса наиболее актуальны в наступающем году. В этом случае они сами находят источники финансирования.
3.2 Сохранение и укрепление здоровья учащихся.
Статистические данные за последние 3 года свидетельствуют о позитивных результатах в показателях здоровья учащихся. Однако анализ современного состояния показывает, что заболеваемость детского населения обусловлена ухудшением социально-экономической обстановки, обострением проблем рационального питания, слежением уровня здоровья родителей, наследственностью. У учащихся и их родителей не сформировано ценностное отношение к своему здоровью, что объясняется недостаточной пропагандой педагогических и медицинских знаний, здорового образа жизни.
В работе по сохранению и укреплению здоровья учащихся должен принять участие педагогический состав школы. ЦРБ, комбинат общественного питания, родители. В результате совместной работы названных выше служб ожидается:
— постепенное снижение уровня заболеваемости детей школьного возраста;
— разработка и соблюдение валеологических требований на занятиях;
— улучшение организации питания учащихся;
— совершенствование диагностики и коррекционно-развивающей работы в школе;
— повышение уровня материально-технического оснащения образовательного учреждения;
— формирование системы спортивно-оздоровительной работы;
— отработка механизмов совместной работы всех заинтересованных служб, направленных на сохранение и укрепление здоровья учащихся.
— формирование у педагогов, учащихся и родителей здорового образа жизни.
Необходимо создать свою «школу здоровья», т.е. комплекс взаимодействия медика, психолога и педагога, позволяющий учителю и ученику выбрать наиболее оптимальный способ обучения, соответствующий физическому и психологическому состоянию ребенка.
1. Основной задачей медиков
является диагностика и коррекция наиболее распространенных заболеваний, предупреждение возможности заболеваний с помощью профилактических мероприятий;
2. . Основной задачей психолога
является поддержание и укрепление психологического здоровья учащихся, содействие их оптимальному психологическому развитию в условиях школы;
3. Основной задачей педагога
является организация учебно-воспитательного процесса с учетом результатов медико-психологического обследования ребенка. Медицина, психология, педагогика — три составляющие «школы здоровья».
Заключение.
Длительное время в России вообще не уделялось внимание менеджменту, а ведь управленческий труд - это вид общественного труда, основной задачей которого является обеспечение целенаправленной, скоординированной деятельности, как отдельных участков совместного трудового процесса, так и трудового коллектива в целом.
Экономическая стабильность организации, ее выживаемость и эффективость деятельности в условиях рыночных отношений неразрывно связаны с ее непрерывным совершенствованием и развитием. При этом совершенствование организации должно осуществляться по принципу адаптации к внешней среде.
Сегодня четко прослеживаются факторы, определяющие необходимость постоянного совершенствования и адаптации организации. Это:
- рынок сбыта производимой или продаваемой продукции и вида услуг;
- рынок поставщика или рынок потребителя исходных материалов, энергии, товаров и услуг;
- финансовый рынок;
- рынок труда;
- окружающая природная среда.
Без учета этих факторов невозможно планировать стратегию развития. Поэтому успех любого предприятия или организации и возможность их выживания зависят от способности быстро адаптироваться к внешним изменениям. В постоянном стремлении поддерживать соответствие организации условиям внешней среды заключается принцип адаптивного управления.
При этом естественно не следует забывать, и о внутренних факторах влияющих на деятельность фирмы.
Квалифицированный менеджер должен хорошо владеть современными методами экономических исследований, методикой системного, комплексного экономического анализа, мастерством точного своевременного, всестороннего анализа результатов хозяйственной деятельности. Каждое направление анализа имеет в своей основе самостоятельную область знаний, формируется как особое направление общей области научных знаний анализа.
Главная задача менеджера, по моему мнению, заключается в сплочении сотрудников вокруг общей цели, придать усилиям сотрудников эффективность, сделать сотрудников способными к совместному действию, развивать в каждом сотруднике его потребности и создавать условия для их удовлетворения и т.д. при этом неукоснительно следовать стратегической линии предприятия.
Список используемой литературы
.
1. Баринов В.А., Голобкова В.И. Менеджмент. - Магадан, 1997.
2. 2. Герчикова И.Н. Менеджмент. - М., 1999.
3. Глущенко В.В. Менеджмент: системные основы. - Железнодорожный, ТОО НПЦ "Крылья", 1996.
4. Мескон М.Х., Альберт М., Хедоури Ф. Основы менеджмента. - М., "ЭКСМОС", 2000.
5. Уткин Э.А. Курс менеджмента. - М.: "Зерцало", 1998. Уткин Э.А. Управление компанией. - М.: "ЭКМОС", 1997.
6. Веснин В.Р., Практический менеджмент, - М.: 1997.
7. Дуракова И.Б., Управление персоналом, - М.: 1998г.
8. Дятлов В.А., Кибанова А.Я., Пихало В.Т., Управление персоналом: уч. пособие для Вузов, - М.: 1998.
9. Красовский Ю.Д., Организационное поведение, - м.: 1999.
10. Кричевский В.Ю., Управление школьным коллективом, - Л.: Знание, 1985.
11. Лазарев В.С. Управление образованием на пороге эпохи.// Педагогика. – 1995. № 5.
12. Логинова А.Ю., Какой должна быть система управления персоналом,//Управление персоналом № 7, 1998.
13. Иванцевич Дж.М., Лобанов А.А. Человеческие ресурсы управления, - М.: 1993.
14. Капустин П.А. Кправленческое консультирование для руководителей. – Спб.: Издательский дом «Бизнес-пресса», 2000.
15. Поташник М.М. Управление развитием школой. – м.: 2003.
16. Роджерс Муэрс, Эффективное управление, Пер. с англ. Серия «Маркетинг и менеджмент в России и за рубежом». – М.: «Фипресс», 1998.
17. Румянцева З.П., Саломатин Н.А. и др. Менеджмент организации. – М.: ИНФРА-М, 1996.
18.Рубинштейн С.А. Основы общей психологии – Педагогика, 1989.
19. Спивак В.А. Личность и предприятие: факторы успешного взаимодействия (поведенческие основы управления персоналом). – Спб.: 1995.
20.Травин В.В., Дятлов В.А. Основы кадрового менеджмента. – М.: Дело, 1995.
21.Щекин Г.В. Как работают люди за рубежом. – Киев, 1992.
22. Ямбург Е.А. Школа на пути к свободе: Культурно историческая педагогика. – М.: «ПЕР СЭ».
23. Большаков А.С., Менеджмент: Учебное пособие. Спб: Питер, 2000.
24. Бочкарев А., Кондартьев В. И др. Семь нот менеджмента. – М.: ЗАО «Журнал Эксперт», 1998.
25.Загвязинский В.И.,Педагогическое творчество учителей–М.: Педагогика, 1987.
Приложения.
|