Содержание
Введение…………………………………………………………2
1. Понятие менеджмента проектов…………………………….4
2. Исторические аспекты менеджмента проектов……………11
3. Базовые варианты схем менеджмента проектов…………...13
Заключение……………………………………………………...21
Список литературы……………………………………………..22
Приложения……………………………………………………..24
Введение
Актуальность темы контрольной работы
. В последнею четверть ХХ века управление проектами как специфический способ достижения целей в экономике, политики, социальной сфере, науке окончательно вышла за пределы отдельных стан и регионов прежде всего в плане концепций и методов, подходов и опыта разработки и осуществления. Появились региональные и международные объединения специалистов в области управления проектами, стали выходить научные труды по самым разным глобальным и частным вопросам разработки и осуществления проектов. Управление проектами к настоящему времени превратилось в мощное всемирное движение специалистов, ставящих главной целью развития человечества по любым направлениям, обеспечивающим прогресс, улучшение жизни людей, сохранение биосферы, обуздание агрессии и многое другое. В разных странах мира работают специалисты которые занимаются разработкой и реализацией разнообразных проектов: от строительства зданий и выпуска новых образцов товаров до глобальных систем прогнозирования природных катастроф и освоения космоса. Степень научной разработанности темы
. Источниковую базу темы контрольной работы можно охарактеризовать как недостаточную. Среди зарубежных авторов, освещающих тему преимущественно с технологической точки зрения, заслуживают внимания работы Р.Арчибальда, Э.Ферна, Г.Дитхелма, К.Грея, Э.Ларсона, У.Ройса, М.Кантора, Ф.Бэгьюли. Особо хотелось выделить монографию Г. Дитхелма «Управление проектами» Пер. с нем. в двух томах. В данной работе автор рассматривает содержание понятия проектного менеджмента, исторические аспекты менеджмента проектов, варианты схем менеджмента проектов. Изучению и формированию понятийного аппарата проектного менеджмента в России посвящены работы Я.Д.Гельруда, Л.И.Овербаха, В.И.Либерзона, А.В.Полковникова, В.Н.Буркова, Д.А.Новикова, В.Д.Шапиро, В.А. Первушина. Объект исследования – базовые варианты схем менеджмента проектов; Предмет
– управление проектами как наука и учебная дисциплина Цель работы
– исследовать основные варианты схем менеджмента проектов, раскрыть их содержание и особенности. Данная цель обусловила постановку и решение следующих задач:
- изучить понятие менеджмента проектов;
Забиваем Сайты В ТОП КУВАЛДОЙ - Уникальные возможности от SeoHammer
Каждая ссылка анализируется по трем пакетам оценки: SEO, Трафик и SMM.
SeoHammer делает продвижение сайта прозрачным и простым занятием.
Ссылки, вечные ссылки, статьи, упоминания, пресс-релизы - используйте по максимуму потенциал SeoHammer для продвижения вашего сайта.
Что умеет делать SeoHammer
— Продвижение в один клик, интеллектуальный подбор запросов, покупка самых лучших ссылок с высокой степенью качества у лучших бирж ссылок.
— Регулярная проверка качества ссылок по более чем 100 показателям и ежедневный пересчет показателей качества проекта.
— Все известные форматы ссылок: арендные ссылки, вечные ссылки, публикации (упоминания, мнения, отзывы, статьи, пресс-релизы).
— SeoHammer покажет, где рост или падение, а также запросы, на которые нужно обратить внимание.
SeoHammer еще предоставляет технологию Буст, она ускоряет продвижение в десятки раз,
а первые результаты появляются уже в течение первых 7 дней.
Зарегистрироваться и Начать продвижение
- исследовать исторические аспекты менеджмента проектов;
- изучить базовые варианты схем менеджмента проектов, раскрыть их особенности.
1. Понятие менеджмента проектов
В функциональном смысле менеджмент может быть подразделен на области планирования, действия, руководства и контроля. В институциональном смысле менеджеры берут на себя функции управления, то есть они «ведут за руку других».
Таким образом, предметом менеджмента проектов является планирование и осуществление проектов. Итак, он отличается от менеджмента в обычном понимании этого слова, который имеет повторяющийся характер.[1]
Проект может быть определен в качестве относительно единственного в своем роде мероприятия, имеющего соответствующие значение и диапазон для того, кто его осуществляет. Само слово «проект», вероятно, происходит от латинского «iacere», что значит «бросать». Понятие «Proiacare» означает бросать или же продвигать что-либо вперед. В современных языках этому понятию наиболее близки французский глагол «projeter» или же английский глагол «to project», которые означают проектирование, то есть разработки какого-либо мероприятия.[2]
В обычном смысле этого слова под менеджментом проектов понимают экономические проекты, которые планируются, осуществляются и контролируются с профессиональных точек зрения. Они могут обозначаться также и понятием «business projects». Сюда причисляются внутренние business projects в форме реструктуризации, реорганизаций, исследований нововведений продуктов. Кроме того, существуют и внешние business projects, к которым могут быть причислены разведка новых рынков, слияние предприятий и индивидуальные заказы.[3]
Business projects определяют собой сущность учения о менеджменте проектов. Ввиду ориентированности техники менеджмента на достижение успеха во многих других дисциплинах и областях развились своего рода ответвления от менеджмента проектов, например, в области общественных товаров и решений, сформировались так называемые public projects. В качестве другого примера можно назвать social projects, получивших свое развитие в области социально мотивированных проектов, целью которых является оказание помощи определенным слоям населения и проблемным группам.[4]
Сервис онлайн-записи на собственном Telegram-боте
Попробуйте сервис онлайн-записи VisitTime на основе вашего собственного Telegram-бота:
— Разгрузит мастера, специалиста или компанию;
— Позволит гибко управлять расписанием и загрузкой;
— Разошлет оповещения о новых услугах или акциях;
— Позволит принять оплату на карту/кошелек/счет;
— Позволит записываться на групповые и персональные посещения;
— Поможет получить от клиента отзывы о визите к вам;
— Включает в себя сервис чаевых.
Для новых пользователей первый месяц бесплатно.
Зарегистрироваться в сервисе
Кроме этого, следует упомянуть и о военных проектах (military projects), которые находят свое осуществление в войнах или их предотвращении. Здесь военная техника (о чем еще будет сказано позднее) тесно связана с менеджментом проектов, или же можно сказать, что менеджмент проектов развился на основе достижений в области военной техники. Из истории древнего мира в этой связи можно упомянуть о военных походах древних римлян. В новейшей истории примером военного проекта может служить охвативший Кувейт в 1990 году кризис, который позднее вылился в войну в Персидском заливе.[5]
На последующих страницах предлагаемой книги области применения менеджмента проектов будут рассмотрены несколько подробнее. В частной жизни человека значительные мероприятия, например переезд, учеба или воспитание детей, в широком смысле этого понятия могут расцениваться как проекты. Они получили название «private projects». В более глобальном масштабе, выходящем за рамки названных здесь деловых, общественных, социальных, военных и личных проектов, существуют также международные и межкультурные проекты.[6]

Рис. 1. Различные виды проектов
О международном менеджменте проектов речь может идти в том случае, если область деятельности предприятия выходит за границы собственной страны (страны происхождения). Международный менеджмент проектов является преобладающим признаком сотрудничества между государствами, поскольку большинство мероприятий двустороннего или многостороннего сотрудничества осуществляются в качестве проектов. Этот феномен получил название international public project» (международный общественный проект). Кроме того, в последнее время предприятия все чаще сотрудничают на международном уровне также и в рамках business projects (деловых проектов). Здесь особенно стоит отметить растущее число совместных предприятий с Россией, Китайской Народной Республикой и другими странами азиатского экономического региона. В этом случае проекты помогают в продвижении вперед международных сделок определенного предприятия. [7]
У всех этих видов проектов, которые в реальности могут иметь множество проявлений, существует ряд признаков, отличающих их от рутинных и обычных предпринимательских процессов.
Как правило, проекты имеют следующие отличительные признаки: они единственны в своем роде, и они новы;
- они обладают комплексной структурой;
- они особо ориентированы на результат и достижение успеха;
- они ограничены во времени и сроках осуществления; - они зависят от наличия ресурсов;
- они ориентированы на действия;
- в них присутствует ответственность за качество;
- они по большей части свободны от иерархических структур;
- проекты обладают творческими и новаторскими подходами:
- проекты ориентированы на клиента и оказание определенных услуг внутри предприятия и за его пределами.
В свете традиционных структур менеджмента руководство, принятие решений, планирование, организация значительных мероприятий, которые к тому же относительно единственны в своем роде, комплексны, ограничены во времени их осуществления, а также ответственность за них можно назвать менеджментом проектов. Американская литература уже очень давно стала выделять понятие проекта, и поэтому Матино (Matino), ссылаясь на Дюлфера (Duelfer), приводит следующее определение:
«Проектом является любая задача, имеющая определенный срок-начала и конца своего осуществления и требующая использования одного или более ресурсов в каждом отдельном, но взаимозависимом действии, которые должны быть завершены для достижения целей, ради которых задание (проект) было инициировано».[8]
В соответствии с DIN 69901 (немецкий промышленный стандарт), проекту приписываются следующие характеристики:
- определение целей;
- временные, финансовые, кадровые и другие ограничения;
- разграничения по отношению к другим мероприятиям;
- специфическая организация, свойственная проектам.
Менеджмент проектов, то есть планирование и осуществление значительных и комплексных мероприятий, выделяется за счет ряда отличительных признаков, которые могут быть определены как «Семь Про» (в немецком варианте) менеджмента проектов. Таблица 1. «Семь Про» менеджмента проектов
| Признак
|
Значение
|
| Ориентированность на проблемы |
Проекты разрешают проблемы |
| Профессиональность |
Необходимость профессиональной компетенции |
| Проекты относятся к будущему |
Проекты необходимо планировать |
| Проекты носят профилактический характер |
Проекты требуют ориентированности на междисциплинарность и общение |
| Проекты продуктивны |
Проекты следует оценивать но достигнутым результатам |
| Прототипность проектов |
Проекты единственны в своем роде или очень редко бывают идентичны |
| Проекты прогуманитарны |
Работа в проектах по большей части представляет собой свободную от иерархичности работу в команде, которая делается людьми и для людей |
Экономика занимается в первую очередь теми предприятиями, которые уже находятся в действий (going concerns), и понимает под этим менеджмент предпринимательских процессов на уже существующих предприятиях. Открытие новых предприятий здесь, как правило, не рассматривается. Кроме того, не удалось определить ту область, которая определенно занималась бы именно проектами или подчиненными им действиями. В мире современных предприятий, где царит особенно жесткая конкуренция, а время считается чрезвычайно ценным товаром, менеджмент проектов по сравнению с менеджментом в обычном понимании этого слова имеет ряд значительных отличий: - показательное распространение человеческих знаний; - растущий спрос на комплексные и индивидуально произведенные товары и услуги;
- глобализация давления конкурентной борьбы за предоставление и потребление товаров и услуг.
Таблица 2. Различие между менеджментом проектов и общепринятым менеджментом.
| Менеджмент проектов
|
Общепринятый менеджмент
|
| Ориентирован на выполнение определенной цели |
Ориентирован на ход событий |
| Ориентирован на результат |
Ориентирован на организацию |
| Ограничен во времени и финансах |
Не имеет определенного срока окончания |
| Подробное планирование используемых ресурсов (время, деньги, персонал) |
Планирование распределения позиций |
| В значительной степени ориентирован на качество |
Рабочий процесс |
| Приемка по окончанию |
Общая рабочая норма |
| Сменяющийся персонал |
Постоянный персонал |
| Разнообразие, приключения |
Опасность монотонности |
| Относительная не надежность |
Относительная надежность |
В отличие от обычных предпринимательских процессов и хода событий на предприятии, которые во многих местах в силу организационных директив принимают ритуальный характер, на проекты одновременно воздействует большое количество факторов. Таким образом, проекты управляются как факторами менеджмента проектов (жесткие факторы), так и видами и формами взаимодействия и общения (мягкие факторы).

Рис. 2 Факторы, воздействующие на проект
Комплексность набора факторов, воздействующих на проекты, представляет собой значимую составляющую учения о менеджменте проектов. Однако в зависимости от культуры возможно наличие различных факторов, например, для проектов свойственны следующие характеристики":
- цель/назначение проекта (purpose);
- жизненный цикл проекта (life-cycle);
- зависимость (interdependencies);
- уникальность (uniqueness);
- конфликтность (conflict).
Менеджмент проектов базируется на достижениях общего и специального менеджмента. Общая экономика с ее функциями (поставки, производство, сбыт, финансирование) и организационными структурами (организация, отделы, предприятия и так далее) представляет собой отправную точку для успешного управления проектами. [9]
В рамках менеджмента проектов создаются связи между названными выше функциями. Например, проекты в равной степени зависят как от финансирования, так и от их технической осуществимости. Следовательно, необходимо формирование целостных связей между отдельными функциями, поскольку изолированные, ориентированные на отдельные функции соображения к успеху не приведут.
Менеджмент проектов хотя и должен опираться на экономические знания и соображения, однако одновременно этот вклад следует объединить в своей действенности, что вполне сравнимо с игрой оркестра, которая опирается на отдельно взятый вклад каждого солиста. Таким образом, руководство проектом может сравниться с действиями дирижера, который воплощает в действительность партитуру (планирование) произведения (проекта).
Рис.3 Взаимосвязь между менеджментом и менеджментом проектов
Под функциональным менеджментом проектов понимаются специальные действия при определении и передаче функций, непосредственно связанных с проектом. Примером здесь может служить планирование проекта, его осуществление, управление им и составление документации определенными внутренними или внешними инстанциями.
Существуют предприятия, которые сконцентрировались именно на работах в рамках проектов. С другой стороны, в проектах, вне зависимости от осуществляющих их организаций, имеется ряд типовых этапов и действий. Таким образом, менеджмент проектов в определенных областях также подвержен стандартизации в том, что касается методов и способов его осуществления. В особых случаях некоторые его функции могут быть приняты на себя инстанциями, получившими соответствующее поручение.
2. Исторические аспекты менеджмента проектов
Проектам, хотя это и невозможно доказать на каждом историческом этапе, столько же лет, сколько и человечеству. Охота за дикими зверьми вполне может рассматриваться в качестве общего охотничьего проекта. Уже много тысяч лет тому назад строительство поселений осуществлялось в форме проекта. Известными проектами являются, например, строительство египетских пирамид или Вавилонской башни. В раннем средневековье Томас фон Альткельн (1125-1179) (Thomas von Altkoeln) указывал на так называемую Taxotechnie (technie-искусство и taxien-упорядочение), которой в форме проектов владели вавилоняне и египтяне. Он же тогда указал на то, что в то время наверняка еще не использовавшееся, а сегодня чрезвычайно популярное понятие культуры проекта, поскольку именно Томас фон Альткельн заметил: «Тот, кто не отождествлял себя с проектом и своей работой, терял право на жизнь».[10]
 
Рис. 4. Историческое отображение работы в проектах
Как в эпоху до, так и во время после Рождества Христова, менеджмент проектов с современной точки зрения представлял собой значимую составляющую экономической жизни. Многие действия, осуществляемые в рамках разрешения задач, стоящих перед менеджментом в разных областях нашей жизни, ошибочно называются проектами.
Еще в дохристианском Египте для работы по осуществлению проекта составлялся план, который соответствовал бы современному планированию фаз проекта.
 Рис. 5. Интерпретация исторического плана фаз осуществления проекта
Важным элементом в современном менеджменте проектов является подразделение работы в рамках проекта на подчиненные функции и фазы. Существует пять основных элементов менеджмента проектов: - планирование осуществления проекта;
- мониторинг и оценка;
- организация;
- руководство и сотрудничество
3. Базовые варианты схем менеджмента проектов
В литературе, а также в практике управления проектами был разработан спектр типов организации проектов, которые в основном базируются на следующих организационных формах:
- линейная организация;
- штабная линейная организация;
- матричная организация.
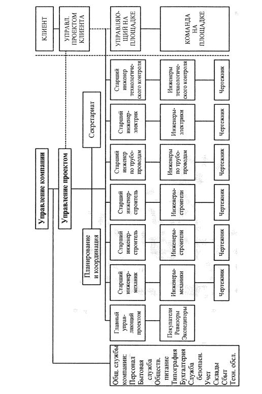
В простейшей форме управление проектом можно сравнить со специальным (отраслевым) отделом, который может передавать частные поручения другим специальным отделам (рис. 6 Приложение 1).[11]
В качестве еще одного варианта проектной организации можно разместить управление проектом в штабном отделе (рис. 7. Приложение 1).
Кроме того, управление проектом может быть обеспечено на основе линейной функции. Из специальных отделов сотрудники направляются на определенное время в полностью функционирующие проектные отделы. Все специальные полномочия и ответственность по выполнению проекта при этом находятся у соответствующих проектных отделов (рис. 8 Приложение 2).
Достоинства и недостатки размещения проектной организации в линейной организации приведены в таблице 3.
Таблица 3. Достоинства и недостатки разработки проекта в линейной организации
| Достоинства разработки проекта в линейной организации
|
Недостатки разработки проекта в линейной организации
|
| Персонал уже имеется |
Двойная нагрузка сотрудников |
| Однозначные распоряжения |
Отделенческий эгоизм |
| Функционирующий информационный поток |
Проект как дополнительная нагрузка |
| Четкие полномочия |
Большие расходы на координацию |
| Проблемы адаптации сотрудников |
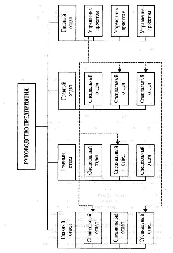
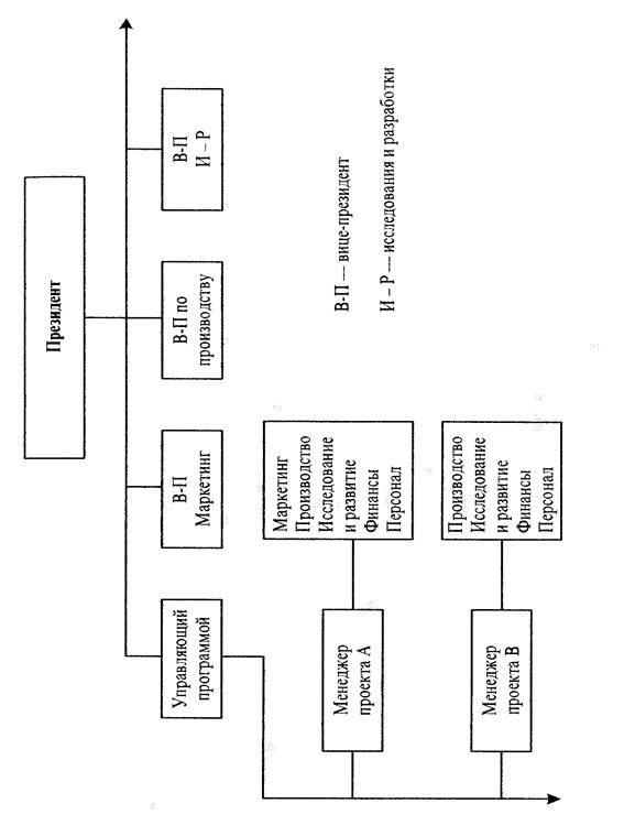
Управление проектом в форме матричной организации реализуется, если проекты концентрируют и координируют ресурсы и эксплуатацию соответствующего проекта с другими отделами предприятия. При этом управление проектом само передает частные цели по терминам и задачам специальным отделам, которые выполняют их снова под свою ответственность на основе этих предварительных данных. Над отдельными управляющими проектом стоят начальники линий, которые, например, расставляют приоритеты по возможным конкурирующим проектам и берут на себя руководство персоналом и проектную политику (рис. 9и рис. 10 Приложение 3 и Приложение 4).
В качестве ключевых задач применения различных форм управления, согласно Ринзе, разрабатывается портфель документов, содержание которого зависит от сложности проектов и их числа (рис. 11).

Рис. 11. Ключевые задачи применения различных форм управления проектами
А – управление проектом в специальном отделе; В – управление проектом в штабном отделе; С – проектно – ориентированная линейная организация; D – управление проектом в матричной организации
В англо-американском языковом пространстве наряду с «чистыми» типами проектной организации предпочтение отдается также и смешанным организационным типам, как, например, mixed organization (смешанная организация) в противоположность к pure project organization (чисто проектная организация) (рис.12, рис. 13 Приложение 5, 6).

Рис. 14. Смешанная организация
Решке/Шелле/Шнопп в принципе различают четыре организационные модели управления проектом.[12]
- Управление проектом, на которое может быть оказано влияние.
- Чистое/автономное управление проектом.
- Матричное управление проектом.
- Мультиуправление проектом.
В отличие от предыдущей классификации, это предложение дополнительно содержит управление проектом, на которое может быть оказано влияние, в другом разделе уже представленное как штабное управление. Координатор проекта, выполняющий функции штаба, который непосредственно подчиняется правлению или руководству предприятия, используется для управления проектом. Ему не предоставляются полномочия выдачи распоряжений и принятия решений. Выполнение проекта обеспечивается исключительно посредством обмена координирующей информацией.
Достоинства и недостатки разработки проекта в матричной организации приведены в таблице 4.
Таблица 4. Достоинства и недостатки разработки проекта в матричной организации
| Достоинства разработки проекта в матричной организации
|
Недостатки разработки проекта в матричной организации
|
| Четкие распорядительные полномочия в проекте |
Высокие основные затраты |
| Согласование использования ресурсов |
Обремененность конфликтами |
| Четкая специализация сотрудников |
Положительные фазы при организациях
|
| Короткие информационные каналы |
| Гибкие организационные методы |
| Эффекты синергизма по всему проекту |
| Особое стимулирование персонала |
Решке/ Свобода различают штабное управление проектом, автономное и матричное управление проектом(Рис. 15, 16, 17 Приложение 7 и Приложение 8)[13]
В области организации процесса управления проекта несет ответственность за выполнение следующих задач: - достаточное обеспечение ресурсами; - определение последовательности операций по проекту; - формирование адекватных инстанций и авторитетов; - целевая и итоговая ориентация; - обеспечение проектных методов; - контроль за прогрессом проекта; - введение и контроль за изменениями (managementofchange– управление изменениями); - предоставление достаточного времени. Для выполнения этих задач организации требуется автоматизированная система управления проектами PMIS, которая предоставляет важнейшую информацию в стандартной форме ориентированную на решение и обеспечивает необходимой информацией в виде визуализированных отчетов лиц принимающих решение и ответственных лиц по проекту. Аналогично изменяются требования к организации проекта во время отдельных его фаз. В частности здесь отмечается прирост задач, который требует организовывать проект на разных фазах по разному и обеспечивать требуемое для решения задач количество квалифицированного персонала. 
Рис. 18. Типовое изменение организации на проектных фазах
Это мнение разделяет Даум, который считает, что организация должна соответствовать фазам проекта. В экстремальном случае организация проекта не должна характеризоваться только приказами начальников и повиновением сотрудников, а обе стороны должны поддерживать и консультировать друг друга при выполнении целевой задачи предприятия, а именно при удовлетворении потребностей клиента.[14]
Это проиллюстрировано на примере несущей руки.

Рис. 19. Концепция несущей руки
В принципе при реализации управления проектом в децентрализованных организациях имеют место большие проблемы. Здесь, в частности, при большой области контроля (в английской версии «норма управляемости») выступает проблема делегирования проектных задач сотрудникам, занятым в проекте (рис. 20 Приложение 9).
В рамках представления исследования, проводимого на конкретном примере собственного предприятия, Гарднер, Хинтманн и Курштедт приходят к выводу, что плоские организации — по меньшей мере в представленном случае — показали себя непригодными. С одной стороны, молодые члены команд были разочарованы из-за отсутствия перспектив, с другой—начальники из-за отсутствия интенсивных связей с сотрудниками не смогли мобилизовать их на общие задачи, и, кроме того, отсутствовало четкое разграничение ответственности.[15]
Этот опыт, который вполне соответствует отдельному случаю, не может все же рассматриваться как характерный для управления проектом, организованного по другим правилам и методам и как эксперимент в организационной области в течение короткого промежутка времени. Для организационного консультирования в аспекте введения управления проектом следует, в частности, назвать следующие производственные сферы:
- проведение мастерских по управлению проектом;
- организация регулярных заседаний рабочих групп; - проведение анализа фактического состояния имеющейся организации проекта;
- формирование организации процесса проведения проекта, ориентированного на клиента;
- разработка концепции адекватной организации структуры проекта; - рекомендация и разработка стандартных и пробных структур; - анализ информационных потребностей участников проекта и линий; - разработка концепции стандартизованного отчета;
- анализ и определение интерфейсов системы управления проектом, специализированных программ для клиента;
- определение специализированных полей данных и кодов для клиента;
- разработка концепции диалоговой части системы в соответствии с конкретными потребностями предприятия и клиентов; - проведение информационных и мотивационных мероприятий;
- разработка и проведение концепции обучения, четко ориентированного на конечного потребителя;
- содействие при разработке специализированной для конкретного клиента документации по управлению проектом.
Наряду с консультированием по целям организации управления проектом ставится также вопрос о тренинге по жестким факторам. К этому, в частности, относится обучение анализу сетевого планирования, алгоритмам загрузки, основам контроля динамики расходов, оценке релевантных компьютеризованных данных". Обучение и тренинг по мягким факторам (роль в качестве интегратора, арбитра и оптимизатора системы) является также предметом развития организации.
Кроме того, и здесь на повестку дня должны выйти вопросы моде-рации и коммуникации, интеграции идей и использования эффекта синергизма, а также активизации ресурсов и мотивации участников. Организационно должны были появиться проблемы, касающиеся того, когда проектные команды распускаются или подлежат роспуску. С другой стороны, проекты в рамках встраивания в организацию предприятия могут стать раздутыми, то есть принять сверхкрупные размеры. Таким образом между разделенными процессами и блоками должна быть установлена систематическая связь. Связь системных элементов и их взаимодействие в рамках системы имеют большее значение, чем значение отдельных компонентов. Это могло бы послужить рекомендацией — управление проектом должно быть не только междисциплинарным, но и интерактивным и коммуникативным в отношении основных параметров организации.
Заключение
Реализация проекта происходит в рамках организации, структура которой в значительной степени влияет на успех проекта. Выделяют следующие принципиальные организационные формы: - функциональная структура, предполагающая использование существующей функциональной иерархической структуры организации. Менеджер проекта осуществляет лишь общую координацию работ;
- дивизионалъная форма организации управления (разновидность функциональной структуры, сформированная по региональному, продуктовому или технологическому признакам);
- проектная структура. Данный подход предполагает, что комплекс работ проекта разрабатывается независимо от иерархической структуры организации;
- матричная структура. Промежуточная форма, объединяющая преимущества проектной и функциональной структур управления. Могут быть выделены три разновидности матричной структуры организации: слабая матрица, когда координатор проекта отвечает за координацию задач по проекту, но имеет ограниченную власть над ресурсами; сбалансированная матрица, когда менеджер проекта координирует все работы и разделяет ответственность за достижение
Цели с руководителями функциональных подразделений; жесткая матрица, когда менеджер проекта обладает максимальными полномочиями, но и несет полную ответственность за выполнение задач проекта.
Прочие организационные формы управления проектами, обусловленные условиями реализации проекта. Подводя итоги, можно сказать, что сегодня управление проектами - это не только и не столько дань моде, а, скорее, проверенный и эффективный инструмент управления любыми изменениями, в какой бы сфере человеческой деятельности они бы не происходили. Успешно реализованные проекты являются фундаментом, на котором компания строит свое будущее.
Список литературы
1. Воропаев В.И. Управление проектом в России. - М.: "Альянс", 2005 – 345 с. 2.
Дитхелм Г. Управление проектами в 2 – х томах. Перевод с немецкого. Т 1. СПб, Бизнес-пресса, 2003 – 390 с. 3. Грей Клиффорд Ф., Ларсон Эрик У.. Управление проектами: Практическое руководство/ Пер. с англ. – М.: Издательство «Дело и Сервис», 2003. – 528 с 4. Ефремов В.С. Проектное управление: модели и методы принятия решений. http://www.cfin.ru/press/management/1998-6/11.shtml 5. Кочетков А.И., Никешин С.Н., Рудаков Ю.П. и др. Управление проектами (зарубежный опыт). СПб.: "Два Три", 2003 - 446 с. 6. Локк Дэннис Основы управления проектами. Изд-во «HIPPO», 2004, 240 с 7. Михеев В. В. Живой менеджмент проектов М.: Просвещение 2007 – 167 с. 8. Мазур И. И., Шапиро В. Д., Ольдерогге Н. Г. Управление проектами. — М.: Омега-Л, 2007. 9. Мескон М.Х., Альберт М., Хедоури Ф.М., "Основы менеджмента", Пер. с англ. — М.: Дело, 2002. 10. Мир управления проектами. Перевод с англ. Под ред. Х..Решке, Х.Шеме.— М.: Аланс, 2003. 11. Покровский М.А. Основы управления проектами. Учебное пособие. Под ред. Фалько С.Г. М.: Изд-во МГТУ им. Баумана, 2008, 104 с. 12. Решке Х., Шеллс Х. Мир управления проектами. М.: "Аланс", 1994 - 303 с. 13. Товб А.С., Ципес Г.Л. Управление проектами. Стандарты, методы, опыт. М. "Олимп-Бизнс", 2003- 240 с. 14. Управление пректами (Зарубежный опыт). Под ред. В.Д.Шапиро.—Санкт-Петербург: "ДваТри", 2003 – 247 с. 15. Ферн Эдвард Дж. Управление проектами Time-to-Profit: руководство для менеджеров проектов разработки новой продукции. М., 2008 - 182 с. 16. Управление проектами. Под общей ред. В. Д. Шапиро. — Санкт-Петербург; "ДваТри" 2006 – 345 с.
17. Управление проектами. Толковый англо-русский словарь – справочник / Под ред. проф. В.Д. Шапиро. М.: «Высшая школа», 2000 – 167 с.
18. Управление инвестициями: В 2-х тт. / В.В.Шеремет, В.М. Павлюченко, В.Д. Шапиро и др. – М. Высшая школа, 2008. – 634с
Приложения
Приложение 1

Рис 6. Управление проектом в специальном отделе
Рис. 7. Управление проектом в специальном отделе
Приложение 2

Рис. 8. Проектно – ориентированная линейная организация
Приложение 3
Рис. 9. Управление проектом в матричной организации
Приложение 4
Рис 11. Матричная организаци
Приложение 5.
Рис 12. Чисто проектная организация
Приложение 6
Рис. 13. Организация команды проекта
Приложение 7
Рис. 15. Штабное управление проектом

Рис. 16. Автономное управление проектом
Приложение 8

Рис 17. Матричное управление проектом
Приложение 9
Рис. 20. Организационные структуры с узкими и широкими областями контроля
[1]
Дитхелм Г. Управление проектами в 2 – х томах. Перевод с немецкого. Т 1. СПб, Бизнес-пресса, 2003 Ст. - 17
[2]
Там же
[3]
Дитхелм Г. Управление проектами в 2 – х томах. Перевод с немецкого. Т 1. СПб, Бизнес-пресса, 2003 Ст. - 18
[4]
Дитхелм Г. Управление проектами в 2 – х томах. Перевод с немецкого. Т 1. СПб, Бизнес-пресса, 2003 Ст. - 20
[5]
Там же
[6]
Дитхелм Г. Управление проектами в 2 – х томах. Перевод с немецкого. Т 1. СПб, Бизнес-пресса, 2003 Ст. - 21
[7]
Мир управления проектами. Перевод с англ. Под ред. Х..Решке, Х.Шеме.— М.: Аланс, 2003. Ст. - 78
[8]
Ефремов В.С. Проектное управление: модели и методы принятия решений. http://www.cfin.ru/press/management/1998-6/11.shtml
[9]
Грей Клиффорд Ф., Ларсон Эрик У.. Управление проектами: Практическое руководство/ Пер. с англ. – М.: Издательство «Дело и Сервис», 2003. Ст. - 100
[10]
Дитхелм Г. Управление проектами в 2 – х томах. Перевод с немецкого. Т 1. СПб, Бизнес-пресса, 2003 Ст. - 32
[11]
Товб А.С., Ципес Г.Л. Управление проектами. Стандарты, методы, опыт. М. "Олимп-Бизнс", 2003 Ст. - 102
[12]
Решке Х., Шеллс Х. Мир управления проектами. М.: "Аланс", 1994 Ст. - 145
[13]
Решке Х., Шеллс Х. Мир управления проектами. М.: "Аланс", 1994 Ст. - 147
[14]
Кочетков А.И., Никешин С.Н., Рудаков Ю.П. и др. Управление проектами (зарубежный опыт). СПб.: "Два Три", 2003 Ст. - 209
[15]
Кочетков А.И., Никешин С.Н., Рудаков Ю.П. и др. Управление проектами (зарубежный опыт). СПб.: "Два Три", 2003 Ст. - 211
|