| Содержание пояснительной записки
1. Общая часть
1.1. Краткие сведения о предприятии
1.2 Горно-геологическая характеристика месторождения
1.3 Вскрытие и система разработки месторождения
1.4 Расчет и выбор выемочно-погрузочного оборудования
1.4.1 Расположение оборудования на ЭКГ-5
1.4.2 Расчет выемочно-погрузочного оборудования
1.5 Расчет и выбор бурового оборудования
1.6 Транспорт на карьере
1.7 Расчет и выбор оборудования водоотлива
1.8 Электроснабжение карьера
1.8.1 Характеристика электроприемников
1.8.2 Расчет освещения
1.8.3 Расчет и выбор трансформаторов
1.8.4 Расчет воздушных линий
1.8.5 Расчет токов короткого замыкания
1.8.6Выбор электрооборудования
1.8.7 Расчет и устройство защитного заземления
1.8.8 Выбор защиты от перенапряжений
1.8.9 Компенсация реактивной мощности
1.8.10 Мероприятия по экономии электроэнергии
2. Спец. часть. Насадка и снятие полумуфт, шкивов и шестерен
2.1 Сведения о муфтах, шкивах и шестернях
2.2 Снятие полумуфт, шкивов и шестерен
2.3 Насадка полумуфт шкивов и шестерен
2.4 Техника безопасности
3. Организация производства
3.1 Режим работы карьера
3.2 Организация обслуживания и ремонта электрооборудования на карьере
3.3 Расчёт штата рабочих на карьере
3.4 Форма организации труда на карьере
3.5 Формы и системы оплаты труда
4. Экономика производства
4.1 Смета капитальных затрат
4.2 Расчёт фонда заработной платы
4.3 Расчёт расхода и стоимости вспомогательных материалов
4.4 Расчёт расхода и стоимости электроэнергии
4.5 Калькуляция себестоимости 1т полезного ископаемого
4.6 Технико-экономические показатели
5. Мероприятия по технике безопасности и
противопожарные мероприятия
5.1 Общие правила безопасности при ведении горных работ открытым способом
5.2 Электробезопасность
5.3 Противопожарные мероприятия
5.4 Промышленная санитария
5.5 Охрана окружающей среды
Литература
1. Общая часть
1.1 Краткие сведения о предприятии
На юго-востоке территории междуречья Днепра и Дона, некогда называемой «диким полем» русский геолог Иваницкий в 1833 году нашел залежи полезных ископаемых и опубликовал сведения о массиве горного известняка простиравшемся в среднем течении реки Кальмиус и названном впоследствии Каракубским месторождением известняков.
Начало промышленного освоения известняков Каракубского месторождения было положено в работах геологов Лутугина и Бажанова в 1909 году. В 1933-34 году здесь было начато строительство крупного горнодобывающего предприятия – Каракубского рудоуправления по добыче металлургического (флюсового) известняка открытым способом...
Забиваем Сайты В ТОП КУВАЛДОЙ - Уникальные возможности от SeoHammer
Каждая ссылка анализируется по трем пакетам оценки: SEO, Трафик и SMM.
SeoHammer делает продвижение сайта прозрачным и простым занятием.
Ссылки, вечные ссылки, статьи, упоминания, пресс-релизы - используйте по максимуму потенциал SeoHammer для продвижения вашего сайта.
Что умеет делать SeoHammer
— Продвижение в один клик, интеллектуальный подбор запросов, покупка самых лучших ссылок с высокой степенью качества у лучших бирж ссылок.
— Регулярная проверка качества ссылок по более чем 100 показателям и ежедневный пересчет показателей качества проекта.
— Все известные форматы ссылок: арендные ссылки, вечные ссылки, публикации (упоминания, мнения, отзывы, статьи, пресс-релизы).
— SeoHammer покажет, где рост или падение, а также запросы, на которые нужно обратить внимание.
SeoHammer еще предоставляет технологию Буст, она ускоряет продвижение в десятки раз,
а первые результаты появляются уже в течение первых 7 дней.
Зарегистрироваться и Начать продвижение
Во второй половине 1934 года был введен в действие карьер №1, на котором к концу года было добыто 87 тыс. тонн флюсового известняка. Все работы по добыче и сортировке продукции выполнялись вручную, и только с 1937 года началось оснащение предприятия горной техникой. В 1939 году было добыто уже 1,6 млн. тонн, а в 1940 году – 1,8 млн. тонн известняка.
Каракубское месторождение флюсовых известняков расположено в юго – западной части Донецкого бассейна. В административном отношении месторождение находится на территории Старобешевского района,Донецкой области.В 50км к юго-востоку от областного центра г.Донецка и в 16км от райцентра п.Старобешево.
Каракубское месторождение не имеет естественных границ, т.к. сплошные выводы известняков на дневную поверхность протягиваются широкой полосой вдоль долин реки Кальмиус. Условной площадью Каракубского месторождения считается площадь, на которой расположены действующие карьеры и вспомогательные хозяйства Комсомольского рудоуправления.
В начале 1934 г. был сдан в эксплуатацию ж / д подъездной путь протяженностью 33 км, построены ж/д станции и разъезды, паровозное депо и другие здания бытового назначения. В 1939г. известняк добывали уже на 6 карьерах, было начато внедрение механизмов для бурения, транспортировки, для выполнения вкрышных и добычных работ. Приступили к строительству первой дробильно–обогатительной фабрики производительностью 2.8млн. тонн в год товарного продукта.
В 1954г. подготовили к эксплуатации карьер Южный. Построили вторую секцию обогатительной фабрики. Для планирования и контроля учета разработана автоматизированная система управления.
В 1959г. был построен новый карьер Дальний, на котором применена более современная механика и технология ведения горных работ.
В 1961г. начались работы по переводу Северного карьера на автомобильный транспорт, а в 1971г. на комбинированный карьерный транспорт. За этот же период в Комсомольском рудоуправлении были внедрены экскаваторы ЭКГ – 4,ЭКГ- 4.6,а затем и экскаваторы ЭКГ – 5, а так же станки вращательного и шарошечного бурения: 2СБШ -200 и СБШ – 250. Вместо автомобилей МАЗ – 525 в эксплуатацию были внедрены автосамосвалы БЕЛАЗ – 540,а затем 40-тонные БЕЛАЗы – 548.
В своем составе Комсомольское РУ имеет две дробильно-обогатительные фабрики: ДОФ – 1 и ДОФ – 2; такие основные цеха как ГТЦ, АТЦ, ЖДЦ; вспомогательные цеха: ЦРМЦ, Электроцех и т. д., а также на территории предприятия находятся такие карьеры как: Центральный карьер в состав которого входят Северный и Южный карьеры, и Жеголевский карьер.
Сервис онлайн-записи на собственном Telegram-боте
Попробуйте сервис онлайн-записи VisitTime на основе вашего собственного Telegram-бота:
— Разгрузит мастера, специалиста или компанию;
— Позволит гибко управлять расписанием и загрузкой;
— Разошлет оповещения о новых услугах или акциях;
— Позволит принять оплату на карту/кошелек/счет;
— Позволит записываться на групповые и персональные посещения;
— Поможет получить от клиента отзывы о визите к вам;
— Включает в себя сервис чаевых.
Для новых пользователей первый месяц бесплатно.
Зарегистрироваться в сервисе
Для ведения планировочных работ на отвалах и забоях, а так же для строительства автодорог были применены мощные бульдозера ДЭТ – 25Р, Д3 – 94С, ТД – 25 и автогрейдера ДЗ – 98.
К основным производственным процессам относят подготовку горных пород к выемке, выемочно-погрузочные работы, перемещение горной массы, отвалообразование и иногда складирование руды.
Подготовка горных пород к выемке в зависимости от типа пород заключается в осушении, предохранении их от промерзания, оттаивании, механическом рыхлении или взрывном дроблении.
Комплекс работ по осушению проводить необходимо, так как влажная порода налипает и намерзает на рабочие органы горных машин, вследствие чего снижается их производительность.
Заряжание скважин на карьерах – механизированное. Взрывчатое вещество подается в скважины под действием собственного веса (засыпка) или с применением сжатого воздуха (пневмозаряжание). Над зарядом в скважине размещают забойку из песка, шлака или щебня с помощью забоечных машин.
Негабаритные куски, остающиеся после отбойки уступов, подвергают вторичному дроблению. Широко применяют взрывное вторичное дробление теми же методами, что и при подземной разработке. Используют также механическое дробление падающим грузом массой до 5т.
Отвалообразование вскрышных пород заключается в размещении (складировании) пустых пород на специально отводимых площадях на поверхности или в выработанном пространстве карьера.
Отсыпку отвалов осуществляют уступами. Высота уступов, их число и общая высота отвала зависят от площади, отведенной под отвал, несущей способности пород в основании отвала, физико-механических свойств насыпных вскрышных пород, средств механизации, используемых на отсыпке отвала.
Карьер Жеголевский расположен к югу от Северного участка и ограничен от последнего массивом гранитных пород, которое образует падение структуры на северо-восток, средняя мощность полезного ископаемого 43,3м, средняя мощность покрывающих пород 27,4м. Объемный вес известняков 2,5т/м3
.
Карьер вскрыт 12 горизонтами до абсолютной отметки +133м развитие и направление горных работ представлено на календарном плане.
Для подготовки фронтов работ требуемой длины с целью обеспечения подготовки нормативных запасов, готовых к выемке для выполнения производственной программы в 2009 году, приоритетным направлением работ являются горные работы на восточной части северного борта карьера, где должен выполнятся основной объем горно-подготовительных работ.
Для выполнения производственной программы предусматривается строительство и реконструкция автомобильных съездов и дорог по горизонтам карьера и на ярусах отвала.
Известняки обводнены притоком воды 700-800м3
/час. Для откачки воды применяются водоотливные установки, оборудованные насосами Д1250х125 осуществляющие откачку на дневную поверхность поступающего притока в объемах 18000м3
/сут. со сбросом в реку Кальмиус. Диаметр труб составляет 420мм. Защита карьера от поверхностных вод осуществляется нагорными каналами.
Всего на отвале Жеголевского карьера предусматривается разместимость 1657 тыс./м3
пустых пород. Вскрытие пород со всех горизонтов размещается во внутреннем отвале, расположенном на юго-западной стороне участка.
Вывозка пустых пород в отвал осуществляется по существующим транспортным коммуникациям, указанным на плане.
1.2 Горно-геологическая характеристика месторождения
В геологическом строении Каракубского месторождения принимают участие перечисленных при описании геологии района стратегических подразделений, но основное значение имеет описание нижнекаменноугольных, палеогеновых и четвертичных отложений.
Нижнекаменноугольная система представлена: турнейским и визейским ярусами. С обеими ярусами связаны пласты чистых высоко качественных известняков, используемых в качестве флюсов, химического сырья и др. Литология отдельных стратегических горизонтов практически одинакова для всех участков месторождения.
В разрезе турнейского яруса выделены горизонты: , в, c, d. Из этих горизонтов c является началом продуктивной толщи и сложен серыми и темно – серыми разнозернистыми, толстоистыми известняками.
Из отложений визейского яруса на месторождении расположены главным образом породы горизонтов: , в+c и d.
Горизонт представлен мелкозернистыми битуминозными известняками от темно – серого до темных цветов, с частыми прослоями глинистых сланцев.Из-за наличия частых прослоев глинистых сланцев горизонт хорошо выделяется среди пород нижнего карбона и является маркирующим. Мощность его невелика 2,5-7м.
Горизонт в+с объединяет однообразную по литологическому составу толщу светло-серых и серых известняков. Мощность горизонта 37,7 – 51,2м.
Горизонт d перекрывает толщу кондиционных флюсовых известняков и сложен толстоистыми серыми и темно- серыми окрешнилыми известняками.Общая мощность 80м.
Кондиционные известняки образуют пластообразные залежи весьма изменчивой мощности со сложными очертаниями. Полезное ископаемое как на западной так и на восточной площадях месторождения выходит на дневную поверхность или перекрыто рыхлыми отложениями палеогена и четвертичной системы мощностью до 10м.
По химическому составу известняк делится на два сорта (I-й и II-й). Поставка известняка I-го сорта в количестве до 15% от общих поставок конвертируемого известняка данным горнорудным предприятием.
| Вид известняка
|
Сорт
известняка
|
Химический состав %
|
| CaO
|
MgO
|
SiO2
|
Al2
O3
+
Fe2
O3
|
S
|
P
|
| Не менее
|
Не более чем
|
| обычный
|
I-й
|
53,5
|
-
|
1,2
|
1,5
|
0,06
|
0,06
|
| обычный
|
II-й
|
52,5
|
-
|
2
|
1,5
|
0,09
|
0,06
|
| Доломитизурованый
|
I-й
|
53
|
9,5+
1,5
|
2
|
1,5
|
0,06
|
0,06
|
| Доломитизурованый
|
II-й
|
51,5
|
9,5+
1,5
|
2,8
|
1,5
|
0,09
|
0,08
|
Характеристика полезного ископаемого
Механическая прочность известняка - 750 - 1275 кг/см2
Коэффициент прочности по Протодьяконову - 7 - 10
Удельный вес известняка - 2,5 т/м3
Кроме основного полезного ископаемого флюсового известняка на карьере «Жеголевский» попутно извлекаются скальные и рыхлые породы вскрыши.
Песчано-глинистые породы палеогена четвертого возраста обеспечивают кровлю продуктовой карбонатной толщи. Характеризуется невыдержанностью состава, как по простиранию, так и по мощности, частой перемежаемостью разнородных слоев, большим количеством включений щебней известняков и кусков кремней, что не позволяет использовать их для получения строительных материалов. Общий объем этих пород в контуре проектируемого карьера - 14 млн. м3
.
Известняки стратегического горизонта , которые по химическому составу не соответствуют требованиям металлургической и химической промышленностей. Данные известняки используются для получения строительного щебня. В контуре проектируемого карьера объем известняков горизонта составляет 0,45 млн. м3
.
Залегающие внутри продуктовой толщи глинистые неплотные битумные известняки горизонта а непригодны в качестве сырья для стройматериалов по физико-механическим свойствам. Общий объем этих известняков составляет 3 млн. м3
.
1.3 Вскрытие и система разработки месторождения
Вскрытие месторождения производится въездными траншеями, а подготовка разрезными. Основные параметры траншеи (длина, ширина, уклон, угол откоса бортов) зависят от назначения траншеи, проходческого оборудования, глубины вскрываемого горизонта и физико-механических свойств породы.
Траншеи могут располагаться в пустых породах и в рудном теле. В первом случае породу располагают на бортах траншеи или вывозят в отвалы. По этому признаку выделяют две группы способов проходки траншей - бестранспортные и транспортные.
Бестранспортные способы проходки траншей применяют, если борта траншеи при дальнейшей разработке месторождения не будут отрабатываться и, следовательно, не потребуется повторного удаления породы с бортов.
Транспортные способы проходки траншей могут применяться в самых разнообразных условиях. Наиболее распространена проходка траншеи сплошным забоем с нижней погрузкой. Она используется как в мягких, так и скальных породах, при их погрузке в средства как автомобильного, так и железнодорожного транспорта.
В основу выбора оптимальной системы ведения горных работ на карьере «Жеголевский» приняты:
- сложившаяся технология ведения горных работ и максимально возможное использование имеющегося горнотранспортного оборудования;
- горно-геологические условия залегания полезного ископаемого, физико-механические свойства горных пород;
- необходимость полного извлечения утвержденных запасов полезного ископаемого;
- производительность карьера по полезному ископаемому и по пустым породам;
- взаимное расположение дробильно-обогатительной фабрики, карьера и овалов.
Принимая во внимание, изложенное выше, проектом рекомендуется сохранение транспортной системы с внешним и внутренним расположением отвалов, были приняты на выемочно-погрузочных работах экскаваторы с прямой мех лопатой.
На выемке и погрузке полезного ископаемого предусмотрено использование экскаваторов ЭКГ - 5А и ЭКГ - 10И.
Высота вновь нарезанных уступов принимается равной 13 - 14 м, что соответствует абсолютным отметкам + 7м и - 7 м.
При выборе вида транспорта по вывозке полезного ископаемого и вскрыши принималось во внимание следующее:
- существующий вид транспорта на карьере «Жеголевский» и возможность использования его при дальнейшей эксплуатации карьера;
- размеры карьерного поля по поверхности 1500x1200 м, при глубине 100-137м и наклоне залегающего полезного ископаемого, предопределяющего сокращения фронта работ по мере углубления карьера;
- расположение дробильного корпуса в выработанном пространстве карьера «Жеголевский»;
- расположение внешних отвалов непосредственно на борту карьера и использование выработанного пространства карьера для размещения внутренних отвалов.
Исходя из всех выше перечисленных условий на карьере «Жеголевский» целесообразно применение при его дальнейшей эксплуатации автомобильного транспорта, который обладает высокой маневренностью, способностью преодолевать значительные уклоны, что позволяет сократить расстояние транспортировки.
Разработка полезного ископаемого и скальных пород вскрыши, которые обладают значительной крепостью, требует предварительного разрыхления с применением буровзрывных работ.
Параметры буровзрывных работ и расход взрывчатых веществ приняты на основании фактических данных многолетней практики ведения взрывных работ на карьере «Жеголевский» и на основании «Справочника по буровзрывным работам на карьере».
Вскрытие месторождения производится въездными и разрезными траншеями с внутренним заложением в контуре карьера. Траншеи проходят вдоль восточного борта с направлением подвигания фронта горных работ в западном, северо-западном и северо-восточном направлениях.
1.4 Расчет и выбор выемочно-погрузочного оборудования
Экскаваторами называются землеройные машины, предназначенные для копания (экскавации) и перемещения горной массы в отвал или для погрузки в транспортные средства.
Все экскаваторы делятся на две большие группы: на одноковшовые периодического (цикличного) действия и непрерывного.
Любой экскаватор состоит из таких основных частей: рабочего, механического, ходового, силового оборудования, механизмов управления, платформы с рамой и кузова.
Одноковшовый экскаватор состоит из трех основных частей:
а) рабочая часть;
б) ходовая часть;
в) поворотная часть.
Рабочая часть состоит из стрелы, на которой крепится рукоять в конце которой находится ковш. На стреле находятся также напорные механизмы и механизмы открывания ковша. Ходовая часть воспринимает и передает на основание нагрузки от веса машины и возникающие при работе а также обеспечивает передвижение экскаватора.
Поворотная часть состоит из поворотной платформы с механизмами, силовым оборудованием, рабочим оборудованием.
Рабочим оборудованием называется комплекс узлов экскаватора (рабочего органа, стрелы, системы подвески стрелы и рабочего органа), обеспечивающий его действие в зоне работы экскаватора.
В Комсомольском Р/У применяются экскаваторы типа ЭКГ-5 и ЭКГ-10. Эти экскаваторы имеют объем ковша 5 и 10м3
.
Основным отличием в конструкции рабочего оборудования этих экскаваторов является рукоять ковша, у ЭКГ-5 рукоять ковша представляет собой две балки прямоугольного сечения с приводом рукояти, расположенном на стреле, у ЭКГ-10 рукоять ковша представляет собой балку круглого сечения с приводом, установленным на поворотной платформе. Благодаря этому рабочему оборудованию на ЭКГ-10 облегчена стрела и сняты крутящие моменты с рукояти ковша.
Для совершения рабочих движений ковша экскаватора-подъема и напора служат специальные механизмы, приводимые в действие от двигателя или группы двигателей. На экскаваторах ЭКГ-5 и ЭКГ-10 для привода рабочего оборудования применяются двигатели постоянного тока, потому что ими легче управлять, то есть регулировать их частоту вращения.
К экскаватору подводится трехфазный переменный ток напряжением 6000В. Преобразуется переменный ток в постоянный при помощи системы ДГ (двигатель-генератор), то есть переменный ток подводится к асинхронному двигателю, который вращает генератор постоянного тока, от которого питаются рабочие двигатели. Для безопасного ведения всех видов работ при эксплуатации, техническом обслуживании и ремонте экскаваторов обслуживающий персонал должен строго выполнять правила техники безопасности, действующие на данном предприятии. При работе экскаватора все ограждения, площадки, переходы, лестницы, перила должны быть исправными и установленными на своих местах.
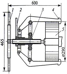
1.4.1 Расположение оборудования на ЭКГ-5
На ЭКГ-5 установлен преобразовательный агрегат, состоящий из приводного асинхронного двигателя и четырех генераторов постоянного тока: подъемного, напорного, поворотного и ходового, и возбудителя. В передней части платформы располагаются два поворотных механизма. На поворотной платформе расположены компрессор, силовой трансформатор, высоковольтный распределительный шкаф, контакторная панель. Механизм подъема ковша, состоящий из лебедки, двигателя, редуктора и тормоза.
1.4.2 Расчет выемочно-погрузочного оборудования
Расчет выемочно-погрузочного оборудования производим следующим образом:
1. Определяем теоретическую производительность экскаватора:

где, E = 5м3
- емкость ковша экскаватора;
tц
= 24сек. - продолжительность цикла экскавации.
2.Определяем техническую производительность экскаватора:

где, Кн - коэффициент наполнения ковша;
Кпр
- коэффициент простоев;
Кр
- коэффициент разрыхления.
3. Определяем эксплуатационную производительность:

где, Тсм
=8часов - продолжительность смены;
Qтехн
- техническая производительность экскаватора;
Км
- коэффициент машинного времени.
4. Определяем необходимое количество экскаваторов:
Для добычи:

Для вскрыши:

где, Кнр - коэффициент неравномерности работ;
Крез
- коэффициент резерва;
Тгод
- число рабочих дней в году;
п - число рабочих смен в сутки.
Принимаю 2 экскаватора ЭКГ-5А для вскрыши,
и 1 (той же марки) для добычи.
1.5 Расчет и выбор бурового оборудования
Для разведки, вскрытия или добычи твердых, жидких и газообразных полезных ископаемых, а также для различных вспомогательных целей в горных породах бурят вертикальные, горизонтальные или наклонные скважины.
Бурение - процесс сооружения горной выработки цилиндрической формы путём разрушения горных пород в торцевом забое. Скважиной называют искусственное цилиндрическое углубление в горных породах диаметром более 75мм и глубиной более 5м. Бурение производится с помощью буровой установки, комплекса оборудования, включающего буровую вышку (мачту), силовой привод, механизм передвижения, оборудование для механизации спускоподъёмных операций и очистки скважин и др.
Буровые станки классифицируются по характеру (способу) разрушения горной породы, типу привода и назначению. Бурение горной породы можно производить механическим и немеханическим способами. Механический способ реализуется в машинах ударного, вращательного, ударно-вращательного бурения, когда разрушение горной породы производится инструментом под действием прикладываемых к нему силовых нагрузок.
По характеру разрушения горной породы буровые станки классифицируются на такие способы бурения:
- ударный способ, осуществляется в результате нанесения ударов инструмента по породе. Удары можно наносить по хвостовику бура, лезвие которого, внедряясь, разрушает некоторый объём породы. После каждого удара буровой инструмент принудительно поворачивается. Этот способ бурения используется в бурильных машинах- перфораторах. Удары по породе можно наносить буровым инструментом, периодически падающим с некоторой высоты на забой под действием собственного веса. Так осуществляется бурение станками ударно-канатного бурения.
- вращательный способ бурения, осуществляется в результате скалывания, смятия, истирания вращающихся инструментов с приложением значительной осевой нагрузки. Этот способ реализуется в станках вращательного бурения с шарошечными долотами и резцовыми коронками.
- ударно-вращательный, реализуется в виде непрерывно вращающегося бурового инструмента, по которому наносятся удары. Этот способ реализуется в станках ударно-вращательного бурения с погруженными пневмо-ударниками.
По назначению буровые станки делятся на машины для бурения шпуров и небольших скважин, и машины для бурения скважин большого и среднего диаметра.
По типу привода буровые станки делятся на электрические и тепловые, работающие от двигателей внутреннего сгорания.
Буровой станок вращательного бурения состоит из следующих основных частей:
- рабочее оборудование;
- исполнительные механизмы;
- ходовое и силовое оборудование;
- механизмы управления;
- гидро и пневмосистемы;
- оборудование для удаления и улавливания продуктов разрушения.
Рабочее оборудование буровых станков состоит из бурового инструмента, мачты; механизмов подъёма и опускания мачты, хранения и подачи штанг, свинчивания и развинчивания бурового става.
Буровой инструмент шарошечных станков состоит из пустотелых буровых штанг и шарошечного долота, которое выполняется с одной, двумя, тремя и большим числом шарошек. Наибольшее распространение получили трех шарошечные долота. Основными параметрами буровых станков является: диаметр, глубина и угол наклона пробуриваемой ими скважины.
1. Определяем расчетное усилие подачи бурового станка:

где, f - коэффициент крепости по Протодьяконову;
D1
– диаметр буримой скважины,м.
2. Определяем техническую скорость бурения станка:

где, nдв
- частота вращения бурового става,мин-1;
Пб
- показатель буримости породы;
D - диаметр шарошечного долота,м;
Nпод
- паспортное усилие подачи бурового станка,Н.
3. Определяем сменную производительность станка:

где, Тсм
- продолжительность смены(8ч);
Ки
- коэффициент использования станка по времени для бурения в течении смены(0,06÷0,07);
tв
- удельные затраты времени на выполнение вспомогательных опера- ций (0,03÷0,04).
4. Определяем годовую производительность бурового станка:

где, nсм
- количество смен в сутки;
Тдн.раб
- число рабочих дней в году.
5.Определяем выход горной массы с одного метра скважины:

где, q- удельный расход взрывчатого вещества (кг/м3
);
6. Определяем потребное количество буровых станков:

где, Q- годовая производительность карьера по полезному ископаемому;
α- плотность горной массы.
Принимаю для бурения скважин 3 буровых станка СБШ-250МН — 32А.
1.6 Транспорт на карьере
Электровозы
Основными параметрами подвижного состава являются сцепной вес, мощность двигателей и мощность источника автономного питания. Рациональный сцепной вес локомотива в значительной мере определяется транспортными параметрами карьера: руководящим уклоном, глубиной карьера, расстоянием транспортирования. Мощность электродвигателей карьерных электровозов определяется режимом работы. Основными влияющими факторами являются глубина карьера, величина уклона и скорость движения на расчетном уклоне.
Конструктивно подвижной состав различается по числу осей, форме кузова и способу питания двигателей энергией. По способу питания электродвигателей современные карьерные электровозы разделяются на контактные, контактно-аккумуляторные, контактно-дизельные и аккумуляторные.
Контактные электровозы - основной тип карьерных электровозов. Они получают электроэнергию от контактной сети постоянного или переменного тока, благодаря чему мощность контактных электровозов практически не ограничивается мощностью источника энергии. Потому контактные электровозы имеют наибольшую удельную мощность по сравнению с другими типами электровозов. Это позволяет с применением электровозов такого типа реализовать большие скорости движения и большие ускорения при трогании с места.
Контактно-дизельные электровозы со вспомогательной дизельной установкой на постоянных путях работают в электровозном режиме, питаясь от контактной сети, а на не электрифицированных передвижных путях работают, получая энергию от дизель-генераторной установки.
В последнем случае дизель мощностью, равной 25-35% номинальной мощности электровоза, вращает генератор, который питает электроэнергией тяговые двигатели. Применение контактно-дизельных электровозов особенно целесообразно при значительной протяженности внутрикарьерных и отвальных передвижных путей.
Контактно-аккумуляторные электровозы при работе на передвижных путях с легким профилем тяговые двигатели электровоза питаются энергией от аккумуляторной батареи. При движении по стационарным путям тяжелого профиля электровоз получает энергию от контактной сети, вместе с этим емкость батареи, израсходованная при работе на передвижных путях, также восстанавливается при помощи подзарядки.
Электровоз состоит из механической, электрической и пневматической частей. К механическому оборудованию относятся: кузов с опорами, тележки с колесными парами, ударно-тяговые приборы рессорное подвешивание, буксы, зубчатые передачи и подвеска тяговых двигателей. Электрическая часть состоит из тяговых двигателей, пускорегулирующей аппаратуры, токоприемников, аппаратуры защиты. В пневматическую часть входят тормозное и пневматическое оборудование.
Кузов электровоза служит для размещения в нем кабины и всего электрического, пневматического и тормозного оборудования. Электровозная тележка состоит из рамы, колесных пар с буксами, рессорного подвешивания и тормозной системы. Рессорное подвешивание служит для смягчения ударов от колесных пар и равномерного распределения нагрузок между осями. Пневматическая часть электровоза состоит из таких систем: тормозной и управления.
Выемочно-транспортирующие машины.
Выемочно-транспортирующие машины предназначены для разработки и перемещения малосвязанных или хорошо разрыхленных скальных пород. Выемочно-транспортирующие машины состоят из базовых тракторов, тягачей или специальных шасси и навесного, прицепного, полуприцепного рабочего оборудования.
К рабочему оборудованию выемочно-транспортирующих машин относятся: бульдозеры, скреперы, грейдер элеваторы, струги, одноковшовые погрузчики.
К характерным особенностям выемочно-транспортирующих машин относятся:
- разработка и перемещение пород за счет тяговых усилий ходовых механизмов базовых тракторов (тягачей), обеспечивающих также движение самих тяговых машин вместе с рабочими органами;
- разработка пород тонкими горизонтами или наклонными слоями мощностью от нескольких сантиметров до 0,5-1м;
- сравнительно легкая автоматизация машин, так как они имеют простые, последовательно выполняемые операции;
- высокая мобильность машин;
При равной производительности в сравнении с экскаваторами выемочно-транспортирующие машины имеют в 3-10 раз меньшую металлоемкость, в 3-5 раз меньшую стоимость, а также обеспечивают снижение затрат на выполнение работ в 3-4 раза. При использовании нескольких видов выемочно-транспортирующих машин может быть обеспечена комплексная механизация основных: и вспомогательных работ на карьере. Выемочно-транспортирующие машины позволяют успешно обрабатывать сложно структурные месторождения полезных ископаемых, а также осуществлять разработку месторождения со сложными горно-геологическими условиями, вести работы в суровых климатических условиях, интерфицировать горные работы при строительстве и эксплуатации карьеров.
Автомобильный транспорт
Достоинства: гибкость, манёвренность, независимость работы авто самосвалов, радиус разворота до 25 м, подъём и уклон до 100о
, на 50 % меньше объёмы наклонных траншей, меньше затраты и сроки введения карьера в эксплуатацию, эффективен при строительстве карьеров, увеличивается темп углубления карьера, может применяться при раздельной выемке горной массы.
Недостатки: высокая стоимость большегрузных автомобилей, большие эксплуатационные расходы, жёсткая зависимость от климатических условий и состояния дорог, загазованность атмосферы, дефицитность топлива, большая себестоимость перевозимого груза.
В зависимости от конструктивного исполнения и условий эксплуатации выемочно-транспортирующие машины могут применятся различные типы ходовых устройств. Ходовые устройства выемочно-транспортирующих машин с навесным рабочим оборудованием определяется ходовыми устройствами базовых тракторов и тягачей. У полуприцепных и прицепных машин ходовые устройства могут быть различными. Гусеничные ходовые устройства благодаря лучшему сцеплению с породами развивают значительно большие тяговые усилия, чем пневмоколесные, а буксование гусеничного хода значительно меньше. Однако гусеничный ход имеет сложную конструкцию, большую массу(в 3-4 раза большую чем пневмоколесный), более высокую стоимость, высокое внутренние сопротивление движению, малый срок службы, низкий КПД и сравнительно низкие скорости движения.
Для перевозки с навесным, прицепным и полуприцепным рабочим оборудованием используются гусеничные и пневмоколесные тракторы, гусеничные и пневмоколесные одно и двухосные тягачи и специальные шасси.
Трактором называется самоходная машина, конструкция которой рассчитана на длительную работу в транспортном режиме.
Тракторы по назначению делятся на:
- сельскохозяйственные;
- общего назначения;
- промышленного назначения.
Тягачи классифицируются по мощности силовой установки и в зависимости от назначения могут быть одно, двух и многоосными.
Конвейерный транспорт
Транспортирование горной массы конвейерами получает на открытых горных разработках широкое распространение. Объясняется это основными преимуществами конвейерного транспорта: немногочисленный обслуживающий персонал, непрерывность транспортирования груза, небольшие габариты конвейерных установок. К недостаткам конвейерного транспорта относятся: быстрый износ дорогостоящей ленты, зависимость работы от климатических условий.
Бульдозеры
Бульдозер - самоходная землеройная машина, представляющая собой гусеничный и пневматический трактор, тягач, с навесным рабочим оборудованием в виде отвала расположенным вне базы ходовой части машины.
Бульдозеры классифицируются по следующим признакам:
- номинальному тяговому усилию базовой машины на сверх тяжелые, тяжелые, средние, легкие, сверхлегкие или малогабаритные;
- мощности базовой машины - сверхмощные, мощные, средней мощности, малой мощности, сверхмаломощные;
- способу подвода энергии- с автономным источником энергии и с внешним подводом;
- типу ходового устройства - гусеничные и пневматические;
- способу управления - с канатным и гидравлическим управлением;
- способу перемещения призмы волочения - толкающего и тянущего типов;
- способу установки рабочего оборудования - одно и двустороннее;
- типу рабочего оборудования - неповоротные, поворотные, универсальные и специальные;
- характеру движений при выполнении рабочих операций;
- назначению - общего и специального назначения.
Одноковшовый погрузчик - самоходная машина предназначенная для зачерпывания, погрузки на транспортные средства или отвалы разрыхленных горных пород.
Скрепер - выемочно-транспортирующая машина, состоящая из ковша с регулирующей частью и механизма передвижения и предназначенная для постоянного отделения породы с поверхности массива, загрузки в ковш, транспортирования и разгрузки породы на месте укладки.
При работе на выемочно-транспортирующих машинах сам машинист находится среди много действующих механизмов в сравнительно стесненных условиях.
В связи с этим машинист во время работы и обслуживании машин должен быть внимательным и неукоснительно выполнять правила техники безопасности.
Основные требования правил техники безопасности распределяются как на объект работы, так и на перемещение машин по автомобильным дорогам и предусматривают: управление машинами лицами не моложе 18 лет, имеющим удостоверение на право вождения; выполнение работы разрешается только на полностью отремонтированной машине. Машинист обязан постоянно наблюдать за рабочим органом и ходовыми механизмами и предупреждать возможный наезд на людей предупредительным сигналом, остановкой машины, прекращению работ; при остановке устанавливать машину на стоянке тормоза; не оставлять машину с работающим двигателем без наблюдения даже на короткие сроки; опускать рабочий орган машины на землю при остановках машины.
Только соблюдение правил безопасности ведет к нормальной работе без несчастных случаев.
1.7 Расчет и выбор оборудования водоотлива
Водоотлив является третьей стадией осушения месторождения, т.е. в период его эксплуатации. Водоотлив производится в течение всего времени эксплуатации карьера.
В зависимости от физико-механических и гидрогеологических свойств пород и условий осушение производится:
1) с поверхности водопонижающими скважинами;
2) подземными горными выработками в сочетании со сквозными, забивными и корзинчатыми фильтрами, водопонижающими скважинами и колодцами, дренажными канавами;
3) открытым водоотливом, в его состав входят опережающие зумпфы, дренажные канавы, колодцы, оборудованные насосами.
Дренаж почвы производится водопонижающими скважинами, оборудованными глубинными насосами; дренажными канавами, проведенные параллельно или перпендикулярно проведению работ; водопонижающими колодцами, пройденные в почве выработок или карьеров. Данные выработки должны закладываться в пониженных местах рельефа и откачка воды должна производиться систематически, обеспечивая стабильное понижение уровня воды.
Атмосферные осадки и паводковые воды должны регулярно удаляться откачкой или самотеком от действующих забоев, железнодорожных путей, автомобильных дорог. Расположение канав и других водоотливных устройств, а также размер их поперечного сечения и уклоны должны рассчитываться на пропуск максимального притока воды. Должны также учитываться сезонные паводковые воды и приниматься меры для борьбы с ними.
Водоотливные установки предназначены для откачки грунтовых и паводковых вод за пределы карьера. Водоотливная установка состоит минимум из трех насосов, водосборника и трубопровода, а также вспомогательных механизмов и устройств.
Большое распространение получили центробежные насосы, приводимыми трехфазными асинхронными двигателями переменного тока с короткозамкнутыми роторами. На каждый рабочий насос приходится один- два запасных насоса, другой в ремонте. Благодаря этому в случае поломки рабочего насоса в работу включают другой (запасной). Водоотливная установка должна соответствовать притоку и жесткости воды.
Рассчитываем водоотливную установку исходя из условия, что весь суточный приток должен быть откачан за 20 часов;
Требуемая расчетная подача насоса:

где,Qo
- часовой приток по карьеру;
18000м3
/ч - суточный приток (из условия).
Ориентировочный напор насоса:

где, Нг
- геодезическая высота напора воды(м).
Из этого условия принимаю 2 насоса ЦНС-1250-140
(один в работе и один в резерве).
Расчетная мощность электродвигателя:

где, Qн
- производительность насоса м3
/ч;
ρ - плотность воды;
η-кпд двигателя;
Нг
- геодезическая высота напора.
Принимаю двигатель «Украина» - 560L4У5, с техническими характеристиками – Nном
= 630кВт; частота вращения 1485 об/мин; ток статора 73А; кпд 94,7%; cosφ =0,87.
1.8 Электроснабжение карьера
1.8.1 Характеристика электроприемников
Все потребители горных предприятий по требуемой степени бесперебойности электроснабжения в соответствии с требованиями ПУЭ подразделяют на три категории.
К потребителям первой категории относятся такие, для которых перерыв в подаче электроэнергии может повлечь за собой: опасность для жизни людей, значительный ущерб народному хозяйству, связанный с повреждением оборудования, массовым браком продукции, расстройством сложного технологического процесса. Потребители первой категории должны быть обеспечены 100 % -ным резервным питанием от двух независимых источников электроэнергии, а перерыв в подаче электроэнергии допускается только на время необходимое для ввода резервного питания (АВР).
К электроприемникам второй категории относят такие, у которых перерыв в подаче электроэнергии связан с массовым недоотпуском продукции, простоем рабочих, механизмов и транспорта. Перерыв в подаче электроэнергии допускается только на время, необходимое для включения резервного питания дежурным персоналом или выездной оперативной бригадой. Электроприемники второй категории рекомендуется обеспечивать электроэнергией от двух независимых взаимно резервирующих источников питания.
Для потребителей третьей категории перерыв в подаче электроэнергии допустим на время необходимое для ремонта или замены поврежденного оборудования, это время не должно превышать одни сутки.
Характеристику электроприемников запишем в таблицу:
| Наименование
потребителей
|
Мощность
Рн,
кВт.
|
Напряжение
U, B
|
cos φ
|
Коэффициент
спроса, Кс
|
| ЭКГ-5А
|
250
|
6000
|
0,9
|
0,75
|
| СБШ-250
|
386
|
380
|
0,7
|
0,7
|
| ДКсТ-20000
|
20
|
380
|
1
|
0,9
|
| Водоотлив
|
630
|
6000
|
0,87
|
0,7
|
1.8.2 Расчет освещения
Продолжительность темного времени суток зимой и летом в зависимости от расположения района открытых горных разработок колеблется в широких пределах. Поэтому необходимо правильно организовать электрическое освещение при этом возрастает производительность труда и повышается качество выполняемых работ, улучшаются условия труда, сокращаются аварии и травматизм, повышается безопасность перемещения людей и всех видов транспорта в карьере.
Кроме того, нормальное освещение создает хорошую обозреваемость всей территории карьера, отдельных забоев, отвалов. При устройстве электрического освещения на карьерах необходимо учитывать большие пространства, особенности погоды (дождь, снег, туман и т.д.) и большую запыленность воздуха.
При расчете освещения на карьере необходимо учитывать такие величины как световой поток - лучистый поток, оцениваемый по его действию на глаз; сила света - угловая пространственная плоскость светового потока, излучаемая источником; а также освещенность на карьере должна быть не менее 0,2 лк.
Освещение на карьерах осуществляется электрическими осветительными приборами дальнего действия к ним относятся прожектора и светильники с ксеноновыми лампами.
Для расчета освещения сначала необходимо рассчитать площадь карьера и суммарный световой поток.
1. Определяем площадь карьера:

2. Определяем суммарный световой поток:

где, Еmin
=0,2лк-требуемая освещенность для отдельных участков;
Кз
= (1,2÷1,5)-коэффициент запаса;
Кп
= (1,15÷1,5)-коэффициент потери.
Для освещения карьера выбираем светильник СКсН с лампой ДКсТ-20000. Напряжением 380 В, мощностью 20 кВт, Fл
=600000 лм.
3. Определяем количество светильников:
принимаем 3шт.
1.8.3 Расчет и выбор трансформаторов
Трансформатор на ГПП выбираем по нагрузке, с учетом коэффициента спроса.Результаты расчетов сведем в таблицу:
| Наименование и тип оборудования
|
Кол-во шт.
|
Мощность Рн,
кВт
|
Суммарн. мощность ∑Рн
,кВт
|
Коэфф. Спроса Кс
|
cosφ
|
tgφ
|
Расчетная мощность
|
| кВ
|
кВА
|
| ЭКГ-5А(Д)
Двигатель
ТСН
|
1
1
1
|
250
40
|
250
40
|
0,75
0,75
|
0,9
0,9
|
0,5
0,5
|
187,5
30
|
93,75
15
|
| ЭКГ-5А(В)
Двигатель
ТСН
|
2
2
2
|
250
40
|
500
80
|
0,75
0,75
|
0,9
0,9
|
0,5
0,5
|
375
56
|
187,5
28
|
| СБШ-250
|
3
|
386
|
1158
|
0,7
|
0,7
|
1
|
810,6
|
810,6
|
| Водоотлив
|
2
|
630
|
1260
|
0,7
|
0,87
|
0,8
|
882
|
705,6
|
| ДКсТ-20000
|
3
|
20
|
60
|
0,9
|
1
|
0
|
54
|
0
|
| Итого
|
3348
|
2395,1
|
1840,45
|
1. Определяем полную мощность трансформатора:

На ГПП карьеров, имеющих потребители 1-й и 2-й категорий по бесперебойности электроснабжения, должно быть установлено два трансформатора. При аварии или выводе в плановый ремонт одного из них второй должен обеспечивать всю нагрузку потребителей.
Исходя из этого принимаем два трансформатора типа ТМ 4000/35
Техническая характеристика ТМ 4000/35
Номинальная мощность, кВА 4000
Верхний предел напряжения, кВ
ВН 35
НН 6,3
Потери, Вт:
х.х. при номинальном напряжении 9500
к.з. при номинальном нагреве 33500
Напряжение к.з.,% от номинального 7,5%
Ток х.х.,% от номинального 3%
Чтобы выбрать трансформатор для подключения бурового станка СБШ-250 при помощи ПКТП необходимо рассчитать мощность трансформатора.
3. Определяем расчетную мощность трансформатора для СБШ-250:

Выбираем трансформатор типа ТМ 400/6
Техническая характеристика ТМ 400/6
Номинальная мощность, кВА 400
Верхний предел напряжения, кВ:
ВН 10
НН 0,4
Потери, Вт:
х.х. при номинальном напряжении 1600
к.з. при номинальном нагреве 5800
Напряжение к.з.,% от номинального 4,5%
Ток х.х., % от номинального 3%
1.8.4 Расчет воздушных линий
            
          
L1
=1075м L10
=1250м L4
=1375м L7
=800м
L11
=100м
L2
=250м L5
=100м L8
=100м
L12
=275м
L3
=650м L6
=275м L9
=375м
L13
=250м
L14
=375м
Главными элементами воздушной ЛЭП являются неизолированные провода. В настоящее время применяются алюминиевые, сталеалюминевые и медные провода. По конструкции провода могут быть однопроволочными изготовленными из одного металла, многопроволочными изготовленными из нескольких металлов.
При эксплуатации воздушных ЛЭП необходимо учитывать и принимать соответствующие меры против таких явлений как: гололеда, вибрации проводов, грозовых поражений, разрывов жил и т. д.
Для кабельных ЛЭП применяют силовые кабели с медными или алюминиевыми жилами в свинцовой, алюминиевой или поливинилхлоридной оболочке.
Выбор сечений жил проводов и жил кабелей производится с учетом влияния нескольких факторов. К техническим факторам относятся: способность проводника выдерживать длительную токовую нагрузку; термическую стойкость в работе в режиме к.з.; потери напряжения в проводниках от проходящего по ним тока; механическая прочность. К экономическим факторам относится экономическая плотность тока.
1. Определяем расчетные токи линий:
Iэкс
- расчетный ток экскаватора:

Iбс
- расчетный ток бурового станка:

Iв
- расчетный ток водоотлива:

Ic
- расчетный ток светильника:

IL
1
–расчетный ток линии L1
:

Все остальные расчеты проводим аналогично.
Принимаем провода марки А.
2. Определяем сечение провода:
а) по нагреву
По расчетному току находим сечение провода из справочника и результаты сводим в таблицу.
б) по механической прочности.
По условиям механической прочности на воздушных ЛЭП напряжением до 35 кВ минимальным сечением для алюминиевых проводов является - 25 мм 2
.
в) по экономической плотности.

Где, jэк
– нормированное предельное значение экономической плотности тока, зависящее от материала проводника и продолжительности использования максимума нагрузки в год (стр.31 задачник по ГЭТ Авсеев).
г) по потере напряжения.
Определяем сечение провода (мм2
) по допустимой потере напряжения по формуле:

где, γ =32 удельная проводимость алюминия.
ΔUдоп
– допустимая потеря напряжения,В;

Результаты расчетов сводим в таблицу:
| Уч-к
|
Длина,
м-
|
Расчетн.
ток,А
|
Стандартные сечения
|
Марки
и сечен.
проводов.
|
| По нагреву
|
По
мех.проч.
|
По
экон.плотн.
|
По
потере напряж.
|
| L1
|
1075
|
60
|
16
|
25
|
70
|
1,94
|
A-70
|
| L2
|
250
|
21
|
16
|
25
|
25
|
0,16
|
A-25
|
| L3
|
650
|
39
|
16
|
25
|
50
|
0,76
|
A-50
|
| L4
|
1375
|
104
|
16
|
25
|
120
|
4,3
|
A-70
|
| L5
|
100
|
2
|
16
|
25
|
70
|
6,01
|
A-16
|
| L6
|
275
|
102
|
16
|
25
|
70
|
0,84
|
A-70
|
| L7
|
800
|
60
|
16
|
25
|
70
|
1,44
|
A-70
|
| L8
|
100
|
21
|
16
|
25
|
25
|
6,31
|
A-25
|
| L9
|
375
|
39
|
16
|
25
|
25
|
0,44
|
A-25
|
| L10
|
1250
|
64
|
16
|
25
|
70
|
2,4
|
A-70
|
| L11
|
100
|
2
|
16
|
25
|
25
|
6,01
|
A-16
|
| L12
|
225
|
62
|
16
|
25
|
70
|
0,42
|
A-70
|
| L13
|
250
|
21
|
16
|
25
|
25
|
0,16
|
A-25
|
| L14
|
375
|
41
|
16
|
25
|
25
|
0,46
|
A-50
|
| L15
|
300
|
2
|
16
|
25
|
25
|
1,8
|
A-16
|
| L16
|
425
|
39
|
16
|
25
|
25
|
0,5
|
A-25
|
| Lб
с
|
200
|
587
|
2x95
|
-
|
-
|
0.25
|
2хГРШН 3х95
|
| Lэкс
|
200
|
21
|
10
|
-
|
-
|
0,02
|
КГЭ 3х16 1х10
|
| Lc
|
200
|
2
|
2,5
|
-
|
-
|
0,08
|
КРПТ 3х2,5
|
1.8.5 Расчет токов короткого замыкания
Коротким замыканием называется нарушение нормальной работы электроустановки, вызванное замыканием фаз между собой, или замыканием фазы на землю.
Токи к.з. в современных мощных электросистемах могут достигать огромных значений (10-100 тыс. ампер). Поэтому оборудование электроустановок должно обладать достаточной электродинамической (механической) и термической стойкостью к действию токов к. з.
Причинами возникновения короткого замыкания могут быть:
1. Нарушение изоляции происходящее вследствие её несовершенства, или посторонних причин (обрыв, удар молнии, попадание посторонних предметов).
2. Ошибки при ремонтных работах, включениях и отключениях.
Несмотря на все меры, принимаемые при проектировании и эксплуатации, вероятность короткого замыкания не исключена, поэтому правильный выбор электрооборудования, основанный на знании характера протекания короткого замыкания и ожидаемого тока, является самой действенной мерой предотвращения опасных последствий к.з.
Короткие замыкания бывают:
· трёхфазные - возникающие при одновременном замыкании накоротко всех трёх фаз;
· двухфазные;
· однофазные - возникающие при замыкании между фазой и землёй.
Процесс протекания короткого замыкания слагается из двух режимов:
1. Переходного:
o ударный ток - возникает в течении первых 0,01-0,2 секунд, сопровождается электродинамическим эффектом, способным сорвать провода с изоляторов, повредить обмотки двигателей, трансформаторов;
o разрывной ток - появляется в течении первых 0,2 секунд, в течении которых сеть должна быть отключена автоматической защитой.
2. Установившегося. Возникает при несрабатывании защиты, ведёт к злектротермическому эффекту.
Для вычисления токов короткого замыкания по расчетной схеме составляют схему замещения, в которой указывают сопротивления всех источников и потребителей, и намечают вероятные точки для расчета токов короткого замыкания.
Расчет токов короткого замыкания рекомендуется производить в относительных единицах.
1. Расчетная схема:
2. Схема замещения:
3. Принимаем базисную мощность и базисное напряжение:
Uб1
=6,3кВ; Uб2
=0,4кВ; Sб
=10мВА
4.Определяем базисные токи:


5. Определяем индуктивное сопротивление системы:

6. Определяем индуктивное сопротивление отдельных участков:
а) индуктивное сопротивление трансформаторов на ГПП


б) индуктивное сопротивление карьерной ВЛ и кабельных линий

где, Х0
=0,4 Ом/км
в) активное сопротивление карьерной ВЛ и кабельных линий


где,ρ=28 – для алюминия и 54 - для меди;
S - сечение провода.
для кабелей R0
приведены в таблице 9.8 (стр. 193. Медведев Г.Д. Электрооборудование и электроснабжение горных предприятий)
7.Определяем результирующее сопротивление до точек к. з.:

8. Определяем результирующие сопротивления:
до точки К1
:

до точки К2
:





до точки К3
:




до точки К4
:

до точки К5
:

до точки К6
:





9. Определяем установившийся трехфазный ток к.з.:

10. Определяем ударный ток:
кА
11. Определяем установившийся ток:
кА
12. Определяем мощность короткого замыкания:
МВА
Данные расчетов сводим в таблицу:
| Расчетная
точка
|
Xk*
|
Zk*
|
I6
кА
|
U6
кВ
|
Ik(3)
кА
|
Iуд
кА
|
Iус
кА
|
Sk
МВА
|
| К1
|
0,18
|
0,18
|
0,9
|
6,3
|
5
|
12,75
|
7,55
|
55
|
| К2
|
0,28
|
0,3
|
0,9
|
6,3
|
3,2
|
8,2
|
4,8
|
35
|
| К3
|
0,28
|
0,3
|
0,9
|
6,3
|
3,2
|
8,2
|
4,8
|
35
|
| К4
|
0,18
|
0,18
|
0,9
|
6,3
|
5
|
12,75
|
7,55
|
55
|
| К5
|
0,24
|
0,24
|
0,9
|
6,3
|
3,75
|
9,6
|
5,7
|
40,9
|
| К6
|
1,365
|
1,4
|
14,3
|
0,4
|
10,2
|
18,9
|
11,2
|
7,1
|
Проверяем выбранное сечение кабеля экскаватора по термической устойчивости к токам к.з.

где, Ik(3)
-установившийся ток к.з.;
tф
– 0,2 время прохождения тока к.з.(принимается равным времени действия защитного реле + собственное время отключения силового выключателя);
С – 141 коэффициент для кабелей с медными жилами.
Окончательно выбираем кабель КГЭ – 3х16,1х10.
1.8.6 Выбор электрооборудования
В схеме открытого РУ 35 кВ на ГПП принимаем отделители, короткозамыкатели, разъединители. Выбор этого оборудования производим по напряжению, току и по току термической стойкости.
Выбираем отделители типа ОД (3) - 35/630 У1, короткозамыкатели КРН - 35 У1 и разъединители РВ (3) - 35/630 УЗ.
Технические характеристики:
| Параметры
|
ОД(3)35/630У1
|
КРН-35У1
|
РВ(3) – 35/630УЗ
|
| Номинальное напряжение,кВ
|
35
|
35
|
35
|
| Номинальный ток,А
|
630
|
630
|
| Предельный сквозной ток(ударный),кА
|
80
|
42
|
51
|
| Ток термической стойкости,кА
|
12,5
|
12,5
|
20
|
Выбор комплектно – распределительного устройства 6 кВ, которое предназначено для подключения рабочего оборудования карьера.
1. Определяем пусковой ток экскаватора ЭКГ- 5А:
А
Исходя из этих расчетов выбираем КРУ типа ЯКНО-6.Все расчеты сводим в таблицу:
| Параметр
|
Расчетные данные
|
Каталожные данные
|
| Номинальное напряжение, кВ
|
6
|
6
|
| Номинальный ток, кА
|
63
|
100
|
| Эл.динамическая стойкость, кА
|
5,7
|
51
|
| Номинальный ток отключения, кА
|
3,2
|
20
|
Каталожные данные превышают расчетные, значит ячейка выбрана правильно.
Определяем ток срабатывания реле:
А
где, Кн
=1,5; Ксх
=1; Кт
=20
Исходя из расчета по таблице выбираем токовое реле РТМ с током уставки Iy
= 6 A.
Выбор низковольтной аппаратуры ПКТП 400/6.
По справочнику выбираем оборудование для высокой стороны: разъединители РВ 400/6, UH
=6 кВ, Iр
=400 А, Iу
=41 кА. Выбираем предохранители типа ПК 2-6-50, UH
=6 кВ, Iн
=80 А, Iп вст
=250 А.
Для низкой стороны определяем расчетный ток нагрузки:
Iр
=586 А
Выбираем автоматический выключатель А 3736 Ф.
Технические характеристики:
| Характеристики
|
Расчетные данные
|
Каталожные данные
|
| Номинальное напряжение, В
|
380
|
380
|
| Номинальный ток, А
|
586
|
630
|
| Максимальный ток расщепления, А
|
586
|
725
|
| Ток отключения, А
|
10,2
|
50
|
| Уставка,токи максимальной защиты,кА
|

|

|
Выбор автоматических выключателей производим по номинальным параметрам из условия:

где, - расчетное напряжение,В;
- номинальное напряжение автоматического выключателя, В;
- расчетный ток, А;
- номинальный ток автомата, А.
Выбранный автоматический выключатель проверяем на отключающую способность:

Уставка тока максимальной защиты автоматического выключателя проверяется по соотношению:

где, - минимальный ток к.з. в наиболее удаленной точке сети;
1,5 – коэффициент чувствительности;

1.8.7 Расчет и устройство защитного заземления
В качестве электродов применяем круглую сталь диаметром 14 мм, длиной 5 м, соединительные проводники выполняем из той же стали. Корпуса электрооборудования присоединяем болтовым соединением к соединительному проводнику.
1. Определяем сопротивление центрального заземлителя:
Ом
Ом
2. Сопротивление одного электрода:

для глинистого грунта ;
Ом
3. Определяем необходимое число электродов заземлителя:
шт.
Принимаем 6 штук электродов.
Местное заземление устанавливаем в местах расположения оборудования.
1.8.8 Выбор защиты от перенапряжений
Перенапряжением - называется повышение напряжения до величины, опасной для изоляции электроустановки. Различают два вида перенапряжений: коммутационные, атмосферные.
Атмосферные перенапряжения - следствия прямых ударов молний в воздушную линию. Атмосферные перенапряжения могут достигать нескольких миллионов вольт, что опасно для электроустановок.
Коммутационные перенапряжения возникают при отклонении токов К.З. в линии или при резком изменении нагрузки.
Для защиты от коммутационных и атмосферных перенапряжений применяем разрядники:
- в местах перехода с ВЛ на кабельную линию трубчатые разрядники РТФ - 6/0,5;
- в ПКТП со стороны 6 кВ устанавливаем вентильные разрядники РВО - 6;
- приключательные пункты экскаваторов оборудуем вентильными разрядниками РВО - 6;
- открытые РУ - 35 кВ оборудуем разрядниками РВС - 35 для защиты от прямых ударов молнии.

Разрядник РВС-35 состоит из блока многократных искровых промежутков (1) и рабочих нелинейных резисторов (2), заключенных в герметично закрытой фарфоровой покрышке (3). Рабочий резистор разрядника изготовлен из спецмассы “Вилит” и обладает нелинейной вольт-амперной характеристикой. Разрядник РВС-35 устанавливается на изолированном от “земли” основании (4) для удобства присоединения регистратора срабатывания и для измерения токов проводимости.
Вилит - керамическое сопротивление, в состав которого входят карборунд, графит и глина.
С увеличением напряжения сопротивление вилита резко уменьшается, а с уменьшением, наоборот увеличивается. Поэтому при проходе волны перенапряжения к разряднику сопротивление вилитовых дисков понижается, и ток отводится в землю.
При снижении напряжения до нормальной величины сопротивление дисков резко увеличивается и дуга, возникающая в искровых промежутках гаснет. Вилитовый разрядник одним выводом присоединяют к линии, а другим - к заземляющим устройствам.
1.8.9 Компенсация реактивной мощности
Для компенсации реактивной мощности выбираем статические конденсаторы.
Статические конденсаторы представляют собой специальные емкости, способные вырабатывать реактивную энергию. Они могут работать лишь как генераторы реактивной энергии, т.е.по своему действию подобны синхронному компенсатору, работающему с перевозбуждением.
Достоинства статических конденсаторов следующие: бесшумность в работе, простота в эксплуатации ввиду отсутствия вращающихся и трущихся частей, простота выполнения монтажных работ ввиду малого веса и отсутствия фундамента, малые потери.
1. Определяем фактический tgφ:

2. Определяем необходимую мощность конденсаторных батарей:
(квар)
3. Определяем количество конденсаторов:

К установке принимаем 18 конденсаторных батарей типа
КС2-6,3-75 по 6 штук на фазу.
Техническая характеристика:
| Тип установки
|
Номинальное напряжение(Uн
),В
|
Номинальная мощность(qk
),квар
|
Емкость(Ck
),мкФ
|
| КС2-6,3-75
|
6300
|
75
|
6
|
1.8.10 Мероприятия по экономии электроэнергии
Систематические мероприятия по экономии электроэнергии, которые ежегодно выполняются, позволяют при одинаковых затратах добиваться снижения себестоимости продукции, что приводит к увеличению получаемой прибыли предприятия.
На предприятиях горной промышленности экономия электроэнергии может быть получена путем выполнения следующих основных мероприятий:
- выбора наиболее экономичных схем электроснабжения предприятия в целом и отдельных энергоемких потребителей;
- выбора и соблюдения режимов работы основного технологического, энергетического и электрического оборудования;
- перехода на более прогрессивное оборудование для добычи полезного ископаемого и проведения комплекса подготовительных работ;
- внедрение в производственные процессы средств автоматики и телемеханики;
- внедрение рационализаторских предложений, направленных на снижение непроизводственных затрат электроэнергии;
- поддержания оптимальных значений реактивной мощности, задаваемых предприятиям электроснабжающими организациями.
Важным фактором снижения потерь электроэнергии является изыскание неиспользованных резервов электроснабжения; внедрение технического учета расхода электроэнергии по отдельным цехам и участкам; внедрение средств автоматического управления, регулирования и средств телемеханики; выбор наиболее экономичных средств компенсации реактивной мощности с поддержанием оптимальных значений.
2. Спец. часть. Насадка и снятие полумуфт, шкивов и шестерен
2.1 Сведения о муфтах, шкивах и шестернях
2.1.1 Муфта (от нем. Muffe или голл. mouwtje) в технике, - устройства для постоянного или временного соединения валов, труб, стальных канатов, кабелей и т. п.
Различают муфты соединительные, которые в зависимости от выполняемой функции обеспечивают прочность соединения, герметичность, защищают от коррозии и т. п., и муфты приводов машин и механизмов, которые передают вращательное движение и вращающий момент с одного вала на другой вал, обычно соосно расположенный с первым, или с вала на свободно сидящую на нём деталь (шкив, зубчатое колесо и т. п.) без изменения вращающего момента. Кроме того, муфты приводов выполняют др. важные функции: компенсацию небольших монтажных отклонений, разъединение валов, автоматическое управление, бесступенчатое регулирование передаточного отношения, предохранение машин от поломок в аварийном режиме и т. д. Муфты применяют для передачи как ничтожно малых, так и значительных моментов и мощностей (до нескольких тыс. кВт). Различные способы передачи вращающего момента, разнообразие функций, выполняемых муфтами, обусловили большой типаж конструкций современных муфт. Наиболее распространённые из них стандартизованы.
Передача момента в муфтах может осуществляться механической связью между деталями, выполняемой в виде неподвижных соединений или кинематических пар (муфты с геометрическим замыканием); за счёт сил трения или магнитного притяжения (муфты с силовым замыканием); сил инерции или индукционным взаимодействием электромагнитных полей (муфты с динамическим замыканием). По характеру работы и основному назначению различают муфты следующих типов: постоянные соединительные; управляемые (сцепные), позволяющие соединять и разъединять валы через систему управления; самоуправляемые (автоматические), соединяющие и разъединяющие валы в процессе работы автоматически в зависимости от изменения режима; предохранительные, разъединяющие валы при опасном нарушении нормальных условий работы машины; муфты скольжения, передающие момент лишь при частоте вращения ведомого вала, меньшей частоты вращения ведущего вала.

Рис. 1. Постоянные соединительные муфты:
а — жёсткая некомпенсирующая втулочная; б — жёсткая компенсирующая зубчатая; в — сочетание двух одинарных шарнирных асинхронных муфт с промежуточным валом; г — плавающая кулачково-дисковая; д — втулочно-пальцевая; е — с торообразной оболочкой; 1 — соединяемые валы; 2 — втулка муфты; 3 — втулки с наружными зубьями; 4 — обойма с внутренними зубьями; 5 — полумуфты; 6 — промежуточный вал; 7 — промежуточный диск; 8 — торообразная эластичная оболочка; D — поперечные смещения валов; d — угловое смещение; d1
и d2
— углы перекоса шарнирных муфт.
2.1.2 Постоянные соединительные муфты выполняются с геометрическим замыканием и делятся на несколько типов. Жёсткие некомпенсирующие, или глухие, муфты (рис. 1, а) соединяют валы без возможности относительного их перемещения. Жёсткие компенсирующие муфты допускают небольшие отклонения от соосного расположения валов. Среди них наиболее распространены зубчатые муфты (рис. 1, б). Жёсткие подвижные муфты допускают значительные отклонения от соосности. Например, широко распространены асинхронные шарнирные муфты, которые допускают перекос осей до 45°, но не допускают поперечных и продольных смещений осей; сдвоенные шарнирные муфты, т. е. сочетание двух одинарных (рис. 1, б) и т. д.
Постоянное передаточное отношение при любых углах между осями соединяемых валов обеспечивается синхронными шарнирными муфтами, которые передают движение посредством шариков. Такие муфты применяют, например, в приводе передних ведущих колёс автомобиля. К синхронным муфтам относятся также плавающие, или крестовые муфты, называемые также кулачково-дисковыми муфтами (рис. 1, г), конструкции которых допускают значительные поперечные смещения осей валов и компенсацию небольших перекосов и осевых смещений.
Как компенсирующие используются также упругие и упруго-демпфирующие муфты. К этой группе относятся втулочно-пальцевые муфты (рис. 1, д), широко применяемые для соединения вала электродвигателя с валом приводимой машины, а также муфты более совершенной конструкции — муфты с торообразной оболочкой (рис. 1, е) и др.
2.1.3 Управляемые, или сцепные, муфты, выполняемые с геометрическим и силовым замыканием, также отличаются большим разнообразием. Группу муфт с геометрическим замыканием составляют кулачковые (рис. 2, а), зубчатые и др. муфты, отличающиеся компактностью конструкции, но не допускающие включения на быстром ходу при большой разности угловых скоростей сцепляемых полумуфт. Этого недостатка лишены зубчатые муфты с синхронизаторами (рис. 2, б). Такие муфты обеспечивают безударное включение на холостом ходу, т. к. сначала в соприкосновение входят фрикционные поверхности и происходит выравнивание скорости вращения полумуфт в процессе скольжения перед введением в зацепление зубьев. Муфты с синхронизаторами используют в автомобильных коробках передач. К управляемым муфтам с силовым замыканием механической связью относятся муфты трения, или фрикционные, которые допускают включение на ходу и под нагрузкой. Конструкция этих муфт может быть выполнена с одним или несколькими дисками, с цилиндрическими или коническими поверхностями трения, с механическим, пневматическим, гидравлическим или электромагнитным (рис. 2, в) управлением. Такие муфты применяют в автоматических системах, т. к. они позволяют осуществлять дистанционное управление.

Рис. 2 Управляемые муфты:
а – кулачковая; б – зубчатая с синхронизатором; в – фрикционная с электромагнитным управлением; г — с ферромагнитной смесью; д — синхронная электроиндукционная; 1 — полумуфты; 2 — внешние зубья; 3 — конические фрикционные поверхности; 4 — передвижное кольцо с внутренними зубьями; 5 — диски полумуфт; 6 — ферромагнитная смесь; 7 — катушка возбуждения; 8, 9 — магнитопроводы полумуфт с разделёнными полюсами.
Группу муфт с силовым замыканием электромеханической связью составляют муфты с жидкой или порошкообразной ферромагнитной смесью (рис. 2, г), в которых при прохождении электрического тока в катушке возбуждения возникает магнитный поток, в результате ферромагнитная смесь, заполняющая зазор между полумуфтами, намагничивается, что обеспечивает сцепление смеси с поверхностями полумуфт. Эти муфты широко используются в копировальных металлообрабатывающих станках и др. рабочих машинах. Силовое замыкание электромагнитной связью осуществляется в синхронных электроиндукционных муфтах, которые имеют магнитопроводы с разделёнными полюсами на обеих полумуфтах (рис. 2, д). Вращающий момент между валами передаётся при прохождении через катушку возбуждения тока и возникновении при этом силы магнитного притяжения между полюсами полумуфт.

Рис. 3. Самоуправляемые муфты:
а — свободного хода; б — центробежная; 1 — ведущая звёздочка; 2 — ролики; 3 — ведомая обойма; 4 — корпус; 5 — фрикционная обкладка
Самоуправляемые, или автоматические, муфты включаются и выключаются в зависимости от изменения режима работы машины. К ним относятся: однооборотные муфты, срабатывающие в определенном положении через каждые один или несколько оборотов вала (применяются в прессах и молотах для остановки ползуна в верхнем положении); обгонные муфты, или муфты свободного хода (рис. 3, а), передающие момент только при одном направлении вращения ведущей полумуфты относительно ведомой и проворачивающиеся при обратном направлении вращения (применяются в велосипедах, автоматических трансмиссиях автомобилей, станках и т. п.); центробежные М. (рис. 3, б), включающиеся и выключающиеся в зависимости от скорости вращения ведущей полумуфты (используются в качестве пусковых в приводах, а также как предохранительные муфты, ограничивающие скорость вращения приводимой машины, и т. п.): муфты предельного момента, которые наиболее часто используются как предохранительные, отключающие машину при опасном увеличении вращающего момента. Функции предохранительных выполняют муфты и др. типов, допускающие проскальзывание и имеющие соответствующую конструкцию и характеристику.
2.1.4 Шкив (от голл. schijf), вращающаяся деталь ремённой передачи или канатной передачи, выполненная в виде колеса, охватываемого гибкой связью. Передающие вращающий момент рабочие Ш. (ведущий и ведомый) закрепляют на валах посредством шпоночных соединений, зубчатых соединений и пр. Не передающие вращающего момента Ш. (холостые Ш., натяжные ролики) свободно вращаются на валах или осях.

Рис.4 Шкивы: а – монолитный; б – со ступицей; в – штампованный; г – ступенчатый
Конструкции Ш. отличаются большим разнообразием. Ш. малых диаметров выполняют монолитными (рис.4, а), Ш. средних и больших диаметров (рис.4, б) имеют ступицу 1 и обод 2, связанные диском 3 или спицами. Крупные Ш. иногда выполняют из двух половин, соединённых болтами. Изготовляют Ш. из чугуна, стали (рис.4, в), лёгкого сплава, пластмассы, иногда дерева.
Ш. под плоские ремни (рис.4, а) имеют цилиндрическую или слегка выпуклую рабочую поверхность для предохранения ремня от сбегания, с той же целью Ш. иногда снабжаются ребордами 4. Ш. под клиновые и поликлиновые ремни имеют канавки трапецеидального профиля (рис.4, б). Ш. под ремень круглого сечения снабжают канавкой со скруглённым дном. Ш. зуб чаторемённых передач имеют зубья, идущие в осевом направлении, и реборды. Ступенчатые Ш. (рис.4, г) применяют в передачах с регулированием передаточного отношения путём перевода ремня с одной ступени на другую. Раздвижные конические Ш. в бесступенчатых передачах с широким клиновым ремнем выполняют с одним или обоими подпружиненными передвижными конусами, а также с принудит. перемещением одного или обоих конусов.
2.1.5 Зубча́тое колесо (обыв. шестерня́) — основная деталь зубчатой передачи в виде диска с зубьями на цилиндрической или конической поверхности, входящими в зацепление с зубьями другого зубчатого колеса. В машиностроении принято малое ведущее зубчатое колесо независимо от числа зубьев называть шестернёй, а большое ведомое — колесом. Однако часто все зубчатые колёса называют шестерня́ми.
Зубчатые колёса обычно используются па́рами с разным числом зубьев с целью преобразования вращающего момента и числа оборотов вала на выходе. Колесо, к которому вращающий момент подводится извне, называется ведущим, а колесо, с которого момент снимается — ведомым. Если диаметр ведущего колеса меньше, то вращающий момент ведомого колеса увеличивается за счёт пропорционального уменьшения скорости вращения, и наоборот.
Следует заметить, что зубчатая передача не является усилителем механической мощности, так как общее количество механической энергии на её выходе не может превышать количество энергии на входе. Это связано с тем, что механическая работа в данном случае будет пропорциональна произведению вращающего момента на скорость вращения. В соответствии с передаточным отношением, увеличение крутящего момента будет вызывать пропорциональное уменьшение угловой скорости вращения ведомой шестерни, а их произведение
останется неизменным. Данное соотношение справедливо для идеального случая, не учитывающего потери на трение и другие эффекты, характерные для реальных устройств.
2.2 Снятие полумуфт, шкивов и шестерен
2.2.1 Снятие полумуфт с помощью горизонтального гидравлического пресса
Застропить двигатель или якорь (ротор), установить его на тележку гидравлического пресса или подвесить на грузозахватных приспособлениях.

Установить и закрепить скобу пресса (или стяжное приспособление).
Включить пресс и, плавно повышая давление на плунжер, снять полумуфту. Выключить пресс. При необходимости нагреть полумуфту в соответствии с разделом 2.2.4.
Разобрать и снять стяжное приспособление и полумуфту.
Застропить якорь и установить его на стойки.
2.2.2 Снятие полумуфт с помощью гидравлических домкратов или съемников.
Вставить шпильки в отверстия полумуфты.
Застропить домкрат с упорной планкой приспособления, подвести его к валу и закрепить стяжными шпильками, уперев плунжер домкрата в вал (рис.). При необходимости вставляется переходной упор.
Снятие полумуфты с помощью домкрата:
1- домкрат; 2- приспособление к домкрату;
3- плунжер домкрата; 4- якорь (ротор).
Включить насос домкрата и, повышая давление на плунжер, снять полумуфту. Выключить насос. При необходимости предварительно нагреть полумуфту в соответствии с разделом 2.2.4.
Опустить домкрат с приспособлением. Разобрать приспособление и снять полумуфту.
2.2.3 Снятие полумуфт с помощью винтовых съемников
Застропить съемник, подвести его к полумуфте. Вращая винт, упереть его в вал до полного натяжения лап съемника. Застропить полумуфту.
Вращая винт вручную или механически, снять полумуфту. При необходимости предварительно нагреть полумуфту в соответствии с разделом 2.2.4.
Установить съемник и полумуфту на специально отведенное место

Лапчатый съемник:
1 и 2 — рукоятки; 3 — гайка; 4 — лапы съемника; 5— шкив.
2.2.4 Снятие полумуфт с предварительным подогревом
Для облегчения снятия полумуфту нагревают, предварительно создав натяг одним из указанных способов.
Нагрев производится индукционными нагревателями или газовыми горелками с наконечниками №6 или №7.
Полумуфта нагревается равномерно по окружности ступицы. Нагрев производится достаточно быстро, чтобы вал не успел сильно прогреться.
Нагрев производится до температуры 150-200о
С.При этой температуре полумуфта должна сойти с места посадки.
Затем подается давление и снятие полумуфты может быть продолжено.
Примечание:
1. При снятии полумуфт с предварительным нагревом у машин на подшипниках скольжения необходимо сначала снять вкладыши для предохранения их от повреждений.
2. При конусных соединениях в полумуфтах необходимо предварительно снять стопорные гайки, штифты и т.д.
2.2.5 Проверка сопрягаемых поверхностей
После снятия полумуфты проверить величины диаметров вала и отверстия полумуфты, состояние сопрягаемых поверхностей и шпоночного паза. При необходимости произвести восстановление изношенных поверхностей с последующей механической обработкой.
2.3 Насадка полумуфт шкивов и шестерен
Насадка полумуфт, шкивов и шестерен на концы валов диаметром до 220мм осуществляется по напряженной посадке (Н) 2-го класса точности, при диаметре валов более 220мм – посадка по указанию завода-изготовителя.
Сопрягаемые поверхности должны быть чистыми, гладкими, не иметь конусности (для цилиндрических соединений) и овальности.
Измерение диаметра вала производят микрометром (микрометрической скобой), измерение диаметра отверстия – микрометрическим нутромером.
Насадка полумуфт на вал может производиться в холодном состоянии – с помощью прессов, домкратов и винтовых приспособлений или в горячем состоянии – с нагревом полумуфты до 180-250о
С. Наиболее целесообразно производить насадку в горячем состоянии. Недопустима насадка с помощью кувалды.
Микрометром и микрометрическим нутромером проверить диаметры вала и отверстия в ступице полумуфты на соответствие посадке и классу точности.
Проверить вал и отверстие в ступице на конусность и овальность (для цилиндрических соединений). Проверку производить микрометром и микрометрическим нутромером в двух взаимно перпендикулярных плоскостях и не менее, чем в 3 сечениях по длине вала и ступицы. Допускается конусность не более 0,02 мм на 100 мм и овальность 0,02 мм.
Нагреть полумуфту одним из нижеуказанных способов:
а) в масляной ванне с температурой масла 150-170о
С (рекомендуется для полумуфт с диаметром отверстия в ступице до 120 мм);
б) индукционным нагревателем промышленной или высокой частоты;
в)газовыми горелками (природный газ, ацетилен или пропан-бутан).
Примечание: Нагрев индукционным нагревателем или газовыми горелками должен производиться равномерно по окружности до температуры 180-250о
С. Не допускается нагрев свыше 300о
С. Температура нагрева контролируется термопарой.
Вынуть полумуфту из масляной ванны, снять индукционный нагреватель или убрать и потушить газовые горелки. Немедленно застропить полумуфту, подвести ее к валу и насадить до упора. При необходимости разрешается досылать полумуфту до упора кувалдой через медную надставку.
Подать сжатый воздух и обдувать вал и полумуфту до полного охлаждения.
Примечание:
1. При сборке конусных соединений необходимо:
а) проверить прилегание сопрягаемых поверхностей на краску (должно быть не менее 6-8 пятен на площади 25х25 мм);
б) изготовить шаблон из листового железа длиной(А-е)
в) после установки полумуфты установить крепящую гайку (при наличии).
2. При насадке полумуфт с нагревом у машин на подшипниках скольжения необходимо сначала снять вкладыши для предохранения от повреждений.
3. При насадке полумуфт в собранной машине необходимо, чтобы противоположный конец вала имел прочную опору – упор для предотвращения повреждения подшипников.
  А
где, А-расстояние от торца надвинутой без зазора полумуфты до ближайшего уступа на валу
- величина «свисания»
где, δ – величина натяга;
l – длина сопряжения;
D u d – соответственно большой и малый диаметры конуса;
2.4 Техника безопасности
При снятии и насадке полумуфт, шкивов и шестерен руководствоваться инструкцией по технике безопасности, действующей на сборочно-разборочных участках электроремонтного цеха.
3. Организация производства
3.1 Режим работы карьера
Основная задача организации производства - выбор рационального режима работы производства и его подразделений во времени. Режим работы карьера оказывает существенное влияние на использование во времени основных производственных фондов, особенно их активной части, а также на производительность труда.
Под режимом работы карьера понимается установленная продолжительность и порядок производственной деятельности карьера. Он определяет число рабочих и нерабочих дней и часов в году, число рабочих смен в сутки и продолжительность рабочей смены. Различают режимы работы карьера в целом, отдельных цехов и участков, оборудования. Эти режимы могут совпадать либо не совпадать друг с другом.
Годовой режим работы карьера может быть прерывным или непрерывным, в зависимости от числа рабочих.
При непрерывном режиме работы карьера, его структурных подразделений работа производится в течение всего года, кроме праздничных дней и простоев по технологическим нуждам. При таком режиме работы карьера не имеет общих выходных дней.
Прерывный режим работы отличается наличием общих выходных дней. Он более прогрессивен, позволяет улучшить условия труда и отдыха рабочих, эффективность планово-предупредительных ремонтов. При прерывном режиме работы сокращается плановый фонд рабочего времени, что в отдельных случаях может привести к невыполнению необходимых объемов работ.
Различают следующие варианты прерывного режима работы:
с одним выходным и 7-часовым рабочим днем. Число рабочих дней в году составит 302 рабочих дня;
с двумя выходными и продолжительностью рабочей смены 8,2 ч. При таком режиме работы число рабочих дней составит 250 дней;
с двумя общими выходными и продолжительностью смены 8ч, но из-за недоработки одного часа в неделю каждые 8 недель один выходной ликвидируется для компенсации недоработки.
Для расчетов принимаем прерывный режим работы карьера, так как этот режим работы обуславливает лучшие показатели производительности труда, вследствие больших возможностей для отдыха и культурного развития персонала, создается условия для более долгого функционирования оборудования и меньших затрат вспомогательных материалов на поддержание оборудования в режиме холостого хода.
Исходя из задания дипломного проекта и руководствуясь рекомендациями справочной литературы для ремонтной службы принимаем рабочую неделю с двумя общими выходными и рабочим днем продолжительностью 8,2 ч в одну смену.
Необходимости в другом рабочем режиме ремонтного персонала нет, так как анализ оборудования и сроков ремонтов позволяет применять этот график, применение другого режима приведет к увеличению отчислений на выплату зарплаты.
Составим график выходов для ремонтного персонала
График выходов для ремонтного персонала
| Смена
|
Февраль
|
| 1
|
2
|
3
|
4
|
5
|
6
|
7
|
8
|
9
|
10
|
11
|
12
|
13
|
14
|
15
|
16
|
17
|
18
|
19
|
20
|
21
|
22
|
| 1
|
-
|
А
|
А
|
А
|
А
|
А
|
--
|
--
|
А
|
А
|
А
|
А
|
А
|
--
|
--
|
А
|
А
|
А
|
А
|
А
|
--
|
--
|
| Смена
|
Февраль
|
Март
|
| 23
|
24
|
25
|
26
|
27
|
28
|
29
|
1
|
2
|
3
|
4
|
5
|
6
|
7
|
8
|
9
|
10
|
11
|
12
|
13
|
14
|
15
|
| 1
|
А
|
А
|
А
|
А
|
А
|
--
|
--
|
А
|
А
|
А
|
А
|
А
|
--
|
--
|
А
|
А
|
А
|
А
|
А
|
--
|
--
|
А
|
| Смена
|
Март
|
| 16
|
17
|
18
|
19
|
20
|
21
|
22
|
23
|
24
|
25
|
26
|
27
|
28
|
29
|
30
|
31
|
| 1
|
А
|
А
|
А
|
А
|
--
|
--
|
А
|
А
|
А
|
А
|
А
|
--
|
--
|
А
|
А
|
А
|
Примечание: А – бригада (рабочий).
Для дежурного персонала принимаем непрерывную рабочую неделю с 12 часовым рабочим днем и работе в две смены.
Составляем график выходов для дежурного персонала.
| Сме-на
|
Февраль
|
| 1
|
2
|
3
|
4
|
5
|
6
|
7
|
8
|
9
|
10
|
11
|
12
|
13
|
14
|
15
|
16
|
17
|
| 1
|
А
|
Г
|
В
|
Б
|
А
|
Г
|
В
|
Б
|
А
|
Г
|
В
|
Б
|
А
|
Г
|
В
|
Б
|
А
|
| 2
|
Б
|
А
|
Г
|
В
|
Б
|
А
|
Г
|
В
|
Б
|
А
|
Г
|
В
|
Б
|
А
|
Г
|
В
|
Б
|
| От-дых
|
в/г
|
б/в
|
а/б
|
г/а
|
в/г
|
б/в
|
а/б
|
г/а
|
в/г
|
б/в
|
а/б
|
г/а
|
в/г
|
б/в
|
а/б
|
г/а
|
в/г
|
| Сме-на
|
Февраль
|
| 18
|
19
|
20
|
21
|
22
|
23
|
24
|
25
|
26
|
27
|
28
|
29
|
| 1
|
Г
|
В
|
Б
|
А
|
Г
|
В
|
Б
|
А
|
Г
|
В
|
Б
|
А
|
| 2
|
А
|
Г
|
В
|
Б
|
А
|
Г
|
В
|
Б
|
А
|
Г
|
В
|
Б
|
| От-дых
|
б/в
|
а/б
|
г/а
|
в/г
|
б/в
|
а/б
|
г/а
|
в/г
|
б/в
|
а/б
|
г/а
|
в/г
|
График выходов для дежурного персонала:
Примечание: А, Б, В, Г – бригады (рабочие).
3.2 Организация обслуживания и ремонта электрооборудования на карьере. График технологического обслуживания и ремонта
Сущность ремонтного обслуживания заключается в предупреждении преждевременного износа деталей и узлов, своевременном износе и обеспечение рабочей готовности карьерного парка оборудования.
Поддержание карьерного оборудования в состоянии эффективной работоспособности обеспечивается системой организационных мероприятий, планово-предупредительного ремонта (ППР).
Система ППР включает в себя следующие работы: Межремонтное обслуживание, технические осмотры, периодические, текущие и капитальные ремонты.
Межремонтное обслуживание предусматривает проведение работ профилактического характера. Оно заключается в своевременном регулировании, смазке и наблюдении за режимом работы оборудования и машин.
Эту работу выполняют в процессе работы оборудования с использованием перерывов, нерабочих дней и смен силами производственного, обслуживающего и дежурного персонала.
Технические осмотры оборудования осуществляются на основе праздников, составляемых в соответствии с требованиями правил технической эксплуатации или соответствующих инструкций. Они предназначены для выявления имеющихся неполадок и своевременного предупреждения неисправностей и проводятся техническим персоналом служб главного механика, главного энергетика, а также соответствующими специалистами производственных участков. Осмотры производятся в выходные и праздничные дни и смены. В случае необходимости при технических осмотрах производятся: замена быстро - изнашиваемых деталей, срок службы которых составляет не менее периода между очередными осмотрами, взятие проб смазки, или замена её восстановления компактных поверхностей.
ППР подразделяются на: текущий и капитальный. Основной из них текущий ремонт. Он представляет собой комплекс работ, направленный на устранение дефектов, обнаруженных при осмотре и проверках оборудования, а также замену или восстановление его отдельных конструктивных элементов, пределы стоимости и износ которых соответствует межремонтным периодам текущих ремонтов.
Капитальный ремонт характеризуется полной разборкой оборудования, заменой всех износившихся деталей и узлов, восстановлением крупных частей машин и других конструктивных элементов основных фондов, чисткой, сборкой и регулировкой, проверкой и испытанием под разгрузкой. Как правило, к капитальному ремонту относятся работы по модернизации оборудования. Для выполнения капитального ремонта разрабатываются следующие документации: ведомость дефектов, смету расходов, технологическую карту или руководство, сетевой график.
Капитальный ремонт преследует цель полного восстановления работоспособности оборудования на период ремонтного цикла. В настоящее время в карьерах применяются три метода организации ремонтов оборудования: индивидуальный, сменно- узловой и сменный.
Наиболее перспективный метод ремонта оборудования - сменно- узловой, при котором неисправные детали, узлы и агрегаты заменяются новыми или отремонтированными из обменного фонда. По сравнению с индивидуальным методом ремонта, предусматривающим установку после ремонта всех деталей и узлов на машину, с которой они сняты, этот метод позволяет сократить продолжительность ремонта в 2-3 раза.
Наиболее распространенный метод на карьерах получил смешанный метод ремонта, при котором наряду с заменой агрегатов и узлов повторно используются снятые и отремонтированные детали.
Ремонт оборудования на карьере производится на основе сводного годового графика ремонта и осмотра, который составляется с учетом участковых планов ремонта и осмотра. На основании годового плана разрабатываются месячные графики текущего и капитального ремонта.
Контроль за качеством осмотров и ремонтов машин и оборудования осуществляют главный механик карьера, и механики участков, контролирующие работу ремонтных бригад на своем участке и принимающие отремонтированные машины и оборудование. Прежде чем строить график технического обслуживания и ремонта необходимо составить табл., в которой будут собраны необходимые данные. Это нормативы.
Ремонтные нормативы
| №
п/п
|
Наименование
оборудования
|
Количест-во
|
Группа режима работы
|
Межремонт
ный период, мес
|
Структура ремонтного цикла
|
Трудоемкость, чел/ч
|
| Т
|
С
|
К
|
| 1
|
2
|
3
|
4
|
5
|
6
|
7
|
8
|
9
|
| 1
1.1
1.2
1.3
1.4
1.5
1.6
1.7
1.8
1.9
1.10
1.11
1.12
1.13
1.14
1.15
1.16
|
Воздушная ЛЭП,к м
L1=А-70
L2=А-25
L3=А-50
L4=А-70
L5=А-16
L6=А-70
L7=А-70
L8=А-25
L9=А-25
L10=А-70
L11=А-16
L12=А-70
L13=А-25
L14=А-50
L15=А-16
L16=А-25
|
1,075
0,25
0,65
1,37
0,1
0,27
0,8
0,1
0,375
1,25
0,1
0,225
0,25
0,375
0,3
0,425
|
-
-
-
-
-
-
-
-
-
-
-
-
-
-
-
|
12
12
12
12
12
12
12
12
12
12
12
12
12
12
12
12
|
К-5Т-К
К-5Т-К
К-5Т-К
К-5Т-К
К-5Т-К
К-5Т-К
К-5Т-К
К-5Т-К
К-5Т-К
К-5Т-К
К-5Т-К
К-5Т-К
К-5Т-К
К-5Т-К
К-5Т-К
К-5Т-К
|
2,7
2,4
4
2,7
2,4
4
2,7
2,4
4
2,7
2,4
4
2,7
2,4
4
2,7
|
-
-
-
-
-
-
-
-
-
-
-
-
-
-
-
-
|
13,5
12
24
13,5
12
24
13,5
12
24
13,5
12
24
13,5
12
24
13,5
|
| Итого: ВЛЭП
|
7,925
|
48,2
|
-
|
261
|
| 2
2.1
2.2
2.3
|
КЛЭП, км
lk1
lk2
lk3
|
0,2
0,2
0,2
|
I
|
12
12
12
|
К-9Т-К
К-9Т-К
К-9Т-К
|
18
12
18
|
-
-
-
|
90
60
90
|
| Итого: КЛЭП
|
0,6
|
48
|
240
|
| 3
3.1
3.2
3.3
|
ПКТП 400/6,шт.
ТМ-400
Автоматический выключатель
Разъединитель
|
3
3
3
|
II
|
24
6
6
|
К-5Т-К
К-2Т-К
К2-К
|
14
15
1,5
|
-
-
-
|
87,5
30
4
|
| Итого: ПКТП-400/6
|
3
|
30,5
|
121,5
|
| 4
4.1
4.2
4.3
|
ПКТП- 25/6, шт.
ТМ-25
Автоматический
выключатель
Разъединитель
|
3
3
23
|
II
|
24
6
12
|
К-5Т-К
К-2Т-К
К-2Т-К
|
14
15
1,5
|
-
-
-
|
87,5
30
4
|
| Итого: ПКТП-25/6
|
3
|
30,5
|
121,5
|
| 5
5.1
5.2
5.3
|
ЯКНО-6 ЄП, шт.
Разъединитель
Трансформ. Тока
Трансформ. напр.
Масл. выключатель
|
3
3
3
3
|
II
|
12
12
12
12
|
К-2Т-К
К-5Т-К
К-5Т-К
К-5Т-К
|
1,5
1,5
4
9
|
-
-
-
-
|
4
8
14
30
|
| Итого: ЯКНО-6 ЄП
|
3
|
16
|
56
|
| 6
6.1
6.2
6.3
|
ЯКНО-6 ЄР, шт.
Разъединитель
Трансформ. Тока
Трансформ. напр.
Масл.выключатель
|
3
3
3
3
|
II
|
12
12
12
12
|
К-2Т-К
К-5Т-К
К-5Т-К
К-5Т-К
|
1,5
1,5
4
9
|
-
-
-
-
|
4
8
14
30
|
| Итого: ЯКНО-6 ЄР
|
3
|
16
|
56
|
На основании таблицы строим годовой график ТО и Р на 2009 год. Оборудованию присваиваем инвентарный номер (произвольно).
Таблица:
Годовой график ТО и Р. электрооборудования.
| Наименование оборудования
|
Инв.
№
|
Кап
Рем.
|
2009 год
|
Трудоем-кость
(чел.-час.)
|
| 1
|
2
|
3
|
4
|
5
|
6
|
7
|
8
|
9
|
10
|
11
|
12
|
| Воздушная ЛЭП,км
L1=А-70
L2=А-25
L3=А-50
L4=А-70
L5=А-16
L6=А-70
L7=А-70
L8=А-25
L9=А-25
L10=А-70
L11=А-16
L12=А-70
L13=А-25
L14=А-50
L15=А-16
L16=А-25
|
001
|
03.02
|
К
|
13,5*10,75=145,12
|
| 002
|
07.04
|
Т
|
2,4*2,5=6
|
| 003
|
12.01
|
Т
|
4*6,5=26
|
| 004
|
05.04
|
К
|
13,5*13,75=185,6
|
| 005
|
02.05
|
К
|
12*1=12
|
| 006
|
09.08
|
Т
|
4*2,75=11
|
| 007
|
03.07
|
Т
|
2,7*8=21,6
|
| 008
|
07.04
|
К
|
12*1=12
|
| 009
|
10.03
|
К
|
24*3,75=90
|
| 010
|
04.08
|
Т
|
2,7*1,25=3,38
|
| 011
|
11.07
|
Т
|
2,4*1=2,4
|
| 012
|
02.08
|
Т
|
4*2,25=9
|
| 013
|
06.07
|
Т
|
2,7*2,5=6,75
|
| 014
|
08.02
|
К
|
12*3,75=45
|
| 015
|
03.05
|
Т
|
4*3=12
|
| 016
|
01.08
|
Т
|
2,7*4,25=11,48
|
| Итого ВЛЭП:
|
599,33
|
| КЛЭП, км
lk1
lk2
lk3
|
017
|
07.03
|
К
|
90*0,2=18
|
| 018
|
01.01
|
К
|
60*0,2=12
|
| 019
|
05.08
|
К
|
90*0,2=18
|
| Итого КЛЭП:
|
48
|
| ПКТП 400/6,шт.
ТМ-400
Автоматический выключатель
Разъединитель
|
020
|
04.99
|
К
|
87,5*3=262,5
|
| 021
|
08.01
|
К
|
30*3=90
|
| 022
|
02.03
|
К
|
4*3=12
|
| Итого ПКТП400/6
|
364,5
|
| ПКТП- 25/6, шт.
ТМ-25
Автоматический
выключатель
Разъединитель
|
023
|
04.99
|
К
|
87,5*3=262,5
|
| 024
|
08.01
|
Т
|
15*3=45
|
| 025
|
02.03
|
К
|
4*3=12
|
| Итого ПКТП-25/6
|
319,5
|
| ЯКНО-10 ЄП, шт.
Разъединитель
Трансформ. Тока
Трансформ. напр.
Масл.выключател
|
026
|
05.00
|
Т
|
1,5*3=4,5
|
| 027
|
08.03
|
Т
|
1,5*3=4,5
|
| 028
|
03.04
|
К
|
14*3=42
|
| 029
|
10.02
|
К
|
30*3=90
|
| ИтогоЯКНО-10ЄП:
|
141
|
| ЯКНО-10 ЄР, шт.
Разъединитель
Трансформ. Тока
Трансформ. напр.
Масл.выключател
|
030
|
06.06
|
Т
|
1,5*3=4,5
|
| 031
|
08.03
|
Т
|
1,5*3=4,5
|
| 032
|
03.01
|
К
|
14*3=42
|
| 033
|
09.05
|
К
|
30*3=90
|
| Итого ЯКНО-10ЄР:
|
141
|
3.3 Расчёт штата рабочих на карьере
Чтобы выполнить план намеченных ремонтов, необходимо иметь штат ремонтного персонала, который определяется исходя из трудоемкости планируемых ремонтов. Количество ремонтов в год определим из таблицы 1, а трудоемкость из таблицы 2. Явочный штат ремонтного персонала находим из выражения:
(чел),
где, ΣТр
-суммарная трудоемкость ремонтов за год, чел-ч;
Тсм
-продолжительность смены, ч;
n-количество выходов одного рабочего в год:
n = (365 – 11 – 104 - 24)· 0,96 = 217 (дней);
где 11-количество праздничных дней в году,
104-число общих выходных,
24-длительность отпуска,
0,96-коэффициент, учитывающий неявку по уважительным причинам.
Отсюда, явочный штат электрослесарей по ремонту электрооборудования в карьере составит:
N яв=1613,33 / 1744=0,93 чел/см.
Среднесписочный штат рабочих находим по формуле:
(чел)= 0,93 *1,15=1,07
где: kсп
– коэффициент списочного состава.
Коэффициент списочного состава зависит от принятого режима работы и определяется следующим образом:
- для прерывного режима работы для ремонтного состава:
;
- для непрерывного режима работы для дежурного персонала:
.
Явочный штат дежурных электрослесарей и электромонтёров по обслуживанию ЛЭП определим исходя из нормативов численности на единицу действующего оборудования. Нормативы даны в Справочнике по техническому нормированию[4]. Заполняем таблицу 3 и таблицу 4 соответственно для дежурных электрослесарей и для электромонтёров по обслуживанию ЛЭП.
Таблица 3
Нормативы численности, штат дежурных электрослесарей
| Наименование оборудования
|
Количество
|
Затраты труда на ед. оборудования в смену,
|
Число смен
|
Общая трудоемкость
|
| чел/см
|
чел/см в сутки
|
| 1
|
2
|
3
|
4
|
5
|
6
|
7
|
| КЛЭП, м
|
0,6
|
0,06
|
0,06
|
3
|
0,11
|
0,11
|
| ПКТП-400/6
|
3
|
0,04
|
0,04
|
3
|
0,36
|
0,36
|
| ПКТП-25/6
|
3
|
0,04
|
0,04
|
3
|
0,36
|
0,36
|
| ЯКНО-6 ЭР
|
3
|
0,06
|
0,06
|
3
|
0,54
|
0,54
|
| ЯКНО-6 ЭП
|
3
|
0,06
|
0,06
|
3
|
0,54
|
0,54
|
| Итого
|
1,91
|
1,91
|
Таблица 4.
Нормативы численности, штат электромонтёров ЛЭП.
| ВЛЭП
|
Количество км
|
Затраты труда на 1 км ЛЭП чел/см в сутки
|
Общая трудоёмкость,
чел/см в сутки
|
| 1
|
2
|
3
|
4
|
| Напряжением свыше 1 кВ
|
7,925
|
0,30
|
2,38
|
| Итого
|
2,38
|
Исходя из итоговых результатов таблицы 3 найдём списочный состав дежурных электрослесарей:
N сп.деж = N яв.деж * K сп.деж= 1,91 *1,68= 3,21 (чел).
Опираясь на результаты таблицы 4 определяем списочный штат электромонтёров по ремонту и обслуживанию ВЛЭП:
Nсп.эм=Nяв.эм*k сп.рем=2,38 * 1,15 = 2,74 (чел).
3.4 Форма организации труда на карьере
На рабочих местах применяют следующие формы организации труда: индивидуальную и коллективную.
При индивидуальной форме каждый рабочий или несколько рабочих выполняют свое производственное задание самостоятельно. Зарплата начисляется в соответствии с тем результатом, который выполнил рабочий.
При коллективной форме к выполнению производственного задания привлекается группа исполнителей.
Для ремонтного персонала и дежурных электрослесарей выбираем коллективную форму организации труда, так как при этой форме труда достигаются большая производительность труда благодаря разделению обязанностей.
В зависимости от характера кооперирования труда рабочих и содержания выполняемых работ создаются специализированные или комплексные бригады.
Специализированные бригады объединяют, как правило, рабочих одной профессии, занятых на выполнении однородных технологических работ. Такие бригады эффективны в производствах с фронтом работы, обеспечивающим полную загрузку каждого рабочего, а также на ручных и машинно-ручных процессах.
Комплексная бригада организуется из рабочих различных профессий для одновременного выполнения комплекса технологически разнородных, взаимосвязанных работ.
Принимаем комплексную бригаду с частичным разделением труда, то есть при такой форме организации труда рабочие могут при наличии соответствующей квалификации производить смежные работы.
Бригадная форма организации и стимулирования труда наиболее полно отвечает современным требованиям производства, научной организации труда, возросшему образовательному и культурному уровню рабочего персонала. Она создает условия для дальнейшей интенсификации производства, ускорению темпов роста производительности труда, способствует экономному расходованию трудовых, материальных, топливно-энергетических ресурсов.
Для ремонтного персонала нам на карьере для проведения ремонтных работ оборудования будут необходимы электрослесари III, IV и V квалификационных разрядов, для обслуживания линий электропередач электромонтеры квалификационных групп IV и V.
В качестве дежурного персонала необходимы электрослесари III, IV и V квалификационных разрядов.
Рациональной следует считать такую организацию труда, которая основывается на достижениях науки и техники, передовом опыте. Организация труда на карьере предусматривает решение трех взаимосвязанных задач: экономической, психофизиологической и социальной.
Экономическая задача заключается в повышении производительности труда, эффективном использовании материальных и трудовых ресурсов, основных фондов и улучшении качества продукции.
Психофизиологическая задача способствует созданию благоприятных условий производственной среды, способствующих сохранению здоровья и работоспособности рабочего персонала.
Социальная задача состоит в решении проблем связанных с привлекательность рабочего места, улучшений условий труда, роста культуры и эстетики производства, развитии творческой инициативы работников, воспитании сознательного отношения к своей работе.
Для рациональной организации труда характерны следующие мероприятия: разработка и внедрение прогрессивных форм разделения и кооперирования труда, подготовка и повышение квалификации кадров, обеспечение постоянного роста культурного, общеобразовательного и профессионального уровня, применение целесообразного режима труда и отдыха.
Рабочим местом называется часть производственной площади, закрепленной за рабочим или бригадой и оснащенная всем необходимым для выполнения производственного процесса. Для повышения производительности труда необходимо организовать труд рабочего персонала так, чтобы планировка, конструкция оборудования и эстетичность окружающего рабочего места способствовала снижению утомляемости, обеспечивала необходимые для данного производства условия по соблюдению правил техники безопасности, доступность для проведения осмотров, ремонтов. Также, для повышения производительности труда характерны разделение и кооперирование. Под разделением труда понимается обособление качественно разных видов деятельности людей в процессе совместного труда, что облегчает выполнение сложных операций для отдельных рабочих.
Рабочее место представляет собой первичное звено организации производства, поэтому организация и обслуживание рабочего места является важнейшим элементом в организации рационального труда на карьере.
3.5 Формы и системы оплаты труда
Заработная плата – важнейший стимул повышения эффективности производства и производительности труда. Зарплата существует в двух основных формах: повременной и сдельной.
Сдельной называется такая форма оплаты, при которой размер основной заработной платы рабочего начисляется по количеству фактически произведенной продукции при соблюдении установленных требований по качеству.
Повременной называется такая форма оплаты труда, при которой заработок начисляется по тарифной ставке за фактически отработанное время.
Сдельная форма оплаты используется для создания заинтересованности работника в результатах труда и в значительной степени стимулирует его к высокой производительности труда. Сдельная форма оплаты применяется там, где можно точно определить объем выполненной работы.
Повременная форма оплаты применяется там, где нельзя точно определить точный объем выполненной работы.
Повременная форма оплаты труда делится на простую повременную и повременно-премиальную системы.
При простой повременной зарплате размер зарплаты зависит от количества выработанного времени, его квалификационного разряда, качества работы.
Отличие повременно-премиальной зарплаты от простой состоит в том, что помимо основного заработка рабочий получает дополнительное денежное вознаграждение за те или иные производственные достижения. Эта система оплаты применяется там, где можно установить качественные или количественные показатели труда.
Для рабочих карьера примем повременно-премиальную систему оплаты труда, так как премировать рабочий персонал можно за выполнение ремонтных работ в срок. Ремонтный персонал представлен тремя квалификационными – разрядами III, IV и V, тарифы 5,15 грн, 5,67 грн и 6,57 грн соответственно. Для рабочих дежурного персонала и электромонтеров по обслуживанию будет следующая тарифная сетка: III – 5,15 грн, IV – 5,67 грн, V – 6,57 грн.
Премирование рабочего персонала осуществляется за выполнение 100% производственных показателей. Премиальные доплаты выплачиваются предприятием из фонда заработной платы, образованного за счет производства и реализации продукции.
4. Экономика производства
4.1 Смета капитальных затрат
Сумма капитальных затрат на строительство или приобретение основных фондов определяем на основании цен на оборудование, затрат на транспортировку и монтаж. Все эти данные берём по практическим данным базового предприятия.
Затраты на транспортировку и монтаж, а также складские расходы принимаются в процентном отношении к цене оборудования; по данным базового предприятия они составляют:
- транспортные расходы – 7 %;
- монтажные расходы – 8 %.
Расчёты сводим в таблицу 5.
Таблица 5
Смета капитальных затрат
| Наименование объектов основных фондов
|
Единицы измере-ния
|
Коли-
|
Капитальные затраты, грн
|
Всего
|
| чество
|
капит. затрат,
|
| Цена
|
Трансп.
|
Монтаж
|
Всего
|
грн
|
| расходы
|
| 1
|
2
|
3
|
4
|
5
|
6
|
7
|
8
|
| ВЛЭП
|
км
|
7,93
|
9300
|
318
|
363
|
9981,1
|
79 100
|
| КЛЭП
|
км.
|
0,6
|
73260
|
770
|
880
|
74910
|
44 946
|
| ПКТП 400/6
|
шт.
|
3
|
347814
|
2771
|
3167
|
353752
|
1 061 256
|
| ПКТП 25/6
|
шт.
|
3
|
27 700
|
1260
|
1440
|
30400
|
91 200
|
| ЯКНО 6 ЭП
|
шт.
|
3
|
60000
|
1400
|
1600
|
63000
|
189 000
|
| ЯКНО 6 ЭР
|
шт.
|
3
|
60000
|
1400
|
1600
|
63000
|
189 000
|
| Итого
|
1654 502
|
На основании выше выполненных расчётов по определению первоначальной стоимости основных фондов рассчитываем амортизацию основных фондов.
Амортизация основных фондов начисляется равномерно в течение срока эксплуатации объектов и может быть рассчитана по формуле:
(грн),
где:
П – первоначальная стоимость основных фондов, грн;
Nа
– годовая норма амортизационных отчислений.
Расчёт амортизации основных фондов сводим в таблицу 6.
Таблица 6
Расчёт амортизации основных фондов
| Наименование объектов основных фондов
|
Единица
|
Общая первоначаль-ная стоимость,
|
Годовая норма амортиза-ции,
|
Амортизацион-ные отчисления, грн
|
| измере-ния
|
грн
|
%
|
| 1
|
2
|
3
|
4
|
5
|
| ВЛЭП
|
км.
|
79 100
|
5
|
3 955
|
| КЛЭП
|
км.
|
44 946
|
5
|
2 247
|
| ПКТП 400/6
|
шт.
|
1 061 256
|
15
|
159 188
|
| ПКТП 25/6
|
шт.
|
91 200
|
15
|
13 680
|
| ЯКНО 6 ЭП
|
шт.
|
189 000
|
15
|
28 350
|
| ЯКНО 6 ЭР
|
шт.
|
189 000
|
15
|
28 350
|
| Итого
|
235 771
|
4.2 Расчёт фонда заработной платы
Фонд заработной платы состоит из двух частей: основной и дополнительной заработной платы.
Основная заработная плата – это оплата за проработанное время. Она включает в себя прямую заработную плату, начисленную сдельщикам по сдельным расценкам за выполненные объёмы работ, а повременщикам – по тарифным ставкам за проработанное время. Кроме того, она включает премию за выполнение плана, доплаты за работу в ночное и вечернее время, а также доплаты бригадирам за руководство бригадой.
Дополнительная заработная плата – это оплата льготного времени, а именно выполнение государственных и общественных обязанностей, оплата тарифных отпусков и командировочных расходов.
Фонд основной заработной платы планируется исходя из количества выходов (трудоёмкости работ, человеко-смен) и полного сменного заработка рабочих.
Дополнительная заработная плата принимается в размере 15 % от основной заработной платы. Начисление на заработную плату берётся в размере 37 % от общего фонда заработной платы.
Начисления на заработную плату принимаем 37 %:
(грн),
где: Фзо
– общий фонд заработной платы (графа 14 в таблице 7).
(грн).
Вычисляем общую среднюю заработную плату по участку:
грн.
Общая сумма затрат на заработную плату составит:
(грн).
| Фонд зарплаты, грн
|
Всего
|
18102,5
|
18102,5
|
15635,7
|
15635,7
|
5767,1
|
6350,13
|
7351,93
|
24165,8
|
27978,2
|
139 090
|
| Дополни-тельный
|
2361
|
2361
|
2039
|
2039
|
752,2
|
828,3
|
958,9
|
3152
|
3649
|
18142
|
| Основной
|
15741
|
15741
|
13596
|
13596
|
5014,9
|
5521,9
|
6393
|
21014
|
24329
|
120947
|
| Полный сменный заработок
|
Итого
|
90,26
|
90,26
|
77,96
|
77,96
|
63,9
|
70,36
|
81,46
|
70,36
|
81,46
|
| Ночные,
|
8,8
|
8,8
|
7,6
|
7,6
|
-
|
-
|
-
|
-
|
-
|
| Премия
|
грн
|
28,9
|
28,9
|
25
|
25
|
22,7
|
25
|
28,9
|
25
|
28,9
|
| %
|
55
|
55
|
55
|
55
|
55
|
55
|
55
|
55
|
55
|
| Тарифная ставка
|
52,56
|
52,56
|
45,36
|
45,36
|
41,20
|
45,36
|
52,56
|
45,36
|
52,56
|
| Количест
во выходов
|
Всего
|
174,4
|
174,4
|
174,4
|
174,4
|
78,48
|
78,48
|
78,48
|
298,7
|
298,7
|
| Одного
|
218
|
218
|
218
|
218
|
218
|
218
|
218
|
218
|
218
|
| Штат, чел.
|
Списочный
|
0,8
|
0,8
|
0,8
|
0,8
|
0,36
|
0,36
|
0,36
|
1,37
|
1,37
|
7,02
|
| Явочный
|
0,48
|
0,48
|
0,48
|
0,48
|
0,31
|
0,31
|
0,31
|
1,19
|
1,19
|
5,23
|
| Тарифный разряд
|
V
|
V
|
IV
|
IV
|
III
|
IV
|
V
|
IV
|
V
|
| Наименование профессии
|
Дежурный электрослесарь по ремонту эл. оборудования
|
Электрослесарь по ремонту оборудования
|
Электро
монтёр ВЛЭП
|
Итого
|
4.3 Расчёт расхода и стоимости вспомогательных материалов
Вспомогательные материалы необходимы для проведения ремонтов и для эксплуатационных нужд. Расчет вспомогательных материалов ведется исходя из норм расхода на 1 тыс. грн. основных фондов. Для кабелей и проводов расчеты проводят исходя из их протяженности в км. Расход трансформаторного масла ведем исходя из условия потребления 1/3 объема масла от полного объема бака трансформатора.
Расчеты расхода и стоимости вспомогательных материалов сводим в таблицы 8 и 9.
К итоговым показателям добавим 10 %, относящихся к неучтённым материалам. Итоговая стоимость затрат на вспомогательные материалы по таблице 8 составит: 85 795 * 0,1= 8579,5 грн.
Таблица 8
Расчёт расхода и стоимости вспомогательных материалов
| Наименование материала
|
Един. Измере-ния
|
Нормы расхода
|
Годовой расход
|
Цена единицы материала
|
Общая стои-мость
|
| 1
|
2
|
3
|
4
|
5
|
6
|
| Голый провод
|
кг
|
0,4
|
661,8
|
15
|
9927,00
|
| Провод обмоточный
|
м
|
0,685
|
1133,33
|
18
|
20399,94
|
| Чёрный металл
|
кг
|
0,374
|
618,78
|
2,42
|
1497,45
|
| Трубы водогазопр.
|
кг
|
0,095
|
157,18
|
2,62
|
411,81
|
| Прокат медный
|
кг
|
0,45
|
744,53
|
21,42
|
15947,83
|
| Прокат латунный
|
кг
|
0,13
|
215,09
|
20,8
|
4473,87
|
| Прокат оловянный
|
кг
|
0,01
|
16,55
|
40
|
662,00
|
| Электрокартон
|
кг
|
0,095
|
157,18
|
35
|
5501,30
|
| Гетинакс
|
кг
|
0,017
|
28,12
|
14,92
|
419,55
|
| Текстолит
|
кг
|
0,3
|
496,35
|
26
|
12905,10
|
| Лакоткань
|
м
|
0,057
|
94,31
|
19,05
|
1796,61
|
| Лента киперная
|
м
|
0,31
|
512,9
|
0,2
|
102,58
|
| Лакошёлк
|
м
|
0,03
|
49,64
|
25,17
|
1249,44
|
| Лента тафтяная
|
м
|
3
|
4963,51
|
0,3
|
1489,05
|
| Эмаль
|
кг
|
0,045
|
74,45
|
11,04
|
821,93
|
| Лак изоляционный
|
кг
|
0,15
|
248,18
|
33
|
8189,94
|
| Итого
|
85 795
|
Таблица 9
Расчёт расхода и стоимости вспомогательных материалов
| Наименование материала
|
Един. Измерения
|
Нормы расхода
|
Годовой расход
|
Цена единицы материала
|
Общая стоимость
|
| 1
|
2
|
3
|
4
|
5
|
6
|
| Бронекабель,КЛЭП
|
м
|
0,01
|
6
|
21,2
|
127,2
|
| Силовой кабель, КЛЭП
|
м
|
0,012
|
7,2
|
20,92
|
150,624
|
| Контрольный кабель, КЛЭП
|
м
|
0,01
|
6
|
5,9
|
35,4
|
| Шнур осветительный, ВЛЭП
|
м
|
0,062
|
491,35
|
1
|
491,35
|
| Провод установочный, ВЛЭП
|
м
|
0,041
|
324,93
|
2,27
|
737,5911
|
| Кабель шланговый,
|
м
|
0,115
|
69
|
25
|
1725
|
| КЛЭП
|
| Провод шланговый,
|
м
|
0,119
|
71,4
|
1,32
|
94,248
|
| КЛЭП
|
| Итого:
|
3361,41
|
10 %, относящихся к неучтённым материалам. Итоговая стоимость затрат на вспомогательные материалы по таблице 9 составит:
3361,41 х 0,1= 336,14 грн.
Расход трансформаторного масла для
ТМ-400/6-ёмкость 530 кг.
ТМ-25/6-ёмкость 135 кг.
Р1=n1 x E1 x 1/3=3 x 530 x 1/3= 530 кг.
Р2=n2x E2 x 1/3=3 x 135 x 1/3= 135 кг.
Общий расход:
Робщ.= Р1+ Р2 = 530 + 135 = 665 кг.
Общая стоимость масла составляет:
Sобщ.=Р общ. х Ц= 665 х 8,17= 5 433,05 грн.
Итого по вспомогательным материалам определяется:
Sвсп.= Табл 8 + Табл9 + Sобщ.= 85 795 + 3361,41 + 5 433,05 =
94589,46 грн.
Всего по вспомогательным материалам:
Sвсп=Sвсп+ Sнеучт.= 94 589,46 + 8 579,5 + 336,14 =110 994,96 грн.
(110995)
4.4 Расчёт расхода и стоимости электроэнергии
Расход электроэнергии определяется исходя из установленной мощности потребителей и числа часов их работы в течение планируемого периода.
Максимальная активная нагрузка рассчитывается по формуле:
(кВт),
где: - суммарная установленная мощность потребителей, кВт;
- коэффициент спроса.
Среднюю активную нагрузку определяем по формуле:
(кВт),
где: - коэффициент участия в максимуме энергосистемы.
Годовой расход электроэнергии определяется по формуле:
(кВт·ч),
где: Т – число часов работы потребителей в год, ч.
Все расчёты сводим в таблицу 10.
Таблица 10
Расчёт расхода электроэнергии
| Наименование потребителей
|
Кол-во
|
Установ-ленная мощ-ность кВт
|
Суммарная
мощ-ность
|
Коэффициенты
|
Рмах
|
Рср
|
Т
|
Расход электроэнергии, кВт·ч
|
| Ксп
|
Ку
|
| пик
|
пик
|
ночь
|
| 1
|
2
|
3
|
4
|
5
|
6
|
7
|
8
|
9
|
10
|
11
|
12
|
| Экскаватор добычной ЭКГ 5А
|
1
|
250
|
250
|
0,75
|
0,90
|
335
|
342
|
5200
|
234000
|
624000
|
442000
|
| ТСН
|
1
|
40
|
40
|
0,75
|
0,90
|
53,6
|
55
|
5200
|
37 440
|
99 840
|
70720
|
| Экскаватор вскрышной сетевой двигатель
|
2
|
250
|
500
|
0,75
|
0,90
|
1170
|
878
|
5200
|
468 000
|
1248000
|
884000
|
| ТСН
|
2
|
40
|
80
|
0,75
|
0,90
|
225
|
169
|
5200
|
74880
|
199680
|
141440
|
| Станок буровой СБШ-250
|
3
|
386
|
1158
|
0,75
|
0,70
|
498
|
309
|
5200
|
1083888
|
2890368
|
2047344
|
| Насосы водоотлива
|
2
|
630
|
1260
|
0,70
|
0,87
|
882
|
159
|
5200
|
1179360
|
3144 960
|
2227680
|
| ДКСТ
|
3
|
20
|
60
|
0,9
|
1
|
108
|
88
|
5200
|
56160
|
149760
|
106080
|
| Итого
|
3271,6
|
3133728
|
8356608
|
5919264
|
Стоимость электроэнергии определяется по формуле:
Sэ= S ночн + S пик + S п/пик
В условиях КРУ определяется по 3-х зонному тарифу:
Ночные часы 34% от годового расхода,тариф – 6,21 коп.
Час пик – 18%, тариф 44,73 коп.
Час п/пик -48%, тариф 25,35 коп.
W пик = W год * 18 / 100
W п/пик = W год * 48 / 100
W ночн = W год * 34 / 100
S пик = 3133 728 * 0,4473 = 1389181,62 (грн);
S п/пик = 8356 608 * 0,2535 = 2 118 400,13 (грн).
S ночн = 5 919 264 * 0,0621 = 367 586,29 (грн);
S э = 1389181,62 + 2 118 400,13 + 367 586,29 = 3875168,038 (грн).
(3875168)
4.5 Калькуляция себестоимости 1 т полезного ископаемого
На основании полученных расчётов по отдельным статьям расходов рассчитывается себестоимость 1 т (1 м3
) полезного ископаемого по формуле:
(грн);
где: - общая сумма затрат, грн;
Q – годовая производительность карьера, т.
(грн).
Таблица 11
Калькуляция себестоимости 1 т полезного ископаемого.
| Статьи затрат
|
Общая сумма затрат, грн
|
Затраты на 1 тонну, грн
|
| 1
|
2
|
3
|
| Вспомогательные материалы
|
110 995
|
0,031
|
| Амортизация
|
235 771
|
0,066
|
| Зарплата всего в т.ч. основная
дополнительная
|
139 090
|
0,039
|
| Начисления на зарплату
|
51463,3
|
0,014
|
| Электроэнергия
|
3875 168
|
1,076
|
| Итого
|
4412487,3
|
1,23
|
4.6 Технико-экономические показатели
Таблица 12
Технико-экономические показатели
| Наименование показателей
|
Единицы измерения
|
Показатели
|
| 1
|
2
|
3
|
| Годовая производительность карьера
|
тыс. т.
|
3,6
|
| Число рабочих дней в году:
|
дни
|
218
|
| Число рабочих смен в сутки:
|
смен
|
3
|
| Продолжительность смены:
|
час
|
8
|
| Максимальная активная нагрузка
|
кВт
|
3 271,6
|
| Расход электроэнергии в год
|
кВт∙ч
|
3 875 168
|
| Трудоемкость ремонтов
|
чел/ч
|
1 613,33
|
| Себестоимость
|
грн/т
|
1,23
|
|