| Содержание
Введение
…………………………………………………………......
1 Технологический раздел
……………………………………………
1.1 Назначение конструкции детали ………………………………….
1.2 Определение типа производства…………………………………
1.3 Анализ технологичности конструкции детали…………………..
1.4 Выбор заготовки и ее технико-экономическое обоснование……
1.5 Расчет припусков…………………………………………………..
1.6 Расчет режимов резания…………………………………………..
1.7 Расчет технической нормы времени………………………………
1.8 Определение потребного количества оборудования……………
2 Конструкторский раздел
…………………………………………
2.1 Патрон клиновой ………………………..........................................
2.2 Приспособление контроля биения………………………………
введение
Основные направления развития машиностроения предусматривают дальнейшее повышение его эффективности, интенсификации, уменьшение сроков создания, освоения и производства новой прогрессивной техники. Организационно-методической основой выполнения поставленной задачи является конструирование машиностроительных изделий с учетом требований технологичности конструкции.
Рассматривая современное состояние проектирования и изготовления машиностроительных изделий с учетом требований технологичности, можно отметить несколько направлений решения этой проблемы, которые непосредственно или косвенно способствуют повышению технологичности конструкций в соответствии с требованиями современного производства. К ним относятся:
*
широкое использование ЭВМ, обеспечивающее более высокий уровень анализа конструктивных решений в различных вариантах использования;
*
организация широкого обмена опытом в области создания технологичных конструкций между различными отраслями машиностроения.
Таким образом, генеральная линия развития машиностроения - комплексная автоматизация проектирования и производства - требует знания и совершенного метода проектирования.
Эффективность производства, его технический прогресс, качество выпускаемой продукции во многом зависят от опережающего развития производства нового оборудования, машин, станков и аппаратов, от всемерного внедрения методов технико-экономического анализа, обеспечивающего решения технических вопросов и экономическую эффективность технологических и конструкторских разработок.
Забиваем Сайты В ТОП КУВАЛДОЙ - Уникальные возможности от SeoHammer
Каждая ссылка анализируется по трем пакетам оценки: SEO, Трафик и SMM.
SeoHammer делает продвижение сайта прозрачным и простым занятием.
Ссылки, вечные ссылки, статьи, упоминания, пресс-релизы - используйте по максимуму потенциал SeoHammer для продвижения вашего сайта.
Что умеет делать SeoHammer
— Продвижение в один клик, интеллектуальный подбор запросов, покупка самых лучших ссылок с высокой степенью качества у лучших бирж ссылок.
— Регулярная проверка качества ссылок по более чем 100 показателям и ежедневный пересчет показателей качества проекта.
— Все известные форматы ссылок: арендные ссылки, вечные ссылки, публикации (упоминания, мнения, отзывы, статьи, пресс-релизы).
— SeoHammer покажет, где рост или падение, а также запросы, на которые нужно обратить внимание.
SeoHammer еще предоставляет технологию Буст, она ускоряет продвижение в десятки раз,
а первые результаты появляются уже в течение первых 7 дней.
Зарегистрироваться и Начать продвижение
1 теХнологический раздел
1.1 Назначение конструкции детали
Муфта - тело вращения, предназначена для передачи крутящего момента на валу, поэтому к его конструкции должны быть предъявлены повышенные требования к точности и качеству основных посадочных и присоединительных поверхностей, распределению вращающейся массы, что в совокупности влияет на стабильность и долговечность работы узла в целом.
Требования, предъявляемые к качеству поверхностей данной детали, предусматривают черновую, получистовую и чистовую обработку. Особое требование предъявляется к исполнительным поверхностям размерами (Æ100js6, Æ75H7, Æ160Н7, Æ16Н7) , они выполняются по 6-7 квалитету точности и с показателем шероховатости поверхности Rа
=0,8-1,6.
Материал, используемый для изготовления данной детали – Сталь 45 ГОСТ 1050-28. Данные о химическом составе, механических свойствах сведены в таблицах 1.1 и 1.2.
Таблица 1.1 - Химический состав (ГОСТ 7293), %.
| С
|
Si
|
Ni
|
S
|
P
|
Mn
|
N
|
| 0,42..0,5
|
0,17..0,37
|
0,09
|
£0,04
|
£0,035
|
0,5..0,8
|
0..0,008
|
Таблица 1.2 - Механические свойства (ГОСТ 7293).
| sт
, МПа
|
sвр
, МПа
|
sви
, МПа
|
а, Н*м/см2
|
dб
, %
|
НВ (не более)
|
| 678
|
900
|
800
|
30
|
10
|
290
|
Для условий работы данной детали «Муфта»– материал выбран соответственно тем условиям, которые возникают в данном узле рабочей машины.
1.2 Определение типа производства
В машиностроении различают три основных типа производства: массовое, серийное, единичное. В свою очередь серийное производство подразделяется на: крупносерийное, среднесерийное, мелкосерийное.
Важной характеристикой типа производства является коэффициент серийности.
Согласно ГОСТ 14.004 коэффициент серийности равен [1,стр 20]:
= (1.1)
где, tв –такт выпуска изделия; –среднее штучно-калькуляционное время для изготовления детали.
Такт выпуска продукции равен:
tв
=60·Fд
/ N, (1.2)
где, N
– объём выпуска деталей данного наименования, шт. (N
=4500 шт.
);
F
д
–
действительный фонд времени работы оборудования, ч .
Действительный фонд работы оборудования на год Fд
(в часах) определяется по следующим данным:
календарному числу дней – 365;
количеству выходных дней – 104;
праздничных дней – 9;
предпраздничных дней сокращённых на 1 час – 7;
рабочих суббот – 1;
число смен работы оборудования – 2;
продолжительность рабочего дня – 8,5 ч.;
потери времени – 10%.
Fд
=[(365 –104 –9 +1)·8.5–7·1]·2· (1 – 10/100)=3860 ч. (1.3)
Рассчитываем такт выпуска:
tв
= 60·3860/4500=51,5 мин/шт.
Определим средне-калькуляционное штучное время по формуле:
Сервис онлайн-записи на собственном Telegram-боте
Попробуйте сервис онлайн-записи VisitTime на основе вашего собственного Telegram-бота:
— Разгрузит мастера, специалиста или компанию;
— Позволит гибко управлять расписанием и загрузкой;
— Разошлет оповещения о новых услугах или акциях;
— Позволит принять оплату на карту/кошелек/счет;
— Позволит записываться на групповые и персональные посещения;
— Поможет получить от клиента отзывы о визите к вам;
— Включает в себя сервис чаевых.
Для новых пользователей первый месяц бесплатно.
Зарегистрироваться в сервисе
(1.4)
где -суммарное штучно-калькуляционное время обработки детали на всех операциях;
n- количество операций.
 
Тогда:
(1.5)
коэффициент серийности равен:

В соответствии с ГОСТ 14.004 различные типы производства характеризуются следующими коэффициентами серийности операций Ко
:
массовое производство 1
крупносерийное производство 2 – 10
среднесерийное производство 10 – 20
мелкосерийное производство 20 – 40
единичное производство более40
Таким образом, в нашем случае имеет место среднесерийное производство.
Для серийного производства характерно производства серий изделий, регулярно повторяющихся через определенный промежуток времени. Харак терный признак серийного производства – выполнение на рабочих местах нескольких повторяющихся операций.
Количество деталей в партии для одновременного запуска определяется по формуле[1,стр 24]:
, (1.6)
где а
– количество дней регламентированных для пролёживания деталей на складе, а = 6 дней;
F
–
количество рабочих дней в году, F
=253 дня.
Тогда:

1.3 Анализ технологичности конструкции детали
1.3.1 Качественный анализ
Требования, предъявляемые к качеству поверхностей данной детали, требуют достаточно высокого качества обработки, поскольку она является ответственной деталью узла. Допуск на размеры поверхностей проставлен по 6 – 14 квалитетам.
С точки зрения механической обработки не технологично шлицевое отверстие, т.к. оно требует применения специального инструмента.
В целом деталь достаточно технологична. Она имеет хорошие базовые поверхности для первоначальных и последующих операций.
1.3.2 Количественный анализ
В качестве количественных показателей технологичности могут рассматриваться: масса детали, коэффициент точности обработки, коэффициент шероховатости поверхности, уровень технологичности конструкции по технологической себестоимости.
Определим коэффициент точности[1,стр 27]:
(1.7)
где n
i
– количество обрабатываемых поверхностей [4];
Т
i
– количество квалитетов .
Таблица 1.4 Исходные данные для определения коэффициента точности
| Ti
|
ni
|
Ti
·ni
|
Ti
|
ni
|
Ti
·ni
|
Ti
|
ni
|
Ti
·ni
|
Ti
|
ni
|
Ti
·ni
|
Ti
|
ni
|
Ti
·ni
|
| 6
|
1
|
6
|
7
|
3
|
21
|
8
|
1
|
8
|
13
|
1
|
13
|
14
|
10
|
140
|

Коэффициент точности удовлетворяет условию КТ
>0,8 т.е. деталь технологична по точности.
Рассчитаем коэффициент шероховатости:
, (1.8)
де ni
– количество поверхностей с обозначением шероховатости;
ш
i
– значение шероховатости.
Таблица 1.5 Данные для определения коэффициента шероховатости
| ш
i
|
n
i
|
ш
i
· ni
|
ш
i
|
n
i
|
ш
i
· ni
|
ш
i
|
n
i
|
ш
i
· ni
|
ш
i
|
n
i
|
ш
i
· ni
|
ш
i
|
n
i
|
ш
i
· ni
|
| 0,8
|
4
|
3,2
|
1,6
|
2
|
3,2
|
3,2
|
2
|
6,4
|
6,3
|
6
|
37,8
|
12,5
|
2
|
25
|
Коэффициент шероховатости удовлетворяет условию Кш
<0,32 т.е. деталь технологична по чистоте поверхности.
Таким образом деталь по качественному и количественному анализу является вполне технологичной.
1.4 Выбор метода получения заготовки
Сравним два метода получения заготовки штамповку на молотах и штамповки на кривошипном горячештамповочном прессе в открытых штампах с формированием центрального отверстия. Штамповки на молотах выполняются из катанной заготовки за один переход. Поковки получают без центрального отверстия. Масса заготовки – 8,5кг. Класс точности Т5 по ГОСТ 7505-89.
Штамповка на кривошипных прессах в 2…3 раза производительнее штамповки на молотах, припуски и допуски уменьшаются на 20…30%, расход металла на поковки – на 10-15%. Масса заготовки – 7,5 кг. Класс точности Т4 по ГОСТ 7505-89.
Экономическое обоснование выбора заготовки определяется по стоимости.
Произведем сопоставление и выбор варианта технологического процесса при различных способах получения заготовки.
Стоимость заготовки определяется по формуле:
Sзаг.= (Si/1000∙Q∙Кт∙Кс∙Кв∙Км∙Кп) - (Q - q)∙Sотх/1000,
где Si—базовая стоимость 1-ой тонны заготовок,20 млн. руб; Кт, Кс, Кв, Км, Кп—коэффициенты ,зависящие от класса точности, группы сложности, массы, марки материала, объема производства заготовок. Q – масса заготовки, Q = 8 кг; q – масса готовой детали, q = 6,5 кг, Sотх
– стоимость 1 т отходов, Sотх
= 3,73 млн. руб;Кт = 1,0 [1,стр.74]; Кс = 0,78 [1,таб.4,17];
Кв = 1,0 [1,таб.4,17];Км = 1,21 [1,стр.74];Кп = 1,0 [1,cтр.74].
Стоимость заготовки по первому варианту:
Sзаг.б. = (20/1000∙8,5∙1,0∙0,78∙1,0∙1,21∙1,0) - (8,5 - 6,5)∙3,73/1000=
= 90455 руб.
Стоимость заготовки по второму варианту:
Sзаг.п. = (20/1000∙7,5∙1,0∙0,78∙1,0∙1,21∙1,0) - (7,5 – 6,5)∙ 3,73/1000 = =83789 руб.
Годовой экономический эффект:
Эз = (Sзаг б - Sзаг п)∙Nг;
Эз = (90455 - 83789)∙4500 = 30000000 руб.
1.5 Анализ базового варианта технологического процесса
Предметом анализа является технологический процесс изготовления муфты из стальной штампованной заготовки. Производство среднесерийное. Годовой объем выпуска – 4500 шт. Технологический процесс состоит из девяти операций механической обработки:
030 – Токарная на станке модели 1Е365БП;
040 – Токарная на станке модели 16Д20;
055 - Протяжная на станке модели 7А545;
075 -Токарная на станке модели 16Д20;
085 – Токарная на станке модели 16Д20;
095- Координатно-расточная на станке модели 2Е450АФ30;
105 – Сверлильная на станке модели 2А554;
120- Круглошлифовальная на станке модели 3М152МВФ2;
130 – Координатно-расточная на станке модели 2Е450АФ30;
Шероховатость поверхностей на различных стадиях обработки данной детали характеризуется следующими показателями: среднее арифметическое отклонение профиля Ra после точения составляет 12,5, 6,3 и 1,6 мкм, после шлифования – 0,8 мкм, после протягивания шлицевого отверстия паза – 1,6 мкм.
Принятую в данном варианте технологического процесса общую последовательность обработки следует считать целесообразной, так как при этом соблюдаются принципы постепенности формирования свойств обрабатываемой детали. Метод получения заготовки соответствует принятому типу производства; он более подробно рассмотрен в п. 1.4.
Таблица - Технологические возможности применяемого борудования.
| № операции.
|
Модель станка
|
Предельные размеры обрабатываемой заготовки.
|
Квалитет обработки
|
Параметр шероховатости поверхности, RA
,мкм
|
| Диаметр (Ширина), d(b)
|
Длина, l
|
Высота, h
|
| 030
|
1Е365БП
|
365
|
1000
|
-
|
6
|
1,6
|
| 040, 075, 085
|
16Д20
|
400
|
1000
|
-
|
7
|
1,6
|
| 095,130
|
2Е450АФ30
|
45
|
200
|
-
|
6
|
1,6
|
| 105
|
2А554
|
54
|
-
|
-
|
7
|
3,2
|
| 120
|
3М152МВФ2
|
152
|
-
|
-
|
6
|
0,63
|
| 055
|
7А545
|
80
|
500
|
-
|
7
|
1,6
|
Таблица - Характеристика возраста, стоимости, сложности, произво-дительности и степени использования применяемого оборудования
| Модель станка
|
Год изготовления станка
|
Цена станка, млн. руб.
|
Категория ремонтной сложности
|
Количество станков на операции
|
Коэффициент загрузки станка
|
| мех
|
электр
|
| 1Е365БП
|
II.84
|
200,400
|
14
|
9
|
1
|
0,06
|
| 16Д20
|
IV.81
|
124,400
|
11
|
9
|
3
|
0,4
|
| 2Е450АФ30
|
X.93
|
145,850
|
12
|
13
|
2
|
0,3
|
| 2А554
|
XI.85
|
109,400
|
8
|
9
|
1
|
0,11
|
| 7А545
|
II.88
|
572,700
|
12
|
12
|
1
|
0,04
|
| 3М152МВФ2
|
II.85
|
84,012
|
8
|
5
|
1
|
0,12
|
Анализ приведенных в них сведений показывает, что станки, используемые на всех операциях по габаритным размерам обрабатываемой заготовки, достигаемой точности и шероховатости поверхностей соответствуют требуемым условиям обработки данной детали. Все станки, находящиеся на указанных операциях, являются относительно недорогими, однако многие из них уже износились и требуют замены на новые с целью сохранения требуемого качества обработки.
Для обработки детали на операции 085 и применяется токарно-винторезный станок модели 16Д20. На данной операции точатся наружные диаметры , канавка и фаска детали . В результате замены станков на более производительный станок с ЧПУ загрузка этого станка будет также невелика, поэтому все станки, применяемые для обработки данной детали, необходимо догрузить обработкой других деталей до среднего коэффициента загрузки не менее 0,6…0,7. Это может быть обеспечено при соответствующем подборе обрабатываемых деталей благодаря достаточно широким технологическим возможностям данного оборудования. Запуск деталей в производство следует производить партиями.
Для увеличение производительности предлагается заменить его на станок с ЧПУ 16Д20Ф3.
Также, из-за изменение метода получения заготовки, на операции 030 отпадает необходимость в выполнении следующих операций – центровании отверстия, сверления и рассверливании. Данные операции не понадобятся, т.к в заготовке будет выштамповано отверстие и его надо будет только расточить.
Для повышения производительности следует автоматизировать процесс загрузки-разгрузки станков и межоперационный транспорт обрабатываемых деталей.
В технологическом процессе применяется стандартный покупной инструмент, что ускоряет технологическую подготовку производства и уменьшает затраты на него, а также твердосплавные режущие материалы и абразивные круги. Режимы резания достаточно высокие, обработка ведется с применением СОЖ, что позволяет вести ее с высокими скоростями резания и сохранением оптимальных периодов стойкости инструмента. На всех операциях используются прогрессивные методы настройки на размер.
В рассматриваемом технологическом процессе применена специализированная вспомогательная оснастка. Время, необходимое на смену одного режущего инструмента во вспомогательном, сравнительно невелико. Затраты времени на смену (правку) инструмента можно снизить, если применить более стойкие твердосплавные инструменты с износостойкими покрытиями. Крепление инструментов, их установка и смена не сложны. Таким образом, вспомогательная оснастка соответствует данному типу производства.
В технологическом процессе применены быстродействующие измерительные инструменты (универсальные и специальные). Точность измерения достаточно высокая (погрешность измерения не превышает 30% допуска на размер). Оснащенность измерительными средствами операций обработки хорошая. Дополнительных мероприятий по совершенствованию оснащения операций измерительными инструментами на требуется.
Действующий технологический процесс можно совершенствовать следующим образом:
1) Для повышения производительности операций по точению предлагается заменить станок на операции 085 на токарный станок с ЧПУ 16Д20Ф3.
2) Из-за изменения метода получения заготовки сокращается количество операций на операции 030.
3) Заменить станки на остальных операциях на более новые с целью сохранения требуемого качества обработки;
4) автоматизировать процесс загрузки-разгрузки станков и межоперационный транспорт обрабатываемых деталей;
5) использовать режущие инструменты, снабженные износостойкими покрытиями.
1.6 Расчет и назначение припусков на механическую обработку
Рассчитаем припуск на поверхность Ø100js6. Заготовкой является штамповка. Технологический маршрут обработки поверхности состоит из операций: точения и шлифования.
Таблица 1.8- Расчетная таблица припусков на поверхность Æ
| Технол. переходы обработки поверхности
Æ
|
Элементы припуска, мкм
|
Расченый рипуск 2zmin
, мкм
|
Расчетный размер dр
,мм
|
Допуск d, мкм.
|
Предельн. размер, мм
|
Предельные значения припусков, мкм
|
| Rz
|
T
|
r
|
dmin
|
dmax
|
2z
|
2z
|
| Заготовка
|
200
|
850
|
-
|
104,034
|
3000
|
104,03
|
107,03
|
-
|
-
|
| Точение h13
|
50
|
50
|
85
|
2×1620
|
100,794
|
630
|
100,79
|
101,42
|
3.76
|
6.13
|
| Точение h11
|
30
|
30
|
34
|
2×212
|
100,37
|
250
|
100,37
|
100,62
|
0.42
|
0.8
|
| Точение h8
|
10
|
20
|
8,5
|
2×127
|
100,116
|
63
|
100,11
|
100,17
|
0.25
|
0.44
|
| Шлифование k6
|
-
|
-
|
-
|
2×63
|
99,99
|
25
|
99,99
|
100,01
|
0.13
|
0.16
|
Расчетная формула для определения припуска для i – перехода:

где Rz – высота неровностей профиля, мкм;
h – глубина дефектного слоя, мкм;
ρ – суммарное значение пространственных отклонений, мкм;
Е – погрешность установки, мкм.
Пользуясь рабочим чертежом детали и картой техпроцесса запишем в таблицу 12 значения Rz, h, ρ, Е для каждого перехода. Суммарное значение пространственных отклонений поверхности находим по формуле :

где: ρсм
– погрешность смещения, ρсм
= 0.5 мм, [1, таб.4,31];
ρц
– погрешность зацентровки, ρц
= 1 мм, [1,таб.4,31].
мкм
Остаточные пространственные отклонения:

где: n – количество переходов механической обработки;
ρзаг
– исходное отклонение заготовки;
kyi
– коэффициент уменьшения погрешности.
Остаточное пространственное отклонение для каждого перехода:
ρост1
= 1120∙ 0.1 = 112 мкм;
ρост2
= 1120∙ 0.06 = 67 мкм
ρост3
= 1120∙ 0.03 = 33 мкм
Минимальные припуски:
для чернового точения:

для получистового точения:

для чистового точения:

для шлифования:

Расчетный размер:
dpn
= dp n
-1
+ 2zmin
,
dp
1
= 99,99 мм;
dp
2
= 99,99 + 0,126 = 100,116 мм;
dp
3
= 100,116 + 0.254 = 100,37мм;
dp
4
= 100,37 + 0.424 = 100,794 мм;
dp
5
= 100,794 + 3.240 = 104,034 мм;
Наибольшие предельные размеры:
dmax
= dmin
+d
dmax1
= 99,99 + 0.02 = 100,01 мм;
dmax2
= 100,11 + 0.063 = 100,17 мм;
dmax3
= 100,37+ 0.25 = 100,62 мм;
dmax4
= 100.79+ 0.630 = 101,42 мм;
dmax5
= 104,03+ 3.000 = 107,03 мм;
Предельные значения припусков:



 




Рассчитаем общий номинальный припуск и номинальный допуск заготовки:
2zomin
= 3,24+0,42+0,26+0,12= 4,04 мм;
2zomax
= 5,61+0,8+0,45+0,16=7,02 мкм.
Z0 ном
= Z0
min
+ Нз
- Нд
= 4,04 + 0,7 – 0,025 = 4,71 мм;
dз ном
= d0 ном
+ Z0 ном
= 99,99 + 4,71 = 104,70 мм.
Проверяем правильность выполнения расчетов:
2Zi
max
- 2Zi
min
= dDi
-1
- dDi
;
5,61– 3,24 = 3.0 – 0.63;
2.37 = 2.37
0.8 – 0.42 = 0.630 – 0.25;
0.38 = 0.38
0.45 – 0.26 = 0.25 – 0.063;
0.19 = 0.19
0.16 – 0.12 = 0.063 – 0.025;
0.04 = 0.04
Условия выполняются. Расчеты выполнены верно.
В завершении расчета строим схему расположения припусков на обработку 
Рисунок Схема расположения припусков и допусков
на обработку поверхности Æ
1.7 Расчет режимов резания
На операции 085 на станке точатся поверхности Æ
, Æ
,подрезка торца, точение канавки и фаски.
Выбор режимов резания производим по рекомендациям [6]
Выбираем подачу:
Точение по контуру:
S1
= 0,2 мм/об [6, с. 278]
Подрезание торца:
S2
= 0,15 мм/об [6, с. 278]
Поправочные коэффициенты на подачу характеризующие вид обработки:
k11
= 0.96 k12
= 1 [6, с. 278]
k21
= 0.8 k22
= 0.86 [6, с. 278]
Поправочные коэффициенты учитывающие количество деталей в партии и число инструментов в наладке:
k31
= 1 k32
= 1 [6, с. 278]
k41
= 1 k42
= 1 [6, с. 278]
Тогда:
S1д
= 0,2 × 0,96 × 0,8 × 1 × 1 = 0,15 мм/об
S2д
= 0,15 × 1 × 0,86 × 1 × 1 = 0,13 мм/об
Выбор периода стойкости:
Тр
= Тн
× k1
× k2
× k3
× k4
Тн
– нормативный период стойкости резца;
k1
– коэффициент учитывающий изменение направления перемещения резца относительно обрабатываемой поверхности;
k2
- коэффициент учитывающий изменение подачи и глубины резания в течение периода стойкости;
k3
k4
- коэффициент учитывающие различную нагрузку и параметры надежности инструментов в многоинструментальных наладках:
Тр1
= 40 × 0.96 × 0.8 × 1 × 1 = 30,7 мин.
Тр2
= 40 × 1 × 0.86 × 1 × 1 = 34,4 мин
Тн
= 40 мин.
k1
= 0.96 k1
= 1 [6, с. 278]
k2
= 0.8 k2
= 0.86 [6, с. 278]
k3
= 1 k3
= 1 [6, с. 278]
k4
= 1 k4
= 1 [6, с. 278]
Выбор скорости резания:
Vд
= Vтаб
× k1
× k2
× k3
× k4
× k5
Vтаб1
= 180 м/мин
Vд1
= 180 × 1 × 1 × 0.95 × 1 = 171 м/мин
Vтаб2
= 160 м/мин
Vд2
= 160 × 1 × 1 0.95 × 1 × 1= 152 м/мин
k1
= 1; k2
= 1; k3
= 0.95; k4
= 1 k5
= 1 [6, с. 281 - 283]
Расчет частоты вращения шпинделя станка:
принимаем 315 мин-1
принимаем 500 мин-1
 принимаем 500 мин-1
принимаем 500 мин-1
Действительная скорость:



Основное время:
Переход 1
Lрез
= 34 мм

Переход 2
Lрез
= 79 мм

Переход 3
Lрез
= 30 мм

Переход 4
Lрез
= 4,3 мм

Переход 5
Lрез
= 8 мм

Время всей операции:
То
= 0,72 + 1,05 + 0,74+0,06+0,11= 2,68 мин
1.8 Расчет технической нормы времени
В серийном производстве определяется норма штучно-калькуляционного времени по формуле[1,c.101]:
, (1.23)
где Тп.з.
– подготовительно-заключительное время, мин.;
n – количество деталей в партии, шт.;
норма штучного времени:
Тшт
= То
+ Тв
+ Тоб,от
, (1.24)
где То
– основное время, мин.;
Тот
– время перерывов на отдых и личные надобности, мин.;
Тв
– вспомогательное время, мин.
Тоб
– время на обслуживание рабочего места, мин.
Вспомогательное время состоит из:
Тв
= Тус
+ Тз.о.
+ Туп
+ Тиз
, (1.25)
где Тус
– время на установку и снятие детали, мин.;
Тз.о.
– время на закрепление и открепление детали, мин.;
Туп
– время на приемы управления, мин.;
Тиз
– время на измерения детали, мин..
Рассчитаем норму времени для токарной операции 085. Основное время вычисляется на основании принятых режимов резания, То
= 2,65. Коэффициент k =1,85 в серийном производстве [1,cтр 101].
Время на установку и снятие детали, закрепление и открепление по [1,прил.5] для установки детали в токарном патроне:
Тус
+ Тз.о.
= 0,1мин.
Время на приемы управления: Туп
= 0,15 мин.
Время на измерение детали штангенциркулем: Тиз
=0,1 мин.
С учетом поправочного коэффициента 1,85 вспомогательное время составит:
Тв
= (0,1+0,15+0,1)=0,65 мин
Оперативное время:
Топ
= То
+ Тв
=2,65+0,65=3,3 мин
очего места (Тоб
) и на отдых и личные надобности (Тот
) в серийном производстве по отдельности не определяются и составляют 7% от оперативного времени (Топ
) [1,прил.6]:
Тоб,от
=( )/100,
Тоб,от
=(3,3 )/100 = 0,23 мин.
Подготовительно-заключительное время составляет 10 мин, тогда:
мин.
1.9
Уточнение типа производства
Методика для уточнения типа производства аналогична методике определения типа производства приведенной в подразделе 1.3.
Определим средне-калькуляционное штучное время по формуле:
где -суммарное штучно-калькуляционное время обработки детали на всех операциях;
n- количество операций.
 
Тогда:
коэффициент серийности равен:

Таким образом, в нашем случае тип производства не поменялся. Окончательно принимаем среднесерийный тип производства.
1.10 Определение потребного количества оборудования
Использование оборудования по времени.
Определим коэффициент загрузки станков h
з
:
,
(1.34)
где m
р
– расчетное число станков;
тп
– принятое количество станков.
Расчетное количество станков определяется как отношение штучного времени на данной операции Тшт
к такту выпуска t
в
[1,cтр 110]:
(1.35)
tB
=60
·F
д
/
NB
(1.36)
tB
=
60·3860/4500=51,4 мин
Определим для каждой операции расчетное количество станков, принятое, коэффициент загрузки (таблица 1.13).
Таблица 1.13- Расчетное число станков, принятое, коэффициент загрузки.
| N
|
|
mn
|
|
| 10
|
2/51,4=0,04
|
1
|
0,04/1·100=4%
|
| 20
|
8/51,4=0,15
|
1
|
0,15/1·100=15%
|
| 35
|
1,3/51,4=0,025
|
1
|
0,025/1·100=2,5%
|
| 55
|
6/51,4=0,12
|
1
|
0,12/1·100=12%
|
| 65
|
3,6/51,4=0,07
|
1
|
0,07/1·100=7%
|
| 75
|
3/51,4=0,06
|
1
|
0,06/1·100=6%
|
| 85
|
3,8/51,4=0,074
|
1
|
0,074/1·100=7,4%
|
| 100
|
5/51,4=0,1
|
1
|
0,1/1·100=10%
|
| 110
|
4/51,4=0,08
|
1
|
0,08/1·100=8%
|
h
з ср
=7
,
9%
График загрузки оборудования представлен на рисунке 1.7.
Коэффициент использования оборудования по основному (технологическому) времени h
0
свидетельствует о доле машинного времени в общем времени работы станка[1,cтр 115]:
(1.36)
Определим для каждой операции коэффициент использования оборудования по основному (технологическому) времени (таблица 1.14).
Таблица 1.14-Коэффициент использования по основному времени
| N
|
∙100%
|
mn
|
| 30
|
1,6/2∙100=90%
|
77%
|
| 40
|
7,2/8∙100=90%
|
| 55
|
1/1,3∙100=77%
|
| 75
|
4,8/6∙100=80%
|
| 85
|
2,65/3,6∙100=74%
|
| 95
|
2/3∙100=67%
|
| 105
|
2,5/3,8∙100=66%
|
| 120
|
4,2/5∙100=84%
|
| 130
|
2,6/4=65%
|
 
Рисунок 1.7-График загрузки оборудования по штучному времени
 
Рисунок 1.8- График коэффициента использования по основному времени
1.11 Технико-экономическое обоснование выбраного варианта технологического процесса
Определим себестоимость обработки по сравниваемым вариантам. Критерием оптимальности является минимум приведенных затрат на единицу продукции.
Часовые приведенные затраты (руб/ч) можно определить по формуле:
Спз = Сз + Счз + Ен × (Кс + Кз); (1.30)
где Сз – основная и дополнительная зарплата с начислениями, коп/час;
Счз – затраты часовые на эксплуатацию рабочего места, руб/час;
Ен–нормативный коэффициент экономической эффективности капитальных вложений, 0,15 [1, стр. 81];
Кз—удельные часовые капитальные вложения в здание, руб/час;
Кс—удельные часовые капитальные вложения в станок, руб/час.
Основная и дополнительная зарплата с начислениями и учетом многостаночного обслуживания рассчитывается по формуле:
Сз = e × Стф × k × y, (1.31)
где e – коэффициент к часовой тарифной ставке, равный 1.53 [1, стр. 81];
Стф – часовая тарифная ставка станочника-сдельщика соответствующе-го разряда , 4500 руб/ч;
k – коэффициент, учитывающий зарплату наладчика;
y – коэффициент штучного времени, учитывающий оплату труда рабочего при многостаночном обслуживании;
Часовые затраты на эксплуатацию рабочего места рассчитываем по формуле:
Счз = Счз
бп
× kм, (1.32)
где Счз.бп
- практические часовые затраты на базовом рабочем месте,
Счз
.бп
= 5000 руб/час., [1,стр.81].
kм – коэффициент, показывающий во сколько раз затраты , связанные с
работой данного станка больше, чем аналогичные расходы, связанные с работой базового станка;
Кс = Ц / (F × hз), (1.33)
где Ц—балансовая стоимость станка, руб;
F—эффективный годовой фонд времени работы станка, 1930 ч;
hз—коэффициент загрузки станка, hз =0.05.
Кз=( Цзд × А) / (F × hз) , (1.34)
где Цзд—стоимость одного м² производственной площади,
Цзд = 600000 руб [1, стр.83];
А—производственная площадь, занимаемая станком с учетом проходов
A = f × kf
; (1.35)
где f – площадь станка, м²;
kf
=3,5
Технологическая себестоимость операции механической обработки:
Со=(Cпз × Тшт.к) / (60 × kв), (1.36)
где kв—коэффициент перевыполнения, kв = 1,3.
Тшт.к—штучно-калькуляционное время обработки детали на данном станке, мин.
Базовый вариант
Обработка заготовки, полученой базовым методом, на операции030.
Ц = 50000000∙1,1 = 55000000 руб;
Тшт.к.= 8 мин;
f = 2.98 м²;
e = 1,53 [1, стр. 81];
k = 1, у = 1, [1, стр. 81];
kм = 4.1 [1, стр. 219];
Стф = 4500руб./ч., [1, стр. 219];
Сз = 1.53∙ 4500∙1,6∙ 1∙ 1 = 11016 руб/ч;
Счз = 5000∙ 4.1 = 20500 руб/ч;


Cпз = 11016+ 2050 + 0.15 ∙(17810 + 2026) = 16041 руб/ч;

Проектный вариант
Обработка заготовки, получаемой прогрессивным методом, на операции030
Ц = 50000000∙1,1 = 55000000 руб;
Тшт.к.= 2 мин;
f = 2.98 м²;
e = 1,53 [1, стр. 81];
k = 1, у = 1, [1, стр. 81];
kм = 4.1 [1, стр. 219];
Стф = 4500руб./ч., [1, стр. 219];
Сз = 1.53∙ 4500∙1,6∙ 1∙ 1 = 11016 руб/ч;
Счз = 5000∙ 4.1 = 20500 руб/ч;


Cпз = 11016+ 2050 + 0.15 ∙(17810 + 2026) = 16041 руб/ч;

Базовый вариант
Обработка на станке16Д20 , операция 085.
Ц = 40000000∙1,1 = 44000000 руб;
Тшт.к.= 5,2 мин;
f = 2.98 м²;
e = 1,53 [1, стр. 81];
k = 1, у = 1, [1, стр. 81];
kм = 4.1 [1, стр. 219];
Стф = 4500руб./ч., [1, стр. 219];
Сз = 1.53∙ 4500∙1,6∙ 1∙ 1 = 11016 руб/ч;
Счз = 5000∙ 4.1 = 20500 руб/ч;


Cпз = 11016+ 2050 + 0.15 ∙(14248 + 2026) = 15507 руб/ч;

Проектный вариант
Обработка заготовки, получаемой прогрессивным методом, на операции030
Ц = 46000000∙1,1 = 50600000 руб;
Тшт.к.= 3,6 мин;
f = 2.98 м²;
e = 1,53 [1, стр. 81];
k = 1, у = 1, [1, стр. 81];
kм = 4.1 [1, стр. 219];
Стф = 4500руб./ч., [1, стр. 219];
Сз = 1.53∙ 4500∙1,6∙ 1∙ 1 = 11016 руб/ч;
Счз = 5000∙ 4.1 = 20500 руб/ч;


Cпз = 11016+ 2050 + 0.15 ∙(16386 + 2026) = 15802 руб/ч;

Определим годовую экономию от принятия нового технологического процесса изготовления по формуле:
Эг = (Соб - Соп) Nг; (1.37)
где Соп и Соб—технологические себестоимости операций по сравниваемым вариантам;
Nг—годовая программа выпуска;
Для операции 030:
Эг = (1645 – 411) × 4500 = 5553000 руб.
Для операции 085:
Эг = (1193 – 729) × 4500 = 2088000 руб
Сумарный годовой экономический эффект составит:
Эгсум=5553000+2088000=7641000 руб
2 КОНСТРУКТОРский раздел
2.1 Приспособление с пневмозажимом
2.1.1 Описание, принцип дей
На рис. 1.3 показано приспособление с встроенным поршневым пневмоприводом двустороннего действия. В отверстии неподвижного основания 1 тисков встроен пневмоцилиндр 2 с которым винтами соединен полый поворотный корпус 3. К корпусу прикреплен распределительный кран 4 с рукояткой для переключения золотника при поочередном впуске сжатого воздуха в верхнюю или нижнюю полость пневмоцилиндра 2 и выпуска воздуха в атмосферу. На верхней части поворотного корпуса 3 закреплена стальная плита 5. На плите имеются Т-образные пазы под головки болтов для крепления к поверхности специальных сменных наладок. На. верхней части плиты 5 закреплена регулируемая призматическая губка 7, которую в зависимости от размеров обрабатываемых деталей можно перемещать винтом или переставлять в пазах плиты.

Рис. 1.3 Универсальные поворотные тиски со встроенным поршневым пневмоприводом
Сжатый воздух поступает в верхнюю полость пневмоцилиндра 2 и перемещает поршень 9 со штоком 10 вниз. При этом длинное плечо рычага 8, находящееся в пазу штока 10, опускается, а короткое плечо перемещает подвижную губку вправо, и деталь зажимается призматическими губками 6 и 7. Во время поворота рукоятки золотник крана 4 пропускает сжатый воздух в нижнюю полость пневмоцилиндра 2. Сжатый воздух, нажимая на поршень 9, перемещает его со штоком 10 вверх. При этом длинное плечо рычага 8 поднимается вверх, а короткое плечо отводит губку 1 влево и деталь разжимается.
Сила зажима детали в тисках такой конструкции 39 200 Н при давлении сжатого воздуха в пневмоцилиндре 0,39 МПа. Верхняя часть тисков поворачивается на основании в горизонтальной плоскости на 360°.
2.1.2 Расчет усилия зажима
Величина сил зажима рассчитывается исходя из условия равновесия всех перечисленных сил при полном сохранении контакта базовых поверхностей обрабатываемой детали с установочными элементами приспособления и при исключении возможности сдвига в процессе обработки. В общем это можно представить в виде формулы:
W = k * f * Pрез, (2.1)
где k – коэффициент запаса;
f – коэффициент трения в местах контакта детали и приспособления;
Ррез – усилие резания.
Коэффициент запаса k рассчитывается применительно к конкретным условиям обработки по формуле:
(2.2)
где К0
= 1.5 - гарантированный коэффициент запаса для всех случаев;
К1
= 1.2 - коэффициент, учитывающий состояние поверхности для черновой заготовки;
К2
= 1.2 - коэффициент, учитывающий увеличение сил резания от прогрессирующего затупления инструмента;
К3
= 1.2 - коэффициент, учитывающий увеличение силы резания при прерывистом резании, при точении;
К4
= 1.3 - коэффициент учитывающий постоянство силы зажима, развиваемой силовым приводом приспособления;
К5
= 1,2 - коэффициент, учитывающий эргономику ручных зажимных элементов;
К6
= 1.1 - коэффициент, учитываемый только при наличии крутящих моментов, стремящихся повернуть обрабатываемую деталь.
К = 1.5 · 1.2 · 1.2 · 1.2 ·1.3 · 1.2 · 1.1 = 4.8. принимаем 5
Необходимая сила зажима W может быть определена по следующей формуле:
(2.3)
где f1
- коэффициент трения с установочными элементами;
fпр
– приведенный коэффициент трения;
R – радиус детали в месте зажима.
fпр
= f2
· sina (2.4)
где f2
– коэффициент трения с зажимными элементами.
f1
= f пр
fпр
= 0.2 · sin 45 = 0.17

Рассчитаем необходимый диаметр пневмоцилиндра:
Площадь поршня см2
:

отсюда выражаем диаметр поршня:
(2.5)
Площадь поршня находим выражая из формулы развиваемого усилия пневмоцилиндра:
(2.6)
(2.7)
где Q – сила необходимая для зажима заготовки; Q = W = 10124 Н
r - давление воздуха в пневмосистеме; r = 0.5 МПа [11, с.317]
h - механический КПД пневмоцилиндра; h = 0.85 [11, с.317]

 
По принимаем диаметр поршня D = 186 мм.
2.1.3 Расчёт на точность станочного приспособления
При расчёте приспособлений на точность суммарная погрешность åe при обработке детали не должна превышать величину допуска Т размера åe < Т.
Суммарная погрешность åe зависит от ряда факторов и в общем случае может быть представлена выражением:
å e = eус
+ eобр
+ eпр
,
где eус
– погрешность установки детали в приспособлении; eобр
– погрешность обработки детали; eпр
– расчётная погрешность приспособления.
Погрешность установки представляет собой отклонения фактического положения закрепления детали в приспособлении от требуемого теоретического.
Погрешность установки включает погрешности базирования eб
, закрепления eз
и погрешность положения детали в приспособлении eп
:
eус
= eб
+ eз
+ eп
.
Погрешность положения eп
детали в приспособлении состоит из погрешностей: изготовления приспособления по выбранному параметру e’
пр
, установки приспособления на станке eу
и положения детали из-за износа элементов приспособления eи
:
eп
= e’
пр
+ eу
+ eи
.
В результате для расчёта точности приспособления воспользуемся упрощённой формулой:
eпр
,
где Т – допуск выполняемого размера(Т=0,2мм); eб
,eз
,eу
, eпи
, k – соответственно погрешности: базирования, закрепления, установки приспособления на станке, положения детали из-за износа установочных элементов приспособления и от перекоса инструмента; w- экономическая точность обработки, Кт
=1...1,2 – коэффициент, учитывающий отклонение рассеяния значений составляющих величин от закона нормального распределения; kТ1
= 0,8...0,85 – коэффициент, учитывающий уменьшение предельного значения погрешности базирования при работе на настроенных станках; kТ2
– коэффициент, учитывающий долю погрешности обработки в суммарной погрешности, вызываемой факторами, не зависящими от приспособления.
Расчётная формула погрешности базирования по трем плоскостям:
,
где ТD
, Тd
– допуски на диаметры.
eб
=0мм.
Так как в данном случае нет отклонения фактически достигнутого положения заготовки от требуемого.
Допустимая погрешность приспособления равна:
eпр
£ 0,2 – 1,1*
2.2 Контрольное приспособление
2.2.1 Описание, принцип работы контрольного приспособления

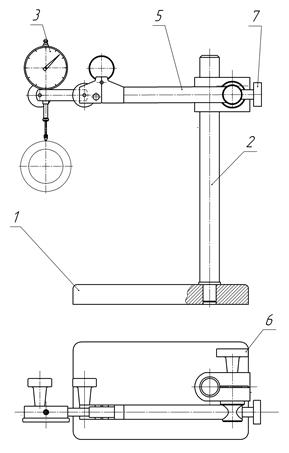
Рисунок 2.6 – Контрольное приспособление
Данное контрольное приспособление служит для контроля радиального и торцевого биения цилиндрической детали. На основании 1 установлен штатив, состоящий из оправок 2, 5 и кронштейна 4. На оправке 5 ,закреплен индикатор часового типа 3, чувствительный элемент которого касается измеряемой поверхности детали. Деталь в свою очередь установлена в центрах станка. С помощью винтов 6 и 7 можно отрегулировать положение в пространстве индикатора 3 относительно детали.
2.2.2 Расчёт на точность контрольного приспособления
Расчёт приспособления на точность производим по формуле [3, стр 389]:
eпр
,
где d – допуск выполняемого размера(Т=0,02мм); eб
,eз
,eу
, , k – соответственно погрешности: базирования, закрепления, установки приспособления, положения детали из-за износа установочных элементов приспособления; w- экономическая точность обработки, Кт
=1...1,2 – коэффициент, учитывающий отклонение рассеяния значений составляющих величин от закона нормального распределения; kТ1
= 0,8...0,85 – коэффициент, учитывающий уменьшение предельного значения погрешности базирования при работе на настроенных контрольных приспособлениях; kТ2
– коэффициент, учитывающий долю погрешности измерений в суммарной погрешности, вызываемой факторами, не зависящими от приспособления.
Подставляя числовые значения получим:
eпр
£ 0,02 – 1,1· 0,019 мм.
Таким образом точность изготовления приспособления для контроля биения должна быть eпр
£ 0,019 мм.
|